Бесплатная библиотека стандартов и нормативов www.docload.ru

Все документы, размещенные на этом сайте, не являются их официальным изданием и предназначены исключительно для ознакомительных целей.
Электронные копии этих документов могут распространяться без всяких ограничений. Вы можете размещать информацию с этого сайта на любом другом сайте.
Это некоммерческий сайт и здесь не продаются документы. Вы можете скачать их абсолютно бесплатно!
Содержимое сайта не нарушает чьих-либо авторских прав! Человек имеет право на информацию!

 

НИИОСП им. Н. М. Герсеванова
Госстроя СССР

Пособие
по производству работ
при устройстве оснований и фундаментов

(к СНиП 3.02.01-83)

Часть 2

Раздел 7. СООРУЖЕНИЯ, УСТРАИВАЕМЫЕ СПОСОБОМ «СТЕНА В ГРУНТЕ»

ОБЩИЕ ПОЛОЖЕНИЯ

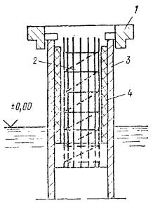
7.1. Способ «стена в грунте» следует применять для строительства стен подземных сооружений, фундаментов и противофильтрационных завес.

Способ включает два основных этапа работ:

разработку траншеи под защитой глинистого раствора;

заполнение траншеи материалами и конструкциями, сопровождающееся одновременным вытеснением ими глинистого раствора из заполняемой полости.

7.2. Способ «стена в грунте» может применяться при сооружении стен, фундаментов и противофильтрационных завес как в обводненных, так и в необводненных грунтах: супесчаных и песчаных, суглинках и глинах. Выполнение стен и противофильтрационных завес в виде замкнутого контура с заделкой их низшей части в водоупорный слой грунта предотвращает поступление грунтовых вод внутрь сооружения, что позволяет отказаться от водопонизительных работ.

7.3. Использование способа «стена в грунте» возможно при строительстве в стесненных условиях и вблизи существующих зданий, сооружений и коммуникаций, в том числе при реконструкции и расширении промышленных предприятий.

7.4. Применение способа «стена в грунте» может быть ограничено следующими условиями:

наличием грунтов с кавернами и пустотами, илов и рыхлых насыпных грунтов;

включением обломков бетонных и железобетонных плит, железа и других препятствий на трассе траншеи;

малой глубиной сооружения (до 3-5 м) при условиях, позволяющих вести строительство объекта в открытом котловане;

наличием грунта или его прослоек, разрабатываемость которых выше группы, максимально допустимой для имеющегося оборудования.

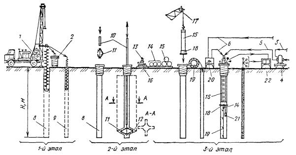
7.5. Процесс строительства подземных сооружений с применением способа «стена в грунте» состоит из следующих операций:

сооружения крепления верха траншеи для удержания грунта от обвалов и направления рабочего органа землеройного оборудования;

приготовления глинистого раствора;

заполнения глинистым раствором пространства между стенками крепления верха траншеи;

разработки под глинистым раствором траншеи на глубину, равную глубине заложения подземной стены;

пополнения объема глинистого раствора в траншее по мере разработки грунта;

установки арматурных каркасов и бетонирования секций-захваток, монтажа в траншее сборных элементов с последующим тампонажем пазух или заполнением траншеи противофильтрационным материалом;

поярусной разработки грунтового ядра внутри сооружения с устройством временных или постоянных креплений, если они предусмотрены проектом;

поярусной или на всю высоту заделкой стыков между сборными элементами;

устройством днища сооружения.

7.6. Применение способа «стена в грунте» позволяет избежать повреждения зданий, сооружений и подземных коммуникаций, расположенных в зоне строительства, значительно снизить уровень шума и исключить вибрации грунта, сократить площади разрытий, получить значительную экономию стального шпунта, металлопроката, бетона и пиломатериалов, полностью исключить или ограничить применение дорогостоящих специальных способов строительства, таких как водопонижение, искусственное замораживание грунтов и др., использовать стену на время строительства для крепления котлована, а в законченном сооружении - в качестве несущей или ограждающей конструкции, полностью механизировать работы в стесненных условиях строительной площадки, сократить сроки работ и снизить стоимость строительства.

7.7. Применение способа «стена в грунте» должно быть обосновано технико-экономическими расчетами путем сравнения вариантов строительства подземных сооружений, устраиваемых с применением способа «стена в грунте», с их строительством в открытых котлованах (в том числе с использованием шпунтовых ограждений), с применением опускных колодцев и с другими способами, а варианта строительства противофильтрационных завес способом «стена в грунте» - с завесами других конструкций и другими средствами защиты от подземных вод.

7.8. Приступать к строительству подземных сооружений способом «стена в грунте» следует только при наличии проекта производства работ (ППР), разработанного в соответствии с Инструкцией по разработке проектов организации строительства и проектов производства работ (СНиП 3.01.01-85). Проект производства работ на строительство способом «стена в грунте» кроме техдокументации, предусмотренной упомянутой инструкцией, должен включать:

указания, устанавливающие состав и параметры глин и глинистого раствора, а также рекомендации по контролю их качества, проект глинистого хозяйства, включающий рабочие чертежи узлов для приготовления и регенерации глинистого раствора;

технологические карты на выполнение отдельных видов работ: устройство крепления верха траншеи, разработку траншеи, установку армокаркасов и укладку бетонной смеси, монтаж конструкций из сборного железобетона и тампонаж пазух и стыков, разработку грунта внутри сооружения, устройство днища и укладку противофильтрационного материала в траншею, указания, устанавливающие состав и параметры тампонажного раствора (при применении конструкций из сборного железобетона), параметры противофильтрационных материалов для заполнения траншей противофильтрационных завес.

7.9. Инженерно-геологическое строение площадки при строительстве способом «стена в грунте» должно быть изучено для несущих стен - на глубину 1,5H + 5 м (где H - глубина заложения основного сооружения), для противофильтрационных завес - на глубину залегания водоупора плюс 5 м.

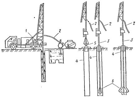
Рис. 79. Пример схемы комплекса для приготовления и очистки глинистого раствора

Разведочные геологические скважины на площадке возведения сооружения должны быть размещены по сетке не более 20 × 20 м или по трассе сооружения не реже, чем через 20 м.

Материалы инженерно-геологических изысканий должны содержать:

разрезы и буровые колонки с количественной и качественной оценкой встречаемых крупных включений;

физико-механические характеристики грунтов, в том числе удельный вес, угол внутреннего трения, коэффициент пористости, коэффициент фильтрации; кроме того, для песчаных грунтов - гранулометрический состав, а для глинистых - пластичность, консистенцию и сцепление;

данные об уровнях и режимах подземных вод, степени их агрессивности и отметках залегания водоупорных слоев грунта.

7.10. Подготовительные работы, выполняемые на строительной площадке и предшествующие основным работам, состоят из:

работ по подготовке строительной площадки, перенесению всех конструкций и коммуникаций, расположенных в зоне возводимого сооружения, устройству ограждений, подведению линий временного водоснабжения, канализации, энергоснабжения, устройству временных автодорог, устройству площадок для складирования и размещения оборудования.

7.11. Перед началом работ на стройплощадке должна быть проведена проверка готовности строительного оборудования к работе.

Необходимо опробовать на холостом ходу смонтированное оборудование по частям и в комплексе с устранением выявленных неполадок и опробовать оборудование в рабочих режимах.

7.12. Параметры глинистых растворов должны подбираться, исходя из конкретных гидрогеологических условий строительства, глубины траншеи, способа ее разработки и других условий производства работ, при этом подбор рецептуры глинистого раствора и исследование образцов глиноматериалов должны производиться в лабораториях глинистых растворов и грунтовых лабораториях.

Параметры глинистых растворов следует определять по приборам, входящим в комплект переносной полевой лаборатории глинистых растворов ЛГР-3 (изготовитель: Бакинский приборостроительный завод).

При постоянных больших объемах работ на рассредоточенных объектах может быть использована передвижная лаборатория глинистых растворов ЛГР-69 (изготовитель: Мытищинский приборостроительный завод, г. Мытищи Московской обл.), смонтированная в кузове автобуса.

7.13. Условная вязкость раствора «Т» характеризует его подвижность, способность проникать в поры грунта и трещины и определяется в приборе СПВ-5, имеющем вид воронки с проходным отверстием диаметром 5 мм, которую заполняют 700 см3 раствора и замеряют в секундах время истечения 500 см3 раствора из прибора.

Суточный отстой воды «О» характеризует устойчивость раствора, т.е. способность его не расслаиваться на воду и осадок глинистых частиц и определяется в мерном цилиндре, вмещающем 100 см3 раствора.

По прошествии 24 ч измеряют толщину слоя воды, определяющего суточный отстой в процентах.

Содержание песка в растворе «П» характеризует его загрязненность песком и другими частицами, выпадающими в осадок. Для определения их содержания в отстойник ОМ-2 наливают 50 см3 раствора и 450 см3 воды, закрывают пробкой и интенсивно взбалтывают. Через 3 мин выдерживания отстойника в покое замеряют объем осадка и эту величину умножают на два. Полученная величина характеризует содержание песка в процентах.

Водоотдача раствора условно определяется в приборе ВМ-6 как количество воды, отфильтровавшейся за 30 мин через бумажный фильтр диаметром 7,5 см при перепаде давления 0,1 МПа.

На этом же приборе определяется толщина глинистой корки. Она является аналогом глинистой корки, которая образуется на стенках траншеи в результате фильтрации глинистого раствора в поры грунта.

Для определения качества корки бумажный фильтр с осадком вынимают из прибора ВМ-6 после определения в нем водоотдачи, омывают слабой струей воды рыхлый осадок глинистых частиц и замеряют точной линейкой толщину корки. Плотность и прочность корки определяют визуально.

Тонкодисперсные глины образуют тонкую, плотную и малопроницаемую корку толщиной менее 3 мм за 30 мин. Пленка грубодисперсных растворов получается толстой, рыхлой и непрочной.

Вода для приготовления глинистых растворов должна быть пресной, иметь жесткость не более 12° и отвечать требованиям ГОСТ 4795-68.

7.14. Для приготовления глинистых растворов применяются бентонитовые глины в виде глины-сырца или молотого порошка либо комовые глины. Бентонитовые глинопорошки заводского изготовления, применяемые также для буровых растворов, должны отвечать техническим условиям «Глинопорошки для бурения».

В целях определения пригодности глин для приготовления глинистых растворов с требуемыми параметрами необходимо отбирать пробы глин из местных карьеров для лабораторных исследований. Пробы глин следует отбирать не менее чем из трех разных точек карьера; вес каждой пробы должен быть не менее 5 кг.

7.15. Для улучшения параметров глинистых растворов применяются в необходимых случаях следующие химические реагенты и добавки в виде неорганических химических минеральных и высокомолекулярных веществ:

кальцинированная сода Na2CO3 - эффективный, наиболее дешевый и широко применяемый химреагент, который улучшает качество раствора, переводя кальциевые глины в хорошо набухаемые и легко диспергируемые натриевые, а также используется для смягчения жесткой воды;

фосфаты - щелочные соли различных фосфорных кислот - применяются для тех же целей, что и Na2CO3, но являются более дорогостоящими и требуют специальных мер предосторожности при обращении;

каустическая сода NaOH - замещает ионы кальция ионами натрия, «разжижает» раствор;

жидкое стекло (силикат натрия или калия) Na2O·nSiO2 или K2O·nSiO2, (где п - число молекул кремнезема) значительно повышает вязкость и рН глинистого раствора;

поваренная соль (хлористый натрий) NaCl - в небольших количествах (до нескольких процентов от веса глины) повышает структурно-механические свойства растворов.

Высокомолекулярные вещества в связи с их высокой стоимостью и дефицитностью следует применять для приготовления растворов с особыми свойствами - незамерзающих, повышенной вязкости, морозостойкости и др.

К высокомолекулярным веществам относятся: карбосиметилцеллюлоза (КМЦ), углещелочной реагент (УЩР), торфощелочной реагент (ТЩР), сульфитно-спиртовая барда (ССБ), концентрированная сульфитно-спиртовая барда (КССБ), окзил, лигнин, сумил, полифенольный лесохимический реагент (ПФЛХ), крахмал, гипан, метас и др.

Введение этих веществ снижает водоотдачу и повышает вязкость растворов.

В случае невозможности достигнуть требуемых параметров глинистых растворов, приготовленных из местных глин, в состав раствора можно вводить бентонитовые глинопорошки заводского изготовления или бентонитовую комовую глину-сырец.

7.16. Глинопорошок заводского изготовления следует хранить на складе, под навесом или в передвижном вагончике, в таре предприятия-поставщика, в условиях, предотвращающих его замачивание или увлажнение.

Комовые глины можно хранить под навесом или открыто, на бетонированной огороженной площадке.

Химические реагенты в обязательном порядке должны храниться в отдельном запираемом помещении, в таре предприятия-поставщика. В случае порчи тары они немедленно должны быть переложены в другую исправную тару, а просыпавшиеся и непригодные к использованию должны быть ликвидированы.

7.17. Приготовление глинистых растворов и их очистка производятся на технологическом комплексе, включающем: узел приготовления глинистого раствора, емкости для хранения приготовленного глинистого раствора, узел перекачки глинистого раствора, емкости-отстойники для раствора, бывшего в употреблении, склады для хранения глины и химреагентов, узел очистки глинистого раствора.

Пример схемы комплекса для приготовления и очистки глинистого раствора приведен на рис. 79.

7.18. Для приготовления глинистых растворов из комовых глин следует применять механические, а из глинопорошков - механические, турбинные или гидравлические смесители. Технические характеристики этих смесителей приведены в табл. 43.

7.19. Емкости для хранения приготовленного глинистого раствора представляют собой закрытые сверху баки или резервуары объемом 10 м3 и более, оборудованные штуцерами, задвижками и вентилями для подачи и перекачки глинистого раствора и указателями уровня раствора в емкости. Как правило, емкости выполняются из листового металла, прямоугольной или цилиндрической формы, прочность и габариты которых обеспечивают их перевозку автотранспортом. В верхней части емкостей должны быть предусмотрены лазы с крышками для осмотра и очистки внутренней полости.

Для хранения и перевозки глинистого раствора при строительстве в городе и в стесненных условиях рекомендуется использовать прицепные автоцистерны.

7.20. Для перекачки глинистого раствора и подачи его в траншею рекомендуется использовать грязевые и центробежные насосы, технические характеристики которых приведены в табл. 44.

7.21. Трубопроводы для перекачки глинистого раствора выполняют из труб диаметром 100-150 мм секциями длиной от 2 до 5 м, соединяемыми между собой, с насосами, задвижками, вентилями и штуцерами, фланцевыми или быстроразъемными соединениями.

Гибкие трубопроводы должны иметь жесткие наконечники с фланцевыми или быстроразъемными соединениями. На концах гибких трубопроводов, опускаемых в траншею для откачки раствора, должны быть сетчатые фильтры с размером ячеек сетки до 15 × 15 мм.

Трубопроводы должны быть защищены и предохраняться от повреждений проезжающим транспортом.

7.22. В качестве временных и резервных емкостей для отстоя глинистого раствора могут применяться приямки, отрываемые в грунте (если позволяют размеры строительной площадки и она расположена в удалении от жилых массивов). Вокруг приямков обязательно должно быть устроено ограждение.

Заполнение приямков может производиться самотеком, а откачка из них - насосами. Удаление осадка из приямка следует производить экскаватором. По окончании использования приямки должны быть засыпаны грунтом.


Таблица 43

Технические характеристики

Тип и марка растворосмесителя

лопастные

турбинные

фрезерные

гидравлические

МГ-2-4

ГКА-2М

Г2-П2-4

РМ-750

РМ-500

БС-2К

Диспергатор НИИСП

ЛРМ-350

С-868

ФСМ-7А

ФСМ-3

АППЖ-4

СПП-70

Гидромониторный ГСТ

Емкость, м3

4

2

4

0,75

0,5

4

0,6

0,35

0,65

-

-

-

-

14,0

Производительность, м3

До 12

4-5

-

-

120; 300

12; 25

До 15

От 24 до 70

До 40

Частота вращения смесительного органа, об/мин

95

100; 182

95

750

От 960 до 500

От 960 до 1500

1500

56

600

500

500

600

-

-

Мощность электродвигателя, кВт

14,0

14,0

14

7-10

4,5

55

10

1

2,8

28

28

20

56

-

Габариты, м:

 

 

 

 

 

 

 

 

 

 

 

 

 

 

длина

3890

2450

-

2000

1500

-

1760

1200

1475

2425

1980

3300

2155

1177

ширина

3015

2150

-

1100

1400

-

400

1200

595

1960

153

1670

1500

3700

высота

1455

1500

-

1000

1300

-

600

1200

815

1520

1410

1800

1816

2400

Масса, Н

35560

19500

-

5100

3500

-

3050

2000

1340

1,75

1,4

0,2

1,99

8,39

Изготовитель или разработчик

Бакинский з-д им. Сардарова

Выпускается серийно

-

ВО Гидроспецстрой Минэнерго

ПКО Гидропроекта

НИИСП Госстроя УССР

-

-

Выпускаются серийно


Таблица 44

Технические характеристики

Марка насоса

НГР 250/50

11 ГР

9 МГР

НШ-150

ШН-200

С-317 А

Производительность, м3

18

18; 13,5

22; 36; 60

150

200

6

Давление, МПа

5

5; 6,3

10; 6; 3,5

0,3

0,4

1,5

Мощность электродвигателя, кВт

38

48

100

28

-

7

Габариты, мм:

 

 

 

 

 

 

длина

1444

1870

2630

685

-

1040

ширина

876

990

1040

610

-

560

высота

932

1510

1630

640

-

1000

Масса, Н

7380

11500

17600

2220

-

3900

Таблица 45

Технические характеристики

Марка вибросита

СВ-1

СВС-2

СВ-2

Пропускная способность, л/с

20

50-55

50-60

Рабочая площадь сетки, м2

1,25

2,5

2,6

Число отверстий на 1 дюйм при диаметре:

 

 

 

0,25 мм

40

40

40

0,35 мм

30

30

30

Число колебаний в 1 мин

1400; 1420; 1600

1400; 1600; 1800; 2000

1600; 2000

Мощность электродвигателя, кВт

2,8

2,8 × 2

2,8 × 2

7.23. При очистке глинистого раствора для выделения из него частиц крупностью 2 мм и более применяют вибросита, для более тонкой очистки - до частиц крупностью 0,06 мм - гидроциклоны.

Технические характеристики этих механизмов приведены в табл. 45 и 46.

Таблица 46

Технические характеристики

Марка ситогидроциклонной установки

2 СГУ

4 СГУ

ОГХ-8Б

ОГХ-8А

Производительность, л/с

30

60

5

2,5

Число сит

1

2

-

-

Число гидроциклонов

2

4

1

1

Насосная установка:

 

 

 

 

тип

ВШН-150

ВШН-150

ВН-4

ВНМ-18 × 30

мощность, кВт

28

28

4,5

3,5

Габариты, мм:

 

 

 

 

длина

2100

2175

1670

1435

ширина

1700

2250

420

850

высота

2465

2150

1425

1450

Масса, Н

22500

19500

2800

2950

7.24. Приготовление глинистого раствора из глинопорошков в механических мешалках и смесителях следует производить в следующей последовательности:

заполнение смесителя водой из расчета 0,75 объема готового глинистого раствора;

засыпка в смеситель, если это предусмотрено, расчетного количества химреагента (кальцинированной соды или других добавок) и растворение его в воде при перемешивании в течение 8-10 мин;

загрузка смесителя расчетным количеством глинопорошка частями при кратковременных перемешиваниях;

доливка воды до полного объема готового глинистого раствора;

перемешивание глинистого раствора в течение 20-30 мин;

слив приготовленного глинистого раствора в емкость.

Приготовление глинистого раствора из комовых глин в глиномешалках и смесителях должно производиться в той же последовательности с окончательным перемешиванием раствора в течение 40-50 мин.

Для сокращения времени приготовления глинистого раствора из комовой глины рекомендуется предварительное замачивание глины из расчета 100 вес. ед. глины на 50 вес. ед. воды.

При наличии в приготовленном глинистом растворе песчаных и других частиц размером более 2 мм их необходимо удалять путем его слива через металлическую сетку или отстаиванием в емкости.

7.25. Периодический контроль плотности и других параметров приготовленного глинистого раствора следует производить отбором проб из глиномешалки и накопительных емкостей.

Перемешивание загустевших или расслоившихся глинистых растворов в емкостях следует производить принудительной циркуляцией с помощью насоса или подачей в емкость по шлангу сжатого воздуха.

Периодически, не менее одного раза в смену, следует производить контроль параметров глинистого раствора в траншее (во время разработки грунта, перед установкой арматурных каркасов, сборных элементов и бетонированием, после перерыва в работе свыше 1 сут) путем отбора и исследования проб.

Рис. 80. Конструкции крепления верха траншей

а - переносная; б - Г-образная; в - Г-образная перевернутая; г - баночная

7.26. Разработку траншей под глинистым раствором следует производить в соответствии с рабочими чертежами строящегося сооружения и проектом производства работ.

Во всех случаях разработка траншей под глинистым раствором производится в следующей последовательности:

устройство крепления верха траншеи в соответствии с проектом (рис. 80);

разметка крепления верха траншеи по длине на участки (захватки) в соответствии с принятой в ППР схемой разработки, длины захвата применяемого грейфера, длины армокаркасов или сборных элементов;

разработка под глинистым раствором грунта захватки в определенной ППР последовательности;

погрузка и вывозка извлеченного грунта от места разработки, удаление отработанного глинистого раствора;

установка и крепление в траншее, предусмотренных проектом ограничительных, направляющих и разделительных элементов (труб, свай и т.п.) для разделения захваток и предотвращения проникновения глинистого раствора из одной захватки в другую.

7.27. В некоторых случаях для облегчения работы грейферного оборудования в местах стыка разрабатываемых захваток производится бурение лидерных скважин под глинистым раствором. Бурение лидерных скважин следует применять лишь в тех случаях, когда они являются необходимым условием для нормальной работы землеройного оборудования и предусмотрены в ППР.

7.28. Крепление верха траншеи должно отвечать следующим требованиям:

продольная ось крепления должна совпадать с продольной осью стены;

расстояние между вертикальными стенками должно быть на 50 мм больше рабочего органа землеройного оборудования;

для предупреждения возможных смещений вертикальных стенок между ними следует устанавливать временные деревянные распорки;

начинать разработку траншей допускается только после набора бетоном крепления верха траншеи проектной прочности.

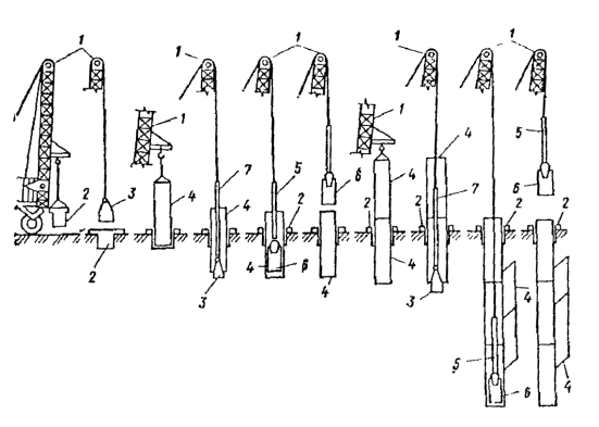
7.29. Оборудование и механизмы для разработки траншей, получившие распространение в практике строительства, можно разделить на два следующих типа: экскавационное; бурофрезерное.

Для экскавационного оборудования характерно наличие ковша, которым производится копание грунта, удаление его из траншеи и выгрузка в виде компактной массы, мало насыщенной глинистым раствором.

Оборудование бурофрезерного типа разрабатывает грунт стружками; при этом измельченный грунт смешивается с глинистым раствором, образуя пульпу. Пульпа откачивается из забоя эрлифтом или шламовым насосом и по трубопроводу подается на ситогидроциклонную установку либо в отстойники, в которых производится разделение пульпы на шлам, идущий в отвал, и глинистый раствор, возвращаемый в траншею.

Из землеройного оборудования экскавационного типа наибольшее распространение получили специальные грейферы на канатной подвеске и штанговые грейферы. Канатная подвеска грейфера не ограничивает глубины копания, но в силу небольшой массы рабочего органа его использование ограничивается II категорией грунта. Штанговые грейферы более сложны в изготовлении и требуют более мощной базовой машины-экскаватора. В то же время применение штанговых грейферов облегчает управление ими, и позволяет разрабатывать более тяжелые грунты.

При разработке траншей грейферами обычно применяются следующие схемы разработки:

разработка траншей захватками длиной, равной ширине захвата грейфера, «через одну», т.е. с оставлением целиков между захватками первой очереди и разработкой этих целиков во вторую очередь;

последовательная разработка траншеи захватками с установкой ограничителей между разрабатываемыми и бетонируемыми захватками.

Выбор схемы и последовательность разработки траншеи определяются гидрогеологическими условиями площадки, конструктивными и технологическими особенностями оборудования для разработки траншей (в том числе шириной захвата грейфера), конструктивными особенностями сооружаемых подземных стен, размерами применяемых армокаркасов, сборных элементов, грузоподъемностью применяемого для монтажа оборудования, обеспеченностью стройплощадки строительными материалами и другими факторами.


Таблица 47

Вид оборудования

Наименование оборудования

Базовая машина

Группа грунтов

Глубина траншеи, м

Ширина траншеи, м

Емкость ковша, м3

Длина захватки, м

Масса оборудования, т

Разработчик техдокументации

Изготовитель

Бурофрезерное

Буровой станок УКС-30М

-

I-IV

100

0,5-0,9

-

0,5-0,9

-

ВНИИстройдормаш

Минстройдормаш

Буровая установка СО-2

Э-10011

I-IV

20

0,4-0,8

-

0,4-0,8

-

ПКО Гидропроекта Минэнерго СССР

-

СВД-500Р

Специальная

I-IV

До 50

0,5-0,7

-

0,5-0,7

45

То же

Зуевский з-д Минэнерго СССР

Барражная машина БМ-0,5/50-2М

»

I-III

До 50

0,5

-

-

25

ВИОГЕМ Минчермета СССР

-

Гидравлическое

Грейферный гидравлический экскаватор ЭО-4121

ЭО-4121

I-IV

10,4; 14,2

0,50-0,8

0,65

1,8

20,9

ВНИИстройдормаш

Ковровский экскаваторный з-д

Грейферный гидравлический экскаватор ЭО-5123

ЭО-5123

I-IV

20,0

0,6-1,0

0,6-1,0

2,5

48,0

»

Воронежский экскаваторный з-д

Грейферное

Штанговый гидравлический грейфер

ЭО-10011

I-IV

20,3

0,4-0,6

0,5-0,8

2,0

3,5; 5,0

СКВ Главмостостроя НИИОСП Госстроя СССР

-

Штанговый гидравлический грейфер

Э-1252

I-IV

25,0

0,6

0,7

2,5

3,5

Гидроспецпроект

-

Экскаватор обратная лопата (гидравлическая)

ЭО-4121

I-IV

До 10

0,4; 0,6

0,6

-

22

НИИОСП Госстроя СССР

-

Грейферное, канатное

Оборудование штангового экскаватора ЭК-800

Э-10011

Э-1252

I-II

12

0,6; 0,8

0,6

-

2,5

НИИСП Госстроя УССР

-

Грейфер ГПИ «Фундаментпроект»

Э-10011

Э-1252

I-III

18

0,4; 0,6

0,4; 0,6

3,2

5,1

ГПИ «Фундаментпроект»

 

Широкозахватный грейфер НИИСП

Э-10011

Э-1252

I-III

До 20

0,6; 1

0,6; 1

5

3,5

НИИСП Госстроя УССР

 

Плоский грейфер НИИОСП Госстроя СССР

Э-10011

Э-1252

I-III

До 25

0,6-0,8

0,7

3,5

5

ЭКБ ЦНИИСК Госстроя СССР

Опытный завод ЗОКИО ЦНИИСК Госстроя СССР

Экскаватор обратная лопата

Э-100011

Э-1252

I-IV

До 12

0,4-0,6

0,4-0,6

-

-

НИИОСП Госстроя СССР

Собственными силами


Кроме грейферов, известны и другие виды землеройного оборудования, которые можно характеризовать как специальные экскаваторы. К ним относятся штанговый экскаватор НИИСП, обратные лопаты с удлиненной рукоятью и узким ковшом и др.

Технические характеристики землеройных механизмов приведены в табл. 47.

7.30. При выборе машин для разработки траншей необходимо учитывать, что:

круглые или ломаные в плане траншеи следует разрабатывать механизмами с вертикально перемещающимся рабочим органом (штанговые экскаваторы и грейферы, установки СВД-500, буровое оборудование);

прямолинейные в плане и линейные траншеи можно разрабатывать любыми машинами;

при строительстве линейных противофильтрационных завес рекомендуется применять экскаваторы, оборудованные обратной лопатой;

при строительстве в городах и на промышленных площадках рекомендуется применение специализированных ковшовых машин;

при проходке скальных и полускальных грунтов и прослоек следует применять буровые и бурофрезерные агрегаты.

СООРУЖЕНИЯ ИЗ МОНОЛИТНОГО ЖЕЛЕЗОБЕТОНА

7.31. Сущность технологии строительства монолитных стен d грунте заключается в разработке траншеи, разделении ее на отдельные участки (захватки), монтаже арматурных каркасов на этих участках и бетонировании стены отдельными секциями-захватками последовательно или через одну с обеспечением надлежащей плотности сопряжения секций стены между собою.

Работы по возведению монолитных стен в грунте должны быть максимально механизированы, выполняться поточным методом с максимальным совмещением работ во времени.

7.32. Основным материалом конструкций подземных инженерных сооружений, возводимых способом «стена в грунте», является бетон. Состав бетонной смеси должен подбираться таким образом, чтобы он соответствовал условиям производства работ при бетонировании методом вертикально перемещаемой трубы.

Траншеи, заполненные глинистым раствором, следует бетонировать методом вертикально перемещаемой трубы (ВПТ). Бетонирование и приготовление бетонной смеси должно производиться в соответствии с указаниями главы СНиП III-15-76 и настоящего Пособия. Состав бетонной смеси подбирается согласно указаниям главы СНиП III-15-76, исходя из требуемой прочности бетона и условий его удобоукладываемости, и должен удовлетворять следующим требованиям:

иметь связность, обеспечивающую свободное прохождение по бетонолитной трубе и распределение по площади захватки без расслоения;

относительное водоотделение смеси, характеризующее ее связность, должно находиться в пределах 0,01-0,02;

иметь в период бетонирования осадку стандартного конуса 16-20 см;

сохранять подвижность в течении времени, необходимого для транспортировки и укладки ее в траншею;

водоцементное отношение - не более 0,6;

срок схватывания бетонной смеси - не менее 2 ч.

Для повышения пластичности бетона и его удобоукладываемости без увеличения расхода цемента рекомендуется применять пластифицирующие добавки [сульфитно-спиртовую барду (ССБ) и др.].

Вид и дозировку добавок следует устанавливать по данным лабораторных исследований, в зависимости от вида и качества цемента, а также требований, предъявляемых к бетону. Запрещается вводить в бетонную смесь химические ускорители твердения бетона (хлористый кальций, поваренную соль и др.).

Размеры фракций крупного заполнителя не должны превышать 50 мм.

В некоторых случаях бетонирование возможно производить полужесткими бетонными смесями (с осадкой конуса 7-10 см) и с применением вибратора, прикрепленного к нижней части бетонолитной трубы.

7.33. Арматурные каркасы должны быть на 10-15 см меньше ширины траншеи и иметь специальные катки (салазки), расположенные по обе стороны каркаса в трех точках по горизонтали и через 3-4 м по высоте, но не менее чем в трех сечениях.

Эти катки (салазки) обеспечивают правильную установку каркаса в траншее и создание защитного бетонного слоя между арматурой и грунтом, составляющего 5-7 см с каждой стороны.

В местах установки бетонолитных труб в армокаркасе проектом должны быть предусмотрены специальные проемы с направляющими из продольных гладких стержней, обеспечивающие опускание и подъем бетонолитных труб без зацепления фланцев за арматуру. Хранение готовых армокаркасов на стройплощадке следует осуществлять под навесом на деревянных подкладках.

7.34. Оборудование для бетонирования траншей под глинистым растворим методом вертикально перемещаемой трубы (ВПТ) должно состоять из:

комплекта металлических бетонолитных труб с длиной звеньев 1-6 м для подачи бетонной смеси в траншею;

загрузочной воронки на трубе;

приспособлений для изоляции бетонной смеси от глинистого раствора при первоначальном заполнении трубы;

приспособлений для подвешивания, подъема и опускания труб;

подмостей для размещения оборудования и людей;

автобетоносмесителей, бетононасосов и других приспособлений и устройств для транспортирования бетонной смеси к установке ВПТ.

Оборудование и механизмы для бетонирования должны обеспечивать непрерывность укладки бетонной смеси в траншею с равномерным заполнением бетонной смесью всей бетонируемой захватки.

7.35. Для подачи бетонной смеси в траншею следует применять круглые металлические цельнотянутые трубы диаметром 250-300 мм с толщиной стен 8-10 мм без вмятин и наплывов на стенках.

Загрузочная воронка должна изготовляться из листовой стали толщиной 3-5 мм с металлической обвязкой уголковой стали и иметь уклон примерно 45°. Объем воронки должен быть не менее объема бетонолитной трубы, рассчитанной на максимальную глубину бетонирования.

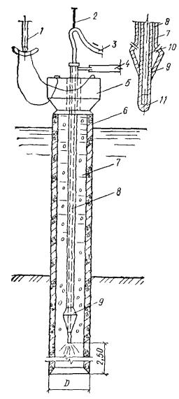
Длина всей бетонолитной трубы должна приниматься равной высоте бетонируемой стены. Зазор между нижним концом бетонолитной трубы и дном траншеи должен быть 6-10 см.

Стыки бетонолитных труб следует выполнять прочными, плотными и быстроразъемными. Замки между секциями труб не должны иметь выступающих частей, которые могли бы задевать за арматурный каркас при подъеме и опускании труб. До начала работ собранную бетонолитную трубу необходимо проверить на герметичность водой под давлением 0,02-0,03 МПа. Для контроля за заглублением трубы в траншее на ней следует нанести яркой краской деления через 10 см, начиная с нижнего звена, а цифры, обозначающие длину трубы, следует наносить через 1 м.

Рис. 81. Трубчатый ограничитель

7.36. Для предохранения бетонной смеси, поступающей в начальный период в бетонолитную трубу, от смешивания с глинистым раствором должны применяться скользящие пробки из мешковины, пакли и др. При этом в горловине воронки над пробкой должен устанавливаться съемный клапан, удерживающий бетонную смесь в воронке.

7.37. Длина отдельных захваток бетонируемой секции обычно принимается от 2 до 6 м, при этом в торцах захватки необходимо устанавливать ограничители, служащие опалубкой и придающие торцу требуемую форму для устройства принятого стыка между захватками.

Рис. 82. Неизвлекаемый железобетонный ограничитель

Ограничитель следует устанавливать в траншею при помощи крана, в створ стыка между смежными захватками. При этом под действием собственного веса ограничитель должен врезаться на 3-5 см в вертикальные стены траншеи и погружаться ниже дна траншеи на 30-50 см. Верх ограничителя должен надежно закрепляться на креплении верха траншеи. Этими мероприятиями обеспечиваются герметичность ограничителя и его устойчивость в горизонтальном направлении от сдвигов под воздействием давления бетонной смеси.

При наличии плотных грунтов в дне траншеи для заглубления ограничителя рекомендуется пробуривать скважину глубиной 0,5 м на дне траншеи. В целях предотвращения обвалов грунтовых стен траншеи устанавливать ограничители способом вибропогружения не рекомендуется.

Ограничители в виде металлических инвентарных труб устраиваются диаметром на 3-5 см менее ширины траншеи с приваренными уголкамиис. 81). Через 3-5 ч после бетонирования ограничители должны извлекаться.

7.38. Вибронабивной стык выполняется при помощи инвентарных труб, которые после начала схватывания бетонной смеси первой захватки отрываются от схватывающегося бетона и оставляются в траншее. После бетонирования смежной захватки полость инвентарной трубы заполняется бетоном, а сама труба извлекается.

Привлекаемые железобетонные ограничители (рис. 82) используют при отрывке и бетонировании захваток через одну.

7.39. Учитывая, что в процессе разработки траншеи происходит загрязнение глинистого раствора и выпадение шлама на дно траншеи, необходимо перед началом бетонирования очистить дно захватки и заменить загрязненный глинистый раствор на свежеприготовленный.

Для очистки дна траншеи от шлама применяются погружные насосы или эрлифтные установки.

7.40. После отрывки траншеи установка ограничителей арматурных каркасов и бетонирование захватки должны выполняться в наиболее короткий срок, который не должен превышать суток.

7.41. Каркасы следует вывешивать на крепление верха траншеи с помощью поперечных балок, при этом стержни арматурных каркасов не должны опираться на дно траншеи.

При значительной глубине траншеи арматурные каркасы должны собираться по высоте из отдельных блоков, соединяемых друг с другом сваркой по мере монтажа их в траншее.

7.42. По мере бетонирования трубу вместе с воронкой поднимают краном и укорачивают посекционно, но так, чтобы ее нижний конец всегда был заглублен в ранее уложенную бетонную смесь не менее чем на 1-2 м. Перерывы в бетонировании допускаются не более 1-5 ч. Вытесняемый из траншеи глинистый раствор в процессе бетонирования отводится по лотку из траншеи в разрабатываемую захватку или запасную емкость.

Количество бетонолитных труб для бетонирования захватки устанавливается исходя из радиуса надежного растекания бетонной смеси - радиуса действия труб.

7.43. Бетонирование следует производить до уровня, превышающего проектную отметку на 2 % высоты конструкций, но не менее 40 см, с последующим удалением верхнего слоя бетона толщиной не менее 20 см, загрязненного глинистыми частицами.

СООРУЖЕНИЯ ИЗ СБОРНОГО ЖЕЛЕЗОБЕТОНА

7.44. При строительстве способом «стена в грунте» с применением сборных элементов их запас на площадке должен соответствовать длине участка стены, равной сменной производительности агрегата, разрабатывающего траншею. Запрещается разработка траншеи без наличия необходимого запаса сборных элементов.

7.45. Монтаж сборных элементов должен начинаться только при наличии готовой траншеи длиной 6-7 м и вестись с интенсивностью, соответствующей скорости разработки траншеи. Разрыв между рабочим органом разрабатывающей траншею машины и монтируемым элементом должен быть не менее 2-3 м.

Монтаж сборных элементов может производиться стреловыми, башенными или козловыми кранами соответствующей грузоподъемности и вылета, находящимися, как правило, с наружной стороны возводимого сооружения за пределами призмы обрушения траншеи.

7.46. Перед установкой сборного элемента должна замеряться глубина траншеи. Разработка траншеи должна быть произведена с перебором дна на 200-250 мм. Глубина траншеи замеряется по отношению к горизонтальным плитам крепления верха траншеи лотом с бирками на тросе через 0,1 м.

7.47. Проектная отметка верха стеновых панелей достигается их подвеской на крепление верха траншеи или отсыпкой в траншею слоя щебня или гравия. По мере подсыпки осуществляют промеры глубин не менее чем в трех точках по краям проектного положения плиты в центре.

7.48. Установка первой стеновой панели в ряду должна осуществляться с тщательной выверкой ее положения как в плане, так и по высоте при помощи жесткого направляющего кондуктора (рис. 83).

Рис. 83. Кондуктор для монтажа стеновых панелей

1 - опорная рама; 2 - кондуктор; 3 - прижимная пружина

Рис. 84. Съемная (инвентарная) направляющая

1, 2 - направляющие уголки; 3 - закладные детали; 4 - рабочая арматура; 5 - шаблон

Монтаж второй и последующих панелей производится при помощи специальных направляющих - съемных (инвентарных) и постоянных (несъемных).

Съемные направляющие применяются преимущественно при стыках открытой формы, когда полость стыка достаточна для размещения направляющей.

Постоянные направляющие применяются при стыках с малой полостью.

Съемные направляющие (рис. 84 и 85) выполняются в виде стержня-шаблона любого симметричного сечения - двутавра, рельса, трубы и т.д., и соединяются со сборным элементом при помощи фиксаторов-коротышей длиной 150-200 мм. Форма фиксаторов должна соответствовать форме направляющей.

Постоянные направляющие (рис. 86) состоят из шаблона и двух фиксаторов и выполняются в виде накладных частей, привариваемых к закладным частям панели перед ее установкой в проектное положение. При этом фиксаторы устанавливаются на задней (по направлению монтажа) грани монтируемой панели, а шаблон - на передней грани.

Рис. 85. Стык панелей с прямоугольной разделкой шва

1 - съемные направляющие; 2 - фиксаторы коротыши

Рис. 86. Стационарная направляющая

На первой монтируемой панели в сооружениях круглой или овальной формы в плане шаблоны устанавливаются на передней и задней гранях. Передняя и задняя грани последней монтируемой панели оснащаются фиксаторами.

7.49. Монтаж панелей со съемными направляющими производится путем заводки и закрепления направляющей в фиксаторы передней грани сборного элемента, лежащего в горизонтальном положении. После переведения сборного элемента в вертикальное положение он заводится в траншею сверху так, чтобы фиксаторы задней грани монтируемого элемента вошли в зацепление с направляющей ранее установленного элемента. После этого сборный элемент опускается краном в траншею до тех пор, пока верхние фиксаторы не войдут в зацепление с направляющей.

После установки элемента в проектное положение направляющая, находящаяся между смонтированными элементами, извлекается краном для заводки в очередной элемент.

Для обеспечения бесперебойного монтажа необходимо наличие двух направляющих.

Сборные элементы со стационарными направляющими следует монтировать так же, как и элементы со съемными направляющими.

7.50. Высотное положение верхнего торца сборного элемента следует проверять после его погружения в траншею. При этом если панель подвешивается на крепление верха траншеи, то ее высотное положение следует изменять путем установки подкладок различной толщины под балку, на которой подвешен сборный элемент.

В случае, когда элемент опирается на дно траншеи, выверку по высоте нужно осуществлять путем изменения толщины щебеночного основания. Если верх сборной панели расположен ниже проектной отметки, ее следует приподнять краном и в траншею подсыпать щебень.

Если отметка верхнего торца стеновой панели выше проектной, сборный элемент следует приподнять краном, а затем резко опустить вниз, втрамбовывая щебень в дно траншеи.

7.51. Заполнение пазух между панелью и стенками траншеи в зависимости от природных условий, габаритов сооружения, метода разработки грунта и устройства днища выполняется инъекцией цементно-глинопесчаным раствором, внутренней пазухи - гравийно-песчаным материалом, а наружной - низкомарочным цементно-глинопесчаным раствором или гравийно-песчано-глинистой смесью.

7.52. Состав тампонажного раствора должен приниматься таким, чтобы его прочность была не менее прочности окружающего грунта. При этом применяемые для заполнения пазух тампонажные растворы должны обладать следующими свойствами:

Прочность на сжатие на 28 сут, МПа             не менее 0,1

Коэффициент фильтрации, см/с                     не более 10-8

Время начала схватывания раствора, ч          не менее 8

Расплыв по конусу АзНИИ, см                       не менее 4

Подбор составов следует производить в каждом конкретном случае из имеющихся в наличии материалов в соответствии с Руководством по применению глинистых и тампонажных растворов при строительстве способом «стена в грунте».

Заполнение пазух траншеи следует производить захватками. Длина захватки принимается в зависимости or грунтовых условий в пределах 3-6 м. При этом чем менее устойчивые грунты, тем короче принимается захватка. Следует ограничить захватки торцевой опалубкой ограничителями.

Тампонажный раствор должен подаваться по инъекционным трубкам диаметром 50-60 мм, длина которых равна глубине траншеи. Верхний конец должен быть загнут под углом 90° и оборудован фланцем, а также петлями для подвески к крюку крана.

Инъекционная труба переставляется краном с шагом 1,5 м вдоль траншеи. Подача раствора в трубу осуществляется растворонасосами типа С-853, С-938, С-745А через бункер, оборудованный ситом.

7.53. Гравийно-песчано-глинистые смеси составляются из гравия или щебня и крупного или средней крупности песка в объемном соотношении 1:1. Размер фракций щебня или гравия должен быть не более 10-15 мм. Их подают в пазуху бадьями емкостью до 1 м3. Разгрузка производится в одно место до тех пор, пока конус материала не покажется из-под глинистого раствора. Следующая порция материала подается на откос конуса.

7.54. В том случае, если наружная и внутренняя пазухи заполняются одним и тем же материалом, интенсивность подачи его должна приниматься одинаковой для обеих пазух. В случае заполнения наружной пазухи цементно-песчаным раствором интенсивность подачи материала во внутреннюю пазуху должна быть выше, чем интенсивность инъекции в наружную.

7.55. После окончания заделки пазух и закрытых шпоночных стыков (в случае их наличия) все сборные стеновые панели соединяются поверху путем устройства железобетонной обвязочной балки. Арматурный каркас балки должен включать выпуски арматуры из верхних торцов панелей.

7.56. Разработка грунта изнутри сооружения должна производиться равномерно по всей площади с устройством, в случае необходимости, поддерживающих панели конструкций (распорок, грунтовых анкеров, перегородок). Эти работы должны сопровождаться постоянными наблюдениями за состоянием и возможным перемещением стен сооружений. Работы должны производиться в строгом соответствии с ППР.

7.57. Выбор способа разработки грунта внутри сооружения должен осуществляться одновременно с выбором способа осушения котлована и конструктивно-технологическими решениями по обеспечению устойчивости стен сооружения.

 

Таблица 48

Способ защиты котлована от поступления грунтовых работ

Схема производства работ

Рекомендуемая область применения

Производство работ без водопонижения путем врезки стен в водоупор

 

При расположении водоупора выше днища сооружения или ниже основания днища на 2-3 м

Производство работ без водопонижения путем устройства совершенной противофильтрационной завесы

При расположении водоупора ниже днища на 3-6 м

Производство работ без водопонижения путем разработки грунта из-под воды и устройства бетонного основания под днище методом подводного бетонирования

При глубинах сооружения до 10-12 м и размерах в плане до 10 м

Производство работ с открытым водоотливом путем устройства в основании стен противофильтрационных несовершенных завес

При глубинах сооружения до 12-5 м, отсутствии или глубоком залегании водоупора и суффозионно устойчивых грунтах

Производство работ с открытым водоотливом в процессе выемки грунта из сооружения

При незначительных притоках подземных вод и выполнении выемки грунта из сооружения средствами гидромеханизации

Производство работ с глубинным водопонижением, с расположением скважин в пределах контура сооружения

При грунтах допускается глубинное водопонижение

Производство работ с глубинным водопонижением, с расположением скважин в пределах контура сооружения

При грунтах, допускающих глубинное водопонижение, и размере сооружения в плане до 15 м

Производство работ с открытым водоотливом

Наличие суффозионно-устойчивых грунтов, допускающих производство работ с открытым водоотливом

Производство работ с разработкой грунта из-под воды, устройством подводным способом обратного фильтра с проницаемым пригрузом и последующей откачкой воды изнутри сооружения

При глубинах сооружений до 10-12 м и размерах в плане до 20 м

Таблица 49

Схема производства работ

Группа грунта

Геометрические размеры сооружения, м

Применяемые машины и механизмы

размер в плане

глубина

I-II

До 18

До 15

Экскаваторы канатные с грейферным оборудованием Э-10011, Э-1252 с ковшом вместимостью 1-1,5 м3

I-II

До 12

До 15

То же

I-II

12-30

До 15

То же, бульдозеры ДЗ-42, ДЗ-53

I-IV

12-30

До 30

Экскаваторы гидравлические с ковшом вместимостью 0,15; 0,25; 0,5; 0,65 м3 и краны гусеничные на базе экскаваторов Э-10011, Э-1252, Э-2505

I-IV

Более 50

До 12

Экскаваторы-драглайны с ковшом вместимостью 0,5-2,5 м3

I-IV

Более 20

До 50

Гидромониторы ГМ-2, ГМИН-250С, землесос 4НДа, кран грузоподъемностью 5 т

В табл. 48 приведены рекомендуемые способы производства работ в осушении котлована и дана рекомендуемая область их применения, а в табл. 49 приведены рекомендуемые схемы разработки грунта в сооружениях.

Разработку грунта внутри сооружения разрешается производить только после набора инъекционным раствором 75 %-ной прочности и консолидации материала забутовки в течении 3 сут.

7.58. Заделка стыков (кроме инъекционных) между сборными элементами должна осуществляться поярусно по мере разработки грунта внутри сооружения. Высота яруса 1-2 м.

Перед началом работ по заделке открытых стыков их полость следует очистить стальными щетками, промыть водой из шланга под напором и продуть сжатым воздухом.

7.59. В случае, если просачивается вода в стык между стеновыми панелями, щель между ними зачеканивается жестким раствором, жгутами, пропитанными битумом.

В местах просачивания воды или суффозионных выносов грунта из застенного пространства должны быть установлены патрубки диаметром 20-25 мм для последующего нагнетания тампонажного раствора в застенное пространство.

7.60. Заполнение открытых стыков бетонной смесью должно осуществляться нанесением набрызгбетона или торкрета послойно.

При торкретировании заделку стыка следует производить в 3-4 слоя, а при применении набрызгбетона - в 1-2 слоя.

ПРОТИВОФИЛЬТРАЦИОННЫЕ ЗАВЕСЫ

7.61. При устройстве противофильтрационных завес (ПФЗ) способом «стена в грунте» могут быть использованы следующие заполнители:

твердеющие - бетон и глиноцементный раствор;

нетвердеющие - глины, суглинки, глиногрунтовые смеси и другие материалы, удовлетворяющие требованиям качества и технологии сооружения противофильтрационной завесы.

При подборе материала заполнителя ПФЗ следует учитывать назначение и характер завесы, прочность завесы при заданном напоре и ожидаемых деформациях.

Бетон, используемый в качестве твердеющего заполнителя противофильтрационных завес, должен отвечать всем требованиям, предъявляемым к бетону, применяемому для устройства монолитных стен в грунте. Требования по водонепроницаемости к бетону должны определяться проектом.

Для приготовления глиноцементных заполнителей следует использовать:

глины и суглинки с преобладанием пылеватых частиц (0,05-0,005 мм) и содержанием глинистых частиц (менее 0,005 мм) не более 30 %, хорошо распускающиеся в воде;

пески мелкие или средней крупности;

цементы марки не ниже 300 (обычный и пластифицированный портландцемент, шлакопортландцемент, пуццолановый, сульфатостойкий); применение быстросхватывающихся цементов не рекомендуется в связи с быстрой потерей подвижности раствора.

Пригодность исходных материалов для приготовления глиноцементного заполнителя и его рецептуру следует устанавливать лабораторными исследованиями.

Используемый для ПФЗ глиноцементный заполнитель должен иметь подвижность не ниже 15 см по конусу АзНИИ, прочность не более 3 МПа с выходом камня при затвердевании не менее 98 %. Приготовленный заполнитель должен иметь начало твердения не ранее чем через 8 ч.

Нетвердеющие заполнители ПФЗ в виде комовой глины или суглинка должны быть плотными и медленноразмокаемыми в воде и иметь выраженную комовую структуру, максимальный размер комьев не должен превышать 1/3 ширины траншеи.

Заглинизированный грунт, который представляет собой смесь извлеченного из траншеи грунта с глинистым раствором, или специально приготовленные глиногрунтовые пасты, применяемые в качестве заполнителя ПФЗ, должны содержать по весу не менее 15 % глинистых частиц с равномерным распределением их по весу объема и не иметь органических примесей. Консистенция заглинизированного грунта и глиногрунтовой пасты должна обеспечивать их укладку в траншею по заданной технологии.

7.62. Для улучшения свойств глиноцементных растворов и нетвердеющих заполнителей применяют химические добавки.

Техническая кальцинированная сода Na2CO3 служит для улучшения смачиваемости глинистых частиц, увеличения их диспергации в водной среде и уменьшения водоотделения. Она пригодна практически для всех видов глин и суглинков и вводится в количестве 0,5-2 % веса твердой фазы заполнителя.

Силикат натрия п·Na2SiO3 (жидкое стекло) в виде водного раствора плотностью 1,4-1,5 т/м3 применяется для повышения стабильности и улучшения структурно-механических свойств заполнителя. Его наличие увеличивает содержание высокодисперсных кремнеземистых и алюмосиликатных составляющих в грунтовых смесях и вводится в количестве 1,5-3 % веса твердой фазы.

Подбор нетвердеющего заполнителя ПФЗ должен осуществляться и обосновываться специальными лабораторными исследованиями, а в некоторых случаях и опытными работами.

Рис. 87. Схема заполнения секции траншеи глиноцементным раствором

1 - труба диаметром 50 мм; 2 - глинистая суспензия; 3 - глиноцементный раствор

7.63. Особенностью работ по строительству ПФЗ является линейная протяженность фронта работ, что накладывает свой отпечаток на технологию.

7.64. В некоторых случаях при строительстве ПФЗ не следует предусматривать крепление верха траншей ввиду большой его стоимости.

В целях предохранения верхней части бортов траншеи, не имеющей крепления, поверхность земли по обе стороны от траншеи должна иметь уклоны, препятствующие стоку в траншею поверхностных вод. Кроме того, возможно применять инвентарное крепление верха траншеи (см. рис. 80, а).

7.65. Подготовку карьеров, определенных проектом для добычи материала заполнителя ПФЗ, вскрышные работы и строительство подъездов следует производить до начала основных работ. Одновременно следует выполнить водоотводные работы для защиты их от затопления поверхностными водами.

7.66. Монтаж оборудования глинистого хозяйства следует производить до начала основных работ по возведению завесы, а наращивание трубопроводов для подачи в траншею чистого глинистого раствора и откачки зашламованного - в процессе проходки траншеи. При строительстве противофильтрационных завес, имеющих большую протяженность, могут быть применены передвижные глинорастворные узлы.

7.67. Приготовление глиноцементного заполнителя и глиногрунтовых паст следует осуществлять в специальных стационарных или передвижных растворных узлах.

7.68. Бетонные противофильтрационные завесы следует устраивать теми же способами, что и бетонные и железобетонные несущие конструкции, выполняемые способом «стена в грунте».

7.69. Заполнение траншеи глиноцементным заполнителем или глиногрунтовой пастой должно производиться по секциям (захваткам) путем закачки их грязевыми насосами через трубы, опущенные до дна траншеи (рис. 87), или способом ВПТ.

Число подающих труб на секцию определяется проектом производства работ из условия растекания раствора и интенсивности заполнения секции. Длина секции должна составлять 5-7 м. Подачу в траншею глиноцементного заполнителя и глиногрунтовой пасты следует осуществлять непрерывно и прекращать только после их выхода на поверхность траншеи.

При закачке раствора подающие трубы рекомендуется оставлять опущенными до дна выработки в течение всего процесса заполнения. В случае возрастания давления закачки до недопустимых величин подающие трубы могут быть подняты таким образом, чтобы низ труб находился ниже уровня глиноцементного раствора не менее чем на 1 м.

Подача глиноцементного раствора или бетона должна осуществляться непрерывно. Вынужденные перерывы исходя из сроков схватывания раствора или бетонной смеси не должны превышать 4-5 ч. В противном случае секция траншеи или скважина считается выполненной некачественно и по ней должны быть разработаны мероприятия по предотвращению повышенной фильтрации.

Вытесняемый заполнителем проходческий глинистый раствор с удовлетворительными свойствами рекомендуется подавать в соседние секции или специальные емкости для последующего использования. Часть глинистого раствора, содержащая материал заполнителя не пригодна для повторного использования и удаляется.

7.70. Заглинизированный грунт следует приготавливать на бровке траншеи путем обогащения (перемешивания) вынутого из траншеи грунта глинистым раствором или глинистым грунтом, доставленным из карьера. Перемешивание производится бульдозером.

7.71. Заполнение траншеи комовым материалом или заглинизированным грунтом следует производить экскаватором, оборудованным грейфером или бульдозером.

Подача заполнителя должна производиться на небольшом участке траншеи малыми порциями.

При заклинивании комового заполнителя в траншее следует производить штыкование этих участков металлической балкой с вибратором.

7.72. При заполнении непрерывной траншеи нетвердеющим материалом, образующим откос, расстояние между местом подачи материала в траншею и проходческим механизмом (его рабочим органом) должно быть на 3-5 м больше горизонтальной проекции откоса. Для сокращения этого расстояния может быть применена установка в траншее временных или постоянных разделительных шаблонов.

7.73. Для устройства прямолинейных траншей большой протяженности глубиной до 10-15 м целесообразнее использовать серийные гидравлические экскаваторы «обратная лопата» с удлиненной стрелой и рукоятью и зауженным ковшом.

7.74. Строительство тонких противофильтрационных завес толщиной 10-15 см можно осуществлять с использованием высоконапорной водовоздушной струи.

Комплекс оборудования включает буровой станок для устройства лидерных скважин диаметром 150-200 мм, струйный монитор, насосно-растворный узел и компрессор.

Струйный монитор монтируется на гусеничном кране с копровой направляющей.

Разрушение грунта осуществляется водяной струей при давлении 10-70 МПа с расходом 3-12 м3/ч. Диаметр водяного сопла на мониторе 1-5 мм. Монитор может быть оснащен двумя диаметрально расположенными соплами. Противофильтрационный заполнитель подается через отверстие в нижней части струйного монитора под давлением 3-6 МПа.

Для улучшения работы водяной струи, особенно в обводненных грунтах, водяное сопло монитора охватывается вторым кольцевым соплом шириной 1-3 мм, через которое подается сжатый воздух под давлением 0,6-0,7 МПа с расходом 2-4 м3/мин. Образующаяся при этом воздушная рубашка отделяет водяную струю от грунтовой воды и пульпы, увеличивая тем самым дальность ее действия.

Струйный монитор опускают на дно направляющей скважины с ориентировкой водяного сопла по заданному направлению и по мере разрушения грунта поднимают вверх по скважине со скоростью 0,5-2 м/мин. Одновременно с подъемом монитора начинают подачу противофильтрационного заполнителя.

7.75. Строительство тонких ПФЗ без выемки грунта основано на погружении в грунт инвентарного металлического элемента толщиной 100 мм, снабженного вибратором. Рациональная глубина сооружаемой таким способом завесы - до 10 м.

ПФЗ, сооружаемые с помощью вибрационного оборудования, целесообразно устраивать в водонасыщенных песчаных и супесчаных грунтах с прослойками глин и суглинков текучей и мягкопластичной консистенции без крупных включений.

Работы осуществляются тремя - пятью инвентарными элементами, соединяемыми между собой шпунтовыми замками. Производство работ осуществляется в следующей последовательности: в грунт последовательно погружают все инвентарные элементы с одновременной подачей глиноцементного раствора под давлением 0,2-0,3 МПа с целью облегчения процесса погружения и предохранения инъекционных отверстий от забивания грунтом. Затем извлекают первым погруженный элемент с заполнением образующейся в грунте полости глиноцементным раствором при давлении не менее 0,2 МПа и перемещают его в замок крайнего погруженного элемента. В дальнейшем операции повторяются.

Работы осуществляются с помощью крана на гусеничном ходу грузоподъемностью не менее 16 т с копровой стойкой.

Для погружения и извлечения элементов используется вибропогружатель В-401 (ВПП-2), жестко крепящийся в верхней части элемента.

Технические характеристики вибропогружателя В-401 (ВПП-2)

Вынуждающая сила, т                                                    25

Статический момент массы дебалансов, кг·см           1000

Частота, Гц                                                                      25

Мощность двигателя, кВт                                              55

Металлический инвентарный элемент имеет коробчатое сечение, снизу к которому крепится заостренный башмак с трубкой для подачи раствора, проходящей внутри элемента. Элемент по длине снабжен шпунтовыми замками.

7.76. При производстве работ в зимних условиях (до -15 °С) следует предусматривать следующие мероприятия:

утепление оборудования для приготовления, перекачки и очистки глинистого раствора;

закрытие разработанных участков траншей утепленными щитами;

устройство тепляков над секциями.

7.77. Во избежание замерзания воды и глинистого раствора в шлангах, трубопроводах и насосах работы в зимний период рекомендуется вести круглосуточно по скользящему графику без выходных дней.

7.78. При бетонировании в зимних условиях бетонная смесь подается в бункер подогретой. Температура ее в момент укладки должна быть не ниже 5 °С. Для верхней части конструкции может применяться электропрогрев.

КОНТРОЛЬ КАЧЕСТВА РАБОТ

7.79. В процессе возведения подземных сооружений способом «стена в грунте» должны контролироваться:

геометрические размеры траншеи;

наличие осадка на дне траншеи и его удаление;

качество глинистого раствора, заполняющего траншею;

правильность установки арматурных каркасов и ограничителей между захватками;

состав и подвижность бетонной смеси;

режим бетонирования (в порядке, установленном для метода вертикально-перемещающейся трубы - ВПТ);

качество уложенного бетона или противофильтрационного заполнителя.

7.80. Глубина траншеи должна проверяться в процессе ее разработки сразу же после проходки рабочего органа землеройной машины.

7.81. Показатели глинистого раствора должны проверяться один раз в смену с отбором проб из глиномешалки, наполнительной емкости и траншеи.

7.82. Приемка законченных бетонных и железобетонных конструкций должна осуществляться в соответствии со СНиП III-15-76.

7.83. При строительстве противофильтрационных завес контролю дополнительно подлежат:

заглубление завесы в водоупорные грунты;

соблюдение технологии заполнения траншеи противофильтрационным материалом;

качество противофильтрационного материала.

Фильтрационные свойства материала заполнителя противофильтрационных завес должны определяться отбором образцов из тела завесы и испытанием их в лабораторных условиях.

Допускается определение фильтрационных свойств заполнителя противофильтрационных завес радиоизотопными плотномером или влагомером. В последнем случае используется предварительно установленная корреляционная зависимость коэффициента фильтрации от плотности материала заполнителя.

Вопросы контроля качества противофильтрационной завесы должны определяться проектом с учетом результатов работ по п. 7.85.

7.84. Составной частью контрольных работ в процессе возведения и эксплуатации сооружений является геодезический контроль, который должен включать наблюдения:

при разработке траншеи;

в период бетонирования или установки панелей;

во время тампонажа и снятия панелей с подвесок;

по маркам, установленным на стенах, в процессе возрастании нагрузок;

в период эксплуатации (продолжительность наблюдений и цикличность устанавливаются проектом).

Наблюдения должны производиться как за вертикальными деформациями, так и за горизонтальными смещениями строящегося объекта и существующих зданий и сооружений (в случае их близкого расположения).

Рис. 88. Примерное расположение марок для наблюдения за вертикальными и горизонтальными деформациями в период:

а - разработки траншеи; б - монтажа панелей; в - тампонажа; г - разработки грунта внутри помещения; д - эксплуатации; 1 - стенки форшахты; 2, 5 - геодезические марки; 3 - траншея; 4 - колонна; 6 - панель; 7 - тампонажный раствор; 8 - распорные блоки

Примерное расположение марок для наблюдений за вертикальными и горизонтальными деформациями в период разработки траншей и устройства подземного помещения из сборных панелей приведено на рис. 88.

Результаты геодезических наблюдений заносятся в специальный журнал.

7.85. До начала устройства противофильтрационных завес с целью уточнения технологической схемы, предусмотренной проектом производства работ, и уточнения проектных характеристик материала-заполнителя строительной организации следует выполнить опытные работы в соответствии с техническим заданием (программой), составленным проектной организацией.

Раздел 8. СВАЙНЫЕ ФУНДАМЕНТЫ, ШПУНТОВЫЕ ОГРАЖДЕНИЯ И АНКЕРЫ

ОБЩИЕ ПОЛОЖЕНИЯ

8.1. Правила и требования настоящего раздела распространяются на производство и приемку следующих видов работ по устройству свайных фундаментов и шпунтовых ограждений: погружение свай и свай-оболочек, устройство набивных свай, погружение, извлечение шпунта и устройство анкеров.

8.2. Настоящие правила должны распространяться на устройство и приемку свайных фундаментов для жилищно-гражданских промышленных и сельскохозяйственных зданий и сооружений, а также для транспортных и гидротехнических сооружений, включающее погружение забивных свай, свай-оболочек и шпунта забивкой, вибрированием без подмыва и с подмывом, изготовление набивных свай и устройство ростверков и анкеров.

8.3. Устройство свайных фундаментов и шпунтовых ограждений должно осуществляться по проекту производства работ в соответствии с СП 47-74.

В проекте производства работ на акватории дополнительно приводятся сведения о гидрометеорологических условиях района строительства, подводных и надводных сооружениях и коммуникациях, указания по защите свайных конструкций в период строительства от воздействия волн, ледоходов, паводков, приливов, навала судов и т.п.

Проект производства работ должен также содержать рабочие чертежи всех вспомогательных устройств, связанных с выполнением свайных работ (эстакады, подмости, направляющие конструкции и т.д.); проект внутренних коммуникаций, питающих оборудование, применяемое на свайных работах; проект временных сооружений.

Для одиночных несложных объектов небольшой площади вместо проекта производства работ допускается ограничиться описанием производства свайных работ. При погружении свай, свай-оболочек и шпунта на незащищенной от волнения акватории конструкция направляющих устройств разрабатывается проектной организацией, осуществляющей проектирование возводимого фундамента или ограждения. Проектная организация разрабатывает также мероприятия по защите железобетонных свай-оболочек от трещинообразования и разрушения от действия гидродинамического давления в их полости при вибропогружении.

В составе проекта производства работ должны быть сведения: о глубине разведанной толщи грунтов не менее 5 м ниже проектной отметки подошвы свай или свай-оболочек, наличии скальных прослоек или включений валунов с их характеристиками (размеров и прочности), о физико-механических характеристиках грунтов, о характерных уровнях поверхностных и грунтовых вод. Предельная отрицательная температура, при которой допускается производство работ по погружению стального шпунта, устанавливается проектной организацией в зависимости от марки стали и способа производства работ.

8.4. Основным работам по устройству свайных фундаментов должны предшествовать подготовительные работы:

а) приемка строительной площадки, оформленная актом;

б) выбор оборудования для погружения свай, свай-оболочек и шпунта (см. прил. 37-39);

в) детальная разбивка свайного фундамента или шпунтового ограждения;

г) завоз и складирование свай, свай-оболочек и шпунта;

д) проверка соответствия технической документации и маркировки доставленных к месту работы свай, свай-оболочек и шпунта, а также проверка замков шпунтин протаскиванием по ним шаблона длиной не менее 2 м;

е) полная или частичная сборка свай, свай-оболочек, укрупнительная сборка шпунтин в пакете;

ж) нанесение антикоррозионных покрытий;

з) разметка свай, свай-оболочек и шпунта по длине.

8.5. Разбивка осей свайных фундаментов, а также шпунтовых рядов должна производиться от базисной линии. За основные линии разбивки должны приниматься оси сооружений, а в набережных - линии кордона. В качестве реперов для зданий и сооружений следует, как правило, использовать забивные сваи, расположенные на расстоянии от наружных осей не ближе 10 м.

Разбивка осей фундамента, или опоры из свай и свай-оболочек, или шпунтового ограждения должна производиться с надежным закреплением на местности положений осей всех рядов свай, свай-оболочек и шпунтового ряда.

Разбивка рядов свай при забивке их с подмостей должна сопровождаться закреплением их осей на подмостях.

Положение осей рядов свай, свай-оболочек и шпунтовых рядов на местности, покрытой водой, закрепляется путем установки необходимых знаков на берегу или с помощью каркасов.

Разбивка осей фундамента или опоры из свай и свай-оболочек, свайного или шпунтового ряда должна оформляться актом, к которому прилагаются схемы расположения знаков разбивки, данные о привязке к базисной и высотной опорной сети.

8.6. Правильность разбивки осей должна систематически проверяться в процессе производства работ, а также в каждом случае смещения точек, закрепляющих оси.

Отклонения разбивочных осей свайных и шпунтовых рядов и рядов из свай-оболочек от проектных не должны превышать 1 см на каждые 100 м ряда.

8.7. Кантовка свай, перемещение их волоком и сбрасывание с высоты не допускаются. Сбрасывание шпунта с платформ или автомобильных прицепов не допускается. При хранении и перевозке железобетонные сваи следует укладывать на деревянные подкладки, размещенные строго под объемными петлями.

ПОГРУЖЕНИЕ СВАЙ, СВАЙ-ОБОЛОЧЕК И ШПУНТА

8.8. Выбор молота для забивки свай длиной до 25 м включительно разрешается производить исходя из указанной в проекте расчетной нагрузки, допускаемой на сваю, и массы сваи. Необходимая при этом минимальная энергия ударов молота Э, Дж, определяется по формуле

Э = 1,75aР,                                                                    (18)

где а - коэффициент, равный 25 Дж/кН; Р - расчетная нагрузка, допускаемая на сваю (по данным проекта), кН.

Принятый тип молота с расчетной энергией удара Эр должен удовлетворять условию

(Qп + q) / ЭрКп,                                                                (19)

где Кп - коэффициент, приведенный в табл. 50; Qп - полный вес молота, Н; q - вес сваи (включая вес наголовника и подбабка), Н; Эр - расчетная энергия удара принятого молота, Дж.

Расчетное значение энергии удара принимается:

Для подвесного и паровоздушного молотов одиночного действия     Эр = QH

Для трубчатых дизель-молотов                                                                Эр = 0,9QH

Для штанговых дизель-молотов                                                               Эр = 0,4QH

Для паровоздушных молотов двойного действия                                  Согласно паспортным данным

Здесь: Q - вес ударной части молота, Н; Н - фактическая высота падения ударной части молота, м, принимаемая на стадии окончания забивки свай для трубчатых, H = 2,8 м, а для штанговых при массе ударных частей 1250, 1800 и 2500 кг - соответственно 1,7; 2 и 2,2 м.

8.9. Расчетная нагрузка Р при выборе молота для забивки шпунта определяется по СНиП II-17-77, как для сваи аналогичного сечения с коэффициентом надежности Кп = 1,4.

Таблица 50

Тип молота

Коэффициент Кп для материалов свай и шпунта

дерево

сталь

железобетон

Трубчатые дизель-молоты и молоты двойного действия

5

5,5

6

Молоты одиночного действия и штанговые дизель-молоты

3,5

4

5

Подвесные молоты

2

2,5

3

8.10. Для стального шпунта, а также при погружении свай любого типа с подмывом указанные в табл. 50 значения коэффициентов увеличиваются в 1,5 раза.

Принятый тип молота и высоту падения его ударной части следует дополнительно проверить на максимальные сжимающие напряжения, допустимые в железобетонной свае при забивке.

Максимальные сжимающие напряжения при ударе молота (с учетом обжатия бетона в преднапряженных сваях) не должны, как правило, превышать 60 % марки бетона по прочности на сжатие для свай, находящихся в неагрессивной среде, и 50 % - для свай, подверженных воздействию агрессивной среды, и свай транспортных сооружений, возводимых на акваториях.

Значения максимальных сжимающих напряжений в железобетонных сваях от удара молота рекомендуется определять в соответствии с прил. 40.

При выборе молота для забивки стального шпунта или стальных свай и назначении режима его работы по высоте падения ударной части необходимо соблюдать условие:

m / FКфα (Ry / 210)β,                                                       (20)

где т - масса ударной части, кг; F - площадь поперечного сечения шпунтины (пакета шпунтин) или свай, см2; Кф - коэффициент, принимаемый равным для плоского, зетового и корытных профилей шпунта соответственно 0,7; 0,8 и 0,9, а для трубчатых свай - 1; α - коэффициент, принимаемый в зависимости от типа молота и высоты падения ударной части по табл. 51; Rу - расчетное сопротивление стали забиваемого элемента по пределу текучести (МПа), принимаемое по СНиП II-23-81*; β - показатель степени, принимаемый равным для плоского, зетового и корытного профилей шпунта соответственно 1; 1,2 и 1,4, а для трубчатых свай - 1,7.

8.11. Выбор молота для забивки свай длиной более 25 м производится проектной организацией, одновременно с разработкой проекта свайного фундамента, как правило, с использованием специальных программ, алгоритмы которых основаны на волновой теории удара. Выбор молота осуществляется на основе решения на ЭВМ вариантов задач, в которых, задаваясь конкретными параметрами системы «молот-наголовник-свая-грунт», вычисляют отказ сваи и динамические напряжения в ней от удара молота. Варьируя массой ударной части молота, его высотой падения, параметрами сваи, наголовников и амортизаторов, параметрами, характеризующими сопротивление грунта, на основе полученных результатов по отказам и динамическим напряжениям определяют приемлемость того или иного молота для данной сваи и грунтовых условий.

Расчет отказов и динамических напряжений при забивке стальных трубчатых свай, в том числе и диаметром свыше 800 мм, паровоздушным молотом рекомендуется выполнять по программе GIA SI (разработчик - ЦНИИС Минтрансстроя, номер программы в Госфонде алгоритмов и программ - П006029).

8.12. Забивка деревянных свай, снабженных бугелем, допускается без наголовника.

8.13. При необходимости пробивки прослоек плотных грунтов следует применять молоты с энергией удара большей, чем указано в формулах (18) и (19), соблюдая при этом требование, указанное в формуле (20) или забивать сваи с применением лидерных скважин.

Примечания: 1. При выборе молотов для забивки наклонных свай энергию удара, вычисленную по формуле (20), следует умножить на повышающий коэффициент К1, приведенный в табл. 52.

2. При наличии разных молотов с одинаковой энергией удара предпочтение следует отдавать молоту с большей массой ударной части, обладающему большей погружающей способностью и вызывающему более низкие динамические напряжения в свае при забивке.

3. Для облегчения погружения свай через пласты глинистых грунтов, залегающих выше уровня грунтовых вод, допускается применять подачу небольших количеств воды в образующийся при забивке зазор между грунтом и сваей с целью смазки ее боковой поверхности.

8.14. Забивка свай в набухающие и просадочные грунты может производиться с лидером или без него. Глубина лидерной скважины назначается опытным путем, но должна быть не более 0,9 длины сваи.

8.15. Забивка железобетонных свай и шпунта молотами должна производиться с применением наголовников, оснащенных верхним и нижним амортизаторами; зазоры между боковой гранью свай и стенкой наголовника не должны превышать 1 см с каждой стороны.

Таблица 51

Тип молота

Высота падения ударной части молота, м

Коэффициент а

Паровоздушный одиночного действия или подвесной

0,4

75

0,8

45

1,2

30

Паровоздушный двойного действия

-

20

Дизельный трубчатый

2

45

2,5

30

3

20

Дизельный штанговый

-

50

Таблица 52

Наклон сваи

Коэффициент К1

Наклон сваи

Коэффициент К1

5:1

1,1

2:1

1,4

4:1

1,15

1:1

1,7

3:1

1,25

 

 

Забивка стальных свай и шпунта молотами одиночного действия производится с применением наголовников, оснащенных только верхним амортизатором.

Амортизаторы наголовника служат для трансформации резкого ударного импульса в более пологий и длинный с целью более рационального использования энергии удара молота на погружение сваи в грунт и снижения ударных нагрузок на сваю, а также на молот и сам наголовник. Параметры амортизаторов назначаются из условия ограничения экстремальных динамических напряжений в свае при забивке в соответствии с п. 8.8. Начальная толщина нижнего амортизатора, выполненного из досок, в любом случае должна быть не менее 10 см. В процессе забивки свай и шпунта следует вести контроль состояния амортизаторов и производить их своевременную замену (прил. 40, 41).

Крепление вибропогружателя или вибромолота (за исключением вибромолотов со свободным наголовником) со сваей, сваей-оболочкой или шпунтом должно быть жестким в процессе погружения. Рекомендуется применять гидравлические наголовники. Для погружения наращенных или пакетных деревянных свай применение вибропогружателей не допускается.

8.16. Прочность соединения секций с помощью замков на болтовых и сварных фланцевых стыках должна быть не меньше суммарной прочности приведенного железобетонного поперечного сечения сваи или сваи-оболочки при работе на продольную силу и на изгиб. Стыки свай-оболочек до погружения должны быть покрыты гидроизоляцией согласно проекту. При стыковании секций свай и свай-оболочек должна быть обеспечена их соосность.

8.17. Укрупнительная сборка свай-оболочек на строительной площадке должна производиться на болтах или сваркой в соответствии с проектом сооружения и проектом производства работ.

8.18. Для обеспечения проектного положения свай, свай-оболочек и шпунта, погружаемых в пределах акватории, следует применять преимущественно инвентарные направляющие устройства в виде кондукторов, каркасов, смонтированных на понтонах или на баржах, временно закрепляемых якорями. Окончательное закрепление направляющих устройств должно осуществляться вертикальными сваями или сваями-оболочками. Только после этого можно погружать наклонные сваи и сваи-оболочки, если они предусмотрены в конструкции фундамента.

Максимальная балльность волнения, при которой разрешается производство работ по погружению свайных элементов, устанавливается проектом производства работ в зависимости от технических характеристик основной несущей машины (самоподъемной платформы, плавучего копра, плавучего крана) и параметров погружаемых свайных элементов. Для плавучих копров и кранов она не должна превышать двух баллов.

8.19. Механические или гидравлические способы разработки (рыхления) и удаления грунта ниже ножа полых свай и свай-оболочек рекомендуется применять для облегчения их погружения в нескальные грунты.

8.20. Механические способы разработки и удаления грунта грейферами или вращательным бурением рекомендуется применять при погружении свай-оболочек диаметром 1 м и более.

Наибольший размер грейфера в плане (в раскрытом состоянии) должен быть на 0,3 м меньше диаметра полости сваи-оболочки.

Габаритный размер ковшового бура с резцами в плане должен быть на 0,1 м, а цилиндрической части бура - на 0,3-0,5 м меньше диаметра полости сваи-оболочки.

8.21. Удаление из свай-оболочек песчаных грунтов и супесей допускается производить эрлифтами или гидроэлеваторами с предварительным рыхлением грунта струей напорной воды.

При разработке грунтов эрлифтами или гидроэлеваторами во избежание наплыва грунта в сваю-оболочку следует долить в нее воду в количестве, обеспечивающем уровень воды в свае-оболочке на 4-5 м выше естественного уровня вне ее. На последнем этапе погружения сваи-оболочки в целях предотвращения разуплотнения грунта основания в полости свай-оболочек необходимо оставлять грунтовое ядро, высота которого устанавливается в проекте свайного фундамента.

8.22. При сезонном промерзании грунта забивка призматических свай может производиться при условии, что глубина промерзания нe превышает 0,5 м. В случаях большей глубины промерзания грунта необходимы мероприятия по облегчению условий погружения (устройство лидерных скважин, оттаивание и др.).

Диаметры лидирующих скважин при погружении свай через сезонно мерзлый грунт должны быть следующие:

для призматических свай - не более диагонали и не менее стороны поперечного сечения;

для трубчатых свай - не менее диаметра сваи.

8.23. Выбор типа вибропогружателя следует производить, исходя из предусмотренной проектом несущей способности сваи или сваи-оболочки (или расчетной глубины погружения шпунта) с учетом грунтовых условий.

Для низкочастотных вибропогружателей с частотой вращения дебалансов до 550 в 1 мин значение необходимой вынуждающей силы вибропогружателя Рв, кН, определяется по формуле

Рв = 1,4Ф - 3Qв / Кб,                                                             (21)

где Ф - расчетная несущая способность сваи, кН, по проекту; Qв - вес вибросистемы, включая вибропогружатель, сваю и наголовник, кН; Кб - коэффициент снижения бокового сопротивления грунта во время вибропогружения, принимаемый для различных грунтов:

Песчаные грунты средней плотности

Коэффициент Кб

гравелистые                                                                     2,5

крупные                                                                            3,2

средней крупности                                                         4,9

пылеватые                                                                        5,7

мелкие                                                                              6,2

Глинистые грунты при показателе консистенции JL:

0                                                                                        1,6

0,1                                                                                     2

0,2                                                                                     2,6

0,3                                                                                     3,3

0,4                                                                                     3,9

0,5                                                                                     4,4

0,6                                                                                     4,9

0,7                                                                                     5,4

0,8                                                                                     5,8

Примечания: 1. Для водонасыщенных крупных песков значения Кб увеличиваются в 1,2 раза, средних - в 1,3 раза, мелких - в 1,5 раза.

2. Для заиленных песков значения Кб снижаются в 1,2 раза, что не исключает применение повышающих коэффициентов при водонасыщении.

3. Для промежуточных значений консистенций IL глинистых грунтов значения Кб определяются интерполяцией.

4. При слоистом напластовании грунтов коэффициент Кб определяется как средневзвешенный по глубине.

Необходимое значение максимальной вынуждающей силы вибропогружателя Рв окончательно принимается не ниже 1,3Qв при погружении свай-оболочек (с возможным извлечением грунта из внутренней полости и в ходе погружения) и 2,5Qв при погружении свай сплошного сечения и полых свай, погружаемых без извлечения грунта.

Из числа вибропогружателей, обеспечивающих развитие необходимой вынуждающей силы, выбирается тот вибропогружатель наименьшей мощности, у которого статический момент массы дебалансов К0 (или максимальное значение момента дебалансов К0 для вибропогружателей с регулируемыми параметрами), кг·см, удовлетворяет условию

К0 ≥ МпА0,                                                           (22)

где Мп - суммарная масса вибропогружателя, сваи и наголовника, кг; А0 - амплитуда колебаний при отсутствии сопротивлений, см, принимаемая по табл. 53.

Определенные необходимые значения статического момента массы дебалансов К0 и вынуждающей силы Рв при выборе типа вибропогружателя с фиксированными или ступенчато изменяемыми значениями этих параметров должны обеспечиваться на одной из ступеней частоты вращения, а для более предпочтительных вибропогружателей с регулируемыми на ходу параметрами находиться в пределах диапазона регулирования.

При этом следует учитывать, что при равной вынуждающей силе большей погружающей способностью обладает режим работы с большим статическим моментом дебалансов.

8.24. При вибропогружении свай-оболочек следует принимать следующие меры против возможного затруднения их погружения, их разрушения или появления трещин:

во избежание повышения давления воздуха в полости сваи вследствие ее герметизации и затруднений в погружении применять наголовники со сквозными отверстиями площадью не менее 0,5 % площади поперечного сечения сваи-оболочки;

во избежание возникновения опасных динамических воздействий столба воды и грунтового ядра в полости сваи-оболочки при ее погружении на водоемах применять меры защиты железобетонных свай-оболочек от трещинообразования в соответствии с табл. 54.

Таблица 53

Характеристика прорезаемых грунтов по трудности вибропогружения

Амплитуда колебаний А0, см, при расчетной глубине погружения, м

до 20

более 20

Легкие

 

 

Водонасыщенные пески, илистые, мягко- и текучепластичные глинистые грунты

0,8

1

Средние

 

 

Влажные пески, супеси, тугопластичные глинистые грунты

1,1

1,2

Тяжелые

 

 

Полутвердые и твердые глинистые грунты, гравелистые сухие плотные пески

1,4

1,6

Примечание. При выборе типа вибропогружателя для погружения полых свай стальных труб и свай-оболочек с извлечением грунта из внутренней полости указанные значения А0 понижаются в 1,2 раза. При слоистом напластовании грунтов значение А0 принимается наибольшее, т е. для слоя самого тяжелого грунта из числа прорезаемых слоев.

Применению принятого к производству работ способа защиты свай-оболочек должна предшествовать опытная его проверка в условиях конкретной строительной площадки.

Мероприятия по подаче воздуха в полость свай-оболочек способствуют также уменьшению сопротивления погружению.

8.25. Для подачи воздуха в полость сваи-оболочки в зависимости от условий конкретной строительной площадки могут быть использованы пневмоинъектор или устройство непрерывной воздухоподачи УНВ (см. прил. 42).

8.26. В целях предупреждения возможных разрушений свай-оболочек при вибропогружении следует вести наблюдение за расходом мощности вибропогружателя (или силой тока) на пульте управления и амплитудами колебаний оболочки. Если повышение мощности (или силы тока) и амплитуд сопровождается уменьшением скорости погружения, а жесткость крепления вибропогружателя к свае не нарушена, это свидетельствует о возникновении виброударного режима движения оболочки с ударами по твердому препятствию. В этом случае погружение следует прекратить до выбора грунта из-под ножа оболочки, его подмыва или удаления жестких включений.

Таблица 54

Способы, обеспечивающие сохранность сваи-оболочки в процессе вибропогружения

Грунты

плотные

слабые

водонепроницаемые

водопроницаемые

водонепроницаемые

водопроницаемые

Подача воздуха в полость сваи-оболочки

+

+

+

+

Откачка воды из полости сваи-оболочки

+

-

-

-

Погружение свай-оболочек с защитным нижним концом (с разрушающимся или скользящим наконечником)

-

-

+

-

Примечания: 1. Знак «+» рекомендуется применять; знак «-» не рекомендуется применять. 2. При погружении свай-оболочек с поверхности грунта следует применять подачу воздуха в грунтовой сердечник.

При окончании погружения оболочки в песчаных грунтах и супесях следует ее провибрировать при пониженном моменте дебалансов или частоте колебаний вибропогружателя на проектной отметке в течение 7-10 мин для уплотнения грунта ядра и вокруг оболочки.

8.27. Питание электродвигателя вибропогружателя должно быть от самостоятельной сети, не имеющей нагрузок. Выбор источника питания вибропогружателя должен производиться с учетом перегрузки его электродвигателей на 30-50 %.

В процессе работы вибропогружателя должно проверяться напряжение на всех трех фазах электрической сети. Падение напряжения в сети во время работы вибропогружателя не должно превышать 5 % номинального.

8.28. В процессе погружения свай-оболочек при постоянных параметрах вибропогружателя и при отсутствии твердых препятствий скорость погружения, амплитуда колебаний, величина тока и потребляемая двигателем мощность постепенно снижаются с глубиной ввиду возрастания сил бокового трения грунта.

Для увеличения глубины погружения сваи-оболочки целесообразно принудительно повышать к концу погружения потребляемую мощность двигателя до номинальной, используя для этого конструктивные особенности применяемых вибропогружателей (увеличение момента дебалансов, переход на более высокие ступени их вращения), а также использовать пневмоинъекторы или УНВ.

Грунт из полости свай-оболочек следует извлекать при затруднении дальнейшего погружения и снижения скорости до 2-5 см/мин или же в связи с необходимостью удаления жестких препятствий из-под ножа оболочки. О возможности дальнейшего погружения сваи-оболочки без выемки грунта, подаче воздуха или подмыва можно судить по величине амплитуды колебаний оболочки. Если амплитуда колебаний становится равной порядка 5 мм, не следует ожидать дальнейшего погружения. В этом случае нужно применять подачу воздуха в ядро при песчаных грунтах, подмыв или выемку грунта из полости сваи-оболочки, а в вибропогружателях ВРП с регулируемыми параметрами увеличивать статический момент дебалансов, а затем скорость их вращения, повышая потребляемую мощность до номинальной.

8.29. При выборе способа погружения стального шпунта предпочтение, как правило, следует отдавать вибропогружению как наиболее производительному и наименее опасному для повреждения шпунта способу. Забивку шпунта молотами одиночного действия следует применять в тех случаях, когда по тяжелым грунтовым условиям (гравийные грунты, гравелистые пески, твердые и полутвердые глинистые грунты и т.п.) вибропогружение становится неэффективным (скорость погружения менее 10 см/мин), а также для добивки шпунта после вибропогружателя или вибромолота, если последними не удалось достигнуть проектных отметок (за исключением случаев попадания шпунта на какое-либо препятствие, например валун, топляк и т.).

При выборе оборудования следует, как правило, ориентироваться на погружение шпунта пакетами. Шпунт зетового профиля погружается только пакетами. Увеличение количества шпунтин в пакете способствует увеличению производительности труда, снижает вероятность повреждения и чрезмерного отклонения шпунта от проектного положения.

Количество шпунтин в пакете назначается в зависимости от типа шпунта, мощности грузоподъемного и погружающего оборудования, ширины погружающей машины (молота, вибропогружателя) и наголовника, грунтовых условий и составляет при вибропогружении от 2 до 11, а при забивке - от 2 до 4.

Тип вибропогружателя для пакетного погружения шпунта следует подбирать в соответствии с указаниями п. 8.23.

Расчетная несущая способность грунта определяется при этом в соответствии с указаниями СНиП II-17-77, как для сваи аналогичного шпунту сечения.

Выбор вибропогружателя и вибромолота для погружения шпунта одиночными элементами рекомендуется производить по данным прил. 39.

8.30. Погружение шпунта в сооружении следует, как правило, выполнять захватками, на которых предварительно полностью выставляется шпунт. Длина захваток назначается в зависимости от местных условий (производительности, длины направляющих, защищенности от волнения и т.) в пределах от 10 до 30 м.

Операцию подъема и перемещения шпунтины (пакета) к месту установки во избежание большой раскачки следует производить плавно, без рывков, не допуская ударов шпунтины о направляющие и ранее установленный шпунт. Для подъема шпунтин (пакетов) краном следует применять строповочный захват с дистанционным расцеплением, а для заводки шпунтин в замок - специальные ловильные приспособления.

Погружение шпунта на каждой захватке следует выполнять, как правило, периодическими последовательными поступательно-возвратными проходками от концов захватки к ее середине и обратно таким образом, чтобы разница в отметках низа соседних шпунтин (в том числе и на границах с соседними захватками) в зависимости от степени трудности погружения (тяжелой, средней и легкой) соответственно не превышала следующих значений: для плоского шпунта - 0,5; 1 и 2 м; для других профилей - 1,5; 3 и 5 м.

Степень трудности погружения шпунта при правильном подборе погружающего механизма, в соответствии с указаниями пп. 8.8; 8.9; 8.29, характеризуется скоростью погружения, см/мин, при вибропогружении или количеством ударов молота, затрачиваемых на 0,5 м погружения шпунта в грунт:

Тяжелое погружение                              менее 50 см/мин, или более 25 ударов

Погружение средней трудности            от 50 до 200 см/мин, или от 5 до 25 ударов

Легкое погружение                                 более 200 см/мин, или менее 5 ударов

Пакеты из 8-11 шпунтин корытного профиля допускается погружать в прямолинейных стенках на глубину до 10 м за одну проходку вибропогружателем, если отклонения при этом не превышают допустимых.

Если ширина погружающей машины превышает ширину шпунтины или пакета, следует применять вставку-удлинитель наголовника, длина которой назначается из условия обеспечения свободного погружения шпунтины или пакета на требуемую глубину, принятую в проходке.

8.31. При погружении первых шпунтин (или пакетов) необходимо обратить особое внимание на строгую вертикальность их направления. Вертикальность проверяется по отвесу. Проверку вертикальности погружения шпунтин в обеих плоскостях следует производить не реже чем через каждые 5 шпунтин.

При производстве шпунтовых работ необходимо принимать меры, исключающие отклонение шпунта от проектного положения свыше допускаемых. Виды отклонений шпунта при погружении и способы их предотвращения и устранения приведены в прил. 43.

В процессе вибропогружения необходимо следить за состоянием троса и крюка крана, к которому подвешена вибромашина.

При работе с вибромашинами, оснащенными амортизаторами, скорость опускания крюка крана должна быть такой, чтобы вибропогружение частично тормозилось краном. Этим обеспечивается вертикальность погружения шпунта. На последнем этапе погружения (1,5-2 м) трос можно ослабить и погружение вести без торможения.

При погружении шпунта вибропогружателем без амортизатора скорость спуска крюка крана должна быть такой, чтобы кран не тормозил погружение шпунтины (пакета).

Для преодоления твердых прослоек грунта, а также отдельных препятствий, например бревен в грунте, рекомендуется при использовании вибромашины с амортизатором несколько раз повторить операции извлечения (на 0,8-1 м) с минимальной скоростью и погружения с максимальной скоростью (при свободном подъемном тросе).

Для уменьшения риска повреждения шпунта и его замков забивку молотами одиночного действия следует, как правило, прекращать при отказах менее: для плоского шпунта - 15 мм; для других видов шпунта - 10 мм.

Значение минимального отказа при заделке шпунта в скальные и крупнообломочные грунты на последнем этапе погружения назначается проектной организацией.

Не допускается добивка молотами одиночного действия шпунта, попавшего на препятствие при вибропогружении, которое легко распознается по резкому замедлению и остановке вибропогружения и по появлению характерного стука. Большой ударный импульс молота одиночного действия вместо разрушения препятствия может привести в данном случае к повреждению шпунта и разрыву замков.

8.32. Для ячеистых шпунтовых конструкций в проекте производства работ, как правило, следует предусматривать проверку и отработку принятой технологии погружения шпунта на первой ячейке. После погружения шпунта этой ячейки до ее засыпки следует произвести тщательный осмотр (при производстве работ на воде - водолазами) шпунта по всему периметру с откопкой на предельно возможную глубину в местах, где встречались затруднения в погружении. В случае положительных результатов осмотра, подтвердивших правильность погружения шпунта в ячейке, по согласованию с проектной организацией, разрешается возведение последующих ячеек.

При возведении ячеистых конструкций должна быть обеспечена особая тщательность устройства шаблонов для сборки ячеек, разбивки и разметки мест установки отдельных шпунтин или пакетов для обеспечения точности при замыкании ячеек.

Набор шпунтин в ячейку или секцию должен производиться строго в соответствии с предварительной разметкой положения шпунтин на направляющем шаблоне. Особое внимание необходимо обращать на установку угловых фасонных шпунтин, к которым примыкают козырьки или поперечные диафрагмы.

Погружение шпунта в цилиндрической ячейке следует производить, как правило, в одну захватку после предварительной сборки шпунта и полного замыкания контура ячейки.

В случае если район возведения цилиндрических ячеек подвержен чрезмерному волнению, рекомендуется производить предварительную сборку ячеек на специальном стенде-шаблоне, сооруженном на закрытой акватории (или на берегу в пределах радиуса действия крана), и в готовом виде плавкраном соответствующей грузоподъемности транспортировать и устанавливать собранную ячейку на штатное место.

Шаблоны для сборки и погружения шпунта в цилиндрические ячейки выполняются из стальных профильных элементов в виде стальной пространственной конструкции с жесткими верхними и нижними направляющими ярусами, расстояние между которыми должно быть не менее половины длины шпунта.

Сборку шпунта в ячейке следует начинать с установки направляющих шпунтин, равномерно распределенных по контуру ячейки через 10-15 шпунтин. Каждая направляющая шпунтина выверяется в плане и по вертикали и временно закрепляется к шаблону. После закрепления направляющих шпунтин в секторах между ними выполняется установка всех остальных промежуточных шпунтин.

Погружение шпунтин (пакетов) рекомендуется выполнять последовательными проходками по диаметрально противоположным секторам. Первая проходка на каждом секторе производится от направляющих шпунтин к середине сектора и обратно с соблюдением требований п. 8.30 по глубине погружения за одну проходку. После первой проходки по всем секторам производится погружение направляющих шпунтин.

8.33. При выборе способа извлечения шпунта предпочтение следует отдавать виброударному и вибрационным способам, а также применению молотов двойного действия. Допускается применение кранов и лебедок с полиспастами.

Сопротивление шпунта выдергиванию может быть определено в соответствии с указаниями СНиП II-17-77, как для сваи аналогичного шпунту сечения с учетом коэффициента снижения бокового сопротивления грунта во время вибропогружения (см. п. 8.23).

При определении сопротивления шпунта выдергиванию учитывается сопротивление в смежных замках, находящихся в грунте, равное (из расчета на 1 м длины замка) 50 кН при статическом извлечении и 10 кН при использовании вибрации, а также вес шпунта и извлекающего механизма (вибропогружателя, шпунтовыдергивателя и т.п.).

Все выдергивающие устройства должны быть рассчитаны с коэффициентом перегрузки не менее 1,5. При виброизвлечении шпунта подвеска вибромашины к грузоподъемному механизму должна выполняться только через амортизатор.

При извлечении шпунта с применением вибрации для срыва шпунтины, т.е. нарушения ее сцепления с грунтом, и связи в смежных замках шпунтину следует вначале осадить вниз на 3-5 см вибромашиной при свободном положении подъемного троса, а затем приступить к выдергиванию. В необходимых случаях для нарушения сцепления шпунта с грунтом и связи в замках можно осадить шпунтины молотом.

Скорость подъема крюка крана при извлечении шпунта с применением вибрации не должна превышать 3 м/мин в песчаных и 1 м/мин в глинистых грунтах.

8.34. В процессе производственного погружения свай, свай-оболочек и шпунта должны вестись журналы по формам, приведенным в прил. 44-49.

Для части свай, равномерно распределенных по всей строительной площадке, из расчета 2 % общего количества свай в сооружении, но не менее 5 шт. должна производиться регистрация количества ударов молота на каждый метр забивки или регистрация величины погружения в грунт для каждой минуты работы вибропогружателя или молота двойного действия.

При возведении транспортных сооружений (мосты, транспортные гидротехнические сооружения) с применением свай-оболочек и свай диаметром 600 мм и более, а также при предельной нагрузке на сваю 1000 кН и более подобная регистрация хода погружения производится для всех свайных элементов.

8.35. В конце забивки каждой сваи и сваи-оболочки молотом производится определение контрольного отказа для сравнения его с расчетным, указанным в проекте, для заданного молота и высоты его падения, а при вибропогружении - скорости погружения на последней минуте, мощность, амплитуда колебаний.

Значение контрольного отказа при производственной забивке определяется при стабилизированном режиме работы молота как среднеарифметическое значение отказа от последних 10 ударов молота одиночного действия или дизельного либо как частное or деления осадки сваи на последней минуте работы молота двойного действия на количество ударов в минуту, которое при номинальном давлении пара или воздуха берется по паспортным данным.

Определение контрольного отказа свай после «отдыха» и назначение продолжительности «отдыха» производится в соответствии с требованиями ГОСТ 5686-78. Измерение осадок свай при определении отказов производится с точностью до 1 мм.

При регистрации количества ударов молота на каждый метр забивки, а также при определении контрольного отказа фиксируется средняя высота падения ударной части молота.

8.36. Контроль погружения свай-колонн следует вести по заданным проектным отметкам.

8.37. В случае изменения при производстве работ указанных в проекте параметров молота или сваи контрольной остаточный отказ е для свай длиной до 25 м включительно при забивке и добивке должен удовлетворять нижеприведенным формулам (23) или (24), а для свай длиной свыше 25 м новое значение расчетного отказа определяется с использованием программ по волновой теории удара (см. п. 8.11)

                                     (23)

                         (24)

где е - остаточный отказ, см, равный величине погружения сваи от одного удара при забивке ее молотом; с - упругий отказ сваи (упругие перемещения грунта и сваи), см, определяемый с помощью отказомера; п - коэффициент, кН2, принимаемый для типа свай:

Железобетонная с наголовником          150

Деревянная:

без подбабка                                        100

с подбабком                                         80

Стальная с наголовником                      500;

F - площадь, ограниченная наружным контуром сплошного или полого поперечного сечения ствола сваи (независимо от наличия или отсутствия у сваи острия), м2; Эр - расчетная энергия удара, Дж, принимаемая для дизель-молотов (п. 8.8), для молотов подвесных и одиночного действия равной QH, для молотов двойного действия - по паспортным данным; Q - вес ударной части молота, кН; Н - фактическая высота падения ударной части, м; Кн - коэффициент надежности, принимаемый равным 1,4 в формуле (21) и 1,25 в формуле (22), а для молотов при количестве свай в опоре более 20 - 1,4; при 11-20 - 1,6; при 6-10 - 1,65; при 1-5 - 1,75; Р - несущая способность сваи, указанная в проекте, кН; ε - коэффициент восстановления удара, принимаемый при забивке железобетонных и стальных свай молотами ударного действия с применением наголовников с деревянным вкладышем ε2 = 0,2; q - вес сваи и наголовника, кН; q1 - вес подбабка, кН; h - высота, принимаемая для дизель-молотов, h = 50 см, а в остальных случаях h = 0; Ω - площадь боковой поверхности сваи, м2; п0, пб - коэффициенты, учитывающие необходимость перехода от динамического сопротивления к статическому сопротивлению грунта и равные nб = 0,25 см/кН; n0 = 0,0025 см/кН; g - ускорение силы тяжести (g = 0,0981 см/с2).

8.38. Несущая способность свай и свай-оболочек, погружаемых с помощью низкочастотных вибропогружателей и не опирающихся на скальное или полускальное основание, определяется при средней скорости вибропогружения от 2 до 30 см/мин на контрольном залоге по формуле

Ф = 1500 · КбМбNвn / Аnв + 3,8МлQв) 1 / Кн,                                 (25)

где Ф - достигнутая фактическая несущая способность сваи или сваи-оболочки, кН; Кн - коэффициент надежности по грунту, принимаемый равным 1,4; Qв - вес вибросистемы, равный суммарному весу сваи, наголовника и вибропогружателя, кН; А - фактическая амплитуда колебаний, принимаемая равной половине полного размаха колебаний сваи и сваи-оболочки на последней минуте погружения, см; nв - частота колебаний вибросистемы в 1 мин, равная фактической частоте вращения дебалансов вибропогружателя в 1 мин; Кб - коэффициент снижения бокового сопротивления грунта в ходе вибропогружения (п. 8.23); Мб - коэффициент влияния вибропогружения на несущую способность сваи по боковой поверхности, принимаемый по табл. 55; Мл - коэффициент влияния вибропогружения на несущую способность сваи под острием или нижним торцом, принимаемый по табл. 56; Nвn - мощность, расходуемая электродвигателем на движение вибросистемы, кВт, определяемая по формуле

Nвn = ηNв - Nx,                                                        (26)

где Nв - потребляемая из сети активная мощность в последнем залоге, кВт; Nx - мощность холостого хода, принимаемая равной 25 % номинальной мощности электродвигателя, кВт; η - КПД электродвигателя, принимаемый по паспортным данным в размере 0,85-0,95 в зависимости от нагрузки.

Таблица 55

Вид грунта по боковой поверхности сваи или сваи-оболочки

Коэффициент Мб

Пески и супеси твердые

1

Супеси пластичные, суглинки и глины твердые

0,95

Суглинки и глины:

 

полутвердые

0,8

тугопластичные

0,7

мягкопластичные

0,6

Примечание. При прорезании сваей слоистых грунтов коэффициент Mб определяется как средневзвешенный.

Таблица 56

Вид грунта под острием сваи или сваи-оболочки

Коэффициент Мл

Гравийный с песчаным заполнителем

1,3

Пески:

 

средней крупности и крупные, средней плотности и супеси твердые

1,2

мелкие средней плотности

1,1

пылеватые средней плотности

1,0

Супеси пластичные, суглинки и глины твердые

0,9

Суглинки и глины:

 

полутвердые

0,8

тугопластичные

0,7

мягкопластичные

0,6

В случае изменения в процессе производства работ параметров вибропогружателя, предусмотренного проектом, или проведения регулирования режима вибрации по частоте или амплитуде при погружении сваи или сваи-оболочки, или, если в проекте поставлено требование о получении в конце вибропогружения амплитуды не выше расчетной Ар, см, значение последней проверяют при средней скорости вибропогружения от 2 до 30 см/мин на последнем залоге продолжительностью не менее 2 мин и не более 5 мин по формуле:

Ар = 1500 · КбМбNвn / (КнФр - 3,8МлQ) nв,                                    (27)

где Фр - расчетная нагрузка на сваю или сваю-оболочку по проекту, кН.

Расчетную амплитуду Ар не разрешается назначать ниже 0,4 см.

8.39. При вибропогружении полых круглых свай и свай оболочек, не опирающихся в конце погружения на скальные и полускальные грунты, для обеспечения несущей способности свай Ф по проекту необходимо, чтобы фактическая измеренная амплитуда колебаний сваи А в конце погружения не превосходила расчетную амплитуду Ар, определяемую правой частью формулы (27). Если А > Ар, что свидетельствует о недостаточной величине сопротивления грунта, погружение сваи должно быть продолжено до тех пор, пока не будет выполнено требование формулы (27) А < Ар, обеспечивающее достижение несущей способности сваи по проекту.

При использовании формулы (27) и п. 8.38 определение амплитуды колебаний А, равной половине полного размаха колебаний вибросистемы, и частоты вращения дебалансов nв рекомендуется производить с помощью вибрографов, например, типа ВР-1 или другого самопишущего прибора. При отсутствии таких приборов величина nв принимается равной номинальному числу оборотов дебалансов для вибропогружателей с фиксированной скоростью вращения дебалансов, что идет в запас несущей способности сваи. При отсутствии вибрографов амплитуду колебаний можно определять с помощью нивелира, теодолита или путем быстрого прочерчивания горизонтальной линии на листе бумаги, прикрепленном к поверхности сваи оболочки. Полученная на бумаге кривая колебаний используется для определения амплитуды следующим образом. Все соседние пики кривой соединяют отрезками прямых линий. То же повторяют для нижних циклов кривой. В результате получается ломаная полоса, высота которой характеризует размахи колебаний, равные двойной амплитуде. Измеряя высоту полосы с точностью до 0,1 см, находят наиболее широкий ее участок и делят эту величину пополам, получая искомое значение А.

Определение потребляемой электродвигателями мощности Nп в конце погружения производится по показаниям ваттметра на пульте управления вибропогружателя, а при отсутствии этого прибора - по показаниям амперметра и вольтметра по формуле

Nп = 0,00173IU cos φ,                                                           (28)

где I - сила тока, A; U - напряжение, В; cos φ - определяется фазометром или принимается равным 0,7. Величины Nп, nв, А, входящие в формулу, определяются на заключительном этапе погружения в течение контрольного залога продолжительностью 2 мин. После заключительного залога вибропогружения необходимо проверить жесткость присоединения вибропогружателя к свае или свае-оболочке, так как при наличии люфтов величина Ар и достигнутая несущая способность завышаются. В случае обнаружения люфтов в наголовнике или переходнике необходимо ликвидировать их затяжкой соответствующих болтов и повторить контрольный залог, заново фиксируя показатели А, nв, Nп.

При контроле фактически достигнутой несущей способности свай и свай-оболочек, погружаемых сочетанием вибрирования с пригрузом в суммарный вес сваи, наголовника и вибропогружателя, включается также усилие от пригруза.

Примеры определения несущей способности свай и свай-оболочек приведены в прил. 50.

8.40. При применении подмыва для погружения свай и свай-оболочек в сочетании с каким-либо другим способом погружения на последних 2 м до проектной отметки подмыв прекращается, после чего свая должна быть добита до проектного отказа.

Применять подмыв при погружении сваи рекомендуется преимущественно в песчаных грунтах.

8.41. При погружении подмывом шпунта установленные в стенку шпунтины или пакеты из них должны опускаться сразу на всю глубину. Подмывные трубы при погружении шпунта необходимо располагать по бокам шпунтовой сваи симметрично относительно продольной оси шпунтового ряда ближе к пазу для создания более плотного их прижатия к погруженным ранее шпунтинам.

Для погружения с подмывом свай допускается применять как центральный, так и боковой подмыв. При большой глубине погружения, особенно при погружении свай с наклоном, рекомендуется применять центральный подмыв. Для железобетонных свай сплошного сечения разрешается укреплять одну боковую подмывную трубу с центральным выходным соплом, забетонировав его в тело сваи около острия. Боковая подмывная труба после погружения сваи должна вывинчиваться и вытаскиваться из грунта для повторного использования.

Для контроля положения наконечников по отношению к длине сваи следует подмывные трубы размечать по длине, начиная от сопла наконечника.

Необходимые величины напора и расхода воды, выходящей из наконечника подмывной трубы, в зависимости от сечения сваи и глубины погружения в различных грунтах приведены в табл. 57.

Диаметр парных подмывных труб должен соответствовать принятым величинам расхода и напора воды.

Подмывные трубы должны быть снабжены коническими наконечниками. Для достижения наибольшего эффекта действия струи воды необходимо, чтобы диаметр выходного отверстия наконечника составил от 0,4 до 0,45 внутреннего диаметра подмывной трубы. При необходимости увеличения интенсивности погружения наконечник помимо центрального отверстия должен быть снабжен рядом боковых, направленных под углом 30-45° к вертикали. Диаметр боковых отверстий принимается равным 6-10 мм.

Таблица 57

Вид грунта

Глубина погружения сваи в грунт, м

Необходимый напор у наконечника

Внутренние диаметры центральных подмывных труб (над чертой), мм, и расход воды на сваю (под чертой), л/мин, при диаметральном сечении сваи, см

30-50

50-70

Илы, супеси текучие

5-15

4-8

37

400-1000

50

1000-1500

Пески мелкие или пылеватые, текучие, текучепластичные или мягкопластичные

15-25

8-10

68

1000-1500

80

1500-2000

Суглинки и глины

25-35

10-15

80

1000-1500

106

2000-3000

Пески средней крупности, крупные и гравелистые

5-15

6-10

50

1000-1500

68

1500-2000

Супеси пластичные

15-25

10-15

80

1500-2000

106

2000-3000

Суглинки и глины тугопластичные

25-35

15-20

106

2500-3000

106-131

2500-4000

Примечание. Для более полного использования энергии удара молота при добивке свай большой длины после прекращения работы центрального подмыва рекомендуется применять дополнительный наружный подмыв в верхней части ствола. Для этой цели целесообразно использовать две подмывные трубы с внутренним диаметром 50-68 мм.

В целях уменьшения потери давления в трубопроводах необходимо располагать насосную установку возможно ближе к месту работы.

Напорный трубопровод должен иметь предохранительный клапан. Для уменьшения напора, расхода воды и мощности насосных средств необходимо сочетать подмыв с забивкой или пригрузкой сваи молотом.

При погружении свай на глубину свыше 20 м подмыв рекомендуется сопровождать нагнетанием в зону подмыва сжатого воздуха в объеме порядка 2-3 м3/мин.

Нижние концы воздухопроводных трубок следует располагать на 1 м выше подмывных.

ПОГРУЖЕНИЕ СВАЙ В ВЕЧНОМЕРЗЛЫЕ ГРУНТЫ

8.42. При буроопускном способе погружения свай в вечномерзлые грунты сваи погружаются в предварительно пробуренные скважины, диаметр которых должен превышать (на 5 см и более) наибольший размер поперечного сечения сваи, с заполнением скважины грунтовым раствором.

При средней температуре грунтов выше -0,5 °С погружение буроопускных свай следует осуществлять при искусственном охлаждении грунтов.

Для круглых свай диаметром от 60 см и выше диаметр скважины должен быть на 10 см больше диаметра сваи.

Недобур скважины по сравнению с проектной глубиной допускается не более 5 см при монолитном и 3 см при сборном ростверке.

Для заполнения пазух между стенками скважины и сваей следует применять песчано-глинистые, песчано-известковые, песчано-зольные и другие грунтовые растворы (см. табл. 58), а также спецрастворы (например, песчано-цементный), заливаемые в скважину перед погружением сваи. Заполнение пазух песчаным раствором должно выполняться после погружения свай с обязательным вибрированием. Состав раствора, его температура и качество подбираются и контролируются строительной лабораторией.

Температура раствора, заливаемого в скважину в теплое время года, может соответствовать температуре наружного воздуха, но должна быть не ниже 5 °С. При отрицательных температурах наружного воздуха температура грунтового раствора при его укладке должна быть не менее 20-40 °С при осадке конуса 12-14 см (при подготовке раствора на строительной площадке осадка конуса допускается от 10 до 16 см).

Растворы для заполнения пазух, как правило, следует заливать перед погружением сваи. В тех случаях, когда в скважине имеется вода, которую трудно удалить, грунтовый раствор подается по бетонолитной трубе. Объем раствора назначают из расчета полного заполнения пазух между сваей и стенками скважин. Контролем качества заполнения пазух является отжатие раствора на поверхность при погружении свай.

Сваи следует погружать в скважины непосредственно после заливки раствора.

При длине свай более 12 м допускается заливка в скважину перед установкой сваи части раствора из расчета заполнении пазух на глубину 10 м от дна скважины. Остальную часть раствора следует доливать в пазухи после ее установки.

Таблица 58

Наименование раствора

Состав на 1м3 раствора

Рекомендуемые условия применения

Песчано-известковый (основной)

1. Песок воздушно-сухой средней крупности 820 л, известковое тесто объемным весом 1,4 г/см3 - 300 л, вода - 220-320 л.

2. Песок воздушно-сухой - 1750 кг, известковое молоко - 180 л, вода добавляется до получения требуемой осадки конуса

Во всех случаях, кроме высокотемпературных вечномерзлых грунтов

Песчано-глинистый

1. Глина молотая высушенная - 300 л, песок - 900 л, вода - 410 л.

2. Мелкий песок и глина в соотношении 5:1 - 10:1 при консистенции, соответствующей осадке конуса 10-16 см и влажности 0,35-0,5.

3. Раствор, приготовляемый на месте с использованием бурового шлама

При высокотемпературных вечномерзлых грунтах основания

(Для предотвращения отстоя воды в скважинах применяют бентонитовую глину 1-2 % или сухой цемент)

Разрешается только в теплое время года. Рекомендации по составу раствора и разрешению на его применение даются строительной лабораторией на основании определения состава грунтов площадки

Песчано-цементный (марка раствора 100 и выше)

Портландцемент М300 - 450 кг, вода - 410 л, песок воздушно-сухой - 830 л.

При устройстве висячих свай в вечномерзлых грунтах, используемых по принципу I, применение химических добавок, понижающих температуру замерзания, недопустимо.

При наличии погруженных на большую глубину неизвлекаемых обсадных труб при высокотемпературных вечномерзлых грунтах основания; при наличии грунтовых вод, талых прослоек.

При наличии расчетного стыка в зоне действия изгибающего момента

Сваи перед погружением следует очищать от намерзших к ее поверхности комьев грунта, льда и снега, жировых пятен.

В отдельных случаях, при достаточной ширине пазух, допускается устанавливать сваи на проектную отметку в сухую скважину с заполнением пазух раствором закачиванием его растворонасосом по шлангам.

Летом промежуток времени между подготовкой скважины и установкой сваи не должен превышать 4 ч. В зимнее время допускается заблаговременная проходка скважин при условии осуществления мероприятий по предохранению от попадания в скважины снега или воды, образования инея и наледей на стенках скважины и принятия необходимых мер по технике безопасности.

Летом и осенью устье скважин при необходимости обсаживают на глубину, равную толщине оттаявшего слоя грунта.

Во всех случаях недопустимо замерзание попавшей в скважину воды перед установкой сваи. Образовавшийся в скважине лед должен быть удален перед установкой сваи.

В случае использования вечномерзлых грунтов в оттаивающем и в оттаявшем состоянии (принцип II) при погружении буроопускным способом свай-стоек, передающих нагрузку нижним концом на практически несжимаемые при оттаивании грунты, диаметр скважин должен превышать наибольший размер поперечного сечения сваи не менее чем на 15 см. При этом минимальное заглубление дна скважины под сваи-стойки в практически несжимаемые при оттаивании грунты определяется проектом, но должно быть не менее 0,5 м. Зазор между стенкой скважины и боковой поверхностью сваи-стойки в пределах заглубления ее в практически несжимаемые грунты заполняется раствором, определяемым проектом.

8.43. При опускном способе погружения свай в вечномерзлые грунты сваи погружаются в оттаянные зоны грунта, при этом диаметр зоны оттаивания должен быть не более 2b, где b - размер наибольшей стороны поперечного сечения сваи.

Примечание. Во всех случаях, когда в проекте предусмотрено погружение свай в вечномерзлые грунты опускным способом, рекомендуется для улучшения качества и повышения производительности свайных работ погружать сваи с проходкой скважин паровым вибролидером.

Оттаивать вечномерзлый грунт следует открытыми или закрытыми нагревателями с помощью пара, воды, электрического тока и др.

Рекомендуется применять нагреватели открытого типа, в которых источником тепла является пар, поступающий из наконечника нагревателя (паровая игла) непосредственно в грунт. Паровая игла представляет собой стальную трубу диаметром 19-25 мм с наконечником, имеющим выходные отверстия диаметром 3-8 мм.

Для ведения работ по оттаиванию скважин паром необходимо подготовить следующее оборудование и материалы:

паровой котел;

магистральные и распределительные паропроводы; паровые иглы с наконечниками;

распределительную гребенку со шлангами для подводки пара к иглам;

инвентарные подмости для установки игл и поддерживания их в вертикальном положении.

Магистральный и распределительный паропроводы следует прокладывать на низких козлах или деревянных прокладках с уклоном в сторону котельной. Для удобства монтажа распределительный паропровод должен состоять из отдельных секций и присоединяться к магистральному паропроводу с установкой вентиля в месте присоединения. На магистральном паропроводе в местах присоединения распределительных линий ставятся заглушки. Обязательно устройство теплоизоляции труб магистральных и распределительных паропроводов.

При производстве работ необходимо следить за исправностью паропроводов, своевременно ликвидировать утечки пара и не допускать выпуска конденсата пара в пределах застраиваемой территории.

Распределительная гребенка должна иметь одинаковый с распределительным паропроводом диаметр; к ней привариваются отводы для подключения паровых игл. На отводах распределенной гребенки устанавливаются вентили.

Перед распределительной гребенкой устанавливается манометр для регистрации давления пара, поступающего в паровые иглы. Паровые иглы соединяются с распределительной гребенкой посредством гибких шлангов высокого давления.

Для работы с паровыми иглами следует применять шланги (рукава, изготовленные из резинотканевых паропроводных рукавов для подачи насыщенного пара с температурой до 175 °С, рассчитанные на рабочее давление пара до 0,8 МПа). Шланги должны быть работоспособны при температурах наружного воздуха от минус 50 до 50 °С.

Для фиксации правильного положения паровой иглы следует отрывать в местах установки игл лунки или применять шаблоны. Поверхностный слой из насыпных грунтов, если пробными попытками будет установлена невозможность проходки через него паровых игл, необходимо пробурить или пройти траншеей на всю глубину.

Оттаивание мерзлого грунта в месте погружения сваи должно производиться одной или несколькими одновременно действующими паровыми иглами. Число одновременно оттаиваемых скважин определяется с учетом того, что на одну паровую иглу необходимо иметь 4-5 м2 поверхности нагрева котла. Для эффективного оттаивания грунта на каждую иглу следует подавать не менее 300 кг пара в 1 ч.

Давление пара на распределительной гребенке следует устанавливать равным: 0,3-0,4 МПа для глинистых грунтов без крупнообломочного материала; 0,4-0,6 МПа для песчаных грунтов; 0,6-0,8 МПа для песчаных грунтов; 0,6-0,8 МПа для песчаных грунтов с включением гравия и гальки.

В начале погружения иглы в грунт давление пара должно быть минимальным (0,3-0,4 МПа), а после погружения увеличивается до максимального (0,5-0,8 МПа).

При содержании в мерзлых грунтах гальки и гравия более 15 % (до 20 %), а также при небольших валунах рекомендуется применять утяжеленную паровую иглу, имеющую более толстые стенки и прочный наконечник.

При содержании крупнообломочного материала более 20 % необходимо вначале в мерзлом грунте пробуривать скважину диаметром 100-150 мм и затем через эту скважину паровой иглой оттаивать грунт.

Глубина оттаянной скважины в глинистых грунтах должна быть равна проектной глубине погружения сваи.

В грунтах песчаных и содержащих крупнообломочный материал скважину следует оттаивать на глубину, превышающую проектную глубину погружения сваи на 0,5-1 м в зависимости от толщины слоя крупнообломочного материала, валунов и песка, оседающих на дно скважины и располагающихся под нижним концом сваи. При этом необходимо учитывать, что грунт под наконечником иглы оттаивает еще на 0,3-0,5 м в песках и илах, на 0,2-0,3 м - в глине и на 0,1-0,2 м в щебенистых грунтах.

Длительность выдержки паровой иглы зависит от размеров оттаиваемой скважины и льдонасыщенности грунта.

Иглу выдерживают, как правило, последовательно на глубине 0,5 м в процессе погружения и далее через 0,5 м от поверхности земли в течение 10-20 мин на каждой отметке в зависимости от состава грунта.

В однородных глинистых грунтах рекомендуется быстро погружать паровую иглу до проектной глубины, а оттаивание грунта производить в процессе извлечения иглы из грунта с последовательной выдержкой ее на отметках, кратных 0,5 м.

Для того чтобы поперечные размеры скважины были равномерными, необходимо иглу дольше выдерживать на отметках, соответствующих залеганию более льдонасыщенных грунтов. Время выдерживания иглы следует назначать пропорционально влажности мерзлого грунта.

В грунтах песчаных или содержащих крупнообломочный материал погруженную на заданную глубину иглу, превышающую глубину погружения сваи на 0,5-1 м, следует выдерживать в течение 10-15 мин, чтобы в нижней части оттаиваемой скважины образовалось уширение диаметром, близким к заданному диаметру скважины.

Примечание. Хорошее качество скважин, не имеющих уширений вверху или внизу, с относительно ровными стенками может быть получено при следующей технологии оттаивания. Оттаивание начинают с центра скважины, а затем для ускорения оттаивания и выравнивания стенок иглу погружают в нескольких точках в пределах намеченного контура скважины. Количество дополнительных погружений и длительность выдержки иглы зависит от состава грунтов и размеров скважины (в песках до 4-5 погружений иглы, в глинистых грунтах - 5-7 погружений иглы, в торфах - 6-8 погружений иглы).

Скорость погружения и сроки выдерживания иглы на различных глубинах следует устанавливать в каждом конкретном случае пробным оттаиванием грунта и погружением сваи.

С целью облегчения погружения опускных свай в песчаные грунты рекомендуется после их оттаивания в процессе погружения сваи к нижней части скважины подавать воздух, который перемешивает и рыхлит оттаянный песок.

Для погружения сваи используются стреловые или башенные краны. Свая в оттаянный грунт резко опускается с высоты 2-3 м. Погружение сваи в оттаянные песчаные грунты наиболее эффективно с помощью вибропогружателей.

Если по какой-либо причине свая опускается ниже проектной отметки, в скважину следует подсыпать щебень, и сваю до вмерзания поддерживать краном или закреплять в проектном положении.

Погружать сваи в предварительно оттаянный грунт зимой и весной следует не позже чем через сутки после окончания оттаивания, летом и осенью - не позже чем через 2 сут. При этом железобетонные сваи не допускается погружать ранее чем через 12 ч (летом) и 20 ч (зимой) после окончания оттаивания скважин.

Погружение свай в оттаянные скважины допускается также применять на площадках с температурой грунта от минус 1 до минус 1,5 °С при условии, что диаметр протаянной зоны назначается уменьшенным (равным диагонали поперечного сечения сваи), а сваи погружаются сваебойными машинами.

8.44. При бурозабивном способе погружения свай в вечномерзлые грунты сваи забиваются в предварительно пробуренные скважиныидеры, диаметр которых менее (на 1-2 см) наименьшего размера поперечного сечения сваи.

Если бурозабивные сваи погружаются в зимнее и весеннее время, скважина на глубину 1,5-3 м должна иметь диаметр, превышающий диагональ поперечного сечения свай.

Перед погружением бурозабивной сваи скважину следует тщательно очистить от попавших в нее воды, грязи, льда и снега.

Типы сваебойных машин для погружения свай должны выбираться с учетом технико-экономических показателей в зависимости от мерзлотно-грунтовых условий строительной площадки, размеров и веса свай и намеченного способа погружения.

Во всех случаях следует применять сваебойные машины с весом ударной части, превышающим вес сваи с наголовником.

Стенки скважины во всех случаях должны быть ровными, в связи с чем бурение скважин производят только вращательным и паровибролидерным способами.

При бурозабивном способе погружения свай искусственное понижение температуры вечномерзлых грунтов основания допускается проводить только после погружения свай.

8.45. Способ бурения скважин под сваи выбирается с учетом мерзлотно-грунтовых условий строительной площадки и технологических показателей (табл. 59-61), технических возможностей строительной организации. В таблицах приводятся также условия для рационального применения способа подготовки скважин оттаиванием паром.

8.46. Контроль качества работ по устройству свайных фундаментов должен производиться на всех этапах, включая бурение скважин, и осуществляться производителем работ и представителями авторского надзора и заказчика.

В процессе выполнения работ по бурению скважин под сваи производителем работ должен вестись журнал, в котором фиксируется номер скважины, месяц, число и время ее бурения, диаметр рабочего инструмента, диаметр обсадной трубы и глубину ее погружения, отметки устья и дна скважины (проектная и фактическая), наличие или отсутствие в ней воды, а также краткая характеристика проходимых грунтов, определяемая по удаляемому из скважины буровому шламу. Записи в журнале должны производиться производителем работ, контролироваться и подписываться представителями авторского надзора и заказчика.

При бурении скважин под сваи-стойки дополнительно с проектной глубины скважины отбираются образцы грунта, которые маркируются и сохраняются до оформления акта приемки скважин.

В случае несоответствия полученных результатов проектным данным по согласованию с проектной организацией может быть изменена проектная глубина скважины.

Таблица 59

Способ бурения

Мерзлотно-грунтовые условия для рационального применения способа подготовки скважин при

температуре мерзлого грунта, °С

содержании включений на скважину

песчаного

глинистого

крупнообломочных, %

валунов диаметром 100-250 мм

Ударно-канатный

Ниже -0,5

Ниже -0,3

30-70, в том числе забуривание в скальные породы

Большое количество

Вращательный:

 

 

 

 

резцово-шнековый

Без ограничений

Ниже -0,2

До 30

1-2

шарошечный

То же

Ниже -0,2

Свыше 30, в том числе чисто скальные породы

Большое количество

Огневой термомеханический

Ниже -1

Ниже -0,5

До 20

1-2

Паровибролидерный

Ниже -0,5

Ниже -0,2

До 30

2-4

Протаивание скважин паровой иглой

Ниже -1,5

Ниже -1,0

До 15

2-4

Таблица 60

Способ бурения

Размеры скважин, м

Скорость бурения скважин диаметром 0,4-0,5 м, м/ч, в грунтах

глубина

диаметр

песчаных без включений

глинистых без включений

песчаных и глинистых с крупнообломочными включениями

Ударно-канатный

Более 100

До 0,9

2,5-3,5

1,5-2

1-1,5

Вращательный:

 

 

 

 

 

резцово-шнековый

8-20

До 0,65

До 15

До 10

До 5

шарошечный

До 15

До 0,5

До 15

До 12

До 10

Огневой термомеханический

До 12

До 0,5

До 8

До 10

До 4

Паровибролидерный

До 10

До 0,5

30-40

20-30

20

Протаивание скважин паровыми иглами

До 10

До 0,8

До 20

8-12

8-16

Таблица 61

Способ бурения

Продолжительность вмерзания свай, сутки, при способах нагружения свай

буроопускной

бурозабивной

Среднегодовая температура грунтов, °С

-0,5

-1

-1,5

-3

-0,5

-1

-1,5

-3

Ударно-канатный

50-70

50-40

15-25

6-12

-

-

-

-

Вращательный

30-45

15-25

8-12

4-5

2-3

1-2

-

-

Огневой термомеханический

-

120-140

80-100

40-60

10-20

8-10

5-7

2-4

Паровибролидерный

40-60

20-40

12-20

6-10

8-12

5-10

3-6

1-2

Протаивание скважин паровой иглой (опускной способ нагружения сваи)

-

-

120-140

50-70

-

-

-

-

Примечание. Первые числа в таблице показывают продолжительность вмерзания при погружении свай зимой и весной, вторые - летом и осенью.

По окончании бурения должна быть проконтролирована глубина скважины и качество зачистки ее дна путем опускания на забой специально размеченного бурового снаряда, мерной штанги или лота. Этот вид контроля должен периодически проверяться представителем авторского надзора.

Глубина скважины при буроопускном способе погружения свай должна быть равна проектной глубине погружения сваи. Отклонения фактической глубины скважины по сравнению с проектной глубиной в сторону уменьшения допускаются 5 см при монолитном ростверке и 3 см при сборном ростверке. Перебур скважины не должен превышать 20 см.

Примечание. Глубину скважин под сваи-стойки следует корректировать в соответствии с глубиной залегания практически несжимаемых грунтов.

При перерыве между окончанием бурения и погружением свай более 4 ч должны быть приняты меры по ограждению скважин от попадания в них поверхностных и грунтовых вод, при этом при погружении сваи скважина должна быть вторично проконтролирована и при необходимости дополнительно зачищена.

После погружения сваи должно проверяться соответствие отметки нижнего конца сваи отметке дна скважины, а также правильность расположения сваи в плане и по вертикали.

Погруженные сваи должны быть приняты по акту комиссией. В акте указываются данные о сваях (марка, завод-изготовитель, номер сваи, номер партии, номер паспорта, размеры сваи по проекту и фактические), месяц, число и время погружения сваи, глубина погружения (проектная и фактическая), характеристики раствора (температура, осадка конуса во время заливки в скважину), установка температурных трубок (длина, диаметр, количество).

Разрешение на загрузку свайных фундаментов из висячих свай дается на основании оценки несущей способности сваи при температурном режиме вечномерзлых грунтов оснований на день приемки. Полная расчетная загрузка свайных фундаментов разрешается только после достижения расчетного температурного режима грунтов оснований.

ИЗГОТОВЛЕНИЕ БУРОНАБИВНЫХ СВАЙ

8.47. Состав глинистого раствора должен назначаться лабораторией в зависимости от связности проходимых грунтов. Содержание песка в глинистом растворе должно быть не более 10 %.

В процессе бурения свай надлежит производить периодическую проверку основных показателей глинистого раствора: вязкости, удельного веса и содержания песка.

По окончании бурения следует проверить фактические размеры и отметки устья, забоя и расположение скважины в плане, а также соответствие грунта основания данным инженерно-геологических изысканий.

8.48. Армирование свай следует производить заранее изготовленными каркасами, устанавливаемыми перед бетонированием.

Перед установкой арматурного каркаса и бетонированием необходимо очистить забои скважины.

В целях предотвращения подъема и смещения в плане арматурного каркаса укладываемой бетонной смесью и в процессе извлечения бетонолитной или обсадной трубы, а также во всех случаях армирования не на полную глубину скважины его необходимо закрепить в проектном положении.

8.49. Для предотвращения обрушения устья скважины перед установкой арматурного каркаса его следует закрепить с помощью трубы-кондуктора длиной не менее 1 м с наружным диаметром, равным диаметру скважины.

Способы подъема, строповки, перемещения и опускания арматурного каркаса в скважину должны исключать появление остаточных деформаций каркаса или отдельных его стержней, а также повреждение ствола скважины.

8.50. Для контроля положения каркаса по глубине скважин после его установки и в процессе укладки бетонной смеси необходимо к одному из продольных стержней (в начальный период опускания каркаса в скважину) приварить стальной прут такой длины, чтобы его верх возвышался на 10-20 см над обсадной трубой или оболочкой.

В целях предотвращения подъема арматурного каркаса в процессе бетонирования свай методом ВПТ его необходимо заанкерить. Для этого в сваях к двум диаметрально расположенным стержням каркаса приварить два стержня, имеющих длину до дна скважины и снабженных на нижнем конце опорными коротышами из уголков, приваренных непосредственно к нижнему кольцу жесткости.

8.51. Доставка бетонной смеси должна осуществляться преимущественно автобетоновозами или автобетономешалками. Укладываемая в набивные сваи бетонная смесь должна иметь осадку конуса 18-20 см.

Бетонную смесь следует укладывать в скважину через бетонолитную трубу (диаметром не менее 250 мм), имеющую приемный вибробункер.

Бетонолитные трубы, предназначенные для бетонирования скважин под водой или под глинистым раствором, должны иметь приемный бункер емкостью не менее объема бетонолитной трубы и клапан, закрывающий доступ бетона в бетонолитную трубу в период загрузки бункера бетоном. Загрузка бункера должна производиться непосредственно с транспортных средств без перегрузки.

При подъеме бетонолитной трубы в процессе бетонирования нижний конец ее должен быть всегда заглублен в бетонную смесь не менее чем на 1 м.

При бетонировании необходимо обеспечить укладку качественного бетона по всей глубине скважины, в том числе в голове сваи.

При изготовлении набивных свай в зимнее время необходимы мероприятия по предохранению бетона от промораживания.

8.52. Стыки бетонолитной трубы должны быть герметичны.

8.53. Бурение скважин для набивных свай, изготавливаемых с применением обсадных труб, должно выполняться в соответствии с прил. 53. Изготовление пропущенных свай допускается не ранее достижения бетоном смежных свай 25 % проектной прочности.

8.54. Проверку подвижности бетонной смеси следует производить непосредственно перед загрузкой ее в трубу.

8.55. В процессе бетонирования труба на всю высоту должна быть постоянно заполнена бетонной смесью. Перерывы в подаче отдельных порций бетонной смеси не должны превышать срока схватывания, установленного лабораторией при данной марке цемента и температуре окружающей среды.

При бетонировании свай в зимних условиях бетонную смесь следует подавать в бункер подогретой до температуры, гарантирующей температуру бетона в скважине в момент укладки не менее 5 °С.

При температуре воздуха минус 20 °С и ниже рекомендуется обогревать приемный бункер и верхнюю часть трубы при помощи электронагревателей или устраивать объемлющий тепляк.

По окончании изготовления буронабивных свай с применением глинистого раствора верхний слой бетона следует удалить на высоту загрязнения его грунтом и глинистым раствором.

8.56. Общие требования, предъявляемые к материалам для изготовления свай:

крупность гравия и щебня, применяемого для изготовления железобетонных свай, должна быть не более 30 мм;

крупность гравия для изготовления свай должна быть не более 50 мм и щебня 40 мм;

прочность гравия или щебня должна быть не менее 600 кг/см3;

песок и вода для бетонной смеси должна отвечать требованиям действующих ГОСТов.

Для изготовления набивных свай должны применяться цементы со сроком начала схватывания не менее 2 ч. Подвижность и связность бетонной смеси следует обеспечить подбором ее состава и введением в смесь поверхностно-активных пластифицирующих добавок.

8.57. Интенсивность укладки бетонной смеси устанавливается в проекте производства работ. При заполнении полостей полых круглых свай и свай-оболочек и отсутствии в их полостях воды допускается непосредственное сбрасывание бетона через приемный бункер независимо от высоты сбрасывания.

8.58. В процессе изготовления буронабивных свай контроль осуществляется в соответствии с указаниями прил. 54. Кроме того, должны составляться акты на приемку буровых скважин, арматурных каркасов и свайного поля в соответствии с прил. 55, 56. Рекомендации по изготовлению буронабивных свай в инвентарных трубах приведены в прил. 57. Изготовление набивных свай по вибрационной технологии производится в соответствии с прил. 58.

УСТРОЙСТВО КАМУФЛЕТНЫХ УШИРЕНИЙ

8.59. Для образования камуфлетного уширения набивных свай вес заряда ВВ определяется по формуле

C = KпD3,                                                            (29)

где С - вес заряда ВВ, кгс; Кп - коэффициент сопротивления грунта взрыву, принимаемый при тугопластичных глинистых грунтах равным 1,2, а при полутвердых - 1,4; D - диаметр камуфлетного уширения, м.

Для образования камуфлетного уширения у полых забивных свай величину сосредоточенного заряда ВВ необходимо ориентировочно принимать, руководствуясь указаниями табл. 62. В процессе производства работ вес заряда ВВ должен уточняться из условий получения камуфлетного уширения проектных размеров свай.

Каждый заряд должен иметь по четыре электродетонатора, присоединенных по два к основной и дублирующей двухпроводным электросетям. Провода сетей должны иметь гидроизоляцию.

8.60. Заряд ВВ упаковывается в жесткую тару (стальной, деревянный или пластмассовый ящик). Заряд из неводостойких ВВ должен иметь водонепроницаемую (резиновую, полиэтиленовую и т.п.) оболочку. Конструкции заряда должны иметь объемную массу не менее 1,5 т/см3, чтобы исключались случаи его всплывания и взрыва на отметках выше проектных.

Таблица 62

Вес заряда ВВ, кгс

Средний расчетный диаметр камуфлетного уширения, м

1

0,8

4

1,1

8

1,5

12

1,9

Для предохранения электросети от повреждения при укладке бетонной смеси, подаваемой в скважину или обсадную трубу в бадьях, провода пропускаются в стальные трубки или резиновые шланги, нижние концы которых заводятся и надежно закрепляются в таре заряда.

После установки заряда на место проверяют целостность и общее сопротивление всей электровзрывной сети. При этом разница в расчетном и измеренном сопротивлениях не должна превышать 10 %.

Заряд ВВ, опущенный в забой на тросике или специальном проводе, устанавливается по центру скважины или сваи-оболочки. При больших диаметрах скважины или сваи-оболочки положение заряда фиксируется прикрепленными к зарядному ящику направляющими планками.

Заряд ВВ, опущенный в забой, перед подачей бетонной смеси должен быть засыпан слоем песка толщиной 10-15 см.

8.61. Диаметр образовавшегося камуфлетного уширения D следует проверять по формуле

,                                                        (30)

где V - объем бетона, вышедшего из полости оболочки в камуфлетное, м3; определяется по разности отметок верхней поверхности бетона, уложенного в оболочку до и после взрыва.

УСТРОЙСТВО КОТЛОВАНОВ ДЛЯ СВАЙНЫХ РОСТВЕРКОВ

8.62. Котлованы без укреплений разрешается применять, как правило, на суше и на глубине выше уровня грунтовых вод. Крутизна откосов должна быть обусловлена родом грунта, глубиной котлована и характером нагрузки, располагаемой на его берегах. В котлованах небольшой ширины (менее 4 м), устраиваемых выше уровня грунтовых вод в устойчивых грунтах могут быть применены закладные крепления из досок и распорок, устанавливаемых в процессе извлечения грунта.

8.63. При неустойчивых и водоносных грунтах устройство котлованов необходимо производить под защитой шпунтового ограждения во всех случаях, когда шпунт может быть забит без повреждения на необходимую глубину.

8.64. На местности, покрытой водой, для защиты котлована в пределах глубины воды рекомендуется применять деревянные шпунтовые ограждения с наружной грунтовой перемычкой или с заполнением грунта между двумя шпунтовыми рядами, металлические шпунтовые ограждения, щитовые перемычки и бездонные ящики.

8.65. Размеры котлована должны определяться проектными размерами фундамента в плане с учетом увеличения их в каждую сторону, которые назначаются в соответствии с принятыми способами водоотвода, установки опалубки и креплений, бетонирования, распалубки и изоляции кладки. Запасы в размерах должны обеспечивать возможность устройства фундамента с заданными по проекту размерами.

При комбинированной разработке котлована (верхняя часть до уровня грунтовых вод - с откосами; нижняя часть - в шпунтовом ограждении) размеры его в уровне верха шпунтового ограждения должны определяться размерами последнего в плане, но с запасом в плане в каждую сторону, обеспечивающим установку копра для забивки угловых шпунтин.

8.66. Устройство котлованов в теле конуса насыпи существующего земляного полотна или в непосредственной близости от нее, равно как и устройство в насыпи поперечных прорезей для производства работ, должны выполняться по специальным проектам с детально разработанными конструкциями креплений стенок и перекрытий прорези, обеспечивающими полную безопасность движения поездов или автомобильного транспорта.

Рабочие чертежи и порядок организации указанных работ должны быть согласованы с заинтересованными организациями.

8.67. Разработка котлованов в местах, где имеются действующие подземные коммуникации, допускается лишь при наличии письменного разрешения организации, ответственной за эксплуатацию коммуникаций, и должна производиться с принятием мер против их повреждения, а в местах расположения электрических кабелей - в присутствии представителя организации, эксплуатирующей кабельную сеть.

КОТЛОВАНЫ БЕЗ КРЕПЛЕНИЙ

8.68. При устройстве котлованов на суше в естественном однородном грунте или в плотно слежавшемся насыпном грунте крутизну откосов без креплений при кратковременных сроках производства работ и естественной влажности грунтов следует назначать согласно табл. 63.

В суглинках и глинах при возможном увлажнении их в результате дождей или снеготаяния крутизна откосов не должна превышать 1:1.

Таблица 63

Наименование грунтов

Отношение высоты откоса к заложению при глубине котлована, м

до 3

от 3 до 6

Насыпные, песчаные, крупнообломочные

1:1,25

1:1,5

Супеси

1:0,67

1:1

Суглинки

1:0,67

1:0,75

Глины

1:0,5

1:0,67

Лёссовидные (сухие)

1:0,5

1:0,75

Супеси, лессы и лессовидные грунты, имеющие степень влажности более 0,5, разрабатывать без креплений запрещается.

Для защиты грунтовых откосов от дождевых вод с нагорной стороны котлованов необходимо устраивать отводные канавы. В случаях, когда откосы котлована без креплений подвергнутся увлажнению после полной или частичной разработки, мерами предосторожности против обрушения или сползания грунта могут являться временное прекращение работ до осушения откосов, уменьшение крутизны откосов, постановка креплений.

ШПУНТОВЫЕ ОГРАЖДЕНИЯ И ЩИТОВЫЕ ПЕРЕМЫЧКИ И БЕЗДОННЫЕ ЯЩИКИ

8.69. Деревянное шпунтовое ограждение может применяться при отсутствии в грунтах включений в виде камней, затонувших деревьев и т.п.

Рекомендуемая глубина забивки в грунт деревянного шпунтового ограждения не должна превышать 6 м.

Способы погружения деревянного шпунта должны обеспечивать плотное, без щелей сопряжение шпунтин между собой на всю высоту шпунтового ограждения.

Ширину между рядами двойного шпунтового ограждения необходимо принимать не менее 1 м, а шпунт наружного ряда погружать в дно реки на глубину не менее 2 м. Кроме того, наружный ряд шпунта должен быть достаточно плотным, исключающим возможность вымывания засыпки.

8.70. При глубине воды 3-4 м пазухи между стенками деревянного двойного шпунтового ограждения рекомендуется заполнять супесями или суглинками с содержанием глинистых частиц до 20 %.

8.71. Ограждение из стального шпунта следует применять при глубине забивке более 6 м, а также при плотных и прочных грунтах.

Стальной шпунт должен быть инвентарным, и его, как правило, необходимо использовать только для ограждения сооружения в процессе строительства, после чего шпунт должен быть извлечен для повторного использования.

Порядок погружения стального шпунта должен обеспечивать замыкание всех шпунтин по всему периметру ограждения.

8.72. Верх шпунтового ограждения необходимо располагать выше максимально возможного уровня грунтовых вод на 0,2-0,4 м и выше принятого рабочего горизонта воды в реке не менее чем на 0,7 м.

8.73. Шпунтовые ограждения должны быть раскреплены путем постановки горизонтальных поясов-обвязок по контуру котлована и системы поперечных продольных и угловых распорок, назначаемых по проекту. Конструкция крепления должна быть увязана с принятым методом разработки грунта.

Установку креплений необходимо производить по мере углубления котлована.

8.74. Взамен прямоугольных в плане ограждений в ряде случаев для упрощения и значительного облегчения распорных креплений целесообразно применять цилиндрические ограждения из стального шпунта с устройством кольцевых поясов-обвязок без поперечных распорок. Количество поясов, их конструкция и места установки по высоте котлована должны определяться расчетом.

8.75. Шпунтовые ограждения котлованов следует рассчитывать на устойчивость положения и на прочность по материалу их элементов не только на стадии полного удаления грунта и воды из котлована, но и в процессе разработки котлована и установки распорных креплений, а также обратной засыпки грунта и снятия креплений.

Для шпунтовых ограждений, заглубленных в пески или супеси, кроме указанных расчетов, необходимо проверить глубину забивки шпунта ниже проектного уровня дна котлована исходя из условия предотвращения возможности выноса (наплыва) грунта в котлован при откачивании из него воды без устройства водозащитной подушки и принимать (независимо от результатов расчетов) не менее 2 м, а в остальных грунтах или при устройстве бетонной водозащитной подушки в котловане - не менее 1 м.

8.76. В качестве ограждения котлованов для устройства высоких ростверков рекомендуется применять сборно-разборные перемычки из деревометаллических или металлических щитов, из стальных шпунтин, из понтонов типа КС, расположенных по периметру распорного крепления, которое одновременно должно использоваться в качестве направляющего устройства для погружаемых свай или свай-оболочек.

Днище таких перемычек вследствие разового его использования следует изготовлять деревянными или деревометаллическими с отверстиями для пропуска свай или свай-оболочек. Диаметр отверстий должен превышать диаметр свай или оболочек на 4-5 см.

8.77. Щиты или понтоны следует опирать на консоли днища, которое должно быть прикреплено к распорному креплению перемычки таким образом, чтобы его можно было легко отсоединить и оставить на месте после окончания работ по устройству ростверка.

Для уменьшения сил сцепления щитов или понтонов с тампонажным слоем подводного бетона (при разработке перемычки) рекомендуется устраивать обязательную изоляцию нижней части перемычки.

8.78. В качестве одного из мероприятий по устранению веерных отклонений стального шпунта в плоскости шпунтовой стенки, обусловленных разными сопротивлениями погружаемых шпунтин в замках со стороны уже погруженной стенки (замок в замок) и со свободной стороны, рекомендуется свободный замок закрывать снизу заглушкой, в значительной мере защищающей его от засорения грунтом и одновременно создающей восстанавливающий момент шпунтине.

8.79. С целью защиты от коррозии стального шпунта рекомендуются его покрывать следующими видами грунтов и эмалей:

для переменного уровня и подводной зоны - эмалью ЭП-5116 (ТУ 6-10-1369-73) в два слоя;

для надводной зоны - грунтом ЭП-057 (ТУ 10-1117-71) в один слой и эмалью ЭП-1155 (ТУ 6-50-73) в два слоя.

8.80. Бездонные ящики для ограждения котлованов должны иметь водонепроницаемые стенки и внутреннее крепление, обеспечивающее прочность и устойчивость стенок.

При деревянных ящиках рекомендуется выполнять стенки по типу водонепроницаемой надкессонной обшивки наплавных кессонов.

Для сокращения притока воды в месте контакта ящика с дном реки следует производить обсыпку ящика снаружи песком, укладку грунта в мешках по периметру, а также подводное бетонирование фундаментной подушки.

8.81. Бездонные ящики разового использования следует применять в случаях оставления их в качестве защитных устройств ростверков абразивного и агрессивного воздействия среды. В остальных случаях необходимо применять ящики многократного использования. В качестве таких ящиков целесообразно использовать цельноустанавливаемые заранее смонтированные (без днища) с направляющим каркасом перемычки из щитов или из понтонов типа КС.

Ящики можно применять как для устройства заглубленных в грунт ростверков, так и для ростверков, подошва которых возвышается на 3-4 м над дном водоема. В последнем случае перед устройством тампонажной подушки из подводного бетона после окончания погружения всех свай или свай-оболочек в ящик засыпают до требуемого уровня песок или щебень.

8.82. Распорные крепления перемычек и бездонных ящиков, воспринимающих давление воды, следует, как правило, одновременно использовать в качестве направляющих устройств для погружаемых свай или оболочек, а также несущих элементов рабочих подмостей.

8.83. При конструировании съемных распорных креплений необходимо учитывать последовательность их разборки или перестановки по мере бетонирования ростверка и надфундаментной части опоры.

8.84. При проектировании перемычек и бездонных ящиков должны быть выполнены следующие расчеты:

прочности под воздействием давления воды, бетонной смеси ростверка и собственного веса конструкций;

плавучести и остойчивости при транспортировании на плаву к месту установки;

прочности конструкции при установке краном;

мощности и грузоподъемности средств для транспортирования, опускания и закрепления на месте перемычек или ящиков.

ВЫЕМКА ГРУНТОВ И ВОДООТЛИВ

8.85. Грунт, выдаваемый из котлована, следует транспортировать на такое расстояние, при котором не возникает опасности обрушения стенок котлована или какого-либо другого препятствия для производства работ.

При выдаче грунта из котлована в реку стеснение грунтом живого сечения реки не должно вызывать увеличения скорости течения до предела, выше которого может произойти размыв перемычки и дна реки.

Кроме того, выдаваемый грунт не должен создавать препятствий для судоходства.

Обратная засыпка должна производиться слоями с плотным трамбованием каждого слоя.

8.86. Работы по выемке грунта, зачистке дна и освидетельствованию котлована, возведению фундамента и обратной засыпке котлована следует производить в предельно сжатые сроки, чтобы исключить возможность разуплотнения (летом) или промерзания (зимой) поверхности несущего слоя основания.

Разработку с водоотливом котлованов, расположенных вблизи действующих сооружений, следует выполнять в строгом соответствии с проектом производства работ по возведению фундаментов.

Воду следует откачивать из приямков, заглубленных ниже дна разрабатываемого котлована. Стены приямков должны быть укреплены деревянным или металлическим ящиком, опускаемым по мере углубления котлована.

УСТРОЙСТВО СВАЙНЫХ РОСТВЕРКОВ

8.87. Ростверки надлежит возводить только после документальной приемки работ по погружению свай.

Отметка положения ростверка, его конструкции, размеры и применяемые материалы должны соответствовать требованиям проекта.

Применяемые материалы и сборные конструкции должны соответствовать также требованиям СНиП и действующих ГОСТов. При устройстве ростверков на акватории конструкция их ограждения и способ устройства определяются проектом производства работ.

Размеры в плане ограждения ростверка гидротехнического сооружения определяются очертанием фундамента сооружений с запасом не менее 0,5 м на каждую сторону, высота ограждения определяется глубиной воды при рабочем горизонте плюс 0,7 м для возвышения его над водой. В необходимых случаях должна быть учтена высота волны.

8.88. За рабочий горизонт при сооружении фундаментов принимается наивысший возможный в период производства работ уровень воды, соответствующий расчетному расходу с вероятностью превышения 10 %. В процессе откачки воды из ограждения надлежит производить своевременную и обязательную установку распорных креплений, предусмотренных проектом.

УСТРОЙСТВО МОНОЛИТНЫХ РОСТВЕРКОВ

8.89. При бетонировании ростверков на суходоле с устройством опалубки откачка воды производится с таким расчетом, чтобы не допустить заливания водой укладываемого бетона. При окончании бетонирования откачка воды прекращается и бетон покрывается водой, что благоприятствует набору прочности бетонных массивов фундаментов.

Ключи, обнаруженные на дне котлована, должны быть заглушены или каптированы с отводом воды за пределы ростверка.

Бетонирование ростверков, расположенных на акватории, надлежит производить после укладки в ограждении ростверка тампонажного слоя. Тампонажный слой следует укладывать из бетона по методу ВПТ.

8.90. Марка бетона и толщина тампонажного слоя грунтового тампонажа устанавливается проектом.

Тампонажный слой надлежит укладывать:

при низких свайных ростверках - непосредственно на грунт;

при высоких свайных ростверках - на песчаную отсыпку, засыпаемую в ограждение (шпунтовым или бездонном ящике) до отметки низа тампонажного слоя или на деревянное днище, устроенное заранее в необходимом уровне в каркасе для погружения свай или свай-оболочек или в плавучем понтоне. Отверстия в днище для погружения свай или свай-оболочек в этом случае должны соответствовать их диаметру с припуском по 2 см на каждую сторону.

Откачку воды из ограждения и бетонирование свайного ростверка производят после приобретения бетоном тампонажного слоя прочности, указанной в проекте, но не менее 25 кг/см2. Прочность уложенного бетона устанавливается построечной лабораторией.

Допускается применение грунтовых тампонов из мятой глины с песком при небольших глубинах воды, малом напоре и скоростях течения, исключающих размыв дна у ограждения.

8.91. При значительной площади ростверка, а также при малой производительности бетонного завода, не обеспечивающего укладку монолитного бетона горизонтальными слоями всей площади, укладку бетонной смеси следует вести наклонными слоями или разбивать ростверк на блоки бетонирования.

Число и отбор контрольных бетонных кубиков предусматриваются в соответствии с действующими СНиП на бетонные работы.

8.92. При сооружении монолитных массивных ростверков с модулем поверхности Мп ≤ 3

Мп = ΣF / V,                                                                 (31)

где ΣF - сумма площадей охлаждаемой поверхности; V - объем ростверка.

В период прохождения в бетоне экзотермических процессов в них могут возникать значительные перепады температуры, которые вызывают напряжения в ростверке и сваях и, как следствие, разрушение конструкции либо появление трещин в бетоне.

Поэтому устройство массивных монолитных ростверков, особенно в зимний период, следует выполнять с учетом заданных расчетом допустимых температурных перепадов по высоте и длине блока, определяемых из условий прочности, трещиностойкости или допускаемой ширины раскрытия трещин в сваях и ростверке.

Для снижения температурных напряжений в сваях и ростверке в период протекания экзотермических процессов в бетоне плиты необходимо проводить специальные мероприятия по выравниванию температуры по высоте и длине ростверка, предусмотренные проектом производства работ. К таким мероприятиям относятся электро- или паропрогрев верхней поверхности ростверка:

применение греющей опалубки, матов и щитов;

снижение тепловыделения бетона охлаждением, например водой, пропускаемой по трубам, или применение малотермических цементов;

назначение оптимальных размеров блоков бетонирования и перерывов в укладке горизонтальных слоев (3-10 сут).

8.93. После окончания бетонирования блока (ростверка) необходимо вести контроль температуры бетона и наружного воздуха с помощью дистанционных датчиков температуры либо технических термометров. Датчики температуры устанавливаются в специальные температурные скважины.

УСТРОЙСТВО СБОРНЫХ РОСТВЕРКОВ

8.94. Монтаж сборных железобетонных ростверков осуществляется в соответствии с рабочими чертежами фундаментов, проектом производства работ.

Для точной установки оголовков следует применять инвентарные металлические рамки, предварительно монтируемые на головы свай по геодезическим отметкам.

Укладывать элементы ростверка по слою замерзающего грунта запрещается.

8.95. Монтаж конструкции сборного железобетонного ростверка должен производиться только после достижения бетоном замоноличивания оголовков не менее 70 % проектной прочности в летнее время и 100 % - в зимнее время.

Замоноличивание оголовков в зимнее время при отрицательных температурах воздуха должно осуществляться бетоном с обязательным электроподогревом или с применением бетона с добавкой.

ПРИЕМКА РАБОТ

8.96. Приемка работ по устройству свайных фундаментов и шпунтовых ограждений должна производиться на основании:

проектов свайных фундаментов или шпунтовых ограждений;

паспортов заводов-изготовителей на сваи, сваи-оболочки, шпунт, товарный бетон и арматурные каркасы;

актов лабораторных испытаний контрольных бетонных образцов и актов на антикоррозионную защиту конструкций;

актов геодезической разбивки осей фундаментов и шпунтовых ограждений;

исполнительных схем расположения свай и шпунтовых ограждений с указанием их отклонений в плане и по высоте;

сводных ведомостей и журналов забивки или погружения свай, свай-оболочек и шпунта, журналов бурения и бетонирования скважин для набивных свай;

результатов динамических испытаний свай и свай-оболочек;

результатов статических испытаний свай, свай-оболочек (если они были предусмотрены);

актов освидетельствования арматурных каркасов и скважин перед бетонированием.

Таблица 64

Вид отклонения и тип свайного элемента

Допускаемое отклонение

I. Отклонение голов свайных элементов в плане:

 

а) сваи квадратные и круглые диаметром до 800 мм включительно, погружаемые на защищенной от волнения акватории

0,5 d, но не более 20 см (d - диаметр или сторона поперечного сечения)

б) железобетонные сваи-оболочки и стальные трубчатые сваи диаметром более 800 мм, погружаемые на защищенной от волнения акватории при глубине воды:

 

до 10 м

25 см

более 10 м

0,025 Н (Н - глубина воды)

в) свайные элементы, погружаемые на незащищенной от волнения акватории при глубине воды:

 

до 10 м

40 см

более 10 м

0,04 Н

II. Тангенс угла отклонения продольной оси свайного элемента от проектного положения при погружении:

 

а) вертикально и с наклоном до 5:1 включительно

0,02

б) с наклоном положе чем 5:1

0,03

Примечания: 1. Измерения отклонения свайных элементов следует производить до их выправления. Отклонения свайных элементов в плане должны замеряться на уровне проектного положения их голов.

2. При определении отклонений наклонных свайных элементов следует принимать во внимание несвязанные с технологией производства работ дополнительные отклонения под действием собственного веса. Эти дополнительные отклонения следует определять расчетом с учетом взвешивающего влияния воды, рассматривая условно свайный элемент как консольную балку, жестко защемленную в грунте на глубине 5 d.

Отклонения проектного положения свай, забиваемых на акватории для причальных и оградительных сооружений, не должны превышать величин, приведенных в табл. 64.

8.97. Недобивки свай, вызываемые сложными грунтовыми условиями, допускаются (при обязательном условии достижения расчетного отказа) при глубине забивки от поверхности планировки: до 10 м не более 0,5 м; более 10 м до 1 м.

В дополнение к вышеуказанному для мостов и транспортных гидротехнических сооружений недопогружение не должно также превышать 5 % проектной глубины погружения.

Отклонения свай-колонн от проектного положения не должны превышать приведенных в табл. 65.

Таблица 65

Наименование отклонения

Величина отклонения

Отклонения свай-колонн от проектных осей в плане

±3

Отклонения верха голов свай-колонн от проектной горизонтали

-3

8.98. Отклонение от вертикальной оси забитых свай (кроме свай стоек) не должно, как правило, превышать 2 %, а буронабивных свай - 1 %.

8.99. Отклонения размеров скважины и уширенной полости при устройстве набивных свай не должны превышать следующих величин, мм: по глубине скважины - ±100; по диаметру - ±50; по диаметру уширения - ±100. Для буронабивных свай фундаментов опор мостов отклонения фактических размеров скважины и уширения от проектных не должны превышать величин: по глубине скважины и месту расположения уширения - ±50 см; по диаметру скважины - ±0,1, но не более 20 и -10 см; по диаметру уширения - ±0,1, но не более 50 и -10 см; по высоте цилиндрической части уширения - ±5 см; по наклону оси вертикальной скважины - 2°; то же, наклонной скважины - ±4°; по расположению оси скважины в плане 25 см.

8.100. Тангенс угла отклонения шпунта от вертикали в любом направлении не должен превышать 0,005. Прогиб замков в плоскости стенки шпунта не должен превышать 3 мм на 1 м ее длины. Выход стального шпунта из замков не допускается.

8.101. Вывод сваебойного оборудования со стройплощадки до приемки свайного поля и оформления исполнительных актов запрещается.

8.102. При приемке работ производится составление акта, в котором должны быть отмечены все дефекты, выявленные в процессе приемки, указан срок их устранения и дана оценка качества работ.

8.103. Контроль погружения свай-колонн с несущей способностью до 30 тс ведется по заданным в проекте отметкам. Выбор отметок нижних концов производится по отказам 3-5 пробных свай, погружаемых в местах площадки, имеющих наименьшие прочностные характеристики грунта.

8.104. Разворот вокруг оси сваи-колонны, погруженной в грунт, не допускается.

8.105. Минимальная глубина забивки свай-колонн не должна быть менее 2,5 м от отметки планировки или отметки дна проходящего вблизи канала. При планировке площади подсыпкой глубина забивки свай-колонн должна быть не менее 2,5 м плюс высота подсыпки.

8.106. Контроль погружения свай-колонн ведется по проектным отметкам. При этом отказ сваи-колонны не должен превышать контрольной величины, установленной в соответствии с необходимой ее несущей способностью. Контрольный отказ регистрируется для трех свай, погружаемых в местах залегания наиболее слабых грунтов в пределах площадки по данным зондирования.

УСТРОЙСТВО БУРОИНЪЕКЦИОННЫХ СВАЙ

8.107. Буроинъекционные сваи - одна из разновидностей буронабивных свай. Усиление оснований и фундаментов буроинъекционными сваями обычно включает два основных этапа, каждый из которых в ряде случаев имеет самостоятельное значение. Это - укрепительная цементация, при которой производится усиление кладки существующих фундаментов инъекцией в них цементного раствора, а также заполнение раствором имеющихся пустот на контакте фундамент - грунт, устройство собственно буроинъекционных свай, служащих для передачи нагрузок от сооружения на нижележащие, малосжимаемые грунты основания. В новом строительстве цементация не выполняется.

8.108. Для устройства буроинъекционных свай используются различные типы растворов (мелкозернистых бетонов), применяемые в зависимости от условий строительства и характера работы свай в конструкции. К ним относятся цементно-песчаные, цементно-бентонитовые и цементные растворы. В необходимых случаях возможно также применение растворов других специальных составов.

Для приготовления растворов из мелкозернистых бетонов применяются:

цемент активностью не ниже 400, соответствующий заданной марке раствора, которая должна быть не менее 200, агрессивности среды, требуемому сроку схватывания, который должен быть не менее 2 ч. Применяемые цементы должны соответствовать ГОСТу;

бентонитовый глинопорошок в качестве пластифицирующей добавки в растворы (ТУ 39-01-08-658-81);

песок мелко- и среднезернистый в качестве инертного заполнителя в растворах крупностью не более 1 мм.

Подбор состава растворов (мелкозернистых бетонов) при устройстве буроинъекционных свай должен выполняться лабораторией в соответствии с заданной маркой раствора и условиями строительства.

8.109. При применении цементно-песчаных растворов рекомендуется следующее соотношение компонентов по весу (цемент, песок, вода) 1,0; 1,0 ÷ 1,5; 0,4 ÷ 0,7.

Для цементно-бентонитовых растворов соотношение компонентов по весу (цемент, бентонит, вода) находится в пределах 1,0:0,03:0,6.

8.110. Растворы, применяемые для изготовления буроинъекционных свай, должны иметь плотность в пределах 1,73-1,75 г/см3, подвижность по конусу АзНИИ не менее 17 см и водоотделение не более 2 %.

Прочность растворов по испытаниям стандартных кубиков размером 7 × 7 × 7 см при нормальных условиях вызревания должна быть не менее 15 МПа в семидневном возрасте и 30 МПа - в 28-дневном.

8.111. Глинистый раствор для заполнения скважин при бурении должен иметь состав, удельный вес и другие показатели, обеспечивающие устойчивость стенок скважин от оплывания и обрушения. Удельный вес глинистого (бентонитового) раствора следует принимать равным 1,05-1,15 гс/см3, в конкретном случае параметры растворов должны подбираться лабораторией.

8.112. Технологический цикл устройства буроинъекционных свай включает бурение скважины в грунте, заполнение скважины твердеющим раствором, установку в нее арматурного каркаса, опрессовку.

8.113. Бурение скважины при устройстве буроинъекционных свай выполняется станками вращательного бурения (прил. 59). При проходке неустойчивых, обводненных грунтов бурение ведется с промывкой скважин глинистым (бентонитовым) раствором или под защитой обсадных труб.

Для укрепления устья скважины и сбора промывочной жидкости устанавливается труба-кондуктор длиной не менее 2 м, выступающая над забоем скважины не менее чем на 300 мм. Установку трубы-кондуктора с внутренним диаметром, равным диаметру сваи или большим, производят в ранее пробуренную скважину соответствующей длины и заполненную цементным раствором.

Разбуривание цементного камня в трубе-кондукторе следует начинать не ранее чем после двухсуточной выдержки трубы-кондуктора в скважине. Бурение ведется с продувкой сжатым воздухом. По окончании разбуривания цементного камня бурение скважины ведется до проектной отметки нижнего конца сваи.

8.114. Отклонение от заданного угла бурения не должно превышать ±2°. Отклонения по длине свай не должны превышать ±30 см проектных величин.

По окончании бурения скважина через буровой став промывается свежим буровым раствором от шлама в течение 3-5 мин.

8.115. Заполнение скважины твердеющим (цементным или другим) раствором производится через буровой став или трубку-инъектор от забоя скважины снизу вверх до полного вытеснения глинистого раствора и появления в устье скважины чистого цементного раствора.

8.116. Установка арматуры в скважину производится отдельными секциями с помощью инвентарной треноги или вышки бурового станка. Длина секций определяется условиями производства работ; при устройстве свай усиления в помещениях - их высотой (но не более 4,5 м). Конструкция стыка секций рабочей арматуры должна обеспечивать равнопрочность и удобство производства работ по инъектированию цементного раствора.

Арматура корневидных свай должна иметь фиксирующие элементы, центрирующие ее в скважине и обеспечивающие требуемую толщину защитного слоя. Фиксирующие элементы приваривают с четырех сторон арматурного стержня или каркаса на расстоянии один от другого, равном шести диаметрам скважины.

Арматурный каркас допускается устанавливать в скважину, уже заполненную цементным раствором. В этом случае время сборки и монтажа арматурного каркаса должно обеспечивать его установку в проектное положение до начала схватывания цементного раствора. Стыковка отдельных секций армокаркаса производится с помощью сварки.

После установки армокаркаса в проектное положение и при отсутствии утечек раствора из скважины (снижение уровня раствора в скважине не более чем на 0,5 м) производится опрессовка сваи. Для опрессовки в верхней части трубы-кондуктора устанавливается тампон (обтюратор) с манометром и через инъектор производится нагнетание раствора под давлением 0,2-0,3 МПа в течение 1-3 мин.

УКРЕПИТЕЛЬНАЯ ЦЕМЕНТАЦИЯ

8.117. Технологический цикл цементационно-укрепительных работ включает бурение в грунте или теле существующего фундамента инъекционных скважин, цементацию фундамента и контакта «фундамент - грунт», опрессовку скважин.

8.118. Бурение цементационных скважин выполняется станками вращательного бурения с продувкой сжатым воздухом. Диаметр скважин назначается в зависимости от условий работы, состояния кладки существующего фундамента и его размеров и обычно не превышает 100 мм.

8.119. При усилении существующих фундаментов цементация выполняется, как правило, в два этапа.

На первом этапе цементационная скважина бурится в пределах фундамента, не доходя до его подошвы на 0,5 м. В устье скважины устанавливается тампон (обтюратор) и производится цементация фундаментов. По окончании цементации скважина выдерживается в течение 2-3 сут.

На втором этапе производится повторная разборка ствола скважины или тела фундамента до его подошвы и далее в грунт на 0,4-0,5 м и цементируется контакт «фундамент - грунт». В этом случае тампон разжимается в кладке фундамента на уровне 0,5 м выше подошвы.

8.120. Давление нагнетания при цементации фундаментов не более 0,1 МПа, при цементации контакта «фундамент - грунт» - до 0,2 МПа.

8.121. За отказ нагнетания принимается расход цементационного раствора 1 л/мин в течение 10 мин при давлении 0,2 МПа.

8.122. Вид и состав цементационных растворов зависит от конструкции, материала, состояния существующих фундаментов, геологических и гидрогеологических условий площадки. Опрессовка может быть прекращена, если расход раствора в процессе ее не превышает 200 л. При большем расходе раствора необходимо произвести выстойку сваи в течение суток, после чего опрессовку повторить.

8.123. Вид и состав твердеющих растворов, применяемых при изготовлении буроинъекционных свай, зависят от условий их применения, и в каждом конкретном случае параметры раствора должны подбираться лабораторией.

8.124. Устройство буроинъекционных свай должно производиться в строгой технологической последовательности, которая должна быть отражена в проекте производства работ (ППР). Ведение работ без ППР не допускается.

8.125. Приемка выполненных работ по изготовлению буроинъекционных свай может производиться на отдельных захватках (зонах) объекта по очередям выполнения по мере завершения работ до срубки голов и заделки свай в ростверки.

8.126. Приемка выполненных работ должна производиться на основании следующих документов:

проекта свайных фундаментов;

актов приемки материалов;

актов лабораторных испытаний контрольных бетонных образцов, изготовленных на площадке строительства;

акта и заключения по проведенным статическим испытаниям опытных свай (если они предусматривались проектом);

плана-расположения свай с привязкой к разбивочным осям;

исполнительной схемы расположения осей выполненных буроинъекционных свай с указанием отклонения от проектного положения в плане, фактических углов наклона и результатов нивелировки голов свай;

актов на скрытые работы;

журналов изготовления буроинъекционных свай.

8.127. При приемке изготовленных буроинъекционных свай должно проверяться соответствие выполненных работ требованиям проекта и настоящего Пособия.

8.128. Приемка оформляется актом, в котором должны быть отмечены все выявленные дефекты и предусмотрены способы их устранения.

ИНЪЕКЦИОННЫЕ АНКЕРЫ

8.129. Настоящие требования следует распространять на устройство и приемку анкеров, закрепление в нескальных грунтах которых осуществляется инъекцией цементного раствора, а пригодность к эксплуатации, как правило, проверяется в процессе их устройства нагрузкой, превышающей расчетную.

Принципиальные схемы анкеров приведены в прил. 61.

8.130. Устройство грунтовых анкеров должно производиться в соответствии с проектом и ППР, которые должны содержать:

данные об инженерно-геологических и гидрогеологических условиях площадки;

сведения о подземных коммуникациях;

стройгенплан с указанием мест изготовления и складирования анкеров;

данные о закрепляемом сооружении;

расположение анкеров с указанием их конструкции, глубины заложения заделки, угла наклона к горизонту, длины анкеров, диаметров скважин и допустимых отклонений по направлениям;

данные пробных испытаний анкеров;

перечень бурового, инъекционного, смесительного и другого оборудования для производства работ, а также оборудования для натяжения анкеров;

технологическую последовательность выполнения работ по устройству анкеров с указанием параметров инъекции (общее количество закачиваемого раствора, расход, давление и т.п.);

программу испытаний анкеров с указанием расчетной нагрузки, допускаемой на анкер, максимальной испытательной нагрузки и блокировочной нагрузки, при которой следует закреплять анкер на конструкции;

мероприятия по обеспечению техники безопасности, включая работы по натяжению анкеров при испытаниях.

8.131. Материалы, изделия и конструкции, применяемые при изготовлении и устройстве анкеров, должны соответствовать проекту, требованиям ГОСТ и ТУ. Замена материалов, изменения конструкции должны производиться только по согласованию с проектной организацией.

8.132. Все работы по изготовлению и устройству анкеров следует выполнять в соответствии с действующими СНиП и ТУ с составлением актов на скрытые работы.

8.133. Во время транспортировки, хранения, подъема и установки анкеров следует надежно предохранять их от возможных повреждений.

8.134. Способы бурения скважин должны исключать возможность разуплотнения грунта стенок скважин.

В зависимости от инженерно-геологических условий площадки, конструкции и технологии устройства анкеров бурение скважин следует выполнять с использованием инвентарных обсадных труб или под глинистым раствором.

Бурение скважин в устойчивых грунтах допускается выполнять без крепления стенок скважин.

8.135. Бурение скважин следует выполнять станками, специально предназначенными для устройства анкеров, а также буровым оборудованием, обеспечивающим устройство скважин в соответствии с проектом.

Выбор бурового оборудования следует производить, руководствуясь данными табл. 66.

8.136. Перед установкой арматуры анкера скважина должна быть очищена от шлама.

8.137. Опускание арматуры анкера в скважину следует производить плавно, без рывков. После установки арматуры анкера в проектное положение она должна быть закреплена по центру устья скважины.

Таблица 66

Показатель

Станок

ЗИФ-300М

СБА-500

СБА-800

УКВ-200-300

БСК-2М-100

СВБ-2 (шнек)

УЛБ-130 (шнек)

МГБ-2

Глубина бурения, м

300

500

800

300

100

25

до 130

100

Диаметр, бурения, мм

132

141

151

132

93

150

200

180

Угол наклона скважины к горизонту, град

75-90

0-360

45-90

0-360

0-360

60-90

+10

0-15

Диаметр бурильных труб, мм

42; 50

33,5; 42; 50

42; 50; 63,5

42; 50

33,5; 42

-

-

-

Ход шпинделя, мм

430

400

500

500

450

-

900

-

Мощность двигателя, кВт

37

32

55

30

-

-

30

Трактор ТДТ-75

Буровой насос

НГР-250/50

ГРИ-16/40

ГРИ-16/40

НБ-11

Б-79

-

-

-

Габариты, мм:

 

 

 

 

 

 

 

 

длина

2336

1670

2150

2290

1710

-

2500

7200

ширина

1100

1130

1100

890

710

-

1000

3500

высота

1944

1620

1890

1485

1400

-

1450

3300

Масса станка, т

13,8

1,11

1,97

1,11

0,48

1,0

4,0

14,8

8.138. В анкерах с манжетной трубой для образования обоймы следует применять, как правило, глиноцементный раствор, прочность которого в возрасте 7 дней должна составлять 1-2 МПа.

Использование цементного раствора для образования обоймы допускается только по согласованию с проектной организацией.

8.139. Цементный раствор для образования заделки, как правило В/Ц = 0,4 - 0,6, следует приготавливать на строительной площадке непосредственно перед нагнетанием в скважину. Во избежание расслаивания раствор в течение всего периода нагнетания должен периодически перемешиваться.

8.140. Составы растворов, соответствующих требованиям проекта, должны подбираться и контролироваться строительной лабораторией с изготовлением из каждой порции 9 кубиков размером 7 × 7 × 7 см и испытанием их в возрасте 1, 3 и 7 сут.

8.141. Выбор оборудования для приготовления раствора следует производить, руководствуясь данными табл. 67.

Таблица 67

Показатель

Растворосмеситель

С-334

С-772

С-635

С-588

С-220А

С-289А

Объем готового замеса, л

65

65

65

85

125

250

Вместимость смесительного барабана по загрузке, л

80

80

80

110

150

325

Мощность электродвигателя, кВт

1,7

1,5

2,2

1,5

2,8

4,5

Габариты, мм:

 

 

 

 

 

 

длина

2895

1860

2975

1800

1340

1775

ширина

730

725

730

706

1495

2180

высота

1115

1105

1105

1000

1690

2140

Масса, кг

325

210

360

140

840

1430

Средняя производительность по готовому раствору, м3

1,5

1,5

1,5

1,5

2,5

5,0

8.142. При закреплении арматуры анкера в скважине - образовании заделки анкера - следует обеспечивать нагнетание проектного объема раствора с обязательной регистрацией расхода и давления. В случае резкого подъема давления инъекция должна быть прекращена. Допускается подъем давления в начале инъекции при прорыве обоймы в случае инъектирования раствора через манжетную трубу.

8.143. При устройстве анкеров, заделка которых образуется путем многократной инъекции через манжетную трубу при помощи инъектора с двойным тампоном при глиноцементной обойме, каждая последующая инъекция должна выполняться не ранее чем через 16 ч после окончания предыдущей.

При цементной обойме интервал времени между инъекциями должен определяться проектом.

8.144. Выбор оборудования для нагнетания раствора следует производить, руководствуясь данными табл. 68.

Таблица 68

Показатель

Растворонасос

РН-1

С-210А

С-211

С-211А

С-232

С-251

С-256

С-263

С-317

Производительность, м3

2

6

3

3

6

1

2

3

6

Рабочее давление, МПа

1,5

1,5

1,5

1,5

1,5

1

1,5

1,5

1,5

Мощность электродвигателя, кВт

7

7

3,7

3,5

7

1,7

2,2

2,2

7

Габариты, мм:

 

 

 

 

 

 

 

 

 

длина

2950

2870

2015

2080

2000

1240

1240

1240

1200

ширина

1130

900

830

800

800

445

445

445

560

высота

1450

1300

1200

1300

1300

760

760

760

1000

Вместимость бункера, л

120

120

120

120

120

120

120

120

120

Масса, кг:

 

 

 

 

 

 

 

 

 

растворонасоса

1450

1120

800

750

750

180

180

180

400

растворопровода

450

450

300

300

300

20

-

130

250

8.145. Несущая способность каждого анкера, как правило, должна быть проверена до включения его в работу совместно с закрепляемой конструкцией путем контрольных или приемочных испытаний на максимальную испытательную нагрузку.

8.146. Контрольным испытаниям следует подвергать не менее одного из каждых десяти установленных анкеров.

Приемочным испытаниям следует подвергать все анкеры, кроме анкеров, подвергнутых контрольным испытаниям,

8.147. Контрольные испытания следует выполнять по программе пробных испытаний, проводимых на опытных анкерах до начала производства работ.

Оценка несущей способности анкеров должна производиться сравнением результатов контрольных испытаний с показателями, полученными при пробных испытаниях.

8.148. Приемочные испытания следует выполнять бесступенчатым нагружением до максимальной испытательной нагрузки.

Таблица 69

№ п.п.

Показатель

Домкрат

6280С

ДГС-63-315

ДП-63-315

ДС-30-200

СМ-537

МДГ-150У

МГД-240У

НоР-100

1

2

3

4

5

6

7

8

9

10

1

Максимальное тяговое усилие, кН

1000

630

630

300

560

1550

2450

1000

2

Ход поршня, мм

150

315

315

200

150

370

370

200

3

Диаметр натягиваемой арматуры, мм

16-40

28-40

5-7

20-28

16-42

15

15

40

4

Арматура, рекомендованная для натяжения

Стержневая прядевая

Стержневая, прядевая

Проволочная

Стержневая

Стержневая

Прядевая

Прядевая

Стержневая

 

Габариты, мм:

 

 

 

 

 

 

 

 

5

длина

1580

1000

1000

735

266

1040

1190

490

6

ширина (диаметр)

1090

230

252

157

370

415

460

260

7

высота проходного отверстия

2400

250

219

223

600

-

-

475

8

Масса, кг

765

84

82

31

69

350

488

69

9

Захваты клиновые, шт.

-

-

24

-

-

7

12

-

Оценка несущей способности анкеров должна производиться путем сравнения результатов приемочных испытаний с показателями, полученными при контрольных испытаниях.

8.149. После окончания контрольных или приемочных испытаний анкеры должны быть закреплены на конструкции под блокировочной нагрузкой.

8.150. Испытания анкеров следует производить только после достижения заинъектированным раствором проектной прочности.

8.151. Примеры технологий устройства анкеров и методики проведения контрольных и приемочных испытаний приведены в прил. 62 и 63.

8.152. Результаты контрольных и приемочных испытаний следует заносить в «Сводные ведомости установленных анкеров» (прил. 64 и 65).

8.153. Выбор оборудования для натяжения анкеров следует производить, руководствуясь данными табл. 69.

Раздел. 9. ОПУСКНЫЕ КОЛОДЦЫ И КЕССОНЫ

ОБЩИЕ ПОЛОЖЕНИЯ

9.1. Работы по устройству опускных колодцев и кессонов должны выполняться по соответствующим проектам сооружений, организации строительства и производства работ с соблюдением действующих правил Гостехнадзора СССР и техники безопасности.

Состав проекта производства работ (ППР) по возведению и опусканию колодцев и кессонов, определяемый действующими положениями, должен включать следующие основные документы:

чертежи строительных площадок, искусственных островков или подмостей с размещением оборудования и механизмов, необходимых для возведения и опускания колодцев и кессонов,

описание технологии возведения и опускания в грунт колодцев и кессонов с необходимыми рабочими чертежами временного основания под нож, вспомогательных конструкций, оборудования, водопонижения и временных сооружений;

мероприятия (с чертежами необходимых устройств) по обеспечению техники безопасности работ.

9.2. Для составления ППР заказчиком должны быть представлены:

а) топографический план площадки в горизонталях через 1-0,5 ч с указанием планировочных отметок и привязочных данных. На плане должны быть нанесены подъездные пути, инженерные коммуникации, сети и точки подключения к ним;

б) геологическое строение площадки на глубину не менее 5 м ниже проектной отметки банкетки ножа. Геологическое строение площадки выдается в виде геологических колонок и разрезов, причем в описании грунтов должна быть дана оценка наличия в них крупных включений, валунов и т.п. с их качественной характеристикой (размеры, прочность и др.). Число геологических скважин должно быть не менее трех на колодец D > 15 м. При наличии просадочных грунтов они должны быть охарактеризованы на всю толщу.

Рис. 89. Схема закрепления основных осей опускного колодца или кессона на местности

1 - колодец или кессон; 2 - обноски; 3 - рейки, закрепленные на колодце; 4 - границы призмы обрушения

Рис. 90. Устройство песчаных свай - под ножом по периметру колодца в слабых грунтах

1 - опускной колодец; 2 - песчаные сваи

Гидрогеологические условия должны содержать отметки расчетного уровня грунтовых вод и их режим (по временам года).

Физико-механические характеристики грунтов должны содержать:

для несвязных грунтов - зерновой состав, удельный вес, угол внутреннего трения, пористость, коэффициент фильтрации;

для глинистых грунтов - удельный вес, угол внутреннего трения, пористость, характеристики пластичности и консистенции, сцепление и коэффициент фильтрации. Определение коэффициентов фильтрации для всех видов грунтов должно производиться методами пробных откачек или наливов;

в) источника водоснабжения с указанием их минимальных и максимальных расходов;

г) места возможных отвалов грунта;

д) источники энергоснабжения с указанием напряжения, мощности и мест возможного подключения;

е) гидрологические данные водоемов (для сооружений, возводимых вблизи рек или озер);

ж) цены на местные строительные материалы.

Рабочие чертежи проекта заглубленного помещения, выполняемого методами опускного колодца или кессона, должны содержать основные элементы ППР в части последовательности, способа строительства, технологии разработки грунта и т.д.

Общестроительные работы по возведению и опусканию колодцев и кессонов следует выполнять по указаниям соответствующих СНиП.

Материалы, применяемые для колодцев и кессонов, должны удовлетворять требованиям проекта соответствующих СНиП и действующих стандартов.

Основные оси опускных колодцев или кессонов должны быть закреплены на местности посредством обносок (рис. 89). Положение каждой основной оси колодца или кессона следует нанести на четырех обносках - по две обноски с каждой из четырех сторон сооружения, чтобы обеспечить возможность постоянного контроля реек, укрепленных на наружной боковой поверхности сооружения (по его основным осям). Контроль положения каждой рейки осуществляется визированием по меткам двух обносок.

Обноски должны быть установлены на площадках, расположенных вне зоны возможных подвижек грунта в вертикальном и горизонтальном направлениях (за пределами призм обрушения), а на акваториях - вне мест приливно-отливных колебаний и волновых воздействий.

9.3. Устройство фундаментов капитальных сооружений, подводящих и отводящих коллекторов, а также монтаж трубопроводов и других коммуникаций в пределах призмы обрушения допускается только после завершения опускания колодца (кессона) бетонирования днища, полного закрепления колодца на проектной отметке, отключения системы осушения и восстановления естественного состояния окружающего грунтового массива (восстановления естественного уровня грунтовых вод, оттаивания грунта после замораживания и т.п.).

Размещение в пределах призмы обрушения временных сооружений и оборудования для строительства опускных колодцев и кессонов (бетонорастворный и глинорастворный узлы, компрессорная станция, краны и т.п.) допускается при условии принятия мер по обеспечению их нормальной работы в случае возможного перемещения грунта.

9.4. В связи с тем, что при опускании колодцев и кессонов не исключена возможность подвижек и оползания грунта в пределах их призм обрушения, не допускается в указанной зоне строительство капитальных сооружений в период опускания и до окончания устройства днища и отключения водопонижения, а в колодцах, погружаемых в тиксотропных рубашках, - до завершения работ по тампонажу полости тиксотропной рубашки.

При эксплуатации башенных кранов на рельсовом ходу, используемых при опускании колодцев и кессонов, ежедневно должны производиться нивелировка рельсовых путей с соответствующей рихтовкой.

9.5. Для уменьшения и равномерной передачи на поверхность грунта давления от первого яруса опускного колодца (кессона) до начала работ по его бетонированию (монтажу) под ножевую часть сооружения должно быть подготовлено специальное временное основание в виде песчано-щебеночных призм, деревянных или железобетонных подкладок, бетонных или железобетонных монолитных или сборных колец или других опорных конструкций.

При сооружении колодца на площадке, сложенной на глубину опускания слабыми грунтами, или грунтами, разнородными по периметру колодца, необходимо предусмотреть до начала его опускания мероприятия, обеспечивающие его равномерное опускание, например, устройство под банкеткой ножа буровых песчаных или гравийных свай (рис. 90).

При слабых грунтах на предварительно спланированную площадку следует отсыпать песчаную подушку, толщину которой рекомендуется принимать в зависимости от расчетной несущей способности грунта R в уровне его поверхности:

R, МПа

0,12

0,14

0,16

0,20

Толщина подушки, м

0,6

0,5

0,4

0,3

Наличие подушки способствует более равномерному распределению давления на грунт и облегчает в дальнейшем удаление опорных колец, лежней и подкладок из-под ножа колодца или кессона.

Место изготовления наплавных колодцев или кессонов следует выбирать с учетом принятых способов спуска их на воду.

Рис 91. Конструкции временного основания под нож колодца

а - грунтовая или щебеночная призма; б - в траншее; в - на деревянных подкладках; г - опорное кольцо, 1 - форшахта; l - длина подкладки; bст - толщина стены колодца

Искусственные островки без ограждений в пределах акваторий допускается отсыпать при глубине воды до 2 м из песчаных или гравелистых грунтов, которые не размываются при следующих значениях средних скоростей течения, м/с (с учетом стеснения живого сечения реки):

песок мелкий - 0,3; крупный - 0,8; гравий средний - 1,2; крупный - 1,5.

При глубине воды до 5 м островки можно сооружать в ограждениях как из деревянного, так и стального шпунта. При глубине воды 5 м и более для ограждения островков следует использовать стальной шпунт или другие конструкции. Опорное кольцо для изготовления колодца или кессона должно быть выполнено разрезным, участками длиной не более 1,5 м.

9.6. Временное основание под нож колодца может быть выполнено в виде грунтовых или щебеночных призм (рис 91, а), траншей (рис 91, б), поперечных деревянных подкладок (рис. 91, в), железобетонного опорного кольца (рис 91, г).

Грунтовые призмы и опорная часть основания в траншее должны устраиваться из песчаных или гравелистых (щебеночных) материалов с послойным их уплотнением.

Поперечные деревянные подкладки укладываются по периметру ножа колодца или кессона на предварительно выполненную песчаную подушку. Подкладки могут быть выполнены из окантованных бревен или брусьев. Длина подкладок принимается в зависимости от толщины стен опускного сооружения и должна быть

lподклbст + (0,5 - 1 м),

где bст - толщина стены опускного сооружения.

Железобетонное опорное кольцо выполняется разрезным (участками не более 1,5 м) по песчаной подушке. Ширина железобетонного кольца составляет 0,8-1,2 м.

9.7. В качестве опалубки для сооружения монолитных опускных колодцев и кессонов могут применяться: разборно-переставная опалубка, железобетонные тонкостенные плиты оболочки, оставляемые в конструкции колодца; переставная металлическая опалубка, стационарная деревянная опалубка.

Плиты-оболочки, выполняющие роль опалубки и входящие в состав конструкции опускного колодца, должны удовлетворять требованиям, предъявляемым к бетону стен колодца в отношении прочности, водонепроницаемости и морозостойкости.

При использовании в качестве опалубки металлической гидроизоляции и железобетонных плит-оболочек необходимо обеспечить надежное сцепление элементов опалубки с монолитной частью стен опускного колодца или кессона; элементы опалубки должны обладать прочностью и устойчивостью, достаточными для восприятия усилий, передающихся на опалубку. Элементы крепления решаются в конструктивных чертежах.

Распалубливание нижнего (опорного) яруса стен разрешается после приобретения бетоном 70 %-ной проектной прочности.

Для повышения водонепроницаемости и морозостойкости поверхностного слоя бетона стен опускного колодца рекомендуется применять водопоглощающую опалубку. В этом случае поверхность опалубки, прилегающая к укладываемому бетону, должна быть покрыта слоем пористого непроклеенного картона толщиной 4-6 мм.

9.8. Арматура конструкций железобетонных опускных колодцев и кессонов должна изготовляться и монтироваться в полном соответствии с рабочими чертежами согласно требованиям соответствующих СНиП.

Арматура должна изготовляться, как правило, в виде укрупненных элементов армокаркасов, армосеток или армоблоков в арматурных цехах или мастерских.

Габариты и вес укрупненных элементов арматуры (армокаркасов, армостенок и армоблоков) должны соответствовать грузоподъемности имеющихся транспортных средств и подъемно-транспортного оборудования.

9.9. В зависимости от местных условий приготовление бетонной смеси может производиться как на бетонном узле, расположенном в непосредственной близости от сооружаемого опускного колодца или кессона, так и на центральном бетонном заводе. Транспортирование бетонной смеси от места ее приготовления к строящемуся сооружению может производиться в бадьях, самосвалах или бетононасосом.

Вертикальный транспорт бетонной смеси осуществляется бетононасосами или башенными (гусеничными) кранами в бадьях.

Бетонирование стен опускных колодцев и кессонов производится по ярусам. Высота одного яруса бетонирования назначается в зависимости от нормативного давления на грунт, конструкции временного основания под ножом. Высота ярусов бетонирования должка быть указана в рабочих чертежах.

Бетонирование стен опускных сооружений может выполняться как отдельными блоками, так и последовательно по всему периметру. В обоих случаях бетонирование должно производиться послойно, слоями толщиной 25-50 см, но не больше чем 1,25 длины рабочей части вибратора. Толщина слоев должна также выбираться в зависимости от интенсивности бетонирования и своевременного перекрытия слоев бетонирования.

Укладка бетонной смеси в стены опускных сооружений производится следующими способами:

при толщине бетонируемых стен до 0,5 м смесь подается на площадки лесов и затем по лоткам - к месту укладки. В этом случае одна из сторон опалубки наращивается по мере бетонирования. Высота наращиваемой опалубки не должна быть более 2 м.

При толщине бетонируемых стен 0,5-1,2 м и высоте бетонирования более 3 м через металлические звеньевые хоботы устанавливаются через 3 м по периметру стен. Оттягивание нижних звеньев в сторону разрешается не более 0,25 м на каждый метр высоты с оставлением при этом двух нижних звеньев вертикальными.

При толщине бетонируемых стен более 1,2 м и малой насыщенности конструкции арматурой разгрузку баней можно производить непосредственно у места укладки.

При бетонировании стен опускных сооружений отдельными блоками бетонирование замыкающих блоков следует выполнять в соответствии с ППР только после усадки и охлаждения смыкаемых блоков.

Замораживание бетона при бетонировании стен опускных сооружений в зимних условиях допускается: ножевой части (1-го яруса, камеры кессона) - не ранее достижения бетоном полной проектной прочности; последующих ярусов - не ранее достижения бетоном 70 %-ной проектной прочности.

9.10. Гидроизоляция стен опускных сооружений должна выполняться до начала их опускания.

Гидроизоляция, кроме металлической, должна выполняться по наружной поверхности стен.

Металлическая гидроизоляция стен должна выполняться с внутренней стороны опускного сооружения и при бетонировании служить опалубкой.

Торкрет-гидроизоляция должна выполняться слоями в соответствии с «Указаниями по проектированию гидроизоляции подземных частей зданий и сооружений».

Для нанесения торкрет-гидроизоляции рекомендуется применять сухую смесь состава 1:4,4 (соотношение цемента и песка по весу).

Цемент для торкретирования должен быть того же сорта, что и для основных железобетонных конструкций колодца, но не ниже марки 400.

Расход воды, подаваемой к соплу цемент-пушки, при торкретировании устанавливается опытным путем исходя из условия, что нанесенный слой торкрета не должен оплывать и на нем не должно образовываться сухих пятен.

Для увеличения непроницаемости торкрет-гидроизоляции рекомендуется при приготовлении растворов применять гидрофобизирующие кремнийорганические добавки ГКЖ-10 или ГКЖ-94 в количествах, установленных лабораторией в соответствии с требованиями проекта.

Перед нанесением торкрет-гидроизоляции бетонные поверхности должны быть очищены от грязи, масляных пятен и краски металлическими щетками или обработкой пескоструйным аппаратом; раковины в бетоне расчищены; участки слабого бетона и наплывы цементного молока срублены отбойным молотком. Обработанные поверхности перед нанесением торкрета должны быть промыты струей воды под давлением 0,15-0,2 МПа.

Первый слой гидроизоляции, выполняемой методом торкретирования, должен наноситься по захваткам полосами шириной 1,5-2 м; последующие слои наносятся полосами той же ширины с перекрытием швов на величину половины ширины полосы (рис. 92).

Второй и последующий слой торкрета следует наносить через сроки, определяемые опытным путем, исходя из условия, что под действием струи свежей смеси не разрушался ранее уложенный слой и не превышал срока, который обеспечивает хорошее сцепление между слоями.

Конкретные величины перерывов в нанесении слоев торкрета устанавливаются лабораторией.

Рис. 92. Порядок нанесения слоев торкрет-гидроизоляции

1 - 1-й слой торкрета; 2 - 2-й слой торкрета; 3 - битумный слой

Рис. 93. Схемы разработки опорных песчано-щебенистых призм при снятии опускного колодца или кессона с временного основания

а - круглый колодец; б - прямоугольный колодец; А, Б, В, Г - оси фиксированных зон; 1-6 - места начала разработки фиксированных зон

9.11. Снятие колодца или кессона с временного основания (опорных конструкций) производится для перевода сооружения на естественное основание и опускания.

Снятие колодца или кессона с временного основания должно быть оформлено актом, в котором должны быть зафиксированы осадки и деформации конструкции, являющиеся результатом выполнения указанной работы.

Последовательность разборки временного основания под нож колодца или кессона решается в ППР.

Разборка временного основания в виде песчано-щебеночных призм производится по всему контуру банкетки ножа, исключая расчетные зоны опирания, размеры которых определяются проектом. В прямоугольных колодцах, в первую очередь, должны разрабатываться участки под углами и торцовыми стенами (рис. 93).

Рис. 94. Последовательность снятия колодцев с деревянных подкладок

а - круглый колодец; б - прямоугольный колодец; 1-5 - последовательность снятия подкладок

Рис. 95. Последовательность снятия колодцев с опорного кольца

1-5 - последовательность разборки опорного кольца

Деревянные подкладки удаляются участками в диаметрально-противоположных местах периметра банкетки ножа. Удаление подкладок производится путем подкапывания их с боков и снизу и вытаскивания внутрь опускного сооружения. После удаления каждой подкладки банкетка ножа немедленно должна быть подбита песком как снаружи, так и изнутри (рис. 94).

Разборка временного основания в виде железобетонного опорного кольца производится поэлементно тем же способом (рис. 95).

9.12. Систематический контроль посадок следует производить с помощью рисок, нанесенных на поверхность стен, или нивелировочных контрольных реек, закрепленных на наружной поверхности стен по концам двух взаимно-перпендикулярных диаметров колодца, совмещенных с осями фиксированных зон, а в прямоугольных и овальных колодцах - закрепленных на осях фиксированных зон и на торцовых стенах по продольной оси колодца.

Проверка фактического положения колодца по вертикали должна производиться непосредственно перед и после каждой посадки сооружения.

Крены колодца или кессона должны немедленно выправляться соответствующей разработкой грунта в ножевой части.

Результаты геодезического контроля фиксируются в журнале работ объекта и систематически должна вестись графическая документация.

В особо сложных случаях при опускании колодцев площадью более 700 м2 следует осуществлять контроль напряжений в арматуре сооружения в соответствии с проектом.

При опускании колодцев и кессонов вблизи существующих сооружений за последними должен быть установлен систематический инструментальный контроль. В случае обнаружения перемещений указанных сооружений необходимо незамедлительно прекратить работы, связанные с опусканием, и по согласованию с проектной организацией принять меры, предотвращающие развитие опасных деформаций (силикатизация, цементация, устройство ограждающих конструкций методом «стена в грунте» и т.п.).

9.13. При погружении колодцев в тиксотропной рубашке необходимо соблюдать следующие требования:

не допускать разработки грунта ниже уровня банкетки ножа;

не допускать посадок колодца за один прием более 30 см;

особенно тщательно выполнять земляные работы в условиях встречающихся прослоек водонасыщенных пылеватых грунтов, плохо отдающих воду, обеспечивая в этих случаях максимально возможное заглубление ножа в грунт;

при обнаружении утечек или прорывов глинистого раствора тиксотропной рубашки принимать незамедлительные меры к их устранению с закупоркой протоков глиной и волокнистыми материалами; дальнейшие работы выполнять по согласованию с проектной организацией;

при понижении уровня глинистого раствора в полости тиксотропной рубашки из-за прорывов последняя должна быть немедленно восстановлена дополнительной заливкой раствора (после ликвидации прорыва).

9.14. Способ транспортирования и опускания колодцев или кессонов на плаву следует применять при необходимости возведения сооружений или фундаментов в пределах водоемов, когда затраты по устройству искусственных островков или подмостей превышают затраты, связанные с использованием наплавных колодцев и кессонов.

Транспортирование железобетонных колодцев и кессонов на плаву разрешается после достижения бетоном проектной прочности и водонепроницаемости.

На период транспортирования и опускания на дно акватории должна быть обеспечена плавучесть колодцев и кессонов, для чего используется водонепроницаемая обшивка (опалубка) стен или инвентарные понтоны закрытой конструкции, устройство временных крышек или днищ.

Фактический вес наплавного колодца или кессона и водонепроницаемой обшивки не должен отличаться больше чем на 10 % их проектного веса, принятого в расчетном графике опускания. При несоблюдении этого условия необходимо составить новый расчетный график опускания.

9.15. Толщина слоев разработки грунта по периметру ножевой части колодца или кессона в процессе его опускания должна назначаться с учетом его деформативных свойств.

На участках ножа, опираемых на слабые грунты, толщину слоя разработки следует принимать большей, чем на участках более плотных грунтов.

При опускании кессона или колодца необходимо вести зондирование грунта под банкеткой ножа для обнаружения в грунте ниже ножевой части валунов, топляков и других препятствий и принимать меры по своевременному удалению их для предупреждения перекосов. Встреча ножевой части с препятствием особенно опасна при форсированных посадках кессонов.

9.16. Опускание колодцев или кессонов в скальных грунтах производится взрывным методом по всей площади колодца или кессона на глубину предполагаемой посадки подборкой рыхленного скального грунта экскаватором, погрузкой его в бадьи и выдачей на поверхность земли.

Разработку скального грунта следует выполнять не только в пределах контура, но и за контуром наружных граней ножа. Толщина образуемых пазух должна быть не менее 10 см. Пазухи и банкетка ножа в процессе разработки подбиваются глинистым грунтом.

Буровзрывные работы при опускании колодцев или кессонов в прослойках скальных грунтов должны выполняться в строгом соответствии с требованиями «Единых правил безопасности при взрывных работах по проекту производства работ».

ОПУСКНЫЕ КОЛОДЦЫ

9.17. При сооружении сборно-монолитных опускных колодцев из пустотных блоков ножевая часть должна выполняться монолитной.

Перед началом монтажа пустотных блоков горизонтальную поверхность ножевой части и паз в ней следует тщательно очистить от строительного мусора, грязи, масляных пятен и промыть напорной струей воды. На горизонтальной поверхности следует произвести разбивку расположения сборных блоков с нанесением рисок масляной краской.

Рис. 96. Монтаж сборно-монолитного колодца из пустотных блоков

Монтаж стен опускного колодца из пустотных блоков следует производить гусеничными или башенными кранами соответствующей грузоподъемности (рис. 96).

После окончания монтажа второго ряда блоков их пустоты следует заполнить бетоном марки М200 на высоту 400-500 мм.

Дальнейший монтаж блоков следует производить на цементно-песчаном растворе марки 100. После окончания монтажа блоков яруса должны производиться монтаж арматуры стыков и горизонтальных монолитных поясов, а также их бетонирование.

Опускание колодца следует производить только после достижения бетоном стыков и монолитных поясов проектной прочности.

Рис. 97. Кондуктор стационарного типа

Рис. 98. Кондуктор консольного типа

1 - растяжки; 2 - ось колодца; 3 - консоль кондуктора; 4 - обойма; 5 - сборный элемент колодца; 6 - опорное кольцо; 7 - основание стойки кондуктора; 8 - стойка кондуктора

9.18. Монтаж сборных элементов колодцев из железобетонных панелей должен производиться с применением специальных кондукторов. Кондукторы могут быть стационарного (рис. 97) и консольно-поворотного (рис. 98) типов.

Монтаж сборных элементов следует производить кранами (рис. 99) на заранее выполненном временном бетонном основании, которое должно быть строго горизонтальным и иметь монтажную разметку.

После установки в кондукторе двух соседних элементов работы производятся в следующем порядке:

устанавливается в проектное положение арматура стыков;

привариваются временные металлические накладки через 3-4 м по высоте с наружной стороны колодца;

навариваются внутренние накладки;

производится бетонирование стыков (или нагнетание цементно-песчаного раствора).

9.19. Способ уменьшения сил трения при опускании колодцев устанавливается ППР. При этом учитываются гидрогеологические условия площадки строительства, размещение постоянных сооружений и коммуникаций у колодца, наличие механизмов у строительной организации, особенности конструкции колодца и т.д.

Рис. 99. Монтаж сборного колодца из панелей

1 - подмости; 2 - кондуктор; 3 - сборная панель

Рис. 100. Конструкция ограждения форшахты

С целью уменьшения сил трения колодцев по наружной поверхности стен следует, как правило, применять способ их опускания в тиксотропной рубашке из глинистого раствора (суспензии). Применение для этой же цели полимерных покрытий и обмазок допускается при условии обеспечения мероприятий против всплытия после устройства днища и технико-экономическом обосновании, а гидравлического и гидропневматического подмыва грунта - при отсутствии в пределах призмы обрушения постоянных сооружений, их фундаментов и инженерных коммуникаций.

Применение твердеющих глинистых растворов допускается при условии обеспечения их пластических свойств на весь период опускания колодцев до проектной отметки.

9.20. Для создания полости между грунтом и наружной поверхностью опускного сооружения стены его в ножевой части должны быть с наружной стороны на 10-15 см шире вышерасположенной части стен.

Строительной организации, осуществляющей погружение опускного сооружения в тиксотропной рубашке, следует иметь на строительной площадке полевую переносную лабораторию (типа ЛГР 3 или других типов) для контроля показателей качества глинистого раствора в процессе погружения.

9.21. До начала опускания колодцев с использованием тиксотропной рубашки должно быть смонтировано и опробовано необходимое технологическое оборудование для выполнения таких работ.

Конструкция ограждения форшахты разрабатывается в ППР, и, как правило, выполняется металлической или деревянной (рис. 100). Для обеспечения своевременной подачи глинистой суспензии в полость между грунтовой стенкой и опускным колодцем на стройплощадке следует иметь резервные емкости с готовой глинистой суспензией. Объем резервных емкостей определяется ППР.

При опускании колодцев в тиксотропных рубашках в зимнее время года глинорастворный узел должен быть утеплен. Склады глины и резервная емкость устраиваются только в утепленном помещении. Для предупреждения замерзания глинистого раствора в полости колодца в форшахте их необходимо утеплить, подавая пар в примыкающий к колодцу короб. Кроме того, в ряде случаев возможно применение электропрогрева глинистого раствора в форшахте.

Рис. 101. Пример конструкции замкового уплотнителя

1 - брезент; 2 - глинистая суспензия; 3 - глинистая паста; 4 - гравий с глиняной пастой; 5 - пакля

9.22. Конструкция горизонтального замкового уплотнения должна исключать возможность прорыва глинистого раствора в колодец. Его высота должна быть не менее 1-1,5 м (пример конструкции замкового уплотнителя показан на рис. 101). Замковый уплотнитель должен быть эластичным и при перекосах колодца расширяться, не допуская проникание глинистого раствора ниже уступа ножа.

9.23. В случае опускания колодца в тиксотропной рубашке запрещается разрабатывать грунт под банкеткой ножа; при наличии стального резца грунт под банкеткой может быть разработан только до низа резца.

В процессе опускания колодца в тиксотропной рубашке не допускается навал колодца на грунтовую стенку и ограждение форшахты.

9.24. Установление потребного количества глины, химических реагентов и воды производится по объему глинистого раствора, потребного для заполнения полости тиксотропной рубашки, трубопроводов и емкости.

Объем глинистого раствора должен рассчитываться с учетом возможных местных расширений щели, а также ухода раствора в грунт, поэтому объем раствора, потребный для заполнения подающей системы и полости тиксотропной рубашки, должен приниматься с коэффициентом запаса 1,3.

9.25. Погружение опускного колодца в тиксотропной рубашке должно производиться в соответствии с проектом производства работ.

В периоды, когда погружение колодца не производится, необходимо не реже одного раза в сутки прокачивать инъекционные трубы глинистым раствором во избежание их засорения.

9.26. Для проведения работ в зимнее время необходимо:

предусмотреть меры для утепления складов глины и глинопорошков, помещений для глиносмесительных установок и растворонасосов, запасной емкости с глинистым раствором, а также магистрального трубопровода и кольцевого коллектора;

глину перед употреблением измельчать и пропаривать острым паром или размешивать в глиномешалке с подогретой водой при температуре 30-40 °С. Для ускорения получения в зимнее время из глинопорошка качественных глинистых растворов с хорошими тиксотропными свойствами необходимо употреблять для затворения воду, подогретую до температуры 20-30 °С.

9.27. За последнее время вместо глинистых растворов были разработаны составы твердеющих паст, которые могут быть использованы для снижения сил трения, при гарантировании проведения работ по погружению опускных колодцев в течение 25-30 сут, считая от момента начала подачи пасты в полость, образующуюся между грунтовыми стенками и боковой поверхностью опускаемого сооружения.

Для приготовления паст следует использовать бентонитовый порошок, воду, портландцементы М300-М400 и натрий - фосфорнокислый двухзамещенный (Na2HPO4).

При подборе составов твердеющих паст рекомендуется принимать соотношение между весом цемента и бентонита (Ц:Б), указанное в табл. 70.

Таблица 70

№ п.п.

Сроки твердения пасты, сут

Отношение Ц:Б

Сопротивление сдвигу затвердевшей пасты, МПа

1

10

2:3

0,01-0,015

2

20

1:3

0,0075-0,01

3

20 и более

1:6

Менее 0,01

Натрий фосфорнокислый двухзамещенный следует вводить в количестве 3 % массы (Ц + Б).

Количество воды для приготовления пасты должно выбираться из условия получения пасты с плотностью до 1,2 г/см3 в зависимости от грунтов, в которые погружается колодец.

Свежеприготовленная паста, предназначенная для заполнения полости между грунтом и стенкой погружаемого колодца, представляет собой раствор с расплывом по конусу АзНИИ от 16 до 25 см и водоотделением через сутки не более 3 %. В течение последующих 24-48 ч в результате увеличения вязкости пасты, ее расплыв по конусу АзНИИ становится равным 7-10 см.

Твердеющие пасты, кроме снижения сил трения между грунтом и боковой поверхностью опускного колодца, вследствие своих вязкопластических свойств не обладают способностью размывать грунт в зоне контакта с боковой поверхностью ножа и уходить в больших количествах в котлован.

В зависимости от состава и свойств применяемых компонентов паста может иметь различные сроки твердения, прочностные и гидроизоляционные свойства.

Твердеющие пасты в качестве антифрикционного мероприятия следует применять только при опускании небольших колодцев в плане с глубиной погружения до 10 м при гарантированном опускании их в сроки, обусловленные сроком твердения пасты.

9.28. Для различных антифрикционных покрытий в качестве исходных материалов следует принимать лак «этиноль» и кубовые остатки синтетических жирных кислот (КОСЖК) с добавками к исходным материалам в виде латекса, скипидара, графита, дизтоплива, СЖК и др., а также инден-кумароновые смолы.

Покрытия на основе КОСЖК, наносимые по гладкой бетонной поверхности, обработанной лаком «этиноль», снижают силы трения, возникающие при опускании колодцев на 45-50 %.

9.29. При погружении опускных колодцев в равнопрочные и несимметричные напластования глинистых и мелкопесчаных грунтов в некоторых случаях может применяться электроосмос, с помощью которого создается уменьшение сил трения. Применение электроосмоса рационально в грунтах с коэффициентом фильтрации менее 0,05 м/сут и удельным электрическим сопротивлением более 500 Ом·см.

Применение электроосмоса для снижения трения состоит в периодическом привлечении к наружной поверхности колодца воды, которая содержится в свободном и связном состояниях в массиве грунта вокруг оболочки колодца и электроосмотически перемещается от анода к катоду при наложении на массив постоянного электрического поля. В этих целях погружаемое сооружение оборудуется системой электродов: одни - в виде металлических поясов (катоды) крепятся на наружной поверхности колодца; другие - в виде металлических перфорированных труб забиваются на определенном расстоянии вокруг погружаемого сооружения.

Электроосмос как самостоятельное средство снижения трения может использоваться при погружении колодцев диаметром не более 18 м и глубиной до 20 м. При больших размерах колодцев целесообразно совместное использование электроосмоса и тиксотропной рубашки. В этих целях электродный пояс оборудуется только на наружной поверхности ножевой части колодца.

Применение электроосмоса дает снижение сил трения на 25-30 %.

9.30. Работы по опусканию колодцев должны производиться по специальному проекту производства работ.

Опускание колодцев в песчаных и глинистых грунтах может осуществляться (при соответствующем обосновании):

без водоотлива, с подводной разработкой грунта (преимущественно в песчаных грунтах);

с применением средств гидромеханизации для разработки грунта и водоотлива;

с открытым водоотливом при применении машин и механизмов для разработки грунта насухо;

при глубинном водопонижении с разработкой грунта насухо или средствами гидромеханизации.

При опускании колодцев без водоотлива разработка грунта производится из-под воды экскаватором, оборудованным грейфером. Тип грейфера подбирается в зависимости от грунтов и должен быть указан в ППР. Разработка грунта производится равномерно по всей площади колодца, начиная от центра колодца к его краям, причем поверхность разрабатываемого грунта должна иметь уклон от ножа колодца к центру, чтобы грунт под воздействием веса колодца равномерно обрушался под банкеткой ножа.

Для предотвращения возможности наплыва несвязных грунтов в полость опускаемого колодца необходимо, чтобы его нож был заглублен в грунт на 0,5-1 м. В этом случае уровень воды в колодце должен быть не ниже уровня воды вне его. Если по условиям опускания требуется разрабатывать грунт ниже ножа колодца (в случае его зависания или при встрече с препятствием), в колодец необходимо постоянно доливать воду до уровня на 4-5 м, превышающего отметку поверхности воды вокруг колодца.

Для повышения веса затертого силами трения колодца разрешается понижение в нем уровня воды по сравнению с отметкой воды вокруг колодца только при нахождении его ножа в устойчивых, не угрожающих наплывом грунтах.

9.31. Разработка грунта насухо в опускном колодце должна производиться равномерно по всей его площади (в прямоугольных колодцах - начиная от торцовых стен) с оставлением расчетных зон опирания. При очередной посадке колодца все зоны опирания должны разрабатываться одновременно.

Разработка грунта расчетных зон опирания производится одновременно по всем зонам вертикальными слоями толщиной до 50 мм. В некоторых случаях при опускании круглых в плане колодцев (диаметром до 15 м) разрешается производить разработку грунта по всей площади опускного колодца с оставлением у ножа колодца бермы шириной 1-1,5 м. Разработка грунта бермы и посадка колодца осуществляются постепенным размывом гидромониторами грунта слоями (по периметру колодца толщиной до 50 мм).

Если низ ножа опускного колодца по проекту находится в водоупорных грунтах, а ниже, в водоносных грунтах, имеются напорные подземные воды производится проверка основания днища колодца на возможность его прорыва напорными водами.

В случае попадания валунов под нож опускаемого колодца они должны быть удалены.

При обнаружении перекосов колодцев производить разработку грунта по всей площади колодца до выправления перекоса категорически запрещается.

Рис. 102. Схема открытого водоотлива

1 - насосы; 2 - радиальные траншеи; 3 - кольцевая траншея; 4 - берма

В грунтах, исключающих по своим свойствам наплывы из-под ножа, опускание колодцев может производиться с открытым водоотливом. При этом для разработки грунта могут быть использованы как средства гидромеханизации, так и механизмы для его разработки насухо.

При опускании колодцев с применением механизмов для разработки грунта насухо открытый водоотлив осуществляется отрывом траншей по контуру колодца и ряда траншей для сбора воды в приямки, расположенные на контурной траншее (рис. 102). Глубина контурной траншеи не должна превышать полуторной глубины предполагаемой посадки колодца за один раз. Ширину траншеи понизу следует принимать 0,4-0,5 м. Расстояние от края траншеи до ножа должно быть не менее ширины расчетной зоны опирания.

При притоках воды в опускной колодец, затрудняющих выполнение работ по опусканию колодцев с открытым водоотливом, а также при грунтах, не исключающих наплывов из-под ножа в колодец, опускание колодцев рекомендуется производить с применением водопонижения.

Водопонижение осуществляется бурением водопонизительных скважин за контуром опускного колодца с установкой глубинных насосов и откачкой воды в течение всего срока проведения работ по опусканию колодца и бетонированию днища. Все работы по понижению уровня подземных вод должны выполняться по проекту водопонижения.

Рис. 103. Схема разработки грунта в колодцах с использованием бульдозера и грейфера

Н - высота колодца

Рис. 104. Разработка грунта экскаватором

1 - башенный кран; 2 - бункер; 3 - экскаватор

Разработку грунта в колодце насухо рекомендуется производить по следующим схемам:

бульдозерами с последующим транспортом грунта на поверхность земли башенными или гусеничными кранами (с погрузкой экскаваторами) или кранами, оборудованными грейфером. Для обеспечения безопасности грейферных работ при работе в колодце бульдозеров загрузка грейферов должна производиться на участках площади опускного колодца, удаленных от места работы бульдозера. При данной схеме работ бульдозер должен транспортировать разрыхленный грунт к указанным выше участкам. Одновременная работа на одном участке бульдозера и грейфера запрещается (рис. 103);

экскаваторами (рис. 104), оборудованными прямой или обратной лопатой с выдачей грунта на поверхность земли гусеничными или башенными кранами в бадьях.

Во всех случаях разработка грунта должна выполняться равномерно по всей площади колодца с оставлением расчетных зон опирания. Разработка зон опирания должна производиться одновременно.

В колодце при работе механизмов с дизельным двигателем рекомендуется предусматривать вентиляцию.

При работе башенных кранов вблизи опускаемого колодца исправность состояния подкрановых путей должна проверяться после каждой посадки, но не реже одного раза в сутки. При обнаружении просадок немедленно производить выравнивание и рихтовку путей.

Опускание колодцев при разработке грунта способом гидромеханизации рекомендуется производить по следующим схемам:

разработка грунта гидромониторами с транспортировкой пульпы гидроэлеваторами (при глубине опускания колодцев 10-15 м);

разработка грунта гидромониторами с транспортировкой пульпы землесосами (рис. 105).

Разработка грунта производится от приямка под всасом землесоса или гидроэлеватора с постепенным перемещением струи гидромонитора к ножу колодца. У ножа оставляют расчетные зоны опирания. Величина одного слоя размыва грунта должна быть 5-10 см, а общая глубина разработки грунта по всей площади колодца на одну посадку не должна превышать 0,3-0,5 м.

Рис. 105. Разработка грунта землесосом

1 - водовод; 2 - пульповод; 3 - землесос

Транспортировка пульпы от забоя до приямка производится самотеком, уклоны русла потока пульпы и необходимые напоры воды приведены в табл. 71.

Поверхность размываемого грунта должна периодически очищаться от отдельных крупных включений (камней, валунов), удаляемых из колодца в бадьях.

Таблица 71

Грунт

Необходимый напор воды, м

Объем воды для размыва 1 м грунта

Уклон транспортируемой пульпы, %

Песок крупный

40

8-10

6-8

Песок гравелистый с содержанием 40 % гравия

40-50

12-14

6-8

То же, свыше 40 %

50-80

20

10-12

Песок средней крупности

30-40

6-8

3-5

Супеси плотные

60-70

9-11

3-5

»        пластичные

40-50

7-9

2,3-3,5

»        текучие

30-40

6-8

2,3-3,5

Суглинки пластичные

50-60

8-12

2-3

»          текучие

40-50

7-9

1,5-2,5

Глины мягкопластичные

80-100

12

1,5-2

Глины текучепластичные

60-80

10

1,5-2

Рис. 106. Устройство для откачки грунтовых вод из-под днища

1 - резиновая прокладка; 2 - заглушка; 3 - закладной патрубок; 4 - реборда; 5 - перфорированная часть патрубка; 6 - дренажный слой; 7 - гидроизоляция

Землесосы могут устанавливаться как на специальные площадки, укрепленные на консолях в стены или перегородки опускного колодца, так и непосредственно на грунт. При установке землесосов на грунт их следует ставить на понтоны (на случай затопления колодца).

9.32. Примерзание колодцев к грунту возможно при длительных вынужденных перерывах опускания в случаях высокого стояния уровня грунтовых вод или при верховодке.

В качестве мероприятий, предотвращающих примерзание колодцев к грунту, следует применять:

устройство с наружной стороны по периметру стен колодца защитного покрытия в виде кольцевого воротника высотой 25-30 см, шириной 1,5-2 м из древесных опилок, укрытия соломенными матами, фашинными тюфяками, войлоком или другими теплоизоляционными материалами. Толщина слоя и вид покрытия устанавливаются с учетом минимальной температуры;

электропрогрев грунта по наружному контуру колодца в зоне кольца шириной до 1 м на глубину до 1,5-2 и более в зависимости от температуры наружного воздуха и категории грунта;

паропрогрев окружающею колодец грунта полосой шириной 1-1,5 м, осуществляемый подачей пара в перфорированные трубки, заглубляемые в грунт на 1,5-2 м от поверхности;

насыщение грунта, окружающего верхнюю часть колодца, водным раствором поваренной соли через систему скважин необходимой глубины, диаметром до 10 см, в которые заливается упомянутый раствор.

Выбор того или иного конкретного мероприятия должен производиться с учетом геологических и климатических условий, возможностей строительной организации и экономического обоснования.

9.33. В зависимости от способа опускания колодцев днище может быть выполнено как в виде одной железобетонной плиты, так и в виде конструкции, состоящей из железобетонной плиты и бетонной подушки, выполненной способом ВПТ, или дренажной пригрузки.

До начала работ по устройству днища колодца, опущенного с водоотливом, необходимо зачистить, выровнять ложе под него, удалить илистые и пылеватые фракции с поверхности, уложить щебеночную или гравийно-щебеночную дренажную подготовку и обеспечить полный водоотлив из дренирующего слоя.

В дренажном слое необходимо предусматривать приямки (зумпфы), оборудованные металлическими патрубками (рис. 106).

Размеры и число блоков бетонирования днища следует назначать с учетом его объема и возможности окончания его бетонирования без перерывов.

При разбивке на блоки бетонирования необходимо обеспечить перевязку швов бетонирования блоков в плане и по высоте. Начинать бетонирование следует с блоков, примыкающих к внутреннему периметру ножевой части колодца. В качестве опалубки между блоками рекомендуется принимать стальную сетку.

Схема подачи бетонной смеси при бетонировании блоков должна обеспечивать возможность ее доставки в любую точку колодца.

9.34. Подводное бетонирование подушек днища колодцев, опущенных без водоотлива, следует выполнять методами вертикально перемещающейся трубы (ВПТ) или укладки пеноцементного раствора.

Устройство подушек допускается методом ВПТ с вибрацией при использовании малоподвижной бетонной смеси.

Бетонирование должно осуществляться по всей площади колодца одновременно без перерыва при наличии внутренних перегородок в колодце - последовательно по отсекам.

Все работы по подводному бетонированию подушек колодцев должны выполняться согласно проекту производства работ, разработанному в соответствии с требованиями СНиП.

Перед началом подводного бетонирования подушки днища должна быть произведена промежуточная приемка основания колодца с составлением акта.

9.35. Откачка воды из дренажного слоя под днищем должна производиться в течение всего периода выполнения работ по бетонированию днища и далее до достижения бетоном днища проектной прочности. Горизонт воды во время откачки должен поддерживаться не выше уровня верха дренажного слоя. По достижении бетоном днища проектной прочности откачка воды из патрубков прекращается, их отверстия тампонируются, закрываются металлическими заглушками и заделываются бетоном.

Рис. 107. Технологическая схема погружения колодца способом задавливания

1 - опорный воротник; 2 - двухконсольная балка; 3 - гидроцилиндры; 4 - ножевая часть; 5 - крепь ствола; 6 - полок

Рис. 108. Ножевая часть опускного колодца

1 - отверстия для заливки бетона; 2 - полость заполнения бетоном

Кроме того, в тех случаях, когда колодец погружается в тиксотропной рубашке, откачка воды из зумпфов должна производиться до полного схватывания тампонажного раствора, заменившего глинистый раствор в полости тиксотропной рубашки.

Вместо откачки воды разрешается по окончании бетонирования днища заливать опускной колодец водой до отметки уровня грунтовых вод. Откачку воды из залитого колодца следует производить не ранее достижения бетоном днища и тампонажным раствором проектной прочности.

9.36. Укладку рулонной гидроизоляции днища опускных колодцев следует производить полосами от нижних точек к более высоким, причем продольные швы должны быть выполнены внахлестку на 10 см, а поперечные - на 20 см с тщательной промазкой мастикой и затиркой. Продольные швы последующего слоя должны сдвигаться по отношению к швам предыдущего слоя на половину ширины наклеиваемого полотнища.

При наклейке рулонного материала необходимо промазать мастикой как наклеиваемую сторону полотнища, так и изолируемую поверхность. Полотнище должно быть плотно прижато при помощи разглаживания шпателем или укатки катком. Признаком хорошего уплотнения являются ясно выраженные перегибы полотнищ и швов внахлестку.

Монтаж металлической гидроизоляции днища должен производиться после полного погружения колодца и бетонирования днища, причем в днище должны быть забетонированы закладные части для крепления листов гидроизоляции, которые должны крепиться к ним при помощи сварных швов или проплавных заклепок.

После монтажа металлической гидроизоляции днища через специально оставленные трубки в пространство между гидроизоляцией и железобетонной конструкцией днища нагнетается цементно-песчаный раствор состава 1:1 под давлением, указанным в проекте. По окончании этой работы трубки срезаются и отверстия в гидроизоляции завариваются металлическими накладками. При нагнетании часть трубок служит для выпуска воздуха и наблюдения за распространением раствора.

9.37. Способ погружения опускных колодцев задавливанием (рис. 107) может применяться как при наращивании стен сборными железобетонными или чугунными элементами, так и монолитным железобетоном, его следует применять для сооружения колодцев глубиной более 20 м в различных геологических условиях, кроме скальных и полускальных грунтов, а также грунтов с валунными включениями размером более 200 мм.

Для обеспечения необходимого врезания ножа в забой при применении тиксотропной рубашки суммарную нагрузку задавливания, состоящую из веса колодца, нагрузки, создаваемой домкратами, за вычетом взвешивающей силы при погружении колодца без водоотлива, следует принимать: в песках - 40-60 т; в супесях, в глинах - 30-40 т; в плывунах - 40-50 т на 1 м окружности режущей кромки ножа.

9.38. Опорная конструкция, как правило, выполняется в виде круговой контрофорсной подпорной стенки, возводимой в открытом котловане из монолитного железобетона или сборных железобетонных элементов. Внутренний диаметр подпорной стенки должен на 0,5-0,75 м превышать наружный диаметр задавливаемого колодца.

Для уменьшения величины углубления опорной конструкции в грунт и увеличения ее несущей способности возможно устраивать грунтовые анкеры (инъекционные или с камуфлетным уширением).

9.39. Стены колодцев из монолитного железобетона бетонируются ярусами, используя опорную конструкцию в качестве наружной опалубки. При этом внутренняя опалубка монтируется на подвесной полке. Ножевая часть колодцев обычно выполняется из металла с заполнением полости бетоном. Угол заострения ножа принимается 16-18°, а ширина режущей кромки (банкетки) 5-7 см (рис. 108).

Рис. 109. Устройство для задавливания опускного колодца

9.40. Устройства для задавливания колодцев должны обеспечивать их многократное использование и пригодность для их использования при задавливании колодцев различных размеров. Это устройство включает комплект двухконсольных балок, закрепленных шарнирно в опорной конструкции (рис. 109, а), причем одна консоль каждой балки должна быть обращена внутрь колодца и взаимодействовать с гидравлическим домкратом, а противоположная консоль - жестко оперта на грунт.

Для удобства производства работ устройство для задавливания может быть снабжено шарниром, дающим возможность поворачивать двухконсольные балки вокруг вертикальной осиис. 109, б).

Кроме того, для удобства исправления перекосов колодца и перемещения домкратов двухконсольными балками по периметру колодца возможно размещение шарнирного крепления балок в желобчатой направляющей, закрепленной на верхнем торце опорной конструкции (рис. 109, в). Возможно также применение устройства внутренней плоскости опорной конструкции посредством шарнира (рис. 110).

Рис. 110. Задавливание колодца посредством угловых упоров

1 - опорная конструкция; 2 - угловой упор; 3 - домкрат; 4 - сборные стены колодца

9.41. Для погружения опускных колодцев способом задавливания в тиксотропной рубашке необходимо иметь оборудование, обеспечивающее выполнение следующих работ:

разработку грунта в забое колодца с выдачей его на поверхность;

погружение колодца задавливанием;

монтаж стен колодца или их бетонирование;

приготовление и транспортирование глинистого раствора.

Для задавливания опускных колодцев необходимо применять гидравлические домкраты грузоподъемностью 50-150 т с величиной хода штока 800-1200 мм, причем гидравлическая схема домкратной системы должна предусматривать независимое включение и отключение каждого отдельного домкрата.

Подвеску домкрата к консольным балкам следует выполнять строго вертикально для предотвращения внецентренного приложения нагрузок.

К погружению колодца можно приступать только после заполнения глинистой суспензией зазора между опорной конструкцией и стенами колодца.

При подводной грейферной разработке грунта в некоторых случаях необходимо создавать искусственную пригрузку воды путем превышения уровня воды в колодце на 1 м над уровнем подземных вод.

Откачку воды из колодца при подводной разработке грунта разрешается производить лишь после заглубления колодца в водоупорный грунт на глубину 1,5 м или устройства бетонной пригрузки, при этом должна быть обеспечена возможность срочного затопления колодца в случае прорыва плывунных грунтов или глинистого раствора из-под ножевой части.

9.42. Для закрепления опускного колодца от всплытия могут применяться инъекционные анкеры.

КЕССОНЫ

9.43. При опускании кессонов схема воздухопроводов должна обеспечивать возможность подключения в сеть или отключения от сети каждого компрессорного агрегата.

На компрессорной станции должен быть предусмотрен резервный компрессор, производительность которого должна быть равна или больше самого мощного из работающих. Резервный компрессор в период выполнения кессонных работ должен постоянно находиться в состоянии, готовом для немедленного пуска и подключения в сеть.

Компрессорная станция должна иметь питание от двух независимых источников электроэнергии.

Сжатый воздух должен поступать из коллектора компрессорной станции в наружный воздуховод не менее чем через два последовательно поставленных воздухосборника, общий объем которых определяется в зависимости от количества всасываемого компрессорами воздуха, согласно табл. 72.

Таблица 72

№ п.п.

Количество всасываемого воздуха, м3/мин

Минимальный объем воздухосборников, м3

№ п.п.

Количество всасываемого воздуха, м3/мин

Минимальный объем воздухосборников, м3

1

5

3

9

120

18

2

10

5

10

140

19

3

20

7

11

160

20

4

30

9

12

180

21

5

50

11

13

200

22

6

70

13

14

220

23

7

90

15

15

240

24

8

100

16

16

250

25

Наружный воздухопровод следует укладывать не меньше, чем в две нитки и защищать от воздействия наружной температуры. Воздухоподающие трубы должны быть равномерно распределены по площади кессона. Число воздухоподающих труб, идущих от сборного воздухопровода к кессону, назначается из расчета одной трубы на 100 м2 площади кессона в плане, но должно быть не менее двух.

Воздух в шлюзовые аппараты следует подавать по отдельным трубам.

Число и размеры сифонных труб для обмена воздуха и удаления его излишков следует определять из условия, чтобы их площадь сечения составляла не менее 20 % суммарной площади воздухоподающих труб (но не менее двух сифонных труб).

При опускании кессона потребность в сжатом воздухе увеличивается, поэтому типы и число компрессоров на компрессорной станции необходимо подбирать так, чтобы питание кессона сжатым воздухом было равномерно возрастающим - от минимума, соответствующего начальному периоду опускания, до максимума, соответствующего проектному положению кессона.

В связи с этим комплект компрессоров на компрессорной станции подбирается из компрессоров различной производительности.

В то же время производительность самого мощного компрессора должна быть не более 50 % общей производительности компрессорной станции.

9.44. Количество сжатого воздуха, подаваемого в кессон, должно обеспечивать воздушное давление, при котором создаются оптимальные условия для производства работ. На каждого работающего в кессоне следует подавать не менее 25 м3 сжатого воздуха в 1 ч.

Температура воздуха в рабочей камере при давлении до 0,2 МПа должна быть 16-20 °С, до 0,25 МПа - 17-23 °С, выше 0,25 МПа - 18-26 °С.

Воздушное давление в кессонах, погружаемых без применения гидромеханизации, должно быть достаточным, чтобы исключить приток воды из-под ножа, но не превышать больше чем на 0,02 МПа гидростатическое давление на уровне ножа.

9.45. Количество и давление сжатого воздуха, подаваемого в камеру кессона, должно обеспечивать:

а) обмен воздуха в опускаемом кессоне, отвечающий требованиям действующих правил безопасности производства кессонных работ;

б) возможность осуществления в кессоне оптимального режима воздушного давления, соответствующего принятому методу разработки грунта при опускании кессона до проектной отметки;

в) условия, исключающие возможность наплыва грунта вследствие понижения давления воздуха при гидромеханической разработке грунтов.

9.46. Расчетное количество воздуха, необходимое по правилам безопасности при кессонных работах, должно составлять V1 = 25n, где V1 - количество сжатого воздуха, подаваемого компрессором, м3/ч; п - полная численность людей, занятых на работе в рабочей камере и шлюзовом аппарате.

Расчетное количество воздуха, необходимое для опускания кессона по производственным требованиям, следует определять по формуле

V2 = ρF + βU),                                                                    (32)

где V2 - количество сжатого воздуха, подаваемого компрессором, м3/ч; F - суммарная внутренняя поверхность стен и потолка кессона, м2; U - периметр кессона, м; β - часовая потеря воздуха, приходящаяся на 1 м периметра ножа и принимаемая для плотных и мягких грунтов 1-3 м3/ч и для скальных грунтов 4-6 м3/ч; α - часовая потеря воздуха через 1 м2 стен и потолка, принимаемая равной от 0,67 до 0,35 м3/ч в зависимости от плотности бетона (0,35 м3 - при торкретированной поверхности); ρ - коэффициент, учитывающий расход воздуха на шлюзование грунта и в среднем принимаемый равным 1,25, при применении гидромеханизации в кессоне ρ = 1.

Для подбора производительности компрессорной станции в формулы следует внести множитель (1/10) [(1 + H / 10,33)].

Расчетное избыточное воздушное давление в камере кессона Pв, МПа, следует принимать:

а) при разработке грунта без применения гидромеханизации Рв = (1/10) [(H + 2) / 10,33];

б) при разработке грунта с применением гидромеханизации Рв = (1/10) (H / 10,33 - δр],

где H - гидростатический напор, м, водяного столба на уровне ножа кессона; δp - допускаемая разность гидростатического и воздушного давления, МПа, зависящая от физических свойств грунтов, окружающих кессон.

Принимают следующие наименьшие значения величины δр, МПа:

Для песчаных грунтов                       0,01

Для супесей                                        0,02

Для суглинков                                    0,03

Для глин                                              0,04

Наибольшая величина допускаемой разности давлений должна уточняться опытным путем в процессе опускания кессона, причем при правильно назначенной величине δр должны исключаться наплыв грунта и приток фильтрующейся воды, при котором невозможно обеспечить баланс пульпы в зумпфе.

9.47. Для предотвращения резких посадок кессонов при проходке слабых грунтов необходимо вследствие недостаточности сил бокового трения погружать их с применением шпальных клеток или же клеток из других материалов.

Рис. 111. Последовательность перестановки шпальных клеток

1 - первоначальное положение клеток; 2 - последующее положение клеток

При опускании кессонов на шпальные клетки в проекте производства работ предусматривается последовательность их перестановки по мере разработки грунта между форсированными зонами. Пример размещения клеток и последовательность их перестановки приведены на рис. 111.

Когда кессон опущен на большую глубину, силы трения, развивающиеся между его боковой поверхностью и грунтом, могут стать настолько большими, что действия собственного веса кессона для погружения его в грунт будет недостаточно. В этом случае прибегают к так называемым форсированным посадкам кессона. Сущность форсированных посадок кессона состоит в том, что выкопав траншею по периметру кессонной камеры и удалив грунт из-под ножевой части, снижают давление воздуха в кессоне. Вследствие уменьшения давления воздуха на потолок кессонной камеры сопротивление погружению в грунт значительно уменьшается, и кессон быстро опускается на глубину выработки грунта. Форсированные посадки кессона разрешается производить на глубину не более 0,5 м при снижении воздушного давления не больше чем на 50 %.

Так как при форсированных посадках не исключена возможность наплыва грунта в кессонную камеру, то их нельзя допускать в тех случаях, когда в пределах призмы обрушения грунта имеются сооружения.

В этих условиях, чтобы облегчить погружение кессона, зажатого силами трения, следует применять другие способы, например, дополнительную пригрузку его.

Подборка грунта под банкеткой перед форсированной посадкой на глубину больше чем 0,5 м запрещается.

Разработку грунта в камере кессона, как правило, для всех грунтов ведут в два приема: сначала выбирают грунт в средней части камеры, не трогая участков, расположенных под консолями, и только после этого, удалив грунт из-под консолей, сажают кессон. Таким образом, опускание кессона происходит не непрерывно, а отдельными ступенями.

Рис. 112. Схема бермы у консоли кессона при разработке грунта

Рис. 113. Схема удаления берм у консоли кессона

1 - шахтная труба

Разработка грунта на первых метрах погружения кессона производится в такой последовательности: грунт снимают ровными слоями по всей площади кессона до уровня банкетки, берму шириной около 0,5 м оставляют у консолей (рис. 112). После того как грунт в средней части кессона будет выбран вровень с банкеткой, разрабатывается оставленная берма. Разработка бермы производится от середины продольных сторон к углам и одновременно от углов (или фиксированных зон) к середине коротких сторон (рис. 113). По мере разработки бермы кессон постепенно садится. После того как берма будет удалена вровень с поверхностью грунта, на остальной площади кессона возобновляется выборка грунта в средней части кессона, и описанные выше операции повторяются.

При опускании кессона в полускальных и скальных породах в результате соприкосновения наружных поверхностей стен кессона с поверхностью скалы кессон может быть зажат. Чтобы избежать этого, необходимо при разработке грунта под ножевой частью захватывать и грунт, находящийся вне кессонной камеры на расстоянии 10-15 см от наружной поверхности ножевой части.

Разработку слабых, несвязных грунтов следует вести в центральных частях кессонной камеры, тогда под тяжестью кессона грунт от ножевой части будет сползать к центральным выработкам, а вследствие этого кессон по мере разработки грунта будет постепенно опускаться.

9.48. Затопление камеры кессона (в случае вынужденного перерыва в производстве работ) должно производиться постепенным понижением воздушного давления. Вытеснение воды из затопленной камеры должно производиться под давлением, не превышающим проектное.

9.49. Камеры кессона должны заполняться материалом, предусмотренным в проекте, с плотной подбивкой материала под потолок кессона. Оставшиеся пустоты должны быть заполнены цементно-песчаным раствором нагнетанием его через закладные трубки под давлением не менее 0,1 МПа.

Посадка потолка кессона непосредственно на грунт допускается только по решению проектной организации.

9.50. Затопление кессонов, оборудованных гидромеханизированными установками, должно производиться подачей воды в рабочую камеру с одновременным постепенным снижением давления воздуха. Обратное удаление воды из кессона должно осуществляться вытеснением ее сжатым воздухом и одновременной откачкой гидроэлеватором.

9.51. Заполнение рабочей камеры кессона бетонной смесью, бутобетоном или песком должно производиться в строгом соответствии с проектом производства работ. Бетон, применяемый для заполнения камер, должен обладать достаточной пластичностью. Заполнение камеры начинается с укладки по всей площади кессона слоя песка или бетона такой толщины, чтобы оставшаяся высота рабочей камеры допускала вполне удобное производство работ по дальнейшей забутовке. Толщина предварительно укладываемого слоя принимается равной около 0,5 м.

Вначале производят подбивку под скошенную часть консоли, затем заполняют среднюю часть площади кессона. Укладку заполнителя все время ведут симметрично относительно продольной и поперечной осей кессона. Принятая в проекте последовательность заполнения камеры кессона бетоном или песком должна обеспечивать равномерную его укладку, в первую очередь, вдоль консолей, а затем из центра камеры к внешней линии монорельса.

Помимо заполнения камеры кессона бетоном, бутобетоном, песком в некоторых случаях в целях экономии может применяться заполнение камеры кессона местными грунтовыми материалами (глинами, суглинками).

ПРИЕМКА РАБОТ

9.52. В процессе возведения и опускания колодцев и кессонов приемке подлежат:

закрепленные в натуре геодезическими знаками основные оси сооружений;

искусственные островки, площадки и временное основание под нож;

арматура, закладные части и детали;

стыки и швы между элементами сборных конструкций;

сооружения, подготовленные к снятию с временных оснований и опусканию (спуску на воду);

установка наплавных кессонов или колодцев на дно;

заполнение пазух колодца, погруженного в тиксотропной рубашке (тампонаж полости тиксотропной рубашки).

9.53. В процессе работ по возведению и опусканию колодцев и кессонов надлежит вести журналы работ, формы которых даны в прил. 66 и 67.

9.54. В ходе строительства инженерно-технические работники обязаны оформлять исполнительные документы - журналы производства работ, бетонных работ, опускания сооружений, температурный журнал и др.

Все журналы должны быть пронумерованы, прошиты и скреплены печатью; не реже одного раза в месяц они должны проверяться руководством строительных организаций. По окончании работ на участке последнюю запись в каждом журнале делает начальник участка, который подписывает журнал на титульном листе.

Акты на скрытые работы должны составляться на все конструктивные элементы и работы, скрытые в процессе последующего производства, например гидроизоляция, арматура, омоноличиваемые стыки сборных железобетонных элементов, закладные части и др.

Приемка скрытых работ раньше достижения применяемыми материалами проектной прочности допускается при условии отбора и испытания образцов (после твердения).

Акты на скрытые работы должны составляться в трех экземплярах: один передается представителю технадзора, два других хранятся в строительной организации (один из них при сдаче работ прилагается к акту сдачи).

Исполнительные чертежи подписываются геодезистом, руководителем объекта и представителем заказчика.

Строительная организация, выполнившая работы не по объекту в целом, а только по отдельному виду работ или части сооружения (опускной колодец, кессон), должна сдавать эти работы генподрядной организации (в присутствии представителя заказчика) под монтаж и для дальнейшего производства работ по акту.

9.55. При сдаче законченных работ на объекте строительная организация в любом случае должна предъявить следующие документы:

перечень и краткую техническую характеристику подлежащих сдаче сооружений;

комплект рабочих чертежей соответствующих выполненным работам или с внесенными в них изменениями, если последние имели место в процессе строительства, с подписью лиц, ответственных за строительство;

акты промежуточной приемки ответственных конструкций и акты на все работы, скрываемые последующими работами и конструкциями (скрытые работы);

акты испытания установленного оборудования;

документы, характеризующие качество использованных материалов (сертификаты, акты и паспорта на испытание материалов и т.д.);

документы, характеризующие качество выполненных работ (результаты испытания сварных стыков, арматуры, образцов бетона и др.);

журналы работ;

акты геодезической разбивки основных осей сооружений, а также ведомости реперов и осевых знаков.

Вся документация в одном экземпляре после окончания работы рабочей комиссии передается заказчику.

ПРИЛОЖЕНИЕ 1

ЖУРНАЛ ТРАМБОВАНИЯ ГРУНТОВ В ОПЫТНОМ КОТЛОВАНЕ

Наименование строительной организации

Наименование и местонахождение строительства

Толщина слоя просадочных грунтов, залегающих в основании, м

Отметка заложения дна котлована до трамбования, м

Влажность грунта основания в природном сложении от до %

Площадь уплотненного опытного котлована м2

Количество воды, залитой в опытный котлован для достижения грунтом основания оптимальной влажности, м3

Масса трамбовки, т

Диаметр рабочей поверхности трамбовки, м

п.п.

Дата увлажнения котлована

Средняя высота подъема трамбовки

Число ударов в каждом пункте

Погружение штырей, м

Средняя величина на осадки дна котлована

Примечание

№ 1

№ 2

№ 3

 

 

 

1

2

3

4

5

6

7

8

9

 

 

 

 

 

 

 

 

 

Старший инженер        __________________________________

(или производитель работ)                                 (подпись)

Сменный техник          __________________________________

(подпись)

ПРИЛОЖЕНИЕ 2

ЖУРНАЛ УЧЕТА РЕЗУЛЬТАТОВ КОНТРОЛЬНЫХ НАБЛЮДЕНИЙ ПО УПЛОТНЕНИЮ ГРУНТА

Наименование строительной организации

Наименование и местонахождение строительства

Толщина грунтовой подушки

Абсолютная отметка низа _____ верха _____ подушки

Вид применяемого грунта ________ оптимальная влажность _____________

Способ уплотнения грунта, тип грунтоуплотняющей машины:

масса _____ диаметр ___________ высота сбрасывания _________________

Число проходов (ударов) механизма по одному следу

Дата

Смена

пробы грунта

Место взятия пробы грунта

Абсолютная отметка места взятия пробы грунта

Плотность влажного грунта, т/м3

Влажность, %

Плотность сухого грунта, т/м3

Примечание

1

2

3

4

5

6

7

8

Старший инженер        __________________________________

(или производитель работ)                                 (подпись)

Сменный техник          __________________________________

(подпись)

ПРИЛОЖЕНИЕ 3

АКТ №_____ ПРИЕМКИ РАБОТ ПО ПОВЕРХНОСТНОМУ УПЛОТНЕНИЮ ОСНОВАНИЯ

Наименование строительной организации

Наименование и местонахождение строительства

Наименование вида грунта в уплотненном основании

Сооружение и тип фундамента ___________

Глубина заложения фундамента ________ м

№ уплотненного участка ________ и его площадь ________ м3

Величина понижения дна котлована в результате уплотнения, м

Дата начала ________ и окончания уплотнения ___________

Атмосферные условия (дождливая или сухая погода)

Масса трамбовки _______ т, диаметр рабочей поверхности трамбовки ___________ м

Число ударов трамбовки в одном пункте _____ м, величина принятого отказа ______ см

Величина контрольного отказа ___________ см

Сменный инженер       __________________________________

(или производитель работ)                                                                                              (подпись)

Сменный техник          __________________________________

(подпись)

Представитель заказчика     _____________________________

(подпись)

ПРИЛОЖЕНИЕ 4

Наименование строительной организации ______________________

Объект ____________________________________________________

ЖУРНАЛ РАБОТ ПО ВЫТРАМБОВЫВАНИЮ КОТЛОВАНОВ

Отметка дна котлована (абсолютная или относительная) _____ м

Наименование грунта __________________________________

Влажность грунта ___________________________

Проектная глубина вытрамбовывания ______________ м

Количество воды, залитой на 1 м2 дна котлована, ________ м3

Размеры трамбовки ___________ м; масса ___________ т

Высота подъема трамбовки _________________ м

Результаты вытрамбовывания

Дата

Смены

котлована

Число ударов по одному следу

Фактическая глубина вытрамбовывания, м

Исполнитель, Ф. И. О.

Примечание

1

2

3

4

5

6

Сменный инженер       __________________________________

(или производитель работ)                                                                                              (подпись)

Сменный техник          __________________________________

(подпись)

ПРИЛОЖЕНИЕ 5

Наименование строительной организации ______________________

Объект ____________________________________________________

ЖУРНАЛ РАБОТ ПО УПЛОТНЕНИЮ ОСНОВАНИЯ ГРУНТОВЫМИ СВАЯМИ

Проектная глубина уплотнения _________________

Наименование грунта _________________________

Влажность грунта в массиве ___________________

Оборудование для пробивки скважин _________________

Масса ударного снаряда

а) для пробивки скважин _________________ т

б) для трамбования отсыпного в скважину грунта ___________ т

Характеристика засыпаемого грунта

а) наименование грунта _____________________

б) оптимальная влажность ___________________

Расчетный вес грунта на сваю ________________

грунтовой сваи

Пробивка скважин

Набивка скважин

Дата, смена

Время пробивки, мин

Глубина пробивки, м

Диаметр, м

Дата, смена

Объем порции засыпаемого грунта, м

Число порций

Фактическая влажность засыпаемого грунта

Число ударов на одну порцию грунта

Исполнитель, Ф. И. О.

Примечание

1

2

3

4

5

6

7

8

9

10

11

12

Сменный мастер (или производитель работ) _____________

(подпись)

Сменный техник          __________________________________

(подпись)

ПРИЛОЖЕНИЕ 6

Наименование строительной организации _______________________________________

Место и объект строительства _________________________________________________

ЖУРНАЛ ПРОИЗВОДСТВА РАБОТ ПО ГЛУБИННОМУ УПЛОТНЕНИЮ ОСНОВАНИЙ С ПОМОЩЬЮ ЭНЕРГИИ ВЗРЫВА

Проектная глубина уплотнения грунта _________________ м

Проектная отметка, до которой пробиваются скважины-шпуры _____

Количество залитой воды _________________ т/м2

Наименование ВВ ______________________

Число патронов на 1 м заряда ________________

Тип и марка станка ______________________

Масса ударного снаряда _________________ т

Характеристика засыпаемого грунта

а) вид засыпаемого грунта (супесь, суглинок) _________________

б) оптимальная влажность засыпаемого грунта ______________ %

Объем ковша дозирующего устройства при засыпке скважин _____ м3

Расчетное количество грунта на сваю _______________________ т

грунтовой сваи по схеме

Глубина скважины, м

Последнее измерение отклонения штанги от вертикали, см

Глубина скважины после взрыва, м

Величина завала грунта, м

Дата набивки грунта

Влажность засыпаемого грунтового материала, %

Число порций грунта на сваю

Температура воздуха (при производстве работ в зимнее время), °С

1

2

3

4

5

6

7

8

9

Ответственный за выполнение работ, прораб (мастер) _______________

(подпись)

Работы контролировали представители технадзора заказчика _________

(подпись)

ПРИЛОЖЕНИЕ 7

Наименование строительной организации _______________________________________

Объект ____________________________________________________________________

ЖУРНАЛ РАБОТ ПО ГЛУБИННОМУ УПЛОТНЕНИЮ ВОДОНАСЫЩЕННОГО ПЕСЧАНОГО ОСНОВАНИЯ

Глубина уплотнения __________  Оборудование для уплотнения песчаного грунта ____

Вид песчаного грунта _________  Оборудование для водонасыщения песка __________

Уровень грунтовых вод _______    Размер сетки уплотнения ________________________

Дата, смена

Планировочная отметка, м

№ точек

Количество воды, подаваемой для насыщения грунта, м3

Глубина погружения уплотнителя, м

Продолжительность цикла, мин

Объем уплотненного за смену грунта, м3

Исполнитель (Ф. И. О.)

рыхления

уплотнения

при рыхлении

при уплотнении

при рыхлении

при уплотнении

1

2

3

4

5

6

7

8

9

10

11

Примечания: 1. Гр. 3, 6, и 8 заполняют при уплотнении песчаного грунта с предварительным рыхлением.

2. Гр. 5 заполняют при уплотнении песчаного грунта с искусственным водонасыщением.

Прораб (подпись) ________________    Мастер (подпись) _________________

ПРИЛОЖЕНИЕ 8

ТРАМБОВАНИЕ ДЛЯ ПОВЕРХНОСТНОГО УПЛОТНЕНИЯ ПРОСАДОЧНЫХ ГРУНТОВ

Конструкция железобетонной трамбовки диаметром 1,6 м, массой 4,5 т

1 - металлическая накладка толщиной 10 мм; 2 - болт диаметром 38 мм; 3 - шайба диаметром 60 мм; 4 - металлические пластины (концы приварить к металлическому листу) толщиной 20 мм; 5-7 - арматурные стержни диаметром 16 мм; 8 - металлический лист толщиной 10 мм; 9 - металлический лист толщиной 20 мм. Толщина сварных швов 6 мм

ПРИЛОЖЕНИЕ 9

ТЕХНОЛОГИЧЕСКАЯ КАРТА ПРОИЗВОДСТВА РАБОТ ПО ПОВЕРХНОСТНОМУ УПЛОТНЕНИЮ ГРУНТОВ

Технологическая карта производства работ по поверхностному уплотнению грунтов

1 - направления движения крана; 2 - железобетонная трамбовка; 3 - проектная отметка; 4 - отметка дна котлована перед трамбовкой; 5 - направление рабочего кода и ось движения крана; 6 - первый цикл (два удара); 7 - второй цикл (два удара); 8 - полоса, уплотняемая с одной стоянки крана; 9 - стоянка крана через 0,9d; 10 - уплотненный грунт

ПРИЛОЖЕНИЕ 10

ЖУРНАЛ ПРОИЗВОДСТВА РАБОТ ПО ВЫТРАМБОВЫВАНИЮ ЩЕБНЯ В ДНО КОТЛОВАНА

Объект (здание) _____________________________________________________________

Наименование организации ___________________________________________________

Начало производства работ ___________________________________________________

Окончание работ ____________________________________________________________

Глубина заложения фундаментов ______________________________________________

Размер трамбовки ___________________________________________________________

Масса трамбовки ____________________________________________________________

Высота сбрасывания _________________________________________________________

Марка механизма ___________________________________________________________

№ захватки (секции)

№ котлована

Глубина котлована, м

Состояние стенок котлована

Засыпка щебня

Примечание

первая

вторая

третья

высота, м

количество ударов

высота, м

количество ударов

высота, м

количество ударов

1

2

3

4

5

6

7

8

9

10

11

Представитель исполнителя работ ____________________

(подпись)

Представитель лаборатории _________________________

(подпись)

ПРИЛОЖЕНИЕ 11

ЖУРНАЛ УЧЕТА ВОДЫ ПРИ ЗАМАЧИВАНИИ

Дата замера

Время замера

Время между замерами, ч

Показания водомеров

Расход воды по водомерам за время между замерами, м3

Количество залитой воды, м3

№ 1

№ 2

№ 3

№ 4

№ 1

№2

№ 3

№ 4

17/VI

1545

-

6,4

110,5

-

-

-

-

-

-

-

 

1845

3

34

142,1

-

-

27,6

31,6

-

-

31,6

18/VI

600

11,15

132

243

-

-

98,5

100,9

-

-

132,5

 

700

1

Отключены на ремонт

10,4

60

-

-

-

-

132,5

 

1900

12

250,4

301

-

-

240

241

373,5

19/VI

600

11

-

-

560

611

-

-

309,6

310

683,5

....

....

....

....

....

....

....

....

....

....

....

....

....

....

....

....

....

....

....

....

....

....

....

....

27/VI

600

12

3266,4

3380,6

-

-

218

220

-

-

3270

 

1000

4

3327,4

3442,5

2

-

61,0

62

-

-

3332

Окончание замачивания - 27/VI - 1000                                                             Итого                                                                                                                             3332

Примечание. По проекту на захватке требовалось залить 3300 м3 воды, фактически залито 3332 м3.

Исполнитель работы (подпись) ________     Представитель заказчика (подпись) _______

ПРИЛОЖЕНИЕ 12

Название строительной организации _________________

Объект __________________________________________

ЖУРНАЛ РАБОТЫ НАСОСНОЙ СТАНЦИИ

Название, №

Оборудование станции (количество насосов, их типы, двигатели, отметки оси, присвоенные номера агрегатов)

Водоприемные устройства (зумпф, водосборник, скважина, группа иглофильтров, их количество и т.п.)

Водоотводящие устройства (напорный трубопровод, открытый или закрытый самотечный водоотвод и т.п.)

Дата, смена

Заводской номер насоса и двигателя

Время пуска, остановки или промежуточного контроля

Работа агрегатов

Причина остановки

Оперативные указания по эксплуатации

Сдача, приемка (Ф. И. О. исполнителя) (подпись)

Показатели приборов

Продолжительность работы без перерыва, ч

Подача, м3

манометра, МПа

вакуумметра, МПа

амперметр, А

вольтметр, В

1

2

3

4

5

6

7

8

9

10

11

12

 

 

 

 

 

 

 

 

 

 

 

 

ПРИЛОЖЕНИЕ 13

ЖУРНАЛ ЭКСПЛУАТАЦИИ ЭЛЕКТРИЧЕСКОЙ УСТАНОВКИ

Дата

Время, ч-мин

Сила тока, А

Напряжение, В

Время простоя, ч-мин

Подпись моториста

наблюдения

работы установки

ПРИЛОЖЕНИЕ 14

Название строительной организации _________________

Объект __________________________________________

ЖУРНАЛ ГИДРОГЕОЛОГИЧЕСКИХ НАБЛЮДЕНИЙ

Дата, смена, час

Погода (осадки, температура воздуха)

Номера скважин, пьезометров

Статический уровень, м

Динамический уровень, м

Отметка уровня отбора проб воды на химанализ, м, температура, °С

Ф. И. О. исполнителя (подпись)

Глубина от риски

Абсолютная отметка

Глубина от риски

Абсолютная отметка

1

2

3

4

5

6

7

8

9

ПРИЛОЖЕНИЕ 15

ОПРЕДЕЛЕНИЕ МОДУЛЯ РАСТВОРА СИЛИКАТА НАТРИЯ

Определение проводится следующим образом.

1 мл раствора силиката натрия с плотностью 1,07-1,10 г/см3 вводится в стеклянную колбу объемом не менее 120 мл, добавляется 30-50 мл воды и несколько капель смешанного индикатора, состоящего из смеси метилового красного и бромтимолового синего, приготовленного в весовом отношении 1:1 по общепринятой методике.

Затем производится титрование щелочи приблизительно 0,5 нормальным раствором НСl до появления красного окрашивания. В нейтрализованный раствор добавляется 4-5 г кристаллического фтористого натрия и дополнительно 4-5 капель смешанного индикатора. При активном перемешивании производится вторичное титрование для определения кремниевой кислоты. Титрование заканчивается в тот момент, когда две последние капли кислоты окрасят раствор в красный цвет.

Модуль раствора силиката натрия М рассчитывается по следующей формуле:

Коэффициент 0,5 выводится из отношения 1,032 · 15 / 31 = 0,4992 = 0,5, где 15 - эквивалент SiO2; 31 - эквивалент Na2O; коэффициент 1,032 выражает отношение молекулярного веса Na2O к молекулярному весу SiO2.

ПРИЛОЖЕНИЕ 16

ОПРЕДЕЛЕНИЕ ЗАВИСИМОСТИ НАЧАЛА ВРЕМЕНИ ГЕЛЕОБРАЗОВАНИЯ ОТ ОБЪЕМНОГО СООТНОШЕНИЯ КОМПОНЕНТОВ ЗАКРЕПЛЯЮЩИХ СМЕСЕЙ ПРИ ОДНОРАСТВОРНОЙ ДВУХКОМПОНЕНТНОЙ СИЛИКАТИЗАЦИИ И СМОЛИЗАЦИИ ГРУНТОВ

Методика указанного определения приводится на примере однорастворной смолизации на основе крепителя - карбамидной смолы марки М и 3 %-ного раствора соляной кислоты в качестве отвердителя.

В 4-5 стаканчиков емкостью 150-200 см3 наливают заранее приготовленный раствор крепителя М (ρ = 1,07 - 1,08 г/см3). В стаканчики с раствором из бюретки при тщательном перемешивании стеклянной палочкой приливают разные количества 3 %-ного раствора соляной кислоты (ρ = 1,013 г/см3). Количества эти должны соответствовать объемным соотношениям, приведенным в табл. 30, разд. 5 Пособия. Примерная дозировка соляной кислоты и порядок записи при определении времени гелеобразования приведены в таблице.

Пример

№ определений

Объем закрепляющих растворов, см3

Начало опыта, ч-мин

Окончание опыта, ч-мин

Время гелеобразования, мин

Температура, °С

смолы ρ = 1,08 г/см3

3 % НСl, ρ = 1,013 г/см3

1

100

6

12-00

12-10

10

20

2

100

5

12-05

12-40

35

20

3

100

4

12-10

13-30

80

20

4

100

3

12-15

15-20

185

20

За время гелеобразования принимают промежуток времени между окончанием введения нужного количества кислоты в смолу и моментом перехода приготовленной смеси из жидкого состояния в желеобразное.

Тот же порядок определения времени гелеобразования сохраняется и при подборе рецептур однорастворной силикатизации с той только разницей, что в качестве крепителя берется рабочий раствор силиката натрия, а за коагулирующие компоненты - соответствующие отвердители рабочих концентраций. Исключение составляет гелеобразующий раствор, получаемый на основе силиката натрия и ортофосфорной кислоты, когда порядок смешения растворов обратный, к раствору кислоты (100 мл) приливают разные количества раствора силиката натрия. Объемные соотношения компонентов закрепляющих смесей для разных инъекционных способов приведены в табл. 36 разд. 5 Пособия.

ПРИЛОЖЕНИЕ 17

ОПРЕДЕЛЕНИЕ ПРОЧНОСТИ ПРИ ОДНООСНОМ СЖАТИИ ЗАКРЕПЛЕННЫХ СИЛИКАТИЗАЦИЕЙ И СМОЛИЗАЦИЕЙ ГРУНТОВ

Образцы должны иметь цилиндрическую форму с соотношением высоты к диаметру В : Д = 1,5 : 1. В качестве нормы рекомендуется цилиндр с диаметром 40-50 мм. Отклонение от этих рекомендаций допускается в пределах ±2 мм (диаметр) и до 10 % (отношение высоты к диаметру). Допускается производить испытание закрепленных грунтов и на образцах кубической и призматической формы.

Торцовые поверхности образца должны быть параллельны друг другу (небольшая непараллельность - до 1,5 мм по диаметру - допускается в случае испытания образцов на прессе с легкоподвижным шарниром).

Торцовые поверхности не должны иметь выпуклости более 0,1 мм. Влажность и плотность образцов должны соответствовать естественному состоянию в месте взятия пробы.

Испытание на сжатие может производиться на любой пригодной для этой цели испытательной машине (прессе). Мощность пресса выбирается исходя из ожидаемых усилий разрушения, причем шкала силоизмерителя выбирается так, чтобы разрушающие нагрузки фиксировались во второй и третьей четвертях, где точность показаний манометра более высокая.

Плиты пресса должны быть хорошо отшлифованными, абсолютно сухими, не загрязненными маслами и остатками грунта. Одна из плит (желательно верхняя) должна быть самоустанавливающейся и иметь сферическую «плавающую» опору.

Точность работы пресса должна периодически контролироваться тарировочными приспособлениями.

Образцы устанавливаются на нижнюю плиту пресса с тонкими рисками в виде концентрических окружностей с диаметром, равным диаметру испытываемых образцов, что обеспечивает простоту центрирования образцов.

Скорость нагружения должна быть 0,01 МПа в минуту.

Расчет. По максимальной нагружающей Р, кг, определяется предел прочности грунта на одноосное сжатие, МПа

R = P / F,

где F - площадь нагружаемой грани образца, см2.

В том случае, если образцы имеют отношение высоты к диаметру, отличное от 1,5, необходимо провести перерасчет по формуле

R = KR2,

где R2 - прочность при сжатии, определенная на образцах с соотношением высоты к диаметру, не равным 1,5; K - поправочный коэффициент, принимаемый по таблице.

Отношение высоты образца к его диаметру

Значение поправочного коэффициента, К

0,5

0,54

0,63

0,75

0,66

0,78

1

0,82

0,9

1,25

0,9

0,96

1,5

1

1

1,75

1,03

1,02

2

1,06

1,03

Примечание. Над чертой приведены значения K при действии нагружающих сил перпендикулярно к преимущественному направлению пор просадочных лессовых грунтов, под чертой - параллельно направлению пор.

Для закрепления песчаных и крупнообломочных грунтов за величину К допускается принимать среднеарифметическое значение приведенных в таблице величин в числителе и знаменателе.

ПРИЛОЖЕНИЕ 18

ПЕРЕЧЕНЬ ОБОРУДОВАНИЯ, ПРИМЕНЯЕМОГО ПРИ СИЛИКАТИЗАЦИИ И СМОЛИЗАЦИИ ГРУНТОВ

№ п.п.

Наименование

Марка

Завод-изготовитель

1

Бетонолом

С-358

Свердловск, з-д «Пневмостроймашина»

2

Перфоратор

ПР-24

-

3

Инъектор переменного сечения

ИПС-1

-

4

Инъекторы-тампоны гидравлические

ИТГ-58

ИТГ-124

-

5

Инъекторы-тампоны пневматические

ИТП-58

ИТП-124

-

6

Установки для бурения скважин

-

Свердловск, машиностроительный з-д им. Воровского

7

Компрессор

ДК-9

-

8

Центробежный насос

ЗК 45/55

(3К-6)

Ереван, з-д гидроаппаратуры

9

Пневмоустановка

-

Таганрог, з-д «Красный котельщик»

10

Домкрат ручной

ДР-7

Армавир, з-д железнодорожного машиностроения

11

Углекислотный редуктор

УР-2

-

12

Электрообогревательный элемент к углекислотному редуктору

Э-12

-

13

Весы напольные

РП-150-МГ

-

ПРИЛОЖЕНИЕ 19

ХАРАКТЕРИСТИКИ ОБОРУДОВАНИЯ, ПРИМЕНЯЕМОГО ПРИ СИЛИКАТИЗАЦИИ И СМОЛИЗАЦИИ ГРУНТОВ

Таблица 1

Бетоноломы

Наименование характеристик

Единица измерения

Технические данные бетоноломов марки

ПЛ-1М

ИП-4602 (С-358)

ИЭ-4601 (С-850)

Рабочее давление воздуха

МПа

0,5-0,7

0,6

-

Расход воздуха

м3/мин

1,2

1,6

-

Число ударов

уд/мин

1250

850

1000

Масса

кг

31,7

16,7

20

Длина

мм

635

670

655

Диаметр шланга

»

16

18

-

Мощность электродвигателя АП-42В

кВт

-

-

1,2

Напряжение

В

-

-

220

Таблица 2

Перфораторы

Наименование характеристик

Единица измерения

Технические данные перфораторов марки

ПР-24Л

ОМ-506Л

ПРО-24ЛУ

ПР-19

Глубина бурения

м

5

5

4

4

Рабочее давление воздуха

МПа

0,4-0,6

0,4-0,6

0,4

0,4

Число ударов

удин

3000

1700

2600

1850

Расход воздуха

м3ин

3,5

2,2

3,5

2,5

Диаметр шланга

мм

25

19

25

25

Масса

кг

30

29

28,8

20

Наибольший диаметр коронки

мм

56

56

56

40

Примечание. Перфораторы марки ПРШ-2 выпускаются с глушителем шума.

Таблица 3

Инъекторы

Наименование характеристик

Единица измерения

Марка ипьектора

ИПС-2 (иньектор переменного сечения)

ИТГ-58

ИТГ-124

ИТП-58

ИТП-124

Диаметр скважины

мм

-

68

130

68

130

Диаметр перфорированной части

»

32

32

32-38

32

32-38

Длина перфорированной части

»

500

500

500

500

500

Длина запорной части

»

1000

2000

2000

2000

2000

Рабочее давление при запоре скважины

МПа

-

0,12-0,35

0,12-0,45

0,3-0,35

0,3-0,45

Таблица 4

Компрессорные станции

Наименование характеристик

Единица измерения

Марка компрессора

ПКС-3,5

ПКС-5,25

ПКС-6М

ПВ-10

ПР-10

ПК-10

6-БКМ

Производительность

м3/мин

3,5

5,25

6

10,0

10,0

10,5

25,6

Рабочее давление

МПа

0,7

0,7

0,7

0,7

0,7

0,7

0,8

Таблица 5

Станки для бурения инъекционных скважин

№ п.п.

Параметры установок

Станки колонкового бурения

Станок вращательного бурения ПВБОМ-15

Станок шнекового бурения УКБ-25

Станки ударно-вращательного бурения

Механический пробоотборник МП-1

КБУ-50

КБУ-80

СБА-500

НКР-100М

НМК-4М

1

Диаметр скважин, мм

52; 60; 65

65; 75

59-151

70

62; 70; 102

105

105

60-92

2

Глубина бурения, м

25

30

500

-

-

До 50

До 35

1,5-7,0

То же, шнеками

25

30

-

15

15

-

-

-

То же, колонковым снарядом

-

-

-

-

25

-

-

-

3

Длина штанги или шнеков, мм

1000

1220

-

1030

-

1213

-

-

4

Масса установки без бурового станка

Не более 0,5 т

Не более 0,68 т

 

90/165 кг

93 кг

0,36 т

0,46 т

14 кг

5

Габариты станка, мм:

 

 

 

 

 

 

 

 

длина

-

-

1670

 

1775

1500

2550

565

ширина

-

-

1130

540

1090

655

1000

355

высота

-

-

1620

1770

2600

672

850-2200

485

Таблица 6

Оборудование для нагнетания растворов в грунты

Наименование механизма

Масса, кг

Высота, мм

Давление, МПа

Производительность, м3

Высота всасывания, м вод. ст.

Мощность двигателя, кВт

Диаметр плунжера, мм

Число кодов плунжера в мин

Условный проход патрубков, мм

Пневмоустановка с баком диаметром 1220 мм и рабочим объемом 1,5 м3

613

1970

0,6

4,8

-

-

-

-

-

Центробежные насосы марки:

 

 

 

 

 

 

 

 

 

2К20/30 (2К-6)

72

180

0,3

19,8

6,0

4,5

-

-

50/40

45/55 (3К-6)

294

260

0,5

45

6,0

14

-

-

80/50

4К90/85 (4К-6)

570

260

0,6

90

5,0

55

-

-

100/70

Насосы-дозаторы марки:

 

 

 

 

 

 

 

 

 

НЛ-1000/10

150

726

0,1

1,0

3,0

2,2

60

100

32

НД-160/10

239

840

0,1

1,6

3,0

3,0

80

100

32

НД-2500/10

245

840

0,1

2,5

3,0

3,0

100

100

40

2ДА

509

1190

0,1

0,945

3,0

1,7

25; 40

150

20

4ДА

733

1610

0,1

3,4

3,0

2,8

32; 55

150

32

6ДА

1165

2035

0,1

8,28

3,0

4,5

40; 70

150

45

Таблица 7

Углекислотные редукторы для газовой силикатизации грунтов

Наименование характеристик

Единица измерения

Технические данные углекислотных редукторов марки

ДЗД-139М

УР-1

УР-2

Давление на входе

МПа

15

12

12,5

Давление на выходе

»

0,1

0,6

0,3

Производительность при давлении 0,5 МПа

л/мин

6

0

100

Габаритные размеры

мм

190 × 135 × 140

150 × 94 × 165

176 × 94 × 165

Масса

кг

1,74

1,1

1,27

Примечание. Чертежи электрообогревательного элемента к углекислотному редуктору имеются в Бюро внедрения Ростовского ПромстройНИИпроекта и высылаются по просьбе производителя работ.

Таблица 8

Напольные весы для газовой силикатизации

Наименование характеристик

Единица измерения

Технические данные весов марки РП-150-МГ

Пределы взвешивания

кг

10-150

Погрешность взвешивания

»

±0,15

Размер платформы

мм

350 × 280

Габариты

»

495 × 510 × 1300

Масса

кг

30

Таблица 9

Механизмы для извлечения инъекторов

Наименование характеристик

Единица измерения

Технические данные домкрата и автопогрузчика марки

ДР-7

Автопогрузчик 4046

Грузоподъемность

т

7

4,5

Высота подъема

мм

350

4000

Габариты

»

514 × 230 × 940

5945 × 2250 × 3400

ПРИЛОЖЕНИЕ 20

ПЕРЕЧЕНЬ И ХАРАКТЕРИСТИКИ ОБОРУДОВАНИЯ, ПРИМЕНЯЕМОГО ПРИ ЦЕМЕНТАЦИИ ГРУНТОВ

Таблица 1

Показатели

Марки станков ударно-вращательного и ударно-поворотного бурения

БМК-4

СБУ-100Г (СБМК-5)

БП-100 (НКР-100М)

КБУ-50

ПР-30

Наибольшая глубина бурения, м

35

35

80

25

5

Диаметр бурения, мм:

 

 

 

 

 

максимальный

105

105

130

65

56

минимальный

105

105

105

52

36

Мощность электродвигателя, кВт

2,8

24

2,8

Пневмодвигателя 1,4-0,14 кВт

Перфоратор

Расход сжатого воздуха, м3ин.

3,5

6-7

7-8

10-12

3,5

Масса станка, т

0,34

3,2

0,76

0,68

0,03

Таблица 2

Показатели

Марки станков ударно-канатного бурения

СБ-1М

УГБ-3УК (УКС-22М)

УГБ-4УК (УКС-30М)

Глубина бурения, м

300

300

500

Наибольший диаметр бурения, мм

300

600

900-920

Мощность электродвигателя, кВт

55,75

22

40

Высота мачты, м

15

12,7

16,3

Габариты в рабочем положении, мм:

 

 

 

длина

7065

5800

8400

ширина

3460

2290

2640

высота

15050

12700

16300

Масса, т

24

7,6

12,7

Таблица 3

Показатели

Марки станков колонкового бурения

БСК-2М-100

ГП-1

СБА-500 (Э)

СКБ-4 (Э)

ЗИФ-650М (Э)

Наибольшая глубина бурения, м

100

100

500

500

500

Диаметр бурения, мм:

 

 

 

 

 

начальный

93

93

151

131

200

конечный

36

46

59

59

91

Установленная мощность, кВт

7,5

4,5

22

22

30

Габариты, мм:

 

 

 

 

 

длина

1720

1500

1670

-

2725

ширина

675

600

1130

-

1180

высота

1400

2490

1620

-

1880

Масса, т

0,49

0,475

1,318

1,443

4,205

Таблица 4

Показатели

Типы растворомешалок

РМ-500

РМ-750

МГ2-4Х

СМ-243В

Емкость, л

500

750

4000

4000

Скорость вращения рабочего органа, об/мин

500

570

95

250

Электродвигатель:

 

 

 

 

тип

АО-52-6

АО-52-4

-

-

мощность, кВт

4,5

7,0

14

3

Габариты, мм

1500 × 1400 × 1300

2000 × 1100 × 1000

3890 × 3015 × 1455

2200 × 3055 × 700

Масса, т

0,35

0,512

3,565

0,525

Таблица 5

Показатели

Марки насосов

диафрагменный С-317А

грязевые двухцилиндровые

буровые трехплунжерные

Гр-216/40

НГр-250/50

11Гр

9МГр

НБЗ-120/40

НБ4-320/63

Производительность, м3

6

16

18

18

60

7,2

19,2

Максимальное давление, МПа

1,5

4

5

6,3

10

4

6,3

Приводная мощность, кВт

7

22

28

35

96

7,5

22

Габариты, мм:

 

 

 

 

 

 

 

длина

1200

1340

1444

1870

2630

1970

-

ширина

560

1080

876

990

1040

990

-

высота

1000

980

932

1510

1630

980

-

Масса, т

0,39

0,740

0,738

1,150

1,760

0,600

0,885


ПРИЛОЖЕНИЕ 21

ФОРМЫ ЖУРНАЛОВ ПРОИЗВОДСТВА РАБОТ

Таблица 1

Журнал работ по силикатизации и смолизации грунтов

Способ закрепления ___________________________                                           Заказчик ____________________________________

Объект ______________________________________                                           Подрядчик __________________________________

Проект ______________________________________

Забивка инъекторов

Состав раствора (силиката или смолы)

Нагнетание раствора

Дата, смена

№ скважины

заходки

Глубина заходки, м

Дата, смена

силикат или смола

кислота или хлористый кальций

Температура раствора, град

Время гелеобразования, мин

начало, ч-мин

конец, ч-мин

продолжительность, мин

Объем раствора, л

Расход раствора, л/мин

Давление нагнет., МПа

Ответственный исполнитель (Ф. И. О.)

Примечание

плотность, Г/см3

объем, л

плотность, г/см3

объем, л

1

2

3

4

5

6

7

8

9

10

11

12

13

14

15

16

17

18

19

Представитель подрядчика (подпись) ______________                                       Представитель заказчика (подпись) ______________

Таблица 2

Журнал работ по газовой силикатизации грунтов

Объект ____________________________________                                               Заказчик ___________________________________

Проект ____________________________________                                               Подрядчик _________________________________

Дата, смена

Привязка инъектора

Параметры и расходы закрепляющих реагентов

Добавки, кг (л)

Примечание

ось

инъекция

№ заходки

Силикат натрия

Углекислый газ

плотность, г/см3

температура, °С

объем, л

давление, МПа

время, мин

Для предварительной активизации грунта

Для отверждения силиката

масса, кг, на заходку

давление, МПа

время, мин

масса, кг, на заходку

давление, МПа

время, мин

1

2

3

4

5

6

7

8

9

10

11

12

13

14

15

16

17

Представитель подрядчика (подпись) _____________                                         Представитель заказчика (подпись) ____________

Таблица 3

Журнал работ по цементации грунтов

Способ закрепления ___________________________                                           Заказчик ____________________________________

Объект ______________________________________                                           Подрядчик __________________________________

Проект ______________________________________

Дата, смена

Продолжительность цементации

№ скважины

Зона

Глубина зоны

Диаметр скважины в зоне, мм

Консистенция раствора по объему (В/Ц)

Инъекции

Выдерживание скважины под давлением

Исполнитель (Ф. И. О.)

Примечание

ч

мин

от

до

показания манометров, МПа

полное давление, м вод. ст.

расход раствора, л

расход цемента, кг

продолжительность, ч-мин

показания манометра, МПа

расход воды, л

удельное водопоглощение, л/(мин·м2)

1

2

3

4

5

6

7

8

9

10

11

12

13

14

15

16

17

18

19

Представитель подрядчика (подпись) _____________                                         Представитель заказчика (подпись) ____________

Таблица 4

Журнал авторского надзора

Наименование объекта ___________________________________________________________________________________

Адрес __________________________________________________________________________________________________

Проект _________________________________________________________________________________________________

Начало работ ______________________ 19___________ г. Окончание работ _______________________ 19___________ г.

Заказчик ________________________________________________________________________________________________

Подрядчик ______________________________________________________________________________________________

№ договора на осуществление авторского надзора и срок его действия ___________________________________________

участка на объекте

№ записей

Дата

Выявленные отступления от проекта или другие допущенные дефекты

Указания об устранении выявленных отступлений и сроки их выполнения

Запись произвел (Ф. И. О.)

С записями ознакомлены (подписи)

а) подрядчик

б) заказчик

Отметка о выполнении указаний (подписи)

а) подрядчик

б) заказчик

1

2

3

4

5

6

7

8


ПРИЛОЖЕНИЕ 22

ГЕОЭЛЕКТРИЧЕСКИЙ МЕТОД КОНТРОЛЯ КАЧЕСТВА СИЛИКАТИЗАЦИИ И СМОЛИЗАЦИИ ГРУНТОВ

Геоэлектрические методы в каждом конкретном случае выбираются исходя из реальной геолого-геофизической обстановки и экономической целесообразности их применения. Для этого в период специальных изысканий и исследований грунтов на образцах изучаются электрические свойства грунтов площадки до и после закрепления, устанавливаются количественные связи между электросопротивлением закрепленных грунтов и их механическими или фильтрационными свойствами.

При значительных колебаниях засоленности и влажности природных грунтов в пределах площадки геоэлектрические исследования выполняются в два этапа - до и после инъекционного закрепления грунтов.

Геоэлектрические исследования с поверхности земли могут производиться как для установления границ закрепленного массива, так и для приближенной оценки влажности грунтов, удельного расхода закрепляющих реагентов, механических и фильтрационных свойств закрепленных грунтов.

Контуры закрепленных массивов в плане при силикатизации рекомендуется определять методом электропрофилирования трехэлектродными или комбинированными установками, а закрепленных смолизацией - симметричными четырехэлектродными установками. Размеры установок должны назначаться в зависимости от требуемой глубины исследований и превышать ее в 3-7 раз. Для получения геоэлектрических разрезов выполняется профилирование на 2-3 разносах.

Шаг наблюдений выбирается в зависимости от требуемой точности измерений и над закрепленным массивом должен быть меньше его поперечных размеров и глубины залегания верхней его кромки.

Профилирование производится либо по отдельным направлениям, либо по системе параллельных профилей. Расстояние между профилями должно быть в 2-3 раза меньше предполагаемых поперечных размеров закрепленного массива.

После определения размеров закрепленных массивов в одном направлении, установку располагают перпендикулярно, после чего повторяют съемку.

Результаты наблюдений записываются в журнал. Параллельно вычерчиваются графики, экстремумы которых соответствуют положению боковых граней закрепленного массива.

Для определения верхней и нижней границ закрепленных массивов, с развитыми в плане размерами, может быть использован метод вертикального электрического зондирования (ВЭЗ). Исследования рекомендуется вести при помощи четырехэлектродной установки. Максимальная величина разносов электродов определяется необходимостью получения отчетливого проявления на кривой зондирования слоя, находящегося под закрепленным массивом. Точки на кривой ВЭЗ по линии разносов питающих электродов должны располагаться равномерно, начальную длину установки следует выбирать такой, чтобы на кривой зондирования выделялся верхний слой незакрепленного грунта. Отношение величины последующего разноса в величине предыдущего не должно превышать 1,5-1,7. Отношение величины разносов питающих электродов к расстоянию между приемными должно быть не менее трех. Максимальное их отношение определяется наименьшим значением разности потенциалов, допустимым для измерения в конкретном случае.

При переходе от одной линии к другой нужно обязательно перекрывать кривую ВЭЗ в двух точках.

Осложняющими факторами в электроразведке являются различные помехи, которые могут вызываться утечками тока в линиях и приборах, процессами становления поля, блуждающими и теллурическими токами.

Чтобы уменьшить влияние утечек, провода приемной и питающей линий следует располагать друг от друга на расстоянии не меньше 1-5 м. Не допускается их перекрещивание.

Все предполагаемые источники утечек (измерительный прибор с соединительными проводами, источник тока, катушки питающих линий) необходимо располагать по возможности дальше от приемных электродов. Источник тока следует помещать около питающего заземления или в центре приемной линии (лучше в 2-3 м от нее перпендикулярно к линии разносов).

Влияние утечки в линиях определяют путем измерения разности потенциалов в приемной цепи при поперечном отключении питающих заземлений (поднимая в воздух концы проводов питающих линий). Оно считается допустимым, если сумма двух разностей потенциалов не превышает 5 % измеряемой разности потенциалов при включенных питающих заземлениях.

Все наблюдения необходимо вести с высокой точностью; чтобы исключить возможность ошибок, оператор должен постоянно следить за исправностью аппаратуры, правильностью соединений схем и величиной питающих и приемных электродов, контролировать отсчеты измеряемых величин.

Правильность наблюдений проверяется путем повторных измерений, которые можно выполнять, изменяя или не изменяя режим тока в питающих линиях. Проверка производится систематически, через определенное число точек и при аномальных, не согласующихся с другими наблюдениями изменениях электросопротивления.

Электрометрические исследования в скважинах (каротаж) производятся с целью определения верхней и нижней границ закрепления, удельного расхода закрепляющих реагентов и радиусов их распространения, прочностных и фильтрационных свойств закрепленных грунтов.

Измерения рекомендуется производить в сухих, свободных от закрепляющего раствора скважинах при помощи зондов с прижимными электродами, обеспечивающими надежный контакт с грунтом. Верхняя и нижняя границы закрепленных массивов, однородность закрепления, участки нарушения сплошности закрепления устанавливаются по замерам кажущегося сопротивления однополюсными градиент-зондами, а в тех случаях, когда интенсивность электрических полей помех невелика, идеальными потенциал-зондами.

Радиус закрепления определяется путем электрического зондирования закрепленного массива грунта из инъекционных или специальных каротажных скважин, а количественную интерпретацию измерений производят при помощи существующих двухслойных палеток. Контроль качества выполненных измерений осуществляется повторными замерами не менее, чем в 10 % обследованных скважин. Расхождения в значениях электросопротивлений при повторных замерах не должны превышать 10 %.

Основной аппаратурой при работе геоэлектрическими методами являются потенциометры, электронные компенсаторы, электроразведочные станции, аппаратура низкой частоты, измерители кажущегося сопротивления. Из них наиболее предпочтительными являются последние.

В качестве источников питания могут применяться сухие батареи, аккумуляторы, генераторы переменного и постоянного тока. Важным и необходимым условием их использования является неизменность силы тока в процессе работы (изменения не должны превышать 2-3 %).

Микроэлектрические измерения производятся на обнаженных поверхностях или на образцах закрепленного грунта с целью определения истинных значений удельного электрического сопротивления и установления его количественных взаимосвязей с механическими и фильтрационными параметрами. Измерения рекомендуется выполнять четырехэлектродными микроустановками при помощи аппаратуры ИКС-1. Одновременно определяется температура грунта.

Удельный расход силиката натрия закрепленных лессовых грунтов определяется по данным электрометрических исследований грунтов до и после закрепления, либо водных вытяжек из них.

Удельное электрическое сопротивление водных вытяжек измеряется при помощи электронного резистивиметра ПР-1 или реохордного моста Р-38.

По измеренной его величине определяют количество солей в грунте, пользуясь известными зависимостями между удельным электросопротивлением и концентрацией растворов.

При наличии данных химического анализа йодных вытяжек закрепленных и незакрепленных лессовых грунтов замеры удельного электрического сопротивления не производятся, а концентрацию солей определяют, заменяя условно все растворенные соли хлористым натрием. С этой целью содержание других (кроме Na и Cl) ионов приводится к их весовому содержанию умножением на следующие коэффициенты: К· - 1; Ca·· - 0,95; Mg·· - 2; SO4- 0,5; HCO3 - 0,27; CO3 - 1,26.

При проведении замеров удельного электросопротивления грунтов ρэ количество водорастворимых солей в грунте устанавливается по величине удельного сопротивления водной вытяжки, которая определяется по формуле

ρэв = ρэ / 1,8 РпРвРt,                                                             (1)

где 1,8 - коэффициент, учитывающий дисперсность породообразующего материала и его глинистость, Рп, Рв, Pt - параметры, учитывающие влияние соответственно пористости, влажности и температуры.

Затем по разности содержания солей закрепленного и незакрепленного лёссового грунта судят об удельном расходе жидкого стекла, считая, что введение 1 кг силиката натрия приводит к повышению количества солей в этом грунте на величину эквивалентную 48 г хлористого натрия.

Прочность при одноосном сжатии для силикатированных лессовых грунтов Rлг можно определить при наличии данных геоэлектрических измерений по формуле

Rлг = а / ρкэ,                                                                    (2)

а для песчаных грунтов Rпг, закрепленных смолизацией, по формуле

Rпг = (b - ρэ) / с,                                                                 (3)

где а, к, b, с - эмпирические коэффициенты, зависящие от свойств грунта и устанавливаемые при лабораторных исследованиях.

Коэффициент фильтрации силикатированных лессовых грунтов можно определить, используя его корреляционную связь с удельным электросопротивлением по формуле

Кф = ρэ А / N,                                                                     (4)

где A и N - эмпирические коэффициенты, зависящие от свойств грунта и устанавливаемые аналогично коэффициентам в формулах (2) и (3).

Для учета температурного влияния на замеры удельного электросопротивления в скважинах при использовании зависимостей (2)-(4) все результаты измерений приводятся к температуре 20 °С по формуле

ρэ20° = ρэt [1 + 0,025 (t - 20°)],                                                  (5)

где ρэ20° и ρэt - удельное электросопротивление грунтов соответственно при температурах 20 и t °C.


ПРИЛОЖЕНИЕ 23

ПЕРЕЧЕНЬ И ХАРАКТЕРИСТИКИ ОБОРУДОВАНИЯ ДЛЯ БУРОСМЕСИТЕЛЬНОГО ЗАКРЕПЛЕНИЯ ИЛОВ

Таблица 1

Технические характеристики буровых установок

Наименование показателей

Марки буровых установок

1БА-15В

2БА-15

1БА-15К

PA-15

УГБ-50М

УГБ-1ВС

ЛБУ-50М

УРБ-2А2

УРБ-3АМ

КШК-30А

УБВ-600

СБУДМ-1503ИВ

СО-2

СО-1200

Мощность, используемая для бурения, кВт

80

2×80

75

75

35

44

75

50

60

75

110

35

55

75

Вращающий момент, кН·м

7,0

10,0

10,0

7,0

2,5

5,0

10,0

1,6

3,5

0,45

17,0

1,5

12,25

31,8

Ход подачи штанги, мм

12000

13500

8000

8000

1500

3250

3250

7000

8000

1500

-

4500

16000

-

Осевая нагрузка, кН

35,0

50,0

50,0

-

52,0

30,0

56,5

20,0

-

20,0

-

10,0

5,8

13,7

Тип подачи

Свободная

Гидравлическая

Лебедка

Лебедка

Гидравлическая

Гидравлическая

Гидравлическая

Цепная

Свободная

Винтовая

Свободная

Дифференциальная

Лебедка

Лебедка

Число оборотов вращателя (ротора), об/мин

65; 130; 245

65; 130; 145

9-245

52-30

70; 125; 200

33; 45; 82; 125; 145; 225

14; 38; 63; 101

10; 20; 30; 40

46

11; 22

10; 50

88

45

23

Габариты в транспортном положении, мм:

 

 

 

 

 

 

 

 

 

 

 

 

 

 

длина

10800

13600

12700

12700

8000

9050

8350

10800

10700

7600

12500

7800

-

-

ширина

3000

3400

3000

3000

2300

2380

2500

2200

2800

2700

2650

2300

-

-

высота

3750

3800

4000

4000

3500

2750

2600

3300

3400

3550

4160

3300

-

-

Масса установки, т

14,7

14,8

14,7

25,0

6,3

6,10

8,54

10,0

13,6

5,98

22 и 20

10,2

56

57

Транспортная база

МАЗ-500

МАЗ-500

МАЗ-500

МАЗ-500

ГАЗ-66

ГАЗ-66-02

ЗИЛ-157К

ЗИЛ-157

МАЗ-500

Прицеп 42-АП-3

КрАЗ-258

ЗИЛ-131

Э-12525

 


Таблица 2

Технические характеристики растворосмесителей

Наименование показателей

Марки растворосмеситлей

РМ-750

РМ-500

СБ-81

СБ-8

СБ-31А

СБ-43

Емкость, м3

0,75

0,5

0,8

0,325

0,25

0,065

Производительность, м3

15

До 10

40

8,3

4,5

2,8

Мощность привода, кВт

7 (10)

4,5

4

4,5

4,5

2,8

Габариты, мм:

 

 

 

 

 

 

длина

2000

1500

2700

2450

1910

1480

ширина

1100

1400

2100

2040

1550

600

высота

1000

1300

2300

2130

2030

910

Масса, т

0,512

0,35

2,4

1,26

1,12

0,16

Таблица 3

Технические характеристики насосов для нагнетания водоцементной суспензии

Наименование показателей

Марки насосов

НГр-250/50

9МГр

Гр-16/40

11-ГрБ

НБ3-120/40

НБ4-320/63

СО-69

СО-49

СО-50

Производительность, м3

15

13,2-60

1,9-16

13,5; 18

0,9; 1,1; 2,4; 4,2; 7,2

1,9; 3,3; 6,3; 7,5; 10,8; 19,2

1

4

6

Давление, МПа

5,0

16,0-3,5

4,0

6,3; 5,0

4,0

6,3

-

-

-

Мощность привода, кВт

22

60

22

30

7,5

22

1,0

4,5

7,0

Габариты, мм:

 

 

 

 

 

 

 

 

 

длина

1400

2600

1340

1830

1970

1320

750

3000

800

ширина

900

1000

930

750

910

1110

450

800

520

высота

940

1600

1080

1410

980

870

480

1200

470

Масса, т

0,738

1,76

0,55

1,15

0,68

0,95

0,1

0,59

0,4

Таблица 4

Технические характеристики автобетоновозов, авторастворовозов и автобетоносмесителей

Параметры

Автобетоновозы

Авторастворовоз СБ-89Б

Автобетоносмесители

СБ-113

СБ-124

СБ-69Б

СБ-92

C5-92-1

СБ-130

Объем перевозимой смеси, м3

1,6

4

1,6

2,6

4

4

8

Геометрический объем (кузова) барабана, м3

3

7,3

2,5

6,1

6,1

6,1

14

Высота загрузки материала, м

2,67

-

2,35

3,42

3,52

3,52

3,86

Высота разгрузки, м

1,6

1,2

1,1

до 2

до 2

до 2

до 2

Вместимость бака воды, м3

-

-

-

0,63

0,85

0,85

1,7

Частота вращения барабана, об/мин

-

-

-

6-12

6,5-14,5

6,5-14,5

4-14

Тип базового автомобиля

ЗИЛ-ММЗ-555К

КамАЗ

ЗИЛ-130АМ

МАЗ-503А

КрАЗ-258

КамАЗ-5511

КамАЗ-54112

Наибольшая скорость передвижения на прямых участках дороги с покрытием, км/ч

-

-

80

60

60

60

60

Габариты, мм:

 

 

 

 

 

 

 

длина

5800

6600

7100

6630

8030

6630

11720

ширина

2500

2500

2350

2630

2650

2630

2500

высота

2745

2680

2350

3420

3520

3420

3700

Масса в:

 

 

 

 

 

 

 

незагруженном состоянии

5,23 т

10,35 т

6,4 т

9,1 кг

12,3 кг

10,1 кг

12,2 кг

загруженном состоянии

9,3 т

19,15 т

9,525 т

15,3 кг

22,2 кг

19,2 кг

29,8 кг

ПРИЛОЖЕНИЕ 24

ВАРИАНТЫ ДВИЖЕНИЯ МАШИН ПРИ ПРОИЗВОДСТВЕ РАБОТ ПО УКРЕПЛЕНИЮ ОСНОВАНИЙ БУРОСМЕСИТЕЛЬНЫМ СПОСОБОМ

Варианты движения машин при производстве работ по укреплению оснований буросмесительным способом

1 - растворонасосный узел; 2 - буровая установка; 3 - бурильно-канатная установка БКМА-1/3,5; 4 - агрегат типа К-203; 5 - агрегат типа КС-256Е; 6 - агрегат К-104. Растворо-насосный узел со складом цемента и водой размещается в центре захватки и с этой позиции ведется изготовление свай. Перед началом работ производится геодезическая разбивка осей свайных рядов по сетке с закреплением их на местности.

ПРИЛОЖЕНИЕ 25

УКРЕПЛЕНИЕ ОСНОВАНИЙ БУРОСМЕСИТЕЛЬНЫМ СПОСОБОМ С ИСПОЛЬЗОВАНИЕМ СЕРИЙНОЙ БУРОВОЙ УСТАНОВКИ

Рис. 1. Укрепление основания буросмесительным способом с использованием серийной буровой установки с работающим в непосредственной близости от нее растворонасосным узлом, смонтированным на передвижном шасси

1 - авторастворовоз типа СБ-89; 2 - передвижной растворонасосный узел; 3 - буровая установка типа УГБ-1ВС; 4 - кран автомобильного типа КС-2561Е; 5 - фронтальный погрузчик; 6 - буровая установка типа КШС-40; 7 - автосамосвал ЗИЛ ММЗ-555; 8 - разбивочная сетка для илоцементных свай; 9 - перекрывающий слой; 10 - ил; 11 - твердые глины

I. Перед началом работ производится геодезическая разбивка осей свайных рядов по сетке с закреплением их на местности.

II. Работы по устройству ИЦС выполняются комплектами машин, поточно захватками. Маршрут передвижения механизмов в пределах обслуживания 1 комплектом машин приведен в прил. 24.

III. Марки машин и механизмов комплектов, схема их передвижения по площадке уточняются в проекте производства работ.

IV. Нагнетание цементной суспензии производится снизу вверх при выглублении рабочего органа.

V. Бурение в перекрывающем слое скважин установкой БКМА-1/3,5 (или установкой типа КШС-40 с одновременной перегрузкой извлеченного материала транспортерами типа ТК-13 в самосвалы).

Рис. 2. Укрепление основания буросмесительным способом с использованием серийной буровой установки с передвижным растворонасосным узлом с центральной буровой установки с передвижным растворонасосным узлом снабжаемым цементным раствором с центрального бетонорастворного узла

1 - авторастворовоз типа СБ-89; 2 - передвижной растворонасосный узел; 3 - буровая установка типа УГБ-1ВС; 4 - автосамосвал ЗИЛ ММЗ-555; 5 - фронтальный погрузчик; 6 - автомобильный кран типа KC-2561E; 7 - спецмашина; 8 - буровая установка; 9 - разбивочная сетка для илоцементных свай; 10 - перекрывающий слой; 11 - ил; 12 - твердые глины

VI. Частичная засыпка скважин качественным грунтом - сортированной карьерной мелочью (2/3 глубины скважины) с использованием агрегата типа К-104 с виброжелобом.

VII. Закрытие скважин металлическими инвентарными крышками-люками с применением автомобильного крана типа KC-2561Е.

VIII. Уборка извлеченного из скважин материала агрегатом типа КО-203 с последующей погрузкой его в автосамосвалы марки ЗИЛ-ММЗ-555 (при применении для бурения скважин установки типа КШС-40 операция уборки материала транспортерами типа ТК-13 с погрузкой в автосамосвалы).

IX. Изготовление ИЦС с помощью буровой установки типа УГБ-1ВС и передвижного растворонасосного узла.

X. Промывка оборудования пресной водой с помощью промывочного насоса, установленного на буровом агрегате УГБ-1ВС.

Рис. 3. Укрепление основания буросмесительным способом с использованием серийной установки, с передвижным растворонасосным узлом, снабжаемым готовым цементным раствором с центрального бетонорастворного узла

1 - передвижной склад цемента типа СБ-74; 2 - передвижной растворонасосный узел; 3 - растворомешалка типа РМ-750; 4 - растворонасос; 5 - водяной насос; 6 - буровая установка типа УГБ-1ВС; 7 - промывочный насос; 8 - автосамосвал типа ЗИЛ ММЗ-555; 9 - кран автомобильного типа КС-2561Е; 10 - фронтальный погрузчик; 11 - спецмашина; 12 - буровая установка типа КШС-40; 13 - разбивочная сетка для илоцементных свай; 14 - перекрывающий слой; 15 - ил

ПРИЛОЖЕНИЕ 26

НОМОГРАММА ДЛЯ ОПРЕДЕЛЕНИЯ ПРОИЗВОДИТЕЛЬНОСТИ НАСОСА В ЗАВИСИМОСТИ ОТ СКОРОСТИ ОСЕВОГО ПЕРЕМЕЩЕНИЯ БУРОСМЕСИТЕЛЯ, ДИАМЕТРА СВАИ (d), ДОЗИРОВКИ ЦЕМЕНТА (Мц) И ВОДОЦЕМЕНТНОГО ОТНОШЕНИЯ (m)

Номограмма для определения производительности насоса в зависимости от скорости осевого перемещения буросмесителя, диаметра сваи (d), дозировки цемента (Мц) и водоцементного отношения (m)

ПРИЛОЖЕНИЕ 27

ТЕХНОЛОГИЧЕСКОЕ ОБОРУДОВАНИЕ ПРИ ТЕРМИЧЕСКОМ ЗАКРЕПЛЕНИИ ГРУНТОВ

Таблица 1

Буровое оборудование для бурения скважин на открытых площадках при термическом закреплении грунтов

Технические параметры

Единица измерения

Буровые установки

УГБ-50М

ЛБУ-50А

УРБ-2А

СБУДМ-150-ЗИВ

Глубина бурения

м

50

50

200

200

Диаметр бурения

м

230/135

200

240/118

250/75

Транспортная база

-

Шасси ГАЗ-77-02

Шасси ЗИЛ-131

Шасси ЗИЛ-157КЕ

Шасси ЗИЛ-131

Силовой привод

-

Дизель Д-65

Двигатель ЗИЛ-131

Двигатель ЗИЛ-157КЕ

Двигатель Д-48Л

Мощность

кВт

37

44

37

36

Таблица 2

Буровое оборудование для бурения скважин в труднодоступных местах при термическом закреплении грунтов

Технические параметры

Единица измерения

Буровые установки марки

СБА-500Е

НКР-100

БВУ-1

Глубина бурения

м

35

25

20

Диаметр бурения

мм

240/75

240/90

200/250

Транспортная база

Тележка индивидуального изготовления

Силовой привод

-

Электродвигатели

Механизм вращателя - электродвигатель;

Механизм осевой подачи - пневмодвигатель

Пневмодвигатели

Мощность

кВт

Два двигателя по 30 кВт

Механизм вращателя - 25 кВт; давление осевой подачи воздуха 0,5 МПа; усилие подачи 20 кН

Два двигателя при давлении 0,3 МПа; об//мин - 2000; усилие подачи - 15 кН

Таблица 3

Воздуходувное оборудование при термическом закреплении грунтов

Технические параметры и экономические показатели

Единица измерения

Компрессорная станция ДК-9М

Компрессорная установка 6BKM-25/3

Центробежные воздуходувки

Ротационные газодувки

ТВ-50-1,4

ТВ-50-1,6

1А32-80-4А

1А34-80-4А

Давление

МПа

0,6

0,8

0,04

0,06

0,08

0,08

Потребляемая мощность

кВт

69

165

46

71

20

40

Производительность

м3

600

1500

2500

3000

1200

2400

Оптовая цена

руб.

4100

10000

2950

3290

1900

2100

Себестоимость машино-смены

руб.

14,73

29,97

9,63

13,31

5,17

6,58

ПРИЛОЖЕНИЕ 28

ФОРМЫ ЖУРНАЛОВ ПРОИЗВОДСТВА РАБОТ ПО ТЕРМИЧЕСКОМУ ЗАКРЕПЛЕНИЮ ГРУНТОВ

Дата

Время замера

Давление, МПа

Израсходовано, м3/ или кг

Показания температур в скважине

Показания температур в контрольных шурфах

Глубина спая термопар

Глубина и радиус

в рабочем объеме скважины

выше отсекателя

на ресивере воздуха

газа на ГРП

газа на ресивере

воздуха

топлива

1-го спая

2-го спая

3-го спая

4-го спая

ПРИЛОЖЕНИЕ 29

ТЕХНОЛОГИЧЕСКАЯ КАРТА ГЛУБИННОГО ОБЖИГА ЛЕССОВЫХ И ГЛИНИСТЫХ ГРУНТОВ II ТИПА ПРОСАДОЧНОСТИ

Рис. 1. Технологическая карта глубинного обжига и глинистых грунтов II типа просадочности

Рис. 2. Технологическая схема выполнения основных этапов 1-3

Рис. 3. Технологическая схема выполнения основных этапов 4-5

1 - буровой станок; 2 - затвор; 3 - электролиния; 4 - газодувка; 5 - воздухопровод; 6 - газопровод; 7 - обожженный массив грунта; 8 - нагревательная скважина; 9 - контрольная скважина; 10 - буровая штанга; 11 - уширитель; 12 - уширение; 13 - форсунка; 14 - труба-удлинитель; 15 - воздухонесущая труба; 16 - крышка затвора; 17 - грузоподъемный механизм; 18 - отсекатель; 19 - контрольные термопары; 20 - регулятор давления; 21 - запальник; 22 - потенциометры; 23 - закрепляемый массив грунта

Состав и последовательность выполнения основных этапов

1-й этап

2-й этап

3-й этап

4-й этап

5-й этап

1. Установка станка 1 на отметку бурения скважин

2. Бурение нагревательной скважины 8 и контрольной скважины 9

3. Подъем бурового снаряда и очистка его от выбуренной породы

4. Ввинчивание затвора 2 станком в грунт стенок устья скважины 8

5. Крепление к буровой штанге 10 уширителя 11

6. Опускание уширителя 11 в забой скважины 8

7. Разбуривание щелевидного уширения 12

8. Очистка скважины от грунта

9. Контроль и приемка скважины

10. Монтаж воздуходувок (компрессоров) 4, агрегатов подачи и регулирования топлива (газодувок и регуляторов давления 20 для газа или насосных станций для жидкого топлива), топливо- и воздухопроводов 6, 5, электролинии 3

11. Посекционный монтаж воздухонесущей трубы 15 с отсекателем 18 на глубину 1/2 Н скважины 8

12. Установка крышки затвора 16 и ее крепление

13. Посекционный монтаж трубы-удлинителя 17 форсунки 13 многоспайных термопар 19, приборов 24

14. Подключение к форсунке 13 и к поддувам крышки затвора 16 топливо- и воздуховодов 6, 5

15. Подача горючей смеси из форсунки 13 по ее трубе-удлинителю 14 в скважину 8

16. Розжиг горючей смеси от запальника 21 при выходе ее из сопла трубы-удлинителя 14 с образованием факела и вывод его на режим горения

17. Обжиг грунта 23 до расчетной температуры

18. Демонтаж крышки затвора 16, извлечение воздухонесущей трубы 15 с отсекателем 18 и трубы-удлинителя 14

19. Тампонирование скважины (нижней части)

20. Монтаж крышки затвора 16, укороченной трубы-удлинителя 15 форсунки 13 и термопары 19

Далее повторение операций по пп. 14-17

21. Демонтаж оборудования и контрольно-измерительных приборов

22. Охлаждение скважин холодным воздухом

ПРИЛОЖЕНИЕ 30

ОБОРУДОВАНИЕ, ПРИМЕНЯЕМОЕ ПРИ ИСКУССТВЕННОМ ЗАМОРАЖИВАНИИ ГРУНТОВ

Таблица 1

Показатели

Буровые станки марки

УРБ-ЗАМ

СБУ-150-ЗИВ

АВБ-400

ЗИФ-300М

ЗИФ-650А

СБГ-1М

Тип буровой установки

Самоходная

Стационарная

Подземного бурения

Начальный диаметр бурения, мм

295

146

243

131

250

280

Глубина бурения (расчетная), м

300; 500

150

400

300

650

300

Диаметр бурильных труб, мм

60,3; 73

42

60,3; 73; 89

42; 50

50; 53; 5

-

Диаметр проходного отверстия ротора, мм

250

68

385

-

-

-

Грузоподъемность лебедки (натяжного каната), т

2,8

2

5

2

3

3

Рекомендуемый диаметр, каната, мм

15,5

13

21,5

15,5

19,5

-

Привод установки

Дизель Д-54

ГАЗ-МК-30

ЗИЛ-120; ЯАЗ-204

Электродвигатель

14 кВт

28 кВт

15 кВт

Число двигателей

1

1

2

1

1

1

Общая мощность двигателя, кВт

40

22

148

14

18

15

Тип подъемного устройства

Мачта

Вышка или тренога

 

Высота, м

16

9,4

12,4

-

-

-

Грузоподъемность, т

10

8,5

12

-

-

-

Тип грязевого устройства

11ГР

11ГР

НГ-200/30

ЗИФ-Р-200/40

ЗИФ-Р-200/40

11ГР

Число

1

1

2

1

2

1

Производительность, м3/ч

18

12

12

12

12

18

Давление расчетное, МПа

0

4

3

4

4

5

Габариты установки, мм:

 

 

 

 

 

 

длина

10700

9125

124000

4216

5075

1900

ширина

2800

2350

3350

1675

2420

900

высота

34000

3760

4100

1944

2260

2000

Масса установки, т

6,85

8,5

14,8

-

-

-

без автомашины

с автомашиной

 

 

 

Угол наклона к горизонту, град.

90

90

90

90-75*

90-45

0-360

* При изменении соединения гидравлических трубок угол бурения может изменяться от 0 до 360 град.

Таблица 2

Показатели

Буровые станки

УКС-22М

УКС-30М

Максимальная глубина бурения, м

300

5000

Максимальный диаметр бурения, мм

600

900

Максимальный вес бурового снаряда, т

1,3

2,5

Грузоподъемность барабана, т:

 

 

инструментального

2

3

желоночного

1,3

2

талевого

1,5

3

Высота подъема бурового снаряда, м

0,35-1

0,5-1

Число ударов снаряда в 1 мин

40, 45, 50

40, 45, 50

Диаметр каната, мм:

 

 

инструментального

21,5

26

желоночного

15,5

17,5

талевого

15,5

21,5

Электродвигатель:

 

 

тип

АО-73-6

АОГ-93-8

мощность, кВт

20

40

Мачта:

 

 

высота (до оси роликов), м

12,25

16

грузоподъемность, т

12

25

Габариты станка, мм:

 

 

длина

8,5

10

ширина

2,29

2,64

высота

2,75

3,5

Масса станка (с канатами, мачтой и электродвигателем), т

7,6

12,7

Токопроводящий кабель воздушной линии к станку:

 

 

марка

ГРШС

ГРШС

сечение

3 × 25 + 1 × 10

3 × 35 + 1 × 10

Таблица 3

Показатели

Типы одноступенчатых компрессоров и агрегатов

Агрегаты компрессорные

Компрессор АУ200

Агрегат компрессорный А220-7

Компрессор АУУ-400

Передвижная холодильная станция ПХС-100

Передвижная холодильная установка ПХУ-50

Горизонтальные оппозитные компрессоры

А110-3

А110-2

АО-600П

АО-1200П

Холодопроизводительность, кВт

92,8

139,2

232

278

464

116

58

677

1334

Температура кипения, °С

-15

-15

-15

-15

-15

-40

-40

-15

-15

Хладагент

аммиак

хладан-22 (фре-он-22)

аммиак

Температура конденсации, °С

+30

+30

+30

+30

+30

+30

+30

+30

+30

Диаметр цилиндра, мм

115

115

150

150

150

150

150

280

280

Ход поршня, мм

82

82

130

130

130

130

130

220

220

Число цилиндров

4

4

4

4

8

2×4

4

2

4

Частота вращения, с-1

16,65

25

16

24,7

16

24,5

24,5

8,33

8,33

Мощность электродвигателя, кВт

40

55

75

132

160

210

105

315

630

Масса, т

2,3

2,3

4,2

4,2

4,5

2,8

1,4

9,4

16,6

Таблица 4

Показатели

Типы двухступенчатых компрессоров и агрегатов

АД-90-3

АД130-7-4

АД260-7-4

ДАУ50/А

ДАО-275П

ДАОН-175П

ДАОН-350П

компрессоры I ст-РБ90 II ст-П110

I ст-BX350-7-4 II ст-П110-7-0

I ст-ВХ260-7-4 II ст-П220-7-0

компрессор V-образный

горизонтальный (оппозитный)

Низкотемпературные горизонтальные (оппозитные)

Холодопроизводительность, кВт

110

157

302

58

319

203

406

Температура кипения, °С

-40

-40

-40

-40

-50

-50

-50

Температура конденсации, °С

+35

+35

+35

+35

+35

+35

+35

Число цилиндров:

 

 

 

 

 

 

 

I ступени

1 ротор

2 винта

2 винта

3

1

1

2

II ступени

4 ротора

4 винта

8 винтов

1

1

1

2

Диаметр цилиндра, мм:

 

 

 

 

 

 

 

I ступени

-

200 (винт)

250 (винт)

150

450

500

500

II ступени

115

115

115

150

280

280

280

Ход поршня, мм

82

82

82

130

220

220

220

Частота вращения, с-1

I ст-25

II ст-25

50

25

50

25

16

8,33

8,33

8,33

Электродвигатели:

 

 

 

 

 

 

 

мощность, кВт

115

130

292

55

315

315

500

напряжение, В

220/380

220/380

220/380

220/380

6000

6000

6000

Масса компрессора с электродвигателем, т

4,07

6,4

8,5

2

10,95

11

17,5

ПРИЛОЖЕНИЕ 31

Наименование строительной организации _______________________________________

Объект ____________________________________________________________________

ПАСПОРТ СКВАЖИНЫ И ЗАМОРАЖИВАЮЩЕЙ КОЛОНКИ №

I. Бурение

Начато _____________________________________________________________________

Закончено __________________________________________________________________

Конструкция скважины ______________________________________________________

Абсолютная отметка устья скважины ___________________________________________

Глубина скважины от устья:

проектная __________________________________________________________________

фактическая ________________________________________________________________

Азимут отклонения скважины _________________________________________________

Величина отклонения вертикальной плоскости __________________________________

Разрешается опустить колонку ________________________________________________

Начальник смены _______________________________________________ (подпись)

(Ф. И. О.)

II. Опускание замораживающей колонки и ее испытание

Дата / смена

Номер звена колонки

Размеры звена

Способ соединения стыков

Испытание стыков

Примечание (течи меры их устранения и пр.)

длина, м

диаметр, мм

давление, МПа

продолжительность, мин

....

....

....

....

....

....

....

....

....

....

....

....

....

....

....

....

....

....

....

....

....

....

....

....

Длина замораживающей колонки от устья скважины ______________________________

Сварку производит сварщик __________________________________________________

(Ф. И. О.)

Испытание производилось в присутствии _______________________________________

(Ф. И. О.)

III. Наблюдения за уровнем воды в колонке

1. Расстояние поверхности жидкости от устья колонки

а) начальное на ____________________ (дата) ________________________________ мм

б) конечное на _____________________(дата) ________________________________ мм

2. Заключение о результатах наблюдений _______________________________________

Геодезист __________________________________________________________________

(Ф. И. О.)

IV. Опускание питающих труб

Дата _______________________________________________________________________

Длина звеньев труб ________________________________________________________ м

Диаметр ________________________________________________________________ мм

Примечание ________________________________________________________________

Нижний конец трубы не доведен до башмака колонки

Общая длина питающей трубы ________________________________________________

Монтаж питающей трубы производила бригада слесарей __________________________

(Ф. И. О. бригадира)

Начальник смены ___________________________________________________ (подпись)

Механик___________________________________________________________ (подпись)

Проверил начальник участка _________________________________________ (подпись)

Контрольные измерения производил геодезист __________________________ (подпись)

ПРИЛОЖЕНИЕ 32

Наименование строительной организации _______________________________________

Объект ____________________________________________________________________

ЖУРНАЛ РАБОТЫ ЗАМОРАЖИВАЮЩИХ КОЛОНОК

Дата / смена

Часы

Температура, °С, обратного рассола в колонках № ...

Температура, °С

Давление в коллекторе, МПа

Исполнитель (Ф. И. О.)

Примечание

1

2

3

4

5

6

7

8

9

10

рассола в распределителе

рассола в коллекторе

воздуха в форшахте

ПРИЛОЖЕНИЕ 33

Наименование строительной организации _______________________________________

Объект ____________________________________________________________________

ЖУРНАЛ ТЕМПЕРАТУР В КОНТРОЛЬНЫХ ТЕРМОМЕХАНИЧЕСКИХ СКВАЖИНАХ НА РАЗЛИЧНЫХ ГОРИЗОНТАХ ПРИ ИСКУССТВЕННОМ ЗАМОРАЖИВАНИИ ГРУНТОВ

Дата / смена

Скважина № ...

Скважина № ...

Скважина № ...

Скважина № ...

Исполнитель (Ф. И. О.)

Примечание

Отметка горизонта, м

Отметка горизонта, м

Отметка горизонта, м

Отметка горизонта, м

Проверил _______________________ (подпись)

(Ф. И. О)

ПРИЛОЖЕНИЕ 34

Наименование строительной организации _______________________________________

Объект ____________________________________________________________________

ЖУРНАЛ НАБЛЮДЕНИЙ ЗА УРОВНЕМ ГРУНТОВЫХ ВОД В ГИДРОЛОГИЧЕСКИХ СКВАЖИНАХ ПРИ ИСКУССТВЕННОМ ЗАМОРАЖИВАНИИ ГРУНТОВ

Дата / смена

Время взятия отсчета

Скважина № ...

Скважина № ...

Скважина № ...

Примечание

Абсолютная отметка замеренной точки, м

Абсолютная отметка замеренной точки, м

Абсолютная отметка замеренной точки, м

Глубина уровня, м

Абсолютная отметка уровня, м

Глубина уровня, м

Абсолютная отметка уровня, м

Глубина уровня, м

Абсолютная отметка уровня, м

Проверил _______________________ (подпись)

(Ф. И. О)

ПРИЛОЖЕНИЕ 35

Наименование строительной организации _______________________________________

Объект ____________________________________________________________________

ЖУРНАЛ РАЗРАБОТКИ ТРАНШЕИ ПРИ ВОЗВЕДЕНИИ СООРУЖЕНИЙ СПОСОБОМ «СТЕНА В ГРУНТЕ»

Землеройное оборудование ___________________________________________________

Проектная глубина траншеи __________________________________________________

Дата / смена

№ захватки

Время разработки захватки

Объем разработанного грунта за смену, м3

Глубина захватки

Высота слоя осадка, м

Исполнитель (Ф. И. О.) (подпись)

Примечания

начало ч, мин

окончание, ч, мин

в начале смены, м

в конце смены, м

ПРИЛОЖЕНИЕ 36

Наименование строительной организации _______________________________________

Объект ____________________________________________________________________

ЖУРНАЛ КОНТРОЛЯ КАЧЕСТВА ГЛИНИСТОГО РАСТВОРА (СУСПЕНЗИИ)

Тип глиномешалки __________________________________________________________

Наименование и характеристика глин __________________________________________

Состав раствора:

на 1 м3                                               на 1 замес

глина, кг ___________________________________________________________________

вода, л _____________________________________________________________________

химреагенты, кг _____________________________________________________________

Дата / смена

Место отбора пробы раствора

Показатели качества раствора

Исполнитель (Ф. И. О.) подпись

Примечания

плотность, г/см

вязкость, с

отстой, %

стабильность, г/см3

содержание песка, %

водоотдача, см3

толщина глинистой корки, мм

статическое напряжение сдвига, мгс/см2

ПРИЛОЖЕНИЕ 37

ТЕХНИЧЕСКИЕ ХАРАКТЕРИСТИКИ МОЛОТОВ ДЛЯ ПОГРУЖЕНИЯ СВАИ

Таблица 1

Основные характеристики

Трубчатые дизель-молоты

Масса ударной части, кг

500

600

1250

1800

2500

3500

5000

7500

Масса молота, кг

1200

1500

2600

3700

5800

8000

11500

17000

Расчетная энергия удара, кДж

1200

1500

3100

4500

6300

8800

12600

18800

Таблица 2

Основные характеристики

Штанговые дизель-молоты

Масса ударной части, кг

1250

1800

2500

Масса молота, кг

2200

3100

4400

Расчетная энергия удара, кДж

850

1400

2200

Таблица 3

Основные характеристики

Молоты паровоздушные типа СССМ

570

750

582

680

3000

4250

6500

8200

1800

С-276А

С-811А

C-812A

Масса ударной части, кг

1800

1800

3000

6000

3000

4250

6500

8200

1800

3000

6000

8000

Масса молота, кг

2700

2700

4300

8647

4250

5100

7300

8695

2185

4250

8200

11000

Частота ударов, мин

30

30

30

30

10

4-8

4-10

4-5

30

40-50

40-45

35-40

Высота молота в рабочем положении, мм

-

4840

4635

4950

2850

2820

3125

2580

2435

4650

4730

4730

ПРИЛОЖЕНИЕ 38

КОНСТРУКЦИЯ НАГОЛОВНИКОВ

Для забивки железобетонных свай паровоздушными молотами одиночного действия и трубчатыми дизель-молотами рекомендуется применять Н-образные литые и сварные наголовники с верхней и нижней выемками. При забивке свай штанговыми дизель-молотами и паровоздушными молотами двойного действия разрешается применять П-образные наголовники с одной нижней выемкой (см. рисунок).

Наголовник должен иметь проушины или крюки для подвески его к стационарной части дизель-молота или ударной части паровоздушного молота для подъема наголовника совместно с молотом в верхнее положение перед установкой сваи на место забивки. Длина подвесных тросов при работе с дизель-молотом принимается с запасом на величину максимального хода шабота или пяты с подпятником. Верхняя выемка наголовника выполняется круглой в плане и глубиной 100-150 мм при паровоздушных молотах и 200-300 мм при дизель-молотах. В верхнюю выемку вставляется верхний амортизатор, роль которого заключается в снижении динамических нагрузок как на молот, так и на сам наголовник.

Схемы наголовников

а - для трубчатого дизель-молота; б - для штангового дизель молота; в - для паровоздушного молота одиночного действия; г - для забивки трубчатых железобетонных свай; 1 - молот; 2 - верхняя выемка наголовника; 3 - верхний амортизатор; 4 - верхний обруч; 5 - диафрагма наголовника; 6 - нижний обруч; 7 - нижний амортизатор; 8 - нижняя выемка наголовника; 9 - обечайка; 10 - выемка в амортизаторе под шток молота; 11 - цилиндр с конусом

Диаметр верхней выемки в наголовниках под трубчатый дизель-молот назначается на 10-15 мм больше диаметра шабота, а для наголовников под паровоздушный молот - не больше наименьшего размера торцовой част молота.

Верхний амортизатор следует изготовлять из обрезка ствола дерева твердой породы (дуб, бук, граб, клен, комлевая часть сосны) с прямыми вертикально расположенными волокнами и строго перпендикулярным к оси торцом. Высота верхнего амортизатора назначается в зависимости от веса ударной части молота и должна быть: для трубчатых дизель-молотов с массой ударной части 1250, 1800, 2500, 3500 и 5000 кг не менее 150, 200 и 250 мм соответственно, для паровоздушных молотов - не менее 250-300 мм, причем в первом случае верхняя полость амортизатора должна быть не менее чем на 50 мм ниже верхней кромки бортов выемки наголовника для фиксации последним положения шабота молота. Для паровоздушных молотов, наоборот, амортизатор должен выступать под бортами верхней выемки наголовника на 150-200 мм. С целью уменьшения размочаливания верхнего амортизатора в последнем случае верхний конец амортизатора укрепляют стальным кольцом (бугелем). В зависимости от типа применяемого паровоздушного молота в верхнем амортизаторе устраивают выемку глубиной 30-40 мм под шток или упорную лапу молота.

Запрещается работать с размочаленным верхним амортизатором, при котором возможен прямой удар молота по корпусу наголовника.

Нижняя выемка наголовника служит для удержания головы сваи в соосном положении с молотом и для размещения в ней нижнего амортизационного блока.

Плановые размеры наголовника назначаются таким образом, чтобы между боковой гранью сваи и стенкой наголовника оставался зазор порядка 1 см с каждой стороны.

При плановых размерах нижней выемки наголовника более указанных выше и при необходимости забивки свай с меньшими поперечными размерами лишний зазор необходимо выбрать посредством приварки временных упоров-ограничителей или посредством обмотки головы сваи мешковиной.

Глубина нижней выемки наголовника назначается 500-600 мм. Нижний амортизатор может выполняться из следующих материалов: древесины, пенькового каната, войлока, асбеста и т.п. (см. табл. 9 прил. 40).

Амортизаторы из древесины выполняются как с волокнами вдоль направления удара, так и с волокнами поперек направления удара. В последнем случае амортизаторный блок выполняется в виде накрест расположенных слоев досок толщиной 4-6 см. Амортизатор из древесины с волокнами вдоль направления удара целесообразно изготовлять из 4-8 отдельных, одинаковых по высоте торцовых деревянных шашек квадратного или секторного поперечного сечения (в зависимости от общего планового очертания амортизатора), выпиливаемых из древесины нижней (комлевой) части ствола. Верхний амортизатор, собранный из отдельных торцовых шашек, скрепляется бугелем. При этом достигается экономия в древесине за счет использования короткомерных отходов, отпадает необходимость в толстоствольной древесине, облегчается работа по удалению размочаленных амортизаторов из наголовника при их замене.

Амортизаторы из войлока собирают из отдельных слоев, амортизаторы из пенькового каната и асбестового шнура собирают также из отдельных слоев, уложенных в плоскую бухту каната или шнура. Для защиты амортизаторов из пенькового каната, войлока или асбеста между ними и головкой сваи укладывается прокладка из досок толщиной 5-6 см, которая периодически заменяется по мере разрушения. Наиболее длительно сохраняют сваи упругие свойства амортизаторы из асбеста. Наименее долговечны амортизаторы из древесины с волокнами поперек направления удара. Толщина нижнего амортизатора при забивке железобетонных свай зависит от материала амортизатора, технических характеристик молота и сваи, грунтовых условий и определяется расчетом (см. прил. 40). Ориентировочные (с точностью ±15 %) значения сжимающих напряжений от удара в сплошных железобетонных сваях или забивке паровоздушными молотами одиночного действия, штанговыми и трубчатыми дизель-молотами в зависимости от толщины амортизатора из сосновых досок в нижней выемке наголовника при разных высотах падения ударной части молота приведены в таблице.

Примечание. Для определения начальных толщин амортизаторов из сосновых досок до уплотнения значения толщин, приведенные в таблице, следует разделить на 0,4.

Забивка стальных трубчатых свай производится с применением наголовников, оснащенных только одним верхним амортизатором. При этом отношение массы ударной части к площади поперечного сечения трубчатой сваи (нетто) не должно превышать для паровоздушных молотов одиночного действия 30 кг/см2, а для трубчатых дизель-молотов - 20 кг/см2. В противном случае необходимо уменьшать высоту падения ударной части молота.

Тип молота

Высота падения ударной части молота, м

Толщина нижнего амортизатора из сосновых досок, уплотненного 100 ударами, см

Ориентировочные значения сжимающих, напряжений, МПа, от удара в железобетонных сваях сплошного сечения при отношении массы ударной части молота к площади поперечного сечения, кг/см2, равном

1

1,5

2

2,5

3

3,5

4

4,5

5

Штанговый дизель-молот

1,5

4

8,8

10,3

11,5

12,3

13,1

-

-

-

-

8

7,2

8,5

9,4

10,1

10,7

-

-

-

-

12

6,7

7,9

8,7

9,4

10

-

-

-

-

2

4

12,8

15,1

16,7

17,9

19

-

-

-

-

8

11,7

13,8

15,3

16,4

17,5

-

-

-

-

12

9,7

11,4

12,6

13,5

14,4

-

-

-

-

1,5

4

11,1

13

14,4

15,5

16,4

-

-

-

-

8

9

10,6

11,7

12,6

13,4

-

-

-

-

12

8

9,5

10,5

11,2

12

-

-

-

-

Трубчатый дизель-молот

2

4

16

18,8

20,9

22,4

23,8

-

-

-

-

8

13,1

15,3

17,0

18,3

19,4

-

-

-

-

12

11,6

13,7

15,2

16,3

17,3

-

-

-

-

2,5

4

19,1

22,5

24,9

26,7

28,4

-

-

-

-

8

15,5

18,3

20,3

21,7

23,1

-

-

-

-

12

13,9

16,3

18,1

19,4

20,7

-

-

-

-

3

4

22,2

26

28,9

31

33

-

-

-

-

8

18

21,2

23,6

25,3

26,9

-

-

-

-

12

16,1

19

21,1

22,6

24

-

-

-

-

Паровоздушный молот одиночного действия

0,4

4

9,8

11,4

12,7

13,5

14,5

15,3

16,0

16,6

17,2

8

7,8

9,1

10,1

10,7

11,5

12,2

12,7

13,2

13,6

12

7

8,1

9

9,6

10,2

10,8

11,4

11,8

12,1

0,8

4

14,9

17,3

19,2

20,5

21,9

23,2

24,3

25,2

25,9

8

11,8

13,8

15,3

16,3

17,4

18,4

19,3

20,0

20,6

12

10,6

12,3

13,7

14,6

15,6

16,5

17,3

17,9

18,4

1,2

4

18,4

21,4

23,7

25,3

27,1

28,6

30

31

32

8

14,7

17,1

18,9

20,1

21,6

22,8

23,9

24,7

25,5

12

13,1

15,3

16,9

18

19,3

20,4

21,4

22,1

22,8

Форма нижней поверхности стальной плиты наголовника должна соответствовать профилю стальной сваи, шпунтины или пакета и обеспечивать их надежную фиксацию в процессе погружения Глубина выемки или высоты выступов (ограничителей), фиксирующих положение забиваемых стальных элементов, должна быть не менее 50 мм для шпунта и не менее 100 мм для трубчатых свай. Размеры плиты наголовника назначаются из условия равномерного распределения давления ударного импульса по всей площади торца стального элемента за исключением крайних замков шпунтовых пакетов.

Деревянные сваи разрешается забивать без наголовника. Головы деревянных свай укрепляют при этом стальным кольцом (бугелем).

При забивке деревянных свай паровоздушным молотом одиночного действия без наголовника в верхнем торце сваи устраивают выемки глубиной 30-40 мм под шток или лапу молота.

При забивке деревянных свай дизель-молотом в нижнюю плоскость шабота дизель-молота ввертывают специально предусмотренный конструкцией молота наконечник-фиксатор. В случае размочаливания головы сваи поврежденную верхушку сваи срезают, насаживают снова бугель, и процесс забивки продолжается.

ПРИЛОЖЕНИЕ 39

ТЕХНИЧЕСКИЕ ХАРАКТЕРИСТИКИ ОБОРУДОВАНИЯ ДЛЯ ПОГРУЖЕНИЯ СВАИ И СТАЛЬНОГО ШПУНТА

Таблица 1

Технические характеристики вибропогружателей для погружения свай и свай-оболочек

Марка вибропогружателя

Номинальная мощность электродвигателей N, кВт

Статический момент массы дебалансов K0, кг, см

Частота вращения дебалансов nв, об/мин

Вынужденная сила, кН

Масса вибропогружателя без наголовника, кг

С-1003

-

-

-

-

-

(ВП-1)*

60

9300

420

190

4500

ВРП-15/60

60

0-15000

300-500

0-400

5500

ВП-3М*

100

23600

408

445

7500

ВРП-30/120

132

0-30000

до 500

0-960

10200

ВУ-1,6*

2 × 90

34500

498

950

11000

ВПМ-170**

200

51000

475-550

1250-1700

12500

ВРП-70/200

200

0-70000

до 500

0-1700

12500

BУ-3**

2 × 200

99400

500-550

2800-3400

27600

Примечания: 1. Индексом «*» обозначены вибропогружатели с постоянными параметрами, индексом «**» - со ступенчато изменяемыми параметрами.

2. Вибропогружатели ВУ-1,6 и В-3 имеют проходное отверстие для извлечения грунта из полости оболочек.

3. Вибропогружатели марки ВРП обеспечивают бесступенчатое регулирование момента дебалансов и скорости их вращения в процессе погружения шпунта, сваи или сваи-оболочки в соответствии с проходимыми грунтами.

4. При необходимости погружения оболочек больших диаметров возможно применение спаренных вибропогружателей, смонтированных на общем переходнике.

Таблица 2

Технические характеристики вибропогружателей и вибромолотов для погружения и извлечения стального шпунта

Ориентировочная глубина погружения или извлечения, м

Марка вибропогружателя или вибромолота

Основные параметры

мощность электродвигателя, кВт

момент дебалансов, кг·см

частота вращения, об/мин

вынуждающая сила максимальная, кН

масса вибромашины, т

Максимальное усилие сжатия пружин амортизатора при виброизвлечении, кН

До 12 м

ВПП 2 (В401)

55

1000

1000, 1500

До 250

2,2

120

В40

В40

45

1100

1300

200

2,2

120

До 15 м

ВРП-3/44

2 × 30

До 3000

До 970

До 310

3

200

До 15 м

МШ-2М

2 × 30

910, 1130

970

94, 117

4,1

245

B1-809

2 × 17

940

1440

213

4,4

196

До 20 м

ВШ-1

2 × 30

2500

800, 1000, 1200

400

4

230

В1-633A

2 × 30

3000

970

310

6,75

-

Примечания. 1 Вибропогружатели и вибромолоты В401А, В401Б, ВРП 3/44 и МШ-2М имеют гидравлические наголовники.

2. Вибропогружатели В40 и ВРП 3/44 снабжены системой динамического торможения электродвигателей.

3. Вибропогружатель ВШ-1 при необходимости настраивается на ударно-вибрационный режим с ударами вверх и вниз.

4. Вибромолоты МШ-2М и В1-809 предназначены, в основном, для извлечения.

5. Вибромолот В1-633А предназначен только для погружения.

ПРИЛОЖЕНИЕ 40

ОПРЕДЕЛЕНИЕ ДИНАМИЧЕСКИХ НАПРЯЖЕНИЙ В ЖЕЛЕЗОБЕТОННЫХ СВАЯХ ПРИ ЗАБИВКЕ

Приведенное ниже решение разработано на основе волновой теории удара, впервые примененной Н. М. Герсевановым к решению задач, связанных с ударом молота о сваю. При составлении алгоритма был использован упрощенный метод Каншина - Плуталова - Смита. Сущность этого метода заключается в следующем. Свая делится на ряд жестких отрезков, соединенных друг с другом определенными связями, учитывающими деформационные характеристики материала сваи. Для каждого элемента условной системы, включающей ударную часть молота, шабот (для дизель-молота), наголовник и отрезки свай, составляется система уравнений, описывающая состояние этого элемента на весьма малом интервале времени t, в течение которого скорость движения элемента и действующие на элемент силы со стороны соседних элементов и внешней среды (грунта) принимаются постоянными. При последовательном цикличном решении для каждого элемента указанной системы уравнений можно определить усилия на границах элементов, а следовательно и напряжения в любой момент времени в период удара. При математическом описании характера сил, действующих на элементы условной системы, учтены все основные особенности реальной системы «молот - свая - грунт», а именно: влияние рабочего процесса в цилиндре дизель-молота, упруговязкая работа амортизаторов и упруговязкопластическое поведение грунта при динамических нагрузках. По составленным таким образом программам для ЭВМ было решено около 2 тыс. задач по определению напряжений в железобетонных сваях, в которых варьировались параметры свай, молотов и грунтовые условия. В результате статистической обработки результатов решений частных задач были получены упрощенные формулы для определения максимальных и растягивающих напряжений в сплошных железобетонных сваях с коэффициентом продольного армирования до 0,05 при условии соосного центрального удара в пределах допусков, приведенных в СНиП 3.02.01-83. Величины максимальных сжимающих напряжений в голове и максимальных растягивающих напряжений в стволе железобетонных свай, возникающие при ударе трубчатого дизель-молота или паровоздушного молота одиночного действия, определяются по формуле

σс.р = К К1 К2 К3 К4,                                                                (1)

где σс.р - сжимающие или растягивающие напряжения в свае, МПа; К - коэффициент надежности, принимаемый для сжимающих напряжений К = 1,1, для растягивающих напряжений К = 1,3; К1 - коэффициент, зависящий от величины отношения массы ударной части молота к площади поперечного сечения (нетто) сваи Q/F, кг/см2; K2 - коэффициент, зависящий от расчетной высоты падения ударной части молота Н; К3 - коэффициент, зависящий от жесткости амортизатора в нижней выемке наголовника; K4 - коэффициент, зависящий от длины сваи L и расчетного сопротивления грунта под ее концом R, определяемого в соответствии с указаниями главы СНиП II-17-77.

Значения коэффициентов К1, К2, К3, K4 принимаются соответственно: для трубчатых дизель-молотов - по табл. 1-4; для паровоздушных молотов одиночного действия - по табл. 5-8.

Таблица 1

Q/F, кг/см2

0,8

1

1,2

1,4

1,6

1,8

2

2,2

2,4

2,6

2,8

3

К1, МПа

13,1

7,3

14,8

6,5

16,1

5,8

17,0

5,1

17,8

4,5

18,6

3,9

19,3

3,3

19,9

2,8

20,5

2,3

21,0

1,9

21,5

1,6

22,0

1,3

Таблица 2

Расчетная высота падения ударной части молота Н, см

150

175

200

225

250

275

300

К2

0,58

0,35

0,76

0,45

0,84

0,55

0,92

0,75

1,00

1,00

1,08

1,25

1,16

1,55

Таблица 3

Жесткость амортизатора Кж, МПа/см

5

10

15

20

30

40

50

60

70

80

90

100

110

120

К3

0,58

0,20

0,78

0,40

0,87

0,60

0,94

0,80

1,05

1,16

1,14

1,36

1,22

1,50

1,29

1,60

1,35

1,07

1,41

1,72

1,47

1,76

1,52

1,80

1,57

1,83

1,62

1,85

Таблица 4

Длина сваи L, м

Коэффициент К4 при расчетном сопротивлении грунта под нижним концом сваи R, кПа

11000

8000

6000

4000

2500

1500

1000

500

25

1,03

0,44

1,03

0,66

1,02

0,88

1,02

1,10

1,01

1,37

1,01

1,65

1,00

1,93

1,00

2,58

20

1,02

0,40

1,01

0,60

1,01

0,80

1,00

1,00

1,00

1,25

0,99

1,50

0,98

1,75

0,98

2,25

16

1,01

0,35

1,00

0,53

1,00

0,70

0,99

0,88

0,98

1,10

0,97

1,32

0,96

1,54

0,95

2,0

12

0,99

0,30

0,99

0,44

0,98

0,59

0,97

0,74

0,96

0,93

0,94

1,11

0,92

1,29

0,91

1,70

8

0,98

0,20

0,97

0,30

0,96

0,40

0,95

0,50

0,93

0,63

0,92

0,75

0,88

0,88

0,86

1,30

Таблица 5

Q/F, кг/см2

1,5

2,0

2,5

3,0

3,5

4,0

4,5

5,0

К1, МПа

14,0

8,2

15,5

6,4

16,5

4,8

17,7

3,6

18,5

2,8

19,6

2,2

20,3

1,8

20,9

1,5

Таблица 6

Расчетная высота падения ударной части молота Н, см

20

40

60

80

100

120

К2

0,50

0,47

0,71

0,67

0,87

0,84

1,00

1,00

1,12

1,14

1,23

1,27

Таблица 7

Жесткость амортизатора Кж, МПа/см

5

10

15

20

30

40

50

60

70

80

90

100

110

120

К3

0,65

0,20

0,78

0,40

0,87

0,60

0,94

0,80

1,05

1,21

1,14

1,48

1,2

1,65

1,32

1,76

1,40

1,84

1,48

1,90

1,50

1,95

1,04

2,00

1,72

2,04

1,79

2,08

Таблица 8

Длина сваи L1, м

Коэффициент К4 при расчетном сопротивлении грунта под нижним концом сваи R, кПа

11000

8000

6000

5000

2500

1500

1000

500

25

1,04

0,52

1,03

0,78

1,03

1,04

1,02

1,30

1,02

1,56

1,01

1,82

1,01

2,03

1,01

2,40

20

1,03

1,47

1,02

0,70

1,02

0,94

1,01

1,17

1,01

1,41

1,01

1,64

1,00

1,87

1,00

2,20

16

1,02

0,40

1,02

0,60

1,02

0,94

1,01

1,17

1,01

1,41

1,01

1,64

1,00

1,87

1,00

2,20

12

1,00

0,30

0,99

0,44

0,98

0,59

0,97

0,74

0,97

0,89

0,97

1,03

0,96

1,18

0,96

1,50

8

0,96

0,16

0,95

0,24

0,94

0,32

0,93

0,40

0,93

0,48

0,93

0,56

0,92

0,64

0,92

0,90

Примечания: 1. Для определения максимальных сжимающих напряжений в железобетонных сваях при забивке штанговым дизель-молотом по формуле (1) значение коэффициента надежности принимается равным 1; значения коэффициентов К1, К2, К3, К4 принимаются, так же как и для трубчатого дизель-молота, по табл. 1-4.

2. В табл. 5-8 приведены значения коэффициентов: над чертой относятся к сжатию, под чертой - к растяжению.

3. Для промежуточных значений вводных параметров в табл. 1-8 значения коэффициентов К1, К2, К3, К4 определяют интерполяцией по соответствующим таблицам.

4. Потери энергии в конструкции молота приняты равными 15 % - для трубчатых дизель-молотов и 10 % - для паровоздушных молотов одиночного действия. При вышеуказанных значениях потерь энергии в молотах расчетная высота ударной части молота, указанная в табл. 2 и 6 совпадает с фактической высотой падения.

При других значениях потерь энергии в молоте расчетная высота падения ударной части молота определяется по формуле

H = H1 (т1 / т),                                                                               (2)

где Н, Н1 - расчетная и фактическая высоты падения ударной части молота, см; m1 - коэффициент фактических потерь энергии в молоте, практически он колеблется в пределах: для трубчатых дизель-молотов - m1 = 0,8 ÷ 0,9, для паровоздушных молотов - m1 = 0,7 ÷ 0,9; m - коэффициент расчетных потерь энергии в молоте (в расчетах) принят равным: для трубчатых дизель-молотов - m = 0,85; для паровоздушных молотов m = 0,90.

5. Жесткость амортизатора Кж в МПа/см определяется по формуле

Кж = Ен / Кylн,                                                                                   (3)

где Ен - расчетный модуль упругости амортизационного материала, МПа. Принимается по табл. 9 в зависимости от задаваемых максимальных сжимающих напряжений σ в свае. Если значение σс, найденное по формуле (1), отличается от принятого значения σ более чем на 10 %, необходимо принять σ = σс и повторить расчет, Ky - коэффициент уплотнения амортизационного материала, принимается по табл. 9; lн - начальная толщина амортизационного материала в наголовнике до уплотнения, см.

Жесткость амортизатора, состоящего из нескольких разнородных слоев материала, определяется с помощью формулы

1 / Кж = 1 / Кж1 + 1 / Кж2 + ... + 1 / Кжn,                                                            (4)

где Кж - суммарная жесткость всего амортизатора; Кж1,2...n - жесткость каждого отдельного слоя, определяемая по формуле (3).

6. В необходимых случаях формулу (1) можно использовать для решения обратных задач.

Пример расчета. Железобетонная свая с поперечным сечением 40 × 40 см, длиной 16 м забивается молотом УР-1-3500 в тугопластичные глинистые грунты (IL = 0,4) на глубину 15 м.

Таблица 9

№ п.п.

Амортизационный материал

Коэффициент уплотнения, Куп

Расчетный модуль упругости Ен, МПа, при уровне максимальных сжимающих напряжений σ, МПа, равном

5

10

15

20

25

1

Сосна с любым расположением волокон относительно направления сжатия

0,40

90

170

250

320

360

2

Дуб с волокнами, перпендикулярными к направлению сжатия

0,60

260

340

410

460

480

3

Фанера березовая

0,70

280

380

410

460

480

4

Войлок технический грубошерстный (ГОСТ 6418-81)

0,40

80

200

300

380

400

5

Пеньковый бельный канат (ГОСТ 483-75 с изм.)

0,45

210

370

510

640

690

6

Асбест шнуровой (ГОСТ 1779-83)

0,30

160

270

380

500

550

Амортизатор в наголовнике выполнен из досок с волокнами поперек направления удара. Общая толщина амортизатора до уплотнения составляет 20 см. Допускаемое число ударов до смены амортизатора не более 1000. Определить максимальные сжимающие напряжения в голове сваи и максимальные растягивающие напряжения в стволе сваи в начале забивки при высоте падения ударной части молота, равной 170 см; определить максимальные сжимающие напряжения в голове сваи в конце погружения при высоте падения ударной части молота, равной 220 см. Масса ударной части молота 3500 кг. Общая масса молота 7200 кг, масса наголовника - 500 кг, конструктивные потери энергии в молоте составляют 15 %.

1. Определяем необходимые для расчета величины:

а) Q / F = 3500 / 40 · 40 = 2,2 кг/см2;

б) в начале забивки сваи сопротивление грунта под острием равно суммарному весу молота, наголовника и сваи, деленному на площадь поперечного сечения сваи:

 т/м2;

в) в конце забивки сопротивление грунта под острием сваи, согласно табл. 1 главы СНиП II-17-77, равно R15 = 280 т/м2.

2. Определяем максимальные сжимающие напряжения в голове сваи в начале забивки:

а) определяем при Q/F = 2,2 кг/см2 по табл. 1 настоящего Пособия коэффициент К1 = 19,9 МПа;

б) определяем при H = 170 см по табл. 2 коэффициент К2 = 0,71;

в) определяем по формуле (3) жесткость амортизатора наголовника, предполагая, что максимальные сжимающие напряжения σ = 15 МПа;

Кж = 250 / (0,4 · 2) = 31,2 МПа/см;

г) определяем по табл. 3 величину коэффициента К3.

Принимаем К3 = 1,06;

д) определяем по табл. 4 коэффициент К4 = 0,96;

е) определяем предварительную величину сжимающих напряжений в голове сваи по формуле (1):

σс = К К1 К2 К3 К4 = 1,1 · 19,9 · 0,71 · 1,06 · 0,96 = 15,8 МПа.

Полученная величина максимальных сжимающих напряжений незначительно отличается от ранее предположенной в п. «в» величины σ = 15 МПа, поэтому окончательно принимаем максимальное напряжение в голове сваи в начале забивки равным σс = 15,8 МПа.

3. Определяем максимальные растягивающие напряжения в свае в начале забивки:

а) определяем по табл. 1 величину коэффициента К1 при Q/F = 2,2; К1 = 2,8 МПа;

б) определяем при H = 170 см по табл. 2 коэффициент К2 = 0,43;

в) определяем по табл. 9 величину модуля упругости амортизатора: при σ = σс = 15,8 МПа Ен = 261 МПа;

г) определяем жесткость амортизатора по формуле (3)

Кж = 261 / (0,4 · 20) = 32,0 МПа/см;

д) определяем по табл. 3 величину коэффициента К3; К3 = 1,21;

е) определяем по табл. 4 при L = 16 м и R0 = 90 с/см2 величину коэффициента К4; К4 = 1,63;

ж) по формуле (1) находим максимальные растягивающие напряжения в свае в начале забивки

σр = К К1 К2 К3 К4 = 1,3 · 2,8 · 0,43 · 1,21 · 1,63 = 3,1 МПа.

4. Определяем максимальные сжимающие напряжения в голове сваи в конце погружения:

а) значение К1 определялось ранее в п. 1 и равно К1 = 19,9 МПа;

б) определяем по формуле (3) жесткость амортизатора наголовника, предполагая, что максимальные сжимающие напряжения в голове сваи в конце забивки σ = 20 МПа

Кж = 320 / (0,4 · 20) = 40 МПа/см;

в) определяем по табл. 3 величину коэффициента К3:

при Кж = 40 МПа по интерполяции находим К3 = 1,14;

г) определяем по табл. 2 величину коэффициента К2:

при Н = 220 см; К2 = 0,90;

д) определяем по табл. 4 при L = 16 и R15 = 280 т/м2 величину коэффициента К4 = 0,98;

е) определяем предварительную величину сжимающих напряжений в голове сваи:

σс = К К1 К2 К3 К4 = 1,1 · 19,9 · 0,9 · 1,14 · 0,98 = 22 МПа;

ж) для уточнения значения σс определяем новое значение Кж при σ = σс = 22 МПа

Кж = 360 / (0,4 · 20) = 45 МПа/см;

з) определяем по табл. 3 коэффициент К3: при Кж = 45 МПа/см находим К3 = 1,18;

и) определяем уточненную величину максимальных сжимающих напряжений в голове сваи:

σс = К К1 К2 К3 К4 = 1,1 · 19,9 · 0,9 · 1,18 · 0,98 = 22,8 МПа.

ПРИЛОЖЕНИЕ 41

ПОВРЕЖДЕНИЯ ЖЕЛЕЗОБЕТОННЫХ СВАЙ ПРИ ЗАБИВКЕ

При забивке железобетонных свай, отвечающих требованиям существующих норм на их изготовление, возможны следующие основные виды повреждений, связанные с нарушением технологии забивки:

местные растрескивания и околы в голове сваи;

продольные трещины, могущие возникнуть в любом месте по стволу сваи, но чаще всего в голове сваи;

поперечные трещины, возникающие обычно в средней и верхней третях сваи;

поперечные трещины, переходящие в наклонные под углом 45°, возникающие чаще всего в надземной части сваи.

Причиной разрушения первого вида является большая концентрация местных напряжений в голове сваи, вызванная нецентральностью удара молота или неудовлетворительным состоянием амортизаторов наголовника.

Поэтому в процессе производства свайных работ необходимо постоянно контролировать соосность положения молота, наголовника и сваи; состояние скользящих поверхностей и величину зазоров в направляющих пазах и гребнях молота, наголовника и копровой стрелы; общее состояние верхнего и нижнего амортизаторов наголовника, особенно перпендикулярность верхней плоскости верхнего амортизатора оси сваи и однородность и равномерность распределения прокладочного материала в нижнем амортизаторе.

Появление продольных трещин в железобетонных сваях связано с общим превышением действующих сжимающих напряжений при повторяющихся динамических нагрузках. Разрушения такого рода наиболее вероятны от чрезмерных для данных условий высоты падения ударной части молота или жесткости амортизатора. Другой причиной появления продольных трещин может явиться встреча нижнего конца сваи с плотным и жестким грунтовым слоем или каким-либо препятствием. При этом формируется отраженная волна сжатия, которая накладывается на приемную волну сжатия и значительно повышает уровень сжимающих напряжений в свае. Для снижения величин напряжений в прямой и отраженной волнах сжатия необходимо уменьшить высоту падения ударной части молота или заменить нижний амортизатор наголовника более упругим (или новым при чрезмерном уплотнении или подгорании старого), причем уменьшение жесткости амортизатора более предпочтительно, так как мало снижает погружающую способность (отказ) одиночного удара молота. Максимальные сжимающие напряжения в сваях при забивке определяются согласно методике, приведенной в прил. 40.

При чрезмерном снижении отказа свай в результате указанных мер (менее 0,2 см) и необходимости достижения сваями проектной отметки следует переходить на более тяжелый молот или применять средства для снижения сопротивления грунта (подмыв, лидерное бурение и т.п.). Одной из причин появления поперечных трещин в железобетонных сваях является изгиб ствола сваи, возникающий из-за отклонения ее острия от первоначального направления при встрече с препятствием или из-за изменения положения копровой стрелы и ее качаний. Изменение первоначального положения копровой стрелы и ее раскачка при производстве работ возможны в результате неравномерной осадки копровой установки на слабом основании от сотрясений грунта; при работе на воде в результате действия ветра и волн, поднимаемых проходящими судами, и вследствие общего смещения всей копровой установки при слабых якорях; а также от передачи усилия на копровую стрелу при работе лебедки механического молота или при подъеме ударной части дизель-молота при его пуске.

Наличие изгиба, связанного с отклонением сваи или копровой установки от первоначального положения, обычно легко обнаруживается по отходу головы сваи в сторону после снятия с нее молота с подвешенным к нему наголовником. Другой причиной появления поперечных трещин являются волны растяжения, которые могут возникнуть в свае в начале забивки, а также при нахождении ее нижнего конца в зоне слабых грунтов, при забивке с применением подмыва или лидерного бурения.

Свидетельством слабого сопротивления грунта является большой отказ сваи, поэтому в случаях, когда поперечные трещины не допускаются, необходимо ограничивать максимальный отказ во время погружения железобетонных свай следующими величинами для свай длиной: до 10 м - 5-6 см; 10-15 м - 4-5 см; 15-20 м - 3-4 см; св. 20 м - 2-3 см.

При отказах более указанных следует уменьшить высоту падения ударной части молота. При этом разрешается ограничивать снижение высоты падения для паровоздушных молотов до 0,3-0,4 м а для штанговых и трубчатых дизель-молотов - до 1,5 м вне зависимости от величины последующих отказов. Другой мерой снижения растягивающих напряжений в свае при забивке является применение менее жестких амортизаторов в наголовнике.

Максимальные растягивающие напряжения в сваях при забивке определяются согласно методике, приведенной в настоящем приложении.

Наклонные трещины (обычно под углом, близким к 45°) в железобетонных сваях появляются в результате действия скручивающих усилий, возникающих при некоторых обстоятельствах из-за препятствия, создаваемого наголовником свободному повороту сваи вокруг своей оси, или совместного действия скручивающих усилий и растягивающих напряжений. Крутящий момент возникает в результате попадания одной из граней сваи на твердое препятствие или вследствие непараллельности направляющих и усугубляется чрезмерной плотностью насадки наголовника на голову сваи. Признаком действия крутящего момента являются поворот головы сваи после подъема наголовника и наличие следов трения от углов головы сваи на внутренней стороне выемки наголовника. При обнаружении поворота сваи необходимо развернуть копровую стрелу или всю копровую установку вокруг сваи; при забивке свай трубчатым дизель-молотом в наголовнике без хвостовика достаточно отсоединить подвеску наголовника к молоту. При частных случаях повреждений такого рода рекомендуется применять наголовники специальной конструкции, не препятствующие свободному повороту сваи вокруг своей оси, или сваи с круглым поперечным сечением головы.

При погружении предварительно напряженных призматических свай ударным способом значительно чаще, чем при погружении ненапряженных имеют место случаи образования в головной части свай продольных трещин, которые в дальнейшем способствуют разрушению здесь бетона.

Кроме известных причин разрушения свай из обычного железобетона при их забивке разрушению бетона преднапряженных свай способствуют начальные сжимающие напряжения, возникающие при обжатии бетона растягиваемой арматурой при изготовлении свай.

При забивке преднапряженных свай динамические напряжения в бетоне головной части, составляющие около 70 % от общей величины, суммируются с напряжениями от обжатия бетона арматурой (около 30 %), в результате чего общие напряжения, как правило, достигают или даже превышают предельные величины и происходит разрушение бетона.

ПРИЛОЖЕНИЕ 42

ПНЕВМОИНЪЕКТОР И УСТРОЙСТВО ДЛЯ НЕПРЕРЫВНОЙ ВОЗДУХОПОДАЧИ (УНВ)

1. Пневмоинъектор (рис. 1) включает две трубы: наружную и внутреннюю, соединенные в нижней части наконечником, который имеет отверстие для выпуска воздуха и сопла для воды. В верхней части трубы гибкими шлангами соединяются соответственно с воздушным компрессором и водяным насосом.

Погружение свай-оболочек с применением пневмоинъектора производится следующим образом. На свае-оболочке устанавливается и закрепляется вибропогружатель с проходным отверстием. Пневмоинъектор, подвешенный стропом к крюку плавкрана, через отверстие в вибропогружателе заводится в полость сваи-оболочки.

При одновременной подаче воды и воздуха наконечник погружается в грунт. При погружении сваи-оболочки наконечник должен постоянно находиться выше на расстоянии, равном 2-2,5 диаметрам сваи-оболочки.

Для обеспечения необходимой несущей способности сваи-оболочки при работе на вертикальные нагрузки на последней стадии погружения, когда свая-оболочка еще не дошла до проектного положения на расстояние, равное ее 2 диаметрам, подача воды прекращается. Подача воздуха не прекращается до окончания погружения и извлечения пневмоинъектора из полости сваи-оболочки.

Определение условий необходимости применения пневмоинъектора и его параметров производится в соответствии с Руководством по обеспечению трещиностойкости железобетонных свай оболочек в период их погружения и эксплуатации.

2. Устройство непрерывной воздухоподачи (УНВ) (рис. 2) представляет собой систему воздухоподающих трубок, размещенных в стенках сваи-оболочки. На расстоянии 2,5D от ножа воздухоподводящая трубка изгибается и располагается параллельно спиральной арматуре на длину несколько больше 0,5 длины окружности.

Торец воздухоподводящей трубки заглушен деревянной пробкой, закрепленной проволочной скруткой. Для выпуска воздуха устраиваются клапаны, расположенные диаметрально противоположно по отношению к свае-оболочке. Клапан представляет собой следующее: в полиэтиленовой воздухоподводящей трубке прорезаются клиновидные щели не более чем 0,5 диаметра трубки. Затем трубки в этих местах обертываются резиновой манжетой так, чтобы нахлестка была с противоположной от отверстия стороны и закрепляются проволочными скрутками. Для выхода воздуха в манжете делаются прорези на половину диаметра.

При стыковании звеньев сваи-оболочки после сварки стыковых фланцев выводятся концы трубок длиной 150-200 мм, выходящие из одного и другого звена через круглые прорези в наружных кольцах стыкового фланца. Концы трубок соединяются по кратчайшему расстоянию отрезком трубы. На стыки надевают втулки из термоусаживающегося полиэтилена длиной 100 мм и нагревают. Места соединения трубок защищаются стальными накладками на сварке.

3. В процессе погружения свай-оболочек и проведения мероприятий, обеспечивающих их сохранность, следует организовать систематическое наблюдение за погружением с регистрацией всех условий и параметров погружения в соответствии с формой журнала (см. прил. 47, 48).

Рис. 1. Схема вибропогружения сваи-оболочки с применением пневмоинъектора

1 - крюк плавкрана; 2 - строп к крюку плавкрана; 3 - гибкий шланг к водяному насосу; 4 - гибкий шланг к воздушному компрессору; 5 - вибропогружатель; 6 - свая-оболочка; 7 - воздуховод; 8 - подписная труба; 9 - соединительный наконечник с соплами; 10 - отверстия для выхода воздуха; 11 - сопла для воды

Каждая погруженная свая-оболочка подлежит водолазному обследованию, которое оформляется актом с приложением к нему схемы сваи-оболочки, с нанесенными на ней обнаруженными повреждениями с указанием их расположения и размеров.

Примечание. Вопрос о замене или ремонте поврежденной сваи оболочки решается строительной организацией совместно с заказчиком или проектной организацией.

4. Температурные напряжения в зоне переменного уровня воды и надводной зоне свай-оболочек, являющиеся следствием климатических изменений температуры воздуха и воды, колебаний уровня воды, тепловыделения бетона, уложенного в полость свай-оболочек в узлах омоноличивания, и других температурных воздействий, могут быть причиной появления трещин. Способы и устройства, обеспечивающие трещиностойкость свай-оболочек в период их эксплуатации, назначаются в соответствии с табл. 1 на основании технико-экономического расчета с учетом конкретных гидрометеорологических условий эксплуатации сооружения.

Рис. 2. Схема вибропогружения сваи-оболочки с устройством воздухоподачи

1 - воздухопроводящая трубка; 2 - гибкий шланг к компрессору; 3 - вибропогружатель; 4 - гак плавкрана; 5 - свая-оболочка; 6 - коллектор с отверстиями для духа; 7 - муфта; 8 - трубка-вставка; 9 - заглушка; 10 - клапан; 11 - резиноманжет; 12 - отверстие; 13 - прорези; 14 - скрутки из вязальной проволоки

Таблица 1

Технические решения, направленные на обеспечение трещиностойкости свай-оболочек при эксплуатации сооружений

Условия службы сооружений

тяжелые

средние

легкие

Сваи-оболочки с верхним стальным звеном

+

×

×

Капители из монолитного железобетона

-

+

×

Теплоизоляционный экран

+

×

×

Контактная теплогидроизоляция

+

+

×

Амортизирующий слой в узлах омоноличивания

-

+

×

Рекомендации по конструкции и технологии выполнения омоноличивающих железобетонных пробок*

+

+

+

* Осуществляются для сооружений в тяжелых условиях службы в комплексе с рекомендуемыми конструкциями, решениями.

Примечание. Знак «+» означает рекомендуемую область применения решения; знак «-» - применять решение не рекомендуется; знак «×» рекомендуется применять решение, более экономичное в данных условиях.

5. В период эксплуатации сооружений на сваях-оболочках участки их в зоне переменного уровня воды и надводной зоне являются наиболее уязвимыми с точки зрения образования в них трещин. (Составлено по материалам ЛО Гипрорыбпрома).

Конструктивным мероприятием, исключающим образование трещин в сваях-оболочках, является замена железобетонного звена металлическим в зоне переменного уровня воды и надводной зоне.

В качестве верхнего звена комбинированной сваи-оболочки используют стальную трубу с толщиной стенки 10-12 мм и наружным диаметром, близким к наружному диаметру железобетонной сваи-оболочкиис. 3).

Длина стального звена определяется проектом при условии, что отметка низа его должна быть на 0,5-0,7 м ниже расчетного низкого уровня воды.

Примечание. В сложных геологических условиях основания, когда свая-оболочка нижним концом должна войти в плотные грунты, отметка кровли которых по площади не постоянная, следует длину стального звена увеличить для возможности компенсации разности в отметках кровли.

К торцу стальной трубы в месте стыковки с железобетонным звеном сваи-оболочки приваривается фланец.

Соединение стального звена сваи-оболочки с железобетонным производится перед погружением и осуществляется с помощью ручной электродуговой сварки фланцев электродами Э-42.

Рис. 3. Свая-оболочка со стальным верхним звеном, бетонируемым «насухо»

1 - песок заполнения; 2 - бетон; 3 - сборная капитель; 4 - верхнее строение; 5 - стальная труба; 6 - армированный каркас; 7 - свая-оболочка

После погружения комбинированной сваи-оболочки производится откачка воды и бетонирование полости. Укладка бетона с вибрированием производится на подвесной герметичный поддон.

Отметка низа бетонного заполнения должна быть на 0,5 м ниже отметки стыкового соединения стального и железобетонного звеньев.

Марка бетона заполнения определяется проектом.

Укладка бетона заполнения определяется проектом.

Укладка бетона в стальное звено должна осуществляться при положительной температуре. Замерзание бетона заполнения допускается по достижении им не менее 70 % проектной прочности.

При применении комбинированных свай-оболочек необходимо предусмотреть мероприятия по защите стальных звеньев от коррозии в соответствии с Руководством по антикоррозионной защите металлоконструкций морских гидротехнических сооружений лакокрасочными покрытиями (РМС 42-75, СМНИИП).

6. Для сооружений на сваях-оболочках в бассейнах, где агрессивность среды очень высока, могут быть использованы сваи-оболочки с монолитной капителью (рис. 4) (Составлено по материалам ЛО Фундаментпроекта).

Отметка низа монолитной капители должна быть на 0,7 м ниже расчетного низкого уровня воды.

Свая-оболочка заделывается в капитель на высоту, равную 0,5 диаметра сваи.

Для выполнения монолитной капители на погруженную сваю-оболочку устанавливают деревянную или железобетонную опалубку с герметичным уплотнением.

После откачки воды производят срубку голов свай-оболочек под одну отметку.

Производят установку арматурного каркаса с приваркой его стержней к арматуре сваи-оболочки и бетонирование «насухо» капители с вибрированием. Отметка низа бетонной пробки должна быть на 0,5 м ниже низа капители. Марка бетона капители определяется проектом.

Рис. 4. Свая-оболочка с монолитной железобетонной капителью

1 - армированный каркас; 2 - песок заполнения; 3 - верхнее строение; 4 - монолитная канитель; 5 - свая-оболочка

Замерзание бетона монолитной капители допускается по достижении им не менее 70 % проектной прочности.

7. В зависимости от типа гидротехнических сооружений теплоизоляция их в зоне переменного уровня воды осуществляется путем устройства теплоизоляционного экрана с одной или нескольких сторон сооружения на некотором расстоянии от свай-оболочек.

Теплоизоляция выполняется в виде монолитного экрана путем заливки в опалубку горячей битумно-минеральной смеси (БМС) или путем установки в опалубку готовых плит из битумно-минеральной смеси. В обоих случаях по окончании работ опалубка должна быть оставлена на месте в качестве поддерживающего устройства.

Конструкция и толщина защитного экрана находятся в зависимости от вида сооружения и агрессивности среды и указываются в проекте сооружения. Состав и технология приготовления битумно-минеральной смеси приведены в Указаниях по обеспечению долговечности бетонных и железобетонных конструкций морских гидротехнических сооружений (ВСН 6/118-74, Минтрансстрой, Минморфлот).

8. При контактной защите свай-оболочек должно быть обеспечено плотное примыкание теплогидроизоляции к поверхности свай-оболочек.

Теплогидроизоляционное контактное покрытие (пояс) должно состоять из слоя битумно-минеральной смеси (БМС), поддерживаемого в пределах защищаемого участка сваи-оболочки металлической или деревянной опалубкой. Конструкция и толщина защитного пояса находятся в зависимости от вида сооружения и агрессивности среды и указываются в проекте сооружения.

Рис. 5. Теплогидроизоляционная защита из битумно-минеральной смеси (БМС) железобетонных свай-оболочек

1 - стенка кожуха; 2 - БМС; 3 - свая-оболочка; 4 - стальной уголок; 5 - стяжные болты; 6 - верхнее строение; 7 - бетономоноличивание; 8 - железобетонный диск толщиной 6 см; 9 - ребро жесткости; 10 - фиксирующая планка; 11 - днище кожуха; 12 - подвеска кожуха диаметром 16 мм

Теплогидроизоляционная защита железобетонных свай-оболочек в металлической опалубке приведена на рис. 5. Металлический сварной кожух навешивают на оболочку за подвески при помощи подъемного крана. Эта конструкция предназначена для защиты железобетонных оболочек в процессе строительства сооружения как с заливкой битумно-минеральной смеси за металлическую опалубку на месте установки, так и готовыми кожухами, заполненными смесью на полигоне. Возможны варианты конструкции кожухов с одним продольным разъемом или вообще безразъемной (неразрезных). На рис. 5 приведена конструкция с одним разъемом.

Снаружи металлический кожух обязательно следует покрыть антикоррозионной краской.

В случае отсутствия листового металла возможно изготовление защиты в деревянной разъемной опалубке.

Состав и технология приготовления битумно-минеральной смеси приведены в Указаниях по обеспечению долговечности бетонных и железобетонных конструкций морских гидротехнических сооружений (ВСН 6/118-74, Минтрансстрой, Минморфлот).

9. Для предотвращения трещинообразования в надводной части свай-оболочек при их эксплуатации в районах со средними условиями службы рекомендуется для защиты отдельных свай-оболочек специальная конструкция узла омоноличивания с включением в него амортизирующего слоя. Он воспринимает опасные деформации бетонной пробки и сваи-оболочки во время температурных колебаний.

Амортизирующий слой располагается в кольцевой полости бетонного заполнения пробки и соприкасается с внутренней поверхностью оболочки в пределах наиболее опасной зоны (переменный уровень воды), опускаясь на 20 см ниже отметки уровня воды с обеспеченностью не менее 98 %.

Амортизирующий слой обладает большой пластичностью, поэтому горизонтальные усилия от ростверка на сваю передаются через специальную железобетонную пробку, имеющую форму «катушки», жестко связанную с оболочкой выше и ниже амортизирующего слоя. Величина армирования, размеры и марка бетона «катушки» задаются в проекте.

Амортизирующий слой изготовляется из материалов, обладающих, по сравнению с бетоном, повышенными деформативными способностями и коэффициентом температурного расширения. К таким материалам относятся: битумно-минеральная смесь, некоторые виды резины и пластмасс, другие термопластичные материалы.

В качестве проверенного в производственных условиях материала для амортизирующего слоя рекомендуется применять битумно-минеральные смеси (БМС) с легкими или искусственными заполнителями (шлак, керамзитовый гравий, шунгизит и др.) на нефтяном битуме в качестве вяжущего.

Амортизирующий слой образуется путем заливки горячей битумно-минеральной смеси в пространство между оболочкой и временной металлической опалубкой (кондуктором). После полного остывания смеси кондуктор удаляется, а амортизирующий слой, сохраняя цилиндрическую форму, остается на внутренней стороне сваи-оболочкиис. 6). Толщина амортизирующего слоя составляет в среднем 8 см.

Временная опалубка (кондуктор) изготовляется из стального листа толщиной 2-3 мм на сварке в виде жесткого полого усеченного конуса с конусностью книзу 1-1,3 %. Перед установкой в оболочку кондуктор необходимо обильно смазать техническим вазелином и обернуть слоем толя, рубероида или двумя слоями пергамина.

Конусность кондуктора и смазка его поверхности позволяет без особых усилий извлекать кондуктор из оболочки после остывания битумно-минеральной смеси.

Состав и технология приготовления битумно-минеральной смеси амортизирующего слоя приведены в Указаниях по обеспечению долговечности бетонных и железобетонных конструкций морских гидротехнических сооружений (ВСН 6/118-74, Минтрансстрой, Минморфлот).

Рис. 6. Схема устройства амортизирующего слоя на свае-оболочке

1 - сборная капитель; 2 - железобетонная пробка; 3 - свая-оболочка; 4 - амортизирующий слой

Изготовление узла омоноличивания, с включенным в него амортизирующим слоем, состоит из следующих последовательных операций:

установка арматурного каркаса до отметки, указанной в проекте;

бетонирование нижней части железобетонной пробки до отметки, указанной в проекте, в случае необходимости с предварительной откачкой воды из оболочки для обеспечения укладки бетона насухо;

смазка, обертывание толем или рубероидом кондуктора и установка его внутрь оболочки на сухое бетонное основание расширенной частью кверху с тщательным центрированием и закреплением деревянными клиньями;

приготовление и заливка битумно-минеральной смеси в зазор между оболочкой и кондуктором;

остывание смеси до температуры наружного воздуха и извлечение кондуктора при помощи подъемного крана;

окончательное бетонирование после извлечения кондуктора.

Для заливки горячей битумно-минеральной смеси следует использовать металлическую воронку, исключающую пролив смеси.

Попадание смеси на бетонную пробку вне амортизирующего слоя не допускается.

Изготовление амортизирующего слоя следует производить при положительной температуре воздуха. При этом не допускается попадание влаги внутрь оболочки и в битумно-минеральную смесь.

Изготовление амортизирующего слоя допускается на оболочках, погруженных до проектной отметки и с подготовленной для бетонирования головной частью.

10. Железобетонные омоноличивающие пробки в сваях-оболочках в зоне их заделки в верхнее строение рекомендуется устраивать с конической, пирамидальной или ступенчатой полостью внизу для обеспечения перехода от кольцевого к сплошному сечению на длине не менее 0,2 ее диаметра (Рекомендации составлены по материалам ЦНИИС).

Если омоноличивающая пробка в сваях-оболочках расположена в зоне переменного уровня воды (нижней границей зоны переменного уровня является нижняя поверхность льда при самом низком уровне воды в грунтовое ядро, оставляемое в полости свай-оболочек после погружения), то в каждой свае-оболочке в подводной зоне следует выполнить отверстие диаметром 10-15 см, а в узле омоноличивания - такого же диаметра канал, соединяющие полость свай-оболочек с внешней средой (водой или воздухом соответственно).

Отверстие может быть выполнено в стенке звена сваи-оболочки при его изготовлении и в стыке звеньев при стыковании. Необходимые конструктивные решения следует предусмотреть в проекте сооружения.

В случаях, когда соединение свай-оболочек с элементами верхнего строения осуществляется с использованием выпусков продольной арматуры, для образования которых требуется срубка бетона свай, в конструкции узла следует предусмотреть заделку верха свай в бетон омоноличивания.

Для срезки свай-оболочек под проектную отметку следует применять установку с алмазным режущим диском. Срубка свай-оболочек отбойными молотками допускается с обязательной постановкой наружных стальных бандажей.

Примечание. Если в полости верхних звеньев свай-оболочек имеются наплывы - сегменты шлама, образовавшиеся после центрифугирования, то их следует удалить до стыкования звеньев.

Для укладки в полость свай оболочек следует применять гидротехнический бетон согласно ГОСТ 4795-68, Указаниям по обеспечению долговечности бетонных и железобетонных конструкций морских гидротехнических сооружений (ВСН 6/118-74, Минморфлот, Минтрансстрой) и настоящему Пособию.

Проектная марка бетона омоноличивания должна быть равна или на одну ступень ниже марки бетона сваи-оболочки.

Однородность бетона определяется согласно ГОСТ 18105.2-80 по результатам испытаний контрольных образцов, отобранных на месте укладки и хранившихся в условиях, аналогичных условиям твердения бетона в конструкции. Значение общего коэффициента вариации прочности бетона не должно превышать 20 %.

Материалы для бетона должны удовлетворять ГОСТ 10268-80, СНиП III-15-76, Указаниям по обеспечению долговечности сооружений (ВСН 6/118-74, Минморфлот, Минтрансстрой) и Руководству по обеспечению трещиностойкости железобетонных свай-оболочек в период их погружения и эксплуатации.

Для приготовления бетона следует применять портландцемент по ГОСТ 10178-76 или сульфатостойкий портландцемент по ГОСТ 22266-76. Применение быстротвердеющего портландцемента не допускается.

Тепловыделение цемента должно быть не выше нормируемого.

Следует принимать минимально возможный расход цемента. Для бетона рекомендуется применять щебень той же горной породы, что и щебень, использованный при изготовлении звеньев свай-оболочек, или щебень соответствующих физико-механических характеристик.

Работы по подаче бетонной смеси в полость свай-оболочек, ее укладке и уплотнению следует осуществлять в соответствии со СНиП III-15-76 и настоящим Пособием.

В зоне переменного уровня и надводной зоне свай-оболочек должна быть гарантирована укладка бетона заполнения «насухо». Перед укладкой бетона воду из полости свай-оболочек следует удалить до отметки, обеспечивающей выполнение этого требования. При наличии значительной фильтрации воды следует предварительно уложить на указанной отметке подводную бетонную пробку-тампон.

В случаях, когда полость свай-оболочек в подводной зоне заполняется бетоном одним из методов подводного бетонирования (ВПТ, БР), подводную укладку бетона следует прекратить на нижней границе зоны переменного уровня. Дальнейшее заполнение полости может быть продолжено только насухо.

При производстве работ в зимних условиях бетон, уложенный в полость свай-оболочек, следует выдержать при положительной температуре по способу термоса или в тепляках до приобретения им не менее 70 % проектной прочности.

Установку теплоизоляции или устройство тепляков следует осуществлять при среднесуточной температуре воздуха ниже 5 °С. Эти работы должны быть выполнены до начала укладки бетона.

В случае выдерживания бетона по способу термоса его укладку допускается производить при среднесуточной температуре воздуха не ниже минус 10 °С. При среднесуточной температуре воздуха от 0 до минус 10 °С требуется прогрев полости свай-оболочек перед укладкой бетона. Прогрев следует производить теплым воздухом, температура которого не превышает 10 °С. Прогрев оболочек паром не допускается.

Для заблаговременной оценки внешних температурных условий производства работ следует использовать метеорологический прогноз и данные многолетних наблюдений гидрометеослужбы.

После погружения, но до начала работ по омоноличиванию свай-оболочек с верхним строением, следует произвести их осмотр. Данные о состоянии свай-оболочек после погружения заносятся в сводную ведомость погружения свай оболочек.

Контроль качества бетона, укладываемого в полость свай-оболочек, осуществляется по СНиП III-15-76. Условия производства работ и результаты контроля заносятся в журналы и отражаются в актах на приемку скрытых работ.

ПРИЛОЖЕНИЕ 43

ОТКЛОНЕНИЯ ШПУНТА И СПОСОБЫ ИХ УСТРАНЕНИЯ

При погружении шпунта могут наблюдаться следующие отклонения от проектного положения:

а) отклонение шпунта от вертикали в плоскости створа (веерность);

б) отклонение шпунта от вертикали в направлении, перпендикулярном створу (уход из створа);

в) погружение шпунтины ниже проектной отметки вследствие увода ее смежной погружаемой шпунтиной;

г) недопогружение шпунтины до проектной отметки из-за отдельных препятствий, встречаемых шпунтиной в грунте, или чрезмерного трения в замках.

Отклонение шпунта от вертикали в плоскости створа (веерность) с наклоном вперед в сторону направления забивки стенки обычно происходит при забивке каждой шпунтины (или пакета) сразу на полную глубину и обусловлено действием на погружаемую шпунтину неуравновешенного момента от дополнительных сил трения в смежном замке, вызывающего увеличение и уменьшение зазоров соответственно в верхней и нижней частях замка по высоте стенки. Веерность возрастает по мере забивки последующих шпунтин (пакетов).

Для предотвращения веерности погружающий снаряд (молот, вибропогружатель) рекомендуется устанавливать со сдвижкой от центра тяжести погружаемой шпунтины (или пакета в сторону, противоположную отклонению на величину, равную примерно 10-20 % от ширины шпунтины или пакета).

Необходимая величина смещения оси погружающего снаряда уточняется опытным путем.

Постепенное устранение веерности при небольших отклонениях достигается оттяжкой шпунтин в процессе погружения в направлении, противоположном отклонению, а при отклонении, превышающем допуски, и невозможности его выправления оттяжкой - погружением клиновидных шпунтин. Клинообразность или перекос (отношение разности ширимы клиновидной шпунтины поверху и понизу к ее длине) не должно превышать 0,5 %.

Отклонение шпунта от створа (уход из створа) обычно обусловливается следующими причинами: недостаточным надзором за вертикальным положением шпунта и его начальной стадии погружения, когда он имеет наибольшую свободную длину; недостаточной жесткостью направляющих устройств; появлением горизонтальной составляющей усилия, действующего на верхний конец шпунта со стороны несущего троса крана, поддерживающего через амортизатор вибропогружатель или подвесную направляющую молота при отклонении троса от вертикали наличием в грунте каких-либо препятствий.

Выправка наметившегося наклона шпунтовой стенки, если он не превышает допустимой величины, выполняется постепенно при погружении последующих шпунтин посредством отклонения в противоположную сторону несущего троса крана, поддерживающего вибропогружатель или подвесную направляющую молота, или усилием специальных оттяжек.

Если наклон шпунта превышает допустимый, его следует выдернуть и погрузить вновь. При невозможности извлечения шпунта вопрос о его выправлении решается по согласованию с проектной организацией.

Уход ранее погруженной шпунтины ниже проектной отметки при погружении соседней шпунтины объясняется чрезмерным сопротивлением в смежном замке. Для предотвращения этого явления шпунтины, погруженные до проектных отметок, следует объединять между собой с помощью сварки или временными накладками на болтах.

Уход шпунтины ниже проектной отметки исправляется ее наращиванием отрезком шпунта с соединением с помощью сварки с накладками.

Недопогружение шпунта до проектной отметки, вызванное возрастанием сопротивления в замке, рекомендуется устранять путем одно-, двухрядного подъема шпунтины на 0,5-0,8 м и последующего ее нового погружения. Если недопогружение вызвано встречей с препятствием, что характеризуется резким замедлением процесса погружения, следует прекратить погружение данной шпунтины и перейти к погружению соседних шпунтин, характер погружения которых может позволить установить причину и степень случайности данного явления. В случае, если погружение последующей шпунтины не встретило затруднений, следует вернуться к остановившейся шпунтине и попытаться допогрузить ее по двум соседним направляющим шпунтинам.

Если недопогружение шпунта устранить не удалось, вопрос о дальнейших мероприятиях решается совместно с проектной организацией.

При погружении железобетонного шпунта необходимо принимать меры, исключающие отклонение шпунта в плоскости стенки (веерные), и в плане.

В качестве одного из мероприятий, устраняющих эти отклонения, является погружение железобетонного шпунта ударным или вибрационным способом с использованием прижимной тележки (см. рисунок).

Работа с тележкой производится следующим образом:

а) погружение шпунтин производится гребнем и скосом (в нижнем торце) вперед;

б) перед заведением сверху в направляющие очередной шпунтины прижимной трос ослабляется, а тележка откатывается на длину, несколько большую ширины шпунтины;

в) после заведения шпунтины в направляющие она на весу прижимается тележкой к предыдущей шпунтине и в таком положении опускается нижним торцом на грунт. Этим исключается возможность заклинивания грунта между погружаемой шпунтиной и предыдущей;

г) производится погружение установленной шпунтины, причем сила натяжения прижимного троса регулируется в зависимости от хода погружения (излишне сильное прижатие увеличивает сопротивление трения и замедляет погружение).

Погружение железобетонного шпунта с использованием прижимной тележки

1 - прижимная тележка; 2 - погружаемая шпунтина; 3 - маячные сваи; 4 - направляющие; 5 - сжимы

ПРИЛОЖЕНИЕ 44

Наименование строительной организации _____________________________________

Объект ___________________________________________________________________

ЖУРНАЛ ЗАБИВКИ СВАЙ

(с №______ по №_____)

Начало __________________________ Окончание _______________________________

Система копра (или направляющего оборудования) ______________________________

Тип молота ________________________________________________________________

Масса ударной части молота _______________________________________________ кг

Давление ______________________________________________________________ МПа

Тип и масса наголовника __________________________________________________ кг

Свая №_______________ (по плану свайного поля)

Дата забивки ______________________________________________________________

Марка сваи ________________________________________________________________

Абсолютная отметка поверхности грунта у сваи _________________________________

Абсолютная отметка нижнего конца сваи ______________________________________

Проектный отказ, см _________________________ при высоте падения ударной части, см ________________________________________________________________________

№ залога

Высота подъема ударной части молота, см

Число ударов в залоге

Глубина погружения сваи от залога, см

Отказ от одного удара, см

Примечание

Исполнитель _______________________           Подпись __________________________

(Ф. И. О.)

ПРИЛОЖЕНИЕ 45

Наименование строительной организации ______________________________________

Объект ____________________________________________________________________

СВОДНАЯ ВЕДОМОСТЬ ЗАБИТЫХ СВАЙ

(с № 1 по №__________)

Начало __________________________ Окончание _______________________________

№ п.п.

№ свай

Тип сваи

Дата

Глубина забивки свай, см

Тип молота

Общее количество ударов

Отказ от одного удара, см

Примечание

по плану свайного поля

смена

по проекту

фактическая

при забивке

при добавке

Исполнитель _______________________           Подпись ___________________________

(Ф. И. О.)

Приложение. Исполнительная схема расположения свай с указанием их отклонений в плане и по высоте.

ПРИЛОЖЕНИЕ 46

Наименование строительной организации _______________________________________

Объект ____________________________________________________________________

ЖУРНАЛ ПОГРУЖЕНИЯ ШПУНТА

(с №________ по №________)

Начало __________________________ Окончание ________________________________

Система копра (или крана и направляющего оборудования) ________________________

Тип молота (вибропогружателя) _______________________________________________

Масса ударной части молота __________________________________________________

Тип и масса наголовника _____________________________________________________

Материал и сортамент шпунта ________________________________________________

Длина шпунта ______________________________________________________________

Абсолютная отметка поверхности грунта _______________________________________

Абсолютная отметка уровня грунтовых вод _____________________________________

№ п.п.

№ шпунтин по плану

Дата, смена

Абсолютная отметка верха шпунта

Абсолютная отметка низа шпунта

Величина срезки (или наращивания) шпунтины, м

Глубина погружения шпунта (от проектного обреза)

Исполнитель (Ф. И. О.), (подпись)

Примечание

по проекту

фактическая

по проекту

фактическая


ПРИЛОЖЕНИЕ 47

Наименование строительной организации ________________                  Объект ____________________________________________________

ЖУРНАЛ ВИБРОПОГРУЖЕНИЯ СВАЙ ИЛИ СВАЙ-ОБОЛОЧЕК

(с №________ по №________)

Начало ______________________________________________                  Окончание _____________________________________________

Тип вибропогружателя_________________________________                  Тип и масса наголовника __________________________________

Свая-оболочка или свая № ___________

Наружный диаметр ________________________________________

Толщина стенки __________________________________________

Длина ___________________________________________________

Количество и длина каждой секции

шт. ___________________________________________________ м

Тип стыка секций _________________________________________

Способ извлечения грунта из полости сваи или сваи-оболочки _________________________________________________________

Абсолютная отметка поверхности грунта у сваи или сваи-оболочки (или отметка дна акватории) _______________________________

Абсолютная отметка низа оболочки:

проектная ______________________________________________

фактическая ____________________________________________

Высота грунтовой пробки в оболочке ________________________

Способ защиты от гидравлического удара ____________________

Скорость погружения при последнем залоге

Даты: начало погружения __________________________________

окончание погружения ______________________________________

Данные о работе вибропогружателя

Дата, смена

залога

Продолжительность залога, мин

Погружение от залога, см

Отдых после очередного зало га, мин

Вынуждающая сила, т

Частота вращения дебалансов, об/мин

Напряжение, В

Сила тока, А

Показание счетчика, кВт·ч

Амплитуда колебания сваи-оболочки (сваи), см

Абсолютная отметка нижнего конца сваи-оболочки (сваи) после залога, см

Отметка грунта в полости сваи-оболочки

Примечание

в начале залога

в конце залога

до удаления

после удаления

Исполнитель ________________________________________                    Подпись _________________________________________________

(Ф. И. О.)

ПРИЛОЖЕНИЕ 48

Наименование строительной организации ________________________________________________________________________________

Объект ______________________________________________________________________________________________________________

СВОДНАЯ ВЕДОМОСТЬ ПОГРУЖЕННЫХ ВИБРИРОВАНИЕМ СВАЙ ИЛИ СВАЙ-ОБОЛОЧЕК

(с №________ по ________)

Начало ______________________________________________                  Окончание _________________________________________________

п.п.

Дата погружения

по плану

Толщина стенки, мм

Наружный диаметр, мм

Длина, м

Тип вибропогружателя

Возмущающая сила вибропогружателя, т

Потребляемая мощность, кВт

Скорость погружения, м/мин

Амплитуда колебания сваи-оболочки, см

Высота грунтового ядра в свае-оболочке в конце погружения, м

Частота вращения дебалансов, об/мин

Примечание

по проекту

фактическая

Исполнитель ________________________________________                    Подпись _________________________________________________

(Ф. И. О.)

Приложение. Исполнительная схема расположения свайболочек (свай) с указанием их отклонений в плане и по высоте.


ПРИЛОЖЕНИЕ 49

АКТ ДИНАМИЧЕСКОГО ИСПЫТАНИЯ ПРОБНОЙ СВАИ

Дата составления акта _____________________________________________________

Наименование и местонахождение строительства ______________________________

Наименование строительной организации ____________________________________

1. Условия погружения пробной сваи

/Деревянная, железобетонная (ненужное зачеркнуть)/

Свая №________________________ Изготовление _____________________ 198___ г

сечением (диаметром) _________________ см, длиной _______________________ м,

массой __________________________ кг, была погружена ______________ 198___ г.

Забивка произведена около геологической скважины

(шурфа) №_________________ в пункте с координатами ________________________

молот (вибропогружатель) массой ударной части ____________________________ т,

высотой падения (ходом поршня) ________________________________________ см,

частотой ударов (для молота двойного действия) __________________________ мин

при давлении пара (воздуха) в цилиндре _________________________________ МПа

Материал и толщина прокладок в наголовнике ________________________________

_______________________ с башмаком или без башмака _______________________

(ненужное зачеркнуть)

Особенности погружения (подмыва, лидер, и др.) ______________________________

Свая погружена на _____ м от дна котлована до отметки

Конечный отказ сваи и упругие перемещения грунта и сваи (замеряются по диаграмме отказа).

Отказ сваи и упругие перемещения грунта и сваи при забивке (в см)

удара

Отказ

Упругие перемещения грунта и сваи

1

 

 

2

 

 

3

 

 

2. Условия и результаты добивки

Контрольная добивка произведена _____________________________ 198____ г., т.е.

через ________ дней (часов) после забивки.

Добивка производилась молотом типа _______________________________________,

массой ______________ т с высотой падения ______________________________ см,

с наголовником __________________________________________________________

(описание наголовника, пробки и прокладки)

Отказ и упругие перемещения грунта и сваи от трех ударов при контрольной добивке (замеряется по диаграмме отказа).

Отказ сваи и упругие перемещения грунта и сваи при контрольной добивке (в см).

№ удара

Отказ

Упругие перемещения грунта и сваи

1

 

 

2

 

 

3

 

 

Во время забивки и добивки сваи имели место следующие явления:

_________________________________________________________________________

(описание явлений, наблюдений при испытании)

_________________________________________________________________________

3. Приложения

Журнал забивки свай.

Диаграмма отказов и упругих перемещений грунта и сваи, записанные при забивке и добивке.

Подписи:

ПРИЛОЖЕНИЕ 50

ПРИМЕРЫ ОПРЕДЕЛЕНИЯ НЕСУЩЕЙ СПОСОБНОСТИ СВАЙ И СВАЙ-ОБОЛОЧЕК, ПОГРУЖАЕМЫХ С ПОМОЩЬЮ ВИБРОПОГРУЖАТЕЛЕЙ

Пример 1. Железобетонная свая с поперечным сечением 30 × 30 см, длиной 8,4 м, погружавшаяся на последнем залоге вибропогружателем ВП-1 (С-1003) со скоростью 2,3 см/мин и амплитудой 1 см, достигла глубины 7,3 м. При этом сила тока составляла 125, напряжение 380 В. Определить достигнутую несущую способность этой сваи, если до глубины 4 м залегает тугопластичный суглинок с консистенцией Il = 0,4, а далее среднезернистый влажный песок. Номинальная мощность вибропогружателя 60 кВт, масса с наголовником 50 кН, n = 420 об/мин.

1. Определяем потребляемую из сети мощность Nп Nп = 0,00173 × IV cos φ = 0,00173 · 125 · 380 · 0,7 = 57,5 кВт.

2. Определяем мощность Nвп, расходуемую на движение вибросистемы

Nвп = Nпη - Nx · 0,25 = 57,5 · 0,9 - 60 · 0,25 = 36,7 кВт.

3. Коэффициент Кб определяем как средневзвешенный для двух слоев грунта по п. 8.23.

Кб =б1h1 + Кб2h2) / (h1 + h2).

Для суглинка Кб1 = 3,9.

Для песка Кб2 = 4,9.

Кб = (3,9 · 4 + 4,9 · 3,3) / 7,3 = 4,35.

4. Коэффициент Мб определяем в соответствии с п. 38 и табл. 55 по формуле

Мб = (Мб1h1 + Мб2h2) / (h1 + h2) = (0,7 · 4 + 1 · 3,3) / 7,3 = 0,84.

5. Коэффициент Мп находим по формуле в соответствии с п. 8.38 и табл. 56.

Мл = 1,2.

6. Массу вибросистемы Qв вычисляем по формуле

Qв = (Qвп + Qнвп) + Qсв = 50 + 20 = 70 кН.

7. По формуле (25) находим достигнутую несущую способность сваи

Ф = (1 / Кп) (1500 КбМбNвп / Апв + 3,8МлQв) = (1 / 1,4) (1500 · 4,35 · 0,84 · 36,7 / (1 · 420) + 3,8 · 1,2 · 70) = 570 кН.

Пример 2. Железобетонная свая-оболочка диаметром 1,6 м погружалась в однородный водонасыщенный среднезернистый песок на последнем залоге со скоростью 3 см/мин с помощью вибропогружателя ВПМ-170 на первой ступени скорости. При этом напряжение сети было 370 В, сила тока 480 А, амплитуда колебаний 0,4 см. Расчетная несущая способность сваи-оболочки Фр = 5600 кН, масса вибросистемы 60000 кг. Можно ли прекратить погружение сваи-оболочки?

Для ответа на этот вопрос можно непосредственно определить достигнутую несущую способность сваи-оболочки по формуле (25) и сравнить с расчетной.

Можно пойти иным путем, сравнив амплитуду с се расчетным значением по формуле (27):

Ар = 1500 Кб Мб Nвn / (КрФР - 3,8МлQ)nв.

1. Для водонасыщенного среднего песка по п. 8.23

Кб = 4,9 · 1,3 = 6,37.

2. Мб = 1 (см. табл. 59 и п. 8.38).

3. Мощность Nвп определяется формулой

Nвн = Nсη - Nx

Nп = 0,00173 · 480 · 370 · 0,7 = 215 кВт;

Nх для ВП-170 с номинальной мощностью Nн = 200 кВт составит

Nх = 0,25 · 200 = 50 кВт;

Nвп = 215 · 0,9 - 50 = 143,5 кВт.

4. Коэффициент Мл, определяемый по табл. 56, равен 1,2.

5. Согласно прил. 39 на первой скорости ВПМ = 170 nв = 475 об/мин.

6. Расчетная амплитуда Ар в данном случае равна

Ар = 1500 · 6,37 · 1 · 143,5 / (1,4 · 5600 - 3,8 · 1,2 · 588) 475 = 0,56 см.

Поскольку фактическая амплитуда на 0,4 см меньше расчетной, погружение можно прекратить, так как несущая способность оболочки уже выше расчетной.

ПРИЛОЖЕНИЕ 51

ТИПОРАЗМЕРЫ БУРОНАБИВНЫХ СВАЙ ДЛЯ ЖИЛИЩНО-ГРАЖДАНСКОГО И ПРОМЫШЛЕННОГО СТРОИТЕЛЬСТВА

Таблица 1

Тип свай

Способы изготовления буронабивных свай

Диаметры, мм

Марка бетона

Длина сваи L, м

Оборудование

ствола d

уширителя D

BCCd/D-L

Установкой вращательного бурения в устойчивых грунтах без закрепления стенок скважин

500

1200

200-300

10-30

Станки СО-2, СО-1200, УГБХ-150, НБО-1

500

1400

200-300

500

1600

200-300

600

1600

200-300

800

1800

200-300

1000

-

200

1200

-

200

БCBгd/D-L

Установкой вращательного бурения в неустойчивых грунтах с закреплением стенок скважин глинистым раствором

600

1600

200-300

10-30

-

BCB0d/D-L

Установкой вращательного и ударно-канатного бурения в неустойчивых грунтах с закреплением стенок скважины трубами, оставляемыми в грунте

600

1600

200-300

10-30

Станки УРБ-ЗАМ, УКС

800

1800

200-300

BCИd-L

Установкой СП-45 и станками зарубежных фирм с извлекаемыми инвентарными обсадными трубами

800

-

200

10-50

Установки СП-45 и станки зарубежных фирм

980

-

200

1080

-

200

1180

-

200

BCCмd-L

Станками вращательного бурения без закрепления стенок скважин для малонагруженных сельскохозяйственных и других зданий в сухих устойчивых грунтах

500

-

200

3-10

Ямобуры при сваях длиной до 4 м

400

-

200

Примечания: 1. В обозначениях типов свай буквы означают: ВС - буронабивная свая; С - изготавливаемая в устойчивых глинистых грунтах (сухих); Вг - изготавливаемая в неустойчивых грунтах (водонасыщенных с закреплением стенок скважины глинистым раствором); В0 - изготавливаемые в неустойчивых грунтах (водонасыщенных с закреплением стенок скважины трубами, оставляемыми в грунте); И - изготавливаемые станками иностранных фирм с инвентарными трубами; См - изготавливаемые в устойчивых глинистых грунтах (сухих) для малонагруженных зданий и сооружений. Например: свая БСВг-600/1600-12 - буронабивная свая диаметром 600 мм с уширением 1600 мм, длиной 12 м, изготавливаемая в неустойчивых грунтах с закреплением стенок скважин глинистым раствором.

2. К устойчивым глинистым грунтам отнесены грунты, при которых стенки скважин не требуют закрепления (глинистые грунты твердые, полутвердые, тугопластичные с показателем консистенции I = 0,3), и просадочные грунты. К неустойчивым грунтам отнесены грунты, при которых стенки скважин закрепляют в процессе бурения (глинистые грунты мягкопластичной, текучепластичной, текучей консистенции, пески).

3. В таблице указаны наиболее употребительные длины свай.

4. Диаметры стволов свай БСИ приняты в соответствии с имеющимся в наличии в СССР оборудованием.


Таблица 2

Условия применения

Область применения

Рекомендуемые длины свай, м, при следующих типах по номенклатуре

Примечание

БСС

БСВг

БСВ0

ВСИ

ВССм

500/1200

500/1400

500/1600

600/1600

800/1800

1000

1200

600/1600

600/1600

800/1800

880

980

1080

1180

400

500

-

Во всех случаях, когда имеются преимущества перед другими видами фундаментов по технико-экономическим показателям

Выбор типа свай производится в соответствии с данной таблицей и таблицей по номенклатуре свай

По нагрузкам

При действии на сваю больших горизонтальных, в том числе сейсмических, нагрузок (более 5 т)

10

30

10

30

10

30

10

30

10

30

10

30

10

30

-

-

10

30

20

50

20

50

20

50

20

50

-

-

-

При строительстве на оползневых склонах

-

-

-

-

-

10

30

10

30

10

20*

10

30*

10

30*

10

30**

10

30**

10

30**

10

30**

10

-

-

-

Для фундаментов под оборудование и малонагруженные конструкции

-

-

-

-

-

-

-

-

-

До 20

До 20

 

До 20

До 20

3

10

3

10

-

По производству работ

При отсутствии базы стройиндустрии для изготовления забивных свай и оборудования по их погружению на стесненных площадках, где сложно с транспортировкой и установкой забивных свай

Выбор типа свай производится в соответствии с данной таблицей и по номенклатуре свай

-

При производстве работ вблизи зданий и сооружений, где при забивке свай могут возникнуть недопустимые деформации, не допускается шум или вибрация в ближайших зданиях (больницы и др.)

10

30

10

30

10

30

10

30

10

30

10

30

10

30

10

30

10

30

10

30

10

50

10

50

10

50

10

50

-

-

Использование ударно-канатных станков

-

При необходимости усиления фундаментов существующих зданий

-

-

-

-

-

-

-

-

До 15

До 15

-

-

-

-

-

-

-

-

В пределах контура строящегося здания или сооружения кровли несущего слоя имеет значительные перепады (более 2 м на расстоянии 10 м)

Выбор типа свай производится в соответствии с данной таблицей и по номенклатуре свай

По грунтам

При опирании на грунты твердой, полутвердой и тугопластичной консистенции; на скальные и полускальные грунты.

При прорезании:

 

 

 

 

 

 

 

 

 

 

 

 

 

 

 

 

 

 

слоя насыпи с твердыми включениями

-

-

-

-

-

-

-

-

До 30

До 30

20

50

20

50

20

50

20

50

-

-

При обосновании технико-экономическими сравнениями с другими вариантами

 

слоя просадочных грунтов мощностью более 10 м

12

30

12

30

12

30

12

30

12

30

12

30

12

30

12

30

 

 

 

 

 

 

 

 

 

слоя грунтов мягкопластичной и текучепластичной консистенции мощностью более 10 м

-

-

-

-

-

-

-

12

30

12

30**

20

30**

20

30

20

50

20

50

20

50

-

-

 

то же, с прослойками и супесями

-

-

-

-

-

-

-

-

10

30

10

30

20

50

20

50

20

50

20

50

-

-

 

слоя набухающих грунтов

10

30

10

30

10

30

10

30

10

30

-

-

-

-

-

-

-

-

-

-

-

* Применяются без уширений.

** Применяется вращательный способ бурения.


ПРИЛОЖЕНИЕ 52

ПРИМЕРЫ ТЕХНОЛОГИЧЕСКОЙ ПОСЛЕДОВАТЕЛЬНОСТИ ИЗГОТОВЛЕНИЯ БУРОНАБИВНЫХ СВАЙ И РЕКОМЕНДАЦИИ ПО ЭЛЕМЕНТАМ ТЕХНОЛОГИИ ИХ ИЗГОТОВЛЕНИЯ

1. Устройство скважин установками вращательного бурения с применением ковшового бура или шнека (рис. 1 и 2). Устройство скважин состоит из двух основных этапов: I этап - бурение скважины; II этап - разбуривание уширений. Бурение скважины ковшовым буром (рис. 1, 2) состоит из следующих операций:

1) установка направляющего кондуктора;

2) установка станка на точку;

3) бурение скважины роторным ковшом до наполнения его выбуренной породой;

4) подъем роторного ковша;

5) очистка роторного ковша от выбуренной породы;

6) опускание роторного ковша в скважину. Далее повторение операций 3-6;

7) зачистка забоя скважины ножом роторного ковша.

Разбуривание уширения скважины, пробуренной ковшовым (см. рис. 1) буром, состоит из следующих операций:

1) монтаж бурового уширителя;

2) опускание бурового уширителя в скважину;

3) разбуривание уширения;

4) подъем бурового уширителя;

5) очистка приемной бадьи бурового уширителя от выбуренной породы. Далее повторение операций 2-3 до получения проектных размеров уширения;

6) проверка размеров уширений по тарировочным отметкам на штанге;

7) подготовка забоя скважины к бетонированию;

8) проверка готовой скважины электролампой;

9) уборка и отвозка от скважины выбуренной породы.

Бурение скважины шнеком (см. рис. 2) состоит из следующих операций:

1) установка кондуктора;

2) установка станка на точку;

3) бурение скважины шнеком;

4) подъем шнека;

5) очистка шнека от выбуренной породы с помощью шнекоочистителя;

6) опускание шнека в скважину. Далее повторение операций 2-5 до достижения забоем скважины проектной отметки;

7) демонтаж шнека.

Рис. 1. Бурение скважины шнеком

1 - буровой станок; 2 - кондуктор; 3 - опалубка головы сваи; 4 - ковшовый бур; 5 - привод ротора; 6 - штанги; 7 - буровой уширитель; 8 - электролампа для осмотра скважины

Рис. 2. Разбуривание уширения скважины

1 - буровой станок; 2 - шнек; 3 - штанги; 4 - буровой уширитель; 5 - обсадной кондуктор; 6 - электролампа для осмотра скважины

Разбуривание уширения скважины, пробуренной шнеком (см. рис. 2) состоит из следующих операций:

1) монтаж бурового уширителя;

2) опускание бурового уширителя в скважину;

3) разбуривание уширения;

4) подъем бурового уширителя;

5) очистка приемной бадьи бурового уширителя от выбуренной породы. Далее повторение операций 1-3 до получения проектных размеров уширения;

6) проверка размеров бурового уширения по отметкам тарировочной штанги, фиксирующим раскрытие лопастей уширителя;

7) зачистка забоя скважины ножом приемной бадьи уширителя или другим методом;

8) контроль уширения по величине погружения штанги и приемника скважины;

9) уборка выбуренной породы от скважины;

10) погрузка выбуренной породы и отвозка автосамосвалами.

2. Устройство скважин станком ударно-канатного бурения (рис. 3) с одновременной обсадкой труб. Бурение скважины с одновременной обсадкой труб состоит из следующих операций:

1) установка кондуктора;

2) установка станка на точку;

3) разрыхление верхнего слоя грунта и его извлечение (начало бурения скважины);

4) установка обсадной трубы;

5) забивка обсадной трубы;

6) разрыхление грунта внутри обсадочной трубы;

7) извлечение грунта из внутренней полости трубы желонкой;

8) забивка обсадной трубы до уровня верха кондуктора;

9) монтаж следующего звена обсадной трубы на торце звена, погруженного в скважину;

10) сварка обсадных труб. Далее повторение операций 6-10 до достижения проектной отметки;

11) подготовка забоя скважины к бетонированию.

3. Устройство скважин буровыми станками типа УРБ-ЗАМ под глинистым раствором (рис. 4). Устройство скважин состоит из двух основных этапов: I этап - бурение скважины; II этап - разбуривание уширения.

Бурение скважин состоит из следующих операций:

1) установка станка на точку;

2) монтаж бурового снаряда (шарошечное долото);

3) монтаж системы, подающей глинистый раствор;

4) разбуривание скважины до проектной отметки с непрерывной подачей глинистого раствора;

5) подъем бурового наконечника (шарошечное долото);

6) демонтаж бурового наконечника.

Рис. 3. Устройство скважин станком ударно-канатного бурения

1 - буровая установка; 2 - кондуктор; 3 - долото; 4 - обсадные трубы; 5 - штанга для желонки; 6 - желонка; 7 - штанга для долота

Рис. 4. Устройство скважины буровым станком под глинистым раствором

1 - буровой станок типа УРБ-ЗАМ; 2 - шланг, подающий глинистый раствор; 3 - буровые штанги; 4 - направляющий кондуктор; 5 - шарошечное долото; 6 - буровой уширитель (для скважин с глинистым раствором)

Рис. 5. Устройство скважин буровыми станками типа СП-45

1 - станок типа супер EDF («Беното»); 2 - обсадные трубы; 3 - ковшевой бур; 4 - телескопические штанги

Разбуривание уширения скважины состоит из следующих операций:

1) монтаж бурового уширителя;

2) опускание бурового уширителя на забой скважины;

3) разбуривание уширения до проектных размеров с непрерывной подачей глинистого раствора;

4) контроль размеров бурового уширения по величине погружения штанги;

5) уплотнение забоя скважины;

6) контроль и приемка скважины;

7) отклонение системы, подающей глинистый раствор.

Рис. 6. Рекомендуемые мероприятия по предупреждению искривлений скважин

1 - бурение скважины и обсадка трубами до вскрытия препятствия в виде камня или плотного включения; 2 - подъем бурового инструмента (погружение в скважину трубок для подачи воды и промывка грунта в забое скважины); 3 - заполнение нижней части трубы цементом или тощим бетоном; 4 - опускание бурового инструмента и разбуривание скважины

Рис. 7. Рекомендуемые схемы взаимного расположения забоя и режущего наконечника

1 - обсадная труба

Рис. 8. Бетонирование скважин для свай методом ВПТ

а - установка ВПТ; б - бетонирование скважин; в - оформление головы сваи; 1 - кондуктор (направляющий патрубок); 2 - опорный патрубок для установки ВПТ; 3 - вибробункер с бетонолитной трубой; 4 - бетонолитная труба меньшего диаметра; 5 - автобетономешалка; 6 - разъемная опалубка для головы сваи; 7 - бадья для бетона; 8 - теряемый клапан

4. Устройство скважин буровыми станками типа СП-45, «Супер-ЕДФ», 20-ТН (рис. 5). Бурение скважин с лидирующим бурением и последующей обсадкой состоит из следующих операций:

1) установка станка на точку;

2) монтаж ротора;

3) опускание ротора на точку;

4) бурение ротором;

5) подъем ротора;

6) разгрузка грунта из ротора в автосамосвал;

7) опускание ротора в скважину. Далее повторяются операции 4-6 до отметки, соответствующей погружению второго звена обсадной трубы;

8) отведение ротора в сторону;

9) монтаж первого звена обсадной трубы;

10) вдавливание первого звена до уровня стола станка;

11) подъем ротора в исходное положение перед началом бурения;

12) опускание ротора в скважину. Далее повторение операций от 4-6 до отметки, соответствующей погружению второго звена обсадной трубы;

13) монтаж второго звена;

14) сболчивание первого и второго звеньев;

15) вдавливание второго звена до уровня ствола станка. Далее повторяются операции 13, 14, 4, 5, 6, 8 до достижения проектной отметки.

5. Рекомендуемые мероприятия по предупреждению искривления скважины при проходке грунтов с твердыми включениями (рис. 6). Данные мероприятия сводятся к выполнению следующих операций:

1) бурение скважины и обсадка трубами;

2) подъем бурового инструмента. Погружение в скважину трубок для подачи воды и промывка грунта в забое скважины;

3) заполнение нижней части трубы цементом или тощим бетоном;

4) опускание бурового инструмента и разбуривание скважины.

6. Рекомендуемые схемы взаимного расположения забоя и режущего наконечника в зависимости от устойчивости грунта. В зависимости от устойчивости грунта оно может быть представлено по одной из четырех основных схем, приведенных на рис. 7. При этом следует отметить, что в устойчивых глинистых грунтах возможно применение бурового наконечника роторного типа, в обводненных песчаных грунтах - бурового клапана (желонка).

7. Бетонирование скважин для свай методом ВПТ. Бетонирование скважин для свай методом ВПТ производится в три этапа (рис. 8, а): I этап - установка ВПТ; II этап - бетонирование; III этап - оформление головы сваи. При установке телескопической ВПТ (рис. 8, б) выполняются следующие операции:

установка опорного патрубка для бункера;

установка бункера с трубой длиной 5-6 м;

установка внутренней трубы меньшего диаметра;

установка разделительной воронки во внутреннюю трубу перед укладкой первой порции бетона (теряемый клапан).

Бетонирование скважины (рис. 8, в) ведется в следующей последовательности:


ПРИЛОЖЕНИЕ 53

Наименование строительной организации ________________________________________________________________________________

Объект ______________________________________________________________________________________________________________

ЖУРНАЛ ИЗГОТОВЛЕНИЯ БУРОНАБИВНЫХ СВАЙ                                Бурение:

№__________ по __________)                                                                                            Начало

Окончание

Бетонирование:

Начало

Окончание

Начало ________________________________________________          Окончание_________________________________________________

Тип бурового станка ____________________________________________________________________________________________________

Тип уширителя _________________________________________________________________________________________________________

Вид взрывчатого вещества _______________________________________________________________________________________________

№ п.п. свай по плану

Дата, смена

Диаметр скважины, м

Абсолютная отметка по поверхности грунта

Бурение ствола

Наименование грунтов на уровне забоя

Длина арматурного каркаса, м

Марка бетона и осадка конуса

Бетонирование способом ВПТ

Масса заряда, кг

Уровень бетона в трубе

Абсолютная отметка головы сваи

Исполнители (Ф. И. О.), подпись

Примечание

Глубина, м

Абсолютная отметка забоя скважины

Разбуривание уширения оличество циклов и диаметр), м

Объем уложенного бетона, м3, включая уширение

Минимальное заглубление низа бетонолитной трубы в бетон, м

До взрыва

После взрыва

Общий расход бетона, м3

1

2

3

4

5

6

7

8

9

10

11

12

13

14

15

16

17

18

19

Примечание. В гр. 19 обязательно указать способ закрепления стенок скважин (глинистым раствором или обсадными трубами).


ПРИЛОЖЕНИЕ 54

СПОСОБЫ КОНТРОЛЯ ПРИ БУРЕНИИ СКВАЖИН РАЗЛИЧНЫХ ТИПОВ

№ п.п.

Наименование контролируемого параметра

№ способа

Наименование способа контроля

Тип сваи

1

Состояние скважины

1

Визуальный контроль с лампочкой

БСС; БССм; БСВ0*; БСИ*

2

Сравнение объема грунта выбуренной породы с геометрическим объемом свай

БСВ0*

3

По расходу глинистого раствора

БСВг

2

Вертикальность скважины

4

Отвес, инклинометр

БСС; БССм; БСВ0; БСВг; БСИ

5

По длине троса бурового снаряда; ЛОТ

БСС; БССм; БСВ0; БСВг; БСИ

3

Размеры скважины

6

Шаблон

БСС; БССм; БСВг

7

По диаметру обсадной трубы

БСВ0; БСИ

8

По раскрытию лопастей бурового уширителя

БСС; БССм; БСВ

4

Состояние забоя скважины

9

Стальной щуп

БСС; БССм; БСВ0; БСИ

10

Осветление воды, используемой при промывке

БСВ0; БСИ; БСВг

* При сухой скважине.

ПРИЛОЖЕНИЕ 55

АКТ ОСВИДЕТЕЛЬСТВОВАНИЯ И ПРИЕМКИ БУРОВОЙ СКВАЖИНЫ И АРМАТУРНОГО КАРКАСА ДЛЯ БЕТОНИРОВАНИЯ СВАИ

«_____» ________________ 19___ г. Мы, нижеподписавшиеся, ___________________

__________________________________________________________________________________________________________________________________________________

(представители заказчика, генподрядчика и исполнителей работ)

произвели освидетельствование буровой скважины с арматурным каркасом для бетонирования буронабивной сваи №_____ на строительной площадке.

_________________________________________________________________________

(наименование объекта)

При этом установлено:

1. Отметка низа сваи, м ____________________________________________________

2. Отметка низа уширения, м ________________________________________________

3. Отметка поверхности грунта, м ____________________________________________

4. Отметка горизонта грунтовых вод, м _______________________________________

5. Отметка верха каркаса в скважине, м _______________________________________

6. Диаметр ствола сваи, м __________________________________________________

7. Диаметр уширения, м ____________________________________________________

8. Уширение имеет проектную геометрическую форму __________________________

9. Уширение сваи произведено в _____________________________________________

(наименование грунта)

10. Конструкция каркаса: количество стержней, шт. __________________________

диаметр стержней, мм _________________ класс ______________________________

диаметр каркаса в осях рабочих стержней, мм _________________________________

На основании рассмотренных данных постановили:

1. Размеры уширения и ствола скважины соответствует проектным.

2. Считать скважину с арматурным каркасом готовыми к бетонированию.

3. Начать бетонирование не позднее «____» __________ 198__ г.

Подписи: _______________________

_______________________

_______________________

ПРИЛОЖЕНИЕ 56

АКТ ПРИЕМКИ СВАЙНОГО ПОЛЯ ДЛЯ БЕТОНИРОВАНИЯ РОСТВЕРКОВ

«_____» _______________ 198___ г. Мы, нижеподписавшиеся,

___________________________________________________________________________________________________________________________________________________________________________________________________________________________

(представители заказчика, генподрядчика и исполнителей работ)

__________________________________________________________________________________________________________________________________________________

установили, что буронабивные сваи на строительной площадке

_________________________________________________________________________

(наименование объекта)

выполнены в соответствии с проектом и дополнительными указаниями проектного института.

Свайные работы выполнены с отметки ________________________________________

На данной строительной площадке разрешается приступить к устройству ростверков.

Приложения к акту: 1. Акт приемки котлована до начала работ со схемой геодезической разбивки и закреплением осей фундамента.

2. Журналы изготовления буронабивных свай.

3. Сводная ведомость буронабивных свай __________ листов ____________________

4. Паспорта на бетонную смесь ___________________ шт.

5. Акты лабораторных испытаний контрольных бетонных кубиков ____________ шт.

6. Акты освидетельствования скважин и арматурных каркасов ________ шт.

7. Исполнительная схема изготовленных свай __________ шт.

Подписи: _______________________

_______________________

ПРИЛОЖЕНИЕ 57

ПЕРЕЧЕНЬ ОСНОВНЫХ ЭЛЕМЕНТОВ ТЕХНОЛОГИИ ИЗГОТОВЛЕНИЯ БУРОНАБИВНЫХ СВАЙ, ПОДЛЕЖАЩИХ ОБЯЗАТЕЛЬНОМУ КОНТРОЛЮ НА ПЛОЩАДКЕ СТРОИТЕЛЬСТВА

Элементы технологии

№ п.п.

Что подлежит обязательному контролю

Кто выполняет

Кому передаются материалы

Исполнительная документация

Бурение скважин

1

Планово-высотная привязка свайных кустов и отдельных свай

Геодезическая группа

СУ

Акты разбивки

2

Фактическое положение свайных кустов и свай

СУ

Технадзор, авторский надзор

Исполнительная съемка

3

Бурение скважины (диаметр ствола, уширения, вертикальность. Способ бурения, параметры глинистого раствора, если последний применяется)

СУ

Контрольный пост

Технадзор, авторский надзор

Исполнительная ведомость

4

Соответствие фактических данных по геологии принятым в проекте

Строительная лаборатория - группа геологов

Технадзор, авторский надзор

Журнал работ, акты

5

Наличие воды в скважине

Строительная лаборатория - группа геологов

То же

Журнал работ, акты

6

Наличие вывалов грунта при бурении

Строительная лаборатория - группа геологов

Контрольный пост

»

То же

Бурение скважин

7

Состояние забоя скважины после очистки

То же

 

 

8

Соответствие фактической конструкции армокаркасов принятым в проекте

Завод по изготовлению армокаркасов

Контрольный пост

Технадзор, авторский надзор, СУ

Паспорт, акты

9

Фактическое положение (в плане и по высоте) армокаркаса в скважине

СУ, контрольный пост

Технадзор, авторский надзор

Исполнительная съемка

10

Порядок бурения скважин при кустовом или рядовом расположении в плане (недопущение бурения в задел)

СУ, контрольный пост

Технадзор, авторский надзор

Журнал работ

Укладка бетонной смеси в скважину

11

Перерывы между окончанием бурения и началом бетонирования

СУ, контрольный пост при участии технадзора

Технадзор, авторский надзор, служба обеспечения

Журнал работ, акты

12

Перерывы в процессе бетонирования

То же

То же

То же

13

Паспорта на бетонную смесь

Бетонный завод

СУ, контрольный пост, технадзор

Заводские паспорта

14

Способ доставки бетонной смеси

СУ, контрольный пост при участии технадзора

То же

Журнал работ

Укладка бетонной смеси в скважину

15

Фактическая интенсивность бетонирования

СУ, контрольный пост при участии технадзора

»

»

16

Фактический объем бетонной смеси, уложенной в скважину

То же

СУ, контрольный пост, технадзор

Журнал работ, паспорта на сваи

17

Температура воздуха в скважине (для зимних условий)

»

То же

То же

18

Температура окружающего воздуха (для зимних условий)

»

»

»

19

Температура бетонной смеси при отгрузке на бетонном заводе

Бетонный завод

»

»

20

Температура бетонной смеси перед укладкой в скважину

СУ, контрольный пост при участии технадзора

»

»

21

Электропрогрев

То же

»

»

22

Отбор бетонных кубиков и условия их хранения

»

»

»

23

Осадка конуса бетонной смеси перед укладкой в скважину

»

»

»

1) выгрузка бетона из автобетономешалки в бункер (доставка бетона к скважине непосредственно в автобетономешалке или перегрузка его в скважину из автосамосвала, как показано на схеме). Объем первом порции бетонной смеси должен соответствовать уровню 1,1, когда верхняя труба погружена в бетон на 1,5 м;

2) подъем внутренней бетонолитной трубы меньшего диаметра;

3) выгрузка второй порции бетонной смеси, объем которой должен соответствовать полному заполнению скважины;

4) подъем бункера с бетонолитной трубой большего диаметра.

После бетонирования скважины ведутся:

1) демонтаж опорного патрубка и кондуктора. Установка инвентарной опалубки и добетонирование головы сваи;

2) распалубка головы после выдерживания 16-20 ч. В зимнее время производятся утепление и электропрогрев бетона головы сваи.

ПРИЛОЖЕНИЕ 58

ИЗГОТОВЛЕНИЕ НАБИВНЫХ СВАЙ ПО ВИБРАЦИОННОЙ ТЕХНОЛОГИИ

1. Применение вибрационной технологий позволяет эффективно осуществлять все основные операции при устройстве набивных свай, в том числе погружение обсадных труб, выемку грунта из их полости, а также извлечение трубы после заполнения ее бетоном. Вибрационное воздействие обеспечивает высокое качество бетона формуемых свай.

Использование вибрационной технологии изготовления набивных свай открывает пути для существенной экономии металла и цемента при устройстве свайных фундаментов.

2. Набивные сваи, изготавливаемые по вибрационной технологии, следует применять в рыхлых и средней плотности песчаных грунтах, в глинистых грунтах, в том числе лёссовидных, полутвердой, туго- и мягкопластичной консистенции, а также при прорезании указанных грунтов и опирании свай на твердые глинистые, плотные песчаные, крупнообломочные, полускальные и скальные грунты.

3. Параметры свай, изготавливаемых по вибрационной технологии, в зависимости от вида грунта и способа образования скважин принимаются по табл. 1.

4. Для изготовления набивных свай по вибрационной технологии следует применять вибрационное оборудование; виброустановки типа ПВН-1 и ПВН-2, виброгрейферы ПВ-380, ПВ-530 и ПВ-820, вибропогружатели типа В-401, ВП-1, вибромолот БВС-1 или другие вибрационные машины направленного действия, параметры которых близки к оборудованию перечисленных марок.

Таблица 1

Диаметр сваи, мм

Длина сваи, м

Вид грунта

Способ образования скважин

325-377

426-530

3-15

5-15

5-12

Неустойчивые песчаные и глинистые грунты*

С извлекаемыми обсадными трубами без выемки грунта

720, 820

630

1020

8-14

5-15

10-20

С извлекаемыми обсадными трубами и с выемкой грунта

377

426

3-15

5-15

Устойчивые глинистые грунты*

Без обсадных труб и выемки грунта

380

530

820

1020

3-15

5-20

8-25

10-25

Без обсадных труб с выемкой грунта

* Имеется в виду устойчивость стенок скважины.

5. Выбор вибрационного оборудования следует производить по табл. 2 в зависимости от грунтовых условий площадки и размеров свай. Техническая характеристика вибрационного оборудования, применяемого при изготовлении набивных свай, представлена в табл. 3 и 4.

6. В качестве грузоподъемного оборудования для работ по устройству набивных свай вибрационными машинами могут быть использованы копры и стреловые самоходные краны с соответствующей грузоподъемностью, высотой подъема крюка и канатоемкостью лебедки, а также станки ударно-канатного бурения.

При работе с виброустановками типа ПВН и вибропогружателем ВП-1 грузоподъемность крана на рабочем вылете должна быть не менее удвоенного веса вибросистемы (вибропогружатель, амортизатор, наголовник, обсадная труба). Для работы с виброгрейфером ПВ-380 и ПВ-530 грузоподъемность крана на рабочем вылете стрелы или копра должна быть не менее 8 т, а с виброгрейфером ПВ-820 и вибропогружателем типа В-401-не менее 16 т.

При использовании вибромолота БВС-1 в качестве грузоподъемного оборудования применяются станки ударно-канатного бурения УГБУК (УКС-22) и УГБ-4УК (УКС-30).

Таблица 2

Вид грунта

Диаметр сваи, мм

Длина сваи, м

Тип оборудования

Технология изготовления сваи

Способ образования скважин

Способ бетонирования

Неустойчивые песчаные и глинистые грунты

325-377

3-10

В-401

С извлекаемыми обсадными трубами без выемки грунта

Насухо, малоподвижными или умеренно жесткими бетонными смесями, уплотняемыми в процессе извлечения обсадных труб

 

3-12

ВП-1

 

3-15

ПВН-1

426

5-10

 

 

5-15

 

530

5-12

 

630

5-15

БВС-1

С извлекаемыми обсадными трубами и выемкой грунта

То же, или способом ВПТ с вибрированием

 

5-20

ВП-1

720-1020

8-14

ВП-1

 

10-20

ПВН-2

Устойчивые глинистые грунты

426

5-15

 

Без обсадных труб и без выемки грунта

Без обсадных труб с выемкой грунта

Насухо, малоподвижными или умеренно жесткими бетонными смесями с послойным уплотнением виброгрейфером или глубинным вибратором

377

3-16

ПВН-1

380-500

3-15

ПВ-380

530-800

5-20

ПВ-530

820-1220

8-25

ПВ-820

Таблица 3

Характеристика оборудования

ПВ-380

ПВ-530

ПВ-820

Вид воздействия:

 

 

 

при погружении

продольные колебания

продольные колебания

продольные колебания

при извлечении

поперечные колебания

вращательные колебания

вращательные колебания

Статический момент массы дебалансов, кг·см

650

1000

2400

Частота колебаний, Гц

15,2

16,6

12,9

Амплитуда вынуждающей силы, кН

61

110

161

Амплитуда крутящего момента от вынуждающей силы, кН·м

-

16

28

Средняя скорость заглубления в грунт (набора грунта), м/мин

0,8

1,0

1,0

Среднее время разгрузки грунтозаборника, с

15

10

10

Габариты, мм:

 

 

 

минимальный диаметр

380

530

820

высота с грунтозаборником

3800

2950

3100

емкость грунтозаборника минимального диаметра, м3

0,17

0,3

0,75

Масса виброгрейфера без грунта, кг

1000

1300

3000

Мощность приводного электродвигателя, кВт

11

30

30

7. Мощность трансформаторной подстанции и подводящей сети должна составлять не менее 50 кВа для виброгрейфера ПВ-380, 100 кВа для работы виброгрейферов ПВ-530, ПВ-820 и вибромолота БВС-1 и не менее 200 кВа для работы вибрационных установок типа ПВН, вибропогружателей В-401 и ВП-1.

Напряжение питающей сети должно быть не ниже 380 В. Допустимое падение напряжения в сети при работе вибрационного оборудования не должно превышать 10 %,

8. При изготовлении набивных свай без выемки грунта с помощью виброустановки ПВН-1 или вибропогружателей типа В-401 используются обсадные трубы диаметром 325-530 мм с толщиной стенки не менее 8-10 мм по ГОСТ 8732-78, а также теряемые башмаки.

Таблица 4

Характеристика оборудования

ПВН-1

ПВН-2

ПВН-2Б

БП-1

В-401

БВС-1

В-401А

Вид воздействия при погружении

Продольно-вращательные колебания или продольные удары в сочетании с вращательными колебаниями

Продольно-вращательные колебания

Продольные колебания

При извлечении

Продольно-вращательные колебания

Продольно-вращательные колебания

Вращательные колебания

Продольные колебания

Статический момент массы дебалансов, кг·см

6000

1000

6500

9300

1000

2500

Частота колебаний, Гц

8,7

8,3/10

12

7

25/16

7-15

Максимальная вынуждающая сила, кН

180

400

375

185

250

225

Максимальный крутящий момент от вынуждающей силы, кН·м

40

200

190

-

-

-

Тип наголовника

Фланцевый

Клиновой

Гидравлический

Фланцевый

Клиновой гидравлический

Свободный клиновой

Вид амортизатора

Подвесной

Подвесной

Встроенный

Подвесной

Встроенный

Подвесной

Количество приводных электродвигателей

1

4

4

1

1

1

Мощность приводных электродвигателей, кВт

60

88

88

60

55

30

Габариты, мм:

 

 

 

 

 

 

длина

1650

1955

2140

1300

1270

876

ширина

1300

1990

2105

1240

800

870

высота

3100

1665

3700

2100

2255

1640

Масса, кг

5000

5500

6000

4500

2200

2400

Рис. 1. Изготовление набивных свай с помощью виброгрейферов

Диаметры обсадных труб, применяемых при работе с вибромолотом БВС-1 и виброустановками ПВН-2 и ВП-1, выбираются соответственно 325-630 мм с толщиной стенки не менее 7 мм и 720-1020 мм с толщиной стенки не менее 10 мм по ГОСТ 8732-78.

При подборе виброгрейфера для извлечения грунта из обсадных труб следует учитывать, что диаметр его грунтозаборника должен быть не менее, чем на 100 мм меньше внутреннего диаметра обсадной трубы.

Грунтозаборники виброгрейферов оснащаются сменными насадками, сечение которых должно выбираться в зависимости от ее диаметра и вида разрабатываемого грунта.

9. Бетонирование набивных свай, изготавливаемых по вибрационной технологии, следует производить малоподвижными бетонными смесями.

ИЗГОТОВЛЕНИЕ НАБИВНЫХ СВАЙ С ПОМОЩЬЮ ВИБРОГРЕЙФЕРОВ

10. Работы по изготовлению набивных свай должны осуществляться в соответствии с технологической схемой, приведенной на рис. 1.

Проходку скважины следует начинать с установки направляющего устройства, в котором располагается виброгрейфер, погружающийся в грунт под действием продольных колебаний, при этом необходимо ослаблять натяжение стропа, на котором подвешен виброгрейфер, а крюк крана в процессе погружения постепенно опускать.

Рис. 2. Изготовление набивных свай с выемкой грунта под защитой обсадных труб

Время включения вибратора при погружении не должно превышать 1,5-2 мин.

На начальной стадии извлечения виброгрейфера до отрыва грунтового керна скорость подъема грузового крюка должна быть минимальной. При недостаточной грузоподъемности оборудования необходимо включать вращательные колебания, снижающие усилие извлечения виброгрейфера.

ИЗГОТОВЛЕНИЕ НАБИВНЫХ СВАЙ С ВЫЕМКОЙ ГРУНТА ПОД ЗАЩИТОЙ ОБСАДНЫХ ТРУБ

11. Изготовление набивных свай с выемкой грунта под защитой обсадных труб следует выполнять с использованием установок типа ПВН-2 в комплекте с виброгрейфером. Для погружения обсадных труб также могут быть использованы вибропогружатель ВП-1 и вибромолот БВС-1.

12. Работы по изготовлению набивных свай с выемкой грунта и под защитой скважины обсадными трубами на всю глубину должны выполняться в соответствии с технологической схемой, приведенной на рис. 2.

При включении установки и постепенном опускании крюка грузоподъемного средства производится погружение обсадной трубы до проектной отметки или снижения скорости погружения трубы до 0,1 м/мин, что свидетельствует об образовании грунтовой пробки.

В тех случаях, когда верхние слои грунта обеспечивают устойчивость стенок скважины без обсадки, перед погружением обсадной трубы следует осуществлять проходку лидерной скважины виброгрейфером на всю глубину устойчивой зоны.

При достижении проектной отметки или существенном снижении скорости погружения обсадной трубы извлечение грунта из ее внутренней полости следует производить виброгрейфером.

Извлечение грунта из обсадных труб, погруженных установкой ПВН-2, производится через проходное отверстие, предусмотренное в ее конструкции.

При работе с установкой ПВН-2Б, вибропогружателем ВП-1 или вибромолотом БВС-1 перед извлечением грунта вибровозбудитель необходимо снять с обсадной трубы.

Перед установкой арматурного каркаса следует зачистить поверхность обсадной трубы и забой скважины. В том случае, если в забое отсутствует вода, оставшийся разрыхленный грунт подбирается виброгрейфером. При наличии в основании скважины разуплотненного песчаного грунта его необходимо уплотнить, в глинистый грунт следует втрамбовать гравийную или щебеночную смесь. Если на забое имеется незначительный слой воды (0,5-1,5 м), ее необходимо откачать или в основание скважины уложить тощую бетонную смесь.

Если уровень воды на забое свыше 1,5 м и ее невозможно откачать или удалить иным способом, заполнение оболочки бетонной смесью необходимо производить способом ВПТ с вибрированием в соответствии с требованиями, изложенными в СНиП III-I5-76.

Бетонная смесь должна загружаться в обсадную трубу либо сразу на всю высоту при длине сваи до 10 м, либо порциями при большой длине сваи.

Скорость подъема обсадной трубы при включенных электродвигателях виброустановки принимается в пределах 1-2 м/мин.

Каждому циклу извлечения обсадной трубы должна предшествовать ее вибрация без подъема до тех пор, пока на поверхности бетона не появится слой цементного молока.

В тех случаях, когда основная нагрузка на сваю воспринимается боковой поверхностью, извлечение обсадной трубы следует производить с периодическим осаживанием.

ИЗГОТОВЛЕНИЕ НАБИВНЫХ СВАЙ БЕЗ ВЫЕМКИ ГРУНТА ПОД ЗАЩИТОЙ ОБСАДНЫХ ТРУБ

13. Набивные сваи без выемки грунта под защитой обсадных труб следует изготавливать с использованием установок типа ПВН-1, вибропогружателей типа В-401 и ВП-1.

Рис. 3. Изготовление набивных свай без выемки грунта

14. Работы по изготовлению набивных свай без выемки грунта с теряемым башмаком должны выполняться в соответствии с технологической схемой, приведенной на рис. 3.

При устройстве свай с теряемым башмаком перед погружением на его цилиндрическую часть необходимо намотать несколько витков просмоленного каната, исключающего попадание воды в обсадную трубу.

Предварительно собранную вибросистему с помощью грузоподъемного средства следует установить вертикально на теряемый башмак.

Рис. 4. Схема устройства вибронабивных свай с теряемым башмаком, с уширенной пятой

а - вибропогружение обсадной трубы с теряемым башмаком; б - заполнение трубы бетоном для устройства уширенной пяты; в - устройство уширенной пяты вибротрамбованием; г - заполнение трубы бетоном до отметки низа арматурного каркаса; д - установка арматурного каркаса и заполнение трубы бетоном на всю высоту; е - формование ствола сваи с виброизвлечением обсадной трубы; 1 - теряемый башмак; 2 - обсадная труба; 3 - вибропогружатель; 4 - бункер с бетоном; 5 - воронки; 6 - бетон; 7 - трамбовка; 8 - уширенная пята; 9 - арматурный каркас; 10 - готовая вибронабивная свая с уширенной пятой; 11 - фланец; 12 - башмак трамбовки

При работе с установкой ПВН-1 на начальной стадии обсадную трубу следует погружать в вибрационном режиме. При снижении скорости погружения до 0,1 м/мин дальнейшее погружение обсадной трубы следует производить в ударно-вибрационном режиме.

После погружения обсадной трубы на проектную отметку и отсоединения вибропогружателя во внутреннюю полость трубы следует установить арматурный каркас.

В обсадную трубу должна быть уложена на всю высоту бетонная смесь, после чего трубу следует извлечь с вибрированием (при этом теряется башмак).

15. Вибронабивные сваи с теряемым башмаком могут изготовляться также с уширенной пятой (рис. 4).

ПРИЛОЖЕНИЕ 59

ПРИМЕНЯЕМОЕ ОБОРУДОВАНИЕ ДЛЯ БУРОИНЪЕКЦИОННЫХ СВАЙ

Бурение скважин в кирпичном и каменной кладке, бетоне и железобетоне и других материалах существующих фундаментов, а также грунтах любой категории при производстве работ по укрепительной цементации и устройстве буроинъекционных свай выполняется буровыми станками вращательного бурения, такими как СБА-500, СКБ-4, СБУ-100 ГН, БМК, СБУ-300 ЗИВ, БТС-150 и т.п.

Бурение в пределах существующих фундаментов выполняется пневмоударными буровыми станками типа НКР-100, СБУ-100 и т.п. или ручными перфораторами типа ПР-18, ПР-32, и т.п. с продувкой скважин сжатым воздухом. При этом используются компрессоры типа ДК-9.

Техническая характеристика бурового станка СБУ-100 Н приведена в табл. 1.

Таблица 1

Рекомендуемый парк буровых станков для устройства скважин под буроинъекционные сваи

Показатели

Марка станка

СВУ-100-Н-35

СВА-500

СКБ-4

ЗИФ-300М

Диаметр бурения, мм

100-151

151-250

151-250

151

Глубина бурения, м

25

50

50

50

Угол бурения к вертикали, град.

0-45

0-45

0-360

0-45

Мощность привода, кВт

4,0

22,0

22,0

14,0

Грузоподъемность лебедки, т

-

2,0

2,0

2,0

Габариты, см:

 

 

 

 

длина

218

167

180

422

ширина

100

113

102

422

высота

273

162

160

194

Масса установки, т

0,5

1,32

1,8

1,38

Для приготовления буровых и цементных растворов используются растворомешалки турбинного типа.

Технические характеристики растворомешалок приведены в табл. 2.

Таблица 2

Рекомендуемый парк растворосмесителей

Показатели

Марка растворосмесителя

РМ-300

РМ-300

РМ-750

Полезная вместимость, л

300

500

750

Частота вращения турбины, об/мин

350

475

570

Мощность электродвигателя, кВт

4,5

4,5

7,5

Габаритные размеры, м:

 

 

 

высота

1431

1544

2000

ширина

1110

1158

1100

длина

1393

1672

1450

Масса, т

0,28

0,35

0,51

Таблица 3

Рекомендуемый парк растворонасосов

Показатели

Марка насоса

НГР 250/50

11ГР

9МГР

С-317А

ГР 16/40

НБ-179

Производительность, м3

18

18; 13,5

22; 36; 60

6

1,9-16

1,8; 3

Давление, МПа

5,0

5,0; 6,3

10,0; 6,0; 3,5

1,5

4,0

до 4,0

Мощность привода, кВт

38

35

73

7

22

3

Габариты, мм:

 

 

 

 

 

 

длина

1444

1870

2630

1040

1340

1310

ширина

876

990

1040

560

930

750

высота

932

1510

1630

1000

1080

500

Масса, т

0,73

1,15

1,76

0,39

0,56

0,25

Для подачи и нагнетания буровых и цементных растворов применяются шламовые насосы типов НГР 250/50, НГР 120/40 и НБ-30, растворонасосы типа СО-48/СО-49/, С-317 А.

Технические характеристики насосов СО-48 и СО-49 приведены в табл. 3.

Очистка буровых растворов при замкнутом цикле буровых работ выполняется ситогидроциклонной установкой типа 4 СГУ-2.

Техническая характеристика установок приведена в табл. 4.

Таблица 4

Рекомендуемый парк оборудования для очистки бурового раствора

Показатели

Марка вибросита

Показатели

Марка ситогидроциклонной установки

СВ-1

СВС-1

СВ-2

2СГУ

4СГУ

ОГХ-86

Пропускная способность, л/с

20

50-55

50-60

Производительность, л/с

30

60

5

Рабочая площадь сетки

1,25

2,5

2,6

Число сит

1

2

-

Число отверстий при диаметре, мм:

 

 

 

Число гидроциклонов

2

4

1

0,25

40

40

40

Насосная установка:

 

 

 

Тип

ВШН-150

ВШН-150

ВН-4

0,35

30

30

30

Габариты, мм:

 

 

 

длина

2100

2175

1670

Частота колебаний в минуту

1400

1400-2000

1600, 2000

ширина

1700

2250

420

 

 

 

 

высота

2465

2150

1425

Мощность электродвигателя, кВт

2,8

2,8 × 2

2,8 × 2

Мощность, кВт

28

28

45

ПРИЛОЖЕНИЕ 60

ПОГРУЖЕНИЕ СВАИ ВДАВЛИВАНИЕМ

1. Вдавливание свай может осуществляться в тех же грунтовых условиях, в которых выполняется их погружение другими способами (ударным, вибрационным и т.д.).

При вдавливании свай в плотные грунты (или при прохождении прослоек таких грунтов) рекомендуется применять различные способы снижения сопротивления погружению (например, устройство лидерных скважин). При их назначении необходимо учитывать такие факторы, как возможное снижение несущей способности погружаемых свай, а также негативное влияние этих мероприятий на состояние и несущую способность существующих фундаментов соседних зданий и сооружений (в том числе подземных).

2. Для вдавливания свай могут быть использованы различные типы установок самоходных (на базе тракторов, экскаваторов и кранов) или несамоходных. Выбор установки следует производить, исходя из следующих условий:

стесненности условии строительства (габариты);

допускаемого удельного давления на грунт;

оснащенности строительной организации, выполняющей свайные работы.

ПРИЛОЖЕНИЕ 61

ПРИМЕРЫ ПРИНЦИПИАЛЬНЫХ СХЕМ АНКЕРОВ

Основные определения

Заделка (корень) - часть анкера, обеспечивающая передачу усилий от сооружения грунтовому основанию.

Оголовок - часть анкера, обеспечивающая возможность натяжения и блокировки анкера на конструкции.

Тяга - напрягаемая арматура анкера.

Замок - устройство, обеспечивающее передачу усилия от анкерной тяги на цементный камень заделки.

Манжетная труба - труба с отверстиями, перекрытыми резиновыми клапанами-манжетами.

Пакер - уплотняющее устройство, препятствующее выходу раствора по скважине при инъецировании заделки анкера.

Инъектор с двойным тампоном - устройство, обеспечивающее поинтервальную подачу раствора через отверстия манжетой трубы.

Принципиальные схемы анкеров

а - анкер с теряемым башмаком; б - анкер с опорной трубой; в - анкер с инъекционной трубкой; г - анкер с манжетной трубой при внутреннем расположении тяги; д - анкер с манжетной трубой при наружном расположении тяги; 1 - теряемый башмак; 2 - заделка (корень); 3 - тяга; 4 - изолирующая оболочка; 5 - оголовок; 6 - замок; 7 - инъекционная трубка; 8 - обойма; 9 - фиксатор; 10 - манжетная труба; 11 - анкер

Обойма - затвердевающий раствор между манжетной трубой и стенками скважины.

Принципиальные схемы анкеров

Анкер с теряемым башмаком (рисунок а) включает заделку, тягу с изолирующей оболочкой, оголовок и теряемый башмак.

Анкер с опорной трубой (рисунок б) включает заделку, тягу с изолирующей оболочкой, замок из стальной трубы с пятой, приваренной к тяге, и оголовок.

Анкер с инъекционной трубкой (рисунок в) включает заделку, тягу с изолирующей оболочкой, инъекционную трубку с резиновыми клапанами в пределах заделки, цементную обойму и оголовок.

Анкер с манжетной трубой при внутреннем расположении тяги (рисунок г) включает заделку, манжетную трубу с замком и пакером, тягу с изолирующей оболочкой, обойму и оголовок.

Анкер с манжетной трубой при наружном расположении тяги исунок д) включает заделку, манжетную трубу с пакером, тягу, имеющую на нижнем конце замок, с изолирующей оболочкой, обойму и оголовок.

Анкер вертикальный с вибропогружателем, анкер с цементной пробкой и др.

ПРИЛОЖЕНИЕ 62

ПРИМЕРЫ ТЕХНОЛОГИИ УСТРОЙСТВА АНКЕРОВ

1. Технология устройства анкера с теряемым башмаком (рис. 1) включает:

бурение скважины забивкой обсадных труб с теряемым башмаком;

установку тяги с изолирующей оболочкой внутрь обсадных труб и высаживание ею теряемого башмака в грунт;

поинтервальное, начиная с забоя, нагнетание цементного раствора через обсадные трубы по мере их извлечения (ориентировочный расход цементного раствора - 75-150 литров на 1 метр заделки);

полное извлечение обсадных труб с заполнением скважины цементным раствором;

натяжение анкера (после набора цементным раствором проектной прочности);

блокировку анкера на строительной конструкции.

2. Технология устройства анкера с опорной трубой (рис. 2) включает:

бурение скважины с применением обсадных труб и внутренней промывкой;

погружение анкера в скважину, закрепленную обсадными трубами;

поинтервальное, начиная с забоя, нагнетание цементного раствора через обсадные трубы по мере их извлечения;

полное извлечение обсадных труб с заполнением скважины цементным раствором;

натяжение анкера (после набора цементным раствором проектной прочности);

блокировку анкера на строительной конструкции.

3. Технология устройства анкера с инъекционной трубкой (рис. 3) включает:

бурение скважины;

погружение анкера с инъекционной трубкой в скважину;

заполнение скважины цементным раствором;

технологическое ожидание в течение суток (твердение раствора в скважине);

нагнетание воды под давлением по инъекционной трубке для прорыва цементной обоймы;

нагнетание цементного раствора по инъекционной трубке;

натяжение анкера (после набора цементным раствором проектной прочности);

блокировку анкера на строительной конструкции.

Рис. 1. Технология устройства анкера с теряемым башмаком

а - бурение скважины; б - погружение анкера; в - нагнетание цементного раствора в скважину; г - натяжение анкера и блокировка его на конструкции

Рис. 2. Технология устройства анкера с опорной трубой

а - бурение скважины; б - погружение анкера в обсадные трубы; в - нагнетание цементного раствора в скважину; г - натяжение анкера и блокировка его конструкции

4. Технология устройства анкера с манжетной трубой при внутреннем расположении тяги (рис. 4) включает:

бурение скважины;

погружение манжетной трубы в скважину;

установку инъектора с двойным тампоном в манжетную трубу против нижних выпускных отверстий и замещение бурового раствора на обойменный;

установку инъектора с двойным тампоном против манжеты пакера и нагнетание обойменного раствора в пакер под давлением 0,2-0,5 МПа;

поинтервальную, начиная с нижней манжеты, инъекцию с ориентировочным расходом цементного раствора на каждой манжете 50-150 литров;

заполнение нижней части манжетной трубы цементным раствором, установку тяги с изолирующей оболочкой внутрь манжетной трубы;

натяжение анкера (после набора цементным раствором проектной прочности);

блокировку анкера на строительной конструкции.

Рис. 3. Технология устройства анкера с инъекционной трубкой

а - бурение скважины; б - погружение анкера с инъекционной трубкой в скважину; в - заполнение скважины цементным раствором; г - нагнетание цементного раствора (спустя сутки) по иньекционной трубке; д - натяжение анкера и блокировка его на конструкции

Рис. 4. Технология устройства анкера с манжетной трубой при внутреннем расположении тяги с двухкратной инъекцией

а - бурение скважины; б - погружение манжетной трубы в скважину; в - замещение бурового раствора на обойменный; г - нагнетание раствора в пакер; д - нагнетание цементного раствора через манжеты при помощи инъектора с двойным тампоном; е - повторное нагнетание цементного раствора через манжеты при помощи инъектора с двойным тампоном; ж - установка тяги на цементном растворе в манжетную трубу; натяжение анкера и блокировка его на конструкции

5. Технология устройства анкера с манжетной трубой при наружном расположении тяги (рис. 5) включает:

бурение скважины, погружение манжетной трубы в скважину и образование заделки в последовательности, указанной в п. 4;

натяжение анкера (после набора цементным раствором проектной прочности);

блокировку анкера на строительной конструкции.

Рис. 5. Технология устройства анкера с манжетной трубой при наружном расположении тяги с двухкратной инъекцией

а - бурение скважины; б - погружение анкера в скважину; в - замещение бурового раствора на обойменный; г - нагнетание раствора в пакер; д - нагнетание цементного раствора через манжеты при помощи иньектора с двойным тампоном; е - повторное нагнетание цементного раствора через манжеты при помощи инъектора с двойным тампоном; ж - натяжение анкера и блокировка его на конструкции

6. Технология устройства вертикального инъекционного анкера с вибропогружателем включает:

погружение вибропогружателем В-401 обсадных труб с теряемым башмаком на проектную глубину;

подъем обсадных труб на 0,3-0,5 м, отсоединение вибратора, заполнение обсадных труб цементным раствором, установка тяги в обсадные трубы и высаживание ею теряемого башмака;

присоединение вибратора с головным патрубком к обсадным трубам;

подключение растворонасоса и нагнетание цементного раствора в обсадные трубы по мере их извлечения на высоту, равную длине заделки. Полное извлечение обсадных труб из скважины.

ПРИЛОЖЕНИЕ 63

ПРИМЕР МЕТОДИКИ ПРОВЕДЕНИЯ КОНТРОЛЬНЫХ И ПРИЕМОЧНЫХ ИСПЫТАНИЙ АНКЕРОВ

Контрольные испытания анкеров

1. Контрольные испытания анкеров следует выполнять статическими ступенчато возрастающими выдергивающими нагрузками. Величина возрастания нагрузки на каждой ступени должна, как правило, составлять 1/10 максимальной испытательной нагрузки.

2. Перемещения оголовка анкера следует измерять с точностью 0,01 мм через 1; 3; 5; 7,5; 10,5; 15; 21; 30; 42 и 60 мин с момента достижения номинальной нагрузки ступени.

Рис. 1. Контрольные испытания анкеров

а - график S = f(P); б - график S = f(lg t); в - график ΔS / lg t = f(P)

Рис. 2. Приемочные испытания анкеров

а - график S = f(P); б - график S = f(lg t)

3. После выдержки на максимальной испытательной нагрузке необходимо произвести разгрузку до первой ступени нагружения и после натяжения анкера усилием, равным блокировочной нагрузке, закрепить его на конструкции.

4. По результатам испытаний необходимо построить графики S = f(p); S = f(lg t) и ΔS / lg t = f(p), по которым следует устанавливать величину критической нагрузки Pкрис. 1).

5. Анкер следует считать пригодным к эксплуатации, если удовлетворяется условие

(Pи / Ркр)к ≤ (Ри / Ркр)пр,

где (Ри/Ркр)к - отношение максимальной испытательной к критической нагрузке в контрольных испытаниях; (Ри/Ркр)пр - отношение испытательной к критической нагрузке, задаваемое в проекте на основании пробных испытаний опытных анкеров.

Приемочные испытания

6. После выдержки на максимальной испытательной нагрузке с соблюдением требований п. 2 необходимо произвести разгрузку до первой ступени нагружения и после натяжения анкера усилием, равным блокировочной нагрузке Рбл, закрепить его на конструкции.

7. По результатам испытаний необходимо построить графики S = f(P) и S = f(lg t)ис. 2).

8. Ликер следует считать пригодным к эксплуатации, если: при выдержке на максимальной испытательной нагрузке в течение 60 мин наступает стабилизация перемещений, т.е. приращение перемещений (п. 2) в двух последовательных интервалах времени составляет 0,01 мм и менее,

удовлетворяется условие

S)прием < (ΣS)к,

где (ΣSприем) - общая величина перемещений оголовка анкера и приемочных испытаниях; (ΣS)к - общая величина перемещений оголовка анкера в контрольных испытаниях.

9. Решение по анкерам, когда не соблюдаются требования п. 4 и 8, должно быть принято проектной организацией.


 

ПРИЛОЖЕНИЕ 64

Наименование строительной организации _________________________________________________________________________________

Объект _______________________________________________________________________________________________________________

СВОДНАЯ ВЕДОМОСТЬ УСТАНОВЛЕННЫХ АНКЕРОВ

(с №     по №           )

Начало ____________________________________                                                   Окончание _________________________________________

Тип испытаний - контрольные ________________                                                   Типы анкеров _______________________________________

1 ________________________________________

№ 2 ________________________________________

№ 3 ________________________________________

№ анкеров

Тип анкера

Дата изготовления

Дата испытания

Отметка устья скважины (ярус)

Глубина скважины, м

Диаметр скважины, мм

Угол наклона к горизонту, град

Наименование грунтов в пределах рабочей части - заделки анкера

Вид антикоррозионной защиты

Длина анкера, м

Длина тяги, м

Общая

Рабочая часть - заделка

Свободная часть

Общая

Заделка

Свободная длина

1

2

3

4

5

6

7

8

9

10

11

12

13

Продолжение прил. 64

Материал тяги

Количество закачанного раствора

Вид обоймы

Расчетная нагрузка Р, кН

Испытательная нагрузка Ри, кН

Блокировочная нагрузка Рбл, кН

Фазы инъекции

1-я

2-я

3-я

Всего закачано

В:Ц

Объем

В

Объем

В:Ц

Объем

14

15

16

17

18

19

20

21

22

23

24

25

Продолжение прил. 64

Перемещения анкера во времени на ступенях нагрузки Ри / Ри, см

Общее перемещение анкера, см

Критическая нагрузка Ркр, кН

(Ри / Ркр)

(Ри / Ркр) проектное

Примечание

0,1

0,2

0,3

0,4

0,5

0,6

0,7

0,8

0,9

1,0

26

27

28

29

30

31

32

33

34

35

36

37

38

39

40

ПРИЛОЖЕНИЕ 65

Наименование строительной организации _________________________________________________________________________________

Объект _______________________________________________________________________________________________________________

СВОДНАЯ ВЕДОМОСТЬ УСТАНОВЛЕННЫХ АНКЕРОВ

(с №      по №         )

Начало ____________________________________                                                   Окончание _________________________________________

Тип испытаний - приемочные _________________                                                  Типы анкеров _______________________________________

1 ________________________________________

№ 2 ________________________________________

№ 3 ________________________________________

анкеров

Тип анкера

Дата изготовления

Дата испытания

Отметка устья скважины (ярус)

Глубина скважины, м

Диаметр скважины, мм

Угол наклона к горизонту, град

Наименование грунтов в пределах рабочей части - заделки анкера

Вид антикоррозийной защиты

Длина анкера, м

Длина тяги, м

Общая

Рабочая часть - заделка

Свободная часть

Общая

Заделка

Свободная длина

1

2

3

4

5

6

7

8

9

10

11

12

13

Продолжение прил. 65

Материал тяги

Количество закачанного раствора

Вид обоймы

Расчетная нагрузка P, кН

Испытательная нагрузка Ри, кН

Блокировочная нагрузка Рбл, кН

Фазы инъекции

Всего закачано

первая

вторая

третья

В:Ц

Объем

В:Ц

Объем

В:Ц

Объем

14

15

16

17

18

19

20

21

22

23

24

25

 

 

 

 

 

 

 

 

 

 

 

 

Продолжение прил. 65

Перемещение анкера, см, при нагрузке Ри во времени, мин

Общее перемещение

Общее перемещение при контрольных испытаниях

1

3

5

7,5

10,5

15

21

30

42

60

26

27

28

29

30

31

32

33

34

35

36

37

 

 

 

 

 

 

 

 

 

 

 

 

ПРИЛОЖЕНИЕ 66

Наименование строительной организации _________________________________________________________________________________

Объект _______________________________________________________________________________________________________________

ЖУРНАЛ РАБОТ ПО ОПУСКАНИЮ КОЛОДЦА

1. Размеры колодца в плане ___________________________________

2. Даты:

снятия с временного основания ________________________________

начала опускания ____________________________________________

окончания опускания ________________________________________

3. Отметки ножа

в начале опускания __________________________________________

в конце опускания ___________________________________________

проектная __________________________________________________

4. Материалы конструкции:

стен колодца _______________________________________________

ножа ______________________________________________________

5. Оборудование:

а) краны: тип ___________________, грузоподъемность __________ т

б) экскаваторы: тип ______________________, емкость _________ м3

в) гидроэлеваторы (землесосы) ________________________________

 

Дата / смена

Способ разработки грунта

Вид разрабатываемого грунта

Объем разработанного грунта, м3

Величина погружения колодца, за смену, м

Глубина погружения колодца по точкам, м

Отметка горизонта воды

Исполнитель Ф. И. О. (подпись)

Примечание

Номера точек

в колодце

вне колодца

1

2

3

4

1

2

3

4

5

6

7

8

9

10

11

12

13

ПРИЛОЖЕНИЕ 67

Наименование строительной организации _________________________________________________________________________________

Объект _______________________________________________________________________________________________________________

ЖУРНАЛ РАБОТ ПО ОПУСКАНИЮ КЕССОНА

1. Размеры кессона в плане ___________________________________

2. Даты:

снятия с временного основания _______________________________

начала опускания ___________________________________________

окончания опускания ________________________________________

3. Отметки ножа:

в начале опускания __________________________________________

в конце опускания ___________________________________________

проектная __________________________________________________

4. Материалы конструкции:

кессона ____________________________________________________

ножа ______________________________________________________

5. Оборудование:

а) шлюзовые аппараты системы __________________ шт. _________

б) гидроэлеваторы (эрлифты) ____________________ шт. _________

в) гидромониторы ______________________________ шт. _________

 

Дата / смена

Способ разработки грунта

Вид разрабатываемого грунта

Давление воздуха в кессоне перед посадкой, МПа

Давление воздуха в кессоне после посадки, МПа

Величина посадки, м

Объем разработанного грунта, м

Глубина погружения кессона по точкам, м

Исполнитель Ф. И. О. (подпись)

Примечание

1

2

3

4

1

2

3

4

5

6

7

8

9

10

11

12

13


СОДЕРЖАНИЕ

Раздел 7. Сооружения, устраиваемые способом «стена в грунте». 1

Общие положения. 1

Сооружения из монолитного железобетона. 11

Сооружения из сборного железобетона. 14

Противофильтрационные завесы.. 18

Контроль качества работ. 22

Раздел 8. Свайные фундаменты, шпунтовые ограждения и анкеры.. 23

Общие положения. 23

Погружение свай, свай-оболочек и шпунта. 24

Погружение свай в вечномерзлые грунты.. 36

Изготовление буронабивных свай. 41

Устройство камуфлетных уширений. 42

Устройство котлованов для свайных ростверков. 43

Котлованы без креплений. 44

Шпунтовые ограждения и щитовые перемычки и бездонные ящики. 44

Выемка грунтов и водоотлив. 46

Устройство свайных ростверков. 46

Устройство монолитных ростверков. 46

Устройство сборных ростверков. 47

Приемка работ. 48

Устройство буроинъекционных свай. 49

Укрепительная цементация. 51

Инъекционные анкеры.. 51

Раздел. 9. Опускные колодцы и кессоны.. 54

Общие положения. 54

Опускные колодцы.. 62

Кессоны.. 73

Приемка работ. 77

Приложение 1 Журнал трамбования грунтов в опытном котловане. 77

Приложение 2 Журнал учета результатов контрольных наблюдений по уплотнению грунта. 78

Приложение 3 Акт приемки работ по поверхностному уплотнению основания. 78

Приложение 4 Журнал работ по вытрамбовыванию котлованов. 78

Приложение 5 Журнал работ по уплотнению основания грунтовыми сваями. 79

Приложение 6 Журнал производства работ по глубинному уплотнению оснований с помощью энергии взрыва. 79

Приложение 7 Журнал работ по глубинному уплотнению водонасыщенного песчаного основания. 80

Приложение 8 Трамбование для поверхностного уплотнения просадочных грунтов. 80

Приложение 9 Технологическая карта производства работ по поверхностному уплотнению грунтов. 80

Приложение 10 Журнал производства работ по вытрамбовыванию щебня в дно котлована. 81

Приложение 11 Журнал учета воды при замачивании. 81

Приложение 12 Журнал работы насосной станции. 81

Приложение 13 Журнал эксплуатации электрической установки. 82

Приложение 14 Журнал гидрогеологических наблюдений. 82

Приложение 15 Определение модуля раствора силиката натрия. 82

Приложение 16 Определение зависимости начала времени гелеобразования от объемного соотношения компонентов закрепляющих смесей при однорастворной двухкомпонентной силикатизации и смолизации грунтов. 82

Приложение 17 Определение прочности при одноосном сжатии закрепленных силикатизацией и смолизацией грунтов. 83

Приложение 18 Перечень оборудования, применяемого при силикатизации и смолизации грунтов. 84

Приложение 19 Характеристики оборудования, применяемого при силикатизации и смолизации грунтов. 84

Приложение 20 Перечень и характеристики оборудования, применяемого при цементации грунтов. 86

Приложение 21 Формы журналов производства работ. 88

Приложение 22 Геоэлектрический метод контроля качества силикатизации и смолизации грунтов. 90

Приложение 23 Перечень и характеристики оборудования для буросмесительного закрепления илов. 93

Приложение 24 Варианты движения машин при производстве работ по укреплению оснований буросмесительным способом.. 94

Приложение 25 Укрепление оснований буросмесительным способом с использованием серийной буровой установки. 95

Приложение 26 Номограмма для определения производительности насоса в зависимости от скорости осевого перемещения буросмесителя, диаметра сваи (d), дозировки цемента (мц) и водоцементного отношения (m) 96

Приложение 27 Технологическое оборудование при термическом закреплении грунтов. 97

Приложение 28 Формы журналов производства работ по термическому закреплению грунтов. 97

Приложение 29 Технологическая карта глубинного обжига лессовых и глинистых грунтов ii типа просадочности. 98

Приложение 30 Оборудование, применяемое при искусственном замораживании грунтов. 99

Приложение 31 Паспорт скважины и замораживающей колонки. 101

Приложение 32 Журнал работы замораживающих колонок. 102

Приложение 33 Журнал температур в контрольных термомеханических скважинах на различных горизонтах при искусственном замораживании грунтов. 102

Приложение 34 Журнал наблюдений за уровнем грунтовых вод в гидрологических скважинах при искусственном замораживании грунтов. 102

Приложение 35 Журнал разработки траншеи при возведении сооружений способом «стена в грунте». 102

Приложение 36 Журнал контроля качества глинистого раствора (суспензии) 102

Приложение 37 Технические характеристики молотов для погружения сваи. 103

Приложение 38 Конструкция наголовников. 103

Приложение 39 Технические характеристики оборудования для погружения сваи и стального шпунта. 105

Приложение 40 Определение динамических напряжений в железобетонных сваях при забивке. 106

Приложение 41 Повреждения железобетонных свай при забивке. 110

Приложение 42 Пневмоинъектор и устройство для непрерывной воздухоподачи (унв) 111

Приложение 43 Отклонения шпунта и способы их устранения. 119

Приложение 44 Журнал забивки свай. 121

Приложение 45 Сводная ведомость забитых свай. 121

Приложение 46 Журнал погружения шпунта. 122

Приложение 47 Журнал вибропогружения свай или свай-оболочек. 123

Приложение 48 Сводная ведомость погруженных вибрированием свай или свай-оболочек. 123

Приложение 49 Акт динамического испытания пробной сваи. 124

Приложение 50 Примеры определения несущей способности свай и свай-оболочек, погружаемых с помощью вибропогружателей. 125

Приложение 51 Типоразмеры буронабивных свай для жилищно-гражданского и промышленного строительства. 126

Приложение 52 Примеры технологической последовательности изготовления буронабивных свай и рекомендации по элементам технологии их изготовления. 129

Приложение 53 Журнал изготовления буронабивных свай. 135

Приложение 54 Способы контроля при бурении скважин различных типов. 136

Приложение 55 Акт освидетельствования и приемки буровой скважины и арматурного каркаса для бетонирования сваи. 136

Приложение 56 Акт приемки свайного поля для бетонирования ростверков. 136

Приложение 57 Перечень основных элементов технологии изготовления буронабивных свай, подлежащих обязательному контролю на площадке строительства. 137

Приложение 58 Изготовление набивных свай по вибрационной технологии. 138

Приложение 59 Применяемое оборудование для буроинъекционных свай. 143

Приложение 60 Погружение сваи вдавливанием.. 144

Приложение 61 Примеры принципиальных схем анкеров. 145

Приложение 62 Примеры технологии устройства анкеров. 145

Приложение 63 Пример методики проведения контрольных и приемочных испытаний анкеров. 148

Приложение 64 Сводная ведомость установленных анкеров. 150

Приложение 65 Сводная ведомость установленных анкеров. 150

Приложение 66 Журнал работ по опусканию колодца. 150

Приложение 67 Журнал работ по опусканию кессона  150

 




Rambler's Top100 Яндекс цитирования
  Copyright © 2008-2026, www.docload.ru