|
|
РОССИЙСКОЕ АКЦИОНЕРНОЕ ОБЩЕСТВО ЭНЕРГЕТИКИ ТИПОВАЯ ИНСТРУКЦИЯ РД
34.49.503-94 СЛУЖБА ПЕРЕДОВОГО ОПЫТА
ОРГРЭС МОСКВА
1994 РАЗРАБОТАНО акционерным
обществом открытого типа «Фирма по наладке, совершенствованию технологии и
эксплуатации электростанций и сетей ОРГРЭС» ИСПОЛНИТЕЛИ В.С. Зайцева, Д.А
Замыслов, А.С. Козлов, В.М. Стариков УТВЕРЖДЕНО Департаментом
Генеральной инспекции по эксплуатации электростанций и сетей РАО «ЕЭС России»
14.03.94 г. Начальник
Н.Ф. ГОРЕВ
Срок действия установлен с 01.09.94 г. до 01.09.95 г. (Измененная редакция, Изм. №
1). В Типовой инструкции
приведены основные технические характеристики по содержанию и применению первичных
средств пожаротушения на энергетических объектах. С выходом настоящей Типовой
инструкции утрачивает силу «Типовая инструкция по содержанию и применению
первичных средств пожаротушения на предприятиях Минэнерго СССР: ТИ
34-00-063-87» (М.: СПО Союзтехэнерго, 1987). 1. ОБЩИЕ ПОЛОЖЕНИЯ
1.1. Настоящая Типовая инструкция определяет основные требования к
содержанию и применению на энергетических объектах первичных средств
пожаротушения и обязательна для всех работников энергетической отрасли. «Помимо требований настоящей
Типовой инструкции следует руководствоваться технической и эксплуатационной
документацией заводов-изготовителей средств пожаротушения, «Правилами пожарной
безопасности для энергетических предприятий» (РД
153.-34.0-03.301-00) и Нормами пожарной безопасности «Пожарная техника.
Огнетушители. Требования к эксплуатации» (НПБ 166-97). (Измененная редакция, Изм. №
1). 1.2. Знание устройства и эффективности первичных средств пожаротушения, а
также порядок их применения приобретают особое значение при тушении пожаров на
энергетических предприятиях, насыщенность которых сложным технологическим
оборудованием и пожароопасными материалами при ограниченности площадей зданий и
сооружений определяет необходимость обязательного применения средств
противопожарной защиты. 1.3. Производственные, административные, вспомогательные и складские
здания, сооружения и помещения, а также открытые производственные площадки или
участки должны быть обеспечены первичными средствами пожаротушения в
соответствии с действующими нормами, устанавливаемыми отраслевыми правилами
пожарной безопасности. К первичным средствам
пожаротушения относятся все виды переносных и передвижных огнетушителей,
оборудование пожарных кранов, ящики с порошковыми составами (песок, перлит и т.п.),
а также огнестойкие ткани (асбестовое полотно, кошма, войлок и т.п.). 1.4. Первичные средства пожаротушения для их размещения, сохранности,
организации, содержания, технического надзора и поддержания в постоянной
готовности к использованию, передаются соответствующим руководителям цехов,
мастерских, складов, участков и других подразделений. 1.5. Лица, ответственные за содержание и готовность к использованию
средств пожаротушения, обязаны организовать их регулярный осмотр не реже одного
раза в полугодие, а также внеочередной осмотр после происшедших аварий и
пожаров на объекте. Результаты осмотра состояния
средств пожаротушения заносятся в специальный журнал (приложение 1). 1.6. Первичные средства пожаротушения должны размещаться в легкодоступных
местах и не должны быть помехой и препятствием при эвакуации персонала из
помещений. Допускается установка
огнетушителей в тумбах или шкафах, конструкция которых должна позволять визуально
определить тип огнетушителя и осуществить быстрый доступ к нему для
использования при пожаре. 1.7. Запрещается использование пожарного инвентаря и других средств
пожаротушения для хозяйственных, производственных и других нужд. Кроме прямого назначения разрешается
использовать средства пожаротушения при ликвидации стихийных бедствий и
катастроф, а также при обучении персонала и добровольных пожарных формирований
объекта. За нарушение этих положений
должностные или иные лица несут ответственность вплоть до уголовной в
соответствии с действующим законодательством. 1.8. Использованные или неисправные огнетушители (повреждение корпуса,
раструба, предохранительных клапанов, отсутствие пломбы, недостаток
огнетушащего вещества или газа и др.) должны быть немедленно убраны (особенно
после пожара) из защищаемого помещения, от технологического оборудования и
производственных площадок и заменены исправными. 1.9. Выявленные при регулярных осмотрах неисправности огнетушителей,
пожарных кранов и других средств пожаротушения должны устраняться в кратчайшие
сроки. 1.10. Снятие с эксплуатации и списание огнетушителей, пожарных рукавов и
других средств пожаротушения, в том числе отбракованных при их испытании,
производится по акту специальной комиссией, назначаемой руководителем объекта
или организации. 1.11. Для размещения первичных средств пожаротушения в производственных
помещениях, а также на территории предприятий или строительств, как правило,
должны устанавливаться специальные пожарные щиты (посты). Одиночное размещение
огнетушителей допускается в небольших помещениях. 1.12. Размещение огнетушителей и пожарного инвентаря, а также их количество
не определяется проектом, а устанавливается руководством соответствующих
подразделений объекта или организаций, на основании отраслевых правил пожарной
безопасности и норм расчета первичных средств пожаротушения. 2. ПОЖАРНЫЕ ЩИТЫ ПЕРВИЧНЫХ СРЕДСТВ ПОЖАРОТУШЕНИЯ
2.1. Пожарные щиты предназначены для концентрации и размещения в
определенном месте ручных огнетушителей, немеханизированного пожарного
инвентаря и инструмента, применяемого при ликвидации загораний на объектах, в
складских помещениях и на строительных площадках. 2.2. Щиты могут быть промышленного изготовления (деревянные ЩПД,
металлические - ЩПМ) или изготовленные на месте. Пожарные щиты должны иметь
габаритные размеры не менее 1200´600 мм и должны быть
окрашены в соответствии с требованиями государственного стандарта. 2.3. Допускается установка пожарных щитов в виде навесных шкафов с
закрывающимися дверцами, которые должны позволять визуально определять вид
хранящихся средств пожаротушения и инвентаря. Дверцы должны быть
опломбированы и открываться без ключа и больших усилий. 2.4. Крепление средств пожаротушения и инвентаря на щитах должно
обеспечивать быстрое их снятие без специальных приспособлений или инструмента. 2.5. Количество пожарных щитов на объекте или строительной площадке не
регламентируется и определяется только спецификой местных условий, а также
удобством пользования и надзора за их содержанием для персонала. 3. ОГНЕТУШИТЕЛИ
3.1. Классификация огнетушителей и
требования к их содержанию
3.1.1. Огнетушители предназначаются для тушения очагов горения в начальной
их стадии, а также для противопожарной защиты небольших сооружений, машин и
механизмов. Огнетушители бывают ручные и
передвижные. К ручным огнетушителям относятся все их типы с объемом корпуса,
вмещающим до 10 л заряда. Огнетушители с большим объемом заряда относятся к
передвижным, их корпуса устанавливаются на специальные тележки. 3.1.2. Огнетушители различаются по конструкции и типу используемого
огнетушащего средства. В соответствии с применяемым
огнетушащим средством огнетушители могут быть: водные; пенные (химические,
химические воздушно-пенные, воздушно-пенные); газовые (углекислотные,
хладоновые, бромхладоновые); порошковые. Наибольшее распространение
получили пенные, газовые и порошковые огнетушители. Водные огнетушители
(ранцевой конструкции) применяются только в лесной отрасли и для подразделений
разведки пожарной охраны и поэтому в данной Типовой инструкции не
рассматриваются. 3.1.3. В местах установки огнетушителей температура окружающей среды должна
быть не ниже 5 °С, за исключением газовых и порошковых огнетушителей, которые
работоспособны при отрицательных температурах. При наступлении похолоданий
и на осенне-зимний период пенные огнетушители следует перенести в отапливаемое
помещение, а на месте их постоянной установки вывешивается табличка с указанием
нового местонахождения. 3.1.4. Огнетушители не допускается размещать вблизи отопительных и
нагревательных приборов, а также в местах, не защищенных от действия солнечных
лучей и атмосферных осадков. 3.1.5. Запорная арматура огнетушителей (краны, клапаны, рукоятки, крышки
горловин и т.п.) должна после зарядки пломбироваться, к ней должна
прикрепляться бирка с указанием даты зарядки и лица, ее производившего. 3.1.6. Регулярно огнетушители необходимо осматривать, очищать от грязи и
пыли. Во время осмотров необходимо проверять состояние мембран и спрыска (пенные
огнетушители), целостность пломбы и бирки. Огнетушители с неисправными узлами,
глубокими вмятинами и коррозией на корпусе должны сниматься с эксплуатации. 3.1.7. Огнетушители, использованные во время пожара, а также во время
занятий персонала или добровольных пожарных формирований на объекте, необходимо
в кратчайшие сроки убрать из помещений для последующей их зарядки. Для проведения занятий с
применением огнетушителей рекомендуется использовать огнетушители, у которых
наступил срок очередной перезарядки. 3.1.8. Не допускается одновременно отправлять на перезарядку более 50 %
огнетушителей, находящихся в эксплуатации. Зарядка и проверка огнетушителей
должны быть произведены в сжатые сроки. 3.1.9. Перед транспортировкой огнетушители необходимо упаковать таким
образом, чтобы исключить удары корпуса о корпус. 3.2. Ручные химические пенные и химические воздушно-пенные огнетушители3.2.1. Химические пенные (ОХП-10) и химические воздушно-пенные (ОХВП-10)
огнетушители предназначаются для тушения различных горящих твердых материалов и
горючих жидкостей. Категорически запрещается их использование для тушения
горящих кабелей и проводов, находящихся под напряжением, а также щелочных
материалов. 3.2.2. Заряд химических пенных огнетушителей ОХП-10 состоит из водного
раствора щелочи (бикарбонат натрия) и кислоты (серная кислота). Заряд химических
воздушно-пенных огнетушителей ОХВП-10 состоит из аналогичных веществ, но в
щелочную часть ОХВП-10 добавляется 500 см3 пенообразователя (ПО-1,
ПО-6к, ПО-ЗАИ и т.п.) для увеличения выхода пены и повышения ее эффективности
при тушении. 3.2.3. Конструктивно ОХП-10 (рис. 1) и ОХВП-10 одинаковы, но их
внешнее различие состоит в том, что на ОХВП-10 устанавливается пенный насадок
(малогабаритный пеногенератор - рис. 2) для увеличения кратности
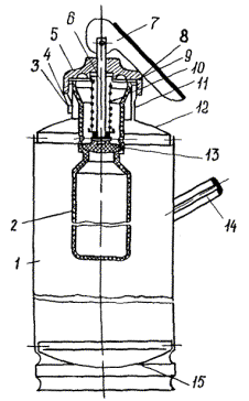
выходящей пены. Рис. 1. Огнетушитель ОХП-10: 1 - корпус огнетушителя; 2 -
кислотный стакан; 3 - предохранительная мембрана; 4 - спрыск; 5 - крышка огнетушителя;
6 - шток; 7 - рукоятка; 8 и 9 - резиновые прокладки; 10 - пружина; 11 -
горловина; 12 - верх огнетушителя; 13 - резиновый клапан; 14 - боковая ручка;
15 - днище Рис.
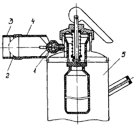
2.
Пенный насадок: 1 - распылитель; 2 - латунная сетка;
3 - предохранительная мембрана; 4 - корпус насадка; 5 - огнетушитель ОХВП-10 3.2.4. Для приведения огнетушителя ОХП-10 (см. рис. 1) в действие необходимо: снять огнетушитель с
крепления или вынуть из шкафа и, используя боковую ручку, поднести его в
вертикальном положении к очагу пожара; установить огнетушитель на
пол и прочистить спрыск 4 шпилькой (подвешивается к ручке огнетушителя), если
он не закрыт предохранительной мембраной 3; перевернуть рукоятку 7 на
180° от первоначального положения; взяться одной рукой за
боковую ручку 14 и приподнять огнетушитель от пола, после чего, придерживая
другой рукой огнетушитель за днище, перевернуть его горловиной вниз; выходящую струю пены
направить на очаг горения твердых веществ или, начиная с ближнего края, покрыть
пеной поверхность горящей жидкости. Для лучшего пенообразования
в начальный момент действия огнетушителя рекомендуется встряхнуть его корпус,
что обеспечит лучшее взаимодействие кислоты и водного раствора щелочи. 3.2.5. Если во время работы огнетушителя произошло засорение спрыска 4 (см.
рис. 1), и прочистить шпилькой его не удалось, необходимо положить огнетушитель
в безопасное для персонала место, так как до окончательного снижения давления
выходящего газа не исключена опасность разрыва корпуса или срыва крышки
горловины с резьбы. 3.2.6. Порядок применения огнетушителей ОХВП-10 при тушении пожара аналогичен
действиям с огнетушителем ОХП-10. 3.2.7. Перезарядка огнетушителей ОХП-10 и ОХВП-10 производится ежегодно.
Одновременно осуществляется осмотр корпуса огнетушителя для выявления дефектов. Огнетушители должны
сниматься с эксплуатации при сильной коррозии корпуса, неисправности пускового
механизма, сорванной резьбе крышки или горловины корпуса. Накладка заплат или заварка
свищей на корпусе огнетушителя не допускается. Такие огнетушители должны быть
сняты с эксплуатации с оформлением соответствующего акта. 3.2.8. Порядок зарядки огнетушителей ОХП-10 и ОХВП-10 следующий (см. рис. 1): 3.2.8.1. Рукоятку 7 перевернуть на 180° от первоначального положения и открутить крышку 5 огнетушителя. 3.2.8.2. Вынуть из корпуса кислотный стакан 2 и слить из корпуса щелочную
часть заряда. 3.2.8.3. Промыть корпус огнетушителя и залить в него щелочной раствор (5 л
чистой воды и 450 г соды). Для огнетушителя ОХВП-10 дополнительно влить 0,5 л
пенообразователя (ПО-1, ПО-6к и др.) в щелочной раствор, после этого в корпус
добавить чистой воды (около 3 л) и весь раствор перемешать. 3.2.8.4. В кислотный стакан залить 200 г чистой серной кислоты и поместить его
в корпус огнетушителя. 3.2.8.5. Закрутить крышкой горловину огнетушителя, опломбировать запорную
рукоятку в исходном положении и повесить бирку. 3.2.9. При перезарядке огнетушителей необходимо соблюдать требования по
безопасности труда при работе с кислотами и щелочами на производстве. 3.2.10. Тактико-технические характеристики огнетушителей приведены в
приложении 2. 3.3. Воздушно-пенные огнетушители
3.3.1. Воздушно-пенные огнетушители предназначены для тушения пожаров и
загораний твердых веществ и горючих жидкостей. Запрещается применение этих
огнетушителей для тушения горящих электроустановок, находящихся под
напряжением, а также щелочных металлов. 3.3.2. Воздушно-пенные огнетушители выпускаются ручные ОВП-10 (рис. 3), передвижные ОВП-100 (рис.
4) и стационарно
установленные УВП-250 (рис. 5) - соответственно на 10; 100 и 250 л объема заряда. Рис.
3.
Ручной воздушно-пенный огнетушитель ОВП-10: 1 - рукав; 2 - пломба; 3 - сифонная трубка; 4 -
корпус; 5 - ствол-распылитель; 6 - рукоятка; 7 - кронштейн; 8 - рычаг; 9 -
колпак; 10 - предохранительный клапан; 11 - напорно-пусковое устройство Рис. 4. Передвижной воздушно-пенный огнетушитель
ОВП-100: 1 - корпус огнетушителя; 2 - тележка; 3 -
крышка; 4 - пеногенератор; 5 - предохранительный клапан; 6 - запорное устройство; 7 - баллон
высокого давления; 8 - резиновый
шланг Рис.
5.
Стационарный воздушно-пенный огнетушитель ОВПУ-250 (УВП-250): 1 - резиновый шланг с вращающейся
катушкой; 2 - предохранительный клапан; 3 - пеногенератор; 4 - корпус; 5 - пусковой баллон Ранее выпускались
огнетушители ОВП-5 (на 5 л) и ОВПУ-250, аналогичный УВП-250. 3.3.3. В качестве огнетушащего вещества в огнетушителях используется водный
раствор специального пенообразователя (ПО-1; ПО-6к; ПО-ЗАИ и др.), который
составляет 4 - 6 % объема заряда. Для подачи пены в
огнетушителях устанавливаются пусковые газовые баллоны (углекислота, воздух, азот
и др.) вместимостью, соответствующей его заряду. 3.3.4. Для приведения в действие ручного огнетушителя ОВП-10 (см. рис. 3) необходимо: снять с помощью транспортной
рукоятки 6 огнетушитель и поднести его к месту горения; сорвать пломбу и нажать на
рычаг запорно-пускового устройства 8, при этом игла вскрывает баллончик с
рабочим газом, под действием которого повышается давление в корпусе и раствор
пенообразователя подается через сифонную трубку и шланг к стволу-распылителю 5,
где, смешиваясь с подсасываемым воздухом, образуется воздушно-механическая пена
средней кратности; направить пену на очаг
горения. При работе огнетушитель
необходимо держать в вертикальном положении. 3.3.5. Для приведения в действие передвижного огнетушителя ОВП-100 (см. рис.
4) необходимо: установить тележку в
вертикальном положении в 5 - 6 м от очага горения и размотать шланг, не
допуская перегибов и скручиваний; сорвать пломбу и открыть до
отказа запорное устройство (вентиль или рычаг) пускового баллона; направить струю пены на очаг
горения. 3.3.6. Для приведения в действие огнетушителя ОВПУ-250 (УВП-250) (см. рис. 5) необходимо: размотать шланг 1 с
пеногенератором 3 и направить на очаг пожара; сорвать пломбу и до отказа
открыть запорное устройство (вентиль или рычаг) пускового баллона 5. 3.3.7. Тактико-технические характеристики воздушно-пенных огнетушителей
приведены в приложении 2. 3.3.8. Перезарядка огнетушителей производится ежегодно, заменяется водный
раствор пенообразователя, проверяется вместимость пускового баллона путем его
взвешивания (ОВП-100 и УВП-250). Баллоны с рычажным запорным
устройством проверяются один раз в год, а с вентильным запором - один раз в
квартал путем взвешивания. Если утечка газа из пускового баллона составляет
более 5 % массы заряда, то баллон должен быть заменен или отправлен на
перезарядку. Масса газа заряженного
пускового баллона определяется как разность масс пустого и заряженного баллона
(значения массы оттеснены на горловине баллона). 3.3.9. При периодических осмотрах следует обращать внимание на целость
шлангов, чистоту пеногенераторов, состояние пусковых баллонов (ОВП-100 и
УВП-250), а также транспортных колес (ОВП-100). 3.3.10. Не рекомендуется устанавливать воздушно-пенные огнетушители вблизи
источников с высокой температурой, так как для водного раствора
пенообразователя оптимальной температурой является 20 °С, при которой он дольше
сохраняет свои огнетушащие свойства. 3.4. Газовые огнетушители
3.4.1. В газовых огнетушителях в качестве огнетушащего средства применяются
негорючие газы (двуокись углерода) или галоидуглеводородные соединения
(бромэтил, хладон). В зависимости от
применяемого огнетушащего средства огнетушители называются углекислотными,
хладоновыми, бромхладоновыми и т.п. 3.4.2. Углекислотные огнетушители (ОУ) получили наибольшее распространение
из-за их универсального применения, компактности и эффективности тушения. 3.4.3. Углекислотные огнетушители (рис. 6 - 9) могут быть ручными (ОУ-2,
ОУ-5 и ОУ-8), передвижными (ОУ-25 и ОУ-80), а также возимыми (ОУ-400). Возимые огнетушители ОУ-400
устанавливаются на автомобильном одноосном шасси. Они не нашли широкого
применения из-за необходимости транспортирования их автотранспортом, сложности
эксплуатации, ограниченного применения для тушения пожаров в производственных
зданиях и поэтому не рассматриваются в данной Типовой инструкции. Рис. 6. Ручной углекислотный огнетушитель ОУ-2: 1 - маховичок; 2 - вентиль; 3 - баллон; 4 -
раструб; 5 - сифонная трубка; 6 - кронштейн Рис.
7.
Ручной углекислотный огнетушитель ОУ-5 (ОУ-8): 1 - баллон; 2 - поворотный раструб; 3 - опорная
головка; 4 - сифонная трубка; 5 - хомут; 6 - крюк; 7 - упор; 8 - ручка; 9 -
чека Рис.
8.
Передвижной углекислотный огнетушитель ОУ-25: 1 - баллон; 2 - запорный
вентиль; 3 - шланг; 4 - раструб; 5 - тележка 3.4.4. Огнетушители типа ОУ различаются объемом заряда (2; 5; 8; 25 и 80 л),
а также конструкцией запорного устройства (вентильное или рычажное). 3.4.5. Углекислотные огнетушители предназначены для тушения загораний
различных веществ и материалов, а также электроустановок, кабелей и проводов,
находящихся под напряжением до 10 кВ (10000 В). 3.4.6. Заряд углекислотных огнетушителей находится под высоким давлением,
поэтому корпуса (баллоны) снабжаются предохранительными мембранами, а
заполнение диоксидом углерода допускается до 75 %. 3.4.7. Запрещается эксплуатация углекислотных огнетушителей без предохранительных
мембран, а также установка транспортных баллонов на передвижные тележки вместо
штатных. 3.4.8. Для приведения в действие ручных углекислотных огнетушителей ОУ-2,
ОУ-5 и ОУ-8 (см. рис. 6 и 7) необходимо: используя транспортную
рукоятку, снять и поднести огнетушитель к месту горения; направить раструб на очаг
горения и открыть запорно-пусковое устройство (вентиль или рычаг). Запорно-пусковое устройство
позволяет прерывать подачу углекислоты. Рис.
9.
Передвижной углекислотный огнетушитель ОУ-80 3.4.9. При работе углекислотных огнетушителей всех типов запрещается держать
раструб незащищенной рукой, так как при выходе углекислоты образуется
снегообразная масса с температурой минус 80 °С. У передвижных огнетушителей
ОУ-25 и ОУ-80 на раструбе имеется специальная изолированная ручка, которой
следует пользоваться при тушении пожара. 3.4.10. При использовании огнетушителей ОУ необходимо иметь в виду, что углекислота
в больших концентрациях к объему помещения может вызвать отравления персонала,
поэтому после применения углекислотных огнетушителей небольшие помещения
следует проветрить. 3.4.11. Для приведения в действие передвижных огнетушителей ОУ-25 и ОУ-80 (см.
рис. 8 и 9) необходимо: подкатить тележку к месту
пожара и установить их в рабочее положение (вертикально для ОУ-25 и наклонно
для ОУ-80); размотать шланг и открыть
запорно-пусковое устройство; держа раструб за специальную
изолированную ручку, направить снежную массу на очаг пожара. 3.4.12. Не допускается располагать огнетушители ОУ вблизи отопительных приборов,
где температура может быть более 50 °С, следует избегать прямого попадания
солнечных лучей на баллоны. 3.4.13. Углекислотные огнетушители с запорно-пусковым устройством рычажного
типа УН-52 (рис. 10) следует проверять не реже одного раза в год, а с вентильным запором -
один раз в квартал путем взвешивания. Из полученной массы
вычитается масса пустого баллона с запорным устройством, которая указывается в
паспорте огнетушителя и выбита на его корпусе. Утечка заряда из баллона не
должна быть более 5 % исходного количества в год. 3.4.14. Хладоновые огнетушители (рис. 11) и их разновидности:
бромхладоновые (ОБХ), углекислотно-бромэтиловые (ОУБ); аэрозольные хладоновые
(ОХ, ОАХ) и другие - предназначены для тушения загораний горючих жидкостей и
тушения электроустановок, находящихся под напряжением до 0,4 кВ. Рис.
10.
Запорно-пусковое устройство рычажного типа УН-52: 1 - рычаг; 2 - пружина; 3 -
прокладка; 4 - седло клапана; 5 - гайка; 6 - хвостовик; 7 - манжета; 8 - шток
клапана; 9 - ось рычага; 10 - пломба Запрещается применять эти
огнетушители для тушения щелочных металлов. 3.4.15. Хладоновые огнетушители по эффективности тушения превосходят
углекислотные огнетушители, т.е. для тушения требуется меньше огнетушащего
состава огнетушителя по массе и объему. Заряд этих огнетушителей
токсичен, поэтому тушить загорание в закрытых помещениях объемом менее 50 м3
следует через дверные проемы или вентиляционные отверстия. После тушения
загорания помещение следует тщательно проветрить. Из-за небольших габаритных
размеров эти огнетушители используются для тушения загораний автотранспорта,
судов и других транспортных механизмов. (Поправка.). 3.4.16. Для приведения в действие хладоновых огнетушителей или их
разновидностей следует поднести их за ручку к очагу пожара и, нажимая на кнопку
или рычаг запорно-пускового устройства, вскрыть
предохранительную мембрану и направить струю на пламя. Рис.
11.
Хладоновый огнетушитель ОУБ-3А (ОУБ-7А): 1 - пусковой рычаг; 2
- запорная головка;
3 - рукоятка; 4 - крепление; 5 - баллон; 6 - кронштейн; 7 - распыливающее устройство; 8 - предохранительный колпак 3.4.17. Испытание и освидетельствование газовых огнетушителей следует
осуществлять в соответствии с паспортами заводов-изготовителей и действующими
Правилами устройства и безопасной эксплуатации сосудов, работающих под
давлением. 3.5. Порошковые огнетушители
3.5.1. Порошковые огнетушители (ОП) предназначены для тушения пожаров
твердых, жидких и газообразных веществ (в зависимости от марки используемого
огнетушащего порошка), а также электроустановок, находящихся под напряжением до
1 кВ (1000 В). Ручные порошковые
огнетушители (рис. 12) выпускаются с массами заряда 1; 2; 5 и 10 кг,
передвижные (рис. 13) - 50 и 100 кг, стационарные автоматические
огнетушители (рис. 14) - 50 и 100 кг. Рис.
12.
Общий вид ручного порошкового огнетушителя ОП-5: 1 - пистолет; 2 - рычаг; 3 - рукав; 4 - пломба;
5 - сифонная труба; 6 - баллончик; 7 - игла; 8 - корпус; 9 - чека Рис.
13.
Общий вид передвижного порошкового огнетушителя ОП-100: 1 - корпус для порошка; 2 -
баллон для рабочего газа; 3 - шланг; 4 - выпускной клапан с насадкой; 5 -
регулятор давления; 6 - 8 - трубопроводы; 9 - предохранительный клапан; 10 -
манометр; 11 - запорная головка 3.5.2. Для приведения в действие ручных порошковых огнетушителей ОП-2, ОП-5
(см. рис. 12) и ОП-10 необходимо поднести огнетушитель к очагу пожара, выдернуть
клин или чеку 9, нажать на рычаг 2 и направить струю порошка в огонь. Для
прекращения подачи струи порошка достаточно опустить рычаг. Допускается многократное
пользование и прерывистое действие. Рис.
14.
Схема устройства стационарного автоматического огнетушителя ОПА: 1 - корпус огнетушителя; 2 - баллон
для сжатого газа; 3 - направляющая труба для груза; 4 - пусковой груз; 5 -
пусковой многозвенник; 6 - тросовая система ручного пуска; 7, 13 и 14 -
направляющие ролики; 8 - рукоятка ручного пуска; 9 - предохранительная чека; 10
- пороговый клапан; 11 - тросовая система автоматического пуска; 12 -
легкоплавкий и легковыжигаемый замки; 15 - кронштейн; 16 - распределительная
сеть; 17 - соединительная муфта; 18 - 21 - тройники; 22 - 24 - контргайки; 25 -
угольник; 26 - распылитель; 27 - диктующий участок трубопровода; 28 - узел
автоматического пуска; 29 - узел ручного пуска; 30 - запорно-пусковое
устройство; 31 - чека блокировки пускового груза В рабочем положении
огнетушитель следует держать строго вертикально, не переворачивая его. 3.5.3. Передвижные огнетушители ОП-50 и ОП-100 (см. рис. 13) имеют транспортную
тележку, рабочий и пусковой баллоны, а также шланг подачи порошка в зону
пожара. Для приведения огнетушителя
в действие необходимо выполнить следующее: подкатить огнетушитель без
резкого опрокидывания на расстояние 5 - 10 м к очагу пожара и установить строго
в вертикальном положении; снять и проложить без
перегибов и скручиваний шланг подачи порошка; сорвать пломбу и повернуть рычаг
запорной головки до отказа; открыв выпускной клапан,
направить струю порошка в зону пожара зигзагообразными движениями для
достижения большего охвата пламени порошковым облаком. Допускается многократное
открытие и закрытие выпускного клапана при тушении пожара. После окончания тушения
давление в огнетушителе должно быть снижено за счет открытия выпускного
клапана. 3.5.4. Запрещается разбирать огнетушитель, находящийся под давлением, для
снижения давления. 3.5.5. Автоматические порошковые огнетушители ОПА-50 и ОПА-100 (см. рис. 14) используются для защиты
технологических установок или небольших помещений. Конструкция огнетушителей
позволяет использовать их в качестве автоматических установок пожаротушения модульного
типа (рис. 15). Номинальная длина распределительной сети составляет 24 м, а число
распылителей не более шести. Рис.
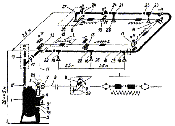
15.
Принципиальная схема монтажа УПМ на базе огнетушителей ОПА-100 модульного типа
с централизованным источником рабочего газа: 1 - пожарный извещатель; 2 -
установка автоматической пожарной сигнализации; 3 - устройство звуковой
сигнализации; 4 - баллон с рабочим газом; 5 - коллектор; 6 - 9 - огнетушители
ОПЛ-100 модульного типа; 10 - предохранительный клапан; 11 - распределительная
сеть; 12 - распылители; 13 - кнопка ручного пуска; 14 - запорно-пусковое
устройство; 15 - подставка огнетушителя Конструкция огнетушителей
ОПА аналогична передвижным ОП-50 и ОП-100, но для приведения в действие
используется тросовая система с легкоплавкими замками, которая дублируется
ручным приводом. 3.5.6. Не допускается располагать огнетушители вблизи отопительных приборов,
где температура может быть более 50 °С, а также в местах с прямым воздействием
солнечных лучей. 3.5.7. В зависимости от применяемой марки порошка и заряда пускового баллона
следует проводить проверку, техническое освидетельствование и испытание в
соответствии с заводским паспортом. 3.5.8. При заряде порошка следует особое внимание уделять его сыпучести и
отсутствию комков. Тактико-технические
характеристики порошковых огнетушителей изложены в приложении 2. 4. ВСПОМОГАТЕЛЬНЫЕ СРЕДСТВА И ИНВЕНТАРЬ4.1. Песок
4.1.1. Ящики вместимостью 0,5 м3 с песком и лопатами (совками)
устанавливаются только на основных отметках обслуживания турбогенераторов, у
трансформаторов и масляных реакторов открытой установки, монтажных площадок,
мазутных насосных, на эстакадах слива мазута, маслоаппаратных и т.п. 4.1.2. Тушение песком должно производиться путем разбрасывания его по
горящей поверхности, чем достигается механическое воздействие на пламя и его
частичная изоляция. 4.1.3. Песок, который хранится в металлических ящиках вместимостью 0,5 м3,
должен быть постоянно сухим, сыпучим, без комков. Один раз в год его необходимо
перемешивать и удалять комки. 4.1.4. Допускается применять песок для предотвращения растекания горючих
жидкостей, а также для их засыпки с последующей уборкой помещения. 4.2. Асбестовое полотно, войлок, кошма
4.2.1. Асбестовое полотно, войлок, кошма должны размещаться только в тех
местах, где их необходимо применять для защиты отдельного оборудования от огня
или изоляции от искр и очагов загорания при аварийной ситуации. 4.2.2. При небольших пожарах асбестовое полотно, войлок, кошма набрасываются
на горящую поверхность, изолируя ее от доступа воздуха. 4.2.3. Асбестовое полотно следует хранить в закрытом металлическом ящике,
проверка состояния готовности к действию должна производиться не реже двух раз
в год. 4.3. Внутренние пожарные краны
4.3.1. Пожарные краны должны быть оборудованы пожарными рукавами и стволами,
размещаться в пломбируемых шкафах. На дверце шкафа должен быть указан буквенный
индекс «ПК», порядковый номер пожарного крана, номер телефона вызова пожарной
помощи. 4.3.2. Пожарные рукава следует хранить сухими, хорошо скатанными и
присоединенными к кранам и стволам. Один раз в год рукава необходимо
перематывать, изменяя места складок. 4.3.3. Работоспособность пожарных кранов проверяется не реже одного раза в 6
мес. посредством пуска воды, результаты проверки регистрируются в специальном
журнале. Исправная задвижка должна плотно закрываться без больших усилий и
применения ручного инструмента. 4.3.4. Внутренние пожарные краны укомплектовываются пожарными напорными
рукавами диаметром 51 мм и длиной от 15 до 20 м, а также стволами. Напорные
рукава рассчитаны на рабочее давление 0,7 МПа. 4.3.5. Пожарные шкафы могут быть навесными или встроенными в стену. При
установке шкафов на топливоподачах их конструкция не должна допускать скопления
пыли. В пожарных шкафах
допускается устанавливать ручные огнетушители. 4.4. Пожарные топоры, багры, ведра и другой инвентарь
4.4.1. Пожарные топоры, ведра и другой инвентарь предназначены для вскрытия
конструкций или растаскивания горящих материалов. Этот инвентарь навешивается
на пожарных щитах, устанавливаемых на строительных площадках, складах и других
вспомогательных сооружениях. Использование этого инвентаря
в помещениях электростанций и подстанций не требуется. 5. ТУШЕНИЕ ПОЖАРОВ НА ЭЛЕКТРОУСТАНОВКАХ ЭЛЕКТРОСТАНЦИЙ И
ПОДСТАНЦИЙ
5.1. В качестве огнетушащих веществ при тушении пожаров на
электроустановках под напряжением целесообразно использовать: компактные и
распыленные струи воды, негорючие газы, хладон и порошковые составы, а также
комбинированные составы: углекислоту с хладоном и распыленную воду с порошком. 5.2. Загорания в
электроустановках под напряжением ликвидируются персоналом энергетического объекта
с помощью ручных и передвижных огнетушителей, типы которых приведены в табл. 1.
5.3. Подача компактных и распыленных струй воды при тушении пожара на
электроустановках под напряжением должна осуществляться с расстояний, не ближе
приведенных в табл. 2. При этом компактные струи воды целесообразно применять только в
случаях, когда к очагу горения невозможно приблизиться для подачи распыленной
воды.
5.4. При пожаре силового трансформатора, автотрансформатора или масляного
реактора для тушения целесообразно использовать распыленную воду и огнетушащий
порошок, подаваемые отдельно или в комбинациях. 5.5. При загораниях в машинных залах электростанций с выбросом горящего
турбинного масла необходимо обеспечить подачу огнетушащего порошка (например,
из огнетушителя ОП-100) в зону горения, а затем подачу воздушно-механической
пены или распыленной воды. 5.6. Запрещается применять пенные огнетушители для тушения пожаров внутри
генераторов или синхронных компенсаторов с воздушным охлаждением. 5.7. Для предотвращения распространения пожара стекающего горящего
турбинного масла необходимо обеспечить подачу пены на нижние отметки (например,
от огнетушителей ОВП-100 и УВП-250) и использовать песок, а по прибытии
передвижной техники применять пеногенераторы. 5.8. При тушении пожара на открытых кабельных трассах должна применяться
распыленная вода от пожарных стволов, а также углекислотные огнетушители. 5.9. При пожаре в кабельном помещении, когда температура, плотность дыма и
другие опасные факторы не препятствуют выполнению работ по ликвидации пожара,
персоналу и пожарным следует использовать углекислотные огнетушители. Приложение 1
Журнал контроля состояния первичных средств пожаротушения___________________________________________________________ наименование цеха, подразделения
Приложение 2
Тактико-технические
характеристики огнетушителей
(Исключен, Изм. № 1). (Поправка.). СОДЕРЖАНИЕ | |||||||||||||||||||||||||||||||||||||||||||||||||||||||||||||||||||||||||||||||||||||||||||||||||||||||||||||||||||||||||||||||||||||||||||||||||||||||||||||||||||||||||||||||||||||||||||||||||||||||||||||||||||||||||||||||||||||||||||||||||||||||||||||||||||||||||||||||||||||||||
|
|
|
|