Бесплатная библиотека стандартов и нормативов www.docload.ru

Все документы, размещенные на этом сайте, не являются их официальным изданием и предназначены исключительно для ознакомительных целей.
Электронные копии этих документов могут распространяться без всяких ограничений. Вы можете размещать информацию с этого сайта на любом другом сайте.
Это некоммерческий сайт и здесь не продаются документы. Вы можете скачать их абсолютно бесплатно!
Содержимое сайта не нарушает чьих-либо авторских прав! Человек имеет право на информацию!

 

ГОСУДАРСТВЕННЫЙ СТАНДАРТ СОЮЗА ССР

ВИСКОЗИМЕТРЫ КАПИЛЛЯРНЫЕ
СТЕКЛЯННЫЕ

ТЕХНИЧЕСКИЕ УСЛОВИЯ

ГОСТ 10028-81

ГОСУДАРСТВЕННЫЙ КОМИТЕТ СССР ПО УПРАВЛЕНИЮ
КАЧЕСТВОМ ПРОДУКЦИИ И СТАНДАРТАМ

Москва

ГОСУДАРСТВЕННЫЙ СТАНДАРТ СОЮЗА ССР

ВИСКОЗИМЕТРЫ КАПИЛЛЯРНЫЕ СТЕКЛЯННЫЕ

Технические условия

Glass capillary viscosimeters.
Specifications

ГОСТ
10028-81

Срок действия с 01.01.83

до 01.01.93

Настоящий стандарт распространяется на капиллярные стеклянные вискозиметры, предназначенные для определения кинематической вязкости жидкостей, изготовляемые для нужд народного хозяйства и экспорта.

Стандарт соответствует международному стандарту ИСО 3105-76 в части технических требований.

Коды ОКП указаны в справочном приложении.

1. ТИПЫ, ОСНОВНЫЕ ПАРАМЕТРЫ И РАЗМЕРЫ

1.1. Вискозиметры следует изготовлять типов:

ВПЖ-1, ВПЖ-2, ВПЖ-3, ВПЖ-4, ВПЖТ-1, ВПЖТ-2, ВПЖТ-3, ВПЖТ-4 - для определения вязкости прозрачных жидкостей;

ВПЖМ и ВПЖМТ - для определения вязкости малого количества прозрачной жидкости;

ВНЖ и ВНЖТ - для определения вязкости непрозрачных жидкостей.

1.2. Типы, основные параметры и размеры вискозиметров должны соответствовать указанным на черт. 1 - 6 и в табл. 1 - 6.

ВПЖ-1, ВПЖТ-1

* Размеры обеспечиваются инструментом.

Черт. 1

Таблица 1

мм

Номинальное значение постоянной К, мм22

Диапазон измерения вязкости, мм2

d

D±0,2

D1±1,0

Объем измерительного резервуара V, см3

ВПЖ-1

ВПЖТ-1

Номин.

Пред. откл.

Номин.

Пред. откл.

ВПЖ-1

ВПЖТ-1

0,003

От 0,6 до 3 включ.

0,34

± 0,02

0,34

± 0,007

2,50

7,0

1,5±0,2

1,5±0,08

0,01

От 2 до 10 включ.

0,54

0,54

± 0,01

3±0,3

3,0±0,15

0,03

От 6 до 30 включ.

0,86

± 0,03

0,86

± 0,02

4,00

6,2±0,3

6,2±0,30

0,1

От 20 до 100 включ.

1,16

1,16

0,3

От 60 до 300 включ.

1,52

± 0,04

1,52

± 0,03

1

От 200 до 1000 включ.

2,10

-

-

-

3

От 600 до 3000 включ.

2,75

-

-

10

От 2000 до 10000 включ.

3,75

± 0,05

-

-

5,00

8,0

30

От 6000 до 30000 включ.

5,10

-

-

5,50

100

От 20000 до 100000 включ.

6,85

± 0,06

-

-

6,85

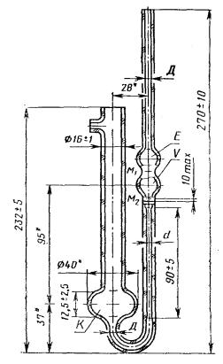
Вискозиметры типов ВПЖ-2 и ВПЖТ-2

* Размеры обеспечиваются инструментом.

1 - измерительный резервуар; 2, 3 - резервуары

Черт. 2

Таблица 2

мм

Номинальное значение постоянной К, мм22

Диапазон измерения вязкости, мм2

d

D±0,2

Объем измерительного резервуара V, см3

ВПЖ-2

ВПЖТ-2

Номин.

Пред. откл.

Номин.

Пред. откл.

ВПЖ-2

ВПЖТ-2

0,003

От 0,6 до 3 включ.

0,34

± 0,02

0,34

± 0,007

3,0

1,5±0,2

1,5±0,08

0,005

От 1 до 5 включ.

0,39

0,39

± 0,008

0,01

От 2 до 10 включ.

0,56

0,56

± 0,01

3,8±0,3

3,8±0,2

0,03

От 6 до 30 включ.

0,73

0,73

0,1

От 20 до 100 включ.

0,99

± 0,03

0,99

± 0,02

0,3

От 60 до 300 включ.

1,31

± 0,04

1,31

± 0,03

1

От 200 до 1000 включ.

1,77

1,77

3

От 600 до 3000 включ.

2,37

-

-

4,0

-

10

От 2000 до 10000 включ.

3,35

± 0,05

-

-

30

От 6000 до 30000 включ,

4,66

-

-

5,0

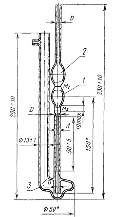
Вискозиметры типов ВПЖ-3 и ВПЖТ-3

* Размеры обеспечиваются инструментом.

1 - измерительный резервуар

Черт. 3

Таблица 3

мм

Номинальное значение постоянной К, мм22

Диапазон измерения вязкости, мм2

d

D

D1±0,5

Объем измерительного резервуара V, см3

ВПЖ-3

ВПЖТ-3

Номин.

Пред. откл.

Номин.

Пред. откл.

ВПЖ-3

ВПЖТ-3

± 6,2

0,01

От 0,7 до 3,5 включ.

0,38

± 0,02

0,38

± 0,008

1,5±0,1

7,5

1,0

1±0,05

0,017

От 1,2 до 6 включ.

0,43

0,43

± 0,009

0,03

От 2 до 10 включ.

0,49

0,49

± 0,010

0,05

От 3,5 до 17,5 включ.

0,56

0,56

0,1

От 7 до 35 включ.

0,80

-

-

2±0,1

2,1

-

0,17

От 12 до 60 включ.

0,92

-

-

0,3

От 21 до 105 включ.

1,06

-

-

0,5

От 35 до 175 включ.

1,20

-

-

1

От 70 до 350 включ.

1,43

± 0,03

-

-

1,7

От 120 до 600 включ.

1,63

-

-

3

От 210 до 1050 включ.

2,14

± 0,05

-

-

3±0,2

9,5

3,5

-

5

От 350 до 1750 включ.

2,44

-

-

10

От 700 до 3500 включ.

2,91

-

-

4±0,2

17

От 1200 до 6000 включ.

3,34

-

-

30

От 2100 до 10500 включ.

3,88

-

-

ВПЖ-4, ВПЖТ-4

* Размеры обеспечиваются инструментом.

Черт. 4

Таблица 4

мм

Номинальное значение постоянной К, мм22

Диапазон измерения вязкости, мм2

d

D±0,2

Объем измерительного резервуара V, см3

ВПЖ-4

ВПЖТ-4

Номин.

Пред. откл.

Номин.

Пред. откл.

ВПЖ-4

ВПЖТ-4

0,003

От 0,6 до 3 включ.

0,37

± 0,02

0,37

± 0,008

2,5

1,5±0,2

1,5±0,08

0,005

От 1 до 5 включ.

0,42

0,42

0,01

От 2 до 10 включ.

0,62

0,62

± 0,01

3,8±0,3

3,8±0,20

0,03

От 6 до 30 включ.

0,82

± 0,03

0,82

± 0,02

4,0

0,1

От 20 до 100 включ.

1,12

1,12

0,3

От 60 до 300 включ.

1,47

± 0,04

1,47

± 0,03

1

От 200 до 1000 включ.

2,00

-

-

-

3

От 600 до 3000 включ

2,62

-

-

10

От 2000 до 10000 включ.

3,55

± 0,05

-

-

5,0

Вискозиметры типов ВПЖМ и ВПЖМТ

* Размеры обеспечиваются инструментом.

1 - измерительный резервуар

Черт. 5

Таблица 5

Номинальное значение К, мм22

Диапазон измерения вязкости, мм2

d

Объем измерительного резервуара V, см3

ВПЖМ

ВПЖМТ

Номин.

Пред. откл.

Номин.

Пред. откл.

0,01

От 2 до 10 включ.

0,39

± 0,02

0,39

± 0,008

(0,5 - 0,6)±0,03

0,03

От 6 до 30 включ.

0,51

0,51

± 0,01

0,1

От 20 до 100 включ.

0,69

0,69

0,3

От 60 до 300 включ.

0,91

± 0,03

0,91

± 0,02

1

От 200 до 1000 включ.

1,23

1,23

3

От 600 до 3000 включ.

1,62

± 0,04

1,62

± 0,03

Вискозиметры типов ВНЖ и ВНЖТ

* Размеры обеспечиваются инструментом.

1 - измерительный резервуар; 2 - резервуары

Черт. 6

Таблица 6

мм

Номинальное значение постоянной К, мм22

Диапазон измерения вязкости, мм2

d

D±0,2

Объем измерительного резервуара V, см3

ВНЖ

ВНЖТ

Номин.

Пред. откл.

Номин.

Пред. откл.

ВНЖ

ВНЖТ

0,003

От 0,6 до 3 включ.

0,45

± 0,02

0,45

± 0,009

3,0

3±0,3

3±0,2

0,01

От 2 до 10 включ.

0,61

0,61

± 0,01

0,03

От 6 до 30 включ.

0,80

0,80

0,1

От 20 до 100 включ.

1,08

± 0,03

1,08

± 0,02

0,3

От 60 до 300 включ.

1,41

± 0,04

1,41

± 0,03

1

От 200 до 1000 включ.

1,91

-

-

-

3

От 600 до 3000 включ.

2,52

-

-

4,0

10

От 2000 до 10000 включ.

3,42

± 0,05

-

-

30

От 6000 до 30000 включ.

4,50

-

-

5,0

(Измененная редакция, Изм. № 1, 2).

1.3. Толщина стенок трубок вискозиметров должна быть не менее 1 мм.

Вискозиметры типов ВПЖ-2, ВПЖТ-2, ВПЖ-4, ВПЖТ-4, ВНЖ и ВНЖТ по требованию потребителей должны быть снабжены устройством, предохраняющим от конденсирования в приборе воды по ГОСТ 33-82.

По согласованию с потребителем вискозиметры типа ВПЖ-1 изготовляют с трубками, удлиненными на 100 мм.

Пример условного обозначения при заказе вискозиметра типа ВПЖ-1 с постоянной 0,003 мм22 из стекла группы ХС3:

ВПЖ-1-0,003-ХС3 ГОСТ 10028-81

2. ТЕХНИЧЕСКИЕ ТРЕБОВАНИЯ

2.1. Вискозиметры следует изготовлять в соответствии с требованиями настоящего стандарта по рабочим чертежам, утвержденным в установленном порядке.

2.2. Вискозиметры следует изготовлять из химико-лабораторного стекла групп ХС3 и ТС по ГОСТ 21400-75. Допускается слабый цветной оттенок стекла.

2.3. Вискозиметры должны быть отожжены.

Разность хода, отнесенная к 1 см пути луча в стекле, не должна превышать 8 млн-1.

(Измененная редакция, Изм. № 2).

2.4. Вискозиметры должны быть термически стойкими и выдерживать перепад температур, °С:

от 70±2 до 20±1 - из стекла группы ХС3;

» 120±2 » 20±1      »        »          »       ТС.

2.5. На поверхности и в толще стекла не допускают:

а) окалину, камни;

б) свиль, шлиры и узлы, сопровождаемые внутренним напряжением, не соответствующим разности хода лучей, указанной в п. 2.3;

в) пузыри, продавливаемые острием из материала одинаковой или меньшей, чем у стекла твердости; пузыри размером по наибольшему диаметру более 2 мм; более двух пузырей размером до 2 мм;

г) капилляры, продавливаемые острием из материала одинаковой или меньшей, чем у стекла твердости, более двух капилляров шириной более 0,3 мм (при изготовлении вискозиметров из стекла группы ХС3) и шириной более 0,5 мм (при изготовлении вискозиметров из стекла группы ТС);

д) мошка в сосредоточенном виде.

2.6. Конусы - по ГОСТ 8682-70. Керн насадки вискозиметров типов ВПЖ-3 и ВПЖТ-3 должен быть ровно обрезан и зашлифован.

2.7. Концы трубок вискозиметров должны быть ровно обрезаны, оплавлены или зашлифованы.

2.8. Отметки М, указанные на чертежах, должны быть нанесены по всей окружности перпендикулярно к оси трубки без видимых разрывов. Отметки должны быть окрашены несмываемой кислотами и растворителями краской, изготовленной по нормативно-технической документации, утвержденной в установленном порядке.

2.9. У вискозиметров типов ВПЖ-2, ВПЖТ-2, ВПЖ-4 и ВПЖТ-4 при положении уровня жидкости в измерительном резервуаре в середине между отметками М1 и М2 уровень жидкости в резервуаре 3 должен соответствовать самому широкому месту резервуара. Объем жидкости устанавливают в зависимости от размеров резервуара 2.

2.10. У вискозиметров типов ВНЖ и ВНЖТ при положении уровня жидкости на отметке М2 уровень жидкости в резервуаре 2 должен соответствовать самому широкому месту резервуара. Объем жидкости устанавливают в зависимости от размеров резервуара 2.

2.11. Значение постоянной К устанавливает предприятие-изготовитель и указывает в паспорте вискозиметра.

Допускаемая погрешность определения постоянных у вискозиметров типов ВПЖ-3, ВПЖТ-3, ВПЖ-4, ВПЖТ-4, ВНЖ и ВНЖТ должна быть ±0,3 %. Для вискозиметров остальных типов погрешность определения постоянных не должна превышать, %:

±0,2 - при номинальных значениях постоянных 0,03; 0,1; 0,3; 1,0 мм22;

±0,3 - при номинальных значениях постоянных 0,003; 0,005; 0,01; 3,0; 10,0; 30,0 и 100,0 мм22.

(Измененная редакция, Изм. № 2).

2.12. Отклонение установленного значения постоянной вискозиметра не должно превышать 25 % от номинального для вискозиметров типов ВПЖ, ВПЖМ, ВНЖ и 15 % - для вискозиметров типов ВПЖТ, ВПЖМТ, ВНЖТ.

(Введен дополнительно, Изм. № 2).

3. ПРАВИЛА ПРИЕМКИ

3.1. Для проверки вискозиметров на соответствие требованиям настоящего стандарта предприятие-изготовитель должно проводить государственные приемосдаточные и периодические испытания.

3.2. Государственные испытания - по ГОСТ 8.001-80 и ГОСТ 8.383-80.

3.1, 3.2. (Измененная редакция, Изм. № 1).

3.3. При приемосдаточных испытаниях каждый вискозиметр следует проверять на соответствие требованиям пп. 1.1 - 1.3; 2.5 а, в, г, д; 2.6; 2.8 10 % вискозиметров от партии - на соответствие требованиям пп. 2.3; 2.5 б; 2.9 - 2.11.

Результаты выборочной проверки распространяют на всю партию.

Партией считают число вискозиметров одного типа, предъявленных к приемке по одному документу.

3.4. При периодических испытаниях, проводимых предприятием-изготовителем раз в год, следует проверять 5 % от партии, но не менее пяти вискозиметров одного типа, на соответствие всем требованиям настоящего стандарта.

При неудовлетворительных результатах испытаний хотя бы по одному показателю следует провести повторные испытания удвоенного числа вискозиметров, взятых от той же партии.

Результаты повторных испытаний считают окончательными.

4. МЕТОДЫ ИСПЫТАНИЙ

4.1. Размеры вискозиметров (пп. 1.2 и 1.3), размеры дефектов стекла (п. 2.5 в, г) следует проверять универсальным измерительным инструментом по ГОСТ 166-89 и ГОСТ 427-75, микроскопом по ГОСТ 8074-82, пипетками по ГОСТ 20292-74.

4.2. Качество отжига стекла (п. 2.3) следует проверять по ГОСТ 7329-74.

4.3. Термическую стойкость (п. 2.4) следует проверять по ГОСТ 25535-82 по методу Б при однократном охлаждении. Погружение в холодную воду - до половины высоты вискозиметра.

(Измененная редакция, Изм. № 2).

4.4. Дефекты стекла и исполнения (пп. 2.5 а, д, 2.6, 2.7, 2.8) следует проверять визуально.

4.5. Конусы (п. 2.6) следует проверять по ГОСТ 8682-79.

4.6. Устойчивость отметок (п. 2.8) проверяют воздействием:

концентрированной серной кислоты - 5 ч;

хромовой смеси                                   - 24 ч;

дистиллированной воды                     - 2 ч.

После испытаний надписи исчезать не должны.

4.7. Соответствие требованиям (пп. 2.9 и 2.10) следует проверять опробованием.

4.8. Постоянную вискозиметра (п. 2.11) необходимо определять в соответствии с требованиями МИ 1748-87.

5. МАРКИРОВКА, УПАКОВКА, ТРАНСПОРТИРОВАНИЕ И ХРАНЕНИЕ

5.1. На каждом вискозиметре должны быть нанесены:

товарный знак предприятия-изготовителя (допускается наносить на первичной упаковке);

внутренний диаметр капилляра;

тип вискозиметра (допускается наносить на первичной упаковке);

год и квартал изготовления;

порядковый номер вискозиметра по системе нумерации предприятия-изготовителя;

группа стекла.

Маркировка вискозиметров, предназначенных для экспорта, должна соответствовать требованиям ГОСТ 1.22-85 и заказ-наряда внешнеторговой организации.

5.2. К каждому вискозиметру должен быть приложен паспорт по ГОСТ 2.601-68, на котором должно быть нанесено обозначение государственного Знака качества, если он присвоен вискозиметру.

5.3. Каждый вискозиметр должен быть уложен в отдельную коробку из картона по ГОСТ 7933-89 с перегородками по форме вискозиметра. В местах соприкасания стекла с перегородкой должна быть прикреплена мягкая прокладка из амортизационного материала.

Допускается каждый вискозиметр, завернутый в бумагу по ГОСТ 8273-75, укладывать в отдельную коробку из картона по ГОСТ 7933-89 с прокладкой ваты по ГОСТ 5679-85.

На коробке должна быть наклейка, на которую наносят:

товарный знак предприятия-изготовителя;

товарный знак предприятия-изготовителя или товарный знак внешнеторговой организации, зарегистрированный за границей в установленном порядке для вискозиметров, предназначенных для экспорта;

наименование и условное обозначение изделия;

обозначение настоящего стандарта;

изображение государственного Знака качества, если он присвоен вискозиметру.

Надписи на наклейках коробок с вискозиметрами, предназначенными для экспорта, должны соответствовать заказ-наряду внешнеторговой организации.

5.4. Коробки с вискозиметрами упаковывают с прокладкой стружки марки II по ГОСТ 5244-79 в деревянные ящики типов I, II-1, II-2, III-1 по ГОСТ 2991-85, ГОСТ 5959-80, ГОСТ 15841-88, ГОСТ 16536-90 и ГОСТ 16511-86.

Упаковка должна обеспечивать сохранность вискозиметров при транспортировании транспортом любого вида, а также при штабелировании на высоту 3,3 м.

При транспортировании контейнером допускается другой вид тары, обеспечивающий сохранность вискозиметров.

Транспортная тара для экспортных поставок должна соответствовать ГОСТ 24634-81 и документации предприятия-изготовителя. Стружка должна быть изготовлена из древесины хвойных пород по ГОСТ 24454-80 или лиственных пород по ГОСТ 2695-83.

5.5. Коробки с вискозиметрами, поставляемыми в страны с тропическим климатом, должны быть упакованы с прокладкой стружки влажностью не более 15 % в мешок из полиэтиленовой пленки толщиной 0,2 мм по ГОСТ 10354-82. Допускается использовать другие пленочные материалы, обеспечивающие сохранность вискозиметров.

Мешок должен быть хорошо расправлен и герметично сварен.

5.6. Масса ящика с упакованными вискозиметрами не должна превышать 50 кг.

Укрупнение грузовых мест в транспортные пакеты - по правилам перевозки грузов, утвержденным соответствующими ведомствами.

5.7. Транспортная маркировка грузовых мест - по ГОСТ 14192-77.

На каждом ящике должны быть нанесены несмываемой краской манипуляционные знаки, соответствующие надписям: «Осторожно, хрупкое», «Верх, не кантовать».

Транспортная маркировка грузовых мест для экспорта должна соответствовать требованиям ГОСТ 24634-81, ГОСТ 14192-77 и заказ-наряду внешнеторговой организации.

5.8. В каждый ящик должна быть вложена товаросопроводительная документация с указанием:

товарного знака предприятия-изготовителя;

наименования и условного обозначения изделия;

числа вискозиметров;

обозначения настоящего стандарта;

даты изготовления.

5.9. Товаросопроводительная документация на вискозиметры, предназначенные для экспорта, должна соответствовать заказу-наряду внешнеторговой организации и быть составлена на русском языке и языке, указанном в заказ-наряде внешнеторговой организации.

Товаросопроводительная документация должна быть завернута в оберточную бумагу марки А по ГОСТ 8273-75, вложена в пакет из полиэтиленовой пленки по ГОСТ 10354-82, а для вискозиметров, предназначенных в страны с тропическим климатом, - в два пакета с последующим упаковыванием в водонепроницаемую бумагу по ГОСТ 8828-89. Швы пакета из полиэтиленовой пленки должны быть герметично сварены.

Края водонепроницаемой бумаги должны быть склеены синтетическим клеем. Допускается применять поливинилхлоридную и полихлорвиниловую пленки по ГОСТ 16272-79.

5.10. Упаковочный лист, завернутый в водонепроницаемую бумагу по ГОСТ 8828-89, должен быть уложен в пакет из полиэтиленовой пленки по ГОСТ 10354-82 с заваренными швами и помещен в карман ящика.

При упаковывании партии вискозиметров в несколько ящиков карман укрепляют на ящике № 1.

5.11. Транспортируют вискозиметры закрытым транспортом любого вида в соответствии с правилами, действующими на каждом виде транспорта.

5.12. Условия транспортирования и хранения вискозиметров в нераспакованном виде - 6 по ГОСТ 15150-69.

ПРИЛОЖЕНИЕ

Справочное

Коды ОКП

Обозначение вискозиметра

Код ОКП

Обозначение вискозиметра

Код ОКП

ВПЖ-1-0,003-ХСЗ

43 2112 0111 09

ВПЖ-4-0,01-ХСЗ

43 2112 0412 10

ВПЖ-1-0,01-ХСЗ

43 2112 0112 08

ВПЖ-4-0,03-ХСЗ

43 2112 0413 09

ВПЖ-1-0,03-ХСЗ

43 2112 0113 07

ВПЖ-4-0,1-ХСЗ

43 2112 0414 08

ВПЖ-1-0,1-ХСЗ

43 2112 0114 06

ВПЖ-4-0,3-ХСЗ

43 2112 0415 07

ВПЖ-1-0,3-ХСЗ

43 2112 0115 05

ВПЖ-4-1-ХСЗ

43 2112 0416 06

ВПЖ-1-1-ХСЗ

43 2112 0116 04

ВПЖ-4-3-ХСЗ

43 2112 0417 05

ВПЖ-1-3-ХСЗ

43 2112 0117 03

ВПЖ-4-10-ХСЗ

43 2112 0418 04

ВПЖ-1-10-ХСЗ

43 2112 0118 02

ВПЖМ-0,01-ХСЗ

43 2112 0511 08

ВПЖ-1-30-ХСЗ

43 2112 0119 01

впжм-0,03-хсз

43 2112 0512 07

ВПЖ-1-100-ХСЗ

43 2112 0120 08

ВПЖМ-0,1-ХСЗ

43 2112 0513 06

ВПЖ-2-0,003-ХСЗ

43 2112 0211 06

впжм-0,3-хсз

43 2112 0514 05

ВПЖ-2-0,005-ХСЗ

43 2112 0220 05

ВПЖМ-1-ХСЗ

43 2112 0515 04

ВПЖ-2-0,01-ХСЗ

43 2112 0212 05

впжм-3-хсз

43 2112 0516 03

ВПЖ-2-0,03-ХСЗ

43 2112 0213 04

ВНЖ-0,003-ХСЗ

43 2112 0611 05

ВПЖ-2-0,1-ХСЗ

43 2112 0214 03

ВНЖ-0,01-ХСЗ

43 2112 0612 04

ВПЖ-2-0,3-ХСЗ

43 2112 0215 02

внж-0,03-хсз

43 2112 0613 03

ВПЖ-2-1-ХСЗ

43 2112 0216 01

ВНЖ-0,1-ХСЗ

43 2112 0614 02

ВПЖ-2-3-ХСЗ

43 2112 0217 00

ВНЖ-0,3-ХСЗ

43 2112 0615 01

ВПЖ-2-10-ХСЗ

43 2112 0218 10

ВНЖ-1-ХСЗ

43 2112 0616 00

ВПЖ-2-30-ХСЗ

43 2112 0219 09

ВНЖ-3-ХСЗ

43 2112 0617 10

ВПЖ-3-0,01-ХСЗ

43 2112 0316 09

внж-10-хсз

43 2112 0618 09

ВПЖ-3-0,017-ХСЗ

43 2112 0311 03

внж-30-хсз

43 2112 0619 08

впж-3-0,03-хсз

43 2112 0317 08

ВПЖТ-1-0,003-хсз

43 2112 0711 02

ВПЖ-3-0,05-ХСЗ

43 2112 0312 02

ВПЖТ-1-0,01-ХСЗ

43 2112 0712 01

ВПЖ-3-0,1-ХСЗ

43 2112 0318 07

ВПЖТ-1-0,03-ХСЗ

43 2112 0713 00

ВПЖ-3-0,17-ХСЗ

43 2112 0313 01

ВПЖТ-1-0,1-ХСЗ

43 2112 0714 10

впж-3-0,3-хсз

43 2112 0319 06

ВПЖТ-1-0,3-ХСЗ

43 2112 0715 09

ВПЖ-3-0,5-ХСЗ

43 2112 0314 00

ВПЖТ-2-0,003-хсз

43 2112 0811 10

ВПЖ-3-1-ХСЗ

43 2112 0320 02

ВПЖТ-2-0,005-хсз

43 2112 0812 09

ВПЖ-3-1,7-ХСЗ

43 2112 0315 10

ВПЖТ-2-0,01-ХСЗ

43 2112 0813 08

ВПЖ-3-3-ХСЗ

43 2112 0321 01

ВПЖТ-2-0,03-ХСЗ

ВПЖТ-2-0,1-ХСЗ

43 2112 0814 07

43 2112 0815 06

ВПЖ-3-5-ХСЗ

43 2112 0322 00

ВПЖ-3-10-ХСЗ

43 2112 0323 10

ВПЖТ-2-0,3-ХСЗ

43 2112 0816 05

ВПЖ-3-17-ХСЗ

43 2112 0324 09

ВПЖТ-2-1-ХСЗ

43 2112 0817 04

ВПЖ-3-30-ХСЗ

43 2112 0325 08

ВПЖТ-4-0,3-ХСЗ

43 2112 1008 03

ВПЖ-4-0,003-ХСЗ

43 2112 0411 00

ВПЖМТ-0,01-ХСЗ

43 2112 1111 05

ВПЖ-4-0,005-ХСЗ

43 2112 0419 03

впжмт-0,03-хсз

43 2112 1112 04

ВПЖТ-3-0,01-ХСЗ

43 2112 0911 07

ВПЖМТ-0,1-ХСЗ

43 2112 1113 03

ВПЖТ-3-0,017-ХСЗ

43 2112 0912 06

ВПЖМТ-0,3-ХСЗ

43 2112 1114 02

впжт-3-0,03-хсз

43 2112 0913 05

ВПЖМТ-1-ХСЗ

43 2112 1115 01

ВПЖТ-3-0,05-ХСЗ

43 2112 0914 04

впжмт-3-хсз

43 2112 1116 00

ВПЖТ-4-0,003-хсз

43 2112 1003 08

ВНЖТ-0,003-ХСЗ

43 2112 1211 02

ВПЖТ-4-0,005-хсз

43 2112 1004 07

ВНЖТ-0,01-ХСЗ

43 2112 1212 01

ВПЖТ-4-0,03-ХСЗ

43 2112 1006 05

внжт-0,03-хсз

43 2112 1213 00

ВПЖТ-4-0,1-ХСЗ

43 2112 1007 04

ВНЖТ-0,1-ХСЗ

43 2112 1214 10

 

 

ВНЖТ-0,3-ХСЗ

43 2112 1215 09

ИНФОРМАЦИОННЫЕ ДАННЫЕ

1.    РАЗРАБОТАН И ВНЕСЕН Министерством приборостроения, средств автоматизации и систем управления Государственным комитетом СССР по стандартам

РАЗРАБОТЧИКИ

Л.Ф. Маркина (руководитель темы), Л.К. Захаров, А.С. Прокудина, В.Ф. Климова

2.    УТВЕРЖДЕН И ВВЕДЕН В ДЕЙСТВИЕ Постановлением Государственного комитета СССР по стандартам от 19.05.81 № 2461

3.    СРОК ПРОВЕРКИ - 1990 г., периодичность проверки - 5 лет

4.    ВЗАМЕН ГОСТ 10028-67

5.    ССЫЛОЧНЫЕ НОРМАТИВНО-ТЕХНИЧЕСКИЕ ДОКУМЕНТЫ

Обозначение НТД, на который дана ссылка

Номер пункта

Обозначение НТД, на который дана ссылка

Номер пункта

ГОСТ 1.22-85

5.1

ГОСТ 8273-75

3.5; 5.9

ГОСТ 2.601-68

5.2

ГОСТ 8682-70

2.6; 4.5

ГОСТ 8.001-80

3.2

ГОСТ 8828-89

5.9; 5.10

ГОСТ 8.383-80

3.2

ГОСТ 10354-82

5.5; 5.9; 5.10

ГОСТ 33-82

1.3

ГОСТ 14192-77

5.7

ГОСТ 166-89

4.1

ГОСТ 15150-69

5.12

ГОСТ 427-75

4.1

ГОСТ 15841-88

5.4

ГОСТ 2695-83

5.4

ГОСТ 16272-79

5.9

ГОСТ 2991-85

5.4

ГОСТ 16511-86

5.4

ГОСТ 5244-79

5.4

ГОСТ 16536-90

5.4

ГОСТ 5679-85

5.3

ГОСТ 20292-74

4.1

ГОСТ 5959-80

5.4

ГОСТ 21400-75

2.2

ГОСТ 7329-74

4.2

ГОСТ 24454-80

5.4

ГОСТ 7933-89

5.3

ГОСТ 24634-81

5.4; 5.7

ГОСТ 8074-82

4.1

ГОСТ 25535-82

4.3

6.    Переиздание (март 1991 г.) с Изменениями № 1, 2, утвержденными в июле 1983 г., июне 1987 г. (ИУС 10-83, 9-87)

7.    Проверен в 1987 г. Срок действия продлен до 01.01.93 (Постановление Государственного комитета СССР по стандартам от 12.06.87 № 2019)

СОДЕРЖАНИЕ

 




Rambler's Top100 Яндекс цитирования
  Copyright © 2008-2026, www.docload.ru