МЕЖГОСУДАРСТВЕННЫЙ СТАНДАРТ
|
ГАЙКИ ШЕСТИГРАННЫЕ КОРОНЧАТЫЕ С
УМЕНЬШЕННЫМ РАЗМЕРОМ «ПОД КЛЮЧ» С
ДИАМЕТРОМ РЕЗЬБЫ СВЫШЕ 48 мм
(КЛАСС ТОЧНОСТИ А)
|
ГОСТ
10609-72
Взамен
ГОСТ 10609-63
|
|
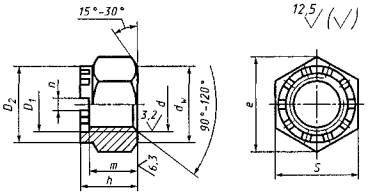
Конструкция и размеры
|
|
Hexagon castle nuts with reduced width across flat with thread diameter over 48 mm (Product grade A). Design and dimensions
|
Постановлением Государственного комитета стандартов
Совета Министров СССР от 12 сентября 1972 г. № 1709 дата введения установлена
01.01.74
Ограничение срока действия снято по протоколу № 5-94
Межгосударственного совета но стандартизации, метрологии и сертификации (ИУС
11-12-94)
Издание 2006 г. с Изменениями № 1, 2, утвержденными
в июне 1980 г., декабре 1986 г. (ИУС 9-80, 4-87).
1. Настоящий стандарт распространяется на шестигранные корончатые гайки
общего назначения с уменьшенным размером «под ключ» класса точности А с
диаметром резьбы свыше 48 мм.
(Измененная редакция, Изм. № 2).
2. Конструкция и размеры гаек должны соответствовать указанным на
чертеже и в таблице.

мм
|
Номинальный диаметр резьбы d
|
(52)
|
56
|
64
|
72
|
(76)
|
80
|
90
|
100
|
110
|
125
|
140
|
160
|
|
dw,
не менее
|
66,1
|
70,8
|
79,9
|
89,4
|
94,2
|
98,9
|
108,4
|
122,6
|
136,8
|
146,3
|
170,0
|
198,4
|
|
Шаг резьбы
|
крупный
|
5,0
|
5,5
|
6,0
|
|
|
|
|
|
|
|
|
|
|
мелкий
|
3,0
|
4,0
|
6,0 и 4,0
|
|
Размер «под ключ» S (пред.
откл. при S ≤ 80 мм по h13, при S >
80 мм по h14)
|
70
|
75
|
85
|
95
|
100
|
105
|
115
|
130
|
145
|
155
|
180
|
210
|
|
Высота h
(пред. откл. по h14)
|
52
|
60
|
65
|
70
|
75
|
80
|
90
|
100
|
105
|
120
|
130
|
140
|
|
Диаметр описанной
окружности e, не менее
|
78,6
|
84,3
|
95,1
|
106,4
|
112,0
|
117,7
|
129,0
|
145,8
|
162,7
|
174,0
|
202,3
|
236,0
|
|
Наружный диаметр коронки D2 (пред. откл. по h14)
|
65
|
70
|
80
|
85
|
95
|
100
|
110
|
120
|
130
|
150
|
170
|
190
|
|
Внутренний диаметр коронки Dl
(пред. откл.
по Н14)
|
55
|
60
|
70
|
75
|
80
|
85
|
95
|
105
|
115
|
130
|
145
|
165
|
|
Число прорезей
|
10
|
|
Ширина прорези n (пред.
откл. по H14)
|
10
|
12
|
14
|
18
|
|
Расстояние от опорной
поверхности до основания прорези m (пред. откл. по h14)
|
40
|
44
|
50
|
55
|
60
|
62
|
70
|
78
|
85
|
98
|
110
|
120
|
|
Размер шплинта для гаек
(рекомендуемый)
|
8×80
|
10×90
|
10×100
|
10×110
|
10×125
|
13×125
|
13×140
|
13×160
|
16×180
|
16×200
|
16×220
|
Примечание. Размеры гаек, заключенные в
скобки, применять не рекомендуется.
Пример условного обозначения
гайки диаметром резьбы d = 56 мм, с крупным шагом резьбы с полем допуска
6Н, из материала группы 02, без покрытия:
Гайка М56 - 6Н.02 ГОСТ 10609-72
То же, с мелким шагом резьбы с
полем допуска 6Н, из материала группы 07, с покрытием 01 толщиной 9 мкм:
Гайка М56×4 - 6H.07.019 ГОСТ 10609-72
(Измененная редакция, Изм. № 1, 2).
3. (Исключен,
Изм. № 2).
4. Технические требования - по ГОСТ
18126-94.
5. Теоретическая масса гаек
указана в приложении 1.
6. (Исключен, Изм. № 2).
ПРИЛОЖЕНИЕ 1
Справочное
|
Шаг резьбы, мм
|
Теоретическая масса гайки,
кг ≈, при номинальном диаметре резьбы d, мм
|
|
(52)
|
56
|
64
|
72
|
(76)
|
80
|
90
|
100
|
110
|
125
|
140
|
160
|
|
Крупный - 5,0; 5,5 и 6,0
|
0,79
|
0,99
|
1,41
|
-
|
-
|
-
|
-
|
-
|
-
|
-
|
-
|
-
|
|
Мелкий - 3,0 и 4,0
|
0,79
|
0,96
|
1,36
|
1,82
|
2,22
|
2,52
|
3,21
|
4,68
|
6,60
|
7,48
|
12,1
|
18,4
|
|
Мелкий - 6,0
|
-
|
-
|
-
|
1,88
|
2,30
|
2,60
|
3,31
|
4,80
|
6,74
|
7,66
|
12,4
|
18,7
|
ПРИЛОЖЕНИЕ 2. (Исключено,
Изм. № 2).
|