Бесплатная библиотека стандартов и нормативов www.docload.ru

Все документы, размещенные на этом сайте, не являются их официальным изданием и предназначены исключительно для ознакомительных целей.
Электронные копии этих документов могут распространяться без всяких ограничений. Вы можете размещать информацию с этого сайта на любом другом сайте.
Это некоммерческий сайт и здесь не продаются документы. Вы можете скачать их абсолютно бесплатно!
Содержимое сайта не нарушает чьих-либо авторских прав! Человек имеет право на информацию!

 

ГОСУДАРСТВЕННЫЙ СТАНДАРТ
СОЮЗА ССР

СЫРЬЕ КОКСОХИМИЧЕСКОЕ
ДЛЯ ПРОИЗВОДСТВА ТЕХНИЧЕСКОГО
УГЛЕРОДА

ТЕХНИЧЕСКИЕ УСЛОВИЯ

ГОСТ 11126-88

ИПК ИЗДАТЕЛЬСТВО СТАНДАРТОВ

Москва

ГОСУДАРСТВЕННЫЙ СТАНДАРТ СОЮЗА ССР

СЫРЬЕ КОКСОХИМИЧЕСКОЕ ДЛЯ ПРОИЗВОДСТВА ТЕХНИЧЕСКОГО УГЛЕРОДА

Технические условия

Coke chemical raw materials for production of industrial carbon. Specifications

ГОСТ
11126-88

Дата введения 01.01.89

Настоящий стандарт распространяется на коксохимическое сырье для производства технического углерода; антраценовую фракцию, антраценовое масло и пековые дистилляты, получаемые при разработке каменноугольной смолы.

(Измененная редакция, Изм. № 2, Изм. № 4).

1. ТЕХНИЧЕСКИЕ ТРЕБОВАНИЯ

1.1. Продукт должен быть изготовлен в соответствии с требованиями настоящего стандарта по технологическому регламенту, утвержденному в установленном порядке.

1.2. Характеристики (свойства)

1.2.1. По физико-химическим показателям коксохимическое сырье для производства технического углерода должно соответствовать требованиям и нормам, указанным в табл. 1.

(Измененная редакция, Изм. № 1, 3).

1.3. Требования безопасности

1.3.1. Коксохимическое сырье для производства технического углерода обладает токсичными свойствами. По степени воздействия на организм относится ко 2-му классу опасности (ГОСТ 12.1.007).

1.3.2. Предельно допустимая концентрация паров продукта в воздухе рабочей зоны по наиболее токсичному компоненту - антрацену - 0,1 мг/м3.

Контроль за концентрацией вредных веществ проводится по методикам, разработанным в соответствии с ГОСТ 12.1.016.

1.3.3. Коксохимическое сырье для производства технического углерода - горючая жидкость.

Таблица 1

Наименование показателя

Норма

Метод анализа

Антраценовая фракция

Антраценовое масло ОКП 24 5711 0130

Пековые дистилляты ОКП 24 5353 0100

марка А ОКП 24 5711 0110

марка Б ОКП 24 5711 0120

1. Плотность при 20 °С, г/см3, не менее

1,12

1,10

1,10

1,13

По ГОСТ 18995.1 и п. 3.2 настоящего стандарта

2. Объемная доля воды, %, не более

1,0

1,0

1,0

1,5

По ГОСТ 2477 или по п. 3.3 настоящего стандарта

3. Фракционный состав, % (по объему):

 

 

 

 

По п. 3.3

до 210 °С не более

1

1

1

1

 

до 300 °С не более

20

25

30

Не нормируется

 

до 360 °С не менее

Не нормируется

35

 

4. Массовая доля сырого антрацена, %, не более

20

18

Не нормируется

По п. 3.4

5. Осадок при 70 °С

Не нормируется

Отсутствует

Не нормируется

По п. 3.5

6. Коксуемость (коксовое число), %, не более

2,0

1,0

1,5

2,0

По ГОСТ 19932 и п. 3.6.1 настоящего стандарта

7. (Исключён, Изм. № 1).

 

 

 

 

 

8. Массовая доля иона натрия, %, не более

0,005

0,005

0,005

0,005

По п. 3.8

9, Массовая доля иона калия, %, не более

0,0005

0,0005

0,0005

0,0005

По п. 3.8

10. Массовая доля механических примесей, %, не более

0,02

0,02

0,02

0,02

По п. 3.9

Примечания:

1. Показатели 4 для антраценовой фракции и 5 для антраценового масла проверяют только в продукте, который транспортируется в необогреваемых цистернах.

2, 3, 4. (Исключены, Изм. № 1).

5. (Исключено, Изм. № 4).

6. (Исключено, Изм. № 1).

Пожарная безопасность при его производстве должна обеспечиваться в соответствии с требованиями ГОСТ 12.1.004.

Температура вспышки:

антраценовой фракции - 140 °С,

антраценового масла - 141 °С,

пековых дистиллятов - 145 °С.

Температура воспламенения:

антраценовой фракции - 169 °С;

антраценового масла - 171 °С;

пековых дистиллятов - 175 °С.

Температура самовоспламенения:

антраценовой фракции - 554 °С;

антраценового масла - 548 °С;

пековых дистиллятов - 566 °С.

Температурные пределы воспламенения паров:

антраценовой фракции: нижний - 133 °С, верхний - 165 °С; антраценового масла: нижний - 120 °С, верхний - 160 °С;

пековых дистиллятов: нижний - 137 °С, верхний - 170 °С.

Для тушения продукта применяют распыленную воду, огнетушащую пену, песок, углекислый газ, пар.

1.3.4. При изготовлении коксохимического сырья для производства технического углерода и работе с ним должны соблюдаться требования, предусмотренные ГОСТ 12.1.007 и правилами безопасности в коксохимической промышленности, утвержденными в установленном порядке.

1.3.5. Помещения, в которых проводятся работы с коксохимическим сырьем для производства технического углерода, должны быть оборудованы приточно-вытяжной вентиляцией, отвечающей требованиям ГОСТ 12.4.021 и обеспечивающей содержание вредных веществ в концентрациях, не превышающих предельно допустимые.

1.3.6. Обезвреживание разлитого продукта проводится в соответствии с санитарными правилами наполнения, транспортирования, обезвреживания и захоронения токсичных промышленных отходов, утвержденных Минздравом СССР.

(Введен дополнительно, Изм. № 1).

2. ПРИЕМКА

2.1. Правила приемки - по ГОСТ 5445.

2.2. Нормы по показателям 4, 6, 8, 9 и 10 табл. 1 изготовитель определяет периодически один раз в 10 сут по средней пробе, составленной из проб, отобранных от каждой партии продукта за этот период. Массовую долю калия изготовитель определяет по требованию потребителей.

(Измененная редакция, Изм. № 1, 3).

2.3. При получении неудовлетворительных результатов анализа периодических испытаний изготовитель проверяет каждую партию до получения удовлетворительных результатов не менее чем в трех партиях подряд.

(Измененная редакция, Изм. № 1).

3 МЕТОДЫ АНАЛИЗА

3.1а. Общие указания по проведению анализа - по ГОСТ 27025.

Допускается применять другие средства измерения с метрологическими характеристиками и оборудование с техническими характеристиками не хуже, а также реактивы по качеству не ниже указанных в настоящем стандарте.

При взвешивании применяют следующие лабораторные весы:

с наибольшим пределом взвешивания 200 г и погрешностью взвешивания не более 0,0002 г;

с наибольшим пределом взвешивания 500 г и погрешностью взвешивания не более 0,0035 г;

с наибольшим пределом взвешивания 1000 г и погрешностью взвешивания не более 0,1 г.

Допускаемые расхождения между результатами определений, полученных в разных лабораториях (предел воспроизводимости) по пп. 3.3, 3.4, 3.8 и 3.9 настоящего стандарта, являются рекомендуемыми до 2008.01.01. После этой даты при отсутствии замечаний нормативы воспроизводимости переходят в обязательные.

(Введен дополнительно, Изм. № 1).

(Измененная редакция, Изм. 3, Изм. № 4).

3.1. Отбор проб

3.1.1. Методы отбора проб - по ГОСТ 5445 со следующим дополнением: перед отбором пробы у потребителя продукт перемешивают любым способом.

Допускается у потребителя отбор проб продукта с помощью стационарного пробоотборника, установленного в цистерне.

3.1.2. Объем средней лабораторной пробы должен быть 1 - 2 дм3.

3.1.1, 3.1.2. (Введены дополнительно, Изм. № 2).

3.2. Определение плотности

Плотность определяют по ГОСТ 18995.1 со следующими дополнениями:

анализируемую пробу продукта подогревают до 70 - 80 °С до полного растворения кристаллов и тщательно перемешивают;

для измерения плотности пользуются ареометром по ГОСТ 18481 и термометром с пределом измерения 100 °С с ценой деления 1 °С;

для приведения значения плотности к 20 °С пользуются температурной поправкой плотности 0,0007 г/см3 на 1 °С.

(Измененная редакция, Изм. № 1).

3.3а. Объемную долю воды определяют по ГОСТ 2477. При этом в качестве растворителя применяют толуол по ГОСТ 9880, ГОСТ 14710 и ГОСТ 5789 или бензин по нормативной документации.

Объемную долю воды допускается определять по п. 3.3 настоящего стандарта.

(Введен дополнительно, Изм. № 1).

3.3. Определение объемной доли воды и фракционного состава

Метод позволяет определять объемную долю воды от 0,5 до 3,0 % и фракционный состав от 0,5 до 70 %.

(Измененная редакция, Изм. № 1).

3.3.1. Приборы и посуда

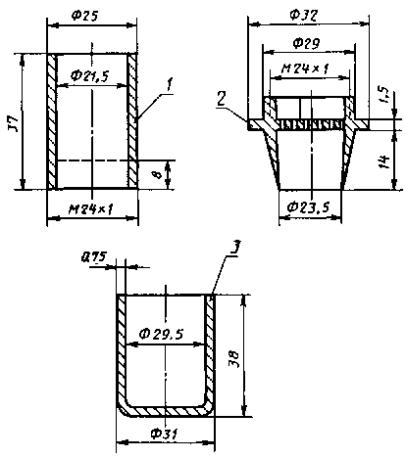
Колба металлическая круглодонная вместимостью 200 - 250 см3 с пришлифованной пробкой на графитовой смазке (черт. 1) или колба стеклянная той же вместимости (черт. 2) или по ГОСТ 25336. Допускается использовать корковую пробку без графитовой смазки, герметизированную асбестом или другим способом.

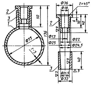
Дефлегматор стеклянный одношариковый (черт. 3).

Ультратермостат.

Холодильник воздушный стеклянный с трубкой длиной 600 мм и диаметром 15 - 18 мм или холодильники ХПТ-200, ХПТ-300 по ГОСТ 25336.

Цилиндры 1-10(100)-2 по ГОСТ 1770.

Термометры стеклянные ТН7 по ГОСТ 400.

(Измененная редакция, Изм. № 1, 3).

3.3.2. Подготовка к анализу

Для анализа продукта с применением металлической колбы дефлегматор подготавливают следующим образом. Нижнюю часть дефлегматора по высоте до 3 см обматывают асбестовым шнуром, пропитанным жидким стеклом и тальком, и вставляют в пробку металлической колбы. Часть дефлегматора над пробкой по высоте до 1 см для более полной герметизации также обматывают асбестовым шнуром, пропитанным жидким стеклом и тальком.

Подготовленный дефлегматор с пробкой сушат в течение суток при температуре окружающей среды, а затем в течение 3 - 5 ч в сушильном шкафу при температуре 100 - 105 °С.

Пробу продукта перед анализом нагревают до 70 - 80 °С до полного растворения кристаллов и с помощью стеклянной палочки или любым другим способом тщательно перемешивают.

3.3.3. Проведение анализа

100 см3 подогретого продукта помещают в колбу, в которую затем вставляют пробку с дефлегматором. Верхнее отверстие дефлегматора закрывают плотной корковой пробкой, в центре которой устанавливают термометр так, чтобы его ртутный резервуар находился в центре шарика дефлегматора. При применении стеклянной колбы термометр устанавливают так, чтобы верх ртутного шарика находился на уровне нижнего края отводной трубки. Колбу с продуктом устанавливают на кольцо штатива, а, отводную трубку дефлегматора или стеклянной колбы соединяют с холодильником при помощи корковой пробки так, чтобы она входила в него на половину своей длины.

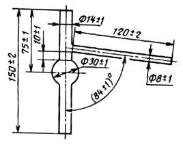
1 - медная колба; 2 - латунная пробка; 3 - латунная втулка

Черт. 1

Черт. 2

Черт. 3

Допускается вместо воздушного холодильника использовать водяной. В этом случае для предотвращения кристаллизации продукта в трубке холодильника температуру циркулирующей в рубашке холодильника воды с помощью ультратермостата поддерживают в пределах 70 - 80 °С.

Колбу обогревают пламенем газовой горелки или электроплиткой сначала осторожно, избегая перебросов, а при достижении 150 °С - со скоростью две капли дистиллята в секунду.

Фракцию, отогнанную до 210 °С, отбирают в цилиндр вместимостью 10 см3 и после ее расслоения измеряют объем воды и продукта.

Последующие фракции отбирают в чистый сухой цилиндр вместимостью 100 см3, отмечая объем отгона для антраценовой фракции и антраценового масла при 300 °С, а для пековых дистиллятов - при 360 °С с учетом отгона продукта до 210 °С.

В процессе разгонки воздушный холодильник при необходимости нагревают пламенем газовой горелки, спиртовки или другими обогревательными приборами для удаления кристаллов продукта с его стенок.

Получаемые объемы отгонов до каждой из нормируемых температур представляют собой объемную долю отгонов продукта в процентах.

За результат анализа принимают среднеарифметическое результатов двух параллельных определений, допускаемое расхождение между которыми (предел повторяемости) при доверительной вероятности Р = 0,95 не превышает в % абс.:

0,2 - для объемной доли воды и отгона продукта до температуры 210 °С;

1,5 - для отгонов продукта до температуры 300 и 360 °С.

Допускаемые расхождения между результатами анализов одной и той же пробы, полученных в разных лабораториях (предел воспроизводимости) при той же доверительной вероятности, не должны превышать в % абс.:

0,5 - для объемной доли воды и отгона продукта до температуры 210 °С;

3,5 - для отгонов продукта до температуры 300 и 360 °С.

Результат округляют до первого десятичного знака для объемной доли воды и до целого числа для объемов отгона продукта.

(Измененная редакция, Изм. № 4).

3.3.2, 3.3.3. (Измененная редакция, Изм. № 1).

3.3.4. (Исключен, Изм. № 1).

3.3.5. При разногласиях в оценке объемной доли воды анализ проводят по ГОСТ 2477.

(Измененная редакция, Изм. № 1).

3.4. Определение массовой доли сырого антрацена

Методы позволяют определять массовую долю сырого антрацена от 8 до 25 %.

3.4.1. Метод фильтрования

3.4.1.1. Посуда и приборы

Шкаф сушильный.

Стакан стеклянный по ГОСТ 25336 или стакан фарфоровый по ГОСТ 9147 вместимостью 50 или 100 см3.

Воронка Бюхнера 1 и 2 по ГОСТ 9147.

Колба с тубусом по ГОСТ 25336 вместимостью 250 или 500 см3.

Насос водоструйный по ГОСТ 25336 или вакуум-насос.

Стекло часовое, стаканчик СН-85/15 по ГОСТ 25336 чашки ЧБВ-100 или ЧБН-100 по ГОСТ 25336.

Шпатель 1 по ГОСТ 9147 или шпатель из нержавеющей стали.

Термометр с пределом измерения 100 °С и ценой деления 1 °С.

Тарелка неглазурованная фарфоровая или из огнеупорной глины.

Фильтры обеззоленные «белая лента».

(Измененная редакция, Изм. № 1, 3).

3.4.1.2. Проведение анализа

Около 25 г анализируемой антраценовой фракции температурой не выше 20 °С взвешивают в стакане. Навеску выдерживают при температуре окружающей среды в течение 1 ч, затем ее количественно переносят на воронку Бюхнера и фильтруют через бумажный фильтр при помощи водоструйного насоса или вакуум-насоса до полного отделения масла. Остаток шпателем снимают с фильтра, намазывают на тарелку так, чтобы он плотно прилипал к ее поверхности для лучшего впитывания масла. Тарелку с остатком ставят в сушильный шкаф и выдерживают в течение 30 мин при температуре (50 ± 5) °С, затем остаток тщательно снимают шпателем с тарелки на предварительно взвешенное часовое стекло (стаканчик, чашку) и взвешивают. Результаты всех взвешиваний в граммах записывают с точностью до второго десятичного знака.

(Измененная редакция, Изм. № 1).

3.4.1.3. Обработка результатов

Массовую долю сырого антрацена (Х1) в процентах вычисляют по формуле

где т1 - масса часового стекла с остатком, г;

m2 - масса часового стекла, г;

т - масса навески продукта, г.

Результат вычисляют с точностью до первого десятичного знака. За результат анализа принимают среднеарифметическое результатов двух параллельных определений, допускаемые расхождения между которыми (предел повторяемости) при доверительной вероятности Р = 0,95 не превышают 1 % абс.

Допускаемые расхождения между результатами анализов одной и той же пробы, полученными в разных лабораториях (предел воспроизводимости) при той же доверительной вероятности, не должны превышать 3 % абс. Результат округляют до целого числа.

(Измененная редакция, Изм. № 4).

3.4.2. Метод центрифугирования

3.4.2.1. Аппаратура

Центрифуга, обеспечивающая фактор разделения 4000+500

Патрон, показанный на черт. 4, или другой конструкции (площадь фильтрующей части постоянна).

Секундомер или часы. Бумага фильтровальная.

(Измененная редакция, Изм. № 1, 3).

3.4.2.2. Подготовка к анализу

Готовят одновременно два патрона. Для этого берут чистый сухой патрон и на дно его верхней части кладут кружок фильтровальной бумаги диаметром 25 мм. Взвешивают весь патрон и отдельно его верхнюю часть. Результат взвешивания в граммах записывают с точностью до третьего десятичного знака.

Патрон из латуни или дюраля для определения сырого антрацена

1 - верхняя часть патрона; 2 - опора фильтра; 3 - нижняя часть патрона

Черт. 4

3.4.2.3. Проведение анализа

Пробу выдерживают не менее 1 ч при комнатной температуре, после чего тщательно перемешивают и отбирают от нее 2 навески массой по 3 - 5 г каждая. Навески помещают в верхние части собранных патронов. Каждый патрон с навеской взвешивают. Массы патронов с навесками должны отличаться не более чем на 0,5 г.

После этого оба патрона помещают в расположенные друг против друга гнезда центрифуги и их содержимое центрифугируют 30 мин при факторе разделения 4000+500. Затем патроны извлекают из гнезд центрифуги, отделяют верхние части, обтирают их снаружи фильтровальной бумагой и взвешивают. Результаты всех взвешиваний в граммах записывают с точностью до третьего десятичного знака.

3.4.2.4. Обработка результатов

Массовую долю сырого антрацена (X2) процентах вычисляют по формуле

где m4 - масса верхней части патрона с остатком пробы и фильтром, г;

т1 - масса верхней части патрона с фильтром, г;

m3 - масса всего патрона с навеской пробы и с фильтром, г;

m2 - масса всего патрона с фильтром, г;

2,5 - поправка, учитывающая остаточное содержание масла при данных условиях центрифугирования, %.

За результат анализа принимают среднеарифметическое результатов двух параллельных определений, допускаемое расхождение между которыми (предел повторяемости) при доверительной вероятности Р = 0,95 не превышает 1 % абс.

Допускаемые расхождения между результатами анализов одной и той же пробы, полученных в разных лабораториях (предел воспроизводимости) при той же доверительной вероятности, не должны превышать 3 % абс.

(Измененная редакция, Изм. № 4).

3.4.3. При разногласиях в оценке массовой доли сырого антрацена анализ проводят методом фильтрования. 3.5. Определение осадка при 70 °С

3.5.1. Посуда и приборы

Термометр с пределом измерения 100 °С, с ценой деления 1 °С.

Стакан по ГОСТ 25336 вместимостью 400 или 600 см3.

Пробирка стеклянная с плоским дном диаметром 15 мм и высотой 150 мм.

Термостат или водяная баня.

3.5.2. Проведение анализа

Пробу антраценового масла, пробирку и термометр предварительно нагревают до 85 - 90 °C

Пробу антраценового масла наливают в пробирку на 1/5 её высоты. Пробирку со вставленным в нее термометром помещают в стакан с водой, нагретой до 85 - 90 °С, так, чтобы уровень воды был выше уровня масла в пробирке на 8 - 10 см и пробирка не касалась дна стакана. Стакан устанавливают на сетку кольца штатива и медленно снижают температуру воды до (70 ± 1) °С, периодически перемешивая термометром масло в пробирке, и наблюдая за его температурой и появлением кристаллов.

Для этого приподнимают термометр и дают каплям масла стечь по стенке пробирки. В тонком слое масла на стенке пробирки через лупу определяют наличие или отсутствие кристаллов при температуре продукта (70 ± 1) °С. Продукт считают соответствующим требованиям настоящего стандарта, если в течение 30 мин в нем не образуются кристаллы.

3.6. Коксуемость (коксовое число) определяют по ГОСТ 19932 или в соответствии с п. 3.6.1 настоящего стандарта.

3.5.1 - 3.6. (Измененная редакция, Изм. № 1).

3.6.1. Определение коксуемости (коксового числа)

Метод позволяет определять коксуемость от 0,4 до 2,5 % и заключается в удалении летучих веществ из навески анализируемого продукта в закрытом фарфоровом тигле при температуре (850 ± 25) °С в течение 10 мин с последующим определением коксового остатка.

3.6.1.1. Аппаратура

Печь муфельная электрическая с терморегулятором для поддержания постоянной температуры (850 ± 25) °С.

Термопреобразователь по нормативной документации для измерения температуры до 1000 °С с гальванометром. Его устанавливают в муфельной печи так, чтобы горячий спай находился в середине печи.

Тигель фарфоровый высокий 3 с притертой крышкой по ГОСТ 9147-80.

Эксикатор с прокаленным хлористым кальцием, который должен обновляться при появлении признаков видимого увлажнения.

Подставка для установки тиглей в муфельную печь, изготовленная из нихромовой проволоки с нанизанными на нее фарфоровыми бусами так, чтобы расстояние от дна установленных в ней тиглей до пода печи составляло 20 - 25 мм.

Щипцы тигельные.

(Измененная редакция, Изм. № 3).

3.6.1.2. Проведение анализа

Муфельную печь, установленную в вытяжном шкафу, предварительно нагревают до температуры (850 ± 25) °С.

Две навески, взятые из тщательно перемешанной пробы исследуемого продукта, массой около 2 г каждая взвешивают в тиглях, предварительно прокаленных вместе с крышками до постоянной массы.

Тигли накрывают крышками, устанавливают на подставку, которую помещают в середину печи, и закрывают печь. Температура, понижающаяся при установке тиглей в печь, снова должна повыситься до (850 ± 25) °С.

Тигли выдерживают в муфельной печи в течение 10 мин с момента установки, затем их осторожно вынимают и ставят вместе с подставкой на асбестовый лист на 10 - 15 мин для охлаждения на воздухе. После этого тигли с остатком переносят в эксикатор, охлаждают до температуры окружающей среды и взвешивают. Результаты всех взвешиваний в граммах записывают с точностью до четвертого десятичного знака.

3.6.1.3. Обработка результатов

Коксуемость (X3) в процентах вычисляют по формуле

где m2 - масса тигля с крышкой и остатком, г;

m1 - масса пустого тигля с крышкой, г;

т - масса навески продукта, г.

За результат анализа принимают среднее арифметическое результатов двух параллельных определений, абсолютное расхождение между которыми при доверительной вероятности P = 0,95 не превышает допускаемых расхождений, указанных в табл. 2.

Таблица 2

Коксуемость, %

Допускаемое расхождение, %

Oт 0,4 до 1,0

0,1

Св. 1,0 до 2,5

0,2

Результат округляют до первого десятичного знака.

Коксуемость до 0,4 % включительно оценивают как ее отсутствие.

3.6.2. При разногласиях в оценке коксуемости анализ проводил: по ГОСТ 19932.

3.7 - 3.7.3. (Исключены, Изм. № 1).

3.8. Определение массовой доли ионов натрия и калия

Метод позволяет определять массовую долю ионов натрия от 0,001 до 0,01 % и ионов калия от 0,0002 до 0,002 %.

Метод основан на сравнении интенсивности излучения резонансных линий натрия (589 ± 5) нм и калия (768 ± 5) нм, возникающих в спектрах пламени смеси газ - воздух, при введении в него водяных вытяжек из сырья для производства технического углерода и растворов сравнения.

3.8.1. Аппаратура, реактивы и растворы

Фотометр пламенный типа ПАЖ-1 или любой другой, позволяющий определять массовую долю ионов натрия и калия в пределах 0,1 - 10 мг/дм3.

Пропан-бутан (бытовой в баллоне) или газ из городской сети.

Воздух сжатый для питания контрольно-измерительных приборов.

Электроплитка бытовая по ГОСТ 14919.

Шкаф сушильный лабораторный с терморегулятором, обеспечивающий нагрев до 110 - 120 °С.

Стакан по ГОСТ 25336 вместимостью 250 см3.

Бюретка вместимостью 25 см3.

Цилиндр 1(3)-250-2 по ГОСТ 1770.

Воронка В-100-150 ХС или В-75-140 ХС по ГОСТ 25336.

Колбы Кн-250 и Кн-500 по ГОСТ 25336.

Колба по ГОСТ 1770 вместимостью 1000 см3.

Пипетки вместимостью 5, 10 и 25 см3.

Холодильники ХПТ-300 или ХПТ-400 по ГОСТ 25336.

Трубка стеклянная диаметром 8 - 10 мм, длиной 250 - 300 мм с оттянутым концом для отбора проб.

Стаканы полиэтиленовые вместимостью 30 см3.

Бутыли полиэтиленовые вместимостью 25 - 1000 см3.

Фильтры обеззоленные «белая лента». Перед использованием фильтр должен быть промыт на воронке дистиллированной водой.

Вода дистиллированная по ГОСТ 6709, дополнительно перегнанная; хранить в полиэтиленовой емкости.

Натрий хлористый по ГОСТ 4233, х.ч., прокаленный в течение 2 - 3 ч при температуре 500 °С.

Калий хлористый по ГОСТ 4234, х.ч., прокаленный в течение 2 - 3 ч при температуре 500 °С.

Ацетон по ГОСТ 2603 или ГОСТ 2768.

Посуду, используемую для определения натрия и калия, не применяют для других анализов, моют только ацетоном, ополаскивают проточной и дистиллированной водой.

3.8, 3.8.1. (Измененная редакция, Изм. № 3).

3.8.2. Подготовка к анализу

3.8.2.1. Построение градуировочных графиков

Для построения градуировочных графиков готовят исходные растворы массовой концентрации натрия 100 мг/дм3 и калия 100 мг/дм3.

0,2542 г хлористого натрия (0,1907 г хлористого калия), предварительно высушенных до постоянной массы при температуре 110 - 120 °С, помешают в мерные колбы вместимостью 1000 см3, растворяют в дистиллированной воде, доводят объем растворов водой до метки и тщательно перемешивают.

Затем готовят растворы сравнения.

В мерные колбы вместимостью 1000 см3 вводят указанные в табл. 4 объемы исходного раствора и доводят их дистиллированной водой до метки.

Растворы сравнения готовят один раз в месяц и хранят в полиэтиленовой посуде.

Таблица 4*

Массовая концентрация натрия в растворе сравнения, мг/дм3

Объем исходного раствора массовой концентрации натрия 100 мг/дм3, см3

Массовая концентрация калия в растворе сравнения, мг/дм3

Объем исходного раствора массовой концентрации калия 100 мг/дм3, см3

0,2

2

0,2

2

0,3

3

0,5

5

0,5

5

1,0

10

1,0

10

1,5

15

2,0

20

2,0

20

2,5

5

 

 

3,0

30

 

 

4,0

40

 

 

*Табл. 3. (Исключена, Изм. № 1).

Пламенный фотометр включают в соответствии с инструкцией, прилагаемой к прибору. При этом устанавливают светофильтры, соответствующие определяемым элементам (натрию или калию).

После выхода прибора на рабочий режим в распылитель поочередно вводят растворы сравнения, начиная с раствора меньшей концентрации.

Для каждого раствора сравнения проводят не менее трех измерений. Градуировочные графики строят по среднему значению для каждой концентрации, откладывая на оси ординат интенсивность излучения, а на оси абсцисс - соответствующую концентрацию растворов сравнения.

Проверку градуировочных графиков проводят по трем растворам сравнения в день проведения анализа.

(Измененная редакция, Изм. № 3).

3.8.3. Проведение анализа

Пробу анализируемого продукта нагревают при 80 - 100 °С в течение 20 - 30 мин до однородного состояния. Пробу тщательно перемешивают предварительно нагретой стеклянной трубкой или металлическим черпаком и с их помощью отбирают около 10 г антраценовой фракции или антраценового масла, или около 50 г пековых дистиллятов в предварительно взвешенную колбу вместимостью 250 или 500 см3. Содержимое колбы взвешивают на весах с пределом взвешивания 500 г. Результаты взвешивания в граммах записывают с точностью до второго десятичного знака.

В колбу добавляют 150 см3 горячей дистиллированной воды. Колбу соединяют с обратным холодильником с помощью шлифа, плотно пригнанной корковой или резиновой пробки. Содержимое колбы доводят до кипения и кипятят 10 мин, затем охлаждают до 50 - 60 °С и фильтруют в полиэтиленовую емкость через складчатый фильтр, избегая попадания масла на фильтр. Первую порцию фильтрата 10 - 15 см3 отбрасывают. После охлаждения до комнатной температуры полученную водную вытяжку анализируют на пламенном фотометре для определения ионов натрия и калия. Измерение интенсивности излучения производят прямым отсчетом показания прибора с использованием градуировочных графиков для расчета массовой концентрации. После каждого распыления раствора анализируемой пробы и раствора сравнения необходимо тщательно промывать капилляр дистиллированной водой до постоянного показания пламенного фотометра.

(Измененная редакция, Изм. № 1, Изм. № 4).

3.8.4. Обработка результатов

Массовую долю иона натрия (или калия) в пробе (Х5) в процентах вычисляют по формуле

где 150 - объем воды, взятой для экстракции, см3;

с - массовая концентрация ионов натрия (или калия) в анализируемой пробе, найденная по градуировочному графику, мг/дм3;

т - масса навески пробы, г.

За результат анализа принимают среднеарифметическое результатов двух параллельных определений, допускаемое расхождение между которыми (предел повторяемости) при доверительной вероятности Р = 0,95 не превышает значений, указанных в табл. 5 и 6.

Допускаемые расхождения между результатами анализов одной и той же пробы, полученных в разных лабораториях (предел воспроизводимости) при той же доверительной вероятности, не должны превышать значений, указанных в табл. 5 и 6.

Таблица 5

Массовая доля иона натрия, %

Предел повторяемости, % абс.

Предел воспроизводимости, % абс.

От 0,001 до 0,002

0,0005

0,0010

« 0,002 » 0,005

0,0008

0,0016

« 0,005 » 0,01

0,001

0,002

Результат округляют до третьего десятичного знака.

Таблица 6

Массовая доля иона калия, %

Предел повторяемости, % абс.

Предел воспроизводимости, % абс.

От 0,0002 до 0,0005

0,0001

0,0002

« 0,0005 » 0,001

0,0003

0,0006

« 0,001 » 0,002

0,0005

0,001

Результат округляют до четвертого десятичного знака.

(Измененная редакция, Изм. № 3, Изм. № 4).

3.9. Определение массовой доли механических примесей

Метод позволяет определять массовую долю механических примесей от 0,01 до 0,03 % и заключается в определении массовой доли остатка, не проходящего через сетку с отверстиями 45 мкм.

3.9.1. Реактивы, приборы и посуда

Толуол каменноугольный по ГОСТ 9880 или толуол нефтяной по ГОСТ 14710.

Шкаф сушильный с терморегулятором, обеспечивающий температуру (120 ± 5) °С.

Эксикатор по ГОСТ 25336 с хлористым кальцием.

Фильтр-сетка (черт. 5) или фильтр любой другой конструкции с сеткой той же площади.

Плитка электрическая с закрытой спиралью.

Баня водяная.

Колба Кн по ГОСТ 25336 вместимостью 250 см3.

Стаканы по ГОСТ 25336 вместимостью 100 см3.

Промывалка.

Фильтр-сетка с корпусом из листа латуни или нержавеющей стали толщиной 0,5 - 0,7 мм

Черт. 5

Кружка фарфоровая по ГОСТ 9147 вместимостью 500 см3.

Палочка стеклянная длиной 150 - 200 мм с оплавленными концами.

Термометры ртутные стеклянные лабораторные с пределами измерения 150 и 100 °С и ценой деления 1 °С.

(Измененная редакция, Изм. № 1, 3).

3.9.2. Подготовка к анализу

Пробу продукта массой около 300 г в фарфоровой кружке предварительно нагревают в сушильном шкафу или на закрытой электрической плитке до полного растворения кристаллов и тщательно перемешивают.

Толуол нагревают на водяной бане до (75 ± 5) °С в промывалке.

Фильтр-сетку очищают от механических примесей встряхиванием, промывают из промывалки горячим толуолом, сушат 15 - 20 мин в сушильном шкафу при температуре (120 ± 5) °С и охлаждают в эксикаторе. Взвешивают на весах с пределом взвешивания 200 г. Результат взвешивания в граммах записывают с точностью до четвертого десятичного знака.

Фильтр устанавливают на колбу вместимостью 250 см3, предварительно взвешенную на весах типа с пределом взвешивания 500 и 1000 г. Результат взвешивания в граммах записывают с точностью до второго десятичного знака.

Колбу с установленным на нее фильтром помещают в сушильный шкаф, нагретый до (120 ± 5) °С, и выдерживают в шкафу не менее 15 мин.

(Измененная редакция, Изм. № 1, Изм. № 4).

3.9.3. Проведение анализа

Колбу с фильтром извлекают из сушильного шкафа и быстро наливают в нее из кружки через фильтр около 100 см3 продукта, стараясь не попадать на края фильтра. Фильтр устанавливают на другую колбу и промывают горячим толуолом из промывалки, сушат в течение 15 - 20 мин в сушильном шкафу при температуре (120 ± 5) °С, охлаждают в эксикаторе и взвешивают на весах с пределом взвешивания 200 г. Результат взвешивания в граммах записывают с точностью до четвертого десятичного знака.

Колбу с фильтратом пробы охлаждают и взвешивают на весах с пределом взвешивания 500 и 1000 г. Результат взвешивания в граммах записывают с точностью до второго десятичного знака.

(Измененная редакция, Изм. № 4).

3.9.4. Обработка результатов

Массовую долю механических примесей (Х6) в процентах вычисляют по формуле

где m2 - масса фильтра-сетки с остатком, г;

т1 - масса фильтра-сетки, г;

m4 - масса колбы с фильтратом пробы, г;

m3 - масса колбы, г.

За результат анализа принимают среднеарифметическое результатов двух параллельных определений, допускаемое расхождение между которыми (предел повторяемости) при доверительной вероятности Р = 0,95 не превышает 0,005 % абс.

Допускаемые расхождения между результатами анализов одной и той же пробы, полученными в разных лабораториях (предел воспроизводимости) при той же доверительной вероятности, не должны превышать 0,01 % абс.

Результат округляют до второго десятичного знака. Массовая доля механических примесей до 0,01 % включительно рассматривается как их отсутствие.

(Измененная редакция, Изм. № 4).

3.9.3, 3.9.4. (Измененная редакция, Изм. № 1, 3).

4. ТРАНСПОРТИРОВАНИЕ И ХРАНЕНИЕ

4.1. Коксохимическое сырье для производства технического углерода транспортируют в железнодорожных цистернах в соответствии с правилами перевозки грузов, действующими на железнодорожном транспорте.

При сливе продукт разогревают до температуры не выше 100 °С.

4.2. Коксохимическое сырье для производства технического углерода хранят в обогреваемых закрытых стальных емкостях при температуре не выше 100 °С, исключающих попадение посторонних примесей воды.

4.3. Продукт в соответствии с классификацией опасных грузов по ГОСТ 19433 относится к классу 6 (подкласс 6.1.), черт. 6а, классификационный шифр 6162.

(Введен дополнительно, Изм. № 1).

5. ГАРАНТИЯ ИЗГОТОВИТЕЛЯ

5.1. Изготовитель гарантирует соответствие качества коксохимического сырья для производства технического углерода требованиям настоящего стандарта при соблюдении условий транспортирования и хранения.

5.2. Гарантийный срок хранения продукта - 6 мес со дня изготовления.

ИНФОРМАЦИОННЫЕ ДАННЫЕ

1. РАЗРАБОТАН И ВНЕСЕН Министерством черной металлургии СССР

РАЗРАБОТЧИКИ

Л.А. Коган, канд. техн. наук, Т.А. Корейская (руководители темы), Л.И. Вассерман, В.А. Конакова, Т.К. Тейхриб, А.Н. Назаров

2. УТВЕРЖДЕН И ВВЕДЕН В ДЕЙСТВИЕ Постановлением Государственного комитета СССР по стандартам от 05.03.88 № 480

3. Срок проверки - 1993 г.

Периодичность проверки - 5 лет

4. ВЗАМЕН ГОСТ 11126-74

5. ССЫЛОЧНЫЕ НОРМАТИВНО-ТЕХНИЧЕСКИЕ ДОКУМЕНТЫ

Обозначение НТД, на который дана ссылка

Номер пункта, подпункта

ГОСТ 12.1.004-91

1.3.3

ГОСТ 12.1.007-76

1.3.1; 1.3.4

ГОСТ 12.1.016-79

1.3.2

ГОСТ 12.4.021-75

1.3.5

ГОСТ 400-80

3.3.1

ГОСТ 1770-74

3.3.1; 3.8.1.

ГОСТ 2477-65

1.2.1; 3.3а

ГОСТ 2603-79

3.8.1

ГОСТ 2768-84

3.8.1

ГОСТ 4233-77

3.8.1

ГОСТ 4234-77

3.8.1

ГОСТ 5445-79

2.1; 3.1.1

ГОСТ 5789-78

3.3а

ГОСТ 6613-86

3.91

ГОСТ 6709-72

3.8.1

ГОСТ 9147-80

3.4.1.1; 3.6.1.1; 3.9.1

ГОСТ 9880-76

3.3а; 3.9.1

ГОСТ 14710-78

3.3а; 3.9.1

ГОСТ 14919-83

3.8.1

ГОСТ 18481-81

3.2

ГОСТ 18995.1-73

1.2.1; 3.2

ГОСТ 19433-88

4.3

ГОСТ 19932-99

1.2.1; 3.6; 3.6.2

ГОСТ 25336-82

3.3.1; 3.4.1.1; 3.5.1; 3.8.1; 3.9.1

ГОСТ 27025-86

3.1а

(Измененная редакция, Изм. № 4).

6. Ограничение срока действия снято Постановлением Госстандарта СССР от 04.04.91 № 436

7. ПЕРЕИЗДАНИЕ (август 1996 г.) с Изменениями № 1, 2, 3, утвержденными в марте 1990 г., апреле 1991 г., декабре 1991 г. (ИУС 6-90, 7-91, 4-92)

СОДЕРЖАНИЕ

 




Rambler's Top100 Яндекс цитирования
  Copyright © 2008-2026, www.docload.ru