Бесплатная библиотека стандартов и нормативов www.docload.ru

Все документы, размещенные на этом сайте, не являются их официальным изданием и предназначены исключительно для ознакомительных целей.
Электронные копии этих документов могут распространяться без всяких ограничений. Вы можете размещать информацию с этого сайта на любом другом сайте.
Это некоммерческий сайт и здесь не продаются документы. Вы можете скачать их абсолютно бесплатно!
Содержимое сайта не нарушает чьих-либо авторских прав! Человек имеет право на информацию!

 

ГОСУДАРСТВЕННЫЙ СТАНДАРТ СОЮЗА ССР

БУМАГА И КАРТОН

МЕТОДЫ ОПРЕДЕЛЕНИЯ СОПРОТИВЛЕНИЯ РАССЛАИВАНИЮ

ГОСТ 13648.6-86

ГОСУДАРСТВЕННЫЙ КОМИТЕТ СССР ПО СТАНДАРТАМ

Москва

РАЗРАБОТАН Министерством лесной, целлюлозно-бумажной и деревообрабатывающей промышленности СССР

ИСПОЛНИТЕЛИ

А. И. Парфенова, Г. Ф. Максимова

ВНЕСЕН Министерством лесной, целлюлозно-бумажной и деревообрабатывающей промышленности СССР

Зам. министра Н. Г. Никольский

УТВЕРЖДЕН И ВВЕДЕН В ДЕЙСТВИЕ Постановлением Государственного комитета СССР по стандартам от 12 сентября 1986 г. № 2655

ГОСУДАРСТВЕННЫЙ СТАНДАРТ СОЮЗА ССР

БУМАГА И КАРТОН

Методы определения сопротивления расслаиванию

Paper and cardboard.

Methods of splitting strength determination

ГОСТ
13648.6-86

Взамен
ГОСТ 13648.6-82

Постановлением Государственного комитета СССР по стандартам от 12 сентября 1986 г. № 2655 срок действия установлен

с 01.01.88

до 01.01.93

Несоблюдение стандарта преследуется по закону

Настоящий стандарт устанавливает два метода испытания бумаги и картона на расслаивание, заключающееся в определении усилия, вызывающего разрушение связи в структуре образцов бумаги или картона:

1 - расслаивание образца по площади под действием растягивающего усилия, направленного перпендикулярно его плоскости;

2 - расслаивание образца по кромке под действием растягивающего усилия, приложенного к одной из кромок образца.

Характеристиками расслаивания являются сопротивление расслаиванию по площади или по кромке образца и предел прочности при расслаивании.

Стандарт не распространяется на бумагу и картон с сопротивлением расслаиванию более 300 Н.

1. ОТБОР ПРОБ

1.1. Отбор проб - по ГОСТ 8047-78.

2. АППАРАТУРА

2.1. Машина разрывная с верхним пределом измерения разрушающего усилия не менее 300 Н и относительной погрешностью не более 1 %, обеспечивающая скорость перемещения нижнего зажима (150 ± 8) мм/мин.

2.2. Пресс или любое прижимное устройство, обеспечивающее нагрузку (450 + 50) Н.

2.3. Секундомер по ГОСТ 5072-79.

2.4. Лента склеивающая двухсторонняя ЛСДЛ-38 по нормативно-технической документации.

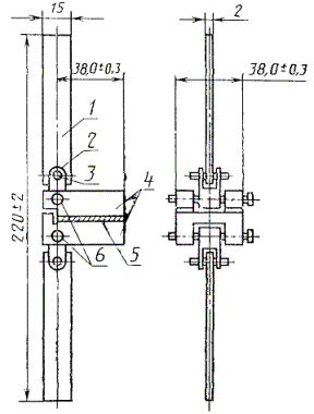
2.5. Приспособление к разрывной машине для метода 1 (черт. 1), состоящее из двух круглых стальных пластинок диаметром (38,0 ± 0,3) мм и толщиной 2 - 3 мм. Каждая пластинка в центре должна иметь ушко, позволяющее соединить пластинку посредством серьги и кольца с хвостовиком для закрепления в зажимах разрывной машины.

1 - хвостовик; 2 - кольцо; 3 - серьга; 4 - ушко; 5 - стальные пластинки; 6 - образец.

Черт. 1

Масса верхней половины приспособления должна быть (50 ± 1) г.

2.6. Подставки цилиндрической формы для выдерживания образцов, приклеенных к металлическим пластинкам, в прижимном устройстве. Каждая подставка должна иметь в центре отверстие для ушек пластинок. Площадь основания должна быть больше площади пластинок.

2.7. Приспособление для вырезания образцов диаметром (38,0 ± 0,3) мм.

2.8. Приспособление к разрывной машине для метода 2 (черт. 2), состоящее из двух металлических колодок с направляющими. Каждая колодка посредством оси и серьги соединена с хвостовиком, закрепляемым в зажиме разрывной машины. Масса верхней половины приспособления должна быть (100 ± 1) г.

1 - хвостовик; 2 - серьга; 3 - ось; 4 - колодки; 5 - образец; 6 - шпильки.

Черт. 2

2.9. Нож для нарезания образцов типа НБК по нормативно-технической документации.

3. ПОДГОТОВКА К ИСПЫТАНИЮ

3.1. От листов пробы произвольно отбирают пять листов для испытания и из каждого вырезают по два образца диаметром (38,0 ± 0,3) мм для определения сопротивления расслаиванию по методу 1 или по два образца в виде квадрата со стороной (38,0 ± 0,3) мм для определения сопротивления расслаиванию по методу 2, отмечая на каждом образце направление испытания в зависимости от указания в стандарте на конкретную продукцию.

3.2. Образцы кондиционируют по ГОСТ 13523-78. Относительная влажность, температура и продолжительность кондиционирования должны быть указаны в стандартах на конкретную продукцию.

3.3. К круглым пластинкам или колодкам приклеивают склеивающую ленту с адгезионным слоем, ножницами обрезают ленту по форме пластинок или колодок, снимают адгезионный слой и вклеивают испытуемый образец между парой пластинок или колодок. Квадратные образцы приклеивают к колодкам так, чтобы направление испытания (машинное или поперечное) было перпендикулярным расслаивающейся кромке.

3.4. Образец, вклеенный между пластинками или колодками сразу помещают в пресс или другое прижимное устройство. При одновременном нагружении нескольких образцов последние должны быть поставлены друг на друга. Образцы выдерживают под нагрузкой (450 + 50) Н в течение (300 + 10) с.

Устанавливают расстояние между зажимами разрывной машины 150 мм и скорость перемещения нижнего зажима 150 мм/мин.

4. ПРОВЕДЕНИЕ ИСПЫТАНИЯ

4.1. Испытания проводят в тех же стандартных атмосферных условиях, в которых проводили кондиционирование образцов.

4.2. Приспособление с образцом закрепляют в зажимах разрывной машины, проводят испытание и фиксируют усилие, вызывающее расслаивание образца.

4.3. Результаты испытаний образцов, расслаивающихся по склеивающей ленте, не учитывают и проводят повторные испытания образцов, вырезанных из тех же листов.

5. ОБРАБОТКА РЕЗУЛЬТАТОВ

5.1. Сопротивление расслаиванию по площади (Сп) или по кромке образца (Ск) в ньютонах вычисляют как среднее арифметическое результатов десяти определений.

Результат округляют до 1 Н.

Относительная погрешность определения сопротивления расслаиванию по площади образца не превышает ±5 %, а по кромке - ±6 % при доверительной вероятности 0,95.

5.2. Предел прочности при расслаивании (sр) в килопаскалях вычисляют по формуле

,

где S - площадь испытуемого образца, равная 11,3 см2.

Результат округляют до 10 кПа.

Относительная погрешность определения предела прочности при расслаивании не превышает ±5 % при доверительной вероятности 0,95.

СОДЕРЖАНИЕ

 




Rambler's Top100 Яндекс цитирования
  Copyright © 2008-2026, www.docload.ru