Бесплатная библиотека стандартов и нормативов www.docload.ru

Все документы, размещенные на этом сайте, не являются их официальным изданием и предназначены исключительно для ознакомительных целей.
Электронные копии этих документов могут распространяться без всяких ограничений. Вы можете размещать информацию с этого сайта на любом другом сайте.
Это некоммерческий сайт и здесь не продаются документы. Вы можете скачать их абсолютно бесплатно!
Содержимое сайта не нарушает чьих-либо авторских прав! Человек имеет право на информацию!

 

НАЦИОНАЛЬНЫЕ СТАНДАРТЫ

ИЗДЕЛИЯ ОГНЕУПОРНЫЕ

Методы испытаний

Часть 2

ИЗДЕЛИЯ ОГНЕУПОРНЫЕ

Метод измерения глубины отбитости углов и ребер

ГОСТ 15136-78

Москва

ИПК ИЗДАТЕЛЬСТВО СТАНДАРТОВ

2004

ОТ ИЗДАТЕЛЬСТВА

Сборник «Изделия огнеупорные. Методы испытаний. Часть 2» содержит стандарты, утвержденные до 1 августа 2004 г.

В стандарты внесены изменения, принятые до указанного срока.

Текущая информация о вновь утвержденных и пересмотренных стандартах, а также о принятых к ним изменениях публикуется в ежемесячном информационном указателе «Национальные стандарты»

МЕЖГОСУДАРСТВЕННЫЙ СТАНДАРТ

ИЗДЕЛИЯ ОГНЕУПОРНЫЕ

Метод измерения глубины отбитости углов и ребер

Refractory articles.

Method of damage depth measuring of angles and rihs

ГОСТ
15136-78

Дата введения 01.01.81

Настоящий стандарт устанавливает метод измерения глубины отбитости наружных углов и ребер огнеупорных изделий с прямыми, острыми двухгранными или трехгранными углами и внешних кромок изделий формы тел вращения с прямыми и острыми углами между торцовой поверхностью и касательной к боковой поверхности.

Глубину отбитости определяют как длину отрезка от вершины углов до основания отбитого участка изделия.

Стандарт не распространяется на огнеупорные изделия разного назначения массой не более 2 кг.

(Измененная редакция, Изм. № 2).

1. АППАРАТУРА

1.1. Приспособление универсальное (тип 1) - для измерения глубины отбитости углов, ребер и кромок, не превышающей 20 мм (черт. 1).

Основной измерительный элемент универсального приспособления - индикатор часового типа ИЧ 10 класса 1 по ГОСТ 577, смонтирован на универсальном фиксирующем устройстве.

Приспособление используется со съемными наконечниками диаметрами 1 и 3 мм. Съемный наконечник диаметром 1 мм используется для измерения глубины отбитости в диапазоне от 0 до 2 мм. Съемный наконечник диаметром 3 мм используется для измерения глубины отбитости в диапазоне от 2 до 20 мм.

Дополнительным измерительным элементом является линейка по ГОСТ 427.

Допускается применение универсального приспособления с индикатором часового типа ИЧ-25 класса 1 по ГОСТ 577 с соответствующим изменением конструкции прибора, связанным с увеличением диаметра головки индикатора.

1 - базовая плата; 2 - опорный фиксатор; 3 - съемный наконечник; 4 - индикатор; 5 - откидная планка; 6 - стержень измерителя; 7 - линейка; 8 - основание платы

Черт. 1

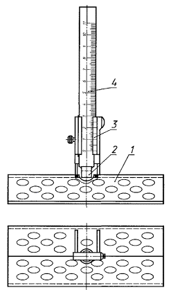
1.2. Приспособления упрощенной конструкции типов II и III (черт. 2 и 3) - для измерения глубины отбитости углов и ребер свыше 2 до 80 мм на изделиях с двугранными и трехгранными (прямыми и острыми) углами.

Измерительный элемент приспособлений - штанга с нониусной шкалой штангенциркуля типа ШЦТ-1-125-0,1 по ГОСТ 166, смонтирован на жестком основании.

1 - основание; 2 - наконечник; 3 - нониус; 4 - измерительный стержень

Черт. 2

1 - основание; 2 - наконечник; 3 - нониус; 4 - измерительный стержень

Черт. 3

Примечание. Черт. 1 - 3 конструкции приспособлений не определяют.

Приспособления изготавливают с наконечниками диаметром 3 и 10 мм. Наконечники диаметром 3 мм применяются при измерении глубины отбитости углов и ребер свыше 2 до 20 мм на обожженных и безобжиговых изделиях нормальных размеров и фасонных; наконечники диаметром 10 мм применяются при измерении глубины отбитости углов и ребер свыше 2 до 80 мм на бетонных блоках.

В зависимости от объекта измерения применяются приспособления типа:

II - для измерения глубины отбитости углов (черт. 2);

III - для измерения глубины отбитости ребер (черт. 3).

1.1, 1.2. (Измененная редакция, Изм. № 1, 2).

1.3. (Исключен, Изм. № 1).

2. ПОДГОТОВКА К ИЗМЕРЕНИЮ

2.1. Перед проведением измерения универсальным приспособлением устанавливают правильное положение нулевой точки индикатора. Для этого приспособление устанавливают на металлический шаблон любого размера таким образом, чтобы плоскости базовой платы и опорного фиксатора (при установке на угол) или плоскости базовой платы и ее основания (при установке на ребро) совпадали с плоскостями шаблона, затем нажимают на стержень измерителя до соприкосновения наконечника с вершиной угла шаблона и перемещают подвижную шкалу индикатора до тех пор, пока стрелка не окажется против нулевого положения шкалы.

2.2. Перед проведением измерения приспособлением упрощенной конструкции устанавливают правильное положение нулевой точки. Для этого приспособление устанавливают на металлический шаблон любого размера таким образом, чтобы плоскости основания приспособления совпадали с плоскостями шаблона, передвигают измерительный стержень до соприкосновения наконечника с вершиной угла шаблона и по нониусу определяют поправку измерения.

2.1, 2.2. (Измененная редакция, Изм. № 1).

3. ПРОВЕДЕНИЕ ИЗМЕРЕНИЯ

3.1. Измерение универсальным приспособлением

3.1.1. Для измерения глубины отбитости углов или ребер приспособление устанавливают на поврежденное место с наибольшей глубиной отбитости. При нажатии на стержень измерителя до упора наконечник стержня опустится в углубление, образуемое отбитостью, а стрелка индикатора покажет значение глубины отбитости. Показания индикатора отсчитывают по шкале и округляют до десятых долей миллиметра.

(Измененная редакция, Изм. № 1).

3.1.2. При использовании индикатора ИЧ-10 для измерения глубины отбитости более 10 мм индикатор перемещают вниз по откидной планке с фиксацией через 10 мм. Измерение ведут как указано в п. 3.1.1 и к показаниям индикатора прибавляют 10 мм.

3.1.3. При измерении глубины отбитости углов опорный фиксатор приспособления должен быть опущен в прорези базовой платы.

При измерении глубины отбитости трехгранных углов изделий, имеющих при вершине три прямых плоских угла, приспособление плотно прикладывают к трехгранному углу изделия так, чтобы один из прямых плоских углов совпал с поверхностью платы.

При измерении глубины отбитости углов прямых, клиновых и фасонных изделий, имеющих при вершине трехгранного угла один или два прямых плоских угла и один или два плоских острых угла, приспособление плотно прикладывают к трехгранному углу изделия так, чтобы прямой плоский угол совпал с поверхностью платы.

3.1.4. При измерении глубины отбитости ребер опорный фиксатор приспособления должен быть выведен из прорезей платы.

При измерении глубины отбитости ребер прямых, клиновых и фасонных изделий, имеющих прямой или острый двугранный угол, приспособление плотно прикладывают к ребру так, чтобы двугранный угол изделия совпал с двугранным углом, образованным платой и ее основанием.

Допускается измерение отбитости ребер изделий, имеющих тупой двугранный угол, в том случае, если наконечник измерителя при проведении измерений попадает в вершину двугранного угла. В этом случае приспособление плотно прикладывают поверхностью платы к грани изделия до соприкосновения с основанием платы таким образом, чтобы наконечник измерителя находился против неповрежденного участка ребра, после чего нажимают на стержень измерителя и определяют значение поправки на зазор между изделием и наконечником стержня измерителя.

Приспособление перемещают к наиболее глубокому месту отбитости, проводят измерение и уменьшают показание индикатора на значение поправки.

3.1.2 - 3.1.4. (Измененная редакция, Изм. № 2).

3.1.5. При измерении глубины отбитости кромок изделий, имеющих форму тел вращения, опорный фиксатор выводят из прорезей платы, приспособление плотно прикладывают к поврежденной кромке изделия так, чтобы базовая плата была прижата к цилиндрической поверхности, при этом вертикальная ось симметрии платы должна совпадать с образующей этой поверхности.

(Измененная редакция, Изм. № 1).

3.2. Измерение приспособлением упрощенной конструкции

3.2.1. Для измерения глубины отбитости углов или ребер приспособление устанавливают на объект таким образом, чтобы плоскости его основания плотно соприкасались с плоскими гранями измеряемого угла или ребра. Измерительный стержень передвигают до упора наконечника в углубление, образуемое отбитостью. Отсчет ведут по шкале нониуса. Из показания шкалы вычитают поправку на нулевую точку, результат выражают с точностью до 0,1 мм.

3.2.2. При измерении глубины отбитости трехгранных углов изделий, имеющих при вершине три прямых плоских угла, приспособление плотно прикладывают к трехгранному углу изделия так, чтобы три прямых плоских угла совпали с трехгранным углом основания.

При измерении глубины отбитости углов прямых, клиновых и фасонных изделий, имеющих при вершине трехгранного угла один или два прямых плоских угла и два или один плоский острый угол, приспособление плотно прикладывают к трехгранному углу изделия так, чтобы прямой плоский угол изделия совпал с одним прямым плоским углом основания приспособления.

3.2.3. При измерении глубины отбитости ребер на прямых двугранных углах изделий приспособление плотно прикладывают к ребру так, чтобы двугранный угол изделия совпал с прямым двугранным углом основания приспособления.

При измерении глубины отбитости ребер острых двугранных углов изделий, приспособление прикладывают к ребру так, чтобы поверхность одной грани основания совпала с гранью изделия.

4. ОБРАБОТКА РЕЗУЛЬТАТОВ

4.1. Для определения глубины отбитости угла или ребра и кромок изделия проводят два параллельных измерения. Среднее арифметическое параллельных измерений принимается за результат определения.

(Измененная редакция, Изм. № 1).

4.2. Относительная погрешность метода измерения глубины отбитости угла или ребра и кромок не превышает:

при измерении универсальным приспособлением:

при глубине отбитости от 2 включ. - 1 % от верхнего предела;

при измерении приспособлениями упрощенной конструкции:

при глубине отбитости от 2 до 5 мм включ. - 10 %;

при глубине отбитости св. 5 мм - 5 %.

(Измененная редакция, Изм. № 1, 2).

4.3. Результаты фактических измерений глубины отбитости угла или ребра изделий округляют до целых чисел по СТ СЭВ 543-77.

(Введен дополнительно, Изм. № 1).

ИНФОРМАЦИОННЫЕ ДАННЫЕ

1. РАЗРАБОТАН И ВНЕСЕН Министерством черной металлургии СССР

РАЗРАБОТЧИКИ

Л.И. Узберг, Г.И. Исаев, Е.И. Чукреева, Г.Н. Плотников, Ю.А. Ткаченко

2. УТВЕРЖДЕН И ВВЕДЕН В ДЕЙСТВИЕ Постановлением Государственного Комитета СССР по стандартам от 18.12.78 № 3348

3. ВЗАМЕН ГОСТ 15136-69

4. ССЫЛОЧНЫЕ НОРМАТИВНО-ТЕХНИЧЕСКИЕ ДОКУМЕНТЫ

5. Ограничение срока действия снято по протоколу № 7-95 Межгосударственного совета по стандартизации, метрологии и сертификации (ИУС 11-95)

6. ИЗДАНИЕ с Изменениями № 1, 2, утвержденными в августе 1982 г., апреле 1990 г. (ИУС 12-82, 8-90)

СОДЕРЖАНИЕ

 




Rambler's Top100 Яндекс цитирования
  Copyright © 2008-2026, www.docload.ru