МЕЖГОСУДАРСТВЕННЫЙ
СТАНДАРТ
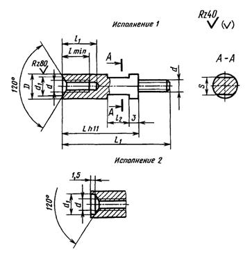
|
СТОЙКИ УСТАНОВОЧНЫЕ
КРЕПЕЖНЫЕ КРУГЛЫЕ С ЛЫСКАМИ С РЕЗЬБОВЫМИ КОНЦОМ И ОТВЕРСТИЕМ
Конструкция и размеры
|
ГОСТ
20863-81
|
|
Adjusting
fixturing rings supports with a flat, threaded end and hole. Design and
dimensions
|
Взамен
ГОСТ 20863-75
|
Постановлением Государственного комитета СССР
по стандартам от 15 апреля 1981
г. № 1983 дата введения установлена
01.07.82
Ограничение срока действия снято Постановлением Госстандарта от 10.09.92
№ 1166
1. Настоящий
стандарт распространяется на круглые крепежные установочные стойки с лысками и
резьбовыми концом и отверстием, предназначенные для монтажа радиоэлектронной
аппаратуры, и устанавливает их конструкцию и размеры.
2.
Конструкция и размеры крепежных установочных стоек должны соответствовать
указанным на чертеже и в табл. 1 - 3.

Таблица 1
мм
|
Номинальный диаметр резьбы d
|
2
|
2,5
|
3
|
4
|
5
|
6
|
8
|
|
Шаг резьбы Р
|
0,40
|
0,45
|
0,50
|
0,70
|
0,80
|
1,00
|
1,25
|
|
Размер под ключ S
|
Номинальный
|
4,0
|
5,0
|
5,5
|
7,0
|
8,0
|
10,0
|
13,0
|
|
Пред. откл.
|
-0,16
|
-0,20
|
-0,24
|
|
D
|
5
|
6
|
7
|
8
|
9
|
11
|
15
|
|
d1
|
2,2
|
2,7
|
3,2
|
4,3
|
5,3
|
6,4
|
8,4
|
|
l
|
4
|
5
|
6
|
7
|
8
|
9
|
12
|
|
l1
|
5
|
6
|
9
|
10
|
12
|
13
|
16
|
|
l2
|
5
|
6
|
8
|
10
|
12
|
Таблица 2
мм
|
L
|
Длина L1 и применяемость при
номинальном диаметре резьбы d
|
|
2
|
2,5
|
3
|
4
|
5
|
6
|
8
|
|
7
|
11
14
|
-
|
|
|
|
|
|
|
|
|
|
|
|
|
|
8
|
12
15
|
-
|
13
16
|
-
|
|
|
|
|
|
|
|
|
|
|
|
9
|
13
16
|
-
|
14
17
|
-
|
|
|
|
|
|
|
|
|
|
|
|
10
|
14
17
|
-
|
15
18
|
-
|
|
|
|
|
|
|
|
|
|
|
|
11
|
15
18
|
-
|
16
19
|
-
|
|
|
|
|
|
|
|
|
|
|
|
12
|
16
19
|
-
|
17
20
|
-
|
|
|
|
|
|
|
|
|
|
|
|
13
|
17
20
|
-
|
18
21
|
-
|
|
|
|
|
|
|
|
|
|
|
|
14
|
18
21
|
-
|
19
22
|
-
|
|
|
|
|
|
|
|
|
|
|
|
15
|
19
22
|
-
|
20
23
|
-
|
20
24
|
-
|
|
|
|
|
|
|
|
|
|
16
|
20
23
|
-
|
21
24
|
-
|
21
25
|
-
|
|
|
|
|
|
|
|
|
|
17
|
21
24
|
-
|
22
25
|
-
|
22
26
|
-
|
|
|
|
|
|
|
|
|
|
18
|
22
25
|
-
|
23
26
|
-
|
23
27
|
-
|
24
30
|
-
|
|
|
|
|
|
|
|
19
|
23
26
|
-
|
24
27
|
-
|
24
28
|
-
|
25
31
|
-
|
|
|
|
|
|
|
|
20
|
24
27
|
-
|
25
28
|
-
|
25
29
|
-
|
26
32
|
-
|
|
|
|
|
|
|
|
22
|
26
29
|
-
|
27
30
|
-
|
27
31
|
-
|
28
34
|
-
|
|
|
|
|
|
|
|
24
|
28
31
|
-
|
29
32
|
-
|
29
33
|
-
|
30
36
|
-
|
|
|
|
|
|
|
|
26
|
30
33
|
-
|
31
34
|
-
|
31
35
|
-
|
32
38
|
-
|
|
|
|
|
|
|
|
28
|
32
35
|
-
|
33
36
|
-
|
33
37
|
-
|
34
40
|
-
|
|
|
|
|
|
|
|
30
|
34
37
|
-
|
35
38
|
-
|
35
39
|
-
|
36
42
|
-
|
38
44
|
-
|
|
|
|
|
|
32
|
|
|
37
40
|
-
|
37
41
|
-
|
38
42
|
-
|
40
46
|
-
|
|
|
|
|
|
34
|
|
|
39
42
|
-
|
39
43
|
-
|
40
46
|
-
|
42
49
|
-
|
|
|
|
|
|
36
|
|
|
41
44
|
-
|
41
45
|
-
|
42
48
|
-
|
44
50
|
-
|
|
|
|
|
|
38
|
|
|
43
46
|
-
|
43
47
|
-
|
44
49
|
-
|
46
52
|
-
|
|
|
|
|
|
40
|
|
|
45
48
|
-
|
45
49
|
-
|
46
52
|
-
|
48
54
|
-
|
49
57
|
-
|
|
|
|
42
|
|
|
|
|
47
51
|
-
|
48
54
|
-
|
50
57
|
-
|
51
60
|
-
|
|
|
|
45
|
|
|
|
|
50
54
|
-
|
51
56
|
-
|
53
59
|
-
|
54
62
|
-
|
|
|
|
48
|
|
|
|
|
53
57
|
-
|
54
60
|
-
|
56
63
|
-
|
57
66
|
-
|
|
|
|
50
|
|
|
|
|
55
59
|
-
|
56
62
|
-
|
58
64
|
-
|
59
67
|
-
|
|
|
|
53
|
|
|
|
|
58
62
|
-
|
59
65
|
-
|
61
68
|
-
|
62
71
|
-
|
|
|
|
55
|
|
|
|
|
60
64
|
-
|
61
66
|
-
|
63
69
|
-
|
64
72
|
-
|
|
|
|
58
|
|
|
|
|
63
67
|
-
|
64
70
|
-
|
66
73
|
-
|
67
76
|
-
|
|
|
|
60
|
|
|
|
|
65
69
|
-
|
66
71
|
-
|
67
74
|
-
|
68
77
|
-
|
|
|
|
65
|
|
|
|
|
|
|
71
76
|
-
|
73
79
|
-
|
74
83
|
-
|
|
|
|
70
|
|
|
|
|
|
|
76
81
|
-
|
78
84
|
-
|
79
87
|
-
|
82
93
|
-
|
|
75
|
|
|
|
|
|
|
82
86
|
-
|
83
89
|
-
|
84
92
|
-
|
87
98
|
-
|
|
80
|
|
|
|
|
|
|
86
91
|
-
|
88
94
|
-
|
89
97
|
-
|
92
103
|
-
|
|
85
|
|
|
|
|
|
|
92
96
|
-
|
93
99
|
-
|
94
102
|
-
|
97
108
|
-
|
|
90
|
|
|
|
|
|
|
97
101
|
-
|
98
104
|
-
|
99
107
|
-
|
102
113
|
-
|
|
95
|
|
|
|
|
|
|
102
106
|
-
|
103
109
|
-
|
104
112
|
-
|
107
118
|
-
|
|
100
|
|
|
|
|
|
|
107
111
|
-
|
108
114
|
-
|
109
117
|
-
|
112
123
|
-
|
|
110
|
|
|
|
|
|
|
116
121
|
-
|
118
124
|
-
|
119
127
|
-
|
122
133
|
-
|
|
120
|
|
|
|
|
|
|
|
|
128
134
|
-
|
129
137
|
-
|
132
143
|
-
|
|
130
|
|
|
|
|
|
|
|
|
138
144
|
-
|
139
147
|
-
|
142
153
|
-
|
|
140
|
|
|
|
|
|
|
|
|
|
|
149
157
|
-
|
152
163
|
-
|
|
150
|
|
|
|
|
|
|
|
|
|
|
|
|
162
173
|
-
|
Примечание. Знак ограничения
применяемости по типоразмерам проставляют в графе рядом со значением L1.
Таблица 3
|
L, мм
|
Масса 1000 шт., кг, стальных стоек при номинальном
диаметре резьбы d, мм
|
|
2
|
2,5
|
3
|
4
|
5
|
6
|
8
|
|
7
|
0,524
0,619
|
|
|
|
|
|
|
|
8
|
0,599
0,708
|
0,866
1,018
|
|
|
|
|
|
|
9
|
0,674
0,796
|
0,974
1,145
|
|
|
|
|
|
|
10
|
0,749
0,885
|
1,083
1,273
|
|
|
|
|
|
|
11
|
0,840
0,976
|
1,210
1,400
|
|
|
|
|
|
|
12
|
0,928
1,064
|
1,340
1,530
|
|
|
|
|
|
|
13
|
1,017
1,153
|
1,470
1,660
|
|
|
|
|
|
|
14
|
1,106
1,242
|
1,595
1,785
|
|
|
|
|
|
|
15
|
1,194
1,330
|
1,725
1,915
|
2,304
2,595
|
|
|
|
|
|
16
|
1,284
1,420
|
1,830
2,020
|
2,499
2,770
|
|
|
|
|
|
17
|
1,373
1,509
|
1,972
2,162
|
2,652
2,943
|
|
|
|
|
|
18
|
1,463
1,599
|
2,106
2,296
|
2,829
3,120
|
3,480
4,080
|
|
|
|
|
19
|
1,551
1,687
|
2,231
2,421
|
3,000
3,290
|
3,710
4,300
|
|
|
|
|
20
|
1,639
1,775
|
2,356
2,546
|
3,170
3,461
|
3,940
4,530
|
|
|
|
|
22
|
1,679
1,951
|
2,430
2,810
|
3,422
3,810
|
4,365
4,975
|
|
|
|
|
24
|
1,754
2,026
|
2,680
3,060
|
3,767
4,155
|
4,840
5,430
|
|
|
|
|
26
|
1,930
2,320
|
2,940
3,320
|
4,112
4,500
|
5,280
5,870
|
|
|
|
|
28
|
2,210
2.482
|
3,195
3.575
|
4,465
4,850
|
5,745
6,335
|
|
|
|
|
30
|
2,388
2,660
|
3,435
3,815
|
4,812
5,200
|
6,196
6,785
|
7,510
8,580
|
|
|
|
32
|
|
3,705
4,085
|
5,162
5,550
|
6,660
7,250
|
8,080
9,150
|
|
|
|
34
|
|
3,965
4,345
|
5,507
5,895
|
7,110
7,700
|
8,650
9,720
|
|
|
|
36
|
|
4,215
4,595
|
5,780
6,285
|
7,560
8,150
|
9,220
10,290
|
|
|
|
38
|
|
4,465
4,845
|
6,180
6,585
|
8,010
8,600
|
9,800
10,870
|
|
|
|
40
|
|
4,964
5,100
|
6,716
6,930
|
8,460
9,050
|
10,350
11,420
|
15,000
17,160
|
|
|
42
|
|
|
7,061
7,275
|
8,910
9,500
|
10,900
11,970
|
15,800
17,960
|
|
|
45
|
|
|
7,576
7,800
|
9,600
10,190
|
11,790
12,860
|
17,000
19,350
|
|
|
48
|
|
|
8,087
8,311
|
10,270
10,860
|
12,680
13,750
|
18,200
20,650
|
|
|
50
|
|
|
8,432
8,656
|
10,720
11,310
|
13,230
14,300
|
19,000
21,450
|
|
|
53
|
|
|
8,961
9,185
|
11,310
12,000
|
14,090
15,160
|
20,200
22,810
|
|
|
55
|
|
|
9,306
9,530
|
11,860
12,450
|
14,640
15,710
|
21,000
23,610
|
|
|
58
|
|
|
9,831
10,055
|
12,560
13,150
|
15,530
16,600
|
22,200
24,990
|
|
|
60
|
|
|
10,176
10,400
|
13,010
13,600
|
16,080
17,150
|
23,000
25,790
|
|
|
65
|
|
|
|
14,110
14,700
|
17,500
18,570
|
25,000
27,980
|
|
|
70
|
|
|
|
15,250
15,840
|
18,930
20,000
|
28,000
30,100
|
51,050
55,570
|
|
75
|
|
|
|
16,510
17,000
|
20,340
21,410
|
30,000
32,200
|
55,000
59,700
|
|
80
|
|
|
-
|
17,530
18,120
|
21,760
22,830
|
32,000
34,400
|
58,900
63,600
|
|
85
|
|
|
|
18,660
19,250
|
23,160
24,230
|
34,000
36,500
|
62,850
67,550
|
|
90
|
|
|
|
19,600
20,190
|
24,630
25,700
|
36,000
38,650
|
64,900
71,600
|
|
95
|
|
,
|
|
20,910
21,500
|
26,080
27,150
|
38,000
40,800
|
70,900
75,600
|
|
100
|
|
|
|
22,030
22,620
|
27,530
28,600
|
41,000
43,600
|
74,990
79,600
|
|
110
|
|
|
|
24,410
24,900
|
30,380
31,450
|
45,000
47,300
|
82,800
87,500
|
|
120
|
|
|
|
|
33,280
34,350
|
49,000
51,600
|
90,800
95,500
|
|
130
|
|
|
|
|
36,130
37,200
|
53,000
55,900
|
98,560
103,360
|
|
140
|
|
|
|
|
|
58,000
60,150
|
105,370
110,130
|
|
150
|
|
|
|
|
|
|
114,500
119,200
|
Примечания:
1. В числителе приведено значение массы коротких
стоек, в знаменателе - длинных.
2. Для определения массы стоек из латуни значения
масс, указанные в таблице, следует умножить на коэффициент 1,08.
Пример условного обозначения стойки исполнения 1
повышенной степени точности с диаметром резьбы d = 4
мм, длиной L = 30
мм и длиной L1
- 36 мм,
класса прочности 5.8, с покрытием 01 толщиной 6 мкм:
Стойка М4×30×36-58.016 ГОСТ 20863-81
То же, нормальной степени
точности:
Стойка НМ4×30×36-58.016 ГОСТ 20863-81
То же, исполнения 2
нормальной степени точности:
Стойка 2Н М4×30×36-58.016 ГОСТ 20863-81
То же, повышенной степени
точности:
Стойка 2М4×30×36-58.016 ГОСТ 20863-81
Примечание. Исполнение 1 и повышенную
степень точности в обозначении не указывают.
3. Марка материала и вид
покрытия стоек должны соответствовать указанным в табл. 4.
Таблица 4
|
Марка материала
|
Применяемость
|
Класс прочности или условное обозначение группы по
ГОСТ
1759.0-87, ГОСТ
1759.1-82, ГОСТ
1759.2-82, ГОСТ 1759.3-83, ГОСТ
1759.4-87, ГОСТ 1759.5-87
|
Покрытие
|
Обозначение материала и покрытия
|
|
Вид
|
Шаг резьбы Р, мм
|
Обозначение
|
|
по ГОСТ
9.306-85
|
условное
|
|
Сталь 35
ГОСТ
1050-88
|
|
5.6
|
Цинковое с хроматированием
|
До 0,45
|
Ц3-6.хр
|
01
|
56.013
|
|
0,5-0,75
|
Ц6-9.хр
|
56.016
|
|
0,8 и более
|
Ц9.хр
|
56.019
|
|
Кадмиевое с хроматированием
|
До 0,45
|
Кд3-6.хр
|
02
|
56.023
|
|
0,5-0,75
|
Кд6-9.хр
|
56.026
|
|
0,8 и более
|
Кд9.хр
|
56.029
|
|
Кадмиевое с оксидированием и фосфатированием
|
До 0,45
|
Кд3-6. Хим. Окс. фос
|
02.05
|
56.023.05
|
|
0,5-0,75
|
Кд6-9. Хим. Окс. фос
|
56.026.05
|
|
0,8 и более
|
Кд9.
Хим. Окс. фос
|
56.029.05
|
|
Сталь А12
ГОСТ
1414-75
Сталь 10, 20
ГОСТ
1050-88
|
|
5.8
|
Цинковое с хроматированием
|
До 0,45
|
Ц3-6.хр
|
01
|
58.013
|
|
0,5-0,75
|
Ц6-9.хр
|
58.016
|
|
0,8 и более
|
Ц9.хр
|
58.019
|
|
Кадмиевое с хроматированием
|
До 0,45
|
Кд3-6.хр
|
02
|
58.023
|
|
0,5-0,75
|
Кд6-9.хр
|
58.026
|
|
0,8 и более
|
Кд9.хр
|
58.029
|
|
Кадмиевое с оксидированием и фосфатированием
|
До 0,45
|
Кд3-6.
Хим. Окс. фос
|
02.05
|
58.023.05
|
|
0,5-0,75
|
Кд6-9.
Хим. Окс. фос
|
58.026.05
|
|
0,8 и более
|
Кд9.
Хим. Окс. фос
|
58.028.05
|
|
Сталь 12Х18Н9Т Сталь 14Х17Н2 ГОСТ
5632-72
|
21
|
Пассивное
|
0,4 и более
|
Хим. Пас.
|
11
|
21.11
|
|
Латунь ЛС59-1, Л63 ГОСТ
15527-2004
|
32
|
Пассивное
|
0,4 и более
|
Хим. Пас.
|
11
|
32.11
|
(Измененная редакция, Изм. №
1).
4. Технические требования по ГОСТ
20868-81.
|