|
|
ГОСУДАРСТВЕННЫЕ СТАНДАРТЫ СОЮЗА ССР СОЕДИНИТЕЛЬНЫЕ ПРОКЛАДКИ КОНСТРУКЦИЯ ГОСТ 24188-80 ГОСУДАРСТВЕННЫЙ СТАНДАРТ СОЮЗА ССР
Дата введения 01.07.81 Несоблюдение стандарта преследуется по закону 1. Настоящий стандарт
распространяется на прокладки, применяемые для соединения стеклянных труб. (Измененная редакция, Изм. № 2). 2. Прокладки должны быть
изготовлены следующих типов: 1 - Т-образные; 2 - оболочковые; 3 - Г-образные; 4 - муфтообразные; 5 - составные; 6 - манжетообразные; 7 - конические; 8 - плоские (Новая редакция, Изм. № 2). 3. Конструкция и основные
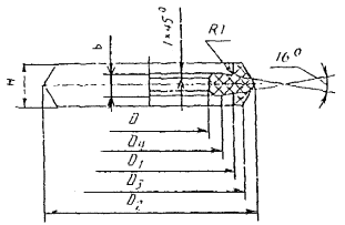
размеры Т-образной прокладки должны соответствовать указанным на черт. 2 и в табл. 2. Для труб Dн = 169 мм
Исполнение 1 Для труб Dн = 45, 67, 93, 122 мм
Исполнение 2 Для труб Dн = 45, 67, 93 и 122 мм Исполнение 3 Для труб Dн = 67, 93 мм Составные Для труб Dн = 67 мм Масса - 0,033 кг Для буртовых труб Таблица 2 Размеры в мм
Пример условного обозначения Т-образной прокладки
для труб с буртами Dу
= 15 мм из пищевой резины: Прокладка Т-обр. 15-П
ГОСТ 24188-80 То же, из кислотощелочестойкой: Прокладка Т-обр. 15-К ГОСТ 24188-80 То же, из
теплостойкой: Прокладка
Т-обр. 15-Т ГОСТ 24188-80 То же, Т-образной составной для труб с гладкими концами Dн = 67 мм: Прокладка
Т-обр. С 67 ГОСТ 24188-80 То же, T-образной
прокладки - исполнения 1, Dн
= 45 мм, D =37 мм, H =
12 мм из пищевой резины: Прокладка
Т-обр. 45-37-12 П ГОСТ 24188-80 То же, из кислотощелочестойкой: Прокладка
Т-обр. 45-37-12 К ГОСТ 24188-80 То же, из теплостойкой: Прокладка
Т-обр. 45-37-12 Т ГОСТ 24188-80. (Измененная редакция, Изм. № 2). 4. Конструкция и основные
размеры защитных оболочек должны соответствовать указанным на черт. 3 и в табл. 3. Для Т-образных прокладок
Таблица 3 Размеры в мм
Пример условного обозначения
оболочковых прокладок для
Т-образных прокладок для трубы
наружным диаметром Dн = 45 мм: Прокладка об. 45 ГОСТ 24188-80 То же, для Г-образных прокладок, D2 = 83 мм: Прокладка об. 45´83 ГОСТ 24188-80 (Измененная редакция, Изм. № 2). 4а. Конструкция и основные
размеры Т-образной прокладки должны соответствовать указанным на черт. 4 и в
табл. 4. Для труб Dн = 45, 67, 93, 122 мм Для труб Dн = 169 мм Таблица 4 Размеры в мм
Пример условного
обозначения Г-образной прокладки
для трубы Dн = 45 мм из пищевой резины: Прокладка Г 45-П ГОСТ 24188-80 То же, из кислотощелочестойкой: Прокладка Г 45-К ГОСТ 24188-80 То же, из теплостойкой: Прокладка Г 45-Т ГОСТ 24188-80 4б. Конструкция и основные
размеры муфтообразной прокладки должны соответствовать указанным на черт. 5 и в
табл. 5. Таблица 5 Размеры в мм
Примечание. Исполнение 1 - прокладка
из пищевой резины; Исполнение 2 -
прокладка из кислотощелочестойкой резины. Пример условного
обозначения муфтообразной
прокладки исполнения 1 для трубы Dу = 15 мм: Прокладка М-обр. 1-15 ГОСТ 24188-80 То же, исполнения 2: Прокладка М-обр. 2-15 ГОСТ 24188-80 4в. Конструкция и основные
размеры составной прокладки должны соответствовать указанным на черт. 6 и в
табл. 6. Таблица 6 Размеры в мм
Пример условного
обозначения составной прокладки
для трубы Dy = 25 мм, D = 50 мм: Прокладка составная 25-50 ГОСТ 24188-80 4г. Конструкция и основные
размеры манжетообразных прокладок должны соответствовать указанным на черт. 7. Масса - 0,015 кг Масса - 0,022 кг Пример условного
обозначения манжетообразной
прокладки исполнения 1: Прокладка манж. обр. 1 ГОСТ 24188-80 То же, исполнения 2: Прокладка манж. обр. 2 ГОСТ 24188-80 4д. Конструкция и основные
размеры конических прокладок для буртовых труб должны соответствовать указанным
на черт. 8 и в табл. 7. Таблица 7 Размеры в мм
* Прокладка предназначена для соединения
конических клапанов с трубами с гладкими концами. Примечание. Масса указана для корда
плотностью 1,43 г/см3. Пример условного
обозначения конической прокладки
для трубы с коническими буртами Dу = 50 мм: Прокладка кон. 50 ГОСТ 24188-80 То же, для исполнения 1: Прокладка кон. 50-1 ГОСТ 24188-80 То же, для соединения конических клапанов с
трубами с гладкими концами: Прокладка кон. соед. 80 ГОСТ 24188-80 4е. Конструкция и основные
размеры плоских прокладок должны соответствовать указанным на черт. 9 и в
табл. 8. Таблица 8 Размеры в мм
Пример условного
обозначения плоской прокладки для
аппаратуры Dу = 80 мм
из маслобензостойкой резины: Прокладка пл. 80-М ГОСТ 24188-80 То же, из кислотощелочестойкой: Прокладка пл. 80-К ГОСТ 24188-80 То же, из пищевой: Прокладка пл. 80-П ГОСТ 24188-80 4а - 4е (Введены
дополнительно, Изм. № 2). 5. Материал прокладок
оболочковых - фторопласт 4 ГОСТ 10007-80, остальных - резина или корд по рабочим
чертежам. (Новая редакция, Изм. № 2). 6. Технические требования -
по ГОСТ
24201-80. 7. Коды ОКП приведены в
приложении. (Введен дополнительно, Изм. № 2). ПРИЛОЖЕНИЕ Справочное
(Новая редакция, Изм. № 2). ИНФОРМАЦИОННЫЕ ДАННЫЕ
1. РАЗРАБОТАН И ВНЕСЕН Министерством монтажных
и специальных строительных работ СССР ИСПОЛНИТЕЛИ М.Г. Скакунов, д-р техн. наук; В.И. Каптелов; Н.Н.
Куликов; Р.И. Шарунова 2. УТВЕРЖДЕН И ВВЕДЕН В ДЕЙСТВИЕ
Постановлением Государственного комитета СССР по стандартам от 22.05.80 № 2306 3. ВЗАМЕН ГОСТ 15915-74 и ГОСТ 15916-74 4. Срок проверки - I квартал 1990 г.;
периодичность проверки - 5 лет. 5. ССЫЛОЧНЫЕ НОРМАТИВНО-ТЕХНИЧЕСКИЕ ДОКУМЕНТЫ
6.
ПЕРЕИЗДАНИЕ (май 1988 г.) с Изменением № 1, утвержденным в январе 1988 г. (ИУС
4-88). Снято ограничение срока
действия Постановлением Госстандарта СССР от 28.01.88 № 155. | |||||||||||||||||||||||||||||||||||||||||||||||||||||||||||||||||||||||||||||||||||||||||||||||||||||||||||||||||||||||||||||||||||||||||||||||||||||||||||||||||||||||||||||||||||||||||||||||||||||||||||||||||||||||||||||||||||||||||||||||||||||||||||||||||||||||||||||||||||||||||||||||||||||||||||||||||||||||||||||||||||||||||||||||||||||||||||||||||||||||||||||||||||||||||||||||||||||||||||||||||||||||||||||||||||||||||||||||||||||||||||||||||||||||||||||||||||||||||||||||||||||||||||||||||||||||||||||||||||||||||||||||||||||||||||||||||||||||||||||||||||||||||||||||||||||||||||
|
|
|
|