Бесплатная библиотека стандартов и нормативов www.docload.ru

Все документы, размещенные на этом сайте, не являются их официальным изданием и предназначены исключительно для ознакомительных целей.
Электронные копии этих документов могут распространяться без всяких ограничений. Вы можете размещать информацию с этого сайта на любом другом сайте.
Это некоммерческий сайт и здесь не продаются документы. Вы можете скачать их абсолютно бесплатно!
Содержимое сайта не нарушает чьих-либо авторских прав! Человек имеет право на информацию!

 

ГОСУДАРСТВЕННЫЕ СТАНДАРТЫ СОЮЗА ССР

СОЕДИНИТЕЛЬНЫЕ
И КРЕПЕЖНЫЕ ДЕТАЛИ
СТЕКЛЯННЫХ ТРУБОПРОВОДОВ

КОЛЬЦО УПЛОТНИТЕЛЬНОЕ

КОНСТРУКЦИЯ

ГОСТ 24191-80

ГОСУДАРСТВЕННЫЙ КОМИТЕТ СССР ПО СТАНДАРТАМ

МОСКВА

ГОСУДАРСТВЕННЫЙ СТАНДАРТ СОЮЗА ССР

КОЛЬЦО УПЛОТНИТЕЛЬНОЕ

Конструкция

Packing hoop.

Design

ГОСТ
24191-80

Дата введения 01.07.81

Несоблюдение стандарта преследуется по закону

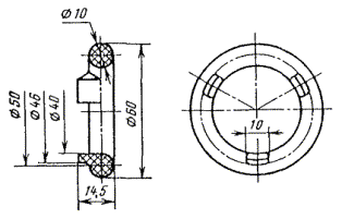
1. Настоящий стандарт распространяется на уплотнительные кольца, применяемые в соединениях стеклянных труб наружным диаметром 45 мм с трубными досками воздухоподогревателей (теплообменников).

Требования настоящего стандарта являются обязательными.

(Измененная редакция, Изм. № 2).

2. Конструкция и основные размеры уплотнительных колец должны соответствовать указанным на чертеже.

Масса - 0,03 кг, не более, для резины плотностью 2,12 г/см3.

Пример условного обозначения уплотнительного кольца для трубы наружным диаметром Dн = 45 мм:

Кольцо 45 ГОСТ 24191-80

3. Материал колец - резина по рабочим чертежам, утвержденным в установленном порядке.

4. Технические требования - по ГОСТ 24201-80.

5. Коды ОКП приведены в приложении.

(Введен дополнительно, Изм. № 2).

ПРИЛОЖЕНИЕ

Справочное

Условное обозначение кольца

Код ОКП и контрольное число

45

25 3167 0407 01

(Введено дополнительно, Изм. № 1).

ИНФОРМАЦИОННЫЕ ДАННЫЕ

1. РАЗРАБОТАН И ВНЕСЕН Министерством монтажных и специальных строительных работ СССР

ИСПОЛНИТЕЛИ

М.Г. Скакунов, д-р техн. наук; В.И. Каптелов; Н.Н. Куликов; Р.И. Шарунова

2. УТВЕРЖДЕН И ВВЕДЕН В ДЕЙСТВИЕ Постановлением Государственного комитета СССР по стандартам от 22.05.80 № 2306

3. ВЗАМЕН ГОСТ 19695-74

4. Срок проверки - 1 квартал 1990 г.; периодичность проверки - 5 лет.

5. ССЫЛОЧНЫЕ НОРМАТИВНО-ТЕХНИЧЕСКИЕ ДОКУМЕНТЫ

Обозначение НТД, на который дана ссылка

Номер пункта

ГОСТ 24201-80

4

6. ПЕРЕИЗДАНИЕ (май 1988 г.) с Изменением № 1, утвержденным в январе 1988 г. (ИУС 4-88).

Снято ограничение срока действия Постановлением Госстандарта СССР от 28.01.88 № 155.




Rambler's Top100 Яндекс цитирования
  Copyright © 2008-2026, www.docload.ru