Бесплатная библиотека стандартов и нормативов www.docload.ru

Все документы, размещенные на этом сайте, не являются их официальным изданием и предназначены исключительно для ознакомительных целей.
Электронные копии этих документов могут распространяться без всяких ограничений. Вы можете размещать информацию с этого сайта на любом другом сайте.
Это некоммерческий сайт и здесь не продаются документы. Вы можете скачать их абсолютно бесплатно!
Содержимое сайта не нарушает чьих-либо авторских прав! Человек имеет право на информацию!

 

ГОСУДАРСТВЕННЫЙ СТАНДАРТ СОЮЗА ССР

СОЕДИНЕНИЯ ТРУБОПРОВОДОВ
С ШАРОВЫМ НИППЕЛЕМ

конструкция

ГОСТ 24485-80

ГОССТАНДАРТ РОССИИ

Москва

ГОСУДАРСТВЕННЫЙ СТАНДАРТ СОЮЗА ССР

СОЕДИНЕНИЯ ТРУБОПРОВОДОВ С ШАРОВЫМ НИППЕЛЕМ ПРОХОДНЫЕ

Конструкция

Passage tube connections with ball nipple.
Construction

ГОСТ
24485-80

Срок действия с 01.01.1982

до 01.01.2000

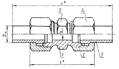
1. Настоящий стандарт распространяется на проходные соединения трубопроводов с шаровым ниппелем с углом конуса штуцера 24°.

2. Конструкция и основные размеры соединений трубопроводов должны соответствовать указанным на чертеже и в таблице.

_______________

* Размеры для справок

1 - штуцер по ГОСТ 21856-78; 2 - накидная гайка по ГОСТ 23353-78; 3 - шаровой ниппель по ГОСТ 23355-78

Размеры, мм

Группа

Наружный диаметр трубы Dн

Условный проход Dу

L

l

Размеры под «ключ»

Масса 1000 шт., кг, не более

S

S1

1

4

2,5

69

32

9

10

19

5

3,0

12

12

28

2

6

4,0

78

42

12

14

43

8

6,0

83

43

14

17

68

10

8,0

89

45

17

19

90

12

10,0

94

46

19

22

125

15

12,0

100

49

22

27

158

(16)

24

30

243

18

15,0

104

52

27

32

272

22

20,0

108

59

32

36

382

28

25,0

113

62

41

41

514

(34)

32,0

122

69

46

50

774

35

764

42

400

123

71

55

60

1159

3

6

3,0

84

48

14

17

73

8

4,0

90

50

17

19

101

10

5,0

94

52

19

22

143

12

6,0

100

54

22

24

184

14

8,0

108

60

24

27

249

16

10,0

27

30

298

20

12,0

118

72

32

36

480

25

15,0

127

79

41

46

858

30

20,0

131

85

46

50

1141

38

25,0

142

96

55

60

1745

Примечание. Размеры, приведенные в скобках, непредпочтительны.

Пример условного обозначения группы 1 с Dн = 5 мм:

Соединение 1-5 ГОСТ 24485-80

1, 2. (Измененная редакция, Изм. № 1).

3. Условные давления для каждой группы соединений приведены в рекомендуемом приложении 1 к ГОСТ 22525-77.

4. Технические требования, правила приемки, методы испытаний, маркировка, упаковка, транспортирование и хранение - по ГОСТ 15763-91.

ИНФОРМАЦИОННЫЕ ДАННЫЕ

1. РАЗРАБОТАН И ВНЕСЕН Государственным комитетом СССР по стандартам

РАЗРАБОТЧИКИ

Б.В. Максимовский; Г.В. Поляков, канд. техн. наук; С.А. Суховодова

2. УТВЕРЖДЕН И ВВЕДЕН В ДЕЙСТВИЕ Постановлением Государственного комитета СССР по стандартам от 30.12.80 № 6078

3. Срок проверки - 1998 г.

4. ВЗАМЕН ГОСТ 20969-75; ГОСТ 22872-77

5. ССЫЛОЧНЫЕ НОРМАТИВНО-ТЕХНИЧЕСКИЕ ДОКУМЕНТЫ

Обозначение НТД, на который дана ссылка

Номер пункта

ГОСТ 15763-91

4

ГОСТ 21856-78

2

ГОСТ 22525-77

3

ГОСТ 23353-78

2

ГОСТ 23355-78

2

6. Проверен в 1989 г. Срок действия продлен до 01.01.2000 Постановлением Госстандарта СССР от 25.10.89 № 3180

7. Переиздание (май 1991 г.) с Изменением № 1, утвержденным в октябре 1989 г. (ИУС 2-90)




Rambler's Top100 Яндекс цитирования
  Copyright © 2008-2026, www.docload.ru