Бесплатная библиотека стандартов и нормативов www.docload.ru

Все документы, размещенные на этом сайте, не являются их официальным изданием и предназначены исключительно для ознакомительных целей.
Электронные копии этих документов могут распространяться без всяких ограничений. Вы можете размещать информацию с этого сайта на любом другом сайте.
Это некоммерческий сайт и здесь не продаются документы. Вы можете скачать их абсолютно бесплатно!
Содержимое сайта не нарушает чьих-либо авторских прав! Человек имеет право на информацию!

 

Изменение № 1 ГОСТ 2517-85 Нефть и нефтепродукты. Методы отбора проб

Принято и введено в действие Постановлением Госстандарта России от 19.08.98 № 330

Дата введения 1999-01-01

Пункт 1.5. Второй абзац изложить в новой редакции:

«пробозаборное устройство (черт. 14, 15, 15а, 15б)»;

дополнить абзацем:

«Параметры пробозаборных трубок щелевого типа приведены в приложении 2».

Пункт 2.13.1.1 дополнить словами: «Пробозаборные трубки монтируют на корпусе диспергатора (черт. 19). Параметры диспергатора приведены в приложении 3».

Пункт 2.13.8 изложить в новой редакции:

«2.13.1.8 При неоднородном потоке жидкости устанавливают вертикально по диаметру трубопровода пробозаборное устройство щелевого типа с одним или пятью отверстиями (см. черт. 15а, 15б), ориентированными навстречу потоку.

Допускается устанавливать пробозаборное устройство в виде пробозаборных трубок с загнутыми концами, направленными навстречу потоку:

одна - при диаметре до 100 мм;

три - при диаметре от 100 до 400 мм;

пять - при диаметре свыше 400 мм».

Раздел 2 дополнить пунктом – 2.13.17:

«2.13.1.17. Пробозаборное устройство щелевого типа состоит из стабилизатора (черт. 20) и пробозаборной трубки. Конструкция устройства с одним отверстием приведена на черт. 15а, с пятью отверстиями - на черт. 15б. Параметры стабилизатора рассчитывают согласно алгоритму (приложение 4)».

Пункт 2.13.4.1 изложить в новой редакции:

«2.13.4.1. Пробу нефти или нефтепродукта отбирают пробозаборным устройством щелевого типа или в виде пробозаборных трубок с загнутыми концами в соответствии с п. 2.13.1.8. Пробозаборное устройство обоих типов должно обеспечить расход нефти, необходимый для работы анализатора качества».

Приложение дополнить номером - 1;

дополнить чертежами – 15а, 15б, 19, 20;

чертеж 18 заменить новым.

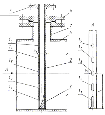
Пробозаборное устройство щелевого типа с одним отверстием

1 - отверстие; 2 - трубка; 3 - стабилизатор; 4 - крышка; 5 - штуцер; 6 - трубопровод; 7 - монтажный патрубок

Черт. 15а

Примечание. Параметры b1 и h1 определяют по табл. 1 приложения 2.

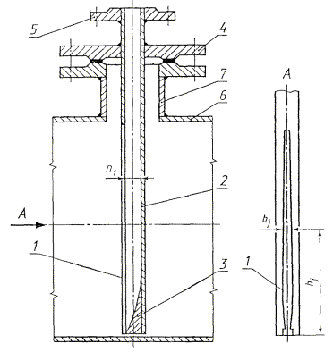
Пробозаборное устройство щелевого типа с пятью отверстиями

11 - 15 - отверстия; 2 - трубка; 3 - стабилизатор; 4 - крышка; 5 - штуцер; 6 - трубопровод; 7 - монтажный патрубок

Черт. 15б

Примечание. Параметры b1 и h1 определяют по табл. 2 приложения 2.

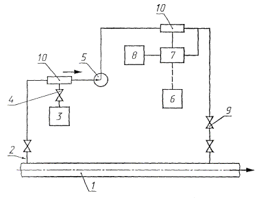
Схема отбора проб из трубопровода

1 - трубопровод; 2 - пробозаборное устройство; 3, 8 - пробозаборники; 4 - кран для ручного отбора проб; 5 - насос; 6 - регуляторы; 7 - запорное устройство; 9 - обратный клапан; 10 - диспергаторы

Черт. 18

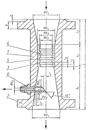
Диспергатор

1 - корпус; 2 - фланец; 3 - кавитирующая втулка; 4 и 5 - соответственно канавки и выступы; 6 - пробозаборная трубка

Черт. 19

Примечание. Параметры диспергатора указаны в приложении 3

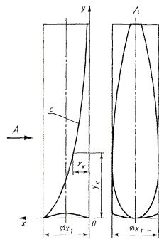
Стабилизатор

Черт. 20

Примечание. Параметры xk и yk стабилизатора определяются по алгоритму, приведенному в приложении 4


Стандарт дополнить приложениями - 2-4:

ПРИЛОЖЕНИЕ 2

Обязательное

ПАРАМЕТРЫ ПРОБОЗАБОРНЫХ ТРУБОК ЩЕЛЕВОГО ТИПА

Таблица 1 - Пробозаборная трубка с одним отверстием (черт. 15а)

Размеры в миллиметрах

j

bj

hj при внутреннем диаметре пробозаборной трубки D1

9, 10

12, 13

15, 16, 17, 18

21,22

23, 24, 25

28, 29, 30

30, 33, 34, 35

38, 40, 42

Условный диаметр Dy трубопровода

40

50

65

80

100

125

150

175

200

225

250

300

350

400

500

600

700

800

900

1000

1200

1400

1

2

3

4

5

6

7

8

9

10

11

12

13

14

15

16

17

18

19

20

21

22

23

24

1

4,0

0

0

0

0

0

0

0

0

0

0

0

0

0

0

0

0

0

0

0

0

0

0

2

4,0

3

3

3

3

3

3

3

3

3

3

3

3

3

3

3

3

3

3

3

3

3

3

3

1,3

3,1

3,1

3,1

3,1

3,1

3,1

3,1

3,1

3,1

3,1

3,1

3,1

3,1

3,1

3,1

3,1

3,1

3,1

3,1

3,1

3,1

3,1

4

2,0

5

6

8

9

11

13

15

18

20

22

25

29

34

38

47

56

66

75

84

93

112

131

5

2,5

7

9

12

14

17

21

25

30

35

39

43

51

60

67

83

101

118

135

152

169

203

237

6

3,4

10

13

18

21

26

33

40

49

56

63

70

84

97

110

138

167

196

224

253

282

339

397

7

2,6

15

20

29

35

44

56

68

84

96

108

120

145

169

191

241

291

342

392

442

493

594

694

8

1,9

21

29

41

51

64

82

100

124

142

160

178

214

250

283

358

433

508

583

659

734

884

1035

9

1,1

27

37

54

67

84

108

132

164

188

212

236

284

332

376

475

575

675

775

875

975

1175

1375

Примечания:

1. Допускаемое отклонение ширины отверстия 1 от расчетной - не более 0,1 мм, высоты:

0,2 мм - при 40 < Dy < 100;

0,4 мм - при 100 < Dy < 350;

0,8 мм - при 350 < Dy < 600;

1,5 мм - при 600 < Dy < 1400.

2. Допускается зазор между нижней точкой пробоотбора и нижней образующей трубопровода не более 5 мм.

3. Участки сопряжения верхних и нижних границ щелевого отверстия с боковыми границами допускается выполнять по линии с радиусом кривизны 0,2 - 1,0 ширины участков сопряжения указанных границ.

Таблица 2 - Пробозаборная трубка с пятью отверстиями (черт. 15б)

Размеры в миллиметрах

Отверстие № (черт. 15б)

j

b1

hj При внутреннем диаметре пробозаборной трубки D1

9, 10, 12, 13

15, 16, 17, 18

24, 25

30, 31, 32, 33

32, 33, 34

38, 40

Условный диаметр Dy трубопровода

100

125

150

175

200

225

250

300

350

400

500

600

700

800

900

1000

1200

1400

1

2

3

4

5

6

7

8

9

10

11

12

13

14

15

16

17

18

20

21

22

 Отверстие 11

1

4,0

0

0

0

0

0

0

0

0

0

0

0

0

0

0

0

0

0

0

2

4,0

3

3

3

3

3

3

3

3

3

3

3

3

3

3

3

3

3

3

3

1,2

3,1

3,1

3,1

3,1

3,1

3,1

3,1

3,1

3,1

3,1

3,1

3,1

3,1

3,1

3,1

3,1

3,1

3,1

4

1,5

5

5

6

7

7

8

8

9

10

11

13

15

17

20

21

24

28

32

5

1,9

8

10

11

13

15

16

18

21

24

27

33

39

45

52

58

64

77

89

6

2,5

11

14

16

20

22

25

27

32

40

41

52

62

72

82

92

103

123

143

7

3,3

16

20

24

29

33

36

40

48

55

62

78

93

109

125

141

156

188

219

Отверстие 12

8

3,3

25

31

37

45

52

58

65

77

90

102

129

153

176

202

227

252

303

354

9

3,2

31

39

47

57

65

73

82

98

113

128

164

194

223

255

288

320

385

449

10

3,0

37

46

56

68

78

88

99

118

137

155

198

235

270

309

349

388

466

544

Отверстие 13

11

2,9

43

55

66

81

93

104

117

140

162

184

235

279

321

368

414

461

554

648

12

2,9

46

59

71

87

99

111

125

150

174

197

252

299

344

394

444

494

594

694

13

2,8

49

62

76

92

105

118

133

159

185

210

269

319

367

420

474

527

634

740

Отверстие 14

14

2,8

59

75

91

110

125

141

159

190

220

250

321

381

438

502

566

629

757

884

15

2,7

61

78

95

116

133

149

168

201

234

266

340

404

465

533

600

668

803

939

16

2,6

64

82

99

123

141

158

178

213

247

281

360

427

492

563

635

707

850

993

Отверстие 15

17

2,6

80

104

125

154

176

198

223

268

311

354

453

538

619

710

800

890

1071

1252

18

2,4

82

105

128

157

180

202

228

273

317

360

462

548

631

723

816

908

1092

1276

19

2,3

85

109

132

160

183

206

232

278

323

367

471

559

643

737

831

925

1113

1301

Примечания:

1. Допускаемое отклонение ширины отверстия 11 - 15 от расчетной - не более 0,1 мм, высоты:

0,2 мм - при 40 < Dу < 100;

0,4 мм - при 100 < Dу < 350;

0,8 мм - при 350 < Dу < 600;

1,5 мм - при 600 < Dу < 1400.

2. Допускается зазор между нижней точкой пробоотбора и нижней образующей трубопровода не более 5 мм.

3. Участки сопряжения верхних и нижних границ щелевых отверстий с боковыми границами допускается выполнять по линии, с радиусом кривизны 0,2 - 1,0 ширины участков сопряжения указанных границ.


ПРИЛОЖЕНИЕ 3

Обязательное

Параметры диспергатора (черт. 19)

Размеры в миллиметрах

d1

d2

(d3 - d2)

d4

d5

d6

D7

L

(L1 : L3)

L2

l1

l2

l3

l4

h

b

40

15-20

3-5

25-30

9

3

6

200-220

1,8-2

50

5

5

0-5

0-5

3

23

50

25-30

3-5

35-40

9

3

6

200-220

1,8-2

50

5

5

0-5

0-5

3

23

Примечания:

1. Допускается:

b = 13 мм при условном давлении в обводной линии не более 1,6 МПа;

b = 17 мм при условном давлении в обводной линии не более 4,0 МПа.

2. При диаметре обводной линии менее 40 мм для монтажа диспергатора на обводной линии устанавливают переходы на диаметр равный d1.

ПРИЛОЖЕНИЕ 4

Обязательное

РАСЧЕТ ПАРАМЕТРОВ СТАБИЛИЗАТОРА ЩЕЛЕВОГО ПРОБОЗАБОРНОГО УСТРОЙСТВА

Поверхность С стабилизатора (черт. 20) выполняется по точкам, проекция которых на плоскость Оху является параболой второй степени с параметрами хк и ук (k = 1, . . . , 11), мм, определяемыми по формулам:

- для трубопровода, условный диаметр Dу которого равен или больше 350 мм:

                           (1)

где D1 - внутренний диаметр пробозаборной трубки, мм, индекс k изменяется от 1 до 11;

- для трубопровода, условный диаметр Dy которого меньше 350 мм:

                           (2)

Примечания:

1. Диаметр D1, пробозаборной трубки выбирают в зависимости от диаметра Dу трубопровода (приложение 2, табл. 1-2).

2. Высота стабилизатора (совпадающая со значением ун) может отличаться от расчетной не более чем на 3 мм.

3. Допуск на шероховатость Rа поверхности С стабилизатора: Ra < 0,1 мм.

Пример 1. Рассчитать параметры хк и ук поверхности С стабилизатора при условном диаметре Dу трубопровода равным 700 мм, внутреннем диаметре D1 пробозаборной трубки равным 32 мм.

Поскольку Dу > 350 мм, для определения параметров хк и ук пользуемся формулами (1). Результаты расчетов сводим в табл. 1.

Таблица 1

k

1

2

3

4

5

6

7

8

9

10

11

yk

0,0

12,2

24,4

36,6

48,8

61,0

73,2

85,4

97,6

109,8

122,0

xk

31,8

22,1

18,0

14,9

12,3

10,0

7,9

6,0

4,3

2,6

1,0

Пример 2. Рассчитать параметры хк и ук поверхности С стабилизатора при условном диаметре Dy трубопровода равным 250 мм, внутреннем диаметре D1 пробозаборной трубки равным 17 мм.

Поскольку Dу < 350 мм, для определения параметров хк и ук пользуемся формулами (2). Результаты расчетов сводим в табл. 2.

Таблица 2

k

1

2

3

4

5

6

7

8

9

10

11

yk

0,0

8,7

17,4

26,1

34,8

43,6

52,3

61,0

69,7

78,4

87,0

xk

16,8

11,8

9,7

8,1

6,8

5,6

4,6

3,6

2,7

1,8

1,0

(ИУС № 12 1998 г.)

 




Rambler's Top100 Яндекс цитирования
  Copyright © 2008-2026, www.docload.ru