Бесплатная библиотека стандартов и нормативов www.docload.ru

Все документы, размещенные на этом сайте, не являются их официальным изданием и предназначены исключительно для ознакомительных целей.
Электронные копии этих документов могут распространяться без всяких ограничений. Вы можете размещать информацию с этого сайта на любом другом сайте.
Это некоммерческий сайт и здесь не продаются документы. Вы можете скачать их абсолютно бесплатно!
Содержимое сайта не нарушает чьих-либо авторских прав! Человек имеет право на информацию!

 

МЕЖГОСУДАРСТВЕННЫЙ СТАНДАРТ

УСТАНОВКИ ДИСТИЛЛЯЦИОННЫЕ ОПРЕСНИТЕЛЬНЫЕ СТАЦИОНАРНЫЕ

ГОСТ
26449.3-85

Методы химического анализа соленых вод и дистиллята на содержание газов

Stationary distillation desalting units.
Methods of saline water distillate chemical analysis on gas content

Постановлением Государственного комитета СССР по стандартам от 15 ноября 1985 г. №3612 дата введения установлена

01.01.87

Настоящий стандарт устанавливает методы химического анализа соленых вод и дистиллята на контролируемые газообразные компоненты.

Подготовка аппаратуры, реактивов, растворов и общие требования к отбору проб и проведению анализа - по ГОСТ 26449.0-85.

Содержание

1. МЕТОДЫ ОПРЕДЕЛЕНИЯ СУХОГО ОСТАТКА

1.1. Колориметрический метод с использованием сафранина Т

1.2. Фотоколориметрический метод с использованием метиленового голубого

1.3. Колориметрический метод определения кислорода в интервале массовых концентраций 10-100 мкг/дм3

1.4. Колориметрический метод определения кислорода в интервале массовых концентраций 50-500 мкг/дм3

1.5. Колориметрический метод определения кислорода в интервале массовых концентраций 10-100 мкг/дм3 в присутствии затравки

1.6. Колориметрический метод определения кислорода в интервале массовых концентраций 50—500 мкг/дм3 в присутствии затравки

1.7. Титриметрический метод определения кислорода в интервале массовых концентраций 0,2-4,0 мг/дм3

1.8. Титриметрический метод определения кислорода в интервале массовых концентраций 1-10 мг/дм3

1.9. Титриметрический метод определения кислорода в интервале массовых концентраций 1-10 мг/дм3 в присутствии затравки

1.10. Электрометрический метод

2. МЕТОДЫ ОПРЕДЕЛЕНИЯ СВОБОДНОЙ ДВУОКИСИ УГЛЕРОДА

2.1. Метод потенциометрического титрования в интервале массовых концентраций двуокиси углерода 0,5-60,0 мг/дм3

2.2. Метод потенциометрического титрования в интервале массовых концентраций двуокиси углерода 5-500 мг/дм3

3. ТИТРИМЕТРИЧЕСКИЙ МЕТОД ОПРЕДЕЛЕНИЯ СЕРОВОДОРОДА

3.1. Сущность метода

3.2. Аппаратура, реактивы и растворы

3.3. Подготовка к анализу

3.4. Проведение анализа

3.5. Обработка результатов

ПРИЛОЖЕНИЕ

ОТБОР ПРОБ СОЛЕНЫХ ВОД И ДИСТИЛЛЯТА ДЛЯ ОПРЕДЕЛЕНИЯ МАССОВОЙ КОНЦЕНТРАЦИИ ГАЗОВ

1. МЕТОДЫ ОПРЕДЕЛЕНИЯ СУХОГО ОСТАТКА

1.1. Колориметрический метод с использованием сафранина Т

1.1.1. Сущность метода

Кислород, содержащийся в исследуемом растворе, образует с сафранином Т, восстановленным амальгамированным цинком, окрашенное в красный цвет соединение. Массовую концентрацию кислорода определяют визуально по интенсивности окраски, используя растворы сравнения.

Метод применяют при определении массовой концентрации кислорода от 5 до 30 мкг/дм3.

1.1.2. Аппаратура, реактивы и растворы

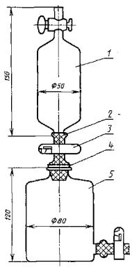
Сосуд для отбора проб - в соответствии с черт. 1 справочного приложения.

Редуктор, представляющий собой бюретку, вместимостью 100 см3, с капилляром.

Весы аналитические.

Весы технические.

Колбы мерные вместимостью 100, 250 и 500 см3.

Пипетки с делениями вместимостью 5 см3.

Пипетки без делений вместимостью 25 см3.

Цинк гранулированный.

Кислота азотная, раствор с массовой концентрацией 50 г/дм3.

Ртуть азотнокислая, раствор с массовой концентрацией 100 г/дм3.

Цинк амальгамированный; готовят следующим образом: цинк промывают раствором азотной кислоты, заливают раствором азотнокислой ртути и перемешивают в течение 20-30 мин до образования на гранулах блестящего слоя амальгамы. Гранулы амальгамированного цинка промывают дистиллированной водой.

Спирт этиловый.

Аммиак, разбавленный 4:1.

Кислота соляная, раствор с молярной концентрацией эквивалента  0,001 моль/дм3.

Сафранин Т, раствор с массовой концентрацией 1 г/дм3; готовят следующим образом: в мерную колбу вместимостью 100 см3 помещают 0,1 г сафранина Т, 50 см3 этилового спирта, 15 см3 раствора аммиака, объем раствора доводят до метки дистиллированной водой и перемешивают.

Основной имитирующий раствор; готовят следующим образом: в мерную колбу вместимостью 500 см3 помещают 0,1064 г сафранина Т, доводят объем раствора до метки раствором соляной кислоты и перемешивают.

Рабочий имитирующий раствор; готовят следующим образом: в мерную колбу вместимостью 250 см3 помещают 25 см3 основного имитирующего раствора, доводят объем раствора до метки раствором соляной кислоты и перемешивают. Рабочий имитирующий раствор при тысячекратном разбавлении соответствует по интенсивности окраски исследуемому раствору с массовой концентрацией кислорода 1 мкг/дм3, прореагировавшего с восстановленным сафранином T.

1.1.3. Подготовка к анализу

1.1.3.1 В редуктор помещают 25-30 см3 сафранина Т, на 2/3 вместимости - амальгамированный цинк и дополняют раствором сафранина Т до верхнего деления шкалы. При восстановлении сафранина Т раствор обесцвечивается.

1.1.3.2. Для приготовления растворов сравнения в мерные колбы вместимостью по 100 см3 помещают 0,5; 1,0; 1,5; 2,0; 2,5; 3,0 см3 рабочего имитирующего раствора, 1,5 см3 этилового спирта, объемы растворов доводят до метки раствором соляной кислоты и перемешивают. Интенсивность окраски растворов сравнения соответствует массовой концентрации кислорода 5, 10, 15, 20,25, 30 мкг/дм3.

1.1.4. Проведение анализа

В сосуд для отбора проб, заполненный исследуемым раствором, вводят через капилляр редуктора 4 см3 раствора восстановленного сафранина Т (верхний кран сосуда закрыт). Через 8 мин сравнивают окраску раствора с окраской растворов сравнения.

1.1.5. Обработка результатов

Допускаемые расхождения результатов двух параллельных определений не должны превышать 5 мкг/дм3.

1.2. Фотоколориметрический метод с использованием метиленового голубого

1.2.1. Сущность метода

Кислород, содержащийся в исследуемом растворе, образует метиленовым голубым, восстановленным глюкозой, окрашенное в синий цвет соединение. Интенсивность окраски раствора измеряют на фотоэлектроколориметре.

Метод применяют при определении массовой концентрации кислорода от 0 до 100 мг/дм3.

1.2.2. Аппаратура, реактивы и растворы

Фотоэлектроколориметр.

Кювета с крышкой, снабженной двумя штуцерами. Натекание воздуха не должно превышать 2,9·10-6 м3 - Па/с.

Весы аналитические.

Весы технические.

Шприц медицинский.

Цилиндр вместимостью 50 см3 с притертой пробкой.

Колбы мерные вместимостью 50, 100, 250 и 1000 см3.

Мензурка вместимостью 500 см3.

Пипетки с делениями вместимостью 1 и 5 см3.

D - глюкоза.

Глицерин.

Спирт этиловый.

Калия гидроокись, раствор с массовой концентрацией 400 мкг/дм3.

Метиленовый голубой.

Основной раствор метиленового голубого; готовят следующим образом: в мерную колбу вместимостью 1000 см3 помещают 0,3 г метиленового голубого, 1,2 г глюкозы, 70 см3 дистиллированной воды, доводят объем раствора до метки глицерином и перемешивают.

Рабочий раствор метиленового голубого; готовят следующим образом: в цилиндр помещают 39 см3 основного раствора метиленового голубого и 1 см3 раствора гидроокиси калия. При восстановлении метиленового голубого раствор обесцвечивается. Раствор хранят при температуре (20±5) °С не более 24 ч, исключая попадание прямых солнечных лучей.

Основной имитирующий раствор; готовят следующим образом: в мерную колбу вместимостью 1000 см3 помещают 0,2460 г метиленового голубого, добавляют 500 см3 этилового спирта, доводят объем раствора до метки дистиллированной водой и перемешивают.

Рабочий имитирующий раствор; готовят следующим образом: в мерную колбу вместимостью 250 см3 помещают 47,5 см3 основного имитирующего раствора, доводят объем раствора до метки дистиллированной водой и перемешивают.

Рабочий имитирующий раствор при двухсоткратном разбавлении соответствует по интенсивности окраски исследуемому раствору с массовой концентрацией кислорода 10 мкг/дм3, прореагировавшего с восстановленным метиленовым голубым.

1.2.3. Проведение анализа

В кювету с исследуемым раствором с помощью шприца вводят 1 см3 рабочего раствора метиленового голубого, перемешивают и через 1 мин измеряют оптическую плотность раствора на фотоэлектроколориметре с красным светофильтром (длина волны λ = 650 нм) в кювете с толщиной поглощающего свет слоя 50 мм.

В качестве раствора сравнения используют исследуемый раствор.

1.2.4. Построение градуировочного графика

В мерные колбы вместимостью по 100 см3 помещают 1, 2, 3, 4 и 5 см3 рабочего имитирующего раствора и доводят объемы раствора до метки дистиллированной водой. Интенсивность окраски растворов соответствует массовой концентрации кислорода 20, 40, 60, 80 и 100 мкг/дм3. Оптическую плотность растворов измеряют на фотоэлектроколориметре с красным светофильтром (длина волны λ = 650 нм) в кювете с толщиной поглощающего свет слоя 50 мм. В качестве раствора сравнения используют дистиллированную воду.

По найденным значениям оптической плотности и соответствующим им значениям массовой концентрации кислорода строят градуировочный график.

1.2.5. Обработка результатов

1.2.5.1. Массовую концентрацию кислорода находят по градуировочному графику.

1.2.5.2. Допускаемые расхождения результатов двух параллельных определений не должны превышать значений, приведенных в табл. 1.

Таблица 1

Массовая концентрация кислорода, мкг/дм3

Допускаемое расхождение

Массовая концентрация кислорода, мкг/дм3

Допускаемое расхождение

в абсолютных единицах, мкг/дм3

в относительных единицах, %

в абсолютных единицах, мкг/дм3

в относительных единицах, %

10

7,5

75

50

9,5

39

20

8,2

41

70

11,1

16

30

8,7

29

100

13,0

13

40

9,2

23

 

 

 

1.3. Колориметрический метод определения кислорода в интервале массовых концентраций 10-100 мкг/дм3

1.3.1. Сущность метода

Кислород, содержащийся в исследуемом растворе, образует с метиленовым голубым, восстановленным амальгамированным цинком, окрашенное в синий цвет соединение. Массовую концентрацию кислорода определяют по интенсивности окраски, используя растворы сравнения.

1.3.2. Аппаратура, реактивы и растворы

Сосуд для отбора проб - в соответствии с черт. 1 справочного приложения. Редуктор, представляющий собой бюретку, вместимостью 100 см3, с капилляром.

Весы аналитические.

Весы технические.

Колбы мерные вместимостью 50, 100, 250 и 1000 см3.

Пипетки с делениями вместимостью 5 см3.

Цинк амальгамированный; готовят, как указано в п. 1.1.2.

Спирт этиловый.

Метиленовый голубой.

Метиленовый голубой, раствор; готовят следующим образом: в мерную колбу вместимостью 1000 см3 помещают 0,2460 г метиленового голубого, растворяют в 500 см3 этилового спирта и доводят объем раствора до метки дистиллированной водой.

Имитирующий раствор; готовят следующим образом: в мерную колбу вместимостью 250 см3 помещают 47,5 см3 раствора метиленового голубого, доводят объем раствора до метки дистиллированной водой и перемешивают.

Имитирующий раствор при двухсоткратном разбавлении соответствует по интенсивности исследуемому раствору с массовой концентрацией кислорода 10 мкг/дм3, прореагировавшего с восстановленным метиленовым голубым.

1.3.3. Подготовка к анализу

1.3.3.1 В редуктор помещают 25-30 см3 раствора метиленового голубого, на 2/3 вместимости - амальгамированный цинк, дополняют раствором метиленового голубого до верхнего деления шкалы. При восстановлении метиленового голубого раствор обесцвечивается.

1.3.3.2. Для приготовления растворов сравнения в мерные колбы вместимостью по 100 см3 помещают 0,5; 1,0; 1,5; 2,0; 2,5; 3,0; 3,5; 4,0; 4,5; 5,0 см3 имитирующего раствора, доводят объемы растворов до метки дистиллированной водой и перемешивают. Интенсивность окраски растворов сравнения соответствует массовой концентрации кислорода 10, 20, 30, 40, 50, 60, 70, 80, 90, 100 мкг/дм3.

1.3.4. Проведение анализа

В сосуд для отбора проб, заполненный исследуемым раствором, вводят через капилляр редуктора 2 см3 раствора восстановленного метиленового голубого (верхний кран сосуда закрыт). Через 5 мин сравнивают окраску раствора с окраской растворов сравнения.

1.3.5. Обработка результатов

Допускаемые расхождения результатов двух параллельных определений не должны превышать 10 мкг/дм3.

1.4. Колориметрический метод определения кислорода в интервале массовых концентраций 50-500 мкг/дм3

1.4.1. Сущность метода - по п. 1.3.1.

1.4.2. Аппаратура, реактивы и растворы - по п. 1.3.2.

1.4.3. Подготовка к анализу

1.4.3.1. Подготовка редуктора - по п. 1.3.3.1.

1.4.3.2. Для приготовления растворов сравнения в мерные колбы вместимостью по 100 см3 помещают 2,5; 5,0; 7,5; 10,0; 12,5; 15,0; 17,5; 20,0; 22,5; 25,0 см3 имитирующего раствора, доводят объемы растворов до метки дистиллированной водой и перемешивают. Интенсивность окраски растворов сравнения соответствует массовой концентрации кислорода 50, 100, 150, 200, 250, 300, 350, 400, 450, 500 мкг/дм3.

1.4.4. Проведение анализа

В сосуд для отбора проб, заполненный исследуемым раствором, вводят через капилляр редуктора 5 см3 раствора восстановленного метиленового голубого (верхний кран сосуда закрыт). Через 5 мин сравнивают окраску раствора с окраской растворов сравнения.

1.4.5. Обработка результатов

Допускаемые расхождения результатов двух параллельных определений не должны превышать 50 мкг/дм3.

1.5. Колориметрический метод определения кислорода в интервале массовых концентраций 10-100 мкг/дм3 в присутствии затравки

1.5.1. Сущность метода - по п. 1.3.1.

Влияние затравки, представляющей собой суспензию углекислого кальция с массовой концентрацией 50-100 г/дм3, учитывают использованием растворов сравнения, приготовленных на фоне исследуемого раствора, содержащего затравку.

1.5.2. Аппаратура, реактивы и растворы - по п. 1.3.2.

1.5.3. Подготовка к анализу

1.5.3.1. Подготовка редуктора - по п. 1.3.3.1.

1.5.3.2. Для приготовления растворов сравнения в мерные колбы вместимостью по 100 см3 помещают 0,5; 1,0; 1,5; 2,0; 2,5; 3,0; 3,5; 4,0; 4,5; 5,0 см3 имитирующего раствора, доводят объемы растворов до метки исследуемым раствором и перемешивают. Интенсивность окраски растворов сравнения соответствует массовой концентрации кислорода 10, 20, 30, 40, 50, 60, 70, 80, 90, 100 мкг/дм3.

1.5.4. Проведение анализа - по п. 1.3.4.

1.5.5. Обработка результатов

Допускаемые расхождения результатов двух параллельных определений не должны превышать 10 мкг/дм3.

1.6. Колориметрический метод определения кислорода в интервале массовых концентраций 50-500 мкг/дм3 в присутствии затравки

1.6.1. Сущность метода - по п. 1.5.1.

1.6.2. Аппаратура, реактивы и растворы - по п. 1.3.2.

1.6.3. Подготовка к анализу

1.6.3.1. Подготовка редуктора - поп. 1.3.3.1.

1.6.3.2. Для приготовления растворов сравнения в мерные колбы вместимостью по 100 см3 помещают 2,5; 5,0; 7,5; 10,0; 12,5; 15,0; 17,5; 20,0; 22,5; 25,0 см3 имитирующего раствора, доводят объемы растворов до метки исследуемым раствором и перемешивают. Интенсивность окраски растворов сравнения соответствует массовой концентрации кислорода 50, 100, 150, 200, 250, 300, 350, 400, 450, 500 мкг/дм3.

1.6.4. Проведение анализа - по п. 1.4.4.

1.6.5. Обработка результатов

Допускаемые расхождения результатов двух параллельных определений не должны превышать 50 мкг/дм3.

1.7. Титриметрический метод определения кислорода в интервале массовых концентраций 0,2-4,0 мг/дм3

1.7.1. Сущность метода

Кислород, содержащийся в исследуемом растворе, окисляет марганец (II) в щелочной среде до марганца (IV). В кислой среде марганец (IV) восстанавливается до марганца (II), окисляя йод в количестве, эквивалентном связанному кислороду. Выделившийся йод титруют раствором серноватистокислого натрия.

Влияние окислителей и восстановителей, содержащихся в исследуемом растворе, учитывают изменением порядка введения реактивов в две одновременно взятые пробы.

1.7.2. Аппаратура, реактивы и растворы

Сосуд для отбора проб вместимостью 100-200 см3 - в соответствии с черт. 2 приложения. Вместимость сосуда определяют по п. 5.1 приложения.

Весы технические.

Воронки лабораторные диаметром 50-100 мм.

Фильтры ФОС по ГОСТ 12026-76.

Пипетки с делениями вместимостью 1 и 5 см3 с капиллярами.

Пипетки без делений вместимостью 1 см3.

Колбы конические вместимостью 500 см3.

Мензурка вместимостью 100 см3.

Натрий серноватистокислый, стандарт-титр.

Натрий серноватистокислый, раствор с молярной концентрацией эквивалента  0,002 моль/дм3; готовят разведением раствора, приготовленного из стандарт-титра.

Кислота серная.

Марганец хлористый, раствор; готовят следующим образом: 45 г хлористого марганца растворяют в 100 см3 дистиллированной воды, фильтруют, добавляют 1 см3 серной кислоты.

Натрия гидроокись.

Калий йодистый.

Калий йодноватокислый.

Смесь йодид-йодатная; готовят следующим образом: в 100 см3 дистиллированной воды растворяют 36 г гидроокиси натрия, 20 г йодистого калия и 0,05 г йодноватокислого калия.

Крахмал, раствор с массовой концентрацией 10 г/дм3; готовят по ГОСТ 4517-87.

Кислота ортофосфорная, разбавленная 1:1.

1.7.3. Проведение анализа

Исследуемый раствор отбирают в два сосуда для отбора проб.

В первый сосуд добавляют 1 см3 раствора хлористого марганца, 3 см3 йодид-йодатной смеси, перемешивают и после отстаивания раствора добавляют 5 см3 раствора ортофосфорной кислоты.

Во второй сосуд вводят 5 см3 раствора ортофосфорной кислоты, 3 см3 йодид-йодатной смеси и 1 см3 раствора хлористого марганца, перемешивая содержимое сосуда после добавления каждого реактива.

Растворы из сосудов помещают в конические колбы и титруют раствором серноватистокислого натрия до светло-желтой окраски, добавляют 1 см3 раствора крахмала и титруют до обесцвечивания.

1.7.4. Обработка результатов

1.7.4.1. Массовую концентрацию кислорода X, мг/дм3, вычисляют по формуле:

где V1 - объем раствора серноватистокислого натрия, израсходованный на титрование раствора из первого сосуда, см3;

V2 - вместимость первого сосуда, см3;

V3 - объем раствора серноватистокислого натрия, израсходованный на титрование раствора из второго сосуда, см3;

V4 - вместимость второго сосуда, см3;

0,016 - масса кислорода, эквивалентная массе серноватистокислого натрия в 1 см3 раствора с молярной концентрацией эквивалента 0,002 моль/дм3, мг.

1.7.4.2. Допускаемые расхождения результатов двух параллельных определений не должны превышать значений, приведенных в табл. 2.

Таблица 2

Массовая концентрация кислорода, мг/дм3

Допускаемое расхождение

Массовая концентрация кислорода, мг/дм3

Допускаемое расхождение

в абсолютных единицах, мг/дм3

в относительных единицах, %

в абсолютных единицах, мг/дм3

в относительных единицах, %

0,14

0,10

71

1,00

0,10

10

0,20

0,10

50

1,20

0,11

9

0,30

0,10

33

1,40

0,11

8

0,40

0,10

25

1,60

0,11

7

0,50

0,10

20

1,80

0,11

6

0,60

0,10

17

2,00

0,12

6

0,70

0,10

14

2,50

0,13

5

0,80

0,10

13

3,00

0,13

4

0,90

0,10

11

4,00

0,15

4

1.8. Титриметрический метод определения кислорода в интервале массовых концентраций 1-10 мг/дм3

1.8.1. Сущность метода - по п. 1.7.1.

1.8.2. Аппаратура, реактивы и растворы - по п. 1.7.2 (кроме раствора натрия серноватистокислого)

Натрий серноватистокислый, раствор с молярной концентрацией эквивалента  0,01 моль/дм3; готовят разведением раствора, приготовленного из стандарт-титра.

1.8.3. Проведение анализа - по п. 1.7.3.

1.8.4. Обработка результатов

1.8.4.1. Массовую концентрацию кислорода X, мг/дм3, вычисляют по формуле^

где V1 - объем раствора серноватистокислого натрия, израсходованный на титрование раствора из первого сосуда, см3;

V2 - вместимость первого сосуда, см3;

V3 - объем раствора серноватистокислого натрия, израсходованный на титрование раствора из второго сосуда, см3;

V4 - вместимость второго сосуда, см3;

0,08 - масса кислорода, эквивалентная массе серноватистокислого натрия в 1 см3 раствора с молярной концентрацией эквивалента 0,01 моль/дм3, мг.

1.8.4.2. Допускаемые расхождения результатов двух параллельных определений не должны превышать значений, приведенных в табл. 3.

Таблица 3

Массовая концентрация кислорода, мг/дм3

Допускаемое расхождение

Массовая концентрация кислорода, мг/дм3

Допускаемое расхождение

в абсолютных единицах, мг/дм3

в относительных единицах, %

в абсолютных единицах, мг/дм3

в относительных единицах, %

0,4

0,30

75

5,0

0,36

7

0,5

0,30

60

6,0

0,38

6

1,0

0,30

30

7,0

0,40

6

2,0

0,30

15

8,0

0,41

5

3,0

0,32

10

9,0

0,42

5

4,0

0,34

8

10,0

0,45

5

1.9. Титриметрический метод определения кислорода в интервале массовых концентраций 1-10 мг/дм3 в присутствии затравки

1.9.1. Сущность метода - по п. 1.7.1.

Влияние затравки устраняют отстаиванием исследуемого раствора.

1.9.2. Аппаратура, реактивы и растворы - по п. 1.7.2 (кроме сосудов для отбора проб и раствора серноватистокислого натрия)

Сосуды для отбора проб - в соответствии с черт. 3 приложения.

Натрий серноватистокислый, раствор с молярной концентрацией эквивалента  0,01 моль/дм3; готовят разведением раствора, приготовленного из стандарт-титра.

1.9.3. Проведение анализа

Исследуемый раствор отбирают в два сосуда для отбора проб. После отстаивания раствора склянки сосуда разъединяют, предварительно перекрыв соединительные шланги зажимами, и далее проводят анализ, как указано в п. 1.7.3.

1.9.4. Обработка результатов - по п. 1.8.4.

1.10. Электрометрический метод

1.10.1. Сущность метода

Массовую концентрацию кислорода определяют по силе тока, возникающего в результате диффузии растворенного кислорода через мембрану датчика кислородомера, погруженного в исследуемый раствор, движущийся со скоростью 10-500 см/с.

1.10.2. Аппаратура, реактивы и растворы - по п. 1.8.2 или при наличии затравки по п. 1.9.2 и перечисленные ниже.

Кислородомер КЛ-115 с пределом допускаемой основной погрешности измерения 0,2-0,4 мг/дм3 для массовых концентраций кислорода 0,3-20,0 мг/дм3.

Термометр ртутный со шкалой 0-50 °С и ценой деления 0,1 °С.

Барометр мембранный метеорологический.

Мешалка магнитная.

Прибор регистрирующий вторичный с пределом допускаемой основной погрешности ±1 % от верхнего предела измерения.

Весы технические.

Мензурка вместимостью 1000 см3.

Стандартный раствор 1, раствор натрия сернистокислого с массовой концентрацией 80 г/дм3; готовят следующим образом: 80 г безводного сернистокислого натрия растворяют в 1 дм3 исследуемого раствора и выдерживают в течение 8 ч, хранят в банке с притертой пробкой.

Стандартный раствор 2, исследуемый раствор с известной массовой концентрацией кислорода, определенной, как указано в п. 1.8 или при наличии затравки - в п. 1.9; готовят следующим образом: 10 дм3 исследуемого раствора помещают в бутыль и насыщают кислородом воздуха при температуре и давлении окружающей среды.

1.10.3. Подготовка к анализу

Датчик кислородомера выдерживают в течение 4-5 ч в дистиллированной воде. Для градуировки шкалы кислородомера используют стандартные растворы 1 и 2. В измерительную ячейку помещают стандартный раствор 1, погружают датчик и при перемешивании устанавливают на шкале кислородомера значение массовой концентрации кислорода 0-0,2 мг/дм3.

Измерительную ячейку и датчик кислородомера промывают дистиллированной водой и стандартным раствором 2. Затем в измерительную ячейку помещают стандартный раствор 2, погружают датчик и при перемешивании устанавливают на шкале кислородомера значение массовой концентрации кислорода.

1.10.4. Проведение анализа

Датчик погружают в исследуемый раствор и через 20-30 мин определяют массовую концентрацию кислорода по шкале кислородомера или с использованием вторичного регистрирующего прибора.

1.10.5. Погрешность определения массовой концентрации кислорода не должна превышать значений, приведенных в табл. 4.

Таблица 4

Массовая концентрация кислорода, мкг/дм3

Допускаемое расхождение

Массовая концентрация кислорода, мкг/дм3

Допускаемое расхождение

в абсолютных единицах, мкг/дм3

в относительных единицах, %

в абсолютных единицах, мкг/дм3

в относительных единицах, %

0,3

0,20

67

3,0

0,23

8

0,4

0,20

50

5,0

0,25

5

0,5

0,21

42

7,0

0,27

4

0,7

0,21

30

10,0

0,30

3

1,0

0,21

23

15,0

0,35

2

1,5

0,22

15

20,0

0,40

2

2,0

0,22

11

 

 

 

2. МЕТОДЫ ОПРЕДЕЛЕНИЯ СВОБОДНОЙ ДВУОКИСИ УГЛЕРОДА

2.1. Метод потенциометрического титрования в интервале массовых концентраций двуокиси углерода 0,5-60,0 мг/дм3

2.1.1. Сущность метода

Свободная двуокись углерода взаимодействует с гидроокисью натрия с образованием двууглекислого натрия. Титрование проводят до рН 8,4.

2.1.2. Аппаратура, реактивы и растворы

Сосуд для потенциометрического титрования - в соответствии с черт. 4 приложения. Вместимость сосуда определяют по п. 6.1 приложения.

Электрод стеклянный типа 1 или 3 по ГОСТ 16287-77.

Электрод сравнения хлорсеребряный насыщенный по ГОСТ 17792-72.

Термокомпенсатор автоматический с тепловой инерционностью не более 3 мин.

Термометр лабораторный со шкалой от 0 до 30 ºС, ценой деления 1 °С.

Растворы буферные с рН, равными 6,86 и 9,18; готовят по ГОСТ 8.135-74.

Мешалка электромагнитная.

Микробюретка вместимостью 5 см3.

Колбы мерные вместимостью 1000 см3.

Натрия гидроокись, стандарт-титр.

Натрия гидроокись, раствор с молярной концентрацией эквивалента  0,01 моль/дм3; готовят разведением раствора, приготовленного из стандарт-титра.

2.1.3. Проведение анализа

Сосуд для потенциометрического титрования, заполненный исследуемым раствором, устанавливают на электромагнитную мешалку, погружают электроды и термокомпенсатор и титруют раствором гидроокиси натрия до рН 8,4.

2.1.4. Обработка результатов

2.1.4.1. Массовую концентрацию свободной двуокиси углерода X, мг/дм3, вычисляют по формуле:

где V1 - объем раствора гидроокиси натрия, израсходованный на титрование, см3;

0,44 - масса двуокиси углерода, эквивалентная массе гидроокиси натрия в 1 см3 раствора с молярной концентрацией эквивалента 0,01 моль/дм3, мг;

V - вместимость сосуда, см3.

2.1.4.2. Допускаемые расхождения результатов двух параллельных определений не должны превышать значений, приведенных в табл. 5.

Таблица 5

Массовая концентрация свободной двуокиси кислорода, мг/дм3

Допускаемое расхождение

Массовая концентрация свободной двуокиси кислорода, мг/дм3

Допускаемое расхождение

в абсолютных единицах, мг/дм3

в относительных единицах, %

в абсолютных единицах, мг/дм3

в относительных единицах, %

0,3

0,05

17

3,0

0,10

3

0,5

0,06

12

4,0

0,12

3

1,0

0,06

6

5,0

0,14

3

2,0

0,08

4

6,0 и более

0,19

3

2.2. Метод потенциометрического титрования в интервале массовых концентраций двуокиси углерода 5-500 мг/дм3

2.2.1. Сущность метода - по п. 2.1.1.

2.2.2. Аппаратура, реактивы и растворы - по п. 2.1.2 (кроме раствора гидроокиси натрия)

Натрия гидроокись, раствор с молярной концентрацией эквивалента  0,01 моль/дм3; готовят из стандарт-титра.

2.2.3. Проведение анализа, как указано в п. 2.1.3.

2.2.4. Обработка результатов

2.2.4.1. Массовую концентрацию свободной двуокиси углерода X, мг/дм3, вычисляют по формуле:

где V1 - объем раствора гидроокиси натрия, израсходованный на титрование, см3;

4,4 - масса двуокиси углерода, эквивалентная массе гидроокиси натрия в 1 см3 раствора с молярной концентрацией эквивалента 0,01 моль/дм3, мг;

V - вместимость сосуда, см3.

2.2.4.2. Допускаемые расхождения результатов двух параллельных определений не должны превышать приведенных в табл. 6.

Таблица 6

Массовая концентрация свободной двуокиси кислорода, мг/дм3

Допускаемое расхождение

Массовая концентрация свободной двуокиси кислорода, мг/дм3

Допускаемое расхождение

в абсолютных единицах, мг/дм3

в относительных единицах, %

в абсолютных единицах, мг/дм3

в относительных единицах, %

2,5

0,41

16,0

15,0

0,70

5,0

3,0

0,41

14,0

20,0

0,72

4,0

4,0

0,43

11,0

25,0

0,72

3,0

5,0

0,45

9,0

30,0

0,82

3,0

6,0

0,50

8,0

40,0

1,39

3,0

8,0

0,50

6,0

100,0 и более

-

2,0

10,0

0,54

5,0

 

 

 

3. ТИТРИМЕТРИЧЕСКИЙ МЕТОД ОПРЕДЕЛЕНИЯ СЕРОВОДОРОДА

3.1. Сущность метода

Сульфид-ионы осаждают в виде сернистого кадмия и окисляют йодом. Избыток йода оттитровывают раствором серноватистокислого натрия.

Метод применяют при определении массовой концентрации сероводорода от 2 мг/дм3 и более.

Нижний предел обнаружения составляет 0,8 мг/дм3.

3.2. Аппаратура, реактивы и растворы

Банки с притертыми пробками вместимостью 500-800 см3.

Колбы мерные вместимостью 1000 см3.

Колбы конические вместимостью 250 см3.

Бюретка вместимостью 25 см3.

Пипетки без делений вместимостью 10 и 20 см3.

Мензурка вместимостью 100 см3.

Кислота уксусная.

Кадмий уксуснокислый, раствор; готовят следующим образом: в мерную колбу помещают 40 г уксуснокислого кадмия, растворяют в дистиллированной воде, добавляют 40 см3 уксусной кислоты и доводят объем раствора до метки дистиллированной водой.

Кислота соляная, разбавленная 1:1.

Натрий серноватистокислый, стандарт-титр.

Натрий серноватистокислый, раствор с молярной концентрацией эквивалента  0,05 моль/дм3; готовят разведением раствора, приготовленного из стандарт-титра.

Йод, стандарт-титр.

Йод, раствор с молярной концентрацией эквивалента  0,05 моль/дм3; готовят разведением раствора, приготовленного из стандарт-титра.

Крахмал, раствор с массовой концентрацией 10 г/дм3; готовят по ГОСТ 4517-87.

3.3. Подготовка к анализу

В банку помещают 100 см3 раствора уксуснокислого кадмия и исследуемый раствор в объеме, содержащем 1 - 10 мг сероводорода. Раствор отстаивают до полного осветления.

3.4. Проведение анализа

Осветленный раствор отделяют от осадка сернистого кадмия декантацией. Осадок переносят в коническую колбу, добавляют 20 см3 раствора йода и 10 см3 раствора соляной кислоты. Избыток раствора йода титруют раствором серноватистокислого натрия до светло-желтой окраски, добавляют 1 см3 раствора крахмала и титруют до обесцвечивания.

3.5. Обработка результатов

3.5.1. Массовую концентрацию сероводорода X, мг/дм3, вычисляют по формуле:

где V1 - объем раствора йода, добавленный к исследуемому раствору, см3;

V2 - объем раствора серноватистокислого натрия, израсходованный на титрование, см3;

0,852 - масса сероводорода, эквивалентная массе серноватистокислого натрия в 1 см3 раствора с молярной концентрацией эквивалента 0,05 моль/дм3, мг;

V - объем исследуемого раствора, взятый для анализа, см3.

3.5.2. Допускаемые расхождения результатов двух параллельных определений не должны превышать значений, приведенных в табл. 7.

Таблица 7

Массовая концентрация сероводорода, мг/дм3

Допускаемое расхождение

Массовая концентрация сероводорода, мг/дм3

Допускаемое расхождение

в абсолютных единицах, мг/дм3

в относительных единицах, %

в абсолютных единицах, мг/дм3

в относительных единицах, %

0,8

0,6

75,0

14,0

0,9

7,0

1,0

0,6

60,0

16,0

0,9

6,0

2,0

0,6

30,0

18,0

0,9

5,0

4,0

0,6

15,0

20,0

0,9

4,5

6,0

0,7

11,0

25,0

1,0

4,0

8,0

0,7

9,0

30,0

1,0

3,3

10,0

0,8

8,0

40,0

1,3

3,2

12,0

0,8

7,0

 

 

 

ПРИЛОЖЕНИЕ

Справочное

ОТБОР ПРОБ СОЛЕНЫХ ВОД И ДИСТИЛЛЯТА ДЛЯ ОПРЕДЕЛЕНИЯ МАССОВОЙ КОНЦЕНТРАЦИИ ГАЗОВ

1. Длина коммуникаций пробоотбора не должна превышать 6 м.

2. Сосуды для отбора проб (см. черт. 1-4) следует присоединять к пробоотборному устройству (черт. 1 и 2 приложения 2 ГОСТ 26449.0-85) при помощи резинового шланга.

3. Перед отбором пробы сосуды необходимо промывать не менее чем 6-кратным объемом исследуемого раствора.

4. Отбор проб из коммуникаций и аппаратов, находящихся под вакуумметрическим давлением, следует производить, как указано в приложении 2 ГОСТ 26449.0-85.

5. При отборе проб для определения массовой концентрации кислорода следует использовать сосуды в соответствии с черт. 1-3, вместимость которых предварительно определяют гравиметрическим методом.

6. Гравиметрический метод определения вместимости сосудов

6.1. Сущность метода

Вместимость сосудов для отбора проб определяют по массе дистиллированной воды с температурой 20 °С.

6.2. Аппаратура, реактивы и растворы

Весы технические.

Термостат с основной погрешностью стабилизации температуры не более 0,1 °С.

Шкаф сушильный.

Эксикатор.

Термометр ртутный стеклянный со шкалой от 0 до 50 ºС и ценой деления 0,1 ºС.

Бумага фильтровальная.

Черт. 1

Черт. 2

1 - склянка; 2 - шланг; 3 - зажим; 4 - пробка; 5 – склянка с тубусом

Черт. 3

1 - вход раствора; 2 - электрод стеклянный; 3 - микробюретка; 4 - электрод сравнения; 5 - термометр; 6 - выход раствора; 7 - мешалка

Черт. 4

6.3. Определение вместимости сосуда

Сосуд моют, как указано в приложении 2 ГОСТ 26449.0-85, сушат в сушильном шкафу при температуре 105-110ºС в течение 2-3 ч, охлаждают в эксикаторе до температуры 20 °С и взвешивают. Затем сосуд заполняют дистиллированной водой температурой 20-25 °С и помещают в термостат, где выдерживают в течение 40 мин при температуре 20ºС. Сосуд извлекают из термостата, насухо вытирают фильтровальной бумагой и взвешивают.

6.4. Обработка результатов

6.4.1. Вместимость сосуда V, см3, вычисляют по формуле:

где m2 - масса сосуда с дистиллированной водой, г;

m1 - масса сосуда, г;

0,9982 - плотность дистиллированной воды при 20 ºС, г/см3.

6.4.2. Относительная погрешность определения вместимости сосуда - не более 1 %.

7. При отборе проб для определения массовой концентрации двуокиси углерода следует использовать сосуд для потенциометрического титрования (см. черт. 4), вместимость которого предварительно определяют гравиметрическим методом.

8. Гравиметрический метод определения вместимости сосуда потенциометрического титрования

8.1. Сущность метода - по п. 6.1.

8.2. Аппаратура, реактивы и растворы - по п. 6.2.

8.3. Определение вместимости сосуда

Сосуд моют, как указано в приложении 2 ГОСТ 26449.0-85, насухо вытирают фильтрованной бумагой, взвешивают, заполняют дистиллированной водой и далее определяют вместимость по п. 6.3.

8.4. Обработка результатов - по п. 6.4.




Rambler's Top100 Яндекс цитирования
  Copyright © 2008-2026, www.docload.ru