Бесплатная библиотека стандартов и нормативов www.docload.ru

Все документы, размещенные на этом сайте, не являются их официальным изданием и предназначены исключительно для ознакомительных целей.
Электронные копии этих документов могут распространяться без всяких ограничений. Вы можете размещать информацию с этого сайта на любом другом сайте.
Это некоммерческий сайт и здесь не продаются документы. Вы можете скачать их абсолютно бесплатно!
Содержимое сайта не нарушает чьих-либо авторских прав! Человек имеет право на информацию!

 

ГОСУДАРСТВЕННЫЙ СТАНДАРТ СОЮЗА ССР

СОЕДИНЕНИЯ И ИЗДЕЛИЯ
СО СТАБИЛЬНЫМИ ИЗОТОПАМИ

ПРИЕМКА, МАРКИРОВКА, УПАКОВКА,
ТРАНСПОРТИРОВАНИЕ И ХРАНЕНИЕ

ГОСТ 27206-87

ИПК ИЗДАТЕЛЬСТВО СТАНДАРТОВ

Москва

ГОСУДАРСТВЕННЫЙ СТАНДАРТ СОЮЗА ССР

СОЕДИНЕНИЯ И ИЗДЕЛИЯ
СО СТАБИЛЬНЫМИ ИЗОТОПАМИ

Приемка, маркировка, упаковка, транспортирование и хранение

Stable isotope compounds and products. Acceptance, marking, packing, transportation and storage

ГОСТ
27206-87

Дата введения 01.07.88

Настоящий стандарт распространяется на соединения и изделия со стабильными изотопами, изготовляемые для нужд народного хозяйства и экспорта и устанавливает требования к приемке, маркировке, упаковке, транспортированию и хранению.

Термины и их определения - по ГОСТ 26335.

1. ПРИЕМКА

1.1. Соединения и изделия со стабильными изотопами (далее - продукция) принимают партиями.

1.2. Партией считают количество продукции, массой не более 10 кг, однородное по своим показателям качества и оформленное одним документом о качестве.

1.3. Для продукции, поставляемой массой свыше 2 кг, отбирают среднюю пробу в количестве, достаточном для получения лабораторной и контрольной проб.

Лабораторную пробу передают для проведения анализа. Контрольную пробу хранят на предприятии-изготовителе не менее 6 мес. По истечении установленного срока хранения при отсутствии рекламаций контрольную пробу возвращают на переработку.

1.4. Для продукции, поставляемой массой менее 2 кг, отбирают только лабораторную пробу.

1.5. При получении неудовлетворительных результатов анализа хотя бы по одному показателю качества в соответствии с ГОСТ 4.410 проводят повторный анализ вновь отобранной пробы.

Результаты повторного анализа являются окончательными, распространяются на всю партию. При получении положительных результатов партия считается годной. При получении отрицательных результатов партию возвращают на переработку и разрабатывают мероприятия по выявлению и устранению причин несоответствия требованиям нормативно-технической документации.

1.6. Входной контроль продукции потребитель проводит по показателям качества, указанным в прилагаемом к ней документе о качестве (паспорте).

2. МАРКИРОВКА

2.1. На каждой единице потребительской тары должна быть наклеена этикетка, на которой указывают:

наименование поставщика;

наименование продукции конкретного вида и ее химическую формулу;

массу нетто;

номер партии;

дату изготовления;

показатели качества;

номер паспорта;

гарантийный срок хранения;

код в соответствии с отраслевым разделом Общесоюзного классификатора промышленной и сельскохозяйственной продукции (Изотопная продукция. Том 2);

штамп технического контроля;

обозначение соответствующей нормативно-технической документации (НТД) на продукцию конкретного вида.

2.2. На пробирках, ампулах и других видах потребительской тары малой вместимости, массой продукции от 10 до 100 г, допускается наклеивать этикетку, на которой указывают:

наименование продукции:

массу нетто;

номер паспорта;

номер партии.

2.3. На пробирках, ампулах малой вместимости с массой продукции менее 10 г допускается наклеивать этикетку, на которой указывают:

наименование продукции;

массу нетто;

номер паспорта.

2.4. Требования к маркировке груза

2.4.1. Транспортная маркировка - по ГОСТ 14192, с нанесением знаков опасности по ГОСТ 19433. Манипуляционные знаки, знаки опасности, а также способы нанесения маркировки должны быть приведены в НТД на продукцию конкретного вида.

2.4.2. В транспортную тару вместе с продукцией вкладывают один экземпляр паспорта (для экспортных поставок - паспорт и упаковочный лист), в котором указывают:

наименование продукции и ее химическую формулу;

показатели качества продукции в соответствии с НТД на продукцию конкретного вида;

массу нетто, брутто;

номер паспорта;

гарантийный срок хранения;

дату изготовления;

вид потребительской тары и число единиц в упаковке;

номер товаросопроводительной накладной;

обозначение соответствующей НТД на продукцию конкретного вида.

2.4.3. Транспортная маркировка грузов, предназначенных для экспорта, должна соответствовать ГОСТ 14192 и требованиям заказа-наряда внешнеторговой организации.

3. УПАКОВКА

3.1. Вид потребительской тары, используемой для фасовки и упаковывания продукции, следует выбирать в зависимости от физико-химических свойств, агрегатного состояния, группы фасовки и других особенностей продукции.

3.2. Группы фасовки и потребительскую тару устанавливают в стандартах и технических условиях на продукцию конкретного вида в соответствии с ГОСТ 3885.

3.3. Твердую продукцию упаковывают в:

запаянные ампулы из стекла марки ХС1 или ТХС1 по ГОСТ 21400 (черт. 1);

пробирки с притертой пробкой из стекла ХС1 или ТХС1 по ГОСТ 21400 (черт. 2; 3);

банки с навинчивающейся крышкой из фторопласта по ГОСТ 10007, полиэтилена по ГОСТ 16338-85, полистирола по ГОСТ 20282-86 или органического стекла по ГОСТ 17622 (черт. 4);

банки 2-1, 2т-1 по ГОСТ 3885 вместимостью 25; 50; 100; 250; 500 см3;

банки 2-4, 2т-4 по ГОСТ 3885 вместимостью 50; 100; 250; 500 см3;

Запаянная ампула

Размеры, мм

Вместимость, см3

D1

D2

L

5

8

12

100

10

23

25

24

30

28

30

49

23

25

72

50

28

30

81

23

25

120

100

40

42

80

28

30

162

250

41

45

189

36

40

246

500

56

60

203

45

50

301

Черт. 1

Пробирка с притертой пробкой

Размеры, мм

Вместимость, см3

d

R

H

Обозначение конуса

10

15

7,5

60

12/H

30

15

7,5

170

12/H

18

9,0

116

14/H

50

30

15,0

72

45/H

Черт. 2

Пробирка с наружным шлифом

Размеры, мм

Вместимость, см3

d

R

Н

10

15

7,5

60

30

15 - 20

7,5 - 10,0

60 - 80

50

30

7,5 - 15,0

72 - 90

100

30

7,5 - 15,0

110 - 140

Черт. 3

Банка с навинчивающейся крышкой

Размеры, мм

Вместимость, см3

D1

D2

D3

50

48

56

75

100

67

75

95

200

95

105

125

300

117

125

145

400

135

145

160

500

150

160

180

Черт. 4

банки 2-9 по ГОСТ 3885 вместимостью 50; 100; 250; 500; 1000; 5000; 10000 см3;

банки с навинчивающейся крышкой (черт. 5);

пакеты 6-1 по ГОСТ 3885;

фляги и канистры 9-1 по ГОСТ 3885 вместимостью 3000; 5000; 10000 см3;

мешки 11-1 по ГОСТ 3885 вместимостью не более 16 кг;

мешки вместимостью 1000; 5000 см3 из полиэтилена по ГОСТ 16338 (черт. 6).

(Измененная редакция, Изм. № 1).

3.4. Жидкую продукцию упаковывают в:

запаянные ампулы из стекла ХС1 или ТХС1 по ГОСТ 21400 (черт. 1, 7, 8, 8а);

склянки 3-1, 3т-1 по ГОСТ 3885 вместимостью 50; 100; 250; 500 см3;

Банки с навинчивающейся крышкой

Размеры, мм

Вместимость, см3

D

d1

d2

H

H1

H2

h

R

Материал

10000

200

57

54

423

382

335

25

20

Полиэтилен по ГОСТ 16338-85

5000

186

70

57

307

258

200

42

20

1000

103

74

56

198

147

132

34

5

500

82

56

44

158

140

117

18

20

250

66

56

43

115

95

85

22

5

1000

103

69

60

192

165

147

18

10

Стекло ХС1, ТХС1 по ГОСТ 21400-75

500

85

58

50

157

132

113

18

10

250

68

47

37

125

100

90

20

10

100

52

46

37

93

70

60

18

10

50

41

32

26

86

62

55

18

10

Черт. 5

Полиэтиленовый мешок

Размеры, мм

Вместимость, см3

D

Н

1000

120

220

5000

250

400

Черт. 6

Запаянная ампула с разбивающимся вентилем

Размеры, мм

Вместимость, см3

H

D

R

50

195

35

17,5

100

215

40

20,0

Черт. 7

Ампула запаянная

Размеры, мм

Вместимость, см3

d

100

60

250

85

500

135

Черт. 8

Ампула запаянная

Размеры, мм

Вместимость, см3

D

H

500

105±20

250±10

800

125±5,0

270±10

1000

131±3,0

300±10

1300

136±3,0

305±10

Черт. 8а

склянки 3-5, 3т-5 по ГОСТ 3885 вместимостью 50; 100; 250; 500 см3;

флаконы 4-2, 4т-2 по ГОСТ 3885 вместимостью 50; 100 см3;

флаконы из стекла ХС1 или ТХС1 по ГОСТ 21400 с полиэтиленовой пробкой (черт. 9);

флаконы из полиэтилена по ГОСТ 16338-85 с навинчивающейся крышкой и вкладышем (черт. 10);

бутыли из стекла ХС1 или ТХС1 по ГОСТ 21400 с навинчивающейся крышкой (черт. 11);

бутыли 8-1 и 8-5 по ГОСТ 3885 вместимостью от 2 до 25 дм3;

канистры 9-1 по ГОСТ 3885 вместимостью 5000; 10000 см3;

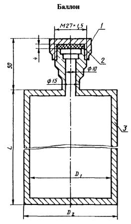
баллоны из коррозионно-стойкой стали 12Х18Н10Т по ГОСТ 5632 (черт. 12).

(Измененная редакция, Изм. № 1).

3.5. Газообразную продукцию упаковывают в:

ампулы по ГОСТ 23644;

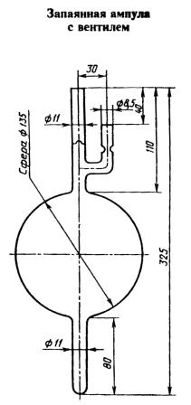
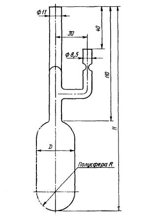
запаянные ампулы с разбивающимся вентилем вместимостью до 1100 см3 из стекла ХС1 или ТХС1 по ГОСТ 21400 (черт. 13, 14);

баллоны по ГОСТ 949 вместимостью от 0,4 до 8 дм3 на давление 9,8×106; 14,7·106; 19,6·106 Па из легированной или углеродистой стали;

3.6. Массу продукции определяют с погрешностью по ГОСТ 3885.

3.7. Тара из стекла не должна иметь видимых невооруженным глазом инородных включений, трещин, воздушных пузырьков, сколов.

3.8. Потребительская тара, воронки, шпатели и т.д., применяемые для фасовки продукции, должны быть чистыми и сухими.

При фасовке твердой продукции потребительская тара должна быть заполнена не более 95 % объема, для жидкой - необходимо оставлять свободное пространство (недолив), при котором жидкость не будет полностью заполнять емкость при температуре 55 °С.

3.9. Дополнительную герметизацию потребительской тары, имеющей притертые пробки или навинчивающиеся крышки проводят по ГОСТ 3885.

Размеры, мм

Вместимость, см3

D

H

h1

10

25

40

20

50

40

60

40

100

45

90

65

Черт. 9

Размеры, мм

Вместимость, см3

D

Н

H1

50

40

60

40

100

50

90

50

250

65

130

75

500

80

150

100

1000

90

200

160

Черт. 10

Размеры, мм

Вместимость, см3

D

Н

H1

250

55

130

105

500

70

150

130

1000

90

180

160

5000

140

350

325

10000

180

420

395

Черт. 11

1 - колпачок; 2 - прокладка фторопластовая; 3 - корпус

Размеры, мм

вместимость, см3

L

D1

D2

250

155

50

60

500

190

60

70

1000

235

80

90

Черт. 12

Черт. 13

Черт. 14

3.10. Пломбирование продукции проводят на потребительской таре, за исключением запаянных ампул.

3.11. Баллоны, предназначенные для перевозки грузов, должны быть определенной окраски с нанесенными полосами и надписями разных цветов в соответствии с требованиями «Правил устройства и безопасной эксплуатации сосудов, работающих под давлением», утвержденных Госгортехнадзором СССР 10.05.70.

3.12. Потребительскую тару, за исключением баллонов, канистр, фляг и мешков, помещают в пенопластовый амортизатор или карболитовый контейнер с уплотняющим материалом (черт. 15), изготавливаемый по НТД, утвержденной в установленном порядке, затем в транспортную тару - ящики по ГОСТ 5959 из фанеры толщиной не менее 3 мм.

1 - крышка; 2 - контейнер

Размеры, мм

Исполнение

L

l

Н

1

130

122

70

2

170

162

110

Черт. 15

Баллоны, канистры, фляги, метки упаковывают в фанерные ящики по ГОСТ 5959. Свободное пространство в ящиках следует заполнять прокладочным материалом. Размеры ящиков выбирают в соответствии с размерами потребительской тары. Ящики для баллонов обивают по торцам стальной лентой.

Потребительская тара должна быть плотной, прочной, исправной, тщательно укупоренной, не иметь следов течи и обеспечивать сохранность продукции при транспортировании.

Допускается использовать в качестве амортизатора любой уплотняющий материал, обеспечивающий требования хранения и транспортирования, указанные в НТД на продукцию конкретного вида.

4. ТРАНСПОРТИРОВАНИЕ

4.1. Продукцию транспортируют как опасные или неопасные химические реактивы транспортом всех видов в соответствии с правилами перевозки грузов, действующими на транспорте данного вида.

Наличие стабильных изотопов дополнительных требований на условия транспортирования не накладывает.

4.2. Железнодорожным транспортом груз перевозят мелкими отправками (одно грузовое место в адрес грузополучателя).

5. ХРАНЕНИЕ

5.1. Условия и сроки хранения продукции определяются действующими НТД на продукцию конкретного вида.

Наличие стабильных изотопов дополнительных требований на условия и сроки хранения не накладывает.

(Измененная редакция, Изм. № 1).

ИНФОРМАЦИОННЫЕ ДАННЫЕ

1. РАЗРАБОТАН И ВНЕСЕН Министерством атомной энергии Российской Федерации

РАЗРАБОТЧИКИ

З.Н. Морчиладзе; В.А. Пурцхванидзе (руководители темы); Л.П. Трыкова; Ю.И. Ломтадзе

2. УТВЕРЖДЕН И ВВЕДЕН В ДЕЙСТВИЕ Постановлением Государственного комитета СССР по стандартам от 10.02.86 № 215

3. ВВЕДЕН ВПЕРВЫЕ

4. ССЫЛОЧНЫЕ НОРМАТИВНО-ТЕХНИЧЕСКИЕ ДОКУМЕНТЫ

Обозначение НТД, на который дана ссылка

Номер пункта, подпункта, перечисления, приложения

ГОСТ 4.410-86

1.5

ГОСТ 949-73

3.5

ГОСТ 3885-73

3.2, 3.3, 3.4, 3.6, 3.9

ГОСТ 5632-72

3.4

ГОСТ 5959-80

3.12

ГОСТ 8682-70

3.3

ГОСТ 10007-80

3.3

ГОСТ 14192-77

2.4.1, 3.4.3

ГОСТ 16338-85

3.3, 3.4

ГОСТ 17622-72

3.3

ГОСТ 19433-88

2.4.1

ГОСТ 20282-86

3.3

ГОСТ 21400-75

3.3, 3.4, 3.5

ГОСТ 23644-79

3.5

ГОСТ 26335-84

Вводная часть

5. Ограничение срока действия снято Постановлением Госстандарта от 13.08.92 972

6. ПЕРЕИЗДАНИЕ (январь 1997 г.) с Изменением № 1, утвержденным в августе 1992 г. (ИУС 11-92)

СОДЕРЖАНИЕ

 




Rambler's Top100 Яндекс цитирования
  Copyright © 2008-2026, www.docload.ru