Бесплатная библиотека стандартов и нормативов www.docload.ru

Все документы, размещенные на этом сайте, не являются их официальным изданием и предназначены исключительно для ознакомительных целей.
Электронные копии этих документов могут распространяться без всяких ограничений. Вы можете размещать информацию с этого сайта на любом другом сайте.
Это некоммерческий сайт и здесь не продаются документы. Вы можете скачать их абсолютно бесплатно!
Содержимое сайта не нарушает чьих-либо авторских прав! Человек имеет право на информацию!

 

ГОСУДАРСТВЕННЫЙ СТАНДАРТ СОЮЗА ССР

СИСТЕМА ПРОЕКТНОЙ ДОКУМЕНТАЦИИ ДЛЯ СТРОИТЕЛЬСТВА

АНТИКОРРОЗИОННАЯ ЗАЩИТА ТЕХНОЛОГИЧЕСКИХ АППАРАТОВ, ГАЗОХОДОВ И ТРУБОПРОВОДОВ

РАБОЧИЕ ЧЕРТЕЖИ

ГОСТ 21.402-83

ГОСУДАРСТВЕННЫЙ КОМИТЕТ СССР ПО ДЕЛАМ СТРОИТЕЛЬСТВА

Москва

 

РАЗРАБОТАН

Институтом «Проектхимзащита» Министерства монтажных и специальных строительных работ СССР

ИСПОЛНИТЕЛИ

А. С. Горина (руководитель темы), В. Д. Любановский, В. Э. Радзевич, В. А. Соколов

ВНЕСЕН Министерством монтажных и специальных строительных работ СССР

Член Коллегии В. М. Орлов

УТВЕРЖДЕН И ВВЕДЕН В ДЕЙСТВИЕ Постановлением Государственного комитета СССР по делам строительства от 13 июня 1983 г. №117

 

ГОСУДАРСТВЕННЫЙ СТАНДАРТ СОЮЗА ССР

Система проектной документации для строительства

АНТИКОРРОЗИОННАЯ ЗАЩИТА ТЕХНОЛОГИЧЕСКИХ АППАРАТОВ,
ГАЗОХОДОВ И ТРУБОПРОВОДОВ

Рабочие чертежи

System of building design documents.
Anticorrosive protection of technological apparatus,
gas pipes and pipelines. Working drawings

ГОСТ
21.402-83

Постановлением Государственного комитета СССР по делам строительства от 13 июня 1983 г. № 117 срок введения установлен

с 01.01.84

Настоящий стандарт устанавливает состав и правила выполнения рабочих чертежей антикоррозионной защиты технологических аппаратов, газоходов и трубопроводов (основной комплект рабочих чертежей марки АЗО) всех отраслей промышленности и народного хозяйства.

Стандарт не распространяется на рабочие чертежи антикоррозионной защиты технологических аппаратов, газоходов и трубопроводов с антикоррозионными покрытиями, выполненными на предприятиях-изготовителях.

Если в качестве защитного покрытия предусматривают применение лакокрасочных или мастичных материалов, то в рабочих чертежах приводят только указания по антикоррозионной защите, которые составляют по форме 1. Пример заполнения таблицы указаний по антикоррозионной защите приведен в справочном приложении 1.

Форма 1

Указания по антикоррозионной защите

1. ОБЩИЕ ПОЛОЖЕНИЯ

1.1. Рабочие чертежи антикоррозионной защиты технологических аппаратов, газоходов и трубопроводов (далее - рабочие чертежи антикоррозионной защиты) выполняют в соответствии с требованиями настоящего стандарта, других стандартов системы проектной документации для строительства и норм проектирования антикоррозионной защиты.

1.2. В состав основного комплекта рабочих чертежей марки АЗО включают:

общие данные по рабочим чертежам;

рабочие чертежи антикоррозионной защиты;

ведомость объемов антикоррозионных работ по объектам защиты;

ведомость изделий, изготавливаемых по специальному заказу.

2. ОБЩИЕ ДАННЫЕ ПО РАБОЧИМ ЧЕРТЕЖАМ

2.1. В состав общих данных по рабочим чертежам основного комплекта марки АЗО в дополнение к ГОСТ 21.102-79 включают ведомость технологических аппаратов, газоходов и трубопроводов, подлежащих антикоррозионной защите (форма 2) и рекомендации по выбору химически стойких материалов.

Форма 2

Ведомость технологических аппаратов, газоходов и трубопроводов, подлежащих антикоррозионной защите

В графах ведомости указывают:

в графе «Наименование объекта защиты» - наименование аппаратов, газоходов и трубопроводов, подлежащих антикоррозионной защите;

в графе «Габаритные размеры» - габаритные размеры аппаратов, газоходов и трубопроводов.

Пример заполнения ведомости приведен в справочном приложении 2.

3. РАБОЧИЕ ЧЕРТЕЖИ АНТИКОРРОЗИОННОЙ ЗАЩИТЫ

3.1. Состав основного комплекта рабочих чертежей антикоррозионной защиты в зависимости от видов антикоррозионных покрытий приведен в справочном приложении 3. Состав основного комплекта рабочих чертежей может уточняться в зависимости от типов защитных покрытий.

3.2. Масштабы изображений принимают по ГОСТ 2.302-68:

разрезы аппаратов - 1:10 - 1:100;

планы и разрезы газоходов и трубопроводов - 1:20 - 1:100;

сечения и узлы антикоррозионной защиты аппаратов, газоходов и трубопроводов - 1:2 - 1:20.

3.3. На чертеже разреза аппарата (черт. 1) указывают:

габаритные размеры аппарата с учетом толщины защитных покрытий;

толщину защитных покрытий, металлических стенок и днища аппарата;

обозначения и диаметры штуцеров с учетом толщины защитных покрытий;

ссылки на узлы.

Внутренние устройства аппарата, газоходов, трубопроводов, разработка которых не входит в основной комплект рабочих чертежей марки АЗО, изображают штрихпунктирной линией с двумя точками.

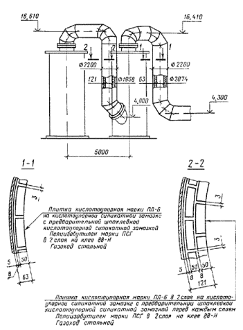
3.4. На чертежах планов и разрезов (видов) газоходов и трубопроводов (черт. 2) указывают:

отметки и привязки газоходов и трубопроводов к строительным конструкциям или аппарату;

внутренние диаметры газоходов и трубопроводов с учетом толщины защитных покрытий;

толщину защитных покрытий и металлических стенок газоходов и трубопроводов.

Если антикоррозионная защита газоходов и трубопроводов выполняется до монтажа или требует термической обработки (вулканизации или полимеризации покрытия), то на чертежах планов и разрезов проставляют габаритные размеры царг или отдельных участков газоходов или трубопроводов, подлежащих антикоррозионной защите или термической обработке до их монтажа.

3.5. Чертежи узлов на характерные элементы антикоррозионной защиты (черт. 1) выполняют в объеме, необходимом для производства антикоррозионных работ.

3.6. На чертежах разреза аппарата, планах (разрезах, видах) газоходов и трубопроводов также приводят:

сечения (черт. 1 и 2), характеризующие антикоррозионную защиту;

таблицу штуцеров;

данные об условиях эксплуатации;

технические требования.

Таблицу штуцеров составляют по форме 3.

Пример заполнения таблицы приведен в справочном приложении 4.

Черт. 1

Черт. 2

Форма 3

Таблица штуцеров

Размеры в мм

Данные об условиях эксплуатации технологических аппарата, газоходов и трубопроводов приводят в таблицах по формам 4 и 5. Пример заполнения таблицы условий эксплуатации аппарата приведен в справочном приложении 5, газоходов и трубопроводов - в справочном приложении 6.

Форма 4

Условия эксплуатации технологического аппарата

Форма 5

Условия эксплуатации технологических газоходов и трубопроводов

В технических требованиях приводят ссылку, на основании каких нормативных документов и технологических инструкций производят работы по антикоррозионной защите, а также дают указания по выполнению антикоррозионных работ, необходимости последующей термической обработки покрытия, монтажу внутренних устройств, контролю качества покрытия, монтажу и хранению аппаратов с защитными покрытиями, выполненными до монтажа, технике безопасности и противопожарным мероприятиям и другие указания, не вошедшие в состав общих данных.

При футеровочном и комбинированном футеровочном защитных покрытиях в технических требованиях указывают массу антикоррозионной защиты.

4. ВЕДОМОСТЬ ОБЪЕМОВ АНТИКОРРОЗИОННЫХ РАБОТ ПО ОБЪЕКТАМ ЗАЩИТЫ

4.1. Ведомость объемов антикоррозионных работ по объектам защиты выполняют по форме 6.

Форма 6

Ведомость объемов антикоррозионных работ по объектам защиты

* В графе указывают номер позиции, наименование объекта защиты, габаритные размеры, число в штуках, число граф зависит от числа наименований объектов защиты.

В графах ведомости указывают:

в графе «Наименование» - наименование работ. Работы приводят в зависимости от очередности их выполнения, начиная с подготовки поверхности под защитные покрытия;

в графе «Объемы работ, м2» - номера позиций, наименования, габаритные размеры и число объектов защиты.

Число граф зависит от числа наименований объектов защиты.

Пример заполнения ведомости приведен в справочном приложении 7.

5. ВЕДОМОСТЬ ИЗДЕЛИЙ, ИЗГОТАВЛИВАЕМЫХ ПО СПЕЦИАЛЬНОМУ ЗАКАЗУ

5.1. Ведомость изделий, изготавливаемых по специальному заказу, выполняют по форме 7.

Форма 7

Ведомость изделий, изготавливаемых по специальному заказу

В графах ведомости указывают:

в графе «Позиция» - позицию изделия по сборочному чертежу;

в графе «Обозначение, предприятие-изготовитель» - номер изделия по каталогу изделий и название предприятия-изготовителя;

в графе «Наименование, марка» - полное наименование изделия и его марку.

Пример заполнения ведомости приведен в справочном приложении 8.

ПРИЛОЖЕНИЕ 1

Справочное

ПРИМЕР ЗАПОЛНЕНИЯ ТАБЛИЦЫ УКАЗАНИЙ ПО АНТИКОРРОЗИОННОЙ ЗАЩИТЕ

ПРИЛОЖЕНИЕ 2

Справочное

ПРИМЕР ЗАПОЛНЕНИЯ ВЕДОМОСТИ ТЕХНОЛОГИЧЕСКИХ АППАРАТОВ, ГАЗОХОДОВ И ТРУБОПРОВОДОВ, ПОДЛЕЖАЩИХ АНТИКОРРОЗИОННОЙ ЗАЩИТЕ

Наименование объекта защиты

Габаритные размеры, мм

Абсорбер моногидратный

Æ5000, Н 14760

Бак отработанного раствора

3700´4200´2000

Сборник

Æ2200, L4600

Газоход от 1-й промывной башни ко 2-й промывной башне

Æ2200, L19000

Трубопровод от 1-й промывной башни к сборнику

Æ1200, L5500

 

ПРИЛОЖЕНИЕ 3

Справочное

СОСТАВ ОСНОВНОГО КОМПЛЕКТА РАБОЧИХ ЧЕРТЕЖЕЙ АНТИКОРРОЗИОННОЙ ЗАЩИТЫ В ЗАВИСИМОСТИ ОТ ВИДОВ АНТИКОРРОЗИОННЫХ ПОКРЫТИЙ

Наименование

Вид антикоррозионного покрытия

Лакокрасочное, мастичное

Пленочное, металлизационное и металлизационно-лакокрасочное

Оклеечное, футеровочное, комбинированное футеровочное покрытие стандартными штучными материалами или кислотоупорным бетоном, гомогенное освинцевание или обкладка свинцом и другими цветными металлами

Футеровочное,* комбинированное футеровочное покрытие нестандартными штучными материалами

Общие данные по рабочим чертежам

+

+

+

+

Указания по антикоррозионной защите

+

-

-

-

Чертежи разрезов аппаратов

-

+

+

+

Чертежи планов и разрезав (видов) газоходов или трубопроводов

-

+

+

+

Чертежи узлов антикоррозионной защиты

-

-

+

+

Чертежи деталей, изготавливаемых по специальным заказам

-

-

-

+

Ведомость объемов антикоррозионных работ по объектам защиты

+

+

+

+

Ведомость деталей, изготавливаемых по специальным заказам

-

-

-

+

Примечание. Знак «+» означает наличие документа в комплекте, знак «-» - его отсутствие.

ПРИЛОЖЕНИЕ 4

Справочное

ПРИМЕР ЗАПОЛНЕНИЯ ТАБЛИЦЫ ШТУЦЕРОВ

Размеры в мм

Обозначение

Назначение

Число, шт.

Dу металла штуцера

dнар/dвн вкладыша

Толщина футеровки

А

Вход газа

1

1800

 

283

Б

Выход газа

1

800

 

5

В

Выход кислоты

1

219

190/150

 

Г

Вход кислоты

2

125

104/80

 

Д

Вход кислоты

1

250

240/200

 

Е1; Е2

Люки

2

800

 

70

 

ПРИЛОЖЕНИЕ 5

Справочное

ПРИМЕР ЗАПОЛНЕНИЯ ТАБЛИЦЫ УСЛОВИЙ ЭКСПЛУАТАЦИИ ТЕХНОЛОГИЧЕСКОГО АППАРАТА

Наименование аппарата и его назначение

Башня сушильная для сушки газа

Химический состав среды, концентрация, %, г/л; мг/м3 и др.

Газ, содержащий SO3, 100 мг/м3
Орошение - H2SO4 95 %

Разрежение, мм вод. ст.

55

Температура среды, °С

H2SO4 - на входе 40 °С; на выходе 45 °С, газ - на входе 350 °С; на выходе 40 °С

Коэффициент заполнения

0,2

Удельный вес среды, Н/м3

1,83×104

Место установки

Вне здания

Наличие теплоизоляции

Отсутствует

Особые условия эксплуатации

Работает непрерывно 350 дней в году

 

ПРИЛОЖЕНИЕ 6

Справочное

ПРИМЕР ЗАПОЛНЕНИЯ ТАБЛИЦЫ УСЛОВИЙ ЭКСПЛУАТАЦИИ ТЕХНОЛОГИЧЕСКИХ ГАЗОХОДОВ И ТРУБОПРОВОДОВ

Позиция

Место расположения

Условия эксплуатации

Наличие теплоизоляции

Особые условия эксплуатации

Тип защиты

Состав газовой среды и конденсата

Разрежение, мм вод. ст.

Температура среды, °С

100

От 1-ой промывной башни поз. 201 ко 2-ой промывочной башне поз. 202; вне здания

Газ, содержащий SO2 - 10 - 13 % и туман H2SO4 с примесями мышьяка и селена

До 600

90

Отсутствует

Среда токсичная, не взрывоопасная

См. сечение 1-1, черт. 2

 

 

 

 

 

 

 

 

 

 

 

 

 

 

 

 

 

 

ПРИЛОЖЕНИЕ 7

Справочное

ПРИМЕР ЗАПОЛНЕНИЯ ВЕДОМОСТИ ОБЪЕМОВ АНТИКОРРОЗИОННЫХ РАБОТ ПО ОБЪЕКТАМ ЗАЩИТЫ

Наименование

Объем работ, м2

Башня Æ6000; Н 9762
(2 шт.)

Поз. 25 Бак Æ4500; Н6800
(2 шт.)

Итого

ед.

всего

ед.

всего

1. Очистка поверхности стальным песком

646

1292

129

258

1550

2. Гуммирование резиной ПРИ-1390 толщиной 1,5 мм в 3 слоя на клее 2572

-

-

133

266

266

3. Гуммирование эбонитом 60 толщиной 1,5 мм в 4 слоя на термопреновом клее

-

-

16

32

32

4. Футеровка кислотоупорной керамической плиткой толщиной 70 мм на андезитовой замазке

558

1116

-

-

1116

 

 

 

 

 

 

9. Футеровка кислотоупорным кирпичом толщиной 113 мм на андезитовой замазке

102

204

-

-

204

10. Кладка опорных стен из кислотоупорного кирпича на андезитовой замазке, м3

38

76

-

-

76

 

ПРИЛОЖЕНИЕ 8

Справочное

пример заПОЛНЕНИЯ ВЕДОМОСТИ ИЗДЕЛИЙ, ИЗГОТАВЛИВАЕМЫХ ПО СПЕЦИАЛЬНОМУ ЗАКАЗУ

Позиция

Обозначение предприятия-изготовителя

Наименование, марка

Число, шт.

Масса, кг

1

22101-1

Славянский керамический комбинат, Щекинский завод «Кислотоупор»

Плитка кислотоупорная керамическая шпунтованная прямая ПШ

13000

71280

2

22101-3

Щекинский завод «Кислотоупор»

Плитка кислотоупорная керамическая лекальная ИЛ-10

1600

5600

 

 

 

 

 

8

22101-12

Славянский керамический комбинат

Блок кислотоупорный фасонный для обрамления отверстий штуцеров БО-57

32

41,6

 




Rambler's Top100 Яндекс цитирования
  Copyright © 2008-2026, www.docload.ru