ГОСТ 26433.2-94

МЕЖГОСУДАРСТВЕННЫЙ СТАНДАРТ

СИСТЕМА ОБЕСПЕЧЕНИЯ ТОЧНОСТИ
ГЕОМЕТРИЧЕСКИХ ПАРАМЕТРОВ
В СТРОИТЕЛЬСТВЕ

ПРАВИЛА ВЫПОЛНЕНИЯ
ИЗМЕРЕНИЙ ПАРАМЕТРОВ
ЗДАНИЙ И СООРУЖЕНИЙ

МЕЖГОСУДАРСТВЕННАЯ НАУЧНО-ТЕХНИЧЕСКАЯ КОМИССИЯ
ПО СТАНДАРТИЗАЦИИ И ТЕХНИЧЕСКОМУ НОРМИРОВАНИЮ

Москва

Предисловие

1 РАЗРАБОТАН Санкт-Петербургским зональным научно-исследовательским и проектным институтом жилищно-гражданских зданий (СПб ЗНИПИ)

ВНЕСЕН Главным управлением стандартизации, технического нормирования и сертификации Минстроя России

2 ПРИНЯТ Межгосударственной научно-технической комиссией по стандартизации и техническому нормированию в строительстве 17 ноября 1994 г.

За принятие стандарта проголосовали:

Наименование государства

Наименование органа государственного управления строительством

Азербайджанская Республика

Госстрой Азербайджанской Республики

Республика Армения

Госупрархитектуры Республики Армения

Республика Беларусь

Минстрой архитектуры Республики Беларусь

Республика Казахстан

Минстрой Республики Казахстан

Кыргызская Республика

Госстрой Кыргызской Республики

Российская Федерация

Минстрой России

Республика Таджикистан

Госстрой Республики Таджикистан

3 ВВЕДЕН В ДЕЙСТВИЕ с 01.01.96 в качестве государственного стандарта Российской Федерации Постановлением Минстроя России от 20.04.95 № 18-38

4 ВВЕДЕН ВПЕРВЫЕ

МЕЖГОСУДАРСТВЕННЫЙ СТАНДАРТ

Система обеспечения точности геометрических параметров в строительстве

ПРАВИЛА ВЫПОЛНЕНИЯ ИЗМЕРЕНИЙ ПАРАМЕТРОВ ЗДАНИЙ И СООРУЖЕНИЙ

System of ensuring geometric parameters accuracy in building. Rules for measuring parameters of buildings and works

Дата введения 1996-01-01

1 Область применения

Настоящий стандарт устанавливает основные правила измерений геометрических параметров при выполнении и приемке строительных и монтажных работ, законченных строительством зданий, сооружений и их частей. Номенклатура параметров, измерения которых осуществляют в соответствии с настоящим стандартом, определена ГОСТ 21779 и ГОСТ 26607.

2 Нормативные ссылки

В настоящем стандарте использованы ссылки на следующие стандарты:

ГОСТ 427-75 Линейки измерительные металлические. Технические условия

ГОСТ 3749-77 Угольники поверочные 90°. Технические условия

ГОСТ 5378-88 Угломеры с нониусом. Технические условия

ГОСТ 7502-89 Рулетки измерительные металлические Технические условия

ГОСТ 7948-80 Отвесы стальные строительные. Технические условия

ГОСТ 9389-75 Проволока стальная углеродистая пружинная. Технические условия

ГОСТ 10528-90 Нивелиры. Общие технические условия

ГОСТ 10529-86 Теодолиты. Общие технические условия

ГОСТ 17435-72 Линейки чертежные. Технические условия

ГОСТ 19223-90 Светодальномеры геодезические. Общие технические условия

ГОСТ 21779-82 Система обеспечения точности геометрических параметров в строительстве. Технологические допуски

ГОСТ 26433.0-85 Система обеспечения точности геометрических параметров в строительстве. Правила выполнения измерений. Общие положения

ГОСТ 26433.1-89 Система обеспечения точности геометрических параметров в строительстве. Правила выполнения измерений. Элементы заводского изготовления

ГОСТ 26607-85 Система обеспечения точности геометрических параметров в строительстве. Функциональные допуски

3 Обозначения

xi, dxi                            - определяемый геометрический параметр;

li, ai, bi                         - измеренные длина отрезка прямой линии, горизонтальный и вертикальный углы, соответственно;

ai                                   - отсчет по шкале рулетки, линейки, рейки, взятый по риске (ориентиру) на конструкции, сетке нитей зрительной трубы, нитке или острию отвеса и другому отсчетному устройству;

a¢i                                  - отсчеты при повторном наблюдении, например, при обратной перестановке сосудов гидростатического нивелира, при втором положении вертикального круга зрительной трубы теодолита, по шкале отсчетного устройства микронивелира при его развороте на 180°, при втором горизонте нивелира и т.д.;

loi, aoi                            - заранее известные длина или угол;

L                                    - заданный интервал линейного размера;

x, y, z                             - прямоугольные координаты;

Hi, hi                              - действительные отметка и превышение, соответственно;

хnom, ynom, znom, Hnom, hnom, anom, bnom и т.д. - номинальные значения геометрических параметров;

dx, dу, dz, dH, dh, da, db и т.д. - отклонения от номинальных значений;

dxcor,i                             - по ГОСТ 26433.0;

Ri, ri                               - действительные значения радиусов;

r² = 206265                  - число секунд в радиане.

4 Требования

4.1 Общие требования к выбору методов и средств измерений, выполнению измерений и обработке их результатов - по ГОСТ 26433.0.

4.2 Измерения выполняют в соответствии со схемами, приведенными в приложении А.

Предпочтительными являются прямые измерения параметра. При невозможности или неэффективности прямого измерения выполняют косвенное измерение. В этом случае значение параметра определяют по приведенным зависимостям на основе результатов прямых измерений других параметров.

При измерениях с помощью геодезических приборов следует учитывать методики, аттестованные в установленном порядке.

4.3 Для измерения линейных размеров и их отклонений применяют линейки по ГОСТ 427 и ГОСТ 17435, рулетки по ГОСТ 7502, светодальномеры по ГОСТ 19223 и другие специальные средства измерения, аттестованные в установленном порядке.

4.4 Для измерения горизонтальных и вертикальных углов применяют теодолиты по ГОСТ 10529, для измерения вертикальных углов - оптические квадранты по действующей НТД, а для измерения углов между гранями и ребрами строительных конструкций и их элементов - угломеры по ГОСТ 5378 и поверочные угольники по ГОСТ 3749.

4.5 Для измерения превышений между точками применяют нивелиры по ГОСТ 10528 и гидростатические высотомеры.

4.6 Для измерений отклонений от вертикальности применяют отвесы по ГОСТ 7948 и теодолиты совместно со средствами линейных измерений, а также средства специального изготовления, аттестованные в установленном порядке.

4.7 Для измерения отклонений от прямолинейности (створности) и плоскостности применяют теодолиты, нивелиры, трубы визирные, а также средства специального изготовления (стальные струны, разметочный шнур, капроновые лески, плоскомеры оптические, лазерные визиры и др.) совместно со средствами линейных измерений.

4.8 Правила измерений, выполняемых штангенинструментом, нутромерами, скобами, калибрами, индикаторами часового типа, щупами, микроскопами, принимают по ГОСТ 26433.1.

4.9 Средства измерений, обеспечивающие требуемую по ГОСТ 26433.0 точность измерений, а также значения предельных погрешностей средств измерений, которые могут быть использованы при выборе средств и методов измерений, приведены в приложении Б.

Примеры расчета точности измерений, выбора методов и средств ее обеспечения приведены в приложении В.

4.10 Места измерений геометрических параметров для операционного контроля в процессе строительных и монтажных работ и приемочного контроля законченных этапов или готовых зданий и сооружений принимают в соответствии с проектной и технологической документацией. В случае отсутствия указаний в проектной и технологической документации места измерений принимают по настоящему стандарту.

4.11 Размеры помещений - длину, ширину, высоту измеряют в крайних сечениях, проведенных на расстоянии 50 - 100 мм от краев и в среднем сечении при размерах помещений св. 3 м не более 12 м. При размерах св. 12 м между крайними сечениями измерения выполняют в дополнительных сечениях.

4.12 Отклонения от плоскостности поверхностей конструкций и отклонения от плоскости монтажного горизонта измеряют в точках, размеченных на контролируемой поверхности по прямоугольной сетке или сетке квадратов с шагом от 0,5 до 3 м. При этом крайние точки должны располагаться в 50 - 100 мм от края контролируемой поверхности.

4.13 Отклонения от прямолинейности определяются по результатам измерений расстояний реальной линии от базовой прямой в трех точках, размеченных на расстояниях 50 - 100 мм от ее краев и в середине, или в точках, размеченных с заданным в проекте шагом.

4.14 Отклонение от вертикальности определяется по результатам измерения расстояния от отвесной базовой линии до двух точек конструкции, размеченных в одном вертикальном сечении на расстояниях 50 - 100 мм от верхнего и нижнего обреза конструкции. Вертикальность колонн и сооружений башенного типа контролируется в двух взаимно перпендикулярных сечениях, а вертикальность стен - в крайних сечениях, а также в дополнительных сечениях, в зависимости от особенностей конструкции.

4.15 Измерения зазоров, уступов, глубины опирания, эксцентриситетов производятся в характерных местах, влияющих на работу стыковых соединений.

4.16 Измерение отклонения элементов конструкций, а также зданий и сооружений от заданного положения в плане и по высоте выполняется в точках, расположенных в крайних сечениях или на расстояниях 50 - 100 мм от края.

4.17 Геодезические пункты разбивочных сетей и ориентиры осей закрепляются на местности и на строительных конструкциях знаками, обеспечивающими требуемую точность разбивочных работ и сохранность ориентиров в процессе строительства и эксплуатации (при необходимости).

4.18 В зависимости от материала, размеров, особенностей геометрической формы и назначения зданий и сооружений могут применяться также не предусмотренные настоящим стандартом средства, обеспечивающие требуемую точность измерений по ГОСТ 26433.0.


Приложение А

(Рекомендуемое)

Схемы и примеры применения средств и методов измерений

Таблица А.1

Наименование измеряемого параметра и метода измерений

Схема применения метода и средств измерений

Формула для вычисления измеряемого параметра и пояснения

1 Линейные размеры: длина, ширина, высота, глубина, пролет, зазор, межосевой размер, габаритные размеры и др.

 

 

Измеряются расстояния:

 

 

а) между двумя фиксированными точками

 

б) между точкой и прямой, точкой и плоскостью; между двумя параллельными прямыми или плоскостями методом построения и измерения перпендикуляра:

с помощью геодезических приборов и других средств угловых и линейных измерений

покачиванием линейки, рейки, рулетки в направлениях, обеспечивающих кратчайшее расстояние

xi = amin - a1,

где a1 - начальный отсчет по шкале средства измерения в фиксированной точке;

amin - минимальный из отсчетов, полученных в процессе покачивания рейки

1.1 Измерение размера рулеткой, линейкой и другими средствами линейных измерений, укладываемых непосредственно в створе измеряемой линии, когда измеряемый размер:

 

 

а) меньше длины мерного прибора

xi = a2 - a1,

где a1, a2 - начальный и конечный отсчеты по шкале средства измерений соответственно;

б) больше длины мерного прибора

,

где а3, аn - отсчеты по рулетке задний и передний по ходу соответственно;

 - сумма поправок по ГОСТ 26433.0, исключающих известные систематические погрешности из результата измерений

1.2 Измерение размера геодезическим светодальномером или радиодальномером

Вычисление по формуле, приведенной в эксплуатационной документации на данный тип дальномера

1.3 Измерение зазора:

 

 

а) линейкой

xi = a2 - a1

б) клиновым калибром

xi = ai

ai - отсчет по клиновому калибру

в) кронциркулем

xi = ai

1.4 Измерение глубины опирания:

 

 

а) линейкой в доступном месте

xi = li = a2 - a1

б) линейкой-щупом в перекрытом сечении через технологическое (например коробка электросети) или специально проделанное отверстие

1 - отверстие в несущей стене; 2 - линейка-щуп; 3 - панель перекрытия; 4 - стеновая панель

xi = ai

в) посредством измерений линейкой перекрытой части сечения и толщины несущей стены

xi = lo - li,

где lo - известная или измеренная толщина несущей стены;

li - измеренная ширина неперекрытой части сечения

г) после укладки плит перекрытий посредством измерения линейкой расстояния от риски на плите перекрытия до несущей стеновой панели; риска на плите перекрытия маркируется заранее, на фиксированном расстоянии от края плиты

xi = lo - li,

где lo - известное расстояние от края плиты до фиксированной риски;

li - измеренный размер

1.5 Измерение расстояния между горизонтальными плоскостями

 

 

1.5.1 Измерение рулеткой, рейкой по направлению отвесной линии

а) xi = a2 - a1;

б) xi = a2 - a1

1.5.2 Измерение методом геометрического нивелирования

 

 

а) в пределах одной установки нивелира

xi = hi = a3i - ani,

где a3, an - отсчеты по задней и передней по ходу рейкам, соответственно

б) при нескольких последовательных установках нивелира

1 - нивелир; 2 - рейка

,

где a3, an - отсчеты по задней и передней по ходу рейкам, соответственно;

i - номер станции

в) при измерении высоты помещения

xi = a1 + a2,

где a1, a2 - отсчеты по рейке, установленной в положение «0» - вверх и «0» - вниз

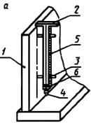
1.5.3 Измерение методом микронивелирования

1 - уровень; 2 - корпус; 3 - подвижный упор; 4 - отсчетное устройство; 5 - неподвижный упор

xi = hi = ai - МО;

1.5.4 Измерение методом гидростатического нивелирования

1 - горизонт жидкости; 2 - сосуд; 3 - соединительный шланг; li - длина сосудов

xi = hi = ani - a3i - МО;

,

где a3, an - отсчеты по шкалам заднего и переднего сосудов соответственно;

 - то же, при обратной перестановке сосудов;

МО - место нуля

1.6 Измерение расстояния между двумя недоступными точками методом проектирования точек на линию измерения с помощью теодолита, отвеса или оптического прибора

xi = a2 - a1,

где a2, a1 - отсчеты по рулетке.

Рулетка натягивается горизонтально, в одной вертикальной плоскости с измеряемым пролетом.

Проектирование с помощью теодолита осуществляется при двух положениях вертикального круга

1.7 Измерение расстояния между двумя вертикальными плоскостями раздвижной рейкой

xi = ai

1.8 Косвенные измерения линейных размеров

 

 

1.8.1 Измерение расстояния между двумя фиксированными точками методом параллактического треугольника

а)

б) xi = lictgai,

где li - известный размер;

ai - измеренный горизонтальный угол

1.8.2 Измерение расстояния между фиксированной точкой и прямой

а) xi = litgai;

б) xi = lisinai

1.8.3 Измерение расстояния до недоступной точки методом микротриангуляции

1.8.4 Измерение расстояния между двумя недоступным точками методом микротриангуляции

2 Угловые размеры: горизонтальные и вертикальные углы; углы образованные пересечением осей и плоскостей

 

 

2.1 Прямое измерение углового размера методом сравнения со шкалой угломерного прибора (теодолита, квадранта и др.)

ai, bi - горизонтальные и вертикальные углы, соответственно, измеряются и вычисляются по методикам и формулам, приведенным в эксплуатационной документации на данный тип угломерного прибора

2.2 Косвенные измерения углового размера

 

 

2.2.1 Метод построения и решения треугольника:

 

 

а) по трем измеренным сторонам l1, l2, l3

б) по измеренным углу a1 и по двум сторонам l1 и l2

в) по измеренным двум углам a1 и a2

a1 = 180 - (a1 + a2)

2.2.2 Метод построения и решения двух треугольников:

 

 

а) по измеренным двум углам a1 и a, и трем сторонам l1, l2, l3

б) по пяти измеренным сторонам l1, l2, l3, l4, l5

2.2.3 Метод построения вспомогательного угла и измерение отрезков l1, l2, l3, l4, l5, l6

3 Отклонение от совмещения ориентиров, совпадения осей, симметричности установки, совпадения поверхностей

 

 

Измеряются в стыковом соединении или на интервале отклонения от совмещения:

 

 

а) ориентира на поверхности конструкций с ориентирами разбивочной оси

а) dxi = li;

б) dxi = li - lo;

в) dxi = li

б) грани элемента конструкции с ориентирами разбивочной оси

а) dxi = li;

б) dxi = li - lo;

в) dxi = li

в) граней элементов конструкций

dxi = li

dxi = li

г) отклонение от совпадения осей или симметричности установки

3.1 Прямое измерение отклонения от совмещения ориентиров

 

 

3.1.1 Измерение с помощью шаблона с линейкой

dxi = ai

3.1.2 Измерение линейкой отклонений от створа, заданного теодолитом:

 

 

а) створ проходит по разбивочной оси

dxi = li

б) створ проходит по грани стены

dxi = lo - li

3.1.3 Измерение линейкой отклонений от створа, заданного струной и отвесом и проходящего через ориентиры разбивочной оси

dxi = aoi - a1i

4 Отклонение от заданного положения точки в плане

 

 

4.1 Косвенные измерения с использованием средств линейных и угловых измерений (теодолит, рулетка и др.)

4.1.1 Метод полярных координат

dai = ai - anom

dli = li - lnom

4.1.2 Метод прямоугольных координат

4.1.3 Метод створной засечки

4.1.4 Метод линейно-створной засечки

;

dli = li - lnom;

dai = ai - 180°

4.1.5 Метод линейной засечки

;

dl1i = l1i - l1nom;

dl2i = l2i - l2nom

4.1.6 Метод прямой угловой засечки

5. Отклонение от отвесной линии колонн стеновых панелей, стен и других конструкций и их элементов

 

 

Измеряются отклонения:

 

 

а) ориентира оси конструкции

а) dxi = li;

б) dxi = li - lo

б) поверхности грани (ребра) конструкции

а) dxi = li;

б) dxi = li - lo

в) точек закрепления осей при их передаче по вертикали на монтажные горизонты

5.1 Измерение с помощью стального строительного отвеса и линейки:

 

 

а) относительно боковой грани

dxi = l1i - l2i

б) относительно ориентиров оси конструкции

1 - колонна; 2 - консоль для подвески отвеса; 3 - линейка; 4 - отвес; 5 - сосуд с вязкой жидкостью; 6 - ориентир оси конструкции (установочная риска)

Примечание - В способе б) исключается погрешность изготовления

 

в) относительно боковой грани конструкции, имеющей переменное сечение по высоте

dxi = l1 - l2 + c,

где c - поправка, учитывающая закон изменения размеров сечения. Для колонны, имеющей форму усеченного конуса

5.2 Измерения с помощью теодолита и линейки:

а) теодолит установлен на разбивочной оси

б) теодолит установлен на оси, параллельной разбивочной

а)

б)

где ai,  - отсчеты, полученные при двух положениях вертикального круга

Примечание - Особое внимание следует уделять тщательности юстировки уровня горизонтального круга и приведению его пузырька в нуль-пункт

5.3 Измерение оптическим центриром и рейкой

dxi = lo - li

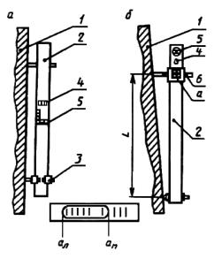
5.4 Измерение рейкой-отвесом:

а) навесной

б) ненавесной

,

где ai - отсчет по нити успокоенного отвеса относительно нулевого штриха шкалы;

 - то же, после поворота рейки на 180°;

 мм

 

1 - стеновая панель; 2 - рейка-отвес; 3 - регулируемый упор; 4 - отвес; 5 - шкала нивелирной рейки; 6 - шкала отклонений от вертикали; 7 - нулевой штрих шкалы

 

5.5 Измерение рейкой с уровнем:

а) по шкале на уровне

б) подвижной шкалой рейки при положении центра пузырька в нуль-пункте

1 - контролируемая конструкция; 2 - рейка с уровнем; 3 - регулируемый упор; 4 - уровень для контроля правильной установки рейки; 5 - уровень для измерения угла наклона контролируемой поверхности; 6 - измерительная подвижная шкала

а) ;

б) ,

где ал; а¢л; ап; а¢п - отсчеты по левому и правому концам пузырька уровня, взятые при прямом и обратном (развернутом на 180°) положении рейки, соответственно;

а, а¢ - отсчеты по подвижному упору при прямом и обратном (развернутом на 180°) положении рейки, соответственно;

МО - место нуля (определяют на вертикальной плоскости);

t - цена деления уровня

6 Отклонение точек конструкций и их элементов от проектных отметок на монтажном горизонте, в котловане и т.д.

1 - горизонтальная линия или плоскость, расположенные на проектной отметке; 2 - исходная горизонтальная плоскость, служащая началом отсчета отметок или имеющая отметку, равную нулю

dhi = Hi - Hnom

6.1 Измерение методом геометрического нивелирования при передаче отметки в котлован

Hi = Hpп + aз1 - /a2 - a3/ - aп1;

dxi = Hi - Hnom

6.2 Измерение методом геометрического нивелирования при контроле ровности монтажного горизонта

,

где Hmax, Hmin - отметки наиболее высокой и низкой точек монтажного горизонта

7 Отклонение от заданного уклона (наклона) конструкции, элемента конструкции, линейных сооружений, технологического оборудования и др. в вертикальном сечении

Измеряется методами нивелирования в соответствии с 1.1.4 - 1.1.6, 1.2.4 настоящего приложения, а также прямым измерением с помощью квадранта или теодолита

1 - горизонтальная линия; 2 - линия заданного уклона

а) в линейной мере на интервале L

dhi = hi - hnom

б) в угловой мере

dbi = bi - nom

в) в относительной величине

8 Отклонение от прямолинейности конструкции, элемента конструкции, технологического оборудования и др.

 

 

Отклонение от прямолинейности измеряется методом построения базовой линии:

а) расположенной произвольно относительно контролируемого участка или направления поверхности

1 - контролируемый участок; 2 - базовая линия

при lк = lн = lo

dxi = li - lo;

при lк = lн = 0

dxi = li

б) расположенной параллельно прямой, соединяющей конечную и начальную точки контролируемого участка

dxi = li - lo

в) совпадающей с прямой, соединяющей начальную и конечную точки контролируемого участка

dxi = li

8.1.1 Измерение по рейке (линейке) от базовой линии, заданной теодолитом

dxi = аi - lo

8.1.2 Измерение линейкой от базовой линии, заданной струной и отвесом

dxi = li

9 Отклонение от формы заданных профиля, поверхности

 

 

9.1 Прямое измерение отклонения профиля криволинейной поверхности методом измерения отклонений от шаблона

dxi1 = l1i,

dxi2 = l2i,

dxi3 = l3i,

9.2 Измерение отклонений профиля прямолинейного сечения методом измерения от шаблона

dxi =(li1 + li2) - lo;

lo = lnom - lm

9.3 Измерение отклонений профиля сечения дорожного полотна методом измерения действительных значений линейно-угловых размеров и уклонов с помощью линейки, рулетки, теодолита, нивелира

dbi = bi - bnom;

dli = li - lnom;

dhi = hi - hnom;

9.4 Измерение отклонений формы заданного профиля методом определения пространственных координат точек действительной поверхности

dxi = xi - xnom;

dyi = yi - ynom;

dzi = zi - znom;

10 Отклонение от плоскостности поверхностей конструкций, элементов конструкций и сооружений

Определяется посредством измерений отклонений точек контролируемой поверхности от базовой горизонтальной или вертикальной плоскости с последующим пересчетом этих отклонений относительно условной плоскости по ГОСТ 26433.1

 

10.1 Измерение отклонений от плоскостности методами:

а) геометрического нивелирования с помощью нивелира и рейки (линейки)

а) условная плоскость проведена через три точки I, II, IV контролируемой поверхности

dzI = dzII = dzIV = 0;

dzi = zi - K1xi - K2yi,

где ; ;

zi = lI - li;

б) бокового нивелирования с помощью теодолита и рейки (линейки)

б) условная плоскость проведена через диагональ I - III параллельно диагонали II - IV

dzi = dzIII = 0;

dzi = zi - b1xi - b2yi;

; ;

;

zi = l1 - li;

11 Измерение методом фотограмметрии комплекса геометрических параметров при выполнении архитектурно-технических обмеров и приемочном контроле строительных конструкций, зданий и сооружений

а) Аналитический метод: вычисление пространственных координат точек объекта по формулам соответствующего случая съемки и определение по координатам действительных значений геометрических параметров

б) Аналоговый метод:

вычерчивание на специальном приборе графического изображения проекций объекта в соответствующем масштабе и определение геометрических параметров с точностью графических построений


Приложение Б

(Справочное)

Основные средства измерений геометрических параметров для производства строительных и монтажных работ

1 Основные средства обеспечения точности разбивочных работ

Таблица Б.1

Вид разбивочных работ

Основные средства обеспечения точности

Классы точности по ГОСТ 21779

1

2

3

4

5

6

Разбивка точек и осей в плане

Теодолиты по ГОСТ 10529:

 

 

 

 

 

 

 

 

 

 

 

 

Т1

 

 

 

 

 

 

 

 

 

 

 

 

Т2

 

 

 

 

 

 

 

 

 

 

 

 

Т5

 

 

 

 

 

 

 

 

 

 

 

 

Т30

 

 

 

 

 

 

 

 

 

 

 

 

Рулетка по ГОСТ 7502

 

 

 

 

 

 

 

 

 

 

 

 

Базисный прибор

 

 

 

 

 

 

 

 

 

 

 

 

Светодальномеры по ГОСТ 19223, МСД-1М, СП3, СТ3Н

 

 

 

 

 

 

 

 

 

 

 

 

Разбивка и передача высотных отметок

Нивелиры по ГОСТ 10528:

 

 

 

 

 

 

 

 

 

 

 

 

Н05, Н1

 

 

 

 

 

 

 

 

 

 

 

 

Н3

 

 

 

 

 

 

 

 

 

 

 

 

Н10

 

 

 

 

 

 

 

 

 

 

 

 

Рейки нивелирные:

 

 

 

 

 

 

 

 

 

 

 

 

РН-05, РН-1

 

 

 

 

 

 

 

 

 

 

 

 

РН-3

 

 

 

 

 

 

 

 

 

 

 

 

РН-10

 

 

 

 

 

 

 

 

 

 

 

 

Рулетка по ГОСТ 7502

 

 

 

 

 

 

 

 

 

 

 

 

Передача точек и осей по вертикали

Оптические центриры:

 

 

 

 

 

 

 

 

 

 

 

 

ЦО-1

 

 

 

 

 

 

 

 

 

 

 

 

ЦО-30

 

 

 

 

 

 

 

 

 

 

 

 

RZL

 

 

 

 

 

 

 

 

 

 

 

 

Теодолиты по ГОСТ 10529:

 

 

 

 

 

 

 

 

 

 

 

 

Т2

 

 

 

 

 

 

 

 

 

 

 

 

Т5

 

 

 

 

 

 

 

 

 

 

 

 

Т30

 

 

 

 

 

 

 

 

 

 

 

 

Отвес по ГОСТ 7948

 

 

 

 

 

 

 

 

 

 

 

 

Построение створа

Теодолиты по ГОСТ 10529

 

 

 

 

 

 

 

 

 

 

 

 

Т2, Т5

 

 

 

 

 

 

 

 

 

 

 

 

Лазерный визир

 

 

 

 

 

 

 

 

 

 

 

 

Оптическая струна

 

 

 

 

 

 

 

 

 

 

 

 

Струна, разметочный шнур

 

 

 

 

 

 

 

 

 

 

 

 

2 Погрешности основных методов и средств измерения отклонений от разбивочной оси или створа

Таблица Б.2

Средство измерения

Метод измерения

Предельная погрешность, (±) мм

Диапазон измерения, не более

Линейка по ГОСТ 427 или ГОСТ 17435

Измерение расстояния между ориентирами

1,0

Непосредственный контакт ориентиров

Струна, отвес по ГОСТ 7948; линейка по ГОСТ 427 или ГОСТ 17435

Измерение линейкой отклонений от створа, заданного калиброванной струной диаметром 0,5 мм и отвесом

4,0

Расстояние между точками закрепления разбивочной оси 80 м

Теодолиты по ГОСТ 10529 типов:

Т2, Т5

Т30;

линейка по ГОСТ 427 или 17435

Измерение линейкой отклонений от створа, заданного визирной осью зрительной трубы теодолита при двух положениях вертикального круга

2,0

4,0

Расстояние между точками закрепления разбивочной оси или створа 50 м

Примечание - Могут быть использованы модификации приборов отечественного и зарубежного производства, соответствующие по точности основным типам, приведенным в таблице 1, и более точные.

3 Погрешности основных методов и средств измерений отклонений от отвесной линии

Таблица Б.3

Средство измерения

Метод измерения

Предельная погрешность, (±) мм

Диапазон измерения, м, не более

Рейка-отвес

Измерение двумя наблюдениями с поворотом рейки на 180° между наблюдениями

2

3,0

Рейка с уровнем (t £ 2)

То же

2

3,0

Отвес по ГОСТ 7948 и линейка по ГОСТ 427 или ГОСТ 17435

Исключение ветровых воздействий и гашение колебаний

5

10

Теодолиты по ГОСТ 10529 типов:

Проектирование коллимационной плоскостью при двух положениях вертикального круга, S £ 2H

 

 

Т2

 

H/7

50

Т5

 

H/3,5

50

Т30

 

H/1,7

30

линейка по ГОСТ 427 или ГОСТ 17435

 

 

 

Оптические центриры и линейка или специальная палетка

Проектирование двумя наблюдениями

 

 

«Зенит ОЦП», «Надир ОЦП», PZL

Высокоточное проектирование

3

100

Примечания: 1 В таблице приняты следующие обозначения:

H - высота, в метрах, контролируемой конструкции; S - расстояние от теодолита до контролируемого сечения; t - цена деления уровня.

2 Могут быть использованы модификации приборов отечественного и зарубежного производства, соответствующие по точности основным типам, приведенным в таблице Б.2, и более точные.

4 Погрешности основных методов и средств измерений отклонений от проектных отметок и заданного уклона

Таблица Б.4

Средство измерения

Метод измерения

Предельная погрешность определения превышений на станции, (±) мм

Диапазон измерений, м, не более

Нивелир по ГОСТ 10528, нивелирная рейка:

Геометрическое нивелирование

 

Расстояние от нивелира до реек:

Н-05; рейка РН-05

Высокоточное

0,5

50,0

Н-3, рейка РН-3

Точное

3,0

50,0

Н-10, рейки

РН-3, РН-10

Техническое

7,0

50,0

Гидростатический высотомер:

Гидростатическое нивелирование двойным наблюдением с перестановкой сосудов между наблюдениями

 

Превышение между точками:

точный

 

0,2

0,1

технический

 

3,0

0,5

Микронивелир:

Измерение двойным наблюдением с разворотом прибора на 180° между наблюдениями

 

Длина шага:

точный

 

0,2

1,0

технический

 

3,0

2,0

Примечание - Могут быть использованы модификации приборов отечественного и зарубежного производства, соответствующие по точности основным типам, приведенным в таблице, и более точные.

Приложение В

(Рекомендуемое)

Примеры расчета необходимой точности измерений и выбора методов и средств ее обеспечения

1 Задание. Передать проектную отметку +36,00 м по 3-му классу точности ГОСТ 21779 на монтажный горизонт строящегося панельного здания.

1.1 Определяем по ГОСТ 21779 значение допуска Dx = 10 мм.

1.2 Определяем по ГОСТ 26433.0 предельную и среднюю квадратическую погрешности измерения

 мм;  мм

и принимаем, что суммарные расчетные погрешности не должны превышать величин:

 мм;  мм.

1.3 Для передачи отметки принимаем метод геометрического нивелирования по схеме измерений приложения 1, пункт 6.1; при этом полагаем, что передача отметки производится двумя нивелирами, двумя нивелирными рейками и металлической рулеткой длиной 50 м и при одновременном снятии отсчетов по рулетке.

1.4 Определяем совокупность факторов, влияющих на суммарную погрешность результата измерений:

- установка пузырька уровня нивелира в нуль-пункт;

- отклонение от параллельности визирной оси и оси уровня (несоблюдение главного условия нивелира);

- отсчет по рейке (рулетке);

- компарирование рулетки;

- компарирование рейки;

- натяжение рулетки;

- установка рейки (рулетки) по вертикали.

1.5 Принимаем принцип равного влияния для всех факторов и, учитывая, что погрешности из-за отклонения реек и рулетки от вертикали оказывают систематическое влияние, а влияние погрешностей компарирования реек и рулетки в связи с одноразовым их применением в конкретном случае можно отнести к случайным, получим

 мм,

где r - количество факторов, оказывающих случайное воздействие на результат измерения;

u - то же, но систематическое.

1.6 Определяем допустимые средние квадратические погрешности регистрации и учета каждого из перечисленных факторов.

1.6.1 Установка пузырька уровня в нуль-пункт

,

где  - погрешность установки пузырька уровня в нуль-пункт;

l - расстояние от нивелира до рейки;

r - 206265.

Погрешность установки пузырька контактного уровня находится в пределах 0,04, где  - цена деления уровня.

Следовательно:

,

в связи с чем достаточно использовать нивелир с ценой деления уровня t £ . При использовании нивелира Н3, имеющего t = , будет двойной запас точности по данному фактору.

1.6.2 Отклонение от параллельности визирной оси и оси цилиндрического уровня

,

где s2 = si - погрешность из-за отклонения от параллельности визирной оси и оси цилиндрического уровня;

i - угол между визирной осью зрительной трубы и осью цилиндрического уровня;

S - неравенство плеч.

Полагая, что главное условие соблюдается с погрешностью , получим допустимое неравенство плеч

 м.

1.6.3 Отсчет по рейке (рулетке)

При снятии отсчетов по рейке с шашечными сантиметровыми делениями, установленной на расстоянии 50 м, ошибка однократного отсчета по рейке составит величину порядка ± 1 мм.

1.6.4 Компарирование

Относительная погрешность компарирования рулетки составит

.

То же, для рейки

,

где lо - длина рейки.

1.6.5 Натяжение рулетки

 Н,

где sr - погрешность определения натяжения;

si - погрешность измеряемого размера из-за погрешности натяжения;

l - измеряемый размер;

Е - модуль Юнга;

F - площадь поперечного сечения полотна рулетки.

При натяжении рулетки гирей следует учитывать массу рулетки.

1.6.6 Установка рейки и рулетки по вертикали

.

То же, для рулетки

,

где sу1, sу2 - погрешности установки рейки и рулетки по вертикали.

1.7 Выполняем анализ полученных погрешностей и назначаем методы и средства их обеспечения.

Используются два нивелира Н-3; двусторонние шашечные рейки с сантиметровыми делениями и рулетка металлическая длиной 50 м. Отсчеты по рейкам снимаются по черной и красной стороне при двух горизонтах приборов, в связи с чем погрешность отсчета составит величину  мм, что больше допустимых ± 0,35 мм. Однако это незначительное превышение можно компенсировать натяжением рулетки гирей, масса которой совместно с массой растянутого полотна рулетки определяется с точностью до ± 50 г, что в три раза уменьшит соответствующую погрешность, и установкой реек в вертикальное положение по круглому уровню с ценой деления 10¢, что также уменьшит соответствующую погрешность в 4 раза. Рулетка компарируется на стационарном компараторе с погрешностью ; длины сантиметровых, дециметровых и метровых интервалов на рейках определяются женевской линейкой, контрольным метром и др.

При соблюдении указанных мероприятий следует ожидать, что с вероятностью Р = 0,988 вынесенная в натуру отметка строительного репера будет находиться в пределах допуска Dх = 10 мм.

2 Задание. Выполнить передачу оси по вертикали на монтажный горизонт с отметкой Н = + 36 м по 3-му классу точности ГОСТ 21779.

2.1 Определяем по ГОСТ 21779 значение допуска Dх = 6 мм.

2.2 Определяем по ГОСТ 26433.0 предельную и среднюю квадратические погрешности измерения:

 = 0,4 × 6 = 2,4 мм;  = 2,4 : 2,5 = 0,96 мм

и принимаем, что суммарные расчетные погрешности не должны превышать величин:

 £ 2,4 мм;  £ 0,96 мм.

2.3 Для передачи оси по вертикали принимаем метод проектирования коллимационной плоскостью теодолита при двух положениях вертикального круга.

2.4 Определяем совокупность факторов, влияющих на суммарную погрешность результата измерений:

- поверка и юстировка цилиндрического уровня горизонтального круга;

- установка пузырька цилиндрического уровня горизонтального круга в нуль-пункт;

- центрирование теодолита на оси;

- визирование;

- отклонение от перпендикулярности визирной оси и оси вращения зрительной трубы (коллимационная погрешность);

- отклонение от перпендикулярности оси вращения зрительной трубы и вертикальной оси вращения прибора (неравенство подставок);

- фиксация оси на монтажном горизонте.

2.5 Принимаем принцип равного влияния для всех факторов и, учитывая, что первый из перечисленных выше факторов оказывает систематическое влияние, а пятый и шестой (коллимационная погрешность и неравенство подставок) исключаются проектированием при двух положениях вертикального круга, получим

 мм.

2.6 Определяем допустимые средние квадратические погрешности по регистрации и учету каждого из перечисленных факторов.

2.6.1 Поверка и юстировка уровня v1, установка пузырька уровня в нуль-пункт, v2:

,

где v1 - погрешность поверки и юстировки уровня;

v2 - погрешность установки пузырька уровня в нуль-пункт;

H - высота передачи;

r - 206265².

2.6.2 Центрирование теодолита

,

где е - погрешность центрирования;

d - расстояние на горизонтальной плоскости между точкой закрепления оси на исходном горизонте и проекцией на этот горизонт точки закрепления оси на монтажном горизонте;

D - горизонтальное расстояние от теодолита до точки закрепления оси на исходном горизонте.

При D = 40 м, d = 2 м имеем:

 мм.

2.6.3 Визирование

,

где  - увеличение зрительной трубы;

 - погрешность визирования невооруженным глазом на расстоянии наилучшего зрения (250 мм);

l - расстояние до точки визирования.

В данном случае

.

2.7 Выполняем анализ полученных погрешностей и назначаем следующие методы и средства их обеспечения.

При выборе теодолита следует учесть, что поверка уровня при алидаде горизонтального круга осуществляется с ошибкой порядка 0,2, где  - цена деления уровня, т.е. 0,2t = .

В связи с этим теодолит должен быть оснащен в данном случае уровнем с ценой деления

.

Приведенным выше условиям полностью отвечает теодолит Т2, имеющий увеличение зрительной трубы 25x и цену деления уровня при алидаде горизонтального круга  = .

Погрешность 0,55 мм фиксации оси на монтажном горизонте можно обеспечить прочерчиванием карандашом по гладкой поверхности.

При соблюдении указанных мероприятий следует ожидать, что с вероятностью P = 0,988 плановое положение ориентира, закрепляющего ось на монтажном горизонте + 36,0 м, будет в пределах допуска Dx = 6 мм.

Ключевые слова: правила выполнения измерения параметров (длин, отметок, превышений, горизонтальных и вертикальных углов, зазоров, уступов, эксцентриситетов), средства и методы измерений, отклонения от номинальных значений параметров, точность и погрешность средств и методов измерений, расчет необходимой точности

СОДЕРЖАНИЕ

1 Область применения. 1

2 Нормативные ссылки. 2

3 Обозначения. 2

4 Требования. 2

Приложение А Схемы и примеры применения средств и методов измерений. 5

Приложение Б Основные средства измерений геометрических параметров для производства строительных и монтажных работ. 28

Приложение В Примеры расчета необходимой точности измерений и выбора методов и средств ее обеспечения. 30