Бесплатная библиотека стандартов и нормативов www.docload.ru

Все документы, размещенные на этом сайте, не являются их официальным изданием и предназначены исключительно для ознакомительных целей.
Электронные копии этих документов могут распространяться без всяких ограничений. Вы можете размещать информацию с этого сайта на любом другом сайте.
Это некоммерческий сайт и здесь не продаются документы. Вы можете скачать их абсолютно бесплатно!
Содержимое сайта не нарушает чьих-либо авторских прав! Человек имеет право на информацию!

 

ГОСУДАРСТВЕННЫЙ СТАНДАРТ СОЮЗА ССР

ТРУБЫ ЧУГУННЫЕ

КАНАЛИЗАЦИОННЫЕ И ФАСОННЫЕ ЧАСТИ К НИМ

ТРОЙНИКИ ПРЯМЫЕ КОМПЕНСАЦИОННЫЕ

КОНСТРУКЦИЯ И РАЗМЕРЫ

ГОСТ 6942.13-80

 

ГОСУДАРСТВЕННЫЙ КОМИТЕТ СССР ПО ДЕЛАМ СТРОИТЕЛЬСТВА

Москва

 

РАЗРАБОТАНЫ Министерством промышленности строительных материалов СССР

ИСПОЛНИТЕЛИ

О.П. Михеев, канд. техн. наук (руководитель темы); В.И. Фельдман, канд., техн. наук; В.Н. Бехалов, канд. техн. наук

ВНЕСЕНЫ Министерством промышленности строительных материалов СССР

Зам. министра Н. П. Кабанов

УТВЕРЖДЕНЫ И ВВЕДЕНЫ В ДЕЙСТВИЕ Постановлением Государственного комитета СССР по делам строительства от 4 сентября 1980 г. № 137

 

ГОСУДАРСТВЕННЫЙ СТАНДАРТ СОЮЗА ССР

ТРУБЫ ЧУГУННЫЕ КАНАЛИЗАЦИОННЫЕ И ФАСОННЫЕ ЧАСТИ К НИМ ТРОЙНИКИ ПРЯМЫЕ КОМПЕНСАЦИОННЫЕ

Конструкция и размеры

Cast iron waste pipes and fittings. Compensation T-branches. Construction and dimensions

ГОСТ
942.13-80

 

Взамен
ГОСТ 6942.18-69

Постановлением Государственного комитета СССР по делам строительства от 4 сентября 1980 г. №137 срок введения установлен

с 01.01.1982 г.

Несоблюдение стандарта преследуется по закону

1. Настоящий стандарт распространяется на прямые компенсационные тройники к чугунным трубам, предназначенным для систем внутренней канализации зданий.

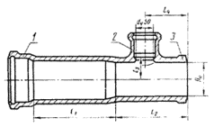
2. Конструкция и размеры прямых компенсационных тройников должны соответствовать указанным на чертеже и в таблице.

1 - раструб типа II по ГОСТ 6942.2-80; 2 - раструб типа I по ГОСТ 6942.2-80; 3 - хвостовик по ГОСТ 6942.2-80

Размеры в мм

Условный проход Dy

Код ОКП

l1

l2

l3

l4

Масса, кг

100

49 2522 3311

320

170

65

140

9,3

150

49 2523 3311

330

180

95

150

14,6

Примечание. Размеры и масса даны без учета антикоррозионного покрытия.

Пример условного обозначения прямого компенсационного тройника Dy = 100 мм, dy = 50 мм:

Тройник ТПК-100´50 ГОСТ 6942.13-80

3. Технические требования, правила приемки, методы контроля, маркировка, упаковка, транспортирование, хранение, гарантии изготовителя - по ГОСТ 6942.0-80.

 

 




Rambler's Top100 Яндекс цитирования
  Copyright © 2008-2026, www.docload.ru