Бесплатная библиотека стандартов и нормативов www.docload.ru

Все документы, размещенные на этом сайте, не являются их официальным изданием и предназначены исключительно для ознакомительных целей.
Электронные копии этих документов могут распространяться без всяких ограничений. Вы можете размещать информацию с этого сайта на любом другом сайте.
Это некоммерческий сайт и здесь не продаются документы. Вы можете скачать их абсолютно бесплатно!
Содержимое сайта не нарушает чьих-либо авторских прав! Человек имеет право на информацию!

 

ГОСУДАРСТВЕННЫЙ СТАНДАРТ СОЮЗА ССР

ГРУНТЫ

МЕТОД ЛАБОРАТОРНОГО ОПРЕДЕЛЕНИЯ
СТЕПЕНИ ПУЧИНИСТОСТИ

ГОСТ 28622-90

ГОСУДАРСТВЕННЫЙ СТРОИТЕЛЬНЫЙ КОМИТЕТ СССР

Москва

ГОСУДАРСТВЕННЫЙ СТАНДАРТ СОЮЗА ССР

ГРУНТЫ

Метод лабораторного определения
степени пучинистости

Soils. Laboratory method for determination of
frost-heave degree

ГОСТ
28622-90

Дата введения 01.09.90

Настоящий стандарт распространяется на пылевато-глинистые, крупнообломочные (с содержанием пылевато-глинистого заполнителя более 10 % общей массы), песчаные (с содержанием частиц мельче 0,05 мм более 2 % общей массы), биогенные и искусственные грунты и устанавливает метод лабораторного определения степени их пучинистости при исследованиях грунтов для строительства.

Стандарт не распространяется на засоленные грунты.

1. ОБЩИЕ ПОЛОЖЕНИЯ

1.1. Степень пучинистости грунта следует определять по значению относительной деформации морозного пучения efh, полученному по результатам испытаний образцов грунта в специальных установках, обеспечивающих промораживание образца исследуемого грунта в заданном температурном и влажностном режимах, и измерение перемещений его поверхности.

1.2. Степень пучинистости грунта в зависимости от efh приведена в таблице.

Степень пучинистости грунта

Относительная деформация морозного пучения образца грунта

Непучинистый

efh < 0,01

Слабопучинистый

0,01 £ efh < 0,04

Среднепучинистый

0,04 £ efh < 0,07

Сильнопучинистый

0,07 £ efh < 0,10

Чрезмерно пучинистый

0,10 £ efh

1.3. Испытания проводят на образцах грунта ненарушенного сложения с природной или заданной влажностью или на искусственно приготовленных образцах с заданной плотностью и влажностью, значения которых устанавливаются программой испытаний в зависимости от возможных изменений воднофизических свойств грунта в процессе строительства и эксплуатации сооружения.

1.4. Испытания проводят не менее чем для трех параллельных образцов исследуемого грунта.

1.5. Значение efh вычисляют как среднее арифметическое результатов параллельных определений. В случае, если разница между параллельными определениями превышает 30 %, число определений следует увеличить.

1.6. В процессе подготовки, проведения и обработки результатов испытаний ведут журнал, форма которого приведена в приложении 1.

2. ОТБОР И ПОДГОТОВКА ОБРАЗЦОВ ГРУНТА

2.1. Отбор, упаковка, транспортирование и хранение монолитов и образцов грунта нарушенного сложения должны производиться в соответствии с требованиями ГОСТ 12071.

2.2. В случае отбора грунта в мерзлом состоянии его предварительно оттаивают под давлением, равным давлению от собственного веса грунта на горизонте отбора монолита.

2.3. Образцы грунта, предназначенные для испытаний, должны иметь цилиндрическую форму диаметром не менее 100 мм и высотой (150 ± 5) мм. Размер крупноблочных включений в образце не должен превышать 20 мм.

2.4. Образец грунта ненарушенного сложения вырезают с помощью металлической формы, внутренние размеры которой соответствуют размерам образца грунта, методом режущего кольца, приведенным в ГОСТ 5180. С помощью приспособления для выдавливания образец грунта извлекают из формы и помещают в обойму установки для испытаний (п. 3.1). Неровности поверхности образца крупнообломочного грунта заполняют материалом заполнителя того же грунта.

2.5. Образец грунта нарушенного сложения с заданными значениями плотности и влажности приготавливают в разъемных формах методом послойного трамбования или под прессом в соответствии с методикой, изложенной в ГОСТ 12248. Разъемной формой должна служить обойма, помещаемая вместе с грунтом в установку для испытаний. Внутреннюю поверхность формы смазывают при изготовлении образца тонким слоем технического вазелина или покрывают слоем антифрикционного материала (например, полиэтиленовой или фторопластовой пленкой).

2.6. Образцы, искусственно приготовленные из пылевато-глинистого грунта, предварительно промораживают и оттаивают при подтоке воды в промерзающий грунт. Число циклов промораживания - оттаивания должно быть не менее двух.

2.7. Торцевые поверхности образцов должны быть плоскими и параллельными между собой и иметь ориентацию, соответствующую природному залеганию.

3. ОБОРУДОВАНИЕ И ПРИБОРЫ

3.1. В состав установки для определения относительной деформации морозного пучения должны входить:

устройство для создания, поддержания и контролирования заданных условий промораживания образца грунта (верхняя и нижняя термостатированные плиты, жидкостной ультратермостат или термоэлектрическая батарея, термоконтакторы, термопары и т.д.);

механизм для вертикального нагружения образца грунта (рычажные, гидравлические, пневматические, электромеханические и др. прессы);

устройство для измерения вертикальных деформаций образца грунта (приборы для автоматической записи деформаций, индикатор часового типа и т.д.);

обойма для помещения образца грунта;

устройство, обеспечивающее непрерывный порядок воды к нижнему торцу образца грунта (поддон для обоймы, заполненный капиллярно-пористым материалом, и система подачи воды);

теплоизоляционный кожух.

Принципиальная схема установки приведена в приложении 2.

3.2. Конструкция установки должна обеспечивать:

промораживание образца грунта при температуре на верхнем его торце минус (4 ± 0,2) °С и при монотонном понижении температуры на нижнем торце образца от плюс 1 до 0 °С, что обеспечивается автоматическим поддержанием температуры нижней термостатированной плиты плюс (1 ± 0,2) °С;

возможность вертикального нагружения образца грунта давлением, равным давлению от собственного веса грунта на горизонте отбора образца, или давлением, равным предполагаемому давлению от постоянных нагрузок на заданной глубине, но не более 0,05 МПа;

термическое сопротивление теплоизоляционного кожуха не менее 0,8 м2 × К/Дж.

3.3. Измерительные устройства (приборы) должны обеспечивать:

измерение вертикальной деформации образца грунта с погрешностью не более 0,1 мм;

измерение температуры образца грунта с погрешностью не более 0,2 °С.

3.4. Обойму цилиндрической формы для помещения образца грунта изготавливают из малотеплопроводного материала (например, органического стекла). Обойма должна состоять из отдельных колец высотой 2 - 5 см, соединенных между собой, и иметь внутренний диаметр не менее 100 и высоту 150 мм.

3.5. В качестве капиллярно-пористого материала для поддона обоймы может быть использован чистый мелкозернистый песок, карборунд и т.п. Высота слоя капиллярно-пористого материала должна составлять 50 мм.

4. ПРОВЕДЕНИЕ ИСПЫТАНИЙ

4.1. Образец грунта в обойме, смазанной внутри тонким слоем технического вазелина или покрытой слоем антифрикционного материала, помещают в установку на увлажненный капиллярно-пористый материал поддона и проводят следующие операции:

на верхний торец образца устанавливают термостатированную плиту;

проверяют положение штока механизма для нагружения образца по отношению к центру образца;

устанавливают прибор для измерения вертикальных деформаций образца грунта;

подключают систему непрерывного подтока воды к образцу;

к образцу грунта плавно, не допуская ударов, прикладывают нагрузку, создавая давление в соответствии с указаниями п. 3.2;

записывают начальные показания приборов.

4.2. Установку помещают в холодильную камеру и выдерживают при температуре плюс (1 ± 0,5) °С не менее суток.

4.3. Включают автоматизированную систему для задания температурного режима промораживания образца (п. 3.2).

4.4. В ходе испытания через каждые 12 ч снимают показания приборов для измерения вертикальной деформации образца грунта и температуры верхней и нижней термостатированной плиты.

Примечание. Во избежание переохлаждения грунта через 12 ч с начала испытания следует вызвать начало кристаллизации влаги в образце легким постукиванием по верхней термостатированной плите.

4.5. Во время испытания необходимо следить за непрерывностью подтока воды к образцу.

Примечание. В обоснованных случаях допускается проведение испытаний без увлажнения образца грунта. При этом между образцом и капиллярно-пористым материалом укладывают влагонепроницаемую пленку.

4.6. Испытание прекращают при достижении температуры 0 °С на нижнем торце образца.

4.7. Сразу после окончания испытания образец извлекают из обоймы, разрезают вдоль вертикальной оси, измеряют фактическую толщину промерзшего слоя (за исключением зоны пластично-мерзлого грунта) и описывают его криогенную текстуру.

5. ОБРАБОТКА РЕЗУЛЬТАТОВ

Относительную деформацию морозного пучения образца грунта efh вычисляют с точностью 0,01 по формуле

efh = hf / di,

где hf - вертикальная деформация образца грунта в конце испытания, мм;

di - фактическая толщина промерзшего слоя образца грунта, мм.

ПРИЛОЖЕНИЕ 1

Рекомендуемое

ЖУРНАЛ
испытаний грунта для определения степени пучинистости

Объект ___________________________________________________________________

Номер выработки __________________________________________________________

Глубина отбора образца _______________ Дата отбора __________________________

Лабораторный номер образца ________________________________________________

Наименование грунта _______________________________________________________

Сложение грунта ___________________________________________________________

Условия проведения испытаний ______________________________________________

__________________________________________________________________________

Диаметр образца d ______________________ Высота образца h ___________________

Площадь образца А ______________________

Плотность грунта _______________________ Влажность грунта ___________________

Дата испытания

Время отсчета, ч

Вертикальная нагрузка

Вертикальная деформация пучения hf, мм

Толщина промерзшего слоя di, мм

Относительная деформация пучения efh

Степень пучинистости

Нагрузка на рычаг F, МН (кгс), или показание динамометра

Давление в образце , МПа (кгс/см2)

1

2

3

4

5

6

7

8

 

 

 

 

 

 

 

 

n - отношение плеч рычага

Руководитель лаборатории ___________________________________________________

подпись, инициалы, фамилия

Ответственный исполнитель __________________________________________________

должность, подпись, инициалы, фамилия

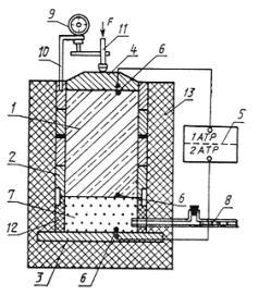
ПРИЛОЖЕНИЕ 2

Рекомендуемое

Принципиальная схема установки для определения степени пучинистости грунтов

1 - образец грунта; 2 - обойма; 3 - нижняя термостатированная плита; 4 - верхняя термостатированная плита; 5 - блок автоматического терморегулирования; 6 - датчики температуры; 7 - капиллярно-пористый материал; 8 - устройство для подачи воды; 9 - индикатор перемещения; 10 - кронштейн; 11 - шток механизма для нагружения образца грунта; 12 - поддон обоймы; 13 - теплоизоляционный кожух

Информационные данные

1. РАЗРАБОТАН И ВНЕСЕН Производственным и научно-исследовательским институтом по инженерным изысканиям в строительстве (ПНИИИС) НПО "Стройизыскания" Госстроя РСФСР

РАЗРАБОТЧИКИ

В.О. Орлов, д-р техн. наук; В.Г. Чеверев, канд. геол.-минер. наук (руководители темы); В.Х. Ким, канд. техн. наук; И.В. Шейкин, канд. техн. наук; Ю.В. Сафронов, канд. техн. наук; А.И. Левкович, канд. геол.-минер. наук; Ю.А. Попов; Э.Д. Ершов, д-р геол.-минер. наук; Ю.П. Лебеденко, канд. геол.-минер. наук; В.Я. Лапшин, канд. техн. наук; Л.Б. Ганелес, канд. техн. наук; М.А. Минкин, канд. геол.-минер. наук; Н.А. Шилин; В.И. Рувинский, д-р техн. наук; О.Н. Сильницкая

2. УТВЕРЖДЕН И ВВЕДЕН В ДЕЙСТВИЕ Постановлением Государственного строительного комитета СССР от 18.05.90 № 43

3. ВВЕДЕН ВПЕРВЫЕ

4. ССЫЛОЧНЫЕ НОРМАТИВНО-ТЕХНИЧЕСКИЕ ДОКУМЕНТЫ

СОДЕРЖАНИЕ

 




Rambler's Top100 Яндекс цитирования
  Copyright © 2008-2026, www.docload.ru