ГОСУДАРСТВЕННЫЙ СТАНДАРТ СОЮЗА
ССР
КОЛОННЫ ЖЕЛЕЗОБЕТОННЫЕ
ДЛЯ ОДНОЭТАЖНЫХ ЗДАНИЙ
ПРЕДПРИЯТИЙ
ТЕХНИЧЕСКИЕ
УСЛОВИЯ
ГОСТ
25628-90
ГОСУДАРСТВЕННЫЙ СТРОИТЕЛЬНЫЙ
КОМИТЕТ СССР
Москва
ГОСУДАРСТВЕННЫЙ
СТАНДАРТ СОЮЗА ССР
|
КОЛОННЫ ЖЕЛЕЗОБЕТОННЫЕ
Технические
условия Reinforced
concrete columns for single-story industrial buildings.
Specifications |
ГОСТ
|
Дата введения
01.01.91
Настоящий стандарт
распространяется на железобетонные колонны сплошного прямоугольного поперечного
сечения и двухветвевые (далее колонны), изготовляемые из тяжелого бетона и
предназначенные для каркасов одноэтажных зданий предприятий всех отраслей
промышленности и народного хозяйства, за исключением зданий гражданского
строительства. Колонны применяют в соответствии с указаниями рабочих чертежей
конкретного здания.
1.1. Колонны следует
изготовлять в соответствии с требованиями настоящего стандарта и технологической
документации, утвержденной предприятием-изготовителем, по рабочим чертежам серий
1.423-2, 1.423.1-3/88, 1.423.1-5/88, 1.423.1-7, 1.424.1-5, 1.424.1-6/89,
1.424.1-9, 1.424.1-10, 1.427.1-3, 1.427.1-5, 1.427.1-6, 1.823.1-2 и шифров
4H-79,
15-74.
1.2. Основные параметры и
размеры
1.2.1. Колонны сплошного
прямоугольного поперечного сечения подразделяют на
типы.
К - для каркасов зданий без
мостовых опорных и подвесных кранов и зданий, оборудованных подвесными кранами,
при стропильных конструкциях покрытий с прямолинейным нижним
поясом;
КС - то же, при стропильных
конструкциях покрытий с провисающим нижним поясом;
КК - для каркасов зданий,
оборудованных мостовыми электрическими опорными кранами, при стропильных
конструкциях покрытий с прямолинейным нижним поясом;
ККС - то же, при стропильных
конструкциях покрытий с провисающим нижним поясом;
ККП - для каркасов зданий,
оборудованных мостовыми электрическими опорными кранами, с проходами в уровне
крановых путей, при стропильных конструкциях покрытий с прямолинейным нижним
поясом;
КР - для каркасов зданий,
оборудованных мостовыми ручными опорными кранами, при стропильных конструкциях
покрытий с прямолинейным нижним поясом;
КФ - для фахверков стеновых
ограждений зданий (фахверковые колонны).
1.2.2. Двухветвевые колонны
подразделяют на типы:
КД - для каркасов зданий,
оборудованных электрическими опорными и подвесными кранами и зданий без
кранов;
КДП - для каркасов зданий,
оборудованных мостовыми электрическими опорными кранами, с проходами в уровне
крановых путей;
КДФ - для фахверков стеновых
ограждений зданий (фахверковые колонны).
1.2.3. Форма и основные размеры
колонн должны соответствовать указанным в
приложении.
1.2.4. Показатели расхода бетона
и стали на колонны должны соответствовать указанным в рабочих чертежах на эти
колонны.
1.2.5. Колонны следует
изготовлять со строповочными отверстиями для подъема и монтажа. Допускается
вместо строповочных отверстий предусматривать монтажные петли, выполненные в
соответствии с указаниями рабочих чертежей на эти
колонны.
1.2.6. Колонны применяют с учетом
их предела огнестойкости, указанного в рабочих чертежах на эти
колонны.
1.2.7. Колонны обозначают марками
в соответствии с требованиями ГОСТ
23009. Марка колонны состоит из
буквенно-цифровых групп, разделенных дефисами.
В первой группе указывают
обозначение типоразмера колонны. Буквы обозначают тип колонны. Цифры перед
буквами обозначают порядковый номер типоразмера колонны для данной высоты
здания, после букв - высоту здания, а для фахверковых колони и основных колонн,
устанавливаемых в фундаменты, верх которых заглублен на 500 мм и ниже, - длину
колонны в дециметрах.
Во второй группе указывают
порядковый номер колонн по несущей способности, класс напрягаемой арматуры (для
предварительно напряженных колонн).
В третью группу, при
необходимости, включают дополнительные характеристики, отражающие особые условия
применения колонн и их стойкость к воздействию агрессивной газообразной среды,
сейсмическим и другим воздействиям, а также обозначения конструктивных
особенностей колонн (наличие дополнительных закладных изделий и
др.).
Пример
условного обозначения (марки) колонны типоразмера
2К120, второй по несущей способности, с напрягаемой арматурной сталью класса
А-IV:
2K120-2AIV
То же, типоразмера 5КК144, первой по несущей способности, изготовленной из бетона пониженной проницаемости (П) и предназначенной для применения в условиях воздействия среднеагрессивной газообразной среды, с закладными изделиями для крепления стропильных конструкций:
5КК144-1-Па
То же, типоразмера 5КД18,
двадцать восьмой по несущей способности, с закладными изделиями для крепления
стропильных конструкций:
5КД18-28-а
Примечание. Допускается принимать обозначение марок колонн в соответствии с рабочими чертежами на эти колонны до их пересмотра.
1.3.Характеристики
1.3.1. Колонны должны
удовлетворять требованиям ГОСТ
13015.0:
по прочности, жесткости и
трещиностойкости; при этом требования по испытанию колонн нагружением не
предъявляют;
по показателям фактической
прочности бетона на сжатие (передаточной отпускной и в проектном
возрасте);
по морозостойкости бетона, а
для колонн, эксплуатируемых в условиях воздействия агрессивной газообразной
среды, - также по водонепроницаемости бетона;
к маркам сталей для
арматурных и закладных изделий, в том числе для монтажных
петель;
по толщине защитного слоя
бетона до арматуры;
по защите от
коррозии.
1.3.2. Колонны следует
изготовлять из тяжелого бетона по ГОСТ
26633 классов или марок по
прочности на сжатие, указанных в рабочих чертежах на эти
колонны.
1.3.3. Передачу усилий обжатия на
бетон (отпуск натяжения арматуры) в предварительно напряженных колоннах следует
производить после достижения бетоном требуемой передаточной
прочности.
Нормируемая передаточная
прочность бетона колонн в зависимости от класса или марки бетона, вида и класса
напрягаемой арматурной стали должна соответствовать указанной в рабочих чертежах
на эти колонны.
1.3.4. Нормируемая отпускная
прочность бетона колонн с напрягаемой арматурой должна быть равна нормируемой
передаточной прочности бетона, а колонн с ненапрягаемой арматурой - 70 % класса
или марки бетона по прочности на сжатие.
При поставке колонн в
холодный период года нормируемая отпускная прочность бетона колонн может быть
повышена до 90 % класса или марки бетона по прочности на сжатие согласно
указаниям рабочих чертежей на эти колонны.
1.3.5. Для армирования колонн
следует применять арматурную сталь следующих видов и
классов:
в качестве напрягаемой
арматуры - термомеханически упрочненную стержневую класса Ат-IVС по ГОСТ 10884, горячекатаную
стержневую классов A-V, A-IV по ГОСТ 5781 и стержневую
класса А-IIIв, изготовляемую из
арматурной стали класса А-III по ГОСТ 5781 путем упрочнения
вытяжкой с контролем удлинений и напряжений;
в качестве ненапрягаемой
арматуры - термомеханически упрочненную стержневую классов Ат-IVС и Ат-IIIС по ГОСТ 10884, стержневую
горячекатаную периодического профиля класса А-III и гладкую класса
А-I по ГОСТ 5781, арматурную
проволоку обыкновенную периодического профиля класса Вр I по ГОСТ 6727, повышенной
прочности класса Врп-I по ТУ
14-4-1322.
1.3.6. Значения напряжений в
напрягаемой арматуре, контролируемые по окончании натяжения ее на упоры, а также
допустимые предельные отклонения напряжений в напрягаемой арматуре должны
соответствовать приведенным в рабочих чертежах на
колонны.
1.3.7. Форма и размеры арматурных
и закладных изделий и их положение в колоннах должны соответствовать указанным в
рабочих чертежах на эти колонны. Сварные арматурные и закладные изделия должны
удовлетворять требованиям ГОСТ
10922.
1.3.8. Значения действительных
отклонений геометрических параметров колонн не должны превышать предельных,
указанных в табл. 1.
1.3.9. Требования к качеству
бетонных поверхностей и внешнему виду колонн - по ГОСТ
13015.0. При этом качество бетонных
поверхностей колонн должно удовлетворять требованиям, установленным для
категории А6.
1.3.10. В бетоне колонн,
поставляемых потребителю, трещины не допускаются, за исключением усадочных и
других поверхностных технологических трещин, ширина которых не должна превышать
0,25 мм.
1.3.11. Концы напрягаемой арматуры
не должны выступать за торцевые поверхности колонн более чем на 10 мм. Они
должны быть защищены слоем цементно-песчаного раствора или битумным
лаком.
Таблица 1
мм
|
Наименование геометрического параметра |
Пред. откл. | |
|
Отклонение от линейного размера |
Длина колонны и размер от торца колонны до опорной плоскости консоли: |
|
|
до 4000 включ. |
± 12 | |
|
св. 4000 » 8000
» |
±
15 | |
|
» 8000 » 16000
» |
± 20 | |
|
» 16000 |
± 25 | |
|
Размер поперечного сечения колонны или ветви двухветвевой колонны: |
| |
|
до 250 включ. |
± 4 | |
|
св. 250 » 500
» |
±
5 | |
|
» 500 |
±
6 | |
|
Общая высота поперечного сечения нижней части двухветвевой колонны: |
| |
|
до 1600 включ. |
±
8 | |
|
св. 1600 |
± 10 | |
|
Размер, определяющий положение: |
| |
|
строповочного отверстия или монтажной петли |
15 | |
|
закладного изделия на плоскости колонны для элемента закладного изделия длиной: |
| |
|
до 100 мм включ. |
5 | |
|
св. 100 мм |
10 | |
|
Несовпадение плоскостей колонны и элемента закладного изделия |
3 | |
|
Отклонение от прямолинейности профиля
боковых граней на всей длине колонны длиной: |
- |
|
|
до 4000 включ. |
8 | |
|
св. 4000 », 8000
» |
10 | |
|
» 8000 » 16000
» |
12 | |
|
» 16000 |
15 | |
|
Отклонение от перпендикулярности торцевой и боковых граней колонны при размере ее поперечного сечения: |
|
|
|
до 250 включ. |
4 | |
|
св. 250 » 500
» |
5 | |
|
» 500 |
6 |
1.3.12. На боковых гранях колонн
должны быть нанесены установочные риски по ГОСТ
13015.2 в бетоне или в закладных
изделиях в виде канавок или несмываемой краской, определяющие разбивочные оси
здания, а на консолях - установочные риски, определяющие оси подкрановых
балок.
1.4. Маркировка
Маркировка колонн - по ГОСТ 13015.2. Маркировочные
надписи и знаки следует наносить на видимую при хранении и монтаже боковую
поверхность колонны вблизи ее нижнего торца.
2.1. Приемка колонн - по
ГОСТ
13015.1 и настоящему стандарту. При
этом колонны принимают по результатам:
периодических испытаний - по
показателям морозостойкости, а также по водонепроницаемости бетона колонн,
предназначенных для эксплуатации в условиях воздействия агрессивной газообразной
среды;
приемо-сдаточных испытаний -
по показателям прочности бетона (классу или марке бетона порочности на сжатие,
передаточной и отпускной прочности), соответствия арматурных и закладных изделий
рабочим чертежам, прочности сварных соединений, точности геометрических
параметров, толщины защитного слоя бетона до арматуры, ширины раскрытия
поверхностных технологических трещин, категории бетонной поверхности,
правильности нанесения установочных рисок.
Приемку колонн по прочности,
жесткости и трещиностойкости осуществляют по комплексу нормируемых и проектных
показателей в соответствии с требованиями ГОСТ
13015.1.
2.2. Колонны типов КС и КР, а
также К и КФ длиной до 12 000 мм включ. по показателям точности геометрических
параметров, толщины защитного слоя бетона до арматуры, категории бетонной
поверхности и ширины раскрытия поверхности технологических трещин следует
принимать по результатам выборочного контроля.
Колонны типов КК, ККС, ККП,
КД и КДФ, а также К и КФ длиной более 12 000 мм по указанным показателям следует
принимать по результатам сплошного контроля.
2.3. Правильность нанесения
установочных рисок на колонны проверяют по результатам сплошного
контроля.
2.4. В документе о качестве
колонн по ГОСТ
13015.3 дополнительно должны быть
приведены марка бетона по морозостойкости, а для колонн, предназначенных для
эксплуатации в условиях воздействия агрессивной газообразной среды - марка
бетона по водонепроницаемости (если эти показатели оговорены в заказе на
изготовление колонн).
3.1. Прочность бетона колонн
следует определять по ГОСТ
10180 на серии образцов,
изготовленных из бетонной смеси рабочего состава и хранившихся в условиях,
установленных ГОСТ
18105.
При проверке прочности
бетона методами неразрушающего контроля фактическую передаточную и отпускную
прочность бетона на сжатие определяют ультразвуковым методом по ГОСТ 17624 или приборами
механического действия по ГОСТ 22690. Допускается
применение других методов неразрушающего контроля, предусмотренных стандартами
на методы испытания бетона.
3.2. Морозостойкость бетона
колонн следует определять по ГОСТ
10060 или ультразвуковым методом
по ГОСТ
26134 на серии образцов,
изготовленных из бетонной смеси рабочего
состава.
3.3. Водонепроницаемость бетона
колонн следует определять по ГОСТ
12730.0 и ГОСТ
12730.5.
3.4. Контроль сварных
арматурных и закладных изделий - по ГОСТ
10922 и ГОСТ
23858.
3.5. Силу натяжения арматуры,
контролируемую по окончании натяжения, измеряют по ГОСТ
22362.
3.6. Размеры и отклонения от
прямолинейности, перпендикулярности поверхностей колонн, ширину раскрытия
поверхностных технологических трещин, размеры раковин, наплывов и околов бетона
колонн следует проверять методами, установленными ГОСТ
26433.0 и ГОСТ
26433.1
3.7. Размеры и положение
арматурных и закладных изделий, а также толщину защитного слоя бетона до
арматуры следует определять по ГОСТ
17625 и ГОСТ
22904.
4.1. Транспортирование и
хранение колонн - по ГОСТ
13015.4 и настоящему
стандарту.
4.2. Колонны следует
транспортировать и хранить в горизонтальном положении в штабелях с опиранием на
подкладки и прокладки в соответствии со схемами, приведенными в рабочих чертежах
на колонны.
Высота штабеля колонн при их
хранении не должна превышать ширину штабеля более чем в два раза и не должна
быть более 2500 мм.
4.3. Все подкладки и прокладки
должны иметь одинаковую толщину не менее 40 мм, ширину - не менее 150 мм, длину
- на 100 мм больше ширины боковой грани
колонны.
4.4. Подъем колонн следует
осуществлять с применением специальных траверс с захватом за строповочные
отверстия или монтажные петли.
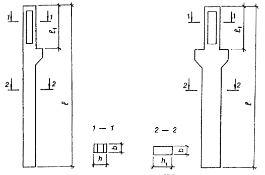
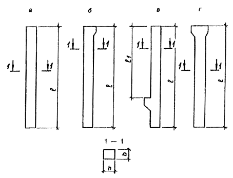
Обязательное
Колонны типа К для зданий
высотой 3,0 - 9,6 м (серия 1.4231-3/88)
1. Форма и основные размеры
колонн приведены:
типа К для зданий высотой
3,0 - 9,6 м
(серия 1.423.1-3/88)
- на черт. 1 и в табл.
2;
» для зданий высотой 10,8 -
14,4 м
(серия 1.423 1-5/88)
- на черт. 1 и в табл.
3;
» предварительно напряженные для
зданий высотой 4,8 - 14,4 м
(серия 1.423.1-7)
- на черт. 1 и в табл.
4;
» для сельскохозяйственных зданий
высотой 2,4 - 7,2 м (серия
1.823.1-2)
- на черт. 1 и в табл.
5;
» для сельскохозяйственных зданий
высотой 2,4 м (шифр 4Н-79)
- на черт. 1 и в табл.
6;
типа КС для зданий высотой
4,8; 6,0; 7,2 и
8,4 м (шифр 15-74)
- на черт. 1 и в табл. 7;
типа КК для зданий высотой
8,4 - 14,4 м
(серия 1,424.1-5)
- на черт. 2 и в табл.
8;
типа ККС для зданий высотой
8,4; 9,6 и
10,8 м (шифр 15-74)
- на черт. 2 и в табл. 9;
типа ККП для зданий высотой
10,8 - 14,4 м
(серия 1.424.1-6/89)
- на черт. 3 и в табл.
10;
типа КР для зданий высотой
6,0 - 9,6 м
(серия 1.423-2)
- на черт. 4 и в табл.
11;
типа КФ для зданий высотой
3,0 - 14,0 м
(серия 1.427.1-3)
- на черт. 5 и в табл.
12;
» предварительно напряженные
для
зданий высотой 4,8 - 12,0
м
(серия 1.427.1-5)
- на черт. 5 и в табл.
13;
типа КД для зданий высотой
15,6; 16,8 и
18,0 м (серия 1.424.1-9)
- на черт. 6 и в табл. 14;
типа КДП для зданий высотой
15,6; 16,8 и
18,0 м (серия 1.424.1-10)
- на черт. 7 и в табл. 15;
типа КДФ для зданий высотой
15,6; 16,8 и
18,0 м (серия 1.427.1-6)
- на черт. 6 и в табл. 16.
2. В табл. 2, 3, 8, 10, 14 и 15 в скобках приведены размеры
колонн, предназначенных для опирания на них железобетонных подстропильных
конструкций высотой на опоре 700 мм.
3. В табл. 14 в графе «Грузоподъемность
крана» обозначение Б/К принято для зданий с подвесными кранами и без
кранов.
Таблица 2
Колонны типа К для зданий
высотой 3,0 - 9,6 м (серия 1.423.1-3/88)
|
Типоразмер колонны |
Основные размеры колонны, мм |
Номер чертежа | |||
|
l |
b |
h | |||
|
3,0 |
1К30 |
3800 |
300 |
300 |
1a |
|
2К30 |
1г | ||||
|
3,6 |
1К36 |
4400 |
1a | ||
|
2К36 |
1г | ||||
|
4,2 |
1К42 |
5000 |
1a | ||
|
2К42 |
1г | ||||
|
4,8 |
1К48 |
5600 |
300 |
1a | |
|
2К48 |
400 | ||||
|
3К48 |
5700 |
400 |
500 |
1б | |
|
4К48 |
5600 |
300 |
300 |
1г | |
|
5К48 |
400 | ||||
|
6К48 |
5700 |
500 |
500 | ||
|
7К48 |
5100 (5000) | ||||
|
5,4 |
1К54 |
6200 |
300 |
300 |
1a |
|
2К54 |
1г | ||||
|
6,0 |
1К60 |
6800 |
400 |
1а | |
|
2К60 |
6900 |
400 | |||
|
3К60 |
500 |
1б | |||
|
4К60 |
6800 |
300 |
400 |
1г | |
|
5К60 |
6900 |
400 | |||
|
6К60 |
500 |
500 | |||
|
7К60 |
6300 (6200) | ||||
|
6,6 |
1К66 |
7400 |
300 |
400 |
1а |
|
2К66 |
7500 |
400 | |||
|
3К66 |
500 |
1б | |||
|
4К66 |
7400 |
300 |
400 |
1г | |
|
5К66 |
7500 |
400 | |||
|
6К66 |
500 |
500 | |||
|
7К66 |
6900 (6800) | ||||
|
7,2 |
1К72 |
8100 |
400 |
400 |
1а |
|
2К72 |
500 |
500 | |||
|
3К72 |
1б | ||||
|
4К72 |
400 |
400 |
1г | ||
|
5К72 |
500 |
500 | |||
|
6К72 |
7500 (7400) |
500 |
500 | ||
|
7,8 |
1К78 |
8700 |
400 |
400 |
1а |
|
2К78 |
500 |
500 | |||
|
3К78 |
1б | ||||
|
4К78 |
400 |
400 |
1г | ||
|
5К78 |
500 |
500 | |||
|
6К78 |
8100 (8000) | ||||
|
8,4 |
1К84 |
9300 |
400 |
400 |
1а |
|
2К84 |
500 | ||||
|
3К84 |
500 | ||||
|
4К84 |
1б | ||||
|
5К84 |
400 |
500 |
1г | ||
|
6К84 |
500 |
600 |
1а | ||
|
7К84 |
8700 (8600) |
500 |
1г | ||
|
8К84 |
600 |
1а | |||
|
9К84 |
9300 |
500 |
1г | ||
|
9,6 |
1К96 |
10500 |
400 |
400 |
1а |
|
2К96 |
500 | ||||
|
3К96 |
500 | ||||
|
4К96 |
600 | ||||
|
6К96 | |||||
|
8К96 | |||||
|
5К96 |
500 |
1б | |||
|
7К96 |
1г | ||||
|
9К96 |
9900 (9800) |
600 |
1а | ||
Таблица 3
Колонны типа К для зданий
высотой 10,8 - 14,4 м (серия 1.423.1-5/88)
|
Типоразмер колонны |
Основные размеры колонны, мм |
Номер чертежа | |||
|
l |
b |
h | |||
|
10,8 |
1К108 |
11700 |
400 |
500 |
1а |
|
2К108 |
11850 |
700 | |||
|
3К108 |
11250 (11150) |
1г | |||
|
12,0 |
1К120 |
12900 |
500 |
1а | |
|
2К120 |
13050 |
700 | |||
|
3К120 |
12450 (12350) |
1г | |||
|
13,2 |
1К132 |
14100 |
600 |
1а | |
|
2К132 |
14250 |
800 | |||
|
3К132 |
13650 (13550) |
1г | |||
|
14,4 |
1К144 |
15300 |
600 |
1а | |
|
2К144 |
15450 |
800 | |||
|
3К144 |
14850 (14750) |
1г | |||
Таблица 4
Колонны типа К
предварительно напряженные для зданий высотой 4,8 - 14,4 м (серия
1.423.1-7)
|
Типоразмер колонны |
Основные размеры колонны, мм |
Номер чертежа | |||
|
l |
b |
h | |||
|
4,8 |
1К48 |
5600 |
300 |
300 |
1а |
|
2К48 |
400 | ||||
|
3К48 |
5600 |
300 |
300 |
1г | |
|
4К48 |
400 | ||||
|
5К48 |
5100 |
400 | |||
|
6К48 |
500 | ||||
|
7К48 |
5700 |
400 | |||
|
8К48 |
500 | ||||
|
5,4 |
1К54 |
6200 |
300 |
300 |
1а |
|
2К54 |
1г | ||||
|
6,0 |
1К60 |
6800 |
1а | ||
|
2К60 |
400 | ||||
|
3К60 |
6900 |
400 | |||
|
4К60 |
6800 |
300 |
1г | ||
|
5К60 |
6900 |
400 | |||
|
6К60 |
6300 | ||||
|
7К60 |
500 | ||||
|
8К60 |
6900 | ||||
|
6,6 |
1К66 |
6900 |
400 |
500 |
1г |
|
2К66 |
7400 |
300 |
400 |
1а | |
|
3К66 |
7500 |
400 | |||
|
4К66 |
1г | ||||
|
5К66 |
500 | ||||
|
7,2 |
1К72 | ||||
|
2К72 |
8000 |
300 |
400 |
1а | |
|
3К72 |
8100 |
400 | |||
|
4К72 |
1г | ||||
|
5К72 |
500 | ||||
|
7,8 |
1К78 |
8700 |
400 |
1а | |
|
2К78 |
500 | ||||
|
3К78 |
400 |
1г | |||
|
4К78 |
500 | ||||
|
5К78 |
8100 |
500 | |||
|
6К78 |
8700 | ||||
|
8,4 |
1К84 |
8700 |
500 |
500 |
1г |
|
2К84 |
9300 |
400 |
400 |
1а | |
|
3К84 |
500 | ||||
|
4К84 |
400 |
1г | |||
|
5К84 |
500 | ||||
|
6К84 |
500 | ||||
|
9,6 |
1К96 |
10500 |
400 |
400 |
1а |
|
2К96 |
500 |
| |||
|
3К96 |
500 |
1г | |||
|
4К96 |
600 |
1а | |||
|
5К96 |
9900 | ||||
|
10,8 |
1К108 |
11700 |
400 |
500 | |
|
2К108 |
600 | ||||
|
3К108 |
11250 |
700 | |||
|
4К108 |
11850 | ||||
|
12,0 |
1К120 |
12900 |
500 | ||
|
2К120 |
12900 |
600 |
1а | ||
|
3К120 |
12450 |
700 | |||
|
4К120 |
13050 | ||||
|
13,2 |
1К132 |
14100 |
600 | ||
|
2К132 |
14250 |
700 | |||
|
3К132 |
13650 |
800 | |||
|
4К132 |
14250 | ||||
|
14,4 |
1К144 |
15300 |
600 | ||
|
2К144 |
15450 |
700 | |||
|
3К144 |
14850 |
800 | |||
|
4К144 |
15450 | ||||
Таблица
5
Колонны типа К для
сельскохозяйственных зданий высотой 2,4 - 7,2 м (серия
1.823.1-2)
|
Типоразмер колонны |
Основные размеры колонны, мм |
Номер чертежа | |||
|
l |
b |
h | |||
|
2,4 |
1К33 |
3300 |
200 |
200 |
1a |
|
2К33 |
300 |
300 | |||
|
3К33 |
3300 |
200 |
200 |
1г | |
|
4К33 |
300 |
300 | |||
|
2,4; 2,7 |
3К36 |
3600 |
200 |
200 |
1a |
|
4К36 |
300 |
300 | |||
|
5К36 |
200 |
200 |
1г | ||
|
6К36 |
300 |
300 | |||
|
2,4; 2,7;
3,0 |
1К39 |
3900 |
200 |
200 |
1а |
|
2К39 |
300 |
300 | |||
|
3К39 |
200 |
200 |
1г | ||
|
4К39 |
300 |
300 | |||
|
2,7; 3,0 |
1К42 |
4200 |
1а | ||
|
2К42 |
1г | ||||
|
3,0; 3,6 |
1К45 |
4500 |
1а | ||
|
2К45 |
400 |
400 | |||
|
3К45 |
300 |
300 |
1г | ||
|
3,6 |
4К45 |
4500 |
400 |
400 |
1г |
|
8К48 |
4800 |
300 |
300 |
1а | |
|
9К48 |
1г | ||||
|
1К51 |
5100 |
1а | |||
|
2,4; 2.7;
3,6 |
2К51 |
1г | |||
|
2,4; 2,7;
3,0 |
3К54 |
5400 | |||
|
4,8 |
1К57 |
5700 |
300 |
300 |
1а |
|
2К57 |
400 |
400 | |||
|
3К57 |
500 |
500 | |||
|
2,7; 3,0;
4,8 |
4К57 |
300 |
300 |
1г | |
|
48 |
5К57 |
400 |
400 | ||
|
8К60 |
6000 |
300 |
300 |
1а | |
|
3,0; 4,8 |
9К60 |
1г | |||
|
4,8 |
1К63 |
6300 |
1а | ||
|
2К63 |
1г | ||||
|
6,0 |
1К69 |
6900 |
400 |
400 |
1а |
|
2К69 |
500 |
500 | |||
|
3К69 |
400 |
400 |
1г | ||
|
7,2 |
1К81 |
8100 |
1а | ||
|
2К81 |
500 |
500 | |||
|
3К81 |
400 |
400 |
1г | ||
Таблица 6
Колонны типа К для
сельскохозяйственных зданий высотой 2,4 м (шифр 4Н-79)
|
Типоразмер колонны |
Основные размеры колонны, мм |
Номер чертежа | ||||
|
l |
l1 |
b |
h | |||
|
2,4 |
7К36 |
3600 |
2620 |
300 |
300 |
1в |
|
К49 |
4900 | |||||
|
10К60 |
6000 |
- |
1г | |||
|
К73 |
7300 | |||||
Таблица 7
Колонны типа КС для зданий
высотой 4,8; 6,0; 7,2 и 8,4 м (шифр 15-74)
|
Типоразмер колонны |
Основные размеры колонны, мм |
Номер чертежа | |||
|
l |
b |
h | |||
|
4,8 |
КС48 |
7450 |
400 |
500 |
1а |
|
6,0 |
КС60 |
8650 | |||
|
7,2 |
КС72 |
9850 | |||
|
8,4 |
КС84 |
11050 | |||
а - колонна для крайних и средних рядов;
б, в - колонна для крайних рядов;
г - колонна для средних рядов
а
б
a - колонна для крайних
рядов;
б - колонна для средних рядов
Таблица 8
Колонны типа КК для зданий
высотой 8,4 - 14,4 м (серия 1.424.1-5)
|
Грузоподъемность крана, т |
Типоразмер колонны |
Основные размеры колонны, мм |
Номер чертежа | |||||
|
l |
l1 |
b |
h |
h1 | ||||
|
8,4 |
5 |
1КК84 |
9300 |
2900 |
400 |
380 |
600 |
2a |
|
10; 16 |
2КК84 |
3500 | ||||||
|
5 |
3КК84 |
9450 |
3300 |
600 |
700 | |||
|
10; 16 |
4КК84 |
3900 | ||||||
|
5 |
5КК84 |
9300 |
2900 |
600 |
2б | |||
|
10; 16 |
6КК84 |
3500 | ||||||
|
5 |
7КК84 |
9450 |
3300 |
700 | ||||
|
10; 16 |
8КК84 |
3900 | ||||||
|
5 |
9КК84 |
8850 (8750) |
2700 (2600) | |||||
|
10; 16 |
10КК84 |
3300 (3200) | ||||||
|
9,6 |
5 |
1КК96 |
10500 |
2900 |
380 |
600 |
2а | |
|
10; 16 |
2КК96 |
3500 | ||||||
|
16; 20 |
3КК96 |
4100 | ||||||
|
5 |
4КК96 |
10650 |
3300 |
600 |
700 | |||
|
10; 16 |
5КК96 |
3900 | ||||||
|
16; 20 |
6КК96 |
4500 | ||||||
|
5 |
7КК96 |
10500 |
2900 |
600 |
2б | |||
|
10; 16 |
8КК96 |
3500 | ||||||
|
16; 20 |
9КК96 |
10500 |
4100 | |||||
|
5 |
10КК96 |
10650 |
3300 | |||||
|
10; 16 |
11КК96 |
3900 | ||||||
|
16; 20 |
12КК96 |
4500 |
700 | |||||
|
5 |
13КК96 |
10050 (9950) |
2700 (2600) | |||||
|
10; 16 |
14КК96 |
3300 (3200) | ||||||
|
16; 20 |
15КК96 |
3900 (3800) | ||||||
|
10,8 |
5 |
1КК108 |
11850 |
2900 |
380 |
2а | ||
|
10; 16 |
2КК108 |
3500 | ||||||
|
16; 20 |
3КК108 |
4100 | ||||||
|
20; 32 |
4КК108 |
600 | ||||||
|
5 |
5КК108 |
3300 |
800 | |||||
|
10; 16 |
6КК108 |
3900 | ||||||
|
16; 20; 32 |
7КК108 |
4500 | ||||||
|
5 |
8КК108 |
2900 |
700 |
2б | ||||
|
10; 16 |
9КК108 |
3500 | ||||||
|
16; 20; 32 |
10КК108 |
4100 | ||||||
|
5 |
11КК108 |
3300 |
800 | |||||
|
10; 16 |
12КК108 |
3900 | ||||||
|
16; 20; 32 |
13КК108 |
4500 | ||||||
|
5 |
14КК108 |
11250 (11150) |
2700 (2600) | |||||
|
10; 16 |
15КК108 |
3300 (3200) | ||||||
|
16; 20; 32 |
16КК108 |
3900 (3800) | ||||||
|
12,0 |
10; 16 |
1КК120 |
13050 |
3500 |
400 |
380 |
700 |
2а |
|
16; 20 |
2КК120 |
4100 | ||||||
|
20; 32 |
3КК120 |
600 | ||||||
|
10; 16 |
4КК120 |
3900 |
800 | |||||
|
16; 20; 32 |
5КК120 |
4500 | ||||||
|
10; 16 |
6КК120 |
12450 (12350) |
3300 (3200) |
2б | ||||
|
16; 20 |
7КК120 |
3900 (3800) | ||||||
|
20; 32 |
8КК120 |
12600
(12500) |
800 | |||||
|
10; 16 |
9КК120 |
13050 |
3900 | |||||
|
16; 20 |
10КК120 |
4500 | ||||||
|
20; 32 |
11КК120 |
13200 |
900 | |||||
|
13,2 |
10; 16 |
1КК132 |
14250 |
3500 |
380 |
800 |
2а | |
|
16; 20 |
2КК132 |
4100 | ||||||
|
20; 32 |
3КК132 |
600 | ||||||
|
10; 16 |
4КК132 |
14400 |
3900 |
900 | ||||
|
16; 20; 32 |
5КК132 |
4500 | ||||||
|
10; 16 |
6КК132 |
13800 (13700) |
3300 (3200) |
2б | ||||
|
16; 20; 32 |
7КК132 |
3900 (3800) | ||||||
|
10; 16 |
8КК132 |
14400 |
3900 | |||||
|
16; 20; 32 |
9КК132 |
4500 | ||||||
|
14,4 |
10;
16 |
1КК144 |
15450 |
3500 |
380 |
800 |
2a | |
|
16;
20 |
2КК144 |
4100 | ||||||
|
20; 32 |
3КК144 |
600 | ||||||
|
10; 16 |
4КК144 |
15600 |
3900 |
900 | ||||
|
16; 20; 32 |
5КК144 |
4500 | ||||||
|
10; 16 |
6КК144 |
15000 (14900) |
3300 (3200) |
2б | ||||
|
16; 20; 32 |
7КК144 |
3900 (3800) | ||||||
|
10; 16 |
8КК144 |
15600 |
3900 | |||||
|
16; 20; 32 |
9КК144 |
4500 | ||||||
a - колонна для крайних рядов; б -
колонна для средних рядов
Таблица 9
Колонны типа ККС для зданий
высотой 8,4; 9,6 и 10,8 м (шифр 15-74)
|
Грузоподъемность крана, т |
Типоразмер колонны |
Основные размеры колонны, мм |
Номер чертежа | |||||
|
l |
l1 |
b |
h |
h1 | ||||
|
8,4 |
До 10 |
1ККС84 |
10550 |
5050 |
400 |
600 |
700 |
2a |
|
2ККС84 |
2б | |||||||
|
9,6 |
1ККС96 |
11750 |
2a | |||||
|
2ККС96 |
2б | |||||||
|
20 |
3ККС96 |
12350 |
5650 |
2a | ||||
|
4ККС96 |
2б | |||||||
|
10,8 |
До 10 |
1ККС108 |
12950 |
5050 |
2a | |||
|
2ККС108 |
2б | |||||||
|
20 |
3ККС108 |
13550 |
5650 |
2a | ||||
|
4ККС108 |
2б | |||||||
Таблица 10
Колонны типа ККП для зданий
высотой 10,8 - 14,4 м (серия 1.424.1-6/89)
|
Грузоподъемность крана, т |
Типоразмер колонны |
Основные размеры колонны, мм |
Номер чертежа | |||||
|
l |
l1 |
b |
h |
h1 | ||||
|
10,8 |
10 |
1ККП108 |
11850 |
3500 |
400 |
900 |
700 |
3а |
|
20; 32 |
2ККП108 |
4100 | ||||||
|
32 |
3ККП108 |
4700 | ||||||
|
10 |
4ККП108 |
4100 | ||||||
|
5ККП108 |
3900 |
800 | ||||||
|
20; 32 |
6ККП108 |
4500 | ||||||
|
32 |
7ККП108 |
5100 | ||||||
|
10 |
8ККП108 |
3900 |
3б | |||||
|
20; 32 |
9ККП108 |
4500 | ||||||
|
32 |
10ККП108 |
12000 |
5100 |
900 | ||||
|
11ККП108 |
11400 (11300) |
4500 (4400) | ||||||
|
10 |
12ККП108 |
11250 (11150) |
3900 |
800 | ||||
|
20; 32 |
13ККП108 |
(3800) | ||||||
|
12,0 |
10 |
1ККП120 |
13050 |
3500 |
700 |
3а | ||
|
20; 32 |
2ККП120 |
4100 | ||||||
|
32 |
3ККП120 |
4700 | ||||||
|
10 |
4ККП120 |
4100 | ||||||
|
5ККП120 |
3900 |
800 | ||||||
|
20; 32 |
6ККП120 |
4500 | ||||||
|
32 |
7ККП120 |
5100 | ||||||
|
10 |
8ККП120 |
3900 | ||||||
|
20; 32 |
9ККП120 |
13200 |
4500 |
900 | ||||
|
32 |
10ККП120 |
5100 | ||||||
|
11ККП120 |
12600
(12500) |
4500 (4400) | ||||||
|
10 |
12ККП120 |
|
3900 (3800) | |||||
|
20; 32 |
13ККП120 | |||||||
|
13,2 |
10 |
1ККП132 |
14250 |
3500 |
800 |
3а | ||
|
20; 32 |
2ККП132 |
4100 | ||||||
|
32 |
3ККП132 |
4700 | ||||||
|
10 |
4ККП132 |
4100 | ||||||
|
10 |
5ККП132 |
14400 |
3900 |
900 | ||||
|
20; 32 |
6ККП132 |
4500 | ||||||
|
32 |
7ККП132 |
5100 | ||||||
|
10 |
8ККП132 |
3900 |
3б | |||||
|
20; 32 |
9ККП132 |
4500 | ||||||
|
32 |
10ККП132 |
5100 | ||||||
|
11ККП132 |
13800 (13700) |
4500 (4400) | ||||||
|
10 |
12КК1132 |
3900 (3800) | ||||||
|
20; 32 |
13ККП132 | |||||||
|
14,4 |
10 |
1ККП144 |
15450 |
3500 |
800 |
3а | ||
|
20; 32 |
2ККП144 |
4100 | ||||||
|
32 |
3ККП144 |
4700 | ||||||
|
10 |
4ККП144 |
4100 | ||||||
|
5ККП144 |
15600 |
3900 |
900 | |||||
|
20; 32 |
6ККП144 |
4500 | ||||||
|
32 |
7ККП144 |
5100 | ||||||
|
10 |
8ККП144 |
3900 |
3б | |||||
|
20; 32 |
9ККП144 |
4500 | ||||||
|
32 |
10ККП144 |
5400 | ||||||
|
11ККП144 |
15000 (14900) |
4500 (4400) | ||||||
|
10 |
12ККП144 |
3900 (3800) | ||||||
|
20; 32 |
13ККП144 | |||||||
Таблица 11
Колонны типа КР для зданий
высотой 6,0 - 9,6 м (серия 1.423-2)
|
Грузоподъемность крана, т |
Типоразмер колонны |
Основные размеры колонны, мм |
Номер чертежа | |||||
|
l |
l1 |
b |
h |
h1 | ||||
|
6,0 |
3,2; 5;
8 |
КP60 |
6900 |
1600 |
300 |
250 |
500 |
4 |
|
6,6 |
КP66 |
7500 | ||||||
|
7,2 |
1КP72 |
8100 | ||||||
|
12,5;
20 |
2КP72 |
2200 | ||||||
|
7,8 |
3,2; 5;
8 |
1КP78 |
8700 |
1600 | ||||
|
12,5;
20 |
2КP78 |
2200 | ||||||
|
8,4 |
3,2; 5;
8 |
1КP84 |
9300 |
1600 | ||||
|
12,5;
20 |
2КP84 |
2200 | ||||||
|
9,0 |
12,5; 20 |
КP90 |
9900 | |||||
|
9,6 |
КP96 |
10500 | ||||||
Таблица 12
Колонны типа КФ для зданий
высотой 3,0 - 14,4 м (серия 1.427.1-3)
|
Типоразмер колонны |
Основные размеры колонны, мм |
Номер чертежа | |||||
|
l |
l1 |
b |
h |
h1 | |||
|
3,0 |
1КФ37 |
3700 |
- |
300 |
300 |
- |
5а |
|
1КФ40 |
4000 | ||||||
|
3,0; 3,6 |
1КФ43 |
4300 | |||||
|
3,6 |
1КФ46 |
4600 | |||||
|
3,6; 4,2;
4,8 |
1КФ49 |
4900 | |||||
|
4,2 |
1КФ52 |
5200 | |||||
|
4,2; 4,8 |
1КФ55 |
5500 | |||||
|
4,8 |
1КФ57 |
5700 | |||||
|
1КФ58 |
5800 | ||||||
|
4,8; 5,4;
6,0 |
1КФ61 |
6100 | |||||
|
5,4 |
1КФ64 |
6400 | |||||
|
5,4; 6,0;
6,6 |
1КФ67 |
6700 | |||||
|
6,0 |
2КФ69 |
6900 |
400 | ||||
|
6,6 |
2КФ75 |
7100 | |||||
|
7,2 |
2КФ73 |
7300 | |||||
|
2КФ81 |
8100 | ||||||
|
7,8 |
2КФ79 |
7900 | |||||
|
2КФ87 |
8700 | ||||||
|
8,4 |
1КФ85 |
8500 |
300 | ||||
|
1КФ93 |
9300 | ||||||
|
2КФ85 |
8500 |
400 | |||||
|
3КФ93 |
9300 |
400 | |||||
|
9,6 |
1КФ97 |
9700 |
300 |
300 | |||
|
1КФ105 |
10500 | ||||||
|
3КФ97 |
9700 |
400 |
400 | ||||
|
4КФ105 |
10500 |
500 | |||||
|
10,8 |
2КФ109 |
10900 |
300 |
400 | |||
|
2КФ117 |
11700 | ||||||
|
4КФ109 |
10900 |
400 |
500 | ||||
|
4КФ125 |
12500 | ||||||
|
3КФ121 |
12100 |
400 | |||||
|
12,0 |
3КФ129 |
12900 | |||||
|
4КФ121 |
12100 |
500 | |||||
|
4КФ137 |
13700 | ||||||
|
13,2 |
3КФ133 |
13300 |
400 | ||||
|
3КФ141 |
14100 | ||||||
|
4КФ133 |
13300 |
500 | |||||
|
5КФ149 |
14900 |
600 | |||||
|
14,4 |
3КФ145 |
14500 |
400 | ||||
|
3КФ153 |
15300 | ||||||
|
5КФ145 |
14500 |
600 | |||||
|
5КФ161 |
16100 | ||||||
|
6,0 |
6КФ69 |
6900 |
900 |
300 |
400 |
300 |
5б |
|
4,8; 6,0 |
6КФ70 |
7000 |
2200 | ||||
|
4,8; 6,0;
6,6 |
6КФ73 |
7300 |
2500 | ||||
|
6,6 |
6КФ85 |
7500 |
900 | ||||
|
4,8; 6,6 |
6КФ76 |
7600 |
2800 | ||||
|
4,8; 6,6;
7,2 |
6КФ79 |
7900 |
3100 | ||||
|
7,2 |
6КФ81 |
8100 |
900 | ||||
|
6,0; 7,2 |
6КФ82 |
8200 |
2200 | ||||
|
6,0; 7,2;
7,8 |
6КФ85 |
8500 |
2500 | ||||
|
7,8 |
6КФ87 |
8700 |
900 | ||||
|
6,0; 6,6;
7,8 |
6КФ88 |
8800 |
2800 | ||||
|
6,0; 6,6; 7,8;
8,4 |
6КФ91 |
9100 |
3100 | ||||
|
6,6; 7,2 |
7КФ94 |
9400 |
2800 |
400 | |||
|
6,6; 7,2;
8,4 |
7КФ97 |
9700 |
3100 | ||||
|
7,2; 7,8 |
7КФ100 |
10000 |
2800 | ||||
|
7,2; 7,8;
9,6 |
7КФ103 |
10300 |
3100 | ||||
|
7,8; 8,4 |
8КФ106 |
10600 |
2800 |
500 | |||
|
7,8; 8,4;
9,6 |
8КФ109 |
10900 |
3100 | ||||
|
8,4 |
7КФ93 |
9300 |
900 |
400 | |||
|
8КФ112 |
11200 |
2800 |
500 | ||||
|
8КФ115 |
11500 |
3100 | |||||
|
9,6 |
8КФ105 |
10500 |
900 | ||||
|
8КФ118 |
11800 |
2200 | |||||
|
8КФ124 |
12400 |
2800 | |||||
|
8КФ127 |
12700 |
3100 |
400 | ||||
|
9,6; 10,8 |
8КФ121 |
12100 |
2500 | ||||
|
10,8 |
6КФ117 |
11700 |
900 |
300 |
400 | ||
|
8КФ125 |
12500 |
900 |
400 |
500 | |||
|
8КФ130 |
13000 |
2200 | |||||
|
8КФ136 |
13600 |
2800 | |||||
|
8КФ139 |
13900 |
3100 | |||||
|
10,8; 12,0 |
8КФ133 |
13300 |
2500 | ||||
|
12,0 |
7КФ129 |
12900 |
900 |
400 | |||
|
8КФ137 |
13700 |
900 |
500 | ||||
|
9КФ142 |
14200 |
2200 |
600 | ||||
|
9КФ148 |
14800 |
2800 | |||||
|
9КФ151 |
15100 |
3100 | |||||
|
12,0; 13,2 |
9КФ145 |
14500 |
2500 | ||||
|
13,2 |
7КФ141 |
14100 |
900 |
400 | |||
|
9КФ149 |
14900 |
900 |
600 | ||||
|
9КФ154 |
15400 |
2200 | |||||
|
9КФ160 |
16000 |
2800 | |||||
|
9КФ163 |
16300 |
3100 | |||||
|
13,2: 14,4 |
9КФ157 |
15700 |
2500 | ||||
|
14,4 |
7КФ153 |
15300 |
900 |
400 | |||
|
9КФ161 |
16100 |
900 |
600 | ||||
|
9КФ166 |
16600 |
2200 | |||||
|
9КФ169 |
16900 |
2500 | |||||
|
9КФ172 |
17200 |
2800 | |||||
|
9КФ175 |
17500 |
3100 | |||||
Таблица 13
Колонны типа КФ
предварительно напряженные для зданий высотой 4,8 - 12,0 м (серия
1.427.1-5)
|
Типоразмер колонны |
Основные размеры колонны, мм |
Номер чертежа | |||
|
l |
b |
h | |||
|
4,8 |
КФ49 |
4900 |
300 |
300 |
5a |
|
КФ55 |
5500 | ||||
|
КФ57 |
5700 | ||||
|
КФ58 |
5800 | ||||
|
4,8; 5,4;
6,0 |
КФ61 |
6100 | |||
|
5,4 |
КФ64 |
6400 | |||
|
5,4; 6,0;
6,6 |
КФ67 |
6700 | |||
|
6,0 |
КФ69 |
6900 | |||
|
4,8; 6,0 |
КФ70 |
7000 | |||
|
4.8; 6,0; 6,6;
7,2 |
КФ73 |
7300 | |||
|
4,8; 6,6 |
КФ75 |
7500 | |||
|
КФ76 |
7600 | ||||
|
4,8; 6,6; 7,2;
7,8 |
КФ79 |
7900 | |||
|
7,2 |
КФ81 |
8100 | |||
|
6,0; 7,2 |
КФ82 |
8200 | |||
|
6,0; 7,2; 7,8;
8,4 |
КФ85 |
8500 | |||
|
6,0; 7,8 |
КФ87 |
8700 | |||
|
6,0; 6,6;
7,8 |
КФ88 |
8800 | |||
|
6,0; 6,6; 7,8;
8,4 |
КФ91 |
9100 | |||
|
6,6; 8,4 |
КФ93 |
9300 | |||
|
6,6; 7,2;
8,4 |
КФ94 |
9400 | |||
|
6,6; 7,2; 8,4;
9,6 |
КФ97 |
9700 | |||
|
7,2 |
КФ99 |
9900 | |||
|
7,2; 7,8 |
КФ100 |
10000 | |||
|
7,2; 7,8;
9,6 |
КФ103 |
10300 | |||
|
7,8; 9,6 |
КФ105 |
10500 | |||
|
7,8; 8,4;
9,6 |
КФ106 |
10600 | |||
|
7,8; 8,4; 9,6;
10,8 |
КФ109 |
10900 | |||
|
8,4 |
КФ111 |
11100 | |||
|
КФ112 |
11200 | ||||
|
КФ115 |
11500 | ||||
|
10,8 |
КФ117 |
11700 | |||
|
9,6; 10,8 |
КФ118 |
11800 | |||
|
9,6; 10,8;
12,0 |
КФ121 |
12100 | |||
|
9,6 |
КФ123 |
12300 | |||
|
КФ124 |
12400 | ||||
|
КФ127 |
12700 | ||||
|
12,0 |
КФ129 |
12900 | |||
|
10,8 |
КФ130 |
13000 | |||
|
12,0 |
КФ131 |
13100 | |||
|
10,8; 12,0 |
КФ133 |
13300 | |||
|
10,8 |
КФ135 |
13500 | |||
|
КФ136 |
13600 | ||||
|
КФ139 |
13900 | ||||
|
12,0 |
КФ147 |
14700 | |||
а - колонна крайних рядов; б - колонна средних рядов
Таблица 14
Колонны типа КД для зданий
высотой 15,6; 16,8 и 18,0 м (серия 1.424.1-9)
|
Грузоподъемность крана, т |
Типоразмер колонны |
Основные размеры колонны, мм |
Номер чертежа | ||||||
|
l |
l1 |
b |
h |
h1 |
h2 | ||||
|
15,6 |
Б/К; 20; 32 |
1КД156 |
16900 |
4100 |
|
600 |
1400 |
200 |
6a |
|
32;
50 |
2КД156 |
4700 | |||||||
|
Б/К; 20; 32 |
3КД156 |
4500 |
250 | ||||||
|
32; 50 |
4КД156 |
5100 | |||||||
|
Б/К; 20; 32 |
5КД156 |
4500 |
700 |
1900 |
300 |
6б | |||
|
32; 50 |
6КД156 |
5100 | |||||||
|
Б/К; 20; 32 |
7КД156 |
16300 (16200) |
3900 (3800) | ||||||
|
32; 50 |
8КД156 |
16300 (16200) |
4500 (4400) | ||||||
|
16,8 |
Б/К; 20; 32 |
1КД168 |
18100 |
4100 |
600 |
1400 |
200 |
6a | |
|
32;
50 |
2КД168 |
4700 | |||||||
|
Б/К; 20; 32 |
3КД168 |
4500 |
250 | ||||||
|
32; 50 |
4КД168 |
5100 | |||||||
|
Б/К; 20; 32 |
5КД168 |
4500 |
700 |
1900 |
300 |
6б | |||
|
32; 50 |
6КД168 |
5100 | |||||||
|
Б/К; 20; 32 |
7КД168 |
17500 (17400) |
3900 (3800) | ||||||
|
32; 50 |
8КД168 |
4500 (4400) | |||||||
|
18,0 |
Б/К; 20; 32 |
1КД180 |
19300 |
4100 |
600 |
1400 |
200 |
6а | |
|
32; 50 |
2КД180 |
4700 | |||||||
|
Б/К; 20; 32 |
3КД180 |
4500 |
250 | ||||||
|
32; 50 |
4КД180 |
5100 | |||||||
|
Б/К; 20; 32 |
5КД180 |
4500 |
700 |
1900 |
300 |
6б | |||
|
32; 50 |
6КД180 |
5100 | |||||||
|
Б/К; 20; 32 |
7КД180 |
18700 (18600) |
3900 (3800) | ||||||
|
32; 50 |
8КД180 |
4500 (4400) | |||||||
а - колонна крайних рядов; б - колонна средних рядов
Черт.
7
Таблица 15
Колонны типа КДП для зданий
высотой 15,6; 16,8 и 18,0 м (серия 1.424.1-10)
|
Грузоподъемность крана, т |
Типоразмер колонны |
Основные размеры колонны, мм |
Номер чертежа | ||||||
|
l |
l1 |
b |
h |
h1 |
h2 | ||||
|
15,6 |
20;
32 |
1КДП156 |
16900 |
4100 |
500 |
900 |
1400 |
200 |
7а |
|
32; 50 |
2КДП156 |
4700 | |||||||
|
20; 32 |
3КДП156 |
4500 |
250 | ||||||
|
32; 50 |
4КДП156 |
5100 | |||||||
|
20; 32 |
5КДП156 |
4500 |
1900 |
300 |
7б | ||||
|
32; 50 |
6КДП156 |
5100 | |||||||
|
20; 32 |
7КДП156 |
16300 (16200) |
3900 (3800) | ||||||
|
32; 50 |
8КДП156 |
4500 (4400) | |||||||
|
16,8 |
20; 32 |
1КДП168 |
18100 |
4100 |
1400 |
200 |
7а | ||
|
32; 50 |
2КДП168 |
4700 | |||||||
|
20; 32 |
3КДП168 |
4500 |
250 | ||||||
|
32; 50 |
4КДП168 |
5100 | |||||||
|
20; 32 |
5КДП168 |
4500 |
1900 |
300 |
7б | ||||
|
32; 50 |
6КДП168 |
5100 | |||||||
|
20; 32 |
7КДП168 |
17500 (17400) |
3900 (3800) |
300 | |||||
|
32; 50 |
8КДП168 |
4500 (4400) | |||||||
|
18,0 |
20; 32 |
1КДП180 |
19300 |
4100 |
1400 |
200 |
7а | ||
|
32; 50 |
2КДП180 |
4700 | |||||||
|
20; 32 |
3КДП180 |
4500 |
1400 |
250 | |||||
|
32; 50 |
4КДП180 |
5100 | |||||||
|
20; 32 |
5КДП180 |
4500 |
1900 |
300 |
7б | ||||
|
32; 50 |
6КДП180 |
5100 | |||||||
|
20; 32 |
7КДП180 |
3900 (3800) | |||||||
|
32; 50 |
8КДП180 |
4500 (4400) | |||||||
Таблица 16
Колонны типа КДФ для зданий
высотой 15,6; 16,8 и 18,0 м (серия 1.427.1-6)
|
Типоразмер колонны |
Основные размеры колонны, мм |
Номер чертежа | ||||||
|
l |
l1 |
b |
h |
h1 |
h2 | |||
|
15,6 |
КДФ156 |
16800 |
5100 |
500 |
600 |
1400 |
200 |
6а |
|
16,8 |
КДФ168 |
18000 | ||||||
|
18,0 |
КДФ180 |
19200 | ||||||
ИНФОРМАЦИОННЫЕ
ДАННЫЕ
1. РАЗРАБОТАН И ВНЕСЕН
Центральным научно-исследовательским и проектно-экспериментальным институтом
промышленных зданий и сооружений (ЦНИИпромзданий) Госстроя
СССР
РАЗРАБОТЧИКИ
А. М. Ривкин, канд. техн. наук
(руководитель темы); Р. И.
Рабинович, канд. техн. наук; H. И.
Томышева, О. А. Химичева; А. Я. Розенблюм; В. А. Беликов, канд.
техн. наук; М. Г. Коревицкая, канд.
техн. наук; Г. H. Бердичевский, д-р
техн. наук; Л. Г, Мовшович; А.И. Мангушев, канд. техн. наук; В. Е. Савранский, канд. техн. наук; М. И. Бродский; Л. М. Аксенова; В. И. Пименова; В. И. Деньщиков
2. УТВЕРЖДЕН И ВВЕДЕН В
ДЕЙСТВИЕ Постановлением Государственного строительного комитета СССР от 29.01.90
№ 6
3. ВЗАМЕН ГОСТ
25628-83
4. ССЫЛОЧНЫЕ
НОРМАТИВНО-ТЕХНИЧЕСКИЕ ДОКУМЕНТЫ
|
Номер пункта, подпункта | |
|
ГОСТ 5781-82 |
1.3.5 |
|
ГОСТ 6727-80 |
1.3.5 |
|
ГОСТ 10060-87 |
3.2 |
|
ГОСТ
10180-78 |
3.1 |
|
ГОСТ 10884-81 |
1.3.5 |
|
ГОСТ
10922-75 |
1.3.7, 3.4 |
|
ГОСТ 12730.0-78 |
3.3 |
|
ГОСТ 12730.5-84 |
3.3 |
|
ГОСТ 13015.0-83 |
1.3.1; 1.3.9 |
|
ГОСТ 13015.1-81 |
2.1 |
|
ГОСТ 13015.2-81 |
1.3.12; 1.4 |
|
ГОСТ 13015.3-81 |
2.4 |
|
ГОСТ 13015.4-84 |
4.1 |
|
ГОСТ 17624-87 |
3.1 |
|
ГОСТ 17625-83 |
3.7 |
|
ГОСТ 18105-86 |
3.1 |
|
ГОСТ 22362-77 |
3.5 |
|
ГОСТ 22690-88 |
3.1 |
|
ГОСТ
22904-78 |
3.7 |
|
ГОСТ 23009-78 |
1.2.7 |
|
ГОСТ 23858-79 |
3.4 |
|
ГОСТ 26134-84 |
3.2 |
|
ГОСТ 26433.0-85 |
3.6 |
|
ГОСТ 26433.1-89 |
3.6 |
|
ГОСТ
26633-85 |
1.3.2 |
|
ТУ
14-1322-85 |
1.3.5 |
СОДЕРЖАНИЕ
|
1.
Технические требования. 1 2.
Приемка. 5 3. Методы
контроля. 5 4.
Транспортирование и хранение. 6 Приложение Форма и основные размеры колонн. 6 |