Бесплатная библиотека стандартов и нормативов www.docload.ru

Все документы, размещенные на этом сайте, не являются их официальным изданием и предназначены исключительно для ознакомительных целей.
Электронные копии этих документов могут распространяться без всяких ограничений. Вы можете размещать информацию с этого сайта на любом другом сайте.
Это некоммерческий сайт и здесь не продаются документы. Вы можете скачать их абсолютно бесплатно!
Содержимое сайта не нарушает чьих-либо авторских прав! Человек имеет право на информацию!

 

ГОСУДАРСТВЕННЫЙ СТАНДАРТ СОЮЗА ССР

ИЗДЕЛИЯ ЗАМОЧНО-СКОБЯНЫЕ

ТЕРМИНЫ И ОПРЕДЕЛЕНИЯ

ГОСТ 27346-87

(СТ СЭВ 5615-76)

ГОСУДАРСТВЕННЫЙ СТРОИТЕЛЬНЫЙ КОМИТЕТ СССР

Москва

ГОСУДАРСТВЕННЫЙ СТАНДАРТ СОЮЗА ССР

Изделия замочно-скобяные

Термины и определения

Hardware. Terms and definitions

ГОСТ

27246-87

СТ СЭВ 5615-86)

Дата введения 01.07.87

Настоящий стандарт устанавливает основные термины и определения понятий замочно-скобяных изделий, применяемых в строительстве.

Термин

Определение

ОБЩИЕ ПОНЯТИЯ

1.Замочно-скобяное изделия

Изделие, служащее для соединения оконных створок и дверных полотен с коробками, а также для закрывания, запирания, фиксирования и украшения окон и дверей

2. Левое замочно-скобяное изделие

Изделие, применяемое для левой двери или окна

3. Правое замочно-скобяное изделие

Изделие, применяемое для правой двери или окна

4. Универсальное замочно-скобяное изделий

Изделие, применяемое для левой и правой двери или окна

5. Накладное замочно-скобяное изделие

Изделие, укрепленное на поверхности двери или окна

6. Полуврезное замочно-скобяное изделие

Изделие, врезанное в дверь или окно и выступающее над их поверхностью

7. Врезное замочно-скобяное изделие

Изделие, полностью врезанное в дверь или окно, лицевая поверхность которого находится в одной плоскости с торцом двери или окна или ниже ее

8. Секретность замка

Количество различных комбинаций его запирающего устройства, каждая из которых соответствует только определенному ключу или коду

ПОНЯТИЯ ИЗДЕЛИЙ

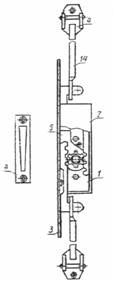
9. Замок

Изделие, служащее для запирания дверей, имеющее сложную комбинацию запирающих устройств или ра­бочих штифтов, обеспечивающих блокировку (черт. 1)

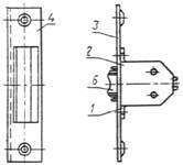
10. Защелка

Изделие, служащее для фиксирования дверей и удержания их в определенном положении (черт. 2)

11. Задвижка

Изделие, служащее для запирания дверей и окон с одной стороны при помощи возвратно-поступательного движения засова (черт. 3)

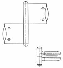
12. Завертка

Изделие, служащее для запирания дверей и окон с одной стороны при помощи вращения ручки (черт. 4)

13. Фрамужный механизм

Изделие, служащее для открывания и закрывания высокорасположенных или крупногабаритных окон и состоящее из системы рычагов или других механизмов, приводимых в действие вручную

14. Поворотно-откидное уст­ройство

Изделие, служащее для открывания и закрывания окон вокруг вертикальной и горизонтальной оси вращения

15. Дверной закрыватель верхнего расположения

Изделие, служащее для обеспечения автоматического закрывания дверей с дополнительным торможением перед полным закрыванием двери и установленное на верхней части двери и коробки

16. Дверной закрыватель нижнего расположения

Изделие, служащее для обеспечения вращения и закрывания двери и установленное ниже поверхности пола помещения

17. Ручка

Изделие, служащее для открывания, закрывания и перемещения дверей или окон (черт. 5, поз. 17)

18. Петля

Изделие, служащее для соединения дверей и окон с коробками и обеспечивающее открывание и закрывание дверей, окон, фрамуг и форточек (черт. 6)

19. Дверной (оконный) фиксатор

Изделие, служащее для фиксирования или ограничения движения дверей (окон) в определенном положении (черт. 7)

20. Дверной (оконный) упор

Изделие, служащее для предохранения внутреннего стекла окна от разбивания ручкой, установленной на наружном переплете окна, или повреждения стены помещения от ручки двери

21. Стяжка

Изделие, служащее для обеспечения плотного соединения створок спаренных дверей или окон

22. Глазок

Изделие, служащее для осмотра пространства изнутри помещения без открывания двери

23. Цилиндровый механизм

Односторонний или двусторонний механизм, применяемый в качестве узла замка, конструкция которого обеспечивает секретность замка (черт. 8)

24. Ключ

Изделие, служащее для приведения в действие запирающих устройств замка или штифтов цилиндрового механизма, обеспечивающее выход засова из корпуса замка (черт. 8, поз. 15)

25. Защитно-декоративная планка

Изделие, устанавливаемое на дверях или окнах, служащее для декоративного оформления ручки, цилиндрового механизма замка, отверстия для ключа или для защиты цилиндрового механизма от принудительной поломки (черт. 5, поз. 16)

ПОНЯТИЯ ДЕТАЛЕЙ

26. Корпус

Основная деталь изделия, внутри которой помещаются детали его механизма (черт. 1-4, поз. 1)

27. Крышка

Деталь, закрывающая корпус изделия (черт. 1, 2, 4, поз. 2)

28. Лицевая планка

Деталь врезного замочно-скобяного изделия, служащая для направления засова и крепления этого изделия к двери или окну (черт. 1-4, поз. 3)

29. Запорная планка

Деталь, в которую входит засов или засов-защелка при запирании или фиксировании окна или двери (черт. 1-4, поз. 4)

30. Засов

Деталь замка, завертки или задвижки, служащая для обеспечения запирания дверей или окон посредством входа в запорную планку (черт. 1, 3, 4, поз. 5)

31. Засов-защелка

Деталь защелки, служащая для фиксирования дверей посредством входа в запорную планку (черт. 1, 2, поз. 6)

32. Сувальда замка

Деталь замка, служащая для застопоривания засова замка в определенном положении и приводимая в действие ключом (черт. 1, поз. 7)

33. Рычаг замка

Деталь замка, служащая для управления засовом-защелкой при открывании и запирании двери ключом (черт. 1, поз. 8)

34. Стержень замка

Деталь замка, служащая для передачи крутящего момента от ручки замка к засову-защелке (черт. 5, поз. 9)

35. Эксцентрик замка

Деталь замка, служащая для преобразования вращательного движения ручки замка в возвратно-поступательное движение засова-защелки (черт. 1, поз. 10)

36. Цилиндр цилиндрового механизма

Деталь цилиндрового механизма, в которой помещены рабочие штифты, определяющие секретность замка (черт. 8, 9, поз. 11)

37. Кулачок цилиндрового механизма

Деталь цилиндрового механизма, служащая для передвижения засова (черт. 8, поз. 12)

38. Штифт цилиндрового механизма

Деталь цилиндрового механизма, являющаяся рабочим или стопорным элементом в цилиндровом механизме (черт. 8, 9, поз. 13)

39. Штанга завертки

Деталь завертки, служащая для обеспечения плотного закрывания створки окна в двух точках (черт. 4, поз. 14)

40. Рычаг закрывателя

Деталь дверного закрывателя верхнего расположения, служащая для передачи крутящего момента пружины закрывателя к двери

Черт. 1

Черт. 2

Черт. 3

Черт. 4

Черт. 5

Черт. 6

Черт. 7

Черт. 8

Черт. 9

ИНФОРМАЦИОННЫЕ ДАННЫЕ

ВНЕСЕН Министерством промышленности строительных материалов СССР

Постановлением Государственного строительного комитета СССР от 05.05.87 № 90 стандарт Совета Экономической Взаимопомощи СТ СЭВ 5615-86 «Изделия замочно-скобяные. Термины и определения» введен в действие непосредственно в качестве государственного стандарта СССР с 01.07.87

ВВЕДЕН ВПЕРВЫЕ




Rambler's Top100 Яндекс цитирования
  Copyright © 2008-2026, www.docload.ru