Бесплатная библиотека стандартов и нормативов www.docload.ru

Все документы, размещенные на этом сайте, не являются их официальным изданием и предназначены исключительно для ознакомительных целей.
Электронные копии этих документов могут распространяться без всяких ограничений. Вы можете размещать информацию с этого сайта на любом другом сайте.
Это некоммерческий сайт и здесь не продаются документы. Вы можете скачать их абсолютно бесплатно!
Содержимое сайта не нарушает чьих-либо авторских прав! Человек имеет право на информацию!

 

 

МЕЖГОСУДАРСТВЕННЫЙ    СТАНДАРТ

 

 

КИРПИЧ И КАМНИ

КЕРАМИЧЕСКИЕ

 

ТЕХНИЧЕСКИЕ УСЛОВИЯ

 

Издание официальное

 

МЕЖГОСУДАРСТВЕННАЯ НАУЧНО-ТЕХНИЧЕСКАЯ КОМИССИЯ

ПО СТАНДАРТИЗАЦИИ И ТЕХНИЧЕСКОМУ НОРМИРОВАНИЮ

В СТРОИТЕЛЬСТВЕ (МНТКС)

Москва

 

Предисловие

 

1 РАЗРАБОТАН АО ВНИИстром им. П. П. Будникова с участием ЦНИИСК им. В. А. Кучеренко, НИИСФ и АО "Воронеж стройматериалы" Российской Федерации

 

ВНЕСЕН Минстроем России

 

2 ПРИНЯТ Межгосударственной научно-технической комиссией по стандартизации и техническому нормированию в строительстве (МНТКС) 19 апреля 1995 г.

 

За принятие проголосовали

Наименование государства

Наименование органа государствен­ного управления строительством

Азербайджанская Республика

Госстрой Азербайджанской Республики

Республика Армения

Министерство градостроительства

 

Республики Армения

Республика Молдова

Министерство окружающей среды

 

и благоустройства территорий

Российская Федерация

Госстрой России

Республика Таджикистан

Комархстрой Республики Таджикистан

 

3 ВВЕДЕН В ДЕЙСТВИЕ с 1 июля 1996 г. в качестве государственного стандарта Российской Федерации Постановлением Минстроя России от 5 декабря 1995 г. № 18-103

 

4 ВЗАМЕН ГОСТ 530-80

 

 

ГОСТ 530-95

 

МЕЖГОСУДАРСТВЕННЫЙ      СТАНДАРТ

КИРПИЧ И КАМНИ КЕРАМИЧЕСКИЕ

 

Технические условия

 

Ceramic bricks and stones.

Specifications

_

Дата введения 1996 - 07-01

 

 

1 ОБЛАСТЬ ПРИМЕНЕНИЯ

 

Настоящий стандарт распространяется на керамические кирпич и камни, изготовляемые способом полусухого прессования или пластического формования из глинистых и кремнеземистых (трепел, диа­томит) осадочных пород и промышленных отходов (угледобычи и углеобогащения зол) и обожженные в печах.

Кирпич и камни применяют для кладки каменных и армокаменных наружных и внутренних стен зданий и сооружений, а также для кладки фундаментов из полнотелого кирпича.

Требования, изложенные в пунктах 3.1-3.6, 4.2.1, 4.3, 4.4, 4.7, 4.8, разделах 5 и 6, являются обязательными.

(Измененная редакция. Изм. № 1)

 

2 НОРМАТИВНЫЕ ССЫЛКИ

 

В настоящем стандарте использованы ссылки на следующие стандарты.

ГОСТ 162-90 Штангенглубиномеры. Технические условия

ГОСТ 427-75 Линейки измерительные металлические. Технические условия

ГОСТ 3560-73 Лента стальная упаковочная. Технические усло­вия

ГОСТ 3749-77 Угольники поверочные 90°. Технические условия

ГОСТ 7025-91 Кирпич и камни керамические и силикатные. Методы определения водопоглощения, плотности и контроля морозостойкости

ГОСТ 8462-85 Материалы стеновые. Методы определения пределов прочности при сжатии и изгибе

ГОСТ 10354-82 Пленка полиэтиленовая. Технические условия

ГОСТ 14192-96 Маркировка грузов

ГОСТ 15846-79 Продукция, отправляемая в районы Крайнего Севера и труднодоступные районы. Упаковка, маркировка, транспортирование и хранение

ГОСТ 18343-80 Поддоны для кирпича и керамических камней. Технические условия

ГОСТ 24816-81 Материалы строительные. Метод определения сорбционной влажности

ГОСТ 25951-83 Пленка полиэтиленовая термоусадочная. Технические условия

ГОСТ 26254-84 Здания и сооружения. Методы определения сопротивления теплопередаче ограждающих конструкций

ГОСТ 30108-94 Материалы и изделия строительные. Определе­ние удельной эффективной активности естественных радионуклидов

ГОСТ 30244-94 Материалы строительные. Методы испытания на горючесть

(Измененная редакция. Изм. № 1)

 

3 ОСНОВНЫЕ ПАРАМЕТРЫ И РАЗМЕРЫ

 

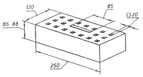
3.1 Кирпич и камни керамические (далее - изделия) изготовляют в форме параллелепипеда и в зависимости от размеров подразде­ляют на виды, указанные в таблице 1.

 

Таблица 1

В миллиметрах

 

 

Вид изделия

 

 

Номинальные размеры по

длине

ширине

толщине

Кирпич одинарный

  250

  120

  65

Кирпич утолщенный

  250

  120

  88

Кирпич модульных размеров одинарный

  288

  138

  63

Кирпич модульных размеров утолщенный

  288

  138

  88

Кирпич утолщенный с горизонтальным расположением пустот

  250

  120

  88

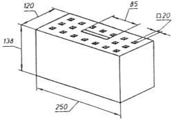
Камень

  250

  120

  138

Камень модульных размеров

  288

  138

  138

Камень модульных размеров укрупненный

  288

  288

  88

Камень укрупненный

  250

  250

  180

  250

  250

  250

  138

  188

  138

Камень укрупненный с горизонтальным расположением пустот

  250

  250

  250

  200

  120

  80

 

Примечание - Допускается по согласованию с потребителем выпускать укрупненные камни размерами:

                                                                                                                                                                             380                   180                   138

                                                                                                                                                                             380                   255                   188

                                                                                                                                                                             380                   250                   138

                                                              

 

 

3.2 Предельные отклонения от номинальных размеров в миллиметрах не должны превышать:

- для изделий пластического формования из лессов, трепелов, диатомитов

 

±7 ...................... по длине

±5 ...................... по ширине

 

- для изделий пластического формования и полусухого прессования

 

±5 ..................... по длине

4 ..................... по ширине

3 ..................... по толщине - для кирпича

4 ..................... по толщине - для камня

 

Отклонение от перпендикулярности гранен в миллиметрах не должно превышать:

4 - для изделий пластическою формования из лессов, трепелов, диатомитов;

3 - для изделий пластического формования и полусухого прессования.

(Измененная редакция. Изм. № 1)

 

3.3 Типы и размеры

 

3.3.1 Одинарный и утолщенный кирпич изготовляют полнотелым (без пустот и с технологическими пустотами) и пустотелым, а камни -  только пустотелыми. Размеры, форма и расположение пустот в изделии, а также пустотность изделия прицелены в приложении А.

Толщина наружных стенок пустотелого изделия должна быть не менее 12 мм.

Изделия могут быть изготовлены другой пустотности, с другим числом и расположением отверстий при условии соблюдения требований 3.5, 4.3.

(Измененная редакция. Изм. № 1)

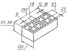
3.3.2 Пустоты в изделиях должны располагаться перпендикулярно или параллельно постели и могут быть сквозными и несквозными.

Ширина щелевидных пустот должна быть не более 16 мм, а диа­метр цилиндрических сквозных пустот и размер стороны квадратных пустот - не более 20 мм.

Для укрупненных камней допускаются технологические пустоты (для захвата при кладке) с площадью сечения пустот не более 13 % от площади основания.

Диаметр несквозных пустот и размеры горизонтальных пустот не регламентируют.

(Измененная редакция. Изм. № 1)

 

3.4 По прочности изделия полнотелые и с вертикально расположенными пустотами изготовляют марок: 75, 100, 125, 150, 175, 200, 250, 300, а с горизонтально расположенными пустотами - 25, 35, 50, 75, 100.

(Измененная редакция. Изм. № 1)

 

3.5 По морозостойкости изделия подразделяют на марки: F15, F25, F35, F50.

3.6 Условное обозначение керамических изделий должно состо­ять из названия, вида, марки по прочности и морозостойкости, обозначения настоящего стандарта.

Примеры условных обозначений

Кирпич керамический полнотелый одинарный марки по прочнос­ти 100, марки по морозостойкости F15:

 

Кирпич К - О 100/15/ГОСТ 530-95

 

Кирпич керамический пустотелый одинарный марки по прочности 150, по морозостойкости F15:

 

Кирпич КП - О 150/15/ГОСТ 530-95

 

Кирпич керамический пустотелый утолщенный марки по прочности 125, по морозостойкости F25:

 

Кирпич КП - У 125/25/ГОСТ 530-95

 

Камень керамический марки по прочности 100, по морозостойкости F15:

 

Камень К 100/15/ГОСТ 530-95

 

Камень керамический укрупненный марки по прочности 150, по морозостойкости F15:

 

Камень КУК 150/15/ГОСТ 530-95

 

Камень керамический модульных размеров марки по прочности 175, по морозостойкости F15:

 

Камень КМ 175/15/ГОСТ 530-95

 

Камень керамический укрупненный с горизонтальным расположением пустот марки по прочности 50, по морозостойкости F15:

 

Камень КУГ  50/15/ГОСТ 530-95

 

Кирпич керамический утолщенный с горизонтальным располо­жением пустот марки по прочности 100, по морозостойкости F15:

 

Кирпич КУГ 100/15/ГОСТ 530-95

 

(Измененная редакция. Изм. № 1)

 

 

4 ТЕХНИЧЕСКИЕ ТРЕБОВАНИЯ

 

4.1 Изделия должны изготовляться в соответствии с требованиями настоящего стандарта по технологическому регламенту, утвержденному предприятием-изготовителем.

4.2 Характеристики

4.2.1 Внешний вид

4.2.1.1 Поверхность граней изделий должна быть плоской, ребра - прямолинейными.

Допускается выпускать изделия с закругленными вертикальными ребрами с радиусом закругления не более 15 мм.

По фактуре поверхности (ложковой, тычковой) изделия могут быть гладкими или рифлеными.

4.2.1.2 На изделии не допускаются дефекты внешнего вида, размеры и число которых превышают указанные в таблице 2.

4.2.1.3 Известковые включения, вызывающие после пропаривания изделий разрушение поверхностей и отколы глубиной более 6 мм, не допускаются.

На поверхности изделий допускается наличие отколов по наибольшему измерению от 3 до 6 мм числом не более 3 шт.

(Измененная редакция. Изм. № 1)

 

4.2.1.4 Количество половняка в партии не должно быть более 5 %.

Кирпич, имеющий одну или несколько сквозных трещин на всю толщину кирпича протяженностью по ширине кирпича более 30 мм и расположенных в центральной части опорной поверхности, относят к половняку

(Измененная редакция. Изм. № 1)

 

4.2.1.5 Не допускается поставка потребителю недожженных и пережженных изделий.

 

Таблица 2

 

Вид дефекта

Число дефектов

 

1 Отбитости углов глубиной от 10 до 15 мм

2 Отбитости и притупленности ребер глубиной не более 10 мм и длиной от 10 до 15 мм

3 Трещины протяженностью до 300 мм по постели полнотелого кирпича и пустотелых изделий не более чем до первого ряда пустот (глубиной на всю толщину кирпича или на 1/2 толщины тычковой или ложковой грани камней):

   - на ложковых гранях

   - на тычковых гранях

 

 

2

2

 

 

1

1

 

 

4.3 Марку камня по прочности устанавливают по значению пре­дела прочности при сжатии, а кирпича - по значению пределов прочности при сжатии и изгибе, не менее, указанных в таблице 3.

(Измененная редакция. Изм. № 1)

 

4.4 Водопоглощение не должно быть для полнотелого кирпича менее 8 %, для пустотелых изделий - менее 6 %.

4.5 Масса кирпича в высушенном состоянии не должна быть более 4,3 кг, а камней - более 16 кг.

Допускается по согласованию предприятия-изготовителя с потребителем, отраженном в договоре на поставку, изготовление укрупненных камней массой более 16 кг.

4.6 Изделия относят к группе негорючих строительных материалов по ГОСТ 30244.

4.7 Изделия, предназначенные для кладки наружных стен зданий и сооружений, должны подвергаться испытанию на теплопроводность в соответствии с 6.7.

4.8 Удельная эффективная активность естественных радионуклидов (Аэфф) в изделиях не должна быть более 370 Бк/кг.

При необходимости в национальных нормах, действующих на территории государства, величина удельной эффективной активности естественных радионуклидов может быть изменена в пределах норм, указанных выше.

(Измененная редакция. Изм. № 1)

 

 

4.9 Требования к сырью и материалам

 

4.9.1 Глинистое сырье, применяемое для изготовления изделий, должно соответствовать требованиям действующих нормативных документов.

Материалы, применяемые для изготовления изделий, должны соответствовать требованиям действующих нормативных и технических документов на эти материалы, а также технологической документа­ции и обеспечивать получение изделий заданных технических характеристик.

 


Таблица 3

В мегапаскалях (кгс/см2)

 

 

Предел прочности

 

при сжатии

при изгибе

Марка

изделия

 

всех видов изделий

полнотелого кирпича

пластического формования

кирпича полусухого прессования

и пустотелого кирпича

 

 

утолщенного кирпича

 

Средний для

5 образцов

Наименьший

для отдельного образца

Средний для

5 образцов

Наименьший

для отдельного образца

Средний для

5 образцов

Наименьший

для отдельного образца

Средний для

5 образцов

Наименьший

для отдельного образца

 

300

250

200

175

150

125

100

75

 

 

30,0 (300)

25,0 (250)

20,0 (200)

17,5 (175)

15,0 (150)

12,5 (125)

10,0 (100)

7,5 (75)

 

25,0 (250)

20,0 (200)

17,5 (175)

15,0 (150)

12,5 (125)

10,0 (100)

7,5 (75)

5,0 (50)

 

4,4 (44)

3,9 (39)

3,4 (34)

3,1 (31)

2,8 (28)

2,5 (25)

2,2 (22)

1,8 (18)

 

2,2 (22)

2,0 (20)

1,7 (17)

1,5 (15)

1,4 (14)

1,2 (12)

1,1 (11)

0,9 (9)

 

3,4 (34)

2,9 (29)

2,5 (25)

2,3 (23)

2,1 (21)

1,9 (19)

1,6 (16)

1,4 (14)

 

1,7 (17)

1,5 (15)

1,3 (13)

1,1 (11)

1,0 (10)

0,9 (9)

0,8 (8)

0,7 (7)

 

2,9 (29)

2,5 (25)

2,3 (23)

2,1 (21)

1,8 (18)

1,6 (16)

1,4 (14)

1,2 (12)

 

1,5 (15)

1,3 (13)

1,1 (11)

1,0 (10)

0,9 (9)

0,8 (8)

0,7 (7)

0,6 (6)

 

Для кирпича и камней с горизонтальным расположением пустот

 

100

75

50

35

25

 

10,0 (100)

7,5 (75)

5,0 (50)

3,5 (35)

2,5 (25)

7,5 (75)

5,0 (50)

3,5 (35)

2,5 (25)

1,5 (15)

-

-

-

-

-

-

-

-

-

-

-

-

-

-

-

-

-

-

-

-

-

-

-

-

-

-

-

-

-

-

 

Примечание - Предел прочности при изгибе определяют по фактической площади кирпича без вычета площади пустот.

 

 


 

4.10 Маркировка

 

4.10.1 Изделия должны маркироваться в каждом пакете по одному в среднем ряду.

4.10.2 На тычковую поверхность изделия наносят несмываемый краской при помощи трафарета (штампа) или оттиска клейма в процессе изготовления товарный знак предприятия-изготовителя.

4.10.3 Каждое грузовое место (пакет) должно иметь транспортную маркировку по ГОСТ 14192.

 

5 ПРАВИЛА ПРИЕМКИ

 

5.1 Изделия должны быть приняты техническим контролем предприятия-изготовителя.

5.2 Изделия принимают партиями. Объем партии устанавливают в количестве не более суточной выработки одной печи.

5.3 Партия должна состоять из изделий одного вида, одной марки по прочности и морозостойкости.

5.4 Для проверки соответствия изделий требованиям настоящею стандарта проводят приемосдаточные и периодические испытания.

Приемосдаточные испытания осуществляют по следующим показателям:

- внешний вид (наличие дефектов внешнего вида);

- размеры и правильность формы;

- масса изделия;

- предел прочности при сжатии изделий;

- предел прочности при изгибе для кирпичей.

(Измененная редакция. Изм. № 1)

 

5.5 Периодические испытания проводят не реже одного раза:

- в две недели - для определения наличия известковых включений;

- в месяц - для определения водопоглощения;

- в квартал - для определения морозостойкости;

- в год - для определения Аэфф в том случае, если отсутствуют данные поставщика сырьевых материалов о значении Аэфф в поставляемых материалах.

Периодические испытания по показателям водопоглощения, морозостойкости проводят также каждый раз при изменении сырья и технологии (состав шихты, параметров формования, режимов сушки и обжига), по наличию известковых включений - при изменении содержания карбонатных включений в глинистом сырье.

Периодические испытания по определению Аэфф проводят также каждый раз при изменении сырьевых материалов.

Теплопроводность изделий определяют при постановке продукции на производство, а также каждый раз при изменении сырьевых материалов, размера и количества пустот.

(Измененная редакция. Изм. № 1)

 

5.6 Для проведения приемосдаточных и периодических испытаний изделия отбирают методом случайного отбора из разных мест партии в количестве, указанном в 5.7 и 5.8.

5.7 Приемку изделий по показателям внешнего вида на соответствие 4.2.1.1 - 4.2.1.2 проводят визуальным осмотром, а при необходимости замером выявленных дефектов, применяя объем выборки, приемочные и браковочные числа, указанные в таблице 4.

 

Таблица 4

 

Объем партии изделия

Ступень конт­роля

Объем выборки

Общий объем выборки

Приемочное число

Ас

Браковочное число

Rс

 

10001 - 35000

 

 

35000 - 150000

 

 

Св. 150000

 

 

 

I

II

 

I

II

 

I

II

 

80

80

 

125

125

 

125

125

 

80

160

 

125

250

 

125

250

 

7

18

 

11

26

 

11

26

 

11

19

 

16

27

 

16

27

 

 

Партию принимают, если количество дефектных изделий в вы­борке для первой ступени меньше или равно приемочному числу Ас для первой ступени контроля.

Партию не принимают, если количество дефектных изделий боль­ше иди равно браковочному числу Rс для первой ступени контроля.

Если количество дефектных изделий в выборке для первой ступе­ни контроля больше Ас, но меньше Rс, переходят к контролю второй ступени, для чего отбирают выборку такого же объема, как в первой ступени контроля.

Партию изделий принимают, если общее количество дефектных изделий в выборках первой и второй ступени меньше или равно Ас. Партию не принимают, если общее количество дефектных изделий в выборках первой и второй ступени равно или больше Rс для второй ступени контроля.

(Измененная редакция. Изм. № 1)

 

5.8 Для проведения приемосдаточных и периодических испытаний из выборки изделий, соответствующих требованиям настоящего стандарта по показателям внешнего вида, отбирают число образцов в соответствии с таблицей 5.

 

Таблица 5

 

Наименование показателя

Число образцов

 

Размеры и правильность формы

 

Наличие известковых включений

 

Масса, водопоглощение

 

Предел прочности при сжатии:

 

- камней

 

- кирпичей

 

Предел прочности при изгибе кирпичей

 

Морозостойкость

 

 

24

 

5

 

3

 

 

 

5

 

10 (или 10 парных половинок)

 

5

 

5

 

 

(Измененная редакция. Изм. № 1)

 

 

5.9 Если при проверке размеров и правильности формы отобранных от партии изделий окажется одно изделие, не соответствующее требованиям стандарта, партию принимают, если два - партия приемке не подлежит.

5.10 Если  при  испытаниях изделий  по другим показателям, указанным в таблице 5, получены неудовлетворительные результаты, проводят повторные испытания изделий по этому показателю удвоенного количества образцов, отобранных от этой партии.

Партию изделий принимают, если результаты повторных испытаний удовлетворяют требованиям стандарта, если не удовлетворяют - партия приемке не подлежит.

5.11 Каждая партия поставляемых изделий должна сопровождаться документом о качестве, в котором указывают:

- наименование предприятия-изготовителя и (или) его товарный знак;

- наименование и условное обозначение изделий;

- номер и дату выдачи документа;

- номер партии и количество отгружаемых изделий;

- массу кирпича и камней;

- водопоглощение;

- марку кирпича и камней по прочности и морозостойкости;

- удельную эффективную активность естественных радионуклидов;

- теплопроводность изделий;

- обозначение настоящего стандарта.

(Измененная редакция. Изм. № 1)

 

5.12 Потребитель при контрольной проверке соответствия кирпича и камня требованиям настоящего стандарта должен применять порядок, приведенный в 5.7 - 5.10, и методы контроля, установленные в разделе 6. В арбитражных случаях контрольную проверку следует проводить в присутствии представителей завода-изготовителя.

(Введен дополнительно. Изм. № 1)

 

6 МЕТОДЫ КОНТРОЛЯ

 

6.1 Размеры изделий, толщину наружных стенок, радиус закруг­ления углов, диаметр цилиндрических пустот, ширину щелевидных пустот, протяженность трещин, длину отбитости и притуп­ленности изделий измеряют с погрешностью 1 мм металлической линейкой по ГОСТ 427.

(Измененная редакция. Изм. № 1)

 

6.2 Для определения длины и ширины изделий замеры производят в трех местах - по ребрам и середине постели, толщины изделий - середине тычка и ложка. Для изделий с закругленными углами замеры производят на расстоянии 15 мм от ребер. Каждый результат измерения оценивают отдельно в соответствии с 3.2.

Глубину отбитости и притупленности углов и ребер измеряют с погрешностью 1 мм при помощи штангенглубиномера по ГОСТ 162 или угольника по ГОСТ 3749 и линейки по ГОСТ 427 по перпендикуляру от вершины угла или ребра, образованного угольником до поврежденной поверхности.

(Измененная редакция. Изм. № 1)

 

6.3 Отклонение от перпендикулярности граней определяют прикладыванием к смежным граням угольника по ГОСТ 3749 и замера щупом или штангенглубиномером по ГОСТ 162 зазора, образовавшегося между угольником и ребром смежных граней. За результат принимают наибольшее значение из всех полученных результатов измерений.

(Измененная редакция. Изм. № 1)

 

6.4 Предел прочности при сжатии кирпича и камней и при изгибе кирпича определяют по ГОСТ 8462.

6.5 Наличие известковых включений (дутиков) определяют пропариванием изделий в сосуде.

Образцы, не подвергавшиеся воздействию влаги, укладывают на решетку, помещенную в сосуд с крышкой. Налитую под решетку воду подогревают до кипения. Кипячение продолжают в течение 1 ч. Затем образцы охлаждают в этом закрытом сосуде в течение 4 ч, после чего их вынимают и проверяют на соответствие требованиям 4.2.1.3.

6.6 Массу, среднюю плотность, водопоглощение и морозостой­кость изделий определяют по ГОСТ 7025. Водопоглощение опреде­ляют при насыщении образцом водой температурой (20±5)°С при атмосферном давлении.

Марку кирпича и камня по морозостойкости определяют по числу циклов попеременного замораживания и оттаивания, при котором на изделии не возникают признаки видимых повреждений: шелушение, расслоение, растрескивание, выкрашивание, а также изменения дефектов внешнего вида, указанных в 4.2.1.2 и 4.2.1.3 настоящего стандарта.

Выкрашивания диаметром до 3 мм, образовавшиеся в месте резки кирпича или вследствие гидратации извести, не учитывают как признаки повреждения поверхности изделия при испытании на морозостойкость.

В арбитражных случаях оценку морозостойкости кирпича следует проводить по потере прочности и массы.

Кирпич считают морозостойким, если средняя по пяти образцам потеря прочности и наименьшее значение показателя отдельного образца, установленные в таблице 3 для данной марки, - не более 5% , а средняя по пяти образцам потеря массы – не более 3%.

(Измененная редакция. Изм. № 1)

 

 

6.7 Теплопроводность изделий определяют по ГОСТ 26254 в лабораторных условиях в климатической камере с автоматическим поддержанием температуры в холодной и теплой зонах  минус (30±1)°С и плюс (20±1)°С на большом и малом фрагментах стены в соответствии с 6.7.1 и 6.7.2.

6.7.1  Определение теплопроводности на большом фрагменте    стены

Теплопроводность изделий определяют на фрагменте стены, размер которого с учетом растворных швов должен соответствовать:

- по толщине (d) - исходя из условий наличия одного тычкового и одного ложкового рядов кирпичей или камней. Для изделий с горизонтальным расположением пустот фрагмент по толщине изготавливают в двух вариантах: первый - из тычкового ряда изделий, второй - из ложкового;

- по длине (l) и высоте (h) - не менее чем 4,5 d, но не менее 1810 мм.

В случае, если высота кирпичной или каменной кладки не соответствует установленной высоте фрагмента стены, снизу и сверху фрагмент кладки дополняют слоями кладочного раствора, состоящего из мелкого кирпичного боя и сложного раствора в соотношении 50 на 50 % по объему.

Кладку фрагмента стены выполняют с однорядной цепной перевязкой на сложном растворе марки 50 средней плотности 1800 кг/м3 состава 1:0,9:8 (цемент : известь : песок) по объему, на портландцементе марки 400 с осадкой конуса для полнотелых изделий 12-13 см, для пустотелых - 9 см.

Изготовленный фрагмент стены выдерживают в течение месяца в помещении температурой воздуха 15-20°С и относительной влажностью 40-60%.

Фрагмент кладки устанавливают в климатическую камеру и заделывают зазоры по контуру камеры теплоизоляционным материалом.

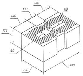
На внутренней и наружной поверхностях фрагмента стены устанавливают по пять термопар: три на поверхностях ложкового и тычкового рядов и две на горизонтальном и вертикальном растворных швах. Преобразователь теплового потока (тепломер) применяют квадратного сечения со стороной, равной сумме высоты одного элемента кладки и толщины одного растворного шва. Тепломер устанавливают в центре фрагмента стены на внутренней поверхности ложкового элемента кладки с захватом половины толщины верхнего и нижнего растворных швов (рисунок 1в).

 

 

а  - фрагмент кладки в                      б - виды кладок в  поперечном

           аксонометрии                               сечении (одинарный кирпич,

                                                                  утолщенный кирпич, камень)

 

 

 

в - расположение тепломера и термопар

1 - тепломер; 2 – термопара

Рисунок 1-Техническая характеристика фрагмента кладки

 

Испытания проводят в лабораторных условиях в соответствии с ГОСТ 26254.

Для тепломера и каждой термопары определяют среднее арифметическое значение показаний за период наблюдений (qi) и (ti), где i - номер датчика. Затем определяют средневзвешенное значение температуры (t), учитывающей площадь ложкового и тычкового измеряемых участков кладки, вертикального и горизонтального участков растворных швов, по формуле

 

                                          (1)

 

где Fi - площадь участка, м2.

Экспериментальное значение теплопроводности изделий в кладке в состоянии фактической влажности (lэксп), Вт/× °С), вычисляют по формуле

 

                                     (2)

 

где q   - плотность теплового потока, Вт/м2, определяемая по формуле 5 ГОСТ 26254;

tв, tн  - средневзвешенное значение температуры соответственно внутренней и наружной поверхностей фрагмента стены, °С;

d - толщина фрагмента стены, м.

За результат принимают значение теплопроводности изделий в кладке в сухом состоянии, вычисляемое по формуле

 

                              (3)

 

где l0  - теплопроводность  изделий  в кладке в сухом состоянии, Вт/(м × °С);

Wэксп  - фактическое значение влажности материала в кладке в % по массе, определяемое по ГОСТ 24816;

К - коэффициент приращения значения теплопроводности в зависимости от влажности материала, принимаемый рав­ным: К= 0,09 - для изделий средней плотностью от 1200 до 1500 кг/м3;

К = 0,11 - для изделий средней плотностью св. 1500 до 1700 кг/м3;

К= 0,13 - для изделий средней плотностью св. 1700 до 1900 кг/м3.

Для изделий с горизонтальным расположением пустот за результат принимают значение теплопроводности изделий в кладке в сухом состоянии, определяемое по формуле

 

                                      (4)

 

где lТ, lЛ - значение теплопроводности ложкового и тычкового рядов кладки в сухом состоянии, Вт/(м × °С).

(Измененная редакция. Изм. № 1)

 

 

6.7.2 Определение теплопроводности на малом фрагменте стены

Допускается по методике научно-исследовательского института строительной физики определять теплопроводность изделий на малом фрагменте стены, состоящем из 12 кирпичей или камней.

Перед испытанием фрагмент высушивают до постоянной массы, покрывают парафином с целью предохранения его от увлажнения в процессе испытания.

Допускается фрагмент стены не высушивать до постоянной массы, а влажность материала определять после окончания испытания в соответствии с ГОСТ 24816, пробы материала после испытания отмирают шлямбуром из фрагмента стены с места расположения тепломера.

Фрагмент кладки помещают в проем разъемной охранной зоны, выполненной из материала, близкого по теплофизическим свойствам испытываемым изделиям. Охранная зона вместе с исследуемым фрагментом обжимается крепежной рамкой и устанавливается в стенку, разделяющую климатическую камеру на теплую и холодную зоны. Преобразователь теплового потока (тепломер) и термоэлектрические термо­метры устанавливают в соответствии с рисунком 1. Испытания проводят в лабораторных условиях в соответствии с ГОСТ 26254, замеряют значе­ние плотности теплового потока (q) и перепадов температур (tв - tн).

Экспериментальное значение теплопроводности вычисляют по формуле (2), теплопроводность изделий в кладке в сухом состоя­нии - по формуле (3) настоящего стандарта.

Дня изделий с горизонтальным расположением пустот за результат принимают значение теплопроводности, вычисленное по формуле (4) настоящего стандарта.

6.8 Удельную эффективную активность естественных радионуклидов определяют по ГОСТ 30108 на изделиях, уложенных в пакеты или на поддоны с перекрестной перевязкой "на плашок".

6.9 Недожженные и пережженные изделия определяют сравнением кирпичей по цвету с образцами - эталонами, утвержденными предприятием-изготовителем в установленном порядке.

(Введен дополнительно. Изм. № 1)

 

7 ТРАНСПОРТИРОВАНИЕ И ХРАНЕНИЕ

 

7.1 Транспортирование изделий должно производиться с применением в качестве средств пакетирования поддонов типа "ПОД" по ГОСТ 18343. Допускается транспортирование изделий автомобильным транспортом технологическими (разреженными) пакетами без поддонов с применением в качестве средств пакетирования скрепляющих устройств (съемных и стационарных) в кузовах автотранспортных средств.

7.2 Транспортирование изделий автомобильным, железно­до­рож­ным и водным транспортом должно производиться в соответствии с требованиями нормативной документации, действующей на каждом виде транспорта.

7.3 Транспортирование изделий в районы Крайнего Севера и труднодоступные районы осуществляют в соответствии с требования­ми ГОСТ 15846.

7.4 Погрузка и выгрузка пакетов изделий должны производиться механизированным способом при помощи специальных грузозахватных устройств.

7.5 Погрузка изделий навалом (набрасыванием) и выгрузка их сбрасыванием не допускаются.

7.6 На поддонах изделия должны быть уложены в "елку" или "на плашок" и "на ребро" с перекрестной перевязкой. Масса одного пакета должна быть не более 0,85 т.

7.7 Пакеты кирпича, уложенные с перекрестной перевязкой, должны быть упакованы металлической лентой по ГОСТ 3560 или термоусадочной пленкой по ГОСТ 25951, или растягивающейся пленкой по ГОСТ 10354.

7.8 Изделия должны храниться пакетами на поддонах по ГОСТ 18343 раздельно по маркам и видам в сплошных одноленточных штабелях в один ярус. Допускается установка пакета друг на друга не выше двух ярусов.

7.9 Допускается хранение изделий на ровных площадках с твер­дым покрытием в одноленточных штабелях пакетами без поддонов.

 

ПРИЛОЖЕНИЕ А

(рекомендуемое)

 

РЕКОМЕНДУЕМЫЕ ФОРМЫ

И РАЗМЕРЫ ЭКСТРУЗИОННЫХ ИЗДЕЛИЙ

 

 

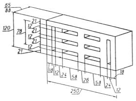
Рисунок А1 - Кирпич с 19 пустотами                        Рисунок А2 - Кирпич с 32 пустотами

               (пустотность 13 %)                                        (пустотность 22 %)

 

 

Рисунок А3 Кирпич с 21 пустотами (пустотность 34 %, 45 %)

 

 

Рисунок А4 - Кирпич с 18 пустотами                      Рисунок А5 - Кирпич с 28 пустотами

           (пустотность 29 %, 38 %)                                (пустотность 32 %, 42 %)

 

 

Рисунок А6 - Камень с 7 пустотами                        Рисунок А7 - Камень с 18 пустотами

         (пустотность 25 %, 33 %)                            (пустотность 27 %, 36 %)

 

 

Рисунок А8 - Камень с 21 пустотами                      Рисунок А9 - Камень с 28 пустотами

        (пустотность 34 %. 45 %)                             (пустотность 32 %, 42 %)

 

 

 

КИРПИЧ ПРЕССОВАННЫЙ

 

 

Рисунок А10 - Кирпич с 8 несквозными отверстиями

(пустотность 11 %)

 

 

Рисунок А11 - Кирпич с 3 сквозными отверстиями

(пустотность 2,25 %)

 

 

Рисунок А12 - Кирпич с 8 сквозными отверстиями

(пустотность 6 %)

 

 

Рисунок А13 - Кирпич с 11 сквозными отверстиями

(пустотность 8,2 %_

 

 

Рисунок А14 - Кирпич с 17 сквозными отверстиями

(пустотность 12,7 %)

 

 

 

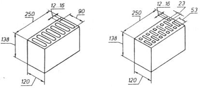
КИРПИЧ И КАМНИ ЭКСТРУЗИОННЫЕ

 

 

 Рисунок А15 - Кирпич с 6                                   Рисунок А16 - Кирпич с 6

горизонтальными пустотами                                           горизонтальными пустотами

 

 

 Рисунок А17 - Камень с 11                                  Рисунок А18 - Камень с 3

горизонтальными пустотами                                            горизонтальными пустотами

 

 

Рисунок А19 - Камень с 30 пустотами и пустотой для захвата

при кладке (пустотность 45 %)

 

 

Рисунок А20 -Кирпич с 8 пустотами

(пустотность 20 %)

 

 

Рисунок А21 - Кирпич с квадратными пустотами

(пустотность 33 %)

 

 

Рисунок А22 - Камень с квадратными пустотами

(пустотность 33 %)

 

 

 

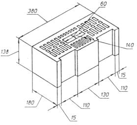
КАМНИ, УКРУПНЕННЫЕ ДЛЯ КЛАДКИ

ТОЛЩИНОЙ В ОДИН КАМЕНЬ

 

 

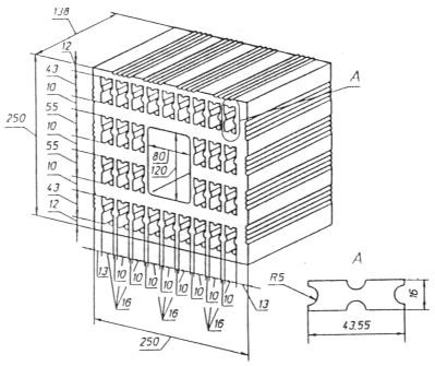
Рисунок А23 - Камень с пустотностью 45 %

 

 

Рисунок А24 - Камень с пустотностью 55 %

 

 

 

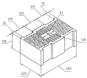
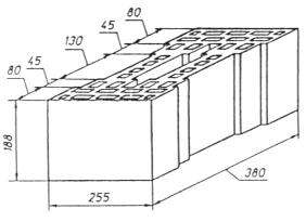
КАМНИ УКРУПНЕННЫЕ ДЛЯ КЛАДКИ

СТЕН ТОЛЩИНОЙ В ОДИН КАМЕНЬ

 

 

Рисунок А25 - Камень с пустотностью 45 %

 

 

Рисунок А26 - Камень с пустотностью 55 %

 

 

Рисунок А27 - Камень с пустотностью 55 %

 

 

 

ПРИЛОЖЕНИЕ Б

(информационное)

(Исключено. Изм. № 1)

 

Ключевые слова: кирпич керамический, камни керамические, наружные и внутренние стены, кладка каменная и армокаменная

 

СОДЕРЖАНИЕ

 




Rambler's Top100 Яндекс цитирования
  Copyright © 2008-2026, www.docload.ru