Бесплатная библиотека стандартов и нормативов www.docload.ru

Все документы, размещенные на этом сайте, не являются их официальным изданием и предназначены исключительно для ознакомительных целей.
Электронные копии этих документов могут распространяться без всяких ограничений. Вы можете размещать информацию с этого сайта на любом другом сайте.
Это некоммерческий сайт и здесь не продаются документы. Вы можете скачать их абсолютно бесплатно!
Содержимое сайта не нарушает чьих-либо авторских прав! Человек имеет право на информацию!

 

ГОСУДАРСТВЕННЫЙ СТАНДАРТ СОЮЗА ССР

БЕТОНЫ

МЕТОДЫ ОПРЕДЕЛЕНИЯ ВОДОНЕПРОНИЦАЕМОСТИ

ГОСТ 12730.5-84

ГОСУДАРСТВЕННЫЙ СТРОИТЕЛЬНЫЙ КОМИТЕТ СССР

Москва

ГОСУДАРСТВЕННЫЙ СТАНДАРТ СОЮЗА ССР

БЕТОНЫ

Методы определения водонепроницаемости Concretes.
Methods for determination of watertighness

ГОСТ
12730
.5-84

Дата введения 01.07.85

Несоблюдение стандарта преследуется по закону

Настоящий стандарт распространяется на все виды бетонов на гидравлических вяжущих и устанавливает методы определения водонепроницаемости бетона испытанием образцов.

1. ОБЩИЕ ТРЕБОВАНИЯ

1.1. Общие требования - по ГОСТ 12730.0 и в соответствии с требованиями настоящего стандарта.

1.2. Высоту контрольных образцов бетона в зависимости от наибольшей крупности зерен заполнителя допускается назначать в соответствии с табл. 1.

Таблица 1

мм

Наибольшая крупность зерен заполнителя

Наименьшая высота образца

5

10

20

30

50

100

1.3. Схемы крепления и герметизации образцов бетона в обоймах приведены в приложении 1.

1.4. Торцевые поверхности образцов перед испытанием очищают от поверхностной пленки цементного камня и следов уплотняющего состава металлической щеткой или другим инструментом.

2. ОПРЕДЕЛЕНИЕ ВОДОНЕПРОНИЦАЕМОСТИ ПО «МОКРОМУ ПЯТНУ»

2.1. Оборудование и материалы

Для проведения испытаний применяют:

установку любой конструкции, которая имеет не менее шести гнезд для крепления образцов и обеспечивает возможность подачи воды к нижней торцевой поверхности образцов при возрастающем ее давлении, а также возможность наблюдения за состоянием верхней торцевой поверхности образцов;

цилиндрические формы для изготовления образцов бетона с внутренним диаметром 150 мм и высотой 150; 100; 50 и 30 мм;

воду по ГОСТ 23732.

2.2. Подготовка к испытанию

2.2.1. Изготовленные образцы хранят в камере нормального твердения при температуре (20±2) °С и относительной влажности воздуха не менее 95 %.

2.2.2. Перед испытанием образцы выдерживают в помещении лаборатории в течение суток.

2.2.3. Диаметр открытых торцевых поверхностей бетонных образцов - не менее 130 мм.

2.3. Проведение испытания

2.3.1. Образцы в обойме устанавливают в гнезда установки для испытания и надежно закрепляют.

2.3.2. Давление воды повышают ступенями по 0,2 МПа в течение 1 - 5 мин и выдерживают на каждой ступени в течение времени, указанного в табл. 2. Испытание проводят до тех пор, пока на верхней торцевой поверхности образца появятся признаки фильтрации воды в виде капель или мокрого пятна.

Таблица 2

Высота образца, мм

150

100

50

30

Время выдерживания на каждой ступени, ч

16

12

6

4

2.3.3. Допускается оценивать водонепроницаемость бетона ускоренным методом, приведенным в приложении 4.

(Введен дополнительно, Изм. № 1).

2.4. Обработка результатов

2.4.1. Водонепроницаемость каждого образца оценивают максимальным давлением воды, при котором еще не наблюдалось ее просачивание через образец.

2.4.2. Водонепроницаемость серии образцов оценивают максимальным давлением воды, при котором на четырех из шести образцов не наблюдалось просачивание воды.

2.4.3. Марку бетона по водонепроницаемости принимают по табл. 3.

Таблица 3

Водонепроницаемость серии образцов, МПа

0,2

0,4

0,6

0,8

1,0

1,2

Марка бетона по водонепроницаемости

В2

В4

В6

В8

В10

В12

2.4.4. Результаты испытаний заносят в журнал, в котором должны быть предусмотрены следующие графы:

- маркировка образцов;

- возраст бетона и дата испытаний;

- значение водонепроницаемости отдельных образцов и серии образцов.

3. ОПРЕДЕЛЕНИЕ ВОДОНЕПРОНИЦАЕМОСТИ ПО КОЭФФИЦИЕНТУ ФИЛЬТРАЦИИ

3.1. Оборудование и материалы

Для проведения испытаний применяют:

установку для определения коэффициента фильтрации с максимальным испытательным давлением не менее 1,3 МПа по приложению 2;

цилиндрические формы для изготовления образцов с внутренним диаметром 150 мм и высотой 150; 100; 50 и 30 мм;

технические весы по ГОСТ 24104;

силикагель по ГОСТ 3956.

3.2. Подготовка к испытанию

3.2.1. Изготовленные образцы хранят в камере нормального твердения при температуре (20±2) °С и относительной влажности воздуха не менее 95 %.

3.2.2. Перед испытанием образцы бетона выдерживают в помещении лаборатории до момента, пока изменение массы образца за сутки будет менее 0,1 %.

3.2.3. Перед началом испытания образцы должны быть проверены на герметизацию и дефектность путем оценки характера фильтрации инертного газа, подаваемого при избыточном давлении 0,1 - 0,3 МПа к нижнему торцу образца, на верхний торец которого налит слой воды.

При удовлетворительной герметизации боковой поверхности образца в обойме и отсутствии в нем дефектов фильтрацию газа наблюдают в виде равномерно распределенных пузырьков, проходящих через слой воды.

При неудовлетворительной герметизации боковой поверхности образцов в обойме или при наличии в образцах крупных дефектов фильтрацию газа наблюдают в виде обильного местного выделения в дефектных местах.

Дефекты герметизации боковой поверхности устраняют повторной герметизацией образцов. При наличии в образце отдельных крупных фильтрующих каналов образцы бетона заменяют.

3.2.4. Образцы, выбуренные из конструкции диаметром не менее 50 мм, после герметизации их боковых поверхностей подвергают испытаниям независимо от наличия в них дефектов.

3.2.5. Вода по ГОСТ 23732, применяемая для испытаний, должна быть предварительно дезаэрирована путем кипячения не менее 1 ч. Температура воды в период испытаний (20±5) °С.

3.3. Проведение испытаний

3.3.1. В установке одновременно испытывают шесть образцов.

3.3.2. Подъем давления дезаэрированной воды производят ступенями по 0,2 МПа в течение 1 - 5 мин с выдержкой в течение 1 ч на каждой ступени до давления, при котором появляются признаки фильтрации в виде отдельных капель.

3.3.3. Воду (фильтрат), прошедшую через образец, собирают в приемный сосуд.

3.3.4. Измерение веса фильтрата производят через каждые 30 мин и не менее шести раз на каждом образце.

3.3.5. При отсутствии фильтрата в виде капель в течение 96 ч количество влаги, проходящее через образец, измеряют путем поглощения ее силикагелем или другим сорбентом в соответствии с п. 3.3.4.

Силикагель должен быть предварительно высушен и помещен в закрытый сосуд, который герметически присоединяют к патрубку для сбора фильтрата в приемный сосуд.

3.3.6. Допускается оценивать коэффициент фильтрации бетона ускоренным методом, приведенным в приложении 3.

3.4. Обработка результатов

3.4.1. Вес фильтрата отдельного образца Q, Н, принимают как среднее арифметическое четырех наибольших значений.

3.4.2. Коэффициент фильтрации Кф, см/с, отдельного образца определяют по формуле

Кф =

где Q - вес фильтрата, Н;

d - толщина образца, см;

S - площадь образца, см2;

t - время испытания образца, в течение которого измеряют вес фильтрата, с.

р - избыточное давление в установке, Мпа;

h - коэффициент, учитывающий вязкость воды при различной температуре, принимают по табл. 4.

Таблица 4

Температура воды, °С

15

20

25

Коэффициент h

1,13

1,0

0,89

Примечание. При температуре воды, находящейся в интервале между указанными в табл. 4, коэффициент h принимают по интерполяции.

3.4.3. При испытании бетонных образцов диаметром менее 150 мм, выбуренных из конструкций, коэффициент фильтрации, полученный по расчетной формуле, умножают на поправочный коэффициент Кп, который принимают по табл. 5.

Таблица 5

Диаметр образца, мм

150

130

120

100

80

50

Поправочный коэффициент Кп

1,0

1,1

1,4

1,8

2,8

5,5

3.4.4. Для определения коэффициента фильтрации серии образцов коэффициенты фильтрации отдельных образцов этой серии располагают в порядке увеличения их значений и используют среднее арифметическое значение коэффициентов фильтрации двух средних образцов (третьего и четвертого).

3.4.5. Результаты испытаний заносят в журнал, в котором должны быть предусмотрены следующие графы:

маркировка образцов;

вес фильтрата;

коэффициент фильтрации каждого образца и серии.

3.5. Полученное значение коэффициента фильтрации Кф сравнивают с маркой бетона по водонепроницаемости в соответствии с табл. 6.

Таблица 6

Коэффициент фильтрации Кф, см/с

Марка бетона по водонепроницаемости («мокрое пятно»)

Св. 7×10-9 до 2×10-9

В2

» 2×10-9 » 7×10-9

В4

» 6×10-10 » 2×10-9

В6

» 1×10-10 » 6×10-10

В8

» 6×10-11 » 1×10-10

В10

» 6×10-11 и менее

В12

ПРИЛОЖЕНИЕ 1

Рекомендуемое

СХЕМЫ КРЕПЛЕНИЯ И ГЕРМЕТИЗАЦИИ ОБРАЗЦОВ БЕТОНА В ОБОЙМАХ

Способ уплотнения боковой поверхности образца путем обжатия образцов набором чередующихся резиновых и металлических колец или завулканизированной стальной пружиной резиновым кольцом

Способ уплотнения боковой поверхности образца путем заливки зазора между образцами и обоймой специальными мастиками

Способ уплотнения боковой поверхности образца резиновой полой камерой с избыточным давлением в ней

1 - образец бетона; 2 - испытательная обойма; 3 - мастика; 4 - набор резиновых и металлических колец; 5 - резиновая полая камера; 6 - съемная крышка для подачи воды; 7 - съемная крышка с патрубком для сбора фильтрата

Примечание. При определении водонепроницаемости методом «мокрого пятна» снимают крышку 7.

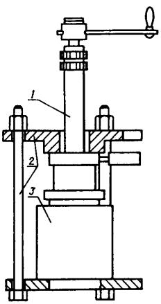
ПРИЛОЖЕНИЕ 2

Рекомендуемое

ПРИНЦИПИАЛЬНАЯ СХЕМА УСТАНОВКИ ДЛЯ ОПРЕДЕЛЕНИЯ КОЭФФИЦИЕНТА ФИЛЬТРАЦИИ

1 - баллон с газом; 2 - насос; 3 - редуктор; 4 - вентиль; 5 - манометр; 6 - передатчик давления; 7 - емкость с водой; 8 - эластичная емкость с дезаэрированной водой; 9 - запасная емкость с дезаэрированной водой; 10 - испытательное гнездо; 11 - измеритель веса фильтрата

ПРИЛОЖЕНИЕ 3

Рекомендуемое

УСКОРЕННЫЙ МЕТОД ОПРЕДЕЛЕНИЯ КОЭФФИЦИЕНТА ФИЛЬТРАЦИИ (ФИЛЬТРАТОМЕТРОМ)

1. Минимальный размер бетонных образцов для испытания должен быть 150 мм.

2. Хранение и подготовка к испытаниям бетонных образцов - в соответствии с пп. 3.2.1 и 3.2.2 настоящего стандарта.

3. Фильтратометр (см. черт. 1 настоящего приложения) устанавливают на нижнюю (при формовании) поверхность образца и закрепляют (см. черт. 2 настоящего приложения).

4. Давление воды в камере фильтратометра поднимают до 10 МПа вращением ручки насоса и оценивают скорость падения давления.

5. При быстром падении давления и невозможности его поддержания путем вращения ручки насоса испытания прекращают и коэффициент фильтрации бетона принимают большим наибольшего значения, указанного в табл. 6 настоящего стандарта (10-8 см/с).

6. При медленном падении давления отмечают положение ручки насоса, а время, соответствующее этому моменту, принимают за начало испытания.

Ручкой насоса делают шесть полных оборотов, поддерживая давление в пределах (10±0,5) МПа, и испытания прекращают. Это время принимают за окончание испытания.

По числу оборотов определяют вес воды, поглощенной бетоном, из расчета, что один полный оборот ручки насоса равен 9,63×10-3 Н.

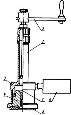
Фильтратометр ФМ-3

1 - гидравлический насос; 2 - ручка насоса; 3 - рабочий цилиндр; 4 - рабочий поршень; 5 - уплотнительная шайба; 6 - манометр; 7 - клапан

Черт. 1

Испытание бетонного образца фильтратометром

1 - фильтратометр; 2 - крепежное устройство; 3 - бетонный образец

Черт. 2

7. После окончания испытаний фильтратометр снимают с образца, мокрую поверхность протирают ветошью и через 2 - 3 мин измеряют диаметр затемненного круга D. Для расчета принимают среднее арифметическое значение шести измерений диаметра.

8. Коэффициент фильтрации бетона Кф, см/с, определяют по формуле

Кф =                                                            (1)

где т - коэффициент водопоглощения, Н/см3;

d - путь фильтрации, равный D/2, см;

t - время испытания образцов, с;

r - избыточное давление в фильтратометре, МПа.

Коэффициент водопоглощения m определяют по формуле

,                                                              (2)

где Q - вес воды, поглощенной бетоном, Н;

V - объем бетона, насыщенного водой, см3.

Объем бетона V, насыщенного водой, определяют по формуле

V =                                                               (3)

9. Среднее значение коэффициента фильтрации бетона определяют по данным шести испытаний в соответствии с требованиями п. 3.4.4 настоящего стандарта.

Приложение 4

Рекомендуемое

УСКОРЕННЫЙ МЕТОД ОПРЕДЕЛЕНИЯ ВОДОНЕПРОНИЦАЕМОСТИ БЕТОНА ПО ЕГО ВОЗДУХОПРОНИЦАЕМОСТИ

1. Общие требования

Метод учитывает общие требования ГОСТ 12730.0 и положения определения водонепроницаемости бетона по его воздухопроницаемости.

2. Отбор образцов

2.1. Размеры контрольных образцов - по п. 1.2 настоящего стандарта. Допускается испытывать образцы-кубы с ребром длиной 150 мм. Число образцов в серии - 6.

2.2. Изготовление контрольных образцов - по ГОСТ 10180, хранение и подготовка их к испытаниям - по пп. 1.4 и 2.2 настоящего стандарта.

Примечание. При хранении образцов должна быть исключена возможность попадания воды на их поверхность.

3. Оборудование и материалы

3.1. Для проведения испытаний используют:

устройство типа «Агама-2Р» для определения воздухопроницаемости бетона, принципиальная схема которого приведена на черт. 3;

герметизирующую мастику, удовлетворяющую требованиям ГОСТ 14791.

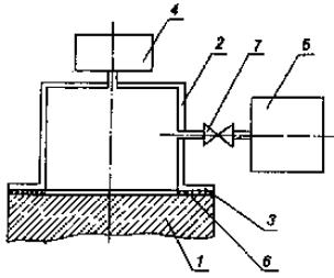
Принципиальная схема устройства для определения воздухопроницаемости поверхностных слоев бетона

1 - бетонный образец; 2 - камера устройства; 3 - фланец камеры; 4 - вакуумметрический датчик; 5 - вакуум-насос: 6 - герметизирующая мастика; 7 - вентиль

Черт. 3

3.2. Допускается применять другие устройства, отвечающие основным требованиям:

ширина фланца камеры устройства должна быть не менее 25 мм;

начальное давление прижатия фланца камеры к поверхности бетона образца должно быть не менее 0,05 МПа;

начальный уровень вакуумметрического давления, создаваемого внутри камеры, должен быть не менее 0,064 МПа;

внутренний объем полости камеры устройства должен быть не менее 180 см3;

при установке и герметизации устройства на поверхности непроницаемого материала (оргстекло по ГОСТ 9784 и др.) падение вакуумметрического давления не должно превышать 0,002 МПа в течение 1 ч.

4. Подготовка испытаний

4.1. Водонепроницаемость бетона определяют по табл. 7 или, в случае невозможности использования таблицы, по экспериментально устанавливаемой градуировочной зависимости.

4.2. Проверку возможности использования табл. 7 осуществляют в соответствии с пп. 7.1 и 7.2. Установление градуировочной зависимости - по пп. 7.3 - 7.6.

4.3. Проверку возможности использования значений табл. 7 проводят перед началом применения настоящего ускоренного метода и каждый раз при изменении вида и качества применяемых цемента, добавок и заполнителей.

4.4. Перед проведением испытаний устройство проверяют на герметичность в соответствии с инструкцией по эксплуатации.

5. Проведение испытаний

5.1. При испытании герметизирующую мастику жгутом диаметром не менее 6 мм укладывают на фланец камеры по его средней линии и соединяют концы. Камеру фланцем устанавливают на нижнюю (по условиям формования) поверхность образца и в полости камеры создают разрежение не менее 0,064 МПа.

5.2. В соответствии с инструкцией по эксплуатации устройства определяют значение параметра воздухопроницаемости бетона аi, см3/с, для каждого образца или обратное ему значение сопротивления бетона прониканию воздуха тi, с/см3.

6. Обработка результатов

6.1. Полученные значения аi (mi) бетона образцов записывают в порядке их возрастания и определяют среднее арифметическое значение аc (mc) двух средних образцов (третьего и четвертого) в качестве параметра, характеризующего воздухопроницаемость бетона в серии.

6.2. По табл. 7 или установленной градуировочной зависимости определяют марку бетона по водонепроницаемости W, соответствующую полученному значению аc или mc. При этом в качестве марки бетона по водонепроницаемости при использовании градуировочной зависимости принимают значение W, рассчитанное по формуле (1) или (2) для данного значения аc (mc) и округленное до ближайшего целого четного числа.

Таблица 7

Параметр воздухопроницаемости бетона аc, см3

Сопротивление бетона прониканию воздуха mc, с/см3

Марка бетона по водонепроницаемости W

0,325 - 0,224

3,1 - 4,5

2

0,223 - 0,154

4,6 - 6,5

4

0,153 - 0,106

6,6 - 9,4

6

0,105 - 0,0728

9,5 - 13,7

8

0,0727 - 0,0510

13,8 - 19,6

10

0,0509 - 0,0345

19,7 - 29,0

12

0,0344 - 0,0238

29,1 - 42,0

14

0,0237 - 0,0164

42,1 - 60,9

16

0,0163 - 0,0113

61,0 - 88,5

18

0,0112 - 0,0077

88,6 - 130,2

20

7. Проверка возможности использования табл. 7 и установление градуировочной зависимости

7.1. Проверку осуществляют в последовательности:

по пп. 2.2, 5.1, 5.2 настоящего приложения изготавливают и испытывают одну серию образцов из бетона одного из контролируемых составов;

определяют значение аc (mc) для этой серии образцов и соответствующую ему по табл. 7 марку бетона по водонепроницаемости;

эту же серию образцов испытывают по разд. 2 настоящего стандарта и определяют марку бетона по водонепроницаемости «по мокрому пятну».

7.2. Табл. 7 можно использовать, если значение марки бетона по водонепроницаемости W отличается от полученного по таблице не более чем на одну марку.

7.3. Если требование п. 7.2 не выполняется (табл. 7 использовать невозможно), для определения марки бетона по водонепроницаемости используют градуировочную зависимость «аc - W» или «mc - W»:

W = b0 + b1lgac,                                                         (1)

W = b0 + b1lg mc,                                                       (2)

где b0 и b1 - коэффициенты, определяемые по пп. 7.4, 7.5.

7.4. Коэффициенты b0 и b1 определяют по результатам испытаний серии образцов в соответствии с п. 7.1 и двух дополнительных серий образцов, также изготовленных и испытанных по п. 7.1.

При изготовлении образцов одной из указанных серий следует использовать бетонную смесь с водоцементным отношением 0,40 - 0,42, другой - 0,52 - 0,54. Соотношения между заполнителями и между цементом и добавками в этих бетонных смесях должны быть такими же, как и в контролируемом составе.

7.5. Коэффициент b0 и b1 рассчитывают по формулам:

                              (3)

                                          (4)

где acj - значение ac или тс для отдельных серий образцов (ас1, ас2, ас3 или тс1, тс2, тс3);

Wj - значения W для отдельных серий (W1, W2, W3) марки бетона по водонепроницаемости.

8. Промер установления и использования градуировочной зависимости

8.1. Для установления градуировочной зависимости на заводе ЖБИ по п. 7.1 были изготовлены и испытаны основная (О) и две дополнительные серии (1Д, 2Д) бетонных образцов. Результаты испытаний приведены во 2-й и 3-й графах табл. 8. При дальнейшем контроле качества бетонов различных составов, приготовленных из тех же материалов, что и образцы указанных серий, были изготовлены и по пп. 5.1 и 5.2 испытаны еще три серии образцов (3, 4, 5), средние значения параметра воздухопроницаемости которых указаны во 2-й графе табл. 9.

Определить марку бетона по водонепроницаемости для каждой из этих серий.

8.2. Последовательность обработки данных для нахождения коэффициентов b0 и b1 приведена в табл. 8.

Таблица 8

Индекс серия

acj, см3

Wj

lgacj

Wj lgacj

(lgacj)2

O

0,048

0,106

0,0046

8

2

22

-1,319

-0,975

-2,337

-10,55

-1,95

-51,41

1,74

0,95

5,46

0,1586

32

-4,631

-63,91

8,15

,

,

8.3. По формуле (5) соответствующая градуировочная зависимость имеет вид:

                                                  (5)

Таблица 9

Индекс серии

acj, см3

lgacj

Wj по формуле (5)

Марка бетона пo водонепроницаемости W

3

4

5

0,083

0,032

0,036

-1,081

-1,495

-1,444

3,9

9,9

9,2

4

10

10

8.4. Подставляя в уравнение (5) значения lgac,j для серий 3 - 5 (3-я графа табл. 9), получаем значения Wj, приведенные в 4 графе табл. 9. Округляя эти значения до ближайшего четного числа в соответствии с п. 6.2. настоящего приложения, определяем искомые марки бетонов по водонепроницаемости, указанные в 5-й графе табл. 9.

Приложение 4. (Введено дополнительно, Изм. № 1).

ИНФОРМАЦИОННЫЕ ДАННЫЕ

1. РАЗРАБОТАН Научно-исследовательским, проектно-конструкторским и технологическим институтом бетона и железобетона (НИИЖБ) Госстроя СССР

Донецким ПромстройНИИпроектом Госстроя СССР

Министерством транспортного строительства СССР

ИСПОЛНИТЕЛИ

Ю.А. Саввина, канд. техн. наук (руководитель темы); Ф.М. Иванов, д-р техн. наук; В.М. Москвин, д-р техн. наук; Л.А. Малинина, д-р техн. наук; М.И. Бруссер, канд. техн. наук; И.М. Дробященко, канд. техн. наук; О.В. Дубцов; Ю.П. Чернышев, канд. техн. наук; О.А. Пристромко, канд. техн. наук; П.Г. Волошенюк; Ю.В. Чеховский, д-р техн. наук; Л.В. Березницкий, канд. техн. наук; Е.А. Антонов; А.В. Лаврик; Е.А. Гузеев, д-р техн. наук; Н.К. Розенталь, канд. техн. наук; С.П. Абрамова; И.Н. Нагорняк

ВНЕСЕН Научно-исследовательским, проектно-конструкторским и технологическим институтом бетона и железобетона (НИИЖБ) Госстроя СССР

2. УТВЕРЖДЕН И ВВЕДЕН В ДЕЙСТВИЕ Постановлением Государственного комитета СССР по делам строительства от 18 июня 1984 г. № 87

3. ВЗАМЕН ГОСТ 12730.5-78; ГОСТ 19426-74

4. ССЫЛОЧНЫЕ НОРМАТИВНО-ТЕХНИЧЕСКИЕ ДОКУМЕНТЫ

5. ПЕРЕИЗДАНИЕ (сентябрь 1989 г.) с Изменением № 1, утвержденным в июне 1989 г.

СОДЕРЖАНИЕ

1. Общие требования. 1

2. Определение водонепроницаемости по «мокрому пятну». 2

3. Определение водонепроницаемости по коэффициенту фильтрации. 3

Приложение 1 Схемы крепления и герметизации образцов бетона в обоймах. 5

Приложение 2 Принципиальная схема установки для определения коэффициента фильтрации. 6

Приложение 3 Ускоренный метод определения коэффициента фильтрации (фильтратометром) 6

Приложение 4 Ускоренный метод определения водонепроницаемости бетона по его воздухопроницаемости. 8

 




Rambler's Top100 Яндекс цитирования
  Copyright © 2008-2026, www.docload.ru