Бесплатная библиотека стандартов и нормативов www.docload.ru

Все документы, размещенные на этом сайте, не являются их официальным изданием и предназначены исключительно для ознакомительных целей.
Электронные копии этих документов могут распространяться без всяких ограничений. Вы можете размещать информацию с этого сайта на любом другом сайте.
Это некоммерческий сайт и здесь не продаются документы. Вы можете скачать их абсолютно бесплатно!
Содержимое сайта не нарушает чьих-либо авторских прав! Человек имеет право на информацию!

 

ГОСУДАРСТВЕННЫЙ СТАНДАРТ СОЮЗА ССР

ЗАПОЛНИТЕЛИ
ПОРИСТЫЕ НЕОРГАНИЧЕСКИЕ
ДЛЯ СТРОИТЕЛЬНЫХ РАБОТ

МЕТОДЫ ИСПЫТАНИЙ

ГОСТ 9758-86

(СТ СЭВ 5066-85, СТ СЭВ 5446-85,

СТ СЭВ 5975-87, СТ СЭВ 6317-88)

 

ГОСУДАРСТВЕННЫЙ СТРОИТЕЛЬНЫЙ КОМИТЕТ СССР

Москва

 

ГОСУДАРСТВЕННЫЙ СТАНДАРТ СОЮЗА ССР

ЗАПОЛНИТЕЛИ
ПОРИСТЫЕ НЕОРГАНИЧЕСКИЕ
ДЛЯ СТРОИТЕЛЬНЫХ РАБОТ

Методы испытаний

Non-organic porous aggregates
for construction work.
Test methods

ГОСТ
9758-86

(СТ СЭВ 5066-85,
СТ
СЭВ 5446-85,
СТ
СЭВ 5975-87,
С
T СЭВ 6317-88)

Дата введения 01.01.88

Несоблюдение стандарта преследуется по закону

Настоящий стандарт распространяется на пористые неорганические заполнители для легкого бетона, теплоизоляционных изделий и засыпок и других строительных работ, выпускаемые по требованиям ГОСТ 9757-83 и ГОСТ 22263-76, и устанавливает методы их испытаний.

1. ОБЩИЕ ПОЛОЖЕНИЯ

Необходимость проведения отдельных испытаний устанавливается стандартами или техническими условиями, а также другой нормативно-технической документацией на конкретные виды заполнителей.

1.1. Область применения различных видов испытаний приведена в справочном приложении 1.

Определение средней плотности зерен песка, содержания стеклофазы в искусственном пористом заполнителе, теплопроводности зерен крупного заполнителя, водопотребности песка и водопоглощения крупного заполнителя в бетонной смеси, а также испытание природных пористых заполнителей в бетоне следует проводить для специальных случаев оценки качества заполнителей, предусмотренных соответствующей нормативно-технической документацией, а при оценке качества сырья - по специальному заданию заказчика.

Предел прочности при сжатии исходной горной породы следует определять по ГОСТ 8269-87, теплопроводность заполнителя в засыпке - по ГОСТ 7076-87.

1.2. Образцы и навески заполнителей взвешивают с погрешностью до 0,1 %, если в настоящем стандарте не даны другие указания относительно погрешности взвешивания.

1.3. Образцы и навески высушивают до постоянной массы при температуре (105 ± 5) °С в сушильном шкафу с номинальной температурой 250 °С по ОСТ 16.0.801.397-87 до тех пор, пока разница между результатами двух взвешивании будет не более 0,1 % массы образца или навески. Время между двумя последующими взвешиваниями должно быть не менее 3 ч.

1.4. Результаты испытаний подсчитывают с точностью до второго знака после запятой, если не дается других указаний относительно точности вычисления.

1.5. За результат испытания принимают среднее арифметическое значение результатов параллельных определений, количество которых предусмотрено соответствующим методом.

Разность между отдельными определениями должна отвечать предусмотренной соответствующим методом, но не превышать ±5 % среднего значения этих определений.

1.6. Температура воздуха в помещении, в котором проводят испытания заполнителей, должна быть (25 ± 10) °С. Перед началом испытания заполнители и вода должны иметь температуру, соответствующую температуре воздуха в помещении.

1.7. Для определения зернового состава (гранулометрического анализа) заполнителя должны применяться комплекты наборов на металлических или деревянных цилиндрических рамках диаметром не менее 500 мм, или квадратных рамках со стороной не менее 300 мм.

Стандартный набор сит должен включать сита с отверстиями диаметром 5, 10, 20, 40 мм для крупных заполнителей, сито с отверстием диаметром 5 мм и сетками с квадратными отверстиями 2,5; 1,25; 0,63; 0,16 мм для песка (допускается применять сетку 0,14 мм) по ГОСТ 6613-86.

1.8. Для проведения испытаний применяют воду по ГОСТ 2874-82 и ГОСТ 23732-79, если в стандартах не даны указания по использованию дистиллированной воды или других жидкостей.

2. ОТБОР ПРОБ

2.1. Для испытания пористых заполнителей на предприятии-изготовителе и на предприятии-потребителе отбирают точечные пробы.

2.2. При контроле качества продукции на предприятии-изготовителе в процессе производства точечные пробы отбирают через каждый час в течение смены от каждой технологической линии.

2.3. Отбор точечных проб с конвейеров, транспортирующих продукцию, осуществляется путем пересечения всей ширины потока материала на ленточном конвейере или в местах пересыпки материала с помощью пробоотборников или вручную. При ручном отборе следует соблюдать установленные правила техники безопасности.

2.4. При проверке качества на складах (изготовителя, потребителя и др.) точечные пробы отбирают:

из силосов - путем пересечения потока материала, поступающего в транспортное средство;

из конусов - в местах, возможно равномерно расположенных по всей поверхности склада, со дна выкопанных с помощью совка лунок глубиной 0,2-0,4 м. Лунки должны размещаться в шахматном порядке с расстоянием не более 10 м одна от другой.

2.5. При проверке качества разгружаемого гравия, щебня и песка точечные пробы отбирают от проверяемой партии:

при разгрузке железнодорожного вагона - из потока материала на ленточных конвейерах, используемых для транспортирования заполнителей на склад, или непосредственно из вагонов - после выравнивания поверхности материала в вагоне и путем выкапывания пяти лунок 0,2-0,4 м на расстоянии 0,5 м от борта вагона в четырех углах вагона и в центре. Из лунок пробы материала отбирают совком;

при разгрузке судна - через равные интервалы времени с ленточного конвейера при использовании непрерывного транспорта или при разгрузке судов грейферными кранами - с вновь образованной поверхности материала в судне без образования лунок. При отборе проб в этом случае следует соблюдать установленные правила техники безопасности;

при разгрузке каждого автомобиля - одну точечную пробу. Число контролируемых автомобилей должно приниматься в зависимости от объема поставляемой партии.

2.6. Объем точечной пробы в зависимости от крупности гравия, щебня и песка должен быть не менее 2 л и не более 15 л.

2.7. После отбора точечные пробы объединяют, полученную объединенную пробу тщательно перемешивают и квартованием сокращают до лабораторной пробы.

2.8. Для каждого испытания из лабораторной пробы методом квартования готовят аналитическую пробу. Из аналитической пробы отбирают навески в соответствии с методикой испытаний. Объем пробы для проведения каждого испытания должен быть не менее указанного в табл. 2.

Таблица 2

Наименование свойств заполнителя, определяемых при испытаниях

Объем пробы, л, отбираемой для проведения испытаний
при размере фракции заполнителя, мм

0-5

5-10

10-20

20-40

Насыпная плотность

5

10

20

40

Средняя плотность

-

3

3

3

Истинная плотность

1

1

1

1

Средняя плотность зерен гравия в кварцевом песке

-

1

1

1

Средняя плотность зерен заполнителя в цементном тесте

2

7

7

7

Средняя плотность зерен песка

1

-

-

-

Теплопроводность заполнителя в засыпке

5

12

12

12

Теплопроводность зерен крупного заполнителя

5

12

12

12

Содержание стеклофазы в заполнителе

0,5

0,5

0,5

0,5

Влажность

2

3

3

3

Водопоглощение крупного заполнителя

-

2

3

5

Зерновой состав

2

5

10

20

Коэффициент формы зерен крупного заполнителя

-

1

2

4

Содержание расколотых зерен в гравии

-

1

2

4

Содержание невспученных частиц

1

-

-

-

Содержание зерен инородных горных пород

-

10

10

10

Прочность заполнителя сдавливанием в цилиндре

6

6

6

6

Марочная прочность крупного заполнителя в бетоне

-

20

20

20

Пригодность заполнителя для бетона

30

20

20

20

Морозостойкость крупного заполнители

-

2

2

4

Морозостойкость крупного заполнителя в растворе сернокислого натрия

-

2

2

4

Стойкость крупного заполнителя против силикатного распада

-

2

2

4

Стойкость крупного заполнителя против железистого распада

-

2

2

4

Потеря массы крупного заполнителя при кипячении

-

2

2

4

Содержание слабообожженных частиц в песке

1

-

-

-

Содержание водорастворимых сернистых и сернокислых соединений

2

2

2

2

Потеря массы при прокаливании

2

2

2

2

Коэффициент размягчения крупного заполнителя

-

12

12

12

Водопотребность песка

1

-

-

-

 

2.9. При проведении периодических испытаний, предусмотренных приемочным контролем, а также при входном контроле масса лабораторной пробы должна обеспечивать проведение всех предусмотренных испытаний.

Допускается использование одной пробы для проведения нескольких испытаний, если в процессе предшествующих испытаний свойства заполнителя не подвергаются изменению. Объем лабораторной пробы при приемочном контроле на предприятии-изготовителе должен быть не менее:

5 л - для заполнителя с наибольшим размером зерен 5 мм;

10 л -         »          »          »          »          »          »          10 мм;

20 л -         »          »          »          »          »          »          20 мм;

40 л -         »          »          »          »          »          »          40 мм.

2.10. На каждую лабораторную пробу, предназначенную для испытаний в специализированных лабораториях, или для арбитражных испытаний составляют акт отбора, включающий наименование материала, место и дату отбора пробы, наименование предприятия-изготовителя, обозначение пробы и состав комиссии, отбиравшей пробу. Отобранные пробы упаковывают таким образом, чтобы масса и свойства материалов не изменялись до проведения испытаний.

Каждую пробу снабжают двумя этикетками с обозначением пробы, одну из которых помещают внутрь упаковки, а другую - на видном месте упаковки.

Пробы транспортируют в условиях, предохраняющих их от потерь и загрязнения.

3. ОПРЕДЕЛЕНИЕ НАСЫПНОЙ ПЛОТНОСТИ

3.1. Сущность метода

Насыпную плотность определяют взвешиванием массы высушенной пробы заполнителя в мерном сосуде.

3.2. Аппаратура

Весы для статического взвешивания с ценой деления не более 1 г по ГОСТ 23676-79.

Комплект мерных цилиндрических сосудов.

Сушильный электрошкаф по ОСТ 16.0.801.397-87.

Металлическая линейка по ГОСТ 427-75.

Совок.

Воронка для засыпки песка в мерный сосуд (черт. 1).

3.3. Подготовка к испытанию

Отбирают пробу заполнителя испытываемой фракции (смеси фракций) объемом 5-40 л по п. 2.9 и высушивают до постоянной массы.

3.4. Проведение испытания

Высушенный до постоянной массы заполнитель высыпают в предварительно взвешенный мерный сосуд с высоты 100 мм над его верхним краем до образования над верхом сосуда конуса, который удаляют металлической линейкой вровень с краями сосуда (без уплотнения) и взвешивают. Пористый песок высыпают через воронку.

Размер мерного сосуда и объем пробы для испытания в зависимости от крупности заполнителя принимают по табл. 3.

Таблица 3

Наибольшая крупность зерен заполнителя, мм

Объем мерного сосуда, л

Размер сосуда, мм

Объем пробы, л

Диаметр

Высота

5 и менее

1

108

108,5

1,5

10

2

137

136,5

3,0

20

5

185

186,5

6,5

40

10

234

233,8

11,5

 

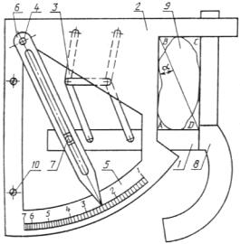
Воронка для определения насыпной плотности песка

 

1 - воронка; 2 - опоры; 3 - заслонка

Черт. 1

 

3.5.Обработка результатов

3.5.1. Насыпную плотность заполнителя (rн) в кг/м3 вычисляют с точностью до 10 кг/м3 (песка марок по насыпной плотности 250 и менее - до 1 кг/м3) по формуле

                 (1)

где m1 - масса мерного сосуда с заполнителем, кг;

m2 - масса мерного сосуда, кг;

V - объем мерного сосуда, м3.

Насыпную плотность заполнителя вычисляют как среднее арифметическое значение результатов двух параллельных определений, при проведении которых каждый раз используют новую порцию заполнителя.

Для песка марок по насыпной плотности 250 и менее вычисление ведут по результатам трех определений.

3.6. Насыпную плотность заполнителя в состоянии естественной влажности определяют при контрольной проверке его качества. За насыпную плотность заполнителя в партии принимают среднее арифметическое значение результатов трех параллельных определений, для которых каждый раз берут новую порцию заполнителя из объединенной пробы.

3.7. Для перевода количества поставляемого заполнителя из весовых единиц в объемные определяют насыпную плотность заполнителя в партии (в состоянии естественной влажности) путем взвешивания заполнителя в состоянии естественной влажности в мерном сосуде, размер которого в зависимости от крупности заполнителя принимают по табл. 4.

Таблица 4

Наибольшая крупность зерен заполнителя, мм

Объем мерного сосуда, л

Размеры сосуда, мм

Диаметр

Высота

10 и менее

10

234

233,8

20

20

294

294

40

50

400

400

 

4. ОПРЕДЕЛЕНИЕ СРЕДНЕЙ ПЛОТНОСТИ ЗЕРЕН КРУПНОГО ЗАПОЛНИТЕЛЯ

4.1. Сущность метода

Среднюю плотность зерен крупного заполнителя определяют гидростатическим методом по разности массы контейнера с навеской до и после насыщения ее водой при взвешивании в воде и на воздухе.

4.2. Аппаратура

Весы для статического взвешивания по ГОСТ 23676-79.

Технические весы по ГОСТ 24104-80 с приспособлением для гидростатического взвешивания (черт. 2).

Сушильный электрошкаф по ОСТ 16.0.801.397-87.

Сита с отверстиями 5, 10, 20, 40 мм из стандартного набора.

Сосуд для насыщения заполнителя водой.

Контейнер для насыщения заполнителя водой (черт. 3).

Противень.

Совок.

Весы для гидростатического взвешивания

 

1 - сетчатый (перфорированный) сосуд; 2 - контейнер со сливом для воды; 3 - разновесы

Черт. 2

 

4.3. Подготовка пробы

Отбирают пробу заполнителя испытываемой фракции объемом 3 л, высушивают ее до постоянной массы, отсеивают в течение 1 - 2 мин на сите с отверстиями диаметром 5 мм частицы мельче 5 мм.

4.4. Проведение испытания

Сухой контейнер с крышкой (см. черт. 3) предварительно взвешивают на воздухе, а затем в воде на весах с приспособлением для гидростатического взвешивания. Высушенный контейнер открывают и насыпают в него часть подготовленной пробы заполнителя объемом 1 л, закрывают его крышкой и взвешивают. Затем контейнер с заполнителем постепенно погружают в сосуд с водой и встряхивают в воде для удаления пузырьков воздуха. Сосуд с заполнителем должен находиться в воде 1 ч, причем уровень воды должен быть выше крышки контейнера не менее чем на 20 мм. Контейнер с насыщенным водой заполнителем взвешивают на весах с приспособлением для гидростатического взвешивания (см. черт. 2). Далее контейнер с заполнителем вынимают из сосуда с водой, излишку воды в течение 10 мин дают стечь и взвешивают на воздухе на технических весах.

Среднюю плотность зерен крупного заполнителя каждой фракции вычисляют как среднее арифметическое значение результатов двух параллельных определений, каждое из которых производят на новой порции заполнителя.

 

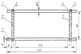
Контейнер для насыщения заполнителя водой

 

1 - нижняя часть контейнера, 2 - крышка; 3 - две шпильки диаметром 4 мм и длиной 2 мм; 4 - отверстия диаметром 4 мм с шагом 8 мм на нижней части контейнера и крышке; 5 - кольцо диаметром 10 мм

Черт. 3

 

4.5. Обработка результатов

Среднюю плотность зерен крупного заполнителя (rк) в г/см3 вычисляют по формуле

                        (2)

где m1 - масса пробы сухого заполнителя, найденная по разности массы контейнера с высушенной пробой и массы контейнера при взвешивании на воздухе, г;

m2 - масса пробы заполнителя, насыщенного водой, найденная по разности массы контейнера с насыщенной пробой заполнителя и без него при взвешивании на воздухе, г;

т3 - масса заполнителя в воде, найденная по разности массы контейнера с насыщенной пробой заполнителя и без него при взвешивании в воде, г;

rв - плотность воды, принимаемая равной 1 г/см3.

5. ОПРЕДЕЛЕНИЕ ИСТИННОЙ ПЛОТНОСТИ

5.1. Сущность метода

Истинную плотность (без пор) определяют по объему дистиллированной воды, вытесняемой навеской испытуемого материала из пикнометра при кипячении.

5.2. Аппаратура

Пикнометр емкостью 100 мл.

Технические весы по ГОСТ 24104-88.

Стакан для взвешивания (бюкса) по ГОСТ 25336-82.

Воронка по ГОСТ 19908-80.

Фарфоровая ступка с пестиком по ГОСТ 9147-80.

Эксикатор по ГОСТ 25336-82.

Сушильный электрошкаф по ОСТ 16.0.801.397-87.

Песчаная баня для подогрева и выпаривания.

Сита с сеткой № 1,25 и 008.

Дистиллированная вода по ГОСТ 6709-72.

Серная кислота по ГОСТ 4204-77.

Хлористый кальций по ТУ 6.09.4711-81.

5.3. Подготовка пробы

От пробы песка или пробы дробленого до крупности 5 мм гравия (щебня) объемом 1 л отбирают квартованием навеску около 200 г, измельчают до крупности 1,25 мм и перемешивают, после чего отвешивают навеску массой 30 г. Навеску измельчают в (фарфоровой ступке в порошок до полного прохождения через сито с сеткой № 008. Полученную пробу высыпают, высушивают до постоянной массы и охлаждают до комнатной температуры в эксикаторе над концентрированной серной кислотой или безводным хлористым кальцием, после чего пробу делят на две навески по 15 г.

5.4. Проведение испытания

Каждую навеску высыпают в чистый высушенный и предварительно взвешенный пикнометр с помощью воронки, после чего взвешивают пикнометр вместе с порошком. Затем в пикнометр наливают дистиллированную воду в таком количестве, чтобы он был заполнен не более чем на 1/2 своего объема, после чего его ставят в слегка наклонном положении на песчаную или водяную баню и кипятят содержимое в течение 15-20 мин для удаления пузырьков воздуха. После удаления воздуха пикнометр обтирают, охлаждают до комнатной температуры, доливают до метки дистиллированной водой и взвешивают. Затем пикнометр освобождают от содержимого, промывают, наполняют до метки дистиллированной водой комнатной температуры, обтирают мягкой тканью и взвешивают.

5.5. Обработка результатов

5.5.1. Истинную плотность (r) в г/см3 вычисляют по формуле

                     (3)

где m1 - масса пикнометра с навеской порошка, г;

т2 - масса пустого пикнометра, г;

т3 - масса пикнометра с дистиллированной водой, г;

т4 - масса пикнометра с навеской порошка и дистиллированной водой после удаления пузырьков воздуха, г;

rж - плотность жидкости при 20 °С, г/см3 (в случае применения дистиллированной воды rв = 1,0 г/см3).

5.5.2. Результат испытания вычисляют как среднее арифметическое результатов двух определений. Расхождение между результатами двух параллельных определений не должно превышать 0,05 г/см3. В случае большего расхождения испытание проводят вторично, применяя в качестве жидкости обезвоженный керосин (для обезвоживания в керосин засыпается прокаленный медный купорос по ГОСТ 19347-84).

6. ОПРЕДЕЛЕНИЕ СРЕДНЕЙ ПЛОТНОСТИ ЗЕРЕН ГРАВИЯ В КВАРЦЕВОМ ПЕСКЕ

6.1. Сущность метода

Среднюю плотность определяют делением массы зерна гравия на объем вытесненного им кварцевого песка.

6.2. Аппаратура и материалы

Технические весы по ГОСТ 24104-88.

Электропечь с номинальной температурой 1100°С по ОСТ 16.0.801.397-87.

Фарфоровый тигель по ГОСТ 9147-80.

Металлическая линейка по ГОСТ 427-75.

Мерный стеклянный цилиндр вместимостью 10 и 25 мл с ценой деления 0,1-0,2 мл по ГОСТ 1770-74.

Воронка по ГОСТ 19908-80.

Нормальный песок по ГОСТ 6139-78.

6.3. Подготовка пробы

Отбирают от испытываемой пробы квартованием 10 зерен гравия.

6.4. Проведение испытания

Каждое подготовленное к испытанию зерно (гранулу) взвешивают на технических весах с погрешностью до 0,1 г.

Объем зерна определяют по объему вытесненного этим зерном кварцевого природного песка следующим образом.

Фарфоровый тигель объемом, в 3-4 раза превышающим возможный объем зерна, заполняют песком, прокаленным при температуре 900-1000 °С. Излишек песка снимают металлической линейкой. Примерно 3/4 объема песка из тигля отсыпают на лист бумаги. Испытываемое зерно опускают в тигель на оставшийся слой песка и засыпают песком с листа бумаги. Излишек песка, равный объему зерна, металлической линейкой снимают на лист бумаги и определяют его объем в мерном стеклянном цилиндре вместимостью 10 мл с ценой деления 0,1-0,2 мл. Встряхивание тигля и цилиндра не допускается.

6.5. Обработка результатов

Среднюю плотность зерен гравия в кварцевом песке (rп) в г/см3 рассчитывают по формуле

                                 (4)

где т - масса зерна (гранулы), г;

V - объем зерна (гранулы), см3 (мл).

За окончательный результат принимают среднее арифметическое значение результатов параллельных испытаний трех зерен (гранул).

Метод предназначен для испытаний геологических проб сырья.

7. ОПРЕДЕЛЕНИЕ СРЕДНЕЙ ПЛОТНОСТИ ЗЕРЕН ЗАПОЛНИТЕЛЯ
В ЦЕМЕНТНОМ ТЕСТЕ

7.1. Сущность метода

7.1.1. Среднюю плотность зерен крупного заполнителя определяют делением массы высушенной навески на ее объем, вычисленный по разности объемов бетонной и растворной смеси на кварцевом песке.

7.1.2. Среднюю плотность зерен песка определяют делением массы высушенной навески на ее объем, полученный по разности объемов растворной смеси и цементного теста.

7.2. Аппаратура и материалы

Весы для статического взвешивания по ГОСТ 23676-79.

Сушильный электрошкаф по ОСТ 16.0.801.397-87.

Сита с отверстиями диаметром 10, 20 и 40 мм из стандартного набора.

Мерный стеклянный цилиндр вместимостью 1000 мл по ГОСТ 1770-74.

Противень.

Виброплощадка по ГОСТ 10181.1-81.

Портландцемент по ГОСТ 10178-85.

Сухой кварцевый песок с модулем крупности 2-2,5 по ГОСТ 8736-85.

7.3. Подготовка пробы

Пробы испытываемых фракций крупного заполнителя и песка объемами 8 и 2 л высушивают в сушильном электрошкафу до постоянной массы и просеиванием отделяют зерна смежных фракций.

7.4. Проведение испытания

7.4.1. Определение средней плотности зерен крупного заполнителя

От высушенной пробы отбирают навеску, равную 3,5 л, перемешивают на предварительно увлажненном противне с навеской цемента в количестве 1,7 кг и кварцевого песка в количестве 3,4 кг. В полученную смесь постепенно наливают воду до получения малоподвижной бетонной смеси жесткостью 5-10 с по ГОСТ 7473-85. Израсходованное количество воды замеряют.

Перемешанную смесь выдерживают в течение 15 мин, а затем полностью помещают в предварительно взвешенный сосуд емкостью 5 л. Смесь в сосуде уплотняют вибрированием в течение 30-60 с на виброплощадке.

Сосуд с уплотненной смесью взвешивают и определяют массу смеси в сосуде с погрешностью до 10 г и объем смеси в сосуде с погрешностью до 10 мл.

7.5. Определение средней плотности зерен песка

Из высушенной до постоянной массы пробы испытываемого песка отбирают навеску, равную 0,9 л, и перемешивают на предварительно увлажненном противне с навеской цемента, равной 1 кг. В полученную смесь постепенно наливают воду до получения пластичной растворной смеси подвижностью 6-8 см по ГОСТ 5802-86. Израсходованное количество воды замеряют. Перемешанную смесь выдерживают 15 мин и затем помещают в предварительно взвешенный мерный сосуд объемом 1 л.

Смесь в сосуде вибрируют 5-10 с до полного уплотнения, характеризуемого обильным выделением цементного клея на поверхности смеси. Затем сосуд взвешивают и вычисляют среднюю плотность приготовленной смеси в уплотненном состоянии.

7.6. Обработка результатов

7.6.1. Среднюю плотность зерен крупного заполнителя и песка в цементном тесте  и  в г/см3 вычисляют с точностью до 0,1 г/см3 по формулам:

   (5)

               (6)

где rсм - плотность приготовленной смеси в уплотненном состоянии, г/см3;

тк - масса испытуемого крупного заполнителя, кг;

тп - масса испытуемого песка, кг;

тц - масса цемента в замесе, кг;

тв - масса воды в замесе, кг;

тп.кв - масса кварцевого песка в замесе, кг;

М - суммарный расход всех материалов (включая воду) в замесе, кг;

rц - плотность цемента, определенная по ГОСТ 310.2-76 или принимаемая равной 3,1 г/см3;

rп.кв - плотность кварцевого песка, определенная по ГОСТ 8735-88 или принимаемая равной 2,65 г/см3.

7.6.2. Среднюю плотность зерен заполнителя в цементном тесте определяют как среднее арифметическое значение результатов двух параллельных определений.

7.6.3. Метод предназначен для расчетов при подборе составов легких бетонов.

8. ОПРЕДЕЛЕНИЕ СРЕДНЕЙ ПЛОТНОСТИ ЗЕРЕН ПЕСКА

8.1. Сущность метода

Среднюю плотность зерен песка определяют делением массы высушенной навески на ее объем, полученный пикнометрическим методом в воде с предварительным насыщением зерен керосином.

8.2. Аппаратура и материалы

Плотномер ДКП-2 (см. черт. 4), представляющий собой усложненный пикнометр - двойную колбу с полым поршнем, совмещенным с мешалкой. Лопасти мешалки висят на ободе поршня-мешалки и не препятствуют свободному ходу поршня, но при вращении поршня-мешалки лопасти раскрываются и принимают наклонное или горизонтальное положение. Полый поршень снизу закрыт тонкой металлической сеткой, пропускающей жидкость, но задерживающей всплывшие зерна песка.

Технические весы по ГОСТ 24104-88.

Сушильный электрошкаф по ОСТ 16.0.801.397-87.

Вакуумный насос с электроприводом НВЭ и вакуумной тарелкой.

Стеклянная воронка диаметром 80 мм по ГОСТ 19908-80.

Мерный стеклянный цилиндр вместимостью 30 мл с ценой деления 0,1-0,2 мл по ГОСТ 1770-74.

Дистиллированная вода по ГОСТ 6709-72.

Керосин по ОСТ 38.01.407-86.

Стиральный невспенивающийся порошок по ГОСТ 25644-83.

Метиловый красный, 0,2 %-ный спиртовой раствор.

Медный купорос по ГОСТ 19347-84.

 

Плотномер ДКП-2

1 - основная (А) и дополнительная (Б) емкости двойной колбы; 2 - шток; 3 - метка; 4 - поршень; 5 - поршень-мешалка; 6 - перекладина; 7 - уплотнительное кольцо; 8 - сетка № 063; 9 - ободок из проволоки диаметром 1 мм; 10 - лопасти.

Черт. 4

 

8.3. Подготовка пробы

8.3.1. От пробы испытываемого песка отбирают квартованием навеску, равную 100 см3, и высушивают до постоянной массы. Затем навеску перемешивают и отбирают от нее две навески, равные по объему 30 см3.

8.3.2. Прибор промывают и высушивают до постоянной массы.

8.3.3. Дистиллированную воду подкрашивают метиловым красным и добавляют стиральный порошок (из расчета 10 мг на 1 л воды).

8.3.4. Керосин обезвоживают медным купоросом из расчета 100 г на 1 л керосина.

8.4. Проведение испытания

Подготовленную навеску через воронку всыпают в плотномер ДКП-2 н взвешивают на технических весах. Затем заливают обезвоженным керосином до полного ее покрытия и выдерживают под вакуумом в течение 30 мин при остаточном давлении не более 2,7 кПа (20 мм рт. ст.). После этого прибор с содержимым взвешивают, наливают воду до метки и вращают поршень-мешалку. При вращении лопасти мешалки раскрываются и перемешивают всю смесь, способствуя полному удалению из межзернового пространства воздуха и всплыванию керосина над водой. При этом уровень воды опускается ниже метки, а керосин (кроме впитавшегося в поры зерен песка) перемещается в дополнительную емкость прибора. Вращение поршня-мешалки продолжают до тех пор, пока уровень воды перестанет опускаться. Доливают воду до метки и прибор с содержимым взвешивают. По окончании плотномер промывают, заполняют дистиллированной водой до метки и снова взвешивают.

8.5. Обработка результатов

8.5.1. Среднюю плотность (rк) в г/см3 вычисляют с точностью до 0,01 г/см3 по формуле

        (7)

где m1 -масса пустого прибора, г;

m2 - масса прибора с навеской песка, г;

т3 - масса прибора с навеской песка и керосином, г;

т4 - масса прибора с навеской песка и водой до метки и всплывшим керосином, г;

т5 - масса прибора и воды в приборе, г;

rв - плотность воды, равная 1 г/см3.

8.5.2. Среднюю плотность зерен песка вычисляют как среднее арифметическое значение результатов двух параллельных определений.

8.5.3. Расхождение между результатами двух параллельных определений не должно превышать 0,02 г/см3.

9. ОПРЕДЕЛЕНИЕ ОБЪЕМА МЕЖЗЕРНОВЫХ ПУСТОТ
И ПОРИСТОСТИ ЗЕРЕН ЗАПОЛНИТЕЛЯ

9.1. Сущность метода

Объем межзерновых пустот определяют расчетом по данным о насыпной и средней плотности зерен заполнителя.

Пористость зерен определяют расчетом по данным об истинной и средней плотности зерен заполнителя.

9.2. Обработка результатов

9.2.1. Объем межзерновых пустот в крупном заполнителе и в песке  в процентах по объему вычисляют соответственно по формулам:

                       (8)

                       (9)

где rн - насыпная плотность заполнителя в сухом состоянии, кг/м3;

rк, rп - средняя плотность зерен крупного заполнителя и песка, г/см3.

9.2.2. Пористость зерен крупного заполнителя  и песка  в процентах по объему вычисляют соответственно по формулам:

                     (10)

                     (11)

где rк, rп - средняя плотность зерен крупного заполнителя и песка, г/см3;

r - истинная плотность заполнителя, г/см3.

10. ОПРЕДЕЛЕНИЕ ТЕПЛОПРОВОДНОСТИ ЗЕРЕН КРУПНОГО ЗАПОЛНИТЕЛЯ

10.1. Сущность метода

Метод основан на определении теплопроводности крупного заполнителя расчетным путем по теплопроводности бетона и его растворной части.

10.2. Аппаратура и материалы

Весы для статического взвешивания по ГОСТ 23676-79.

Сушильный электрошкаф по ОСТ 16.0.801.397-87.

Сита с отверстиями 5, 10, 20 и 40 мм из стандартного набора.

Мерные цилиндрические сосуды вместимостью 1, 2 и 5 л.

Виброплощадка по ГОСТ 10181.1-81.

Встряхивающий столик по ГОСТ 310.4-81.

Штангенциркуль по ГОСТ 166-80.

Противни.

Мастерок.

Формы для образцов размером 25´25´5 см по ГОСТ 22685-77.

Контейнер для насыщения заполнителя водой.

Лабораторная пропарочная камера.

Установка для испытания на теплопроводность по ГОСТ 7076-87.

Портландцемент по ГОСТ 10178-85.

Песок 2-й группы по ГОСТ 9757-83.

10.3. Подготовка пробы

10.3.1. Отбирают пробы испытываемых фракций крупного заполнителя объемом 5 л и песка объемом 10 л и рассеиванием отделяют зерна смежных фракций. Пробу крупного заполнителя насыщают водой в течение 1 ч.

10.4. Проведение испытания

10.4.1. Материалы для приготовления раствора отвешивают при соотношении цемент: песок 1:1 по массе, воду вводят в количестве, необходимом для получения пластичной консистенции (расплыв на встряхивающем столике должен составлять 15-17 см). Раствор для образцов, предназначенных для определения теплопроводности, перемешивают вручную или в лабораторном смесителе, укладывают в две формы размером 25´25´5 см и вибрируют в течение 15-20 с. Объем раствора должен составлять 12,5 л.

10.4.2. Среднюю плотность уплотненного раствора rр, кг/м3, определяют по ГОСТ 10181.2-81.

10.4.3. Для приготовления бетона отбирают навеску раствора, массу которой (Мр) в кг вычисляют по формуле

                (12)

где Vб - объем бетона, изготовляемого из раствора и крупного заполнителя, предназначенных для испытаний, л.

Объем бетона для изготовления двух образцов 25´25´5 см должен составлять 8 л.

10.4.4. Отобранную навеску раствора перемешивают в течение 1-2 мин вручную на предварительно увлажненном противне с навеской крупного заполнителя, приготовленного по п. 10.3.1.

Массу навески заполнителя (тв) в кг определяют по формуле

                       (13)

где rк - средняя плотность зерен крупного заполнителя, г/см3;

Wпогл - водопоглощение заполнителя за 1 ч, %.

10.4.5. Из приготовленной бетонной смеси вибрированием в течение 30-40 с формуют два образца для определения теплопроводности. Образцы раствора и бетона не ранее чем через 6 ч после изготовления пропаривают в лабораторной пропарочной камере при температуре 80-85 °С в течение 10-16 ч и после распалубки помещают в сушильный электрошкаф, где высушивают до постоянной массы.

Затем определяют размеры образцов, их срединою плотность в сухом состоянии и теплопроводность по ГОСТ 7076-87.

10.5. Обработка результатов

10.5.1. Теплопроводность крупного заполнителя (lк), Вт/(м·°С) [ккал/(м·ч·°С)], определяют по формуле

         (14)

где lр - теплопроводность растворной части бетона, Вт/(м·°С) [ккал/(м·ч·°С)];

lб - теплопроводность бетона, Вт/(м·°С) [ккал/(м·ч·°С)];

j - фактическая объемная концентрация крупного заполнителя, определяемая по формуле

                                 (15)

где rр - средняя плотность образцов раствора в сухом состоянии, г/см3;

rб - средняя плотность образцов бетона, г/см3;

rк - средняя плотность крупного заполнителя, г/см3.

10.6. Определение теплопроводности крупного заполнителя па-рафинированием приведено в рекомендуемом приложении 2.

11. ОПРЕДЕЛЕНИЕ СОДЕРЖАНИЯ СТЕКЛОФАЗЫ
В ЗАПОЛНИТЕЛЕ

11.1. Сущность метода

11.1.1. Содержание стеклофазы определяют по разности массы навески до и после ее растворения в серной и фтористо-водородной кислотах.

11.1.2. Метод используется при оценке теплофизических характеристик пористых заполнителей.

11.2. Аппаратура

Электропечь с номинальной температурой 700 °С по ОСТ 16.0.801.397-87.

Технические весы по ГОСТ 24104-88.

Эксикатор по ГОСТ 25336-82.

Фарфоровая ступка с пестиком по ГОСТ 9147-80.

Полиэтиленовая кружка вместимостью 500 мл.

Пластмассовая воронка диаметром 9 см.

Фарфоровый тигель № 4 по ГОСТ 9147-80.

Фильтры диаметром 11 см («синяя лента») по ГОСТ 12026-76.

Сито с сеткой № 009.

Фтористоводородная кислота по ГОСТ 10484-78, 2 %-ный раствор.

Серная кислота по ГОСТ 4204-77, 2 %-ный раствор.

Универсальный химический индикатор.

11.3. Подготовка пробы

Для проведения анализа от пробы объемом 0,5 л отбирают среднюю пробу материала в воздушно-сухом состоянии массой 100 г и измельчают в фарфоровой ступке до полного прохождения через сито с отверстиями 0,09 мм.

11.4. Проведение анализа

От приготовленной пробы отбирают навеску массой 0,3 г, помещают в полиэтиленовый стакан вместимостью 500 мл, заливают 60 мл 2 %-ного раствора фтористоводородной кислоты и выдерживают в течение 4 ч при температуре 5 °С при периодическом перемешивании. Затем приливают 30 мл 2 %-ного раствора серной кислоты и после непродолжительного перемешивания отфильтровывают осадок через плотный фильтр «синяя лента» на воронке. Осадок па фильтре многократно промывают малыми порциями дистиллированной воды до нейтральной реакции (по универсальному индикатору), после чего помещают вместе с фильтром в фарфоровый тигель и прокаливают в печи при температуре 600 °С до постоянной массы.

11.5. Обработка результатов

11.5.1. Содержание стеклофазы в навеске пробы пористого заполнителя (Сф) в процентах вычисляют по формуле

                         (16)

где А - масса осадка после прокаливания, г;

В - масса навески пробы, г.

11.5.2. Содержание стеклофазы в заполнителе вычисляют как среднее арифметическое значение результатов двух параллельных определений.

11.5.3. Если расхождение между результатами двух параллельных определений превышает 1,5 %, то анализ повторяют. Содержание стеклофазы в этом случае вычисляют как среднее арифметическое значение результатов трех параллельных определений.

12. ОПРЕДЕЛЕНИЕ ВЛАЖНОСТИ

12.1. Сущность метода

Влажность определяют по разности массы навески до и после высушивания.

12.2. Аппаратура

Весы для статического взвешивания по ГОСТ 23676-79.

Сушильный электрошкаф по ОСТ 16.0.801.397-87.

Мерные цилиндрические сосуды вместимостью 1 и 2 л.

Совок.

Эксикатор по ГОСТ 25336-82.

12.3. Подготовка пробы

Пробу испытываемого заполнителя, взятую непосредственно перед определением влажности, объемом 2-3 л (в зависимости от размера фракции) делят на навески.

12.4. Проведение испытания

12.4.1. Каждую навеску заполнителя немедленно всыпают в предварительно взвешенный сосуд и взвешивают вместе с сосудом, а затем высушивают до постоянной массы и взвешивают еще раз. Песок марок по насыпной плотности 250 и менее после высушивания охлаждают в эксикаторе до комнатной температуры.

12.5. Обработка результатов

12.5.1. Влажность заполнителя (W) в процентах по массе вычисляют по формуле

                       (17)

где т1 - масса пробы в состоянии естественной влажности, вычисленная по разности массы сосуда с пробой и без нее, г;

т2 - масса пробы в сухом состоянии, вычисленная по разности массы сосуда с высушенной до постоянной массы пробой и без нее, г.

12.5.2. Влажность заполнителя вычисляют с точностью до 0,1 % как среднее арифметическое значение результатов двух параллельных определений. Для песка марок по насыпной плотности 250 и менее вычисление ведут по результатам трех испытаний.

13. ОПРЕДЕЛЕНИЕ ВОДОПОГЛОЩЕНИЯ КРУПНОГО ЗАПОЛНИТЕЛЯ

13.1.Сущность метода

Метод основан на определении разности массы навески до и после насыщения ее водой.

13.2. Аппаратура

Технические весы по ГОСТ 24104-88.

Сушильный электрошкаф по ОСТ 16.0.801.397-87.

Мерные цилиндрические сосуды вместимостью 1, 2 и 5 л.

Сито с отверстием 5 мм из стандартного набора.

Контейнер для насыщения заполнителя водой (см. черт. 3).

13.3. Подготовка пробы

Пробу крупного заполнителя испытываемой фракции объемом 2, 3 или 5 л (в зависимости от крупности заполнителя) высушивают до постоянной массы и отсеивают частицы мельче 5 мм на сите с отверстиями диаметром 5 мм в течение 2-3 мин, после чего пробу делят пополам на две части и взвешивают каждую навеску.

13.4. Проведение испытания

Навеску заполнителя укладывают в контейнер, закрывают крышкой, медленно погружают в воду и встряхивают для удаления пузырьков воздуха из заполнителя. Контейнер выдерживают в воде в течение 1 ч, после чего вынимают, подвешивают и дают избыточной воде стечь в течение 10 мин. Далее пробу заполнителя вынимают из контейнера и немедленно взвешивают на технических весах.

13.5. Обработка результатов

Водопоглощение крупного заполнителя за 1 ч (W'погл) в процентах по массе вычисляют по формуле

                   (18)

где т1 - масса сухой пробы заполнителя, г;

т2 - масса пробы заполнителя, насыщенного водой, г.

За результат испытания принимают среднее арифметическое значение результатов двух параллельных определений.

Водопоглощение крупного заполнителя (Wпогл) в процентах по объему вычисляют на основании предварительно установленного значения средней плотности зерен крупного заполнителя по формуле

                 (19)

где rк - средняя плотность зерен крупного заполнителя, г/см3;

rв - плотность воды, равная 1 г/см3;

W'погл - водопоглощение крупного заполнителя за 1 ч, %.

14. ОПРЕДЕЛЕНИЕ ЗЕРНОВОГО СОСТАВА

14.1. Сущность метода

Метод основан на рассеве через набор стандартных сит предварительно высушенной пробы крупного заполнителя или песка.

14.2. Аппаратура

Весы для статического взвешивания по ГОСТ 23676-79.

Сушильный электрошкаф по ОСТ 16.0.801.397-87.

Мерные цилиндрические сосуды вместимостью 1, 2, 5, 10 и 20 л.

Сита из сеток с квадратными отверстиями 0,16; 0,315; 0,63; 1,25 и 2,5 мм и с круглыми отверстиями 5, 10, 20 и 40 мм из стандартного набора.

14.3. Подготовка пробы

Из крупного заполнителя или песка данной фракции отбирают пробу объемом 2-20 л (по табл. 2) и высушивают до постоянной массы М1.

14.4. Проведение испытания

14.4.1. Зерновой состав крупного заполнителя данной фракции определяют путем рассева на контрольных ситах с диаметром отверстий, соответствующих удвоенному наибольшему 2D, наибольшему D и наименьшему d номинальному размеру зерен фракции.

Зерновой состав пористого песка определяют путем рассева пробы объемом 2 л на ситах с отверстиями 5,0; 2,5; 1,12; 0,63; 0,315; 0,16 мм.

Пробу просеивают небольшими порциями механическим или ручным способом, при этом толщина слоя заполнителя на ситах не должна быть более 1/3 высоты борта сита. Просеивание продолжают до тех пор, пока проход через отдельное сито в процессе непрерывного ручного просеивания в течение 1 мин будет не более 0,1 % массы. Просеивание считают законченным, если при неоднократном встряхивании сита из него не выпадают зерна заполнителя.

Остатки заполнителя на каждом сите взвешивают, определяя тем самым частные остатки на ситах и поддоне: mi, mi+1, тi+2, ..., тng в граммах, затем подсчитывают сумму частных остатков на ситах и поддоне:

    (20)

Если  отличается от исходной массы пробы более чем на 2 %, то испытание повторяют на новой пробе заполнителя.

14.5. Обработка результатов

14.5.1. По результатам просеивания вычисляют частный остаток на каждом сите стандартного набора (ai) в процентах с округлением до 0,1 % по формуле

                                (21)

где mi - масса частного остатка на соответствующем сите, г;

М1 - масса пробы, г.

14.5.2. Полные остатки на каждом сите вычисляют в процентах по формуле

                  (22)

где ai, ai+1, ai+2, ..., an - частные остатки на i-м сите и всех ситах в стандартном наборе сит с большими размерами отверстий;

i, i+1, i+2, ..., n - порядковый номер сит стандартного набора.

14.5.3. При необходимости частные и полные остатки могут быть вычислены и по объему. Для этого полученное значение частных остатков по массе делят на соответствующее значение насыпной плотности r, г/см3

                                  (23)

По результатам испытаний определяют суммарный объем в см3:

                                    (24)

и определяют частные остатки в процентах по объему с точностью до 0,1 % по формуле:

                     (24а)

14.6. Определение зернового состава отдельных фракций перлитового песка, применяемого для теплоизоляционных целей, производят рассевом на ситах с размером отверстий, равных наибольшему D и наименьшему d номинальному размеру зерен фракции.

От каждой пробы данной фракции перлитового песка отбирают три пробы по 100 г и взвешивают с погрешностью 0,1 г. Каждую пробу перлитового песка просеивают в течение 5-10 мин. Массу песка, оставшегося на ситах, взвешивают с погрешностью не более 0,1 г.

Содержание зерен размером крупнее и мельче для каждого отдельно взятого предельного значения зерен перлитового песка вычисляют как среднее арифметическое значение результатов трех параллельных определений с точностью до 1 % по объему.

15. ОПРЕДЕЛЕНИЕ ЗЕРНОВОГО СОСТАВА КЕРАМЗИТОВОЙ СМЕСИ ПРИ ОПЕРАЦИОННОМ КОНТРОЛЕ

15.1. Сущность метода

Метод основан на рассеве через стандартный набор сит предварительно высушенной навески материала, взятой после завершения обжига и охлаждения.

15.2. Аппаратура

Весы для статического взвешивания по ГОСТ 23676-79.

Сушильный электрошкаф по ОСТ 16.0.801.397-87.

Мерные цилиндрические сосуды вместимостью 1, 2, 5, 10 и 20 л.

Мерный стеклянный цилиндр вместимостью 1000 мл по ГОСТ 1770-74.

Сито из сеток с круглыми отверстиями диаметром 5, 10, 20 и 40 мм из стандартного набора.

Сушильный электрошкаф по ГОСТ 13474-79.

15.3. Подготовка пробы

Пробу для испытаний объемом 15-20 л высушивают до постоянной массы.

15.4. Проведение испытания

Зерновой состав материала определяют путем рассева его на отдельные фракции. Для этого сначала определяют массу высушенной пробы М и просеивают ее через набор стандартных сит.

Пробу просеивают небольшими порциями (частями) механическим или ручным способом, при этом толщина слоя заполнителя на сите не должна быть более 1/3 высоты борта сита.

Просеивание считают законченным, если при неоднократном встряхивании сита не наблюдается выпадение зерен заполнителя. Продолжительность просеивания не должна превышать 15 мин.

Остатки заполнителя на каждом сите взвешивают, определяя тем самым частные остатки на всех ситах в граммах, а затем подсчитывают сумму частных остатков на всех ситах.

15.5. Обработка результатов

15.5.1. Для определения зернового состава материала по объему полученные значения частных остатков по массе на каждом сите делят на соответствующие значения насыпной плотности отдельных фракций.

15.5.2. Определение насыпной плотности и средней плотности зерен гравия (щебня) отдельных фракций производят методом, приведенным в разд. 3 и 4.

15.5.3. Вычисляют в процентах от суммарного объема проб частные и полные остатки по объему с точностью до 0,1 %.

16. ОПРЕДЕЛЕНИЕ КОЭФФИЦИЕНТА ФОРМЫ ЗЕРЕН КРУПНОГО ЗАПОЛНИТЕЛЯ

16.1. Сущность метода

Метод основан на определении наибольшего и наименьшего размеров зерна заполнителя с помощью формомера. Коэффициент формы зерна вычисляют путем деления наибольшего размера зерна на наименьший.

16.2. Аппаратура

Формомер (см. черт. 5) или штангенциркуль по ГОСТ 166-80.

 

Формомер

 

1 - подвижный угольник; 2 - неподвижный угольник; 3 - двойной шарнирный параллелограмм; 4 - кулиса-стрелка; 5 - шкала; 6 - ось поворота; 7 - ось ползуна; 8 - рукоятка; 9 - зерно щебня; 10 - инвентарный винт

Черт. 5

(Поправка, ИУС 6-2007).

16.3. Подготовка пробы

От пробы испытываемой фракции заполнителя отбирают 1 л и квартованием выделяют 50 зерен.

16.4. Проведение испытания

С помощью формомера или штангенциркуля определяют коэффициент формы каждого зерна.

Формомер состоит из раздвижного предметного прямоугольника ABCD, образованного подвижным 1 и неподвижным 2 угольниками, соединенных двойным шарнирным параллелограммом 3 и кулисой-стрелкой 4 со шкалой 5. При этом прямая, соединяющая ось поворота 6 и ось ползуна 7 кулисы 4, равна и параллельна диагонали между вершинами В и D угольников, а подвижной угольник 1 у вершины D снабжен рукояткой 8, выполненной таким образом, что одной рукой удобно поддерживать рукоятку 8 и вложенное в угольник зерно гравия (щебня) 9.

Перед началом работы прибор крепят к столу двумя инвентарными винтами 10, чтобы измерительный контур был вне стола, и под контуром размещают емкость для сбора измеренных зерен.

При измерении зерно щебня (гравия) вкладывают в один из угольников длиной вдоль длинной стороны и, поддерживая его большим и указательным пальцем руки, держащей рукоятку, перемещают рукоятку до соприкосновения с зерном обеих сторон второго угольника. Кулиса-стрелка при этом всегда параллельна диагонали BD прямоугольника. При этом размер длинной стороны прямоугольника становится равным длине, а размер короткой - толщине зерна; отношение названных размеров зерна равно отношению размеров сторон прямоугольника или tg a, в значениях которого проградуирована шкала 5.

При отводе подвижного угольника 1 в исходное положение измеренное зерно выпадает в подготовленную емкость.

При отсутствии формомера коэффициент формы зерен определяют с помощью штангенциркуля. Для этого с погрешностью до 1 мм штангенциркулем измеряют наибольший и наименьший размеры каждого зерна. Затем вычисляют коэффициент формы (Кф) для каждого зерна по формуле

                                  (25)

где Dнаиб - наибольший размер зерна, мм;

Dнаим - наименьший размер зерна, мм.

16.5. Обработка результатов

16.5.1. Коэффициент формы зерен крупного заполнителя (Кф.к) вычисляют по формуле

                              (26)

где Кфi - коэффициент формы i-го зерна;

п - число измеренных зерен.

16.5.2. Подсчитывают в процентах число зерен с коэффициентом формы более 2,5.

17. ОПРЕДЕЛЕНИЕ СОДЕРЖАНИЯ РАСКОЛОТЫХ
ЗЕРЕН В ГРАВИИ

17.1. Сущность метода

Содержание расколотых зерен в гравии определяют по отношению массы расколотых зерен к массе испытуемой навески заполнителя.

17.2. Аппаратура

Технические весы по ГОСТ 24104-88.

7.3. Подготовка пробы

Пробу гравия объемом 1-4 л делят пополам и каждую половину взвешивают.

17.4. Проведение испытания

Из каждой навески визуальным осмотром выделяют расколотые зерна, к которым относят зерна, расколотые пополам, и зерна, поверхность которых повреждена (сколота, ободрана) более чем наполовину. При этом должны учитываться только те повреждения, которые были нанесены после обжига материала. Расколотые зерна взвешивают.

17.5. Обработка результатов

Содержание расколотых зерен (Мр) в процентах с точностью до 1 % вычисляют по формуле

                   (27)

где т - масса пробы, г;

m1 - масса расколотых зерен.

Содержание расколотых зерен вычисляют как среднее арифметическое значение результатов двух параллельных определений для каждой фракции заполнителя.

18. ОПРЕДЕЛЕНИЕ СОДЕРЖАНИЯ НЕВСПУЧЕННЫХ ЧАСТИЦ
В ПЕРЛИТОВОМ ПЕСКЕ

18.1. Сущность метода

Метод заключается в разделении в воде вспученных, невспученных и недостаточно вспученных зерен перлитового песка на основе их разной плотности.

18.2. Аппаратура

Сушильный электрошкаф по ОСТ 16.0.801.397-87.

Весы с погрешностью взвешивания не более 0,01 г.

Химический стакан вместимостью 1 л.

Фильтровальная воронка.

Эксикатор.

18.3. Проведение испытания

18.3.1. Пробу массой не менее 20 г засыпают в стакан с водой, тщательно перемешивают стеклянной палочкой, а затем выдерживают в течение 1 мин до осаждения осадка, после чего плавающий на поверхности воды перлитовый песок удаляют. Эту операцию следует повторить четыре раза. Оставшийся в стакане осадок, состоящий из невспученных и недостаточно вспученных зерен, следует отфильтровать и взвесить, предварительно высушив его до постоянной массы.

18.3.2. После окончания высушивания осадок помещают в эксикатор, охлаждают до комнатной температуры и взвешивают с погрешностью не более 0,01 г.

18.4. Обработка результатов испытания

18.4.1. Содержание невспученных частиц (Gm) в процентах вычисляют по формуле

                  (28)

где m1 - масса невспученных частиц, г;

т2 - масса пробы перлитового песка, взятой для испытания, г.

18.4.2. За результат принимают среднее арифметическое значение трех определений, округленное до 1 %.

19. ОПРЕДЕЛЕНИЕ СОДЕРЖАНИЯ ЗЕРЕН ИНОРОДНЫХ ГОРНЫХ ПОРОД

19.1. Сущность метода

Метод основан на определении отношения массы зерен инородных пород к общей навеске испытываемого природного крупного заполнителя.

19.2. Аппаратура

Весы для статического взвешивания по ГОСТ 23676-79.

Сушильный электрошкаф по ОСТ 16.0.801.397-87.

Сито с отверстиями 5 мм из стандартного набора.

Лупа.

19.3. Проведение испытания

От пробы заполнителя отбирают навеску массой 5 кг, просеивают через сито с отверстиями 5 мм, затем остаток на сите промывают водой и высушивают до постоянной массы в сушильном электрошкафу. Путем внешнего осмотра с помощью лупы или другими петрографическими методами производят петрографическую разборку зерен заполнителя, выделяя при этом плотные зерна инородных пород. Отобранные зерна инородных пород взвешивают.

19.4. Обработка результатов

Содержание зерен инородных горных пород Ми.п в процентах вычисляют по формуле

                 (29)

где т - масса навески заполнителя, г;

m1 - масса зерен инородных горных пород, г.

20. ОПРЕДЕЛЕНИЕ ПРОЧНОСТИ ЗАПОЛНИТЕЛЯ
СДАВЛИВАНИЕМ
В ЦИЛИНДРЕ

20.1. Сущность метода

Прочность заполнителей при сдавливании в цилиндре определяют по нагрузке, соответствующей погружению плунжера на 20 мм в слой испытываемой пробы заполнителя.

Прочность определяют для фракций крупного заполнителя размерами 5-10, 10-20 и 20-40 мм и для перлитового песка фракции 1,25-2,5 мм.

20.2. Аппаратура

Гидравлический пресс с максимальным усилием 50-250 кН (5-25 тс) по ГОСТ 8905-82. Стальной составной цилиндр (черт. 6).

Весы для статического взвешивания по ГОСТ 23676-79.

Сушильный электрошкаф по ОСТ 116.0.801.397-87.

Металлическая линейка по ГОСТ 427-75.

Совок.

 

Стальной составной цилиндр

 

1 - поддон; 2 - цилиндр; 3 - приставка; 4 - плунжер

Черт. 6

 

20.3. Подготовка пробы

Пробу заполнителя испытываемой фракции объемом 6 л, на которой определялась ее насыпная плотность, высушивают до постоянной массы в сушильном электрошкафу.

20.4. Проведение испытания

20.4.1. Из высушенной пробы отвешивают навеску, равную по объему 2 л, и совком насыпают ее с высоты 100 мм в стальной цилиндр с поддоном так, чтобы после разравнивания металлической линейкой верхний уровень заполнителя доходил до верхнего края цилиндра (песок насыпают в цилиндр через воронку). Затем на цилиндр надевают приставку и в нее вставляют плунжер. При этом нижняя риска на плунжере должна совпадать с верхним краем приставки.

Остаток заполнителя, не вошедший в цилиндр, взвешивают и по разности масс взятой навески и этого остатка определяют массу заполнителя в цилиндре. Деля полученную массу заполнителя на его объем в цилиндре (1770 см3), определяют насыпную плотность заполнителя в цилиндре.

Если отклонения полученных показателей насыпной плотности от насыпной плотности испытываемой фракции, определенной по методике, приведенной в разд. 3, превышают минус 4 - плюс 2 % для песка фракции 1,25-2,5 и гравия или щебня фракций 5-10 и 10-20 мм и минус 6 - плюс 1 % для фракции гравия или щебня 20-40 мм, то повторно определяют насыпную плотность в цилиндре на другой навеске заполнителя.

20.4.2. После совпадения насыпной плотности заполнителя в цилиндре с насыпной плотностью заполнителя, определенной по разд. 3 (в пределах допустимого разброса), проводят испытание заполнителя на прочность.

Для этого цилиндр с плунжером помещают на подушку гидравлического пресса, сдавливают заполнитель до погружения плунжера на 20 мм (до верхней риски) и отмечают показание стрелки манометра в этот момент.

20.4.3. Вдавливание плунжера должно производиться без перекоса со скоростью 0,5-1,0 мм/с.

20.5. Обработка результатов

20.5.1. Прочность при сдавливании заполнителя в цилиндре (Rсд) в МПа (кгс/см2) вычисляют по формуле

                          (30)

где Р - нагрузка при сдавливании заполнителя, соответствующая погружению плунжера до верхней риски, Н (кгс);

F - площадь поперечного сечения цилиндра, равная 0,0177 м2 (177 см2).

20.5.2. Прочность заполнителя отдельной фракции при сдавливании в цилиндре вычисляют как среднее арифметическое значение результатов двух параллельных определений для каждой фракции заполнителя.

21. ОПРЕДЕЛЕНИЕ МАРОЧНОЙ ПРОЧНОСТИ
КРУПНОГО ЗАПОЛНИТЕЛЯ В БЕТОНЕ

21.1. Сущность метода

Марочную прочность крупного заполнителя определяют с помощью номограммы (черт. 7) по результатам определения прочности бетона условного состава (с постоянной объемной концентрацией крупного заполнителя, равной 0,35) и прочности его растворной части.

 

Номограмма для определения
марочной прочности заполнителя
по прочности бетона и растворной части

Rб - прочность бетона; Rр - прочность раствора, отсеянного от бетона;
II - марочная прочность заполнителя

Черт. 7

 

21.2. Аппаратура и материалы

Весы для статического взвешивания по ГОСТ 23676-79.

Технические весы по ГОСТ 24104-88.

Сушильный электрошкаф по ОСТ 16.0.801.397-87.

Сита с отверстиями 5, 10, 20 и 40 мм из стандартного набора.

Мерные цилиндры вместимостью 100, 250, 500, 1000 мл по ГОСТ 1770-74.

Сетка с квадратными отверстиями размером 5´5 мм.

Противни.

Совок.

Мастерок.

Прибор для определения жесткости бетонной смеси по ГОСТ 10181.1-81.

Виброплощадка по ГОСТ 10181.1-81.

Формы для кубов размером 15´15´15 см и 10´10´10 см по ГОСТ 22685-77.

Гидравлический пресс с максимальным усилием 5 тс по ГОСТ 8905-82.

Портландцемент по ГОСТ 10178-85.

Сухой кварцевый песок с модулем крупности 2-2,5 по ГОСТ 10268-80.

21.3. Подготовка пробы

21.3.1. Пробу для испытания крупного заполнителя испытываемой фракции объемом 20 л высушивают до постоянной массы в сушильном электрошкафу и просеиванием отделяют зерна смежных фракций.

21.4. Подготовительные испытания

Определяют среднюю плотность зерен испытываемого крупного заполнителя в цементном тесте по разд. 7 и водопоглощение крупного заполнителя за 1 ч по разд. 13.

21.5. Проведение испытания

Отвешивают материалы: цемент (Ц), кварцевый песок (П), испытываемый крупный заполнитель (К), воду (В) в количествах, определяемых по формулам:

       (31)

                       (32)

                 (33)

                  (34)

(Поправка, ИУС 6-2007).

где Vб - объем бетонной смеси, принимаемый равным 15 при изготовлении кубов размерами 15´15´15 см и 8 при изготовлении кубов размерами 10´10´10 см, л;

rц - плотность цемента, определяемая по ГОСТ 310.2-76 или принимаемая равной 3,1 г/см3;

rп.кв - плотность кварцевого песка, определяемая по ГОСТ 8735-75 или принимаемая равной 2,65 г/см3;

Wпогл - водопоглощение крупного заполнителя в цементном тесте, принимаемое равным 0,4 W1 для гравия и 0,3 W1 для щебня, где W1 - водопоглощение заполнителя за 1 ч по массе;

rк - средняя плотность зерен крупного заполнителя в цементном тесте, кг/л.

Для приготовления бетона материалы высыпают на протертый влажной тканью противень и тщательно перемешивают мастерками в течение 5 мин, приливая порциями воду.

Проверяют подвижность бетонной смеси, которая должна быть не менее 1-4 см. При меньшей подвижности добавляют воду до получения требуемого значения.

Через 20 мин после приготовления замеса из части бетонной смеси изготавливают в соответствии с ГОСТ 10180-78 три образца размерами 15´15´15 см или 10´10´10 см. Остальную часть бетонной смеси используют для получения растворной составляющей методом отсеивания.

Отсев производят на сетке с квадратными отверстиями размером 5 мм на стандартном вибростоле. Для этого порции бетонной смеси помещают на протертую влажной тканью сетку, расположенную над противнем, и вибрируют в течение 30-60 с до прекращения вытекания раствора. Из полученного раствора изготавливают три образца размерами 10´10´10 см.

Образцы бетона и раствора изготовляют в предварительно взвешенных стальных формах. Смесь уплотняют вибрированием на виброплощадке в течение 30-60 с и заглаживают верхнюю поверхность мастерком.

После уплотнения бетона формы взвешивают и с учетом фактических размеров образцов, измеряемых перед их испытанием на прочность, определяют плотность бетона в свежеотформованном состоянии. По ГОСТ 26000-86 вычисляют фактический состав бетона и фактическую объемную концентрацию испытываемого пористого заполнителя (jф) по формуле

              (35)

где Цф, Пф, Вф - фактические расходы цемента, песка и воды, кг/м3;

rц, rп - истинная плотность цемента, песка, кг/м3.

Испытание признают удовлетворительным, если значение jф = 0,35+0,02. В противном случае опыты повторяют, уменьшая (если jф существенно больше 0,35) или увеличивая (если jф существенно меньше 0,35) дозировку крупного заполнителя. Изготовленные образцы не ранее чем через 6 ч пропаривают в лабораторной пропарочной камере в формах по режиму 4 + 4 + 16 (подъем температуры до (85 ± 2) °С, выдержка при этой температуре и медленное остывание при отключенной камере).

Образцы испытывают не ранее чем через 4 ч после тепловой обработки. Испытания образцов бетона и раствора при ожидаемой марочной прочности заполнителей П200 и более рекомендуется проводить не на следующий день после пропаривания, а через 28 сут последующего твердения в нормальных условиях.

21.6. Обработка результатов

Полученные результаты испытаний образцов размерами 10´10´10 см умножают на коэффициенты 0,95 - для бетона и 0,85 - для раствора.

По полученным значениям прочностей бетона (Rб) и раствора (Rр) по номограмме определяют марочную прочность заполнителя.

22. ОПРЕДЕЛЕНИЕ ПРИГОДНОСТИ ПРИРОДНЫХ ПОРИСТЫХ ЗАПОЛНИТЕЛЕЙ ПУТЕМ ИСПЫТАНИЯ В БЕТОНЕ

22.1. Сущность метода

Метод заключается в оценке качества заполнителей по характеристикам прочности и плотности бетонов стандартных составов, изготовленных на их основе.

22.2. Аппаратура и материалы

Весы для статического взвешивания по ГОСТ 23676-79.

Сушильный электрошкаф по ОСТ 16.0.801.397-87.

Сита с отверстиями 5, 10, 20 и 40 мм из стандартного набора.

Мерные цилиндрические сосуды.

Виброплощадка по ГОСТ 10181.1-81.

Прибор для определения жесткости бетонной смеси по ГОСТ 10181.1-81.

Стальная линейка длиной 400 мм по ГОСТ 427-75.

Штангенциркуль по ГОСТ 166-80.

Противень.

Совок.

Кельма типа КБ по ГОСТ 9533-81.

Формы для призм размерами 10´10´40 см (при их отсутствии - для кубов 10´10´10 см) по ГОСТ 22685-77.

Камера для нормального твердения.

Приспособление для раскалывания бетонной призмы на кубы, состоящее из пятимиллиметровых металлических стержней, соединенных пружинами или резинками-продержками в рамку (черт. 8).

Гидравлический пресс с максимальным усилием 50-750 кН (5-75 тс) по ГОСТ 8905-82.

Портландцемент марок 400-500 по ГОСТ 10178-85.

 

Схема приспособления для раскалывания
бетонной призмы на кубы

1 - металлические стержни диаметром 5 мм; 2 - места расточки стержней до диаметра 3 мм; 3 - резинка-продержка (или стальная пружина); 4 - места прошивки резинки

Черт. 8

 

22.3. Подготовка пробы

Пробу щебня фракций 5-10 и 10-20 мм объемом соответственно 15 и 20 л каждая высушивают до постоянной массы и просеиванием отделяют зерна смежных фракций.

Пробу песка (из той же породы, что и щебень) объемом 30 л также высушивают до постоянной массы и выделяют фракцию размером 0-5 мм.

Необходимое для стандартных составов бетонов количество цемента, щебня и песка дозируют в соответствии с табл. 5.

Таблица 5

Номер замеса

Расход цемента на замес, кг

Расход заполнителей на замес, л

Размер фракций, мм

песка

щебня

0-5

Б-10

10-20

1

2,4

8,5

3,7

5,6

2

4,3

7,8

3,7

5,6

3

7,2

7,0

3,7

5,6

 

22.4. Проведение испытания

Отдозированные на замес компоненты перемешивают в сухом виде на предварительно увлажненном противне, затем постепенно наливают воду до получения малоподвижной бетонной смеси с осадкой конуса 1-4 см по ГОСТ 7473-85.

Смесь перемешивают вручную в течение 5 мин (или 3 мин при использовании лабораторной бетономешалки принудительного действия) и дважды на разных порциях проверяют осадку конуса.

Израсходованное количество воды измеряют.

Всего готовят три замеса бетонной смеси - при разных соотношениях навесок цемента и заполнителей, каждый объемом примерно 12 л в уплотненном состоянии.

Приготовленную бетонную смесь укладывают в предварительно взвешенные формы и вибрируют в течение 20-30 с.

Из каждого замеса готовят две призмы (или шесть кубов), взвешивают и путем деления массы смеси в формах на объем образцов, вычисленный после распалубливания, вычисляют плотность бетонной смеси в уплотненном состоянии rсм.

Фактический расход цемента и заполнителей в кг/м3 в уплотненной бетонной смеси для каждого из трех замесов вычисляют по ГОСТ 26000-86.

Половину изготовленных образцов через (20 ± 4) ч пропаривают в формах по режиму 4 + 4 + 16 ч (подъем температуры до (85 ± 2) °С, выдержка при этой температуре и медленное остывание в отключенной камере).

Другую половину образцов хранят в формах в помещении лаборатории по ГОСТ 10180-78.

На вторые сутки после изготовления все образцы извлекают из форм, обмеряют и взвешивают. Образцы, предназначенные для нормального твердения, переносят в камеру, а пропаренные испытывают не ранее чем через 4 ч.

Перед испытанием боковые грани призм расчерчивают на четыре равные площади тремя линиями, по которым через рамочное приспособление, надеваемое на образец, передают усилия, раскалывающие призму на четыре куба размерами примерно 10´10´10 см.

Непременным условием испытания является совмещение стержней в одной вертикальной плоскости. Это достигается одинаковым натяжением резинок или пружин.

Призму следует расколоть сначала на две половины, а затем каждую на два куба.

Раскалывающие усилия фиксируют.

Полученные от раскола призм (или изготовленные самостоятельно) кубы устанавливают на боковые грани и испытывают на сжатие в гидравлическом прессе.

22.5. Обработка результатов

22.5.1. Определение прочности при сжатии

Прочность при сжатии (Rсж) в МПа (кгс/см2) вычисляют по результатам испытания четырех кубов (полученных после раскола призмы) по формуле

                     (36)

где åРсж - сумма разрушающих нагрузок, Н (кгс);

F - боковая поверхность призмы, см2, вычисляемая по формуле

                                   (37)

где h - геометрическая высота призмы (среднее значение из четырех), см;

а - размер (средний из шести - по три замера в трех сечениях) боковых граней, являющийся высотой при изготовлении, см.

В случае испытания самостоятельно изготовленных кубов прочность при сжатии определяют по ГОСТ 10180-78.

22.5.2. Определение плотности бетона

Расчетную плотность бетона (в высушенном до постоянной массы состоянии) (rб.сух) в кг/м3 для каждого из трех составов вычисляют по формуле

        (38)

где Ц, П, Щ510 и Щ1020 - фактические расходы уплотненной бетонной смеси, цемента, песка и щебня фракций 5-10 и 10-20 мм, кг/м3.

22.5.3. Определение прочности бетона при растяжении (путем раскола)

Прочность бетона при растяжении (путем раскола) (Rр) в МПа (кгс/см2) вычисляют по формуле

                                  (39)

где Рр - раскалывающее усилие, Н (кгс);

F - площадь поперечного сечения призмы в плоскости раскола, см2, определяемая по формуле

                            (40)

где а - средний (из двух) размер боковых граней, являющийся высотой при изготовлении, см;

b - средний (из двух) размер верхней и нижней граней призмы, см.

Прочность бетона при растяжении (путем раскола) вычисляют как среднее арифметическое значение результатов определений в трех сечениях призмы.

22.5.4. Построение графиков

Результаты испытаний трех серий образцов наносят на два графика - для пропаренных образцов и образцов нормального твердения, соответственно для предварительной и окончательной оценки качества заполнителей.

По оси абсцисс откладывают расходы цемента Ц в кг/м3, а по оси ординат вниз - плотности rб.сух в кг/м3 и вверх - прочности при сжатии (растяжении) Rсж (Rр) в МПа (кгс/см2).

Значения прочности как после пропаривания, так и после нормального твердения, наносимые на графики, принимают с учетом переходного коэффициента 0,95 от прочности кубов 10´10´10 см к стандартным кубам 15´15´15 см.

Графическим путем устанавливают расходы цемента, соответствующие полученным на испытываемых заполнителях маркам бетона по прочности при сжатии, и значения расчетной плотности бетона.

22.5.5. Оценка качества заполнителей

Испытание заполнителей в бетоне по ГОСТ 22263-76 производят в случае несоответствия их одному или нескольким требованиям ГОСТ 9757-83.

Оценку качества заполнителей производят по следующим показателям:

расходу цемента, который не должен превышать нормативного для полученных марок бетона;

прочности бетона на растяжение (путем раскола);

относительной прочности бетона Rсж/Мц, где Мцмарка цемента, МПа;

расчетной плотности бетона rб.сух, кг/м3;

коэффициенту конструктивного качества (Кк.к) в метрах, вычисляемому по формуле

                        (41)

где Rсж - прочность бетона при сжатии, МПа;

rб.сух - расчетная плотность бетона, кг/м3.

Испытание признают удовлетворительным, если заполнители отвечают основному требованию, т. е. при обеспечении условия о расходе цемента не выше нормативного.

Все остальные показатели служат для предварительной оценки рациональной области применения испытываемых заполнителей по ГОСТ 25820-83 и сравнения их с другими видами.

23. ОПРЕДЕЛЕНИЕ МОРОЗОСТОЙКОСТИ КРУПНОГО ЗАПОЛНИТЕЛЯ

23.1. Сущность метода

Морозостойкость определяют по потерям массы навески до и после проведения ряда циклов попеременного замораживания и оттаивания испытуемого заполнителя в увлажненном состоянии.

23.2. Аппаратура

Морозильная камера.

Сушильный электрошкаф по ОСТ 16.0.801.397-87.

Весы для статического взвешивания по ГОСТ 23676-79.

Мерные цилиндрические сосуды вместимостью 2 и 4 л.

Сита с отверстиями 5, 10, 20 и 40 мм из стандартного набора.

Чугунная эмалированная ванна по ГОСТ 1154-80.

Контейнеры (по числу испытываемых навесок заполнителя).

Щетка (жесткая волосяная или капроновая) по ГОСТ 10597- 87.

23.3. Подготовка пробы

Отбирают пробу испытываемой фракции гравия или щебня объемом 2-4 л. Зерна заполнителя очищают щеткой от рыхлых частиц и пыли, высушивают до постоянной массы, просеивают через сита с отверстиями, соответствующими наибольшей и наименьшей крупности зерен испытываемой фракции, и делят пополам на две навески.

23.4. Проведение испытания

Каждую навеску всыпают в отдельные контейнеры с перфорированным дном и крышкой и помещают на 48 ч в ванну с водой, имеющей температуру (20 ± 3) °С. Затем контейнеры со всеми навесками вынимают из ванны и после того, как вода стечет, помещают их в морозильную камеру, внутри которой температуру доводят до минус (15 ± 5) °С. Продолжительность одного выдерживания в камере при установившейся температуре должна быть не менее 4 ч. После этого контейнеры с крупным заполнителем помещают в ванну с водой, имеющей температуру плюс (20 ± 3) °С, и выдерживают в ней не менее 4 ч.

После проведения установленного соответствующими стандартами или техническими условиями на данный вид заполнителя числа циклов попеременного замораживания и оттаивания навески высушивают до постоянной массы и просеивают на ситах с отверстиями, соответствующими минимальным размерам данной фракции. Остаток на ситах от каждой навески взвешивают.

23.5. Обработка результатов

Потерю массы (Ммрз) в процентах вычисляют по формуле

      (42)

где т1 - масса навески заполнителя до испытания, г;

т2 - масса остатка на сите после испытания, г.

Потерю массы при замораживании определяют как среднее арифметическое значение результатов двух параллельных испытаний для каждой фракции заполнителя.

24. ОПРЕДЕЛЕНИЕ МОРОЗОСТОЙКОСТИ КРУПНОГО ЗАПОЛНИТЕЛЯ ИСПЫТАНИЕМ В РАСТВОРЕ СЕРНОКИСЛОГО НАТРИЯ

24.1. Сущность метода

Морозостойкость заполнителей испытанием в растворе сернокислого натрия определяют по потере массы навески заполнителя после испытания.

24.2. Аппаратура и реактивы

Сушильный электрошкаф по ОСТ 16.0.801.397-87.

Электроплита по ГОСТ 14919-83.

Весы для статического взвешивания по ГОСТ 23676-79.

Сита с отверстиями 5, 10, 20 и 40 мм из стандартного набора.

Ванна.

Контейнер для насыщения заполнителя водой.

Щетка (жесткая волосяная или капроновая) по ГОСТ 10597- 87.

Ареометр общего назначения с ценой деления 10, со шкалой 1000-1400 или аккумуляторный денсиметр с ценой делений 0,01 и шкалой 1,1-1,3.

Безводный сернокислый натрий по ГОСТ 4166-76 или кристаллический сернокислый натрий по ГОСТ 4171-76.

Дистиллированная вода по ГОСТ 6709-72.

24.3. Подготовка пробы

Навески крупного заполнителя для испытания готовят так же, как для испытаний на морозостойкость замораживанием.

24.4. Подготовка раствора сернокислого натрия

Отвешивают 250-300 г безводного сернокислого натрия или 700-1000 г кристаллического сернокислого натрия и растворяют в 1 л подогретой дистиллированной воды путем постепенного добавления сернокислого натрия при тщательном перемешивании до насыщения раствора; раствор охлаждают до комнатной температуры и проверяют ареометром его плотность, которая должна быть в пределах 1150-1170 кг/м3. Если плотность раствора меньше 1150 или больше 1170 кг/м3, то добавляют соответственно сернокислый натрий или дистиллированную воду. Приготовленный раствор сливают в бутыль и хранят, не взбалтывая, в течение 48 ч.

24.5. Проведение испытания

Контейнер с навеской заполнителя погружают в ванну с раствором сернокислого натрия так, чтобы заполнитель был полностью погружен в раствор. Пробу выдерживают в растворе при комнатной температуре в течение 18 ч. Затем контейнер с заполнителем вынимают из ванны, дают стечь раствору и помещают на 4 ч в сушильный электрошкаф, в котором поддерживают температуру (105 ± 5) °С. После этого материалы охлаждают до комнатной температуры.

В указанной последовательности операцию насыщения раствором сернокислого натрия и высушивания заполнителя повторяют три раза. Затем навеску заполнителя промывают горячей водой (для удаления сернокислого натрия), высушивают и рассеивают на сите с отверстиями, соответствующими минимальному размеру испытываемой фракции. Остаток на сите взвешивают.

24.6. Обработка результатов

Потерю массы (Мсн) в процентах вычисляют по формуле

                    (43)

где т1 - масса навески заполнителя до испытания, г;

т2 - масса остатка на сите после испытания, г.

Потерю массы при определении морозостойкости крупного заполнителя испытанием в растворе сернокислого натрия вычисляют как среднее арифметическое значение результатов двух параллельных определений для каждой фракции заполнителя.

Три цикла испытания заполнителя в растворе сернокислого натрия соответствует 15 циклам испытаний на замораживание (Мрз 15).

25. ОПРЕДЕЛЕНИЕ СТОЙКОСТИ КРУПНОГО ЗАПОЛНИТЕЛЯ ПРОТИВ СИЛИКАТНОГО РАСПАДА

25.1. Сущность метода

Стойкость против силикатного распада определяют по потерям массы навески крупного заполнителя до и после проведения циклов попеременного пропаривания и охлаждения.

25.2. Аппаратура

Автоклав или сосуд для пропаривания (в качестве сосуда для пропаривания можно применять любой сосуд с закрывающейся крышкой).

Сушильный электрошкаф по ОСТ 16.0.801.397-87.

Электроплита по ГОСТ 14919-83.

Весы для статического взвешивания по ГОСТ 23676-79.

Технические весы по ГОСТ 24104-88.

Сита с отверстиями 5, 10, 20 и 40 мм из стандартного набора.

Щетка (жесткая волосяная или капроновая) по ГОСТ 10597- 80.

Ванна для охлаждения заполнителя в воде.

25.3. Подготовка пробы

Навески заполнителя для испытания готовят так же, как для испытаний на морозостойкость.

25.4. Проведение испытания

Контейнер вместе с навеской заполнителя помещают в сосуд и наливают воду так, чтобы она не доходила до дна контейнера на 10-20 мм. Сосуд закрывают крышкой.

Воду нагревают до кипения. Заполнитель пропаривают в течение 3 ч, затем контейнер с заполнителем вынимают из сосуда и погружают на 3 ч в ванну с водой комнатной температуры.

Попеременное пропаривание и охлаждение до комнатной температуры повторяют три раза.

При испытании в среде насыщенного водяного пара в автоклав помещают навеску заполнителя и в течение 30 мин постепенно поднимают давление до 0,2 МПа (2 ати). При этом давлении заполнитель выдерживают 2 ч, после чего давление в течение не менее чем за 20 мин постепенно снижают до атмосферного. Пробу заполнителя в автоклаве испытывают один раз.

После окончания испытания в автоклаве или способом пропаривания навески заполнителя высушивают до постоянной массы и просеивают через сито, на котором она оставалась до испытания.

Остаток на сите взвешивают.

25.5. Обработка результатов

Потерю массы при пропаривании (Мс) в процентах вычисляют по формуле

                       (44)

где m1 - навеска заполнителя до испытания, г;

т2 - масса остатка на сите после испытания, г.

Потерю массы вычисляют как среднее арифметическое значение результатов двух параллельных определений для каждой фракции заполнителя.

26. ОПРЕДЕЛЕНИЕ СТОЙКОСТИ КРУПНОГО ЗАПОЛНИТЕЛЯ ПРОТИВ ЖЕЛЕЗИСТОГО РАСПАДА

26.1. Сущность метода

Стойкость против железистого распада определяют по потере массы навески крупного заполнителя до и после 30-суточного хранения в воде.

26.2. Аппаратура

Сушильный электрошкаф по ОСТ 16.0.801.397-87.

Весы для статического взвешивания по ГОСТ 23676-79.

Технические весы по ГОСТ 24104-88.

Сита с отверстиями 5, 10, 20 и 40 мм из стандартного набора.

Мерные цилиндрические сосуды.

Щетка (жесткая волосяная или капроновая) по ГОСТ 10597-87.

Контейнер для насыщения заполнителя водой.

Дистиллированная вода по ГОСТ 6709-72.

26.3. Подготовка пробы

Навески крупного заполнителя для испытания готовят так же, как для испытаний на морозостойкость.

26.4. Проведение испытания

Контейнер с навеской заполнителя помещают на 30 сут в сосуд с дистиллированной водой. По окончании указанного срока пробу заполнителя вынимают из воды, высушивают до постоянной массы и просеивают через сито, на котором она оставалась до испытания. Остаток на сите взвешивают.

26.5. Обработка результатов

Потерю массы (Мж) в процентах вычисляют по формуле

                   (45)

где m1 - масса навески заполнителя до испытания, г;

т2 - масса остатка на сите после испытания, г.

Потерю массы при определении стойкости против железистого распада вычисляют как среднее арифметическое значение результатов двух параллельных определений для каждой фракции заполнителя.

27. ОПРЕДЕЛЕНИЕ ПОТЕРИ МАССЫ КРУПНОГО ЗАПОЛНИТЕЛЯ ПРИ КИПЯЧЕНИИ

27.1. Сущность метода

Потерю массы крупного заполнителя при кипячении определяют по разности массы навески до и после испытания.

27.2. Аппаратура

Сушильный электрошкаф по ОСТ 16.0.801.397-87.

Весы для статического взвешивания по ГОСТ 23676-79.

Сита с отверстиями 5, 10, 20 и 40 мм из стандартного набора.

Мерный цилиндрический сосуд вместимостью 5 л.

Электроплита по ГОСТ 14919-83.

Щетка (жесткая волосяная или капроновая) по ГОСТ 10597-87.

27.3. Подготовка пробы

Навески заполнителя для испытания готовят так же, как для испытания на морозостойкость.

27.4. Проведение испытания

Контейнер с навеской заполнителя помещают в мерный сосуд с водой и выдерживают в нем 48 ч. Далее сосуд с контейнером нагревают на электроплите, доводят воду в сосуде до кипения и кипятят в течение 4 ч. При этом уровень воды в сосуде следует поддерживать выше зерен заполнителя в контейнере не менее чем на 20 мм, добавляя кипящую воду по мере ее выкипания. После 4 ч кипячения контейнер с заполнителем вынимают из воды, выгружают заполнитель и высушивают до постоянной массы. Далее заполнитель просеивают через сито, на котором он оставался до испытания. Остаток на сите взвешивают.

27.5. Обработка результатов

Потерю массы крупного заполнителя при кипячении (Мк) в процентах вычисляют по формуле

                     (46)

где т1 - масса навески до испытания, г;

т2 - масса остатка на сите после испытания, г.

Потерю массы крупного заполнителя при кипячении вычисляют как среднее арифметическое значение результатов двух параллельных определений для каждой фракции заполнителя.

28. ОПРЕДЕЛЕНИЕ СОДЕРЖАНИЯ СЛАБООБОЖЖЕННЫХ ЧАСТИЦ
В ПЕСКЕ

28.1. Сущность метода

Определение содержания слабообожженных частиц в песке, полученном в печах кипящего слоя, производят фотометрическим методом.

Метод основан на определении оптической плотности окраски раствора метиленового синего с испытываемым песком.

В результате адсорбции слабообожженными (глинистыми) частицами метиленового синего изменяется оптическая плотность окраски раствора.

Оптическую плотность окраски измеряют на фотоэлектрическом колориметре.

28.2. Аппаратура и реактивы

Фотоэлектрический лабораторный колориметр по ГОСТ 12083-78.

Электропечь с номинальной температурой 1100 °С по ОСТ 16.0.801.397-87.

Сушильный электрошкаф по ОСТ 16.0.801.397-87.

Технические весы по ГОСТ 24104-88.

Фарфоровая ступка с пестиком по ГОСТ 9147-800.

Фарфоровая чашка по ГОСТ 9147-80.

Сита с отверстиями 0,16 и 0,315 мм из стандартного набора.

Стеклянные пробирки вместимостью 90 мл по ГОСТ 19908-80.

Метиленовый синий (фармакопейный) 0,05 %-ный раствор.

28.3. Подготовка пробы

От средней пробы сырцовой глинистой крошки, используемой для производства пористого песка, отбирают пробу объемом 0,5 л, помещают ее в фарфоровую чашку и прокаливают в муфельной печи при температуре 450-500 °С в течение 1 ч. Прокаленную пробу измельчают в фарфоровой ,ступке до полного прохождения через сито с ячейками 0,315 мм и отсеивают фракцию 0,16-0,315 мм, используемую для испытания.

От партии испытываемого песка отбирают объединенную пробу объемом 2 л, от которой методом квартования отбирают две пробы для испытаний в объеме 0,2 и 1 л по разд. 2, используемые в дальнейшем соответственно для определения содержания слабообожженных частиц и построения градуировочного графика.

Пробу объемом 0,2 л высушивают до постоянной массы в сушильном электрошкафу при температуре (105 ± 5) °С. Пробу объемом 1 л помещают в фарфоровую чашку и прокаливают в печи при температуре 900 °С в течение 1 ч.

После термообработки обе пробы измельчают по отдельности в фарфоровой ступке до полного прохождения через сито с ячейками 0,315 мм и из каждой пробы выделяют фракции 0,16-0,315 мм, предназначенные для испытаний.

28.4. Построение градуировочного графика

Пробу песка, прокаленную при 900 °С, делят на восемь частей, в каждую из них добавляют соответственно 0; 1,0; 2,0; 3,0; 4,0; 5,0; 7,0; 10,0 % по массе глинистого сырья, прокаленного при температуре 450-500 °С и тщательно перемешивают, от каждой из приготовленных смесей отбирают навески массой по 2 г, помещают в градуированные пробирки и заливают 0,05 %-ным раствором метиленового синего до отметки 50 мл.

Содержимое всех пробирок взбалтывают в течение 5 мин и оставляют отстаиваться па 24 ч. После отстаивания по показаниям фотоэлектрического колориметра определяют оптическую плотность раствора в каждой пробирке.

По показаниям восьми определений оптической плотности строят градуировочный график зависимости оптической плотности эталонных растворов от содержания слабообожженных частиц песка в процентах.

28.5. Проведение испытания

Из пробы песка, высушенного до постоянной массы по п. 7.3, отбирают три навески по 2 г, помещают в стеклянные пробирки и заливают 0,05 %-ным раствором метиленового синего до отметки 50 мл. После отстаивания по показаниям фотоэлектрического колориметра определяют оптическую плотность раствора в каждой пробирке.

По показаниям трех определений оптической плотности растворов с испытываемым песком вычисляют среднее арифметическое значение величины оптической плотности.

28.6. Обработка результатов

Среднее арифметическое значение оптической плотности раствора с испытываемым песком откладывают на оси ординат градуировочного графика, из полученной точки проводят линию, параллельную оси абсцисс, до пересечения с эталонной кривой; из точки пересечения опускают перпендикуляр на ось абсцисс и получают точку, характеризующую содержание слабообожженных частиц пористого песка в процентах.

29. ОПРЕДЕЛЕНИЕ СОДЕРЖАНИЯ ВОДОРАСТВОРИМЫХ СЕРНИСТЫХ
И СЕРНОКИСЛЫХ СОЕДИНЕНИЙ

29.1. Сущность метода

Метод основан на переводе водорастворимых сернистых и сернокислых соединений в нерастворимый осадок сульфата бария.

В осадке содержание этих соединений в пересчете на SO3 определяют гравиметрическим методом.

29.2. Аппаратура и реактивы

Водяная баня.

Сушильный электрошкаф по ОСТ 16.0.801.397-87.

Электропечь с номинальной температурой 1100 °С по ОСТ 16.0.801.397-87.

Сита с отверстиями 0,2 и 2,5 мм.

Фарфоровая ступка с пестиком по ГОСТ 9147-80.

Фарфоровая чашка по ГОСТ 9147-80.

Фарфоровый тигель по ГОСТ 9147-80.

Технические весы по ГОСТ 24104-88.

Эксикатор по ГОСТ 25336-82.

Коническая колба вместимостью 250 мм по ГОСТ 19908-80.

Пипетка вместимостью 20 мл по ГОСТ 20292-74.

Стеклянный стакан вместимостью 100 мл по ГОСТ 19908-80.

Воронка по ГОСТ 19908-80.

Фильтры диаметром 9 см («белая» и «синяя лента») по ГОСТ 12026-76.

Электроплита по ГОСТ 14919-83.

Соляная кислота по ГОСТ 3118-77, концентрированная.

Хлористый барий по ГОСТ 4108-72, 10 %-ный раствор.

Перекись водорода (пергидроль) по ГОСТ 177-88.

Водный аммиак по ГОСТ 3760-79, 25 %-ный раствор.

Азотнокислое серебро по ГОСТ 1277-75, 1 %-ный раствор.

Метиловый оранжевый.

Дистиллированная вода по ГОСТ 6709-72.

29.3. Подготовка пробы

Для проведения химического анализа пробу заполнителя объемом 2 л измельчают до крупности 2,5 мм и квартованием сокращают до 200 г. Навеску массой 200 г тщательно перемешивают и снова сокращают методом квартования до 40-50 г. Полученную усредненную пробу растирают пестиком в фарфоровой ступке до полного прохождения через сито с отверстиями размером 0,2 мм, высушивают в сушильном электрошкафу при температуре (105 ± 5) °С в течение 4-5 ч и затем охлаждают до комнатной температуры в эксикаторе над безводным хлористым кальцием.

29.4. Проведение испытания

Из подготовленной по п. 8.3 пробы отвешивают навеску массой 5 г, помещают ее в коническую колбу, наливают 50 мл дистиллированной воды (оптимальное соотношение между массой навески и воды равно 1:10), закрывают пробкой, взбалтывают в течение 3 мин и отфильтровывают на сухой складчатый фильтр («белая лента»). Если первые порции фильтрата мутные, то их возвращают на фильтр и фильтруют до образования прозрачного фильтрата. Из полученной вытяжки отбирают пипеткой 10-20 мл в стакан вместимостью 100 мл, прибавляют 5-7 капель аммиака и 1-2 мл перекиси водорода. Раствор нагревают до 60-70 °С и выдерживают при этой температуре в течение 3-5 мин. Затем щелочную среду нейтрализуют несколькими каплями концентрированной соляной кислоты, контролируя по метиловому оранжевому (до розового цвета раствора) и приливают дополнительно 0,5 мл кислоты. Однако следует избегать избытка соляной кислоты, так как растворимость сульфата бария, выпадающего в осадок, в сильнокислой среде значительно увеличивается.

Подкисленный раствор доводят до кипения и, помешивая, осторожно по стенкам приливают 10 мл 10 %-ного кипящего раствора хлористого бария. Кипятят несколько минут и оставляют на 10-12 ч. Осадок сернокислого бария отфильтровывают на плотный фильтр («синяя лента») и промывают горячей водой до удаления ионов хлора (проба с 1 %-ным раствором азотнокислого серебра). Фильтр с осадком помещают в фарфоровый тигель, озоляют и прокаливают в печи при температуре (850 ± 50) °С в течение 40 мин. После охлаждения в эксикаторе тигель с осадком взвешивают. Осадок повторно прокаливают до постоянной массы. Анализ проводят на двух параллельных пробах заполнителя.

29.5. Обработка результатов

Содержание водорастворимых сернистых и сернокислых соединений  в пересчете на SO3 в процентах вычисляют по формуле

                   (47)

где m - масса осадка сульфата бария, г;

0,343 - коэффициент пересчета сульфата бария на SO3;

т1 - масса навески пробы в аликвотной части вытяжки, г.

За результат анализа принимают среднее арифметическое значение результатов двух параллельных определений.

Расхождение между результатами двух определений не должно превышать 0,15 %.

Если расхождение превышает указанное значение, то испытывают новую навеску и из трех результатов выбирают два близких.

30. ОПРЕДЕЛЕНИЕ ПОТЕРИ МАССЫ ПРИ ПРОКАЛИВАНИИ

30.1. Сущность метода

Потерю массы при прокаливании определяют гравиметрическим методом по разности массы тигля с навеской до и после прокаливания.

30.2. Аппаратура

Электропечь с номинальной температурой 1100 °С по ОСТ 16.0.801.397-87.

Эксикатор по ГОСТ 25336-82.

Фарфоровый тигель по ГОСТ 9147-80.

Технические весы по ГОСТ 24104-88.

Фарфоровая ступка с пестиком по ГОСТ 9147-80.

Сита с отверстиями 0,16 и 2,5 мм из стандартного набора.

30.3. Подготовка пробы

Из пробы заполнителя, взятого в объеме 2 л и дробленого до крупности 2,5 мм, квартованием отбирают навеску массой около 200 г, которую рассыпают на листе бумаги слоем 4-5 мм, делят на 20 квадратов и из каждого отбирают шпателем около 2 г. Полученную пробу массой 40-50 г растирают в фарфоровой ступке до тонины 0,16 мм, высушивают до постоянной массы в сушильном электрошкафу и делят на две примерно одинаковые навески по 20-25 г.

30.4. Проведение испытания

Подготовленную навеску порошка заполнителя помещают в предварительно прокаленный и взвешенный фарфоровый тигель и взвешивают с погрешностью до 0,1 г вместе с пробой, а затем прокаливают в течение 2 ч в печи при температуре (900 ± 50) °С. После прокаливания тигель охлаждают в эксикаторе и взвешивают. Прокаливание повторяют до достижения постоянной массы.

30.5. Обработка результатов

Потерю массы при прокаливании (Пп.п) в процентах вычисляют по формуле

                   (48)

где т1 - масса исходной навески в сухом состоянии, вычисленная по разности масс тигля с пробой и без нее до прокаливания, г;

т2 - масса прокаленного остатка, вычисленная по разности масс тигля с пробой и без нее по окончании прокаливания, г.

Потерю массы при прокаливании вычисляют как среднее арифметическое значение результатов двух параллельных определений.

31. ОПРЕДЕЛЕНИЕ КОЭФФИЦИЕНТА РАЗМЯГЧЕНИЯ КРУПНОГО ЗАПОЛНИТЕЛЯ

31.1. Сущность метода

Коэффициент размягчения крупного заполнителя определяют по соотношению прочности заполнителя в насыщенном водой состоянии и его прочности в сухом состоянии.

31.2. Аппаратура

Сушильный электрошкаф по ОСТ 16.0.801.397-87.

Весы для статического взвешивания по ГОСТ 23676-79.

Стальной составной цилиндр.

Металлическая линейка по ГОСТ 427-75.

Совок.

Гидравлический пресс с максимальным усилием 50-250 кН (5-25 тс) по ГОСТ 8905-82.

31.3. Подготовка пробы

Пробу крупного заполнителя испытываемой фракции объемом 12 л высушивают до постоянной массы в сушильном электрошкафу и делят на две навески так, чтобы показатели насыпной плотности заполнителя в каждой навеске отличались между собой не более чем на 5 %. Одну из навесок заполнителя насыщают водой в течение 1 ч.

31.4. Крупный заполнитель в сухом и в насыщенном водой состояниях испытывают на прочность по разд. 20.

31.5. Обработка результатов

Коэффициент размягчения (Кр) для крупного заполнителя в долях единицы вычисляют но формуле

                      (49)

где - прочность заполнителя в насыщенном водой состоянии, МПа (10 кгс/см2);

 - прочность заполнителя в сухом состоянии, МПа (10 кгс/см2).

32. ОПРЕДЕЛЕНИЕ ВОДОПОТРЕБНОСТИ ПЕСКА

32.1.Сущность метода

Водопотребность песка определяют по разности водоцементных отношений для раствора на пористом песке и для цементного теста при условии их одинаковой подвижности.

32.2. Аппаратура и материалы

Весы для статического взвешивания по ГОСТ 23676-79.

Мерные стеклянные цилиндры вместимостью 100 и 250 мл по ГОСТ 1770-74.

Сферическая чаша и лопатка для приготовления цементного теста по ГОСТ 310.3-76.

Встряхивающий столик и форма-конус по ГОСТ 310.4-81.

Портландцемент по ГОСТ 10178-85.

32.3. Подготовка пробы

Из высушенной до постоянной массы пробы песка объемом 1 л отбирают навеску, равную 190  г. Среднюю плотность зерен испытываемого песка в цементном тесте определяют по разд. 7.

32.4. Проведение испытания

Навеску песка смешивают в предварительно увлажненной сферической чаше с навеской цемента, равной 250 г. Затем в центре сухой смеси делают лунку и вливают в нее отмеренную с погрешностью до 1 мл воду в количестве 130-150 мл. Смесь перемешивают в течение 3 мин.

Определяют расплыв конуса на встряхивающем столике. Раствор вновь собирают в чашу и доливают 5-10 мл воды, перемешивают в течение 1 мин и снова определяют расплыв конуса.

Испытания повторяют до тех пор, пока расплыв конуса не станет равным 170 мм или более. Общее количество определений расплыва конуса должно быть не более трех.

Аналогичное испытание проводят на цементном тесте, приготовленном из 700 г цемента и 150-170 мл воды.

32.5. Обработка результатов

По результатам испытаний строят графики зависимости расплыва конуса от водоцементного отношения для раствора (В/Ц)р и цементного теста (В/Ц)т. По этим графикам определяют (В/Ц)р и (В/Ц)т, которым соответствует расплыв конуса 170 мм.

Водопотребность песка (Вп) в процентах вычисляют по формуле

      (50)

где 2,3 - отношение абсолютных объемов песка и цемента в растворе.

33. КОНТРОЛЬ ОДНОРОДНОСТИ ПОКАЗАТЕЛЕЙ НАСЫПНОЙ ПЛОТНОСТИ
И ПРОЧНОСТИ КРУПНОГО ЗАПОЛНИТЕЛЯ

33.1. Сущность метода

Однородность качества поставляемого крупного пористого заполнителя оценивают по показателям коэффициентов вариации заполнителя по насыпной плотности и прочности при сдавливании в цилиндре.

33.2. Аппаратура

Электронно-вычислительные машины любого класса либо настольные клавишные электронно-вычислительные машины любого класса.

33.3. Порядок вычисления коэффициентов вариации насыпной плотности и прочности

Определение показателей однородности заключается в обработке ранее полученных результатов определения прочности и насыпной плотности заполнителя.

Для вычислений используют все результаты определений насыпной плотности и прочности за последние 12 мес, но не менее 150 результатов для каждого показателя. Результаты определений каждого показателя отдельно набивают на перфоленту (или перфокарту).

Результаты определений насыпной плотности или прочности, набитые на перфоленту или перфокарту, вводят через приемное устройство на ЭВМ. Расчет ведут по стандартным программам для используемого класса машин.

Если применяют настольные клавишные ЭВМ или другую вычислительную технику, то коэффициенты вариации (Vх) в процентах рассчитывают по формуле

                                 (51)

где А - показатель качества пористого заполнителя: насыпная плотность, кг/м3 или прочность, МПа (10 кгс/см2);

Sx - среднее квадратическое отклонение показателя качества пористого заполнителя, вычисляемое по формуле

                  (52)

где cср - среднее арифметическое значение показателя качества пористого заполнителя, вычисляемое по формуле

                               (53)

где п - число результатов определений показателя качества: насыпной плотности при определении коэффициента вариации насыпной плотности или прочности при определении коэффициента вариации прочности;

ci - результат определения показателя качества: насыпной плотности при определении коэффициента вариации насыпной плотности или прочности при определении коэффициента вариации прочности.

34. ОПРЕДЕЛЕНИЕ СОДЕРЖАНИЯ СЛАБООБОЖЖЕННЫХ ЗЕРЕН В АЛГОПОРИТОВОМ ЩЕБНЕ

34.1. Сущность метода

Содержание слабообожженных зерен в алгопоритовом щебне определяют по потере массы пробы при последовательном ее погружении в насыщенном растворе сернокислого натрия и высушивании.

34.2. Аппаратура и реактивы - в соответствии с п. 24.2.

Подготовку пробы и раствора сернокислого натрия, проведение испытания, а также обработку результатов проводят в соответствии с разд. 24.

ПРИЛОЖЕНИЕ I

Справочное

ПРИМЕНЕНИЕ МЕТОДОВ ИСПЫТАНИЙ

Наименование испытания

Контроль качества заполнителя на предприятии (карьере)-изготовителе

Определение качества заполнителей

ежедневный или по партиям

периодический

при геологической разведке

на предприятии-потребителе

Определение насыпной плотности

+

+

+

Определение средней плотности зерен крупного заполнителя

+

+

Определение истинной плотности

+

+

Определение средней плотности зерен гравия в кварцевом песке

+

Определение средней плотности зерен заполнителя в цементном тесте

+

+

Определение средней плотности зерен песка

+

Определение объема межзерновых пустот и пористости зерен заполнителя

+

Определение теплопроводности заполнителя в засыпке

+

+

+

Определение теплопроводности зерен крупного заполнителя

+

+

Определение содержания стеклофазы в заполнителе

+

+

Определение влажности

+

+

Определение водопоглощения крупного заполнителя

+

+

+

Определение зернового состава

+

+

+

Определение зернового состава керамзитовой смеси при операционном контроле

+

Определение коэффициента формы зерен крупного заполнителя

+

+

+

Определение содержания расколотых зерен в гравии

+

+

+

Определение содержания невспученных зерен в перлитовом песке

+

+

+

Определение содержания зерен инородных горных пород

+

+

+

Определение прочности заполнителя сдавливанием в цилиндре

+

+

+

Определение марочной прочности крупного заполнителя в бетоне

+

+

Определение пригодности природных пористых заполнителей путем испытания их в бетоне

+

+

Определение морозостойкости крупного заполнителя

+

+

+

Определение морозостойкости крупного заполнителя в растворе сернокислого натрия

+

+

+

Определение стойкости крупного заполнителя против силикатного распада

+

+

+

Определение стойкости крупного заполнителя против железистого распада

+

+

+

Определение потерь массы крупного заполнителя при кипячении

+

+

+

Определение содержания слабообожженных частиц в песке

+

+

+

Определение содержания водорастворимых сернистых и сернокислых соединений

+

+

+

Определение потери массы при прокаливании

+

+

+

Определение коэффициента размягчения крупного заполнителя

+

+

+

Определение водопотребности песка

+

Контроль однородности показателей насыпной плотности и прочности крупного заполнителя

+

Определение теплопроводности крупного заполнителя парафинированием

+

+

В зависимости от назначения испытания применяют методы, помеченные знаком «+».

 

ПРИЛОЖЕНИЕ 2

Рекомендуемое

 

ОПРЕДЕЛЕНИЕ ТЕПЛОПРОВОДНОСТИ КРУПНОГО ЗАПОЛНИТЕЛЯ ПАРАФИНИРОВАНИЕМ

 

1. СУЩНОСТЬ МЕТОДА

Метод основан на определении теплопроводности крупного заполнителя расчетным путем по теплопроводности парафина и композиционного материала на его основе.

2. АППАРАТУРА И МАТЕРИАЛЫ

Весы для статического взвешивания по ГОСТ 23676-79.

Сушильный электрошкаф по ОСТ 16.0.801.397-87.

Сита с отверстиями 5, 10, 20 и 40 мм по ГОСТ 3584-73.

Электроплита по ГОСТ 14919-83.

Ртутный термометр по ГОСТ 27543-87.

Штангенциркуль по ГОСТ 310.4-81.

Угольник.

Формы для образцов размером 25´25´5 см по ГОСТ 22685-77.

Установка для испытания теплопроводности по ГОСТ 7076-78.

Нефтяной твердый парафин по ГОСТ 23683-79.

3. ПОДГОТОВКА ПРОБЫ

Отбирают пробу крупного заполнителя испытываемой фракции объемом 10 л, помещают в сушильный электрошкаф, где высушивают до постоянной массы при температуре 105-110 °С.

4. ПРОВЕДЕНИЕ ИСПЫТАНИЙ

Определяют плотность и теплопроводность парафина по ГОСТ 7076-78.

Изготавливают три образца композиционного материала размером 25´25´5 см. Для этого засыпают испытываемую пробу заполнителя в предварительно взвешенную форму, излишек заполнителя удаляют и форму с заполнителем вновь взвешивают. Заливают засыпку жидким, нагретым до 55-60 °С парафином. После отвердевания образцы расформовывают, измеряют, взвешивают и определяют их теплопроводность по ГОСТ 7076-78.

5. ОБРАБОТКА РЕЗУЛЬТАТОВ

Теплопроводность крупного заполнителя (lк) в Вт/(м·°С) [ккал/(м·ч·°С)] определяют по формуле

        (1)

где lп - теплопроводность парафина;

lм - теплопроводность композиционного материала;

j - объемная концентрация крупного заполнителя, определяемая по формуле

                           (2)

где Рм - масса образца из композиционного материала, г;

Рк - масса заполнителя в форме, г;

Vм - объем образца из композиционного материала, см3;

rп - плотность парафина, г/см3.

 

ИНФОРМАЦИОННЫЕ ДАННЫЕ

1. РАЗРАБОТАН И ВНЕСЕН Министерством промышленности строительных материалов СССР

ИСПОЛНИТЕЛИ:

В. П. Петров, канд. техн. наук; В. Г. Довжик, канд. техн. наук; М. З. Симонов, д-р техн. наук; И. А. Иванов, д-р техн. наук; М. Л. Нисневич, д-р техн. наук; И. Е. Путляев, д-р техн. наук; Н. Я. Спивак, канд. техн. наук; 3. А. Ацагорцян, д-р техн. наук; С. Г. Васильков, канд. техн. наук; Г. Я. Шишканов, канд. техн. наук (руководители темы); А. Н. Емельянов, канд. техн. наук; Л. М. Зотова; Б. С. Комиссаренко, канд. техн. наук; Ю. П. Морозов; Р. А. Абакумова; М. П. Элинзон, канд. техн. наук; Р. У. Хасянова, канд. техн. наук; Ф. М.   Шухатович, канд. техн. неук; Р. И. Ходская, канд. техн. наук; Н. С. Левкова, канд. техн. наук; Е. И. Левина, канд. техн. наук; И. С. Хаймов, канд. техн. наук; М. Г. Парфилова; Л. И. Карпикова, канд техн. наук; В. И. Савин, канд. техн. наук; Р. К. Житкевич, канд. техн. наук; Н. С. Стронгин, канд. техн. наук; З. С. Дупленко; С. Н. Евсеева, канд. техн. наук; М. Г. Бадалян, канд. техн. наук; Ф. М. Вартанян; И. Г. Габриэлян, канд. техн. наук; Н. М. Макридин, канд. техн. наук; В. Р. Хлевчук, канд. техн. наук; Л. Н. Ким; В. Р. Исраелян, канд. техн. наук; З. А. Абуева, канд. техн. наук; Л. Б. Багдасарян, канд. техн. наук; А. С. Тимофеева, канд. техн. наук; Л. В. Алексеева; В. И. Новаторов; В. В. Еремеева; В. А. Богословский

2. УТВЕРЖДЕН И ВВЕДЕН В ДЕЙСТВИЕ ПОСТАНОВЛЕНИЕМ Государственного комитета СССР по делам строительства от 11.07.86 № 97

3. СООТВЕТСТВУЕТ СТ СЭВ 5066-85 (в части методов определения насыпной плотности, зернового состава, содержания невспученных частиц, влажности и теплопроводности перлитового песка)

4. ВЗАМЕН ГОСТ 9758-77

5. ССЫЛОЧНЫЕ НОРМАТИВНО-ТЕХНИЧЕСКИЕ ДОКУМЕНТЫ (НТД)

Обозначение НТД, на который дана ссылка

Номер пункта, подпункта, приложения

ГОСТ 166-80

10.2, 16.2, 22.2

ГОСТ 177-77

29.2

ГОСТ 215-77

Приложение 2

ГОСТ 310.2-76

7.6.1, 21.5

ГОСТ 310.3-76

32.2

ГОСТ 310.4-81

10.2, 32.2, приложение 2

ГОСТ 427-75

3.2, 6.2, 20.2, 22.2, 31.2

ГОСТ 1154-80

23.2

ГОСТ 1277-75

29.2

ГОСТ 1770-74

6.2, 7.2, 8.2, 15.2, 21.2, 32.2

ГОСТ 2874-82

1.8

ГОСТ 3118-77

29.2

ГОСТ 3584-73

1.7, приложение 2

ГОСТ 3760-79

29.2

ГОСТ 4108-72

29.2

ГОСТ 4166-76

24.2

ГОСТ 4171-76

24.2

ГОСТ 4204-77

5.2, 11.2

ГОСТ 4460-77

5.2

ГОСТ 4753-68

8.2

ГОСТ 5802-78

7.5

ГОСТ 6139-78

6.2

ГОСТ 6709-72

5.2, 8.2, 24.2, 26.2, 29.2

ГОСТ 7076-78

1.1, 10.2, 10.4.5, приложение 2

ГОСТ 7473-85

7.4.1, 22.4

ГОСТ 8269-86

1.1

ГОСТ 8735-75

7.6.1, 14.5.2, 21.5

ГОСТ 8736-85

7.2

ГОСТ 8905-82

20.2, 21.2, 22.2, 31.2

ГОСТ 9147-80

5.2, 6.2, 11.2, 28.2, 29.2, 30.2

ГОСТ 9533-81

22.2

ГОСТ 9757-83

Вводная часть, 10.2, 22.5.5

ГОСТ 10178-85

7.2, 10.2, 21.2, 22.2, 32.2

ГОСТ 10180-78

21.5, 22.4, 22.5.1

ГОСТ 10181.1-81

7.2, 10.2, 21.2, 22.2

ГОСТ 10181.2-81

10.4.2

ГОСТ 10268-80

21.2

ГОСТ 10484-78

11.2

ГОСТ 10597-80

23.2, 24.2, 25.2, 26.2, 27.2

ГОСТ 12026-76

11.2, 29.2

ГОСТ 12083-78

28.2

ГОСТ 13474-79

1.3, 3.2, 4.2, 5.2, 6.2, 7.2, 8.2, 10.2, 11.2, 12.2, 13.2, 14.2, 15.2, 18.2, 19.2, 20.2, 21.2, 22.2, 23.2, 24.2, 25.2, 26.2, 27.2, 28.2, 29.2, 30.2, 31.2, приложение 2

ГОСТ 14919-83

24.2, 25.2, 27.2, 29.2, приложение 2

ГОСТ 19347-84

5.5.2, 8.2

ГОСТ 19908-80

5.2, 6.2, 8.3, 28.2, 29.2

ГОСТ 20292-74

29.2

ГОСТ 22263-76

Вводная часть, 22.5.5

ГОСТ 22685-77

10.2, 21.2, 22.2, приложение 2

ГОСТ 23076-79

Приложение 2

ГОСТ 23676-79

3.2, 4.2, 7.2, 10.2, 12.2, 13.2, 14.2, 15.2, 19.2, 20.2, 21.2, 22.2, 23.2, 24.2, 25.2, 26.2, 27.2, 31.2, 32.2

ГОСТ 23683-79

Приложение 2

ГОСТ 23732-79

1.8

ГОСТ 24104-88

4.2, 5.2, 6.2, 8.2, 11.2, 13.2, 17.2, 21,2, 25.2, 26.2, 28.2, 29.2, 30.2

ГОСТ 25336-82

5.2, 11.2, 12.2, 29.2, 30.2

ГОСТ 25644-83

8.2

ГОСТ 25820-83

22.5.5

ГОСТ 26000-86

21.5, 22.4

 

СОДЕРЖАНИЕ

 

1. Общие положения

2. Отбор проб

3. Определение насыпной плотности

4. Определение средней плотности зерен крупного заполнителя

5. Определение истинной плотности

6. Определение средней плотности зерен гравия в кварцевом песке

7. Определение средней плотности зерен заполнителя в цементном тесте

8. Определение средней плотности зерен песка

9. Определение объема межзерновых пустот и пористости зерен заполнителя

10. Определение теплопроводности зерен крупного заполнителя

11. Определение содержания стеклофазы в заполнителе

12. Определение влажности

13. Определение водопоглощения крупного заполнителя

14. Определение зернового состава

15. Определение зернового состава керамзитовой смеси при операционном контроле

16. Определение коэффициента формы зерен крупного заполнителя

17. Определение содержания расколотых зерен в гравии

18. Определение содержания невспученных частиц в перлитовом песке

19. Определение содержания зерен инородных горных пород

20. Определение прочности заполнителя сдавливанием в цилиндре

21. Определение марочной прочности крупного заполнителя в бетоне

22. Определение пригодности природных пористых заполнителей путем испытания в бетоне

23. Определение морозостойкости крупного заполнителя

24. Определение морозостойкости крупного заполнителя испытанием в растворе сернокислого натрия

25. Определение стойкости крупного заполнителя против силикатного распада

26. Определение стойкости крупного заполнителя против железистого распада

27. Определение потери массы крупного заполнителя при кипячении

28. Определение содержания слабообожженных частиц в песке

29. Определение содержания водорастворимых сернистых и сернокислых соединений

30. Определение  потери массы при прокаливании

31. Определение коэффициента размягчения крупного заполнителя

32. Определение водопотребности песка

33. Контроль однородности показателей насыпной плотности и прочности крупного заполнителя

Приложение 1. Справочное. Применение методов испытаний

Приложение 2. Рекомендуемое. Определение теплопроводности крупного заполнителя парафинированием

 

 




Rambler's Top100 Яндекс цитирования
  Copyright © 2008-2026, www.docload.ru