Бесплатная библиотека стандартов и нормативов www.docload.ru

Все документы, размещенные на этом сайте, не являются их официальным изданием и предназначены исключительно для ознакомительных целей.
Электронные копии этих документов могут распространяться без всяких ограничений. Вы можете размещать информацию с этого сайта на любом другом сайте.
Это некоммерческий сайт и здесь не продаются документы. Вы можете скачать их абсолютно бесплатно!
Содержимое сайта не нарушает чьих-либо авторских прав! Человек имеет право на информацию!

 

ГОСУДАРСТВЕННЫЙ СТАНДАРТ СОЮЗА ССР

МАТЕРИАЛЫ И ИЗДЕЛИЯ
ПОЛИМЕРНЫЕ СТРОИТЕЛЬНЫЕ
ГЕРМЕТИЗИРУЮЩИЕ НЕТВЕРДЕЮЩИЕ

Методы испытаний

ГОСТ 25945-87

ГОСУДАРСТВЕННЫЙ СТРОИТЕЛЬНЫЙ КОМИТЕТ СССР

Москва

ГОСУДАРСТВЕННЫЙ СТАНДАРТ СОЮЗА ССР

МАТЕРИАЛЫ И ИЗДЕЛИЯ ПОЛИМЕРНЫЕ
СТРОИТЕЛЬНЫЕ ГЕРМЕТИЗИРУЮЩИЕ
НЕТВЕРДЕЮЩИЕ

Методы испытаний

Polymer building non-hardening sealing
materials and products. Test methods

ГОСТ
25945-87

Дата введения 01.01.88

ИНФОРМАЦИОННЫЕ ДАННЫЕ

1. РАЗРАБОТАН И ВНЕСЕН Министерством промышленности строительных материалов СССР

ИСПОЛНИТЕЛИ

А. Т. Бублик, канд. техн. наук; З. С. Горшков, д-р хим. наук (руководители темы); А. Д. Сугробкин; Т. И. Михайлова; А. Н. Проскурина; Ю. М. Дробышевский, канд. техн. наук М. Я. Крейндель; Н. Г. Михайлович; Г. В. Лебедева; Е. М. Лосина; В. Р. Матюхина; Н. В. Чепик; Б. М. Заикин, канд. техн. наук; Н. Д. Серебринникова, канд. техн. наук; Л. А. Сомова; Н. Н. Цаплев, канд. техн. наук; О. Ю. Якуб, канд. техн. наук; Е. Т. Артыкпаев, канд. техн. наук; А. Ю. Зонтов; Я. С. Шулов; О. В. Смирнов; И. А. Егорова; М. П. Кораблин

2. УТВЕРЖДЕН И ВВЕДЕН В ДЕЙСТВИЕ Постановлением Государственного строительного комитета СССР от 03.02.87 № 22

3. ВЗАМЕН ГОСТ 25945-83

4. ССЫЛОЧНЫЕ НОРМАТИВНО-ТЕХНИЧЕСКИЕ ДОКУМЕНТЫ

Обозначение НТД, на который дана ссылка

Номер пункта

ГОСТ 111-78

ГОСТ 380-71

2.2, 4.2

5.2, 7.2

ГОСТ 427-75

2.2, 5.2, 6.2, 7.2, 8.2

ГОСТ 443-76

4.2

ГОСТ 1440-78

6.2

ГОСТ 2239-79

8.2

ГОСТ 2768-84

4.2, 5.2, 7.2

ГОСТ 2874-82

4.2

ГОСТ 5072-79

4.2, 6.2

ГОСТ 6709-72

4.2

ГОСТ 7259-77

4.2, 5.2

ГОСТ 9147-80

7.2

ГОСТ 9784-75

5.2

ГОСТ 12026-76

4.2

ГОСТ 12085-73

2.2

ГОСТ 17622-72

2.2

ГОСТ 20799-75

2.2

ГОСТ 25336-82

7.2

ГОСТ 25706-83

5.2, 8.2, 9.2

Настоящий стандарт распространяется на полимерные строительные герметизирующие нетвердеющие материалы и изделия и устанавливает методы испытаний следующих показателей:

предела прочности при растяжении;

относительного удлинения при максимальной нагрузке;

характера разрушения;

относительного удлинения при минимальной температуре эксплуатации;

водопоглощения;

липкости;

пенетрации;

миграции пластификатора;

однородности;

сопротивления текучести при заданной температуре.

Применение методов испытания должно предусматриваться в нормативно-технической документации, устанавливающей технические требования к конкретным видам герметизирующих нетвердеющих материалов и изделий.

1. ОБЩИЕ УКАЗАНИЯ

1.1. Отбор проб должен производиться в соответствии с нормативно-технической документацией на конкретные герметизирующие материалы и изделия.

1.2. Температура помещения, в котором проводят испытания материалов, должна быть (23±2) °С.

Отобранные пробы перед испытанием должны быть выдержаны при этой температуре не менее 18 ч после изготовления материала.

1.3. За результат испытания принимают среднее арифметическое значение X параллельных определений, рассчитываемое по формуле

,                                                          (1)

где Хi - результат i-го определения;

n - число результатов определений.

1.4 Результаты испытаний должны быть внесены в журнал, в котором указывают:

наименование испытываемого материала или изделия, марку, обозначение нормативно-технической документации, по которой изготавливают материал или изделие;

дату изготовления;

номер партии;

дату испытания;

обозначение настоящего стандарта;

количество образцов, подвергнутых испытанию;

значение каждого параллельного испытания;

среднее арифметическое значение показателя;

должности и фамилии лиц, проводивших испытания;

дополнительные сведения.

2. ОПРЕДЕЛЕНИЕ ПРЕДЕЛА ПРОЧНОСТИ ПРИ РАСТЯЖЕНИИ, ОТНОСИТЕЛЬНОГО УДЛИНЕНИЯ ПРИ МАКСИМАЛЬНОЙ НАГРУЗКЕ И ХАРАКТЕРА РАЗРУШЕНИЯ

Метод не распространяется на полимерные строительные герметизирующие нетвердеющие погонажные изделия.

2.1. Отбор образцов

Число образцов для испытания должно быть не менее пяти, по одному образцу от каждой отобранной пробы.

2.2. Аппаратура, приспособления, материалы

Разрывная машина с кинематической схемой нагружения. Разрывная машина должна обеспечивать:

измерение нагрузки с погрешностью не более 1,0 %;

скорость движения подвижного захвата 10 мм/мин;

запись диаграммы "нагрузка-деформация" (черт. 1) в масштабе 1:1, 5:1, 10:1;

погрешность записи деформации не должна превышать ±3 % действительной деформации.

Черт. 1

Стальные захваты, схема которых приведена на черт. 2. Допускается изменение конструкции зажимов в соответствии с типом разрывной машины.

Черт. 2

Металлическая линейка по ГОСТ 427-75.

Сушильный электрошкаф, обеспечивающий поддержание температуры в диапазоне 50-100 °С.

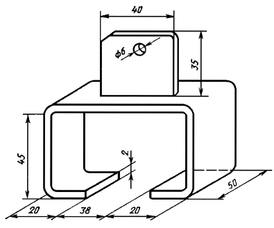
Трафарет, изготовленный из прозрачного органического стекла по ГОСТ 17622-72 или оконного стекла по ГОСТ 111-78 (черт. 3). Толщина стекла должна быть 1-2 мм. Длина трафарета должна быть 49,8+0,2 мм, ширина 29,8+0,2 мм. Разметку сетки на стекле производят механическим или химическим способом (травлением).

Подложка в виде призмы длиной и шириной 50+2 мм и толщиной, обеспечивающей сохранение формы подложки в процессе изготовления и испытания образца. Материал подложки должен быть указан в нормативно-технической документации на конкретный герметизирующий материал. Масса подложки не должна превышать 170 г.

Черт. 3

Деревянные ограничительные планки длиной 52+1 мм, шириной 20±0,5 мм и толщиной 10±1 мм.

Минеральное масло по ГОСТ 20799-75.

Антиадгезионная бумага.

Мел по ГОСТ 12085-73 или другие виды наполнителей по нормативно-технической документации.

2.3. Подготовка к испытанию

2.3.1. Подготовка подложки к нанесению герметизирующего материала должна осуществляться в соответствии с нормативно-технической документацией на конкретный герметизирующий материал.

2.3.2. Отобранной пробе материала придают форму цилиндра диаметром 30-35 мм и длиной не менее 50 мм.

2.3.3. При необходимости подогрева пробу перед изготовлением образцов помещают на антиадгезионную бумагу и выдерживают при температуре, указанной в нормативно-технической документации на испытываемый герметизирующий материал, в течение 1 ч. Пробу, подготовленную по п. 2.3.2, помещают на середину подложки и обжимают с двух сторон деревянными ограничительными планками. Во избежание прилипания пробы материала к деревянным планкам они должны быть смазаны минеральным маслом и присыпаны наполнителем, применяемым для изготовления этого материала. Сверху пробу прижимают второй подложкой до соприкосновения с ограничительными планками для придания ей прямоугольной формы шириной 30+1 мм, высотой (20±0,5) мм и длиной 50+2 мм. Избыток герметизирующего материала удаляют ножом со сторон, неограниченных планками.

Допускается использование других антиадгезионных покрытий, исключающих налипание герметизирующего материала к планкам.

2.3.4. Готовые образцы должны быть выдержаны не менее 3 ч и не более 24 ч при температуре воздуха (23±2) °С.

2.4. Проведение испытания

2.4.1. После выдержки образца в условиях, указанных в п. 2.3.4, не удаляя ограничительные планки, замеряют его ширину и длину (за длину образца принимают длину наименьшей из подложек). Затем вынимают ограничительные планки и помещают образец в захваты разрывной машины. Время от изъятия планок до начала деформирования должно составлять не более 30 с.

2.4.2. Испытания проводят со скоростью движения подвижного захвата разрывной машины 10 мм/мин до разрушения. При этом производят запись диаграммы "нагрузка-деформация" (см. черт. 1).

2.4.3. Максимальную нагрузку при растяжении и удлинение образца материала при максимальной нагрузке определяют по диаграмме "нагрузка-деформация". Масштаб записи выбирают так, чтобы форма диаграммы была аналогична приведенной на черт. 1. Масштаб записи должен быть указан в нормативно-технической документации на материал.

2.4.4. Для определения характера разрушения образца обе подложки освобождают от захватов, срезают основную массу герметизирующего материала ножом, смоченным водой, так, чтобы на поверхности подложки оставался слой герметизирующего материала толщиной (1±0,5) мм. На место отрыва материала от поверхности подложки накладывают трафарет таким образом, чтобы число клеток, под которыми отсутствует герметизирующий материал, было минимальным. Затем подсчитывают площадь отрыва, т.е. число клеток, под которыми отсутствует герметизирующий материал.

Любое отслоение материала в площади клетки, наблюдаемое невооруженным глазом, считают адгезионным отрывом.

2.5. Обработка результатов

2.5.1. Предел прочности при растяжении (Rp) в мегапаскалях вычисляют по формуле

,                                                           (2)

где P - максимальная нагрузка при растяжении, Н;

S - площадь первоначального поперечного сечения образца, м2

2.5.2 Относительное удлинение при максимальной нагрузке (e) в процентах вычисляют по формуле

,                                                             (3)

где h - расстояние между подложками до испытания, мм

Dl - удлинение образца при максимальной нагрузке, мм

2.5.3. Характер разрушения считают когезионным, если число клеток, под которыми хотя бы частично отсутствует герметизирующий материал, менее или равно 10. При этом отсутствие его на подложках должно быть не более чем на 40 % испытываемых образцов. В противном случае характер разрушения считают адгезионным.

2.5.4. За результат испытания предела прочности при растяжении и относительного удлинения при максимальной нагрузке принимают среднее арифметическое значение показателей всех испытанных образцов, при этом не менее 80 % результатов испытаний должны удовлетворять требованиям нормативно-технической документации на испытываемый герметизирующий материал.

Если результаты испытаний отклоняются от средней величины более чем на 10 %, то их не учитывают и среднее арифметическое значение показателей вычисляют из оставшихся результатов измерений. Если число неучитываемых результатов составляет более 40 % от общего количества измерений, то испытания следует повторить на удвоенном числе образцов.

2.5.5. В журналах дополнительно должны быть внесены следующие данные:

расстояние между подложками;

величина максимальной нагрузки;

величина удлинения при максимальной нагрузке;

площадь первоначального поперечного сечения образца;

характер разрушения.

3. ОПРЕДЕЛЕНИЕ ОТНОСИТЕЛЬНОГО УДЛИНЕНИЯ ПРИ МИНИМАЛЬНОЙ ТЕМПЕРАТУРЕ ЭКСПЛУАТАЦИИ

Метод не распространяется на полимерные строительные герметизирующие нетвердеющие погонажные изделия.

3.1. Отбор образцов - по п. 2.1.

3.2. Аппаратура, приспособления, материалы

3.2.1. Аппаратура, приспособления и материалы - по п. 2.2, при этом:

разрывная машина должна быть снабжена специальной криокамерой;

скорость движения подвижного захвата (1,0±0,5) мм/мин.

3.3. Подготовка к испытанию

Подготовка к испытанию - по п. 2.3, при этом готовые образцы должны быть выдержаны не менее 1 ч при температуре, указанной в нормативно-технической документации на испытываемый материал.

3.4. Проведение испытания

3.4.1. После выдержки образца в криокамере не менее 1 ч из него удаляют ограничительные планки и помещают образец в захваты разрывной машины.

3.4.2. Через 15 мин после закрепления образца проводят испытания.

3.4.3. При достижении величины удлинения образца, превышающей в два раза величину, указанную в нормативно-технической документации на конкретный материал, испытание прекращают.

3.5. Обработка результатов

3.5.1. Относительное удлинение при минимальной температуре эксплуатации в процентах вычисляют в соответствии с п. 2.5.2.

3.5.2. Если образец не разрушился, то за величину относительного удлинения при минимальной температуре принимают величину, указанную в нормативно-технической документации на испытываемый материал.

4. ОПРЕДЕЛЕНИЕ ВОДОПОГЛОЩЕНИЯ

Метод не распространяется на полимерные строительные герметизирующие нетвердеющие погонажные изделия.

Сущность метода заключается в определении массы воды, поглощенной образцом при выдержке его в воде в течение заданного времени.

4.1. Отбор образцов

Число образцов для испытания должно быть не менее трех, по одному образцу от каждой отобранной пробы.

4.2. Аппаратура, приспособления, материалы

Лабораторные весы общего назначения 2-го класса точности с наибольшим пределом взвешивания до 200 г.

Сушильный электрошкаф, обеспечивающий поддержание температуры в диапазоне 50-100 °С.

Подложки из стекла по ГОСТ 111-78 размером (50´50´5) мм. Допускается использование подложек толщиной до 20 мм.

Сосуд из стекла, фарфора или эмалированной стали объемом не менее 1000 см3.

Фильтровальная бумага по ГОСТ 12026-76.

Бензин по ГОСТ 443-76.

Ацетон по ГОСТ 2768-84.

Фланель по ГОСТ 7259-77.

Вода по ГОСТ 6709-72 или по ГОСТ 2874-82.

Секундомер по ГОСТ 5072-79.

4.3. Подготовка к испытанию

4.3.1. Все взвешивания производят с погрешностью 0,001 г.

4.3.2. Стеклянные подложки очищают от пыли и загрязнений, обезжиривают тканью, смоченной бензином, высушивают на воздухе в течение 5-10 мин, затем протирают тканью, смоченной ацетоном и высушивают на воздухе в течение 5-10 мин.

1 - испытываемый материал; 2 - подложка

Черт. 4

4.3.3. Испытываемый материал массой (10±0,2) г распределяют по всей поверхности предварительно взвешенной подложки, как показано на черт. 4. Перед нанесением на подложку допускается прогрев при температуре, указанной в нормативно-технической документации на испытываемый материал.

4.3.4. Перевернув образец подложкой вверх, проверяют сплошность контакта испытываемого материала с подложкой. Не допускается наличие пузырьков воздуха между материалом и подложкой.

4.3.5. Готовые образцы должны быть выдержаны перед испытанием не менее 3 ч и не более 24 ч при температуре (23±2) °С.

4.4. Проведение испытания

4.4.1. Образцы взвешивают и помещают в сосуд с водой так, чтобы они не соприкасались с его стенками и друг с другом. При этом образцы должны быть полностью покрыты водой, на один образец должно приходиться не менее 200 см3 воды.

4.4.2. Каждый образец по истечении (24±1) ч вынимают и переносят на фильтровальную бумагу. Образец промокают фильтровальной бумагой со всех сторон до удаления влаги и через 30-60 с взвешивают. Аналогичным образом производят взвешивание остальных образцов.

4.5. Обработка результатов

4.5.1. Водопоглощение (W) в процентах по массе вычисляют по формуле

,                                                       (4)

где g0 - масса стеклянной подложки, г;

g1 - масса испытываемого материала с подложкой до испытания, г;

g2 - масса испытываемого материала с подложкой после испытания, г.

Полученный результат округляют до 0,01 в процентах по массе, при этом результат каждого испытания не должен превышать значения, указанного в нормативно-технической документации на конкретный испытываемый материал.

4.5.2. За результат испытания принимают среднее арифметическое значение параллельных определений показателя водопоглощения по массе, при этом в журнале дополнительно должна быть указана масса образца.

5. ОПРЕДЕЛЕНИЕ ЛИПКОСТИ

Метод предназначен для определения липкости при разработке и освоении новых видов герметизирующих материалов и изделий.

Сущность метода заключается в измерении усилия сцепления поверхности испытываемого материала с поверхностью контактного материала (поверхностью ролика).

5.1. Отбор образцов

Число образцов для испытания должно быть не менее трех, по одному образцу от каждой отобранной пробы.

5.2. Аппаратура, приспособление, материалы

Разрывная машина с кинематической схемой нагружения. Разрывная машина должна обеспечивать:

измерение усилия с погрешностью не более 1,0 %;

скорость подвижной траверсы от 10 до 1000 мм/мин;

запись диаграммы "усилие - время".

Пресс, обеспечивающий поддержание усилия до 2000 Н (200 кгс).

Измерительная лупа по ГОСТ 25706-83 с погрешностью измерения 0,1 мм.

Измерительная линейка по ГОСТ 427-75.

Сушильный шкаф, обеспечивающий поддержание температуры в диапазоне 50-100 °С.

Подложки дюралюминиевые или из органического стекла по ГОСТ 9784-75 (черт. 5).

Ацетон по ГОСТ 2768-84.

Антиадгезионная бумага.

Фланель по ГОСТ 7259-77.

Стальные ограничители из Ст3 по ГОСТ 380-71, размером (50´10´0,25) мм.

Стальные плиты из Ст3 по ГОСТ 380-71, размером (280´70´20) мм.

Скальпель.

1 - подложка; 2 - испытываемый материал; 3 - антиадгезионная бумага; 4 - риски; 5 - прорезь

Черт. 5

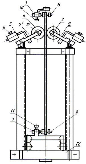
Приспособление для определения липкости приведено на черт. 6.

1 - верхний зажим; 2,2 - нагружающие рычаги; 3,3 - оси; 4 - ролик; 5 - закрепляющий винт; 6 - противовес; 7 - нижний зажим; 8, 9 - фиксирующие винты; 10, 11 - затягивающие винты; 12 - основание приспособления

Черт. 6

Ролики со сферической рабочей поверхностью с радиусом закругления 20 мм. Материал роликов должен быть указан в нормативно-технической документации на конкретный герметизирующий материал.

5.3. Подготовка к испытанию

5.3.1. Подготовка образцов из герметизирующих мастик

5.3.1.1. На обезжиренную ацетоном подложку вдоль продольной оси с двух сторон наносят герметизирующий материал в виде цилиндрического валика длиной (135±5) мм и диаметром 5-6 мм так, чтобы расстояние от края испытываемого материала до ближайшей риски, обозначенной Р1, составляло (10±1) мм. Сразу после нанесения испытываемый материал закрывают антиадгезионной бумагой.

5.3.1.2. Подложку с нанесенным на нее испытываемым материалом помещают на стальную плиту. Между антиадгезионной бумагой и подложкой с обеих ее сторон устанавливают четыре ограничителя, по два с каждой стороны. Ограничители должны находиться напротив рисок, обозначенных Р1, нанесенных на боковую поверхность подложки (черт. 5). На подложку с испытываемым материалом, закрытым антиадгезионной бумагой, накладывают вторую стальную плиту и прессуют испытываемый материал с усилием не более (2000±40) Н [(200±4) кгс] до соприкосновения плит с ограничителями. Прессование прекращают, когда усилие в (2000±40) Н, [(200±4) кгс] поддерживается постоянно в течение (2-3) мин. Образец отбраковывают, если испытываемый материал касается хотя бы одного из четырех ограничителей.

5.3.1.3. Ограничители удаляют. Испытываемый материал и антиадгезионную бумагу, выходящие за боковые грани подложки, срезают скальпелем.

5.3.1.4. На антиадгезионной бумаге с двух сторон подложки скальпелем делают по две прорези. Прорези должны находиться напротив рисок, обозначенных Р2, нанесенных на боковую поверхность подложки (черт. 5).

5.3.2. Подготовка образцов из самоклеющихся лент

5.3.2.1. На обезжиренную ацетоном подложку с двух сторон наносят полоски испытываемых лент размером (160´35) мм и толщиной, указанной в нормативно-технической документации на конкретный испытываемый материал, поверхностью, освобожденной от антиадгезионной бумаги. Края полосок должны располагаться напротив рисок, обозначенных Р1.

5.3.2.2. Прорези на антиадгезионной бумаге делают в соответствии с п. 5.3.1.4.

5.3.3. Образцы перед испытанием должны быть выдержаны при температуре (23±2)°С не менее 3 ч и не более 24 ч.

На каждом образце проводят три прокатывания роликами.

5.3.4. Образец закрепляют, используя при первом прокатывании роликов пазы а - а на подложке, в верхнем неподвижном зажиме 1 разрывной машины и нижнем зажиме 7 с помощью фиксирующих винтов 8 и 9, устанавливая его вертикально путем изменения положения зажимов 1 и 7, после чего затягивают винты 10 и 11. Ролики 4 нагружающих рычагов 2 и 2 опускают на образец. Ролики должны располагаться на расстоянии не менее чем на 10 мм выше верхней прорези.

5.3.5. Вертикальность установки образца проверяют, измеряя линейкой расстояние от осей 3 и 3 до основания приспособления 12. Результаты измерения не должны отличаться более чем на 1 мм. Если необходимо, проводят корректировку положения образца, изменяя положение зажимов 1 и 7.

5.3.6. Подвижную траверсу разрывной машины опускают на (130±2) мм и определяют вертикальность установки образца аналогично п. 5.3.5.

5.3.7. Ролики отводят от образца. Подвижную траверсу возвращают в исходное положение.

5.4. Проведение испытания

5.4.1. Поверхность роликов обезжиривают фланелью, смоченной в ацетоне. Ролики устанавливают на образце.

5.4.2. Среднюю часть между прорезями рабочих поверхностей образца освобождают от антиадгезионной бумаги.

5.4.3. Подвижную траверсу опускают до перехода роликов на антиадгезионную бумагу нижней части образца на длину (10±2) мм, одновременно записывая диаграмму "усилие - время".

5.4.4. Скорость подвижной траверсы, которую указывают в нормативно-технической документации на испытываемый материал, выбирают, обеспечивая адгезионный характер отрыва испытываемого материала от поверхности ролика, из ряда 10, 20, 30, 40, 50, 60, 70, 80, 90, 100, 200, 300, 400, 500, 600, 700, 800, 900, 1000 мм/мин. В нормативно-технической документации должна быть указана минимальная скорость, при которой обеспечивается отсутствие налипания испытываемого материала на ролики.

5.4.5. Образец вынимают из зажимов 1 и 7 и снова в них закрепляют, используя при втором прокатывании роликов пазы b - b, при третьем - пазы d - d. Подготовку к испытанию при втором и третьем прокатывании роликов проводят по пп. 5.3.2.4 - 5.3.2.7.

Черт. 7

5.4.6. Для вычисления липкости необходимо определить по диаграмме "усилие - время" (черт. 7) с погрешностью не более 5 % пять максимальных и пять минимальных значений усилий сцепления испытываемого материала с роликами.

5.4.7. Ширину следа ролика с двух сторон поверхности испытываемого материала определяют при помощи измерительной лупы с погрешностью до 0,1 мм. Число измерений ширины следа ролика для каждого прокатывания должно быть шесть, по три измерения с каждой стороны по всей длине следа ролика на расстоянии не менее чем 25 мм друг от друга.

5.5. Обработка результатов

5.5.1. Липкость (Л) в Н/м вычисляют по формуле

,                                                                 (5)

где Р - среднее арифметическое значение из пяти максимальных и пяти минимальных значений, определенных из диаграммы «усилие - время», Н;

l - среднее арифметическое значение шести измерений ширины следа ролика на поверхности испытываемого материала, м.

5.5.2. При налипании испытываемого материала хотя бы на один из роликов, характер разрушения считают когезионным, а при отсутствии - адгезионным.

5.5.3. Результаты, полученные при когезионном характере разрушения, при расчете липкости не учитывают. Если их число превышает 40 % всех измерений, определение липкости повторяют при большей скорости вплоть до 1000 мм/мин. Если когезионное разрушение наблюдается при этой скорости, то у испытываемого материла при температуре (23±2) °С липкость не может быть измерена.

5.5.4. За результат испытания принимают среднее арифметическое значение показателя липкости, при этом в журнал дополнительно должны быть внесены следующие данные:

материал роликов;

скорость движения подвижной траверсы;

характер разрушения по результатам каждого прокатывания.

6. ОПРЕДЕЛЕНИЕ ПЕНЕТРАЦИИ

Метод не распространяется на полимерные строительные герметизирующие нетвердеющие погонажные изделия.

Сущность метода заключается в определении глубины погружения конуса в испытываемый материал в течение установленного времени.

6.1. Отбор образцов

Число образцов для испытания должно быть не менее трех, по одному образцу от каждой отобранной пробы.

6.2. Аппаратура, приспособление, материалы

Прибор по ГОСТ 1440-78 с конусом для общепринятого (стандартного) метода испытаний смазок пластичных и петралатумов.

Сушильный элекрошкаф, обеспечивающий поддержание температуры в диапазоне 50-100 °С.

Секундомер по ГОСТ 5072-79.

Металлический сосуд диаметром не менее 70 мм и высотой не менее 40 мм.

Металлический нож.

Измерительная линейка по ГОСТ 427-75.

6.3. Подготовка к испытанию

6.3.1. Отобранные пробы испытываемого материала массой не менее 330 г каждая помещают на антиадгезионную бумагу и выдерживают в сушильном электрошкафу в течение 0,5 - 1 ч при температуре, указанной в нормативно-технической документации на конкретный испытываемый материал.

6.3.2. Металлические сосуды заполняют испытываемым материалом. Избыток материала срезают ножом вровень с краями сосуда.

6.3.3. Изготовленные образцы должны быть выдержаны перед испытанием не менее 3 ч и не более 24 ч при температуре (23±2) °С.

6.3.4. Перед проведением каждого испытания конус прибора очищают, при этом конус должен занимать самое высокое положение.

6.4. Проведение испытания

6.4.1. Образец помещают на столик прибора.

6.4.2. Наконечник конуса устанавливают на поверхность испытываемого материала, при этом точка касания конуса должна располагаться от края сосуда на расстоянии не менее 10 мм.

6.4.3. При пуске секундомера одновременно освобождают ось конуса, давая конусу свободно погружаться в испытываемый материал в течение (5±0,2) с.

Глубину погружения определяют по шкале прибора.

6.4.4. На каждом образце проводят не менее 3 измерений, при этом точки касания конуса и испытуемого материала должны быть расположены одна от другой на расстоянии не менее 10 мм.

6.5. Обработка результатов

За результат испытания принимают среднее арифметическое значение показателя параллельных определений пенетрации.

7. ОПРЕДЕЛЕНИЕ МИГРАЦИИ ПЛАСТИФИКАТОРА

Метод не распространяется на полимерные строительные герметизирующие нетвердеющие погонажные изделия.

Сущность метода заключается в определении разницы между содержанием органических компонентов в исходном материале и после выдержки его на подложке при заданной температуре в течение заданного времени.

7.1. Отбор образцов

Число образцов для испытания должно быть не менее десяти, по три образца от двух проб и четыре образца от третьей пробы. Изготовление образцов из отобранных проб проводят случайным образом.

7.2. Аппаратура, приспособления, материалы

Сушильный элекрошкаф, обеспечивающий поддержание температуры в диапазоне 50-100 °С.

Муфельная печь, обеспечивающая поддержание температуры (600±25) °С.

Лабораторные весы общего назначения 2-го класса точности с наибольшим пределом взвешивания до 200 г.

Эксикатор по ГОСТ 25336-82.

Фарфоровые тигли по ГОСТ 9147-80.

Подложки в виде призмы длиной и шириной (50±2) мм и толщиной, обеспечивающей сохранение формы подложки в процессе изготовления и испытания образца. Материал подложки должен быть указан в нормативно-технической документации на конкретные герметизирующие материалы и изделия. Масса подложки не должна превышать 170 г.

Пресс, обеспечивающий поддержание усилия до (2000±40) Н.

Стальная плита из Ст3 по ГОСТ 380-71, размером (70´70´10) мм.

Стальные ограничители из Ст3 по ГОСТ 380-71, размером (70´10´0,5) мм.

Антиадгезионная бумага.

Скальпель или металлический нож.

Ацетон по ГОСТ 2768-84.

Измерительная линейка по ГОСТ 427-75.

7.3. Подготовка к испытанию

7.3.1. Подготовка подложек к нанесению герметизирующего материала должна осуществляться в соответствии с требованиями нормативно-технической документации на конкретные герметизирующие материалы и изделия.

7.3.2. Испытываемому материалу массой (2,5±0,5) г придают цилиндрическую форму длиной (20±2) мм и диаметром 5-6 мм, помещают на середину подложки, предварительно протертой ацетоном, по краям которой с двух сторон расположены ограничители, накрывают антиадгезионной бумагой и прессуют между подложкой и стальной плитой до ее соприкосновения с ограничителями.

Прессование прекращают, когда усилие (2000±40) Н поддерживается постоянно в течение 2 - 3 мин. Избыток материала удаляют. Не допускается подтекание испытываемого материала под ограничители.

7.4. Проведение испытания

7.4.1. Пять образцов, подготовленных по п. 7.3.2, помещают в сушильный шкаф и выдерживают при заданных температуре и времени, указанных в нормативно-технической документации на конкретный испытываемый материал.

7.4.2. Все взвешивания производят с погрешностью 0,002 г.

7.4.3. После извлечения образцов из сушильного шкафа их охлаждают на воздухе до температуры (23±2) °С. Испытываемый материал снимают скальпелем, отступая от края подложки на 5 мм и помещают в предварительно прокаленные, охлажденные и взвешенные фарфоровые тигли, а затем взвешивают.

Одновременно с этим в другие пять фарфоровых тиглей, предварительно прокаленные, охлажденные и взвешенные, помещают исходный испытываемый материал массой до (2,5±0,5) г, не подвергавшийся выдержке на подложке в сушильном шкафу, и взвешивают.

7.4.4. Тигли с испытываемым материалом, предварительно прошедшим подготовку по пп. 7.4.1 - 7.4.3, и тигли с исходным материалом помещают в холодную муфельную печь и медленно нагревают при открытой дверце до полного озоления, не допуская воспламенения пробы.

Затем муфельную печь закрывают и тигли прокаливают при температуре (500±25) °С в течение 1 ч.

7.4.5. После прокаливания все тигли извлекают из муфельной печи, переносят в эксикатор и охлаждают в течение 30 мин, затем взвешивают.

7.4.6. Прокаливание, охлаждение и взвешивание повторяют до тех пор, пока разность результатов двух последних взвешиваний будет не более 0,002 г.

7.5. Обработка результатов

7.5.1. Миграцию пластификатора (М) в процентах по массе вычисляют по формуле

,                                                 (6)

где А0 - среднее арифметическое значение содержания органических компонентов пяти параллельных образцов исходного материала, %;

А - среднее арифметическое значение содержания органических компонентов пяти параллельных образцов испытываемого материала после выдержки на подложке, %.

7.5.2. Содержание органических компонентов в процентах по массе А0 и А в исходном материале и предварительно прошедшем подготовку по пп. 7.4.1 - 7.4.3 определяют по формуле

,                                                   (7)

где Р0 - масса навески до прокаливания, г;

Р - масса навески после прокаливания, г.

Содержание органических компонентов вычисляют как среднее арифметическое значение пяти параллельных определений; допускаемые расхождения значений между параллельными определениями не должны превышать 20 %.

7.5.3. За результат испытания принимают среднее арифметическое значение параллельных определений, при этом в журнал должны быть дополнительно внесены следующие данные:

содержание органических компонентов в исходном материале А0 для каждого образца;

содержание органических компонентов в испытываемом материале, предварительно прошедшем подготовку по пп. 7.4.1 - 7.4.3, для каждого образца;

значение показателя миграции пластификатора.

8. ОПРЕДЕЛЕНИЕ ОДНОРОДНОСТИ

Сущность метода заключается в визуальном осмотре поперечных срезов испытываемого материала или изделия и в подсчете включений на поверхности срезов.

8.1. Отбор образцов

Число образцов для испытания должно быть не менее трех, по одному образцу от каждой отобранной пробы.

Длина образца должна быть не менее 350 мм.

8.2. Аппаратура, приспособление, материалы

Скальпель или металлический нож.

Измерительная линейка по ГОСТ 427-75.

Лампа накаливания мощностью 100 Вт по ГОСТ 2239-79.

Измерительная лупа по ГОСТ 25706-83 с погрешностью измерения 0,5 мм.

8.3. Подготовка к испытанию

На каждом образце испытываемого материала должно быть сделано не менее трех поперечных срезов на расстоянии (100±10) мм друг от друга, отступая от одного из краев не менее чем на (50±5) мм.

8.4. Проведение испытания

8.4.1. Каждую поверхность среза испытываемого материала осматривают с помощью лупы и подсчитывают число включений на поверхности срезов.

8.4.2. Визуальный осмотр и подсчет включений производят при освещении поверхности среза лампой накаливания, находящейся на расстоянии (500±25) мм от поверхности среза.

Расстояние глаз контролера от поверхности среза (300±25) мм.

8.5. Обработка результатов

8.5.1. Число включений (Х) определяют по формуле

,                                                           (8)

где xi - число включений на одной поверхности среза;

åxi - число включений на всех поверхностях срезов отобранного образца;

6 - число поверхностей срезов.

8.5.2. За результат испытания принимают среднее арифметическое значение числа включений, при этом в журнал дополнительно должно быть внесено заключение об однородности.

9. ОПРЕДЕЛЕНИЕ СОПРОТИВЛЕНИЯ ТЕКУЧЕСТИ

Метод не распространяется на полимерные строительные герметизирующие нетвердеющие погонажные изделия.

Сущность метода заключается в определении величины самопроизвольного стекания мастики при заданной температуре и времени.

9.1. Отбор образцов

Число образцов для испытания должно быть не менее трех, по одному образцу от каждой отобранной пробы.

9.2. Аппаратура, приспособления, материалы

Металлический лоток, конфигурация и размеры которого указаны в нормативно-технической документации на конкретный испытываемый материал.

Сушильный электрошкаф, обеспечивающий поддержание температуры в диапазоне 50-100 °С.

Металлический нож.

Антиадгезионная бумага.

Металлический брусок размером (40´40) мм и шириной, равной ширине лотка.

Измерительная лупа по ГОСТ 25706-83 с погрешностью измерения 0,1 мм.

Лабораторные весы общего назначения 2-го класса точности с наибольшим пределом взвешивания до 200 г.

9.3. Подготовка к испытанию

9.3.1. Перед заполнением лотка отобранные пробы массой не менее 0,3 кг каждая помещают на антиадгезионную бумагу и выдерживают в сушильном электрошкафу в течение 0,5-1 ч при температуре, указанной в нормативно-технической документации на конкретный испытываемый материал.

9.3.2. Лотки заполняют испытываемым материалом, выдержанным по п. 9.3.1, при этом материал должен немного выступать над верхними и торцевыми обрезами боковых стенок.

9.3.3. Образцы выдерживают перед проведением испытания в горизонтальном положении не менее 3 ч при температуре (23±2) °С, после чего выступающий испытываемый материал срезают вровень с верхними и торцевыми обрезами боковых стенок лотка.

9.4. Проведение испытания

9.4.1. Лотки с испытываемым материалом устанавливают вертикально в сушильном электрошкафу и выдерживают при заданных температуре и времени, указанных в нормативно-технической документации на конкретный испытываемый материал.

9.4.2 По истечении заданного времени лотки вынимают из сушильного электрошкафа и выдерживают в горизонтальном положении при температуре (23±2) °С не менее 3 ч.

9.4.3. По выступающей части лотка продвигают брусок до соприкосновения с мастикой, измеряют зазоры с помощью измерительной лупы между бруском и торцевыми обрезами боковых стенок лотка, при этом измеренные расстояния не должны отличаться друг от друга не более чем на 0,1 мм.

9.5. Обработка результатов

За результат испытания принимают среднее арифметическое значение параллельных определений величины стекания.

СОДЕРЖАНИЕ

 




Rambler's Top100 Яндекс цитирования
  Copyright © 2008-2026, www.docload.ru