Бесплатная библиотека стандартов и нормативов www.docload.ru

Все документы, размещенные на этом сайте, не являются их официальным изданием и предназначены исключительно для ознакомительных целей.
Электронные копии этих документов могут распространяться без всяких ограничений. Вы можете размещать информацию с этого сайта на любом другом сайте.
Это некоммерческий сайт и здесь не продаются документы. Вы можете скачать их абсолютно бесплатно!
Содержимое сайта не нарушает чьих-либо авторских прав! Человек имеет право на информацию!

 

ГОСТ 6266-97

МЕЖГОСУДАРСТВЕННЫЙ СТАНДАРТ

ЛИСТЫ ГИПСОКАРТОННЫЕ

Технические условия

Межгосударственная научно-техническая комиссия
по стандартизации, техническому нормированию
и сертификации в строительстве (МНТКС)

Москва, 1999

Предисловие

1 РАЗРАБОТАН ОАО «ВНИИстром им. П.П. Будникова» и СП «ТИГИ КНАУФ», ОАО Российской Федерации

ВНЕСЕН Госстроем России

2 ПРИНЯТ Межгосударственной научно-технической комиссией по стандартизации, техническому нормированию и сертификации в строительстве (МНТКС) 10 декабря 1997 г.

За принятие проголосовали

Наименование государства

Наименование органа государственного управления строительства

Республика Армения

Министерство градостроительства Республики Армения

Республика Беларусь

Минстройархитектуры Республики Беларусь

Республика Казахстан

Комитет по жилищной и строительной политике при Министерстве энергетики, индустрии и торговли Республики Казахстан

Кыргызская Республика

Государственная инспекция по архитектуре и строительству при Правительстве Кыргызской Республики

Республика Молдова

Министерство территориального развития, строительства и коммунального хозяйства Республики Молдова

Российская Федерация

Госстрой России

3 ВЗАМЕН ГОСТ 6266-89

4 ВВЕДЕН В ДЕЙСТВИЕ с 1 апреля 1999 г. в качестве государственного стандарта Российской Федерации постановлением Госстроя России от 24 ноября 1998 г. № 14.

МЕЖГОСУДАРСТВЕННЫЙ СТАНДАРТ

ЛИСТЫ ГИПСОКАРТОННЫЕ

Технические условия

GYPSUM PLASTERBOARDS, SPECIFICATIONS

Дата введения 1999-04-01

1 Область применения

Настоящий стандарт распространяется на гипсокартонные листы (далее - листы), предназначенные для отделки стен, устройства перегородок, подвесных потолков, огнезащиты конструкций, изготовления декоративных и звукопоглощающих изделий.

Стандарт устанавливает обязательные требования, изложенные в разделах 4, 5, 7, 8, пунктах 9.3-9.8.

2 Нормативные ссылки

В настоящем стандарте использованы ссылки на следующие стандарты:

ГОСТ 12.1.044-89 ССБТ. Пожаровзрывоопасность веществ и материалов. Номенклатура показателей и методы их определения

ГОСТ 166-89 Штангенциркули. Технические условия

ГОСТ 427-75 Линейки измерительные металлические. Технические условия

ГОСТ 3560-73 Лента стальная упаковочная. Технические условия

ГОСТ 3749-77 Угольники поверочные 90°. Технические условия

ГОСТ 7502-98 Рулетки измерительные металлические. Технические условия

ГОСТ 11358-89 Толщиномеры и стенкомеры индикаторные с ценой деления 0,001 и 0,1 мм. Технические условия

ГОСТ 14192-96 Маркировка грузов

ГОСТ 15467-79 Управление качеством продукции. Основные положения. Термины и определения

ГОСТ 24104-88 Весы лабораторные общего назначения и образцовые. Общие технические условия

ГОСТ 25951-83 Пленка полиэтиленовая термоусадочная. Технические условия

ГОСТ 30108-94 Материалы и изделия строительные. Определение удельной эффективной активности естественных радионуклидов

ГОСТ 30244-94 Материалы строительные. Методы испытания на горючесть

ГОСТ 30402-96 Материалы строительные. Метод испытания на воспламеняемость

3 Определения

Термины с соответствующими определениями, устанавливаемые настоящим стандартом, приведены в приложении А.

4 Классификация, основные параметры и размеры

4.1 В зависимости от свойств и области применения листы подразделяют на следующие виды:

- обычные (ГКЛ);

- влагостойкие (ГКЛВ);

- с повышенной сопротивляемостью воздействию открытого пламени (ГКЛО);

- влагостойкие с повышенной сопротивляемостью воздействию открытого пламени (ГКЛВО).

4.2 По внешнему виду и точности изготовления ласты подразделяют на две группы: А и Б.

4.3 По форме продольные кромки листов подразделяют на типы, приведенные на рисунках 1-5.

Рисунок 1 - Прямая кромка (ПК)

Рисунок 2 - Утонченная с лицевой стороны кромка (УК)

Рисунок 3 - Полукруглая с лицевой стороны кромка (ПЛК)

Рисунок 4 - Полукруглая и утоненная с лицевой стороны кромка (ПЛУК)

Рисунок 5 - Закругленная кромка (ЗК)

* Размеры приведены как справочные и не являются браковочным признаком

4.4 Номинальные размеры листов приведены в таблице 1. Предельные отклонения от номинальных размеров не должны быть более указанных в таблице 2.

Таблица 1

В миллиметрах

Наименование показателей

Значение

Длина

2000 - 4000 с шагом 50

Ширина

600; 1200

Толщина

6,5; 8,0; 9,5; 12,5; 14,0; 16,0; 18,0; 20,0; 24,0

Примечание - По согласованию изготовителя с потребителем могут быть изготовлены листы других номинальных размеров. Предельные отклонения должны соответствовать приведенным в таблице 2.

Таблица 2

В миллиметрах

Толщина листов

Предельные отклонения от номинальных размеров для листов группы

А

Б

по длине

по ширине

по толщине

по длине

по ширине

по толщине

До 16 включ.

0

0

±0,5

±8

0

±0,5

Св. 16

-5

-5

±0,9

 

-5

±0,9

4.5 Листы должны иметь прямоугольную форму в плане. Отклонение от прямоугольности не должно быть более 3 мм для листов группы А и 8 мм - для листов группы Б.

4.6 Условное обозначение листов должно состоять из:

- буквенного обозначения вида листов - по 4.1;

- обозначения группы листов - по 4.2;

- обозначения типа продольных кромок листов - по 4.3;

- цифр, обозначающих номинальную длину, ширину и толщину листа в миллиметрах;

- обозначения настоящего стандарта.

Пример условного обозначения обычного гипсокартонного листа группы А с утоненными с лицевой стороны кромками длиной 3000 мм, шириной 1200 мм и толщиной 12,5 мм:

ГКЛ-А-УК-3000×1200×12,5 ГОСТ 6266-97.

5 Технические требования

Листы должны изготавливаться в соответствии с требованиями настоящего стандарта по технологическому регламенту, утвержденному изготовителем.

5.1 Внешний вид

Для листов группы А не допускаются повреждения углов и продольных кромок.

Для листов группы Б не допускаются повреждения углов и продольных кромок (малозначительные дефекты), размеры и количество которых превышают значения, приведенные в таблице 3.

Таблица 3

Наименование показателя

Значение для одного листа, не более

Повреждение углов:

 

- длина наибольшего катета, мм

20

- число, шт.

2

Повреждение продольных кромок:

 

- длина, мм

20

- глубина, мм

5

- число, шт.

2

Число листов с малозначительными дефектами не должно быть более двух от числа листов, отобранных для контроля.

5.2 Характеристики

5.2.1 Масса 1 м2 листов (поверхностная плотность) должна соответствовать указанной в таблице 4.

Таблица 4

В килограммах на квадратный метр

Масса 1 м2 листов вида

ГКЛ

ГКЛВ

ГКЛО

ГКЛВО

Не более 1,00 s

Не менее 0,80 s и не более 1,06 s

s - значение номинальной толщины листа по таблице 1

(Поправка, ИУС 7-2002)

5.2.2 Сцепление гипсового сердечника с картоном должно быть прочнее, чем сцепление слоев картона.

5.2.3 Разрушающая нагрузка при испытании листов на прочность при изгибе при постоянном пролете (l = 350 мм) должна быть не менее указанной в таблице 5.

Отклонение минимального значения разрушающей нагрузки отдельного образца от требований таблицы 5 не должно быть более 10 %.

Таблица 5

Толщина листов, мм

Разрушающая нагрузка для образцов, H (кгс)

продольных

поперечных

6,5

125 (12,5)

54 (5,4)

8,0

174 (17,4)

68 (6,8)

9,5

222 (22,2)

81 (8,1)

12,5

322 (32,2)

105 (10,5)

14,0

360 (36,0)

116 (11,6)

16,0

404 (40,4)

126 (12,6)

18,0

440 (44,0)

133 (13,3)

20,0

469 (46,9)

134 (13,4)

24,0

490 (49,0)

136 (13,6)

Оценка прочности листов по 5.2.3 производится в том случае, если изготовитель не имеет средств контроля для оценки разрушающей нагрузки и прогиба по 5.2.4.

5.2.4 Разрушающая нагрузка при испытании листов на прочность при изгибе при переменном пролете (l = 40 s, где s - номинальная толщина листа в миллиметрах) и прогиб должны соответствовать указанным в таблице 6.

Таблица 6

Толщина листов, мм

Разрушающая нагрузка, H (кгс), не менее для образцов

Прогиб, мм, не более для образцов

продольных

поперечных

продольных

поперечных

До 10,0 включ.

450 (45)

150 (15)

-

-

Св. 10,0 до 18,0 включ.

600 (60)

180 (18)

0,8 (1,0)*

1,0 (1,2)*

Св. 18,0

500 (50)

-

-

-

* В скобках указано максимальное значение прогиба для отдельного образца

Отклонение минимального значения разрушающей нагрузки отдельного образца от требований таблицы 6 не должно быть более 10 %.

5.2.5 Водопоглощение листов ГКЛВ и ГКЛВО не должно быть более 10 %.

5.2.6 Сопротивляемость листов ГКЛО и ГКЛВО воздействию открытого пламени должна быть не менее 20 мин.

5.2.7 Удельная эффективная активность естественных радионуклидов в гипсокартонных листах не должна превышать 370 Бк/кг.

5.3 Маркировка

5.3.1 Маркировку листов производят на тыльной стороне каждого изделия несмываемой краской при помощи трафаретов, штампов или другим способом, обеспечивающим необходимое качество маркировки.

Маркировка должна быть отчетливой и содержать:

- товарный знак или (и) наименование изготовителя;

- условное обозначение листов, кроме обозначения группы листов по 4.2.

Надписи должны выполняться на листах:

- ГКЛ и ГКЛВ - синим цветом;

- ГКЛО и ГКЛВО - красным цветом.

5.3.2 Маркировку транспортных пакетов листов производят при помощи ярлыков, прикрепляемых к пакету любым способом, обеспечивающим его сохранность при транспортировании.

На ярлыке должно быть указано:

- наименование изготовителя и (или) его товарный знак;

- условное обозначение листов;

- номер партии и дата изготовления;

- количество листов в квадратных метрах и (или) в штуках;

- штамп службы технического контроля.

5.3.3 Каждое грузовое место должно иметь транспортную маркировку по ГОСТ 14192, на него должны быть нанесены манипуляционные знаки: «Хрупкое. Осторожно» и «Беречь от влаги».

6 Пожарно-техническая характеристика

Гипсокартонные листы ГКЛ, ГКЛВ, ГКЛО и ГКЛВО относятся к группе горючести Г1 по ГОСТ 30244, к группе воспламеняемости В3 по ГОСТ 30402, к группе дымообразующей способности Д1 по ГОСТ 12.1.044, к группе токсичности Т1 по ГОСТ 12.1.044.

Отнесение гипсокартонных листов к более высокой (менее пожароопасной) группе воспламеняемости может быть осуществлено на основании результатов испытаний продукции конкретного изготовителя.

7 Правила приемки

7.1 Каждая партия листов должна быть принята службой технического контроля изготовителя в соответствии с требованиями настоящего стандарта.

7.2 Приемку листов производят партиями. Партия должна состоять из листов одного вида, группы, типа продольных кромок и размеров, изготовленных по одной технологии и из одних и тех же материалов.

Объем партии листов устанавливают в количестве не более сменной выработки технологической линии.

7.3 Приемочный контроль осуществляют проведением приемосдаточных испытаний по следующим показателям:

- внешний вид;

- форма и размеры;

- масса 1 м2;

- разрушающая нагрузка при испытании листов на прочность при изгибе;

- сцепление гипсового сердечника с картоном;

- водопоглощение (для листов ГКЛВ и ГКЛВО).

7.4 Изготовитель должен проводить периодические испытания листов ГКЛО и ГКЛВО на сопротивляемость воздействию открытого пламени не реже одного раза в квартал и каждый раз при изменении технических параметров производства и сырьевых материалов. Для проведения испытаний от партии отбирают три листа.

В случае получения неудовлетворительных результатов испытаний следует перейти на контроль сопротивляемости воздействию открытого пламени каждой партии изделий.

При получении положительных результатов испытаний пяти следующих друг за другом партий переходят вновь к периодическим испытаниям.

Результаты испытаний распространяются на все поставляемые партии до проведения следующих периодических испытаний.

7.5 Пожарно-технические характеристики определяют при постановке продукции на производство, а также при изменениях в составе продукции, которые могут привести к изменению пожарно-технических характеристик.

7.6 За величину удельной эффективной активности естественных радионуклидов Аэфф в гипсокартонный листах принимают значение Аэфф в применяемом для изготовления листов гипсовом вяжущем (гипсовом камне). Эту величину устанавливают на основании документа поставщика о качестве гипсового вяжущего (гипсового камня).

В случае отсутствия данных о величине Аэфф в применяемом гипсовом вяжущем (гипсовом камне) испытания листов по этому показателю следует проводить не реже одного раза в год в аккредитованных испытательных лабораториях и каждый раз при смене поставщика вяжущего (гипсового камня).

7.7 Для проведения контроля листы отбирают методом случайного отбора из разных мест партии.

7.8 Для проведения изготовителем приемосдаточных испытаний от партии отбирают пять листов.

Отобранные листы проверяют на соответствие требованиям стандарта по показателям внешнего вида, формы и размеров. В случае положительных результатов контроля три листа из проверенных пяти используют для контроля по остальным показателям.

Партию принимают, если все листы, отобранные для контроля, соответствуют требованиям настоящего стандарта по показателям, указанным в 7.3.

При получении неудовлетворительных результатов контроля хотя бы по одному из показателей, указанных в 7.3, проводят повторные испытания по этому показателю, для чего отбирают удвоенное количество листов от той же партии.

Если результаты повторных испытаний будут удовлетворять требованиям настоящего стандарта, то партию принимают, если не будут удовлетворять, то партия приемке не подлежит.

7.9 В случае несоответствия партии листов требованиям настоящего стандарта по внешнему виду, форме и размерам допускается ее повторное предъявление для контроля после разбраковки.

7.10 Партия листов ГКЛО (ГКЛВО), не соответствующая требованиям настоящего стандарта по сопротивляемости воздействию открытого пламени, может быть принята как партия листов ГКЛ (ГКЛВ), если по всем остальным показателям она соответствует требованиям настоящего стандарта к указанным листам.

7.11 Партия листов ГКЛВ (ГКЛВО), не соответствующая требованиям настоящего стандарта по водопоглощению, может быть принята как партия листов ГКЛ (ГКЛО), если по всем остальным показателям она соответствует требованиям настоящего стандарта к указанным листам.

7.12 В случаях, предусмотренных в 7.10 и 7.11, должна быть произведена перемаркировка продукции на соответствие ее требованиям 5.3.1, об этом должно быть указано в сопроводительном документе.

7.13 При проведении испытаний листов потребителем, инспекционном контроле и сертификационных испытаниях объем выборки и оценку результатов контроля осуществляют в соответствии с требованиями раздела 7.

7.14 Изготовитель должен сопровождать каждую партию (часть партии) листов документом о качестве, в котором указывают:

- наименование изготовителя и его адрес;

- наименование и условное обозначение листов;

- номер партии, дату изготовления;

- количество листов в штуках и (или) квадратных метрах;

- штамп и подпись руководителя службы технического контроля

8 Методы контроля

8.1 Контроль внешнего вида

8.1.1 Наличие (отсутствие) малозначительных дефектов проверяют визуально.

Измерения малозначительных дефектов производят линейкой по ГОСТ 427, штангенциркулем с глубиномером по ГОСТ 166 с использованием угольника по ГОСТ 3749.

Повреждения углов листа измеряют по длине наибольшего катета линейкой с использованием угольника. Угольник прикладывают к каждому поврежденному углу изделия, восстанавливая его форму, и измеряют расстояние от внутренней вершины угольника до границы повреждения соответствующей стороны листа.

Длину повреждения продольных кромок листа измеряют линейкой или штангенциркулем.

Глубину повреждения продольных кромок листа измеряют штангенциркулем с глубиномером с использованием линейки в месте наибольшего повреждения.

8.1.2 Соответствие маркировки требованиям стандарта проверяют визуально.

Маркировку считают удовлетворяющей требованиям настоящего стандарта, если она включает всю предусмотренную стандартом информацию и при этом исключена возможность оспорить ее содержание.

8.2 Контроль размеров и формы

8.2.1 Средства контроля

Рулетка металлическая с ценой деления не более 1 мм по ГОСТ 7502.

Линейка металлическая по ГОСТ 427.

Толщиномер по ГОСТ 11358 или штангенциркуль по ГОСТ 166.

Допускается применять другие средства измерений, погрешность которых не ниже требований настоящего стандарта.

Погрешность средств измерений не должна быть более: ± 0,1 мм - при измерении толщины, ± 1,0 мм - при измерении других размеров листа.

8.2.2 Проведение измерений

8.2.2.1 Блину и ширину листа измеряют рулеткой на расстоянии (65±5) мм от соответствующих кромок и посередине листа; место измерения может быть смещено от середины соответствующей стороны листа не более чем на 30 мм.

8.2.2.2 Толщину листа измеряют толщиномером (штангенциркулем) по каждой торцевой кромке в трех местах: на расстоянии (65±5) мм от продольных кромок и посередине торцевой кромки; место измерения может быть смещено от середины торцевой кромки не более чем на 30 мм.

8.2.2.3 Отклонение от прямоугольности определяют по разности длин диагоналей.

Длину каждой диагонали измеряют рулеткой один раз.

8.2.3 Обработка результатов

8.2.3.1 При измерении длины, ширины и диагоналей листа показание средства измерения округляют до 1 мм.

При измерении толщины листа показание средства измерения округляют до 0,1 мм.

8.2.3.2 При измерении длины, ширины и толщины листа результат каждого измерения должен соответствовать требованиям раздела 4.

8.2.3.3 Отклонение от прямоугольности вычисляют по разности длин измеренных диагоналей. Полученный результат должен соответствовать требованиям 4.5.

8.3 Определение массы 1 м2 листа (поверхностной плотности)

8.3.1 Средства контроля

Шкаф сушильный лабораторный с перфорированными полками, позволяющий автоматически поддерживать температуру в пределах (40-45) °С.

Весы лабораторные технические по ГОСТ 24103, класс точности средний.

Линейка по ГОСТ 427.

Рулетка по ГОСТ 7502.

8.3.2 Образцы

Испытания проводят на образцах, подготовленных по 8.4.1.3 или 8.4.2.3 и предназначенных для определения разрушающей нагрузки после проведения испытания по 8.3.3.

8.3.3 Проведение испытания

Образцы высушивают при температуре (41±1) °С 24 ч и взвешивают. Затем образцы продолжают сушить до постоянной массы. Масса считается постоянной, если расхождения между результатами двух последовательных взвешиваний не будут превышать 0,1 %. Время сушки между двумя последовательными взвешиваниями должно быть не менее 2 ч.

При проведении испытаний изготовителем допускается сократить время первоначальной сушки до 2 ч, если соблюдается условие постоянство массы образцов.

Далее образцы охлаждают в условиях, исключающих воздействие на них влаги, и взвешивают, результат округляют до 0,01 кг. После взвешивания измеряют длину и ширину образца, результат округляют до 1 мм.

8.3.4 Обработка результатов

Массу 1 м2 листа m, кг/м2, вычисляют по формуле

                                                                  (1)

где m1 - масса образца, высушенного до постоянной массы, кг;

l - длина образца, м;

b - ширина образца, м.

Результат вычисления округляют до 0,1 кг/м2.

За массу 1 м2 партии листов принимают среднеарифметическое значение результатов испытаний всех образцов.

8.4 Определение разрушающей нагрузки и прогиба листов

8.4.1 Определение разрушающей нагрузки при испытании образцов при постоянном пролете

8.4.1.1 Сущность метода заключается в разрушении образца сосредоточенной нагрузкой, прикладываемой в середине по однопролетной схеме.

8.4.1.2 Средства контроля

Устройство любой конструкции, обеспечивающее возможность приложения нагрузки по схеме, приведенной на рисунке 6, со скоростью нарастания нагрузки 15-20 Н/с (1,5-2,0 кгс/с), и имеющее прибор, позволяющий измерить разрушающую нагрузку с погрешностью не более 2 %.

Рисунок 6 - Схема испытания образцов на прочность при изгибе при постоянном пролете

Опоры и деталь, передающая нагрузку, в месте соприкосновения с образцом должны иметь цилиндрическую форму радиусом от 5 до 10 мм; длина опор и детали должна быть не менее ширины образца.

8.4.1.3 Подготовки образцов

Из каждого листа, отобранного для контроля, вырезают по одному продольному и одному поперечному образцу длиной (450±5) мм и шириной (150±5) мм. Образцы вырезают на расстоянии не менее 100 мм от кромок листа у противоположных концов любой из его диагоналей. Образцы маркируют (продольный или поперечный) и высушивают по 8.3.3.

Образцы испытывают в соответствии с 8.3.3, а затем их используют для испытаний по 8.4.1.4.

8.4.1.4 Проведение испытания

Продольные образцы помещают на опоры лицевой стороной вниз, а поперечные - тыльной. Нагрузку повышают со скоростью 15-20 Н/с (1,5-2,0 кгс/с) до разрушения образца.

8.4.1.5 Обработка результатов

Результат испытания округляют до 1 Н (0,1 кгс).

За разрушающую нагрузку партии листов принимают среднеарифметическое значение результатов испытаний раздельно трех продольных и трех поперечных образцов, при этом результат испытания каждого отдельного образца должен соответствовать требованиям 5.2.3.

8.4.2 Определение разрушающей нагрузки и прогиба при испытании образцов при переменном пролете

8.4.2.1 Сущность метода заключается в создании изгибающих напряжений в образце, испытываемом по однопролетной схеме, нагрузкой, прикладываемой в середине пролета, по заданным уровням нагружения, измерением прогиба образца в середине пролета с последующим доведением образца до разрушения.

8.4.2.2 Средства контроля

Устройство любой конструкции, обеспечивающее возможность приложения и измерения нагрузки по заданной схеме, со скоростью приложения нагрузки 15-20 Н/с (1,5-2,0 кгс/с) до требуемых значений, выдерживание этой нагрузки в течение заданного времени и имеющее прибор, позволяющий измерить разрушающую нагрузку с погрешностью не более 2 % и прогиб образца в середине пролета при заданных нагрузках с точностью 0,01 мм.

Опоры и деталь, передающая нагрузку, - по 8.4.1.2.

8.4.2.3 Подготовка образцов

Из каждого листа, отобранного для контроля, вырезают по одному поперечному и одному продольному образцу шириной (400±5) мм и длиной [(40 s + 100) ± 5] мм, где s - номинальная толщина листа в миллиметрах. Образцы вырезают на расстоянии не менее 100 мм от кромок листа у противоположных концов любой из его диагоналей. Образцы маркируют (продольный или поперечный) и высушивают по 8.3.3.

Образцы испытывают в соответствии с 8.3.3, а затем их используют для испытаний по 8.4.2.4.

8.4.2.4 Проведение испытания

Устанавливают пролет - расстояние между опорами - в зависимости от номинальной толщины испытываемого образца. Пролет l = 40s, где s - номинальная толщина листа в миллиметрах.

Продольные образцы помещают на опоры лицевой стороной вниз, а поперечные - тыльной.

К образцу, помещенному на опоры, прикладывают начальную нагрузку, равную 50 Н (5,0 кгс), выдерживают его под этой нагрузкой в течение 1 мин и измеряют прогиб в середине пролета. Затем нагрузку увеличивают со скоростью 15-20 Н/с (1,5-2,0 кгс/с) до величины 100 Н (10 кгс). Под этой нагрузкой образец выдерживают в течение 1 мин и измеряют прогиб в середине пролета. Затем нагрузку повышают с той же скоростью до разрушения образца.

8.4.2.5 Обработка результатов

Результат измерения нагрузки округляют до 1 Н (0,1 кгс), прогиба - до 0,1 мм.

Прогиб образца, измеренный при нагрузке 50 Н (5 кгс), принимают за нулевое значение.

Вычисляют разность между значением прогиба образца при нагрузке 100 Н (10 кгс) и нагрузке 50 Н (5 кгс), полученное значение принимают за результат прогиба образца.

За разрушающую нагрузку партии листов принимают среднеарифметическое значение результатов испытаний трех продольных и трех поперечных образцов раздельно, при этом результат испытания каждого отдельного образца должен соответствовать требованиям 5.2.4.

За величину прогиба партии листов принимают среднеарифметическое значение результатов испытаний раздельно трех продольных и трех поперечных образцов, при этом результат испытания каждого отдельного образца должен соответствовать требованиям 5.2.4.

8.5 Определение прочности сцепления гипсового сердечника с картоном

8.5.1 Средства контроля

Нож с заостренным концом.

8.5.2 Проведение испытания

В любом месте по длине каждого листа, отобранного для контроля, делают по два пересекающихся между собой под углом приблизительно в 30° надреза картона длиной до пересечения не менее 100 мм. Надрезы картона выполняют с лицевой и тыльной стороны листа до гипсового сердечника. В месте пересечения надрезов остроугольную часть картона приподнимают с помощью ножа и вручную отрывают от листа в вертикальном направлении. По характеру отрыва картона оценивают прочность его сцепления с гипсовым сердечником.

Результат каждого испытания должен соответствовать требованиям 5.2.2.

8.6 Определение водопоглощения листов

8.6.1 Средства контроля

Шкаф сушильный с перфорированными полками, позволяющий автоматически поддерживать температуру в пределах (40-45) °С.

Весы лабораторные технические по ГОСТ 24104.

Емкость для воды.

8.6.2 Подготовка образцов

От каждого листа, отобранного для контроля, вырезают по одному образцу-квадрату с длиной стороны (300±5) мм на расстоянии не менее 100 мм от кромок листа.

8.6.3 Проведение испытания

Для проведения испытания следует использовать водопроводную воду, температура которой должна быть (20±2) °С.

Образец высушивают до постоянной массы при температуре (41±1) °С в соответствии с 8.3.3. Высушенные образцы после охлаждения в условиях, исключающих воздействие на них влаги, взвешивают и помещают на 2 ч в воду в горизонтальном положении на подкладки, при этом уровень воды должен быть выше образцов не менее чем на 50 мм. Перед взвешиванием насыщенных водой образцов с каждого образца удаляют имеющиеся на его поверхности капли воды.

Взвешивание каждого образца должно быть закончено не позднее 5 мин после извлечения его из воды.

8.6.4 Обработка результатов

Результаты взвешиваний округляют до 10 г.

Водопоглощение W, %, вычисляют по формуле

                                                          (2)

где m1 - масса образца, высушенного до постоянной массы, г;

m2 - масса образца, насыщенного водой, г.

Результат вычисления округляют до 1 %.

За водопоглощение партии листов принимают среднеарифметическое значение результатов испытаний всех образцов.

8.7 Определение сопротивляемости листов воздействию открытого пламени

8.7.1 Средства контроля

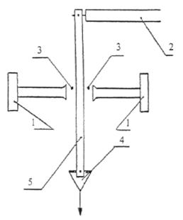
Принципиальная схема установки для испытания образцов на сопротивляемость воздействию открытого пламени с двух сторон приведена на рисунке 7 и включает в себя две газовые горелки диаметром 30 мм, раму со штифтом для подвески образца, две термопары и устройство для подвешивания груза к образцу. Горелки должны располагаться соосно по центру образца перпендикулярно к его поверхности на расстоянии 5 мм от поверхности образца и на уровне верхнего среза выходного отверстия горелки.

Установка должна быть снабжена запорной арматурой для регулирования подачи газа (пропан).

8.7.2 Подготовка образцов

От каждого листа, отобранного для контроля, вырезают мелкозубой пилой с учетом требований 8.4.1.3 два продольных образца длиной (300±0,5) мм и шириной (50±0,5) мм. По осевой линии образцов на расстоянии 25 мм от поперечных кромок просверливают два сквозных отверстия диаметром 4 мм для подвешивания образца на раме испытательной установки и груза.

1 - горелка; 2 - рама; 3 - термопара; 4 - устройство для подвешивания груза; 5 - образец

Рисунок 7 - Схема установки для испытания образцов на сопротивляемость воздействию открытого пламени с двух сторон

8.7.3 Проведение испытания

Образец подвешивают на штифте рамы. К нижней части образца подвижно подвешивают груз, масса которого в граммах соответствует величине, равной 80 s, где s - значение номинальной толщины испытываемого образца по таблице 1. После установки горелок и термопар в нужном положении одновременно зажигают обе горелки, при этом температура, при которой проводят испытание, должна достигнуть значения (800±30) °С не позднее 3 мин от начала испытания. Огневое воздействие продолжается до разрушения образца. Сопротивляемость образца воздействию открытого пламени с двух сторон измеряется в минутах.

Результат каждого испытания должен соответствовать требованиям 5.2.6.

8.8 Удельную эффективную активность естественных радионуклидов определяют по ГОСТ 30108.

9 Транспортирование и хранение

9.1 Листы транспортируют всеми видами транспорта в соответствии с Правилами перевозок грузов, действующими на данном виде транспорта, и требованиями другой документации, утвержденной в установленном порядке.

9.2 Транспортирование листов осуществляют в пакетированном виде.

Транспортные пакеты формируют из листов одного вида, группы, типа продольных кромок и размеров с использованием поддонов или подкладок, которые изготавливают из древесины, гипсокартонных листов и других материалов. В качестве обвязок применяют стальную ленту по ГОСТ 3560 или синтетическую ленту. Транспортные пакеты могут быть также упакованы в полиэтиленовую термоусадочную пленку по ГОСТ 25951. Число обвязок, их сечение, размеры подкладок и поддонов устанавливают технологическим регламентом.

По согласованию с потребителем допускается транспортировать листы в непакетированном виде (без обвязки или упаковки в пленку).

9.3 Габариты пакетов не должны превышать по длине 4100 мм, по ширине 1300 мм, по высоте 800 мм; масса пакета не должна быть более 3000 кг.

9.4 При перевозке в открытых железнодорожных и автомобильных транспортных средствах пакеты должны быть защищены от увлажнения.

9.5 Листы следует хранить в помещениях с сухим и нормальным влажностным режимом раздельно по видам и размерам.

9.6 Хранение листов у изготовителя должно осуществляться в соответствии с 9.5 и технологическим регламентом, утвержденным в установленном порядке, с соблюдением требований техники безопасности и сохранности продукции.

9.7 Транспортные пакеты листов при хранении у потребителя могут быть установлены друг на друга в штабели в соответствии с правилами техники безопасности. При этом общая высота штабеля не должна превышать 3,5 м.

9.8 При погрузочно-разгрузочных, транспортно-складских и других работах не допускаются удары по листам.

10 Указания по применению

10.1 При применении листов следует руководствоваться проектной документацией, утвержденной в установленном порядке.

10.2 Гипсокартонные листы ГКЛ и ГКЛО применяют в зданиях и помещениях с сухим и нормальным влажностными режимами в соответствии с действующими нормами по строительной теплотехнике [1].

10.3 Гипсокартонные листы ГКЛВ и ГКЛВО применяют в зданиях и помещениях с сухим, нормальным, влажным и мокрым влажностными режимами в соответствии с действующими нормами по строительной теплотехнике [1].

При применении листов ГКЛВ и ГКЛВО в зданиях и помещениях с влажным и мокрым режимами их следует защищать с лицевой поверхности водостойкими грунтовками, шпатлевками, красками, керамической плиткой или покрытиями из ПВХ. В этих помещениях следует предусматривать вытяжную вентиляцию, обеспечивающую нормативный воздухообмен в соответствии с действующими строительными нормами на отопление, вентиляцию и кондиционирование [2], жилые здания [3], общественные здания и сооружения [4], административные и бытовые здания [5].

10.4 Листы ГКЛО и ГКЛВО целесообразно применять для облицовки конструкций с целью повышения их предела огнестойкости в помещениях с повышенной пожарной опасностью.

ПРИЛОЖЕНИЕ А

(обязательное)

Термины и определения

Листы гипсокартонные - листовые изделия, состоящие из несгораемого гипсового сердечника, все плоскости которого кроме торцевых кромок облицованы картоном, прочно приклеенным к сердечнику

Листы гипсокартонные обычные (ГКЛ) - гипсокартонные листы, применяемые преимущественно для внутренней отделки зданий и помещений с сухим и нормальным влажностными режимами

Листы гипсокартонные влагостойкие (ГКЛВ) - гипсокартонные листы, имеющие пониженное водопоглощение (менее 10 %) и обладающие повышенным сопротивлением проникновению влаги

Листы гипсокартонные с повышенной сопротивляемостью воздействию открытого пламени (ГКЛО) - гипсокартонные листы, обладающие большей сопротивляемостью огневому воздействию, чем обычные

Листы гипсокартонные влагостойкие с повышенной сопротивляемостью воздействию открытого пламени (ГКЛВО) - гипсокартонные листы, обладающие одновременно свойствами листов ГКЛВ и ГКЛО

Продольная кромка гипсокартонного листа - облицованная картоном боковая грань по длине листа

Продольный образец гипсокартонного листа - образец, вырезанный из листа, направление длины которого совпадает с длиной листа

Поперечный образец гипсокартонного листа - образец, вырезанный из листа, направление длины которого совпадает с шириной листа

Повреждение углов и кромок гипсокартонного листа - отбитости (вмятины) углов и кромок совместно с картоном или только одного гипсового сердечника

Малозначительный дефект - дефект, который существенно не влияет на использование продукции по назначению и ее долговечность (ГОСТ 15467)

ПРИЛОЖЕНИЕ Б

(информационное)

Библиография

1 СНиП II-3-79*                Строительная теплотехника

2 СНиП 2.04.05-91*          Отопление, вентиляция и кондиционирование

3 СНиП 2.08.01-89*          Жилые здания

4 СНиП 2.08.02-89*          Общественные здания и сооружения

5 СНиП 2.09.04-87*          Административные и бытовые здания

СОДЕРЖАНИЕ

1 Область применения. 1

2 Нормативные ссылки. 1

3 Определения. 2

4 Классификация, основные параметры и размеры.. 2

5 Технические требования. 3

5.1 Внешний вид. 3

5.2 Характеристики. 4

5.3 Маркировка. 4

6 Пожарно-техническая характеристика. 5

7 Правила приемки. 5

8 Методы контроля. 6

8.1 Контроль внешнего вида. 6

8.2 Контроль размеров и формы.. 7

8.3 Определение массы 1 м2 листа (поверхностной плотности) 7

8.4 Определение разрушающей нагрузки и прогиба листов. 8

8.5 Определение прочности сцепления гипсового сердечника с картоном.. 9

8.6 Определение водопоглощения листов. 9

8.7 Определение сопротивляемости листов воздействию открытого пламени. 10

9 Транспортирование и хранение. 11

10 Указания по применению.. 11

Приложение А Термины и определения. 12

Приложение Б Библиография. 12

Ключевые слова: листы гипсокартонные, листы гипсокартонные влагостойкие, листы гипсокартонные с повышенной сопротивляемостью воздействию открытого пламени, листы гипсокартонные влагостойкие с повышенной сопротивляемостью воздействию открытого пламени.




Rambler's Top100 Яндекс цитирования
  Copyright © 2008-2026, www.docload.ru