Бесплатная библиотека стандартов и нормативов www.docload.ru

Все документы, размещенные на этом сайте, не являются их официальным изданием и предназначены исключительно для ознакомительных целей.
Электронные копии этих документов могут распространяться без всяких ограничений. Вы можете размещать информацию с этого сайта на любом другом сайте.
Это некоммерческий сайт и здесь не продаются документы. Вы можете скачать их абсолютно бесплатно!
Содержимое сайта не нарушает чьих-либо авторских прав! Человек имеет право на информацию!

 

ГОСУДАРСТВЕННЫЙ СТАНДАРТ СОЮЗА ССР

 

ПОРОДЫ ГОРНЫЕ

МЕТОД ОПРЕДЕЛЕНИЯ КОЭФФИЦИЕНТА КРЕПОСТИ ПО ПРОТОДЬЯКОНОВУ

ГОСТ 21153.1-75*

 

 

ГОСУДАРСТВЕННЫЙ КОМИТЕТ СССР ПО СТАНДАРТАМ

Москва

 

ГОСУДАРСТВЕННЫЙ СТАНДАРТ СОЮЗА ССР

ПОРОДЫ ГОРНЫЕ

Метод определения коэффициента крепости по Протодьяконову

Rocks. Method for the determination of strength factor according to Protodyakonov

ГОСТ
21153.1-75*

Взамен
ГОСТ 15490-70
в части разд. III

Постановление Государственного комитета стандартов Совета Министров СССР от 25 сентября 1975 г. № 2491 срок действия установлен

 

с 01.07 1976 г.

Проверен в 1981 г. Срок действия продлен

до 01.07 1986 г.

 

Несоблюдение стандарта преследуется по закону

 

Настоящий стандарт распространяется на твердые горные породы и устанавливает метод определения коэффициента их крепости по Протодьяконову для классификации пород по этому показателю и использования его в технической документации при расчетах и проектировании горных работ, горного оборудования, а также при проведении научно-исследовательских работ.

Сущность метода заключается в определении коэффициента крепости, который пропорционален отношению работы, затраченной на дробление горной породы к вновь образованной при дроблении поверхности, оцениваемой суммарным объемом частиц размером менее 0,5 мм.

1. ОТБОР ПРОБ

1.1. Отбор проб - по ГОСТ 21153.0-75.

2. АППАРАТУРА И МАТЕРИАЛЫ

Для определения крепости горных пород применяют:

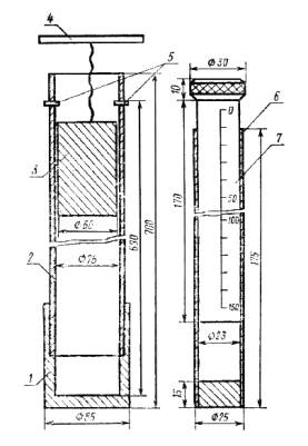
прибор определения крепости ПОК (см. чертеж), состоящий из стакана 1, вставленного в него трубчатого копра 2, внутри которого свободно помещается гиря 3 массой 2,4±0,01 кг с ручкой 4, привязанной к гире шнуром. Трубчатый копер имеет в верхней части отверстия, в которые вставляются штифты 5, ограничивающие подъем гири. В комплект прибора входит объемомометр, состоящий из стакана 6 и плунжера 7 со шкалой измерений с диапазоном показаний от 0 до 150 мм вдоль его продольной оси;

сито с сеткой № 05 по ГОСТ 6613-73 для просеивания породы после дробления.

(Измененная редакция, Изм. № 1).

3. ПОДГОТОВКА К ИСПЫТАНИЮ

3.1. Отобранную пробу горной породы раскалывают молотком на твердом основании до получения кусков размером 20-40 мм. Из измельченного материала пробы отбирают двадцать навесок массой 40-60 каждая.

3.2. Число сбрасывания гири на каждую навеску устанавливают при дроблении первых пяти навесок.

3.3. Каждую навеску отдельно дробят в стакане гирей, падающей с высоты 60 см. Число сбрасываний гири принимают в зависимости от ожидаемой крепости породы, обычно от 5 до 15 сбрасываний на каждую навеску.

Примечания:

1. При очень мягких породах число сбрасываний может быть сокращено до 1, а при очень крепких - увеличено до 30.

2. При дроблении стакан с вставленным в него трубчатым копром обязательно устанавливают на жесткое массивное основание: железобетонный или асфальтированный пол, стальную плиту (массой не менее 20 кг, толщиной около 10 см).

(Измененная редакция, Изм. № 1).

3.4. Правильность выбранного режима испытания контролируют после просеивания  первых пяти раздробленных навесок на сите до прекращения выделения подрешетного продукта и замера его объема в объемомере. При получении столбика мелочи высотой 20-100 мм по шкале плунжера число сбрасываний на каждую навеску сохраняют для оставшихся пятнадцати навесок. При меньшей или большей высоте столбика мелочи в объемомере число сбрасываний корректируют соответственно в большую или меньшую сторону.

4. ПРОВЕДЕНИЕ ИСПЫТАНИЯ

4.1. Оставшиеся пятнадцать навесок дробят в приборе последовательно в установленном режиме испытания: при постоянном числе сбрасываний гири n и высоте подъема гири 60 см.

4.2. После дробления каждых пяти навесок их просеивают на сите, подрешетный продукт сита ссыпают в объемомер, замеряют плунжером высоту столбика мелочи и записывают ее.

(Измененная редакция, Изм. № 1).

5. ОБРАБОТКА РЕЗУЛЬТАТОВ

5.1. Коэффициент крепости горной породы (f) вычисляют по формуле

где

20

- эмпирический числовой коэффициент, обеспечивающий получение общепринятых значений коэффициента крепости и учитывающий затраченную на дробление работу;

n

- число сбрасываний гири при испытании одной навески;

h

- высота столбика мелкой фракции в объемомере после испытания пяти навесок, мм.

5.2. За окончательный результат испытания принимают среднее арифметическое результатов четырех определений.

(Измененная редакция, Изм. № 1).

 




Rambler's Top100 Яндекс цитирования
  Copyright © 2008-2026, www.docload.ru