|
|
ГОСУДАРСТВЕННЫЙ СТАНДАРТ СОЮЗА ССР РЕЛЬСЫ
ЖЕЛЕЗНОДОРОЖНЫЕ КОНСТРУКЦИЯ И
РАЗМЕРЫ ГОСТ 6368-82 ИЗДАТЕЛЬСТВО
СТАНДАРТОВ Москва ГОСУДАРСТВЕННЫЙ
СТАНДАРТ СОЮЗА ССР
Срок действия с 01.01.84 до 01.01.94 1. Настоящий стандарт распространяется
на рельсы типов Р8, Р11, Р18 и Р24 (далее - рельсы), предназначенные для
укладки на железных дорогах узкой колеи. 2. Размеры поперечного
сечения рельсов, а также расположение и размеры отверстий для болтов должны
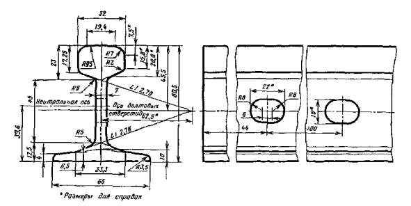
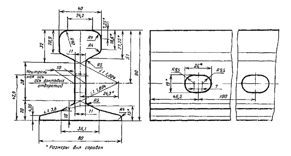
соответствовать указанным на черт. 1-4. Тип Р8 Черт. 1 Тип Р11
Черт. 2 Тип Р18
Черт. 3 Тип Р24 Черт 4 Расчетные значения, площадь поперечного
сечения рельсов, масса и распределение металла по сечению профиля указаны в
приложениях 1
и 2. 3. Предельные отклонения
размеров рельсов должны соответствовать указанным в табл. 1. Таблица 1 мм
Примечание. Размеры рельсов, на которые не указаны предельные отклонения, контролируют по калибрам в валках при их расточке. 4. Несимметричность
поперечного сечения головки и подошвы рельсов типов Р18 и Р24 относительно
вертикальной оси шейки не должна превышать полусуммы предельных отклонений
размеров соответствующих элементов профиля. 5. В зависимости от
назначения рельсы изготовляют: мерной длины; кратной мерной длины; мерной длины с остатком; укороченной мерной длины для
кривых участков пути; немерной длины. 6. Длина рельсов должна быть
указана в заказе в соответствии с табл. 2. Таблица 2
Примечания: 1. По требованию потребителя допускается изготовление рельсов типов Р18 и Р24 мерной длины других размеров, не указанных в таблице. 2. Для предприятия лесной и угольной промышленности рельсы типов Р18 и Р24 должны быть мерной длины. 7. Предельные отклонения по
длине рельсов мерной длины не должны превышать: ±6 мм - для рельсов с
фрезерованными торцами; ±20 мм - для рельсов без
фрезеровки торцев (по согласованию между изготовителем и потребителем); Примечание. Для предприятий лесной промышленности рельсы типов Р18 и Р24 должны изготавливаться с предельными отклонениями по длине ±6 мм - с 01.01.91. (Измененная редакция, Изм. №
1). 8. На обоих концах рельса
выполняют по два отверстия для болтов. По требованию потребителя
рельсы могут быть изготовлены без отверстий для болтов на одном или обоих
концах. 9. Высоту шейки рельсов типов
Р18 и Р24 проверяют с помощью шаблона по наклонным поверхностям рельсовой
пазухи. 10. При прошивке отверстий
для болтов контроль размеров производят со стороны входа пуансона. 11.
Технические требования к рельсам типов Р18 и Р24 - по ГОСТ 5876, к рельсам типов Р8 и Р11 - по согласованным между изготовителем и
потребителем техническим условиям. Справочное
Примечание. При вычислении массы приняты номинальные размеры поперечного сечения рельсов и плотность стали, равная 7830 кг/см3. Справочное
ИНФОРМАЦИОННЫЕ ДАННЫЕ 1. РАЗРАБОТАН И ВНЕСЕН
Министерствами черной металлургии СССР РАЗРАБОТЧИКИ Н. М. Воронцов, И. С. Гринь,
Л. Ф. Кузнецов, Л. Д. Дрозд, Л. И. Иванисенко, Л. В. Климова 2.
УТВЕРЖДЕН И ВВЕДЕН В ДЕЙСТВИЕ Постановлением Государственного комитета СССР по
стандартам от 07.09.82 № 3527 3. Срок проверки - 1992 г. 4. ВЗАМЕН ГОСТ 6368-52 5. ССЫЛОЧНЫЕ
НОРМАТИВНО-ТЕХНИЧЕСКИЕ ДОКУМЕНТЫ
6. Переиздание (январь 1993
г.) с Изменением № 1, утвержденным в мае 1988 г. (ИУС 8-88) 7. Срок действия продлен до
01.01.94 (Постановление Госстандарта СССР от 20.05.88 № 1415) | |||||||||||||||||||||||||||||||||||||||||||||||||||||||||||||||||||||||||||||||||||||||||||||||||||||||||||||||||||||||||||||||||||||||||||||||
|
|
|
|