Бесплатная библиотека стандартов и нормативов www.docload.ru

Все документы, размещенные на этом сайте, не являются их официальным изданием и предназначены исключительно для ознакомительных целей.
Электронные копии этих документов могут распространяться без всяких ограничений. Вы можете размещать информацию с этого сайта на любом другом сайте.
Это некоммерческий сайт и здесь не продаются документы. Вы можете скачать их абсолютно бесплатно!
Содержимое сайта не нарушает чьих-либо авторских прав! Человек имеет право на информацию!

 

ТРУБЫ МЕТАЛЛИЧЕСКИЕ
И СОЕДИНИТЕЛЬНЫЕ ЧАСТИ
К НИМ

Часть 4

ТРУБЫ ИЗ ЧЕРНЫХ МЕТАЛЛОВ И СПЛАВОВ
ЛИТЫЕ И СОЕДИНИТЕЛЬНЫЕ ЧАСТИ К НИМ.
ОСНОВНЫЕ РАЗМЕРЫ.
МЕТОДЫ ТЕХНОЛОГИЧЕСКИХ ИСПЫТАНИЙ
ТРУБ

ГОСТ 8955-75*
(СТ СЭВ 3303-81)

Москва

ИПК ИЗДАТЕЛЬСТВО СТАНДАРТОВ

1998

ГОСУДАРСТВЕННЫЙ СТАНДАРТ СОЮЗА ССР

СОЕДИНИТЕЛЬНЫЕ ЧАСТИ ИЗ КОВКОГО ЧУГУНА

 С ЦИЛИНДРИЧЕСКОЙ РЕЗЬБОЙ ДЛЯ ТРУБОПРОВОДОВ.
МУФТЫ ПРЯМЫЕ ДЛИННЫЕ

Основные размеры

Ductile iron fittings with parallel
thread for pipelines.
Straight long sockets. Basic dimensions

ГОСТ
8955-75*

(CT
СЭВ 3303-81)

Взамен
ГОСТ 8955-59

Постановлением Государственного комитета стандартов Совета Министров СССР от 14.11.75 № 2901 дата введения установлена

01.01.77

Ограничение срока действия снято по протоколу Межгосударственного Совета по стандартизации, метрологии и сертификации (ИУС 2-93)

la. Муфты должны изготовлять двух исполнений:

1 - с правой резьбой;

2 - с право-левой резьбой.

Стандарт полностью соответствует CT СЭВ 3303-81.

(Введен дополнительно, Изм. № 2).

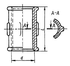
1. Основные размеры муфт должны соответствовать указанным на чертеже и в таблице.

Исполнение 1

Исполнение 2

Примечание. Чертеж не определяет конструкцию муфты.

Размеры в мм

Условный проход Dу

Резьба d

L

Число ребер

Масса без покрытия, кг, не более*

Вариант по ГОСТ 8944-75

1

2

8

G 1/4 - В

27

2

0,034

0,036

10

G 3/8 - В

30

2

0,044

0,047

15

G 1/2 - В

36

2

0,074

0,079

20

G 3/4 - В

39

2

0,108

0,111

25

G 1 - В

45

4

0,173

0,173

32

G 11/4 - В

50

4

0,245

0,245

40

G 11/2 - В

55

4

0,342

0,296

50

G 2 - В

65

6

0,560

0,506

(65)

G 21/2 - В

74

6

0,780

0,703

(80)

G 3 - В

80

6

1,000

1,010

(100)

G 4 - B

94

6

1,975

1,805

* Для справок.

Примечания:

1. Масса оцинкованных соединительных частей не должна превышать массу неоцинкованных более чем на 5%.

2. Муфты с Dу, указанными в таблице в скобках, применять не рекомендуется.

Примеры условных обозначений

Прямой длинной муфты исполнения 1 без покрытия с Dу = 40 мм:

Муфта длинная 1-40 ГОСТ 8955-75

То же, с цинковым покрытием:

Муфта длинная 1-Ц-40 ГОСТ 8955-75

(Измененная редакция, Изм. № 1, 2).

2. Конструктивные размеры и технические требования - по ГОСТ 8944-75.




Rambler's Top100 Яндекс цитирования
  Copyright © 2008-2026, www.docload.ru