Бесплатная библиотека стандартов и нормативов www.docload.ru

Все документы, размещенные на этом сайте, не являются их официальным изданием и предназначены исключительно для ознакомительных целей.
Электронные копии этих документов могут распространяться без всяких ограничений. Вы можете размещать информацию с этого сайта на любом другом сайте.
Это некоммерческий сайт и здесь не продаются документы. Вы можете скачать их абсолютно бесплатно!
Содержимое сайта не нарушает чьих-либо авторских прав! Человек имеет право на информацию!

 

ГОСТ 28996-91

МЕЖГОСУДАРСТВЕННЫЙ СТАНДАРТ

ОБОРУДОВАНИЕ НЕФТЕПРОМЫСЛОВОЕ
УСТЬЕВОЕ

ТЕРМИНЫ И ОПРЕДЕЛЕНИЯ

ИПК ИЗДАТЕЛЬСТВО СТАНДАРТОВ

Москва

МЕЖГОСУДАРСТВЕННЫЙ СТАНДАРТ

ОБОРУДОВАНИЕ НЕФТЕПРОМЫСЛОВОЕ УСТЬЕВОЕ

Термины и определения

Oil-field wellhead equipment. Terms and definitions

ГОСТ
28996-91

Дата введения 01.07.92

Настоящий стандарт устанавливает термины и определения понятий в области устьевого нефтепромыслового оборудования нефтяных, газовых и прочих скважин.

Термины, установленные настоящим стандартом, обязательны для применения во всех видах документации и литературы в области нефтепромыслового оборудования, входящих в сферу работ по стандартизации и использующих результаты этой работы.

1. Для каждого понятия установлен один стандартизованный термин.

Недопустимые к применению термины-синонимы приведены в круглых скобках после стандартизованного термина и обозначены пометой «Ндп».

2. Заключенная в круглые скобки часть термина может быть опущена при использовании термина в документах по стандартизации.

Наличие квадратных скобок в терминологической статье означает, что в нее включены два (три, четыре и более) термина, имеющие общие терминоэлементы. В алфавитном указателе данные термины приведены отдельно с указанием номера одной статьи.

3. Приведенные определения можно, при необходимости, изменять, вводя в них производные признаки, раскрывая значения используемых в них терминов, указывая объекты, входящие в объем определяемого понятия. Изменения не должны нарушать объем и содержание понятий, определенных в данном стандарте.

В случае, когда в термине содержатся все необходимые и достаточные признаки понятия, определение не приводится, и вместо него ставится прочерк.

4. В стандарте приведены иноязычные эквиваленты стандартизованных терминов на английском языке.

5. В стандарте приведены алфавитные указатели терминов на русском и английском языках.

6. Термины и определения общетехнических понятий, необходимые для понимания текста стандарта, приведены в приложении 4.

7. Стандартизованные термины набраны полужирным шрифтом, недопустимые - курсивом.

8. В приложении 1 приведены иллюстрации.

9. Правила образования составных терминов приведены в приложении 2.

10. В приложении 3 приведены схемы классификации устьевого нефтепромыслового оборудования.

ОСНОВНЫЕ ВИДЫ УСТЬЕВОГО ОБОРУДОВАНИЯ

1 устьевое (нефтепромысловое) оборудование (Ндп. оборудование устья; обвязка устья): Техническое средство или совокупность технических средств, устанавливаемых на устье скважины нефтяной или газовой залежи при ее строительстве, эксплуатации или ремонте, предназначенных для выполнения одной или нескольких самостоятельных функций, связанных с герметизацией устья.

Примечание. К устьевому оборудованию не относятся наземные манифольды и трубопроводы, присоединяемые к оборудованию после его установки на устье

wellhead equipment

2 устьевая обвязка: Устьевое оборудование для обвязывания обсадных колонн и скважинных трубопроводов

wellhead completion equipment

3 колонная (устьевая) обвязка (Ндп. оборудование обвязки обсадных колонн; колонная головка): Часть устьевой обвязки, предназначенная для обвязывания двух и более обсадных колонн и контроля давления в заколонном и межколонном пространстве

casing connections

4 двухколонная [трехколонная, четырехколонная, пятиколонная] обвязка: -

dual-string [three-string, four-string, five-string] connections

5 однокорпусная колонная обвязка: Устьевая колонная обвязка, в которой обсадные колонны обвязаны в одном корпусе

single-string connections

6 многокорпусная колонная обвязка: Устьевая колонная обвязка, в которой колонны обвязаны в двух или более корпусах

multiple-string connections

7 (устьевая) колонная головка (Ндп. обсадная головка): Часть однокорпусной или многокорпусной колонной обвязки без запорных устройств на боковых отводах, содержащая трубодержатель и уплотнитель для одной обсадной колонны

casing head

8 однофланцевая колонная головка (Ндп. нижняя колонная головка; двухрядная колонная головка): Устьевая колонная головка с одним верхним присоединительным стволовым фланцем, устанавливаемая на обсадной колонне

casing head housing

9 двухфланцевая колонная головка (Ндп. промежуточная колонная головка; однорядная колонная головка): Устьевая колонная головка с двумя соосными присоединительными стволовыми фланцами, устанавливаемая на фланец устьевого оборудования

casing spool

10 клиньевая колонная головка: Устьевая колонная головка, в которой обвязываемая колонна закрепляется на клиньевом трубодержателе

slip-type casing head

11 резьбовая колонная головка: Устьевая колонная головка, в которой обвязываемая колонна закрепляется на резьбовом трубодержателе

threaded casing head

12 превенторный блок (Ндп. превенторная установка; противовыбросовая обвязка): Часть противовыбросового оборудования, включающая превенторы и соединяющие их детали, устанавливаемые на устье

blowout preventer stack

13 превентор: Устьевое оборудование, обеспечивающее перекрытие контактным управляемым уплотнителем стволового прохода.

blowout preventer

Примечание. В стволовом проходе могут находиться неподвижные или движущиеся колонны труб или тросы

 

14 плашечный превентор (Ндп. поршневой превентор): Превентор, уплотнитель которого выполнен из частей-плашек, перемещаемых перпендикулярно к продольной оси стволового прохода

ram-type blowout preventer

15 кольцевой превентор (Ндп. универсальный превентор; автоматический превентор; армированный превентор): Превентор, уплотнитель которого выполнен в виде кольца, концентричного стволовому проходу

annular blowout preventer

16 одинарный превентор: Превентор с одним уплотнителем

single blowout preventer

17 двойной превентор (Ндп. сдвоенный превентор; спаренный превентор): Превентор с двумя уплотнителями, каждый из которых имеет отдельный привод

double blowout preventer

18 тройной превентор (Ндп. строенный превентор): Превентор с тремя уплотнителями, каждый из которых имеет отдельный привод

triple blowout preventer

19 ручной превентор: Превентор с ручным приводом уплотнителя

manual blowout preventer

20 гидравлический превентор: Превентор с гидравлическим приводом уплотнителя

hydraulic blowout preventer

21 (устьевой) герметизатор (Ндп. промывочная головка; уплотнительная головка): Устьевое оборудование, обеспечивающее перекрытие стволового прохода контактным нерегулируемым уплотнителем только с неподвижной или движущейся в нем колонной труб, имеющее, как правило, боковые отводы для присоединения наземного трубопровода или манифольда

wellhead seal

22 безотводный (устьевой) герметизатор (Ндп. герметизирующая головка; противовыбросовая катушка; сальниковая катушка; обратный сальник; самоуплотняющая катушка): Устьевой герметизатор, не имеющий боковых отводов для присоединения наземных трубопроводов и манифольдов

stripper head

23 роторный (устьевой) герметизатор (Ндп. вращающийся превентор): Устьевой герметизатор, уплотнитель которого имеет возможность вращения относительно корпуса

rotating head

24 устьевая арматура (Ндп. арматура устья; устьевое оборудование; оборудование устья): Устьевое оборудование, обеспечивающее управление потоком скважинной среды в скважинном трубопроводе или трубопроводах и затрубном пространстве, а также обвязывание скважинного трубопровода или трубопроводов.

wellhead assembly

Примечание. В отдельных случаях скважинный трубопровод может закрепляться вне устьевой арматуры

 

25 фонтанная (устьевая) арматура: Устьевая арматура фонтанной скважины.

flowing wellhead assembly

Примечание. В обоснованных случаях фонтанная арматура также устанавливается на скважинах других видов: газлифтных, контрольных

 

26 нагнетательная (устьевая) арматура: Устьевая арматура нагнетательной скважины

injection wellhead assembly

27 насосная (устьевая) арматура (Ндп. арматура периодически фонтанирующих скважин): Устьевая арматура насосной скважины.

rumping wellhead assembly

Примечание. К насосной арматуре относится также устьевая арматура насосных скважин с избыточным давлением на устье

 

28 штангонасосная (устьевая) арматура (Ндп. глубиннонасосная арматура): Устьевая насосная арматура скважин, эксплуатируемых скважинным штанговым насосом

sucker-rod pumping wellhead assembly

29 электронасосная (устьевая) арматура: Устьевая насосная арматура скважин, эксплуатируемых скважинным электроприводным насосом

electric pumping wellhead assembly

30 гидронасосная (устьевая) арматура: Устьевая насосная арматура скважин, эксплуатируемых скважинным гидроприводным насосом

hydraulic pumping wellhead assembly

31 одноствольная (устьевая) арматура (Ндп. арматура для однорядного подъемника): Устьевая арматура с одним стволовым проходом в устьевой елке

single completion wellhead assembly

32 однорядная (одноствольная) арматура: Устьевая одноствольная арматура, обеспечивающая подвешивание одного скважинного трубопровода

single completion single string wellhead assembly

33 двухрядная (одноствольная) арматура (Ндп. арматура для двухрядного подъемника): Устьевая одноствольная арматура, обеспечивающая подвешивание двух концентричных скважинных трубопроводов, соосных стволовому проходу устьевой елки

single completion dual string wellhead assembly

34 двухствольная (устьевая) арматура (Ндп. сдвоенная арматура; арматура для раздельной эксплуатации): Устьевая арматура, обеспечивающая подвешивание двух параллельных скважинных трубопроводов, соосных проходам двухствольной устьевой елки

dual completion wellheac assembly

35 тройниковая (устьевая) арматура: Устьевая арматура с тройниковой устьевой елкой

tee-type wellhead assembly

36 крестовая (устьевая) арматура: Устьевая арматура с крестовой устьевой елкой

cross-type wellhead assembly

37 трубная обвязка (Ндп. основание трубной головки; пьедестал фонтанной арматуры): Часть устьевой обвязки, входящая в устьевую арматуру, обеспечивающая обвязывание одного или нескольких скважинных трубопроводов с обсадной колонной и между собой и возможность управления потоком скважинной среды в затрубном пространстве

tubing connections

38 одноствольная трубная обвязка: Трубная обвязка, обеспечивающая обвязывание одного или нескольких концентричных скважинных трубопроводов

single completion tubing connections

39 однорядная (одноствольная) трубная обвязка: Одноствольная трубная обвязка, обеспечивающая обвязывание одного скважинного трубопровода

single completion single string tubing connections

40 двухрядная (одноствольная) трубная обвязка: Одноствольная трубная обвязка, обеспечивающая обвязывание двух концентричных скважинных трубопроводов

single completion dual string tubing connections

41 двухствольная трубная обвязка: Трубная обвязка, обеспечивающая обвязывание двух параллельных скважинных трубопроводов

dual completion tubing connections

42 трубная головка: Часть трубной обвязки без запорных устройств на боковых отводах корпуса, включающая трубодержатель и уплотнитель для одного или нескольких параллельных скважинных трубопроводов

tubing head

43 одноствольная трубная головка: Трубная головка, имеющая трубодержатель для одного скважинного трубопровода

single-completion tubing head

44 двухствольная трубная головка: Трубная головка, имеющая трубодержатель для двух параллельных скважинных трубопроводов

dual-completion tubing head

45 клиньевая трубная головка: Трубная головка с клиньевым трубодержателем

slip-type tubing head

46 резьбовая трубная головка: Трубная головка с резьбовым трубодержателем

threaded tubing head

47 (устьевая) елка: Часть устьевой арматуры, предназначенная для регулирования параметров потока скважинной среды в скважинном трубопроводе, а также распределения или смешивания потоков

Christmas Tree

48 тройниковая (устьевая) елка: Устьевая елка, боковые отводы которой соединены со стволовой частью с помощью тройников

tee-type Christmas tree

49 крестовая (устьевая) елка: Устьевая елка, боковые отводы которой соединены со стволовой частью с помощью крестовин

cross-type Christmas tree

50 одноствольная (устьевая) елка: Устьевая елка с одним стволовым проходом

single completion Christmas tree

51 двухствольная (устьевая) елка: Устьевая елка с двумя параллельными стволовыми проходами

dual completion Christmas tree

52 фонтанная (устьевая) елка: -

flowing well Christmas tree

53 нагнетательная (устьевая) елка: -

injection well Christmas tree

54 насосная (устьевая) елка: -

pumping well Christmas tree

55 устьевой шлюз: Устьевое оборудование, предназначенное для шлюзования скважинного оборудования при его спуске в скважину или подъеме из скважины на тросе, трубах или потоком скважинной среды

-

56 тросовый (устьевой) шлюз (Ндп. лубрикатор; скважинный лубрикатор; лубрикаторная установка): Устьевой шлюз для оборудования, спускаемого в скважину на тросе

wellhead wireline equipment

57 трубный (устьевой) шлюз: Устьевой шлюз для оборудования, спускаемого в скважину на колонне труб или штанг

-

58 (устьевой) оголовок: (Ндп. устьевая головка; промывочная головка): Устьевое оборудование, закрывающее верхний конец выступающей над устьем колонны труб, имеющее отводы для сообщения внутренней полости колонны труб с наземными трубопроводами

-

59 бурильный (устьевой) оголовок: Оголовок, устанавливаемый на бурильной колонне

-

60 обсадный (устьевой) оголовок: Оголовок, устанавливаемый на обсадной колонне

-

61 трубный (устьевой) оголовок: Оголовок, устанавливаемый на скважинном трубопроводе

-

62 (устьевой) вертлюг: Оголовок, предназначенный для подачи скважинной среды во вращающуюся колонну труб и, как правило, имеющий приспособления для ее подвешивания

hoisting swivel

63 буровой (устьевой) вертлюг: Вертлюг, используемый в составе буровой установки для подачи скважинной среды в колонну бурильных труб

hoisting drilling swivel

64 трубный (устьевой) вертлюг: Вертлюг, предназначенный для подачи скважинной среды в колонну насосно-компрессорных труб

hoisting water swivel

65 цементировочная головка: Оголовок, имеющий съемную крышку для ввода в колонну труб цементировочных разделительных пробок

cementing head

66 камерная цементировочная головка: Цементировочная головка, имеющая устьевую камеру для предварительного размещения цементировочных разделительных пробок перед их вводом в колонку труб

chamber-type cementing head

67 бурильная цементировочная головка: Цементировочная головка, устанавливаемая на бурильной колонне

cementing drilling head

68 обсадная цементировочная головка: Цементировочная головка, устанавливаемая на обсадной колонне

cementing casing head

ПРИСПОСОБЛЕНИЕ УСТЬЕВОГО ОБОРУДОВАНИЯ

69 устьевая камера: Приспособление, предназначенное для размещения скважинного оборудования до спуска в скважину или после подъема

wellhead chamber

70 устьевая крестовина: Приспособление для установки устьевого оборудования или его части, имеющее боковые отводы для сообщения стволового прохода с наземными трубопроводами

wellhead cross connection

71 уплотнительная катушка [фланец, крестовина]: Часть трубной обвязки в виде фланцевой катушки [фланца, крестовины], обеспечивающая уплотнение затрубного пространства скважинного трубопровода с помощью контактного уплотнителя

pack-off spool flange, cross-connection

72 переводник трубной головки: Часть елки в виде фланцевой катушки или переводного фланца, с помощью которой она соединяется с трубной головкой.

tubing head adapter

Примечание. При расположении трубодержателя скважинного трубопровода в переводнике трубной головки он является также частью трубной обвязки

 

73 катушка-трубодержатель (Ндп. катушка для подвески насосно-компрессорных труб; подвеска фонтанных труб; катушка с планшайбой): Часть трубной обвязки в виде фланцевой катушки с трубодержателем

tubing hanger spool

74 фланец-трубодержатель (Ндп. планшайба): Часть трубной обвязки в виде переводного фланца с трубодержателем

hanger flange

75 крестовина-трубодержатель: Часть трубной обвязки в виде устьевой крестовины, содержащая трубодержатель

-

76 колонный фланец: Приспособление для установки устьевого оборудования, конструктивно выполненное в виде фланца, присоединяемого к обсадной колонне

casing flange

77 приварной колонный фланец: Колонный фланец, присоединяемый к обсадной колонне путем сварки

welded casing flange

78 резьбовой колонный фланец: Колонный фланец, присоединяемый к обсадной колонне на резьбе

threaded casing flange

79 клиньевой колонный фланец (Ндп. клиньевая головка): Колонный фланец, присоединяемый к обсадной колонне с помощью клиньевого захвата

slip-type casing flange

УЗЛЫ УСТЬЕВОГО ОБОРУДОВАНИЯ

80 трубодержатель (Ндп. трубная подвеска; подвеска фонтанных труб): Устройство для закрепления в устьевом оборудовании верхнего конца обсадной колонны или скважинного трубопровода

tubing ang casing hanger

81 клиньевой трубодержатель: Трубодержатель для закрепления трубы на клиньевом захвате

slip-type tubing hanger

82 резьбовой трубодержатель: Трубодержатель для закрепления трубы на резьбе

threaded tubing hanger

83 (устьевой) уплотнитель: Уплотнительное устройство устьевого оборудования, герметизирующее непосредственно по наружному диаметру трубу, трос или устьевой шток или перекрывающее стволовой проход

casing head pack-off

84 контактный уплотнитель: Уплотнитель, осуществляющий герметизацию за счет контакта сопрягаемых поверхностей

line wiper

85 бесконтактный уплотнитель: Уплотнитель, осуществляющий герметизацию при отсутствии контакта сопрягаемых поверхностей за счет наличия между ними вязкой среды, отводимой в дренажную систему

control head

86 гидростатический уплотнитель: Бесконтактный уплотнитель, вязкая среда в которой в виде пластичного смазочного материала подается извне

grease control head

87 гидродинамический [газодинамический] уплотнитель: Бесконтактный уплотнитель, в котором в качестве вязкой среды используется жидкая [газовая] скважинная среда

flow control head

88 регулируемый уплотнитель: Уплотнитель, в котором предусмотрена возможность регулирования утечек

packing nut

89 нерегулируемый уплотнитель: Уплотнитель, в котором не предусмотрена возможность регулирования утечек

-

90 управляемый уплотнитель: Регулируемый уплотнитель, в котором предусмотрена возможность регулирования в процессе работы

-

91 неуправляемый уплотнитель: Регулируемый уплотнитель, в котором не предусмотрена возможность регулирования в процессе работы

-

92 устьевой сальник: Контактный регулируемый неуправляемый уплотнитель

stuffing box

АЛФАВИТНЫЙ УКАЗАТЕЛЬ ТЕРМИНОВ НА РУССКОМ ЯЗЫКЕ

арматура гидронасосная                                                                             30

арматура глубиннонасосная                                                                      28

арматура двухрядная                                                                                   33

арматура двухствольная                                                                              34

арматура для двухрядного подъемника                                                    33

арматура для однорядного подъемника                                                   31

арматура для раздельной эксплуатации                                                  34

арматура крестовая                                                                                     36

арматура нагнетательная                                                                            26

арматура насосная                                                                                       27

арматура однорядная                                                                                  32

арматура одноствольная                                                                             31

арматура одноствольная двухрядная                                                    33

арматура одноствольная однорядная                                                    32

арматура периодически фонтанирующих скважин                               27

арматура сдвоенная                                                                                   34

арматура тройниковая                                                                                35

арматура устьевая                                                                                     24

арматура устьевая двухствольная                                                         34

арматура устьевая гидронасосная                                                         30

арматура устьевая крестовая                                                                  36

арматура устьевая нагнетательная                                                       26

арматура устьевая насосная                                                                    27

арматура устьевая одноствольная                                                         31

арматура устьевая тройниковая                                                            35

арматура устьевая фонтанная                                                                25

арматура устьевая штангонасосная                                                      28

арматура устьевая электронасосная                                                     29

арматура устья                                                                                           24

арматура фонтанная                                                                                    25

арматура штангонасосная                                                                           28

арматура электронасосная                                                                         29

блок превенторный                                                                                  12

вертлюг                                                                                                         62

вертлюг буровой                                                                                          63

вертлюг трубный                                                                                         64

вертлюг устьевой                                                                                       62

вертлюг устьевой буровой                                                                       63

вертлюг устьевой трубный                                                                      64

герметизатор                                                                                                21

герметизатор безотводный                                                                         22

герметизатор роторный                                                                              23

герметизатор устьевой                                                                             21

герметизатор устьевой безотводный                                                     22

герметизатор устьевой роторный                                                           23

головка герметизирующая                                                                         22

головка клиньевая                                                                                        79

головка колонная                                                                                         3

головка колонная                                                                                         7

головка колонная двухрядная                                                                     8

головка колонная двухфланцевая                                                        9

головка колонная клиньевая                                                                 10

головка колонная нижняя                                                                           8

головка колонная однорядная                                                                     9

головка колонная однофланцевая                                                        8

головка колонная промежуточная                                                            9

головка колонная резьбовая                                                                   11

головка колонная устьевая                                                                     7

головка обсадная                                                                                         7

головка промывочная                                                                                  21, 58

головка трубная                                                                                         42

головка трубная двухствольная                                                             44

головка трубная клиньевая                                                                    45

головка трубная одноствольная                                                             43

головка трубная резьбовая                                                                      46

головка уплотнительная                                                                            21

головка устьевая                                                                                         58

головка цементировочная                                                                      65

головка цементировочная бурильная                                                  67

головка цементировочная камерная                                                    66

головка цементировочная обсадная                                                     68

елка                                                                                                               47

елка двухствольная                                                                                      51

елка крестовая                                                                                             49

елка нагнетательная                                                                                    53

елка насосная                                                                                               54

елка одноствольная                                                                                     50

елка тройниковая                                                                                        48

елка устьевая                                                                                             47

елка устьевая двухствольная                                                                 51

елка устьевая крестовая                                                                          49

елка устьевая нагнетательная                                                               53

елка устьевая насосная                                                                            54

елка устьевая одноствольная                                                                 50

елка устьевая тройниковая                                                                    48

елка устьевая фонтанная                                                                        52

елка фонтанная                                                                                            52

камера устьевая                                                                                         69

катушка для подвески насосно-компрессорных труб                             73

катушка противовыбросовая                                                                    22

катушка сальниковая                                                                                  22

катушка самоуплотняющая                                                                      22

катушка с планшайбой                                                                               73

катушка-трубодержатель                                                                         73

катушка уплотнительная                                                                        71

крестовина-трубодержатель                                                                    75

крестовина уплотнительная                                                                   71

крестовина устьевая                                                                                 70

лубрикатор                                                                                                   56

лубрикатор скважинный                                                                            56

обвязка двухколонная                                                                              4

обвязка колонная                                                                                         3

обвязка колонная многокорпусная                                                       6

обвязка колонная однокорпусная                                                         5

обвязка пятиколонная                                                                             4

обвязка противовыбросовая                                                                      12

обвязка трехколонная                                                                              4

обвязка трубная                                                                                         37

обвязка трубная двухрядная                                                                       40

обвязка трубная двухствольная                                                             41

обвязка трубная однорядная                                                                       39

обвязка трубная одноствольная                                                             38

обвязка трубная одноствольная двухрядная                                       40

обвязка трубная одноствольная однорядная                                       39

обвязка устьевая                                                                                       2

обвязка устьевая колонная                                                                     3

обвязка устья                                                                                               1

обвязка четырехколонная                                                                       4

оборудование обвязки обсадных колонн                                                   3

оборудование нефтепромысловое устьевое                                         1

оборудование устьевое                                                                                1

оборудование устьевое                                                                               24

оборудование устья                                                                                    1, 24

оголовок                                                                                                       58

оголовок бурильный                                                                                    59

оголовок обсадный                                                                                      60

оголовок трубный                                                                                        61

оголовок устьевой                                                                                     58

оголовок устьевой бурильный                                                               59

оголовок устьевой обсадный                                                                  60

оголовок устьевой трубный                                                                    61

основание трубной головки                                                                        37

переводник трубной головки                                                                 72

планшайба                                                                                                    74

подвеска трубная                                                                                        80

подвеска фонтанных труб                                                                         73, 80

превентор                                                                                                    13

превентор автоматический                                                                      15

превентор армированный                                                                          15

превентор вращающийся                                                                           23

превентор гидравлический                                                                     20

превентор двойной                                                                                    17

превентор кольцевой                                                                               15

превентор одинарный                                                                              16

превентор плашечный                                                                             14

превентор поршневой                                                                                 14

превентор ручной                                                                                      19

превентор сдвоенный                                                                                 17

превентор спаренный                                                                                 17

превентор строенный                                                                                18

превентор тройной                                                                                    18

превентор универсальный                                                                          15

пьедестал фонтанной арматуры                                                             37

сальник обратный                                                                                       22

сальник устьевой                                                                                      92

трубодержатель                                                                                          80

трубодержатель клиньевой                                                                     81

трубодержатель резьбовой                                                                       82

уплотнитель                                                                                                 83

уплотнитель бесконтактный                                                                  85

уплотнитель газодинамический                                                            87

уплотнитель гидродинамический                                                         87

уплотнитель гидростатический                                                             86

уплотнитель контактный                                                                        84

уплотнитель нерегулируемый                                                               89

уплотнитель неуправляемый                                                                 91

уплотнитель регулируемый                                                                    88

уплотнитель управляемый                                                                     90

уплотнитель устьевой                                                                              83

установка лубрикаторная                                                                          56

установка превенторная                                                                            12

фланец колонный                                                                                     76

фланец колонный клиньевой                                                                79

фланец колонный приварной                                                                77

фланец колонный резьбовой                                                                  78

фланец-трубодержатель                                                                           74

фланец уплотнительный                                                                         71

шлюз тросовый                                                                                            56

шлюз трубный                                                                                              57

шлюз устьевой                                                                                           55

шлюз устьевой тросовый                                                                         56

шлюз устьевой трубный                                                                           57

АЛФАВИТНЫЙ УКАЗАТЕЛЬ ТЕРМИНОВ НА АНГЛИЙСКОМ ЯЗЫКЕ

Annullar blowout preventer                                                                           15

Blowout preventer                                                                                         13

Blowout preventer stack                                                                                12

Casing connections                                                                                        3

Casing flange                                                                                                 76

Casing head                                                                                                    7

Casing head housing                                                                                       8

Casing head pack-off                                                                                     83

Casing spool                                                                                                  9

Cementing casing head                                                                                   68

Cementing drilling head                                                                                 67

Cementing head                                                                                              65

Chamber-type cementing head                                                                       66

Christmas tree                                                                                                47

Control head                                                                                                  85

Cross-type Christmas tree                                                                              49

Cross-type wellhead assembly                                                                      36

Double blowout preventer                                                                             17

Dual completion Christmas tree                                                                     51

Dual completion tubing connections                                                              41

Dual-completion tubing head                                                                         44

Dual-completion wellhead assembly                                                             34

Dual-string connections                                                                                 4

Electric pumping wellhead assembly                                                             29

Five-string connections                                                                                  4

Flow control head                                                                                          87

Flowing well Christmas tree                                                                          52

Flowing wellhead assembly                                                                          25

Four-string connections                                                                                  4

Grease control head                                                                                       86

Hanger flange                                                                                                 74

Hoisting drilling swivel                                                                                 63

Hoisting swivel                                                                                              62

Hoisting water swivel                                                                                    64

Hydraulic blowout preventer                                                                         20

Hydraulic pumping wellhead assembly                                                         30

Injection well Christmas tree                                                                         53

Injection wellhead assembly                                                                          26

Line wiper                                                                                                     84

Manual blowout preventer                                                                             19

Multiple-string connections                                                                           6

Packing nut                                                                                                     88

Pack-off cross-connection                                                                              71

Pack-off flange                                                                                               71

Pack-off spool                                                                                                71

Pumping well Christmas tree                                                                         54

Pumping wellhead assembly                                                                          27

Ram-type blowout preventer                                                                          14

Rotating head                                                                                                 23

Single blowout preventer                                                                               16

Single completion Christmas tree                                                                  50

Single completion dual string tubing connections                                          40

Single completion dual string wellhead assembly                                         33

Single completion single string tubing connections                                        39

Single completion single string wellhead assembly                                       32

Single completion tubing connections                                                            38

Single completion tubing head                                                                       43

Single completion wellhead assembly                                                           31

Single-string connections                                                                               5

Slip-type casing flange                                                                                   79

Slip-type casing head                                                                                     10

Slip-type tubing hanger                                                                                  81

Slip-type tubing head                                                                                     45

Stripper head                                                                                                 22

Stuffing box                                                                                                    92

Susker-rod pumping wellhead assembly                                                        28

Tee-type Christmas tree                                                                                 48

Tee-type wellhead assembly                                                                          35

Threaded casing flange                                                                                  78

Threaded casing head                                                                                    11

Threaded tubing hanger                                                                                  82

Threaded tubing head                                                                                     46

Three-string connections                                                                                4

Triple blowout preventer                                                                               18

Tubing and casing hanger                                                                               80

Tubing connections                                                                                        37

Tubing hanger spool                                                                                       73

Tubing head                                                                                                   42

Tubing head adapter                                                                                       72

Welded casing flange                                                                                     77

Wellhead assembly                                                                                        24

Wellhead chamber                                                                                         69

Wellhead completion equipment                                                                    2

Wellhead cross-connection                                                                            70

Wellhead equipment                                                                                      1

Wellhead seal                                                                                                21

Wellhead wireline equipment                                                                        56

ПРИЛОЖЕНИЕ 1

Справочное

ИЛЛЮСТРАЦИИ К ТЕРМИНАМ

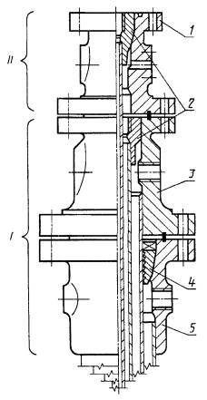
Устьевая обвязка (2)

I - колонная обвязка; II - трубная обвязка; 1 - трубная головка (42); 2 - резьбовой трубодержатель (82); 3 - двухфланцевая колонная головка (9); 4 - клиньевой трубодержатель (81); 5 - однофланцевая колонная головка (8)

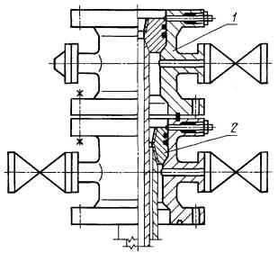
Превенторный блок (12)

1 - устьевой герметизатор (21); 2 - кольцевой превентор (15); 3 - плашечный превентор (14); 4 - устьевая крестовина (70)

Тросовый устьевой шлюз (55)

1 - плашечный превентор (14); 2 - устьевая камера (69)

Кольцевой превентор (15)

1 - управляемый контактный уплотнитель (82, 86)

Плашечный превентор (14)

1 - управляемый контактный уплотнитель (плашки) (84, 88)

Роторный устьевой герметизатор (23)    Безотводный устьевой герметизатор (22)

1 - нерегулируемый контактный уплотнитель (84, 89)

Тройниковая двухствольная фонтанная арматура (34, 35)

I - трубная обвязка; II - елка

Крестовая одноствольная нагнетательная арматура (26, 31, 36)

I - трубная обвязка; II - елка

Устьевая арматура (24)

(без подвешивания скважинного трубопровода)

1 - трубный оголовок (61); 2 - уплотнительная крестовина (71)

Одноствольная трубная обвязка (38)

1 - катушка-трубодержатель (73)

Двухрядная одноствольная трубная обвязка (40)

1 - трубная головка (42); 2 - резьбовой трубодержатель (82)

Однорядная одноствольная трубная обвязка (39)

1 - фланец-трубодержатель (74); 2 - уплотнительная крестовина (71)

Двухрядная одноствольная трубная обвязка (40)

1 - катушка-трубодержатель (73); 2 - крестовина-трубодержатель (75); 3 - устьевая крестовина (70)

Устьевой оголовок (58)

Приварной колонный фланец (77)

Резьбовой колонный фланец (78)

Камерная цементировочная головка (66)

Клиньевой колонный фланец (79)

ПРИЛОЖЕНИЕ 2

Справочное

ПРАВИЛА ОБРАЗОВАНИЯ СОСТАВНЫХ ТЕРМИНОВ

1. Для характеристики устьевого оборудования по различным признакам допускается применять комбинации терминов, установленных в стандарте, например «тройниковая фонтанная устьевая арматура».

2. Термины могут содержать дополнительные терминоэлементы, отражающие область применения оборудования, например «трубодержатель колонной головки», «регулируемый уплотнитель устьевого шлюза», «превентор противовыбросового оборудования».

3. Для характеристики устьевого оборудования, включающего составные части разных видов, выделяемых по одному признаку, допускается применять определение «комбинированный». Например, многокорпусная колонная обвязка, включающая резьбовую и клиньевую колонные головки, - «комбинированная колонная обвязка».

4. При необходимости уточнения термина в зависимости от количества аналогичных составных частей устьевого оборудования допускается вводить термины, учитывающие это обстоятельство. Например наряду с термином «двухствольная елка», может применяться термин «трехствольная елка»; наряду с термином «многокорпусная колонная обвязка» может применяться термин «четырехкорпусная колонная обвязка» и т.д.

ПРИЛОЖЕНИЕ 3

Справочное

СХЕМЫ КЛАССИФИКАЦИИ УСТЬЕВОГО НЕФТЕПРОМЫСЛОВОГО ОБОРУДОВАНИЯ

Схема 1

Схема 2

Схема 3

Схема 4

Схема 5

Схема 6

Схема 7

Схема 8

Схема 9

Схема 10

Схема 11

ПРИЛОЖЕНИЕ 4

Рекомендуемое

ТЕРМИНЫ, ИСПОЛЬЗОВАННЫЕ В ОПРЕДЕЛЕНИЯХ

1 нефтепромысловое оборудование: Совокупность технических средств, используемых в процессе всего периода разработки нефтяных и газовых месторождений, начиная от разведки вплоть до завершения их разработки

2 устье скважины: Входное отверстие ствола скважины

3 фонтанная [насосная; нагнетательная; газлифтная; контрольная] скважина: Скважина нефтяной или газовой залежи, оснащенная фонтанным [насосным; нагнетательным; газлифтным; контрольно-измерительным] оборудованием

4 скважинная среда: Жидкость, газ или их смеси, находящиеся или циркулирующие в скважине между забоем и устьем

5 скважинный трубопровод: Подвешенная в устьевом оборудовании колона насосно-компрессорных труб, предназначенная для направления потока скважинной среды от устья к забою или от забоя к устью

6 скважинное оборудование: Оборудование, приборы, инструменты, приспособления, предназначенные для использования в скважине

7 противовыбросовое оборудование: Комплекс оборудования, предназначенный для герметизации устья нефтяных и газовых скважин в процессе их строительства или ремонта с целью обеспечения безопасного ведения работ, предупреждения выбросов и открытых фонтанов, охраны недр и окружающей среды.

Примечание. Противовыбросовое оборудование включает устьевое оборудование, манифольд, систему управления

8 шлюзование (скважинного оборудования): Перемещение скважинного оборудования между атмосферой и скважиной, имеющей избыточное давление на устье, через устьевую камеру, попеременно сообщаемую со скважиной или атмосферой

9 трос: Непрерывное гибкое тяговое изделие в виде проволоки, каната или грузонесущего кабеля

10 стволовой проход: Соосное скважине или скважинному трубопроводу проходное отверстие устьевого оборудования

11 обвязывание (устья): Соединение обсадных колонн и (или) скважинных трубопроводов между собой через корпусные детали устьевого оборудования, в которых закрепляются и уплотняются верхние концы колонн труб, а также обеспечивается возможность контроля давления в пространстве между ними

12 манифольд: Система трубопроводов с необходимой запорной регулирующей и обратной арматурой, собранная по схеме, определяемой конкретным технологическим процессом

13 фланец: Часть фланцевого или хомутового соединения в виде уплотняемого кольцевого бурта или диска, соединяемая с аналогичной деталью с помощью соответственно крепежных изделий или разъемного хомута

14 стволовой фланец: Присоединительный фланец стволового прохода устьевого оборудования

15 фланцевая катушка: Соединительное приспособление с одноразмерными или разноразмерными фланцами на концах

ИНФОРМАЦИОННЫЕ ДАННЫЕ

1. РАЗРАБОТАН И ВНЕСЕН Министерством тяжелого машиностроения СССР

2. УТВЕРЖДЕН И ВВЕДЕН В ДЕЙСТВИЕ Постановлением Государственного комитета СССР по управлению качеством продукции и стандартам от 29.04.91 № 617

3. ВВЕДЕН ВПЕРВЫЕ

4. ПЕРЕИЗДАНИЕ. Август 2004 г.

СОДЕРЖАНИЕ

 




Rambler's Top100 Яндекс цитирования
  Copyright © 2008-2026, www.docload.ru