|
|
ГОСТ 8997-89 МЕЖГОСУДАРСТВЕННЫЙ СТАНДАРТ НЕФТЕПРОДУКТЫ ЭЛЕКТРОМЕТРИЧЕСКИЙ
МЕТОД ОПРЕДЕЛЕНИЯ ИПК
ИЗДАТЕЛЬСТВО СТАНДАРТОВ Москва МЕЖГОСУДАРСТВЕННЫЙ СТАНДАРТ
Дата введения 01.01.90 Настоящий
стандарт устанавливает метод определения бромных чисел и непредельных
углеводородов в нефтепродуктах. Стандарт
распространяется на прямогонные нефтяные дистилляты, 90 % которых выкипает до 330
°С и не содержащие углеводородов С1 - С4, на бензины (в том
числе этилированные), керосины, газойли, не содержащие в качестве добавок
спирты, кетоны, эфиры и амины, а также на смеси моноолефинов (тримеры и тетрамеры пропилена, димеры бутиленов, смеси гептенов, октенов
и ноненов). Максимальные
значения определяемого бромного числа для фракции, 90 % (по объему) которой выкипает до 205 °С, -100, от 205 до 330 °С - 10. Для
смесей моноолефинов определяемое бромное число от 95 до 165. Стандарт
не распространяется на нормальные альфа-олефины. Сущность
метода заключается в растворении испытуемого продукта в растворителе,
последующем титровании полученного раствора при температуре от 0 до 5 °С раствором бромид-бромата и определении бромного числа по количеству
бромид-бромата, израсходованного на титрование. Массовую
долю непредельных углеводородов определяют по бромному числу и средней молекулярной
массе испытуемого нефтепродукта. 1.
АППАРАТУРА, МАТЕРИАЛЫ И РЕАКТИВЫ
1.1. Прибор титровальный электрометрический с
высокоомической поляризацией, обеспечивающий поддержание между двумя
платиновыми электродами напряжение приблизительно 0,8 В с чувствительностью
около 50 мВ (приложение 1). Допускалось
до 01.07.93 применять приборы типа БЧ. Бюретки
1-2-10-0,05; 2-2-10-0,05; 3-2-10-0,05; 1-2-25-0,05; 2-2-25-0,05; 3-2-25-0,05 или 1-2-25-0,10; 2-2-25-0,10; 3-2-25-0,10 по ГОСТ
29251. Пипетки
4,5-1,2-1-0,01; 4,5-1,2-2-0,02; 6,7-1,2-5-0,05; 6,7-12-10-0,1; 6,7-1,2-25-0,2 по ГОСТ
29227. Колбы
мерные 1-500-1, 1-500-2; 2-1000-1; 2-1000-2; 1-50-1; 1-50-2 по ГОСТ
1770. Колба
Кн-1-500-29/32 ТС по ГОСТ
25336. Цилиндры
1-10; 1-250; 3-250; 1-1000 по ГОСТ
1770. Углерод
четыреххлористый, ч.д.а., по ГОСТ
20288 или 1,1,1-трихлорэтан. Допускается применять четыреххлористый углерод квалификации «ч.»,
предварительно осушенный (приложение 2). Циклогексен, ч., или диизобутен, ч., или их 10 %-ные растворы в бензоле. Бензол,
ч.д.а., по ГОСТ 5955. Метанол,
ч.д.а., по ГОСТ 6995, предварительно
очищенный (приложение 2). Кислота
азотная, ч.д.а., по ГОСТ 4461. Кислота
уксусная, ч.д.а., по ГОСТ 61. Кислота
соляная, ч.д.а., по ГОСТ 3118. Кислота
серная, ч.д.а., по ГОСТ 4204, разбавленная 1:5 дистиллированной водой. Калий
йодистый, ч.д.а., по ГОСТ 4232. Калий
бромистый, ч.д.а., по ГОСТ 4160. Калий
бромноватокислый, ч.д.а, по ГОСТ 4457. Натрий
серноватистокислый (тиосульфат натрия), ч.д.а., по ГОСТ
27068. Натрия
гидроокись, ч. Натрий
углекислый по ГОСТ
83. Крахмал,
раствор индикатора по ГОСТ
4919.1. Вода
дистиллированная рН-5,4 - 6,6. Растворитель:
1000 см3 растворителя готовят смешиванием 714 см3 уксусной
кислоты с 134 см3 четыреххлористого углерода или 1,1,1-трихлорэтана с добавлением 134 см3 метанола и
18 см3 раствора серной кислоты (1:5). Если
при приготовлении растворителя наблюдается разогревание, склянку со смесью
охлаждают. Растворитель должен храниться в темном и прохладном месте. Лед. Весы
лабораторные общего назначения с наибольшим пределом взвешивания 200 г, не ниже 2-го класса
точности. Шкаф
сушильный, обеспечивающий нагрев до 150 °С
с погрешностью не более 5 °С. Допускается
применять импортные реактивы квалификации не ниже указанной в стандарте. 2.
ПОДГОТОВКА К ИСПЫТАНИЮ
2.1. Отбор проб - по ГОСТ 2517. 2.2. Приготовление раствора
йодистого калия В
мерную колбу вместимостью 1000 см3 помещают 150 г йодистого
калия, растворяют в дистиллированной воде и объем раствора доводят до метки. 2.3. Приготовление раствора
бромид-бромата с (1/6KBr ´
KBrO3)
= 0,5 моль/дм3. В
мерную колбу вместимостью 1000 см3 помещают 51,0 г бромистого калия и 13,9 г бромноватокислого
калия, высушенного при 105 °С в течение 30 мин, растворяют в дистиллированной воде и доводят объем
раствора до метки. 2.3.1. Определение точной
концентрации раствора бромид-бромата Если
полученные бромные числа не соответствуют значениям, приведенным в табл. 1,
определяют уточненную концентрацию раствора бромид-бромата (0,5 моль/дм3). Для
этого в коническую колбу вместимостью 500 см3 наливают 50,0 см3 уксусной
кислоты и 1 см3 соляной кислоты плотностью не менее 1,15 г/см3. Раствор охлаждают в течение 10 мин на ледяной бане. К содержимому колбы при непрерывном
перемешивании с помощью бюретки добавляют 5 см3 раствора бромид-бромата по 1 - 2 капли в минуту. Колбу сразу же закрывают пробкой,
содержимое встряхивают и снова помещают в ледяную баню на 5 мин, затем постепенно добавляют 5 см3 раствора
йодистого калия. Содержимое колбы разбавляют 100
см3 воды и сразу же титруют
раствором тиосульфата натрия. Перед концом титрования добавляют 1 см3 раствора
крахмала и осторожно титруют до исчезновения синей окраски. Концентрацию
раствора (c) в моль/дм3
бромид-бромата вычисляют по формуле c = V0×c0/5, где V0 - объем раствора
тиосульфата натрия, израсходованного на титрование раствора бромид-бромата, см3; c0 - концентрация
раствора тиосульфата натрия, моль/дм3; 5 - объем раствора бромид-бромата, см3. 2.4. Приготовление раствора
тиосульфата натрия c0
(Na2S2O3) = 0,1 моль/дм3. В
мерной колбе вместимостью 1000 см3 растворяют 25 г
тиосульфата натрия в дистиллированной воде, добавляют 0,01 г углекислого натрия
(для стабилизации раствора), доводят объем раствора до метки дистиллированной
водой и перемешивают встряхиванием. Точную
концентрацию раствора определяют любым способом с погрешностью не более 0,0002 моль/дм3. Определение концентрации повторяют с периодичностью,
достаточной для регистрации изменения концентрации в 0,0005 моль/дм3. 2.5. Подготовка электродов Электроды
необходимо периодически (не менее одного раза в неделю) очищать 65 %-ной азотной кислотой, а
перед использованием промывать дистиллированной водой. 2.6. Проверка
реактивов и аппаратуры Перед
испытанием реактивы и аппаратуру проверяют определением бромного числа чистого
циклогексена или диизобутена в соответствии с разд. 3. Масса
пробы чистого циклогексена или диизобутена или их 10 %-ных растворов в
граммах, а также диапазоны значений бромных чисел, при которых реактивы и
аппаратура считаются пригодными для проведения испытания, приведены в табл. 1. Таблица 1
Расчетные
и экспериментальные значения для других соединений приведены в приложении 4. 2.7. Предварительно определяют бромное число на пробе массой 2 г. 2.8. Массу пробы для
испытания устанавливают по табл. 2 в
зависимости от результатов предварительного определения бромного числа (п. 2.7) так, чтобы объем раствора бромид-бромата, израсходованного на титрование, не превышал 10 см3. Таблица 2
Примечание.
Если расход раствора бромид-бромата превышает 10 см, при титровании может произойти
разделение реакционной смеси на два слоя, что осложнит растворение пробы в
растворителе, особенно при испытании проб с широким диапазоном температур
кипения. Для повышения растворимости пробы добавляют небольшое количество
бензола. 3.
ПРОВЕДЕНИЕ ИСПЫТАНИЯ
3.1. Каждое определение
бромного числа начинают с проведения контрольного опыта по п. 3.2, используя вместо испытуемого
раствора 5 см3 четыреххлористого углерода или 1,1,1-трихлорэтана. Расход бромид-бромата не должен превышать 0,1 см3. 3.2. В мерную колбу вместимостью 50 см3 наливают 10 см3 четыреххлористого углерода (1,1,1-трихлорэтана) и пипеткой добавляют пробу в соответствии с табл. 2.
Массу пробы вычисляют по разности масс до и после добавления пробы с точностью
до 0,001 г. Затем объем раствора в колбе доводят до метки четыреххлористым углеродом (1,1,1-трихлорэтаном) и
перемешивают. 3.3. Титровальную ячейку охлаждают до температуры от 0 до 5 °С и поддерживают ее в процессе титрования. В титровальную ячейку наливают 110 см3 растворителя и включают мешалку. Частота вращения мешалки
должна быть не менее 20 с-1. Включают титратор.
Устанавливают стрелку титратора на отметку «нуль» и добавляют 1 или 2 капли раствора бромид-бромата, при этом стрелка прибора должна установиться на
заданной конечной точке и остаться в таком положении не менее 30 с. 3.4. В титровальную ячейку
пипеткой переносят 5 см3 раствора, приготовленного по п. 3.2, и тируют раствором бромид-бромата до тех пор, пока
стрелка измерительного прибора не начнет отклоняться, после чего титрант добавляют по каплям. Титруют, пока стрелка не
зарегистрирует заданную конечную точку и останется в данном положении не менее 30 с. 4.
ОБРАБОТКА РЕЗУЛЬТАТОВ
4.1. Бромное число выражают
в граммах брома, присоединяющегося к 100 г
нефтепродукта. 4.2. Бромное число
испытуемой пробы (БЧ) вычисляют по формуле БЧ = (V1
- V2)с×0,0799×100/m, где V1 - объем раствора
бромид-бромата, израсходованный на титрование аликвотной
доли испытуемого раствора, см3; V2 - объем раствора
бромид-бромата, израсходованный на титрование в контрольном опыте, см3; c - концентрация бромид-бромата, c (1/6KBr, KBrO3)
= 0,5 моль/дм3; m - масса пробы, г; 0,0799 - количество брома,
соответствующее 1,0 см3 0,1 моль/дм3
раствора тиосульфата натрия, г. 4.3. За результат испытания
принимают среднее арифметическое результатов двух определений. Результат
округляют до первого десятичного знака. 5.
ТОЧНОСТЬ МЕТОДА
5.1. Сходимость Два
результата определений, полученные одним исполнителем, признаются достоверными
(с 95 %-ной
доверительной вероятностью), если расхождение
между ними не превышает значения, приведенного на черт. 1 или 2 для
среднего арифметического результата. ТОЧНОСТНЫЕ ХАРАКТЕРИСТИКИ
РЕЗУЛЬТАТОВ ОПРЕДЕЛЕНИЯ ДЛЯ НЕФТЕПРОДУКТОВ, 90 % КОТОРЫХ ВЫКИПАЕТ ДО 205 °С 1 - сходимость; 2 - воспроизводимость Черт. 1 5.2. Воспроизводимость Два
результата испытаний, полученные разными исполнителями, признаются достоверными
(с 95 %-ной
доверительной вероятностью), если расхождение между ними не превышает значения,
приведенного на черт. 1 или 2 для
среднего арифметического результата. ТОЧНОСТНЫЕ ХАРАКТЕРИСТИКИ
РЕЗУЛЬТАТОВ ОПРЕДЕЛЕНИЙ ДЛЯ НЕФТЕПРОДУКТОВ 90 % КОТОРЫХ ВЫКИПАЕТ ОТ 205 ДО 330 °С 1 - сходимость; 2 - воспроизводимость Черт. 2 6.
ОПРЕДЕЛЕНИЕ МАССОВОЙ ДОЛИ НЕПРЕДЕЛЬНЫХ УГЛЕВОДОРОДОВ
6.1. Массовую долю непредельных углеводородов (H)
в процентах вычисляют по формуле H = БЧ×М/160, где
БЧ - бромное число испытуемого нефтепродукта; М - средняя
молекулярная масса непредельных углеводородов испытуемого нефтепродукта
(приложение 5); 160 -
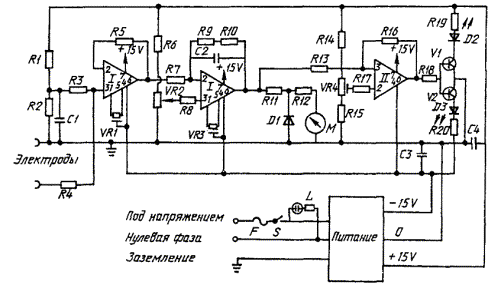
молекулярная масса брома. ПРИЛОЖЕНИЕ 1
Справочное ОПИСАНИЕ
ПРИБОРА ДЛЯ ОПРЕДЕЛЕНИЯ БРОМНЫХ ЧИСЕЛ
Транзисторная схема электрометрического прибора для титрования приведена
на черт. 3. Черт. 3 1. Пленочные сопротивления на 0,5 Вт R1-10 кОм R9-330 R15-180 Ом R2-560 Ом R10-47 кОм R16-1 кОм R3-100
кОм R11-4,7 кОм R17-10
кОм R4-1 кОм R12-180 кОм R18-6,9 кОм (100 кОм, если применяется R19-1,2 кОм 100
мА - метр) R20-1,2 кОм R6-6,8 кОм R13-10 кОм R7-3,3 кОм R14-560 Ом R8-2,7 кОм 2. Переменные сопротивления: VR1-10
кОм VR3-10 кОм VR2-470 кОм VR4-1 кОм 10 - вращательное 3. Конденсаторы: С1-0,2 мкФ С3-0,1 мкФ С2-10 мкФ С4-0,1 мкФ 4. Интегральная схема: I-AD741K,
II-SN741P 5. Диод D1-15920 или 1N4001; D2-LED, тип А; D3-LED, RL21. 6. Транзистор V1-BC 182LB или 2N3302, 2N4953, 2N5376, 2N5377, SK 3122; V2-BC 212LB или 2N2907, 2N3251, 2N3486, 2N3505, 2N3672, 2N3673, 2N4143, 2N4228, SK 3114. 7. Предохранитель P - 100 мкА. 8. Измеритель M - 50 или 100 мкА. 9. Выключатель S. 10. Световое сигнализирующее
устройство L. В
комплект прибора входят: 1) электроды из платиновой проволоки длиной около 12 мм и диаметром 1 мм. Расстояние
между электродами должно быть 5 мм, и они должны
погружаться в титруемый раствор приблизительно на 55 мм ниже уровня; 2) мешалка в виде стеклянной палочки или магнитная мешалка. Рекомендуемый
вид мешалки приведен в приложении 3
(черт. 4); 3) стеклянный титровальный сосуд с кожухом
высотой около 120 мм и внутренним диаметром около 45
мм. ПРИЛОЖЕНИЕ 2
Справочное ПОДГОТОВКА
РАСТВОРИТЕЛЕЙ
1. Четыреххлористый углерод по ГОСТ
20288 квалификации «ч» дважды обрабатывают 10 %-ным раствором гидроокиси натрия (при соотношении объемов 1:1), промывают дистиллированной водой, высушивают над
хлористым кальцием и перегоняют с дефлегматором. Отбирают фракцию, выкипающую в
пределах 76 - 77,5 °С при давлении 760 мм
рт. ст. 2. Спирт метиловый по ГОСТ 6995 выдерживают в
течение 1 сут
при температуре окружающей среды над твердой гидроокисью натрия и перегоняют с
елочным дефлегматором. Отбирают фракцию, выкипающую в пределах 64 - 67 °С при давлении 760 мм
рт. ст. ПРИЛОЖЕНИЕ 3
Справочное РЕКОМЕНДУЕМЫЙ
ТИП МЕШАЛКИ
Каждый
ряд лопаток состоит из двух круговых стеклянных пластинок толщиной 1,5 мм и диаметром 7 мм, прикрепленных под углом 45° к палочке, а относительно друг друга под углом 90°. По окружности палочки лопатки расположены под углом 22°. Мешалку устанавливают на расстоянии приблизительно 5 мм от дна титровального сосуда и приводят в движение электродвигателем. Черт.
4 ПРИЛОЖЕНИЕ 4
Справочное РАСЧЕТНЫЕ
ЭКСПЕРИМЕНТАЛЬНЫЕ ЗНАЧЕНИЯ БРОМНЫХ ЧИСЕЛ РАЗЛИЧНЫХ СОЕДИНЕНИЙ
Бром
может вступать в реакции присоединения, замещения, окисления и
взаимодействовать с соединениями, содержащими серу, азот и кислород. На
скорость реакций влияют характер растворителя, интенсивность перемешивания и
воздействие света. Реакции присоединения происходят быстро и полностью.
Присоединение брома легче протекает при температурах около или ниже 0 °С.
Снижение температуры реакции, уменьшение времени контакта и концентрации
свободного брома тормозит реакции замещения и окисления. Опыт
показывает, что нельзя подобрать такие условия реакции, чтобы она протекала
только в одном направлении. Поэтому условия определения бромного числа
устанавливают эмпирически так, чтобы величина бромного числа продукта отвечала
соответствующим величинам стандартных образцов (табл. 1). Возможность
протекания нескольких параллельных реакций ведет к некоторым неточностям
результатов. В
табл. 3
приведены бромные числа различных нефтяных углеводородов и других соединений,
находящихся в нефти, определенные
электрометрическим методом. Таблица 3
ПРИЛОЖЕНИЕ 5
Обязательное ЗАВИСИМОСТЬ
МОЛЕКУЛЯРНОЙ МАССЫ НЕПРЕДЕЛЬНЫХ УГЛЕВОДОРОДОВ ОТ ТЕМПЕРАТУРЫ ВЫКИПАНИЯ 50 %
ФРАКЦИИ (ПО ОБЪЕМУ), ОПРЕДЕЛЯЕМОЙ ПО ГОСТ 2177
Таблица 4
ИНФОРМАЦИОННЫЕ
ДАННЫЕ
1.
РАЗРАБОТАН
И ВНЕСЕН Министерством нефтеперерабатывающей и нефтехимической промышленности
СССР 2.
УТВЕРЖДЕН
И ВВЕДЕН В ДЕЙСТВИЕ Постановлением Государственного комитета СССР по стандартам
от 05.06.89 № 1422 3.
Стандарт
соответствует СТ СЭВ 6171-88 4.
В
стандарт введен международный стандарт ИСО 3839-78 5.
ВЗАМЕН
ГОСТ 8997-59 6.
ССЫЛОЧНЫЕ
НОРМАТИВНО-ТЕХНИЧЕСКИЕ ДОКУМЕНТЫ
7.
Ограничение
срока действия снято по протоколу № 7-95 Межгосударственного
Совета по стандартизации, метрологии и сертификации (ИУС 11-95) 8.
ПЕРЕИЗДАНИЕ.
Ноябрь 2002 г. СОДЕРЖАНИЕ | ||||||||||||||||||||||||||||||||||||||||||||||||||||||||||||||||||||||||||||||||||||||||||||||||||||||||||||||||||||||||||||||||||||||||||||||||||||||||||||||||||||||||||||||||||||||||||||||||||||||||||||||||||||||||||||||||||||||||||||||||||||||||||||||||||||||||||||||||||||||||||||||||||||||||||||||||||||||||||||||||||||||||||||||||||||||||||||||||||||||||||||||||||||||||||||||||||||||||||||||||||||||||||||||||||||||||||||||||||||||||||||||||||||||||||||||||||||||||||||||||||||||||||||||||||||||||||||||||||||||||||||||||||||||||||||||||||||||||||||||||||||||||||||||||||||||||||||||||||||||||||||||||||||||||||||||||||||||||||||||||||||||||||||||||||||||||||||||||||||||||||||||||||||||||||||||||||||||||||||||||||||||||||||||||||||||||||||||||||||||||||||||||||||||||||||||||||||||||||||||||||||||||||||||||||||||||||||||||||||||||||||||||||||||||||||||||||||||||||||||||||||||||||||||||||||||||||||||||||||||||||||||||||||||||||||||||
|
|
|
|