Бесплатная библиотека стандартов и нормативов www.docload.ru

Все документы, размещенные на этом сайте, не являются их официальным изданием и предназначены исключительно для ознакомительных целей.
Электронные копии этих документов могут распространяться без всяких ограничений. Вы можете размещать информацию с этого сайта на любом другом сайте.
Это некоммерческий сайт и здесь не продаются документы. Вы можете скачать их абсолютно бесплатно!
Содержимое сайта не нарушает чьих-либо авторских прав! Человек имеет право на информацию!

 

ГОСТ Р 50725-94

ГОСУДАРСТВЕННЫЙ СТАНДАРТ РОССИЙСКОЙ ФЕДЕРАЦИИ

 

 

СОЕДИНИТЕЛЬНЫЕ ЛИНИИ

В КАНАЛАХ ИЗОБРАЖЕНИЯ

ОСНОВНЫЕ ПАРАМЕТРЫ

МЕТОДЫ ИЗМЕРЕНИЙ

 

 

ГОССТАНДАРТ РОССИИ

Москва

 

Предисловие

1 РАЗРАБОТАН И ВНЕСЕН Министерством связи Российской Федерации

2 ПРИНЯТ И ВВЕДЕН В ДЕЙСТВИЕ Постановлением Госстандарта России от 26.12.94 № 360

3 ВВЕДЕН ВПЕРВЫЕ

ГОСТ Р 50725-94

ГОСУДАРСТВЕННЫЙ СТАНДАРТ СОЮЗА ССР

СОЕДИНИТЕЛЬНЫЕ ЛИНИИ

В КАНАЛАХ ИЗОБРАЖЕНИЯ

Основные параметры. Методы измерений

Television broadcasting picture channels connecting lines.

  Basic parameteis. Methods of measurements

Дата введения 1996-01-01

1 ОБЛАСТЬ ПРИМЕНЕНИЯ

Настоящий стандарт распространяется на соединительные линии в каналах изображения, организованных телевизионными стволами радиорелейных систем передачи, волоконнооптическими системами передачи, коаксиальными кабелями, и устанавливает требования к основным параметрам соединительных линий и методы их измерений.

В настоящем стандарте приняты термины, определения и сокращения по ГОСТ 21879. Перечень основных параметров определен по ГОСТ 19463.

2 НОРМАТИВНЫЕ ССЫЛКИ

В стандарте имеются ссылки на следующие стандарты.

ГОСТ 7845-92 Система вещательного телевидения. Основные параметры. Методы измерений

ГОСТ 18471-83 Тракт передачи изображения вещательного телевидения. Звенья тракта и измерительные сигналы

ГОСТ 19463-89 Магистральные каналы изображения радиорелейных и спутниковых систем передачи. Основные параметры и методы измерений

ГОСТ 21879-88 Телевидение вещательное. Термины и определения

3 ОБЩИЕ ПОЛОЖЕНИЯ

3.1 Соединительные линии (СЛ) предназначены для соединения телевизионных аппаратных телерадиоцентров с междугородными телевизионными аппаратными, магистральными или внутризоновыми каналами изображения, телевизионными передатчиками и междугородных телевизионных аппаратных с магистральными или внутризоновыми каналами изображения и телевизионными передатчиками.

3.2 СЛ не имеют переприемов по видеочастоте.

3.3 СЛ организуются телевизионными стволами радиорелейных систем передачи, волоконнооптическими системами передачи, коаксиальными кабелями.

3.4 Нормы на основные параметры СЛ, организуемые телевизионными стволами радиорелейных систем передачи и волоконнооптическими системами передачи, приведены в таблицах  1-31)

Таблица 1

Нормы на основные параметры СЛ в каналах изображения

Наименование параметра

Норма

Импульсная характеристика: трафарет, определяющий поле допуска и соответствующий К-   факгору, равному 3

По рисунку 1 и таблице 2

Относительное отклонение размаха синусквадратичного импульса от размаха прямоугольного импулвса, %, в пределах

±6

Относительная неравномерность плоской части прямоугольных импульсов частоты строк:

 

- отклонение от середины плоской части импульса, %, в пределах

±1,75

- размах, %, не более

3,5

Относительная неравномерность плоской части прямоугольных импульсов частоты полей:

 

- отклонение от середины плоской части импульса, %, в пределах

±2,0

- размах, %, не более

,0

Различие в усилении сигналов яркости и пределах цветности, %, в пределах

±6,0

Расхождение во времени между сигналами яркости и цветности, нс , в пределах

58

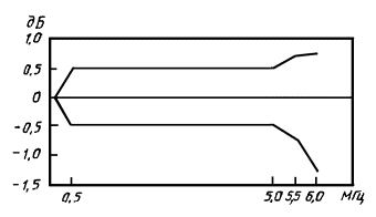
Неравномерность АЧХ

По рисунку 2 и таблице 3

Нелинейность сигнала яркости, %, не более

2,5

Дифференциальное усиление, %, в пределах

±5,0

Дифференциальная фаза, град, в пределах

±5,0

Отклонение размаха синхронизирующих импульсов строк от номинальною значения, %, в пределах

±5,0

Перекрестное искажение «цветность-яркость», %, в пределах

±2,0

Отношение сигнала яркости к взвешенной  флюктуационной помехе в полосе частот 10 кГц - 6 МГц в течение 99,0 % времени любого месяца (при измерении универсальным взвешивающим фильтром с постоянной времени t = 0,245 мкс), дБ, не менее

63,0

Отношение сигнала яркости к одночастотной периодической помехе в полосе 1 кГц - 6 МГц, дЕ, не менее

60,0

Отношение сигнала яркости к фоновой помехе, дБ, не менее

45,0

Отклонение установочного коэффициента передачи канала от номинального значения, дБ, в пределах

±0,5

Изменение коэффициента передачи канала за период средней продолжительности, дБ, в пределах

±0,3

1) СЛ с преобразованием спектра

Рисунок 1

Рисунок 2

Таблица 2

Координаты точек перегиба импульсной характеристики (рисунок 1)

Время, мкс

Предельные отклонения формы импульсной характеристики, %

0,16

±6

0,32

±3

0,64

±1,5

Таблица 3

Координаты точек перегиба АЧХ (рисунок 2)

Частота,

МГц

Значения неравномерности АЧХ, дБ

минимальные

максимальные

0,15

0

0

0,5-5,0

-0,5

+0,5

5,5

-0,7

+0,7

6,0

-1,2

+0,75

3.5 Нормы на основные параметры СЛ, организуемые коаксиальным кабелем с корректором, приведены в таблице 41)

Таблица 4

Нормы на основные Параметры СЛ, организуемых коаксиальным кабелем с корректором

Наименование параметра

N =1

Импульсная характеристика: относительное изменение размаха синусквадратичного импульса от размаха прямоугольного импульса, %, в пределах

±1,0

Относительная неравномерность плоской части прямоугольных импульсов частоты строк, %, в пределах

±0,5

размах, %, в пределах

1,0

Относительная неравномерность плоской части прямоугольных импульсов частоты полей, %, в пределах

±0,5

размах, %

1,0

Различие в усилении сигналов яркости и цветности, %, в пределах

±2,0

Расхождение во времени между сигналами яркости и цветности, нс, в пределах

±15

Неравномерность амплитудно-частотной характеристики в диапазоне частот 50 Гц - 6 МГц

±0,2

Нелинейность сигнала яркости, %

£ 1,0

Дифференциальное усиление, %, в пределах

±1,0

Дифференциальная фаза, град, в пределах

±1,0

Отклонение размаха синхронизирующих импульсов строк от номинального значения, %, в пределах

±1,0

Отношение сигнала яркости к взвешенной флюктуационной помехе в полосе частот 10 кГц - 6 МГц в течение 99,0 % времени любого месяца (при измерении универсальным взвешивающим фильтром с постоянной времени t = 0,245 мкс), дБ, не менее

70

Отношение сигнала яркости к фоновой помехе, дБ, не менее

50

1) СЛ без преобразования спектра

4 ОСНОВНЫЕ ПАРАМЕТРЫ

Нормируются следующие основные параметры СЛ:

- импульсная характеристика

- относительная неравномерность плоской части прямоугольных импульсов частоты строк

- относительная неравномерность плоской части прямоугольных импульсов частоты полей

- различие в усилении сигналов яркости и цветности

- расхождение во времени между сигналами яркости и цветности

- амплитудно-частотная характеристика (АЧХ);

- нелинейность сигнала яркости;

- дифференциальное усиление;

- дифференциальная фаза;

- отклонение размаха синхронизирующих импульсов строк от номинального значения;

- перекрестное искажение «цветность-яркость»;

- отношение сигнала яркости к взвешенной флюктуационной помехе;

- отношение сигнала яркости к одночастотной периодической помехе;

- отношение сигнала яркости к фоновой помехе;

- отклонение установочного коэффициента передачи канала от номинального значения;

- изменение коэффициента передачи канала за период средней продолжительности;

5 МЕТОДЫ ИЗМЕРЕНИЙ

5.1 Требования к средствам измерений 1)

1)При  отсутствии средств изменений необходимой точности рекомендуется перед изменениями сверить их в режиме, обеспечивающем заданную точность.

5.1.1 Генератор телевизионных измерительных сигналов должен обеспечивать:

- формирование измерительных сигналов I, II, III , IV испытательных строк по ГОСТ 18471 и введение этих сигналов в испытательные строки гасящего импульса полей полного цветового телевизионного сигнала или любого из измерительных периодических сигналов 1; 2; 3.1 и 3.2 по ГОСТ 18471, возможность включения сигнала гашения полей при передаче измерительных периодических сигналов 1; 2; 3.1 и 3.2 по ГОСТ 18471;

- выходное сопротивление 75 Ом при затухании несогласованности не менее 34 дБ.

Примечание - Временная нестабильность строчных синхроимпульсов должна соответствовать ГОСТ 7845, частота строк f = (15625 ± 0,016) Гц.

5.1.2 Осциллограф с блоком выделения строки со следующими основными параметрами:

- вертикальный размер осциллограммы - не менее 80 мм;

- входное сопротивление - 75 Ом при затухании несогласованности не менее 34 дБ;

- минимальный коэффициент вертикального отклонения - 0,01 В/см;

- основная погрешность измерения временных интервалов - не более 5 %;

- время установления переходного процесса - не более 30 нс;

- основная погрешность измерения размахов сигналов от 0,05 до 1,5 В - не более 1 %;

- неравномерность (АЧХ) канала вертикального отклонения в полосе частот от 0 Гц по постоянному току до 6 МГц - не более 2%;

- наличие режима развертки любой телевизионной строки или ее части в, каждом; поле.

5.1.3 Анализатор искажений телевизионных измерительных сигналов со следующими основными характеристиками:

- входное сопротивление - 75 Ом, при затухании несогласованности не менее 34 дБ;

- отклонение размаха импульса опорного белого от номинального значения с погрешностью, не превышающей ± (0,5 + 0,1/В/) 1) ;

- отклонение размаха синхронизирующих импульсов строк от номинального значения с погрешностью, не превышающей ± (1 + 0,1/B/) 1) ;

- неравномерность плоской части импульсов частоты полей с погрешностью, не превышающей ± (0,5 + 0,1/В/)

- неравномерность плоской части импульса опорного белого с погрешностью, не превышающей ± (0,5 + 0,1/В/)

- отклонение размаха синусквадратичного 2 Т импульса от размаха импульса опорного белого с погрешностью, не превышающей

±(0,5 + 0,1/В) 1);

- неравномерность АЧХ на шести дискретных частотах с погрешностью, не превышающей ± (1 + 0,1/В/)1);

- различие в усилении сигналов яркости и цветности с погрешностью, не превышающей ± (1 + 0,1/В/)1);

- расхождение во времени сигналов яркости и цветности с погрешностью, не превышающей ± (5 + 0,1/В/ 1) ;

- различие в усилении сигналов яркости и цветности с погрешностью, не превышающей ± (1 + 0,1/В/)1);

- нелинейность сигнала яркости с погрешностью, не превышающей ± (1 + 0,1/В/) 1) ;

- дифференциальное усиление с погрешностью, не превышающей ± (0,5 + 0,1/В/) 1) ;

-дифференциальную фазу с погрешностью, не превышающей ± (0,5 + 0,1/В/) 1) ;

- перекрестное искажение «цветность-яркость» с погрешностью, не превышающей ± (0,5 + 0,1/В/) 1) ;

- отношение сигнала яркости к эффективному напряжению взвешенного флюктуационного шума при использовании универсального взвешивающего фильтра с погрешностью, не превышающей ±1,0 дБ в диапазоне до 60 дБ, с погрешностью, не превышающей ±2,0 дБ в диапазоне 60-70 дБ;

- отношение сигнала яркости к размаху фоновой помехи частоты сети и ее гармоник с погрешностью, не превышающей ± 1,0 дБ в диапазоне до 50 дБ, с погрешностью ± 2,0 дБ в диапазоне 50-60 дБ.

1) В -величина измеряемого параметра.

5.1.4 Вольтметр эффективных значений сигналов произвольной формы для измерения эффективного значения флюктуационной помехи со следующими основными параметрами:

- входное сопротивление - 75 Ом при затухании несогласованности не менее 34 дБ;

- пределы измерений - 0,2-25 мВ;

- диапазон спектра частот измеряемых сигналов - 0,01-6 МГц;

- основная погрешность измерения не более ±5,0 %.

5.1.5 Селективный вольтметр эффективных значений со следующими основными параметрами:

- входное сопротивление - 75 Ом при затухании несогласованности не менее 34 дБ;

- диапазон измерений - 0,15-10 мВ;

- диапазон спектра частот измеряемых сигналов - 0,001-6 МГц;

- основная погрешность измерения - не более +5 %.

5.2 Подготовка к измерениям

5.2.1 Перед началом измерений измерительную аппаратуру подключают к измеряемой СЛ.

5.2.2 Корпуса всех устройств, входящих в схему измерения, заземляют.

5.2.3 Измерения проводят при температуре окружающей среды от 5 до35°С.

5.2.4 Измерительную аппаратуру включают не менее чем за 30 мин до начала измерений.

5.2.5 При измерениях по периодическим измерительным сигналам генератор измерительных сигналов должен работать в режиме формирования периодических измерительных сигналов 1 и 2 (без кадрового синхросигнала).

При измерениях измерительным сигналом испытательных строк генератор должен работать в режиме формирования одного из периодических измерительных сигналов 1; 2; 3.1, 3.2 с передачей в интервале гасящего импульса полей измерительных сигналов I, II, III , IV испытательных строк (в строках с номерами 20, 21, 333, 334 по ГОСТ 7845) либо в режиме введения этих измерительных сигналов в интервал гасящего импульса полей полного цветового телевизионного сигнала. В случае измерений, осуществляемых дважды при передаче через канал изображения измерительных сигналов 3.1 и 3.2 по ГОСТ 18471, результатом измерения считают значения, наиболее отличающиеся от нормы.

5.3 Проведение измерений

Измерения проводят по ГОСТ 19463.

Ключевые слова: соединительные линии, каналы изображения, параметры, нормы, методы измерений

СОДЕРЖАНИЕ

 

 




Rambler's Top100 Яндекс цитирования
  Copyright © 2008-2026, www.docload.ru