Бесплатная библиотека стандартов и нормативов www.docload.ru

Все документы, размещенные на этом сайте, не являются их официальным изданием и предназначены исключительно для ознакомительных целей.
Электронные копии этих документов могут распространяться без всяких ограничений. Вы можете размещать информацию с этого сайта на любом другом сайте.
Это некоммерческий сайт и здесь не продаются документы. Вы можете скачать их абсолютно бесплатно!
Содержимое сайта не нарушает чьих-либо авторских прав! Человек имеет право на информацию!

 

ГОСТ P МЭК 923-98

ГОСУДАРСТВЕННЫЙ СТАНДАРТ РОССИЙСКОЙ ФЕДЕРАЦИИ

УСТРОЙСТВА ДЛЯ ЛАМП

АППАРАТЫ ПУСКОРЕГУЛИРУЮЩИЕ ДЛЯ РАЗРЯДНЫХ ЛАМП

(кроме трубчатых люминесцентных ламп)

ТРЕБОВАНИЯ К РАБОЧИМ ХАРАКТЕРИСТИКАМ

 

ГОССТАНДАРТ РОССИИ

Москва

Предисловие

1. РАЗРАБОТАН И ВНЕСЕН Всероссийским научно-исследовательским, проектно-конструкторским светотехническим институтом им. СИ. Вавилова (ООО «ВНИСИ»)

2. ПРИНЯТ И ВВЕДЕН В ДЕЙСТВИЕ Постановлением Госстандарта России от 24 февраля 1998г. № 24

3. Настоящий стандарт представляет собой полный аутентичный текст международного стандарта МЭК 923 (1995) «Устройства для ламп. Аппараты пускорегулирующие для разрядных ламп (кроме трубчатых люминесцентных ламп). Требования к рабочим характеристикам»

Содержание

ВСТУПЛЕНИЕ

Часть 0 ОБЩИЕ ТРЕБОВАНИЯ

1. ОБЛАСТЬ РАСПРОСТРАНЕНИЯ

2. ОПРЕДЕЛЕНИЯ

3. ОБЩИЕ ТРЕБОВАНИЯ К ИСПЫТАНИЯМ

4. МАРКИРОВКА

5. ПРА, ПРЕДНАЗНАЧЕННЫЕ ДЛЯ РАБОТЫ ПРИ РАЗЛИЧНЫХ ЗНАЧЕНИЯХ НАПРЯЖЕНИЯ СЕТИ

6. КОЭФФИЦИЕНТ МОЩНОСТИ

7. ТОК, ПОТРЕБЛЯЕМЫЙ ИЗ СЕТИ

8. ФОРМА КРИВОЙ ТОКА

9. ЗАЩИТА ОТ МАГНИТНЫХ ВЛИЯНИЙ

10. ЗАЖИГАЮЩИЕ УСТРОЙСТВА

Часть 1 ЭЛЕКТРИЧЕСКИЕ ТРЕБОВАНИЯ К ПРА ДЛЯ РТУТНЫХ ЛАМП ВЫСОКОГО ДАВЛЕНИЯ

11. НАСТРОЙКА ПРА

12. ТОК КОРОТКОГО ЗАМЫКАНИЯ

13. НАПРЯЖЕНИЕ ХОЛОСТОГО ХОДА (минимальное значение для стабильной работы)

Часть 2 ЭЛЕКТРИЧЕСКИЕ ТРЕБОВАНИЯ К ПРА ДЛЯ НАТРИЕВЫХ ЛАМП НИЗКОГО ДАВЛЕНИЯ

14. НАСТРОЙКА ПРА

15. ТОК КОРОТКОГО ЗАМЫКАНИЯ И ПУСКОВОЙ РЕЖИМ

16. НАПРЯЖЕНИЕ ХОЛОСТОГО ХОДА (минимальное значение для стабильной работы)

Часть 3 ЭЛЕКТРИЧЕСКИЕ ТРЕБОВАНИЯ К ПРА ДЛЯ МЕТАЛЛОГАЛОГЕННЫХ ЛАМП

17. НАСТРОЙКА ПРА

18. ТОК КОРОТКОГО ЗАМЫКАНИЯ И ПУСКОВОЙ РЕЖИМ

19. НАПРЯЖЕНИЕ ХОЛОСТОГО ХОДА (минимальное значение для стабильной работы)

Часть 4 ЭЛЕКТРИЧЕСКИЕ ТРЕБОВАНИЯ К ПРА ДЛЯ НАТРИЕВЫХ ЛАМП ВЫСОКОГО ДАВЛЕНИЯ

20. НАСТРОЙКА ПРА

21. ТОК КОРОТКОГО ЗАМЫКАНИЯ

22. НАПРЯЖЕНИЕ ХОЛОСТОГО ХОДА

ПРИЛОЖЕНИЕ А (обязательное) ДРОССЕЛИ ОБРАЗЦОВЫЕ ИЗМЕРИТЕЛЬНЫЕ

ПРИЛОЖЕНИЕ В (обязательное) НОМИНАЛЬНЫЕ ЛАМПЫ

ПРИЛОЖЕНИЕ С (обязательное) ОБЩИЕ ТРЕБОВАНИЯ К ИСПЫТАНИЯМ

ПРИЛОЖЕНИЕ D (обязательное) ПОЯСНЕНИЯ ИЗМЕРЕНИЙ НАСТРОЙКИ ПРА С УЧЕТОМ ОСОБЕННОСТИ ФОРМЫ КРИВОЙ РАБОЧЕГО ТОКА НАТРИЕВЫХ ЛАМП ВЫСОКОГО ДАВЛЕНИЯ

ПРИЛОЖЕНИЕ Е (справочное) СООТВЕТСТВИЕ СТАНДАРТОВ МЭК ГОСУДАРСТВЕННЫМ СТАНДАРТАМ

 

ГОСУДАРСТВЕННЫЙ СТАНДАРТ РОССИЙСКОЙ ФЕДЕРАЦИИ

Устройства для ламп

АППАРАТЫ ПУСКОРЕГУЛИРУЮЩИЕ ДЛЯ РАЗРЯДНЫХ ЛАМП

(кроме трубчатых люминесцентных ламп)

Требования к рабочим характеристикам

Auxiliaries for lamps. Ballasts for discharge lamps (excluding tubular fluorescent lamps). Performance requirements

Дата введения 1998-07-01

ВСТУПЛЕНИЕ

Настоящий стандарт устанавливает рабочие характеристики пускорегулирующих аппаратов (ПРА) для разрядных ламп. Стандарт должен применяться совместно с МЭК 60922, требованиям которого должны соответствовать все ПРА, описанные настоящим стандартом.

Чтобы обеспечить удовлетворительные рабочие характеристики разрядных ламп и предназначенных для них ПРА, необходимо скоординировать отдельные рабочие характеристики указанных изделий. Поэтому важно, чтобы условия технических измерений были отработаны на определенном базовом образце, который должен быть стабильным и воспроизводимым.

Эти условия могут выполняться специально изготовленными или отобранными индуктивными аппаратами, так называемыми «дросселями образцовыми измерительными» (ДОИ). Такие аппараты могут использоваться для испытания серийных ПРА и отбора номинальных ламп.

Кроме того, испытания ПРА требуют точной трактовки методов их проведения. Как правило, эти испытания следует проводить с номинальными лампами, в частности сравнением результатов, полученных для этих ламп, включаемых с испытуемым ПРА и ДОИ.

Из-за специфики характеристик разрядных ламп при испытаниях должны рассматриваться два диапазона напряжения сети. При проверке требований безопасности используют классический диапазон колебаний напряжения сети от 90 до 110% нормируемого значения, проверку параметров рабочего режима проводят в диапазоне колебаний от 92 до 106% нормируемого значения.

Часть 0 ОБЩИЕ ТРЕБОВАНИЯ

1. ОБЛАСТЬ РАСПРОСТРАНЕНИЯ

Настоящий стандарт устанавливает требования к рабочим характеристикам ПРА для разрядных ламп, таких как ртутные лампы высокого давления, натриевые лампы низкого и высокого давления и металлогалогенные лампы. Каждая часть устанавливает специфические требования к соответствующим типам ПРА. Стандарт распространяется на индуктивные ПРА, предназначенные для включения в сеть переменного тока напряжением до 1000 В частоты от 50 до 60 Гц, работающие с разрядными лампами, нормируемая мощность, размеры и характеристики которых регламентируются соответствующими стандартами МЭК.

Настоящий стандарт применяют совместно с МЭК 60922.

Примечания

1. Разрядные лампы некоторых типов требуют применения зажигающих устройств.

2. Возможное распространение настоящего стандарта на ПРА, содержащие соединенные последовательно с ними конденсаторы, находится в стадии рассмотрения.

3. Рабочие характеристики ПРА для трубчатых люминесцентных ламп приведены в МЭК 921.

1.1. Нормативные ссылки

В следующих нормативных документах содержатся положения, на которые в виде ссылок указывается в тексте настоящего стандарта.

На момент издания настоящего стандарта указаны действующие редакции. Все нормативные документы подвергают пересмотру и частичным согласованным изменениям, поэтому необходимо учитывать возможность применения для настоящего стандарта более поздних изданий нормативных документов, указанных ниже. Члены МЭК и ИСО ведут регистрацию действующих международных стандартов.

МЭК 188 (1974)* Лампы ртутные высокого давления

МЭК 192 (1973) Лампы натриевые низкого давления

МЭК 410 (1973) Планы и правила выборочного контроля по качественным признакам

МЭК 555-2 (1982) Помехи в электрических сетях, вызванные электробытовыми приборами и аналогичным электрическим оборудованием. Часть 2. Гармоники. Изменение № 2 (1988)

МЭК 662 (1980) Лампы натриевые высокого давления

МЭК 921 (1988)* Аппараты пускорегулирующие для трубчатых люминесцентных ламп. Требования к рабочим характеристикам

МЭК 60922 (1997)* Устройства для ламп. Аппараты пускорегулирующие для разрядных ламп (кроме трубчатых люминесцентных ламп). Общие требования и требования безопасности

МЭК 926 (1990) Зажигающие устройства (кроме устройств тлеющего разряда). Общие требования и требования безопасности

2. ОПРЕДЕЛЕНИЯ

Применяют определения, приведенные в МЭК 60922.

3. ОБЩИЕ ТРЕБОВАНИЯ К ИСПЫТАНИЯМ

3.1. Испытания по настоящему стандарту относятся к типовым испытаниям.

Примечание - Требования и допуски, разрешенные настоящим стандартом, основаны на типовых испытаниях выборки, представленной изготовителем. В принципе, эта выборка должна характеризовать параметры, близкие к средним значениям ПРА этого изготовителя. Можно предполагать, что если выборка для типовых испытаний укладывается в допуски, регламентированные настоящим стандартом, то большинство ПРА будет отвечать настоящему стандарту. Вместе с тем следует учитывать, что при производстве возможен разброс характеристик аппаратов за пределы, оговоренные настоящим стандартом. Требования к планам и правилам выборочного контроля по качественным признакам установлены в МЭК 410.

3.2. Испытания, если не указано иное, проводят в порядке нумерации разделов.

3.3. Каждую выборку подвергают всем испытаниям.

3.4. Как правило, все испытания проводят для ПРА каждого типа или, если речь идет о серии ПРА одного типа, на типопредставителе этого ряда каждой нормируемой мощности или представителе, выбранном из серии по согласованию с изготовителем.

3.5. ДОИ и номинальные лампы должны отвечать требованиям приложений А и В.

3.6. Испытания должны проводиться в условиях, указанных в приложении С.

3.7. Все ПРА, на которые распространяется настоящий стандарт, должны отвечать требованиям МЭК 60922.

4. МАРКИРОВКА

При необходимости в маркировку добавляют следующее:

4.1. Коэффициент мощности, например λ 0,85.

4.2. Символ «Н», указывающий, что аппарат не относится к ПРА с малым искажением формы кривой потребляемого из сети тока.

*См. приложение Е

5. ПРА, ПРЕДНАЗНАЧЕННЫЕ ДЛЯ РАБОТЫ ПРИ РАЗЛИЧНЫХ ЗНАЧЕНИЯХ НАПРЯЖЕНИЯ СЕТИ

ПРА, рассчитанные на работу при более чем одном значении напряжения сети, должны отвечать требованиям настоящего стандарта при всех напряжениях, указанных для него. ПРА, имеющие зажимы для различных значений напряжений, испытывают с использованием соответствующих зажимов.

6. КОЭФФИЦИЕНТ МОЩНОСТИ

Измеренное значение коэффициента мощности не должно отличаться от указанного в маркировке более чем на 0,05 при работе ПРА с одной или несколькими соответствующей(ими) лампой(ами) при нормируемых значениях напряжения и частоты.

Для ПРА с высоким коэффициентом мощности минимальное его значение, измеренное при указанных выше условиях, должно быть не менее 0,85. Для таких ПРА с высоким коэффициентом мощности измеренное значение коэффициента мощности ни при каких условиях не должно быть менее 0,85.

Примечание - В США значение коэффициента мощности ПРА с высоким коэффициентом мощности принято не менее 0,9.

7. ТОК, ПОТРЕБЛЯЕМЫЙ ИЗ СЕТИ

Ток, потребляемый из сети ПРА, работающего с номинальной лампой при нормируемом напряжении, не должен отличаться от указанного в маркировке тока более чем на 10%.

8. ФОРМА КРИВОЙ ТОКА

8.1. Форма кривой тока сети

Гармоники тока, потребляемого светильником, должны соответствовать МЭК 555-2.

Примечание - Требования распространяются на светильники или ПРА, которые предназначены для присоединения к источникам питания, указанным в разделе 4 МЭК 555-2.

Если отдельные испытания с номинальными лампами показали, что ПРА удовлетворяют требованиям соответствующей таблицы МЭК 555-2, то светильник считают удовлетворяющим этим требованиям и не подлежащим проверке. Изготовитель обязан указать, должен или не должен испытуемый ПРА подвергаться следующему испытанию.

Если ПРА не были проверены отдельно или они не соответствуют этому требованию, то светильник подлежит этому испытанию и должен соответствовать этому требованию.

Испытание проводят в соответствии с требованиями 8.3.

ПРА должен работать при нормируемом напряжении с одной или несколькими номинальными лампами. После стабилизации режима работы лампы форма кривой потребляемого тока должна быть такой, чтобы содержание гармоник не превышало значений, указанных в соответствующей таблице МЭК 555-2.

Таблица 1 - Форма кривой потребляемого тока, значения гармоник

Гармоника

Максимальное значение, выраженное от основной гармоники тока, %

Без Н-маркировки

С Н-маркировкой

2

3

5

7

9

5

30 × λ

7

4

3

5

37 × λ

} Не ограничивается

λ - коэффициент мощности всей схемы

Примечание - Требования к форме кривой потребляемого тока относятся ко всем типам ПРА, снабженных специальными панелями. ПРА с маркировкой  Н не применяют следующие страны: Бельгия, Дания, Германия, Финляндия, Франция, Италия, Норвегия, Польша, Швеция и Швейцария.

8.2. Форма кривой рабочего тока лампы

Максимальное значение коэффициента амплитуды (отношение амплитудного значения тока лампы к его действующему значению) при работе ПРА с номинальной лампой при Нормируемом значении напряжения должно быть не более указанного в таблице 2.

Таблица 2 - Форма кривой рабочего тока лампы, максимальное значение коэффициента амплитуды

Тип лампы

Максимальный коэффициент амплитуды (действующее значение)

Ртутные лампы высокого давления

Натриевые лампы низкого давления* Металлогалогенные лампы

Натриевые лампы высокого давления

1,9

1,6

В стадии рассмотрения

1,8

* Для натриевых ламп низкого давления с зажигающим устройством это значение должно быть не более 2,0 - на короткий период, например <0,2 мс, и 1,8 - на более длительный период.

8.3. Методика испытания

Содержание гармоник в потребляемом лампой токе определяют с помощью селективного вольтметра или анализатора гармоник при наличии в цепи безындуктивного резистора R1, приведенных на рисунке 1. Селективный вольтметр или анализатор гармоник должны обеспечивать измерения одной гармоники при незначительном влиянии других гармоник.

Амплитудное значение потребляемого лампой тока определяют с помощью откалиброванного катодного осциллографа и резистора R2, введенного в заземленную часть цепи.

Эти резисторы должны иметь достаточно малое сопротивление, чтобы падение напряжения на них было не более 0,5 % от номинального напряжения лампы.

Селективный вольтметр или анализатор гармоник и осциллограф должны быть соединены с заземляющим проводом сети питания. В процессе каждого из двух измерений резистор должен быть замкнут накоротко, а измерительный прибор - отключен.

Необходимо, чтобы источник питания имел достаточно низкое полное сопротивление на разных частотах. Кроме того, искажение напряжения питания в пределах не более 3 % (см. С. 2с) должно быть принято во внимание при оценке результатов испытания. В сомнительных случаях используют источник питания, не дающий искажений.

9. ЗАЩИТА ОТ МАГНИТНЫХ ВЛИЯНИЙ

ПРА должен иметь эффективную защиту от влияния расположенных поблизости ферромагнитных материалов.

Проверку проводят следующим испытанием.

ПРА должен работать при нормируемом напряжении с соответствующей лампой. После стабилизации рабочего режима лампы стальную пластину толщиной 1 мм, имеющую большую длину и ширину, чем соответствующие габариты ПРА, последовательно устанавливают параллельно каждой стороне ПРА на расстоянии 5 мм. Каждый раз измеряют потребляемый лампой ток, значение которого не должно отличаться более чем на 2 % от значения, измеренного при отсутствии стальной пластины.

10. ЗАЖИГАЮЩИЕ УСТРОЙСТВА

Зажигающие устройства должны соответствовать требованиям МЭК 926.

Часть 1 ЭЛЕКТРИЧЕСКИЕ ТРЕБОВАНИЯ К ПРА ДЛЯ РТУТНЫХ ЛАМП ВЫСОКОГО ДАВЛЕНИЯ

11. НАСТРОЙКА ПРА

ПРА должен обеспечить на номинальной лампе мощность не менее 92,5% и ток не более 115 % от соответствующих значений этих параметров, измеренных при включении указанной лампы с ДОИ. При этом как испытуемый ПРА, так и ДОИ должны быть включены в сеть, напряжение и частота которой соответствуют указанной в маркировке ПРА.

Кроме того, при любом другом напряжении сети от 92 до 106% от нормируемого значения, ПРА должен обеспечивать мощность номинальной лампы не менее 88% от мощности этой лампы, включенной с ДОИ при напряжении, равном 92%, и не более 109% от мощности той же лампы, включенной с ДОИ при напряжении, равном 106% от нормируемого значения.

Методика испытания

Применяют испытательную схему, указанную на рисунке 2, при этом переключатель S2 находится в верхнем положении, а переключателем S1 последовательно переключают лампу с ДОИ на испытуемый ПРА и обратно.

12. ТОК КОРОТКОГО ЗАМЫКАНИЯ

При включении в сеть с любым напряжением от 92 до 106% от нормируемого значения ПРА должен обеспечивать ток короткого замыкания не более значений, указанных в МЭК 188.

Методика испытания

Применяют испытательную схему, указанную на рисунке 2, при этом переключатель S1 находится в верхнем положении, а переключатель S2 - в нижнем.

13. НАПРЯЖЕНИЕ ХОЛОСТОГО ХОДА (минимальное значение для стабильной работы)

При включении в сеть при любом напряжении от 92 до 106% от нормируемого значения и при нормируемой частоте ПРА должен обеспечивать напряжение холостого хода не ниже значений, указанных в МЭК 188.

Часть 2 ЭЛЕКТРИЧЕСКИЕ ТРЕБОВАНИЯ К ПРА ДЛЯ НАТРИЕВЫХ ЛАМП НИЗКОГО ДАВЛЕНИЯ

14. НАСТРОЙКА ПРА

ПРА должен обеспечивать ток, потребляемый номинальной лампой, в пределах от 95 до 107,5% для схем с нормально синусоидальной формой кривой тока лампы (например индуктивные схемы) и от х1) до 107,5% для схем с нормально несинусоидальной2) формой кривой тока лампы (например схем с постоянной мощностью) от соответствующего значения тока той же лампы, включенной с ДОИ. При этом и ПРА, и ДОИ должны быть включены в сеть одной и той же нормируемой для ПРА частоты при напряжении, нормируемом для каждого из них.

Кроме того, при любом другом напряжении сети от 92 до 106% от нормируемого значения, ПРА должен обеспечивать ток через номинальную лампу от 93 до 109,5% для схем с нормальной синусоидальной формой кривой тока лампы и в пределах от у1) до 109,5% для схем с нормально несинусоидальной2) формой кривой тока лампы от соответствующего значения тока, потребляемого этой же лампой, включенной с ДОИ в сеть с напряжением соответственно от 92 до 106% от нормируемого.

Методика испытания

Применяют испытательную схему, указанную на рисунке 2, при этом переключатель S2 находится в верхнем положении, а переключатель S1 подключает лампу либо к ДОИ, либо к испытуемому ПРА.

1) Для схем с несинусоидальной формой кривой тока лампы нижний предел значения тока, который меньше аналогичного значения для схем с синусоидальной формой кривой, находится в стадии рассмотрения.

2) В настоящем стандарте под несинусоидальной формой кривой тока лампы понимают форму кривой тока с более крутым фронтом изменения тока.

15. ТОК КОРОТКОГО ЗАМЫКАНИЯ И ПУСКОВОЙ РЕЖИМ

15.1. ПРА со стартером, включенные в сеть с напряжением от 92 до 106% от нормируемого, должны обеспечивать ток предварительного подогрева не более значений, указанных в МЭК 192.

Методика испытания

Применяют испытательную схему, указанную на рисунке 2, при этом переключатель S1 устанавливают в верхнее положение, а переключатель S2 - в нижнее.

15.2. Бесстартерные ПРА, включенные в сеть с напряжением, равным 92% от нормируемого, и испытательном токе, указанном в таблице 3, должны обеспечивать выходное напряжение, значение которого должно быть не менее указанного в таблице 3.

Таблица 3 - Испытательный ток

Нормируемая мощность, Вт

Минимальное выходное напряжение ПРА, В

Испытательный ток (действующее значение), А

35

55

90

135

180

140 (линейная)

200 (линейная)

280

310

335

420

470

335

310

0,35

0,35

0,50

0,50

0,50

0,50

1,00

15.3. Требования к параметрам пускового режима в схемах с зажигающим устройством находятся в стадии рассмотрения.

16. НАПРЯЖЕНИЕ ХОЛОСТОГО ХОДА (минимальное значение для стабильной работы)

Только для бесстартерных ПРА.

ПРА, включенный в сеть при любом напряжении от 92 до 106% от нормируемого значения и при нормированной частоте, должен обеспечивать напряжение холостого хода, значение которого должно быть не менее указанного в МЭК 192.

Коэффициент амплитуды напряжения должен быть не менее 1,4.

Часть 3 ЭЛЕКТРИЧЕСКИЕ ТРЕБОВАНИЯ К ПРА ДЛЯ МЕТАЛЛОГАЛОГЕННЫХ ЛАМП

17. НАСТРОЙКА ПРА

Требования и методы испытания находятся в стадии рассмотрения.

18. ТОК КОРОТКОГО ЗАМЫКАНИЯ И ПУСКОВОЙ РЕЖИМ

ПРА должен обеспечивать установленные предельные значения тока, приведенные в соответствующих стандартах МЭК. Если необходимые данные отсутствуют, то должны быть проведены консультации с изготовителем ламп.

19. НАПРЯЖЕНИЕ ХОЛОСТОГО ХОДА (минимальное значение для стабильной работы)

Требования и методы испытания находятся в стадии рассмотрения.

Часть 4 ЭЛЕКТРИЧЕСКИЕ ТРЕБОВАНИЯ К ПРА ДЛЯ НАТРИЕВЫХ ЛАМП ВЫСОКОГО ДАВЛЕНИЯ

20. НАСТРОЙКА ПРА

20.1. Требования

ПРА, работающий при определенном напряжении, значения которого представлены для соответствующих ламп в МЭК 662, должен ограничивать мощность, подводимую к номинальной лампе, от 95 до 105 % значений, измеренных при работе указанной лампы с соответствующим ДОИ.

Значение мощности лампы при определенном напряжении на ней должно выбираться из ряда мощностей, полученных по результатам проводимых испытаний согласно методу 20.2 настоящего стандарта (см. также приложение D).

20.2. Методика испытаний

Испытания проводят в соответствии с требованиями приложения С.

Номинальная лампа должна быть отобрана в соответствии с требованиями приложения В.

Включенная через соответствующий ДОИ лампа должна зажечься и устойчиво работать.

В период зажигания напряжение и мощность лампы должны измеряться либо непрерывно, либо через определенные интервалы напряжения на лампе, не превышающие 5 В, до тех пор, пока напряжение не достигнет предельного значения, установленного соответствующими требованиями МЭК 662. Здесь могут использоваться искусственные средства, обеспечивающие достижение напряжения на лампе до предельного значения.

Примечание - Методы искусственного подъема напряжения на лампе приведены в приложении F МЭК 662.

Та же самая процедура должна быть повторена для лампы с испытуемым ПРА после выдержки ее в обесточенном состоянии в течение не менее 5 мин, чтобы она остыла.

Полученные результаты измерений ДОИ и испытуемого ПРА должны быть сопоставлены в виде графика с напряжением на лампе по горизонтальной оси и мощностью лампы по вертикальной оси (см. приложение D).

Требования по оценке ограничений значений напряжения питающей сети, оговоренные в пункте 8.6 МЭК 662, находятся в стадии рассмотрения.

21. ТОК КОРОТКОГО ЗАМЫКАНИЯ

ПРА, включенный в сеть при любом напряжении от 92 до 106% от нормируемого, должен обеспечивать ток короткого замыкания не менее значения тока калибровки, приведенного в МЭК 662.

Отношение тока короткого замыкания ПРА к номинальному току не должно превышать значений, указанных в таблице 4.

Таблица 4 - Отношение тока короткого замыкания

Мощность лампы, Вт

Отношение, не более

>100

≤100

1,8

2,0

22. НАПРЯЖЕНИЕ ХОЛОСТОГО ХОДА

ПРА, работающий при любом напряжении от 92 до 106% от нормируемого и при нормируемой частоте, должен обеспечивать значение напряжения не менее значения напряжения зажигания лампы, указанного для соответствующих ламп на стандартном листе МЭК 662.

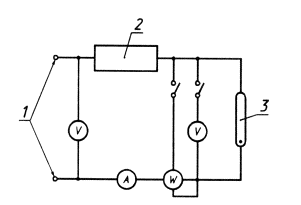
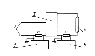
1 - селективный вольтметр или анализатор гармоник; 2 - источник питания; 3 - испытуемый ПРА; 4 - номинальная лампа; 5 - катодный осциллограф.

Рисунок 1 - Измерение формы кривой тока

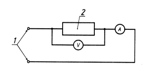
1 - испытуемый ПРА; 2 - ДОИ; 3 - номинальная лампа; 4 - источник питания

Примечание - При измерении мощности лампы не следует вводить поправку на собственное потребление ваттметра. Неиспользуемые измерительные приборы должны быть закорочены или отключены.

Метод быстрого переключения лампы с одного ПРА на другой - в стадии рассмотрения.

Рисунок 2 - Схема испытания ПРА для натриевых ламп низкого давления

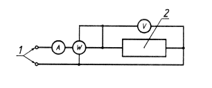
1 - источник питания; 2 - ДОИ

Рисунок 3 - Рекомендуемая схема измерения отношения напряжение/ток ДОИ

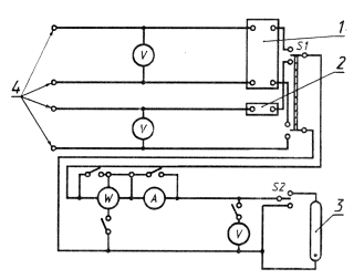
1 - источник питания; 2 - ДОИ

Рисунок 4 - Рекомендуемая схема измерения коэффициента мощности ДОИ

1 - источник питания; 2 - ДОИ; 3 - лампа

Рисунок 5 - Рекомендуемая схема для отбора номинальной лампы

ПРИЛОЖЕНИЕ А
(обязательное)
ДРОССЕЛИ ОБРАЗЦОВЫЕ ИЗМЕРИТЕЛЬНЫЕ

А 1. МАРКИРОВКА

ДОИ должен иметь четкую и прочную маркировку следующего содержания.

А. 1.1. ДОИ с нерегулируемым полным сопротивлением:

a) слова «Дроссель образцовый измерительный»;

b) обозначение ответственного поставщика и/или изготовителя;

c) номер серии;

d) тип лампы, нормируемая мощность или обозначение лампы и ток калибровки;

e) нормируемые напряжения питания и частота.

А. 1.2. ДОИ с регулируемым полным сопротивлением:

a) слова «Дроссель образцовый измерительный»;

b) обозначение ответственного поставщика и/или изготовителя;

c) номер серии;

d) нормируемое (ые) напряжение (я) и частота (ы);

e) диапазон отношений напряжение/ток при нормируемой частоте (ах);

f) ток (и) калибровки;

g) максимальный ток каждой обмотки;

h) схема присоединения, при необходимости.

А.2. ХАРАКТЕРИСТИКИ

А.2.1. Общие сведения

ДОИ состоит из одной или нескольких катушек самоиндуктивности с дополнительным резистором (или без него), обеспечивающих рабочие характеристики, установленные соответствующим стандартом на лампу.

Измерения характеристик ДОИ должны проводиться при установившемся тепловом режиме.

ДОИ, имеющие регулировку отношения напряжение/ток, могут использоваться при условии соответствия требованиям настоящего приложения.

А.2.2. Отношение напряжение/ток

Если через ДОИ протекает ток, равный току калибровки, значение отношения напряжение/ток должно соответствовать указанному значению на листе характеристик соответствующей лампы при допустимом отклонении значения тока калибровки ±0,5%. При любом другом токе от 50 до 115% тока калибровки значение полного сопротивления ДОИ не должно изменяться более чем на ±3% от значения, указанного в стандарте на лампу.

Типовая схема для испытания представлена на рисунке 3. Если используют эту схему, то поправку на потребляемый вольтметром ток не вводят, если его внутреннее сопротивление соответствует требованиям С.5.1 приложения С.

Если частота (f) отличается от нормируемого значения (fn), то измеренное значение напряжения должно быть откорректировано в соответствии со следующим уравнением:

Напряжение при нормированной частоте (fn) = напряжению при частоте

А.2.3. Измерение коэффициента мощности

Типовая схема для измерения коэффициента мощности представлена на рисунке 4. Для учета потребления измерительных приборов необходимо введение соответствующей поправки.

А.2.4. Магнитные экранировка или защита

ДОИ должен быть защищен (например соответствующим стальным корпусом) от магнитных влияний так, чтобы отношение напряжение/ток при токе, равном току калибровки, не изменялось более чем на 0,2%, когда на расстоянии 25 мм от любой стороны ДОИ размещена пластина толщиной 12,5 мм из мягкой конструкционной стали.

Эта пластина должна иметь размеры, превышающие соответствующие размеры дросселя не менее чем на 25 мм, и должна располагаться параллельно испытуемой стороне дросселя.

Кроме того, ДОИ должен иметь защиту от механических повреждений.

А.2.5. Превышение температуры

А.2.5.1. ДОИ для ламп до 125 Вт включительно

При окружающей температуре от 20 до 30 ˚C и токе, равном току калибровки, установившееся превышение температуры обмоток, измеренное методом сопротивления, не должно превышать 25 ˚C.

Любое сопротивление, последовательно или параллельно присоединенное к ДОИ, должно быть в схеме весь период нагрева, кроме всех измерительных сопротивлений, и должно быть отключено при определении превышения температуры.

А.2.5.2. ДОИ, за исключением описанных в А2.5.1

ДОИ для разрядных ламп других типов, соответствующих тепловым требованиям А.2.5.1, могут быть больше по габаритам и более дорогостоящими.

Кроме того, изменения коэффициента мощности, вызванные перегревом при эксплуатации, незначительно влияют на рабочие характеристики этих ламп. В качестве ДОИ могут использоваться соответствующим образом отобранные серийные ПРА, если они отвечают требованиям (кроме тепловых) настоящего приложения.

ПРИЛОЖЕНИЕ В
(обязательное)
НОМИНАЛЬНЫЕ ЛАМПЫ

В.1. ХАРАКТЕРИСТИКИ

Лампу, прошедшую отжиг в течение не менее 100 ч, можно рассматривать как номинальную, если включенная с ДОИ в условиях, оговоренных в В.2, она имеет характеристики, отвечающие следующим требованиям.

В.1.1. Ртутные и металлогалогенные лампы высокого давления, натриевые лампы низкого давления

Мощность, напряжение и ток лампы не должны отличаться более чем на 3% от значений, установленных в соответствующих стандартах МЭК на эти лампы.

В.1.2. Натриевые лампы высокого давления

Напряжение лампы не должно отличаться более чем на 10% от нормируемого значения, а коэффициент мощности - не более чем на 6% от значения, рассчитанного из нормируемой мощности, тока и напряжения, приведенных в соответствующем разделе МЭК 662.

Примечание - Коэффициент мощности лампы определяется как частное от деления мощности ламп на произведение значений напряжения и тока, проходящего через лампу.

В.2. ОТБОР И ИСПОЛЬЗОВАНИЕ НОМИНАЛЬНЫХ ЛАМП

Номинальные лампы должны работать для достижения установившегося режима, по крайней мере в течение 1 ч, в защищенном от сквозняков помещении при окружающей температуре (25±5) ºС и в положении, указанном ниже:

- ртутные лампы высокого давления, рассчитанные на работу в любом положении, следует устанавливать вертикально, цоколем вверх,

- натриевые лампы низкого давления U-образной формы следует устанавливать с небольшим наклоном по отношению к горизонтали цоколем вверх; линейные лампы устанавливают горизонтально;

- натриевые лампы высокого давления следует устанавливать горизонтально;

- металлогалогенные лампы высокого давления следует устанавливать горизонтально или вертикально, в соответствии с инструкцией изготовителя.

Рекомендуемая схема для проведения отбора номинальных ламп представлена на рисунке 5.

Цепь напряжения измерительного прибора, не используемая при измерении напряжения или мощности лампы, должна быть отключена.

При измерении мощности лампы в показания ваттметра не следует (см. приложение ниже) вводить поправку на собственное потребление (общая точка цепей напряжения и тока ваттметра соединена с лампой).

Примечание - Это указание основано на том, что в большинстве случаев при одном и том же напряжении сети внутреннее потребление ваттметра приблизительно компенсирует снижение мощности, потребляемой лампой, вызванное подключением цепи напряжения ваттметра параллельно лампе. При сомнении в этом существует возможность вычисления поправки после измерения при нескольких других значениях сопротивления резистора, включенного параллельно лампе. Измерения проводят при параллельно присоединенных резисторах, считывая каждый раз показания ваттметра. Затем проводят экстраполирование полученных результатов и определяют реальную мощность при отсутствии параллельного потребления.

ПРИЛОЖЕНИЕ С
(обязательное)
ОБЩИЕ ТРЕБОВАНИЯ К ИСПЫТАНИЯМ

С.1. ОКРУЖАЮЩАЯ ТЕМПЕРАТУРА

Вес измерения должны проводиться в защищенном от сквозняков помещении при окружающей температуре от 20 до 30ºС.

С.2. НАПРЯЖЕНИЕ СЕТИ

а) Напряжение и частота сети

ДОИ должен иметь ту же номинальную частоту, что и испытуемый ПРА. При отсутствии других указаний каждый из них должен работать при своей номинальной частоте и нормируемом напряжении сети.

Если в маркировке ПРА указан диапазон напряжений сети, в котором он может работать, или несколько нормируемых значений напряжения сети, то за нормируемое напряжение принимают наиболее неблагоприятное конкретное значение напряжения.

b) Стабильность напряжения и частоты сети

Напряжение и частота сети должны поддерживаться стабильными в пределах ±0,5%. Однако в процессе проведения измерений напряжение не должно изменяться более чем на ±0,2% от указанного испытательного значения.

c) Форма кривой напряжения сети

Содержание высших гармоник в напряжении сети не должно превышать 3%, и определяется как среднее квадратическое значение суммы отдельных гармонических составляющих по отношению к основной, принятой за 100%.

Это означает, что источник питания должен иметь достаточную мощность, и его схема должна иметь достаточно низкое полное сопротивление, сравнимое с полным сопротивлением ПРА.

С.3. МАГНИТНЫЕ ЭФФЕКТЫ

Ни один предмет с магнитными свойствами не должен быть расположен ближе 25 мм к любой поверхности ДОИ или испытуемого ПРА.

С.4. СТАБИЛЬНОСТЬ НОМИНАЛЬНОЙ ЛАМПЫ

Для того, чтобы достичь максимальной стабильности номинальных ламп, последние должны быть установлены как указано в разделе В.2 приложения В. Перед проведением измерений лампа должна быть доведена до установившегося рабочего режима.

Характеристики номинальной лампы должны проверяться непосредственно перед и после каждой серии испытаний.

С.5. ХАРАКТЕРИСТИКИ ИЗМЕРИТЕЛЬНЫХ ПРИБОРОВ

С.5.1. Цепи напряжения

Цепи напряжения измерительных приборов, присоединенных к зажимам лампы, должны потреблять ток не более 0,5% значения номинального тока лампы.

С.5.2. Цепи тока

Полное сопротивление цепей тока должно быть так мало, чтобы вызываемое им падение напряжения, включая сопротивление измерительных приборов и проводов, составляло не более 0,5% номинального напряжения на лампе.

С.5.3. Измерение действующих значений

Измерительные приборы, применяемые для измерения действующих значений, должны исключать искажения, вызванные отклонением от синусоидальной формы кривой.

С.6. СОПРОТИВЛЕНИЕ СХЕМЫ

Полное сопротивление измерительной схемы, включая сопротивление провода, должно быть так мало, чтобы вызываемое им падение напряжения составляло не более 0,5% номинального напряжения на лампе.

ПРИЛОЖЕНИЕ D
(обязательное)
ПОЯСНЕНИЯ ИЗМЕРЕНИЙ НАСТРОЙКИ ПРА С УЧЕТОМ ОСОБЕННОСТИ ФОРМЫ КРИВОЙ РАБОЧЕГО ТОКА НАТРИЕВЫХ ЛАМП ВЫСОКОГО ДАВЛЕНИЯ

D.1. ОТБОР НОМИНАЛЬНЫХ ЛАМП С РАСШИРЕННЫМИ ДОПУСКАМИ

Натриевые лампы высокого давления подвержены изменениям характеристик в процессе эксплуатации, в связи с чем выбор и поддержка высокой стабильности работы номинальных ламп практически невозможны.

В результате этого обычные технические требования для номинальной лампы, изложенные в B.1.1, невыполнимы, и приходится выбирать номинальные лампы с более широкими допусками параметров (как изложено в B.1.2).

D.2. ИСПОЛЬЗОВАНИЕ ДИНАМИЧЕСКОЙ СИСТЕМЫ ИЗМЕРЕНИЙ ПРИ ПРОВЕРКЕ ПРА (см. раздел 20)

В связи с тем, что номинальные натриевые лампы высокого давления в процессе эксплуатации подвержены изменениям характеристик при поочередной работе с ПРА и ДОИ, необходимо сравнивать мощность лампы, работающей с каждым из ПРА при заранее установленном определенном значении напряжения на лампе.

На рисунке D.1 приведены типичные характеристики натриевой лампы высокого давления, работающей с ДОИ и испытуемым ПРА. На рисунке D. 1 также показаны типичная наклонная характеристика натриевой лампы высокого давления и значение напряжения на лампе, используемое при испытаниях ПРА, создающих на клеммах лампы испытательное напряжение, как указано на сравнительном листе данных ламп.

Типичная наклонная характеристика натриевой лампы высокого давления позволяет определить режим устойчивой работы номинальной лампы в установившемся рабочем режиме с каждым из ПРА, при этом угол наклона линии зависит от конструкции и качества изготовления лампы.

Сравнение рабочего напряжения на зажимах лампы с характеристиками ПРА в динамической системе измерений фактически означает сравнение мощности лампы в другой точке характеристики испытуемого ПРА. Отклонение 5 % от характеристики ДОИ эквивалентно разнице 7,5%, существующей в любой точке типичной наклонной характеристики идеально стабильной лампы.

D.3. КОЭФФИЦИЕНТ АМПЛИТУДЫ ТОКА ЛАМПЫ

Номинальные лампы, отобранные согласно B.1.2, не имеют существенных различий в измерении коэффициента амплитуды тока лампы для соответствующего ПРА даже в том случае, если значение рабочего напряжения ламп близко к предельному.

1 - рабочее напряжение на клеммах ламп; 2 - типичная наклонная характеристика лампы; 3 - характеристика испытуемого ПРА, имеющего предельное значение полного сопротивления при номинальном напряжении; 4 - характеристика ДОИ при номинальном напряжении

Рисунок D.1. - Значение характеристик настройки ПРА для натриевых ламп высокого давления, работающих с ДОИ и испытуемым ПРА

ПРИЛОЖЕНИЕ Е
(справочное)
СООТВЕТСТВИЕ СТАНДАРТОВ МЭК ГОСУДАРСТВЕННЫМ СТАНДАРТАМ

Обозначение стандартов МЭК

Обозначение государственных стандартов

МЭК 188 (1974)

МЭК 921 (1988)

МЭК 60922 (1997)

ГОСТ 27682-88

ГОСТ P МЭК 921-97

ГОСТ P МЭК 60922-98

 

Ключевые слова: рабочие характеристики, испытания

 




Rambler's Top100 Яндекс цитирования
  Copyright © 2008-2026, www.docload.ru