Бесплатная библиотека стандартов и нормативов www.docload.ru

Все документы, размещенные на этом сайте, не являются их официальным изданием и предназначены исключительно для ознакомительных целей.
Электронные копии этих документов могут распространяться без всяких ограничений. Вы можете размещать информацию с этого сайта на любом другом сайте.
Это некоммерческий сайт и здесь не продаются документы. Вы можете скачать их абсолютно бесплатно!
Содержимое сайта не нарушает чьих-либо авторских прав! Человек имеет право на информацию!

 

РОССИЙСКОЕ АКЦИОНЕРНОЕ ОБЩЕСТВО
ЭНЕРГЕТИКИ И ЭЛЕКТРИФИКАЦИИ «ЕЭС РОССИИ
»

ДЕПАРТАМЕНТ НАУКИ И ТЕХНИКИ

МЕТОДИЧЕСКИЕ УКАЗАНИЯ
ПО ОРГАНИЗАЦИИ И ПРОВЕДЕНИЮ НАБЛЮДЕНИЙ
ЗА ОСАДКАМИ ФУН
ДАМЕНТОВ
И ДЕФОРМАЦИЯМИ ЗДАНИЙ И СООРУЖЕНИЙ
СТРОЯЩИХСЯ И ЭКСПЛУАТИРУЕМЫХ
ТЕПЛОВЫХ ЭЛЕКТРОСТАНЦИЙ

РД 34.21.322-94

СЛУЖБА ПЕРЕДОВОГО ОПЫТА ОРГРЭС

Москва 1997

Разработано АО «Фирма ОРГРЭС», ГНИИПИ «Теплоэлектропроект»

Исполнитель В. ОСОЛОВСКИЙ, А. КУШНАРЕВ (АО «Фирма ОРГРЭС»); В. ЛАРИН, Н. СОБОЛЕВ еплоэлектропроект)

Утверждено Департаментом науки и техники РАО «ЕЭС России» 03.10.94 г.

Начальник А. БЕРСЕНЕВ

МЕТОДИЧЕСКИЕ УКАЗАНИЯ
ПО ОРГАНИЗАЦИИ И ПРОВЕДЕНИЮ
НАБЛЮДЕНИЙ ЗА ОСАДКАМИ ФУНДАМЕНТОВ
И ДЕФОРМАЦИЯМ
И ЗДАНИЙ И СООРУЖЕНИЙ
СТРОЯЩИХСЯ И ЭКСПЛУАТИРУЕМЫХ
ТЕПЛОВЫХ ЭЛЕКТРОСТАНЦИЙ

РД 34.21.322-94

Срок действия установлен

с 01.01.95

1. ОБЩИЕ ПОЛОЖЕНИЯ

1.1. Методические указания составлены с учетом требований «Правил технической эксплуатации электрических станций и сетей Российской Федерации» 15-е изд. (М.: СПО ОРГРЭС, 1996), СНиП, ГОСТ 24846-86 [1] и других руководящих документов и предназначены для инженерно-технических работников отделов капитального строительства (ОКС), служб зданий и сооружений энергоуправлений, тепловых электростанций и специализированных организаций, выполняющих данные виды работ.

1.2. С введением в действие данных Методических указаний отменяются «Методические указания по наблюдениям за осадками фундаментов, деформациями конструкций зданий и сооружений и режимом грунтовых вод на тепловых и атомных электростанциях: МУ 34-70-084-84» (М.: СПО Союзтехэнерго, 1985), а также «Правила наблюдений за осадками зданий и сооружений тепловых электростанций: РТМ 34.001-73» (М.: Теплоэлектропроект, 1973).

1.3. Методические указания содержат основные положения по организации и методике наблюдений за осадками фундаментов, деформациями строительных конструкций зданий и сооружений тепловых электростанций (ТЭС).

1.4. Методические указания разработаны с учетом специфики производства измерений осадок и деформаций в условиях строительства и эксплуатации ТЭС.

1.5. В Методических указаниях не приведены измерения, выполняемые на крупных гидротехнических сооружениях и сооружениях, построенных на территории с горными выработками.

1.6. Инструментальные измерения за осадками фундаментов основного оборудования, производственных зданий, гидротехнических сооружений и деформациями строительных конструкций производятся в соответствии с ПТЭ при всех грунтовых условиях, кроме скальных с целью определения абсолютных и относительных значений осадок, деформаций и сравнения их с допустимыми (расчетными), уточнения расчетных данных физико-механических характеристик грунтов основания, контроля за состоянием зданий и сооружений в процессе их возведения и эксплуатации, разработки и проведения мероприятий по предупреждению опасных деформаций.

1.7. Материалы наблюдений должны своевременно анализироваться специалистами цехов, служб или отделов, ведающих строительством и эксплуатацией зданий и сооружений, для выявления причин и принятия мер по своевременному устранению обнаруженных дефектов.

1.8. Проект организации наблюдений за осадками фундаментов зданий и сооружений разрабатывается проектной организацией в составе проекта строительства (реконструкции) ТЭС. Затраты на разработку проекта организации наблюдений включаются сверх комплексной цены проектно-изыскательских работ. При составлении сводных расчетов стоимости строительства предусматриваются затраты на работы по наблюдениям за осадками фундаментов зданий и сооружений ТЭС.

Наблюдения за деформациями (осадками, кренами и т.п.) зданий и сооружений проводятся в период строительства геодезической службой строительного управления электростанции за счет средств, предусмотренных в главе IX сводного СФР на капитальное строительство, а в период эксплуатации - дирекцией электростанции за счет эксплуатационных расходов.

1.9. Материалы по наблюдению за осадками в период строительства передаются заказчику строительства ТЭС и генпроектировщику, а в период эксплуатации - дирекции ТЭС.

Работы по наблюдению за осадками подлежат авторскому надзору в процессе строительства ТЭС наравне со всеми строительно-монтажными работами по отдельному договору с заказчиком.

При выполнении работ по измерениям осадок и деформаций фундаментов зданий и сооружений следует соблюдать правила техники безопасности и требования Госгортехнадзора России.

2. ИЗМЕРЕНИЕ ОСАДОК ФУНДАМЕНТОВ

Измерения осадок фундаментов зданий и сооружений производят методом геометрического и гидростатического нивелирования. Измерения осадок (нивелирование) в период эксплуатации производятся с точностью, характеризующейся средней квадратической погрешностью определения осадки в слабом месте не более 1 мм (наиболее удаленной марки от исходных реперов).

Измерения осадок фундаментов в период строительства, а также земляных плотин гидротехнических сооружений производятся с точностью, характеризующейся средней квадратической погрешностью определения превышения на станции (одного штатива) не более 0,5 мм.

Инструментальные измерения осадок фундаментов зданий и сооружений необходимо начинать в период выполнения строительных работ нулевого цикла, т.е. после возведения фундаментов. Сроки проведения измерений устанавливаются проектной организацией в зависимости от характеристик грунта основания, значения ожидаемых деформаций и класса ответственности сооружения.

Наблюдения за осадками фундаментов в период эксплуатации электростанции должны производиться в соответствии с ПТЭ: в первые два года эксплуатации - два раза в год, в дальнейшем до стабилизации осадок фундаментов - один раз в год, а после стабилизации осадок (1 мм в год и менее) - 1 раз в 5 лет.

При обнаружении очага интенсивных осадок фундаментов дальнейшее измерение осадок должно производиться по специально разработанной программе в зависимости от влияния деформаций на прочность и устойчивость сооружений, а также на допустимость осадок с учетом характера технологического процесса.

2.1. Объекты для наблюдений за осадками фундаментов

2.1.1. В процессе проектирования ТЭС разрабатывается проект наблюдения за деформациями оснований зданий и сооружений, в котором устанавливаются:

объекты для наблюдения за осадками;

точность измерений;

расположение исходных (глубинных грунтовых) реперов;

размещение деформационных марок на объектах;

система обработки материалов наблюдений и форма отчетной документации.

2.1.2. К обязательным объектам, подлежащим наблюдению за осадками, относятся:

здания;

главный корпус ТЭС;

здания дробильных устройств;

многоэтажный административный корпус;

береговые насосные;

здания водоподготовительной установки с баками на опорах;

сооружения;

дымовые трубы;

градирни;

опоры эстакад топливоподачи;

фундаменты под турбоагрегаты;

фундаменты под котлы;

фундаменты под дробилки;

резервуары для хранения мазута 10000 м3 и более;

плотины водохранилища.

2.1.3. За любыми не упомянутыми выше зданиями и сооружениями, в том числе гидротехническими сооружениями и дамбами золоотвалов, должны устанавливаться наблюдения за осадкой, если в процессе строительства или эксплуатации в них будут обнаружены (визуально) недопустимые деформации.

2.1.4. На просадочных, закарстованных, вечномерзлых, насыпных и набухающих грунтах наблюдению за осадками фундаментов подлежат все расположенные на них построенные объекты.

2.2. Исходные реперы

2.2.1. Измерения деформаций и осадок фундаментов зданий и сооружений производятся относительно исходных глубинных или грунтовых реперов.

В зависимости от инженерно-гидрогеологической характеристики промплощадки ТЭС устанавливаются глубинные или грунтовые реперы:

глубинные реперы, основания которых закладываются в скальные, полускальные или другие коренные практически несжимаемые грунты;

грунтовые реперы, основания которых закладываются ниже глубины сезонного промерзания или перемещения грунта; стенные реперы, устанавливаемые на несущих конструкциях зданий и сооружений, осадка фундаментов которых практически стабилизировалась.

При наличии на строительной площадке набивных или забивных свай, верхним концом выступающих на поверхность, допускается их использование в качестве грунтовых реперов с соответствующим оформлением верхней части сваи.

2.2.2. Типы исходных реперов устанавливаются в зависимости от грунтовых условий строительной площадки:

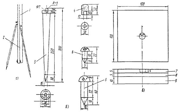
для участков, на которых скальные грунты залегают на глубине до 2 м, принимаются исходные реперы для скальных пород (рис. 1).

Репер закладывается в шурф непосредственно в скальный грунт;

на участках, где скальные или другие слабосжимаемые грунты залегают глубже 2 м, закладываются глубинные реперы (рис. 2).

Глубинный репер закладывается в скважину диаметром не менее 250 мм с заглублением в слабосжимаемые породы 1,2 м. Репер оборудуется защитной трубой на глубину промерзания грунта;

на участках с грунтами средней плотности (модуль деформации Е = 200 - 300 кгс/см2) мощностью более 10 м рекомендуется устанавливать исходные реперы с бетонным монолитом (рис. 3).

Репер устанавливается в шурфе на 1 м ниже глубины промерзания грунтов, но не менее 1,5 м от поверхности;

на бетонный монолит размером 1,3 × 1,3 × 0,4 м устанавливается асбоцементная труба диаметром 250 мм с металлическим арматурным каркасом и заливается бетоном;

на участках насыпных неоднородных по составу грунтов, а также заторфованных грунтах, на которых невозможно применить реперы указанных выше конструкций, могут применяться свайные реперы.

Рис. 1. Исходный репер для скальных грунтов:

1 - железобетонный или металлический колодец; 2 - асбоцементная труба диаметром 250 мм; 3 - железобетонный пилон; 4 - арматура; 5 - нивелирная марка; 6 - сальник; 7 - крышка.

Примечание. Размеры даны в сантиметрах.

Рис. 2. Трубчатый глубинный репер:

1 - железобетонный или металлический колодец с крышкой; 2 - труба диаметром 80 - 150 мм; 3 - защитная труба диаметром 150 - 200 мм; 4 - грунт (песок, лесс); 5 - сальники; 6 - муфта; 7 - ограничительное кольцо; 8 - скважина диаметром 250 мм; 9 - бетон; 10 - металлический диск; 11 - цементный раствор.

Примечание. Размеры даны в сантиметрах.

Рис. 3. Исходный репер для грунтов средней плотности:

1 - железобетонный или металлический колодец с крышкой; 2 - асбестоцементная труба диаметром 250 мм; 3 - сальник; 4 - железобетонный монолит; 5 - нивелирная марка; 6 - арматура; 7 - шлак, песок.

Примечание. Размеры даны в сантиметрах.

Форма, сечение и глубина забивки свай определяются специальным расчетом. Выбор типа и места установки исходных реперов производится на основании материалов инженерных изысканий.

2.2.3. Число реперов должно быть не менее трех.

Реперы должны размещаться:

в стороне от проемов, подземных коммуникаций, складских и других территорий, где возможно разрушение или изменение положения репера;

вне зоны распространения давления от здания или сооружения;

вне пределов влияния осадочных явлений, оползневых склонов, нестабилизированных насыпей, торфяных болот, подземных выработок, карстовых образований и других неблагоприятных инженерно-геологических и гидрогеологических условий;

на расстоянии от здания (сооружения) не менее тройной толщины слоя просадочного грунта;

на расстоянии, исключающем влияние вибрации от транспортных средств, машин, механизмов;

в местах, где в течение всего периода наблюдений возможен беспрепятственный и удобный подход к реперам для установки геодезических инструментов.

Конкретное расположение и конструкцию реперов должна определять проектная организация.

2.2.4. Исходные реперы должны закладываться не позднее чем за 2 мес до начала наблюдений за осадкой фундаментов. После установки реперов на них должна быть передана высотная отметка от ближайших пунктов государственной нивелирной сети или от знаков местного геодезического обоснования, служивших исходными для разбивочных работ при строительстве.

Установленные реперы необходимо сдать на сохранение дирекции, эксплуатирующей ТЭС.

В процессе измерения вертикальных деформаций следует контролировать устойчивость исходных реперов для каждого цикла наблюдений.

2.3. Осадочные деформационные марки

2.3.1. Осадочными марками называются геодезические знаки, укрепляемые на фундаментах, колоннах, стенах, перекрытиях и т.п., меняющие свое высотное положение вследствие осадки фундамента здания (сооружения).

Осадочные марки служат для установки или подвески нивелирных реек и определения отметок одних и тех же конструкций в каждом цикле измерения осадок.

Осадочные марки делятся на стенные, плитные и марки-конструкции.

Стенные марки устанавливаются на вертикальных гранях конструкций, плитные - на горизонтальных плоскостях, «марки-конструкции» - это детали сооружения, используемые в качестве марок.

Стенные осадочные марки по своему устройству и способу закрепления различаются трех типов:

марки, закладываемые в железобетонные и бетонные конструкции, в наружные и внутренние кирпичные (блочные) стены и столбы, а также осадочные марки, устанавливаемые на стальные закладные полосы и на стальные колонны, изготавливаются по рис. 4, а (приложение 1).

В местах, где марки могут подвергаться нарушению и порче (у входов, в тесных проемах и т.д.), устанавливаются марки в виде костыля с полусферической головкой и предохранительным колпачком.

2.3.2. Плитные осадочные марки, расположенные на перекрытиях подземных сооружений, горизонтальных обрезах фундаментов и т.п., выполняются двух типов:

марки в местах, подверженных механическим повреждениям (где возможно перемещение грузов по плите, фундаменту и пр.), делаются закрытыми;

там, где повреждения маловероятны, марки могут состоять из одной заклепки диаметром 20 мм (без защитной коробки), заделываемой в плиту или фундамент на 100 мм с выходом головки наружу.

2.3.3. Под осадочными «марками-конструкциями» понимают отдельные детали самих конструкций, используемые в качестве марок для нивелирования.

Чертежи осадочных марок и их спецификация приводятся на рабочих чертежах фундаментов турбоагрегатов и дымовых труб; для всех остальных зданий и сооружений ТЭС - в проекте по организации наблюдений за осадками.

Установленные на зданиях и сооружениях осадочные марки нумеруются несмываемой краской, привязываются к осям колонн или выступам и углам стен и наносятся на план объекта, хранящийся с материалами по наблюдению за осадкой.

Все осадочные марки независимо от их типов окрашиваются масляной краской или другим антикоррозионным составом. Окраска возобновляется каждые два года.

2.3.4. Стенные марки закладываются, как правило, на отм. 0,4 - 0,8 м, считая от уровня отмостки - для наружных марок и от уровня полов - для марок, устанавливаемых внутри помещений. Исключение составляют марки, которые могут быть закрыты оборудованием и окажутся недоступными для использования (их можно размещать на иной, удобной для наблюдения высоте, на гранях конструкций, снаружи и внутри помещений).

Высотное положение плитных осадочных марок выбирается так, чтобы они были:

жестко связаны с фундаментом сооружения (возможно через промежуточные элементы);

доступны для производства нивелирных работ;

расположены в безопасных от механических повреждений местах.

Рис. 4. Конструкции деформационных марок:

а - тип «а» для кирпичных стен и железобетонных конструкций, материал - Ст 3; б - тип «б» для металлических колонн, материал - Ст 3 прокатная равнобокая (ГОСТ 8509-72); в - тип «б» - для фундаментов турбоагрегатов и гидротехнических сооружений;

1 - защитный колпак (крышка) осадочной марки; 2 - нивелирная марка (нержавеющая сталь); 3 - металлический короб; 4 - пластина для гидроуровня (нержавеющая сталь); 5 - штыри (Ст 3).

Расположение осадочных марок в плане:

в каркасных зданиях марки закладываются по периметру наружных стен по осям здания, снаружи или на внутренних колоннах каркаса. Расстояние между марками принимать, как правило, равное шагу колонн;

в некаркасных зданиях на ленточных и отдельно стоящих фундаментах с рындбалками марки располагаются в наружных (снаружи) и внутренних стенах и колоннах - через 10 - 14 м по осям фундаментов;

во всех случаях установка осадочных марок обязательна также по углам зданий, в осадочных швах, по обе их стороны, в местах пересечения продольных и поперечных стен, по углам (снаружи) отрезанных от основного здания башен лестничных клеток, по углам башен, возвышающихся над общим контуром здания;

в дымовых трубах закладываются не менее 4 марок на одинаковом расстоянии по окружности трубы;

в градирнях на колоннаде не менее 12 на равном расстоянии по ее периметру;

на эстакадах топливоподачи на каждой опоре по одной марке;

в фундаментах под турбоагрегаты устанавливается не менее 6 марок при мощности турбоагрегатов менее 180 МВт и не менее 12 при мощности турбоагрегатов 180 МВт и более;

в фундаментах под котлы - на каждой колонне каркаса котла;

в фундаментах под питательные, циркуляционные тяжелые сетевые насосы и резервные возбудители по 6 марок, под трансформаторы по 4 марки;

в фундаментах под мельницы по одной на каждом фундаменте под коренные подшипники, по 2 марки - на фундаментах под редуктор с двигателем на противоположных по диагоналям углах;

в фундаментах под дробилки - 4 марки, по одной на всех угловых стойках с лицевой стороны;

на верхнем перекрытии насосной - 4 плитные марки, по одной на каждом углу.

Примерные схемы размещения марок приведены на рис. 5.

2.3.5. При составлении проекта размещения деформационных марок необходимо учитывать конструкции фундаментов, распределение нагрузок, геологические и гидрогеологические условия основания. Количество марок должно быть достаточным для определения неравномерности осадки, кренов, прогибов наблюдаемых сооружений.

Конструкции деформационных марок должны обеспечивать долговременную сохранность, устойчивость, в случае высокоточного нивелирования иметь полусферическую головку для точного фиксирования положения рейки.

2.3.6. Местоположение марок наносится условным знаком на общую схему расположения зданий и сооружений, выполненную в масштабе 1:500 или 1:1000. Каждой марке присваивается номер, под которым в дальнейшем записываются все наблюдения, относящиеся к данной марке.

Рис. 5. Схема размещения марок в главном корпусе ГРЭС с энергоблоками 800 МВт

Для удобства наблюдений и обработки измерений нумерация марок на каждом сооружении (здании, фундаменте турбоагрегата, котла, градирне и т.д.) принимается по однотипной схеме и начинается с номера 1 с возрастанием нумерации по часовой стрелке. При записи наблюдений номер марки сопровождается сокращенным наименованием здания или сооружения. Например, марка 5 на здании водоподготовительной установки записывается М-5 ХВП.

2.4. Измерение осадок (деформаций) фундаментов

2.4.1. Осадки оснований фундаментов следует измерять одним из следующих методов или их комбинированием: геометрическим, тригонометрическим, гидростатическим [2].

2.4.2. Геометрическое нивелирование следует применять в качестве основного метода измерения вертикальных перемещений.

2.4.3. Тригонометрическое нивелирование следует применять при измерениях вертикальных перемещений фундаментов в условиях резких перепадов высот (больших насыпей, глубоких котлованов, косогоров и т.п.).

2.4.4. Гидростатическое нивелирование рекомендуется применять в помещениях со стабильным температурным режимом, например в подвальной части машинного зала, где могут вестись измерения переносными гидронивелирами или устанавливаться стационарные гидростатические системы.

2.5. Геометрическое нивелирование

2.5.1. Геометрическое нивелирование реперов и марок производится высокоточными нивелирами Н-05 и им подобными по точности 3 и инварными штриховыми рейками РН-05 длиной 3,0; 2,0; 1,2; 1,0 м, подвесными рейками с инварной шкалой, а также рейками из алюминиевого корпуса с инварной полосой [4].

2.5.2. Нивелирование деформационных марок производят короткими лучами от 2,0 до 25 м (для земляных плотин до 50 м) при соблюдении равенства расстояний от инструмента до реек двойным горизонтом по одной из следующих программ:

 

I программа

II программа

Первый горизонт инструмента

ЗоПоПдЗд

ЗоЗдПоПд

Второй горизонт инструмента

ПоЗоЗдПд

ПоПдЗоЗд

Здесь Зо - отсчет по основной шкале задней рейки;

Зд - отсчет по дополнительной шкале задней рейки;

По - отсчет по основной шкале передней рейки;

Пд - отсчет по дополнительной шкале передней рейки.

При нивелировании в помещениях и при установке нивелира на жестком основании применяется II программа с использованием одной рейки.

2.5.3. Для измерения осадок фундаментов с точностью, характеризующейся средней квадратической погрешностью 1 мм, взаимное положение исходных глубинных реперов необходимо определять со средней квадратической погрешностью не более 0,5 мм.

2.5.4. Между исходными реперами должна создаваться жесткая система основных ходов. Для равноточной передачи отметок на марку от цикла к циклу необходимо сохранять однотипность схемы нивелирования. Для сокращения объема измерений, обработки и получения требуемой точности необходимо разрабатывать схему основных ходов с минимальным количеством штативов.

2.5.5. Основные ходы должны прокладываться в наиболее благоприятных условиях для производства нивелирования. Время для прокладки ходов вне зданий выбирается с учетом использования их тени для защиты нивелира от солнечных лучей.

2.5.6. При прокладке основных ходов необходимо соблюдать равенство расстояний до реек (0,5 м). Для облегчения определения места установки нивелира расстояния могут определяться по осям зданий и сооружений. Если это исключено, то расстояния измеряются по дальномерным нитям нивелира либо рулеткой.

2.5.7. Поверка уровня нивелира и уровней реек в случае работы в условиях вибрации (машинный зал, дымососное отделение) производится ежедневно, в остальных условиях - один раз в неделю. Для удобства определения угла i нивелира на объекте работ выбираются две удобные марки в качестве базисных, удаленные одна от другой на расстояние не менее 25 м, превышение между которыми определяется путем многократных измерений. Внутри главного корпуса для этой цели могут использоваться фотошкалы, закрепленные на стенах или колоннах.

2.5.8. В течение первого часа работы до принятия нивелиром температуры окружающей среды производится нивелирование марок, не входящих в основные ходы.

2.5.9. Для определения осадки наиболее удаленных от исходных реперов фундаментов с точностью 1 мм (при mст 0,13 мм) предельное количество штативов основного хода между исходными реперами не должно превышать 14.

2.5.10. Отметки на промежуточные марки передают от марок основного хода. На самую удаленную от основного хода марку отметка передается максимум двумя штативами от марки основного хода, а при большем удалении прокладывается ход второго порядка или увеличивается число основных ходов.

2.5.11. Для более достоверного определения осадки фундаментов колонн каркаса главного корпуса необходимо продольные основные нивелирные ходы по машинному и котельному отделениям при наличии проходов связывать между собой поперечными ходами.

В случае отсутствия проходов необходимо устанавливать через 120 - 150 м по две марки на одной и той же колонне с двух сторон: одну со стороны машинного зала, дублирующую - со стороны котельного цеха.

2.5.12. Передача отметок при входе в машинный зал и котельное отделение (для исключения влияния разности температур и конвекции) производится несколько раз, причем нивелир каждый раз должен принять температуру окружающей среды. Для более точной передачи отметок при входе в главный корпус необходимо устанавливать на одной и той же колонне две марки: одну - вне помещения, а дублирующую - внутри.

Для этой же цели можно использовать наклеенную на окно шкалу на прозрачной основе. Эта шкала будет служить переходной точкой при передаче отметки через стекло. Ошибка, вызванная преломлением луча при прохождении через стекло, находится в пределах ±0,1 мм.

2.5.13. Для получения равноценных материалов и исключения влияния сезонного колебания отметок глубинных реперов и марок, а также упрощения последующего анализа материалов при годовых циклах необходимо производить измерения в одни и те же сроки или с незначительными отклонениями по времени от установленной даты наблюдений (до месяца), а при полугодовых циклах для правильного анализа осадки сравнивать, кроме того, соответствующие сезонные измерения (лето - лето, зима - зима).

2.5.14. При работе в слабо освещенных помещениях необходимо применять искусственное освещение шкал реек, уровней и отсчетного приспособления инструмента.

2.5.15. Для уменьшения значения ошибки из-за неправильной установки рейки на марке рекомендуется применять подпятники, у которых центр оградительного кольца лежит на оси рейки.

Для удобства удержания рейки в вертикальном положении должны применяться подпорки (рис. 6). Пятка рейки должна быть чистой.

2.5.16. В качестве переходных точек применяются костыли для грунта и бетона, можно типовые. Для исключения ошибок из-за недостаточной устойчивости переходных точек необходимо предусматривать установку дополнительных марок на рядом расположенных сооружениях и фундаментах.

2.5.17. Для уменьшения неблагоприятного влияния вибрации оборудования на нивелир должны применяться подкладки под ножки штатива нивелира или виброгаситель, закрепляемый на трубе нивелира или штатива. В случае асфальтового покрытия территории и пола котельного отделения подкладки должны использоваться для исключения ошибок из-за осадки штатива.

2.5.18. Передача отметки на марки производится до ближайшего исходного репера с точностью, характеризующейся средней квадратической погрешностью определения превышения не более 0,7 мм.

2.5.19. Подготовку инструмента к работе (исследования и проверки, компарирование реек) необходимо производить в соответствии с требованиями [5], а также приложения 2.

2.5.20. Форма записи нивелирования приведена в приложении 3.

Записи в журнале производятся карандашом либо шариковой ручкой. Ошибки при записи на объекте работ исправляются новой записью за тем же номером, но с припиской «Повторно», при обработке и контроле - зачеркиванием неверных цифр и записей над ними правильных данных.

Рис. 6. Приспособления, применяемые при производстве нивелирования:

а - подпорка для рейки; б - костыли; в - подкладки под ножки штатива для уменьшения вибрации;

1 - нивелирная рейка; 2 - подпорки; 3 - костыль для забивки в грунт; 4 - предохранительный колпачок; 5 - костыль для забивки в асфальт; 6 - костыль для забивки в бетон; 7 - пластина (Ст 3); 8 - войлок; 9 - пористая резина.

2.5.21. Расхождение значений измеренных превышений между двумя горизонтами нивелира не должно быть более 6 делений отсчетного барабана (0,3 мм), а превышений, полученных по основной и дополнительной шкалам - 4 деления (0,2 мм). При больших расхождениях измерения переделываются.

2.5.22. Допустимая невязка (мм) нивелирного хода или полигона определяется по формуле

fn = ±0,3√n,

где n - число штативов в ходе или полигоне.

2.6. Обработка материалов геометрического нивелирования и отчетность

2.6.1. После повторной проверки журналов наблюдений составляют схему нивелирных ходов, на которую записывают средние превышения и невязки.

2.6.2. При обработке материалов измерений необходимо и достаточно применять при уравнивании ходов и полигонов способы эквивалентной замены, последовательных приближений или полигонов проф. В. Попова, обеспечивающие необходимую точность.

2.6.3. Во всех циклах измерений отметки исходных глубинных (грунтовых) реперов принимаются неизменными, если при контроле их положения изменение превышений между реперами окажется меньше ошибок измерений или одного порядка с ними. Критерием неподвижности глубинных грунтовых реперов служит предельное значение, мм:

К ≤ 2mст,

где mст - средняя квадратическая погрешность определения превышения штатива (станции), принимаемая 0,15 мм;

п - число станций в ходе.

2.6.4. Отметки марок вычисляют с точностью до 0,01 мм, а при составлении каталога отметок и осадок записываются с точностью до 0,1 мм. Осадки фундамента определяются как разность отметок последующего и первого циклов нивелирования. Форма каталога отметок и осадок реперов и марок приведена в приложении 4.

2.6.5. По каталогу составляют схему со значениями осадок фундаментов на плане размещения зданий и сооружений, а в случае значительной неравномерности осадок на схему наносят линии равных осадок через 5 - 10 мм.

Рекомендуется строить графики осадок марок по осям зданий и сооружений с приведением геологического разреза основания с указанием уровня подземных вод.

2.6.6. После выполнения начального цикла измерений осадок фундаментов составляется пояснительная записка (отчет) с характеристикой глубинных (грунтовых) реперов, схемой размещения деформационных марок нивелирных ходов, методикой нивелирования и уравнивания, оценкой точности измерений, а также каталог отметок марок и реперов.

2.6.7. По трем циклам измерений определяют значение, скорость и динамику осадок. Вычисляют среднее значение осадки сооружений, ее среднегодовую скорость, относительные прогибы и крены, наибольшую и наименьшую осадку, а по значению осадки - места возможных деформаций конструкций.

2.6.8. Отчет по измерениям осадки фундаментов должен включать сведения о начале и объеме работ, краткую инженерно-геологическую и гидрогеологическую характеристику промплощадки, характеристики фундаментов и несущих конструкций главного корпуса и основных сооружений, определение степени опасности неравномерной осадки и ее влияния на деформации конструкций и работу оборудования, оценку допустимых значений, прогноз осадки и рекомендации по дальнейшим измерениям.

2.7. Гидростатическое нивелирование

2.7.1. Для гидростатического нивелирования применяется переносный шланговый гидронивелир проф. О. Мейссера (народное предприятие «Фрайберген Прецизионемеханик» - ГДР) с диапазоном измерения 100 мм с ценой деления микрометрического винта 0,01 мм, с центральным подвешиванием, а также специальной штативной установкой, позволяющей производить измерения практически независимо от длины шланга.

Для исключения температурной погрешности вводят поправки, для чего в шланге под измерительной системой устанавливают специальный термометр, с помощью которого определяют температуру столба воды. Для облегчения работ во время процесса измерения контакт острия измерительного шпинделя с уровнем жидкости определяется по потуханию электрической лампочки.

2.7.2. Гидростатический уровень модели 115-1 завода «Калибр» предназначается для измерений превышений в диапазоне ±25 мм. В закрытых помещениях с постоянным температурным режимом уровень модели 115 обеспечивает измерение превышения на станции (одного штатива) со средней квадратической ошибкой около 5 - 8 мкм.

Для предохранения от нагрева головки гидронивелира модели 115-1 необходимо термоизолировать, а процесс измерений сокращать во времени.

2.7.3. Для измерения осадки и деформаций фундаментов турбоагрегатов, дымовых труб, башен градирен могут устанавливаться простейшие стационарные гидростатические системы. Простейшая гидросистема состоит из проложенных по периметру сооружения шланга или трубы, имеющих в наблюдаемых точках выходы (пьезометры) в виде стеклянных водомерных трубок с делениями. Измерительные сосуды (пьезометры) в гидростатических системах могут иметь последовательное соединение - разомкнутое и замкнутое. Замкнутая гидросистема во всех случаях предпочтительна, так как каждый сосуд имеет двойную связь с другим и, кроме того, при изменении высоты отдельных сосудов жидкость значительно быстрее приходит в состояние статического равновесия.

2.7.4. Сосуды (пьезометры) гидросистемы закрепляются на сооружении. В каждом цикле наблюдений берется отсчет уровня жидкости в сосудах. Разность отсчетов, взятых в различных циклах, характеризует значения осадки сосудов и, следовательно, сооружений.

2.7.5. Для устранения изменения начальной отметки уровенной поверхности жидкости вследствие вертикальных смещений отдельных сосудов в гидростатическую систему вводится компенсатор-резервуар значительного объема.

2.7.6. При измерении осадок и деформаций фундаментов турбоагрегатов ТЭС, где имеются большие тепловыделения в качестве рабочей жидкости, должна применяться жидкость с малым коэффициентом расширения, а также предусматриваться теплоизоляция и термостабилизация рабочей жидкости.

3. ИЗМЕРЕНИЕ ДЕФОРМАЦИЙ СТРОИТЕЛЬНЫХ КОНСТРУКЦИЙ

3.1. Измерение деформаций фундаментов турбоагрегатов мощностью 180 МВт и более

3.1.1. Нормальная работа турбоагрегата обеспечивается неизменным положением опор подшипников турбоагрегата, т.е. отсутствием значительных деформаций (прогибов, кренов) верхней фундаментной плиты турбоагрегата. Одной из причин вышеуказанных деформаций является неравномерная осадка основания.

Измерения осадок и деформаций фундаментов турбоагрегатов 180 МВт и более производят методом высокоточного геометрического или гидростатического нивелирования. Данные измерений должны дополнить материалы исследований центровки валопровода и вибрации турбоагрегатов для установления причин нарушения нормальной работы турбоагрегатов.

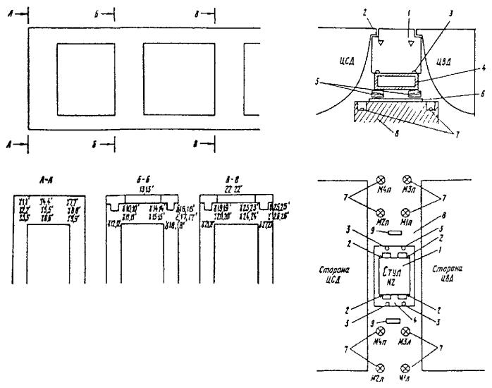
3.1.2. В проектах фундаментов турбоагрегатов должна предусматриваться схема и смета на установку деформационных марок на трех уровнях: по верху нижней плиты, на отметке 0,6 м и на верхней плите (рис. 7).

Марки по верху нижней плиты используются в период строительства фундамента турбоагрегата. В период эксплуатации используются только марки, доступные для нивелирования.

Марки на отметке 0,6 м устанавливаются на наружных гранях стоек фундамента, при этом взаимное смещение их в плане относительно марок верхнего строения не должно превышать 1 м. Расстояние между марками измеряется с точностью 1 см и производится их привязка относительно осей подшипников.

3.1.3. Для головных образцов турбоагрегатов должны предусматриваться дополнительно марки у корпусов подшипников на уровне горизонтального разъема цилиндров.

Рис. 7. Схема размещения марок на фундаменте турбоагрегата 300 МВт (отметка обслуживания):

1 - ось турбоагрегата; 2 - ось генератора; 3 - ось конденсатора

3.1.4. Измерения деформаций фундамента начинают после возведения нижней фундаментной плиты, далее их производят после возведения колонн фундамента, после возведения верхней фундаментной плиты, а затем измерения выполняются в такой последовательности:

два раза в процессе монтажа турбоагрегата;

до и после гидроиспытаний вакуумной системы;

перед комплексными пусковыми операциями турбоагрегата на холодном фундаменте;

в процессе эксплуатации через 0,5 - 3 мес в зависимости от тепловых деформаций и скорости осадки.

3.1.5. Передача отметок на марки, установленные в верхнем строении фундаментов турбоагрегатов, производится один раз в начале измерений с помощью нивелира и стальной рулетки. На отметке обслуживания в качестве исходных устанавливают марки на нескольких колоннах ряда Б главного корпуса. Осадки этих же колонн на отметке 0,6 м контролируются относительно исходных глубинных (грунтовых) реперов и поправка за осадку вводится в отметку марок на площадке обслуживания.

3.1.6. За межремонтный период турбоагрегата (4 года) стрела прогиба нижней плиты фундамента не должна превышать 0,0001 ее длины при длине турбоагрегата в осях крайних подшипников не более 40 м и 0,00015 - при длине турбоагрегата более 40 м.

При промежуточных длинах турбоагрегата допустимое значение относительного прогиба нижней плиты принимается по интерполяции. Кривая прогиба должна быть плавной, иметь кривизну одного знака. Эти требования относится к остывшему фундаменту и не учитывают колебаний температуры окружающей среды.

3.1.7. Измерения должны производиться выверенным в соответствии с приложением 2 нивелиром с замыканием нивелирного хода на каждом фундаменте на всех отметках.

3.1.8. Для повышения точности измерений и сокращения количества штативов в ходе необходимо предусмотреть закладку связующих марок с обеих сторон фундамента. Места установки нивелира во всех циклах измерений желательно выбирать одни и те же во всех циклах измерений, для чего их маркируют краской.

3.1.9. Результаты нивелирования марок, установленных в нижней плите, определяют ее деформацию осадочного характера, а нивелирование верхней плиты, кроме того, учитывает температурные деформации фундамента и турбоагрегата.

По результатам нивелирования составляется график осадки и прогиба фундамента турбоагрегата (рис. 8, 9).

Рис. 8. Формуляр осадки и деформаций фундамента турбоагрегата:

M1/16 - деформационная марка, установленная на отметке обслуживания и в подвале, числитель - левая сторона, знаменатель - правая

Рис. 9. График осадки фундамента турбоагрегата (отм. 0,6 м):

а - продольный разрез фундамента и основания; б - график осадки фундамента (по оси турбоагрегата);

1 - сарматский песок; 2 - конгломерат; 3 - гравийный грунт; 4 - аллювиальная глина; 5 - песчаник; 6 - сарматская глина

3.1.10. Измерение деформаций фундамента турбоагрегата методом гидростатического нивелирования производят при условии достижения точности (см. п. 3.1.6), соблюдая рекомендации п. 2.5 и отдавая предпочтение стационарным гидростатическим системам, установленным на нижней плите.

3.2. Измерение деформаций перекосов (поворотов) ригелей фундамента и опор подшипников турбоагрегатов

3.2.1. Деформации перекосов ригелей фундамента и опор подшипников турбоагрегатов проявляются при пусках (из холодного состояния) и остановах турбин и достигают до ±3,5 мм/м (опора подшипника № 2 турбин К-300-240-1 и К-300-240-2 ПОАТ ХТЗ). Деформации перекосов приводят к задеванию роторов о гребни верхних половин обойм концевых уплотнений цилиндров, диагональным надирам баббита (или выкрашиванию) на вкладышах подшипников, нарушению равномерного перемещения стула подшипников № 1 и 2 при расширении цилиндров, росту вибрации подшипника № 1 и, как следствие этого, в отдельных случаях к недопустимому прогибу роторов.

3.2.2. Максимальные деформации перекосов наблюдаются в основном на сборных железобетонных фундаментах турбоагрегатов, эксплуатирующихся длительное время. Допустимое значение перекосов согласно [6] составляет ±0,6 мм.

3.2.3. Недопустимые значения перекосов могут быть вызваны следующими причинами:

перекосом продольных шпонок опоры и их заклиниванием вследствие деформации чугунной опорной плиты в процессе эксплуатации;

задеванием в отдельных случаях на турбинах вертикальной шпонки ЦСД за продольную шпонку опоры;

снижением в 1,5 - 2 раза жесткости железобетонного ригеля сборного фундамента при его длительном нагреве, в период эксплуатации до 100 - 200 °С (допуск 50 °С).

Недопустимо высокие температуры в зоне расположения ригеля под опорами подшипников возникают вследствие утечек пара из горизонтального разъема цилиндров и фланцев подсоединения паровпускных паропроводов к цилиндрам, а также недостаточной теплоизоляции паропроводов отсоса пара из уплотнений.

3.2.4. Определение перекосов ригелей фундамента и опор подшипников производят на всех головных турбоагрегатах мощностью 180 МВт и более, а также на сборных железобетонных фундаментах турбоагрегатов мощностью свыше 180 МВт.

3.2.5. Для измерения деформаций перекосов ригелей фундамента и опор подшипников турбоагрегатов должны быть установлены деформационные марки (рис. 10).

Измерение температуры внешних граней ригелей фундамента производят либо термощупом, либо с помощью термопар ХК, заделанных в тело ригеля на глубину 10 - 15 см.

3.2.6. Начало измерений деформаций перекосов следует относить к холодному состоянию фундамента и турбоагрегата (окончание монтажа турбоагрегата, пуск турбоагрегата из среднего или капитального ремонта).

Далее измерения перекосов производят в зависимости от температуры металла ЦВД и ЦСД, а также абсолютного расширения ЦВД и ЦСД. Измерения производят через каждые 50 °С повышения температуры металла до температуры 200 °С, далее в зависимости от абсолютного расширения ЦВД и ЦСД вплоть до полного прогрева металла цилиндров турбоагрегата, но не более чем через 50 °С. После полного прогрева металла турбоагрегата измерения производят один раз в сутки. Заканчивают измерения на 10 - 14 сутки непрерывной работы турбоагрегата, т.е. после прогрева фундамента турбоагрегата.

3.2.7. Измерение перекосов ригелей фундамента и опор подшипников турбоагрегата производят методом высокоточного геометрического нивелирования с помощью высокоточного нивелира Н-05 и ему подобных по точности и инварных штриховых реек, а также с помощью уровня модели 118 или 122 завода «Калибр».

В качестве исходного принимается марка на отметке обслуживания типа «а» или «б» (см. рис. 4), установленная на ближайшей к фундаменту турбоагрегата колонне каркаса главного корпуса - лучше по ряду Б.

3.2.8. Погрешность получения отметок деформационных марок, установленных в ригелях и на опорах подшипников турбоагрегата, должна находиться в пределах 0,10 ÷ 0,15 мм, при холодном состоянии турбоагрегата - 0,10 ÷ 0,20 мм на работающем турбоагрегате.


Рис. 10. Размещение контрольно-измерительной аппаратуры в ригелях фундамента турбоагрегата:

1 - опорный стул; 2 - деформационная марка на опорном стуле; 3 - марка в фундаментной плите; 4 - опорная плита; 5 - парные клинья; 6 - металлическая прокладка; 7 - марки в ригеле; 8 - ригель, 9 - площадка для уровня завода «Калибр» модели 118 или 122; γ1-27, γ1'-27' - термоэлектрические термометры.


3.2.9. При измерениях, связанных с определением перекосов, фиксируют также температуру металла ЦВД и ЦСД, абсолютное расширение цилиндров ЦВД и ЦСД, температуру бетона ригелей, а в случае неудовлетворительного расширения цилиндров турбоагрегата - также относительное расширение роторов.

3.2.10. Обработка материалов измерений заключается в составлении каталога отметок марок, вычислении перекосов ригелей и опор подшипников (соотношение мм/м), составлении графиков.

На графиках перекосов ригелей и опор подшипников одновременно наносят данные абсолютного расширения цилиндров и температуры металла ЦВД и ЦСД (рис. 11).

3.3. Определение кренов инженерных сооружений башенного типа

3.3.1. Наблюдения за кренами сооружений так же, как и за остальными видами деформаций, проводятся в соответствии с требованиями СНиП [7].

Крен является наиболее характерным показателем совместной деформации сооружения башенного типа и его основания.

В таких сооружениях, обладающих повышенной чувствительностью к деформациям грунтов основания, крен вызывает развитие дополнительного момента, который в свою очередь способствует увеличению крена и может привести к потере устойчивости сооружения. Поэтому в проектах высоких сооружений предусматриваются наряду с наблюдениями за осадкой оснований и фундаментов натурные измерения кренов как в период строительства, так и особенно в процессе эксплуатации.

3.3.2. Измерения кренов производят с соблюдением требований [8], а также настоящих Методических указаний.

3.3.3. Работы по измерениям кренов должны производиться на дымовых трубах, градирнях, резервуарах жидкого топлива.

Крены сооружений башенного типа определяются с помощью теодолитов T1, 2T2 и им подобных по точности [9].

3.3.4. Крен сооружения может быть выражен в линейной, угловой и относительной мере.

Рис. 11. Деформация перекосов ригелей фундамента турбоагрегата и опор подшипников турбины:

а - температура металла ЦВД и ЦСД; б - перекосы опорного стула и опорной плиты опоры № 2 турбины; в - абсолютное расширение ЦВД и ЦСД;

1; 2 - стул, левая и правая сторона соответственно; 3 - опорная плита, левая сторона

Под линейной величиной абсолютного крена в i-м цикле наблюдений понимается отрезок между проекциями центра подошвы фундамента и положения центра верхнего сечения сооружения на горизонтальную плоскость. Приращение крена в линейной мере представляет собой расстояние (отрезок) между проекциями положений центра верхнего сечения сооружения в двух циклах наблюдений на горизонтальной плоскости.

Абсолютный крен в угловой мере определяется острым углом между отвесной линией в центре подошвы фундамента и положением оси сооружений в i-м цикле.

Относительным креном называют отношение абсолютного крена сооружения в i-м цикле к высоте сооружения.

3.3.5. В период строительства выверка вертикальности в зависимости от высоты возведенной части сооружения с требуемой точностью может быть выполнена: с помощью тяжелого отвеса, зенит-прибора, способом малых углов, способом вертикального проектирования [8].

3.3.6. Определение крена эксплуатируемого сооружения и его последующего изменения в зависимости от требуемой точности и высоты, а также местных условий может быть осуществлено одним из следующих способов: направлений (горизонтальных углов); малых углов; зенитных расстояний; высокоточного нивелирования деформационных марок.

3.3.7. Для определения крена сооружений башенного типа в стесненных условиях (на застроенных территориях) применяют способ зенитных расстояний с применением оптической насадки на окуляр или на объектив зрительной трубы теодолита в виде прямоугольной преломляющей призмы.

3.3.8. С целью ослабления влияния ошибок, вызываемых неровностями поверхности сооружения и несимметричностью поясов относительно его оси, следует наблюдать несколько (два - три) близко расположенных по высоте сечений - верхних и нижних. За направление на центр верхнего и соответственно нижнего сечения принимается среднее из направлений на центры наблюдавшихся (двух - трех) верхних и соответственно нижних поясов.

3.3.9. Перед наблюдениями дымовых труб необходимо выявить искривления их стволов, вызванные прогарами или нарушениями технологии их прогрева и просушки. Для этого подъемными винтами теодолита устанавливают вертикальную нить параллельно одной из (видимых с данного пункта) образующих ствола трубы и, подводя ее микрометренным винтом алидады к образующей, проверяют прямолинейность последней на видимом участке трубы. Вращая зрительную трубу теодолита вокруг ее оси так, чтобы вертикальная нить скользила вдоль проверяемой образующей, можно обнаружить изгиб. Аналогично проверяют противоположную образующую ствола трубы. Такие операции выполняют не менее чем на двух пунктах.

3.3.10. С каждой установки инструмента должны быть измерены горизонтальные углы на правую и левую образующие ствола трубы вверху и внизу. Для однозначного определения оси трубы (для дымовых труб) на измеряемом уровне должны быть выбраны в качестве точек наведения места крепления светофорных площадок вверху и примыкающих газоходов внизу. Одновременно должны быть измерены вертикальные углы (приложение 5).

3.3.11. При измерениях приращения кренов сооружений башенного типа методом направлений или малых углов теодолиты должны устанавливаться на расстоянии 1,5 - 2Н от объекта (где Н - высота), закрепляться на местности постоянными знаками и привязываться промерами к существующим зданиям и сооружениям.

Одна из точек установки должна располагаться под углом 90° к направлению максимального крена.

3.3.12. Расстояния от точек стояния теодолита до центра трубы должны определяться прямой геодезической засечкой или получены из генплана.

3.3.13. Определение полной величины и направления крена сооружения производится методом экстраполяции после вычисления частных наклонов сооружения.

3.3.14. Допустимая погрешность определения крена по образующим ствола трубы из-за дефектов бетонирования или кладки не должна превышать 0,0005 высоты сооружения [10].

3.3.15. В случае обнаружения крена, превышающего допустимое значение (СНиП 2.02.01.83), должны быть организованы дальнейшие наблюдения за изменениями крена по неравномерности осадки марок, установленных на цоколе ствола сооружения.

3.3.16. Количество марок на цоколе сооружения должно быть не менее четырех, а также должно быть измерено расстояние между реперами по периметру сооружения.

3.3.17. После измерения осадки на схеме осадок фундамента сооружения проводятся линии равных осадок (рис. 12) и по максимальной разности осадки вычисляют прирост крена - ∆К (мм) по формуле

где ∆S - максимальная разность осадки по диаметру сооружения, мм;

Н - высота сооружения, м;

Д - диаметр сооружения, м.

Направление крена определяется как перпендикуляр к линиям равной осадки фундамента.

Рис. 12. Определение направления и прироста значения крена трубы по осадкам ее фундамента (пример):

1 - осадочная марка; 2 - дымовая труба; 3 - линия равных осадок через 1 мм; 4 - крен и его направление, вычисленный по разности осадок; 5 - направление крена трубы к моменту измерения осадок; 6 - общий крен

3.3.18. Погрешность определения прироста крена по измерениям осадок фундамента сооружения составляет 1 см при определении разности осадки с точностью 1 мм.

Значения предельных деформаций оснований и кренов сооружений приведены в приложении 6.

3.4. Геодезическая съемка подкрановых путей

3.4.1. Геодезическая съемка подкрановых путей должна производиться при сдаче подкрановых путей в эксплуатацию, а в последующем периодически, в зависимости от степени неравномерности осадок фундаментов, для выполнения рихтовки подкрановых путей.

3.4.2. Геодезическая съемка подкрановых путей включает следующие измерения:

нивелирование подкрановых рельсов;

определение планового положения подкрановых рельсов;

измерения смещения рельса с оси подкрановой балки и расстояния от грани колонны до оси рельсов;

измерение пролетов подкранового пути и мостовых кранов.

3.4.3. Нивелирование подкрановых рельсов производится нивелиром Н-3 [3]. Инструмент устанавливается на тормозной площадке подкрановых путей. Рейка устанавливается на головку рельса против середины каждой колонны при шестиметровом шаге колонн и дополнительно между колоннами при шаге колонн 12 м.

3.4.4. При длине зала свыше 100 м передача отметок с одного ряда на другой должна производиться через каждые 70 - 100 м. Невязка в полигонах не должна превышать ±3 мм.

3.4.5. Профиль подкранового пути строится в абсолютных отметках, а если невозможно передать отметку на подкрановые пути от реперов промплощадки, то в условных отметках.

3.4.6. Определение положения рельсов в плане производится теодолитом с увеличением не менее 25х и шаблоном со шкалой (рис. 13).

3.4.7. Теодолит устанавливается на штативе над головкой рельса в одном конце зала, ориентируется на визирную марку (см. рис. 13), установленную над головкой рельса с погрешностью 1 - 2 мм в другом конце зала, после чего делаются отсчеты с погрешностью до 1 мм по шаблону, надеваемому на головку рельса против середины каждой колонны. Теодолит при этом центрируется над головкой рельса приближенно с погрешностью 1 - 2 см.

3.4.8. При съемке подкрановых путей большой протяженности должен применяться способ последовательных створов. В этом случае съемка второго, третьего и т.д. створа продолжается с точки, бывшей предпоследней в предыдущем створе. Каждый частный створ ориентируется по визирной марке, установленной в конце подкранового пути и хорошо освещенной.

Вычисление и построение планового положения приведены в приложении 7 и на рис. 14, при этом частные створы приводятся к общему (единому) створу.

3.4.9. Измерение пролетов подкранового пути и мостовых кранов производится стальной рулеткой с постоянным натяжением 70 Н при пролете до 30 м и 100 Н при большем пролете. Натяжение обеспечивается динамометром. Для удобства измерения один конец рулетки вкладывается в зажим-упор.

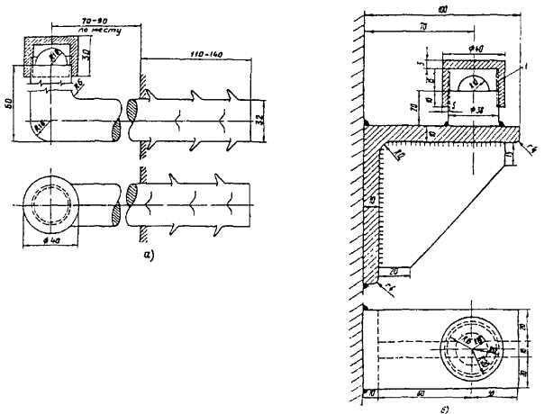
Рис. 13. Приспособления для плановой съемки подкранового пути:

1 - рельс; 2 - шаблон со шкалой; 3 - деления шкалы 10 × 10 мм; 4 - знак шкалы; 5 - визирная марка

3.4.10. Измерение смещения рельса с оси подкрановой балки и расстояния от грани колонны до оси рельса измеряется с помощью линейки с погрешностью до 1 мм.

Построение взаимного положения колонн, балок и рельсов приведено на рис. 14.

3.4.11. Для составления проекта рихтовки подкрановых путей должны быть измерены расстояния от наиболее выступающих боковых частей крана до граней колонн или стен, а также от самой высокой точки крана до нижнего пояса ферм или предметов, прикрепленных к фермам.

3.4.12. Проект рихтовки подкрановых путей должен разрабатываться с учетом существующих допусков отклонений конструкций подкрановых путей при эксплуатации (приложение 8) [11].

3.4.13. При отсутствии наблюдений за осадкой фундаментов по деформации подкрановых путей может быть установлена степень неравномерности осадок фундаментов главного корпуса. По профилю подкрановых путей и его изменению со временем может быть установлен очаг неравномерных осадок, а по изменению планового положения - деформация каркаса здания.

Рис. 14. Детальная планово-высотная геодезическая съемка подкранового пути:

а - положение рельсов, балок и граней колонн ряда Б; б - совместное плановое положение осей рельсов рядов А и Б; в - положение рельсов, балок и граней колонн ряда А; г - профиль подкранового пути;

 - положение оси подкрановой балки;

 - положение оси рельса ряда А;

 - положение оси рельса ряда Б;

 - положение граней колони, уменьшенное на 800 мм

4. ИЗМЕРЕНИЕ ОСАДОК И ДЕФОРМАЦИЙ ГИДРОТЕХНИЧЕСКИХ СООРУЖЕНИЙ ТЭС

4.1. Измерения осадок должны производиться на водоподпорных сооружениях: бетонных, земляных, каменно-набросных плотинах, а также береговых насосных, водозаборных и сбросных сооружениях.

4.2. Нивелирование марок гидротехнических сооружений производят с помощью нивелира Н-05 и ему подобных по точности и инварных штриховых реек. Нивелирование производят в виде прямого и обратного ходов между исходными глубинными (грунтовыми) реперами, устанавливаемыми у противоположных сторон плотин (дамб).

4.3. Измерение горизонтальных смещений гидротехнических сооружений производят методом оптических створов, измерением малых горизонтальных углов, методом микротриангуляции, либо комбинированным способом.

4.4. Периодичность измерений осадок грунтовых плотин в период строительства плотины и наполнения водохранилища (шламонакопителя) - ежеквартально, в первый год после сдачи в эксплуатацию - 3 раза, по второй год - 2 раза, затем - ежегодно вплоть до стабилизации (менее 0,02 % Н, где Н - высота плотины).

4.5. В случае обнаружения в процессе эксплуатации грунтовых плотин значительных деформаций либо других неблагоприятных явлений (повышение уровня подземных вод, возникновение оползней) производят внеочередные измерения.

4.6. Измерение осадок бетонных гидротехнических сооружений на скальном основании производят в первые 3 года эксплуатации ежегодно, в дальнейшем - 1 раз в 2 - 3 года; на сооружениях, возведенных на нескальном основании, - в первые 3 года эксплуатации 2 раза в год, в дальнейшем - 1 раз в год.

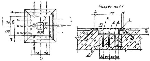
Пример размещения исходных реперов и осадочных марок приведен на рис. 15.

В случае стабилизации осадки (1 мм в год) контрольный цикл измерений производят через 5 лет.

Рис. 15. Схема размещения исходных реперов и осадочных марок на гидроузле ТЭС:

 - исходный репер и его номер;

 - осадочная марка в земляной плотине и ее номер;

 - торцевая осадочная марка в бетонном водосбросе (тип «В») и ее номер

5. ТЕХНИКА БЕЗОПАСНОСТИ ПРИ ПРОИЗВОДСТВЕ ГЕОДЕЗИЧЕСКИХ РАБОТ

5.1. Лица, осуществляющие геодезические работы на эксплуатирующихся ТЭС, должны пройти медицинское освидетельствование, которое в дальнейшем необходимо проходить один раз в два года.

5.2. К выполнению геодезических работ на ТЭС допускаются лица не моложе 18 лет, прошедшие медицинское освидетельствование и сдавшие экзамен по правилам техники безопасности при работах на ТЭС и имеющие соответствующее удостоверение.

5.3. При производстве геодезических работ в помещениях с действующим оборудованием, а также в период монтажа и ремонта оборудования все члены геодезической бригады должны быть в касках. Спецодежда не должна иметь развевающихся частей, которые могут быть захвачены движущимися или вращающимися механизмами.

5.4. Геодезические работы на площадках открытых распределительных устройств выполняются по наряду в присутствии наблюдающего от электроцеха.

5.5. Геодезические работы при проверке подкрановых путей относятся к высотным и выполняются лицами, имеющими допуск к верхолазным работам и получившими инструктаж на рабочем месте. Геодезическая съемка подкрановых путей выполняется по наряду в присутствии наблюдающего ответственного за эксплуатацию грузоподъемных механизмов.

5.6. При работах на подкрановых путях необходимо иметь предохранительные пояса, имеющие данные о их проверке. При включенных троллеях работать на подкрановом пути со стороны их подвески запрещается. В случае, если проход между подкрановыми балками и стеной главного корпуса не имеет сплошного металлического настила или решетки и ограждения в виде перил, должен быть протянут трос (канат), за который крепятся страховочным поясом.

5.7. Производство геодезических работ в помещениях углеразгрузки, бункерах, у топливоподач осуществляется по наряду с проведением инструктажа и регистрацией в журнале у начальника смены ТТЦ.

5.8. Запрещается перелезать через работающие ленточные и другие конвейеры, передавать через них мерные рейки и инструменты, а также подлезать и проходить под ними в неогражденных или не предназначенных для перехода местах.

Приложение 1

КОНСТРУКЦИИ ДЕФОРМАЦИОННЫХ МАРОК И СПОСОБЫ ИХ УСТАНОВКИ

Деформационная марка (см. рис. 4) состоит из головки с колпачком и штыря, на котором крепится головка с помощью электросварки.

Штырь марки типа «а» рекомендуется изготовлять из арматуры периодического профиля. Если штырь изготовлен из гладкого стержня, то для надежности его заделки необходимо сделать хвостик или наплавить электродом несколько выступов. Марка изготовляется из Ст 3 (ГОСТ 380-88).

Марки устанавливаются, как правило, на 0,6 м выше планировки или уровня пола в здании с условием обеспечения свободной установки вертикальной нивелирной рейки длиной 1,2 м на репер при производстве измерений, т.е. плоскость стены или колонны выше марки не должна быть закрыта какими-либо выступающими предметами.

В кирпичные стены зданий и железобетонные конструкции марки устанавливаются на цементном растворе (желателен расширяющийся цемент) с глубиной заделки штыря марки на 11 - 14 см в заранее пробитое отверстие. Установка марок в железобетонные колонны может быть осуществлена также приваркой штыря к вскрытой арматуре с последующим восстановлением защитного слоя бетона. На металлических колоннах штырь марки приваривается электросваркой верхним и нижним швами длиной 10 - 12 см.

На металлических колоннах наибольшее применение нашла марка типа «б».

В фундаменты турбоагрегатов или гидротехнических сооружений закладывают торцевую марку типа «в».

Приложение 2

ПОВЕРКА В ПОЛЕВЫХ УСЛОВИЯХ НИВЕЛИРОВ, ПРИМЕНЯЕМЫХ ПРИ ГЕОМЕТРИЧЕСКОМ НИВЕЛИРОВАНИИ

Требования поверки

Производство поверки

Исправление

Частота поверки

Рекомендации

1. Оси установочных уровней должны быть перпендикулярны к оси вращения инструмента

С помощью подъемных винтов пузырьки уровней приводятся не середину, труба поворачивается на 180°. Пузырьки уровней при этом должны остаться на середине или сместиться не больше чем на одно деление

На одну половину смещения пузырек возвращается с помощью исправительных винтов уровней, а на другую - подъемных винтов

В начале каждой программы наблюдений

Поверка повторяется, если имели место резкие удары по штативу или прибору

2. Вертикальная нить сетки нитей должна быть параллельна отвесной линии

Ось вращения инструмента тщательно приводится в отвесное положение. Глядя в трубу нивелира, совмещают один конец вертикальной нити с отвесной линией. При этом и вся вертикальная нить должна совпадать с отвесной линией

Сетка нитей устанавливается в правильное положение путем ослабления закрепительных винтов

2 - 3 раза в год

В качестве отвесной линии может служить тонкий шнур с отвесом на расстоянии 25 - 30 м от инструмента

3. Проекции визирной оси и оси цилиндрического уровня на горизонтальную плоскость должны быть параллельны

В 40 м от нивелира устанавливается рейка так, чтобы к ней был обращен один из подъемных винтов. Нивелир приводится в рабочее положение и отсчет ведется по рейке; двумя другими винтами дается небольшой боковой наклон нивелиру сначала в одну, потом в другую сторону. Необходимо следить, чтобы при этом отсчет по рейке не изменился. В обоих случаях концы уровня должны не расходиться или расходиться одинаково в одну сторону

Установку уровня поправляют его горизонтальными исправительными винтами

В начале и конце каждой программы измерений

 

4. Угол между проекциями на вертикальную плоскость визирной оси и оси цилиндрического уровня по абсолютному значению не должен превышать 2 - 4"

На горизонтальном участке выбираются две деформационные марки на расстоянии 30 м одна от другой. Определяется превышение между ними при двух горизонтах инструмента способом из середины. Переставляется инструмент так, чтобы одно плечо было равно 5, а другое 25 м. При двух горизонтах вторично определяется превышение между этими же точками. Вычисляется угол i по формуле

где h = h1 - h2;

S - разность плеч, мм;

ρ" = 206265

Труба наводится на удаленную рейку и по ней берется отсчет. Путем прибавления к нему с учетом знака превышения вычисляется отсчет, который должен быть на ближней рейке. Барабан микрометра устанавливается по вычислительному отсчету, труба наводится на ближнюю рейку, и с помощью элевационного винта биссектор совмещается со штрихом, соответствующим вычисленному отсчету. Разошедшиеся при этом концы пузырька уровня совмещаются с помощью его вертикальных исправительных винтов

Ежедневно при производстве измерений

Место для поверхности выбирается затененное и неподверженное воздействию вибраций от оборудования

Приложение 3

ФОРМА ЗАПИСИ НАБЛЮДЕНИЙ В ЖУРНАЛЕ ВЫСОКОТОЧНОГО ГЕОМЕТРИЧЕСКОГО НИВЕЛИРОВАНИЯ

Дата __________________                                          Ход ___________________

Погода _________________                                        Цех ___________________

Горизонт

Задняя рейка

Превышение в полумиллиметрах

Передняя рейка

Превышение, мм

1

М-23

 

М-17

 

(1) 764 180

-70 290 (7)

834 470 (4)

 

(1) 171 695

-70 265 (8)

241 960 (5)

 

(3) 592 485

70 278 (9)

592 510 (6)

Среднее М17

-351,39 (10)

-351,38 (21)

2

М-23

 

М-17

 

(14) 765 120

-70 280 (17)

835 400 (11)

 

(15) 192 624

-70 270 (18)

242 895 (12)

 

(16) 592 495

-70 275 (19)

592 505 (13)

-351,38 (20)

Примечания: 1. Цифрами в скобках указана последовательность записи и обработки. 2. Порядок записи: рейка устанавливается на марку № 23. После записи отсчетов по основной (1) и дополнительной (2) шкалам рейки при первом горизонте нивелира подсчитывается разность (1) - (2), которая должна быть равна постоянному числу 592500 с отклонением от него в ту или другую сторону не более 20 ед. После этого рейка ставится на марку № 17. Порядок отсчетов и заполнения журнала остается тем же.

Все наблюдения проводятся при двух горизонтах нивелира. Для определения превышения между маркой № 23 и маркой № 17 из числа записи (1) вычитается число записи (4) и получается запись (7).

Запись (8) получается как разность записей (2) и (5), запись (9) есть среднее арифметическое значение из числа записей (7) и (8). Число записи (10) - превышение марки № 23 над маркой № 17. Оно получается от деления пополам числа записи (9), так как все отсчеты по рейке и барабану производятся в полуделениях.

Из превышений между маркой № 23 и маркой № 17 первого и второго горизонтов - записи (10) и (20) - берется среднее - запись (21)

Приложение 4

КАТАЛОГ ОТМЕТОК И ОСАДОК ГЛУБИННЫХ РЕПЕРОВ И МАРОК, УСТАНОВЛЕННЫХ НА ФУНДАМЕНТАХ СООРУЖЕНИЙ

Наименование объекта

Номер репера или марки

Дата начала наблюдений

Начальная отметка, мм

Осадка, мм

Отметка на 06.93 г., мм

Суммарная осадка с 05.88 г. по 06.93 г., мм

с 05.88 г. по 06.89 г.

с 06.89 г. по 06.90 г.

с 06.90 г. по 09.91 г.

с 09.91 г. по 06.93 г.

Служебный корпус

М-1

05.88 г.

93826,4

-5,3

-4,0

-3,3

-1,0

93812,8

-13,6

М-2

 

93677,8

-4,7

-4,2

-2,5

-0,8

93665,6

-12,2

М-3

 

93690,5

-4,4

-4,1

-2,3

-0,5

93679,2

-11,3

М-4

 

93715,8

-6,1

-4,4

-2,4

-1,2

93701,7

-14,1

Турбогенератор № 1

М-1

05.88 г.

93558,5

-15,1

-11,0

-6,3

-3,5

93522,6

-35,9

М-2

 

93588,6

-16,0

-12,6

-4,1

-3,3

93552,6

-36,0

М-3

 

93699,2

-14,3

-10,3

-4,2

-3,1

93667,5

-31,7

М-4

 

93575,4

-15,2

-11,3

-5,0

-4,2

93539,7

-35,7

М-5

 

93476,6

-17,0

-11,5

-4,3

-3,2

93440,6

-36,8

М-6

 

93627,0

-14,4

-10,3

-5,8

-3,7

93592,8

-34,2

Приложение 5

ВЫЧИСЛЕНИЕ КРЕНА ДЫМОВОЙ ТРУБЫ ПО УГЛОВЫМ ИЗМЕРЕНИЯМ И ПО РАЗНОСТИ ОСАДОК ЕЕ ФУНДАМЕНТА

(пример)

1. Вычисление крена по угловым измерениям

Частный крен трубы вычисляется по формуле

Кi = 0,49i · 0,01li,

где      Кi - частный крен трубы, мм;

            i - крен трубы в угловой мере по разности углов в верхнем и нижнем сечениях трубы, с;

       li - расстояние от центра трубы до точки установки теодолита, м.

Например, приi = 124", li = 130 м, Кi = 0,49 · 124 · 1,3 = 79 мм.

Полученное значение частного крена должно быть экстраполировано на всю высоту трубы.

Согласно абрису и частному крену в 79 мм получаем значение частного крена на полную высоту трубы:

79 мм        - 105 мм,

К мм         - 120 м,

К120            - 90,5 мм.

Полное значение крена К и его направление получаются графическим построением в масштабе по правилу перпендикуляров от частных кренов-векторов.

2. Определение прироста крена дымовой трубы по разности осадок фундамента

Прирост крена трубы по разности осадок фундамента вычисляется по формуле

где S   - разность осадок, получаемая по линиям равных осадок фундамента трубы, мм;

Н     - высота трубы, м;

Д  - диаметр трубы на отметке установки деформационных марок, получаемый измерением окружности трубы рулеткой, м.

Например, при S = 14,5 мм, Д = 10,250 м, Н = 120,0 м.

Приложение 6

ЗНАЧЕНИЯ ПРЕДЕЛЬНЫХ ДЕФОРМАЦИЙ ОСНОВАНИЙ (СНиП 2.02.01-83. ОСНОВАНИЯ ЗДАНИЙ И СООРУЖЕНИЙ)

Наименование и конструктивные особенности сооружений

Относительные деформации

Максимальные и средние абсолютные осадки, см

Вид

Значение

Вид

Значение

1. Производственные и гражданские многоэтажные здания с полным каркасом:

 

 

 

 

1.1. Железобетонные рамы без заполнения

Относительная разность осадок

0,002

Максимальная абсолютная осадка Siпр

8

1.2. Стальные рамы без заполнения

То же

0,004

То же

12

1.3. Железобетонные рамы с заполнением

-«-

0,001

-«-

8

1.4. Стальные рамы с заполнением

-«-

0,002

-«-

12

2. Здания и сооружения, в конструкциях которых возникают дополнительные условия от неравномерных осадок

-«-

0,006

-«-

15

3. Многоэтажные бескаркасные здания с несущими стенами из:

 

 

 

 

3.1. Крупных панелей

Относительный прогиб или выгиб

0,0007

Средняя осадка Sср.пр

10

3.2. Крупных блоков и кирпичной кладки без армирования

То же

0,001

То же

10

3.3. Крупных блоков и кирпичной кладки с армированием или железобетонными поясами

-«-

0,0012

-«-

15

3.4. Независимо от материала стен

Крен в поперечном направлении

0,005

-

-

4. Высокие жесткие сооружения:

 

 

 

 

4.1. Сооружения элеваторов из железобетонных конструкций:

 

 

.

 

4.1.1. Рабочее здание и силосный корпус монолитной конструкции, сблокированные на одной фундаментной плите

Поперечный и продольный крены

0,003

Средняя осадка Sср.пр

40

4.1.2. То же сборной конструкции

То же

0,003

То же

30

4.1.3. Отдельно стоящее рабочее здание

Поперечный крен

0,003

-«-

25

 

Продольный крен

0,004

-«-

25

4.1.4. Отдельно стоящий силосный корпус монолитной конструкции

Поперечный и продольный крены

0,004

-«-

40

4.1.5. То же сборной конструкции

То же

0,004

-«-

30

4.2. Дымовые трубы высотой Н, м:

 

 

 

 

4.2.1. До 100 вкл.

Кренiпр

0,005

-«-

40

4.2.2. Св. 100 до 200 вкл.

-«-

1/2Н

-«-

30

4.2.3. Св. 200 до 300 вкл.

-«-

1/2Н

-«-

20

4.2.4. Св. 300

-«-

1/2Н

-«-

10

4.3. Прочие высокие (до 100 м) жесткие сооружения

Кренiпр

0,004

Средняя осадка Sср.пр

20

Приложение 7

ВЕДОМОСТЬ ВЫЧИСЛЕНИЯ ПОЛОЖЕНИЯ ОСИ РЕЛЬСА В ПЛАНЕ ПО СПОСОБУ ПОСЛЕДОВАТЕЛЬНЫХ СТВОРОВ В СЛУЧАЕ ПРИБЛИЖЕННОГО ЦЕНТРИРОВАНИЯ ТЕОДОЛИТА

(ПРИМЕР)

№ п.п.

Измеренное смещение оси рельса относительно створа I, мм

Поправка на приведение створа I к оси рельса в точке 3 ∆, мм

Приведенный створ I к оси рельса в точке 3, мм

Измеренное смещение оси рельса относительно створа II, мм

Поправка на приведение створа II к створу I ∆, мм

Смещение оси рельса относительно створа, проходящего через оси рельсов конечных точек, мм

3

-28

+28

00

 

 

 

4

-23

+27

+04

 

 

 

5

-32

+26

-06

 

 

 

6

-32

+25

-07

 

 

 

7

-22

+24

+02

 

 

 

8

-11

+23

+12

 

 

 

9

-13

+22

+09

 

 

 

10

-11

+20

+09

 

 

 

11

-28

+19

-09

 

 

 

12

-28

+18

-10

 

 

 

13

-27

+17

-10

 

 

 

14

-38

+16

-22

 

 

 

15

-35

+15

-20

 

 

 

16

-37

+14

-23

 

 

 

17

-47

+13

-35

 

 

 

18

-55

+11

-44

 

 

 

19

-60

+10

-50

-07

-43

-50

20

 

 

 

-16

-40

-56

21

 

 

 

-15

-38

-53

22

 

 

 

-13

-35

-48

23

 

 

 

-16

-32

-48

24

 

 

 

-10

-29

-39

25

 

 

 

00

-26

-26

26

 

 

 

00

-23

-23

27

 

 

 

+12

-20

-08

28

 

 

 

+08

-17

-09

29

 

 

 

+11

-14

-03

30

 

 

 

+19

-11

+08

31

 

 

 

+17

-8

+09

32

 

 

 

+18

-7

+12

33

 

 

 

+08

-3

+05

34

 

 

 

0

0

0

Приложение 8

ПРЕДЕЛЬНЫЕ ЗНАЧЕНИЯ ОТКЛОНЕНИЙ РЕЛЬСОВЫХ ПУТЕЙ (В ПЛАНЕ И ПРОФИЛЕ) ОТ ПРОЕКТНОГО ПОЛОЖЕНИЯ

Отклонение

Графическое изображение отклонения

Краны

мостовые

башенные

козловые

портальные

мостовые перегружатели

Разность отметок головок рельсов в одном поперечном сечении Р1, мм (S - размер колеи, м)

40

45 - 60 (для S = 4,5 - 6 м)

40

40

50

Разность отметок рельсов на соседних колоннах P2, мм

10

-

-

-

-

Сужение или уширение колеи рельсового пути (отклонение рельсов от проектного положения в плане) Р3, мм

15

10

15

15

20

Взаимное смещение торцов стыкуемых рельсов в плане и по высоте, Р4, мм

2

3

2

2

2

Зазоры в стыках рельсов (при температуре 0 °С и длине рельса 12,5 м) Р5, мм

6

6

6

6

6

Разность отметок головок рельсов на длине 10 м рельсового пути (общая) Р6, мм

-

40

30

20

30

Примечания: 1. Предельные знамения отклонений должны соблюдаться во время эксплуатации. Допуски на укладку должны быть указаны в проектной документации на рельсовый путь. 2. Измерения отклонений Р1 и Р3 выполняют на всем участке возможного движения крана через интервалы не более 5 м. 3. При изменении температуры на 10 °С допуск на зазор Р5 изменяют на 1,5 мм. Например, зазор при температуре 20 °С должен быть уменьшен до 3 мм. 4. Отклонения для рельсовых путей козловых кранов пролетом более 30 м принимают по нормам для мостовых перегружателей.

Список использованной литературы

1. ГОСТ 24846-86. Грунты. Методы измерений деформаций оснований и сооружений.

2. ГОСТ 22268-76. Геодезия. Термины и определения.

3. ГОСТ 10528-90. Нивелиры.

4. ГОСТ 10528-90. Геодезические рейки.

5. Инструкция на методы и средства поверки нивелиров и нивелирных реек в эксплуатации. - М.: «Недра», 1988.

6. Эксплуатационный циркуляр № Т-2/80. Об устранении недопустимых поворотов опоры подшипника № 2 турбин К-300-240-1 и К-300-240-2 ПОТ ХТЗ. - М.: СПО Союзтехэнерго, 1980.

7. СНиП 2.02.01-83. Основания зданий и сооружений.

8. Руководство по определению кренов инженерных сооружений башенного типа геодезическими методами. - М.: Стройиздат, 1981.

9. ГОСТ 10529-86. Теодолиты.

10. СНиП III-2-75, §5.4. Геодезические работы в строительстве.

11. Правила устройства и безопасной эксплуатации грузоподъемных кранов. - М.: НПО ОБТ, 1993.

СОДЕРЖАНИЕ

1. Общие положения. 1

2. Измерение осадок фундаментов. 2

2.1. Объекты для наблюдений за осадками фундаментов. 3

2.2. Исходные реперы.. 3

2.3. Осадочные деформационные марки. 7

2.4. Измерение осадок (деформаций) фундаментов. 10

2.5. Геометрическое нивелирование. 10

2.6. Обработка материалов геометрического нивелирования и отчетность. 13

2.7. Гидростатическое нивелирование. 14

3. Измерение деформаций строительных конструкций. 15

3.1. Измерение деформаций фундаментов турбоагрегатов мощностью 180 МВт и более. 15

3.2. Измерение деформаций перекосов (поворотов) ригелей фундамента и опор подшипников турбоагрегатов. 18

3.3. Определение кренов инженерных сооружений башенного типа. 21

3.4. Геодезическая съемка подкрановых путей. 24

4. Измерение осадок и деформаций гидротехнических сооружений ТЭС.. 26

5. Техника безопасности при производстве геодезических работ. 27

Приложение 1 Конструкции деформационных марок и способы их установки. 28

Приложение 2 Поверка в полевых условиях нивелиров, применяемых при геометрическом нивелировании. 28

Приложение 3 Форма записи наблюдений в журнале высокоточного геометрического нивелирования. 30

Приложение 4 Каталог отметок и осадок глубинных реперов и марок, установленных на фундаментах сооружений. 30

Приложение 5 Вычисление крена дымовой трубы по угловым измерениям и по разности осадок ее фундамента. 30

Приложение 6 Значения предельных деформаций оснований (СНиП 2.02.01-83. основания зданий и сооружений) 31

Приложение 7 Ведомость вычисления положения оси рельса в плане по способу последовательных створов в случае приближенного центрирования теодолита. 33

Приложение 8 Предельные значения отклонений рельсовых путей (в плане и профиле) от проектного положения. 33

Список использованной литературы.. 34

 




Rambler's Top100 Яндекс цитирования
  Copyright © 2008-2026, www.docload.ru