Бесплатная библиотека стандартов и нормативов www.docload.ru

Все документы, размещенные на этом сайте, не являются их официальным изданием и предназначены исключительно для ознакомительных целей.
Электронные копии этих документов могут распространяться без всяких ограничений. Вы можете размещать информацию с этого сайта на любом другом сайте.
Это некоммерческий сайт и здесь не продаются документы. Вы можете скачать их абсолютно бесплатно!
Содержимое сайта не нарушает чьих-либо авторских прав! Человек имеет право на информацию!

 

ГОСТ Р 52034-2003

ГОСУДАРСТВЕННЫЙ СТАНДАРТ РОССИЙСКОЙ ФЕДЕРАЦИИ

ИЗОЛЯТОРЫ КЕРАМИЧЕСКИЕ ОПОРНЫЕ
НА НАПРЯЖЕНИЕ СВЫШЕ 1000 В

Общие технические условия

ГОССТАНДАРТ РОССИИ

Москва

Предисловие

1 РАЗРАБОТАН ОАО «Научно-исследовательский институт по передаче электроэнергии постоянным током высокого напряжения», ГУП «Всероссийский электротехнический институт им. В. И. Ленина» и ООО «Балтэлектроизолятор»

ВНЕСЕН Техническим комитетом по стандартизации ТК 37 «Электрооборудование для передачи, преобразования и распределения электроэнергии»

2 ПРИНЯТ И ВВЕДЕН В ДЕЙСТВИЕ Постановлением Госстандарта России от 27 марта 2003 г. № 101-ст

3 Настоящий стандарт соответствует международному стандарту МЭК 60168 (1997)

4 ВВЕДЕН ВПЕРВЫЕ

СОДЕРЖАНИЕ

1 Область применения. 2

2 Нормативные ссылки. 2

3 Общие технические требования. 3

4 Требования безопасности. 8

5 Правила приемки. 8

5.1 Приемосдаточные испытания. 8

5.2 Периодические испытания. 9

5.3 Типовые испытания. 11

6 Методы испытаний. 11

6.1 Электрические испытания. 11

6.2 Механические испытания. 12

6.3 Климатические испытания. 12

6.4 Испытания на надежность. 12

6.5 Проверка размеров, качества поверхности и качества изготовления изоляторов. 13

6.6 Проверка показателей надежности. 13

7 Транспортирование и хранение. 13

8 Гарантии изготовителя. 13

Приложение А. Методика измерений параллельности, эксцентриситета, углового отклонения, изогнутости и угла наклона ребер изоляторов. 14

Приложение Б. Материалы, используемые для изготовления арматуры.. 16

Приложение В. Требования к качеству поверхности арматуры.. 16

Приложение Г. Паспорт. 17

Приложение Д. Методика проведения производственного ультразвукового неразрушающего контроля опорных изоляторов (основные положения) 19

Приложение Е. Методика акустико-эмиссионного контроля опорных стержневых изоляторов (основные положения) 21

Приложение Ж. Методика испытаний на воздействие одиночных ударов (основные положения) 22

ГОСУДАРСТВЕННЫЙ СТАНДАРТ РОССИЙСКОЙ ФЕДЕРАЦИИ

ИЗОЛЯТОРЫ КЕРАМИЧЕСКИЕ ОПОРНЫЕ
НА НАПРЯЖЕНИЕ СВЫШЕ 1000 В

Общие технические условия

Ceramic support insulators for voltage over 1000 V.
General specifications

Дата введения 2004-01-01

1 Область применения

1.1 Настоящий стандарт распространяется на керамические армированные опорные изоляторы, предназначенные для изоляции и крепления токоведущих частей в электрических аппаратах, распределительных устройствах электрических станций и подстанций, комплектных распределительных устройствах (КРУ), токопроводах переменного тока напряжением свыше 1000 В частоты до 100 Гц, расположенных на высоте до 1000 м над уровнем моря.

Значения предельных температур окружающего воздуха, при которых допустима работа изоляторов, должны быть приведены в технических условиях на конкретные типы изоляторов. Изоляторы, предназначенные для работы в составе электрических аппаратов, КРУ и токопроводов по предельно допустимым температурам окружающего воздуха должны соответствовать требованиям к электрооборудованию, КРУ и токопроводам.

1.2 Стандарт распространяется как на одноэлементные опорные изоляторы, так и на составные конструкции из изоляторов стержневого типа.

1.3 Стандарт не распространяется на опорные изоляторы штыревого типа.

1.4 Стандарт соответствует требованиям МЭК 60168 (1997).

2 Нормативные ссылки

В настоящем стандарте использованы ссылки на следующие стандарты:

ГОСТ 9.307-89 Единая система защиты от коррозии и старения. Покрытия цинковые горячие. Общие требования и методы контроля

ГОСТ 12.2.007.3-75 Система стандартов безопасности труда. Электротехнические устройства на напряжение свыше 1000 В. Требования безопасности

ГОСТ 481-80 Паронит и прокладки из него. Технические условия

ГОСТ 977-88 Отливки стальные. Общие технические условия

ГОСТ 1033-79 Смазки, солидол жировой. Технические условия

ГОСТ 1414-75 Прокат из конструкционной стали высокой обрабатываемости резанием. Технические условия

ГОСТ 1516.2-97 Электрооборудование и электроустановки переменного тока на напряжение 3 кВ и выше. Общие методы испытаний электрической прочности изоляции

ГОСТ 1516.3-96 Электрооборудование переменного тока на напряжение от 1 до 750 кВ. Требования к электрической прочности изоляции

ГОСТ 1583-93 Сплавы алюминиевые литейные. Технические условия

ГОСТ 2697-83 Пергамин кровельный. Технические условия

ГОСТ 2789-73 Шероховатость поверхности. Параметры и характеристики

ГОСТ 2991-85 Ящики дощатые неразборные для грузов массой до 500 кг. Общие технические условия

ГОСТ 5244-79 Стружка древесная. Технические условия

ГОСТ 5781-82 Сталь горячекатанная для армирования железобетонных конструкций. Технические условия

ГОСТ 5862-79 Изоляторы и покрышки керамические на напряжение свыше 1000 В. Общие технические условия

ГОСТ 6267-74 Смазка ЦИАТИМ-201. Технические условия

ГОСТ 9920-89 (МЭК 694-80, МЭК 815-86) Электроустановки переменного тока на напряжение от 3 до 750 кВ. Длина пути утечки внешней изоляции

ГОСТ 10178-85 Портландцемент и шлакопортландцемент. Технические условия

ГОСТ 10198-91 Ящики деревянные для грузов массой свыше 200 до 20 000 кг. Общие технические условия

ГОСТ 10390-86 Электрооборудование на напряжение свыше 3 кВ. Методы испытаний внешней изоляции в загрязненном состоянии

ГОСТ 13872-68 Изделия керамические электротехнические. Предельные отклонения от номинальных размеров, формы и расположения поверхностей

ГОСТ 13873-81 Изоляторы керамические. Требования к качеству поверхности

ГОСТ 14192-96 Маркировка грузов

ГОСТ 15150-69 Машины, приборы и другие технические изделия. Исполнения для различных климатических районов. Категории, условия эксплуатации, хранения и транспортирования в части воздействия климатических факторов внешней среды

ГОСТ 15543.1-89 Изделия электротехнические. Общие требования в части стойкости к климатическим внешним воздействующим факторам

ГОСТ 15846-2002 Продукция, отправляемая в районы Крайнего Севера и приравненные к ним местности. Упаковка, маркировка, транспортирование и хранение

ГОСТ 16962-71 Изделия электронной техники и электротехники. Механические и климатические воздействия. Требования и методы испытаний

ГОСТ 17412-72 Изделия электротехнические для районов с холодным климатом. Технические требования, приемка и методы испытаний

ГОСТ 18321-73 Статистический контроль качества. Методы случайного отбора выборок штучной продукции

ГОСТ 18620-86 Изделия электротехнические. Маркировка

ГОСТ 19537-83 Смазка пушечная. Технические условия

ГОСТ 19797-85 Изоляторы керамические опорные на напряжение свыше 1000 В для работы в помещении. Типы, основные параметры и размеры

ГОСТ 20419-83 Материалы керамические электротехнические. Классификация и технические требования

ГОСТ 23216-78 Изделия электротехнические. Хранение, транспортирование, временная противокоррозионная защита, упаковка. Общие требования и методы испытаний

ГОСТ 24634-81 Ящики деревянные для продукции, поставляемой для экспорта. Общие технические условия

ГОСТ 25073-81 Изоляторы керамические опорные на напряжение свыше 1000 В для работы на открытом воздухе. Типы, основные параметры и размеры

ГОСТ 26093-84 Изоляторы керамические. Методы испытаний

ГОСТ 26196-84 (МЭК 437-73) Изоляторы. Метод измерения индустриальных радиопомех

ГОСТ 26358-84 Отливки из чугуна. Общие технические условия

ГОСТ 26663-85 Пакеты транспортные. Формирование с применением средств пакетирования. Общие технические требования

ГОСТ Р 51163-98 Покрытия термодиффузионные цинковые на крепежных и других мелких изделиях. Общие требования и методы контроля

3 Общие технические требования

3.1 Изоляторы должны изготовляться в соответствии с требованиями настоящего стандарта, технических условий, согласованных с основным потребителем, по конструкторской документации на изоляторы конкретных типов.

3.2 Изоляторы должны изготовляться климатических исполнений У, УХЛ, Т, категорий размещения 1, 2, 3 по ГОСТ 15150. Номинальные значения климатических факторов - по ГОСТ 15543.1 и ГОСТ 15150.

3.3 Значения номинальных напряжений (класса напряжения) должны выбираться из ряда:

- для изоляторов, предназначенных для работы внутри помещений: 3, 6, 10, 15, 20, 24, 35 кВ;

- для изоляторов, предназначенных для работы на открытом воздухе: 6, 10, 15, 20, 24, 35, 110, 150, 220, 330, 500, 750 кВ.

3.4 Значения минимальной механической разрушающей силы при изгибе, приложенной к верхнему фланцу изолятора, должны выбираться из ряда:

- для изоляторов, предназначенных для работы внутри помещений: 2; (3,75), 4; 6; (7,5); 8; 12,5; 16; 20; 25; 31,5 кН (значения, указанные в скобках, в новых разработках не применять);

- для изоляторов, предназначенных для работы на открытом воздухе: 2; 3; 4; 5; 6; 8; 10; 12,5; 16; 20; 25; 31,5; 40; 60 кН.

3.5 Для стержневых изоляторов значения минимального разрушающего момента М при изгибе, приложенного к верхнему фланцу изолятора, должны определяться по согласованию с потребителем, исходя из условий работы в эксплуатации изоляторов конкретных типов, и указываться в технических условиях на изоляторы конкретных типов.

При этом минимальное значение М должно соответствовать условию:

М > 0,5 Р · Н - для изоляторов с Н < 1700 мм;

М > Р · Н - для изоляторов с Н > 1700 мм,

где Н - строительная высота изолятора, м;

Р - минимальная разрушающая сила при изгибе, кН.

3.6 Значение минимального разрушающего момента при кручении для изоляторов должно выбираться из ряда: 0,245; 0,6; 0,8; 1,0; 1,2; 1,5; 1,8; 2,0; 2,5; 3,0; 3,5; 4,0; 5,0; 6,0 кН·м.

3.7 Значения минимальной разрушающей силы при центральном сжатии и растяжении должны устанавливаться в технически обоснованных случаях по требованию потребителя и указываться в технических условиях и/или конструкторской документации на изоляторы конкретных типов.

3.8 Для стержневых изоляторов значения параметров испытательных одиночных ударов должны устанавливаться по требованию потребителя и указываться в технических условиях и/или конструкторской документации на изоляторы конкретных типов.

3.9 Типы, основные параметры и размеры изоляторов должны соответствовать ГОСТ 25073, ГОСТ 19797, техническим условиям и/или конструкторской документации на изоляторы конкретных типов.

Показатели допустимой кривизны (значения стрелы прогиба) должны составлять (1,5 + 0,008 Н) мм, где Н - высота изолятора, мм.

Максимальные значения допусков на параллельность, эксцентриситет и угловое отклонение отверстий торцевых поверхностей фланцев изоляторов должны составлять:

- параллельность, измеряемая для диаметра 250 мм (приложение А): для Н < 1000 мм ... 0,5 мм, для Н > 1000 м ... 0,0005 Н·мм, где Н - высота изолятора, мм;

- эксцентриситет ... 2 (1 + Н) мм, где Н - высота изолятора, м;

- угловое отклонение ... 1° по (против) часовой стрелке(и), но не более 3 мм.

3.10 Длина пути утечки изоляторов категории размещения 1 в зависимости от степени загрязнения 1 - 4 в районе их эксплуатации должна соответствовать ГОСТ 9920.

Длина пути утечки изоляторов категории размещения 2 должна быть указана в технических условиях и/или конструкторской документации на изоляторы конкретных типов

3.11 Электрическая прочность изоляторов должна соответствовать требованиям ГОСТ 1516.3.

3.12 На изоляторах классов напряжения 6 - 35 кВ при 1,1 наибольшего рабочего напряжения и на изоляторах классов напряжения 110 - 750 кВ при 1,1 наибольшего рабочего фазного напряжения электроустановки видимая корона должна отсутствовать. Для изоляторов классов напряжения 6 - 35 кВ при 1,1 наибольшего рабочего напряжения и на изоляторах классов напряжения 110 - 750 кВ при 1,1 наибольшего рабочего фазного напряжения электроустановки уровень радиопомех не должен превышать 54 дБ (500 мкВ).

3.13 Изоляторы классов напряжения до 35 кВ включительно, у которых длина кратчайшего пути пробоя через изоляционный материал составляет меньше половины внешнего разрядного расстояния между металлической арматурой (фланцами), должны иметь пробивное напряжение не менее указанного в технических условиях на изоляторы конкретных типов.

3.14 Изоляторы категории размещения 2 должны выдерживать испытательное напряжение в условиях выпадения росы.

3.15 Изоляторы исполнений У, ХЛ и УХЛ, категории размещения 2 должны выдерживать наибольшее рабочее напряжение по ГОСТ 1516.3 при выпадении инея с последующим оттаиванием.

3.16 Изоляторы классов напряжения до 35 кВ включительно, у которых длина кратчайшего пути пробоя через изоляционный материал составляет меньше половины внешнего разрядного расстояния между металлической арматурой (фланцами), должны выдерживать пятиминутное воздействие непрерывного потока искр по ГОСТ 26093.

3.17 Изоляторы категории размещения 1 при искусственном загрязнении и увлажнении их поверхности должны иметь 50 %-ные разрядные переменные напряжения не менее указанных в таблице 1, при удельной поверхностной проводимости слоя загрязнения не менее указанной в таблице 2, в зависимости от степени загрязнения в районе применения изоляторов по ГОСТ 9920.

Таблица 1

Нормированное 50 %-ное разрядное переменное напряжение изоляторов категории размещения 1 в загрязненном и увлажненном состоянии для 1 - 4 степеней загрязнения

В киловольтах

Класс напряжения

6

10

20

35

110

150

220

330

500

750

50 %-ное разрядное напряжение, не менее

8

13

26

42

110

150

220

315

460

685

Примечание - Допускается испытывать изоляторы классов напряжения 500 и 750 кВ на двух частях приблизительно одинаковой длины. При этом сумма 50 %-ных разрядных напряжений двух испытанных частей должна составлять не менее 490 кВ для класса напряжения 500 кВ и не менее 730 кВ для класса напряжения 750 кВ.

Таблица 2

Нормированная удельная поверхностная проводимость слоя загрязнения изоляторов категории размещения 1 в зависимости от степени загрязнения в районе применения изоляторов

Степень загрязнения

1

2

3

4

Удельная поверхностная проводимость, мкСм, не менее

5

10

20

30

3.18 Изоляторы категории размещения 2 при искусственном загрязнении и увлажнении их поверхности должны иметь 50 %-ные разрядные переменные напряжения не менее указанных в таблице 3, при удельной поверхностной проводимости слоя загрязнения не менее указанной в таблице 4, в зависимости от степени загрязнения в районе применения изоляторов по ГОСТ 9920.

Таблица 3

Нормированное 50 %-ное разрядное переменное напряжение изоляторов категории размещения 2 в загрязненном и увлажненном состоянии для 1 - 4 степеней загрязнения

В киловольтах

Класс напряжения

6

10

15

20

24

35

50 %-ное разрядное напряжение, не менее

10

16

23

30

38

50

Таблица 4

Нормированная удельная поверхностная проводимость слоя загрязнения изоляторов категории размещения 2 в зависимости от степени загрязнения в районе применения изоляторов

Степень загрязнения

1

2

3

4

Удельная поверхностная проводимость, мкСм, не менее

1

3

7

10

3.19 Изоляторы категории размещения 1 класса напряжения 20 кВ и выше должны выдерживать воздействие испытательной изгибающей силы, равной (50 ± 2,5) % от минимальной разрушающей силы, при обязательном проведении контроля методом регистрации сигналов акустической эмиссии в процессе нагружения.

В случае проведения испытаний без регистрации сигналов акустической эмиссии изоляторы должны подвергаться воздействию испытательной изгибающей силы, равной (70 ± 2,5) % от минимальной разрушающей силы.

По требованию потребителя допускается заменять воздействие испытательной силы на изгиб воздействием испытательного крутящего момента. При этом испытательный крутящий момент должен составлять (50 ± 2,5) % от минимального разрушающего крутящего момента при обязательном контроле методом регистрации сигналов акустической эмиссии и (70 ± 2,5) % от минимального разрушающего крутящего момента при проведении испытаний без регистрации сигналов акустической эмиссии.

3.20 Изоляторы, предназначенные для работы на растяжение, должны выдерживать воздействие испытательной растягивающей силы, значение которой должно быть согласовано с потребителем.

3.21 Изоляторы должны быть стойкими к термоударам и выдерживать трехкратный цикл резких изменений температуры.

При этом для изоляторов категории размещения 1 значение перепада температур должно составлять:

(70 ± 2) °С - для изоляторов диаметром по телу до 150 мм включительно;

(50 ± 2) °С - для изоляторов диаметром по телу более 150 мм.

Для изоляторов категорий размещения 2 и 3 значения перепада температур должны составлять:

(70 ± 2) °С - для изоляторов с механической прочностью на изгиб (растяжение) ниже 20 кН;

(60 ± 2) °С - для изоляторов с механической прочностью на изгиб (растяжение) 20 кН и выше.

3.22 Изоляторы исполнений У и УХЛ должны быть стойкими к воздействию медленного изменения температуры.

При этом изоляторы исполнения У должны выдерживать трехкратный цикл в диапазоне температур от минус (50 ± 2) °С до плюс (50 ± 2) °С. Изоляторы исполнения УХЛ должны выдерживать пятикратный цикл в диапазоне температур от минус (60 ± 2) °С до плюс (45 ± 2) °С.

3.23 Изоляционные части изоляторов должны соответствовать требованиям ГОСТ 5862.

Для изготовления стержневых изоляторов на классы напряжений 110 кВ и выше должен использоваться электротехнический керамический материал не ниже подгруппы 120 по ГОСТ 20419.

3.24 По всему объему фарфоровой части изолятора должна полностью отсутствовать открытая микроскопическая пористость.

Вся партия изоляторов на классы напряжений 35 кВ и выше должна контролироваться на отсутствие открытой микроскопической пористости по скорости распространения ультразвука с одновременным проведением выборочных испытаний методом фуксиновых проб под давлением в соответствии с 5.6 ГОСТ 26093. Дополнительно отсутствие открытой микроскопической пористости может определяться также методом фуксиновых проб под давлением на бомзах от каждого изолятора.

3.25 Все стержневые изоляторы на напряжение 20 кВ и выше должны проверяться на отсутствие внутренних дефектов изоляционной части (до и после армирования).

3.26 Арматура изоляторов должна изготовляться из материалов, обеспечивающих необходимую механическую прочность (приложение Б).

Дополнительные требования по выбору материала арматуры изоляторов исполнения УХЛ - по ГОСТ 17412.

3.27 Качество поверхности арматуры изоляторов должно соответствовать требованиям приложения В, а также конструкторской документации на изоляторы конкретных типов.

3.28 Компенсирующие прокладки изоляторов должны изготовляться из паронита по ГОСТ 481, пергамина по ГОСТ 2697 или другого материала с аналогичными техническими характеристиками.

Прокладки изоляторов исполнения Т и изоляторов классов напряжений 110 кВ и выше исполнения УХЛ, категории размещения 1 должны изготавливаться из паронита.

Соединение фарфоровой части с арматурой (армирование) должно производиться армирующей связкой с применением портландцемента марки не ниже ПЦ 500-Д0-Н по ГОСТ 10178 с линейным расширением не более 0,03 %, определяемым при автоклавном твердении под давлением 2,1 МПа в течение не менее 3 ч. Допускается до 1 января 2007 г. использовать портландцемент марки ПЦ 500-Д0-Н с линейным расширением не более 0,05 %.

3.29 Толщина шва армирующей связки должна быть не менее 5 мм для изоляторов категории размещения 1 и не менее 2 мм для изоляторов категорий размещения 2 и 3.

Соприкасающиеся с армирующей связкой поверхности изоляционных частей и арматуры опорных изоляторов всех категорий размещения и классов напряжений должны быть покрыты ровным слоем компенсирующей промазки толщиной 0,2 - 0,3 мм. Применение ускорителей твердения цемента не допускается.

3.30 Арматура изоляторов категории размещения 1, изготавливаемая из чугуна или стали, должна иметь антикоррозийное цинковое покрытие по ГОСТ 9.307 или ГОСТ Р 51163.

Наружная поверхность шва армирующей связки всех изоляторов должна иметь влагостойкое покрытие.

Допускается по согласованию с потребителем не наносить влагостойкое покрытие на арматуру изоляторов, изготавливаемую из алюминиевых сплавов по ГОСТ 1583, климатических исполнений У и ХЛ (УХЛ), категорий размещения 2 и 3.

3.31 Изоляторы категорий размещения 1 и 2 должны выдерживать испытания на надежность.

3.32 Гамма-процентный срок службы изоляторов с вероятностью 99,7 % - не менее 30 лет.

Интенсивность отказов изоляторов по вине изготовителя - не более 1 × 10-8 1/ч в течение всего срока службы.

3.33 Изоляторы должны соответствовать требованиям настоящего стандарта в течение всего срока службы.

3.34 Комплектность

В комплект, предназначенный для поставки, должны входить:

- изолятор(ы);

- паспорт на каждый изолятор классов напряжения 110 кВ и выше и на партию отгружаемых в один адрес изоляторов классов напряжения до 35 кВ включительно (приложение Г);

- сертификат соответствия и/или свидетельство о приемке (если они не входят в паспорт). Изоляторы, состоящие из двух и более составных частей, должны быть укомплектованы крепежными деталями.

3.35 Маркировка

3.35.1 Маркировка - по ГОСТ 18620 с нанесением следующих данных:

- условное обозначение типа изолятора;

- наименование или товарный знак предприятия-изготовителя;

- порядковый номер изолятора (для изоляторов классов напряжения 110 кВ и выше - обязательно, для изоляторов класса напряжения 35 кВ - рекомендуется), год, месяц изготовления изолятора;

- масса изолятора (для изоляторов классов напряжения 110 кВ и выше).

3.35.2 Место нанесения маркировки устанавливают в технических условиях и/или конструкторской документации на изоляторы конкретных типов. Масса изоляторов должна быть приведена на упаковке или в сопроводительной документации, если иное не указано в технических условиях и/или конструкторской документации.

3.35.3 Транспортная маркировка и маркировка транспортной тары - по ГОСТ 14192 с нанесением манипуляционных знаков «Хрупкое! Осторожно» и «Верх».

3.36 Упаковка

3.36.1 Изоляторы должны быть упакованы по ГОСТ 23216 в дощатые ящики ТЭ или универсальные контейнеры К и отделены друг от друга деревянными прокладками или мягким амортизационным материалом (древесная стружка по ГОСТ 5244 влажностью не более 12 %) во избежание перемещения.

3.36.2 Допускается по согласованию между потребителем и предприятием-изготовителем упаковывать изоляторы в многооборотную тару.

3.36.3 Ящики для изоляторов исполнений У и УХЛ должны удовлетворять требованиям ГОСТ 2991 и ГОСТ 10198.

Дополнительные требования к ящикам для изоляторов, предназначенных для районов с тропическим климатом и на экспорт, - по ГОСТ 24634.

3.36.4 Типы ящиков, а также порядок загрузки контейнеров при упаковке изоляторов непосредственно в контейнеры должны быть указаны в технических условиях и/или конструкторской документации на изоляторы конкретных типов.

3.36.5 Масса ящика с упакованными изоляторами - не более 500 кг.

3.36.6 Изоляторы исполнений У, ХЛ и УХЛ должны иметь упаковку вида , изоляторы исполнения Т - вида  по ГОСТ 23216.

3.36.7 Упаковка изоляторов для районов Крайнего Севера и приравненных к ним местностям - в соответствии с требованиями ГОСТ 15846.

3.37 Консервация резьбы арматуры изоляторов исполнений У, ХЛ и УХЛ - солидолом по ГОСТ 1033, исполнения Т - смазкой ПВК по ГОСТ 19537. Допускается применение смазки ЦИАТИМ-201 по ГОСТ 6267 для изоляторов всех климатических исполнений. Консервацию резьбы арматуры из алюминиевых сплавов по ГОСТ 1583 допускается не производить.

4 Требования безопасности

Требования безопасности - в соответствии с ГОСТ 12.2.007.3.

5 Правила приемки

Для проверки соответствия изоляторов требованиям настоящего стандарта устанавливают следующие виды испытаний: приемосдаточные, периодические, типовые.

Требования стандарта могут быть использованы также для целей сертификации.

5.1 Приемосдаточные испытания

5.1.1 Изоляторы предъявляют к приемке партиями. Партия должна состоять из изоляторов одного типа, изготовленных на одном предприятии в одинаковых технологических условиях в течение не более 30 сут.

Технологическая однородность предъявляемой к приемке партии изоляторов на классы напряжений 35 кВ и выше должна быть подтверждена объективными показателями. Технологически однородные партии изоляторов рекомендуется комплектовать по результатам измерений скоростей распространения ультразвука в изоляторах.

5.1.2 Приемосдаточные испытания проводят по показателям, последовательности и в объеме, указанных в таблицах 5 и 6.

Таблица 5

Приемосдаточные испытания

Наименование показателя

Объем выборки

Номер пункта

Дополнительное указание

технических требований

методов испытаний

1 Качество изоляционной части

 

 

 

 

1.1 Внешняя поверхность

100 %

3.27

6.5.1

-

1.2 Отклонение от номинальных размеров и формы

По таблице 6

3.27

6.5.1

-

1.3 Отсутствие внутренних дефектов

100 %

3.24

6.5.4

Ультразвуковая дефектоскопия (прозвучивание с торцов изолятора, частота 2,5 МГц)*; ультразвуковая структурометрия (прозвучивание «опасных» сечений изолятора, частота 2,5 или 5,0 МГц)

1.4 Открытая пористость

100 %

3.25

6.5.3

По скорости распространения ультразвука; дополнительно* - по фуксиновым пробам от бомз

2 Наличие компенсирующей промазки и прокладок

100 %

3.28

3.29

 

Наличие прокладок и наличие и качество компенсирующих промазок проверяют визуально перед армированием

3 Отклонение от номинального размера по высоте и соответствие расположения арматуры

По таблице 6

3.9

6.5.1

Обеспечивается армировочными приспособлениями

4 Наличие покрытия арматуры и шва армирующей связки

100 %

3.30

-

-

5 Толщина шва армирующей связки

По таблице 6

3.29

6.5.1

-

6 Непрерывный поток искр

100 %

3.16

6.1.4

-

7 Испытательная изгибающая сила

100 %

3.19

6.2.1

Для опорных стержневых изоляторов категории размещения 1 классов напряжения 20 кВ и выше

8 Испытательный крутящий момент

100 %

3.19

6.2.1

По требованию потребителя

9 Испытательная сила на растяжение

100 %

3.20

6.2.1

По требованию потребителя

10 Стойкость к термоударам

100 %

3.21

6.3.1

-

11 Разрушающая механическая сила на изгиб

По таблице 6

3.4

6.2.1

Испытания проводят на изоляторах, прошедших испытание по пункту 10

12 Разрушающий механический крутящий момент

По таблице 6

3.6

6.2.1

По требованию потребителя. Испытания проводят на изоляторах, прошедших испытания по пункту 10

13 Открытая пористость

 

3.24

6.5.3

По три куска от каждого изолятора, испытанного по пункту 11 или 12, проверяют методом фуксиновой пробы

14 Маркировка

100 %

 

 

-

15 Комплектность

100 %

3.34

-

Проверяют при формировании отгрузочной партии изоляторов

* Рекомендуемое испытание.

Таблица 6

Определение объема выборки в зависимости от объема партии

В штуках

Объем партии изоляторов

Объем выборки, не менее

До 100 включ.

3

От 101 до 500 включ.

5

Св. 500 (но не более 2000)

N - объем партии, шт.

* Если расчет не дает целого числа, то выбирают следующее целое число.

5.1.3 Испытания по пунктам 1.1, 1.3, 1.4, 2, 4, 6 - 10, 14, 15 таблицы 5 проводят по плану сплошного контроля.

Изоляторы, не удовлетворяющие хотя бы одному из показателей, бракуют.

5.1.4 Испытания по пунктам 1.2, 3, 5, 11, 12 таблицы 5 проводят по плану выборочного двухступенчатого контроля.

При получении удовлетворительных результатов испытаний на всех изоляторах первой выборки партию принимают.

При получении неудовлетворительных результатов испытаний хотя бы на одном изоляторе первой выборки, проводят повторные испытания на удвоенной выборке изоляторов, отобранной от той же партии. При получении удовлетворительных результатов испытаний на всех изоляторах второй выборки партию принимают.

При получении неудовлетворительных результатов испытаний хотя бы на одном изоляторе второй выборки, партию бракуют.

5.1.5 Результаты приемосдаточных испытаний следует заносить в специальные журналы, в которых должны быть указаны:

- тип изолятора;

- предприятие-изготовитель;

- порядковый номер, год, месяц изготовления изолятора (в соответствии с нанесенной на изолятор маркировкой);

- дата проверки и место проведения испытаний по контролю качества;

- результаты испытаний, причины повреждений (если таковые имели место) и принятые меры;

- заключение по результатам испытаний.

5.2 Периодические испытания

5.2.1 Периодические испытания проводят не реже одного раза в пять лет по показателям, указанным в таблице 7.

Таблица 7

Периодические и типовые испытания

Наименование показателя

Вид испытаний

Номер пункта

Дополнительное указание

периодические

типовые

технических требований

методов испытаний

1 Длина пути утечки

X

X

3.10

6.5.2

 

2 Наличие и качество покрытия арматуры и шва армирующей связки

-

X

3.30

6.5.1

 

3 Испытательное переменное одноминутное напряжение в сухом состоянии

-

X

3.11

6.1.1

 

4 Испытательное переменное одноминутное напряжение под дождем

-

X

3.11

6.1.1

Для изоляторов категории размещения 1

5 Испытательное напряжение полного грозового импульса

-

X

3.11

6.1.1

 

6 Испытательное напряжение коммутационного импульса

 

X

3.11

6.1.1

Для изоляторов классов напряжения 330 кВ и выше (под дождем - для изоляторов категории размещения 1, в сухом состоянии - для остальных изоляторов)

7 50 %-ное разрядное переменное напряжение в условиях загрязнения

 

X

3.17
3.18

6.1.7

 

8 Пробивное напряжение

X

X

3.13

6.1.4

Изоляторы классов напряжения до 35 кВ включ., имеющие длину кратчайшего пути пробоя через изоляционный материал меньше половины внешнего разрядного расстояния между металлической арматурой (фланцами)

9 Испытательное напряжение в условиях выпадения росы

-

X

3.14

6.1.5

Для изоляторов категории размещения 2

10 Испытательное напряжение в условиях выпадения инея с последующим его оттаиванием

 

X

3.15

6.1.6

Для изоляторов исполнений У и УХЛ, категории размещения 2

11 Среднее разрядное переменное напряжение в сухом состоянии

-

X

3.11

6.1.1

 

12 Среднее разрядное переменное напряжение под дождем

-

X

3.11

6.1.1

Для изоляторов категории размещения 1

13 50 %-ное разрядное напряжение полного грозового импульса

-

X

3.11

6.1.1

 

14 Отсутствие видимой короны

 

X

3.12

6.1.2

Для изоляторов классов напряжения от 35 кВ и выше

15 Радиопомехи

 

X

3.12

6.1.3

-

16 Стойкость к медленному изменению температуры

X

X

3.22

6.3.1

Для изоляторов исполнений У и УХЛ в составе испытаний на надежность

17 Стойкость к термоударам

-

X

3.21

6.3.1

 

18 Разрушающая механическая сила при центральном сжатии

-

Х

3.7

6.2.1

Для изоляторов, работающих на сжатие

19 Разрушающая механическая сила на растяжение

-

X

3.7

6.2.1

Для изоляторов, работающих на растяжение

20 Разрушающий механический крутящий момент

-

X

3.6

6.2.1

Для изоляторов, работающих на кручение

21 Стойкость к воздействию одиночных ударов

X

X

3.8

6.2.2

Только для стержневых изоляторов

22 Надежность

Х

X

3.31

6.4

 

Примечание - Знак «X» означает, что испытания проводят, знак «- » - не проводят.

Объем выборки по каждому виду испытаний (кроме испытаний на надежность) - четыре изолятора, отобранных из одной партии, прошедшей приемосдаточные испытания. Комплектование выборки - по ГОСТ 18321.

Объем выборки при испытаниях на надежность см. 6.4.

5.2.2 Изоляторы считают выдержавшими периодические испытания, если по всем показателям на выборке получены удовлетворительные результаты испытаний.

При получении неудовлетворительных результатов испытаний хотя бы по одному показателю, приемку изоляторов, изготовленных (но не отгруженных) за контролируемый период, приостанавливают до получения результатов повторных испытаний.

Повторные испытания проводят на изоляторах, изготовленных после внедрения в производство мероприятий, направленных на устранение выявленных результатами испытаний дефектов.

Результаты повторных испытаний являются окончательными.

5.3 Типовые испытания

5.3.1 Типовые испытания проводят при изменении конструкции или технологического процесса изготовления изоляторов, а также при изменении применяемых материалов, если указанные изменения могут оказать влияние на характеристики изоляторов.

Типовые испытания проводят по показателям, указанным в таблице 7.

Объем выборки по каждому виду испытаний (кроме испытаний на надежность) - четыре изолятора, отобранных из одной партии, прошедшей приемосдаточные испытания. Комплектование выборки - по ГОСТ 18321.

Объем выборки при испытаниях на надежность - по 6.4.1.

В технически обоснованных случаях типовые испытания проводят по специальной программе. При этом состав испытаний должен определяться в зависимости от степени возможного влияния предлагаемых изменений на качество выпускаемых изоляторов.

5.3.2 Изоляторы считают выдержавшими типовые испытания, если по всем показателям на выборке получены удовлетворительные результаты испытаний.

При получении неудовлетворительных результатов испытаний хотя бы по одному показателю, проводят анализ выявленных недостатков и принимают меры к их устранению, после чего изоляторы вновь подвергают испытаниям по этим показателям.

5.3.3 Изоляторы, испытанные по пунктам 16 - 22 таблицы 7, отправке потребителю не подлежат.

5.3.4 Результаты периодических и типовых испытаний следует оформлять в виде протоколов испытаний. В протоколах должны быть указаны:

- тип изолятора;

- предприятие-изготовитель;

- порядковый номер, год, месяц изготовления изолятора (по нанесенной на изолятор маркировке);

- дата проверки и место проведения испытаний (номер аккредитации, наименование испытательной лаборатории, параметры установок);

- результаты испытаний, характер повреждений (если таковые имели место), их причины;

- заключение по результатам испытаний.

5.3.5 Протоколы периодических и типовых испытаний предприятие-изготовитель должно предъявлять потребителю по его требованию.

6 Методы испытаний

6.1 Электрические испытания

6.1.1 Определение электрической прочности изоляторов в сухом состоянии и под дождем (на промышленной частоте, грозовом и коммутационном импульсах) должно проводиться в соответствии с требованиями ГОСТ 1516.2 и ГОСТ 26093.

6.1.2 Испытания изоляторов на отсутствие видимой короны должны проводиться на полностью укомплектованных образцах в соответствии с требованиями ГОСТ 1516.2.

6.1.3 Определение уровня радиопомех должно проводиться в соответствии с ГОСТ 26196.

6.1.4 Определение пробивного напряжения изоляторов и испытания изоляторов непрерывным потоком искр должны проводиться в соответствии с требованиями ГОСТ 26093.

6.1.5 Испытания изоляторов в условиях выпадения росы должны проводиться в соответствии с требованиями ГОСТ 16962 (метод 207-4).

6.1.6 Испытания изоляторов в условиях выпадения инея с последующим его оттаиванием должны проводиться в соответствии с требованиями ГОСТ 16962 (метод 206-1).

6.1.7 Испытания изоляторов при искусственном загрязнении и увлажнении должны проводиться по ГОСТ 10390 с использованием метода предварительного загрязнения и увлажнения. Приложение напряжения должно производиться способом ПД (ПТД) - приложение длительное (приложение толчком длительное) испытательного напряжения и увлажнения (предпочтительный способ) либо способом ПТ - приложение толчком испытательного напряжения к предварительно увлажненному изолятору.

Для определения значения 50 %-ного разрядного напряжения при нормированном значении испытательной удельной поверхностной проводимости должна быть получена зависимость 50 %-ного разрядного напряжения от удельной поверхностной проводимости в области ее нормированного значения.

6.2 Механические испытания

6.2.1 Испытания изоляторов на изгиб, растяжение, сжатие и кручение должны проводиться в соответствии с требованиями ГОСТ 26093.

6.2.2 Для испытаний на воздействие одиночного удара изолятор закрепляют в горизонтальном положении за нижнюю арматуру. По свободному фланцу в плоскости, перпендикулярной к оси изолятора, наносят одиночный удар свободно падающим или маятниковым металлическим бойком массой не менее 5 кг со сферической ударной частью диаметром не менее 50 мм.

Точка нанесения удара должна находиться на расстоянии (30 ± 10) мм от края фланца со стороны изоляционной части. Энергию удара регулируют за счет изменения высоты падения и массы бойка. Величина энергии удара для изоляторов конкретных типов должна быть согласована с основным потребителем. После нанесения удара изолятор осматривают и подвергают испытанию минимальной изгибающей разрушающей силой.

Изолятор считают выдержавшим испытание, если после нанесения нормированного одиночного удара и воздействия изгибающей нагрузки не произошло разрушения изолятора, не обнаружено трещин, сколов изоляционной части, смещения, покачивания фланцев, а разрушающая механическая сила при изгибе составляет не менее 100 % номинальной. (Более подробно методика испытаний при воздействии одиночных ударов приведена в приложении Ж).

6.3 Климатические испытания

6.3.1 Испытания изоляторов на термоудар, на стойкость к медленному изменению температуры должны проводиться в соответствии с требованиями ГОСТ 26093.

6.3.2 Для изоляторов, комплектуемых из составных частей, испытания по 6.3.1 допускается проводить на отдельных элементах конструкции.

6.4 Испытания на надежность

6.4.1 Изоляторы категории размещения 1 должны выдерживать испытания на надежность (3.31), входящие в состав периодических и типовых испытаний.

Объем выборки для испытаний на надежность - 10 изоляторов, отобранных из трех партий, прошедших приемосдаточные испытания. Комплектование выборки - по ГОСТ 18321.

Изоляторы должны последовательно подвергаться испытательным воздействиям согласно 6.4.2 - 6.4.9.

6.4.2 Изоляторы должны погружаться в воду температурой (45 ± 5) °С на срок 6 мес или пропариваться при температуре (45 ± 5) °С в течение 1500 ч.

6.4.3 Изоляторы должны испытываться шестью циклами резких изменений температуры, с перепадом не менее 70 °С в соответствии с 3.21 настоящего стандарта и ГОСТ 26093.

Для изоляторов диаметром по телу более 150 мм допускается снижение перепада температуры до 50 °С.

6.4.4 Изоляторы должны испытываться однократным приложением 100 % минимальной разрушающей силы по методике ГОСТ 26093.

6.4.5 Изоляторы должны испытываться пятью циклами медленного изменения температуры с интервалами по 3.22 при режиме охлаждения и нагрева по ГОСТ 26093. После этого изоляторы должны испытываться в соответствии с 6.4.4 и затем согласно 6.4.3 настоящего стандарта.

6.4.6 Изоляторы в количестве 10 шт. должны испытываться на механическую прочность при изгибе по 6.4.4.

6.4.7 Изоляторы в количестве 4 шт. должны испытываться на стойкость к воздействию одиночных ударов. Методика испытаний - по 6.2.2, значения параметров испытаний - по 3.9.

6.4.8 Остальные изоляторы в количестве 6 шт. испытывают до разрушения.

6.4.9 Изоляторы считают выдержавшими испытания на надежность, если в ходе испытаний по 6.4.2-6.4.8:

- ни один изолятор не повредился;

- не произошло разрушения покрытий арматуры и армировочного шва.

6.5 Проверка размеров, качества поверхности и качества изготовления изоляторов

6.5.1 Проверка размеров изоляторов, качества поверхности изоляторов и их арматуры, качества и толщины армировочного шва, расположения арматуры должна проводиться по ГОСТ 26093, ГОСТ 13872 и ГОСТ 13873.

6.5.2 Проверка длины пути утечки изоляторов должна проводиться по ГОСТ 9920.

6.5.3 Испытания изоляторов на определение отсутствия открытой микроскопической пористости должны проводиться по ГОСТ 26093 (метод фуксиновой пробы под давлением) и в соответствии с приложением Д (по скорости распространения ультразвука в изоляторе).

6.5.4 Испытания изоляторов на определение отсутствия внутренних дефектов изоляционной части должны проводиться в соответствии с приложениями Д и Е.

6.6 Проверка показателей надежности

Интенсивность отказов должна подтверждаться опытом эксплуатации изоляторов.

По требованию потребителя предприятие-изготовитель обязано документально подтвердить, что фактическая интенсивность отказов изоляторов по вине изготовителя не превышает нормированного значения (например, на основании сведений об отгрузке и рекламационных материалов для изоляторов конкретных типов).

7 Транспортирование и хранение

7.1 Условия транспортирования изоляторов в части воздействия механических факторов - по группе Ж ГОСТ 23216.

7.2 Условия транспортирования изоляторов в части воздействия климатических факторов - по группе 5 ГОСТ 15150 для изоляторов категорий размещения 2 и 3, по группе 8 - для изоляторов категории размещения 1 исполнений У и УХЛ, по группе 9 - для изоляторов категории размещения 1 исполнения Т.

7.3 Транспортирование изоляторов может осуществляться всеми видами крытых транспортных средств в соответствии с правилами, действующими на каждом виде транспорта.

Допускается транспортирование изоляторов в открытых автомобилях с защитой от атмосферных осадков при помощи влагонепроницаемого материала (например, брезента), в том числе без упаковки. При этом изоляторы должны быть переложены амортизационным материалом (древесная стружка по ГОСТ 5244 влажностью не более 12 %) или отделены друг от друга деревянными прокладками.

Допускается транспортирование изоляторов категории размещения 1, упакованных в контейнеры, в железнодорожных полувагонах.

7.4 Допускается транспортирование изоляторов производить транспортными пакетами по ГОСТ 26663 с указанием массы, параметров, способов и средств пакетирования в нормативно-технической документации. Транспортирование изоляторов, комплектуемых из составных частей, производят в разобранном виде.

7.5 Транспортирование изоляторов в районы Крайнего Севера и труднодоступные районы следует производить в соответствии с ГОСТ 15846.

7.6 Условия хранения изоляторов исполнений У и УХЛ в части воздействия климатических факторов - по группам 3, 4, 5 ГОСТ 15150.

Для изоляторов категории размещения 1 условия хранения также могут быть по группам 7 и 9 ГОСТ 15150.

При хранении по группам 3 и 4 допускается содержать изоляторы в упаковке предприятия-изготовителя. При хранении по группам 5, 7, 9 изоляторы должны быть распакованы.

Условия хранения изоляторов исполнения Т - по группам 3, 5 ГОСТ 15150.

Срок сохраняемости по ГОСТ 23216 - не более трех лет.

8 Гарантии изготовителя

8.1 Изготовитель гарантирует соответствие изоляторов требованиям настоящего стандарта в течение всего срока службы при соблюдении условий их транспортирования, хранения и эксплуатации.

Претензии потребителя принимаются к рассмотрению только при наличии выданного изготовителем паспорта на отгрузочную партию изоляторов (приложение Г).

8.2 Гарантийный срок службы изоляторов - 10 лет со дня ввода в эксплуатацию, но не более 12 лет с даты отгрузки потребителю.

8.3 В течение гарантийного срока изготовитель осуществляет безвозмездную замену изоляторов как разрушенных (треснувших), так и внешне исправных, относительно которых установлено нарушение требований настоящего стандарта (в том числе с помощью методов неразрушающего контроля качества изоляторов при монтаже и в эксплуатации).

ПРИЛОЖЕНИЕ А

(рекомендуемое)

Методика измерений параллельности, эксцентриситета, углового отклонения, изогнутости и угла наклона ребер изоляторов

А.1 Измерение параллельности торцов изолятора

А.1.1 Изолятор должен устанавливаться вертикально и центрироваться на жесткой вращающейся опоре (опорной плите) при помощи призматических винтов и промежуточной плоскопараллельной плиты (рисунок А.1).

А.1.2 По центру верхнего торца изолятора призматическими винтами на крепежных отверстиях должна фиксироваться плоско-параллельная плита.

А.1.3 При вращении изолятора считывают показания измерительного прибора А. Записывают минимальное и максимальное значения. Разница между этими значениями, рассчитанная по отношению к кругу диаметром 250 мм, представляет собой погрешность параллельности торцов изолятора.

А.2 Измерение эксцентриситета изолятора

А.2.1 Изолятор должен устанавливаться согласно А.1.1 (рисунок А.1).

А.2.2 По центру верхнего торца изолятора призматическими винтами на крепежных отверстиях должна фиксироваться плоско-параллельная плита.

А.2.3 При вращении изолятора на опорной плите считывают показания прибора В. Записывают минимальное и максимальное значения е и с. Эксцентриситетом опорного изолятора считают половину разности между этими значениями: Э = 0,5 (с - е).

А.2.4 В случае сомнений в верности полученного значения эксцентриситета испытание следует повторить, перевернув изолятор и определив эксцентриситет для перевернутого положения.

В этом случае эксцентриситет рассчитывают как среднее значение данных, полученных для разных положений изолятора.

Рисунок А.1.

А.3 Измерение углового отклонения монтажных отверстий

А.3.1 Изолятор должен устанавливать горизонтально, например на призматические опоры (рисунок А.2), с возможностью плавного поворота вокруг оси.

А.3.2 В резьбовые монтажные отверстия изолятора должны быть ввернуты центровочные штыри - винты с хорошо обработанными цилиндрическими хвостовиками (рисунок А.2).

Рисунок А.2.

А.3.3 В безрезьбовые монтажные отверстия изолятора по той же схеме закрепляют призматические болты с хорошо обработанными цилиндрическими хвостовиками.

А.3.4 С одного из торцов изолятора должен быть установлен на центровочные штыри пузырьковый уровень. Плавно поворачивая изолятор, следует привести уровень в горизонтальное положение и зафиксировать изолятор неподвижно.

А.3.5 Следует перенести уровень на центровочные штыри противоположного торца изолятора и по показанию уровня произвести отсчет углового отклонения монтажных отверстий.

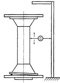
А.4 Измерение изогнутости (стрелы прогиба) изолятора

А.4.1 Изолятор должен быть установлен таким образом, чтобы его можно было вращать вокруг оси, проходящей через центры окружностей крепежных отверстий верхней и нижней металлической арматуры. Это достигается закреплением изолятора на опорной плите согласно А.1.1 при условии, что верхняя металлическая арматура не имеет эксцентриситета по отношению к нижней. Погрешность параллельности изолятора следует выправить с помощью подкладок между торцом изолятора и опорной плитой (рисунок А.3).

А.4.2 Измерительный прибор С устанавливают на различных уровнях вдоль оси изолятора и считывают его показания при вращении изолятора на поворотной плите. На каждом уровне записывают минимальное и максимальное значения. Изгибом считают половину максимального значения разности этих данных.

А.5 Измерение угла наклона ребра изолятора

А.5.1 Изолятор должен быть установлен на опорной плите согласно А.4.1.

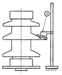
А.5.2 Вдоль изолятора располагают держатель с измерительным прибором D, имеющим горизонтальную реперную метку и подвижный элемент с угловой градуировкой (рисунок А.4).

Рисунок А.3.

Рисунок А.4.

А.5.3 При совмещении подвижного элемента прибора D с верхней поверхностью ребра изолятора можно определить угол наклона ребра, используя угловую градуировку прибора.

Примечания

1 При измерении по методам А.1, А.2 и А.4 необходимо убедиться, что поверхность поворотной плиты перпендикулярна оси вращения.

2 При испытаниях по методам А.1 и А.2 также необходимо обеспечить правильность центровки окружности крепежных отверстий изолятора относительно оси вращения поворотной плиты. С этой целью следует использовать все четыре крепежных отверстия, установив в них призматические винты или болты (например, как на рисунке А.5).

Рисунок А.5.

ПРИЛОЖЕНИЕ Б

(обязательное)

Материалы, используемые для изготовления арматуры

Наименование материала

Обозначение стандарта

Примечание

Ковкий чугун

ГОСТ 26358

-

Серый чугун

ГОСТ 26358

Только для стержневых изоляторов классов напряжения до 35 кВ включ.

Высокопрочный чугун

ГОСТ 26358

 

Сталь

ГОСТ 977

-

Алюминиевые сплавы

ГОСТ 1583

-

Арматурная сталь

ГОСТ 5781

 

Сортовая холоднотянутая автоматная сталь

ГОСТ 1414

-

ПРИЛОЖЕНИЕ В

(обязательное)

Требования к качеству поверхности арматуры

В.1 Отливки из чугуна

В.1.1 Поверхность отливок должна быть чистой. Следы литниковой системы, заливы, наросты и ужимины должны быть зачищены.

В.1.2 На поверхности отливок не допускаются:

- вскипы глубиной более 1 мм. Общая площадь вскипов глубиной до 1 мм не должна быть более 2 % суммарной плошали поверхности отливки;

- раковины глубиной более 1 мм и диаметром более 3 мм. Раковин глубиной до 1 мм и диаметром до 3 мм не должно быть более 4 шт. на 1 см2 и не более 10 шт. - на отливке;

- раковины глубиной более 2 мм на внутренней поверхности отливки (шапки) из высокопрочного чугуна в месте подвода питателя:

- ужимины глубиной более 1 мм и длиной более 30 мм на отливках массой до 1 кг. Ужимин глубиной до 1 мм и длиной до 30 мм на отливке массой до 1 кг не должно быть более 1 шт.;

- ужимины глубиной более 1 мм и длиной более 50 мм на отливках массой более 1 кг. Ужимин глубиной до 1 мм и длиной до 50 мм на отливке массой более 1 кг не должно быть более 2 шт.;

- наросты высотой более 2 мм на поверхностях, не сопрягаемых с другими деталями;

- наросты высотой более 1 мм на внутренней поверхности отливки (шапки);

- наросты высотой более 0,5 мм на донной части внутренней поверхности отливки (шапки);

- наросты на поверхностях, сопрягаемых с другими деталями;

- выломы глубиной более 2 мм.

В.1.3 В месте расположения питателя на отливках высота технологической площадки не должна быть более 2,5 мм. При отсутствии технологической площадки остатки питателя не должны быть высотой более 2 мм.

В.2 Отливки из стали

Отливки из стали должны изготавливаться в соответствии с требованиями ГОСТ 977 и конструкторской документации.

ПРИЛОЖЕНИЕ Г

(обязательное)

Паспорт

ИЗОЛЯТОР

Типа ______________________

ПАСПОРТ

1 Общие сведения об изоляторе и условиях его эксплуатации

Изолятор типа _____________________________________ изготовлен в соответствии с требованиями ГОСТ Р 52034-2003.

Изолятор предназначен для работы в сетях переменного тока, расположенных на высоте до 1000 м над уровнем моря.

Изолятор предназначен для эксплуатации при предельных рабочих температурах от минус _________ °С до плюс _________ °С.

Предприятие-изготовитель ___________________________________________________

Заводской номер (номер партии для изоляторов классов напряжения 6-35 кВ) ________

___________________________________________________________________________

Дата выпуска (месяц, год) ____________________________________________________

2 Основные технические данные и характеристики

2.1 Основные технические характеристики:

Номинальное напряжение, кВ _________________________________________________

Испытательное напряжение грозового импульса, кВ ______________________________

Минимальная механическая разрушающая сила при изгибе (растяжении), кН ________

Масса, кг __________________________________________________________________

2.2 Результаты периодических испытаний

Протокол № _____________________________ от ________________________________

Изоляторы типа _________________, выпускаемые _______________________________

                                                                                                                        наименование предприятия-изготовителя

с _________г., по результатам периодических испытаний соответствуют требованиям ГОСТ Р 52034-2003

2.3 Результаты приемосдаточных испытаний:

Протокол № _____________________________ от ________________________________

Изолятор типа ________________________ входит в состав технологически однородной партии изоляторов

№ _____________ объемом ________ шт., номера изоляторов в партии № ___________ -

№ ______________, прошедшей все предусмотренные ГОСТ Р 52034-2003 приемосдаточные испытания

Наименование основных показателей

Объем выборки

Нормированное значение

Результат испытаний

Строительная высота, мм

 

100 %

 

 

Испытательная изгибающая сила, кН

100 %

 

 

Стойкость к термоударам

Выборочно

 

 

Механическая разрушающая сила при изгибе, кН

Выборочно

 

 

Открытая пористость

Выборочно

 

 

Отсутствие видимых дефектов

100 %

 

 

Скорость прохождения ультразвука в нижнем опасном сечении (для изоляторов классов напряжения 100 кВ и выше)

100 %

 

 

Скорость прохождения ультразвука в верхнем опасном сечении (для изоляторов классов напряжения 100 кВ и выше)

100 %

 

 

3 Комплект поставки

Наименование

Количество, шт.

Примечание

Изолятор типа_____________________________________________

по заказу _____________________ от _________________________

 

 

Паспорт

 

 

Сертификат соответствия № _________________________________*

от ______________________

 

 

Крепежные детали

 

 

* По согласованию с потребителем.

4 Свидетельство о приемке

Изолятор(ы) типа(ов) ________________________________________________________

Количество (шт.) ____________________________________________________________

Заводской номер изолятора (номер партии) № ___________________________________

(номера изоляторов в партии № ______________________ - № _____________________)

Изготовлен(ы) в период, с_____________________________ по _____________________

Дата приемки __________________________ Дата упаковки _______________________

По результатам типовых, периодических, приемосдаточных испытаний изолятор(ы) соответствует(ют) требованиям ГОСТ Р 52034-2003 и признан(ы) годным(и) для эксплуатации.

Штамп ОТК

Начальник ОТК _____________________________________________________________

5 Свидетельство об упаковке

Изолятор(ы) типа(ов) _______________ в количестве _____________ шт. подвергнут(ы) консервации и упаковке.

Дата упаковки ______________________________________________________________

Упаковку произвел __________________________________________________________

Изолятор(ы) после упаковки принял ____________________________________________

Штамп ОТК

6 Гарантийные обязательства

6.1 Изготовитель гарантирует соответствие изолятора(ов) требованиям ГОСТ Р 52034-2003 в течение всего срока службы при соблюдении условий его (их) транспортирования, хранения и эксплуатации.

Претензии потребителя принимаются к рассмотрению только при наличии выданного изготовителем паспорта на изолятор(ы).

6.2 Гарантийный срок службы изолятора(ов) - 10 лет со дня ввода в эксплуатацию, но не более 12 лет с даты отгрузки потребителю.

6.3 В течение гарантийного срока изготовитель осуществляет безвозмездную замену изолятора как разрушенного (треснувшего), так и внешне исправного, относительно которого установлено нарушение требований ГОСТ Р 52034-2003 (в том числе с помощью методов неразрушающего контроля качества изолятора при монтаже и в эксплуатации).

6.4 Срок службы изолятора(ов) - не менее 30 лет.


ПРИЛОЖЕНИЕ Д

(обязательное)

Методика проведения производственного ультразвукового неразрушающего контроля опорных изоляторов (основные положения)

Д.1 Объекты ультразвукового неразрушающего контроля (УЗНК)

Д.1.1 Производственный ультразвуковой неразрушающий контроль (ультразвуковая дефектоскопия) является обязательным для опорных стержневых изоляторов (ОСИ) на классы напряжения 35 кВ и выше.

Д.1.2 Для прочих опорных изоляторов УЗНК является рекомендуемым.

Д.2 Методы производственного УЗНК опорных стержневых изоляторов

Д.2.1 УЗНК ОСИ должен производиться двумя методами:

- ультразвуковой дефектометрией (УЗД);

- ультразвуковой структурометрией (УЗС).

Д.2.2 УЗД ОСИ производят упругим ультразвуковым импульсным эхометодом, первичный информационный параметр - амплитудный, способ индикации первичной информации - пьезоэлектрический, способ представления окончательной информации - электроннолучевой.

УЗД ОСИ производят при прозвучивании изолятора с торцевых поверхностей в аксиальном направлении прямым совмещенным ультразвуковым преобразователем рабочей частотой (2,5 ± 0,5) МГц. Как правило, контроль первоначально должен осуществляться с верхнего торца изолятора (ВТ), затем с нижнего торца (НТ). Результаты контроля с ВТ и НТ сопоставляют между собой. Для изолятора на напряжение 35 кВ допускается проводить прозвучивание только с одного из торцов.

Методика УЗД ОСИ должна выявлять и идентифицировать дефекты типа зон обжиговой и засорочной макроскопической пористости (ОМАП и ЗасП), а также сосредоточенные (местные) дефекты (МД) типа одиночных трещин, полостей и включений, расположенных в стволовой части изолятора.

В качестве параметров контроля при УЗД ОСИ используют амплитудные и временные характеристики отраженных сигналов, расположенных между зондирующим импульсом (ЗИ) и первым донным импульсом (1ДИ), а также амплитудные характеристики второго и третьего донных импульсов (2ДИ, 3ДИ).

Д.2.3 УЗС ОСИ производят путем определения распространения ультразвука в изоляторе: в аксиальном направлении, а также в радиальном направлении в верхнем и нижнем «опасных» сечениях, исходя из времени прохождения ультразвукового сигнала по базе определенной протяженности.

Измерение времени прохождения производят упругим ультразвуковым импульсным эхометодом, первичный информационный параметр - временной, способ индикации первичной информации - пьезоэлектрический, способ представления окончательной информации - метрический.

УЗС ОСИ осуществляют:

- прозвучиванием изолятора с торцевой поверхности в аксиальном направлении прямым совмещенным ультразвуковым преобразователем рабочей частотой (2,5 ± 0,5) МГц с целью определения скорости;

- прозвучиванием изолятора в радиальном направлении в верхнем и нижнем «опасных» сечениях (ВОС и НОС) прямым совмещенным ультразвуковым преобразователем рабочей частотой (2,5 ± 0,5) МГц либо (5,0 ± 1,0) МГц.

Методика УЗС ОСИ должна выявлять и оценивать дефекты ОСИ типа открытой микроскопической пористости (ОМИП), а также нарушения состава фарфоровой массы.

Радиальное прозвучивание изоляторов в ВОС и НОС рекомендуется производить для изоляторов напряжением ПО кВ и выше, при этом полученные значения вводят в паспорт изолятора.

Д.2.4 По результатам УЗНК ОМИП, ОМАП и ЗасП может осуществляться анализ нарушений технологических режимов изготовления изоляторов, а также ранняя диагностика браков вышеуказанных типов.

Д.2.5 При необходимости, для уточнения параметров УЗНК наряду с эхометодом может использоваться и метод сквозного прозвучивания («теневой»), с помощью двух ультразвуковых датчиков рабочей частотой (2,5 ± 0,5) МГц либо (5,0 ± 1,0) МГц.

Д.2.6 По согласованию с основным потребителем могут применяться дополнительные варианты производственного УЗНК ОСИ, например УЗД околоповерхностных сосредоточенных дефектов с помощью раздельно-совмещенного ультразвукового преобразователя, УЗС поверхностной ОМИП - по скорости распространения поверхностных ультразвуковых волн.

Д.2.7 Методика проведения производственного УЗНК ОСИ, используемая на предприятии - изготовителе изоляторов, должна включать в себя дополнительные методические указания и браковочные критерии УЗД и УЗС для изоляторов конкретных типов, выпускаемых данным предприятием.

При изменениях технологии изготовления изоляторов методика их УЗНК подлежит корректировке.

Разработка и корректировка методики производственного УЗНК ОСИ должны проводиться организацией, имеющей лицензию (разрешение) на этот вид деятельности.

Д.3 Подготовка и проведение производственного УЗНК ОСИ

Д.3.1 Аксиальное прозвучивание изолятора должно производиться после отрезки (сошлифовки) технологических припусков. Торцевые поверхности изолятора, являющиеся при этом поверхностями ввода ультразвукового сигнала, должны иметь чистоту обработки не ниже 6,3 мкм по ГОСТ 2789. Должны отсутствовать отдельные грубые шероховатости, выступы, выбоины, грязь, краска. Торцевые поверхности должны быть плоскими и параллельными друг другу в соответствии с требованиями ГОСТ 5862. Подшлифовку торцевых поверхностей с помощью ручного пневмо- и электроинструмента следует производить после УЗНК.

Д.3.2 В случае проведения аксиального прозвучивания изолятора до отрезки (сошлифовки) технологических припусков, повторное прозвучивание после отрезки (сошлифовки) является обязательным условием признания данного изделия годным по результатам УЗНК.

Д.3.3 УЗНК проводят в контактном варианте; в качестве контактной жидкости используют питьевую воду.

Положение изолятора при УЗНК - вертикальное либо горизонтальное.

Д.3.4 УЗНК ОСИ с правом принятия самостоятельного решения о годности либо негодности изолятора по результатам УЗНК должен проводить специально обученный оператор, имеющий квалификацию не ниже 5-го разряда по УЗНК, либо специально обученный инженерно-технический работник ОТК.

При возможности рекомендуется осуществлять контроль силами двух операторов, один из которых осуществляет сканирование преобразователя, а другой - регистрацию результатов контроля.

Д.4 Оформление результатов производственного УЗНК ОСИ

Д.4.1 Регистрации в журнале контроля подлежат:

- тип, заводской номер, месяц и год выпуска изолятора;

- время и место проведения контроля;

- обозначение (индекс) документа, на основании которого ведется контроль;

- результаты настройки аппаратуры по эталону (обязательно) и проверки по тест-изоляторам (рекомендуется);

- результаты контроля (основные измеренные и расчетные характеристики выявленных дефектов), отдельно для контроля с ВТ, НТ, ВОС и НОС;

- сведения об участках поверхности изделия, не подвергнутых УЗНК из-за несоответствия требованиям, изложенным в Д.3.1;

- заключение о годности или негодности изолятора к выпуску по результатам УЗНК;

- заключение о возможности ранней диагностики брака по дефектам типа ОМИП, ОМАП и ЗасП (рекомендуется);

- фамилия и подпись дефектоскописта.

Д.5 Аппаратура для проведения производственного УЗНК ОСИ

Д.5.1 Аппаратура должна обеспечивать контроль изоляторов обоими принятыми методами.

В производственных условиях рекомендуется использовать дефектоскоп общего назначения УД2-12. Могут быть использованы и другие портативные ультразвуковые дефектоскопы, работающие в эхо- и «теневом» режимах на частотах мегагерцового диапазона и позволяющие отображать результаты контроля как в электролучевой, так и в метрической форме, т.е. оборудованные как экраном, так и встроенным цифровым измерителем времени прохождения ультразвукового сигнала длительностью не менее 500 мкс с шагом не более 0,1 мкс.

Д.5.2 Вспомогательные приспособления и устройства:

- электронный калькулятор;

- приспособления для измерений высоты и диаметров изолятора в ВОС и НОС;

- эластичный резервуар емкостью 0,1 - 0,2 л с навинчивающейся крышкой, в которой имеется отверстие диаметром около 0,5 мм (для нанесения контактной жидкости на контролируемое изделие);

- настроечный эталон из электротехнического фарфора высотой 70 - 100 мм;

- тест-образцы изоляторов испытуемого типа как из числа годных, так и забракованных по результатам УЗНК (рекомендуется);

- стол и сиденье для оператора УЗНК;

- устройство для опрокидывания изоляторов (в случае проведения УЗНК при вертикальном положении ОСИ);

- удлиненный кабель для подключения к дефектоскопу ультразвукового преобразователя (при проведении УЗНК двумя операторами);

- журнал для записи результатов контроля.

Д.5.3 Порядок размещения аппаратуры, вспомогательных устройств и контролируемых изделий должен обеспечивать оператору возможность вести контроль, сидя на расстоянии 30 - 40 см от экрана дефектоскопа.

При проведении УЗНК двумя операторами один из них должен прозвучивать контролируемое изделие, одновременно наблюдая за экраном дефектоскопа. Второй оператор, сидя у экрана дефектоскопа, по командам первого должен осуществлять измерение параметров сигналов, запись результатов контроля и - при необходимости - подсчет скоростей распространения ультразвука и местоположения выявленных сосредоточенных дефектов.

Д.5.4 Аппаратура УЗНК должна быть защищена от пыли, вибраций, а экран дефектоскопа - от прямых солнечных лучей. Помещение, где проводят УЗНК, по уровню шума, освещенности и температуре воздуха должно соответствовать помещениям, предназначенным для умственной работы.

Д.6 Требования безопасности

Д.6.1 Перед подключением к электросети дефектоскоп необходимо заземлить, и не снимать заземление до отключения прибора от сети.

Д.6.2 Ремонт и эксплуатация дефектоскопа должны производиться в соответствии с правилами, установленными для аппаратуры напряжением свыше 1000 В.

ПРИЛОЖЕНИЕ Е

(обязательное)

Методика акустико-эмиссионного контроля опорных стержневых изоляторов (основные положения)

Е.1 Метод акустико-эмиссионного (АЭ) контроля опорных стержневых изоляторов (ОСИ), изготовленных из электротехнического фарфора, позволяет обнаружить наличие и степень развития дефектов, проявляющихся в изоляторе при его нагружении в ходе механических испытаний, путем регистрации и анализа генерируемых при этом акустических сигналов.

Применяемый вариант АЭ контроля ОСИ основан на регистрации нарушения так называемого «эффекта Кайзера» в бракуемых изделиях.

Е.2 Воздействие на изолятор внешней нагрузки приводит к появлению в нем дополнительных механических напряжений, разрушению элементов микроструктуры фарфора и росту микротрещин. При этом часть высвобождаемой энергии трансформируется в акустические импульсы (АЭ сигналы), количество которых зависит от характера распределения их прочности и от уровня приложенной нагрузки.

В случае снятия нагрузки и повторного нагружения изолятора в том же направлении в доброкачественном фарфоре имеет место известный «эффект Кайзера», заключающийся в том, что при повторном нагружении АЭ сигналов не будет до тех пор, пока нагрузка не превысит величины, которой она достигла в первом цикле нагружения (т.е. пока не начнут растрескиваться частицы, имеющие большую прочность, чем разрушенные при первом цикле нагружения).

Е.3 Если в фарфоровой части изолятора происходит развитие так называемой магистральной трещины (МТ), «эффект Кайзера» нарушается, т.е. при повторном нагружении ОСИ в том же направлении наблюдаются АЭ сигналы при уровнях нагрузки, значительно меньших достигнутого в первом цикле нагружения. Для МТ характерно, что она может развиваться, генерируя АЭ сигналы, не только при увеличении нагрузки в ходе повторного нагружения, но и при постоянной нагрузке, а в ряде случаев - даже при уменьшении нагрузки. Изоляторы, для которых нарушается «эффект Кайзера», следует браковать.

Е.4 Производственный АЭ контроль фарфоровых ОСИ должен осуществляться следующим образом.

Е.4.1 АЭ контроль выполняют с помощью прибора АЭ и нагружающего устройства.

В качества прибора АЭ может быть рекомендован прибор ПАК-3М, разработанный АО ВНИИ Электроэнергетики (Москва) специально для контроля высоковольтных фарфоровых изоляторов методом АЭ (путем нарушения «эффекта Кайзера»).

В качестве нагружающего устройства могут быть использованы как обычные стенды для испытаний ОСИ на механическую нагрузку (изгиб, кручение, растяжение), так и специальные устройства, например нагружающее устройство УКИ-1, разработанное ВНИИЭ, а также стенд для испытаний изоляторов на всесторонний изгиб путем вращения испытуемого изделия под нагрузкой.

Е.4.2 АЭ контроль выполняют в ходе проведения приемосдаточных испытаний изоляторов, при этом нагружение изолятора в каждом данном направлении производится дважды: первый раз - до величины усилия, равной 50 % от номинальной разрушающей нагрузки, второй раз - до величины усилия, равной 45 % от номинальной разрушающей нагрузки. Выдержка при каждом нагружении должна составлять (15 ± 1) с.

В случае проведения АЭ контроля изолятора при вращении испытуемого изделия под нагрузкой рекомендуемая частота вращения составляет 1 об. за (60 ± 5) с, при этом число оборотов равно двум, величина нагрузки при первом обороте изолятора - 50 % от номинальной разрушающей нагрузки на изгиб, при втором обороте - 45 % от номинальной разрушающей нагрузки.

Е.4.3 Перед началом испытаний изолятор крепят на раму (держатель) испытательного стенда за один из его фланцев.

На изолятор устанавливают АЭ датчик (как правило, на поверхность «опасного» сечения, прилегающего к закрепленному на раме фланцу).

Предварительно на рабочую поверхность датчика для обеспечения акустического контакта наносят слой густой смазки типа солидола толщиной 1 - 2 мм. Рабочая поверхность АЭ датчика должна быть плотно прижата к фарфору (например, с помощью резинового жгута).

В соответствии с инструкцией по эксплуатации прибора АЭ контроля производят его включение и апробирование работоспособности.

Е.4.4 Проводят первый цикл нагружения изолятора в данном направлении в соответствии с Е.4.2. По окончании выдержки снижают нагрузку примерно вдвое. Затем проводят второй цикл нагружения в соответствии с Е.4.2. По прибору АЭ контроля проверяют наличие АЭ сигнала во втором цикле нагружения. Превышение АЭ сигнала порогового значения, определяемого по индикатору прибора, свидетельствует о непригодности контролируемого изделия по результатам АЭ контроля при нагружении в данном направлении.

Е.4.5 В случае, если превышение порогового сигнала АЭ при втором цикле нагружения в соответствии с Е.4.4 не выявлено, проводят дальнейшие механические испытания изолятора с регистрацией уровней АЭ сигналов согласно Е.4.2 и Е.4.4.

Е.4.6 Изолятор считают выдержавшим испытания, если он признан годным на всех этапах контроля по Е.4.5. В противном случае изолятор бракуют.

Е.4.7 По окончании контроля установленное на изоляторе оборудование снимают, изолятор удаляют с испытательного стенда и в протоколе испытаний делают отметку о пригодности или непригодности изолятора по результатам испытаний.

ПРИЛОЖЕНИЕ Ж

(справочное)

Методика испытаний на воздействие одиночных ударов (основные положения)

Ж.1 Испытаниям на воздействие одиночных ударов должны подвергаться опорные стержневые изоляторы, отобранные из выдержавших приемосдаточные испытания.

Испытания предназначены для определения величины ударной энергии, поглощаемой изолятором до разрушения.

Ж.2 Испытания на воздействие одиночных ударов следует проводить на специальном стенде, обеспечивающем ударное нагружение консольно закрепленного изолятора от 10 до 250 Дж за один удар.

Стенд должен обеспечивать возможность плавной механической регулировки положения оси падения груза в двух плоскостях.

Освобождение поднятого на необходимую высоту груза от удерживающей связи рекомендуется производить с помощью электромагнитной защелки.

Ж.3 Для испытаний изолятор должен быть закреплен в горизонтальном положении за нижнюю арматуру. По свободному фланцу в плоскости, перпендикулярной оси изолятора, наносят нормированный одиночный удар свободно падающим металлическим грузом. Энергия удара должна регулироваться за счет высоты падения и массы груза.

Ж.4 После нанесения нормированного удара изолятор должен подвергнуться действию изгибающей нагрузки, равной 50 % от номинальной разрушающей.

Ж.5 Затем изолятор вновь закрепляют на ударном стенде и продолжают испытания на ударную прочность путем последовательного увеличения энергии удара до момента, соответствующего разрушению изолятора.

Значение приращения энергии при каждом ударе, следующим за нормированным, постоянно и должно составлять от 5 % до 10 % энергии нормированного удара.

Ж.6 Металлические грузы, используемые для ударных испытаний, должны иметь массу не менее 5 кг; ударная часть груза должна быть сфероидальной формы диаметром (200 ± 10) мм и закалена до (350 ± 30) НВ.

Ж.7 Точка нанесения удара должна находиться на расстоянии (20 ± 5) мм от края фланца со стороны изоляционной части и не отклоняться от вертикальной плоскости более чем на 5 мм.

Ж.8 Скорость груза в момент нанесения удара должна находиться в диапазоне от 2 до 5 м/с, что приблизительно соответствует высотам сброса груза от 0,2 до 1,3 м.

Ж.9 Методика производственных испытаний опорных стержневых изоляторов на ударную прочность, используемая предприятием-изготовителем, для каждого изолятора конкретного типа должна включать в себя следующие параметры:

- значение энергии нормированного удара;

- массу груза, используемого для нанесения нормированного удара;

- значения последовательного приращения энергии при нанесении ударов, следующих за нормированным.

Методика производственных испытаний изоляторов на ударную прочность должна разрабатываться организацией, имеющей лицензию (разрешение) на этот вид деятельности, и должна быть согласована с основным потребителем.

Ж.10 В протоколе испытаний на ударную прочность для каждого изолятора должны быть указаны:

- тип, изготовитель, заводской номер, месяц и год выпуска;

- обозначение (индекс) документа, на основании которого ведется испытание;

- энергия и масса груза нормированного удара;

- заключение о результатах испытаний нормированным одиночным ударом с последующим приложением изгибающей нагрузки;

- энергия и масса груза разрушающего удара;

- количество ударов, считая разрушающий;

- место и характер разрушения изолятора.

Ключевые слова: изоляторы опорные керамические, технические требования, приемка, методы испытаний




Rambler's Top100 Яндекс цитирования
  Copyright © 2008-2026, www.docload.ru