Бесплатная библиотека стандартов и нормативов www.docload.ru

Все документы, размещенные на этом сайте, не являются их официальным изданием и предназначены исключительно для ознакомительных целей.
Электронные копии этих документов могут распространяться без всяких ограничений. Вы можете размещать информацию с этого сайта на любом другом сайте.
Это некоммерческий сайт и здесь не продаются документы. Вы можете скачать их абсолютно бесплатно!
Содержимое сайта не нарушает чьих-либо авторских прав! Человек имеет право на информацию!

 

МИНИСТЕРСТВО ТОПЛИВА И ЭНЕРГЕТИКИ РОССИЙСКОЙ ФЕДЕРАЦИИ

УПРАВЛЕНИЕ ЭЛЕКТРОСЕТЕЙ КОРПОРАЦИИ РОСЭНЕРГО

 

МЕТОДИЧЕСКИЕ УКАЗАНИЯ
ПО
ТИПОВОЙ ЗАЩИТЕ
ОТ
ВИБРАЦИИ И СУБКОЛЕБАНИЙ
ПРОВОДОВ
И ГРОЗОЗАЩИТНЫХ ТРОСОВ
ВОЗДУШНЫХ
ЛИНИЙ ЭЛЕКТРОПЕРЕДАЧИ
НАПРЯЖЕНИЕМ
35 - 750 кВ

РД 34.20.182-90

СПО ОРГРЭС

Москва 1991

РАЗРАБОТАНО Всесоюзным научно-исследовательским институтом электроэнергетики (ВНИИЭ)

ИСПОЛНИТЕЛЬ В.А. ШКАПЦОВ

Утверждено Управлением электросетей корпорации Росэнерго 25.03.93 г.

СОГЛАСОВАНО с институтом «Энергосетьпроект» 15.03.93 г.

Главный инженер В.В. СЛОЕВ

МЕТОДИЧЕСКИЕ УКАЗАНИЯ
ПО
ТИПОВОЙ ЗАЩИТЕ
ОТ
ВИБРАЦИИ И СУБКОЛЕБАНИЙ
ПРОВОДОВ
И ГРОЗОЗАЩИТНЫХ ТРОСОВ
ВОЗДУШНЫХ
ЛИНИЙ ЭЛЕКТРОПЕРЕДАЧИ
НАПРЯЖЕНИЕМ
35 - 750 кВ

РД 34.20.182-90

Срок действия установлен

с 01.06.91 г.

до 01.06.96 г.

1. ВВЕДЕНИЕ

Провода воздушных линий электропередачи (ВЛ) независимо от класса напряжения в той или иной степени подвержены колебаниям, вызываемым действием ветра. От характера колебаний, их интенсивности и эффективности применяемой защиты от колебаний в значительной мере зависит срок службы проводов и эксплуатационная надежность ВЛ в целом. К числу наиболее распространенных видов колебаний проводов, вызываемых ветром (без гололеда), относятся вибрация, часто называемая золовой и колебания проводов расщепленных фаз (полюсов), вызываемые действием аэродинамического следа и называемые субколебаниями. Оба названных вида колебаний могут быть причиной повреждений проводов, линейной арматуры, систем подвески проводов. Поэтому провода и тросы нуждаются в защите от таких колебаний.

Исследования факторов, наиболее существенно влияющих на интенсивность колебаний проводов и на их повреждаемость от действия колебаний, постоянно проводятся в СССР и во многих других странах. За период с 1982 г., когда была выпущена предыдущая редакция «Методических указаний по типовой защите от вибрации проводов и тросов воздушных линий электропередачи напряжением 35 - 750 кВ» [1], накоплен новый опыт защиты проводов от колебаний. Появились более современные высокоэффективные средства измерения и регистрации вибрации проводов ВЛ. Опубликованы результаты выполненных в последние годы теоретических исследований по вопросам оценки влияния вибрации и субколебаний на выносливость проводов. Обобщение результатов экспериментальных и теоретических исследований, проведенных за последние 10 лет, позволило внести уточнения и дополнения в разд. 2 - 5 Методических указаний, посвященный защите проводов и тросов от вибрации, дополнить указания новым разд. 6, где рассмотрены типовые методы защиты проводов от субколебаний.

Настоящие Методические указания распространяются на все типовые случаи защиты от вибрации и субколебаний проектируемых, сооружаемых и находящихся в эксплуатации ВЛ напряжением 35 - 750 кВ и с момента ввода в действие отменяют ранее изданные нормативные документы по типовой защите проводов и тросов ВЛ от вибрации и субколебаний. В тех случаях, когда по условиям проектирования или эксплуатации требуются специальные меры защиты проводов от колебаний (для ВЛ нетрадиционных конструкций, новых типов проводов и тросов, сверхдлинных пролетов, экстремальных климатических условий и т.д.), они разрабатываются специализированными организациями (головная организация - ВНИИЭ) на договорной основе.

2. ВИБРАЦИЯ ПРОВОДОВ, УСТАЛОСТНЫЕ ЯВЛЕНИЯ

2.1. Причины возникновения, характеристики вибрации

2.1.1. Эоловой вибрацией или просто вибрацией проводов называются вызываемые ветром периодические колебания натянутого в пролете ВЛ провода, происходящие, главным образом, в вертикальной плоскости и образующие на длине пролета L стоячие волны. Участки стоячих волн, где провод совершает наибольшие отклонения от положения равновесия, называются пучностями, а точки, где провод совершает только угловые колебания - узлами (рис. 2.1).

2.1.2. Измерения и расчеты показывают, что для вибрации проводов характерными являются диапазон частот колебаний ω от 3 до 150 Гц, длины полуволн колебаний λ/2 (расстояние между двумя соседними узлами) от 1 до 30 м, размах (удвоенная амплитуда) колебаний 2А в пучности может несколько превышать по значению диаметр провода.

2.1.3. Интенсивность вибрации может характеризоваться следующими величинами:

размахом 2А или амплитудой А колебаний в пучности;

углом вибрации a;

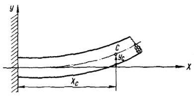
изгибной амплитудой yc, которая в соответствии со сложившейся международной практикой определяется на расстоянии Хс = 89 мм (рис. 2.2) от последней точки контакта провода с зажимом [2];

амплитудой деформации провода в зажиме;

амплитудой циклических напряжений в точке выхода провода из зажима.

2.1.4. Вибрация является результатом воздействия на провод поперечно направленного аэродинамического потока со скоростью от 0,6 до 7 м/с, создающего за проводом периодически возникающие и срывающиеся вихревые движения воздуха. Возникающие за проводом вихри уносятся воздушными потоками, способствуя образованию следующих вихрей с противоположным направлением вращения.

Струхалем было найдено безразмерное число St устанавливающее взаимосвязь между скоростью потока, диаметром цилиндра и частотой вихрей [3]

S t= n D / V                                                                  (2.1)

где ν - частота образования вихрей;                                                                                                       

D - диаметр цилиндра;

V- скорость потока.

Для аэродинамики проводов характерны числа Струхаля в диапазоне от 0,18 до 0,22. Из выражения (2.1) получена удобная для практического использования формула для определения частоты образования вихрей

                                                                (2.2)

где ν - частота образования воздушных вихрей, Гц;

V - скорость ветра, м/с;

D - диаметр провода, мм;

St = 0,18 ÷ 0,22 - число Струхаля.

Рис. 2.1. Стоячая волна вибрации провода в пролете ВЛ:

1 - узел колебаний; 2 - пучность;

L - длина пролета; λ - длина волны колебаний; А - амплитуда колебаний; 2А - размах колебаний; a - угол вибрации

Рис. 2.2. Деформированное состояние провода при жестком закреплении на конце:

yc - изгибная амплитуда; Хс - расстояние от последней точки контакта провода с зажимом

Рис. 2.3. Схема вихреобразования за проводом

В момент развития вихря скорость потока с одной стороны (например, верхней) несколько возрастает по сравнению со скоростью потока с противоположной (нижней) стороны; при образовании следующего вихря, с обратным направлением вращения, получается обратное соотношение скоростей потока. По закону Бернулли разнице скоростей потока соответствует разница давления - большей скорости соответствует меньшее давление и наоборот. Периодическому образованию вихрей сопутствуют периодические импульсы силы, поочередно действующие на провод на данном его участке то снизу, то сверху (рис. 2.3).

Вибрация провода возникает в результате совпадения частоты таких динамических импульсов с одной из собственных частот упругой системы, которую представляет собой натянутый в пролете провод. Такие аэродинамические импульсы приводят к постепенному нарастанию амплитуды колебаний. Возникающее колебательное движение провода координирует срыв вихрей на отдельных его участках, синхронизируя срыв вихрей с переменой направления движения провода. Развитие колебаний и рост их интенсивности продолжается до тех пор, пока не наступает состояние баланса между энергией ветра, воспринимаемой в виде аэродинамических импульсов, и потерями на рассеивание энергии колеблющимся проводом.

2.2. Опасность вибрации, характер и место повреждений, вызываемых вибрацией

2.2.1. Опасность вибрации проводов ВЛ состоит в том, что при периодических перегибах провода в нем возникают циклические механические напряжения. Складываясь со статическим напряжением натянутого в пролете провода и напряжениями от изгиба и сжатия в местах крепления, они приводят с течением времени к явлению усталости материала провода.

2.2.2. Повреждения провода, вызываемое вибрацией, обычно происходят в местах его закрепления либо в местах подвески на проводе устройств со значительной массой, где условия работы провода при вибрации особенно неблагоприятны, и могут проявляться в частичном износе поверхности провода или в последовательном изломе отдельных проволок. С увеличением числа оборванных проволок напряжение в оставшихся возрастает, разрушение приобретает нарастающий характер, пока, наконец, не происходит полный обрыв провода.

Вызываемые вибрацией повреждения проволок и тросов (излом отдельных проволок) всегда имеют характерный вид, позволяющий отличить их от повреждений, вызванных другими причинами. Излом происходит в перпендикулярной или наклонной к оси проволоки плоскости, обычно с гладкой или мелкозернистой поверхностью, при этом место излома не имеет следов шейки, характерной для обычного разрыва.

2.2.3. Явлению вибрации и опасности повреждений, вызываемых ею, могут подвергаться все находящие применение на линиях провода и тросы вне зависимости от их материала и сечения.

Обрывы проволок по причине вибрации возникают большей частью в верхнем повиве провода, однако имеют место случаи возникновения первоначальных обрывов проволок внутренних повивов, особенно у сталеалюминевых проводов и проводов из алюминиевых сплавов.

2.2.4. Повреждения проводов вибрацией обычно ранее всего появляются в поддерживающих зажимах, где провод подвержен сосредоточенному действию наибольших статических и динамических напряжений и где скорее всего наступает явление усталости.

Вызываемые вибрацией повреждения проводов могут иметь место при всех типах применяемых в отечественной практике поддерживающих зажимов, в том числе в зажимах с качающейся «лодочкой» и в роликовых подвесных устройствах, где провод свободно лежит в канавке ролика.

Повреждения обычно концентрируются в местах выхода провода с опорной поверхности ложа зажима или ролика.

2.2.5. Повреждения проводов в натяжных зажимах происходят значительно реже, чем в поддерживающих, поскольку на выходе из натяжного зажима провод не испытывает статических напряжений изгиба, возникающих в местах схода проводов с поддерживающих зажимов.

Повреждения проводов в натяжных зажимах обычно происходят в зоне выхода из устья зажима.

2.2.6. Повреждения проводов от вибрации в пролетах наблюдаются крайне редко и могут возникать в местах выхода из соединителей большой длины, обладающих значительной массой, а также в местах установки в пролете шунтов, обводных петель и ответвлений.

Кроме того, сильная вибрация может приводить к обрыву проволок провода в местах некачественной заводской сварки проводов.

2.2.7. Вибрация проводов может явиться причиной износа и разрушения элементов подвески, деталей арматуры (в частности, внутрифазовых распорок расщепленных проводов).

3. УКАЗАНИЯ ПО ЗАЩИТЕ ОТ ВИБРАЦИИ ВЛ С ОДИНОЧНЫМИ ПРОВОДАМИ

3.1. Определение линий и участков линий, не требующих защиты проводов или грозозащитных тросов от вибрации

3.1.1. Защита от вибрации не требуется в тех случаях, когда отсутствуют условия и причины вибрации проводов и тросов, создающей опасность их разрушения. Степень опасности вибрации определяется расположением ВЛ или ее участков относительно преобладающего направления ветров, условиями прохождения линии, тяжением проводов и тросов, конструктивными параметрами пролетов.

В табл. 3.1 представлены пять основных разновидностей топографических особенностей и категорий местности.

Таблица 3.1

Категория местности

Характерные особенности топографии

1

Ровная, открытая местность без преград со снежным покровом более 5 мес. в году, водная поверхность значительных размеров

2

Ровная, открытая местность без снежного покрова или со снежным покровом менее 5 мес. в году

3

Слабохолмистая местность, отдельные деревья и строения

4

Пересеченная местность, редкий или низкорослый лес, невысокая застройка

5

Горные районы, территория города с высокой застройкой, лесной массив

В зависимости от условий прохождения трассы линии и ее конструктивных параметров защита от вибрации одиночных проводов и тросов не требуется при длинах пролетов равных или меньших указанным в табл. 3.2, если расчетное механическое напряжение в проводах и тросах при среднегодовой температуре (при среднемесячной температуре самого холодного месяца года для районов Крайнего Севера) не превышает значений, указанных в табл. 3.3.

Не требуется также защита от вибрации при прохождении линии (участков линии) по просеке с высотой деревьев лесного массива более высоты подвеса всех проводов на опорах. Это относится и к грозозащитным тросам, если высота деревьев превышает высоту подвеса тросов на опорах.

Не требуется защита от вибрации проводов и грозозащитных тросов на участках линии, проходящих по низу горной долины и направленных вдоль нее.

Таблица 3.2

Провода (тросы)

Номинальное сечение*, м2

Пролеты длиной более, м

Местность категории 2 и 3

Местность категории 4

Местность категории 5

Сталеалюминиевые марки АС и из алюминиевого сплава со стальным сердечником марки АЖС

25 - 95

80

90

100

120 - 240

100

120

130

300 и более

120

130

150

Алюминиевые марки А и из алюминиевых сплавов АН и АЖ и др.

35 - 95

80

90

100

120 - 240

100

120

130

300 и более

120

130

140

Медные марки М

25 - 50

80

90

100

70 - 150

100

120

130

185 - 400

120

140

150

Стальные

25 и более

120

140

150

* Для комбинированных проводов указано сечение проводящей части.

Таблица 3.3

Провода (тросы)

Отношение сечений А/С

Механическое напряжение, обусловленное тяжением провода, σстат*, Н/мм2

Местность категории 2 и 3

Местность категории 4

Местность категории 5

Сталеалюминиевые марки АС и из алюминиевого сплава со стальным сердечником марки АЖС

Менее 0,65

80

90

100

0,65 - 1,0

70

84

90

1,1 - 1,5

60

72

80

1,5 - 4,4

45

50

54

4,5 - 8,0

35

40

48

8,1 - 11,4

33

35

40

11,5 и более

30

35

40

Алюминиевые марки А и из алюминиевых сплавов марки АН и АЖ и др.

 

30

35

40

Медные марки М

 

100

120

140

Стальные

 

180

200

220

* σстат = σэ - механическое напряжение при среднегодовой температуре для средних и южных широт;

σстат = σэм - механическое напряжение при среднемесячной температуре самого холодного месяца года для районов Крайнего Севера.

3.1.2. На линиях или участках линий, не оборудованных защитой от вибрации, в процессе эксплуатации должен производиться выборочный периодический контроль (не реже одного раза в 6 лет) состояния проводов и тросов в поддерживающих зажимах. При обнаружении начальных повреждений усталостного характера либо опасной вибрации (более 5 - 10΄) на линии должны быть установлены гасители вибрации.

3.1.3. На линиях, проходящих по лесу и не оборудованных защитой от вибрации, в случае вырубки леса при длинах пролетов больше указанных в табл. 3.2, и механических напряжениях в проводах выше указанных в табл. 3.3, должны быть установлены гасители вибрации.

3.2. Выбор способа защиты проводов от вибрации

3.2.1. Для защиты от вибрации алюминиевых проводов и проводов из алюминиевого сплава АН сечением 35 - 95 мм2, сталеалюминевых проводов и проводов из алюминиевого сплава АЖ сечением 25 - 70 мм2, медных и стальных проводов и тросов сечением 25 - 35 мм2 рекомендуется применение гасителей вибрации петлевого типа. Основные размеры петлевых гасителей для указанных проводов приведены в табл. 3.4.

Конструкция и расположение петлевого гасителя у поддерживающего зажима показаны на рис. 3.1. Петлевой гаситель выполняется из отрезка провода той же марки, что и защищаемый провод. Гаситель крепится к основному проводу петлевыми плашечными зажимами (например, типа ПА, ПАБ, ПС).

Таблица 3.4

Марка проводов

Размеры петлевого гасителя, м

а

в

М25, М35

0,75

0,12

АН35, АН50, А35, А50, АС25, АС35, АЖ25, АЖ35, С25, С35

1,0

0,15

А70, АН70, АС50, АЖ50

1,15

0,15

А95, АН95, АЖ70

1,35

0,20

3.2.2. Геометрические размеры петлевых гасителей для проводов, не вошедших в табл. 3.4, могут быть определены по формулам [4]

                                                          (3.1)

                                                             (3.2)

где в - ширина провеса петли, м;

а - длина петли, м;

К = 10-3 - коэффициент размерности, с/мм;

D - диаметр провода, мм;

Тэ - тяжение проводов при среднегодовой температуре, Н;

т - масса провода, кг/м.

3.2.3. Для защиты от вибрации алюминиевых проводов сечением 120 - 300 мм2, проводов из алюминиевых сплавов АН и АЖ и других сечением 120 - 185 мм2, сталеалюминиевых проводов сечением 120 ¸ 300 мм2, стальных тросов сечением 50 ¸ 120 мм2 могут применяться гасители вибрации петлевого типа из трех петель, конструкция и размеры которых показаны на рис. 3.2. Петлевые гасители этого типа также выполняются из отрезков провода той же марки, что и защищаемый провод. Крепление петель производится трехболтовыми плашечными петлевыми зажимами типа ПА. Размеры петель определяются по формулам (3.1), (3.2). Трехпетлевой гаситель по эффективности гашения вибрации не уступает гасителям Стокбриджа.

Применение трехпетлевых гасителей рекомендуется в районах с частой пляской проводов, поскольку при возникновении пляски полностью отсутствует опасность повреждения защищаемого провода гасителем. В случае же применения гасителей Стокбриджа при возникновении пляски существует опасность повреждения провода в местах установки гасителей типа ГВН или ГПГ (ГПС), разрушения самих гасителей.

3.2.4. Основным способом защиты от вибрации ВЛ с одиночными проводами и тросами является применение гасителей Стокбриджа. Для защиты от вибрации алюминиевых проводов и проводов из алюминиевого сплава АН сечением 120 мм2 и более, сталеалюминиевых проводов, проводов из алюминиевого сплава АЖ и проводов АЖС из алюминиевого сплава АЖ со стальным сердечником сечением 95 мм2 и более, медных и стальных проводов и тросов сечением 50 мм2 и более рекомендуется применение стандартных гасителей вибрации ГВН [5] или ГПГ [6].

Конструкция гасителей типа ГВН, ГПГ дана в приложении 1 (рис. П1.6) геометрические и физические параметры приведены в табл. П1.3, П1.4 приложения. Гаситель ГПС отличается от гасителей ГПГ только конструкцией зажима.

3.2.5. В зависимости от длины пролетов и тяжения проводов (тросов) гасители вибрации Стокбриджа устанавливаются на проводах с обеих сторон пролета (рис. 3.3, а), либо только с одной стороны пролета (рис. 3.3, б).

Односторонняя установка гасителей допускается в следующих случаях:

в пролетах длиной менее 150 м, независимо от значения механического напряжения в проводах (тросах); при этом не допускается односторонняя установка гасителей, если трасса ВЛ проходит по местности категории I;

в пролетах длиной 150 - 200 м, если расчетное механическое напряжение в проводах (тросах) при среднегодовой температуре не превышает значений, указанных в табл. 3.3.

Рис. 3.1. Петлевой гаситель вибрации

Рис. 3.2. Трехпетлевой гаситель вибрации

Рис. 3.3. Схема установки гасителей вибрации на ВЛ:

а - установка гасителей с обеих сторон пролета; б - установка гасителей с одной стороны пролета

3.2.6. Выбор типов гасителей Стокбриджа для проводов различных марок, предназначенных для установки в обычных пролетах ВЛ, производится согласно табл. 3.5. В заказной спецификации на поставку гасителей ГВН необходимо указывать только тип гасителя. В спецификации на поставку гасителей ГПГ необходимо указывать как тип гасителя, так и марку плашечного зажима гасителя.

3.2.7. При установке гасителя Стокбриджа место его установки выбирается с таким расчетом, чтобы во всем диапазоне опасных частот вибрации гасители не были расположены в узлах колебаний. Опасная вибрация проводов и тросов наблюдается при скоростях ветра до 7 м/с. Минимальные значения длин полуволн колебаний, соответствующие максимальной скорости ветра, могут быть определены по формуле (П1.5) приложения 1.

При установке одного гасителя на пролет (см. рис. 3.3, б) он должен отстоять от места крепления провода на расстоянии:

                                      (3.3)

где S1 - расстояние от середины гасителя до места выхода провода из поддерживающего или натяжного зажима, м (см. рис. 3.4, 3.5).

Таблица 3.5

Материал и номинальное сечение провода, мм2

Характерный диапазон частот вибрации провода, Гц

Тип гасителя

Марка плашечного зажима гасителя

Номинальный диаметр отверстия плашечного зажима (dz), мм

АС

АЖС

А, АН

АЖ

М

Канаты стальные ТК

-

-

-

-

50

35 - 50

20 - 130

ГВН-2-9 или

ГПГ-1-2

10

70/11

-

-

70

70

70

17 - 88

ГПГ-0,8-9,1-300

95/16

70/39

95

95

95

100

15 - 74

ГВН-2-13 или ГПГ-0,8-9,1-350

ГПГ-1-3

13

120/19

-

120

120

120

-

13 - 71

ГВН-3-13 или ГПГ-1,6-11-450

ГПГ-1-4

16

70/72; 120/27; 150/19; 150/24; 50/34

-

150

150

150

-

11 - 65

ГВН-3-17 или ГПГ-1,6-11-350

ГПГ-1-4

16

-

-

-

-

150

120

11 - 71

ГВН-4-14 или ГПГ-2,4-11-400

ГПГ-1-4

16

95/141; 185/24; 185/29; 185/43; 205/27

-

185

185

185

-

10 - 57

ГВН-4-22 или ГПГ-2,4-11-400

ГПГ-1-5

20

185/28; 240/32; 240/39; 240/56

-

240

240

240

-

9 - 51

ГВН-4-32 или-ГПГ-2,4-11-500

ГПГ-1-6

23

300/39; 300/48; 300/66; 300/67; 330/30; 330/43; 400/18

-

300 - 400

300 - 400

300 - 400

-

8 - 42

ГВН-5-25 или ГПГ-3,2-13-500

ГПГ-1-6

23

300/204; 400/22; 400/51; 400/64; 400/93; 450/56; 500/26; 500/27; 500/64

-

450 - 550

450 - 550

-

-

6 - 39

ГВН-5-30 или ШГ-3,2-13-550

ГПГ-1-7

31

550/71; 600/72; 650/79

-

600 - 650

600 - 650

-

-

5 - 31

ГВН-5-34 или ГПГ-3,2-13-600

ГПГ-1-8

35

500/336; 700/86; 750/93; 800/105

500/336

-

-

-

-

5 - 28

ГВН-5-38 или ГПГ-3,2-13-650

ГПГ-1-9

38

Рис. 3.4. Расположение гасителей вибрации у поддерживающего зажима

Рис. 3.5. Расположение гасителя вибрации у натяжных зажимов

При установке одного гасителя с каждой стороны пролета эффективность работы гасителей повышается, если в начале и в конце пролета месторасположение гасителей несколько различается и определяется по формулам

                                (3.4)

Вычисленные расстояния мест установки гасителей от зажима S1 и S2 округляются до ближайшего значения, кратного 0,05 м.

3.2.8. При установке гасителей у анкерных, анкерно-угловых и транспозиционных опор с обводными петлями (шлейфами), присоединяемой к проводам с помощью ответвительных зажимов, располагаемых на некотором расстоянии от натяжных зажимов, на этих проводах гасители вибрации следует устанавливать за ответвительным зажимом на одном из указанных выше расстояний (S1 - в начале пролета и S2 в конце), считая от места выхода провода из ответвительного зажима в сторону пролета.

При установке гасителей Стокбриджа необходимо следить, чтобы гаситель был расположен строго под проводом и надежно закреплен.

3.2.9. На вновь сооружаемых ВЛ, во избежание повреждений проводов вибрацией, перекладка их в поддерживающие зажимы и установка гасителей вибрации должны производиться не более, чем через 10 сут после монтажа проводов.

4. ЗАЩИТА ОТ ВИБРАЦИИ БОЛЬШИХ ВОЗДУШНЫХ ПЕРЕХОДОВ ВЛ С ОДИНОЧНЫМИ ПРОВОДАМИ ИЛИ ТРОСАМИ

4.1. Особенности вибрации проводов и тросов в больших воздушных переходах

Большие длины переходных пролетов при пересечении речных и горных долин, образующих своеобразное русло, направляющее воздушный поток поперек линии, большая высота расположения проводов и тросов над ровной поверхностью воды и речной поймы, а также большие значения тяжения проводов и тросов создают условия, благоприятствующие проявлению устойчивой интенсивной вибрации в более широком диапазоне частот, чем в обычных пролетах, с относительной продолжительностью до 40 - 50 %.

Большое тяжение проводов и тросов в таких пролетах способствует также и увеличению опасности вибрации. Вибрация проводов и тросов при отсутствии защиты от нее неоднократно служила причиной сильных усталостных повреждений и даже обрыва проводов и тросов в больших переходных пролетах. Известны случаи сильных повреждений вибрацией и обрыва проводов в больших переходных пролетах уже через 1,5 - 6 мес. после монтажа.

Интенсивная вибрация также может привести к обрыву проволок провода в пролете в местах заводской сварки, где ремонт провода очень затруднен, вызвать самоотвинчивание болтовых соединений и повреждения шплинтовых соединений деталей линейной арматуры, а также вызвать резонансные колебания защитной арматуры гирлянд (защитные рога и кольца) и конструктивных элементов опор (тяги, элементы решетки) и привести к их разрушению.

Поэтому, учитывая повышенные требования к эксплуатационной надежности больших воздушных переходов, необходимо предусматривать защиту их от вибрации независимо от эксплуатационного тяжения проводов и тросов.

4.2. Выбор схемы защиты, типов гасителей вибрации и места их установки

4.2.1. Схема установки гасителей вибрации на проводах и тросах перехода, типы гасителей и их месторасположение определяются схемой перехода, длиной пролетов, маркой проводов и тросов и их эксплуатационным тяжением.

4.2.2. В переходных пролетах длиной до 500 м рекомендуется установка на каждом проводе и тросе по одному гасителю с каждой стороны пролета (рис. 4.1). Такая же схема защиты может быть применена при пересечении горных долин в пролетах до 600 м.

Выбор типов гасителей производится в зависимости от диаметра провода и диапазона эксплуатационных тяжений, согласно табл. 4.1. Месторасположение гасителей определяется по формулам (3.4).

4.2.3. В переходных пролетах через реки и водоемы длиной 500 - 1500 м, а также через горные долины длиной 600 - 1500 м, где, вибрация проявляется более интенсивно и обычно в более широком диапазоне частот, рекомендуется установка с каждой стороны пролета по два гасителя (рис. 4.2), обладающих разными характеристиками. Выбор их типов производится согласно табл. 4.2.

4.2.4. При установке гасителей вибрации у натяжных гирлянд опор, а также у поддерживающих гирлянд с креплением проводов на промежуточных опорах в глухих зажимах применяются гасители вибрации с глухим креплением к проводу типа ГПГ.

У промежуточных переходных опор с подвеской проводов на роликовых поддерживающих устройствах рекомендуется применение гасителей вибрации сбрасывающегося типа ГПС. Сбрасывающиеся гасители имеют особую конструкцию зажима: при обрыве провода гаситель вместе с проводом, набегая на поддерживающее устройство, ударяет торцом груза об укрепленный перед роликами отбойный щит и в результате срабатывания сбрасывающего механизма падает на землю, не препятствуя прохождению провода по роликам (рис. 4.3).

Рис. 4.1. Схема расположения гасителей вибрации в переходных пролетах длиной до 500 м

 

Рис. 4.2. Схема расположения гасителей вибрации в переходных пролетах длиной до 1500 м

 

 

Рис. 4.3. Схема срабатывания сбрасывающего устройства гасителя ГПС

4.2.5. При защите пролета гасителями двух типов, устанавливаемыми попарно у мест крепления проводов, их оптимальное расположение определяется следующими условиями:

а) первый, более тяжелый (основной) гаситель, предназначенный для гашения наиболее опасных низких и средних частот вибрации, должен быть расположен так, чтобы в диапазоне частот своей эффективной работы не попадать в узел вибрации, и при частотах, когда второй гаситель будет находиться в узле вибрации, работать наиболее эффективно;

б) второй гаситель (дополнительный), предназначенный для гашения высоких частот вибрации, должен быть расположен так, чтобы при высоких частотах опасной вибрации, когда защитное действие первого гасителя недостаточно, не находиться около узла вибрации; при наиболее часто возникающих средних частотах вибрации, оба гасителя должны находиться возможно ближе к пучности волны.

Места установки указанных в табл. 4.2 сочетаний гасителей определяются по формулам:

для первого (более тяжелого) гасителя

                                   (4.1)

для второго гасителя

                                   (4.2)

Полученные по формулам (4.1) и (4.2) расстояния округляются до ближайшего значения, кратного 0,05 м.

4.2.6. Расположение гасителей на проводах и тросах у анкерных опор при установке по одному гасителю показано на рис. 3.5, а при установке по два гасителя - на рис. 4.4. Установка гасителей у многороликового подвесного устройства показана на рис. 4.5. В случае, если провод, подвешенный на роликовых устройствах, имеет защитные муфты, гасители устанавливаются на заданных расстояниях u1 и u2 от края последней муфты.

Таблица 4.1

Диаметр провода или троса, мм

Марка плашечного зажима гасителя

Характерный диапазон частот вибрации провода, Гц

Тип гасителя при диапазоне эксплуатационных тяжениях, кН

5 - 12

10 - 25

20 - 35

30 - 55

50 - 100

90 - 180

9,0 - 11,0

ГПГ-1-2

18 - 110

0,8-9,1-300

1,6-13-350

1,6-13-350

-

-

-

11,1 - 14,0

ГПГ-1-3

14 - 90

0,8-9,1-300

1,6-13-400

1,6-13-400

1,6-13-400

-

-

14,1 - 17,0

ГПГ-1-4

12 - 70

0,8-9,1-350

1,6-13-450

1,6-13-450

2,4-13-400

2,4-13-400

-

17,1 - 20,0

ГПГ-1-5

10 - 60

1,6-11-350

1,6-13-450

1,6-13-450

2,4-13-450

2,4-13-450

2,4-13-450

20,1 - 26,0

ГПГ-1-6

8 - 50

1,6-11-450

1,6-11-450

2,4-11-400

2,4-13-500

3,2-13-450

3,2-13-450

26,1 - 32,0

ГПГ-1-7

7 - 40

1,6-11-500

1,6-11-500

2,4-11-450

3,2-13-450

3,2-13-500

4,0-13-500

32,1 - 35,0

ГПГ-1-8

6 - 30

-

1,6-11-550

2,4-11-500

3,2-13-500

3,2-13-550

4,0-13-550

35,1 - 38,0

ГПГ-1-9

5 - 29

-

-

2,4-11-550

3,2-13-550

3,2-13-600

4,0-13-550

38,1 - 47,0

ГПГ-1-10

4 - 27

-

-

-

3,2-13-600

4,0-13-500

4,0-13-600

Примечания: 1. Если тяжение проводов может быть отнесено к двум графам настоящей таблицы, то рекомендуется применять гасители, соответствующие графе с более высоким тяжением. 2. При заказе гасителей перед приведенными в таблице цифровыми индексами следует указать исполнение гасителя ГПГ или ГПС, а также марку плашечного зажима гасителя. Например: ГПГ-3,2-13-500, плашечный зажим ГПГ-1-7.

Таблица 4.2

Диаметр провода или троса, мм

Марка плашечного зажима гасителя

Характерный диапазон частот вибрации провода, Гц

Тип гасителей при диапазоне эксплуатационных тяжениях, кН

8 - 12

10 - 25

20 - 35

30 - 55

50 - 100

90 - 180

9,0 - 11,0

ГПГ-1-2

11 - 155

0,8-9,1-400

1,6-11-400

2,4-11-400

-

-

-

0,8-9,1-300

0,8-9,1-300

1,6-13-350

11,1 - 14,0

ГПГ-1-3

9 - 125

1,6-11-450

1,6-11-500

2,4-13-500

2,4-13-500

-

-

0,8-9,1-300

1,6-13-350

1,6-13-350

1,6-13-350

14,1 - 17,0

ГПГ-1-4

7 - 100

1,6-11-550

1,6-11-550

2,4-13-550

2,4-13-500

2,4-13-450

-

0,8-9,1-300

1,6-13-350

1,6-13-350

1,6-13-350

1,6-13-350

17,1 - 20,0

ГПГ-1-5

6 - 80

1,6-11-550

2,4-11-450

2,4-13-550

2,4-13-550

2,4-13-500

3,2-13-600

1,6-13-350

1,6-13-400

1,6-13-400

1,6-13-400

1,6-13-400

2,4-13-450

20,1 - 26,0

ГПГ-1-6

5 - 70

-

2,4-11-500

2,4-13-600

2,4-13-600

2,4-13-550

3,2-13-650

1,6-13-450

1,6-13-400

1,6-13-400

1,6-13-400

2,4-13-450

26,1 - 32,0

ГПГ-1-7

4 - 55

-

3,2-13-600

3,2-13-600

3,2-13-550

3,2-13-550

4,0-13-600

1,6-11-400

2,4-13-400

2,4-13-400

2,4-13-400

2,4-13-450

32,1 - 35,0

ГПГ-1-8

4 - 45

-

3,2-13-650

3,2-13-650

3,2-13-600

3,2-13-550

4,0-13-600

1,6-11-450

2,4-13-450

2,4-13-450

2,4-13-400

3,2-13-450

35,1 - 38,0

ГПГ-1-9

3 - 40

-

3,2-13-650

4,0-13-600

4,0-13-600

4,0-13-600

4,0-13-600

3,2-13-450

3,2-13-450

3,2-13-450

3,2-13-450

3,2-13-450

38,1 - 47,0

ГПГ-1-10

3 - 35

-

-

4,0-13-600

4,0-13-600

4,0-13-600

4,0-13-600

3,2-13-500

3,2-13-500

3,2-13-500

3,2-13-500

Примечания: 1. Если тяжение проводов может быть отнесено к двум графам настоящей таблицы, то рекомендуется применять гасители, соответствующие графе с более высоким тяжением. 2. Гаситель, указанный в первой строке (основной), устанавливается первым, указанный во второй строке (дополнительный) - вторым. 3. При заказе гасителя перед приведенными в таблице цифровыми индексами следует указать исполнение гасителя - ГПГ (глухие) или ГПС (сбрасывающиеся). Также следует указать марку плашечного зажима. Например: ГПГ - 3,2-13-600, плашечный зажим ГПГ-1-7.

Рис. 4.4. Расположение двух гасителей вибрации у натяжного зажима в переходном пролете длиной 500 - 1500 м

Рис. 4.5. Расположение двух гасителей сбрасывающегося типа у многороликового подвесного устройства

4.2.7. Учитывая, что в результате интенсивной вибрации повреждение проводов и тросов в больших переходных пролетах может наступить в течение первых же месяцев после монтажа, установка гасителей вибрации в таких пролетах должна производиться не более, чем через 5 сут. после монтажа проводов и тросов.

4.2.8. Защита от вибрации проводов и тросов в пролетах длиной более 1500 м, а также независимо от длины пролета для проводов работающих при тяжении более 180 кН, должна производиться по специальному проекту.

4.2.9. Порядок установки гасителей вибрации в больших переходных пролетах приведен в приложении 1.

5. ЗАЩИТА ОТ ВИБРАЦИИ ПРОВОДОВ РАСЩЕПЛЕННОЙ ФАЗЫ

5.1. Особенности вибрации пучка проводов расщепленной фазы

Система расщепленных фаз из двух, трех, четырех или пяти проводов, соединенных распорками, находит широкое применение на линиях электропередачи напряжением 330 - 750 кВ. Распорки, связывающие провода между собой, делят пролет на отдельные короткие участки (подпролеты), при этом наличие связей между проводами способствует увеличению рассеивания энергии вибрации. Поэтому провода расщепленной фазы в меньшей степени подвержены вибрации, нежели одиночные провода ВЛ.

Подверженность вибрации проводов расщепленной фазы зависит от числа проводов в пучке, их взаимного расположения и расстояний между ними, а также от схемы расположения, числа и конструкции распорок, установленных в пролете.

5.2. Защита от вибрации пучка из двух проводов

5.2.1. На ВЛ с расщепленной фазой из двух проводов и со сдвоенными тросами защита от вибрации пучка из двух проводов или тросов, соединенных распорками, необходима при длинах пролетов более 150 м, если расчетное механическое напряжение в проводах (тросах) при среднегодовой температуре превышает значения, указанные в табл. 3.3. При прохождении трассы ВЛ по местности категории 1 (см. табл. 3.1) защита от вибрации требуется при длинах пролетов более 120 м.

5.2.2. Для защиты от вибрации пучка из двух проводов (тросов) рекомендуется применение стандартных гасителей вибрации Стокбриджа типа ГВН или ГПГ, устанавливаемых по одному с каждой стороны пролета на обоих проводах пучка. Выбор гасителей производится согласно табл. 3.5. Определение места установки гасителей производится в соответствии с указаниями пп. 3.2.7 и 3.2.8.

5.2.3. Для ВЛ и их участков, где гасители вибрации не установлены, следует учитывать указания п. 3.1.2.

5.3. Защита от вибрации пучков из трех и более проводов

5.3.1. На проектируемых и сооружаемых ВЛ с расщепленной фазой из трех проводов в пролетах длиной менее 500 м и при групповой установке парных дистанционных распорок с интервалами до 40 м на местности категорий 1, 2, 3 (по табл. 3.1) и с интервалами до 60 м на местности категорий 4, 5 установка гасителей вибрации не требуется.

На действующих ВЛ с расщепленной фазой из трех проводов в пролетах длиной менее 500 м и при групповой установке парных дистанционных распорок с интервалами до 60 м на местности категорий 1, 2, 3 рекомендуется установка двух дополнительных групп распорок в двух ближайших к опорам подпролетах: в первом - у опоры на расстоянии, равном одной третьей части его длины, и во втором - у первой основной группы распорок на расстоянии одной третьей части длины второго подпролета.

(Новая редакция, Изм. № 1).

5.3.2. На ВЛ с расщепленной фазой из трех проводов в пролетах длиной более 500 м рекомендуется применять стандартные гасители Стокбриджа типа ГВН или ГПГ по одному с каждой стороны пролета на всех проводах фазы. Гасители выбираются согласно табл. 3.5. Определение места установки гасителей производится в соответствии с указаниями пп. 3.2.7, 3.2.8.

5.3.3. На ВЛ с расщепленной фазой из 4 - 5 проводов применение гасителей вибрации не требуется.

5.4. Защита от вибрации пучка проводов в больших переходных пролетах

5.4.1. Защита от вибрации пучка из двух проводов в больших переходных пролетах длиной до 1500 м (при пересечении крупных рек, водоемов и горных долин) должна осуществляться путем установки гасителей с обеих сторон пролетов в соответствии с рекомендациями пп. 4.2.2 - 4.2.8 настоящих Методических указаний.

5.4.2. Защита от вибрации пучка из трех и более проводов переходных пролетов длиной до 1500 м (при пересечении крупных рек водоемов и горных долин) должна осуществляться установкой по одному гасителю на каждом из проводов фазы с обеих сторон переходных пролетов в соответствии с рекомендациями пп. 4.2.2, 4.2.4, 4.2.7 и 4.2.8 настоящих Методических указаний.

На ВЛ 750 кВ конструкция гасителей вибрации должна быть такой, чтобы на проводах не возникала видимая корона.

5.4.3. В больших переходных пролетах при защите от вибрации пучка из двух и более проводов установка гасителей только с одной стороны пролета не допускается.

6. УКАЗАНИЯ ПО ЗАЩИТЕ ВЛ ОТ КОЛЕБАНИЙ, ВЫЗЫВАЕМЫХ АЭРОДИНАМИЧЕСКИМ СЛЕДОМ

6.1. Средства защиты проводов от колебаний, создаваемых аэродинамическим следом, порядок их установки

6.1.1. Для защиты проводов от колебаний в подпролетах рекомендуются различными способами устанавливаемые распорки дистанционные внутрифазовые, предназначенные для фиксации проводов фазы ВЛ на заданном расстоянии друг от друга.

Распорки парные типа РГ [8] для установки на проводах диаметром от 15,2 до 46,5 мм с расстояниями между проводами 300, 400, 500, 600, 650, 850 и 970 мм.

Распорки сосредоточенные трех лучевые типа ЗРГ - для пучка из трех проводов диаметром от 27,5 до 30,6 мм и шага расщепления (расстояния между соседними проводами) 400 мм.

Распорки сосредоточенные четырех лучевые типа 4РГ - для пучка из четырех проводов диаметром от 27,5 до 37,7 мм и шага расщепления 400 и 600 мм.

Распорки сосредоточенные пяти лучевые типа 5РГ - для пучка из пяти проводов диаметром от 21,6 до 46,5 мм и шага расщепления 300, 400 и 600 мм.

6.1.2. Для защиты от колебаний в подпролетах расщепленных проводящих грозозащитных тросов используются распорки изолирующие типа РГИ [9], предназначенные для установки на проводах диаметром от 15,2 до 30,6 мм с тягами или расстояниями между точками крепления зажимов распорок к проводам 400, 430, 500, 600 и 850 мм.

Распорки типа РГИ имеют недостаточно прочные и надежные изолирующие тяги, ненадежную конструкцию наконечников из алюминиевого сплава, поэтому их рекомендуется устанавливать попарно на расстояниях 0,5 м одна от другой.

Более надежной является конструкция распорок типа РГИФ, разработанных для проводов диаметром от 15,2 до 18,9 мм с шагом расщепления 400 и 600 мм. Распорки этого типа могут устанавливаться на заданном расстоянии друг от друга поодиночке.

6.1.3. Установка дистанционных распорок должна производиться на смонтированных расщепленных фазах (грозотросах) в срок, не превышающих 10 дн. с момента окончания монтажа проводов. На участках ВЛ, отличающихся повышенной подверженностью колебаниям, вызываемым аэродинамическим следом (см. п. 2.2 приложения 2), установка распорок должна производиться немедленно после завершения монтажа данной фазы.

6.2. Защита от колебаний в подпролетах пучка из двух проводов

6.2.1. Линии электропередачи с расщепленными фазами (грозотросами) из двух проводов, расположенных в горизонтальной плоскости, оборудуются парными дистанционными распорками. Расстояния между распорками, устанавливаемыми в пролете, не должны превышать 40 м при прохождении ВЛ по местностям категории 1, 2 и 3 (см. табл. 3.1). При прохождении ВЛ по местностям категории 4 и 5 расстояния между распорками могут быть увеличены до 60 м. Крайние в пролетах распорки должны устанавливаться на расстоянии 20 м от поддерживающих (натяжных) зажимов.

6.2.2. На ВЛ, проходящих в районах с сильными порывистыми ветрами, с целью предотвращения опрокидывания пучка из двух проводов в промежуточных пролетах на расстоянии 20 м от поддерживающих зажимов следует устанавливать по две распорки с тягами увеличенной длины под углом 45° к плоскости поперечного сечения пучка навстречу друг другу.

6.3. Защита от колебаний в подпролетах пучка из трех проводов

6.3.1. Линии электропередачи с расщепленными фазами из трех проводов, расположенных по вершинам треугольника, рекомендуется оборудовать группами из трех дистанционных распорок. Парные распорки группы связывают попарно составляющие расщепленной фазы и устанавливаются в трех поперечных сечениях фазы на расстояниях 1 м одна от другой.

6.3.2. Расстояния между группами из трех распорок, устанавливаемых в пролетах ВЛ, проходящих по местностям категории 1, 2 и 3, не должны превышать 40 м. При прохождении ВЛ по местностям категории 4 и 5 расстояния между группами распорок могут быть увеличены до 60 м. Крайние в пролетах группы распорок должны устанавливаться на расстоянии 20 м от поддерживающих (натяжных) зажимов.

6.4. Защита от колебаний в подпролетах пучка из четырех и более проводов

6.4.1. Для защиты от колебаний в подпролетах пучков из четырех и более проводов рекомендуется установка сосредоточенных распорок и групп парных распорок с числом распорок в группе по числу проводов пучка, чередуя сосредоточенные распорки с группами парных через 40 м на местностях категорий 1, 2 и 3; через 60 м - на местностях категорий 4 и 5.

6.4.2. Крайними в подпролетах должны устанавливаться сосредоточенные распорки на расстоянии 20 м от поддерживающих (натяжных) зажимов.

Приложение 1.

ТИПОВЫЕ МЕТОДЫ ЗАЩИТЫ ПРОВОДОВ ОТ ВИБРАЦИИ

1. Выражения, характеризующие параметры вибрации

1.1. Вибрация провода ВЛ в установившемся состоянии представляет собой стоячие волны с большим числом n полуволн длиной λ/2 в пролете. Распространение импульса вдоль натянутого провода выражается скоростью бегущей волны, которая может быть определена по формуле

                                                         (П 1.1)

где υt - скорость бегущей волны, м/с;

λ - длина волны вибрации, м;

ωп - собственная частота колебаний провода, соответствующая n-ой форме, Гц;

Т - тяжение провода, Н;

m - масса провода, кг/м.

Число полуволн в пролете определяется соотношениями

                                                        (П 1.2)

Собственные частоты колебаний натянутого в пролете провода могут быть определены (без учета его провисания) из уравнения

                                                          (П 1.3)

Для возникновения процесса вибрации необходимо, чтобы частота образования за проводом воздушных вихрей ν совпадала с одной из собственных частот колебаний провода ωп. При установившейся вибрации, когда срыв вихрей регулируется колебательным движением провода, частота вибрации может сохраняться неизменной при изменении скорости ветра от первоначального значения в диапазоне от 0,9υ до 1,4υ.

1.2. Если известна частота колебаний провода, то длина полуволны вибрации может быть определена по формуле

                                                          (П 1.4)

В тех случаях, когда частота образования воздушных вихрей в точности совпадает с одной из собственных частот провода, т.е. ωп = ν, формула для определения длины полуволны вибрации может быть представлена в виде

                                (П 1.5)

где St приближенно принято равным 0,2 - среднему значению интервала 0,18 ÷ 0,22.

Таким образом, зная диапазон скоростей ветра, возбуждающих вибрацию, по формуле (2.2) можно определить спектр возможных частот вибрации, а по формуле (П1.5) - соответствующие им длины полуволн колебания.

1.3. Амплитуда колебаний провода может быть определена экспериментально либо теоретически, например, по методу энергетического баланса [2]. Абсолютное значение амплитуды вибрации в пучности зависит от длины волны и достигает максимальных значений при наибольших длинах волн, соответствующих низким частотам вибрации. Наибольшие двойные амплитуды вибрации (размахи колебаний 2А) провода в пучности полуволны обычно не превышают 2 ÷ 2,5 диаметра провода. С увеличением частоты вибрации и числа волн в пролете потери энергии колебаний в проводе, обусловленные его самодемпфированием, возрастают и амплитуды колебаний уменьшаются.

1.4. Опасность повреждения проводов вибрацией обусловлена не столько абсолютным значением амплитуд колебаний в пучности волны, сколько значением перегиба провода в местах его крепления. Значения этого перегиба характеризуется углом отклонения провода (углом вибрации) в узловых точках относительно нейтрального положения и может быть вычислено по формуле

                                                              (П 1.6)

где a - угол вибрации, рад;

А - амплитуда вибрации в пучности волны, м.

Более удобной для практического использования является формула

                                                          (П 1.7)

где a - угол вибрации в угловых минутах (΄);

А - амплитуда вибрации в пучности, мм;

0,5λ - полуволна вибрации, м.

Наибольшие угловые отклонения провода при вибрации, определяющие степень перегиба провода в местах выхода его из зажима, практически находятся в пределах от 30 до 35΄ и только при особо интенсивной вибрации могут достигать 40 - 50΄.

1.5. Значение перегиба провода определяет величину знакопеременных циклических деформаций и напряжений в местах креплений, которые, складываясь со статической деформацией и напряжением в материале провода, могут привести к усталостным повреждениям. Знакопеременные изгибные деформации провода могут быть определены по формулам

                                       (П 1.8)

где d - диаметр проволоки наружного повива провода, мм;

ω - частота вибрации, Гц;

Е - модуль упругости, Па;

Imin - момент инерции сечения провода, вычисленный в предположении о возможности свободного взаимного проскальзывания проволок, мм4;

Imax - момент инерции сечения провода, вычисленный в предположении о невозможности проскальзывания проволок, мм4.

Входящие в формулы (П1.8) значения изгибной жесткости провода могут быть вычислены по уравнениям

                                             (П 1.9)

                                                 (П 1.10)

где EA, ES - модули упругости, соответственно, для алюминиевых и стальных проволок, Па;

dA, dS - диаметры проволок из алюминия и стали, мм;

NA, NS - число алюминиевых и стальных проволок в проводе;

Ii, Ij - моменты инерции i-го повива алюминиевых и j-го повива стальных проволок, мм4.

Моменты инерции повивов вычисляются по одинаковым формулам как для алюминиевых, так и для стальных проволок

                                                    (П 1.11)

где Ni (или Nj) - число проволок в повиве;

di - диаметр проволоки в i-ом повиве, мм;

Ri - радиус повива (рис. П1.1), мм.

1.6. Для оценки опасности появления усталостных повреждений необходимо иметь данные о циклических напряжениях в местах подвески провода. Если известна изгибная амплитуда yc, определяемая на расстоянии Xc = 89 мм от последней точки контакта провода с зажимом (см. рис. 2.2), то изгибные напряжения в проволоках наружного повива наиболее достоверно могут быть определены по формуле

                                                   (П 1.12)

где σ - амплитудное значение напряжения, Н/мм2;

d - диаметр проволоки наружного повива, мм;

EA - модуль упругости наружного повива, Н/мм2;

EImax - изгибная жесткость провода, H/мм2;

x = xc = 89 мм;

yc - изгибная амплитуда, мм.

Рис. П 1.1. Поперечное сечение многоповивного сталеалюминиевого провода

Результаты измерения вибрации, выполненные в ходе полевых испытаний, в сочетании с использованием формулы (П1.2) позволяют определить накопление усталости, т.е. сумму циклов колебаний, сопровождающихся появлением в местах подвески провода циклических напряжений определенного уровня. Обобщение результатов полевых испытаний позволяет построить кривую накопленных напряжений (рис. П1.2), отражающих сумму циклов колебаний с циклическими напряжениями определенного уровня [7]. Накопление циклических напряжений, превышающих безопасные уровни, приводит с течением времени к появлению усталостных повреждений провода.

1.7. Способность провода выдерживать колебания, приводящие к действию циклических напряжений определенного уровня, выявляется путем лабораторных испытаний на усталость. Результатом серии усталостных испытаний является кривая Веллера, которая представляет собой зависимость числа циклов колебаний до появления усталостных повреждений трех проволок провода до уровня циклических напряжений в месте выхода провода из зажима.

Рис. П 1.2. Кривые накопленных за год напряжений для провода АС 560/50:

1 - испытания проведены на ровной открытой местности, σстат = 0,2σв (σв - предел прочности провода на разрыв); 2 - испытания проведены на холмистой местности, σстат = 0,2σв; 3 - испытания проведены на холмистой местности, σстат = 0,27σв; 4 - пограничная кривая СИГРЭ

В результате обобщения многочисленных данных усталостных испытаний, проводившихся разными исследователями с проводами из алюминия, алюминиевого сплава и сталеалюминевыми, разработаны рекомендации [7] по применению пограничной кривой безопасных напряжений (см. рис. П1.2). Кривая описывается уравнением

                                                            (П 1.13)

где B = 450, z = - 0,2 для Nc £ 1,56·107;

B = 263, z = - 0,17 для Nc > 1,56·107;

Nc - число циклов колебаний провода.

Смысл пограничной кривой состоит в том, что риск усталостных повреждений провода отсутствует, если за время его эксплуатации число циклов колебаний с изгибным напряжением σ не превышает значения Nc, определяемого уравнением (П1.13). Таким образом, срок службы провода определяется не только амплитудами его колебаний или уровнями циклических изгибных напряжений, но также и накопленным числом циклов таких колебаний, т.е. продолжительностью и частотой вибрации определенного уровня.

2. Влияние условий прохождения трассы, тяжения проводов и конструкции линии на подверженность и опасность вибрации

2.1. Причиной возникновения вибрации проводов является ветер, поэтому проявление вибрации прежде всего зависит от характера ветра: его скорости, равномерности (турбулентности) и направления относительно вл.

Вибрация проводов возникает при скорости ветра от 0,6 до 0,8 м/с, при которой становится возможным регулярное образование за проводом завихрений и энергии аэродинамических импульсов оказывается достаточно, чтобы привести провод в колебательное движение.

При увеличении скорости ветра свыше 4 - 5 м/с, с увеличением частоты и числа полуволн в пролете, существенно возрастает рассеивание энергии колебаний в проводе (самодемпфирование); при скорости ветра свыше 6 - 8 м/с амплитуды вибрации становятся малыми и опасности разрушения провода не создают.

Устойчивая вибрация обычно наблюдается при ветрах скоростью 1 - 5 м/с, направленных под углом от 90 до 45° к оси пролета ВЛ; при направлении ветра под углом 45 - 30° вибрация носит менее устойчивый характер, а при угле менее 20° - обычно не наблюдается.

2.2. Подверженность проводов линии вибрации характеризуется числом колебаний в год либо числом часов вибрации в год. Если известно число часов вибрации в год (tв), то относительная продолжительность определяется, как

                                                      (П 1.14)

Число циклов колебаний проводов ВЛ в среднем составляет около 30 млн. в год. На ровной открытой местности при регулярном действии поперечных ветров число циклов колебаний провода может достигать 250 млн. в год. За срок службы провода (30 лет) это число составит в обычной местности 0,9·109 циклов, на открытой ровной местности - 7,5·109 циклов.

Подверженность проводов вибрации зависит от:

расположения линии относительно преобладающего направления ветров;

топографических особенностей трассы ВЛ;

тяжения проводов;

конструктивных особенностей линии (высоты расположения проводов, длин пролетов, способа крепления проводов на опорах).

2.3. Расположение линии или ее участков на местности относительно преобладающего направления ветров имеет существенное значение в случае преобладания регулярных ветров известных направлений, как, например, ветры в горных долинах, вдоль русла и в поймах рек, морские и береговые бризы вблизи морского побережья и т.п. В этих случаях наиболее подвержены вибрации участки линии, расположенные перпендикулярно или под углом не менее 45° к преобладающему направлению ветра.

2.4. Топографические условия прохождения трассы (рельеф местности, растительный покров и всякого рода сооружения вблизи линии) оказывают существенное влияние на характер воздушных потоков в приземных слоях. Наибольшее количество энергии передается проводу при действии поперечного равномерного (ламинарного) воздушного потока. В естественных условиях воздушный поток всегда имеет нарушения ламинарного течения, возникающие при обтекании различных преград. Неравномерность воздушного потока характеризуется интенсивностью турбулентности.

Ровная, открытая для ветра местность благоприятствует равномерному течению воздушного потока и создает условия, способствующие интенсивной вибрации проводов. Сильно пересеченный рельеф местности (горные районы), наличие под линией или в непосредственной близости от нее глубоких оврагов, насыпей, всякого рода сооружений и древесной растительности в той или иной степени нарушают равномерность воздушного потока, повышают интенсивность турбулентности и создают на таких участках менее благоприятные условия для проявления вибрации. На участках линий, проходящих по редкому или низкорослому лесу, садам и паркам, по застроенной местности, и при наличии близ линии лесных массивов вибрация менее устойчива и ее относительная продолжительность меньше.

При прохождении трассы линии по лесному массиву с высотой деревьев, превышающей высоту подвеса проводов, проходящая по просеке линия оказывается защищенной от возбуждающих вибрацию поперечных ветров, что существенно снижает, а в некоторых случаях может устранить опасность повреждения проводов вибрацией.

Количественно интенсивность турбулентности может быть выражена формулой [2]

                                       (П 1.15)

где k - коэффициент трения в приземном слое;

zν = 10 м;

z - средняя высота подвески проводов, м;

b - постоянная.

Различают пять основных разновидностей топографических особенностей или категорий местности (табл. П1.1), для которых определены значения коэффициента и постоянной, входящих в формулу (П1.15).

На рис. П1.3 дан пример влияния интенсивности турбулентности воздушного потока на угол вибрации провода.

Таблица П 1.1

Категория местности

Характерные особенности топографии

b

k

1

Ровная, открытая местность без преград со снежным покровом более 5 мес. в году, водная поверхность значительных размеров

0,11

0,001

2

Ровная, открытая местность без снежного покрова или со снежным покровом менее 5 мес. в году

0,15

0,004

3

Слабохолмистая местность, отдельные деревья и строения

0,20

0,006

4

Пересеченная местность, редкий или низкорослый лес, невысокая застройка

0,28

0,015

5

Горные районы, территория города с высокой застройкой, лесной массив

0,35

0,035

2.5. Фактором, оказывающим значительное влияние на развитие интенсивной вибрации и ее опасность, является тяжение провода. При небольших тяжениях, когда в процессе вибрации при периодических изгибах провода возможно смещение проволок друг относительно друга, потери на трение между проволоками существенно ограничивают развитие вибрации. При больших тяжениях силы сжатия препятствуют относительному смещению проволок, потери на трение (самодемпфирование) резко уменьшаются, что приводит к заметному увеличению амплитуд вибрации провода. Зависимости амплитуд колебаний и углов вибрации провода от частоты для различных значений растягивающих напряжений, построенные по результатам измерений вибрации в ламинарном воздушном потоке [2], приведены на рис. П1.4, П1.5.

Рис. П 1.3. Зависимость угла вибрации провода от интенсивности турбулентности воздушного потока (It):

I - ламинарный поток; 2 - It = 5 %; 3 - It = 10 %; 4 - It = 15 %

Рис. П 1.4. Зависимость влияния тяжения на амплитуды в пучности полуволн колебаний провода марки АС 240/40:

1 - σстат. = 0,15σв (где σв - предел прочности провода на разрыв); 2 - σстат. = 0,2σв; 3 - σстат. = 0,25σв; 4 - σстат. = 0,3σв

Рис. П 1.5. Зависимость влияния тяжения на угол вибрации провода марки АС 240/40:

1 - σстат. = 0,15σв; 2 - σстат. = 0,2σв; 3 - σстат. = 0,25σв; 4 - σстат. = 0,3σв

2.6. Условия работы проводов при вибрации в основном характеризуются их тяжением при средних эксплуатационных условиях, т.е. при отсутствии гололеда, слабых ветрах и при среднегодовых температурах. Максимальные расчетные тяжения, соответствующие условиям работы при наибольших внешних нагрузках (гололед, ветер) или минимальных температурах, относительно кратковременно, поэтому обычно не характеризуют условий работы провода при вибрации. Об опасности совместного действия вибрации и растягивающего статического напряжения, обусловленного тяжением провода, обычно судят по значению среднеэксплуатационных напряжений. Исключения должны быть сделаны при оценке вибрации проводов ВЛ, сооружаемых и эксплуатируемых в северных районах и особенно в районах Крайнего Севера, где длительное действие низких температур сочетается с частыми и продолжительными ветрами. Применительно к этим районам опасность повреждения проводов вибрацией должна оцениваться при напряжениях, обусловленных тяжением провода, соответствующим среднемесячным температурам самого холодного месяца года.

Опасность повреждения вибрацией проводов из разных материалов возникает при среднеэксплуатационных напряжениях (среднемесячных напряжениях самого холодного месяца года для северных районов), превышающих значения, приведенные в табл. 3.3.

2.7. Интенсивность вибрации возрастает с увеличением длины пролетов. Например, провода сечением 70 - 95 мм в пролетах до 80 м, а также провода сечением 120 - 240 мм в пролетах до 100 - 120 м слабо подвержены вибрации, которая обычно не представляет опасности.

В больших пролетах, длиной свыше 500 - 600 м, сооружаемых в местах пересечения больших рек и водоемов, наблюдается особо интенсивная вибрация с относительной продолжительностью до 35 - 50 %.

Рост интенсивности вибрации наблюдается также с увеличением высоты расположения проводов над землей, что обусловлено снижением турбулентности воздушного потока.

Влияние условий прохождения трассы, длин пролетов и интенсивности турбулентности воздушного потока на уровни и относительную продолжительность вибрации в качестве примера может быть охарактеризовано опытными данными, приведенными в табл. П1.2.

Таблица П 1.2

Категория местности по табл. П1.1

Длина пролетов, м

Интенсивность турбулентности (It), %

Максимальные углы вибрации a, угл. мин.

Относительная продолжительность вибрации (t) при (a > 5΄), %

1

800 - 1500

2 - 5

40 - 50

35 - 50

2

200 - 500

6 - 10

35 - 40

30 - 35

3

200 - 400

10 - 15

25 - 35

20 - 35

4

150 - 300

16 - 25

15 - 20

10 - 15

5

150 - 300

30 - 45

5 - 10

2 - 5

3. Способы защиты одиночных проводов и грозозащитных тросов ВЛ от вибрации

3.1. Для защиты одиночных проводов и грозозащитных тросов от повреждений вибрацией наибольшее распространение получили гасители вибрации Стокбриджа и различные их модификации, сочетающие высокую эффективность защитного действия с конструктивной простотой и невысокой стоимостью.

Применяются также гасители петлевого типа (фестоны).

3.2. Применяемый в СССР гаситель вибрации Стокбриджа представляет собой отрезок многопроволочного оцинкованного стального каната с укрепленным посередине зажимом для установки его на проводе (тросе) и двумя отлитыми из чугуна грузами стаканообразной формы, закрепленными по концам каната. Динамические характеристики и эффективность таких гасителей зависят от формы и массы грузов, марки и длины рабочей части стального каната и его упругих свойств.

Выпускаемые отечественной промышленностью гасители вибрации типа ГВН [5] применяются для защиты алюминиевых, сталеалюминевых и проводов из алюминиевых сплавов АН и АЖ сечением 70 - 905 мм2, стальных тросов сечением 35 - 120 мм2 и применяемых в отдельных случаях медных проводов сечением 50 - 400 мм2 в обычных пролетах.

Гасители вибрации типа ГПГ [6] применяются как в обычных пролетах ВЛ, так и для больших переходных пролетов длиной до 1500 м с проводами сечением до 1645 мм2. Гасители вибрации сбрасывающегося типа ГПС [6] применяются только для больших переходных пролетов при подвеске проводов сечением от 50 до 1645 мм2 в роликовых подвесных устройствах.

Основным отличием гасителей ГВН от гасителей ГПГ был способ заделки грузов на стальном канате, являющемся гибким элементом гасителя. Грузы гасителей типа ГВН имели цементно-песчаную заделку. Грузы гасителей типа ГПГ закрепляются на гибком элементе при помощи развальцованной втулки из алюминиевого сплава или стали. В настоящее время завершается переход к выпуску гасителей ГВН усовершенствованного типа, грузы которых также как у гасителей ГПГ закрепляются на гибком элементе при помощи развальцованной втулки. Это в значительной мере устраняет различия между гасителями ГВН и ГПГ, позволяет рекомендовать применение как тех, так и других на обычных участках линий, требующих защиты от вибрации. Конструкция гасителей показана на рис. П1.6. Основные размеры и области рабочих частот гасителей типа ГВН приведены в табл. П1.3, гасителей типа ГПГ (ГПС) в табл. П1.4.

Рис. П 1.6. Конструкция гасителей вибрации типа ГВН (усовершенствованный), ГПГ:

1 - плашка; 2 - зажим; 3 - гибкий элемент; 4 - груз; 5 - втулка

3.3. Число устанавливаемых в каждом пролете гасителей вибрации Стокбриджа зависит от длины пролета, тяжения проводов и условий прохождения линии (категории местности по табл. 3.1).

Как показывает опытная проверка в пролетах небольшой длины, при небольшом значении механического напряжения в проводах, при прохождении линии по местности 5 категории для снижения вибрации до безопасного уровня достаточна установка на проводах по одному гасителю с одной стороны пролета.

В пролетах длиной более 200 м, при высоких значениях механического напряжения в проводах, при прохождении ВЛ по местностям 2 - 4 категории гасители должны быть установлены с обеих сторон пролета.

В больших переходных пролетах длиной 500 - 1500 м, подверженных особо интенсивной вибрации, с каждой стороны пролета устанавливаются по два гасителя с разными частотными характеристиками. По два гасителя с каждой стороны пролета целесообразно устанавливать также при прохождении ВЛ с пролетами свыше 300 м по местности I категории, особенно на линиях, сооружаемых и эксплуатируемых в районах Крайнего Севера.

Месторасположение гасителей в пролете, обеспечивающее наиболее эффективное гашение вибрации, определяется расчетным путем с учетом марки и тяжений провода.

3.4. Гаситель вибрации петлевого типа (рис. 3.1) представляет собой отрезок провода той же марки и сечения, что и провод защищаемой линии. Гаситель устанавливается под проводом вертикально в виде петли в местах подвески на поддерживающих гирляндах симметрично относительно поддерживающего зажима. Концы петли прикрепляются к проводу линии болтовыми зажимами. По эффективности гашения вибрации гаситель вибрации с одной петлей уступает гасителю Стокбриджа.

Значительно более эффективными являются гасители вибрации петлевого типа с тремя петлями. Центральная петля такого гасителя крепится к проводу линии также как у гасителя с одной петлей. Две другие петли (рис. 3.2) крепятся одним концом к центральной петле, а другим - к проводу линии. Трехпетлевые гасители не только не уступают, но несколько превосходят по эффективности гашения гасителя Стокбриджа при их установке по одному с каждой стороны пролета.

В СССР гасители вибрации петлевого типа применяются для алюминиевых, сталеалюминевых и проводов из алюминиевого сплава АН и АЖ общим сечением до 142 мм2, а также для медных проводов и стальных тросов сечением 25 - 70 мм2.

4. Измерения вибрации, проверка эффективности защиты от нее, оценка срока службы проводов

4.1. Измерения вибрации проводов на ВЛ производятся с целью определения линий или их участков, подверженных опасной вибрации, обоснования необходимости защиты и определения методов и средств защиты проводов от вибрации, для проверки эффективности существующих либо вновь разработанных устройств гашения вибрации.

Таблица П 1.3

Марка гасителя вибрации

Размеры, мм

Масса груза, кг

Расчетные значения двух первых частот, Гц

D

d

b

l

l1

L

номинальная

предельное отклонение, %

расчетная

f1

f2

ГВН-2-9

 

 

 

 

80

300

 

5

 

18,4

73,2

ГВН-2-13

46

9,1

 

103

105

350

0,8

0,79

12,8

59,7

ГВН-3-12

 

 

 

 

117

400

 

 

12,2

46,4

ГВН-3-13

 

 

60

 

 

 

 

 

8,45

40,0

ГВН-3-17

58

11,0

 

130

142

450

1,6

1,62

8,45

40,0

ГВН-4-14

65

143

132

440

 

 

8,43

32,7

ГВН-4-22

 

 

 

 

157

490

2,4

2,35

6,80

29,3

ГВН-5-25

 

 

 

 

175

550

 

 

6,01

30,8

ГВН-5-30

73

13,0

70

162

 

 

3,2

 

6,01

30,8

ГВН-5-34

 

 

 

 

200

600

3,25

6,91

26,7

ГВН-5-38

 

 

 

 

225

650

4,53

24,4

Таблица П 1.4

Марка гасителя вибрации

Размеры, мм

Марка гасителя вибрации

Расчетные значения двух первых частот, Гц

D

d

b

l

l1

L

номинальная

предельное отклонение, %

расчетная

f1

f2

ГПГ (ГПС)-0,8-9,1-300

46

9,1

 

60

103

77

300

0,8

5

 

0,81

18,45

71,63

ГПГ (ГПС)-0,8-9,1-350

102

350

12,41

57,82

ГПГ (ГПС)-0,8-9,1-400

127

400

9,22

51,88

ГПГ (ГПС)-1,6-11-350

 

58

 

11

 

130

88

350

 

1,6

 

1,65

14,27

55,48

ГПГ (ГПС)-1,6-11-400

113

400

11,21

45,3

ГПГ (ГПС)-1,6-11-450

138

450

8,01

39,38

ГПГ (ГПС)-1,6-11-500

163

500

6,36

35,66

ГПГ (ГПС)-1,6-11-550

188

550

5,41

32,64

ГПГ (ГПС)-1,6-13-350

 

 

13

 

 

70

88

350

21,17

78,77

ГПГ (ГПС)-1,6-13-400

113

400

15,03

63,16

ГПГ (ГПС)-1,6-13-450

138

450

11,32

54,87

ГПГ (ГПС)-2,4-11-400

 

 

65

 

 

11

11

 

 

60

60

 

 

143

108

400

 

 

2,4

 

 

2,37

 

 

 

 

2,37

 

9,82

36,12

ГПГ (ГПС)-2,4-11-450

133

450

6,89

30,86

ГПГ (ГПС)-2,4-11-500

158

500

5,93

27,4

ГПГ (ГПС)-2,4-11-550

183

550

 

 

 

 

2,37

5,38

24,94

ГПГ (ГПС)-2,4-11-600

208

600

3,72

23,08

ГПГ (ГПС)-2,4-13-400

13

70

108

400

12,48

50,74

ГПГ (ГПС)-2,4-13-450

133

450

9,61

43,11

ГПГ (ГПС)-2,4-13-500

158

500

8,92

38,41

ГПГ (ГПС)-2,4-13-550

183

550

6,24

36,18

ГПГ (ГПС)-2,4-13-600

208

600

5,42

32,12

ГПГ (ГПС)-3,2-13-450

73

162

133

450

3,2

3,24

9,21

36,33

ГПГ (ГПС)-3,2-13-500

151

500

6,83

31,64

ГПГ (ГПС)-3,2-13-550

176

550

6,12

28,37

ГПГ (ГПС)-3,2-13-600

201

600

5,88

27,42

ГПГ (ГПС)-3,2-13-650

226

650

3,94

24,00

ГПГ (ГПС)-4,0-13-500

79

13

175

146

500

4,0

4,09

6,26

27,85

ГПГ (ГПС)-4,0-13-550

171

550

5,2

24,06

ГПГ (ГПС)-4,0-13-600

196

600

4,7

21,94

Для определения подверженности того или иного участка линии опасной вибрации выбираются пролеты, являющиеся характерными для данного участка линии по длине и по характеру местности. Для выявления участков, наиболее подверженных вибрации, следует выбирать пролеты, не защищенные от ветра окружающим рельефом, древесной растительностью, постройками и т.п.

Для получения данных, отображающих относительную продолжительность, максимальные амплитуды вибрации, характерный диапазон частот вибрации, требуется от 1 до 3 мес. измерений. В течение такого срока, как правило, имеют место все характерные частоты и амплитуды вибрации.

4.2. Для измерений вибрации применяются различные устройства и аппаратура. Наиболее простыми и дешевыми являются механические самопишущие вибрографы (продолжительность записи 7 сут), фиксирующие время возникновения, продолжительность и амплитуду вибрации провода. На основании полученных виброграмм определяются максимальные двойные амплитуды вибрации в месте установки вибрографа (обычно в пределах от 0,35 до 1 м от места выхода провода из поддерживающего зажима), и относительная продолжительность вибрации, равная отношению суммарного числа часов, в течение которого зафиксирована вибрация, к числу часов работы вибрографа.

Для оценки степени опасности вибрации определяются создаваемые вибрацией угловые отклонения провода в местах подвеса, которые могут быть приближенно вычислены по формуле

                                                           (П 1.16)

где a - угол вибрации, мин (΄);

2А - двойная амплитуда вибрации в месте установки вибрографа, мм;

u - расстояние от места установки вибрографа до места выхода провода из зажима, м.

Опасной считается вибрация, создающая угловые отклонения провода у мест его подвеса более 5 - 10΄.

4.3. Значительно более полную информацию, чем та, которая может быть получена из обработки виброграмм, дает запись процесса вибрации провода. Запись аналоговых сигналов измеряемой вибрации может быть получена с использованием датчиков акселерометров, других малогабаритных датчиков вибрации, например специализированного прибора «ХИЛДА» для записи процесса вибрации провода ВЛ на магнитный носитель информации (компакт-кассету) фирмы «СЕД Систем» (Канада). Прибор состоит из блока, устанавливаемого на поддерживающем зажиме и включающего измерительное устройство и радиопередатчик, а также наземного блока, состоящего из приемника радиосигналов и магнитофона. Обработка записи процесса вибрации выполняется на ЭВМ.

4.4. Наиболее удобным и совершенным средством измерения вибрации проводов ВЛ в настоящее время является датчик «ВИБРЕК» фирмы «СЕФАГ» (Швейцария). Прибор устанавливается на поддерживающем зажиме и измеряет виброперемещение провода в точке, отстоящей на 89 мм от крайней точки его контакта с ложем поддерживающего зажима. Микропроцессор, встроенный в датчик, анализирует измеряемый процесс вибрации, выделяет и заносит в запоминающее устройство число циклов колебаний с различной амплитудой и частотой. Информация о числе циклов колебаний может накапливаться датчиком с дискретными интервалами (по 10 с 4 раза в течение каждого часа) в течение срока измерений продолжительностью до 3 мес.

По истечении заданной продолжительности измерений датчик подключается к персональной ЭВМ и опрашивается по специальной программе, в результате чего на экран монитора ПЭВМ или через печатающее устройство выводится матрица [nij], где i, j = 1, 2.....16. Элементами матрицы являются накопленные за период измерения числа циклов колебаний провода, разбитые на 16 интервалов по амплитуде - от 0,0626 до 1 мм с шагом 0,0625 мм, и 16 интервалов по частоте колебаний (1, 2, 5, 10, 15, 20, 25, 30, 35, 40, 45, 50, 60, 80, 100, 150 Гц).

Матрица циклов колебаний дает обширную информацию для качественного и количественного анализа характера вибрации провода, эффективности работы гасителей вибрации. Наименьшие числа циклов колебаний в матрице [nij] приходятся на те диапазоны частот, где защита от вибрации наиболее эффективна и, наоборот, области малоэффективной работы гасителей выделяются наибольшим числом циклов колебаний.

4.5. Информация о числе циклов колебаний провода, накопленная за период измерений, может быть использована для оценки срока службы проводов до появления усталостных повреждений. При этом используется гипотеза линейного накопления повреждений [4]. В соответствии с этой гипотезой доля повреждений для определенного уровня циклических напряжений σi находится по отношению ni/Ni - числа циклов ni напряжений данного уровня, накапливаемых за 1 год эксплуатации, к числу Ni циклов колебаний с этим же уровнем напряжений до появления повреждений. При этом число циклов Ni может быть установлено в результате усталостных испытаний провода (построения кривой Веллера) либо с использованием пограничной кривой безопасных напряжений, описываемой уравнением (П1.13).

Предполагается, что накопление повреждений происходит линейно и на процесс накопления не влияет последовательность возникновения напряжений разного уровня. Суммарное накопленное повреждение за 1 год при этом составит

Срок службы провода до появления усталостных повреждений определяется выражением

                                                     (П 1.17)

Остаточный срок службы составит

Q0 = Q - Qp,                                                     (П 1.18)

где Qp - срок эксплуатации провода к моменту проведения оценки, лет.

4.6. Проверка эффективности действия гасителей вибрации осуществляется путем одновременной установки не менее, чем двух приборов измерения вибрации: одного - на проводе, защищенном гасителями, а другого - на проводе без гасителей, и сравнении результатов измерений. Показателем эффективной работы гасителя является отсутствие зарегистрированной прибором опасной вибрации на защищенном проводе. Хорошей работой гасителя следует считать уменьшение максимальной амплитуды вибрации более чем в 10 раз, удовлетворительной - более чем в 5 раз.

5. Порядок установки гасителей вибрации в больших переходных пролетах

5.1. Проверить наличие всех типов гасителей, предназначенных для установки на данном переходе.

5.2. Проверить комплектность деталей каждого гасителя; наличие болтов, гаек, шайб, замков, предохранителей и соответствие типа и основных размеров гасителя (размер грузов, диаметр тросика, длина гасителя, размер губок зажима) данным чертежей.

5.3. Проверить, свободно ли навинчиваются гайки на болт, не прогнуты ли тросики гасителей; при необходимости - выправить.

5.4. Проверить сбрасывающий механизм гасителей сбрасывающегося типа, для этого:

а) установить гаситель с вынутым предохранителем на горизонтальном отрезке провода (или стержне) соответствующего диаметра, слегка (рукой) затянув болт, стягивающий щеки гасителя.

При этом отверстия для предохранителя в щеках и распорной втулке должны совпадать и предохранитель из медной проволоки диаметром 2 - 2,5 мм должен свободно проходить в отверстие;

в) установив гаситель, как указано выше (без предохранителя), толкая рукой в торец груза, проверить, как сходят нижние выступы щек с распорной втулки, свободно ли поворачиваются щеки на болте, освобождая провод, и как сбрасывается гаситель с провода.

5.5. При применении сбрасывающихся гасителей заготовить с необходимым запасом предохранители из медной мягкой (отожженной) проволоки диаметром 2,0 - 2,5 мм; длина предохранителя - 90 - 100 мм.

5.6. Проверить наличие и правильность установки отбойных щитов на роликовых поддерживающих устройствах промежуточных переходных опор согласно монтажным чертежам. Обратить внимание на крепление щитов и правильное расположение прорези щита относительно провода.

Ширина прорези в доске щита должна быть для проводов диаметром:

до 13 мм    - 30 мм;

14 - 30 мм - 40 мм;

31 - 40 мм - 50 мм.

5.7. Установка гасителей на проводах и тросах переходных пролетов производится на расстояниях, указанных в монтажных чертежах.

5.8. В местах подвеса проводов двух гасителей сначала устанавливается второй, а затем первый от опоры гаситель. При этом необходимо обеспечить такое расположение гасителей, при котором они будут располагаться строго под проводом и будут надежно закреплены.

5.9. Установка гасителей вибрации сбрасывающегося типа производится в следующей последовательности:

а) вынуть предохранитель, провернуть тросик с грузами на болте так, чтобы нижние концы щек сошли с распорки. Удерживая гаситель в таком положении, раздвинуть губки зажима и ввести между ними провод, после чего, поворачивая тросик с грузами на болте, ввести распорку между нижними концами щек.

Придерживая гаситель рукой, завернуть от руки гайку и вставить предохранитель в сквозное отверстие щек и распорки;

б) установить гаситель точно на указанном в монтажном чертеже расстоянии (от точки схода провода с ролика либо от края защитной муфты до середины зажима гасителя).

Проверив правильность расположения гасителя на проводе, загнуть выступающие концы предохранителя и затянуть ключом до отказа гайку болта, так чтобы гаситель надежно был закреплен на проводе; при применении пластинчатых замков (стопорных шайб) отогнуть их на грани головки болта и гайки.

Приложение 2

ТИПОВЫЕ МЕТОДЫ ЗАЩИТЫ ПРОВОДОВ ОТ КОЛЕБАНИЙ В ПОДПРОЛЕТАХ

1. Колебания проводов в подпролетах. Причины возникновения и виды колебаний, вызываемых аэродинамическим следом

1.1. Колебаниями проводов в подпролетах или субколебаниями (от английского термина Subspan Oscillation) называются вызываемые ветром периодические колебания горизонтально расположенной (или занимающей положение, близкое к горизонтальному) пары проводов расщепленной фазы (расщепленных грозозащитных тросов), происходящие с одной или несколькими полуволнами на участках (называемых подпролетами) между соседними внутрифазовыми дистанционными распорками с узловыми точками в местах установки распорок либо вблизи зажимов распорок (рис. П2.1).

1.2. Колебания проводов в подпролетах являются наиболее часто встречающейся разновидностью колебаний проводов, вызываемых аэродинамическим следом. Колебания проводов, вызываемые аэродинамическим следом, возникают, когда подветренный провод горизонтальной пары проводов ВЛ попадает в турбулентный аэродинамический поток за наветренным проводом. Наветренным называется первый по направлению воздушного потока провод, подветренным - второй по направлению ветра провод горизонтальной пары.

1.3. Колебания проводов, вызываемые аэродинамическим следом, возникают при действии равномерных ветров в диапазоне скоростей от 7 до 18 м/с. Чаще всего такие колебания возникают при отсутствии отложений на проводах (в виде гололеда, мокрого снега, изморози) в сухую погоду. Однако наблюдаются случаи возникновения колебаний во время дождя, а также при наличии отложений на проводах.

Характерные разновидности колебаний проводов, вызываемых воздействием аэродинамического следа, показаны на рис. П2.2.

Из всех видов колебаний проводов, вызываемых аэродинамическим следом, субколебания встречаются наиболее часто и наиболее опасны (рис. П2.1, П2.2а). Составляющие горизонтальной пары проводов пучка движутся в противофазе по эллиптическим траекториям с главной осью эллипса, слегка наклонной к горизонтали. Наиболее типичными являются движения с одной полуволной в подпролете. Колебания с более чем двумя полуволнами в подпролете встречаются редко.

Рис. П 2.1. Формы колебаний проводов в подпролетах:

а - с одной полуволной на подпролет; б - с двумя полуволнами на подпролет; 1 - узел колебаний; 2 - пучность колебаний; λ - длина волны колебаний; А - амплитуда колебаний; a - угол колебаний в подпролетах;  - траектория движения провода в пучности волны колебаний

Рис. П 2.2. Виды колебаний проводов, вызываемых воздействием аэродинамического следа:

а - колебания проводов в подпролетах; б - вертикальные колебания; в - горизонтальные колебания; г - крутильные колебания

Рис. П2.3. Аэродинамические силы, действующие на подветренный провод:

L - подъемная сила; D - сила лобового сопротивления; 1 - наветренный провод; 2 - траектория движения подветренного провода; 3 - граница аэродинамического следа; 4 - эпюра подъемной силы в сечении следа; 5 - эпюра лобового сопротивления в сечении следа

Виды движений проводов, показанные на рис. П2.2, б - П2.2, г, характеризуются незначительными изменениями формы поперечного сечения пучка (или расстояния между проводами в пучке). В этих случаях пучок напоминает колеблющуюся ленту. При этих видах колебаний наблюдаются комбинированные движения пучков: в случаях П2.2, б и П2.2, в движение по вертикали и горизонтали сопровождается слабыми крутильными колебаниями, в случае П2.2, г крутильные колебания сопровождаются перемещениями в вертикальной плоскости. Для форм П2.2, б и П2.2, в наиболее характерны колебания с одной, а чаще - с двумя полуволнами в пролете, для формы П2.2, г - многополуволновые колебания с числом полуволн до 8. При возникновении колебаний с двумя или более полуволнами местоположение узлов колебаний не совпадает с местами установки дистанционных распорок.

1.4. Исследования явления колебаний проводов в подпролетах (субколебаний) показали, что это колебания типа флаттера [3]. При воздействии ветрового потока на два параллельных провода, находящихся в плоскости, близкой к горизонтальной, подветренный провод попадает в аэродинамический след наветренного провода. При этом на подветренный провод действует аэродинамическая подъемная сила и сила лобового сопротивления, которые изменяются по значению и направлению с изменением положения подветренного провода в аэродинамическом следе наветренного (рис. П2.3).

Подъемная сила всегда направлена к центральной линии следа. Подъемная сила увеличивается от 0 у границ следа до максимума между границей и центральной линией следа и уменьшается до 0 у центральной линии следа. Значение максимума подъемной силы зависит от расстояния между проводами и уменьшается с увеличением расстояния.

Лобовое сопротивление имеет минимум на центральной линии аэродинамического следа, где скорость ветрового потока минимальна, и симметрично возрастает до максимума у границ следа. Значение максимума лобового сопротивления является функцией значительного числа параметров, таких, как число Рейнольдса, неровности поверхности проводов, конструкция витого провода, турбулентность ветрового потока, влажность воздуха и т.д.

1.5. Основными величинами, характеризующими колебания проводов в подпролетах, являются частота, длина полуволны и амплитуда колебаний.

Частотой называется число циклов колебаний провода в подпролете в течение 1 с.

Длиной полуволны колебаний называется расстояние между двумя соседними узловыми точками колебаний; две соседние полуволны образуют полную волну колебаний.

Амплитудой колебаний проводов в подпролетах называется значение наибольшего отклонения провода в пучности полуволны от нейтрального положения провода; полный размах колебаний в пучности полуволны равен двойной амплитуде колебаний.

1.6. Частота колебаний провода в подпролете зависит от длины полуволны и может быть определена по формуле

                                                             (П 2.1)

где n - число полуволн в подпролете (чаще всего n = 1);

l - длина подпролета между соседними распорками, м;

T - тяжение в проводе, Н;

m - масса провода, кг/м.

Наиболее часто колебания в подпролетах происходят с частотами от 0,7 до 5 Гц.

1.7. Двойные амплитуды колебаний 2А в подпролетах длиной 30 - 40 м обычно не превышают 0,1 м. В подпролетах длиной 60 - 80 м субколебания могут достигать большого размаха: 2А = 0,3 - 0,5 м. Такие колебания способны вызвать соударения проводов в средней части подпролета.

1.8. Измерение амплитуды отклонения провода от нейтрального положения может осуществляться механическими устройствами, позволяющими фиксировать максимальные за период наблюдения размахи колебаний проводов в диапазоне от 50 до 400 мм (2А ³ 50, 100, ..., 400 мм). Регистраторы колебаний устанавливаются в пучности полуволны колебаний - в середине подпролета между распорками.

2. Влияние условий прохождения трассы, конструкции ВЛ и применяемой линейной арматуры на подверженность проводов ВЛ колебаниям в подпролетах

2.1. Причиной возникновения субколебаний так же, как и эоловой вибрации проводов, является ветер. Наиболее устойчивые и интенсивные колебания проводов в подпролетах наблюдаются при ветрах скоростью 9 - 15 м/с, направленных под углом от 90 до 45° к оси линии. При этом с увеличением числа проводов в пучке наблюдается тенденция развития интенсивных колебаний при более высоких скоростях ветра. Так, например, интенсивные субколебания проводов пучка из восьми составляющих наблюдаются при скоростях ветра 12 - 20 м/с. Это объясняется тем, что при средних скоростях ветра в аэродинамический след наветренного провода попадает подветренный провод, который при отсутствии ветра находится с наветренным на одной горизонтали. При высоких скоростях ветра под действием напора ветра провода отклоняются и подветренный провод выходит из аэродинамического следа наветренного, что приводит к прекращению субколебаний. С увеличением числа составляющих пучка (восьми и более) отклонение проводов под действием скоростного напора ветра приводит к тому, что в аэродинамический след попадают провода, не находившиеся в нем при отсутствии ветра и при средних скоростях ветра.

2.2. Топографические условия прохождения трассы ВЛ (рельеф местности, растительный покров и разного рода сооружения вблизи линии) оказывают существенное влияние на характер аэродинамического потока. Характерные особенности топографии, влияющие на интенсивность турбулентности ветра, приведены в табл. 3.1. Турбулентность аэродинамического потока приводит к ослаблению связей между результирующими аэродинамическими силами, что уменьшает подверженность проводов субколебаниям и их интенсивность [3, 10]. Наиболее опасными с точки зрения возможности возникновения субколебаний и их интенсивности считаются участки ВЛ, проходящие по местности категорий 1, 2 (см. табл. 3.1), а также поперек горных долин и глубоких оврагов.

2.3. Решающее влияние на возможность возникновения колебаний проводов в подпролете оказывает конструкция расщепленной фазы (или грозотроса). Колебаниям в подпролете подвержены горизонтальные или близкие к горизонтальным пары проводов пучка, в которых подветренный провод находится в аэродинамическом следе наветренного провода. Интенсивность воздействия на подветренный провод аэродинамического следа, создаваемого наветренным, в значительной степени зависит от расстояния между проводами пары.

Относительное расстояние между проводами (рис. П2.4) выражается в виде отношения а/D, где а - расстояние между проводами; D - диаметр проводов. Увеличение отношения а/D способствует повышению устойчивости горизонтальной пары проводов к колебаниям, вызываемым воздействием аэродинамического следа [3, 10].

Рис. П 2.4. Создание угла наклона пары проводов пучка:

+a - положительный угол наклона; -a - отрицательный угол наклона; а - расстояние между проводами в состоянии покоя; D - диаметр провода

На существующих линиях отношение а/D обычно находится в пределах от 10 до 20. Опыт эксплуатации ВЛ показывает, что при отношении а/D в пределах 16 - 18 обеспечивается стабильность пучка из двух горизонтально расположенных проводов, а также для пучка из трех составляющих. Для пучков из четырех составляющих в форме правильного квадрата с двумя сторонами, параллельными горизонту, а также для пучков из пяти и более составляющих отношение а/D должно быть не менее 20 [3].

Возможными способами увеличения отношения а/D являются, например, замена двухпроводного горизонтального пучка трехпроводным с проводами меньшего диаметра, использование ромбовидного пучка из четырех составляющих вместо пучка из трех проводов.

2.4. Другим конструктивным фактором, влияющим на подверженность проводов колебаниям в подпролетах, является наклон к горизонтали пары проводов, создаваемый с целью ослабления воздействия на подветренный провод аэродинамического следа наветренного провода. При этом угол наклона к горизонтали не обязательно должен быть велик настолько, чтобы вывести полностью подветренный провод из зоны действия аэродинамического следа наветренного.

Создавая наклон пары проводов пучка с целью уменьшения подверженности его колебаниям, необходимо увязывать направление наклона с ожидаемым преобладающим направлением ветра по отношению к данному пучку. Наиболее часто нестабильность пары проводов проявляется при наклоне пучка в диапазоне от 5 до 15°. Направление наклона вверх или вниз по отношению к горизонтальной плоскости, проходящей через ось наветренного провода, необходимо выбирать с учетом конфигурации пучка. Угол наклона считается положительным, если подветренный провод находится выше оси аэродинамического следа наветренного, и отрицательным, если ниже (см. рис. П2.4).

Для обеспечения стабильности проводов угол между плоскостью пары проводов пучка и направлением ветрового потока должен превышать 20°. При этом необходимо учитывать, что положение пары проводов при воздействии ветрового потока изменяется. Например, в пролете с одиночными поддерживающими гирляндами изоляторов по концам наклон пары проводов, горизонтальной в условиях безветрия, под действием ветра может превысить 20°. С другой стороны, пучок с наклоном в середине пролета 20° к горизонтальной плоскости под действием ветра определенного направления может занять положение, близкое к горизонтальному.

Необходимо также учитывать следующие причины возможных изменений наклона пучка проводов по сравнению с проектным: неодинаковые тяжения в различных составляющих пучка, разные коэффициенты вытяжки (ползучести) проводов пучка, различные удлинения проводов под действием неодинаковых гололедных нагрузок и т.д. Долгосрочные изменения наклона пучка по сравнению с проектным могут достигать после нескольких лет эксплуатации ВЛ значения порядка 8°.

Одним из способов ограничения колебаний проводов в подпролетах может служить закручивание пучка, проводов по спирали путем поворота пучка, на угол порядка 15° на каждой из опор в противоположных направлениях на соседних опорах (с помощью использования удлиненных подвесных скоб на коромыслах поддерживающих устройств). При этом положение подветренного провода в аэродинамическом следе наветренного значительно изменяется вдоль фазы, что оказывает на пучок проводов стабилизирующее воздействие [11].

2.5. Уменьшение длин подпролетов является эффективным средством ограничения колебаний в подпролетах. Частоты собственных колебаний проводов в подпролете обратно пропорциональны его длине. Увеличение собственных частот колебаний проводов в подпролете приводит к возрастанию количества энергии, рассеиваемой по причине аэродинамического демпфирования. Скорость ветра, требуемая для возникновения и поддержания колебаний проводов на участках между дистанционными распорками, называемая критической скоростью, возрастает при увеличении количества распорок в пролете ВЛ. Критическая скорость ветра для ВЛ с более короткими подпролетами по сравнению со скоростью для ВЛ с более длинными подпролетами в 1,3 - 1,4 раза больше при прочих равных условиях.

Увеличение тяжений в проводах также несколько увеличивает критическую скорость ветра из-за возрастания собственных частот колебаний проводов в пролете.

3. Места и характер повреждений проводов, вызываемых колебаниями в подпролетах

3.1. Опасность колебаний проводов в подпролетах состоит в том, что при периодических перегибах провода в нем возникают циклические механические напряжения; складываясь со статическим напряжением натянутого в пролете провода и напряжением от изгиба и сжатия в местах креплений, они с течением времени могут приводить к явлению усталости металла и разрушению провода при напряжениях, значительно меньших предела его прочности при разрыве.

Отмечаются также повреждения проволок наружного повива проводов в середине подпролета по причине соударений при колебаниях в подпролетах.

Колебания проводов в подпролетах часто являются причиной разрушения деталей арматуры ВЛ [12].

3.2. Опасность повреждения проводов в местах крепления их в элементах арматуры определяется не столько абсолютным значением амплитуды колебаний в пучностях полуволны, сколько степенью перегиба провода в местах крепления. Степень перегиба провода определяет дополнительные динамические напряжения в местах креплений, которые могут приводить к появлению и развитию повреждений провода.

Степень перегиба провода в местах крепления определяется углом отклонения провода при колебаниях от нейтрального положения (рис. П2.1, П2.5). Угол отклонения провода (или угол колебаний) в угловых минутах может быть вычислен по формуле, аналогичной (П1.7)

                                               (П 2.2)

где А - амплитуда колебаний в пучности, мм;

λ - длина волны колебаний, м.

Опасными считаются субколебания, создающие угловые отклонения провода у мест его подвеса либо у мест выхода из зажимов распорок более 10 - 20΄. При колебаниях в подпролетах меньшей интенсивности не возникает опасности усталостных повреждений проводов в местах креплений, а также опасности соударений проводов в средней части подпролета.

3.3. Распорки для пучка проводов расщепленной фазы (расщепленных тросов), фиксирующие заданное расстояние между проводами, должны обеспечивать длительную надежную работу ВЛ, не создавая опасности повреждения как самих распорок, так и проводов в местах установки распорок.

При субколебаниях на распорки воздействуют циклически изменяющиеся нагрузки, значения и характер которых зависят от формы и амплитуды колебаний проводов в подпролетах. В том случае, когда колебания в смежных подпролетах близки по фазе (рис. П2.5, а), на распорку воздействует поперечная динамическая нагрузка, амплитудное значение которой определяется по формуле

                                                            (П 2.3)

где F - поперечная (продольной оси провода) динамическая нагрузка на распорку, Н;

А - амплитуда колебаний в пучности полуволны, м;

l - длина подпролета, м;

Т - тяжение провода, Н.

При колебаниях в смежных подпролетах, противоположных по фазе (рис. П2.5, б), на распорку воздействует изгибающий (либо скручивающий - в зависимости от конструкции распорки) момент [13].

Рис. П 2.5. Формы субколебаний провода:

а - близкое по фазе в смежных подпролетах; б - противоположное по фазе в смежных подпролетах; 1 - зажим распорки; 2 - провод; А - амплитуда колебаний в пучности полуволны; a - угол отклонения провода от нейтрального положения в пучности полуволны; λ/2 - длина полуволны колебаний

                                                  (П 2.4)

где EImax - изгибная жесткость провода.

При недостаточной механической прочности сосредоточенных дистанционных распорок могут наблюдаться усталостные изломы элементов корпуса распорок и разрушения проводов поврежденным лучом.

Распорки, применяемые на ВЛ, должны выдерживать действие 10 циклов нагрузок, определяемых формулами (П2.3), (П2.4). Снижение моментных составляющих нагрузок, действующих как на провод, так и на распорку, достигается креплением плашечных зажимов распорок к корпусу (раме или тяге) с помощью шарниров, работающих в одной либо в двух плоскостях (в последнем случае оси шарниров должны пересекаться).

Список литературы

1. МЕТОДИЧЕСКИЕ указания по типовой защите от вибрации проводов и тросов воздушных линий электропередачи напряжением 35 - 750 кВ. - М.: СПО Союзтехэнерго, 1982.

2. REPORT an aerolian vibration. Electra, № 124, May 1989.

3. TRANSMISSION line Reference book. Wind-induced conductor motion. EPRI, USA.

4. Д.С. САВВАИТОВ. Защита от вибрации проводов малых сечений с поддерживающими зажимами. - Электрические станции, 1972, 8.

5. ТЕХНИЧЕСКИЕ условия ТУ 34-27-11096-86 «Гасители вибрации с глухим креплением типа ГВН». - М.: ВПО «Союзэлектросетьизоляция», 1986.

6. ТЕХНИЧЕСКИЕ условия ТУ 34-27-11030-86 «Гасители вибрации типа ГПГ (ГПС)-1 для воздушных линий электропередачи и больших переходов». - М.: ВПО «Союзэлектросетьизоляция», 1986.

7. ENDURANCE capability of conductors. CIGRE final report. WG 22-04, 1988.

8. ТЕХНИЧЕСКИЕ условия ТУ 34 13.11050-90 «Распорки дистанционные внутрифазовые». - М.: ВПО «Союзэлектросетьизоляция», 1990.

9. ТЕХНИЧЕСКИЕ условия ТУ 27-294-86 «Распорки изолирующие типа РГИ». - М.: ВПО «Союзэлектросетьизоляция», 1986.

10. Олнат, Прайс, Танстол. Ограничение колебаний в подпролетах многопроводных пучков проводов воздушных линий. ШГРЭ, 1980. Сборник. «Воздушные линии электропередачи» - М.: Энергоиздат, 1982.

11. Маддок, Алнут, Фергюсон, Левич, Свифт, Танстол. Исследование старения ВЛ. СИГРЭ, 1986. Сборник «Воздушные линии электропередачи» - М.: Энергоатомиздат, 1988.

12. A: Qualitative Guide for Bundled Conductor Spacer Systems. CIGRE. 1980.

13. А.И. ПОЛЕВОЙ. Расчет усилий, действующих на лучевые распорки воздушных линий электропередачи с расщепленными фазами. - Электрические станции, 1987, 2.

СОДЕРЖАНИЕ

1. Введение. 1

2. Вибрация проводов, усталостные явления. 2

2.1. Причины возникновения, характеристики вибрации. 2

2.2. Опасность вибрации, характер и место повреждений, вызываемых вибрацией. 3

3. Указания по защите от вибрации ВЛ с одиночными проводами. 3

3.1. Определение линий и участков линий, не требующих защиты проводов или грозозащитных тросов от вибрации. 3

3.2. Выбор способа защиты проводов от вибрации. 3

4. Защита от вибрации больших воздушных переходов ВЛ с одиночными проводами или тросами. 3

4.1. Особенности вибрации проводов и тросов в больших воздушных переходах. 3

4.2. Выбор схемы защиты, типов гасителей вибрации и места их установки. 3

5. Защита от вибрации проводов расщепленной фазы.. 3

5.1. Особенности вибрации пучка проводов расщепленной фазы.. 3

5.2. Защита от вибрации пучка из двух проводов. 3

5.3. Защита от вибрации пучков из трех и более проводов. 3

5.4. Защита от вибрации пучка проводов в больших переходных пролетах. 3

6. Указания по защите ВЛ от колебаний, вызываемых аэродинамическим следом.. 3

6.1. Средства защиты проводов от колебаний, создаваемых аэродинамическим следом, порядок их установки. 3

6.2. Защита от колебаний в подпролетах пучка из двух проводов. 3

6.3. Защита от колебаний в подпролетах пучка из трех проводов. 3

6.4. Защита от колебаний в подпролетах пучка из четырех и более проводов. 3

Приложение 1. Типовые методы защиты проводов от вибрации. 3

1. Выражения, характеризующие параметры вибрации. 3

2. Влияние условий прохождения трассы, тяжения проводов и конструкции линии на подверженность и опасность вибрации. 3

3. Способы защиты одиночных проводов и грозозащитных тросов ВЛ от вибрации. 3

4. Измерения вибрации, проверка эффективности защиты от нее, оценка срока службы проводов. 3

5. Порядок установки гасителей вибрации в больших переходных пролетах. 3

Приложение 2. Типовые методы защиты проводов от колебаний в подпролетах. 3

1. Колебания проводов в подпролетах. Причины возникновения и виды колебаний, вызываемых аэродинамическим следом.. 3

2. Влияние условий прохождения трассы, конструкции ВЛ и применяемой линейной арматуры на подверженность проводов ВЛ колебаниям в подпролетах. 3

3. Места и характер повреждений проводов, вызываемых колебаниями в подпролетах. 3

Список литературы.. 3

 




Rambler's Top100 Яндекс цитирования
  Copyright © 2008-2026, www.docload.ru