Бесплатная библиотека стандартов и нормативов www.docload.ru

Все документы, размещенные на этом сайте, не являются их официальным изданием и предназначены исключительно для ознакомительных целей.
Электронные копии этих документов могут распространяться без всяких ограничений. Вы можете размещать информацию с этого сайта на любом другом сайте.
Это некоммерческий сайт и здесь не продаются документы. Вы можете скачать их абсолютно бесплатно!
Содержимое сайта не нарушает чьих-либо авторских прав! Человек имеет право на информацию!

 

МИНИСТЕРСТВО ЭНЕРГЕТИКИ И ЭЛЕКТРИФИКАЦИИ СССР

ПРАВИЛА ПРОВЕДЕНИЯ
ПРОТИВОАВАРИЙНЫХ ТРЕНИРОВОК ПЕРСОНАЛА
ЭЛЕКТРИЧЕСКИХ СТАНЦИЙ И СЕТЕЙ
МИНЭНЕРГО СССР

РД 34.12.201-88

СО 153-34.12.201-88

СЛУЖБА ПЕРЕДОВОГО ОПЫТА ПО «СОЮЗТЕХЭНЕРГО»

Москва 1989

РАЗРАБОТАНО предприятием «Южтехэнерго», Производственным объединением по наладке, совершенствованию технологии и эксплуатации электростанций и сетей «Союзтехэнерго»

ИСПОЛНИТЕЛИ Н.С. ДОЛГОНОСОВ, А.Г. ТУМАНОВ, Л.М. СЛОНЕВСКАЯ (Южтехэнерго), А.С. ЗВЕРЕВ (МГП «Союзтехэнерго»)

УТВЕРЖДЕНО Государственной инспекцией по эксплуатации электростанций и сетей12.08.88 г..

Главный инженер                                                  А.Д. ЩЕРБАКОВ

ПРАВИЛА ПРОВЕДЕНИЯ ПРОТИВОАВАРИЙНЫХ ТРЕНИРОВОК ПЕРСОНАЛА ЭЛЕКТРИЧЕСКИХ СТАНЦИЙ И СЕТЕЙ МИНЭНЕРГО СССР

РД 34.12.201-88

Срок действия установлен

с 01.01.89 г.

до 01.01.94 г.

Настоящие Правила устанавливают порядок подготовки, проведения и разбора противоаварийных тренировок на рабочем месте с использованием современных технических средств обучения.

Правила распространяются на персонал объединенных диспетчерских управлений, диспетчерских управлений энергосистем и энергопредприятий.

С выходом настоящих Правил отменяется «Единая методика подготовки и проведения противоаварийных тренировочных учений персонала электрических станций и сетей» (М.: СЦНТИ ОРГРЭС, 1972).

1. ОБЩИЕ ПОЛОЖЕНИЯ

1.1. Противоаварийные тренировки (в дальнейшем - тренировки) являются одной из обязательных форм производственно-технического обучения и повышения квалификации оперативного персонала электрических станций, объединенных диспетчерских управлений, диспетчерских управлений энергосистем, электрических и тепловых сетей.

1.2. Проведение тренировок направлено на решение следующих задач:

проверка способности персонала самостоятельно и на основе коллективных действий персонала смены предупреждать развитие аварий, наилучшим способом обеспечивать их ликвидацию; оказание доврачебной помощи и освобождение пострадавшего от действия электрического тока (контроль квалификации);

обеспечение формирования или восстановления навыков принятия оперативных решений и деятельности в сложной режимной обстановке в условиях ограниченного времени на решение задач управления (обучение);

выявление необходимых организационных и технических мероприятий, направленных на совершенствование работы персонала и повышение надежности оборудования (рекомендации).

1.3. Тренировки проводятся в форме игры с воспроизведением нарушений в работе оборудования, имитацией оперативной деятельности по ликвидации аварийной ситуации, оценками этой деятельности.

1.4. Основными действующими лицами при проведении тренировки являются руководитель тренировки, участники тренировки и посредники, исполняющие организационные и контролирующие функции.

1.5. Эффективность тренировок зависит от качества их подготовки, степени приближенности воспроизводимой обстановки аварии к рабочей, достоверности оценок деятельности участников тренировки и от качества разбора тренировки. Достижение наилучших результатов тренировок требует их хорошей организации и рационального использования средств и методов их проведения.

1.6. Накопленный опыт проведения тренировок в соответствии с действующей «Единой методикой подготовки и проведения противоаварийных тренировочных учений персонала электрических станций и сетей» (М.: СЦНТИ ОРГРЭС, 1972) показывает, что в практике энергопредприятий имеет место высокий уровень условности тренировочной деятельности и субъективизм в организации текущего контроля и оценке результатов, это вызвано, главным образом, невозможностью реальных действий на работающем оборудовании и низким уровнем механизации и автоматизации тренировок. Сведение к минимуму и полное устранение указанных недостатков возможно при использовании в тренировках новых технических средств обучения (тренажеров, автоматизированных обучающих систем на базе ЭВМ с функциями автоматического контроля, полигонов и т.п.), алгоритмических описаний оперативной деятельности (планов действий, деревьев оценки ситуаций, карт наблюдений).

1.7. Настоящие Правила составлены с учетом имеющегося положительного опыта передовых энергопредприятий, а также требований действующих «Правил технической эксплуатации электрических станций и сетей» (М.: Энергия, 1977), «Типовой инструкции по предупреждению и ликвидации аварий на тепловых электростанциях. ТИ 34-66-061-87» (М.: СПО Союзтехэнерго, 1987), «Основных научно-технических требований к созданию отраслевой системы подготовки эксплуатационного персонала энергопредприятий с использованием технических средств» (М.: СПО Союзтехэнерго, 1987), «Указаний по построению комплекса обучающих и тренажерных систем для подготовки эксплуатационного персонала энергоблоков ТЭС, АЭС, предприятий электросетей, энергосистем и объединений» (М.: СПО Союзтехэнерго, 1986).

1.8. Противоаварийные тренировки рекомендуется совмещать с противопожарными. Организация совмещенных противоаварийных и противопожарных тренировок, а также противопожарных тренировок, которые проводятся раздельно, должны соответствовать требованиям «Инструкции по организации противопожарных тренировок на энергетических предприятиях и в организациях Минэнерго СССР» (приложение к Приказу Минэнерго СССР № 267 от 23.07.84).

В противоаварийной тренировке, совмещенной с противопожарной, наряду с руководителем тренировки, участниками тренировки и посредниками принимает участие руководитель тушения пожара.

2. КЛАССИФИКАЦИЯ ТРЕНИРОВОК

2.1. Противоаварийные тренировки должны проводиться в объединенных диспетчерских управлениях (ОДУ), в диспетчерских управлениях (ДУ) энергосистем, на электростанциях, в электрических и тепловых сетях.

На рис. 1 представлены основные виды противоаварийных тренировок с указанием места их проведения.

2.2. В ОДУ проводятся межсистемные и диспетчерские тренировки.

Межсистемной считается тренировка, в которой аварийные ситуации являются общими для оборудования нескольких энергосистем и в которой вместе с диспетчером ОДУ участвует непосредственно подчиненный ему персонал не менее трех объектов.

Диспетчерской в ОДУ считается тренировка, которая предусматривает участие в ликвидации аварийной ситуации только диспетчеров ОДУ.

2.3. В ДУ энергосистем проводятся общесистемные и диспетчерские тренировки.

Общесистемной считается тренировка, в которой аварийная ситуация охватывает оборудование определенного участка энергосистемы с расположенными в нем электростанциями, сетевыми предприятиями (районами), подстанциями и другими объектами и в которой вместе с диспетчером энергосистемы участвует непосредственно подчиненный ему персонал не менее четырех районов.

Диспетчерской в ДУ энергосистемы считается тренировка, которая предусматривает участие в ликвидации аварийной ситуации только диспетчеров энергосистемы.

2.4. На электростанциях проводятся общестанционные, блочные и цеховые тренировки.

Рис. 1. Виды противоаварийных тренировок

Общестанционной считается тренировка, в которой аварийная ситуация охватывает оборудование не менее половины имеющихся цехов, связанных единым технологическим процессом производства тепловой и электрической энергии и в которой вместе с дежурным инженером электростанции участвует оперативный персонал этих цехов.

Блочной считается тренировка, в которой аварийная ситуация охватывает оборудование одного блока и в которой предусматривается участие всего оперативного персонала блока.

Цеховой считается тренировка, которая проводится с персоналом одного цеха. Цеховые тренировки могут проводиться одновременно с персоналом всей смены цеха или поочередно с персоналом отдельных рабочих мест.

К цеховым тренировкам могут привлекаться оперативный персонал другого цеха, оборудование которого связано с оборудованием данного цеха.

2.5. В электрических сетях проводятся общесетевые, диспетчерские, районные, участковые, подстанционные тренировки.

В тепловых сетях проводятся общесетевые, диспетчерские, районные тренировки.

Общесетевой считается тренировка, в которой аварийная ситуация охватывает оборудование определенного участка сети с расположенными в нем районами (или их частью), подстанциями и другими объектами и в которой вместе с диспетчером сети участвует оперативный персонал не менее четырех объектов или участков.

Диспетчерской в сетях считается тренировка, которая предусматривает участие в ликвидации аварийной ситуации смены диспетчеров электрических сетей (района).

Районной считается тренировка, в которой аварийная ситуация охватывает оборудование одного района и в которой участвует оперативный персонал этого района.

Участковой считается тренировка, в которой аварийная ситуация охватывает оборудование участка и в которой участвует оперативный персонал, обслуживающий данный участок сети.

Подстанционные тренировки проводятся на подстанциях с постоянным дежурством оперативного персонала.

2.6. Рассмотренные виды противоаварийных тренировок разделяются на плановые и внеочередные.

Плановой считается тренировка, которая проводится в соответствии с годовым планом работы с персоналом, утвержденным руководством предприятия.

Внеочередной считается тренировка, которая проводится сверх плана по специальному распоряжению руководства предприятия в следующих случаях:

если произошла авария или отказ в работе по вине персонала;

при получении неудовлетворительных оценок по итогам плановой тренировки;

при разборе отдельных аварий по рекомендациям противоаварийных циркуляров;

после отпуска или длительной болезни оперативных работников.

2.7. В зависимости от количества участников тренировки делятся на групповые и индивидуальные.

Групповой считается противоаварийная тренировка, проводимая с несколькими участниками.

Индивидуальной считается тренировка, которая проводится с отдельным оперативным работником.

Индивидуальные тренировки проводятся в следующих случаях:

с персоналом, впервые допускаемым к самостоятельной оперативной работе после прохождения дублирования на рабочем месте;

при ошибках, допущенных оперативным персоналом в ходе производства работ, связанных с отключением и включением агрегатов, механизмов, коммутационной аппаратуры, при взаимодействии с подсистемами АСУ ТП и т.п.;

после аварий, происшедших в процессе пуска, останова или при отказах работы оборудования в нормальных режимах;

при неудовлетворительных оценках, полученных в результате индивидуального контроля и в групповых тренировках, после отпуска, болезни и т.п.

2.8. По методу проведения тренировки делятся на:

тренировки по схемам;

тренировки с условными действиями персонала;

тренировки с воздействиями на арматуру и выключатели двигателей на неработающем оборудовании (находящемся в ремонте или выведенном из резерва);

тренировки с использованием технических средств обучения персонала;

комбинированные тренировки.

2.8.1. Тренировки по схемам проводятся с использованием технологических схем без обозначения действия на рабочих местах и оборудовании, без ограничения времени на выполнение упражнений. В таких тренировках персоналом отрабатываются навыки быстрого принятия правильных решений и отдачи необходимых распоряжений. По такому методу следует проводить тренировки с руководящим дежурным персоналом для усвоения им особенностей схемы, ее гибкости и возможностей использования при ликвидации аварий.

Тренировки по схемам позволяют выявить уровень знания схемы, ее особенностей и возможностей, а также определять сработанность персонала смены при получении информации и отдачи распоряжений.

2.8.2. Тренировки с условными действиями персонала проводятся в реальном масштабе времени и с обязательным выходом участников к местам производства операций. По этому методу должны проводиться тренировки с оперативным персоналом, непосредственно обслуживающим производственные участки.

2.8.3. Тренировки с воздействиями на арматуру и выключатели двигателей на неработающем оборудовании (находящемся в ремонте или выведенном из резерва) проводятся с целью отработки и закрепления у персонала определенных профессиональных приемов. Например, перевод возбуждения генератора с основного возбудителя на резервный, отбор пробы газа из газового реле, ручное включение, выключателей домкратом, устранение мелких дефектов оборудования и т.д.

2.8.4. Тренировки с использованием технических средств обучения персонала проводятся с применением тренажеров, автоматизированных обучающих систем на базе ЭВМ, полигонов на базе алгоритмических описаний оперативной деятельности. В таких тренировках персоналом отрабатываются навыки распознавания технологических режимов, пояска причин отклонений и нарушений, планирования деятельности по устранению отклонений и нарушений, по обеспечению устойчивой работы оборудования, по формированию профессиональных приемов работы. Преимущества этого метода связаны с возможностью выполнения реальных действий, отработок реакций на изменение режимов работы оборудования в реальном времени, формирования обобщенных оценок качества выполнения тренировочных задач, автоматизации протоколирования хода тренировки и т.д.

2.8.5. Комбинированные тренировки позволяют использовать преимущества каждого из перечисленных методов при решении выбранной технологической задачи. Например, представляют интерес комбинации из тренировок на тренажере и условные действия персонала на рабочем месте или с помощью автоматизированной обучающей системы, либо на тренажере и реальные действия на оборудовании, выведенном в резерв и т.п. Эффективность совмещения разных видов тренировок определяется возможностями имеющихся средств тренировки и качеством объединяющей программы комбинированной тренировки.

2.9. По характеру взаимосвязи с противопожарными тренировками противоаварийные тренировки разделяются на совмещенные и раздельные.

3. ПЕРИОДИЧНОСТЬ ПРОВЕДЕНИЯ ТРЕНИРОВОК

3.1. Каждый работник из числа оперативного персонала ДУ энергосистем, электростанций, котельных, предприятий электрических и тепловых сетей должен участвовать в плановых противоаварийных тренировках не реже одного раза в квартал.

Периодичность проведения групповых плановых противоаварийных тренировок указана в табл. 1.

3.2. Межсистемные и системные тренировки, ввиду сложности их организации, рекомендуется проводить один-два раза в год по усмотрению начальника ОДУ (для межсистемных тренировок) и главного инженера энергосистемы (для общесистемных тренировок).

3.3. Руководителями, специалистами и служащими (РСС) электростанций и сетей, не относящимися к оперативному персоналу, но привлекаемыми к производству переключений в посредников, и с оперативно-ремонтным персоналом тренировки проводятся каждый раз после проверки у них знаний правил техники безопасности (или одновременно с проверкой).

3.4. На новых объектах энергетических предприятий в течение первых двух лет эксплуатации количество тренировок может быть увеличено по усмотрению руководства предприятия.

3.5. Для персонала смены, в которой произошла авария или отказ в работе по вине дежурного или оперативно-ремонтного персонала, распоряжением главного инженера электростанции или сети, начальника диспетчерской службы может быть назначена дополнительная тренировка с учетом допущенных ошибок.

Таблица 1

Периодичность проведения групповых плановых противоаварийных тренировок

Место проведения

Вид тренировки

Периодичность проведения

для данного вида тренировок

для всех видов противоаварийных тренировок, проводимых в данном подразделении

Объединенные диспетчерские управления

Межсистемная

Один - два раза в год

Четыре раза в год с каждой сменой. Кроме того, каждый диспетчер должен принять участие в подготовке и проведении не менее одной тренировки с непосредственно подчиненным ему персоналом

Диспетчерская

Два - три раза в год с каждой сменой

Диспетчерские управления энергосистемы

Общесистемная

Один - два раза в год

Четыре раза в год с каждой сменой. Кроме того, каждый диспетчер должен принять участие в подготовке и проведении не менее одной общестанционной или общесетевой тренировки совместно с главным инженером электростанции или предприятия сетей с выездом на место тренировки

Диспетчерская

Два - три раза и год с каждой сменой

Электростанция

Общестанционная или блочная (объектовая противопожарная)

Один раз в год с каждой сменой

Четыре раза в год (противопожарная - не менее двух раз в год) с каждой сменой. Кроме того, каждый дежурный инженер (начальник смены) станции должен принять участие в подготовке и проведении не менее одной цеховой тренировки совместно с начальником соответствующего цеха

 

Цеховая

Три раза в год с каждой сменой (цеховые противопожарные - 1 раз в год с каждой сменой)

Электростанция с бесцеховой структурой

Общестанционная (объектовая противопожарная)

Четыре раза в год с каждой сменой (противопожарные не менее двух раз в год с каждой сменой)

Четыре раза в год (противопожарная - не менее двух раз в год) с каждой сменой

Сетевые предприятия

Общесетевая или районная (объектовая противопожарная)

Один раз в год с каждой сменой

Четыре раза в год (противопожарная - не менее двух раз в год) с каждой сменой. Кроме того, каждый диспетчер предприятия сетей (района) должен принять участие в подготовке и проведении не менее одной тренировки с подчиненным персоналом

 

Диспетчерская

Три - четыре раза в год с каждой сменой

 

Участковая и подстанционная (объектовая противопожарная)

Три - четыре раза в год (противопожарная - не менее двух раз в год) с каждой сменой

 

4. МЕРОПРИЯТИЯ ПО ПОДГОТОВКЕ ТРЕНИРОВОК

4.1. Противоаварийные тренировки готовятся на основании графика проведения тренировок, перечня рекомендуемых тем, программ проведения тренировок.

4.2. На каждом энергопредприятии (а также в ДУ энергосистем и ОДУ) должен быть составлен годовой график (приложение 1) проведения противоаварийных тренировок, имевших общий для всего предприятия характер. Годовой график должен быть включен в годовой план-график работы с персоналом и утвержден руководством в соответствии с табл. 2. На основе графика тренировок предприятия (энергосистемы) должен быть составлен график тренировок структурного подразделения, куда дополнительно включаются тренировки, не связанные с другими подразделениями. Этот график входит в состав плана-графика работы с персоналом своего подразделения. План-график подразделения должен быть согласован с инженером по подготовке кадров и производственно-техническому обучению, инженером-инспектором по эксплуатации, инженером по технике безопасности и утвержден руководством предприятия.

Ежемесячно по каждому структурному подразделению предприятия (производственного энергообъединения) в составе общего месячного плана работы подразделения разрабатываются графики проведения тренировок с учетом годового графика и текущей производственной деятельности. Месячные графики должны быть утверждены руководством структурного подразделения.

В месячных графиках должно быть указано:

вид тренировки;

дата ее проведения;

участвующая смена персонала;

руководитель тренировки.

Руководитель тренировки является ответственным за ее подготовку и проведение.

В качестве руководителя тренировки назначается лицо, указанное в табл. 2, а в случае отсутствия - его заместитель. При проведении системных, общесетевых, районных и общестанционных тренировок из числа лиц, указанных в табл. 2, назначаются также руководители тренировок на участках.

Виды противоаварийных тренировок и условия их проведения

Таблица 2

Место проведения

Вид тренировки

Кем утверждается программа

Руководитель

Метод проведения

Участники тренировок

Объединенное диспетчерское управление

Межсистемная

Начальник ОДУ

Главный диспетчер ОДУ или начальник диспетчерской службы ОДУ

По схеме

Смена диспетчеров ОДУ вместе с подчиненным персоналом

 

Диспетчерская

Главный диспетчер ОДУ

Главный диспетчер ОДУ или начальник диспетчерской службы ОДУ

По схеме

Смена диспетчеров ОДУ

Диспетчерское управление энергосистемы

Системная

Главный инженер ПОЭЭ

Главный инженер ПОЭЭ или начальник диспетчерской службы ПОЭЭ

По схеме

Смена диспетчеров энергосистемы с подчиненным персоналом

 

Диспетчерская

Начальник диспетчерской службы ПОЭЭ

Начальник диспетчерской службы ПОЭЭ или его заместитель

По схеме

Схема диспетчеров энергосистемы

Электростанция

Общестанционная или блочная (объектовая противопожарная)

Главный инженер электростанции

Главный инженер электростанции и его заместитель

С условными и реальными действиями персонала

Персонал смены станции или блока

 

Цеховая

Начальник цеха

Начальник цеха или его заместитель

С условными и овальными действиями персонала

Персонал смены цеха

Электростанция с бесцеховой структурой

Общестанционная (объектовая противопожарная)

Главный инженер электростанции

Главный инженер электростанции

С условными и реальными действиями персонала

Персонал смены станции

Сетевые предприятия

Общесетевая или районная (объектовая противопожарная)

Главный инженер предприятия сетей (района)

Главный инженер или начальник оперативно-диспетчерской службы предприятия сетей (района)

С условными и реальными действиями персонала

Персонал смены предприятия сетей (района), ОВБ и ОРБ

 

Диспетчерская

Начальник оперативно-диспетчерской службы

Начальник ОДС

По схеме

Смена диспетчеров сетей (района)

 

Участковая и подстанционная (объектовая противопожарная)

Начальник участка или подстанции

Начальники участков, подстанций

С условными и реальными действиями персонала

Оперативный персонал участка сетей или подстанции

При проведении цеховой или объектовой противоаварийной тренировки, совмещенной с противопожарной, руководителем тренировки назначается руководитель тушения пожара (РТП) из числа инженерно-технического персонала: при цеховой тренировке - начальник смены цеха, при объектовой - начальник смены станции (диспетчер предприятия, района сетей, дежурный подстанции).

4.3. При составлении перечня рекомендуемых тем тренировок необходимо ориентироваться на рекомендации, приведенные в «Перечне тем противоаварийных тренировок оперативного персонала» (М.: СПО Союзтехэнерго, 1987) с учетом:

аварий и случаев отказов в работе, происшедших в энергосистемах, на электростанциях и в сетях;

возможных аварийных ситуаций на оборудовании, указанных в типовых инструкциях и других директивных документах по предупреждению аварий;

имеющихся дефектов оборудования или возможных в практике ненормальных режимов работы данной электростанции, сетевого района или энергосистемы;

сезонных явлений, угрожающих нормальной работе оборудования (грозы, гололед, преобразования, паводки и т.п.);

возможности возникновения пожаров в аварийных условиях;

ввода в работу нового, не освоенного в эксплуатации оборудования, новых электрических и тепловых схем и режимов.

4.4. При подготовке тренировки выбор темы должен производиться ее руководителем, а составление программы руководитель тренировки может поручить другому лицу, обладающему необходимыми для этого знаниями и опытом работы.

Тема тренировки должна быть реальной по своему содержанию и не должна основываться на схемах и режимах, включающих в себя много условностей и наложений случайностей. Если тренировка производится на рабочем маете, то в качестве исходной схемы и режима работы оборудования рекомендуется принимать схему и режим, которые должны быть на рабочих местах к моменту начала тренировки. При этом следует дополнительно учитывать:

вынужденное изменение в схемах и режимах работы оборудования, вызванное производством ремонтных работ;

наличие персонала на местах;

состояние связи (ее наличие и качество) между объектами;

конструктивные особенности оборудования.

4.5. По выбранной теме тренировки должна быть составлена подробная программа ее организации и проведения. Рекомендуемая форма и пример программы представлены в приложении 2. В программе должны быть указаны следующие основные показатели тренировки:

вид тренировки и ее тема;

дата, время, место проведения тренировки;

метод проведения тренировки;

фамилия, имя, отчество, должность руководителя тренировки;

фамилия, имя, отчество, должность руководителя тушения пожара (для тренировок, совмещенных с противопожарными);

список участников тренировки по каждому рабочему месту (фамилия, имя, отчество каждого лица);

список посредников с указанием участка контроля фамилии, имени, отчества и должности (в качестве посредников должны назначаться работники, хорошо знающие схему и оборудование участка, а также инструкции, права и обязанности лиц, обслуживающих участок, причем количество участников тренировки, контролируемых одним лицом, определяется в каждом конкретном случае при составлении программы); действия руководителя тушения пожара контролируются руководителем тренировки;

цель (задача) проведения тренировки;

условное время возникновения аварии;

схема и режим работы оборудования до возникновения аварии с указанием отклонений от нормальных схем (режимов) работы оборудования;

состояние средств пожаротушения (для тренировок совмещенных с противопожарными);

причины аварии, ее развитие и последствия;

причина возгорания, описание развития пожара и работы средств автоматического пожаротушения (для тренировок совмещенных с противопожарными);

сбалансированное по времени описание оптимальной последовательности действий участников тренировки по ликвидации аварии (возможные варианты и их сравнительная характеристика);

способ передачи вводной части тренировки, условных сигналов и сообщений по ходу тренировки;

порядок пользования связью участниками тренировки;

порядок использования дополнительных технических средств;

перечень необходимых тренировочных плакатов и бирок;

карта деятельности каждого участника тренировки.

К программе желательно приложить описание наиболее вероятных ошибочных действий участников тренировки с рекомендациями по оценке действий тренирующихся.

В процессе разработки программа тренировки должна быть обсуждена с руководителями участков, на которых будет проводиться тренировка с привлечением в необходимых случаях высококвалифицированных специалистов по обслуживанию оборудования.

Разработанная программа должна быть подписана руководителем тренировки. В зависимости от вида тренировки утверждение программы производится лицом, указанным в табл. 2. При отсутствии этого лица, утверждать программу могут его заместители.

Программы системных, общесетевых и районных тренировок должны быть согласованы с руководителями участвующих предприятий. Программы общестанционных тренировок должны быть согласованы с руководителями участвующих структурных подразделений.

4.6. При проведении противоаварийных тренировок, совмещенных с противопожарными, в качестве посредников могут присутствовать РСС и руководители работ вышестоящих организаций Минэнерго СССР, а также центрального аппарата управления пожарной безопасности, военизированной охраны и гражданской обороны Минэнерго СССР, которые обязаны принять участие в разборе противопожарных тренировок и дать оценку действий участников тренировки.

4.7. Если подготавливаемая тренировка будет проводиться не на рабочих местах, то до ее начала следует проверить наличие и исправность специального оборудования, которое будет использоваться в процессе тренировки, и комплектность необходимой документации.

4.8. При подготовке тренировки с условными действиями персонала на оборудовании следует проверить и, при необходимости, пополнить заготовленный ранее набор тренировочных плакатов и бирок с соответствующими надписями, посредством которых имитируется включение и отключение коммутационной аппаратуры, запорной арматуры, показания приборов, устройств защиты, сигнализации и др.

Материал, из которого следует делать плакаты и бирки, должен соответствовать требованиям правил техники безопасности. По форме и цвету они должны отличаться от применяемых в эксплуатации, иметь надпись «тренировочная», а также иметь приспособления для закрепления на местах (ушки, веревочные петли, миниатюрные магниты и т.д.). Размер их должен быть таким, чтобы при расположении на оборудовании или аппаратах управления они не мешали персоналу в работе. Некоторые типы рекомендуемых плакатов даны в приложении 3.

4.9. Если тренировка проводится на рабочем месте, то изменения в работе оборудования с помощью плакатов и бирок должны отображаться в объеме, достаточном для однозначного определения причины возникновения аварийной ситуации. При этом, если требуемое количество плакатов и бирок столь велико, что своим расположением они затрудняют действия работающего персонала, должно быть предусмотрено изготовление специальной карточки. Указанная карточка должна вручаться (предъявляться) участнику (участникам) тренировки и содержать необходимую информацию в кратком виде.

4.10. Если программой проведения тренировки для отработки ведения переговоров предусматривается применение звукозаписывающей аппаратуры, то ее установка и проверка исправности должны производиться до начала тренировки.

4.11. Перед проведением тренировки ее руководитель должен произвести предварительный разбор программы с руководителями тренировки на участках и с посредниками, при этом уточняется порядок действий участников и обсуждаются возможные ошибки тренирующихся. Тема и программа тренировки оперативному персоналу, участвующему в ней, заранее не сообщаются.

5. МЕТОДИКА ПРОВЕДЕНИЯ ТРЕНИРОВОК

5.1. Общие указания

5.1.1. Групповые тренировки, как правило, должны проводиться в свободное от дежурства время. Индивидуальные тренировки с разрешения руководителя соответствующего подразделения могут проводиться во время дежурства, если этому не препятствует загруженность тренирующегося и обстановка на рабочем месте.

Время, затраченное на проведение противоаварийных и противопожарных тренировок, включается в рабочее время тренирующихся.

5.1.2. При проведении тренировок в их тему могут быть включены вопросы, относящиеся к работе в особых режимах и противопожарным тренировкам, а на предприятиях и оборудовании с повышенной пожарной опасностью противопожарные тренировки рекомендуется совмещать с противоаварийными.

5.1.3. При проведении тренировок участниками должны строго соблюдаться правила техники безопасности.

5.1.4. Непосредственно перед началом тренировки должна быть проверена готовность технических и учебных средств, организована телефонная в радиопоисковая связь между ее участниками и уточнена методика проведения тренировки в связи с возможными изменениями используемых технических средств по сравнению с программой, с учетом особенностей тренировок по схемам, с условными действиями персонала, с управляющими действиями на неработающем оборудовании, с использованием технических средств обучения и комбинированных тренировок.

5.1.5. Все виды тренировок начинаются с вводной части и завершаются разбором и подведением итогов.

5.2. Тренировки по схемам

5.2.1. По схемам проводятся следующие тренировки: межсистемные и диспетчерские ОДУ, общесистемные и диспетчерские энергосистемы, диспетчерские электрических и тепловых сетей.

5.2.2. Тренировки по схемам могут проводиться непосредственно на рабочих местах или в местах, приспособленных для этого и имеющих необходимое оборудование. Для проведения тренировки у тренирующихся должны иметься схемы обслуживаемых ими участков, на которых перед началом тренировки они помечают карандашом положение коммутационной аппаратуры или запорной арматуры, отключенные участки, участки, имеющие отклонения от нормального режима и т.д. на момент, предшествующий аварии. У посредника или руководителя тренировки должна иметься такая же схема.

5.2.3. Если тренировка по схемам проводится на рабочих местах, то допускается использование всех существующих там средств отображения информации и связи с принятием дополнительных мер по невмешательству в технологический процесс и немедленному прекращению тренировки по требованию дежурных лиц при усложнении режимной обстановки.

5.2.4. Перед началом тренировки ее участникам сообщается вводная часть, в которой указываются:

участок технологической схемы, на которой будет имитироваться аварийная ситуация;

режим работы, предшествующий возникновению аварийной ситуации;

отклонения от нормальной схемы;

порядок использования связи;

время возникновения аварийной ситуации.

При необходимости сообщаются сведения о метеорологических условиях и сезонных явлениях (паводок, гололед, гроза и т.д.).

5.2.5. Тренировка начинается с сообщений посредников или руководителей тренировки о происшедших изменениях в режиме, об отключениях оборудования, о показаниях мнемонической схемы и приборов на рабочих местах тренирующихся.

5.2.6. Тренировки по схемам проводятся в форме оперативных переговоров тренирующихся друг с другом и с посредниками, причем последние могут вести переговоры от имени лиц из состава оперативного персонала, обслуживающего участок, за исключением персонала, непосредственно участвующего в тренировке. Переговоры должны проводиться так же, как они проводятся в реальной рабочей обстановке, за исключением тренировок, проводимых на рабочих местах, где добавляется перед сообщением слово «тренировка».

5.2.7. Тренирующиеся, принимая сообщения об изменениях, происшедших в результате аварии и действий персонала по ее ликвидации, отражают их на схеме, по которой проводится тренировка.

5.2.8. Тренировки со сменой диспетчеров, состоящей из нескольких человек, проводятся также в форме оперативных переговоров каждого из тренирующихся со своим посредником.

Однако при проведении таких тренировок рекомендуется расположить участников тренировки в одном помещении, а посредников - в другом. Каждый из участников тренировки для ведения переговоров должен иметь прямую телефонную связь с лицом, контролирующим его действия. При таком методе проведения тренировки каждому из тренирующихся диспетчеров сообщается информация о развитии аварии и о ходе ее ликвидации только по обслуживаемому им участку схемы. Полная картина развития событий по ходу тренировки получается суммированием имеющихся у каждого участника сведений. Такое суммирование должно осуществляться на общей схеме, на которой участвующие в тренировке отмечают все происходящие изменения.

5.2.9. Межсистемные и общесистемные тренировки могут проводиться по одному из следующих способов:

участвующие в тренировке размещаются вне своего рабочего места в одном или разных помещениях. Для проведения тренировки необходимо иметь телефонную связь между участвующими в тренировке лицами. У каждого из тренирующихся должна иметься схема своего участка, по которой ведутся все операции по ликвидации условной аварии. Вводная часть должна быть сообщена каждому тренирующемуся с указанием всех имеющихся отклонений от нормального режима. Эти сведения сообщает руководитель тренировки для всех участвующих одновременно или их передает лицо, контролирующее действия тренирующегося на своем участке (в случае размещения участников тренировки в помещениях при своих управлениях). Началом тренировки может быть сообщение руководителя тренировки о происшедшем изменении на каком-либо участке;

участвующие в тренировке размещаются на своих рабочих местах. Для проведения тренировки необходимо на каждое место выделить по одному каналу связи, по которому должны вестись все переговоры, относящиеся к тренировке. Текущая эксплуатация энергосистемы или объединения в это время должна осуществляться по другим каналам связи. Если какой-либо объект энергосистемы (электростанция, подстанция, диспетчерский пункт сети) имеет только один канал связи с диспетчером энергосистемы, то привлекать персонал этого объекта к проведению общесистемной тренировки не рекомендуется.

5.2.10. На рис. 2 приводится структурная схема средств связи и расстановки посредников при проведении общесистемной тренировки с привлечением смены диспетчеров энергосистемы из двух человек и подчиненного им персонала десяти объектов.

Рис. 2. Структурная схема средств связи и расстановки посредников при проведении общесистемной тренировки:

 - участник тренировки;  - посредник, - канал связи; - посредник, ведущий переговоры от имени лиц, не участвующих в данной тренировке

5.3. Тренировки с условными действиями персонала

5.3.1. По методу с условными действиями персонала проводятся следующие виды тренировок: общестанционные, блочные, цеховые, общесетевые или районные, участковые и подстанционные, совмещенные.

Эти тренировки должны проводиться непосредственно на рабочих местах.

5.3.2. Участники тренировок во время их проведения должны строго выполнять требования правил техники безопасности. Производить какие-либо реальные операции с оборудованием, прикасаться к механизмам и органам управления коммутационной аппаратуры и запорной арматуры при этом запрещается.

5.3.3. При возникновении на каком-либо участке или объекте действительно аварийной ситуации проведение тренировки должно быть прекращено.

5.3.4. Перед началом тренировки необходимо проинформировать об этом весь работающий персонал.

5.3.5. Перед началом тренировки ее участники должны покинуть свои рабочие места, где посредники (либо другие лица под их руководством) осуществляют имитацию аварийной обстановки с помощью тренировочных плакатов и бирок, вывешиваемых на оборудовании, органах управления, приборах, устройствах защиты и сигнализации, на которых отражаются изменения, происшедшие в результате аварии. Плакаты и бирки должны вывешиваться таким образом, чтобы они не мешали работающему персоналу производить операции и наблюдать за показаниями приборов и устройств сигнализации.

5.3.6. После размещения плакатов и бирок участникам тренировки сообщается вводная часть. Вводную часть сообщает посредник или руководитель тренировки на своем участке. В вводной части указывается:

режим работы, предшествующий возникновению аварийной ситуации;

отклонения от нормальной схемы;

порядок использования связи;

время возникновения аварии.

5.3.7. На свои рабочие места участники тренировки допускаются только после подачи сигнала о ее начале. Таким сигналом может быть:

сообщение руководителя тренировки одновременно на все участки по телефону или радио: «Внимание участников! Тренировка началась»;

сообщение посредников или руководителей тренировки на своих участках в назначенное время: «Тренировка началась!».

5.3.8. С подачей сигнала о начале тренировки участвующие в ней лица должны приступить к осмотру плакатов и бирок, вывешенных на оборудовании своего участка, и к ликвидации условной аварии. Изменение состояния коммутационной аппаратуры и запорной арматуры, фиксирование световых сигналов табло и лампочек (квитирование), ключей управления должны производить с помощью условных действий путем снятия и перевертывания плакатов и бирок, устно поясняя свои действия.

Например, тренирующийся должен включить выключатель линии А, на ключе управления которого на мнемосхеме со светящейся сигнализацией вывешен плакат «Мигает» (в действительности выключатель включен, а его автоматическое отключение по условию тренировки показано с помощью этого плаката). Он подходит к тому месту, где находится ключ управления выключателем, и говорит: «Квитирую ключ управления выключателем линии А», - и переворачивает плакат, вывешенный на ключе управления этого выключателя. На обратной стороне плаката должна быть надпись «Отключен». Затем тренирующийся продолжает: «Включаю выключатель линии А», - и снимает плакат «Отключен».

Если на ключе управления нет никаких плакатов, то это значит, что положение выключателя по условию тренировки совпадает с его реальным состоянием. Чтобы показать, что выключатель по какой-либо причине не включился, посредник вывешивает на его ключ управления плакат «Мигает».

5.3.9. Посредники обязаны регистрировать в картах деятельности тренирующихся все действия персонала, вмешиваясь в ход тренировки только в том случае, если требуется сообщить что-либо ее участникам, вывесить новые плакаты или бирки, снять или перевернуть их в зависимости от действия персонала.

5.3.10. При проведении противоаварийной тренировки совмещенной с противопожарной руководитель тушения пожара проводит тренировку согласно программе и указания руководителя тушения пожара являются обязательными для каждого участника тренировки.

5.3.11. В процессе проведения тренировки, охватывающей несколько участков, аварийные ситуации на каждом из них должны изменяться посредниками с помощью плакатов, бирок и др.) с учетом действий участников тренировки не только своего, но и других участков. Это может быть достигнуто путем координации действий посредников руководителем тренировки. Для этой цели он должен находиться на рабочем месте оперативного лица, руководящего ликвидацией условной аварии, следить за изменением обстановки по переговорам участников тренировки и сообщениям посредников и, в свою очередь, информировать последних о ходе тренировки в целом.

При этом согласованность действий участвующих в тренировке не нарушится и в случае возможных ошибок кого-либо из тренирующихся, предвидеть которые программой практически невозможно.

Если осуществить координацию действий посредников по какой-либо причине нельзя, то изменения аварийных ситуаций на отдельных участках посредники должны осуществлять в последовательности, заранее устанавливаемой программой. В этом случае, необходимо также предусмотреть через какое время после начала тренировки на том или ином рабочем месте нужно изменить обстановку.

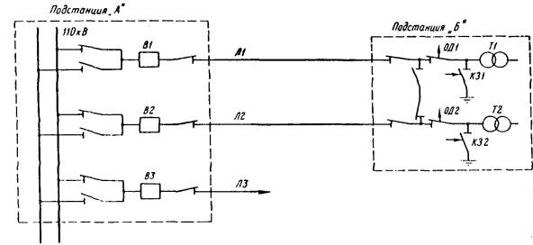
Например, в электросетях проводится участковая тренировка.

Персоналу подстанции «А» 110 кВ (рис. 3) дана вводная о работе дифференциальной защиты шин 110 кВ, а персоналу тупиковой подстанции «Б», питающейся от подстанции «А», дана вводная часть об исчезновении напряжения.

По ходу тренировки персонал подстанции «А» осматривает шины 110 кВ, отделяет поврежденный участок, принимает напряжение на шины 110 кВ и дает его на подстанцию «Б». Вводная о появлении напряжения персоналу подстанции «Б» дается посредником либо после сообщения руководителя тренировки, находящегося на подстанции «А», либо через определенное время после начала тренировки, заранее предусмотренное программой.

В этом случае при составлении программы необходимо определить время, которое должен затратить персонал подстанции «А» на осмотр шин 110 кВ, отделение поврежденного участка и подачу напряжения на подстанцию «Б». При этом возможна некоторая несогласованность в аварийных ситуациях на отдельных участках, вызванная отклонениями от программы в процессе проведения тренировки.

5.3.12. Рекомендуется максимально уменьшить переговоры и объяснения между тренирующимися и посредниками. Не следует допускать каких-либо подсказок, наводящих вопросов, неодобрительных возгласов и всего, что может отвлечь участвующих в тренировке от их прямой задачи по выявлению причины, вызвавшей аварию, и ликвидации аварийной ситуации.

5.3.13. При использовании телефонной и радиосвязи одновременно для эксплуатационных и тренировочных переговоров необходимо о начале тренировочного разговора сообщить словом «Тренировка».

Рис. 3. Схема участка электросети напряжением 110 кВ с двумя подстанциями:

В - выключатель; Т - трансформатор; ОД - отделитель; КЗ - короткозамыкатель

5.3.14. Не рекомендуется использование устройств телемеханики на находящемся в работе оборудовании для показа коммутационного состояния аппаратуры и запорной арматуры, передачи сигналов на сигнальное табло, искусственного изменения показаний измерительных приборов при проведении противоаварийной тренировки.

5.3.15. При возникновении на каком-либо участке или объекте действительно аварийной ситуации, проведение противоаварийной тренировки должно быть прекращено.

5.3.16. По окончании тренировки все плакаты и бирки должны быть сняты с оборудования.

5.4. Тренировки с управляющими воздействиями на арматуру и выключатели двигателей на неработающем оборудовании

5.4.1. На неработающем оборудовании рекомендуется проводить тренировки для отработки отдельных аварийных ситуаций. Технологическая обстановка, позволяющая осуществлять такие тренировки возникает, если оборудование находится в ремонте или резерве.

Особенно рекомендуется проведение таких тренировок при вводе в эксплуатацию нового оборудования, с целью его освоения оперативным персоналом.

5.4.2. Тренировка на неработающем оборудовании должна быть организована таким образом, чтобы ее проведение не снижало надежности работы находящегося в работе оборудования соседних участков.

5.4.3. При выборе темы тренировки следует особо обратить внимание на наличие в ней таких элементов действий персонала, которые он обязан уметь выполнять, но с которыми редко сталкивается в своей повседневной работе. К таким действиям относятся, например, ручная синхронизация генератора в аварийных условиях, отбор пробы газа из газового реле автоматически отключившегося трансформатора, переход с работающего оборудования на резервное, обычно выполняемый автоматически, устранение мелких неисправностей в электрическом и тепломеханическом оборудовании и т.д.

5.4.4. Руководитель тренировки или посредник в вводной части сообщает о режиме работы и состоянии оборудования на момент начала тренировки, а также о происшедших автоматических отключениях и других признаках нарушений в работе оборудования. На основании полученных сведений участники тренировки должны приступить к действиям по ликвидации аварийного положения. Например, турбогенератор № 1 работает с полной нагрузкой. Работают конденсатные насосы 1-А, 1-В, насос 1-Б в резерве, вакуум в конденсаторе 96 %. Отключился насос 1-В, автоматика не включила насос 1-Б. Вакуум в конденсаторе начинает снижаться.

Тренирующийся после оценки обстановки и случившегося приступает к действиям по восстановлению нормального положения. В процессе ликвидации условной аварийной ситуации он должен выполнить реальные действия с оборудованием (например, произвести пуск насоса 1-В вручную), которые предусмотрены темой тренировки. В этом случае он не должен рассказывать посреднику о порядке своих действий, выполняемых операциях и обязан сообщать ему только то, что в реальных условиях он сообщил бы своему руководителю в смене или персоналу смежных участков.

5.5. Тренировки с использованием технических средств обучения персонала

5.5.1. К техническим средствам обучения персонала, с использованием которых могут проводиться тренировки, относятся тренажеры, имитаторы, обучающие комплексы, полигоны, стенды и т.д.

Проведение тренировок с использованием технических средств подготовки персонала позволяет:

максимально приблизить тренировочную деятельность оперативного персонала к реальной, без оказания воздействия на работающее оборудование;

повысить эффективность контроля и оценки участников тренировки.

Использование технических средств обучения дополняет и повышает эффективность традиционных методов тренировки, при этом польза от их применения возрастает по мере приближения характеристик технических средств обучения к характеристикам рабочих мест оперативного персонала. Наибольший эффект тренировки достигается на тренажерах-копиях, щиты управления которых подобны рабочему месту.

5.5.2. Полнота решения тренировочных задач при использовании технических средств обучения не должна зависеть от ограниченности их функциональных возможностей. Это требует ориентации каждой темы и программы тренировки на полную аварийную задачу. Операции управления оборудованием, которые не могут быть реализованы с помощью примененных технических средств обучения, должны воспроизводиться условно, например, в виде доклада контролирующему лицу.

5.5.3. Перед началом тренировки ее участникам сообщается вводная часть, в которой указываются:

особенности оперативного контура технических средств обучения, имеющиеся условности и упрощения;

общая характеристика исходного режима;

отклонения от нормальной схемы;

порядок использования связи;

время возникновения аварии;

способ оценки действий тренирующихся.

5.5.4. Тренировка начинается с подачи руководителем тренировки сигнала.

В процессе тренировки руководитель тренировки или посредник с пульта управления тренировкой осуществляют ввод возмущений, неисправностей, имитацию остановов механизмов, включение сигнализации, вывод из работы автоматических устройств, перевод оборудования в заранее заданные режимы и т.п., в соответствии с программой тренировки с учетом конкретной деятельности участников тренировка.

5.5.5. Окончание тренировки осуществляется по команде руководителя тренировки. При этом ведется сбор и учет регистрирующей информации по контролю и оценке тренировочной деятельности.

5.6. Комбинированные тренировки

5.6.1. Комбинированные тренировки основаны на использовании программы, учитывающей сочетания различных методов тренировок и технических средств.

5.6.2. На энергопредприятии должен быть разработан перечень комбинированных тренировок, с различными вариантами сочетаний способов их проведения, а также макеты программ реализации таких тренировок.

5.6.3. В вводной части комбинированной тренировки наряду с функциональными исходными данными указывается распределение персонала вахты по тренировочным рабочим местам.

5.6.4. Методика проведения комбинированных тренировок базируется на указанных методиках, в соответствии с используемым их сочетанием.

5.6.5. В приложении 4 даны дополнительные рекомендации для проведения конкретных типов тренировок.

6. РАЗБОР ТРЕНИРОВОК

6.1. Разбор тренировок производится с целью определения правильности действий при ликвидации аварии, предусмотренной темой тренировки, каждого из участвующих в ней и выявления мероприятий, способствующих повышению надежности работы оборудования и безопасности обслуживающего персонала.

6.2. Разбор тренировок должен производиться, как правило, сразу же после их окончания руководителями тренировок с привлечением посредников. Если организовать разбор тренировки непосредственно после ее окончания невозможно (например, после межсистемной общесистемной и общесетевой тренировок), то проводить его следует в последующие дни, но не позднее чем через пять дней.

6.3. На разборе блочных, цеховых, подстанционных, участковых, диспетчерских и совмещенных тренировок должен присутствовать весь участвовавший в ней персонал. На разборе межсистемных, общесистемных, общесетевых и общестанционных тренировок для сокращения времени можно ограничиться присутствием персонала, участвовавшего в тренировке на наиболее важных участках, охваченных условной аварией. Для остальных участников разбор может быть произведен на рабочих местах посредниками. Разбор межсистемных, общесистемных и общесетевых тренировок можно производить по телефону.

6.4. При разборе должны быть выяснены в отношении каждого участника тренировки:

правильность понимания происшедшего;

правильность действия по ликвидации аварии;

допущенные ошибки и их причины;

правильность ведения оперативных переговоров и использования средств связи.

6.5. При проведении разбора тренировки ее руководитель заслушивает сообщения посредников о действиях участников тренировки, анализирует карты деятельности тренирующихся, в случае необходимости заслушивает и самих участников, указывает на допущенные ошибки и утверждает по четырехбальной системе индивидуальные и общие оценки результатов тренировки.

При проведении разбора противоаварийной тренировки, совмещенной с противопожарной, кроме вышесказанного, руководитель тушения пожара, докладывает руководителю тренировки о сложившейся обстановке и принятых им решениях по ликвидации пожара, а также предотвращения развития аварии, отмечает правильные действия персонала и недостатки, выявленные в процессе ликвидации пожара.

Рекомендуется для оценки действий участников тренировки руководствоваться следующим:

если по ходу тренировки ее участник принимает решения, которые в реальной обстановке при их выполнении привели бы к развитию аварии или к несчастному случаю то ему выставляется оценка «неудовлетворительно»;

если по ходу тренировки ее участник допускает ошибки, не усугубляющие ситуацию, но затягивающие процесс ликвидации аварийного положения, то ему выставляется оценка «хорошо» или «удовлетворительно», в зависимости от числа и характера сшибок;

если по ходу тренировки ее участник действует без единой ошибки, то ему выставляется оценка «отлично».

6.6. Лица, получившие неудовлетворительную оценку действий при проведении контрольной тренировки, подлежат внеочередной квалификационной проверке.

(Новая редакция, Изм. № 1).

6.7. Если половина и более участников тренировки получила неудовлетворительные оценки, то тренировка по этой же теме должна быть проведена вторично в срок не более десяти дней (для объектовой совмещенной тренировки повторная тренировка проводится в течение двух недель), причем повторная тренировка не учитывается как плановая.

6.8. Результаты тренировки должны быть занесены в специальные таблицы, представленные в приложении.

При проведении совмещенных тренировок, кроме того, результаты заносятся в журнал по учету противопожарных тренировок, форма первой страницы журнала по учету противопожарных тренировок дана в приложении 6.

7. РАЗРАБОТКА МЕРОПРИЯТИЙ ПО РЕЗУЛЬТАТАМ ТРЕНИРОВОК

7.1. Если в процессе подготовки или проведения тренировки выявится необходимость в проведении мероприятий, способствующих безаварийной работе, то их следует занести в журнал по учету противоаварийных тренировок. При этом руководитель тренировки должен ознакомить руководителей соответствующих подразделений с мероприятиями, занесенными в журнал по учету противоаварийных тренировок. Руководящий персонал обязан принять меры по реализации этих мероприятий.

7.2. Программа тренировки, а также журнал после проведения каждой тренировки передаются на рабочее место лица, руководившего ликвидацией условной аварии для ознакомления с этими документами персонала, участвующего в тренировке. Все предложения персонала должны быть сообщены руководителю тренировки или начальнику цеха (участка, службы).


Приложение 1

Рекомендуемое

ФОРМА ГОДОВОГО ГРАФИКА ПРОВЕДЕНИЯ ПРОТИВОАВАРИЙНЫХ ТРЕНИРОВОК С ПРИМЕРОМ ЗАПОЛНЕНИЯ

Вид тренировки

Руководитель тренировки

Распределение участвующих в тренировках по месяцам

Январь

Февраль

Март

Апрель

Май

Июнь

Июль

Август

Сентябрь

Октябрь

Ноябрь

Декабрь

Общестанционная

Главный инженер Иванов А.А.

 

Смена А, блок № 2 - 4

 

 

Смена Б, блок № 1 - 3

 

 

Смена В, блок № 3 - 4

 

 

Смена Г, блок № 2 - 3

 

Блочная

Заместитель главного инженера по эксплуатации Петров А.Б.

 

 

Смена А, блок № 1

 

 

Смена Б, блок № 4

 

 

Смена В, блок № 1 - 2

 

 

Смена Г, блок № 1, 4

Цеховая для электроцеха

Заместитель начальника Сидоров В.Г.

Смена Г

Смена В

Смена Б

Смена А

Смена Г

Смена В

Смена Б

Смена А

Смена Г

 

 

 

Главный инженер                                                        подпись


Приложение 2

Рекомендуемое

____________________                                                          ____________________

(энергопредприятие)                                                              (гриф утверждения)

ПРИМЕР ПРОГРАММЫ ОРГАНИЗАЦИИ И ПРОВЕДЕНИЯ БЛОЧНОЙ ПРОТИВОАВАРИЙНОЙ ТРЕНИРОВКИ, СОВМЕЩЕННОЙ С ПРОТИВОПОЖАРНОЙ, НА ТЕМУ: «ЗАГОРАНИЕ САЖИСТЫХ ОТЛОЖЕНИЙ В РВП-А (АВАРИЙНЫЙ ОСТАНОВ БЛОКА)»

1. Дата, время и место проведения: 22.09.1987 г., 16 ч, БЩУ № 3.

2. Условное время возникновения аварии: 16 ч.

3. Метод проведения тренировки: с условными действиями персонала на работающем оборудовании.

4. Руководитель тренировки: Петров И.Г., заместитель начальника КТЦ.

5. Участники тренировки и посредники.

Рабочее место

Фамилия, имя, отчество участника

Фамилия, имя, отчество посредника

Старшего машиниста блока (СМБ)

Афанасьев И.П.

Григорьев Ф.Е.

Машиниста блока (МБ)

Гаврилюк С.И.

Смирнов Е.О.

Машиниста-обходчика котла (МОК)

Левченко Е.П.

Архинцев В.Л.

Машиниста-обходчика турбин (МОТ)

Куртый В.В.

Самохвалов С.В.

6. Руководитель тушения пожара: Афанасьев И.П., старший машинист блока.

7. Порядок пользования связью участниками тренировки: устно, по телефону радиопоисковой связи с приставкой в начале разговора сигнала «по тренировке».

8. Расстановка посредников, проверка готовности средств пожаротушения, выполняются до начала тренировки: начало тренировки объявляется по радиопоисковой связи, вводные даются устно или с помощью тренировочных плакатов (перечень тренировочных плакатов представлен ниже). Вызов пожарной команды производится по телефону, пожарная команда встречается лицом, назначенным руководителем тренировки.

9. Цель (задача) тренировки: контроль и отработка деятельности оперативного персонала при загорании в РВП-А.

10. Режим работы оборудования блока до возникновения аварии: блок работает в режиме, близком к номинальному, топливо-мазут. Защиты введены: защита, действующая на аварийную разгрузку блока до 50 % Nэ ном по разрешению главного инженера, выведена для устранения дефекта в работе, автоматические регуляторы включены в работу.

11. Состояние средств пожаротушения: нормально.

12. Причина возникновения аварии, ее развитие и последствия: из-за обваливания части набивки происходит заклинивание РВП-А и отключение. Машинист блока приступает к разгрузке блока до 50 % Nэ ном. Блокировка, действующая на закрытие шиберов на газопроводах перед и после РВП-А не срабатывает. По месту удается закрыть шибер на газопроводе после РВП-А. Шибер на газопроводе перед РВП-А не закрывается из-за заклинивания. В результате поступления в остановленной РВП-А горячих газов происходит возгорание в нем сажистых отложений. Блок аварийно останавливается. Принимаются меры к тушению загорания в РВП-А. После ликвидации загорания оборудование выводится в ремонт.

13. Причина возгорания пожара и его развитие: загорание в РВП-А сажистых отложений происходит в результате разогрева при незакрытии шиберов на газопроводах на остановившемся механизме.

14. Вводные участникам тренировки:

Время подачи вводной

Рабочее место

Вводная (в виде плаката или устно)

16 ч 08 мин

МБ

Плакат 1. Плакат 2. Контрольное время 2 мин

16 ч 10 мин

МБ

Плакат 3

16 ч 15 мин

МОК

РВП-А заклинил из-за обрушения части кабеля

16 ч 30 мин

МБ

Плакат 4. Контрольное время 2 мин

16 ч 13 мин

МБ

Плакат 5

16 ч 20 мин

МБ

Плакат 5 убирается

16 ч 18 мин

МБ

Плакат 6. Контрольное время 2 мин

16 ч 20 мин

МБ

Плакат 7

 

МОК

Шибер на газопроводе перед РВП-А не закрывается - заклинил

16 ч 20 мин

МОК

Назовите признаки загорания в РВП. Контрольное время 1 мин

16 ч 22 мин

МОК

Пожар в РВП

 

МБ

Контроль аварийного останова блока

16 ч 27 мин

МОК

Пожар в РВП ликвидирован

16 ч 34 мин

МБ, СМБ, МОК, МОТ

Конец тренировки

15. Обнаружение, развитие и ликвидация пожара.

Машинист блока, обнаружив отключения РВП-А (докладывает старшему машинисту блока), приступает к разгрузке до 50 % Nэ ном требует от машиниста-обходчика котла осмотреть механизм, выяснять причину его отключения. Контролируя работу блокировок по отключению РВП, замечает, что арматура по газовой стороне не закрывается. Осуществляет попытку дублирования действия блокировок - неуспешно. Требует от машиниста-обходчика котла закрыть шибера по месту, от дежурного КИП и А - выяснить причину несрабатывания блокировки, от начальника смены ЭЦ - проверить исправность двигателя РВП-А. Получает доклад от машиниста обходчика котла о механическом заклинивании РВП-А из-за обрушения части набивки, сообщение о заклинивании шибера на газопроводе до РВП-А (шибер за РВП-А закрыт вручную). Машинист блока требует от машиниста-обходчика котла усилить контроль за РВП-А. Машинист-обходчик дотла докладывает о наличии признаков загорания в РВП-А. Машинист блока принимает решение на аварийный останов блока, докладывает о принятом решении старшего машиниста блока. Старший машинист блока дает указания машинисту блока по противопожарным действиям, докладывает начальнику смены станции об аварийной ситуации и загорании. Руководитель тренировки совместно со старшим машинистом блока организует оперативный штаб пожаротушения на случай распространения пожара вне блока. Машинист блока контролирует правильность срабатывания защиты, действующей на останов блока. Включает систему пожаротушения в РВП-А. Выполняет операции по аварийному останову блока, не входящие в объем операций, выполняемых защитой. Требует от машиниста-обходчика турбины проконтролировать действие защит по месту. Выполняет необходимые согласования с начальником смены ЭЦ, машинист-обходчик котла по месту контролирует включение в работу системы пожаротушения. Контролирует слив дренажа из короба. После ликвидации очага пожара докладывает машинисту блока, выполняет его указания по закрытию ручной арматуры котла по месту, продувает впрыски обратным ходом.

Машинист-обходчик турбины контролирует по месту правильность срабатывания защиты, прослушивает турбину на выбеге.

После ликвидации очага пожара старший машинист блока оповещает «отбой» совмещенной тренировки.

16. Оценка действий участников и тренировки в целом.

Оценка действий машиниста блока выполняется в соответствии с протоколом.

Оценка действий машиниста-обходчика котла выполняется в соответствии с протоколом.

Оценка действий старшего машиниста блока, машиниста-обходчика котла, МОТ, ввиду незначительной занятости в ходе тренировки, проводится без протокола, непосредственно посредниками.

При анализе тренировки оценивать результаты деятельности участников тренировки по картам деятельности с указанием совместных действий участников тренировки, наличию нарукавных повязок, компетентности тренировочных плакатов. Основным критерием при оценке тренировки в целом является правильность действий участников, оцениваемых протокольным методом.

Программу тренировки составил (фамилия, имя, отчество, должность).

Программа согласована (фамилия, имя, отчество, должность).

Программу тренировки проверил (фамилия, имя, отчество, должность).

С программой тренировки ознакомились

Должность

Фамилия, имя, отчество

Дата

Подпись

 

 

 

 

Результаты тренировки:

Оценка МБ -

Оценка МОК -

Оценка СМБ -

Оценка МОТ -

Оценка тренировки в целом -

Мероприятия по результатам тренировки:

Перечень тренировочных плакатов:

ПЛАКАТ 1. «Оцените режим работы оборудования. Дайте краткую характеристику»

ПЛАКАТ 2. «4ПЗ выведен»

ПЛАКАТ 3. Табло «Нет вращения РВП-А»

ПЛАКАТ 4. «Назовите признаки отключения РВП-А»

ПЛАКАТ 5. «Арматура по стороне дымовых газов РВП-А не открывается»

ПЛАКАТ 6. «Охарактеризуйте состояние газовоздушного тракта после отключения тягодутьевых механизмов по одной нитке»

ПЛАКАТ 7. «Шибер на газопроводе перед РВП-А не закрывается».

Карта деятельности машиниста-блока в ходе тренировки

Задание

Эталонная деятельность и предполагаемые ответы тренирующегося

Контрольное время выполнения задания

Замечания посредника

Грубые ошибки тренирующегося

 

Оцените режим работы оборудования. Дайте краткую характеристику

Блок несет нагрузку, близкую к номинальной, введена защита, действующая на снижение нагрузки блока, автоматические регуляторы в работе

2 мин

 

 

 

Назовите признаки отключения РВП-А

Мигает зеленая лампочка РВП-А на мнемосимволе. Нулевые показания амперметра электродвигателя РВП-А.

Мигает табло «Нет вращения РВП-А».

Горит табло аварийной сигнализации «Отключение одного РВП».

Параметры:

 = 40 (± 5) °С;

 = 380 (± 10) °С;

 = 15 кгс/м2;

 = 0,85 %

2 мин

 

 

 

Назовите параметры газовоздушного тракта сразу после отключения механизмов

 = 3 - 4 кгс/м2

 = 0 %

 до 750 °С

2 мин

 

 

 

Остановите блок защитой

Принимает решения на аварийный останов блока. Доклад старшего машиниста блока

 

 

Неправильное решение по изменению режима работы оборудования

Вентиляция топки

 

Контролирует по котлоагрегату:

закрытие мазутной задвижки, отсечного мазутного клапана, задвижек на подводе мазута к горелкам, на линии рециркуляции мазута;

отключение дутьевых вентиляторов, дымососов рециркуляции газов;

отключение регулятора и закрытие направляющих аппаратов дутьевых вентиляторов;

закрытие шиберов на воздуховодах и газопроводах до и после РВП-Б, шиберов после и перед дымососами рециркуляции газов;

закрытие регулирующих питательных клапанов, запорной арматуры на подводе воды на впрыске

Контролирует по турбоагрегату:

закрытие главных паровых задвижек, посадка стопорных клапанов, закрытие обратных клапанов (КОС) отборов;

отключение ПТН и не включение ПЭН по АВР;

открытие БВК, ПСБУ, арматуры на впрысках в пароохладители сбросов в конденсатор;

перевод деаэратора Д-7АТА на питание паром от коллектора СН;

закрытие задвижек на паропроводе от III отбора к ПТН и на напоре ПТН

Дополнительные действия:

 

Требует от МОК и МОТ проверить выполнение действия защиты по месту

Контролирует:

отсутствие горения в топке;

отключение генератора от сети при Nэ = 0; Pр.ст = 0;

закрытие арматуры на линии подачи пара на посторонний источник;

закрытие задвижки на выхлопе ПТН;

перевод уплотнений на питание паром СН;

отключение по одному БПН, КН-1 и КН-П, НРТ;

закрытие подачи воды на газоохладители по согласованию с начальником смены ЭЦ, отключение НТО;

уровни в Д-7АТА, конденсаторе, температур паросбросов

 

 

Отключение генератора от сети до закрытия главных паровых задвижек, стопорного клапана и клапана КОС

 

 

Требуете от МОТ прослушать турбину на выбеге, вращение турбины валоповоротным устройством

Общее время 25 мин

 

 

 

Посредник _________________

(подпись)

С оценкой действий по тренировке ознакомлен:

                   __________________

(подпись)

 

Приложение 3

Рекомендуемое

НЕКОТОРЫЕ ТИПЫ РЕКОМЕНДУЕМЫХ ПЛАКАТОВ И ИХ ПРИМЕНЕНИЕ

1. Плакат для вывешивания на ключи управления выключателей и символы выключателей телемеханизированных диспетчерских щитов

ПЛАКАТ № 1

ПЛАКАТ № 2

Плакаты № 1 и 2 служат для показа положений выключателей. Для показа отключенного положения автоматически отключившегося выключателя вывешивается плакат № 1 с надписью «Мигает», а для показа автоматически включившееся выключателя вывешивается плакат № 2 с той же надписью.

Квитирование ключа управления (приведение в соответствие положения ключа управления и выключателя) следует производить путем переворачивания плакатов. При этом на ключе или символе отключившегося выключателя будет висеть плакат с надписью «Отключено», а на ключе включившегося выключателя - с надписью «Включено».

Если по ходу тренировки ее участнику нужно включить выключатель, на ключе управления которого висит плакат с надписью «Отключено», он говорит: «Включаю выключатель», - и снимает с ключа управления плакат. При отключении этого выключателя от действия защиты контролирующее лицо должно снова вывесить плакат № 1 с надписью «Мигает», а также плакат «Сирена» (см. ниже).

Если выключатель не включается ключом управления, то вывешивается плакат № 1 с надписью «Мигает».

Аналогичные действия с плакатами производятся при отключении выключателя.

2. Плакат для вывешивания на вольтметры

Напряжения нет

 

Вывешивается для показа исчезновения напряжения на токоведущих частях.

3. Бирки для вывешивания на устройства сигнализации

Вывешивается для показа работы защиты.

4. Бирка для вывешивания на табло сигнализации

Узкая цветная полоса прикрепляется к окошку табло (с краю).

5. Плакат для обозначения звукового сигнала

Приложение 4

Рекомендуемое

ДОПОЛНИТЕЛЬНЫЕ РЕКОМЕНДАЦИИ ПО ПРОВЕДЕНИЮ ОТДЕЛЬНЫХ ТРЕНИРОВОК

1. При проведении общесетевых тренировок к участию в них должны привлекаться оперативно-выездные и оперативно-ремонтные бригады с выездом на места по указанию вышестоящего оперативного персонала, участвующего в тренировке. При этом должно проверяться время, потребовавшееся на сборы бригады и ремонтных средств, время, затрачиваемое на поездку, экипировку автомашины. Одновременно проверяются состояние средств связи.

2. На блочных щитах энергоблоков и других щитах с большим количеством приборов, символов аппаратуры и запорной арматуры, сигнализации и т.п., где вывешивание плакатов и бирок в нужном количестве невозможно, рекомендуется информацию об аварийной обстановке давать в виде карточки, например:

Мнемосхема показывает: закрыты задвижки № 3, 7, 10, 11, задвижка № 4, 8 - открыты.

Загорелось табло сигнализации: повышение температура пара, понижение давления питательной воды.

Эта карточка выдается в процессе тренировки ее участникам для ознакомления с обстановкой и после этого возвращается контролирующему лицу, которое отражает в ней все изменения по ходу тренировки и по первому требованию выдается тренирующемуся. Следует отметить, что такая карточка не должна содержать сведений о показаниях измерительных приборов. Информацию об их показаниях контролирующее лицо должно давать по запросу участников тренировки, причем сообщать необходимо только о показаниях приборов, на которые указывает тренирующийся.

3. Все виды тренировок следует проводить в условиях, максимально приближенных к реальным, которые могут сложиться для персонала при такой аварии. Например, при проведении тренировок в ситуации потери питания СИ в помещениях, где проводится тренировка, можно отключить рабочее освещение; при проведении тренировок в ситуации обесточения потребителей действия персонала можно затруднить звонками абонентов или другими отвлекающими факторами (сообщениями о возникновении пожаров, несчастных случаев и т.д.).

Степень усложнения тренировки с помощью отвлекающих факторов следует изменять в зависимости от опытности участников.

4. При проведении общестанционных, общесетевых, диспетчерских, общесистемных и межсистемных тренировок следует производить запись переговоров лица, руководящего ликвидацией условной аварии, на магнитофон. Это приучит оперативный персонал к более четкому ведению переговоров, уменьшит количество недоразумений, возникающих при разборе тренировок, и даст возможность использовать записи тренировок при проведении инструктажей и т.д.

5. При проведении тренировок на электростанциях, когда на отдельных рабочих местах скапливается очень много людей и возникает опасность дезориентирования персонала работающей смены следует применять специальные знаки различия для лиц, участвующих в тренировке. Такими знаками могут быть нарукавные повязки различного цвета у тренирующихся и у контролирующих лиц.

Приложение 5

Рекомендуемое

ФОРМА ЖУРНАЛА ПО УЧЕТУ ПРОТИВОАВАРИЙНЫХ ТРЕНИРОВОК

Фамилия, имя, отчество

Должность

Дата участия в тренировках

Примечание

1. Иванов П.И.

Дежурный инженер подстанции № 1

25.03.88 г. 17.05.88 г. 2.08.88 г. 4.12.88 г.

 

2. Петров А.А.

Старший дежурный электромонтер

15.02.88 г. 12.04.88 г. 2.08.88 г. 4.11.88 г.

 

Учет противоаварийных тренировок

Дата проведения тренировки

Фамилия участника тренировки и занимаемая им должность

Тема и место проведения тренировки

Оценка, замечания и предложения

Подпись участников тренировки

2.08.88 г.

Иванов П.И. - дежурный инженер

КЗ на шинах 220 кВ подстанции № 1

Иванов П.И. - «хорошо»

 

 

Петров А.А. - старший дежурный электромонтер

 

Петров - «удовлетворительно». Проработать инструкции по обслуживанию дифференциальной защиты шин и УРОВ 220 кВ

 

Подписи руководителя тренировки и контролирующих лип с указанием должности

Приложение 6

Рекомендуемое

ФОРМА ЖУРНАЛА ПО УЧЕТУ_______________________________

(цеховых, объектовых и совместных)

ПРОТИВОПОЖАРНЫХ ТРЕНИРОВОК

Дата проведения тренировки

Тема и место проведения противопожарной тренировки (объект, полигон)

Сведения об участниках

Замечания и предложения по тренировке

Отметка о выполнении предложений и устранении замечаний

Фамилия, имя, отчество

Должность

Подпись тренирующегося

 

 

 

 

 

 

 

Руководителем тренировки дается общая оценка противопожарной тренировки

Подписи:                          Руководитель тренировки     _________________________

Посредники

(если назначаются)                 _________________________

Контролирующие лица

(если присутствовали

на тренировке)                       _________________________

СОДЕРЖАНИЕ

1. Общие положения. 1

2. Классификация тренировок. 2

3. Периодичность проведения тренировок. 4

4. Мероприятия по подготовке тренировок. 4

5. Методика проведения тренировок. 7

5.1. Общие указания. 7

5.2. Тренировки по схемам.. 7

5.3. Тренировки с условными действиями персонала. 8

5.4. Тренировки с управляющими воздействиями на арматуру и выключатели двигателей на неработающем оборудовании. 10

5.5. Тренировки с использованием технических средств обучения персонала. 10

5.6. Комбинированные тренировки. 11

6. Разбор тренировок. 11

7. Разработка мероприятий по результатам тренировок. 11

Приложение 1 Форма годового графика проведения противоаварийных тренировок с примером заполнения. 13

Приложение 2 Пример программы организации и проведения блочной пготивоаварийной тренировки, совмещенной с противопожарной, на тему: «Загорание сажистых отложений в РВП-А (Аварийный останов блока)». 14

Приложение 3 Некоторые типы рекомендуемых плакатов и их применение. 16

Приложение 4 Дополнительные рекомендации по проведению отдельных тренировок. 17

Приложение 5 Форма журнала по учету противоаварийных тренировок. 17

Приложение 6 Форма журнала по учету противопожарных тренировок. 17

 




Rambler's Top100 Яндекс цитирования
  Copyright © 2008-2026, www.docload.ru