Бесплатная библиотека стандартов и нормативов www.docload.ru

Все документы, размещенные на этом сайте, не являются их официальным изданием и предназначены исключительно для ознакомительных целей.
Электронные копии этих документов могут распространяться без всяких ограничений. Вы можете размещать информацию с этого сайта на любом другом сайте.
Это некоммерческий сайт и здесь не продаются документы. Вы можете скачать их абсолютно бесплатно!
Содержимое сайта не нарушает чьих-либо авторских прав! Человек имеет право на информацию!

 

ГОСТ 12.2.072-98

МЕЖГОСУДАРСТВЕННЫЙ СТАНДАРТ

Роботы промышленные

РОБОТИЗИРОВАННЫЕ
ТЕХНОЛОГИЧЕСКИЕ КОМПЛЕКСЫ

Требования безопасности и методы испытаний

МЕЖГОСУДАРСТВЕННЫЙ СОВЕТ
ПО СТАНДАРТИЗАЦИИ, МЕТРОЛОГИИ И СЕРТИФИКАЦИИ

Минск

Предисловие

1 РАЗРАБОТАН Межгосударственным техническим комитетом по стандартизации МТК 75; Открытым акционерным обществом «Украинский научно-исследовательский институт станков, инструментов, приборов» (ОАО «УкрНИИСИП»)

ВНЕСЕН Государственным комитетом Украины по стандартизации, метрологии и сертификации

2 ПРИНЯТ Межгосударственным Советом по стандартизации, метрологии и сертификации (протокол № 14 МГС от 12.11.98)

За принятие проголосовали:

Наименование государства

Наименование национального органа по стандартизации

Азербайджанская Республика

Азгосстандарт

Республика Беларусь

Госстандарт Республики Беларусь

Республика Казахстан

Госстандарт Республики Казахстан

Кыргызская Республика

Кыргызстандарт

Республика Молдова

Молдовастандарт

Российская Федерация

Госстандарт России

Республика Таджикистан

Таджикгосстандарт

Туркменистан

Главгосинспекция «Туркменстандартлары»

Республика Узбекистан

Узгосстандарт

Украина

Госстандарт Украины

3 Настоящий стандарт соответствует международному стандарту ИСО 10218-92 «Роботы-манипуляторы промышленные. Требования безопасности» в части требований безопасности

4 Постановлением Государственного комитета Российской Федерации по стандартизации и метрологии от 22 декабря 2000 г. № 398-ст межгосударственный стандарт ГОСТ 12.2.072-98 введен в действие непосредственно в качестве государственного стандарта Российской Федерации с 1 января 2002 г.

5 ВЗАМЕН ГОСТ 12.2.072-82

6 ПЕРЕИЗДАНИЕ. Ноябрь 2001 г.

МЕЖГОСУДАРСТВЕННЫЙ СТАНДАРТ

Роботы промышленные

РОБОТИЗИРОВАННЫЕ ТЕХНОЛОГИЧЕСКИЕ КОМПЛЕКСЫ

Требования безопасности и методы испытаний

Industrial robots. Robotized technological systems. Safety requirements and testing methods

Дата введения 2002-01-01

1 Область применения

Настоящий стандарт устанавливает общие требования безопасности к конструкции промышленных роботов (далее - ПР) при проектировании, изготовлении, программировании, эксплуатации, ремонте, техническом обслуживании и организации роботизированных технологических комплексов (РТК) и участков (РТУ), а также методы испытаний.

Требования настоящего стандарта являются обязательными.

2 Нормативные ссылки

В настоящем стандарте использованы ссылки на следующие стандарты:

ГОСТ 12.1.003-83 Шум. Общие требования безопасности

ГОСТ 12.1.005-88 Общие санитарно-гигиенические требования к воздуху рабочей зоны

ГОСТ 12.1.012-90 Вибрационная безопасность. Общие требования

ГОСТ 12.1.019-79 Электробезопасность. Общие требования и номенклатура видов защиты

ГОСТ 12.2.003-91 Оборудование производственное. Общие требования безопасности

ГОСТ 12.2.007.0-75 Изделия электротехнические. Общие требования безопасности

ГОСТ 12.2.032-78 Рабочее место при выполнении работ сидя. Общие эргономические требования

ГОСТ 12.2.033-78 Рабочее место при выполнении работ стоя. Общие эргономические требования

ГОСТ 12.2.040-79 Гидроприводы объемные и системы смазочные. Общие требования безопасности к конструкции

ГОСТ 12.2.049-80 Оборудование производственное. Общие эргономические требования

ГОСТ 12.2.062-81 Оборудование производственное. Ограждения защитные

ГОСТ 12.3.001-85 Пневмоприводы. Общие требования безопасности к монтажу, испытаниям и эксплуатации

ГОСТ 12.4.026-761) Цвета сигнальные и знаки безопасности

1) На территории Российской Федерации действует ГОСТ Р 12.4.026-2001 (здесь и далее).

ГОСТ 12.4.040-78 Органы управления производственным оборудованием. Обозначения

ГОСТ 21786-76 Система «человек-машина». Сигнализаторы звуковые неречевых сообщений. Общие эргономические требования

ГОСТ 22269-76 Система «человек-машина». Рабочее место оператора. Взаимное расположение элементов рабочего места. Общие эргономические требования

ГОСТ 23000-78 Система «человек-машина». Пульты управления. Общие эргономические требования

ГОСТ 23450-792) Радиопомехи индустриальные от промышленных, научных, медицинских и бытовых высокочастотных установок. Нормы и методы измерения

2) На территории Российской Федерации действует ГОСТ Р 51318.11-99.

ГОСТ 25686-85 Манипуляторы, автооператоры и промышленные роботы. Термины и определения

ГОСТ 27487-87 (МЭК 204-1-81)1) Электрооборудование производственных машин. Общие технические требования и методы испытаний

1) На территории Российской Федерации действует ГОСТ Р МЭК 60204.1-99.

3 Определения

В настоящем стандарте применяют следующие термины с соответствующими определениями:

3.1 разблокирующее устройство: Устройство с ручным приводом, имеющее одно фиксированное положение, разрешающее заблокированные движения ПР.

3.2 опасная ситуация: Любая ситуация, связанная с ПР или сопряженным оборудованием, которая может привести к травмам или нанести вред здоровью населения и обслуживающего персонала.

3.3 толчковое управление: Вид управления, разрешающий перемещение ПР или сопряженного оборудования только во время воздействия на орган управления.

3.4 локальное управление: Вид управления, при котором управление ПР может осуществляться только с переносного или со стационарного пульта управления.

3.5 переносной пульт управления: Удерживаемый в руке блок, связанный с системой управления, с помощью которого обслуживающий персонал программирует ПР или управляет его перемещениями.

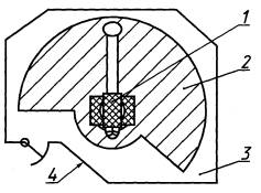
3.6 рабочее пространство: Пространство (рисунок 1), в пределах которого может находиться исполнительное устройство при функционировании ПР. Выход ПР за пределы рабочего пространства в случае любой возможной неисправности в системе ПР ограничивается механическими упорами или другими устройствами. Перебег исполнительного устройства ПР после срабатывания упоров включается в рабочее пространство.

3.7 риск (степень риска): Сочетание вероятности и степени тяжести травмы.

3.8 безопасный режим: Режим, при котором вероятность возникновения опасной ситуации минимальна.

Остальные термины по ГОСТ 25686.

1 - промышленный робот; 2 - рабочее пространство; 3 - огражденное пространство; 4 - защитные средства

Рисунок 1

4 Общие положения

4.1 Принципы обеспечения безопасности

При разработке ПР и средств защиты лиц и обслуживающего персонала должны учитываться специфические свойства ПР, связанные с особенностями конструкции, выполняемых функций, динамики и алгоритмов управления перемещением рабочих органов.

Средства защиты должны быть разработаны с учетом необходимости нахождения обслуживающего персонала в рабочем пространстве ПР при его включении, программировании, контроле и обслуживании, при этом должна быть учтена возможность возникновения опасной ситуации, связанной с несогласованностью работы ПР и сопряженного с ним оборудования.

Способ защиты лиц и обслуживающего персонала должен быть выбран с учетом анализа конструкции ПР, методов его программирования и обслуживания. Перед выбором способа защиты должны быть определены вредные производственные факторы и оценен риск (степень риска) возникновения опасной ситуации.

Обеспечение безопасности лиц и обслуживающего персонала должно основываться на следующих принципах:

- во время производственного процесса не допускается нахождение лиц и обслуживающего персонала в рабочем пространстве;

- во время программирования, контроля, обслуживания и в других случаях, требующих нахождения обслуживающего персонала в рабочем пространстве ПР, вероятность возникновения опасной ситуации должна быть минимальной.

Для обеспечения выполнения этих принципов могут быть реализованы следующие мероприятия:

- ограничение рабочего пространства с помощью физических барьеров, защитных ограждений, в том числе с блокировками, а также использование устройств обнаружения;

- организация рабочих мест обслуживающего персонала таким образом, чтобы все работы по наладке и обслуживанию ПР производились вне рабочего пространства;

- внедрение дополнительных мер защиты обслуживающего персонала, разрабатываемых в зависимости от конструктивных особенностей ПР и необходимых для обеспечения безопасности в случаях, когда нахождение обслуживающего персонала в рабочем пространстве не может быть полностью исключено.

4.2 Порядок оценки безопасности ПР

Оценка безопасности ПР при разработке, контроле и испытаниях должна предусматривать:

- определение необходимости доступа обслуживающего персонала в рабочее пространство для программирования, обслуживания или для контроля за работой ПР;

- определение вредных производственных факторов и источников их возникновения при работе ПР на любом из предусмотренных режимов работы, а также при возникновении неисправностей и при возможных ошибках обслуживающего персонала;

- оценку степеней риска возникновения различных опасных ситуаций;

- выбор основных методов защиты при разработке ПР и оценку правильности этого выбора при контроле;

- проведение комплексной оценки безопасности ПР и принятие решения о достаточности примененных средств защиты для обеспечения минимального риска для лиц и обслуживающего персонала.

4.2.1 Основными источниками опасных ситуаций могут являться сами ПР, несогласованность работы ПР и сопряженного оборудования, ошибки обслуживающего персонала. Примерами источников опасных ситуаций являются:

а) неисправность или повреждение:

1) защитных средств (например защитных ограждений, цепей блокировок и т.п.),

2) источников питания или распределительных устройств,

3) систем управления ПР, датчиков или других устройств, обеспечивающих безопасную работу;

б) подвижные элементы ПР, представляющие механическую опасность как самостоятельно, так и при взаимодействии с элементами сопряженного оборудования;

в) накопленная энергия подвижных элементов, электрических зарядов, гидравлических или пневматических систем ПР;

г) электрические, гидравлические или пневматические источники питания;

д) вредные производственные факторы, связанные с технологическим процессом, который обслуживает ПР:

1) работа со взрывоопасными или горючими материалами,

2) работа в агрессивной или корродирующей среде,

3) работа с радиоактивными материалами,

4) работа в условиях высоких или низких температур;

е) акустический шум, создаваемый ПР или сопряженным оборудованием;

ж) индустриальные радио- и электростатические помехи, а также помехи, вызываемые вибрацией или ударом;

и) субъективные ошибки обслуживающего персонала:

1) связанные с нарушениями требований эргономики при разработке конструкции и системы управления ПР,

2) связанные с недостаточностью освещения или повышенным шумом на рабочем месте оператора,

3) при контроле, проведении функциональных испытаний, во время эксплуатации, при программировании и проверке правильности выполнения программы, обслуживании, в том числе при смене рабочих органов, а также при поиске неисправностей и ремонте;

к) работы, связанные с демонтажем или модернизацией ПР.

4.2.2 Степень риска для различных опасных ситуаций определяется как качественная характеристика вероятности возникновения опасной ситуации.

При оценке степени риска должны быть учтены такие факторы, как размеры, мощность, скорость перемещения подвижных элементов ПР, опасные ситуации, связанные с технологическим процессом, который обслуживает ПР.

Степень риска должна быть оценена при монтаже, программировании, функционировании, эксплуатации, поиске неисправностей и техническом обслуживании ПР.

Высшая степень риска принимается при необходимости близкого подхода к ПР, когда исполнительные механизмы ПР не отключены от источника питания. Такой риск допускается при исключительных обстоятельствах и требует применения дополнительных средств, уменьшающих вероятность возникновения опасной ситуации.

При оценке степени риска в аварийных ситуациях необходимо учитывать, что при аварийном торможении положение элементов ПР не может быть определено однозначно.

4.2.3 Меры по обеспечению безопасности должны сочетать конструктивное обеспечение безопасности, а также требования (правила) безопасности, установленные в эксплуатационной документации.

При выборе мер по обеспечению безопасности предпочтение следует отдавать конструктивному обеспечению безопасности. Применяемые конструктивные решения по обеспечению безопасности не должны снижать гибкость ПР.

4.3 ПР должны соответствовать требованиям настоящего стандарта, ГОСТ 12.2.003 и ГОСТ 12.2.049.

4.4 Требования безопасности к ПР конкретных типов, учитывающие специфические особенности их конструкции и условия эксплуатации, должны быть указаны в стандартах и технических документах на эти ПР.

4.5 Производственное оборудование, применяемое в составе РТК и РТУ, должно соответствовать требованиям ГОСТ 12.2.003, ГОСТ 12.2.049, а также требованиям стандартов по безопасности на отдельные группы производственного оборудования.

4.6 Методы испытаний на соответствие требованиям безопасности, приведенным в разделе 5, устанавливаются в стандартах и технических документах на конкретные типы ПР, учитывающие специфические особенности их конструкции.

5 Требования к конструкции промышленных роботов и их составным частям

5.1 Общие требования

5.1.1 ПР, предназначенные для эксплуатации в условиях повышенной запыленности и температуры воздуха (или окружающей среды), наличия взрывоопасных смесей и в других неблагоприятных условиях производственной среды, должны иметь защитное исполнение, соответствующее условиям эксплуатации.

5.1.2 Защита в случае возникновения неисправности

ПР должны быть сконструированы, изготовлены и отлажены таким образом, чтобы в случае возможного предусмотренного отказа в работе какого-либо одного элемента - электрического, электронного, механического, пневматического или гидравлического - не были нарушены функции обеспечения безопасности или, в случае их нарушения, ПР останавливались.

При этом системы управления ПР должны соответствовать ГОСТ 27487.

К функциям обеспечения безопасности, например, могут относиться:

- ограничение диапазона перемещения;

- аварийное и предохранительное отключение;

- перемещение ПР на пониженной скорости;

- защитная блокировка.

5.1.3 Конструкция ПР должна исключать возможность травмирования лиц и обслуживающего персонала быстроперемещающимися элементами. При невозможности выполнения этого требования быстроперемещающиеся элементы ПР или все рабочее пространство должны быть закрыты защитными ограждениями.

5.1.4 Пространство, требующее ограждения, должно быть определено исходя из степени риска выхода рабочих органов ПР за пределы рабочего пространства.

5.1.5 Пульты управления должны быть установлены за пределами огражденного пространства. Если это условие невыполнимо, то должны быть приняты дополнительные меры для обеспечения безопасности обслуживающего персонала, находящегося в огражденном пространстве, в соответствии с 5.3.7 и разделом 7.

5.1.6 Конструкция ПР должна обеспечивать удобную установку ограничителей диапазона перемещения ПР по основным осям.

Способ ограничения диапазона перемещения ПР должен удовлетворять одному из следующих условий:

- механические упоры должны останавливать ПР в любом заданном положении при транспортировании ПР детали номинальной массы на максимальной скорости;

- другие способы ограничения диапазона перемещения (использование системы управления ПР, конечных выключателей по ГОСТ 27487 и пр.) должны применяться только в том случае, если они обеспечивают тот же уровень безопасности, что и механические упоры.

5.1.7 Если для ограждения рабочего пространства ПР используются механические упоры, конечные выключатели или система управления ПР, то они должны соответствовать требованиям 5.1.6. Устройства, ограничивающие диапазон перемещения подвижных элементов ПР, должны надежно крепиться в любом требуемом положении.

5.1.8 Рабочие органы ПР должны отвечать следующим требованиям:

- прекращение подачи питания не должно приводить к отпусканию груза или к возникновению другой опасной ситуации;

- статические и динамические нагрузки, создаваемые совместно грузом и рабочим органом (например схватом), должны быть в пределах грузоподъемности и динамической характеристики ПР.

5.1.9 Если во время работы ПР должны выполняться ручные операции, например, для загрузки или разгрузки деталей, то загрузочные устройства должны быть расположены так, чтобы оператор не мог попасть в рабочее пространство или для этих операций должны быть предусмотрены соответствующие предохранительные устройства.

5.1.10 Электрическое, гидравлическое и другое оборудование, которое может представлять опасность, должно быть закрыто крышками или кожухами, для съема которых должен применяться инструмент.

5.1.11 ПР, массой более 25 кг или имеющие два габаритных размера более 600 мм, должны иметь специальные элементы (например рым-болты, отверстия, резьбовые отверстия под рым-болты и др.) для безопасного внутрицехового транспортирования. Эти элементы должны быть расположены с учетом центра тяжести ПР.

5.1.12 Элементы ПР, предназначенные для его крепления, должны обеспечивать устойчивую работу ПР на всех предусмотренных режимах.

5.1.13 Шумовые характеристики ПР - по ГОСТ 12.1.003.

5.1.14 Уровни вибрации, возникающей на рабочем месте оператора, обслуживающего ПР, - по ГОСТ 12.1.012.

5.2 Требования эргономики

5.2.1 Требования эргономики должны быть учтены для всех операций по ремонту, техническому обслуживанию, управлению и т.п.

При разработке и изготовлении ПР должны учитываться следующие требования:

- для элементов ПР, в которые предполагается вмешательство человека, следует учитывать характеристики человека (рост, позу, силу движения) по ГОСТ 12.2.049;

- расположение органов управления ПР должно соответствовать требованиям ГОСТ 12.2.032, ГОСТ 12.2.033 и ГОСТ 23000;

- информация о режиме работы ПР и причинах незапрограммированной остановки должна быть видна на пульте управления ПР;

- обслуживающему персоналу должна быть обеспечена возможность обзора ПР, сопряженного оборудования и пространства за его пределами (по ГОСТ 22269).

5.3 Требования к пультам и органам управления

5.3.1 Пульты и органы управления должны соответствовать ГОСТ 23000 и ГОСТ 27487.

Все органы управления должны иметь обозначения или надписи, объясняющие их назначение. Органы управления должны быть защищены от случайного воздействия обслуживающего персонала.

5.3.2 Средства выбора режимов работы

Органы управления, предназначенные для выбора режима работы ПР, должны обеспечивать безошибочную установку требуемого режима.

Индикаторы системы управления или положение переключателей должны однозначно указывать на выбранный режим работы. Сам выбор различных режимов работы не должен вызывать перемещений ПР или включения других опасных функций.

Прерывание защитного действия предохранительных устройств при переключении режима работы ПР (например на наладку, программирование и проверку правильности программы) должно быть возможным только в том случае, если для такого переключения требуется специальный ключ.

5.3.3 Орган аварийного отключения ПР должен соответствовать ГОСТ 27487.

При срабатывании блокировок, связанных с защитными ограждениями, должны выполняться те же действия, что и при воздействии на органы аварийного отключения.

Органы аварийного отключения должны оснащаться механическими защелками для фиксации их в положении «Выключено». Повторное включение ПР должно быть возможным только после того, как все органы аварийного отключения, которые ранее были задействованы, будут вручную приведены в исходное положение. Возвращение в исходное положение органов аварийного отключения не должно вызывать повторного включения какой-либо части ПР.

Если в результате аварийного отключения ПР или при отключении питания возможно нарушение управляющей программы (сбой), то возобновление работы в автоматическом цикле должно начинаться с исходного положения.

5.3.4 При воздействии на орган аварийного отключения, срабатывании защитных блокировок, отключении питания ПР или связанного с ним оборудования не должны возникать опасные ситуации.

5.3.5 Каждое рабочее место обслуживающего персонала должно иметь легкодоступный орган аварийного отключения. Повторный запуск ПР после аварийного отключения должен производиться обслуживающим персоналом вне огражденного пространства.

5.3.6 На ПР, имеющих несколько пультов, должны быть предусмотрены устройства, допускающие управление ПР одновременно только с одного пульта.

ПР, которые могут управляться на расстоянии (например через систему дистанционного управления), должны иметь устройство переключения на локальное управление, обеспечивающее невозможность управления ПР с удаленных устройств.

5.3.7 Возврат в исходное положение предохранительных устройств

Возврат в исходное положение заблокированного ограждения, дверцы или поля устройства обнаружения не должен служить командой для повторного пуска автоматической работы ПР. Повторный пуск должен выполняться отдельным действием, выполняемым оператором за пределами огражденного пространства. Органы управления повторного пуска ПР должны быть расположены так, чтобы их невозможно было достать из огражденного пространства и чтобы с места их расположения был обеспечен обзор огражденного пространства.

5.3.8 Конструкция переносного пульта управления должна удовлетворять следующим требованиям:

- при разработке переносного пульта управления должны учитываться требования эргономики;

- должна быть обеспечена невозможность включения автоматического режима работы при использовании пульта в огражденном пространстве;

- на переносном пульте управления должен быть орган аварийного отключения;

- переносной пульт управления, предназначенный для включения перемещения ПР обслуживающим персоналом, находящимся в огражденном пространстве, должен быть снабжен устройством(ами) толчкового управления;

- система управления ПР должна быть сконструирована так, чтобы при управлении ПР с пульта все движения ПР осуществлялись только с этого пульта;

- все перемещения ПР, которые выполняются с пульта, должны осуществляться на скорости, не превышающей пониженную скорость. Пониженная скорость должна выбираться в зависимости от грузоподъемности ПР и схемы его расположения, однако пониженная скорость, измеренная на фланце крепления инструмента или зажима, должна быть не более 250 мм/с.

В тех случаях, когда требуется скорость выше, чем пониженная, например для проверки правильности программы, оператор должен включать этот режим, находясь за пределами огражденного пространства. Пока оператор остается в огражденном пространстве, движение ПР должно осуществляться только с помощью устройства толчкового управления.

5.3.9 Разблокирующее устройство, входящее в систему управления ПР, должно иметь только одно положение, разрешающее потенциально опасные движения ПР и другие опасные функции. Перевод разблокирующего устройства в любое другое положение должен прекращать эти движения и функции. Переключение только разблокирующего устройства не должно включать потенциально опасные движения ПР и другие функции.

Разблокирующее устройство должно быть связано с цепями управления и блокировок, имеющими аналогичный уровень безопасности.

Допускается не устанавливать разблокирующее устройство в случаях, когда:

- доступ лиц и обслуживающего персонала в рабочее пространство полностью исключен;

- скорость перемещения рабочих органов ПР ниже допустимой пониженной скорости.

Орган управления разблокирующим устройством допускается устанавливать на переносном пульте управления.

5.4 Требования безопасности для ПР, программируемых проведением руки ПР по точкам траектории вручную

Для ПР, программируемых проведением руки ПР по точкам траектории вручную, необходимо обеспечить обслуживающему персоналу возможность аварийного останова ПР из любого возможного положения. Усилие воздействия на органы управления при программировании должно быть не более 60 Н (6 кг).

5.5 Обеспечение перемещений в аварийных ситуациях

5.5.1 Конструкцией ПР должны быть предусмотрены средства для обеспечения возможности перемещения элементов ПР в аварийных ситуациях, например при отключенном и включенном питании:

а) при отключенном питании:

1) вентили для сброса давления в гидро- и пневмосистемах,

2) средства ручного отключения механических тормозов при обеспечении равновесия расторможенных элементов конструкции;

б) при включенном питании:

1) средства ручного управления механическими клапанами,

2) средства включения обратных перемещений.

5.6 Электрическое и электронное оборудование

5.6.1 Электрическое и электронное оборудование ПР - по ГОСТ 27487.

5.6.2 Электрические разъемы, неправильное подключение которых может привести к возникновению опасной ситуации, должны быть снабжены ключом или меткой. Электрические разъемы, которые могут стать причиной опасных перемещений ПР при их разъединении или поломке, должны быть соответствующим образом защищены.

5.7 Подключение ПР к источнику питания

5.7.1 Подключение ПР к источнику питания и контуру цехового заземления - по ГОСТ 27487.

5.8 Вводный выключатель

5.8.1 Каждая из систем ПР, имеющая независимое подключение к сети питания, должна иметь вводный выключатель.

Требования к расположению и исполнению вводного выключателя - по ГОСТ 27487.

5.9 Источники питания

5.9.1 Системы управления и приводы ПР должны быть разработаны и изготовлены так, чтобы при восстановлении прерванного питания после внезапного отключения, недопустимых колебаниях напряжения электросети или давления в гидро- и пневмосети исключалась возможность возникновения опасной ситуации.

5.10 Требования безопасности к применяемым в ПР гидроприводам и смазочным системам - по ГОСТ 12.2.040, а пневмоприводам - по ГОСТ 12.3.001.

5.11 Требования безопасности к электрооборудованию ПР - по ГОСТ 12.2.007.0, ГОСТ 12.1.019 и ГОСТ 27487.

5.12 Защитные ограждения и блокировки

5.12.1 Защитные ограждения:

- должны выдерживать возможные рабочие и внешние усилия;

- должны исключать доступ лиц и обслуживающего персонала в огражденное пространство, кроме как через проходы, снабженные блокировками или устройствами обнаружения;

- должны устанавливаться только в одном предусмотренном положении;

- стационарные ограждения должны крепиться таким образом, чтобы для их демонтажа требовался инструмент;

- должны быть без острых краев и выступающих частей;

- не должны создавать других опасных ситуаций;

- должны иметь сигнальную окраску и знаки безопасности по ГОСТ 12.4.026.

5.12.2 Блокировка ограждений

Блокировка ограждений должна допускать включение автоматического цикла работы ПР только при закрытом ограждении. Закрывание ограждения не должно служить командой для возобновления автоматической работы.

Автоматический режим работы ПР должен быть прерван при открывании ограждения так же, как и по команде «Стоп» или при аварийном отключении.

Повторный запуск автоматического режима работы должен быть возможен из положения, в котором ПР был остановлен только в том случае, если это не может привести к возникновению опасной ситуации.

Аварийное отключение ПР при срабатывании блокировок может выполняться путем отключения питания. Если после отключения питания подвижные элементы ПР под действием сил инерции или массы могут перемещаться, то система блокировки должна содержать энергонезависимые тормоза.

Дверь с блокировкой, закрывающая доступ в огражденное пространство, должна иметь устройство, предотвращающее ее случайное закрытие.

Выбор вида и типа системы блокировки должен проводиться на основании оценки степени риска возникновения опасной ситуации в соответствии с 4.2.2, а также с учетом 5.1.2.

5.12.3 Применяемые для обеспечения безопасности устройства обнаружения должны соответствовать следующим требованиям:

- установка и расположение устройств обнаружения должны исключать возможность нахождения лиц и обслуживающего персонала в огражденном этими устройствами пространстве, не вызвав их срабатывания, и обеспечивать невозможность достижения рабочего пространства ПР лицами и персоналом до прекращения опасной ситуации.

Допускается использовать устройства обнаружения в сочетании с неподвижными ограждениями для того, чтобы лица и обслуживающий персонал не могли обойти эти устройства;

- на работу устройств обнаружения не должны оказывать влияния производственные условия, в которых эксплуатируются ПР;

- при срабатывании устройства обнаружения повторный запуск ПР в автоматическом режиме из положения останова допускается при условии, что это не может привести к возникновению опасной ситуации;

- возобновление автоматической работы ПР должно быть возможным только после устранения прерывания поля чувствительности устройства обнаружения и подачи команды обслуживающим персоналом с пульта управления.

5.13 Накопленная энергия

5.13.1 В ПР должны быть предусмотрены средства для управляемого освобождения накопленной энергии. При оценке степени риска необходимо обращать внимание на элементы, способные накапливать энергию, - гидравлические аккумуляторы, пружины, противовесы, маховики и конденсаторы. На каждом элементе, способном накапливать энергию, должна быть прикреплена бирка с соответствующим предупреждением.

5.14 Помехи

5.14.1 Помехи, создаваемые ПР, должны быть минимальными. При этом должны быть учтены такие источники помех, как электромагнитные колебания, электростатическое напряжение, индустриальные радиопомехи, тепловые и световые излучения.

5.14.2 Нормы индустриальных допускаемых радиопомех - по ГОСТ 23450.

5.15 Сигнальные устройства и обозначения

5.15.1 Применение сигнальных устройств и обозначений не исключает необходимости применения таких средств защиты, как ограждения, блокировки и т.п.

Ограждения должны быть окрашены по ГОСТ 12.4.026.

Предупреждающие надписи и символы - по ГОСТ 12.4.040.

5.15.2 Предупредительный сигнал должен использоваться для подачи звукового или светового сигнала до возникновения опасной ситуации или при ее возникновении. Фонарь световой сигнализации должен быть хорошо виден обслуживающему персоналу. Тон звукового сигнала должен отличаться от производственного шума.

Требования к звуковой сигнализации - по ГОСТ 21786.

5.16 Указания по безопасной работе

5.16.1 Если конструкцией ПР не могут быть предусмотрены средства защиты для обеспечения безопасности профилактического и текущего ремонта, переналадки, то в эксплуатационной документации должны быть указаны безопасные приемы выполнения этих работ.

6 Требования безопасности к организации роботизированных технологических комплексов и участков

6.1 Требования безопасности к ПР, входящим в состав РТК (РТУ), - в соответствии с настоящим стандартом.

Требования безопасности к оборудованию, входящему в состав РТК (РТУ), - в соответствии с действующими стандартами на данный вид оборудования.

6.2 Общие требования к организации роботизированных технологических комплексов и участков

6.2.1 При организации РТК и РТУ необходимо предусмотреть комплексную механизацию и автоматизацию роботизированного производственного процесса, в том числе сопутствующих вспомогательных работ (транспортирование заготовок и деталей, загрузка ими накопителей, ориентация манипулируемых деталей в положение, пригодное для захвата, удаление стружки и окалины из рабочего пространства и т.д.), оставляя за оператором, в основном, функции управления и контроля за работой комплекса или участка.

6.2.2 РТК и РТУ с несколькими пультами управления должны быть оснащены блокировками, исключающими возможность одновременного управления одним и тем же оборудованием от различных пультов.

Каждый пульт управления должен иметь легкодоступный орган аварийного отключения с фиксацией в отключенном положении.

6.2.3 В случае применения в составе РТК и РТУ ПР зарубежных моделей необходимо цветовое оформление их составных частей привести в соответствие с требованиями ГОСТ 12.4.026, а символы органов управления - в соответствие с ГОСТ 12.4.040.

6.2.4 Размещение технологического оборудования и ПР на РТК или РТУ должно обеспечивать свободный, удобный и безопасный доступ к ним обслуживающего персонала при программировании, обучении, наладке и ремонте.

Расстояние между неподвижными наиболее выступающими частями оборудования, установленного в РТК или РТУ, в местах, где возможен проход человека в процессе обслуживания или наладки, должно быть не менее 500 мм, между подвижными - не менее 750 мм. В противном случае необходимо исключить возможность прохода человека между этим оборудованием.

Планировку РТК и РТУ следует проводить с учетом геометрических характеристик рабочего пространства ПР, действующих норм технологического проектирования соответствующих производств и конструктивных особенностей ПР.

6.2.5 ПР должен устанавливаться таким образом, чтобы исключалась возможность столкновения ПР с другими подвижными элементами сопряженного оборудования.

Расстояние от рабочего пространства ПР до неподвижных предметов (например опоры здания, потолочные балки, перегородки) должно быть не менее 750 мм. Это условие не относится к сопряженному оборудованию (например устройства автоматической смены инструмента, тактовые столы, транспортное оборудование, обслуживаемые ПР станки).

6.2.6 Взаимное расположение ПР, основного и вспомогательного технологического оборудования в составе РТК и РТУ должно исключать возникновение опасности для персонала, осуществляющего вручную транспортирование и складирование объектов манипулирования (материалов, инструмента, деталей и т.д.). Периферийные устройства, которые обслуживаются вручную, должны быть расположены вне огражденного пространства ПР.

6.2.7 Для обслуживания ПР, элементы которого расположены на высоте более чем 1800 мм, необходимо предусмотреть дополнительные подставки или лестницы.

6.2.8 Установка ПР и его периферийных устройств не должна увеличивать пожароопасность помещения. Необходимо обеспечить свободный подход к оборудованию и возможность применения средств пожаротушения.

6.2.9 Система управления РТК и РТУ должна обеспечивать возможность отдельного включения в работу ПР и технологического оборудования для раздельного выполнения работ при наладке и техническом обслуживании.

6.3 Ограждающие и защитные устройства

6.3.1 Стационарные ограждения в сочетании с блокировочными устройствами или устройствами обнаружения должны исключать возможность случайного попадания человека в огражденное пространство РТК и РТУ при работе в автоматическом режиме.

6.3.2 При расчете размеров огражденного пространства должны быть предусмотрены необходимые расстояния между стационарными ограждениями и границами рабочего пространства ПР, технологическим оборудованием для удобного и безопасного выполнения операций программирования, обучения, ремонта и наладки ПР и оборудования комплекса или участка. При этом следует учитывать систему координат, тип и число ПР, а также антропометрические данные и рабочую позу оператора при выполнении операции по обслуживанию ПР и основного технологического оборудования.

6.3.3 Стационарные ограждения должны соответствовать следующим требованиям:

- иметь прочность, обеспечивающую защиту лиц и обслуживающего персонала при их случайном воздействии на ограждения или при выбросе объектов манипулирования, и соответствовать требованиям ГОСТ 12.2.062;

- обеспечивать проход человека в огражденное пространство только через места, оборудованные блокировочными устройствами в соответствии с 5.1.4, 5.1.5, 5.1.7 - 5.1.9, 6.2.5 или устройствами обнаружения в соответствии с 5.12.3;

- должны быть надежно закреплены на месте установки, снятие или перемещение их должно быть невозможно без применения специального инструмента;

- не затруднять обслуживающему персоналу визуальный контроль за работой технологического оборудования комплекса;

- иметь сигнальную окраску и знаки безопасности по ГОСТ 12.4.026.

В дополнение к ограждающим защитным устройствам допускается устанавливать в огражденном пространстве средства предупредительной сигнализации в соответствии с 5.15.2.

6.3.4 В случае перемещения ПР объектов манипулирования над проходами, проездами и рабочими местами необходимо устанавливать под зоной движения исполнительных устройств ПР защитные сетки или другие устройства, исключающие травмирование человека при случайном падении объекта манипулирования.

6.3.5 При выполнении операций обслуживания ПР на режимах с пониженной скоростью движения должна быть предусмотрена возможность выключения блокировочных устройств и устройств сопряжения. Выключение должно осуществляться с применением специального инструмента.

6.3.6 Система управления роботизированным технологическим комплексом должна обеспечивать автоматическую смену заготовок при условиях:

- надежной фиксации заготовки в захватном устройстве ПР и готовности зажимного устройства технологического оборудования к приему заготовки;

- окончания зажима заготовки в зажимном устройстве технологического оборудования и разжима захватного устройства ПР;

- окончания обработки заготовки, надежной фиксации заготовки захватным устройством ПР и разжима зажимного устройства технологического оборудования.

6.4 Организация рабочих мест

6.4.1 Пульт управления РТК и РТУ, как правило, должен быть размещен за пределами огражденного пространства. При этом оператору должна быть обеспечена возможность обзора зоны обработки огражденного пространства ПР и пространства за его пределами по ГОСТ 22269.

Если пульт управления установлен в пределах огражденного пространства, то его расположение должно исключать возможность воздействия на оператора опасных производственных факторов. В этом случае входная дверь стационарного ограждения должна быть оборудована цифровым (кодовым) замком, а устройства обнаружения должны быть установлены по границам огражденного пространства ПР. Должна быть исключена возможность включения оператором автоматического режима работы комплекса или участка при отключении устройства обнаружения.

6.4.2 Освещенность пульта управления должна быть не менее 400 лк. Яркость светящихся элементов и символов на панели пульта управления должна обеспечивать их правильное восприятие и исключать ослепление оператора.

6.4.3 РТУ большой протяженности (более 10 м) должны быть оснащены дополнительными органами аварийного отключения, расположенными на расстоянии не более 4 м друг от друга.

6.4.4 При размещении пультов управления РТК или РТУ в закрытых кабинах минимальные внутренние размеры кабины должны быть: высота - 2100 мм, ширина - 1700 мм, длина - 2000 мм. Ширина дверного проема - 600 мм. Кабины должны быть оснащены приточной вентиляцией. Предпочтительным является оборудование кабин системой кондиционирования воздуха. Температура, относительная влажность, скорость движения воздуха и содержание вредных веществ в воздухе кабин и методы испытаний - по ГОСТ 12.1.005. Интенсивность лучистого потока через смотровые окна должна быть не более 1260 кДж/м2. Уровни звука в кабине - по ГОСТ 12.1.003.

6.4.5 При использовании ПР для выполнения работ, связанных с повышенной запыленностью и загазованностью, повышенным уровнем ионизирующего излучения и т.д., должна применяться закрытая камера, вход в которую должен быть сблокирован с системой управления. Камера должна быть оборудована смотровым окном. Пульт управления ПР должен быть размещен за пределами камеры рядом со смотровым окном.

6.4.6 В производственных помещениях, где используются подвижные ПР, необходимо обозначить транспортные пути сплошными линиями шириной 50 - 100 мм, наносимыми на поверхность пола желтой краской, стойкой к истиранию. Ширина этих путей должна быть равна максимальной ширине ПР плюс 200 мм при движении в одном направлении (по 100 мм с обеих сторон) и 300 мм - при встречном движении (по 100 мм с обеих сторон и 100 мм между транспортными средствами).

Разметка путей в зоне разворота (поворота) ПР зависит от вида ПР и определяется экспериментально.

Запрещается одновременное использование транспортных путей подвижными ПР и обслуживающим персоналом.

6.4.7 В зоне размещения РТК или РТУ освещенность оборудования должна быть не менее 300 лк.

Для общего освещения помещения отношение максимальной освещенности к минимальной не должно превышать 1,5. Коэффициент пульсации должен быть не более 20 %.

6.4.8 При постоянном наблюдении за ходом производственного процесса на РТК или РТУ, а также при ремонтных работах освещенность в рабочем пространстве оборудования должна составлять 1500 лк при комбинированном освещении (общее плюс местное).

При периодическом наблюдении за ходом производственного процесса освещенность может быть снижена до 750 лк при использовании светильников местного освещения, оборудованных светорегуляторами.

6.5 РТК и РТУ должны быть оснащены блокирующими устройствами, обеспечивающими выключение комплекса или участка либо отдельных их частей в случае нарушения роботизированного процесса, отказа оборудования, выхода параметров энергоносителей за допустимые пределы.

6.6 Вход в зону ограждения должен быть сблокирован с системой управления. Блокировочные устройства должны обеспечивать остановку движения ПР при входе человека в эту зону.

В технически обоснованных случаях допускается использовать входную дверь, оборудованную цифровым замком.

На двери должен быть установлен знак «Вход воспрещен» по ГОСТ 12.4.026.

7 Требования безопасности при эксплуатации промышленных роботов

7.1 Общее положение

Настоящий раздел устанавливает общие правила для обеспечения безопасности при программировании, контроле, работе ПР в автоматическом режиме, поиске неисправностей и техническом обслуживании.

Требования настоящего раздела изложены с учетом того, что все устройства, предусмотренные конструкцией ПР, обеспечивающие безопасность, установлены и исправны.

Технические условия на конкретные модели ПР должны содержать требования для обеспечения безопасности обслуживающего персонала во время обслуживания, программирования и ремонта. При этом должны быть учтены условия производства, в которых может эксплуатироваться ПР, например ПР со взрывоопасными смесями, в условиях, вызывающих коррозию, при повышенной влажности, запыленности, при действии индустриальных радиопомех, световых и ультразвуковых излучений и пр.

7.2 Работа в автоматическом режиме

Автоматический режим работы ПР может быть включен, если:

- предусмотренные конструкцией защитные устройства установлены и функционируют;

- обслуживающий персонал находится вне огражденного пространства.

7.3 Программирование

При программировании ПР обслуживающий персонал должен находиться вне огражденного пространства. Если это условие не может быть выполнено, то для отключения действия защитных устройств (например блокировки дверцы, устройств обнаружения) должен использоваться переключатель режима работ в соответствии с 5.3.2, а также выполнены условия настоящего раздела.

7.3.1 До программирования программист должен знать конструкцию ПР, методы программирования, системы управления и правила безопасных приемов работы с ПР.

Программист должен осмотреть ПР и его рабочее пространство, убедиться, что не существует внешних условий, которые могут привести к возникновению опасной ситуации, и что переносной пульт управления функционирует правильно.

Все обнаруженные неисправности или повреждения должны быть устранены до начала программирования. Если при программировании не требуется подвода питания к исполнительным механизмам ПР, то его следует выключить.

Прежде чем войти в огражденное пространство, программист должен убедиться, что все необходимые предохранительные устройства установлены и функционируют, а система управления находится в режиме программирования, не допускающем автоматической работы ПР.

7.3.2 При программировании ПР должны выполняться следующие требования:

- в огражденном пространстве может находиться только программист;

- управление ПР должно осуществляться только программистом;

- органы управления переносного пульта управления должны использоваться программистом в соответствии с 5.3.9;

- система управления ПР не должна выполнять команды, передаваемые с дистанционного пульта управления, если выполнение этих команд может привести к возникновению опасной ситуации;

- перемещения элементов сопряженного оборудования, которые могут создавать опасность, в огражденном пространстве не допускаются, если это оборудование не находится под управлением программиста. Управляемые программистом перемещения сопряженного оборудования не должны быть связаны с включением перемещений ПР;

- все устройства аварийного отключения ПР должны быть исправны.

7.3.3 Для возобновления автоматического режима работы программист должен восстановить положение переключателей, отключающих действие защитных устройств.

7.4 Сохранность программ

Если система управления ПР предусматривает возможность сохранения программ и запись данных на носителях (бумага, магнитные ленты, диски и т.п.), то после внесения изменений программа и данные на носителях должны быть сохранены. Не находящиеся в пользовании носители информации должны храниться в хорошо защищенных местах.

7.5 Правильность программы

Проверку правильности программы допускается проводить обслуживающим персоналом только в том случае, если в огражденном пространстве нет лиц обслуживающего персонала.

При необходимости нахождения обслуживающего персонала в огражденном пространстве во время проверки правильности программы должны выполняться следующие требования:

а) первоначальная проверка должна проводиться на пониженной скорости, при этом должны выполняться требования 7.3;

б) для проверки программы на рабочей скорости должны быть выполнены следующие требования:

1) отключение пониженной скорости должно проводиться отдельным действием обслуживающего персонала (например использование клавишного переключателя),

2) обслуживающий персонал должен иметь возможность на любом этапе прекратить работу ПР воздействием на орган аварийного останова или другим путем, обеспечивающим равную степень безопасности,

3) проверка программы должна проводиться на режимах, при которых вероятность возникновения опасной ситуации будет минимальной.

7.6 Поиск неисправностей

Поиск неисправностей обслуживающим персоналом должен осуществляться за пределами огражденного пространства. Если это условие не может быть выполнено и конструкцией ПР предусмотрено выполнение этих работ в огражденном пространстве, то должны выполняться следующие требования:

- персонал, ответственный за поиск неисправностей, должен быть обучен и иметь специальное разрешение на проведение подобных работ;

- перед входом в огражденное пространство обслуживающий персонал для разрешения перемещений ПР должен использовать специальный переключатель режима работы;

- ПР должен работать на режимах, при которых вероятность возникновения опасной ситуации будет минимальной.

7.7 Техническое обслуживание

Для обеспечения длительной безопасной работы ПР должен быть разработан график планово-предупредительного ремонта, в котором должны быть учтены рекомендации изготовителя.

7.7.1 Обслуживающий персонал, выполняющий техническое обслуживание или ремонт ПР, должен быть обучен безопасным методам проведения этих работ.

7.7.2 Обслуживающий персонал, выполняющий техническое обслуживание или ремонт ПР, должен быть защищен от воздействия вредных производственных факторов, возникающих при работе ПР и сопряженного с ним оборудования.

7.7.3 Техническое обслуживание должно, по возможности, проводиться вне огражденного пространства, при этом должна быть исключена возможность случайного перемещения ПР.

Если техническое обслуживание ПР должно проводиться в огражденном пространстве, то исходя из оценки степени риска, должны быть приняты меры обеспечения безопасности в соответствии с 7.7.3.1 и 7.7.3.2.

7.7.3.1 При проведении технического обслуживания питание ПР должно быть отключено вводным выключателем.

7.7.3.2 Если для проведения технического обслуживания ПР должен быть подключен к сети питания, то должны выполняться следующие требования:

а) прежде чем приступить к работе в огражденном пространстве, обслуживающий персонал должен:

1) внешним осмотром убедиться в отсутствии причин, которые могут привести к возникновению опасных ситуаций,

2) перед использованием переносного пульта управления убедиться в правильности его работы,

3) не приступать к работе до устранения обнаруженных неисправностей;

б) обслуживающий персонал, работающий в огражденном пространстве, должен полностью контролировать работу ПР, для этого должны быть выполнены следующие требования:

1) автоматический режим работы ПР должен быть выключен,

2) система управления ПР не должна выполнять команды, подаваемые с дистанционного пульта управления,

3) система аварийного отключения ПР должна быть полностью исправна;

в) для возобновления автоматического режима работы ПР временно отключенные предохранительные устройства должны быть приведены в исходное положение.

8 Монтаж, ввод в эксплуатацию и методы функциональных испытаний

8.1 Общее положение

В настоящем разделе приведены требования к монтажу и методы испытаний ПР перед их вводом в эксплуатацию, при модернизации, техническом обслуживании и контроле соответствия ПР настоящему стандарту.

8.2 Монтаж

ПР должны быть смонтированы в соответствии с требованиями эксплуатационной документации. В эксплуатационной документации должны быть приведены требования для обеспечения безопасной работы ПР, разработанные изготовителем на основании оценок степени риска различных производственных ситуаций.

После монтажа, до ввода в эксплуатацию, должна быть проверена работа всех систем ПР, обеспечивающих безопасность (наличие защитных ограждений, работа систем блокировок и аварийного отключения).

8.3 Методы испытаний

8.3.1 При необходимости проведения испытаний ПР до установки защитного ограждения должны быть установлены временные ограждения, обозначающие огражденное пространство.

8.3.2 Во время первоначального пуска ПР и проведения испытаний обслуживающий персонал должен находиться вне огражденного пространства.

8.3.3 Последовательность проведения испытаний должна быть приведена в эксплуатационной документации на ПР и включать следующие операции:

а) перед включением питания обслуживающий персонал должен проверить:

1) правильность монтажа ПР, его крепление и устойчивость,

2) правильность подключения ПР к источникам электропитания и цепи защиты, соответствие характеристик электросети требованиям эксплуатационной документации (напряжение, частота, помехи - прерывание питания, падение напряжения, индустриальные радиопомехи),

3) правильность подключения ПР к другим источникам питания (например вода, воздух, газ) и их соответствие требованиям эксплуатационной документации,

4) правильность подключения периферийного оборудования,

5) надежность и правильность установки ограничителей, определяющих рабочее пространство ПР,

6) правильность монтажа средств защиты (ограждения, датчики блокирующих устройств),

7) соответствие окружающей среды (например освещенность, уровень шума, вибрация, температура, влажность, содержание вредных веществ в воздухе) в производственном помещении требованиям эксплуатационной документации (содержание вредных веществ не должно превышать норм по ГОСТ 12.1.005);

б) после включения питания обслуживающий персонал должен проверить:

1) работу устройств включения, отключения и переключения режимов работы ПР в соответствии с требованиями эксплуатационной документации,

2) правильность перемещения элементов ПР и действие ограничителей, определяющих рабочее пространство ПР,

3) правильность работы системы аварийного отключения и блокирующих устройств,

4) работу вводного выключателя (полное отсоединение электрических цепей ПР от сети питания),

5) соответствие действий ПР заданной программе,

6) правильность работы защитных устройств и системы блокировок,

7) надежность работы устройств, обеспечивающих безопасность (например блокировки, связанные с защитными ограждениями, звуковая и световая сигнализация),

8) правильность работы ПР на пониженной скорости при транспортировании детали номинальной массы,

9) правильность работы ПР в автоматическом режиме с номинальной скоростью при транспортировании детали номинальной массы.

8.3.4 Процедура повторного пуска ПР после переналадки, изменения программы, ремонта или технического обслуживания должна включать дополнительный контроль измененных элементов ПР или программного обеспечения.

9 Требования к эксплуатационной документации

9.1 Эксплуатационная документация на ПР должна содержать:

а) паспорт;

б) инструкции по монтажу;

в) руководство по эксплуатации, содержащее следующие разделы:

1) «Первоначальный ввод в эксплуатацию»,

2) «Программирование»,

3) «Эксплуатация ПР»,

4) «Ввод в эксплуатацию после переналадки»,

5) «Техническое обслуживание, рекомендуемые планы».

В руководстве по эксплуатации должны быть приведены порядок испытания ПР, тестирования программного обеспечения, безопасных приемов работ, дополнительных мер по обеспечению безопасности для операций, при выполнении которых может возникнуть опасная ситуация, а также характеристики окружающей среды (освещенность, уровень шума, температура, влажность, содержание вредных веществ в воздухе и т.д.) в производственном помещении.

Требования к профессиональной подготовке обслуживающего персонала должны быть приведены в руководстве по эксплуатации.

Руководство по эксплуатации ПР, РТК и РТУ должно содержать следующие сведения:

- описание ПР, технологического комплекса или участка, порядок их монтажа и подключения к источникам питания;

- описание возможных опасных ситуаций и безопасные приемы работ для недопущения возникновения таких ситуаций;

- описание устанавливаемых ограждений и схемы их монтажа, описание предохранительных устройств и блокировок, взаимосвязанных функций ПР и сопряженного оборудования, которые могут привести к возникновению опасных ситуаций;

- дополнительную информацию, связанную со спецификой конструкции ПР, особенностями его монтажа, эксплуатации и технического обслуживания.

В комплект эксплуатационной документации, поставляемой с ПР, должны быть включены паспорта, руководства по эксплуатации на комплектующие изделия (например технологическое оборудование, транспортные средства, системы управления).

10 Требования к персоналу

К работе по программированию, обучению, наладке, эксплуатации и ремонту ПР и роботизированных технологических комплексов и участков следует допускать лиц не моложе 18 лет, прошедших в установленном порядке медицинское освидетельствование, соответствующее обучение, проверку знаний по охране труда, инструктаж и имеющих квалификационное удостоверение.

Профессиональная подготовка обслуживающего персонала должна предусматривать:

- знание конструкции ПР, системы управления, безопасных режимов работы ПР, программирования, контроля и обслуживания;

- понимание производственных заданий;

- знание обозначений и назначения всех органов управления, используемых при программировании и обслуживании ПР;

- понимание возможных опасных ситуаций и связанной с ними степени риска;

- знание действий по обеспечению безопасности при возникновении опасной ситуации;

- знание правил установки защитного ограждения и принципов работы блокирующих устройств.

Ключевые слова: промышленные роботы, роботизированные технологические комплексы, требования безопасности, методы испытаний

СОДЕРЖАНИЕ

1 Область применения. 2

2 Нормативные ссылки. 2

3 Определения. 3

4 Общие положения. 3

5 Требования к конструкции промышленных роботов и их составным частям.. 5

6 Требования безопасности к организации роботизированных технологических комплексов и участков. 11

7 Требования безопасности при эксплуатации промышленных роботов. 14

8 Монтаж, ввод в эксплуатацию и методы функциональных испытаний. 16

9 Требования к эксплуатационной документации. 17

10 Требования к персоналу. 18

 




Rambler's Top100 Яндекс цитирования
  Copyright © 2008-2026, www.docload.ru