Бесплатная библиотека стандартов и нормативов www.docload.ru

Все документы, размещенные на этом сайте, не являются их официальным изданием и предназначены исключительно для ознакомительных целей.
Электронные копии этих документов могут распространяться без всяких ограничений. Вы можете размещать информацию с этого сайта на любом другом сайте.
Это некоммерческий сайт и здесь не продаются документы. Вы можете скачать их абсолютно бесплатно!
Содержимое сайта не нарушает чьих-либо авторских прав! Человек имеет право на информацию!

 

ГОСУДАРСТВЕННЫЙ СТАНДАРТ СОЮЗА ССР

ДЕРЕВООБРАБАТЫВАЮЩЕЕ ОБОРУДОВАНИЕ

РАМЫ ЛЕСОПИЛЬНЫЕ ВЕРТИКАЛЬНЫЕ
ОДНОЭТАЖНЫЕ

ОСНОВНЫЕ ПАРАМЕТРЫ. НОРМЫ ТОЧНОСТИ

ГОСТ 10295-90
(СТ СЭВ 4997-85 и СТ СЭВ 6686-89)

ИЗДАТЕЛЬСТВО СТАНДАРТОВ

МОСКВА

ГОСУДАРСТВЕННЫЙ СТАНДАРТ СОЮЗА ССР

Деревообрабатывающее оборудование

РАМЫ ЛЕСОПИЛЬНЫЕ ВЕРТИКАЛЬНЫЕ
ОДНОЭТАЖНЫЕ

Основные параметры. Нормы точности

Woodworking equipment. Vertical one-storey saw frames. Basic parameters. Standards of accuracy

ГОСТ
10295-90

(CT СЭВ 4997-85)

(CT СЭВ 6686-89)

Дата введения 01.01.91

Настоящий стандарт распространяется на вертикальные одноэтажные двухшатунные лесопильные рамы, предназначенные для распиловки бревен и брусьев.

Стандарт не распространяется на лесопильные рамы для распиловки коротких бревен и брусьев.

1. ОСНОВНЫЕ ПАРАМЕТРЫ

Основные параметры рам должны соответствовать указанным в таблице.

Размеры, мм

Наименование параметра

Значение параметра

Ширина просвета пильной рамки

630

800

Ход пильной рамки, не менее

400

500

Наибольший диаметр распиливаемых бревен (в вершине)

380

520

Длина распиливаемых бревен и брусьев:

 

 

наименьшая, не более

3000

3000

наибольшая, не менее

7500

7500

Число двойных ходов пильной рамки в минуту, не менее

270

250

Наибольшее число пил в поставе, не менее

12

14

Наибольшая подача бревна и бруса на один двойной ход пильной рамки, не менее

35

40

2. ПРОВЕРКА ГЕОМЕТРИЧЕСКОЙ ТОЧНОСТИ ЛЕСОПИЛЬНОЙ РАМЫ

2.1. Перед проверкой рама должна быть установлена по уровню. Допуск на установку не должен превышать 0,1 мм на длине 1000 мм.

Общие требования к испытаниям лесопильных рам на точность - по ГОСТ 25338.

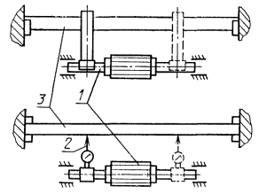
2.2. Горизонтальность осей нижних подающих вальцов

Черт. 1

Допуск горизонтальности 0,3 мм на длине 1000 мм.

Проверка проводится в соответствии со схемой, указанной на черт. 1.

На валу переднего (заднего) нижнего подающего вальца 1 (2) устанавливают специальное приспособление 4 так, чтобы его регулировочный винт 3 касался средней точки заднего (переднего) нижнего вальца 2 (1).

На приспособлении устанавливают уровень 5 в направлении подачи и регулировочным винтом выставляют приспособление в горизонтальной плоскости. Затем уровень устанавливают параллельно проверяемому вальцу.

Отклонение от горизонтальной плоскости равно наибольшему показанию уровня.

2.3. Параллельность осей нижних и верхних подающих вальцов в горизонтальной плоскости

Черт. 2

Допуск параллельности 0,3 мм на длине 1000 мм.

Проверка проводится в соответствии со схемой, указанной на черт. 2.

Микрометрический нутромер 2 со специальной призмой устанавливают между валами нижних подающих вальцов 1 (верхних подающих вальцов 3) в точках, наиболее удаленных друг от друга по длине вала.

Отклонение от параллельности равно алгебраической разности показаний нутромера.

2.4. Параллельность осей нижних и верхних передних и задних подающих вальцов в вертикальной плоскости

Черт. 3

Допуск параллельности 0,5 мм на длине 1000 мм.

Проверка проводится в соответствии со схемой, указанной на черт. 3.

Микрометрический нутромер 1 со специальной призмой устанавливают между валами нижнего 2 и верхнего 3 задних подающих вальцов (передних подающих вальцов) в точках, наиболее удаленных друг от друга по длине вала.

Отклонение от параллельности равно алгебраической разности показаний нутромера.

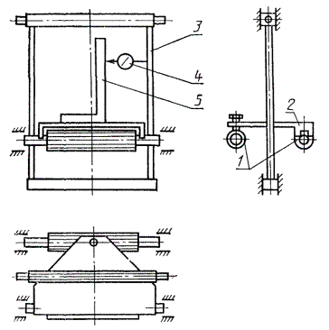
2.5. Перпендикулярность перемещения пильной рамки оси переднего нижнего подающего вальца

Черт. 4

Допуск перпендикулярности 0,7 мм на длине 1000 мм.

Проверка проводится в соответствии со схемой, указанной на черт. 4.

На валы нижних подающих вальцов 1 устанавливают специальное приспособление 2.

На стойке пильной рамки 3 при ее крайнем верхнем положении укрепляют стойку с индикатором 4 так, чтобы его измерительный наконечник касался вертикальной грани поверочного угольника 5, установленного на специальном приспособлении.

Пильную рамку опускают в крайнее нижнее положение.

Отклонение от перпендикулярности равно алгебраической разности показаний индикатора на длине перемещения.

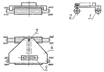
2.6. Параллельность установочной линейки оси переднего нижнего подающего вальца

Черт 5

Допуск параллельности 0,3 мм на длине 1000 мм.

Проверка проводится в соответствии со схемой, указанной на черт. 5.

На валу переднего нижнего подающего вальца 1 устанавливают индикатор 2 на стойке со специальной призмой так, чтобы его измерительный наконечник касался рабочей грани установочной линейки 3.

Вертикальное положение стойки индикатора проверяют по уровню.

Измерения проводят в точках, наиболее удаленных друг от друга.

Отклонение от параллельности равно алгебраической разности показаний индикатора.

3. ПРОВЕРКА ТОЧНОСТИ ЛЕСОПИЛЬНОЙ РАМЫ В РАБОТЕ

3.1. Требования к распиливаемым лесоматериалам

Проверка лесопильной рамы на точность пиломатериалов следует проводить при распиловке круглых лесоматериалов диаметром в вершине не менее 200 мм и длиной не менее 3000 мм на обрезные доски и брусья с толщиной не менее 40 мм, для осуществления проверки необходимо изготовить не менее двух образцов.

Проверка точности лесопильных рам в работе проводится в соответствии со схемой, указанной на черт 6.

1 - базовая поверхность

Черт. 6

3.2. Плоскостность по пласти образца

Допуск плоскостности по пласти в продольном и диагональном направлениях 2 мм на длине 1000 мм, в поперечном направлении 1 мм на длине 100 мм.

Проверка проводится в соответствии со схемой, указанной на черт. 6а.

3.3. Прямолинейность по кромке образца

Допуск прямолинейности по кромке 2 мм на длине 1000 мм

Проверка проводится в соответствии со схемой, указанной на черт. 6б.

Плоскостность и прямолинейность поверхностей пропила проверяются поверочной линейкой и щупом.

3.4. Перпендикулярность поверхности пропила базовой поверхности образца

Допуск перпендикулярности - ± 2 мм на длине 100 мм.

Проверка проводится в соответствии со схемой, указанной на черт. 6в.

Перпендикулярность поверхностей пропила проверяют угольником и щупом.

3.5. Равномерность ширины и толщины образца

Предельные отклонения пиломатериалов по толщине и ширине, мм:

до 32 мм...................... ± 1,0

от 32 до 100 мм.......... ± 2,0

более 100 мм.............. ±3,0

Равномерность ширины и толщины обрезных досок проверяют штангенциркулем.

Образцы - обрезные доски и брусья.

ИНФОРМАЦИОННЫЕ ДАННЫЕ

1. РАЗРАБОТАН И ВНЕСЕН Министерством станкостроительной и инструментальной промышленности СССР

РАЗРАБОТЧИКИ

С.М. Хасдан, Э.Д. Авдеев

2. УТВЕРЖДЕН И ВВЕДЕН В ДЕЙСТВИЕ Постановлением Государственного Комитета СССР по управлению качеством продукции и стандартам от 01.03.90 № 327

3. Срок проверки - 1999 г., периодичность проверки - 10 лет.

4. Стандарт соответствует СТ СЭВ 4997-85 в части ширины просвета пильной рамки 630 и 800 мм, СТ СЭВ 6686-89

5. ВЗАМЕН ГОСТ 10295-75 и ГОСТ 15994-70

6. ССЫЛОЧНЫЕ НОРМАТИВНО-ТЕХНИЧЕСКИЕ ДОКУМЕНТЫ

7. ПЕРЕИЗДАНИЕ. Февраль 1995 г.

СОДЕРЖАНИЕ

 




Rambler's Top100 Яндекс цитирования
  Copyright © 2008-2026, www.docload.ru