Бесплатная библиотека стандартов и нормативов www.docload.ru

Все документы, размещенные на этом сайте, не являются их официальным изданием и предназначены исключительно для ознакомительных целей.
Электронные копии этих документов могут распространяться без всяких ограничений. Вы можете размещать информацию с этого сайта на любом другом сайте.
Это некоммерческий сайт и здесь не продаются документы. Вы можете скачать их абсолютно бесплатно!
Содержимое сайта не нарушает чьих-либо авторских прав! Человек имеет право на информацию!

 

ГОСУДАРСТВЕННЫЙ СТАНДАРТ СОЮЗА ССР

МАШИНЫ ЗЕМЛЕРОЙНЫЕ

САМОХОДНЫЕ СКРЕПЕРЫ

ТЕРМИНЫ, ОПРЕДЕЛЕНИЯ И ТЕХНИЧЕСКАЯ ХАРАКТЕРИСТИКА
ДЛЯ КОММЕРЧЕСКОЙ ДОКУМЕНТАЦИИ

ГОСТ 27536-87
(ИСО 7133-85)

ГОСУДАРСТВЕННЫЙ КОМИТЕТ СССР ПО СТАНДАРТАМ

Москва

ГОСУДАРСТВЕННЫЙ СТАНДАРТ СОЮЗА ССР

Машины землеройные

САМОХОДНЫЕ СКРЕПЕРЫ

Термины, определения и техническая характеристика для коммерческой документации

Earth-moving machinery. Tractor-scrapers. Terminology and commercial specifications

ГОСТ
27536-87

(ИСО 7133-85)

Дата введения 01.01.89

1. НАЗНАЧЕНИЕ

Настоящий стандарт устанавливает термины, определения и содержание технической характеристики для коммерческой документации по самоходным скреперам и их рабочему оборудованию.

2. ОБЛАСТЬ ПРИМЕНЕНИЯ

Настоящий стандарт распространяется на самоходные скреперы по п. 4.

3. ССЫЛКИ

Ссылочные документы приведены в обязательном приложении.

4. ОБЩИЕ ОПРЕДЕЛЕНИЯ

4.1. Самоходный скрепер - самоходная колесная машина, имеющая открытый ковш с режущей кромкой, расположенный между передними и задними колесами, которая режет, набирает, транспортирует, выгружает и распределяет материал при движении вперед.

Набору материала при движении машины вперед может способствовать снабженный приводом механизм элеваторной загрузки, установленный на ковше скрепера (см. ИСО 6165).

4.2. Базовая машина - самоходный скрепер, соответствующий технической документации изготовителя. Машина должна быть снабжена необходимыми местами крепления для установки дополнительного оборудования по п. 6.

4.3. Рабочее оборудование - комплект составных частей, монтируемых на базовую машину для обеспечения выполнения ее основной функции в соответствии с назначением.

4.4. Дополнительное оборудование - поставляемая по выбору заказчика сборочная единица из составных частей, которая может быть смонтирована на базовой машине для специального применения.

4.5. Составная часть - деталь или сборочная единица из деталей базовой машины, рабочего или дополнительного оборудования.

5. БАЗОВАЯ МАШИНА

5.1. Типы самоходных скреперов

5.1.1. По способу загрузки

5.1.1.1. С тяговой загрузкой (см. черт. 1)

5.1.1.2. С элеваторной загрузкой (см. черт. 2)

5.1.2. По системе управления поворотом

5.1.2.1. С передними управляемыми колесами (см. черт. 3)

5.1.2.2. С поворотом одноосного тягача (см. черт. 4)

5.1.3. По числу осей

5.1.3.1. Двухосные (см. черт. 5)

5.1.3.2. Трехосные (см. черт. 6)

5.1.4. По числу двигателей.

5.1.4.1. Одномоторные (см. черт. 7)

5.1.4.2. Двухмоторные (см. черт. 8)

5.1.5. По системе привода хода

5.1.5.1. С передними ведущими колесами (см. черт. 9)

5.1.5.2. Со всеми ведущими колесами (см. черт. 10)

5.1.5.3. Со средними ведущими колесами (см. черт. 11)

С тяговой загрузкой

Черт. 1

В таком скрепере набор материала в ковш осуществляется только за счет приложения тягового усилия. Это усилие может создавать сам скрепер, другой скрепер, временно или постоянно соединенный с данным, или толкач.

С элеваторной загрузкой

Черт. 2

Набору материала способствует снабженный приводом механизм, установленный на ковше скрепера.

С передними управляемыми колесами

1 - управляемые колеса

Черт. 3

С поворотом одноосного тягача

1 - центр поворота

Черт. 4

Двухосный

Черт. 5

Трехосный

Черт. 6

Одномоторный

Черт. 7

Двухмоторный

Черт. 8

С передними ведущими колесами

1 - ведущие колеса

Черт. 9

Со всеми ведущими колесами

1 - ведущие колеса

Черт. 10

Со средними ведущими колесами

1 - ведущие колеса

Черт. 11

5.2. Размерные характеристики

Определения размерных характеристик - по ИСО 6746/1.

Определения размерных характеристик, относящихся только к скреперам, приведены в приложении А.

Размеры базовой машины (самоходные скреперы)

____________

1) Размеры H1, H2, Н3, H15, L8 и L11 определяют при нахождении режущей кромки на опорной плоскости отсчета; 2 - колея W3 может быть разной для передних и задних колес.

Черт. 12

5.3. Масса

5.3.1. Эксплуатационная масса - масса базовой машины с порожним ковшом, с рабочим оборудованием, указанным изготовителем, с полностью заправленными топливным баком, гидросистемой, системами смазывания и охлаждения и с учетом массы оператора (75 кг).

5.3.2. Масса груженого скрепера - сумма эксплуатационной массы и массы номинального груза, указанной изготовителем.

5.3.3. Распределение массы по осям - масса, приходящаяся на каждую ось машины в порожнем и груженом состояниях.

5.3.4. Отгрузочная масса - масса базовой машины без оператора, с порожним ковшом, с полностью заправленными гидросистемой, системами смазывания и охлаждения, с 10 %-й заправкой топливного бака и либо с рабочим оборудованием, кабиной, навесом, устройствами ROPS (устройство защиты при опрокидывании) или FOPS (устройство защиты от падающих предметов), либо без них по указанию изготовителя.

5.3.5. Масса кабины, навеса, устройств ROPS или FOPS - масса кабины, навеса, устройств ROPS или FOPS со всеми их составными частями и элементами крепления к базовой машине.

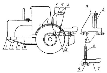
5.4. Наименования составных частей (см. номера позиций на черт. 13-15)

5.4.1. Наименования составных частей тягача (трактора)

Черт. 13

1 - бампер; 2 - буксирный крюк; 3 - нижний защитный лист картера; 4 - основная рама; 5 - крыло; 6 - шкворень сцепного устройства; 7 - сцепное устройство; 8 - палец шарнира поперечного качания; 9 - серьга сцепного устройства; 10 - палец шарнира продольного качания

Черт. 13 (продолжение)

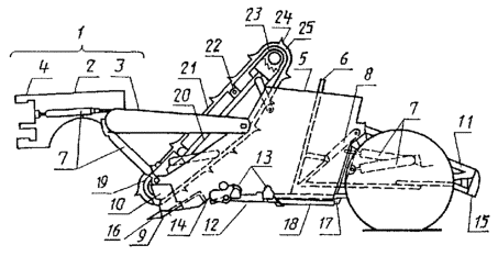
5.4.2. Наименования составных частей скрепера (см. номера позиций на черт. 14 и 15)

1 - тяговая рама; 2 - хобот; 3 - упряжная тяга; 4 - кронштейн поворотного шкворня; 5 - ковш; 6 - задняя стенка ковша; 7 - гидроцилиндр; 8 - рычаг задней стенки; 9 - режущий нож; 10 - подрезной нож; 11 - буферная рама; 12 - откатное днище; 13 - ролики днища; 14 - козырек; 15 - буфер; 16 - зуб; 17 - рычаг днища ковша; 18 - тяга днища ковша; 19 - нижняя звездочка; 20 - рама элеватора; 21 - цепь; 22 - промежуточный ролик; 23 - приводная звездочка; 24 - скребок; 25 - привод элеватора

Черт. 14

1 - тяговая рама; 2 - хобот; 3 - упряжная тяга; 4 - кронштейн поворотного шкворня; 5 - ковш; 6 - задняя стенка ковша; 7 - гидроцилиндр; 8 - рычаг задней стенки; 9 - режущий нож; 10 - подрезной нож; 11 - буферная рама; 12 - заслонка; 13 - тяга заслонки или ковша; 14 - рычаг заслонки или ковша; 15 - буфер

Черт. 15

6. ДОПОЛНИТЕЛЬНОЕ ОБОРУДОВАНИЕ

6.1. Определение

Сцепное устройство для совместного набора и раздельного транспортирования грунта - механизм, который позволяет одному самоходному скреперу способствовать загрузке ковша другого самоходного скрепера путем толкания или буксирования с использованием соединительных приспособлений, в число которых обычно входят толкающие плиты, крюк и скоба.

6.2. Наименования составных частей (см. номера позиций на черт. 16)

1 - передняя толкающая плита; 2 - скоба; 3 - опоры скобы; 4 - крюк

Черт. 16

7. ЭКСПЛУАТАЦИОННАЯ ТЕРМИНОЛОГИЯ

7.1. Мощность-нетто двигатели - по ИСО 1585.

7.2. Максимальные скорости движения - максимальные скорости, которые можно получить на твердой горизонтальной поверхности при движении скрепера с порожним ковшом на каждой из передач переднего и заднего хода (см. ИСО 6014).

7.3. Тяговое усилие на ведущих колесах - усилие в точке контакта шины с опорной поверхностью, приводящее самоходный скрепер в движение.

7.3.1. Тяговое усилие на ведущих колесах машины с механической трансмиссией - усилие, определяемое расчетом или измерениями при номинальной частоте вращения коленчатого вала и максимальном крутящем моменте двигателя на каждой передаче переднего хода. Максимальное тяговое усилие может быть ограничено массой машины и условиями сцепления шин с грунтом.

7.3.2. Тяговое усилие на ведущих колесах машины с гидромеханической, электрической или гидрообъемной трансмиссией - усилие, характеризуемое кривыми зависимости тягового усилия от скорости движения машины на каждой передаче переднего хода, полученными расчетом или измерением. Максимальное тяговое усилие может быть ограничено массой машины и условиями сцепления шин с грунтом.

7.4. Управляемость

7.4.1. Радиус поворота - по ГОСТ 27257-87

7.4.2. Габаритный диаметр поворота - по ГОСТ 27257-87

7.4.3. Ширина полосы безостановочного разворота - по ГОСТ 27257-87

7.5. Эффективность торможения - по ИСО 3450.

7.6. Масса номинального груза - указанная изготовителем масса, которую допускается перевозить в ковше скрепера.

8. ТЕХНИЧЕСКАЯ ХАРАКТЕРИСТИКА ДЛЯ КОММЕРЧЕСКОЙ ДОКУМЕНТАЦИИ, ВЫРАЖЕННАЯ В ЕДИНИЦАХ СИ (ПРИМЕРЫ)

8.1. Двигатель (привести характеристики)

Изготовитель и модель

С воспламенением от сжатия или с искровым зажиганием

Тактность (двух- или четырехтактный)

С естественным всасыванием, механическим наддувом или газотурбонаддувом

Число цилиндров

Диаметр цилиндра

Ход поршня

Рабочий объем цилиндров

Система охлаждения (воздушное или водяное)

Вид топлива

Мощность-нетто на маховике ... при ... об/мин

Максимальный крутящий момент ... при ... об/мин

Тип стартера

Напряжение в системе электрооборудования ... В

8.2. Трансмиссия (передняя и задняя) - указать тип

Примеры:

С ручным переключением, со сцеплением на маховике

С первопереключением, с гидротрансформатором

Объемная гидропередача

Электрическая трансмиссия

Число скоростей переднего и заднего хода

Скорости движения передним и задним ходом (следует привести график зависимости тягового усилия на ведущих колесах от скорости движения)

8.3. Ведущий мост (мосты) - указать тип

Примеры:

Управляемый

Жесткое крепление, балансирная и (или) упругая подвеска

Объемная гидропередача

Электрическая трансмиссия

Коническая главная передача

Дифференциал стандартный, самоблокирующийся с муфтой свободного хода, с механизмом блокировки

Планетарная конечная передача

8.4. Рулевое управление (указать тип) - по ГОСТ 27254-87

Примеры:

С поворотом одноосного тягача

С передними управляемыми колесами

С усилителем, ручное, с объемным гидроприводом

С силовым приводом

С объемным гидроприводом

Способ управления поворотом в аварийных условиях

8.4.1. Эффективность

Радиус поворота влево и вправо ...

Габаритный диаметр поворота машины ...

8.5. Тормоза

8.5.1. Рабочие тормоза

Примеры:

Тип (барабанные, дисковые, мокрые или сухие)

Система привода (механическая, пневматическая, гидравлическая, электрическая, комбинированная)

8.5.2. Стояночный тормоз (указать тип)

8.5.3. Резервные тормоза (указать тип)

8.5.4. Тормоз-замедлитель:

Тип

Система привода

8.5.5. Тормозная эффективность (см. ИСО 3450)

8.6. Шипы:

Тип и размер

Норма слойности

Размер обода

8.7. Гидросистема

8.7.1. Рабочие насосы:

Тип

Давление предохранительного клапана

Подача насоса ... при давлении ..., при номинальной частоте вращения двигателя

8.7.2. Гидромоторы:

Тип

Назначение

8.8. Механизм элеваторной загрузки

8.8.1. Тип привода:

Скорость

Число скребков

Размеры

8.9. Ковш (см. ГОСТ 27255-87 и ИСО 6485)

Номинальная вместимость, м3

Тип днища

Тип задней стенки

Тип заслонки

8.10. Режущий нож

Размеры

8.11. Заправочные емкости систем машины

Топливный бак

Картер двигателя

Система охлаждения

Трансмиссия

Дифференциал

Конечная передача

Гидросистема

8.12. Масса

Распределение эксплуатационной массы (порожнего скрепера):

передний мост; ведущий мост; задний мост

Общая эксплуатационная масса (порожнего скрепера)

Номинальный груз

Распределение массы груженого скрепера: передний мост; ведущий мост; задний мост

Общая масса груженого скрепера


ПРИЛОЖЕНИЕ А

Размерные характеристики. Условные обозначения, термины и определения

Условное обозначение

Термин

Определение

Схема

Н15

Высота скрепера

Расстояние по координате Z от опорной плоскости отсчета (GRP) до верхней точки скрепера с закрытой заслонкой для случая, когда режущий нож находится на GRP

Н16

Дорожный просвет под ножом в транспортном положении

Расстояние по координате Z от GRP до ножа при максимальном подъеме ковша скрепера

Н17

Максимальное заглубление ковша

Расстояние по координате Z от GRP до ножа при максимальном опускании ковша скрепера ниже GRP

L8

Колесная база скрепера

Расстояние по координате Х между двумя плоскостями X, проходящими через центры задних колес тягача и задних колес скрепера, режущий нож которого находится на GRP

L11

Габаритная длина скрепера

Расстояние по координате Х между двумя плоскостями X, проходящими через крайнюю переднюю точку тягача и крайнюю заднюю точку скрепера, режущий нож которого находится на GRP

W6

Ширина резания

Расстояние по координате Y между двумя плоскостями Y, проходящими через крайние боковые точки режущего ножа или подрезных ножей ковша

W7

Габаритная ширина скрепера

Расстояние по координате Y между двумя плоскостями Y, проходящими через крайние боковые точки скрепера


ПРИЛОЖЕНИЕ
Обязательное

ССЫЛОЧНЫЕ НОРМАТИВНО-ТЕХНИЧЕСКИЕ ДОКУМЕНТЫ

Раздел, подраздел, пункт, в котором приведена ссылка

Обозначение соответствующего стандарта ИCO

Обозначение отечественного нормативно-технического документа, на который дана ссылка

4.1

ИСО 6165

-

5.2

ИСО 6746/1

-

7.1

ИСО 1585

-

7.2

ИСО 6014

-

7.4.1-7.4.3

ИСО 7457

ГОСТ 27257-87

7.5; 8.5.5

ИСО 3450

-

8.4

ИСО 5010

ГОСТ 27254-87

8.9

ИСО 6484, ИСО 6485

ГОСТ 27255-87

ИНФОРМАЦИОННЫЕ ДАННЫЕ

1.  ВНЕСЕН Министерством строительного, дорожного и коммунального машиностроения СССР

2. Постановлением Государственного комитета СССР по стандартам от 18.12.87 № 4697 введен в действие государственный стандарт СССР ГОСТ 27536-87, в качестве которого непосредственно применен международный стандарт ИСО 7133-85, с 01.01.89

3. Введен впервые

СОДЕРЖАНИЕ

 




Rambler's Top100 Яндекс цитирования
  Copyright © 2008-2026, www.docload.ru