Бесплатная библиотека стандартов и нормативов www.docload.ru

Все документы, размещенные на этом сайте, не являются их официальным изданием и предназначены исключительно для ознакомительных целей.
Электронные копии этих документов могут распространяться без всяких ограничений. Вы можете размещать информацию с этого сайта на любом другом сайте.
Это некоммерческий сайт и здесь не продаются документы. Вы можете скачать их абсолютно бесплатно!
Содержимое сайта не нарушает чьих-либо авторских прав! Человек имеет право на информацию!

 

ГОСТ 28356-89

МЕЖГОСУДАРСТВЕННЫЙ СТАНДАРТ

ГИБКИЕ ПРОИЗВОДСТВЕННЫЕ СИСТЕМЫ

ГИБКИЕ ПРОИЗВОДСТВЕННЫЕ МОДУЛИ
ОКРАСОЧНЫЕ

ОСНОВНЫЕ РАЗМЕРЫ

Москва

Стандартинформ

2006

Содержание

МЕЖГОСУДАРСТВЕННЫЙ СТАНДАРТ

Гибкие производственные системы

ГИБКИЕ ПРОИЗВОДСТВЕННЫЕ МОДУЛИ
ОКРАСОЧНЫЕ

Основные размеры

Flexible manufacturing systems. Flexible manufacturing painting
modules.

Basic dimensions

ГОСТ
28356-89

Дата введения 01.01.91

Настоящий стандарт распространяется на вновь проектируемые гибкие производственные модули (далее - ГПМ), предназначенные для автоматического нанесения лакокрасочных покрытий методами пневматического и безвоздушного распыления. Стандарт не распространяется на ГПМ, проектируемые и изготавливаемые по разовым заказам и индивидуальным требованиям заказчика.

ГПМ могут эксплуатироваться автономно или в составе гибких производственных систем (ГПС), изготавливаемых для нужд народного хозяйства.

ГПМ для нанесения лакокрасочных покрытий включает следующие основные элементы: камера, робот (манипулятор), автоматический краскораспылитель, система передачи движения окрашиваемому изделию, система краскоподачи и подготовки воздуха, система управления работой установки, система управления краскораспылителем.

1. ОСНОВНЫЕ ПОЛОЖЕНИЯ

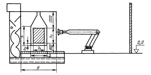
1.1. Стандарт устанавливает ряды значений основных размеров, характеризующих эксплуатационные свойства окрасочного оборудования проходного типа с непрерывно движущимся подвесным конвейером.

1.2. В качестве основных размеров приняты: b - ширина, h - высота транспортных проемов оборудования.

1.3. Расстояние от верхней точки габарита изделия (комплектовки) до нижней полки ригеля принимается для всех видов оборудования - 1320 мм.

В технически обоснованных случаях этот размер может быть изменен.

1.4. В ГПМ с заглубленной ванной расстояние от нижней точки изделия (комплектовки) до нулевой отметки принимается равным - 800 мм, а в ГПМ с ванной, расположенной на отметке 0.0 это расстояние равно - 1600 мм.

1.5. В качестве вспомогательных приняты следующие размеры:

В - расстояние между внутренними стенками оборудования;

h2 - расстояние от нижней точки изделия (комплектовки) до нижней плоскости транспортного проема.

1.6. Вспомогательные размеры установлены для различных видов оборудования в соответствии с их технологическими и конструктивными особенностями.

1.7. В качестве справочных данных приняты b1 ширина и h1 высота изделия (комплектовки).

2. РАЗМЕРЫ

2.1. Основные размеры ГПМ окрашивания распылением разных исполнений приведены в табл. 1 - 4.

2.2. Системы управления и гидростанция робота размещаются по планировочным решениям в соответствии с конкретными условиями и техническими возможностями в отдельном помещении категории «Д».

2.3. Размер В в ГПМ не учитывает габарит робота (манипулятора) при расположении его вне камеры.

2.4. Основные размеры ГПМ окрашивания распылением с экранным гидрофильтром, с роботом вне камеры, с заглубленной ванной должны соответствовать табл. 1, черт. 1.

Черт. 1

Таблица 1

мм

b

h

В

h2

b1

h1

600;

710

800

1800

100

400

630

900

710

1120

1000

1500

1320

1700

1600

2120

2000

900;

1000

800

2120;

2240

630;

710

630

900

710

1120

1000

1500

1320

1700

1600

2000

1900

2120

2000

1320

1120

2360;

2650

1000

1000

1500

1320

1700

1600

2000

1900

2120

2000

2650

2500

1800

1500

3000

200

1320

1320

1700

1600

2000

1900

2000;

2120

1900

3000;

3150

1600

1600

2000

1900

2360

2000

2800

2500

2360

1900

3350;

3550

1900;

2000

1600

2000

1900

2360

2000

2500

2240

2800

2500

2.5. Основные размеры ГПМ окрашивания распылением с экранным гидрофильтром, с роботом вне камеры, с ванной, расположенной на отметке 0.0, должны соответствовать табл. 2, черт. 2.

Черт. 2

Таблица 2

мм

b

h

В

h2

b1

h1

600;

710

800

1800

100

400

630

900

710

1120

1000

1500

1320

1700

1600

2120

2000

900;

1000

800

2120;

2240

630;

710

630

900

710

1120

1000

1500

1320

1700

1600

2000

1900

2120

2000

1320

1120

2360;

2650

1000

1000

1500

1320

1700

1600

2000

1900

2120

2000

2650

2500

1800

1500

3000

200

1320

1320

1700

1600

2000

1900

2000;

2120

1900

3000;

3150

1600

1600

2000

1900

2360

2000

2800

2500

2360

1900

3350;

3550

1900;

2000

1600

2000

1900

2360

2000

2500

2240

2800

2500

2.6. Основные размеры ГПМ окрашивания распылением с нижним отсосом и верхним притоком воздуха в камере, с двумя роботами в камере, с заглубленной ванной должны соответствовать табл. 3, черт. 3.

Черт. 3

Таблица 3

мм

b

h

h2

b1

h1

900;

1000

800

100

630;

710

630

900

710

1120

1000

1500

1320

1700

1600

2000

1900

2120

2000

1320

1120

1000

1000

1500

1320

1700

1600

2000

1900

2120

2000

2650

2500

1800

1500

200

1320

1320

1700

1600

2000

1900

2000;

2120

1900

1600

1600

2000

1900

2360

2000

2800

2500

2360

1900

1900;

2000

1600

2000

1900

2360

2000

2500

2240

2800

2500

2.7. Основные размеры ГПМ окрашивания распылением с нижним отсосом и верхним притоком воздуха в камере, с двумя роботами в камере, с ванной, расположенной на отметке 0.0, должны соответствовать табл. 4, черт. 4.

Черт. 4

Таблица 4

мм

b

h

h2

b1

h1

900;

1000

800

100

630;

710

630

900

710

1120

1000

1500

1320

1700

1600

2000

1900

2120

2000

1320

1120

1000

1000

1500

1320

1700

1600

2000

1900

2120

2000

2650

2500

1800

1500

200

1320

1320

1700

1600

2000

1900

2000;

2120

1900

1600

1600

2000

1900

2360

2000

2800

2500

2360

1900

1900;

2000

1600

2000

1900

2360

2000

2500

2240

2800

2500

ИНФОРМАЦИОННЫЕ ДАННЫЕ

1. РАЗРАБОТАН И ВНЕСЕН Министерством химического и нефтяного машиностроения

РАЗРАБОТЧИКИ

А.П. Старостин, А.Г. Рытьков, М.Е. Аршавский (руководитель темы); И.И. Винникова, Е.И. Карабанов

2. УТВЕРЖДЕН И ВВЕДЕН В ДЕЙСТВИЕ Постановлением Государственного комитета СССР по управлению качеством продукции и стандартам от 05.12.89 № 3557

3. Срок проверки - 1995 г., периодичность проверки - 5 лет

4. ВВЕДЕН ВПЕРВЫЕ

5. ПЕРЕИЗДАНИЕ. Ноябрь 2005 г.




Rambler's Top100 Яндекс цитирования
  Copyright © 2008-2026, www.docload.ru