Бесплатная библиотека стандартов и нормативов www.docload.ru

Все документы, размещенные на этом сайте, не являются их официальным изданием и предназначены исключительно для ознакомительных целей.
Электронные копии этих документов могут распространяться без всяких ограничений. Вы можете размещать информацию с этого сайта на любом другом сайте.
Это некоммерческий сайт и здесь не продаются документы. Вы можете скачать их абсолютно бесплатно!
Содержимое сайта не нарушает чьих-либо авторских прав! Человек имеет право на информацию!

 

ГОСТ 9620-94

МЕЖГОСУДАРСТВЕННЫЙ СТАНДАРТ

ДРЕВЕСИНА СЛОИСТАЯ КЛЕЕНАЯ

ОТБОР ОБРАЗЦОВ
И ОБЩИЕ ТРЕБОВАНИЯ ПРИ ИСПЫТАНИИ

МЕЖГОСУДАРСТВЕННЫЙ СОВЕТ
ПО СТАНДАРТИЗАЦИИ, МЕТРОЛОГИИ И СЕРТИФИКАЦИИ

Минск

ПРЕДИСЛОВИЕ

1. РАЗРАБОТАН Международным техническим комитетом по стандартизации «Фанера и фанерные изделия» МТК 67.

ВНЕСЕН Госстандартом Российской Федерации.

2. ПРИНЯТ Межгосударственным Советом по стандартизации, метрологии и сертификации (протокол № 6-94 от 21 октября 1994 г.)

За принятие проголосовали

Наименование государства

Наименование национального органа по стандартизации

Азербайджанская Республика

Азгосстандарт

Республика Армения

Армгосстандарт

Республика Беларусь

Белстандарт

Республика Грузия

Грузстандарт

Республика Казахстан

Госстандарт Республики Казахстан

Киргизская Республика

Киргизстандарт

Республика Молдова

Молдовастандарт

Российская Федерация

Госстандарт России

Республика Узбекистан

Узгосстандарт

Украина

Госстандарт Украины

3. Постановлением Комитета Российской Федерации по стандартизации, метрологии и сертификации от 16.02.95 № 66 Межгосударственный стандарт ГОСТ 9620-94 введен в действие непосредственно в качестве государственного стандарта Российской Федерации с 1 января 1996 г.

4. ВЗАМЕН ГОСТ 9620-72.

Содержание

ГОСТ 9620-94

МЕЖГОСУДАРСТВЕННЫЙ СТАНДАРТ

ДРЕВЕСИНА СЛОИСТАЯ КЛЕЕНАЯ

Отбор образцов и общие требования при испытании

Laminated glued wood.
Sampling and general requirements in testing.

Дата введения 1996-01-01.

Настоящий стандарт распространяется на фанеру, фанерные и столярные плиты, древесные слоистые пластики и устанавливает методы отбора образцов и общие требования при испытании.

1а. НОРМАТИВНЫЕ ССЫЛКИ

В настоящем стандарте использованы ссылки на следующие стандарты:

ГОСТ 6507-90 Микрометры. Технические условия;

ГОСТ 11358-89 Толщиномеры и стенкомеры индикаторные с ценой деления 0,01 и 0,1 мм. Технические условия;

ГОСТ 16483.0-89 Древесина. Общие требования к физико-механическим испытаниям.

1. ОТБОР ОБРАЗЦОВ

1.1. Количество листов или плит, отбираемых для физико-механических испытаний, устанавливают в соответствии с требованиями стандартов, на продукцию и технической документации, утвержденной в установленном порядке.

1.2. От каждого листа или плиты, отобранных для физико-механических испытаний, обрезают полосы вдоль волокон наружных слоев в количестве:

3 - 5 полос - от листов (плит) длиной 700 - 1200 мм;

2 полосы - от листов (плит) длиной 1500 - 2300 мм;

1 полосу - от листов (плит) длиной 2400 мм и более.

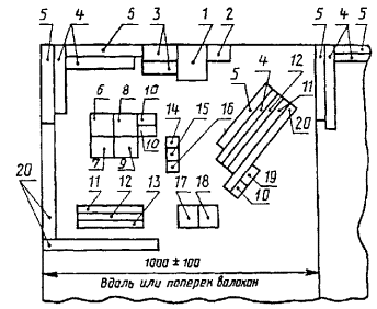
1.3. Для проведения испытаний на формоустойчивость после отбора полос, указанных на чертеже 1, вырезают полосу шириной 300 мм.

1.4. Отбор образцов производят из середины и краев полосы. Образцы вырезают вдоль, поперек и под углом 45° к направлению наружного слоя. Направление волокон древесины в наружных слоях образцов определяется стандартами на продукцию и методы испытаний.

1.5. Образцы для физико-механических испытаний вырезают в соответствии с чертежом 1. Образцы для испытаний фанеры и столярной плиты вырезают из полос листа (плиты), расположенных на расстоянии не менее 50 мм от краев листа (плиты). Допускается иное расположение образцов в полосе, если количество видов испытаний отличается от указанного на чертеже.

1.6. Количество образцов, изготовляемых из каждого листа фанеры или столярной плиты на каждый вид испытаний, должно быть не менее 5, а для определения влажности - не менее 3.

1.7. Для каждого вида испытаний древесного слоистого пластика и фанерных плит от каждой полосы листа (плиты) длиной от 700 до 1500 мм отбирают по 3 образца, длиной 2400 мм и более - 6 образцов.

2. ПОДГОТОВКА К ИСПЫТАНИЯМ

2.1. Образцы должны быть изготовлены с гладкими параллельными и взаимно перпендикулярными кромками и не должны иметь в наружных слоях пороков древесины и дефектов обработки.

2.2. Форма и размеры образцов для каждого вида испытаний указаны в стандарте для данного вида испытания.

2.3. Отклонения от номинальных размеров по длине и ширине образца из фанеры и столярной плиты не должны превышать 0,5 мм, из древесных слоистых пластиков и фанерных плит - ± 0,1 мм. Отклонения по длине образца, длиной более 100 мм, не должны быть более 1 мм. Если толщина образца равна толщине продукции, то отклонение образцов по толщине не должно превышать допускаемых отклонений по толщине продукции.

2.4. До проведения испытаний образца фанеры и столярных плит (кроме образцов для определения влажности и влажных образцов для определения предела прочности при скалывании по клеевому слою) их кондиционируют до нормализованной влажности при влажности воздуха (65 ± 5) % и температуре (20 ± 2) °С. Окончание кондиционирования устанавливают по изменению массы двух - трех контрольных образцов повторными взвешиваниями через каждые 24 ч. Кондиционирование прекращают, когда разница между последовательными взвешиваниями будет не более 0,1 % массы образца. Влажность образцов в момент испытаний должна соответствовать нормализованной или установленной в нормативно-технической документации на конкретную продукцию.

2.5. Взвешивание и измерение образцов для каждого вида испытания должно производиться по методике, установленной в стандарте для данного вида испытания.

1 - образец для определения плотности; 2 - образец для определения влажности; 3 - образцы для определения предела прочности при скалывании по клеевому слою; 4 - образцы для определения предела прочности при статическом изгибе (вдоль волокон, поперек и под углом 45°); 5 - образцы для определения предела прочности при растяжении (вдоль волокон, поперек и под углом 45°); 6, 7 - образцы для определения водопоглощения, влагопоглощения и объемного разбухания; 8 - образцы для определения предела прочности при скалывании по древесине; 9 - образцы для определения изменения размеров в зависимости от относительной влажности воздуха; 10 - образцы для определения модуля упругости при сжатии; 11 - образцы для определения модуля упругости при статическом изгибе; 12 - образцы для определения модуля упругости при растяжении; 13 - образцы для определения ударной вязкости; 14 - образец для определения водостойкости; 15 - образец для определения твердости; 16 - образец для определения светостойкости; 17 - образец для определения маслостойкости; 18 - образец для определения теплостойкости; 19 - образец для определения предела прочности при сжатии; 20 - образцы для определения способности к изгибу

Черт. 1.

3. АППАРАТУРА

3.1. Для измерения толщины образцов должны применяться микрометры по ГОСТ 6507, толщиномеры по ГОСТ 11358 с точностью измерения не менее 0,10 мм или приборы с неподвижной базовой поверхностью, площадь соприкосновения которой с образцом должна составлять (2,00 ± 0,04) см2 и подвижной измерительной головкой с радиусом закругления 6,0 мм. Прижим подвижной головки к образцу должен производиться с равномерным усилием, не превышающим 2 Н. Шкала прибора должна позволять производить отсчет с точностью не менее 0,1 мм. Измерение толщины образца допускается производить трехточечным толщиномером с тремя опорными поверхностями, расположенными по углам равностороннего треугольника и с трехточечной измерительной головкой, закрепленной на циферблатном индикаторе. Поверхности соприкосновения головок и опор должны быть закругленными с радиусом закругления 6,0 мм. Усилие прижима в точках измерения должно составлять (0,75 ± 0,25) Н. Толщину образцов измеряют с погрешностью не менее 0,1 мм.

3.2. Длину и ширину образцов измеряют штангенциркулем по ГОСТ 166 или другим прибором с точностью до 0,1 мм. Измерение производят, с погрешностью не более 0,1 мм. Количество и места расположения точек, в которых производят измерение образцов, устанавливают в стандартах на методы испытаний.

3.3. Механические испытания образцов должны производиться на испытательных машинах с точностью измерения нагрузки не менее 1 %.

3.4. Максимальную нагрузку при испытании отсчитывают с погрешностью не более:

 

10 Н при нагрузке до 5000 Н

50 Н                             10000 Н

100 Н                           50000 Н

250 Н                           100000 Н

4. ОЦЕНКА РЕЗУЛЬТАТОВ ИСПЫТАНИЙ

4.1. Для оценки результатов испытаний каждого листа фанеры или столярной плиты определяют среднее арифметическое результатов показателей испытываемого свойства всех образцов, вырезанных из этого листа.

4.2. За оценку результатов испытания фанерных плит и древесных слоистых пластиков принимают показатель каждого образца.

4.3. Для оценки результатов испытания партии конкретной продукции определяют выборочное среднее арифметическое показателей испытываемого свойства.

4.4. Дальнейший анализ результатов проводят с учетом использованного метода случайного отбора образцов по ГОСТ 16483.0.

4.5. Отчет об испытании конкретной продукции должен содержать следующие данные:

наименование предприятия - изготовителя и дату изготовления;

вид и объем испытываемого материала (порода древесины, размеры, марка, объем партии, количество листов (плит), сведения об отборе образцов и др.);

вид и условия испытания (направление приложения нагрузки, продолжительность нагружения и др.);

количество испытанных образцов;

результаты испытания и их статистические величины;

дату проведения испытания;

наименование организации, проводившей испытание;

обозначение стандарта, по которому проводилось испытание.

 

Ключевые слова: древесина слоистая клееная, отбор образцов, аппаратура, оценка результатов

 




Rambler's Top100 Яндекс цитирования
  Copyright © 2008-2026, www.docload.ru