|
|
ГОСУДАРСТВЕННЫЙ СТАНДАРТ
СОЮЗА ССР ЕДИНАЯ СИСТЕМА
КОНСТРУКТОРСКОЙ ДОКУМЕНТАЦИИ ПРАВИЛА ВЫПОЛНЕНИЯ
ЧЕРТЕЖЕЙ РАЗЛИЧНЫХ ИЗДЕЛИЙ ПРАВИЛА ВЫПОЛНЕНИЯ ЧЕРТЕЖЕЙ ГОСТ 2.411-72 МОСКВА - 1998 ГОСУДАРСТВЕННЫЙ СТАНДАРТ СОЮЗА ССР
Постановлением Государственного комитета
стандартов Совета Министров СССР от 30 октября 1972 г. № 1998 срок введения
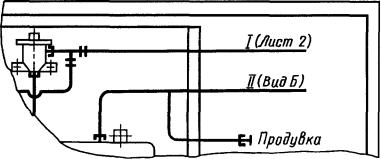
установлен с 01.01.74 1. Настоящий стандарт устанавливает правила выполнения чертежей труб (деталей и сборочных единиц), трубопроводов и трубопроводных систем для всех отраслей промышленности. Стандарт не распространяется на чертежи энергетических, теплотехнических, санитарно-технических и тому подобных коммуникаций, не входящих в комплект конструкторской документации изделия. 2. Чертежи труб, трубопроводов и трубопроводных систем должны быть выполнены в соответствии с требованиями стандартов Единой системы конструкторской документации и настоящего стандарта. 3. На чертеже трубы при одинаковой разделке ее концов наносят соответствующие размеры и обозначения шероховатости поверхностей только на одном конце трубы (черт. 1). Черт. 1 4. На чертеже трубы серийного производства допускается не наносить размеры, определяющие конфигурацию трубы; в документации изделия приводят указания об изготовлении трубы по образцу или шаблону, при этом образец или шаблон прилагают к комплекту документации, передаваемой в производство. 5. Размер трубы проставляют от оси трубы либо от наружных или внутренних поверхностей (черт. 2а, б, в). 6. На сборочных и монтажных чертежах допускается: а) изображать трубу (трубопровод) условно одной линией толщиной 2s ... 3s (черт. 3); б) при условном изображении трубы (трубопровода) применять условное обозначение по ГОСТ 2.784-96 и ГОСТ 2.785-70 и изображать трубу с разрывом, как показано на черт. 3; Черт. 2 Черт. 3 в) изображать трубу (трубопровод) двумя линиями без осевой (черт. 4) или наносить осевую на коротком участке изображения трубы; г) изображать одной линией несколько трубопроводов, идущих рядом, если их взаимное расположение безразлично. Правила, указанные в настоящем пункте, не применяют в сечениях, разрезах и выносных элементах, изображающих трубы и трубопроводы. Черт. 4 7. Две перекрещивающиеся трубы (трубопровода), каждая из которых изображена условно (или группы трубопроводов, изображенных одной линией), изображают на чертеже в соответствии с требованиями ГОСТ 2.784-96, причем с «дугой» должен изображаться трубопровод, проходящий сверху (черт. 5). Черт. 5 Когда взаимное расположение перекрещивающихся труб (трубопроводов) безразлично, их изображают согласно черт. 6. Черт. 6 8. Для более рационального использования поля чертежа допускается условно смещать отдельные участки изображения труб (трубопроводов), соединяя их тонкой волнистой линией, как показано на черт. 7. Черт. 7 9. Линию, изображающую трубу (трубопровод) и переходящую с одного вида (или листа) на другой, обрывают (предпочтительно за пределами очертаний изделия). Обрыв обозначают римской цифрой и указывают обозначение вида (листа), на котором изображено продолжение трубы (трубопровода) (см. черт. 5). 10. На сборочном чертеже единичного или вспомогательного производства, в спецификации которого трубы записаны как материал, допускается швы сварных соединений в стыках труб одного диаметра на изображении не отмечать линиями-выносками и не обозначать, а все указания о сварке приводить на выносном элементе (см черт. 3) или в технических требованиях чертежа в соответствии с ГОСТ 2.312-72. 11. Допускается на чертежах наносить у изображений труб (трубопроводов) номера, присвоенные им в схемах (см. черт. 6). 12. На чертеже трубопровода (трубопроводной системы) при необходимости помещают таблицу соединений, в которой указывают адреса присоединений, номера позиций и (или) номера труб (трубопроводов). Таблицу соединений помещают на первом листе чертежа или выполняют на последующих его листах. Форма таблицы настоящим стандартом не регламентируется. Если трубы внесены в спецификацию как материал, то в таблице допускается указывать длину, условный проход, наименование материала и т.д. 13. На поле чертежа допускается помещать принципиальную схему или схему соединений трубопровода (трубопроводной системы), если она не выполнена в виде самостоятельного документа. 14. В случаях, когда составные части трубопроводной системы расположены на «стенках», находящихся в разных плоскостях, допускается изображать «стенки» развернутыми в плоскости чертежа, при этом у соответствующего места изображения помещают надпись: «Стенка развернута». 15. На чертеже трубопровода (трубопроводной системы) на изображениях составных частей или на полках линий-выносок допускается наносить поясняющие надписи, например: «Слив», «Продувка», «В бак» и т.д. (см. черт. 5). 16. Чертеж изделия, в которое трубопроводная система (системы) входит в качестве составной части, выполняют в одном из следующих вариантов: А - для изготовления изделия, сборку которого целесообразно производить по одному и тому же чертежу, выпускают сборочный чертеж в соответствии с требованиями ГОСТ 2.109-73 и настоящего стандарта; Б - для изготовления изделия, сборку которого целесообразно производить по одному и тому же чертежу, на составные части, не входящие непосредственно в трубопроводную систему, оформляют свою конструкторскую документацию, при этом составные части входят в изделие в виде самостоятельной сборочной единицы, изображаемой на сборочном чертеже изделия сплошной тонкой линией по контуру; В - для изготовления изделий индивидуального и вспомогательного производства допускается выпускать сборочный чертеж, на котором составные части трубопроводной системы (или некоторые из них) не изображают, но записывают в спецификацию изделия на общих основаниях. В технических требованиях чертежа помещают ссылку на принципиальную схему или схему соединений типа: «Монтаж трубопроводной системы по ХХХ.ХХХХХХ.ХХХПЗ». 17. При необходимости допускается выпуск монтажного чертежа по правилам ГОСТ 2.109-73 с учетом положений настоящего стандарта. |
|
|
|
|