Бесплатная библиотека стандартов и нормативов www.docload.ru

Все документы, размещенные на этом сайте, не являются их официальным изданием и предназначены исключительно для ознакомительных целей.
Электронные копии этих документов могут распространяться без всяких ограничений. Вы можете размещать информацию с этого сайта на любом другом сайте.
Это некоммерческий сайт и здесь не продаются документы. Вы можете скачать их абсолютно бесплатно!
Содержимое сайта не нарушает чьих-либо авторских прав! Человек имеет право на информацию!

 

МИНИСТЕРСТВО ВНУТРЕННИХ ДЕЛ РОССИЙСКОЙ ФЕДЕРАЦИИ

ГОСУДАРСТВЕННАЯ ПРОТИВОПОЖАРНАЯ СЛУЖБА

НОРМЫ ПОЖАРНОЙ БЕЗОПАСНОСТИ

КОНСТРУКЦИИ СТРОИТЕЛЬНЫЕ.

МЕТОДЫ ИСПЫТАНИЙ
НА ОГНЕСТОЙКОСТЬ КАБЕЛЬНЫХ ПРОХОДОК
И ГЕРМЕТИЧНЫХ КАБЕЛЬНЫХ ВВОДОВ

Building construction.
Test methods on Fire-hardeninq of cable
Fire Breans and Hermetic cable connectors

НПБ 237-97

Разработаны Всероссийским научно-исследовательским институтом противопожарной обороны (ВНИИПО) МВД России.

Внесены и подготовлены к утверждению нормативно-техническим отделом Главного управления Государственной противопожарной службы (ГУГПС) МВД России.

Утверждены главным государственным инспектором Российской Федерации по пожарному надзору.

Введены в действие приказом ГУГПС МВД России от 31.07.1997 г. № 48.

Дата введения в действие 01.09.1997 г.

1. Область применения

1.1. Настоящие нормы регламентируют методы испытаний конструкций электрических кабельных проходок и герметичных кабельных вводов на огнестойкость.

1.2. Методы испытаний распространяются на:

электрические кабельные проходки через стены и перегородки;

проходки кабелей через перекрытия;

герметичные кабельные вводы.

1.3. Определение предела огнестойкости проходок производится при проведении сертификационных испытаний, разработке и постановке продукции на производство (квалификационные и приемо-сдаточные испытания), заключении контрактов и поставке в Россию импортных образцов герметичных кабельных вводов, конструкций и материалов кабельных проходок, изготовленных по зарубежным стандартам, а также при внесении изменений в ТУ и технологические регламенты на рецептуру заделочного материала и конструкцию самой проходки

2. Нормативные ссылки

В настоящих нормах приведены ссылки на следующие стандарты:

ГОСТ 30247.0-94. Конструкции строительные. Методы испытаний на огнестойкость. Общие требования;

ГОСТ 30247.1-94. Конструкции строительные. Методы испытаний на огнестойкость. Несущие и ограждающие конструкции;

ГОСТ 12176-89 (СТ СЭВ 2781-80, СТ СЭВ 6456-88). Кабели, провода и шнуры. Методы проверки на нераспространение горения;

ГОСТ 15.001-88. Разработка и постановка продукции на производство. Основные положения;

Правила устройства электроустановок (6 изд.);

ГОСТ Р 50571.1-93. Электроустановки зданий. Основные положения.

3. Определения

Кабельная проходка - изделие или сборная конструкция, предназначенные для прохода электрических кабелей (кабельных линий) через стены, перегородки и перекрытия и включающие в себя заделочные материалы и (или) сборные элементы, закладные детали (трубы, короба, лотки и т.п.) и кабельные изделия.

Герметичный кабельный ввод - кабельная проходка (изделие), обеспечивающая герметичное прохождение электрических проводников через стены, перегородки и перекрытия.

Допустимый длительный ток для кабеля - по ГОСТ Р 50571.1-93.

Коэффициент снижения допустимого длительного тока - отношение величины допустимого длительного тока для кабеля, находящегося в проходке, к величине допустимого длительного тока для этого же кабеля.

4. Стендовое оборудование

4.1. Испытательная печь должна обеспечивать возможность испытания образцов конструкций проектных проходок и отвечать требованиям ГОСТ 30247.0-94 в той части, которая не затрагивает специфику испытания кабельных проходок.

4.2. В случаях, если образцы проходок проектных размеров испытать не представляется возможным, используется печь, регламентированная настоящими нормами, в которой обеспечиваются условия теплового воздействия на образцы в соответствии с температурным режимом по ГОСТ 30247.0-94 (далее по тексту ¾ стандартный температурный режим).

4.3. Стендовое оборудование (рис. 1) включает в себя:

испытательную печь (5) с системами подачи топлива, его сжигания и создания избыточного давления; при необходимости (для поддержания требуемого температурного режима) допускается использование электрических нагревателей;

системы измерения и регистрации электрических параметров, температурного режима и избыточного давления в печи и герметичных кабельных вводах.

Рис. 1. Схема экспериментальной установки:

1 - испытуемые образцы электрических кабелей; 2 - кабельная проходка; 3 - газовая горелка; 4 - баллон с газом; 5 - корпус нагревательной камеры; 6 - карбидокремниевые стержни

4.4. Внутренние размеры нагревательной камеры должны быть не менее: длина (710 ± 20) мм, ширина (840 ± 20) мм, высота (850 ± 20) мм.

Проем в торце камеры размером не менее 400´400 мм служит для установки образцов проходок и должен располагаться в зоне давления не менее (10 ± 2) Па.

Нагревательная камера сверху закрывается металлической крышкой с теплоизолирующей прокладкой, которая при испытаниях вертикальных проходок заменяется на плиту с проемом не менее 400´400 мм.

(Измененная редакция. Изм. № 1).

4.5. Стандартный температурный режим в печи может создаваться комбинированным нагревом: излучением от карбидокремниевых электронагревателей (6), включенных в электросеть 380 В, и тепловыделением от регулируемой газовой горелки (3). Поддержание стандартного температурного режима достигается изменением расхода газа, подаваемого в газовую горелку.

Плоскости, в которых размещены электронагреватели, удалены от ближайших кабелей на расстояние не менее (200 ± 20) мм каждая. Газовая горелка установлена в середине пола камеры.

(Измененная редакция. Изм. № 1).

При испытании проходок, у которых объем содержащихся в кабелях горючих материалов составляет не менее 3,5 г на один метр прокладки (категория В по ГОСТ 12176-89), увеличение температуры, фиксируемой отдельными печными термопарами, по сравнению со стандартным температурным режимом после 10 мин испытания не должно превышать 200 °С.

4.6. Для измерения температуры нагрева элементов кабельной проходки используют ХА-термоэлектрические преобразователи с диаметрами электродов от 0,5 до 0,75 мм.

Места установки термопар указаны в пп. 5.12, 5.13.

4.7 Приборы для регистрации температур должны обеспечивать непрерывную или дискретную регистрацию параметра с интервалом не более 60 с, иметь класс точности не более 1 и диапазон измерений от 0 до 1300 оС.

4.8. Для определения потери целостности заделочного материала проходки используют тампон из хлопка (по ГОСТ 30247.0-94).

4.9. Приборы и оборудование, используемые при определении коэффициента снижения допустимого длительного тока нагрузки для кабелей в проходке, указаны в прил. 1, для герметичных вводов, - в прил. 2.

(Измененная редакция. Изм. № 1).

4.10. Калибровка стендового оборудования проводится при аттестации и заключается в достижении в экспериментальной камере условий, необходимых для проведения испытаний. Калибровка осуществляется в соответствии с ГОСТ 30247.0-94.

Калибровочный образец кабельной проходки должен быть выполнен в виде железобетонного параллелепипеда с размерами не менее 400´400´300 мм с двумя закладными стальными трубами внутренним диаметром от 80 до 100 мм или прямоугольным проемом с размерами не менее 250´250 мм и проложенными в них кабелями из номенклатуры, указанной в прил. 3.

(Измененная редакция. Изм. № 1).

5. Подготовка к испытаниям

5.1. Кабельные проходки, поставляемые заказчиком в виде готовых изделий, должны сопровождаться актом приемки, проектом технических условий и выборкой из конструкторской документации (чертежи общего вида и спецификация применяемых материалов).

Для проходок, изготавливаемых на объекте в процессе монтажа кабельной линии, на испытания поставляются материалы заделки, огнезащитные покрытия и уплотнители, входящие в конструкцию проходки, с актами отбора образцов, ТУ на их применение и технологическим оборудованием для их изготовления.

5.2. Предусматриваются два вида испытаний кабельных проходок.

5.2.1. Испытания проектных (выполненных по конкретному проекту) проходок, для которых определены размеры, вид заделочного материала, марки кабелей и способы их прокладки: в трубах, на лотках, в проеме и др.

5.2.2. Сравнительные испытания проходок - испытания новых видов заделочных материалов в проходке, основу конструкции которой составляет железобетонный блок. Типы прокладываемых кабелей регламентированы настоящими нормами (пп. 5.4, 5.5 и прил. 3).

(Измененная редакция. Изм. № 1).

5.3. В тех случаях, когда образцы проходок проектных размеров испытать не представляется возможным, испытания проводят на фрагментах этих проходок размерами по периметру не менее 400´400 мм и толщиной в соответствии с проектной документацией.

(Измененная редакция. Изм. № 1).

5.4. В проходках (п. 5.2.1) должны быть проложены кабели марок, предусмотренных проектом на кабельную линию.

При сравнительных испытаниях проходок с новыми видами заделочных материалов (п. 5.2.2) используют кабели силовые напряжением от 0,66 до 35 кВ, контрольные и связи с медными или алюминиевыми жилами, в том числе:

а) кабели с пропитанной бумажной изоляцией (ГОСТ 18410-73), с сечением токопроводящих жил от 50 до 120 мм2;

б) кабели с изоляцией из поливинилхлорида (ПВХ) в ПВХ-оболочке напряжением от 0,66 до 3 кВ (ГОСТ 16442-80), с сечением токопроводящих жил от 50 до 150 мм2;

в) кабели с резиновой изоляцией в резиновой оболочке напряжением 0,66 кВ (ГОСТ 433-79), с сечением токопроводящих жил от 50 до 240 мм2;

г) кабели с изоляцией из сшитого полиэтилена напряжением от 1 до 10 кВ, с сечением токопроводящих жил от 50 до 120 мм2;

д) кабели контрольные (пучки) (ГОСТ 1508-78) с сечением токопроводящих жил от 2,5 до 6 мм2, диаметр пучка до 100 мм;

е) кабели связи (пучки) с количеством пар токопроводящих жил 50´2 (ГОСТ 12100-73).

Если при проведении испытаний предусмотрена проверка проходок только одного вида, то должна быть использована комбинация кабелей: "а", "б", "д".

В тех случаях, когда предусмотрена прокладка кабелей только одной марки, используются кабели "а".

Кабели "г" и "е" имеют специфическое назначение и используются при испытании проходок в тех случаях, когда их применение предусмотрено проектом на кабельную линию.

5.5. Марки кабелей (п. 5.4) приведены в прил. 3. Допускается замена типоразмеров и марок отечественных электрических кабелей типоразмерами кабелей зарубежного производства, имеющих аналогичную конструкцию и характеристики пожарной опасности (распространение горения - ГОСТ 12176-89; кислородный индекс изоляционных материалов - ГОСТ 12.1.044-89).

5.6. Длина выходящих из проходки кабелей с обеих сторон должна быть не менее 0,5 м.

5.7. При испытании кабельных проходок, не содержащих закладных деталей, расстояние между силовыми кабелями должно равняться половине их диаметра.

(Измененная редакция. Изм. № 1).

5.8. Изготовленные образцы проходок проверяются посредством внешнего осмотра на отсутствие механических повреждений, контролируется качество заделки проводов и кабелей в проходке.

Проверенные образцы перед испытанием не менее 3 ч выдерживают при температуре (20 ± 15) °C.

5.9. Герметичные кабельные вводы перед их испытаниями дополнительно проверяют на герметичность и целостность вмонтированных в них электрических проводов и кабелей (прил. 2).

5.10. Все виды кабельных проходок, как правило, испытывают на двух образцах.

Допускается проводить испытания на одном образце каждого вида кабельной проходки, кроме проходок, предназначенных для установки на АЭС и других особо важных объектах.

Конструкции проходок, выдержавшие испытания только в горизонтальном положении, могут быть использованы только в горизонтальных кабельных проходках.

Вертикальные кабельные проходки при испытании должны обогреваться с нижней стороны, в необходимых случаях* свойства проходки должны быть изучены и при нагреве ее сверху.

* Вертикальные проектные проходки с большой пожарной нагрузкой в верхней части проходки за перекрытием.

Кабельные проходки с асимметричной заделкой** кабелей в трубах (коробах, лотках) испытываются при обогреве с каждой стороны.

** Проходки, у которых заделочный материал расположен с одной стороны проходки (обычно от 0,5 до 0,7 от ее толщины).

При исследованиях на стадии разработки новых видов заделочных материалов допускается проводить испытания на одном образце.

(Измененная редакция. Изм. № 1).

5.11. Герметичные кабельные вводы, как правило, испытывают в горизонтальном положении (прил. 2).

(Измененная редакция. Изм. № 1).

5.12. Для проходок, выполненных в бетонных модулях с закладными металлическими трубами, коробами и лотками, термопары устанавливают на необогреваемой поверхности заделочных материалов, а также на стенках труб, коробов и лотков в (5 ± 1) мм от материала заделки. Крепление термопар осуществляют зачеканиванием в отверстиях, изоляционной лентой и другими способами.

5.13. На кабельных изделиях в необогреваемой зоне проходки термопары устанавливают:

на оболочке кабеля (одиночного, на поверхности пучка и в его середине) на расстоянии (5 ± 1) мм от материала заделки.

(Измененная редакция. Изм. № 1).

6. Проведение испытаний

6.1. (Исключен. Изм. № 1).

6.2. Условия проведения испытаний:

температура окружающей среды - от 10 до 30 °С;

относительная влажность воздуха - от 40 до 80 %;

атмосферное давление - от 84 до 106 кПа.

6.3. Измерение температур нагрева элементов проходки.

6.3.1. В процессе испытаний фиксируют температуры нагрева конструктивных элементов проходки (лотков, коробов, труб и. т.п.), кабелей и визуальные признаки изменения состояния кабельных оболочек и материала заделки. Места установки термопар и способы их крепления - по пп. 5.12, 5.13.

6.3.2. При испытаниях новых видов заделочных материалов определяют среднюю температуру необогреваемой поверхности материала кабельной проходки как среднеарифметическое не менее чем пяти показаний термопар, одну из которых располагают в центре, а остальные - в середине прямых, соединяющих центр и углы проходки. Термопары крепят путем внедрения спая в материал заделки на глубину (2 ± 1) мм.

6.4. Проверка целостности материала заделки.

Потеря целостности материала заделки (Е) по п. 4.8.

7. Предельные состояния

7.1. При испытании кабельных проходок на огнестойкость различают следующие предельные состояния (ГОСТ 30247.1-94).

7.1.1. Потеря теплоизолирующей способности (I) вследствие повышения температуры на необогреваемой поверхности заделочного материала выше 140 °С.

(Измененная редакция. Изм. № 1).

7.1.2. Потеря целостности материала заделки (Е) в результате образования в конструкции проходки сквозных трещин или отверстий, через которые на необогреваемую поверхность проникают продукты горения и пламя.

7.1.3. Достижение критической температуры нагрева материала оболочек кабелей в необогреваемой зоне проходки (Т), составляющей:

для ПВХ                        145 °С;

для резины                   120 °С;

для полиэтилена          110 °С.

7.1.4. Обозначение предела огнестойкости кабельной проходки состоит из условных обозначений нормируемых предельных состояний и цифры, соответствующей времени достижения одного из этих состояний (первого по времени) в минутах.

7.1.5. При составлении протокола испытаний и оформлении сертификата следует указывать предельное состояние, по которому установлен предел огнестойкости проходки.

Примеры:

IТ90 - потеря теплоизолирующей способности и достижение критической температуры для оболочек кабелей, предел огнестойкости кабельной проходки (материала заделки и оболочек кабеля) 90 мин;

IЕ90/Т60 - потеря теплоизолирующей способности и целостности заделочного материала, предел огнестойкости 90 мин / достижение критической температуры нагрева оболочек кабеля, предел огнестойкости 60 мин.

8. Оценка результатов испытаний

Результаты испытаний оценивают по ГОСТ 30247.0-94 и настоящим нормам.

Результаты испытаний проходок с трубной прокладкой кабелей могут быть использованы для испытаний проходок с трубами большего диаметра, если внутренние диаметры труб отличаются не более чем в 1,5 раза.

Результаты испытаний проходок с трубами большего диаметра не могут быть использованы для оценки предела огнестойкости проходок с трубами меньшего диаметра.

9. Протокол испытаний

Протокол испытаний должен содержать следующие данные:

1. Наименование и адрес заказчика.

2. Характеристика объекта испытаний.

3. Характеристика заказываемой услуги.

4. Метод испытаний.

5. Процедура испытаний.

5.1. Идентификация образца.

5.2. Сведения о нормативных документах.

5.3. Условия проведения испытаний.

5.4. Порядок проведения испытаний.

6. Испытательное оборудование.

7. Измерительные средства.

8. Процедура отбора образцов.

9. Количество испытанных образцов.

10. Результаты испытаний.

10. Требования безопасности при проведении испытаний

10.1. Общие требования безопасности работ по определению пределов огнестойкости кабельных проходок - по ГОСТ 30247.0-94.

10.2. В части обеспечения электробезопасности следует соблюдать Правила технической эксплуатации электроустановок потребителей и Правила техники безопасности при эксплуатации электроустановок потребителей, утвержденные Госэнергонадзором в 1989 г.

10.3. Заземление внутри помещения, где эксплуатируется установка, должно соответствовать требованиям ГОСТ 464-79.

10.4. Помещение, где эксплуатируется установка, должно соответствовать санитарно-гигиеническим требованиям ГОСТ 12.1.005-76.

Приложение 1

(обязательное)

Метод определения коэффициента снижения допустимого длительного тока

Кабельные проходки с толщиной заделки (огнезащитного уплотнения) более 200 мм подвергают испытаниям для определения коэффициента снижения допустимою длительного тока.

(Измененная редакция. Изм. № 1).

1. Средства испытаний

В испытаниях используют:

прибор для регистрации температур, диапазон измерения от 0 до 800 °С, класс точности не более 0,1;

термоэлектрический преобразователь, пределы измерения от 0 до 800 °С, диаметр спая (0,5 ± 0,1) мм;

источник электрического тока, позволяющий устанавливать ток в пределах от 0 до 300 А, погрешность установки и поддерживания режима не более 1 А;

измерительный комплект с трансформатором тока, диапазон измерения от 0 до 600 А, класс точности не более 0,5.

2. Условия проведения испытания

Испытания проводятся при:

температуре окружающей среды от 10 до 30 °С;

относительной влажности воздуха от 40 до 80 %;

атмосферном давлении от 84 до 106 кПа.

3. Подготовка образцов

3.1. Электрические кабельные проходки поставляются заказчиком на испытания с термоэлектрическими преобразователями, вмонтированными в жилы кабелей в середине проходки (по толщине).

Для проходок, изготавливаемых на месте монтажа, материал заделки и кабели с вмонтированными термоэлектрическими преобразователями поставляются заказчиком вместе с актом отбора образцов и нормативными документами.

3.2. Изготовленные образцы до проведения испытаний проверяются посредством внешнего осмотра на отсутствие механических повреждений поверхностей проходок, контролируется качество заделки проводов и кабелей в проходке, а также их целостность.

3.3. Смонтированный и проверенный образец выдерживают перед испытанием при температуре (20±5) °С в течение 3 ч.

4. Проведение испытаний

Регулируя ток источника питания, устанавливают значение допустимого длительного тока Iо по ПУЭ или ГОСТ Р 5037.1-93 (п. 3.3) для конкретной марки кабеля с учетом температуры окружающей среды, при этом фиксируют температуру токопроводящей жилы кабеля. Если температура превысила нормированную в ПУЭ величину Т для этой марки кабеля, то аналогично определяют ток I1, при котором температура жилы будет равна нормированной в ПУЭ с погрешностью ± 1 °С.

5. Оценка результатов

5.1. Коэффициент снижения допустимого длительного тока определяют по формуле:

где Io - сила допустимого длительного тока по ПУЭ для данной марки и сечения кабеля (провода); I1 - сила тока, при которой в установившемся режиме температура токопроводящих жил кабеля (провода) соответствуют нормируемой в ПУЭ.

5.2. Кабельная проходка считается выдержавшей испытания, если коэффициент снижения допустимого длительного тока не менее 0,98.

6. Требования безопасности

6.1. При проведении работ следует соблюдать требования следующих нормативных документов:

Общие правила техники безопасности и производственной санитарии для предприятий и организаций машиностроения (утверждены постановлением Президиума ЦК профсоюза рабочих машиностроения);

Правила технической эксплуатации электроустановок потребителей и Правила технической безопасности при эксплуатации электроустановок потребителей (утверждены Госэнергонадзором);

Основные правила безопасности работы в химической лаборатории (утверждены Госкомитетом Совета Министров СССР по химии).

6.2. Заземление внутри помещения, где проводят испытания, должно соответствовать требованиям ГОСТ 464-79.

6.3. Помещение, где проводят испытания, должно соответствовать санитарно-гигиеническим требованиям ГОСТ 12.1.005-76.

Приложение 2

(обязательное)

Оценка герметичности и целостности электрических цепей при испытании герметичных кабельных вводов на огнестойкость

Оценка герметичности кабельных вводов проводится перед и в процессе их испытаний на огнестойкость.

Оценка целостности электрических цепей герметичных кабельных вводов проводится до и после их испытаний на огнестойкость.

1. Средства испытаний

Необходимые для испытаний средства:

Манометр для измерения давления, класс точности 1,5.

Прибор для измерения сопротивления, класс точности 2,5.

Психрометр для измерения температуры окружающей среды и влажности, класс точности 1,0.

Секундомер для измерения времени, цена деления 0,1 с.

Раздел 1 (Измененная редакция. Изм. № 1).

2. Условия проведения испытаний

Испытания проводят при:

температуре окружающей среды от 10 до 30 °С;

относительной влажности от 40 до 80 %;

атмосферном давлении от 84 до 106 кПа.

3. Подготовка образцов

3.1. Герметичный кабельный ввод поставляется заказчиком вместе с актом отбора образцов и нормативными документами.

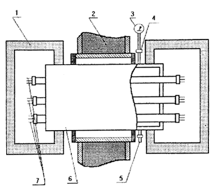
3.2. Внешним осмотром проверяется отсутствие механических повреждений поверхностей герметичного кабельного ввода (рис. 2).

Рис. 2. Схема герметичного кабельного ввода:

1 - защитный кожух; 2 - стена герметичного помещения: 3 - манометр; 4 - штуцер; 5 - штуцер испытательный; 6 - корпус; 7 - токопроводящие жилы

4. Проведение испытаний

4.1. Через штуцер (5), расположенный на фланце герметичного кабельного ввода, во внутреннюю полость от баллона подают воздух давлением (0,56 ± 0,02) мПа. Время выдержки 900 с. Падение давления контролируют по манометру (3). Ввод считается герметичным, если в течение указанного времени падение давления через неплотности в элементах ввода, в том числе вдоль токопроводящих жил (7), не превышает 0,02 мПа.

4.2. С помощью омметра проводится проверка целостности токопроводящих жил герметичного кабельного ввода, а также отсутствия:

обрыва токопроводящих жил;

короткого замыкания между токопроводящими жилами;

короткого замыкания между корпусом ввода и токопроводящими жилами.

5. Оценка результатов

Герметичный кабельный ввод считается выдержавшим испытания, если наряду с положительными результатами (разд. 7 настоящих норм) при проверке по пп. 4.1, 4.2 отсутствуют:

внешние признаки разрушения конструктивных элементов;

протечка воздуха (падение давления);

короткие замыкания между токопроводящими жилами;

короткие замыкания между корпусом ввода и токопроводящими жилами.

6. Требования безопасности

6.1. При проведении работ следует соблюдать требования следующих нормативных документов:

Общие правила техники безопасности и производственной санитарии для предприятий и организаций машиностроения (утверждены постановлением Президиума ЦК профсоюза рабочих машиностроения);

Правила технической эксплуатации электроустановок потребителей и Правила технической безопасности при эксплуатации электроустановок потребителей (утверждены Госэнергонадзором);

Основные правила безопасности работы в химической лаборатории (утверждены Госкомитетом Совета Министров СССР по химии).

6.2. Заземление внутри помещения, где проводят испытания, должно соответствовать требованиям ГОСТ 464-79.

6.3. Помещение, где проводят испытания, должно соответствовать санитарно-гигиеническим требованиям ГОСТ 12.1.005-76.

Приложение 3

(рекомендуемое)

Рекомендуемые типоразмеры электрических кабелей

Кабели силовые с напряжением от 0,66 до 35 кВ, в том числе:

кабели с пропитанной бумажной изоляцией:

ААШв 1´120;             ААШв 3´50;

ОАШвБ 3´120;           ОАШвБ 3´50;

кабели с ПВХ-изоляцией в ПВХ-оболочке:

АВВГ 3´150 + 1´50;

ВВГ 3´150 + 1´50;

кабели с резиновой изоляцией в резиновой оболочке:

АНРБ 1´240;               АНРБ 3´50;

НРГ 3´50;                   НРГ 1´240;

кабели с изоляцией из сшитого полиэтилена:

АПвВ 1´120;

ПвВ 1´240;

кабели контрольные:

КВВГ 4´1,5;

АКВВГ 4х1,5;

кабели связи:

ТПВ 3´(50´2);

ТПП 3´(50´2).

СОДЕРЖАНИЕ

1. Область применения. 1

2. Нормативные ссылки. 1

3. Определения. 1

4. Стендовое оборудование. 2

5. Подготовка к испытаниям.. 3

6. Проведение испытаний. 5

7. Предельные состояния. 5

8. Оценка результатов испытаний. 5

9. Протокол испытаний. 6

10. Требования безопасности при проведении испытаний. 6

Приложение 1 Метод определения коэффициента снижения допустимого длительного тока. 6

Приложение 2 Оценка герметичности и целостности электрических цепей при испытании герметичных кабельных вводов на огнестойкость. 7

Приложение 3 Рекомендуемые типоразмеры электрических кабелей. 9

 




Rambler's Top100 Яндекс цитирования
  Copyright © 2008-2026, www.docload.ru