|
|
УТВЕРЖДАЮ
Главный инженер
ОАО
ЛМЗ «Свободный сокол»
_______________П.Н.
Рублев
«____»_________2004
г.
|
Части соединительные литые из высокопрочного чугуна для
напорных трубопроводов
Технические условия
ТУ
1460-035-50254094-2000
Изменение №4
Держатель подлинника - ОАО
ЛМЗ «Свободный сокол»
Дата введения с
|
|
РАЗРАБОТАНЫ
Начальника
технического отдела
ОАО
ЛМЗ "Свободный сокол"
___________________А.В.
Минченков
«___»___________2004
г.
|
Вводная
часть.
Таблицу 1 изложить в новой редакции: Таблица 1
|
Наименование
|
Обозначение
|
Таблица
|
|
в схемах
|
в документе
|
|
1
|
2
|
3
|
4
|
|
Тройник раструб - фланец
|

|
ТРФ
|
6
|
|
Тройник раструбный
|

|
ТР
|
7
|
|
Тройник фланцевый
|

|
ТФ
|
8
|
|
Крест раструб - фланец
|

|
КРФ
|
9
|
|
Крест раструбный
|

|
КР
|
10
|
|
Крест фланцевый
|

|
КФ
|
11
|
|
Колено раструб - гладкий конец
|

|
УРГ
|
12
|
|
Колено фланцевое
|

|
УФ
|
13
|
|
Колено раструбное
|

|
УР
|
14
|
|
Отвод раструб - гладкий конец
|

|
ОРГ
|
15
|
|
Отвод раструбный
|

|
ОР
|
16
|
|
Отвод фланцевый
|

|
ОФ
|
17
|
|
Переход раструб - гладкий конец
|

|
ХРГ
|
18
|
|
Переход раструб - фланец
|

|
ХРФ
|
19
|
|
Переход фланцевый
|

|
ХФ
|
20
|
|
Переход раструбный
|

|
ХР
|
21
|
|
Патрубок раструб - фланец
|

|
ПРФ
|
22
|
|
Патрубок фланец - раструб компенсационный
|

|
ПФРК
|
23
|
|
Патрубок фланец - гладкий конец
|

|
ПФГ
|
24
|
|
1
|
2
|
3
|
4
|
|
Двойной раструб
|

|
ДР
|
25
|
|
Муфта надвижная
|

|
МН
|
25а
|
|
Двойной раструб компенсационный
|

|
ДРК
|
26
|
|
Выпуск раструбный
|

|
ВР
|
27
|
|
Выпуск фланцевый
|

|
ВФ
|
28
|
|
Пожарная подставка раструбная
|

|
ППР
|
29
|
|
Тройник раструб - фланец с пожарной
подставкой
|

|
ППТРФ
|
30
|
|
Тройник фланцевый с пожарной подставкой
|

|
ППТФ
|
31
|
|
Крест раструб - фланец с пожарной
подставкой
|

|
ППКРФ
|
32
|
|
Крест фланцевый с пожарной подставкой
|

|
ППКФ
|
33
|
|
Муфта свертная
|

|
МС
|
34
|
|
Заглушка фланцевая
|

|
ЗФ
|
35
|
|
Патрубок раструб - гладкий конец
|

|
ПРГ
|
36
|
Пункты 9.22, 9.25. Наименование. Заменить слова: «с
резиновым уплотнением» на «компенсационный».
Пункт 9.24
изложить в новой редакции.
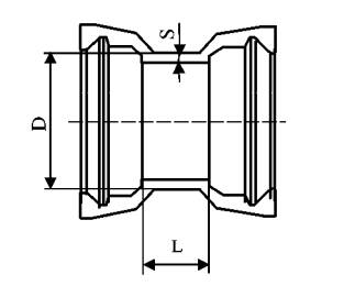
9.24 ДВОЙНОЙ РАСТРУБ

Рисунок 24
Таблица 25
|
В миллиметрах
|
|
Условный проход, Dy
|
D
|
S
|
L
|
Масса, кг
|
|
100
|
118
|
7,2
|
160
|
11,0
|
|
150
|
170
|
7,8
|
165
|
18,5
|
|
200
|
222
|
8,4
|
170
|
25,1
|
|
250
|
274
|
9,0
|
175
|
34,5
|
|
300
|
326
|
9,6
|
180
|
44,3
|
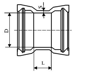
Дополнить
пунктом 9.24а: «9.24а Муфта надвижная»
9.24а МУФТА НАДВИЖНАЯ

Рисунок 24а
Таблица 25 а
|
В миллиметрах
|
|
Условный проход, Dy
|
D
|
S
|
L
|
Масса, кг
|
|
100
|
130
|
7,2
|
160
|
12,8
|
|
150
|
183
|
7,8
|
165
|
21,2
|
|
200
|
235
|
8,4
|
170
|
28,9
|
|
250
|
288
|
9,0
|
175
|
38,7
|
|
300
|
340
|
9,6
|
180
|
49,8
|
|