Бесплатная библиотека стандартов и нормативов www.docload.ru

Все документы, размещенные на этом сайте, не являются их официальным изданием и предназначены исключительно для ознакомительных целей.
Электронные копии этих документов могут распространяться без всяких ограничений. Вы можете размещать информацию с этого сайта на любом другом сайте.
Это некоммерческий сайт и здесь не продаются документы. Вы можете скачать их абсолютно бесплатно!
Содержимое сайта не нарушает чьих-либо авторских прав! Человек имеет право на информацию!

 

ГОСТ 30353-95

МЕЖГОСУДАРСТВЕННЫЙ СТАНДАРТ

ПОЛЫ

МЕТОД ИСПЫТАНИЯ
НА СТОЙКОСТЬ К УДАРНЫМ ВОЗДЕЙСТВИЯМ

МЕЖГОСУДАРСТВЕННАЯ НАУЧНО-ТЕХНИЧЕСКАЯ КОМИССИЯ ПО СТАНДАРТИЗАЦИИ И ТЕХНИЧЕСКОМУ НОРМИРОВАНИЮ В СТРОИТЕЛЬСТВЕ (МНТКС)

Москва

Предисловие

1 РАЗРАБОТАН Центральным научно-исследовательским и проектно-экспериментальным институтом промышленных зданий и сооружений (ЦНИИПромзданий) Российской Федерации

ВНЕСЕН Минстроем России

2 ПРИНЯТ Межгосударственной научно-технической комиссией по стандартизации и техническому нормированию в строительстве (МНТКС) 22 ноября 1995 г.

За принятие проголосовали:

Наименование государства

Наименование органа государственного управления строительством

Азербайджанская Республика

Госстрой Азербайджанской Республики

Республика Армения

Госупрархитектуры Республики Армения

Республика Казахстан

Минстрой Республики Казахстан

Киргизская Республика

Госстрой Киргизской Республики

Республика Молдова

Минархстрой Республики Молдова

Республика Таджикистан

Госстрой Республики Таджикистан

Российская Федерация

Минстрой России

Республика Узбекистан

Госкомархитектстрой Республики Узбекистан

3 ВВЕДЕН В ДЕЙСТВИЕ с 1 июля 1996 г. в качестве государственного стандарта Российской Федерации Постановлением Минстроя России от 31 января 1996 г. № 18-1

4 ВВЕДЕН ВПЕРВЫЕ

ГОСТ 30353-95

МЕЖГОСУДАРСТВЕННЫЙ СТАНДАРТ

ПОЛЫ

МЕТОД ИСПЫТАНИЯ НА СТОЙКОСТЬ К УДАРНЫМ ВОЗДЕЙСТВИЯМ

Floors.

Impact resistance test method

Дата введения 1996-07-01

1 ОБЛАСТЬ ПРИМЕНЕНИЯ

Настоящий стандарт распространяется на полы производственных зданий и сооружений и устанавливает метод их испытания на стойкость к ударным воздействиям.

Стандарт не распространяется на полы, выполненные из досок, паркета, сверхтвердых древесноволокнистых плит, поливинилхлоридных плит, линолеума.

2 НОРМАТИВНЫЕ ССЫЛКИ

В настоящем стандарте использованы ссылки на следующие стандарты.

ГОСТ 166-89 Штангенциркули. Технические условия.

ГОСТ 427-75 Линейки измерительные металлические. Технические условия.

ГОСТ 7661-67 Глубиномеры индикаторные. Технические условия.

3 СРЕДСТВА ИСПЫТАНИЙ

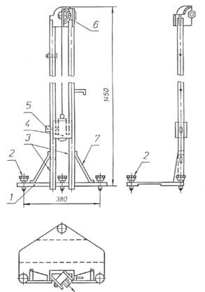
Копер, соответствующий приведенному ниже описанию (рисунок 1). Копер состоит из двух вертикальных направляющих, прикрепленных под прямым углом к площадке с прорезью для прохода гирь, опирающейся на три винта для регулировки вертикального положения направляющих; направляющие снабжены выдвижными штырями для фиксации гири на высоте (1000±5) мм и направляющим роликом для поднятия гири; площадка с прорезью оснащена двумя взаимно перпендикулярно расположенными уровнями.

1 - площадка с прорезью для прохода гирь; 2 - регулировочные винты; 3 - вертикальные направляющие; 4 - гиря с боковыми пазами и бойком; 5 - выдвижные штыри; 6 - направляющий ролик; 7 - подкосы

Рисунок 1 - Копер для испытания полов на стойкость к ударным воздействиям

Комплект гирь массой 0,5; 1; 2; 3; 4; 5; 7; 10; 15; 20 кг. Допускаемое отклонение по массе ±5 г. Гири имеют по бокам пазы для скольжения по направляющим копра и снабжены съемным бойком, заканчивающимся полусферой диаметром (30±0,5) мм. Боек гири выполняют из высокотвердой закаленной стали твердостью (60±5) HRCэ.

Глубиномер индикаторный по ГОСТ 7661 или штангенциркуль с глубиномером по ГОСТ 166.

Линейка металлическая измерительная по ГОСТ 427.

4 ПОДГОТОВКА К ИСПЫТАНИЮ

4.1. Испытание проводят на опытных участках, устраиваемых по бетонному подстилающему слою из бетона класса по прочности на сжатие В25 толщиной не менее 100 мм, выполненному по грунтовому основанию.

Опытный участок пола должен включать все элементы (прослойку, стяжку, покрытие) с соблюдением их толщины, регламентированной соответствующими нормативными документами.

Допускается проводить испытания реальных полов, например, при приемке их в эксплуатацию.

4.2. Размер участка назначают в зависимости от принятого числа мест приложения ударов и расстояния между ними, но не менее 500х500 мм для покрытий из однородного материала (керамика, шлакоситалл, цементный раствор и др.) и не менее 750х500 мм - из неоднородного материала (бетон и др.). Края опытного участка должны по всему периметру обрамляться заподлицо с покрытием бортиками шириной 230-250 мм из бетона класса В15.

4.3. Материалы, из которых выполняется опытный участок пола, а также условия подготовки и обработки поверхности нижележащего элемента перед укладкой последующего, условия твердения элементов должны удовлетворять требованиям соответствующих нормативных документов.

Испытания проводят после достижения материалами покрытия прочности в проектном возрасте, регламентируемом соответствующими нормативными документами.

4.4. Во время испытания покрытие пола должно быть сухим. Перед испытанием следует проверить отсутствие отслоения при помощи простукивания верхних элементов опытного участка пола.

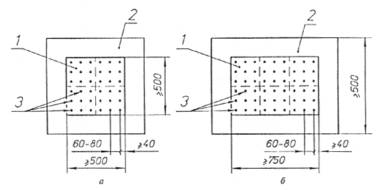
4.5. Перед испытанием поверхность опытного участка или участка реального пола из однородного материала условно делят на 4, а из неоднородного материала - на 6 равных частей (зон), в которых проводят испытания. В каждой зоне намечают 7-9 точек приложения ударов. Точки приложения ударов располагают на расстоянии 60-80 мм между ними и не менее 40 мм от краев участка (рисунок 2а,б).

1 - опытный участок; 2 - обрамляющий бортик; 3 - точки приложения ударов

Рисунок 2 - Схема расположения точек ударов

При покрытиях из мелкоразмерных штучных материалов - керамической плитки, кирпича и т.п., - размеры которых значительно менее 500 мм, точки приложения ударов следует располагать в средней части этих элементов и вблизи их кромок, сохраняя расстояния между точками приложения ударов.

5 ПРОВЕДЕНИЕ ИСПЫТАНИЯ

5.1. Копер с гирей устанавливают на поверхности покрытия пола. Регулировочными винтами выставляют направляющие копра в вертикальном положении. Гирю поднимают на высоту 1 м, фиксируемую выдвижными штырями, и при свободном падении гири наносят удар по покрытию. В каждую намеченную точку зоны наносят один удар. Испытание начинают с гири массой 0,5 кг. В следующие точки наносят удар гирей последовательно большей массы: 1, 2, 3 кг и т.д.

5.2. Индикаторным глубиномером или штангенциркулем с глубиномером измеряют с точностью до 0,1 мм глубину образовавшихся при ударах выбоин или вмятин. При необходимости под основание штангенциркуля подкладывают металлическую линейку.

5.3. Последовательно увеличивая массу гири, устанавливают максимальную массу гири m1, при которой глубина выбоины или вмятины в покрытии не превышает допустимой (f = fдоп), приведенной в приложении А, а при ударе гирей следующей массы указанная глубина f > fдоп или при f > fдоп появляются разрушения (отслоение, открытые трещины и др.). После этого испытание повторяют с использованием всех оставшихся точек первой зоны. При этом повторные испытания начинают с использованием гири массой, предшествующей на 3 позиции массе гири, вызвавшей образование вмятины глубиной f > fдоп или появление разрушения. Например, если указанная глубина f > fдоп образовалась при ударе гирей массой 7 кг, повторные испытания начинают с гири массой 3 кг (для 5 кг соответственно повторные испытания начинают с груза массой 2 кг и т.д.).

5.4. В зонах II-IV испытание начинают с использованием гири массой, предшествующей на 3 позиции массе грузов, вызвавшей образование вмятины глубиной f > fдоп в зоне I, и проводят его в последовательности, описанной в 5.3.

6 ОБРАБОТКА РЕЗУЛЬТАТОВ ИСПЫТАНИЙ

6.1. Стойкость пола к ударным воздействиям m определяют по формуле

                                                           (1)

где m1 - значение стойкости, рассчитанное как среднее арифметическое значение масс гирь при параллельных испытаниях, кг;

 - предел допускаемого значения относительной погрешности определения стойкости.

Среднее арифметическое значение стойкости m1 вычисляют по формуле

.                                                                (2)

где mi - наибольшее значение массы гири, при ударе которой глубина вмятины не превышает допустимых значений;

n - количество учитываемых результатов параллельных испытаний.

6.2. Предел допускаемого значения относительной погрешности определения стойкости определяют по формуле

                                                                (3)

где t - коэффициент Стьюдента (при доверительной вероятности Р=0,95) для n результатов принимают по таблице 1.

Таблица 1

n

6

8

10

12

14

16

20

t

2,57

2,36

2,26

2,20

2,16

2,13

2,09

Sm - среднее квадратическое отклонение наибольших масс гирь при параллельных испытаниях.

6.3. Среднее квадратическое отклонение определяют по формуле

                                                     (4)

6.4. Полученный результат сопоставляют с ближайшим меньшим значением массы гири m из комплекта и указывают, что стойкость покрытия пола к ударным воздействиям не меньше этой массы.

6.5. Результаты испытаний заносят в протокол, в котором указывают:

- наименование настоящего стандарта;

- вид и характеристики материала покрытия;

- состав и прочностные характеристики прослойки или стяжки;

- ударную стойкость в отдельных точках покрытия;

- ударную стойкость покрытия.

Пример расчета ударной стойкости приведен в приложении Б.

ПРИЛОЖЕНИЕ А

(справочное)

ДОПУСТИМЫЕ РАЗМЕРЫ ВМЯТИН И ВЫБОИН, НЕ УХУДШАЮЩИЕ ЭКСПЛУАТАЦИОННЫХ КАЧЕСТВ ПОКРЫТИЯ

Таблица А.1

Требования к гладкости и чистоте пола

fдоп, мм, не более

Типы покрытий полов

Ориентировочные отрасли промышленности

Высокие

2

Мастичные, наливные на основе термореактивных полимеров, из пластиката

Точное приборостроение

Повышенные

3,5

Полимерцементобетонные, пластбетонные, металлоцементные, из плит: керамических, шлакоситалловых, каменного литья

Машиностроение, химическая, пищевая

Средние

5

Сплошные и плитные бетонные, цементно-песчаные, мозаичные, ксилолитовые, из кислотоупорного бетона и кирпича

Машиностроение, металлургия, пищевая, легкая

Пониженные

10

Из брусчатки, торцовой шашки

Машиностроение, металлургия

ПРИЛОЖЕНИЕ Б

(информационное)

ПРИМЕР РАСЧЕТА СТОЙКОСТИ К УДАРНЫМ ВОЗДЕЙСТВИЯМ НАЛИВНОГО ЭПОКСИДНОГО ПОКРЫТИЯ ТОЛЩИНОЙ 4 мм, ВЫПОЛНЕННОГО ПО СТЯЖКЕ ИЗ БЕТОНА КЛАССА В25

Материал покрытия - однородный.

Для установления ударной стойкости проводят четыре параллельных испытания.

Допустимая глубина вмятин по приложению А - 2 мм.

1 На опытном участке размером 500х500 мм размечают четыре равных зоны испытаний. В каждой зоне намечают по 9 точек приложения ударов (рисунок Б.1).

Зона I

1 2 3

х х х

4 5 6

х х х

7 8 9

х х х

Зона II

1 2 3

х х х

4 5 6

х х х

7 8 9

х х х

Зона III

1 2 3

х х х

4 5 6

х х х

7 8 9

х х х

Зона IV

1 2 3

х х х

4 5 6

х х х

7 8 9

х х х

Рисунок Б.1

2 В первую точку первой зоны наносят удар гирей массой 0,5 кг, измеряют глубину вмятины. Во вторую точку наносят удар гирей 1 кг. Результаты заносят в таблицу Б.1.

Таблица Б.1

Номер зоны

Номера точек

Масса гири, кг

Глубина вмятины, мм

Ударная стойкость, кг

 

1

0,5

0,6

2

 

2

1,0

1,0

 

3

2,0

1,6

 

4

3,0

2,0

I

5

4,0

2,3

 

6

1,0

1,1

 

7

2,0

1,8

 

8

3,0

2,1

 

9

4,0

2,4

 

1

1,0

0,9

 

2

2,0

1,7

 

3

3,0

1,9

 

4

4,0

2,2

II

5

1,0

1,1

 

6

2,0

1,8

 

7

3,0

2,1

 

8

4,0

2,4

 

9

-

-

 

1

1,0

1,2

 

2

2,0

1,6

 

3

3,0

2,0

 

4

4,0

2,3

III

5

1,0

1,0

 

6

2,0

1,7

 

7

3,0

2,1

 

8

4,0

2,3

 

9

-

-

 

1

1,0

1,1

 

2

2,0

1,9

 

3

3,0

2,2

 

4

4,0

2,4

 

5

1,0

0,9

 

6

2,0

1,8

 

7

3,0

2,1

 

8

4,0

2,3

 

9

-

-

3 При ударе в точку 4 гирей массой 3,0 кг глубина вмятины составила 2,0 мм, т.е. равна допустимой. При ударе в точку 5 гирей массой 4,0 кг глубина вмятины составила 2,3 мм, что более допустимой. Поэтому с точки 6 испытание повторяют, начиная с гири массой 1,0 кг, предшествующей на три позиции гире массой, вызвавшей образование вмятины f > fдоп т.е. гире массой 4,0 кг.

Аналогично проводят испытания в зонах II-IV.

Учитывая ровность результатов, точки 9 в зонах II-IV можно пропустить.

4 Из полученных результатов отбирают наибольшие массы гирь, при ударах которыми глубина вмятин не превышает допустимой:

в I зоне в точке 4 - 3,0 кг, в точке 7 - 2,0 кг;

во II зоне в точке 3 - 3,0 кг, в точке 6 - 2,0 кг;

в III зоне в точке 3 - 3,0 кг, в точке 6 - 2,0 кг;

в IV зоне в точке 2 - 2,0 кг, в точке 6 - 2,0 кг.

5 Рассчитывают арифметическое значение стойкости по формуле 2

.

6 Рассчитывают среднее квадратическое отклонение по формуле 4

.

7 В соответствии с таблицей 1 коэффициент Стьюдента для восьми результатов составит 2,36.

8 Рассчитывают предел допускаемого значения относительной погрешности по формуле 3

9 Стойкость пола к удару составляет

.

10 Ближайшее меньшее значение массы гири из комплекта составляет 2,0 кг; таким образом, ударная стойкость данного покрытия не менее 2 кг, т.е. на покрытие допускаются ударные воздействия от предметов массой до 2,0 кг, падающих с высоты 1 м.

Ключевые слова: полы, ударные воздействия, стойкость к ударным воздействиям

СОДЕРЖАНИЕ

 




Любое оборудование для клиник. У нас можно купить электрокардиограф с любыми параметрами.
Rambler's Top100 Яндекс цитирования
  Copyright © 2008-2026, www.docload.ru