Бесплатная библиотека стандартов и нормативов www.docload.ru

Все документы, размещенные на этом сайте, не являются их официальным изданием и предназначены исключительно для ознакомительных целей.
Электронные копии этих документов могут распространяться без всяких ограничений. Вы можете размещать информацию с этого сайта на любом другом сайте.
Это некоммерческий сайт и здесь не продаются документы. Вы можете скачать их абсолютно бесплатно!
Содержимое сайта не нарушает чьих-либо авторских прав! Человек имеет право на информацию!

 

МИНИСТЕРСТВО АВТОМОБИЛЬНЫХ ДОРОГ РСФСР

ГОСУДАРСТВЕННЫЙ ДОРОЖНЫЙ ПРОЕКТНО-ИЗЫСКАТЕЛЬСКИЙ И
НАУЧНО-ИССЛЕДОВАТЕЛЬСКИЙ ИНСТИТУТ

ГИПРОДОРНИИ

РЕКОМЕНДАЦИИ
ПО УШИРЕНИЮ ЭКСПЛУАТИРУЕМЫХ ЖЕЛЕЗОБЕТОННЫХ
АВТОДОРОЖНЫХ МОСТОВ

Москва 1987

На основании совместных исследований Гипродорнии, МАДИ и ВЗИСИ приведены схемы уширения пролетных строений и опор. Схемы даны для каркасных ребристых пролетных строений с использованием изготавливаемых в настоящее время балок. Установлена область применения различных методов реконструкции, представлена методика определения экономической эффективности уширения.

В Рекомендациях изложены требования к производству и организации работ, указан перечень основных механизмов и последовательность отдельных работ при уширении мостов с различной оценкой состояния конструкций. Показана степень разгрузки элементов пролетных строений при уширении.

Предназначены для проектных и ремонтно-строительных организаций Минавтодора РСФСР, занимающихся реконструкцией искусственных сооружений (капитальный ремонт), в частности для разработки проектов уширения.

В разработке Рекомендаций приняли участие канд. техн. наук В. И. Шестериков, инженеры С. А. Наумочева, С. И. Рыклин (Гипродорнии), канд. техн. наук Э. В. Дингес, инженеры В. Н. Кухтин, С. О. Зеге (МАДИ), кандидаты технических наук Д. М. Поляков, Г. П. Курасова, А. К. Зайцева (ВЗИСИ).

Замечания и предложения просим направлять по адресу:

109089, Москва, Ж-89, наб. Мориса Тореза, 34, Гипродориии.

1. ПРЕДИСЛОВИЕ

Рекомендации по уширению эксплуатируемых железобетонных автодорожных мостов разработаны в результате совместных исследований, выполненных Гипродорнии (отдел ремонта и содержания искусственных сооружений), МАДИ (кафедры экономики дорожного строительства и мостов и тоннелей) и ВЗИСИ (кафедра автомобильных дорог).

Рекомендации разработаны с учетом результатов анализа существующих методов уширения, опытно-экспериментальных работ, выполненных как в лабораторных условиях, так и на реальных объектах, в том числе при уширении мостов и путепроводов в Московской области (Мосавтодор), через р. Колчиху (автодорога Москва-Ленинград), р. Вожу (автодорога Москва-Куйбышев) и р. Северку (Центральная автодорога) с учетом практического опыта, накопленного дорожниками Украины и Белоруссии. При подготовке Рекомендации приняты во внимание материалы технико-экономического анализа реконструируемых мостов (Укрремдорпроект, Миндорстрой УССР [1]), «Временные рекомендации» по уширению мостов, ВР 218 УССР (Миндорстрой УССР, КАДИ [2]) и альбом «Ремонт железобетонных мостов» (Белдорнии, Миндорстрой БССР [3]).

Наличие на сети автомобильных дорог мостов с недостаточным габаритом обусловлено тем, что, во-первых, многие из этих сооружений проектировались и строились по старым нормам, во-вторых, ширина проезжей части и земляного полотна на дороге или участке дороги в процессе эксплуатации изменилась (имело место уширение дороги). В результате мосты на этих дорогах перестали удовлетворять современным требованиям по габаритам, в связи с чем снижен общий технический уровень автомобильных дорог, характеризуемый такими транспортно-эксплуатационными характеристиками, как скорость, безопасность движения и пропускная способность.

В Рекомендациях рассмотрено уширение наиболее распространенных конструкций на сети дорог РСФСР. При этом предусмотрено использование в основном конструкций пролетных строений, изготавливаемых на заводах МЖБК и большинстве полигонов, принадлежащих объединениям Минавтодора РСФСР (ребристые железобетонные пролетные строения с каркасной арматурой по проектам выпуска 710/5 Союздорпроекта и пролетные строения из предварительно-напряженных пустотных плит по типовому проекту 384/26). Рекомендации касаются наиболее распространенных длин пролетных строений среди мостов старой постройки, а именно - 8,66; 11,36; 14,06; 16,76 м. Но ими можно пользоваться при разработке проектов уширения и других конструкций с иной длиной пролетных строений.

Предложенные схемы рекомендуется использовать при уширении в основном на 2-6 м.

Уширение мостов в соответствии с настоящими Рекомендациями должны осуществлять подразделения трех видов: мостовые прорабства, выполняющие средний ремонт мостов длиной до 40 м, уширение до 2-3 м, если работ по забивке свай не требуется; мостовые ремонтно-строительные управления (уширение средних мостов) и мостостроительные управления (уширение больших мостов, строительство параллельного моста под одно направление с одновременным уширением существующего). В отдельных случаях возможно выполнение работы силами ДРСУ.

Приведенные в Рекомендациях схемы уширения базируются в большинстве случаев на проверенных на практике решениях, реализованных по проектам Гипродорнии и проектных контор Минавтодора, Союздорпроекта, Белгипродора. Однако возможные решения не ограничиваются рекомендованными способами, которые могут быть развиты, усовершенствованы или видоизменены после накопления определенного опыта [4, 5].

Заместитель директора

по научной работе,

канд. техн. наук                                                                                                   А. Я. Эрастов

2. ОБЩИЕ ПОЛОЖЕНИЯ

2.1. Конструкции железобетонных мостов, подлежащих уширению

2.1.1. Настоящие Рекомендации предназначены для использования при разработке проектов уширения мостов, выборе схем производства работ и организации строительства.

Они предусматривают выбор схем уширения, определение области их применения, выбор конструкций узлов объединения для уширения искусственных сооружений с железобетонными балочными пролетными строениями с каркасной арматурой.

В основу рекомендаций по расчету конструкций положены требования действующих нормативных документов по проектированию автодорожных мостов.

2.1.2. Уширению в соответствии с настоящими Рекомендациями подлежат конструкции пролетных строений:

ребристые монолитные балочной разрезной или балочной консольной системы (проекты 1933, 1938, 1946 гг. Союздорпроекта) рис. 2.1 а;

ребристые сборные диафрагменные с каркасной арматурой (по проектам вып. 10, 11 и 56 Союздорпроекта) рис. 2.1 б;

то же, бездиафрагменные с каркасной арматурой (по проектам вып. 56Д, 710/5 Союздорпроекта) рис. 2.1 в.

Основные характеристики этих пролетных строений, которые могут быть использованы при разработке проектов уширения, приведены в прил. 1.

Уширение плитных мостов (проектирование и производство работ) можно вести в соответствии с Рекомендациями [2], а также на базе отдельных положений настоящих Рекомендаций, предусматривающих использование предварительно-напряженных пустотных плит.

2.1.3. Настоящие Рекомендации распространяются на уширение опор следующих типов (по проектам вып. 70 и 143-144 Союздорпроекта):

свайные промежуточные опоры из свай прямоугольного сечения с ригелем;

стоечные промежуточные опоры со стойками из прямоугольных свай и фундаментной плитой - ростверком;

столбчатые промежуточные опоры со свайным ростверком;

массивные промежуточные опоры;

свайные устои висячего типа;

свайные устои козлового типа.

Основные сведения об опорах даны в прил. 1, схемы опор приведены также в прил. 4.

Уширение опор иных типов может быть осуществлено с учетом изложенных в тексте рекомендаций и в соответствии с Рекомендациями [2].

Рис. 2.1. Поперечные сечения пролетных строений, требующих уширения

2.1.4. Уширение мостов в соответствии с настоящими Рекомендациями осуществляют при условии, если фактическая грузоподъемность моста такова, что может быть пропущена нагрузка по схеме не ниже Н-13 и НГ-60, а состояние конструкций в соответствии с методикой оценки применительно к ИПС-мост характеризуется отметкой не ниже «удовлетворительно» [6].

Грузоподъемность мостов определяют в соответствии с требованиями «Инструкции по определению грузоподъемности железобетонных пролетных строений автодорожных мостов. ВСН 32-78 Минавтодор РСФСР».

2.1.5. Вопрос об уширеиии мостов, по которым может быть пропущена нагрузка по схеме ниже, чем Н-13 и НГ-60, а также мостов, имеющих оценку «неудовлетворительно», должен решаться в каждом конкретном случае отдельно. При этом следует выполнять необходимые расчеты по технико-экономическому обоснованию уширения с учетом затрат на повышение несущей способности элементов и фактической грузоподъемности мостов (прил. 2).

Для мостов, находящихся в аварийном состоянии или имеющих в качестве расчетной нагрузку Н-10 и НГ-30, при разработке проектов реконструкции варианты уширения можно не рассматривать.

2.2. Оценка состояния мостов и порядок проектирования

2.2.1. Оценка состояния моста необходима для определения степени снижения грузоподъемности, выявления возможности и целесообразности уширения, выбора схем уширения и определения перечня ремонтных работ. Чтобы оценить состояние мостов, проводят их специальный осмотр в соответствии с требованиями существующих нормативных документов [7].

При осмотре моста, подлежащего уширению, обращают особое внимание на:

состояние балок пролетных строений (наличие вертикальных и косых трещин в ребрах, продольных трещин в плитах, смещение диафрагм, повреждение накладок, наличие разрушения бетона из-за выщелачивания, состояние консолей крайних балок, коррозию арматуры);

состояние мостового полотна (гидроизоляция, покрытие, сопряжение моста с насыпью, деформационные швы);

состояние опор и фундаментов (разрушение бетона свай или тела опоры, трещины и сколы в ригеле);

наличие и состояние опорных частей, как и состояние узла опирания балки;

фактическую прочность бетона конструкций.

2.2.2. В соответствии с методикой сбора и обновления информации о мостах для ИПС-Мост [6] состояние мостов оценивают по трем показателям. При выборе схем уширения во внимание принимают два показателя:

Kg - коэффициент снижения долговечности.

Kg = 1,0 - отсутствуют дефекты, снижающие долговечность;

Kg = 0,7 - имеются дефекты, которые снижают долговечность. Устранение их требует выполнения ремонтных работ. К таким дефектам относят одиночные трещины в растянутой зоне с раскрытием более 0,3 повреждение защитного слоя с коррозией арматуры; повреждения плиты проезжей части; разрушение гидроизоляции и деформационных швов.

Kg = 0,4 - существуют дефекты, нарушающие нормальную эксплуатацию. Их наличие обуславливает снижение долговечности моста. К таким дефектам относят продольные трещины в сжатой зоне балок или поперечные трещины в растянутой зоне с раскрытием более 0,5 мм; многочисленные трещины с раскрытием более 0,3 мм; интенсивная коррозия арматуры балок и опор с ослаблением ее площади сечения на 10 % и более; низкое качество бетона и как следствие разрушение его; разрушение защитного слоя на концевом участке балки с оголением арматуры балки и повреждением опорных узлов; вертикальные и наклонные сквозные трещины в массиве опор; продольные трещины в сваях-стойках, перекос опоры в результате подмыва; уменьшение рабочей площади сечений несущих элементов или соединений более чем на 10 %.

Kн - коэффициент снижения грузоподъемности.

Kн = 1,0 - дефекты, снижающие грузоподъемность, отсутствуют.

Kн = 0,9 - имеются дефекты, которые могут вызвать снижение грузоподъемности - незначительные трещины в ригеле опор и в бетоне растянутой зоны балок; раковины и сколы; незначительные повреждения объединения по диафрагмам.

Kн = 0,1 - имеются дефекты, существенно снижающие грузоподъемность моста; прогиб пролетного строения или наклон опоры, превышающий допустимый более чем в 3 раза; обрушение плиты проезжей части; фактическая грузоподъемность моста не превышает 10 % от требуемой СНиП 2.05.03-84.

2.2.3. Существенное влияние на снижение грузоподъемности моста оказывает нарушение объединения по диафрагмам и смещение диафрагм, наличие трещин в балках пролетных строений, ригеле и стойках опор. Влияние этих дефектов на жесткость и несущую способность элементов, а в конечном счете на грузоподъемность моста, должно определяться специальными расчетами или испытаниями. На стадии выбора схем уширения допустима приближенная оценка влияния повреждения, основанная на инженерных методах расчета.

Смещение диафрагм до 15 мм с изгибом в плане накладки может считаться не влияющим на поперечную жесткость пролетных строений. Если объединение по диафрагмам нарушено полностью по всем стыкам между крайними балками, воздействие временной нагрузки на крайнюю балку возрастает в 1,25 раза (коэффициент поперечной установки временной нагрузки возрастает в 1,25 раза), Kн = 0,8. При разрушении объединения по всем накладкам диафрагм пролетных строений Kн = 0,62 (возрастает в 1,6 раза), а по всем накладкам диафрагм и плит - Kн = 0,4. Примерные величины изменения КПУ, а следовательно снижения грузоподъемности пролетных строений из-за разрушения накладок, приведены в табл. 2.1, а оценка влияния на КПУ повреждений в каждой диафрагме дана в прил. 3. В табл. 2.1 учтены запасы в балках диафрагменных пролетных строений под габариты Г-7 и Г-8 по сравнению с Г-6.

Таблица 2.1

Увеличение КПУ временной нагрузки (в %) для балок шестибалочного пролетного строения из-за разрушения объединений по накладкам

Расположение повреждения и рассматриваемая балка

Разрушение объединения по накладкам

диафрагм

диафрагм + плиты

Г-6

Г-7

Г-8

Г-6

Г-7

Г-8

Между крайними балками:

 

 

 

 

 

 

      балка 1

25

15

10

38

25

15

      -»-      3

0

0

0

30

20

0

Между всеми балками:

 

 

 

 

 

 

      балка 1

38

38

38

50

50

50

      -»-      3

50

50

50

58

58

58

Примечание. Балка 1 - крайняя, балка 3 - средняя.

2.2.4. При определении грузоподъемности моста влияние трещин в балках определяют по величине изменившейся жесткости балок по специальной методике. Для приближенной оценки изменение жесткости балок в сборных ребристых пролетных строениях на 10 % считают не влияющим на изменение КПУ. Уменьшение жесткости крайних балок в 2 раза в диафрагменных пролетных строениях с габаритом Г-6 приведет к увеличению коэффициента поперечной установки для средних балок на 25 %, а при габаритах Г-7 и Г-8 - на 20 % (для пролетных строений длиной до 16,76 м).

Для некоторых частных случаев изменение КПУ из-за снижения жесткости балок может быть установлено по прил. 3, а влияние трещин на жесткость балок ориентировочно оценено по данным табл. 2.2.

Таблица 2.2

Степень снижения жесткости (в % к начальной) балок ребристых сборных пролетных строений со сквозными трещинами

Вид трещины

Снижение жесткости при длине трещины

до нейтральной оси lтр = hно

lтр = 0,5 hно

1

2

3

Вертикальная трещина в середине балки

10-15

5-10

Сеть вертикальных трещин в середине пролета на длине:

 

 

      0,1 l (l - длина пролетного строения)

20-25

10-15

      0,2 l

35-40

25-30

      0,5 l

60-65

40-45

      1,0 l

~75

50-55

Горизонтальная трещина вдоль нижней арматуры на длине:

 

 

      0,1 l

1

-

      0,5 l

3

-

      1,0 l

5

-

2.2.5. Разработке проекта уширения должно предшествовать тщательное обследование опор с целью установления строительных и эксплуатационных дефектов и оценки несущей способности отдельных элементов опоры и грунтов.

Если невозможно оценить несущую способность всех элементов опоры по имеющейся документации или результатам обследования, производят ее испытание тяжелыми нагрузками, а для оценки несущей способности грунтов проводят их инженерно-геологические обследование [8].

2.2.6. Несущую способность элементов опор оценивают по фактическим размерам, армированию, прочности бетона и арматуры. Чтобы определить прочность, можно использовать как разрушающие, так и неразрушающие методы, которые дают результаты с точностью не менее ± 10 %. При оценке прочности разрушающими методами рекомендуется выпиливать или высверливать образцы из тех частей конструкции, которые при уширении либо подлежат вскрытию, либо не влияют на несущую способность опоры и ее элементов.

2.2.7. Наличие вертикальных трещин в ригеле (насадке) опор, опирающемся на стойки (столбы), снижает жесткость ригеля, а при определенной плотности трещин также и несущую способность его. Коэффициент снижения несущей способности (Kн) допускается принимать по табл. 2.3 для различных случаев расположения трещин с раскрытием более 0,2 мм на ригеле, показанных на рис. 2.2.

Таблица 2.3

Снижение коэффициента Kн для опоры из-за наличия трещин в ригеле

Сочетание разновидностей трещин

Длина уч-ка «а» или «в» в долях, l

Снижение жесткости ригеля

Kн

Снижение грузоподъемности (несущей способности опоры), %

1

2

3

 

 

Трещины:

      1 (рис. 2.2)

-

1,1

-

5

      2 (над всеми стойками)

0,1

1,15

-

10

 

0,2

1,3

-

15

 

0,4

1,5-2,0

0,65

35

      3

-

1,05

-

0

      4 (во всех пролетах)

0,1

1,1

-

7

 

0,2

1,25

-

15

 

0,4

1,3-1,5

-

25

 

0,6

2,0-2,5

0,45

55

Максимальное растрескивание (трещины 1; 2 и 4 по всей длине ригеля)

-

3-4

0,1

90

Примечание. Длины трещин приняты равными половине высоты ригеля.

2.2.8. При оценке состояния моста, предшествующей разработке проекта уширения, определяют:

наличие дефектов и причины их появления;

показатель по долговечности (Kд);

несущую способность фундаментной части опор на основании геологического обследования, а также элементов надфундаментной части опор (стоек, тела, ригеля);

влияние трещин и нарушения поперечного объединения балок пролетных строений на распределение нагрузки между балками;

показатель по несущей способности (Kн);

общую оценку состояния моста (используя ИПС-Мост).

Далее следует установить возможность уширения и требуемый габарит; выбрать метод реконструкции моста (уширение, замена пролетных строений или новое строительство) и схему уширения с учетом состояния конструкций.

Рис. 2.2. Схема расположения трещин в ригеле:

1 - одиночная трещина над стойкой; 2 - сеть трещин над стойкой на длине «в»; 3 - сеть трещин в пролете ригеля на длине «а»; 4 - одиночная трещина в пролете ригеля

2.2.9. Возможность уширения определяют по общей оценке состояния моста с учетом его длины и возраста. Без специальных расчетов можно принять, что уширение возможно и целесообразно при оценке состояния мостов «хорошо» и «удовлетворительно», при длине его до 100 м и возрасте до 30 лет. При возрасте более 30 лет, длине моста свыше 100 м и оценке «неудовлетворительно» вопрос о возможности и целесообразности уширения необходимо решать в каждом конкретном случае отдельно на основании экспертной оценки и технико-экономических расчетов с учетом затрат на ремонтно-восстановительные работы.

2.3. Определение требуемого габарита и метода реконструкции

2.3.1. Схемы уширения следует выбирать в зависимости от требуемой величины уширения, ориентируясь на габариты, соответствующие перспективной категории дороги или ее участка. При этом учитывают расположение сооружения: в городе, рядом с населенным пунктом или вне населенного пункта, для чего могут быть использованы схемы уширения с тротуарами в пределах мостового полотна, со служебными проходами или без тротуаров.

2.3.2. Требуемый габарит определяют по перспективной категории дороги, указанной в соответствующем перечне Минавтодора РСФСР или в ТЭДах, имеющихся в автодорах и управлениях дорог. При отсутствии данных о перспективной категории дороги габарит определяют по величине перспективной интенсивности движения автомобилей в соответствии с табл. 2.4.

Таблица 2.4

Габариты проезжей части для дорог с различной интенсивностью движения*

* Примечание. С учетом требований [9].

Интенсивность движения, авт/сут

До 200

200-1000

1000-3000

3000-7000

Требуемый габарит моста, м

6,5-7,0

8,0

9,0-10,0

9,5-11,5

Категория дороги

V

IV

III

II

2.3.3. При выборе метода реконструкции следует ориентироваться на рекомендации таблиц 2.5 и 2.6.

Таблица 2.5

Область применения методов реконструкции (для случая мостов с тротуарами)

Перспектив. категория дороги

Требуемый габарит, м

Существующий габарит, м (полезная ширина моста, м)

Габарит

Полезная ширина моста

Г-6 + 2 ´ 0,5 (7,0)

Г-7 + 2 ´ 0,75 (8,5)

Г-8 + 2´1,0 (10,0)

Г-10 + 2 ´ 1,0 (12,0)

IV

Г-8 + 2 ´ 1,0

10,0

У

-

-

-

III

Г-9 + 2 ´ 1,0

11,0

У

У

 

-

Г-10 + 2 ´ 1,0

12,0

Р

У

У

-

II

Г-9,5 + 2 ´ 1,0

11,5

Р

У

У

-

Г-11,5 + 2 ´ 1,5

14,5

Н

У

У

У

II-I (три полосы движения)

Г-13,25 + 2 ´ 1,5

16,25

Н

У

У

У

Г-15,25 + 2 ´ 1,5

18,25

Н

Н

У

У

I (Четыре полосы движения)

2Г-8,5 + 2 ´ 1,5

22,0

-

У+Р

Р

Р

С = 2,0

-

-

-

-

-

2Г-9,5 + 2 ´ 1,5

С = 4,0

26,0

-

У+Р

У + Р

Р

Таблица 2.6

Область применения методов реконструкции (для случая мостов, не требующих тротуаров)

Перспективн. категория дороги

Требуемый габарит, м

Существующий габарит, м (полезная ширина моста, м)

Г-6 + 2 ´ 0,5 (7,0)

Г-7 + 2 ´ 0,75 (8,5)

Г-8 + 2´1,0 (10,0)

Г-10 + 2 ´ 1,0 (12,0)

IV

Г-8

У

Т

-

-

III

Г-9

У

Т

Т

-

Г-10

У

У

Т

-

II

Г-9,5

Р

У

Т

-

Г-11,5

Р

У

У

Т

II-I (три полосы движения)

Г-13,25

П

У

У

У

Г-15,25

П

У

У

У

I (Четыре полосы движения)

2Г-8,5

 

У+Р

РТ

Р

С = 2,0

 

 

 

 

2Г-9,5

 

 

 

 

С = 4,0

 

У+Р

У+Р

Р

В таблицах 2.5 и 2.6 приняты обозначения:

С - ширина разделительной полосы; У - уширение; Р - строительство рядом моста под одно направление движения; У+Р - то же, с уширением существующего; Т - увеличение габарита за счет смещения (удаления) тротуаров; РТ - строительство рядом моста под одно направление движения с увеличением габарита на существующем за счет смещения (удаления) тротуаров; Н - новое строительство (замена моста). Прочерк означает, что габарит может быть оставлен без изменения.

2.3.4. В отдельных случаях, например, оговоренных в п. 2.2.9, при габаритах, не указанных в таблицах 2.5 и 2.6, а также при наличии особых условий на эксплуатируемом участке дороги (отсутствие объезда, высокий уровень воды на период реконструкции и др.) целесообразность уширения устанавливают на основании технико-экономического обоснования в соответствии с рекомендованной в прил. 2 методикой.

2.4. Основные принципы уширения. Классификация методов уширения

2.4.1. При выборе схемы уширения пролетного строения учитывают состояние конструкций, величину уширения, тип уширяемых конструкций и тип конструкций, используемых при уширении моста.

По состоянию конструкции мосты могут быть отнесены к трем категориям:

I - мост соответствует по грузоподъемности требуемой для данной категории дороги, Kн = 1,0; Kд =1,0;

II - грузоподъемность моста снижена, 0,7 < Kн £ 1,0; Kд = 0,7;

III - грузоподъемность моста значительно ниже требуемой для данной категории дороги, Kн £ 0,7; Kд = 0,4.

2.4.2. В зависимости от размера увеличения габарита различают несколько методов уширения:

А - за счет смещения (удаления) тротуаров, сопровождающегося при необходимости наращиванием консоли плиты балок - уширение на 1 м (в отдельных случаях до 1,5 м);

Б - устройство монолитной накладной плиты поверх несущих конструкций - уширение до 1,5 м (в отдельных случаях до 3 м без специальных мер по усилению);

В - пристройка дополнительных балок с двух сторон с удлинением ригеля промежуточных опор - уширение до 2-2,5 м;

Г - то же, с уширением тела опоры - уширение до 3-3,5 м;

Д - уширение с развитием всей опоры (с фундаментом), строительством новых опор - уширение свыше 4 м.

Причем каждый из этих методов может быть использован при уширении мостов с пролетными строениями:

1 - сборными ребристыми с диафрагмами;

2 - то же, без диафрагм;

3 - сборными плитными;

4 - монолитными ребристыми.

2.4.3. При уширении пролетных строений с каркасной арматурой следует применять такие схемы, которые обеспечивают наряду с увеличением габарита повышение грузоподъемности моста или приведение грузоподъемности моста к требуемой, увеличение долговечности эксплуатируемых элементов, снижение уровня воздействия временной нагрузки на них. Это реализуется за счет разгрузки существующих балок, устранения возможных очагов повреждения конструкций, улучшения фасада сооружения, в различных типах эксплуатируемых пролетных строений это достигается по-разному.

2.4.4. При разработке проекта уширения моста (по группе В-Д, см. п. 2.4.2) со сборными диафрагменными пролетными строениями (выпуск 10, 11, 56) с оценкой состояния «удовлетворительно» рекомендуется соблюдать следующие положения:

увеличение габарита достигают добавлением новых элементов пролетных строений с двух сторон (симметрично либо несимметрично);

добавляемые балки (плиты) максимально приближают к крайним балкам существующих пролетных строений, а в некоторых случаях и объединяют их по всей высоте стенки (с дополнительной плитой усиления);

добавляемые балки (плиты) объединяют в поперечном направлении с крайними балками существующих пролетных строений по верху, а при омоноличивании по ребру - по верху и низу (с помощью захватов, скоб, штырей, накладок или других приспособлений);

в продольном направлении приставляемые элементы объединяют в непрерывную цепь (температурно-неразрезное пролетное строение);

опорные части подлежат реконструкции или восстановлению с целью обеспечения четкой работы и долговечности пролетных строений (при невозможности реконструкции опорных частей статическую схему оставляют прежней).

При оценке «хорошо» приставляемые и существующие конструкции можно объединять не по всей высоте стенки, а в пределах толщины плиты либо по монолитной железобетонной плите, укладываемой дополнительно по выравнивающему слою или на несущие конструкции.

2.4.5. В качестве приставляемых элементов рекомендуется использовать конструкции:

а) тавровые балки с каркасной арматурой по проекту 710/5, длины 9-18 м;

б) сборные ребристо-плитные конструкции с каркасной арматурой применительно к проекту вып. 586 (рамно-неразрезные путепроводы), длины 9-15 м;

в) пустотные преднапряженные плиты по проекту выпуска 384/43 (384/5), длины 9-15 м;

г) тавровые балки с напрягаемой арматурой (унифицированные) по проекту вып. 384/26, длины > 15 м.

2.4.6. В случае недостаточной несущей способности концевых сечений пролетных строений по поперечной силе при уширении должно быть предусмотрено усиление по поперечной силе, например, устройством монолитной плиты. При необходимости реконструируют или заменяют опорные части, а также усиливают ригели опор. При хорошем состоянии опорного узла опорные части (рубероидные подкладки) не заменяют.

При необходимости при уширении автодорожных мостов одновременно выполняют мероприятия по среднему ремонту искусственных сооружений: ремонт гидроизоляции, замена деформационных швов, ремонт сопряжения моста с насыпью и бетонной поверхности опор.

2.4.7. При уширении мостов (группы В-Д, см. п. 2.4.2) с бездиафрагменными пролетными строениями (выпуски 56Д, 710/5), имеющих оценку состояния «удовлетворительно», нужно придерживаться следующих основных принципов:

увеличение габарита достигается добавлением новых элементов пролетных строений с двух сторон (симметрично либо несимметрично) с приближением первой приставляемой балки на расстояние до 1 м к существующей;

добавляемые балки объединяют в поперечном направлении с крайними балками существующих пролетных строений по плите с помощью выпусков арматуры с устройством в отдельных случаях дополнительной монолитной железобетонной плиты либо по выравнивающему слою, либо по конструкциям.

При оценке «хорошо» монолитную плиту можно не устраивать, если условие прочности по величине поперечной силы соблюдается, а уширение осуществлять в одну сторону.

2.4.8. Добавление конструкций сопровождается укорачиванием (или удалением при плохом состоянии) консолей крайних балок. В качестве приставляемых элементов целесообразно использовать либо тавровые балки с каркасной арматурой по проекту 710/5 (пролеты до 18 м), либо с предварительно-напряженной арматурой (вып. 384/26, пролеты свыше 15 м).

2.4.9. При уширении моста с монолитными ребристыми (например двухбалочными) пролетными строениями следует учитывать следующие основные положения:

увеличение габарита достигается добавлением новых элементов симметрично с двух сторон с максимальным приближением их к крайним балкам существующего пролетного строения и омоноличиванием по всей высоте стенок; при хорошем состоянии конструкций омоноличивание по стенке можно не выполнять;

добавляемые элементы объединяют в поперечном направлении с крайними балками существующих пролетных строений поверху с помощью выпусков арматуры, а в пределах стенки - с помощью штырей, заанкеренных в стенке существующей балки [2], или с помощью хомутов, прикрепленных к арматуре балки.

Уширение указанных пролетных строений сопровождается удалением тротуарных консолей. В качестве приставляемых элементов могут быть использованы предварительно-напряженные пустотные плиты или балки.

2.4.10. Возможные схемы уширения, удовлетворяющие указанным требованиям, приведены на рис. 2.3. Область применения данных схем определена на основании тщательных расчетов, а в некоторых случаях после опытного строительства. Рекомендуемые в последующих разделах способы уширения ребристых балочных пролетных строений и опор проверены пространственным расчетом по методу М. Е. Гибшмана [10] (метод коэффициента поперечной установки) и в большинстве случаев апробирования на объектах.

Рис. 2.3. Принципиально возможные схемы уширения

В схемах уширения на рис. 2.3 принята индексация, в которой отражено:

I, II, III - категория сооружения по состоянию;

А, Б... - метод уширения;

1, 2, 3.. - тип уширяемых пролетных строений;

а, б... - конструкции, используемые при уширении.

Например, обозначение IIВ-1.a относится к схеме уширения диафрагменного пролетного строения (1) с незначительным снижением грузоподъемности (II) добавлением с двух сторон пролетных строений по выпуску 710/5 (а) с уширением только ригеля опоры (В).

2.4.11. При проектировании необходимо обращать внимание на возможную перегрузку крайних балок (при уширении за счет смещения тротуаров - рис. IА, IIБ; перегрузку диафрагм или плит (при уширении с увеличением жесткости крайних балок) и при необходимости предусмотреть усиление элементов.

3. РЕКОМЕНДУЕМЫЕ СПОСОБЫ УШИРЕНИЯ ПРОЛЕТНЫХ СТРОЕНИЙ И ОБЛАСТЬ ИХ ПРИМЕНЕНИЯ1

1 Распространяются на диафрагменные и бездиафрагменные ребристые пролетные строения с каркасной арматурой.

3.1. Увеличение габарита на 1 м (группа А)

3.1.1. Для уширения пролетных строений, не требующих существенного повышения грузоподъемности (Kн ³ 0,9) и устройства пешеходных тротуаров, а также для случаев выноса пешеходного движения за пределы моста рекомендуется увеличивать габарит за счет наращивания консоли плиты крайней балки (рис. 3.1) с одновременным увеличением несущей способности крайней балки, что необходимо из-за смещения положения расчетной нагрузки.

3.1.2. Уширение предусматривает частичное удаление крайней консоли для стыковки арматуры, а в случае неудовлетворительного состояния плиты - всей консоли. Оголенная арматура состыкована с каркасом монолитного участка, в котором предусмотрена закладная деталь для крепления ограждающих устройств.

Над крайней балкой удалены слои одежды мостового полотна. Нижняя арматура монолитного участка связана с выпусками арматуры из защитного слоя, а верхняя проходит в монолитном слое над существующим защитным слоем. При неудовлетворительном состоянии защитного слоя и гидроизоляции слои одежды удаляют до сточного треугольника (выравнивающего слоя), а при нарушении поперечного объединения по накладкам или плите удаляют все слои одежды ездового полотна. В этом случае монолитный бетон дополнительной плиты включают в совместную работу с пролетными строениями известными способами.

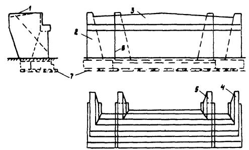
Рис. 3.1. Уширение пролетных строений с диафрагмами (а) и без диафрагм (б) на 1 м с удалением тротуаров:

1 - новый бетон выравнивающего слоя; 2 - новые слои одежды; 3 - граница обрубки старых слоев; 4 - монолитный бетон консоли; 5 - закладная деталь; 6 - стойка ограждения

3.1.3. Область возможного применения схем по рис. 3.1 ограничена, помимо требований к состоянию сооружения, следующими параметрами:

длина пролетных строений до 18 м;

длина мостов до 25 м в случае отказа от тротуаров, до 100 м в случае переноса пешеходного движения;

габарит моста до уширения - не более 8 м.

Рекомендуется использовать при изменении габарита

с Г-6 до Г-7,

« Г-7 «  Г-8,

« Г-8 «  Г-9 или Г-9,5.

При необходимости устройства тротуаров уширение можно осуществлять с помощью накладной плиты в соответствии с рекомендациями [2].

3.1.4. При разработке проектов уширения по схемам рис. 3.1 допускается предусматривать объединение пролетных строений в температурно-неразрезные (ТНПС) по монолитному бетону и слоям одежды в соответствии с требованиями [14] при следующих схемах уширяемого моста:

2 ¸ 4 ´ 11,36 м; 2 ¸ 3 ´ 12,0 м; 2 ´ 14,06 (15) м.

При уширении с габарита Г-6 и Г-7 допускается объединять в ТНПС по монолитному бетону и защитному слою.

3.2. Увеличение габарита на 1,5 - 2,0 м

3.2.1. Уширение мостов с увеличением габарита на указанную величину за счет устройства накладной монолитной (сборной, сборно-монолитной) плиты (группа Б) рекомендуется осуществлять, руководствуясь требованиями [2-4].

3.2.2. Уширение за счет добавления дополнительных балок рекомендуется производить по схемам рис. 3.2, на которых показано:

схема IВ-1а - увеличение габарита с помощью дополнительных балок по проекту 710/5, приставленных с каждой стороны пролетного строения на расстояние от крайней балки на 1 м с опиранием на уширенный ригель;

схема IIГ-1в - увеличение габарита с помощью дополнительных пустотных плит по проекту 384/5 или 384/43, установленных по одной с каждой стороны пролетного строения и максимально приближенных к крайним балкам (и объединенных с ними); плиты опираются на уширенную часть тела опоры;

схема IГ-1а - увеличение габарита с помощью двух дополнительных балок по проекту 710/5, установленных с одной стороны пролетного строения на достроенную опору; предусмотрено смещение тротуарного блока (на рис. 3.2 левого) в сторону оси моста для ограничения положения временной нагрузки;

схема IIГ-1а - увеличение габарита с помощью двух дополнительных балок по проекту 710/5, установленных с одной стороны пролетного строения на достроенную опору с максимальным приближением одной балки к существующей и объединением их по всей высоте;

схема IIГ-1в - увеличение габарита с помощью трех дополнительных пустотных плит по проекту 384/25, установленных с одной стороны на дополнительную опору с максимальным приближением одной плиты к существующей балке и объединением их по всей длине.

Во всех схемах покрытие удаляют по всей площади.

3.2.3. Длины пролетных строений, для которых рекомендовано использовать приведенные схемы уширения, указаны на рис. 3.2.

Схемы применяют при изменении габаритов:

с Г-6 + 2 ´ 0,5 (0,75) м        до Г-8 + 2 ´ 0,75 (1,0) м;

« Г-7 + 2 ´ 0,75 м                   « Г-9 + 2 ´ 1,0 м;

« Г-8 + 2 ´ 0,75 м                   « Г-9,5 + 2 ´ 1,0 м и Г-10 + 2 ´ 1,0 м;

« Г-10 + 2 ´ 1,0 м                   « Г-11,5 + 2 ´ 1,5 м.

Допустимо при реконструкции пролетные строения объединять в ТНПС при условиях, оговоренных в п. 3.1.4.

3.2.4. Схема IВ-1а (рис. 3.2 б) предусматривает:

удаление всех слоев одежды над крайними балками, а при необходимости и других слоев, что оговорено в п. 3.1.2;

объединение монолитной плиты с крайними балками для обеспечения их совместной работы;

Рис. 3.2. Схемы уширения на 1,5-2 м (мосты на дорогах III-IV категории):

а - пролетное строение до уширения; б - симметричное уширение (схема Iв-1а, l = 8,66 + 16,76 м); в - то же (схема IIВ(Г)-1в, l = 8,66 + 14,06 м); г - несимметричное уширение (схема I(II) Г-1а, l = 11,36 + 16,76; д - то же (схема IIГ-1a, l = 11,36 + 14,06); е - то же (схема IIГ-1в, l =8,66 + 14,06)

частичную обрубку консолей крайних балок для стыковки с арматурой плиты приставляемой балки (рис. 3.3);

наращивание ригеля с объединением арматуры и устройством подкосов (см. рис. 3.3).

Толщина монолитной плиты над крайними балками - 80-100 мм. Армирование производят сварными сетками из арматуры периодического профиля диаметром 10-12 мм класса А II.

При уширении бездиафрагменных пролетных строений с неповрежденной гидроизоляцией слои одежды в пределах существующего пролетного строения не удаляют, а стыкуют с новыми. При наличии в гидроизоляции дефектов руководствуются рекомендациями п. 3.1.2. Консоли плит крайних балок бездиафрагменных пролетных строений частично удаляют для оголения арматуры, стыкуемой с арматурой плиты приставляемых балок.

3.2.5. Схема IIГ-1в (см. рис. 3.2 в) предусматривает:

удаление всех слоев одежды на всей площади проезжей части; обрубку консолей крайних балок до корня с сохранением выпусков арматуры плиты на длине 100-150 мм;

устройство монолитной плиты толщиной от 10 см над крайней балкой до 15 см над средней, армированной в двух уровнях с консолью ~ 0,5 м;

устройство монолитной железобетонной вставки между балкой и плитой;

объединение плиты с ребром балки в зоне диафрагм болтами для обеспечения совместной работы на изгиб и кручение1;

1 При расчетном обосновании допускается в отдельных случаях объединение болтами (штырями) не устраивать (см. раздел 3.6).

уширение тела опоры (новые и старые насадки могут между собой не объединяться);

устройство закладных деталей в плите.

Толщину монолитной вставки принимают в интервалах от 200 до 400 мм в зависимости от степени необходимой разгрузки средней балки.

3.2.6. В зависимости от степени армирования ребра уширяемого пролетного строения и высоты приставляемой балки объединение конструкций снизу может быть выполнено в двух вариантах:

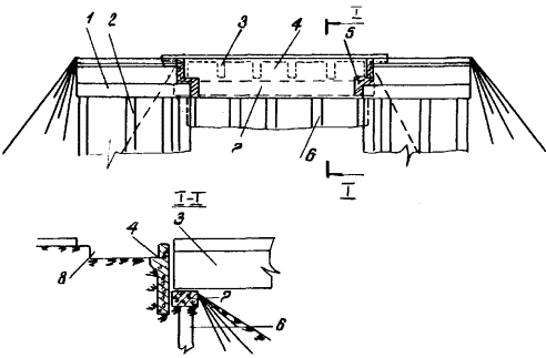
Рис. 3.3. Узел объединения приставляемых и существующих элементов по схеме IБ-1а применительно к варианту уширения на 2,0 м (с Г-7 + 2 ´ 0,75 до Г-9 + 2 ´ 1,0 или с Г-8 + 2 ´ 0,75 до Г-10 + 2 ´ 1,0):

1 - оставшийся выравнивающий слой; 2 - монолитная железобетонная плита; 3 - гидроизоляционный слой по монолитной плите; 4 - граница старого габарита; 5 - граница нового габарита; 6 - покрытие; 7 - выпуски арматуры из приставляемого блока; 8 - арматура продольного стыка омоноличивания; 9 - новый защитный слой; 10 - арматура монолитной плиты; 11 - арматура добетонируемой части опоры; 12 - добетонируемая часть ригеля; 13 - оголенная арматура стойки опоры; 14 - участок оголения арматуры кранонасадки

при выравнивании плит и балок по верху низ плиты соединяют со стенкой балки болтами, пропущенными в отверстия стенки и соединенными с закладными деталями плиты (рис. 3.4): число болтов - по два у каждой диафрагмы, диаметр - 18-24 мм (для пролетов 11,36 - 16,76 м)1;

1 При расчетном обосновании допускается в отдельных случаях объединение болтами (штырями) не устраивать (см. раздел 3.6).

Рис. 3.4. Стыки плитных и ребристых балок с объединением болтами (а) и захватами (б):

1 - существующая балка; 2 - удаленная консоль; 3 - арматурные сетки; 4 - выпуски арматуры из плиты; 5 - арматурный каркас; 6 - монолитиый бетон поверх плиты; 7 - закладные детали; 8 - скоба захвата; 9 - клей; 10 - упор; 11 - приставляемая плита; 12 - объединяющий болт; 13 - отверстие в ребре

при пониженном расположении плит их соединяют скобами-захватами (струбцинами), прикрепленными к закладным деталям плит и охватывающими стенку балки (см. рис. 3.4); число скоб - по числу диафрагмы к закладной детали сверху приваривают поперечную арматуру плиты.

3.2.7. Схема IГ-1А (рис. 3.2 г) предусматривает:

удаление всех слоев одежды либо на половине существующего пролетного строения, либо только над крайней балкой (см. например, рис. 3.3, что зависит от состояния изоляции и диафрагм пролетных строений;

частичную обрубку консоли крайней балки для стыковки арматурных выпусков;

устройство новой гидроизоляции и вышележащих слоев по обновленному защитному слою или по монолитной плите.

Положение нового тротуарного блока должно быть таким, чтобы избежать попадание колеса расчетной нагрузки на крайнюю балку при невыгодном загружении пролетного строения. При разрежении использовать тротуары различной ширины более широкий тротуар располагают со стороны, противоположной уширению (на рис. 3.2 слева).

3.2.8. Схема IIГ-1а (рис. 3.2 д) предусматривает:

удаление всех слоев одежды;

обрубку консоли плиты крайней балки до корня;

изготовление первой приставляемой балки без одной консоли;

устройство между сближенными балками монолитной железобетонной вставки с объединением по низу;

устройство дополнительной монолитной железобетонной плиты толщиной не менее 100 мм с объединением ее для совместной работы с балками пролетного строения;1

1 При расчетном обосновании допускается в отдельных случаях объединение по балкам снизу не устраивать (см. раздел 3.6).

устройство закладных деталей в первой приставляемой балке.

Объединять балки по стенке можно с помощью болтов (шпилек) или пластин (рис. 3.5). При объединении пластинами рекомендуется использовать два варианта:

с приваркой пластин к оголенной арматуре и закладной детали;

с устройством объемлющего захвата.2

2 С использованием а.с. № 1013542.

При уширении с габарита Г-10 + 2 ´ 1,0 м до Г-11,5 + 2 ´ 1,5 м и с Г-8 + 2 ´ 0,75 м до Г-9,5 + 2 ´ 1,0 м повышается класс расчетной нагрузки (с НГ-60 до НК-80) при условии смещения левого тротуарного блока в сторону оси на 0,5 м, а для остальных случаев - при дополнительном усилении крайней левой балки.

3.2.9. Схема IIГ-1в (рис. 3.2 е) предусматривает:

удаление всех слоев одежды на половине моста;

срубку консоли плиты крайней балки до корня;

устройство монолитной железобетонной вставки между балкой и плитой;

устройство монолитной плиты толщиной до 150 мм над средними балками;

объединение плиты с ребром балки в зоне диафрагм болтами или шпильками;

устройство закладных деталей в одной плите;

смещение одного тротуарного блока в сторону оси моста на величину, исключающую попадание колеса расчетной нагрузки на крайнюю балку.

Рис. 3.5. Узлы сопряжения ребристых балок:

а, в - стыковка балок с помощью накладок; б - болтов; г - захватов

1 - монолитный бетон плиты; 2 - выпуски арматуры; 3 - хомут каркаса; 4 - монолитный бетон вставки; 5 - закладная деталь; 6 - стыковая накладка; 7 - приваренная пластина; 8 - выкол бетона; 9 - просверленное отверстие; 10 - болт; 11 - оголенный хомут; 12 - основная арматура; 13 - сварка; 14 - граница опалубки; 15 - поперечная балка; 16 - удерживающая полоса, приваренная к выпускам; 17 - клей; 18 - упор; 19 - опалубка

Допускается устройство монолитной плиты по всей ширине пролетных строений с объединением их в температурно-неразрезные. В этом случае повышается класс расчетной нагрузки (например, с НГ-60 до НК-80 [12].

3.3. Увеличение габарита на 3 - 3,5 м

3.3.1. Уширение мостов с увеличением габарита на 3-3,5 м может осуществляться как с использованием накладной сборной, сборно-монолитной, монолитной железобетонной плиты (группа Б) [2], приставляемых элементов с увеличенными консолями и уширением лишь ригеля опор (группа В) [4], так и с помощью приставляемых элементов по аналогии с рекомендациями раздела 3.2 с уширением тела опоры (группа Г) или строительством дополнительных опор (группа Д).

3.3.2. Уширение за счет добавления балок (плит) при увеличении габарита на 3-3,5 м рекомендуется производить по схемам на рис. 3.6, где показаны способы симметричного (а-г) и одностороннего (д-з) уширения с приближением в большинстве случаев новых элементов пролетного строения к существующим и с одновременным устройством накладной монолитной железобетонной плиты (б-г, е-з). При необходимости значительной разгрузки существующих балок в отдельных случаях предусмотрено объединение стыкуемых элементов с помощью монолитной вставки.

При уширении используют Т-образные балки с каркасной арматурой и преднапряженные пустотные плиты. В отдельных случаях, оговоренных ниже, допускается применение предварительно-напряженных балок.

3.3.3. Длины пролетных строений, для которых рекомендуется использовать приведенные схемы уширения, указаны на рис. 3.6. Схемы применяют при изменении габарита:

с Г-6 + 2 ´ 0,75 м    до Г-9 + 2 ´ 1,0 м;

« Г-7 + 2 ´ 0,75 м     « Г-10 + 2 ´ 1,0 м;

« Г-8 + 2 ´ 1,0 м       « Г-11,5 + 2 ´ 1,5 м;

« Г-10 + 2 ´ 1,0 м     « Г-13,25 + 1 ´ 1,5 м.

Рис. 3.6. Схемы уширения на 3,0-3,5 м (мосты на дорогах III категории):

а - симметричное уширение (схема IГ-1а, l = 8,66 - 16,76 м); б - то же (схема IIГ-1а, l = 8,66 - 11,36 м); в, г - то же (схема IIIГ-1в, l = 8,66 - 14,06 м; д - несимметричное уширение (схема IД-2а, l = 8,66 - 16,76 м); е - то же (схема IIД-1а, l = 8,66 - 11,36 м); ж - то же (схема IIIД-1а, l = 8,66-14,06 м); з - то же (схема IIIД-1а, l =8,66 - 11,36 м)

На рис. 3.6 даны варианты для случая увеличения габарита с Г-7 + 2 ´ 0,75 м до Г-10 + 2 ´ 1,0 м. Во всех вариантах предусмотрено удаление (замена) покрытия проезжей части.

3.3.4. Схема IГ-1а (рис. 3.6 а) предусматривает:

частичное или полное (в зависимости от состояния) удаление консолей плит крайних балок с оголением арматуры для стыковки;

удаление слоев одежды над крайними балками, а при неудовлетворительном состоянии гидроизоляции по всей площади - полное удаление слоев одежды;

изготовление первой приставляемой балки с укороченной консолью;

максимальное приближение (до 0,5 м) приставляемой балки к существующей;

устройство монолитной плиты над крайней балкой с обеспечением их совместной работы;

развитие тела опоры, позволяющее удлинить ригель на 2 м.

3.3.5. Если слои одежды в средней части существующего пролетного строения не удаляются, поверх оголенного защитного слоя устраивают дополнительна слой бетона толщиной 50-70 мм, армированный в поперечном направлении арматурой периодического профиля, стыкуемой с выпусками арматуры из плиты приставляемой балки.

При уширении бездиафрагменных пролетных строений по указанной схеме первую дополнительную балку располагают на расстоянии не менее 0,8 м от существующей крайней, а при наличии в крайней балке дефектов, снижающих ее жесткость, - на расстоянии 0,5 м. В случаях уширения мостов с пролетными строениями длиной 16,76 м допускают использование предварительно-напряженных ребристых балок по проекту 384/26, изготовленных в опалубке l = 18 м. При этом целесообразно применять двухстороннюю несимметричную схему уширения с тремя дополнительными балками.

3.3.6. Схема IIГ-1а (рис. 3.6 б) предусматривает:

частичное или полное (в зависимости от состояния) удаление консолей плит крайних балок;

удаление всех слоев одежды;

максимальное приближение приставляемых балок к существующим (на 0,5 м);

устройство монолитной железобетонной плиты (толщина в середине 22 см), объединенной для совместной работы с балками;

развитие тела опоры, позволяющее удлинять ригель на 2 м.

При уширении с габарита Г-7 и Г-8, по указанному методу, повышается класс расчетной нагрузки (например, с НГ-60 до НК-80).

При уширении бездиафрагменных пролетных строений по указанной схеме первую балку располагают на расстоянии не менее 0,8 м от существующей.

3.3.7. Схемы IIIГ-1а и IIIГ-1в (рис. 3.6 в, г) предусматривают использование четырех пустотных плит (ребристых балок), максимально приближенных к существующему пролету и объединенных с ним по монолитной вставке и накладкам (болтами) - см. рис. 3.4, 3.5.

Кроме того, предусматривается:

удаление консолей плит существующих крайних балок с оголением арматуры для стыковки;

устройство накладной железобетонной монолитной плиты, объединенной для совместной работы с балками;

развитие тела опоры, позволяющее удлинить ригель на 2-2,5 м.

Данный метод уширения позволяет повысить класс расчетной нагрузки (например, с НГ-60 до НК-80) даже при наличии в конструкциях дефектов, снижающих жесткость диафрагм и главных балок. В зависимости от степени повреждения конструкций и требуемой степени разгрузки средних балок толщину монолитной вставки принимают в интервалах от 200 до 400 мм.

Пример уширения по схеме III-Г-1 а (рис. 3.6 г) приведен на рис. 3.7.

Рис. 3.7. Поперечное сечение мостов, уширенных с развитием тела опор (а) и устройством новых опор (б)

3.3.8. Схема IД-2а (рис. 3.6 д) предусматривает:

удаление слоев одежды на половине проезжей части с подготовкой их к стыковке с новыми слоями;

частичную обрубку (на 100-150 мм) бетона консоли крайней балки для стыковки с выпусками арматуры плиты приставляемой балки;

применение только ребристых балок по проекту 710/5, а при длине 16,76 м - предварительно-напряженных - по проекту 384/26.

Рекомендованный метод уширения пролетных строений бездиафрагменными балками может быть использован и при увеличении габарита на большую величину, например, с Г-7 + 2´0,75 м до Г-11,5 + 2´1,5 м (рис. 3.8).

Рис. 3.8. Пример одностороннего уширения моста с бездиафрагменными пролетными строениями, имеющими оценку «хорошо» (из проекта Барнаульского филиала Гипродорнии)

3.3.9. Схема IIД-1a (рис. 3.6 е) отражает комбинированный метод уширения, предусматривающий:

удаление всех слоев одежды;

частичное удаление консоли плиты крайней балки;

максимальное приближение первой приставляемой балки к существующей (на 0,5 м) с расположением плиты приставляемой балки над старым пролетным строением;

устройство монолитной железобетонной плиты толщиной до 20 см в средней части, объединенной для совместной работы с балками;

смещение одного тротуара в сторону оси моста на величину, исключающую попадание колеса временной расчетной нагрузки на крайнюю балку.

При увеличении габарита с Г-7 до Г-8 указанная схема уширения позволяет повысить класс нагрузки на уширенный мост (например, с НГ-60 до НК-80).

3.3.10. В схеме IIIД-1а (рис. 3.6 ж) консоль существующей балки удалена полностью, а первая приставляемая балка выполнена без одной консоли для обеспечения объединения конструкций по всей высоте стенки с устройством накладок по низу балок1. Как и в предыдущем случае, предусмотрены монолитная железобетонная плита и смещение тротуарного блока к оси шва. Если дефекты в пролетном строении сосредоточены на одной половине пролетного строения, то монолитную плиту можно устраивать не на всей ширине пролета.

1 См. сноску к п. 3.2.5.

3.3.11. Схема IIIД-1А (рис. 3.6 з) во многом повторяет вариант на рис. 3.6 е с той разницей, что:

удалена крайняя балка (например, из-за ее неудовлетворительного состояния);

плиты дополнительных балок с двух сторон расположены над балками существующего пролетного строения;

минимальная толщина монолитной плиты составляет 16 см, толщина плиты в середине - около 25 см.

Расстояние, на котором первая приставляемая балка расположена от существующей, может изменяться от 0,4 до 0,8 м в зависимости от возможности забивки свай новой опоры. Приведенный способ уширения позволяет увеличить класс расчетной нагрузки на мост после уширения даже при наличии дефектов в балках, плите, диафрагмах, а также позволяет облегчить работу ригеля и крайних свай существующей опоры.

3.3.12. Пролетные строения при уширении на 3-3,5 м по рекомендуемым вариантам могут быть объединены в температурно-неразрезные различными, в основном комбинированными способами.

В частности, для схем:

по рис. 3.6 а - по продольным стыкам омоноличивания, а в пределах средней части - по слоям одежды; при этом при объединении по продольным стыкам соединительную плиту отделяют вертикальными прорезями (рис. 3.9); аналогичным образом поступают при двустороннем уширении бездиафрагменных пролетных строений1;

1 С использованием а.с. № 1013542.

по рис. 3.6 б - по продольным стыкам омоноличивания с вертикальными прорезями в приставляемой части и по монолитной плите на среднем участке [11]

по рис. 3.6 в - с помощью накладок по плитам и монолитному бетону средней части; при старом габарите Г-7 допускается объединять по накладкам только в пределах приставляемых элементов (рис. 3.10);

по рис. 3.6 г - по продольным стыкам омоноличивания на приставляемых участках и с помощью штырей [11] на среднем участке;

по рис. 3.6 е, з - по продольным стыкам в приставляемой части и накладной плите на остальном участке.

3.4. Увеличение габарита на 4,5 - 5 м

3.4.1. Уширение мостов с увеличением габарита на 4,5 м и более производят добавлением новых элементов пролетных строений с устройством новых опор с двух или с одной стороны (группа Д). В отдельных случаях могут быть использованы решения с добавлением меньшего количества балок (плит) с устройством длинных консолей [2].

3.4.2. Рекомендуемые для уширения схемы (рис. 3.11) базируются на приведенных ранее решениях (см. рис. 3.2 и 3.6) с увеличенным количеством балок или измененными расстояниями между ними. В частности, при симметричном уширении:

схемы IД-1а (рис. 3.11 а) и IIД-1а (рис. 3.11 б) отличаются от аналогичных схем, приведенных на рис. 3.6 а, увеличенным до 1 м расстоянием между существующей и приставляемой балками и незначительным, в этой связи, увеличением толщины одежды (разрешается применение предварительно-напряженных балок при l = 16,76 м);

схема IIIД-1в (рис. 3.11 в) отличается от схем на рис. 3.6 в, г количеством дополнительных балок.

Рис. 3.9. Способ объединения уширяемых пролетных строений в температурно-неразрезное:

1 - существующие балки; 2 - новые балки; 3 - продольный шов омоноличивания; 4 - существующий зазор между торцами; 5 - прорезь в шве омоноличивания

Рис. 3.10. Схемы (план) объединения пролетных строений в температурно-неразрезные по приставляемой части с помощью накладок (а) и по плите (б):

1 - существующее пролетное строение; 2 - продольный шов омоноличивания; 3 - приставляемые плиты или балки; 4 - соединительные накладки; 5 - деформационный шов старого пролетного строения; 6 - продольная прорезь в плите

Рис. 3.11. Схемы уширения на 4,5-5,0 м (мосты на дорогах II категории):

а - симметричное уширение (схема IД-1а, l =8,66 - 16,76 м); б - то же (схема IIД-1а, l = 8,66 - 11,36 м); в - то же (схема IIIД-1в, l = 8,66 - 14,06 м); г - несимметричное уширение (схема IIД-1а, l = 11,36 - 14,06 м); д - то же (схема IIIД-1а, l = 11,36 - 14,06 м); е - то же (схема IIIД-1а, l = 11,36 - 14,06 м)

3.4.3. При несимметричном уширении используются комбинации различных решений (сближение, объединение в мощные ребра, устройство дополнительной плиты, смещение тротуара, удаление крайней балки). Опоры при этом уширяются в одну сторону с удлинением на другом конце, в отдельных случаях, ригеля. Так, для варианта с удлинением ригеля рекомендуется использовать схемы:

IIД-1а (рис. 3.11 г) - на удлиненную консоль установлена одна балка, на дополнительную опору - несколько; тротуар смещен, монолитная дополнительная плита в середине имеет толщину 20 см;

IIIД-1а (рис. 3.11 д) - то же, с объединением сопрягаемых балок по всей высоте стенки; причем, в среднем омоноличенном узле балки между собой могут быть не связаны болтами (накладками)1.

1 При обосновании расчетом (см. раздел 3.6).

При неудовлетворительном состоянии крайней балки она может быть удалена (схема IIIД-1а на рис. 3.11 е) и заменена новой (бездиафрагменной) с максимальным приближением к оставшемуся массиву. Опору в этом случае уширяют лишь в одну сторону. Не исключается (при обосновании расчетом), что монолитную вставку можно не устраивать.

3.4.4. Длины пролетных строений, при которых рекомендуется применение приведенных на рис. 3.11 схем уширения, ограничены величинами 9 (8,66) м и 12 (11,36) м. Уширение по варианту «а» возможно (допустимо) при длинах пролетных строений 16,76 м (18 м). Рекомендованные схемы приемлемы при увеличении габаритов

с Г-7 + 2 ´ 0,75 м    до Г-11,5 + 2 ´ 1,5 м;

« Г-7 + 2 ´ 0,75 м    «   Г-13,25 + 2 ´ 1,5 м;

« Г-8 + 2 ´ 1,0 м      «   Г-13,25 + 2 ´ 1,5 м;

« Г-8 + 2 ´ 1,0 м      «   Г-15,25 + 2 ´ 1,5 м;

« Г-10 + 2 ´ 1,0 м    «   Г-15,25 + 2 ´ 1,5 м.

На рис. 3.11 даны варианты для случая увеличения габарита с Г-7 + 2 ´ 0,75 м до Г-11 + 2 ´ 1,5 м

3.4.5. Узлы сопряжения сопрягаемых балок для различных схем уширения приведены на рисунках 3.12 и 3.13.

Рис. 3.12. Объединение балок при одностороннем уширении (схемы IIД-1а):

а - применительно к схеме по рис. 3.11 б; б - то же, по рис. 3.11 г,

1 - монолитная плита усиления; 2 - консоль крайней балки; 3 - новая балка; 4 - продольный шов омоноличивания; 5 - обрубленная консоль

При устройства накладной плиты по варианту рис. 3.11 б (вариант составлен на базе решения Белдорнии [3] бетон армируют двумя рядами из арматуры периодического профиля Æ 12-16 мм. Шаг продольной арматуры нижнего ряда - 25 см, а верхнего - 20 см. Шаг поперечной арматуры соответствует шагу выпусков из плиты балки.

В вариантах с устройством монолитной вставки (рис. 3.11 д, е) армирование плиты зависит от положения приставляемых балок. При выравнивании балок в одном уровне снизу (вариант д) поперечную арматуру нижнего ряда прерывают между второй и третьей балками и приваривают к накладке диафрагм. При варианте «е» нижняя арматура соединена с выпусками арматуры из плит, а верхняя продлена до конца монолитного бетона плиты.

3.4.6. Объединение пролетных строений в температурно-неразрезные осуществляют в соответствии с требованиями п. 3.3.12. Объединение приставляемых конструкций между собой в поперечном направлении осуществляют известными способами (см., например, а. с. № 1213149).

Рис. 3.13. Объединение балок с усилением диафрагм при уширении:

а - с устройством монолитной вставки; б - без устройства

1 - приставленная балка; 2 - монолитная вставка; 3 - существующая балка; 4 - монолитный бетон плиты; 5 - закладная деталь в балке; 6 - поперечная балка; 7 - хомут; 8 - упор; 9 - подвеска; 10 - накладка диафрагмы; 11 - клеевой шов

4. УШИРЕНИЕ ОПОР

4.1. Основные требования

4.1.1. При необходимости симметричного уширения моста следует в максимальной степени использовать существующие конструкции опор и все возможности их уширения без переустройства фундаментов или тела свайных промежуточных опор, что упрощает и удешевляет работы по реконструкции моста (например, учитывать упрочнение грунтов от длительной эксплуатации моста).

4.1.2. До принятия решения о способе уширения тела опоры следует удостовериться в отсутствии необходимости уширения ее фундамента как при существующих опорных частях, так и при случае замены их резиновыми. Для улучшения работы опор целесообразно при уширении объединять пролетные строения в температурно-неразрезные. Для ускоренной оценки возможности уширения моста без уширения фундаментов следует пользоваться графиками прил. 4, где изложены данные для наиболее распространенных типов опор, типов сопрягающихся пролетов, величин различных уширений и грунтовых условий.

4.2. Схемы уширения промежуточных опор и область их применения

4.2.1. Возможны три характерных способа уширения промежуточных опор:

уширение только ригеля (группа В);

уширение ригеля и тела опор без уширения фундаментной части (группа Г);

то же, но с уширением фундаментной части (группа Д).

Условные схемы уширения по указанным способам приведены на рис. 4.1. Допустимые величины уширения по каждому варианту даны в табл. 4.1.

Таблица 4.1

Допустимые величины уширения опор

Вариант по рис. 4.1

Высота опор, м

С, м

а

без ограничения

£ 0,8

б-1

³ 3,0

£ 1,5

б-2

³ 4,5

£ 2,0

в

без ограничения

> 2,0

Рис. 4.1. Условные схемы уширения опор:

а - без развития тела; б, г - с развитием тела опоры, но без развития фундаментов; в - то же с развитием фундамента

4.2.2. Свайные промежуточные опоры. При уширении моста на 1-2 м уширение свайной опоры может быть осуществлено за счет удлинения и усиления только насадки, жестко объединяемой с существующей ее частью (см. рис. 3.3).

При уширении моста на 3,0-3,5 м рекомендуется превращение свайной опоры в свайно-стоечную, как это показано на рис. 4.1 б. При этом допускается часть опоры омоноличивать в виде стенки, а штыревое соединение по торцу насадки не устраивать. Арматуру цокольной части соединяют с оголенной вертикальной арматурой стоек-свай.

При уширении моста на 4-5 м дополнительные сваи забивают на расстояниях, близких к существующим в опоре. Новая часть насадки может не омоноличиваться с существующей в случае принятия мер для предотвращения неравномерных осадок. Допустимая разница в осадках определяется надежной работой пролетных строений в поперечном направлении и может быть принята в пределах, при которых относительное вертикальное смещение приставляемой балки по сравнению с ближайшей существующей не превышает 0,001 В (В - расстояние между балками) - в диафрагменных пролетных строениях и 0,002 В - в бездиафрагменных. В остальных случаях насадки должны быть объединены.

4.2.3.* Для предотвращения чрезмерной осадки несущая способность пристраиваемой части опоры по грунту и материалу свай должна быть увеличена; степень увеличения несущей способности дана в табл. 4.2.

* В пункты, отмеченные звездочкой, включены требования, приведенные в [2].

Таблица 4.2

Глубина погружения сваи существующей части опоры, м

Увеличение несущей способности опоры на новых сваях при песчаных и глинистых грунтах с коэффициентом консистенции В £ 0,5 (под нижними концами свай)

4

1,35

6

1,30

8

1,25

10

1,20

4.2.4. Свайно-стоечные опоры. Стоечные опоры. При отсутствии необходимости уширения фундамента уширение свайно-стоечных и стоечных опор может быть осуществлено либо за счет удлинения насадки при уширении моста на 1-2 м (аналогично п. 4.2), либо при уширении моста до 4 м с установкой дополнительных подкосов (см. рис. 4.1 б). Последние изготовляют из сборного железобетона с выпусками арматуры, заделываемыми в удлиняемую часть насадки. В качестве подкосов могут быть использованы части железобетонных свай со стержневой арматурой. Нижние концы подкосов устанавливают в предварительно вырубленные ниши в фундаменте (ростверке) с последующим обетонированием.

Угол отклонения подкосов от вертикали следует принимать не более 30°. Расстояние от верха подкосов до существующих стоек должно быть не более 2,0 м. Части удлинения стоечных опор должны быть соединены со старой опорой сваркой арматуры.

4.2.5. Для восприятия распора от подкосов уширенных стоечных опор под существующей насадкой и к подкосам должны быть прибетонированы железобетонные охватывающие пояса, арматуру которых рассчитывают на полное горизонтальное усилие в насадке (см. рис. 4.1 б). Усиление перегруженных стоек следует производить железобетонными рубашками по насеченной поверхности стоек, рубашки армируют сварными каркасами.

При уширении фундамента уширение тела опор производят достройкой конструкции, аналогичной существующей (см. рис. 3.8, 3.11).

4.2.6. При увеличении ширины ригеля по схеме «б» рис. 4.1 должна быть обеспечена надежная связь добавляемой части с существующей конструкцией как за счет штырей, устанавливаемых в просверленные в торце ригеля отверстия, так и за счет сплошной продольной арматуры, соединяющей новые элементы с двух сторон опоры. Сплошную арматуру вдоль ригеля располагают либо в бетонной рубашке, либо в монолитном бетоне добетонирования старого ригеля. Допустимо применение в качестве продольного связующего элемента прокатного стального профиля, например швеллера.

4.2.7.* Монолитные опоры и опоры-стенки. При отсутствии необходимости уширения фундамента тело опоры рекомендуется уширять пристраиваемыми массивами из монолитного железобетона, опертыми на обрезы существующих фундаментов (рис. 4.2).

Рис. 4.2. Уширение массивных промежуточных опор (из ВР 218 УССР): обозначения см. на рис. 4.3.

Минимальный размер пристраиваемого массива по низу принимается равным 50 см, а максимальный по верху - 2,0 м, но не более половины высот опоры. Размер штрабы не менее 30 ´ 30 см. В штрабах устанавливают анкера диаметром не менее 25 мм из арматуры класса А-II. Глубина шпуров - не менее 15 диаметров анкера. Расстояние между анкерами - 50 см.

4.2.8.* При высоте массивной опоры свыше 5 м и достаточных запасах в несущей способности опор по грунту допустимо уширение ригеля до 2,5 м в каждую сторону. При этом рекомендуется устраивать приштрабованные массивы с большими консолями. Пристраиваемые железобетонные массивы по верху и по низу опоры должны быть прикреплены охватывающими железобетонными поясами с арматурой, проходящей на всю ширину опоры.

4.2.9. При значительном наклоне торцевых граней массивных опор (от 4:1 до 6:1) допускается уширение их приштрабованными массивами только в верхней части опоры (рис. 4.3). Высота массивов должна быть не менее 3,0 м. Нижний охватывающий пояс, являющийся упором для массивов уширения, следует надежно объединить с телом опоры.

При наличии на поверхности опор трещин и других дефектов, снижающих несущую способность опор, рекомендуется устройство сплошных железобетонных рубашек толщиной 10-15 см.

4.2.10.* Объединение бетона схватывающих поясов и рубашек со старым бетоном должно осуществляться установкой арматурных штырей диаметром не менее 10 мм (арматура класса А-III) через 50 см в шахматном порядке и обработкой старой поверхности бетона насечкой.

Целесообразно новую рубашку наносить методом сухого токретирования с использованием цементно-песчаной смеси в соотношении 1:3 и добавлением трех частей щебенки размером зерен 2-8 мм.

4.3. Схемы уширения устоев

4.3.1. Конструктивные решения по уширению береговых опор должны по возможности исключать необходимость нарушения плотности насыпи за шкафной стенкой при производстве работ по уширению. При отсутствии такой возможности в чертежах должны быть указаны приемы восстановления плотности насыпи после окончания работ по уширению (послойное трамбование грунта до Купл > 0,98, заполнение пазух цементо-грунтом с тщательным трамбованием и т. п.).

Рис. 4.3. Уширение высоких массивных промежуточных опор (из ВР 218 УССР):

1 - монолитный железобетон уширения тела опоры; 2 - верхний железобетонный охватывающий пояс; 3 - оголовок существующей опоры; 4 - монолитный железобетон оголовка опоры; 5 - штрабы в теле существующей опоры; 6 - анкера из арматуры класса А-II; 7 - тело существующей опоры

4.3.2. Свайные устои. Свайные опоры рекомендуется уширять добивкой свай, при этом новые расстояния между ними «ан» могут отличаться от фактически существующих в устоях - «ас».

При ан ³ всс - размер сваи поперек моста) для существующих свай учитывают увеличение несущей способности грунтов, а в остальных случаях - не учитывают. Длину свай или их несущую способность следует назначать из условия п. 4.2.3. Конструкция достраиваемой шкафной части должна повторять конфигурацию существующей и объединяться с ней на штырях. В отдельных случаях объединение дополнительной насадки с существующей осуществляют, соединяя каркас с арматурой крайних свайных стоек (рис. 4.4).

4.3.3. Уширение козловой опоры рекомендуется производить забивкой дополнительных свай (в один или два ряда). Забивку производят как в заранее отсыпанный грунт конуса (уширенный конус), так и до отсыпки конуса. В последнем случае сваи должны входить в существующее основание.

4.3.4.* Массивные устои. Устои с обратными стенками и открылками рекомендуется уширять либо возводя с двух сторон Г-образные в плане пристойки (рис. 4.5), либо забивают дополнительные сваи в заранее уширенный конус. Соединение старой и новой частей опор производят на штырях.

Уширение фундаментов на свайном основании рекомендуется осуществлять забивкой дополнительных свай без устройства ростверка с соблюдением требований к несущей способности свай в соответствия с табл. 4.2.

4.3.5. Для случаев уширения моста, в котором отсутствуют переходные плиты и шкафные стенки, устои уширяют забивкой дополнительных свай с двух сторон (в один или два ряда), с установкой на них ригеля со шкафной стенкой, а в пределах существующей части - с установкой вертикальной плиты, соединенной по выпускам арматуры со шкафной стенкой. Причем в пределах существующей части сооружения переходные плиты можно не устраивать, если коэффициент уплотнения существующей насыпи не менее 0,98 (рис. 4.6).

4.4. Установка (замена) опорных частей

4.4.1. Установку опорных частей предусматривают в пролетных строениях, где они ранее отсутствовали, например в пролетных строениях длиной 11,36 и частично 14,06 м. Отсутствие опорных частей приводит к сколам углов опорного участка балок и углов ригеля, что в свою очередь способствует быстрому износу узла опирания и резкому снижению грузоподъемности моста. В качестве опорных частей могут быть использованы:

ленточные резиновые опорные части размером 150 ´ 200 мм в плане и толщиной 5-15 мм (для пролетов - 11,36 м);

резиновые прокладки из автомобильных шин (устанавливают на сравненную бетонную поверхность) или из транспортной ленты шириной не более ширины ребра балки;

резиновые слоистые опорные части минимальных размеров в плане [13];

резинофторопластовые опорные части, выполненные в виде РОЧ, скользящих по фторопласту (опорная часть размещена под стальной крышкой, прикрепленной или приклеенной к балке), размер подкладок и фторопласта в плане превышает размеры РОЧ; резинофторопластовые опорные части устанавливают под балки длиной 14,06 и 16,76 м при числе пролетов не менее трех.

Рис. 4.4. Уширение устья забивкой свай:

1 - насечка на торце ригеля; 2 - балка; 3 - ригель; 4 - стойка; 5 - оголенная арматура стойки; 6 - монолитный бетон ригеля; 7 - арматура монолитного ригеля; 8 - дополнительная стойка; 9 - выпуски арматуры из стойки

Рис. 4.5. Схема уширения массивного устоя:

1 - положение переходной плиты; 2 - обратная стенка; 3 - шкафная стенка; 4 - новый открылок; 5 - старый открылок; 6 - штыревой стык; 7 - песчаная подушка

Рис. 4.6. Способ уширения устоя железобетонных мостов:

1 - новый ригель со шкафной стенкой; 2 - дополнительные сваи; 3 - существующие балки; 4 - новая плита-стенка; 5 - монолитный бетон объединения; 6 - существующая свая; 7 - существующий ригель; 8 - участок с удаленной одеждой под переходную плиту

4.4.2. Переделка опорных частей при превращении пролетных строений в температурно-неразрезные (пролеты частично 14,06 м, а также 16,76 м и более) предполагает получить подвижную опорную часть из неподвижной, что требуется исходя из условий работы опорных частей в составе ТНПС. В опорных частях с боковыми зубчатыми фиксаторами переделка сводится к удалению фиксаторов, а в опорных частях с центральным штырем - к удалению штыря (подъемка пролетного строения, срезка штыря автогеном). Указанные методы допускаются при длине реконструируемого моста до 60 м. При больших длинах следует заменять либо отдельные элементы опорных частей (балансиры, шарниры), либо опорные части полностью, что устанавливается при проектировании отдельно в каждом конкретном случае в зависимости от расчетных перемещений концов пролетных строений, типа опорных частей, длины моста и конструкции опор.

5. РЕКОМЕНДАЦИИ ПО ПРОЕКТИРОВАНИЮ

5.1. Расчет уширенных мостов

5.1.1. Расчет и проектирование опор уширенных мостов осуществляют в соответствии с требованиями нормативных документов (например [12]). При этом для оценки возможности уширения конструкций используют методику, приведенную в прил. 4. Характеристики материала старых конструкций (прочность бетона, расчетное сопротивление арматуры) принимают по нормам, по которым эти сооружения проектировались ранее.

5.1.2. Проектирование пролетных строений осуществляют в последовательности, оговоренной в разделе 2. При этом для предварительного выбора схем уширения используют ориентировочные данные по жесткости элементов (балок, плит, диафрагм - разд. 2.2) и степени разгрузки элементов после уширения по коэффициентам поперечной установки (разд. 2.2 и прил. 5). Выбранные варианты рассчитывают с учетом пространственной работы конструкции по более точным методикам. При этом рекомендуется использовать программы PRNY и POSTV расчета на ЭВМ, разработанные на кафедре мостов МАДИ, а также другие программы, позволяющие рассчитать системы с различными жесткостями в продольном и поперечном направлениях.

5.1.3. Загружение линий (поверхностей) влияния усилий расчетной временной и постоянной нагрузкой осуществляют в соответствии с требованиями СНиП 2.05.03-84 [12].

5.1.4. При определении усилий в балках от постоянной нагрузки учитывают негативное влияние длительных деформаций в бетоне на перераспределение усилий между балками умножением подсчитанных значений M и Q на повышающие коэффициенты условий работы Kп. Величины Kп принимают:

а) схемы по рис. 3.1 для балок:

средних Kп = 1,0 (бездиафрагменные пролетные строения);

Kп = 1,05 (диафрагменные пролетные строения);

крайних Kп = 1,1;

б) при стыках по рис. 3.3 для балок:

средних Kп = 1,0 (диафрагменные и бездиафрагменные пролетные строения);

крайних Kп = 1,1;

в) при стыках по рис. 3.5 для балок:

средних Kп = 1,1;

крайних Kп = 1,2;

г) при стыках по рис. 3.12 а для балок:

средних Kп = 1,0 (бездиафрагменные пролетные строения);

Kп = 1,05 (диафрагменные пролетные строения);

крайних Kп = 1,15.

5.1.5. При расчете уширенных пролетных строений со стыками по рис. 3.4 и 3.5 жесткость сечения на изгиб и кручение объединенных балок (плит) подсчитывают как жесткость единого элемента, если соблюдены требования:

стыкуемые элементы соединены накладками, болтами, штырями и т. д., сечение которых подсчитано по максимальному изгибающему моменту в ближайшей стыку диафрагме;

площадь верхней продольной арматуры монолитной вставки равна не менее 50 % площади нижней арматуры;

в верхней части стыка имеется два ряда арматуры, а толщина монолитной плиты - не менее 10 см;

монолитная вставка армирована каркасом (стержнями), имеющими поперечное армирование (хомуты).

Если объединяющие стальные элементы не применяют, то следует принимать «раздельную» расчетную схему узла, т. е. включающую три раздельных элемента (старая и новая балки, монолитный бетон) со своими характеристиками на изгиб и кручение. Необходимо иметь в виду, что способы объединения по рис. 3.4 и 3.5 вызывают перегрузку диафрагм и плиты, в связи с чем и предусматривают меры по их усилению монолитной плитой.

5.1.6. При проверке прочности диафрагм и плит, усиленных монолитной плитой при уширении по схемам с приставляемыми элементами, жесткость диафрагм и плит при расчете на действие временной нагрузки принимают увеличенной. Плечо внутренней пары (расстояние от нижней арматуры диафрагмы до центра сжатой зоны) принимают увеличенной на толщину монолитной плиты.

5.1.7. При проектировании конструкций со схемами, предусматривающими устройство накладной монолитной плиты, объединенной в совместную работу с балками, выполняют проверку по величине касательных напряжений на контакте монолитный бетон-балка. При величине напряжений до 2 кг/см2 (0,2 МПа) поверхность бетона лить очищают, допустимо не предпринимать специальных мер по обработке поверхности бетона перед бетонированием. При 2 < t £ 4 кг/см2 (0,4 МПа) поверхность должна быть обработана соответствующими составами (например, эпоксидным вяжущим), а при t > 4 кг/см2 (0,4 МПа) в проекте следует предусматривать упоры, выпуски арматуры из продольных швов, шпонки или другие меры, объединяющие сборный и монолитный бетон.

5.1.8. При проектировании конструкций по схемам, предусматривающим удаление тротуаров или их смещение на увеличенную консоль уширяемого пролетного строения, необходимо проверять расчетом прочность и трещиностойкость крайних балок (возможна перегрузка существующих балок из-за смещения положения временной нагрузки). При необходимости крайние балки усиляют известными методами (дополнительной арматурой или шпренгелем).

5.1.9. При расчете устоев с пристроенной частью в виде свай, забитых в заранее отсыпанный (уширенный) откос или в существующую насыпь, боковое давление грунта не учитывают (см. прил. 3 к СНиП 2.05.03-84). В этом случае рекомендуется устои рассчитывать как конструкции в упруго-деформированной среде.

5.2. Компоновка пролетных строений

5.2.1. Приведенные в разд. 3 рекомендуемые схемы уширения предусматривают в случаях, когда речь идет об уширении пролетных строений со старыми длинами (8,66 м; 11,36; 14,06; 16,76; 22,16 м) с использованием современных конструкций, изготовленных в «своих» опалубках, но с измененной длиной. Например, для уширения пролетных строений длиной 11,36 м предусмотрено изготовление балок в опалубке l = 12 м, т. е. на 0,64 м короче, чем внутренний размер опалубки.

В отдельных случаях, оговоренных ниже, допустимо применение балок обычных (современных) длин без изменения технологии их изготовления.

5.2.2. Железобетонные балки длиной 12 м могут быть использованы при уширении одно-трехпролетных мостов с длиной пролетных строений 11,36 м. При этом однорядные промежуточные опоры уширяют двухрядными опорами, позволяющими сместить точку опирания на них крайних пролетных строений на 0,6 м (рис. 5.1). Устои под новые массивы устраивают самостоятельными и объединяют с существующими с помощью развитой в ширину насадки и вертикальной продольной железобетонной стенки. Старые и новые части сооружения объединяют между собой с помощью выпусков арматуры из плит в случае сохранения разрезной схемы.

5.2.3. В случае объединения в ТНПС с использованием балок неизмененной длины поднимают концы пролетных строений на устоях и устанавливают их на резиновые подкладки или опорные части. Несовпадение поперечных швов между торцами компенсируют в этом случае накладной плитой, отделяемой от балок над опорами.

Рис. 5.1. Уширение моста 3 ´ 11,36 м балками l =12 м:

а - существующая компоновка; б - компоновка после уширения; в - план уширенного моста

1 - дополнительная часть промежуточной опоры; 2 - дополнительная часть устоя со шкафной стенкой; 3 - продольная стенка устоя; 4 - продольный шов омоноличивания с арматурными выпусками; 5 - существующий пролет; 6 - новый пролет

Дополнительные ограничения:

количество добавляемых балок с каждой стороны - не менее двух;

при одностороннем уширении непременное условие - наличие накладной монолитной плиты1.

1 Возможность применения балок l = 12 м при объединении по рис. 3.5 устанавливают по результатам тщательных расчетов c использованием [10] или опытного производства

5.2.4. Рекомендации по уширению пролетных строений балками l = 12 м распространяются на схемы, приведенные на рис. 3.6 а, б, д, е (увеличение габарита на 3-3,5 м) и на рис. 3.11 а, б, д (увеличение габарита на 4,5-5 м).

При уширении однопролетных мостов с балками 11,36 м допускается использование балки l = 12 м и в схемах на рис. 3.2 в, д; рис. 3.6 в, г, ж; рис. 3.11 в, е.

5.2.5. Железобетонные балки длиной 15 м могут быть использованы при уширении одно-двухпролетных мостов с длиной пролетных строений 14,06 м (рис. 5.2). Схема моста может быть составлена как в разрезном, так и в температурно-неразрезном варианте. Для двухпролетных мостов могут быть использованы схемы уширения, приведенные на рис. 3.6 а; рис. 3.11 а, е, а для однопролетных - кроме того, на рис. 3.2 в, д; рис. 3.6 г, ж; рис. 3.11 в, ж.

5.2.6. Железобетонные цельноперевозимые балки длиной 18 м и 24 м могут быть использованы при уширении однопролетных мостов с длиной пролетных строений 16,76 и 22,16 м. При этом из схем, приведенных ранее, допускается применение на рис. 3.2 б, г; рис. 3.6 а; рис. 3.11 а, г.

При расчете выбранных вариантов уширения с использованием более длинных балок значения поперечной силы на концевом участке балки и усилий в диафрагме (плите) определяют с учетом требований по расчету косых пролетных строений [10].

5.2.7. Наряду с применением укороченных и нормальной длины балок возможно применение тех же балок, но с недобетонированной плитой проезжей части аналогично конструкциям по проекту [14] температурно-неразрезных пролетных строений.

Рис. 5.2. Уширение моста 2 ´ 14,06 балками l = 15 м:

а - существующая компоновка; б - компоновка после уширения; в - план уширения моста

Применяя при уширении балку с укороченной плитой, представляется возможным снять ограничения по количеству пролетов в цепи уширяемого моста, что имеет место при использовании балок «нормальной» длины. Недобетонирование плит позволяет установить ребра балок на опоры вразбежку, в результате чего расширяется область использования изготавливаемых сегодня конструкций при уширении мостов по приведенным на рис. 3.2, 3.6 и 3.11 схемам. При этом рекомендуется использовать два варианта:

1 - плиту недобетонируют на длину, оговоренную в [14], а ребра устанавливают таким образом, чтобы опорные части расположены были по оси ригеля; сопряжение осуществляют по монолитной соединительной плите.

2 - плиту недобетонируют на длину меньшую, чем в [14], а ребра устанавливают таким образом, чтобы опорные части находились не на одной линии.

Указанную установку пролетных строений допустимо применять в схемах с переустройством в ТНПС. Во всех случаях в устанавливаемых вразбежку балках ребра примыкают друг к другу вплотную (максимально сближены).

5.2.8. Вариант 1 (рис. 5.3 а) разрешается использовать в пяти схемах, предусматривающих уширение на 3 м и более с устройством монолитной железобетонной плиты: на рис. 3.6 б, е, з; на рис. 3.11 б, е.

Длины пролетных строений, уширение которых рекомендуется вести с использованием балок большей длины по варианту 1, - 11,36 м и 14,06 м.

Наиболее эффективно использование варианта 1 при узкой (до 0,8 м) насадке существующего моста.

5.2.9. Вариант 2 (рис. 5.3 б) допускается использовать в схемах:

на рис. 3.2 г (для длин пролетных строений - от 11,36 м до 16,76 м, используются балки длиной от 12 м до 18 м соответственно);

на рис. 3.6 б, е, з (для длин пролетных строений - 11,36 м, уширяемых балками 12 м);

на рис. 3.11 а (11,36-16,76) и б (11,36 м).

5.2.10. По варианту 2 сопрягаемые новые пролетные строения объединяют с помощью накладок, привариваемых к закладным деталям, которые установлены в продольных швах омоноличивания. Минимальная ширина насадки для указанных методов уширения составляет 80 см при использовании балок l = 12 м и 120 см - l = 18 м. Основные размеры, необходимые для разработки проекта уширения по варианту 2 расположения балок, даны в табл. 5.1.

Рис. 5.3. Расположение балок со сдвижкой ребер на опорах при узкой (а) и широкой (б) насадках:

1 - старая балка; 2 - монолитная плита; 3, 4 - новые балки; 5 - выпуски арматуры для омоноличивания; 6 - опорная часть; 7 - накладки с закладными деталями

Рис. 5.4. Уширение пролетных строений балками меньшей длины:

а - существующая компоновка; б - измененная компоновка после уширения; в - план участка над опорой

1 - существующий устой; 2 - существующее пролетное строение; 3 - существующая промежуточная опора; 4 - новый устой; 5 - новое пролетное строение; 6 - новая опора; 7 - монолитный бетон накладной плиты

Варианты:

l1 = 22,16 м               l1 = 16,76 м

l2 = 21,0 м                 l2 = 15,0 м

a = 1,2 м                    a = 1,8 м

Таблица 5.1

Длина балок, м

Различие в длине, м

Величина перехлеста ребер, м

Требуемая ширина насадки, м (не менее)

Смещение осей опорных частей, м

старых

новых

11,36

12,0

0,64

0,6

0,6

0,1

14,06

15,0

0,94

0,9

0,9

0,3

16,76

18,0

1,24

1,2

1,2

0,6

22,16

24,0

1,84

-

-

-

Требования по проектированию (расчету) накладок даны в [11].

5.2.11. В отдельных случаях компоновку пристраиваемых пролетных строений уширяемого моста можно осуществлять с помощью балок меньшей длины, чем в существующем пролетном строении, а именно:

l = 21 м при уширении l = 22,16 м;

l = 15 «         -»-            l = 16,76 «.

При этом изменяется конфигурация опор в связи с тем, что ширина насадки существенно увеличивается (рис. 5.4). Новые балки изготавливают с недобетонированными концевыми участками или с выпусками арматуры для последующей стыковки в ТНПС. Шкафную стенку, как и в случаях, показанных на рис. 5.1 и 5.2, выполняют ступенчатой с выступом к середине моста.

6. ИЗГОТОВЛЕНИЕ КОНСТРУКЦИЙ, ОРГАНИЗАЦИЯ И ПРОИЗВОДСТВО РАБОТ

6.1. Изготовление сборных конструкций

6.1.1. Элементы пролетных строений (балки, плиты) изготавливают в существующих опалубках с использованием перемещаемых торцевых щитов и вставок на дно опалубки, позволяющих выпускать элементы требуемых длин (отличаются от опалубки под современные длины на 0,64 - 1,84 м1, а для ребристых пролетных строений - и уменьшенной при необходимости высоты. При относительной ширине рекомендуемого сооружения Анов / Астар £ 1,5 (уширения с Г-6 до Г-8, с Г-8 до Г-10, с Г-9 до Г-11,5) балки пролетных строений делают с недобетонированной плитой по концам для объединения в температурно-неразрезную цепь (ТНПС). При большем соотношении ширины пролетных строений балки изготавливают с обычными концевыми участками, а их объединение в ТНПС следует осуществлять по продольным стыкам омоноличивания.

1 В отдельных случаях не требуется изменения длины балок (см. разд. 5).

6.1.2. При выпуске пустотных плит с закладными деталями для объединения в поперечном направлении закладные детали по низу с двух сторон плиты соединяют арматурой без разрыва. Сечение поперечной арматуры, соединяющей закладные детали, определяют расчетом по величине изгибающего момента поперек моста. Поперечную арматуру приваривают не к закладной детали, а к вертикальному ребру жесткости.

Верхние закладные детали, предназначенные для объединения плит в ТНПС, могут быть установлены в бетонируемых стыках. Закладные детали должны иметь вертикальные и горизонтальные стержни для воспринятия соответствующих усилий в соединительном элементе. Размеры закладных деталей даны в прил. 6.

6.1.3. Тротуарные балки, перила, ограждающие устройства изготавливают в соответствии с требованиями типовых проектов. Один из блоков на длине пролета делают измененной длины под размер эксплуатируемого пролетного строения.

Сборные элементы уширения опор производят в заводских (полигонных) условиях, соблюдая требования по материалам, бетонированию и уходу за бетоном в соответствии с [15].

6.2. Организация работ

6.2.1. Работы по уширению мостов в зависимости от длины моста и сложности работ могут выполнять:

специализированные мостовые прорабства при ДРСУ или автодорах (увеличение габарита за счет удаления тротуаров, схемы уширения, не требующие полного удаления консолей крайних балок, не требующие свайных работ, уширение однопролетных мостов);

мостовые ремонтно-строительные управления при автодорах или объединениях - МРСУ;

мостостроительные управления МСУ при объединениях.

6.2.2. Уширение пролетных строений и опор желательно выполнять без полного закрытия движения по мосту, а лишь с ограничением пропускной способности сооружения и массы движущихся автомобилей. При этом рекомендуется выполнять работы поочередно на каждой половине пролетного строения. Перед выполнением работ на пролетном строении следует выполнить максимально возможные работы по уширению опор. Организация ремонтных работ в этом случае зависит от наличия или отсутствия сваебойных работ у промежуточных опор.

6.2.3. Ограничение массы движущихся автомобилей связано с условиями твердения бетона омоноличивания крайней балки с приставляемой. По линии влияния поперечной установки для крайней балки можно выделить участок с минимальными ординатами (рис. 6.1) и установить требуемые ограничения в зависимости от величины ординат, а следовательно, и от ширины эксплуатируемого моста.

Рис. 6.1. Схема к определению допустимой полосы движения автомобиля «В» при уширении моста

При выполнении бетонных работ в теплое сухое время могут быть приняты следующие ограничения:

габарит Г-6 - движение не допускается;

габарит Г-7 - допускается движение только легковых автомобилей;

габарит Г-8 - допускается движение автомобилей массой до 5 т;

габарит Г-9 и более - массой до 10 т.

6.2.4. В случае увеличения габарита за счет удаления тротуаров (группа А рис. 3.1) порядок работ принимают следующим:

Подготовительные работы:

заготовка сеток для дополнительной монолитной плиты;

    -»-        каркасов для монолитных консолей;

получение или изготовление тротуарных блоков, перил;

подготовка гидроизоляционных материалов;

изготовление опалубочных щитов и кронштейнов, их поддерживающих;

подготовка механизмов и машин, требующихся при уширении (компрессор с отбойными молотками, автомобильный кран грузоподъемностью 3-5 т, передвижная электростанция, вибраторы глубинные и поверхностные, виброрейка, сварочный агрегат, автосамосвалы, автотранспорт для подвозки и вывозки железобетонных конструкций, поливомоечная машина ПМ-130);

подготовка строительной площадки (вагончики под бытовку, инструмент, материалы);

ограждение места работ с установкой необходимых знаков, учитывая, что работы ведутся вначале на одной половине моста.

Основные работы:

удаление на половине моста асфальтобетонного покрытия, защитного слоя на участке шириной 2,5 м от тротуара и выравнивающего слоя (до балок) на участке шириной 1,0 м от тротуара (рис. 6.2); погрузка кусков вырубленных слоев на транспортное средство - вручную или погрузчиком;

удаление тротуарных блоков с бордюрами и перилами;

установка страховочных временных перил, привариваемых к оголенным накладкам либо между первой и второй балками, либо к арматуре плиты;

обрубка концов тротуарных плит на 20-25 см (в проекте организации строительства должны быть предусмотрены меры по обеспечению безопасности работы при обрубке края плиты, например работа с монтажными поясами с закреплением к временным перилам);

Рис. 6.2. Последовательность работ при уширении за счет удаления тротуаров:

а - пролетное строение до уширения; б - удаление слоев одежды и установка опалубки; в - бетонирование консолей; г - подготовленная под гидроизоляцию плита

1 - защитный слой; 2 - покрытие; 3 - гидроизоляция; 4 - выравнивающий слой; 5 - тротуар; 6 - балка прол. строения; 7 - узел объединения плит по накладкам; 8 - опалубочная балка; 9 - регулировочная подкадка; 10 - стяжной болт; 11 - опалубка консоли; 12 - выпуски арматуры; 13 - монолитный бетон 1-ой очереди; 14 - закладная деталь под ограждение; 15 - монолитный бетон 2-ой очереди

установка щитов опалубки консолей и закрепление их (устанавливают на всю длину двух пролетов, см. рис. 6.2);

     -»-         арматуры и бетонирование консоли на участке над крайней балкой в первом пролете;

удаление и перестановка временных страховочных перил;

укладка арматурных сеток на проезжую часть (сетка монолитной плиты) и стыковка ее с выпусками арматуры консольной части;

перестановка в следующий (третий) пролет щитов опалубки с первого пролета;

бетонированию плиты в пределах первого пролета;

устройство гидроизоляции по монолитной плите на всей половине;

монтаж ограждающих устройств (плит с ограждением), устройство деформационных швов, защитного бетонного слоя и асфальтобетонного покрытия на одной половине моста; работы на второй половине моста повторяются.

При устройстве деформационных швов, покрытия, защитного слоя используют имеющиеся нормативно-технические документы [12, 16-18].

6.2.5. При уширении моста на величину 2 м (группа В), используя схемы уширения с приставляемыми балками и увеличением лишь длины ригеля опор (рис. 3.2 б), порядок работ должен быть следующим:

Подготовительные работы:

заготавливают необходимые сборные конструкции, материалы, опалубочные щиты, арматурные каркасы и сетки;

подготавливают необходимые машины и механизмы (кроме указанных в п. 6.2.4, монтажный кран грузоподъемностью 15 т и сваебойное оборудование для забивки свай устоев);

обустраивают промежуточную опору с двух сторон и подготавливают необходимую опалубку для них;

обкалывают верх крайних стоек устоя и оголяют на длине 0,5 м продольную арматуру;

прикрепляют к стойкам сварной каркас;

в торцах ригеля промежуточных опор пробуривают перфоратором по 4-6 отверстий и располагают в них анкерные стержни (либо новый каркас приваривают к оголенной арматуре ригеля);

оголяют арматуру крайних стоек промежуточных опор и приваривают к ним стальные каркасы;

устанавливают опалубку по краям ригеля всех опор;

удаляют по тротуарному блоку над устоями с каждой стороны и по два блока над промежуточными опорами (ограждение мест работы на проезжей части обязательно);

срубают отбойными молотками концевые участки консолей плит (по 1 м) над каждой промежуточной опорой и устоями поочередно - вначале с одной стороны моста, затем с другой (с целью обеспечения подачи бетона к ригелю с проезжей части);

на проезжей части моста располагают бадью для бетона и кран грузоподъемностью 3 т, подают бетон на опору сверху;

бетонируют края ригеля и подпорки;

ограждают проезжую часть, оставив движение по одной половине моста (места, где удалены тротуары, перекрывают временными колесоотбоями и настилом для пешеходов);

удаляют тротуары по всей стороне моста;

обрубают (укорачивают) консоль плиты; целесообразно укорочение консоли вести вслед за удалением очередного блока тротуара;

удаляют с одной стороны моста слои одежды (покрытие, защитный слой и гидроизоляцию);

устанавливают приставляемые балки с одной стороны моста;

     -»-               опалубку, арматуру и бетонируют дополнительную шкафную стенку;

удаляют слои дорожной одежды на подходе и устанавливают дополнительные переходные плиты на забетонированную дополнительную шкафную стенку (указанную работу, как и предыдущую, выполняют одновременно с удалением слоев одежды);

восстанавливают засыпку конуса по краям устоя;

укладывают арматурные сетки по выравнивающему слою и подвешивают опалубочные щиты под продольный стык омоноличивания (предварительно выпуски арматуры сваривают);

бетонируют дополнительную плиту проезжей части на половине моста;

укладывают изоляцию по монолитной плите;

устанавливают новые тротуарные блоки и перила с одной стороны моста;

укладывают защитный слой, нижний слой покрытия с одной стороны с устройством деформационных швов на устоях;

устанавливают ограждающие устройства на подходе;

переключают движение на уширенную часть моста и повторяют работы, начиная с удаления тротуаров на другой половине моста.

После завершения работ на второй половине на проезжей части моста и подходе укладывают верхний слой асфальтобетонного покрытия.

6.2.6. При уширении моста с использованием схем по группе Г (с уширением тела опор) наиболее важным этапом подготовительных работ является обстройка промежуточных опор. Их следует обстраивать таким образом, чтобы была возможность повышать уровень рабочей площадки при бетонировании опоры и чтобы обстройка имела «приемную» площадку материалов и бетона сверху. При обстройке целесообразно использовать инвентарные леса и подмости многоразового использования.

Порядок выполнения основных работ должен быть следующим (применительно к схемам уширения по рис. 3.6 в и г):

откапывают края ригелей устоев для обозначения мест забивки дополнительных свай;

производят уширение подхода; отсыпают грунт на обочины с двух сторон моста и уплотняют его;

либо устанавливают на подход с одной стороны копер для забивки дополнительных свай (с возможностью перемещения копра), либо подготавливают площадку для забивки с использованием стрелового крана;

забивают сваи поочередно с каждой стороны устоев;

подготавливают промежуточные опоры к уширению ригеля и тела (опалубка, арматурные работы);

уширяют устои с одной стороны моста;

удаляют тротуарные блоки над опорами и срубают консоль плиты (для облегчения подачи бетона сверху на приемочную площадку);

бетонируют промежуточные опоры на всю их длину при подаче бетона с одной стороны (например с верховой);

уширяют устои с другой стороны моста (может выполняться одновременно с предыдущей работой);

удаляют с одной стороны тротуары: при удалении тротуаров и монтаже балок (см. выше) кран устанавливают на проезжей части, а транспорт с балкой (прицеп, роспуск) - рядом, при этом на период разгрузки балки движение на мосту временно закрывают;

срубают консоли плит крайних балок с одной стороны моста, при этом применяют щиты, с которых ведутся работы по обрубке, и предусматривают страховочные приспособления для рабочего;

осуществляют подъемку пролетных строений на устоях или промежуточных опорах (при необходимости) с установкой, заменой или реконструкцией опорных частей;

устанавливают дополнительные элементы (плиты, балки) с одной стороны моста;

удаляют слои одежды на необходимой ширине (с одной стороны моста);

устанавливают опалубочные щиты, арматурные каркасы для объединения приставляемых элементов;

бетонируют стыки в уширяемой части с одной стороны моста;

устраивают проезжую часть на участке уширения, устанавливают тротуары (с деформационными швами на устоях в случае объединения в ТНПС);

завершают уширение насыпи на всей длине отгона с двух берегов, устанавливают ограждения на подходе;

укладывают нижний слой покрытия на верховой стороне, в том числе принимают меры по уширению обочин;

переставляют ограждение на низовую сторону и повторяют все работы, начиная с удаления существующих тротуарных блоков.

6.2.7. При реализации схем уширения с добавлением свай-стоек (группа Д) порядок работ может быть следующим (применительно к схеме на рис. 3.11 д):

1 - осуществляют замену, переделку или установку опорных частей (подъемка пролетных строений);

2 - подготавливают промежуточные опоры (ригель и тело) к наращиванию, добетонированию, усилению;

3 - уширяют насыпи у моста с одной стороны (первый этап отсыпки перед установкой копра);

4 - уширяют устои в одну сторону (условно в верховую); обстраивают промежуточные опоры снизу под копер;

5 - снимают тротуарные блоки у промежуточных опор с верховой стороны и удаляют консоль плиты балок на этих участках, пропуски в тротуаре закрывают безопасными ограждениями;

6 - забивают сваи с верховой стороны для уширения промежуточных опор;

7 - наращивают в одну сторону ригель;

8 - сужают проезжую часть, устанавливают ограждения, снимают оставшиеся тротуары и удаляют консоли плит с верховой стороны пролетных строений;

9 - удаляют слои одежды на необходимой ширине, уширяют пролетные строения в одну сторону;

10 - устраивают проезжую часть на участке уширения, стыкуют слои одежды, устанавливают тротуары;

11 - завершают уширение насыпи (земляное полотно и одежда) на всей длине отгона с двух берегов с верховой стороны;

12 - устраивают покрытие (нижний слой) с одной стороны, снимают ограничение пропускной способности и массы, устанавливают ограждения с низовой стороны.

Далее работы ведут с противоположной стороны (удаление слоев одежды и тротуаров, устройство монолитной плиты и новых слоев одежды, монтаж новых тротуарных блоков со сдвижкой к оси моста, устройство верхнего слоя покрытия по всей площади моста). Необходимо стремиться к параллельному выполнению отдельных работ. Последовательность выполнения работ и их взаимосвязь показаны на графике рис. 6.3.

Рис. 6.3. График последовательности выполнения работ на первом этапе уширения с одной стороны моста (номера событий соответствуют окончанию работ, указанных в п. 6.4)

6.3. Технология работ по уширению

6.3.1. Уширение мостов включает работы, характерные как для строительства нового сооружения (опалубочные, арматурные, монтажные работы, устройство проезжей части, забивка свай, разборка сооружения), так и для уширения автомобильных дорог (уширение земляного полотна, укрепление обочин и конусов) и мостов.

Характерными в технологическом отношении работами при уширении мостов являются:

подъемка пролетных строений;

уширение опор (в части обстройки опор и подачи бетона под пролетное строение);

обрубка концов плит или целиком консолей;

сверление отверстий в бетоне;

обработка поверхностей конструкций перед укладкой монолитного бетона.

6.3.2. Для подъемки используют гидравлические домкраты, количество и грузоподъемность которых принимают в соответствии с табл. 6.1 (применительно к диафрагменным ребристым пролетным строениям).

Таблица 6.1

Габарит моста, м

Длина пролетного строения, м

Грузоподъемность домкрата, тс

Число домкратов, шт.

Г-7

11,36 (12)

25 (20)

3 (4)

 

50

2

14,06 (15)

50 (25)

2 (4)

16,76 (18)

50

3

 

100

2

Г-8

11,36 (12)

25

3

14,06 (15)

50

3

16,76 (18)

50

3

Примечание. В скобках - для бездиафрагменных пролетных строений.

Домкраты располагают симметрично относительно оси моста.

В пролетных строениях с шестью балками домкраты располагают между двумя крайними балками и посредине пролетного строения (при трех домкратах). Допускается упирать домкраты в плиты балок через брусья. При использовании двух домкратов их располагают под вторыми балками и упирают в распределительный ригель. При семи балках в поперечном сечении обязательно использование распределительного ригеля.

Для подъемки применяют либо шальную клетку, либо инвентарные рамы, опираемые на грунт или обрез фундамента опоры, что определяют при проектировании. Работы ведут при наличии подмостей. Целесообразно использовать ручные насосные установки (прил. 7).

6.3.3. Удаление консолей плит может быть осуществлено с помощью пневмоинструмента (например отбойных молотков).

6.3.4. Обстройку опоры с ростверком при необходимости уширения тела опоры и ригеля (уширение моста до 4 м) выполняют в два этапа: на первом этапе с одной стороны опоры устанавливают подмости, обеспечивающие монтаж опалубки с одной плоскости опоры на всю высоту (поз. 4 рис. 6.4), а также приемку бетона для бетонирования на высоту до 1,2 м (рис. 6.4 а); на втором - рабочую площадку с бадьей бетона поднимают на высоту 2 м, для чего разбирают инвентарные щиты с рельсом, устанавливают на нужную высоту (2 м) подмости (инвентарные леса) и вручную, либо краном с проезжей части, на приемную площадку (поз. 4 рис. 6.4) подают щиты и бадью. По всей плоскости наращивают опалубку выше на 0,5 м уровня бадьи под бетон. Бетонирование ведут, перемещая бадью вдоль опоры, периодически наполняя ее на приемочной площадке (рис. 6.4 б). Объем бадьи составляет 0,5 м3.

6.3.5. Перед установкой плиты (балки), ближайшей к крайней балке уширяемого пролетного строения, с фасадной поверхности существующей крайней балки удаляют слабый или поврежденный бетон. При этом пользуются люлькой, закрепляемой на уже приставленной или подготовленной крайней балке. Допускается подготовка поверхности перед работами по уширению моста с помощью специальной перемещаемой люльки, прикрепленной к любому транспортному средству, которое расположено на пролете (см. прил. 7 и [19]).

Целесообразно при омоноличивании приставляемых элементов с существующей конструкцией применять бетон повышенной прочности и плотности, в том числе и с пластифицирующими добавками, улучшающими его удобоукладываемость.

6.3.6. Сверление отверстий в бетоне для стыковки ригелей опор и объединения балок с плитами выполняют пневмосверлильными инструментами (например ИП-1023) и полыми сверлами с алмазной коронкой.

Техническая характеристика пневмосверлильной установки ИП-1023:

Рис. 6.4 Этапы обстройки промежуточной опоры:

а - при бетонировании нижнего яруса (с земли); б - при бетонировании верхнего яруса

1 - ригель; 2 - стойка; 3 - подвесная люлька; 4 - опалубка опоры; 5 - балка пролетного строения; 6 - щитовая опалубка нижнего яруса; 7 - бадья для бетона на рабочей площадке; 8 - рельсовый путь на сборных щитах; 9 - рабочий ход; 10 - подача материалов сверху; 11 - верхний ярус щитовой опалубки; 12 - средний ярус щитовой опалубки.

Для сверления отверстий используют кольцевые алмазные сверла марки СКА-2. Установка обеспечивается водой с расходом 2 л/мин, подаваемой с высоты не менее 2 м.

6.3.7. При объединении балок с помощью болтов необходим следующий порядок работ:

устанавливают люльку для размещения оператора (прил. 7);

отмечают расположение закладных деталей и переносят отметки на внутреннюю поверхность стенки;

сверлят отверстия с внутренней стороны балки. При сверлении прикладывают незначительное горизонтальное усилие - 6-8 кг. После сверления каждого отверстия сверло обтачивает, пробуривая наждачно-обточный камень (круг);

устанавливают болты и приваривают их к закладным деталям, рабочая арматура монолитного участка может опираться на болты;

демонтируют люльку;

устанавливают арматуру монолитного участка, подвешивают опалубку и затягивают болты.

6.3.8. В случае объединения балок накладками (рис. 3.5 а) придерживаются следующих технологических требований:

бетон защитного слоя обрубают только в зоне диафрагм;

для плотного прилегания закладной детали к рабочей арматуре балки защитный слой на участке между хомутами снизу рихтуют (подравнивают) пневмоинструментом;

перед приваркой закладной детали целесообразно на ее поверхность нанести слой клея толщиной 2-3 мм, после чего необходимо прижать ее к поверхности балки и прихватить сваркой в двух-четырех точках;

приваривают закладную деталь к рабочей арматуре с двух сторон балки. С внешней стороны выкол залечивают полимерраствором.

Приложение 1

Характеристика пролетных строений и опор, требующих уширения

1. Типовой проект сооружений на автомобильных дорогах, вып. 56 Союздорпроекта

а. Таблица усилий в главных балках, рассчитанных под нагрузку Н-13, НГ-60

Пролет в свету, м

Расчетный пролет, м

Высота главной балки, см

Главная балка

постоянная нагрузка

расчетные

момент в середине пролета, т. м.

поперечная сила на опоре, т

поперечная сила в середине пролета, т

момент в середине пролета, т.м.

поперечная сила на опоре, т

поперечная сила в середине пролета, т

7,5

8,4

70

9,5

4,52

0

38,8*

22,12*

5,25*

10

11,1

80

17,1

6,15

0

59,6*

25,55*

6,90*

12,5

13,7

85

26,6

7,77

0

82,0*

22,20*

7,94*

15

16,3

100

40,25

9,85

0

108,55*

25,20*

6,82*

20

21,6

125

76,40

14,15

0

142,80*

31,36*

7,60*

* Расчетные усилия получены от нагрузки НГ-60.

б. Таблица усилий в главных балках, рассчитанных под нагрузку Н-30, НК-80

Пролет в свету, м

Расчетный пролет, м

Высота главной балки, см

Главная балка

постоянная нагрузка

расчетные

момент в середине пролета, т. м.

поперечная сила на опоре, т

поперечная сила в середине пролета, т

момент в середине пролета, т.м.

поперечная сила на опоре, т

поперечная сила в середине пролета, т

7,5

8,4

70

9,5

4,52

0

43,10*

29,32*

7,50*

10,0

11,1

80

17,10

6,15

0

70,50*

32,75*

9,26*

12,5

13,7

85

26,60

7,77

0

99,20*

35,57*

10,70*

15,0

16,3

100

40,25

9,85

0

129,25*

38,85*

10,10*

20,0

21,6

125

76,40

14,15

0

199,30*

35,96*

10,70*

* Расчетные усилия получены от нагрузки НК-80.

2. Промежуточные опоры. Типовой проект 143-144 (нагр. Н-13, Н-18, НК-80)

 

 

 

Примен. при пролетах балок, м

Высота опоры, м (H) до:

Габарит моста, м

Сборно-монолитные

массивные

12,5+12,5

6

Г-6 + 2 ´ 0,75

15+15

(по вып. 56)

5

Г-6 + 2 ´ 1,5

Г-7 + 2 ´ 0,75

18,5+12,5

(по вып. 122 и 123)

6

Г-7 + 2 ´ 1,5

Г-8 + 2 ´ 1,5

Г-8 + 2 ´ 1,5

двухстолбчатые

12,5+12,5

6

Г-6 + 2 ´ 0,75

15+15

8

Г-6 + 2 ´ 1,5

20+20

8

Г-7 + 2 ´ 0,75

одностолбчатые

12,5+12,5

4

Г-8 + 2 ´ 0,75

15+15

6

Г-7 + 2 ´ 1,5

20+20

6

Г-7 + 2 ´ 0,75

а) постоянной ширины

б) телескопические

 

«а»

«б»

 

15+15

10

7

Г-6 + 2 ´ 0,75

Г-6 + 2 ´ 1,5

20+20

10

7

Г-7 + 2 ´ 1,5

Г-7 + 2 ´ 0,75

30+30

8

7

Г-8 + 2 ´ 0,75

30+15

8

7

Г-8 + 2 ´ 1,5

 

 

20+20

10

Г-6 + 2 ´ 0,75

30+30

12

Г6 + 2 ´ 1,5

40+40

12

Г7 + 2 ´ 0,75

Г7 + 2 ´ 1,5

свайные однорядные

40+20

10

 

40+15

10

 

30+15

10

 

свайные двухрядные

20+20

10

Г6 + 2 ´ 0,75

30+30

 

Г6 + 2 ´ 1,5

40+40

 

Г7 + 2 ´ 0,75

40+20

 

 

40+15

 

Г7 + 2 ´ 1,5

30+15

 

 

стоечные

12,5+12,5

6

Г6 + 2 ´ 0,75

15+15

8

Г6 + 2 ´ 1,5

20+20

10

Г7 + 2 ´ 0,75

Г7 + 2 ´ 1,5

Г8 + 2 ´ 0,75

Г8 + 2 ´ 1,5

Приложение 2

Методика технико-экономического обоснования уширения автодорожных железобетонных мостов

I. Общие положения

1.1. Настоящие указания предназначены для технико-экономического обоснования уширения автодорожных железобетонных мостов могут быть использованы при:

определении фактической экономической эффективности капитальных вложений в уширение мостовых переходов;

определении оптимальных размеров уширения, сроков реконструкции и стадийности ее осуществления;

сравнении и выборе вариантов производства работ по уширению габаритов мостов.

1.2. Методические указания является развитием и продолжением Указаний по определению экономической эффективности капитальных вложений в строительство и реконструкцию автомобильных дорог (ВСН 21-75) и Указаний по технико-экономическому обоснованию строительства и реконструкции мостовых переходов (ВСН 2-73).

1.3. К работам по уширению мостов относятся все виды работ, связанные с повышением их пропускной способности (увеличением габарита) как с увеличением, так и без увеличения несущей способности мостов или их отдельных конструктивных элементов.

1.4. Оптимальное уширение габарита искусственного сооружения обеспечивает получение экономического эффекта непосредственно на транспорте и в нетранспортных отраслях народного хозяйства, существующих в районе тяготения.

1.5. При обосновании экономической эффективности уширения мостового перехода следует учитывать следующие составляющие экономического эффекта, получаемого в результате его осуществления:

снижение затрат на перевозки грузов и пассажиров автомобильным транспортом вследствие возрастания скорости движения, сокращения пробега и улучшения дорожных условий;

снижение капитальных вложений в автомобильный транспорт в связи с увеличением скоростей движения автомобилей после уширения мостового перехода;

сокращение времени пребывания в пути пассажиров;

снижение потерь от дорожно-транспортных происшествий после уширения мостового перехода.

1.6. Дня реализации предлагаемой методики необходима следующая исходная информация:

характеристика транспортно-эксплуатационных качеств мостового перехода (его несущей и пропускной способности) с указанием возможного срока службы;

данные об интенсивности движения на мосту и ее изменении во времени за возможный срок службы мостового перехода;

сведения о составе движения на мосту и его изменении в перспективе;

данные о размещении пропускной способности близлежащих постоянных и временных мостовых переходов, паромных переправ.

1.7. При определении перспективной интенсивности движения на мосту следует иметь в виду, что ее рост в процессе эксплуатации мостового перехода происходит более высокими темпами, чем на автомобильной дороге, в составе которой он находится. Перспективный ежегодный прирост интенсивности движения на мостовом переходе по отношению к дороге следует определять специальным расчетом с учетом индивидуальных условий его эксплуатации. При отсутствии необходимых данных для такого расчета при средних значениях плотности дорожной сети (20-25 км/1000 км2 площади) рекомендуют использовать среднестатистические показатели прироста интенсивности движения на мостах KN, приведенные в табл. 1.

Таблица 1

Значения показателя KN на конец планируемого периода Т, лет

Длина моста, м

Категория автомобильной дороги

I

II

III

IV

V

1

2

3

4

5

6

Т = 20

Малые

1,014

1,044

1,160

1,410

1,250

Средние

1,044

1,100

1,200

1,510

1,304

Большие

1,100

1,200

1,400

-

-

Т = 18

Малые

1,012

1,039

1,135

1,342

1,204

Средние

1,039

1,088

1,166

1,419

1,250

Большие

1,088

1,170

1,341

-

-

Т = 16

Малые

1,011

1,033

1,106

1,270

1,163

Средние

1,033

1,076

1,134

1,331

1,20

Большие

1,076

1,154

1,283

-

-

Т = 14

Малые

1,008

1,028

1,083

1,203

1,126

Средние

1,028

1,064

1,106

1,254

1,156

Большие

1,053

1,106

1,181

-

-

Т = 12

Малые

-

1,022

1,062

1,150

1,094

Средние

1,022

1,053

1,080

1,186

1,116

Большие

1,053

1,106

1,181

-

-

T = 10

Малые

-

1,017

1,043

1,103

1,065

Средние

1,017

1,043

1,058

1,129

1,061

Большие

1,041

1,083

1,138

-

-

Т = 8

Малые

-

1,011

1,025

1,064

1,041

Средние

1,011

1,029

1,039

1,082

1,051

Большие

1,029

1,059

1,100

-

-

Т = 6

Малые

-

-

1,014

1,033

1,021

Средние

-

1,017

1,023

1,044

1,026

Большие

1,017

1,036

1,066

-

-

II. Определение экономической эффективности капитальных вложений в реконструкцию (уширение) моста

2.1. В качестве показателей, характеризующих уровень эффективности затрат в реконструкцию (уширение) мостового перехода, принимают коэффициент экономической эффективности капитальных вложений Еф или обратную ему величину - срок окупаемости Тф = Еф, которые сравниваются с соответствующими нормативными показателями Ен = 0,12 и Тн = 8,3 года.

При Еф ³ Kн или Тф £ Тн капитальные вложения в реконструкцию (уширение) моста являются экономически эффективными, что свидетельствует о целесообразности ее осуществления.

2.2. Определение оптимальной экономической эффективности капитальных вложений в реконструкцию (уширение) мостов производят по следующей формуле:

,                                                     (2.1)

где DЭt - величина снижения текущих транспортно-эксплуатационных затрат в t-й год эксплуатации моста в результате его уширения;

rt - коэффициент, учитывающий отдаленность затрат во времени;

tсл - срок службы моста (считая с момента его уширения);

Kp - затраты на реконструкцию моста;

DKat - величина высвобождающихся капитальных вложений в автомобильный транспорт в t-й год эксплуатации моста в результате его уширения.

2.3. При сроке службы моста t ³ 25 и изменении интенсивности движения по прямолинейной зависимости или сложным процентам рекомендуют формулу (2.1) упростить, используя принцип расчетного года:

,                                                          (2.2)

где tp - расчетный год эксплуатации моста, т. е. год, в котором абсолютная величина текущих затрат численно равна сумме затрат за весь период службы сооружения с учетом коэффициентов дисконтирования.

При изменении интенсивности движения по прямолинейной зависимости расчетным годом является 12-й год эксплуатации сооружения, а при изменении интенсивности по сложным процентам его величину устанавливают в зависимости от темпов роста интенсивности движения.

2.4. Величину снижения текущих транспортно-эксплуатационных затрат в результате уширения моста рассчитывают по формуле:

DЭt = DЭat + DЭпt + DЭдтпt,                                             (2.3)

где: DЭat - снижение себестоимости автомобильных перевозок в результате увеличения скорости движения автомобилей в t-ом году эксплуатации моста, руб.;

DЭпt - снижение потерь в народном хозяйстве в результате сокращения пребывания в пути пассажиров в t-м году эксплуатации моста, руб.;

DЭдтпt - снижение потерь в народном хозяйстве в результате сокращения дорожно-транспортных происшествий в t-м году эксплуатации моста, руб.

2.5. Снижение себестоимости автомобильных перевозок в результате уширения моста определяют по формуле:

,                                        (2.4)

где:

L - длина моста с подходами, км;

Ntj - среднесуточная интенсивность движения j-го типа автомобилей в t-й год эксплуатации моста, авт/сут;

 - средняя стоимость пробега автомобилей соответственно по существующему и уширенному мосту в расчете на 1 авт-км, коп. рассчитывают по формуле:

,                                          (2.5)

где:

 - средняя величина переменных расходов на 1 авт-км пробега для j-го типа автомобилей, коп.;

 - то же, постоянных расходов для j-го типа автомобилей, коп.;

Sj - средняя тарифная ставка шоферов, коп/авт-ч;

 - средняя скорость пробега автомобилей по существующему и уширенному мосту в t-м году (условно принимают равной средней скорости потока с учетом того, что обгон на мостах и подходах к ним запрещен); определяют ее в зависимости от габарита моста по формулам табл. 2 для проектируемых условий и с понижающим коэффициентом в зависимости от соотношения величины габарита моста и проезжей части дороги в существующих условиях (табл. 3).

Таблица 2

Формулы для расчета скорости потока автомобилей по мостам

Габарит моста

Тип ограждения

обычный бордюр, Н = 35 см

высокий бордюр, Н > 35 см

Г-7

Vt = 54,93 - 0,0699 Ntr* + 0,0000521 Ntr2

Vt = 46,4 - 0,084 Ntr + 0,00005 Ntr2

Г-8

Vt = 58,32 - 0,0517 Ntr + 0,0000265 Ntr2

 

Г-10

Vt = 59,83 - 0,043 Ntr + 0,000027 Ntr2

 

Г-11,5

Vt = 61,96 - 0,0336 Ntr + 0,000034 Ntr2

 

* Ntr - интенсивность движения, авт/ч.

Таблица 3

Коэффициенты, учитывающие снижение скорости потока

Существующие габариты мостов

Коэффициенты, учитывающие снижение скорости потока автомобилей из-за несоответствия существующих габаритов мостов ширине проезжей части дороги

 

Г-7 (4,5)*

Г-8 (6)

Г-10 (7)

Г-11,5 (7,5)

Г-6

0,925

0,7

0,5

-

Г-7

1

0,85

0,7

0,6

Г-8

-

1

0,85

0,775

* В скобках - ширина проезжей части дороги, м.

Taj - средняя продолжительность нахождения автомобиля j-го типа в наряде, ч;

aj - коэффициент выпуска j-го типа автомобилей на линию.

2.6. Для ориентировочной оценки экономической эффективности, капитальных вложений в реконструкцию (уширение) моста могут быть использованы графики снижения годовых транспортно-эксплуатационных (удельных) затрат в зависимости от времени эксплуатации моста после его уширения.

Реконструкция целесообразна при

 ³ 0,12,

где Kp - капитальные вложения в уширение моста (руб/м2).

Графики снижения годовых транспортно-эксплуатационных (удельных) затрат в зависимости от срока службы моста при его уширении (в расчете на 1 м2 уширения)



Приложение 3

Методика определения степени изменения коэффициентов поперечной установки из-за снижения жесткости балок и диафрагм

Установлены следующие закономерности влияния изменения жесткости балок «старой» части на распределение временной нагрузки:

снижение жесткости балок «старой» части тем сильнее сказывается на перераспределении усилий от временной нагрузки, чем ближе эта балка расположена к оси моста;

при снижении жесткости балки «старой» части не более чем на 50 % уменьшение коэффициента поперечной установки этой балки пропорционально снижению жесткости;

коэффициент поперечной установки нагрузки АК + толпа более чувствителен к изменению жесткости балок «старой» части, чем КПУ нагрузки НК-80;

одновременное влияние на распределение нагрузки снижения жесткости в нескольких балках «старой» части эквивалентно суммарному влиянию снижения жесткостей в этих балках, рассмотренных по отдельности.

Численная оценка влияния снижения жесткости балок «старой» части строится с учетом величины коэффициента отличия Si для i-й балки

                                                                      (1)

где  - значения КПУ для балки i в случае, если рассматривается вариант компоновки К, в котором балки «старой» части имеют снижение жесткости;

 - значение КПУ для балки i в случае, когда принят базисным вариант компоновки, при котором балки «старой» части имеют проектную жесткость.

Для балки «старой» части (i), имеющей меньшую жесткость, пропорционально уменьшению жесткости снижается коэффициент поперечной установки, который может быть определен по формуле:

=  - ai×DBi,                                                      (2)

где ai - коэффициент пропорциональности;

DBi - снижение жесткости i-ой балки в процентах;

K - номер компоновки, при котором балка i имеет пониженную жесткость.

В случае уширения пролетных строений, выполненных из балок по типовому проекту вып. 56 Союздорпроекта, типовыми плитными блоками (по типовому проекту 384/25 Союздорпроекта) коэффициенты равны: a = 0,68 - для крайних балок «старой» части, a = 0,88 - для балок «старой» части, установленных по оси моста. Промежуточные значения - по интерполяции.

Коэффициент отличия для балок со сниженной жесткостью

Si,k = 1 - aiDBi.                                                               (3)

Коэффициенты отличия для остальных балок (Sj,k) могут быть определены загружением соответствующих линий влияния давлений на балки, построенных, например, по обобщенному методу коэффициента поперечной установки.

Для пролетных строений по типовому проекту вып. 56 Союздорпроекта, уширяемых плитными элементами, Sj,k могут быть определены по табл. 1.

Совместное уменьшение момента инерции нескольких балок может быть учтено введением для этого случая коэффициента отличия Si,M, определяемого по формуле

Si,M = Si,k × Si,l × Si,j ...,                                                   (4)

где Si,k; Si,l; Si,j коэффициенты отличия для балки, если ослабление отмечено в балках l, k, j по отдельности.

При разработке проектов уширения пролетных строений необходимо иметь значения КПУ для балок базисного варианта (для широких пролетных строений достаточно ограничиться нагрузкой АК), коэффициенты отличия при шаговом изменении жесткости одной из главных балок «старой» части. Значение коэффициентов поперечной установки временной нагрузки для произвольной балки i следует получить по формуле

=  × Si,M,                                                                                                   (5)

где  - КПУ для балки i базисного варианта, в случае если балки имеют проектную жесткость;

Si,M - коэффициент отличия, полученный по формулам (1-4) для случая, когда балки «cтарой» части имеют пониженную жесткость.

Снижение жесткости балок «старой» части может быть определено путем обследования и испытания конструкции в соответствии с п. 2.2.

Теоретические исследования работы уширенных пролетных строений показали, что изменение жесткости диафрагм может определенным образом сказываться на работе конструкции. Отмечены следующие закономерности и особенности распределения временной нагрузки в уширенных пролетных строениях, имеющих сниженную жесткость отдельных диафрагм:

уменьшение жесткости одной из диафрагм, как правило, приводит к увеличению КПУ во всех главных балках «старой» части пролетного строения;

диапазон изменения коэффициентов отличия (определяемых как отношение коэффициента поперечной установки в пролетном строении с дефектами в диафрагмах и КПУ в пролетном строении без дефектов) в случае снижения жесткости одной из диафрагм в 2 раза составляет от 1,00 до 1,14;

максимальные значения коэффициентов отличия отмечены в балках, расположенных ближе к оси пролетного строения. Коэффициенты отличия в приставных элементах уширения, как правило, близки к 1, а в отдельных случаях меньше 1, что свидетельствует о том, что наличие дефектов в диафрагмах снижает долю нагрузок, воспринимаемую этими элементами;

наибольшее влияние на распределение нагрузок оказывает жесткость диафрагм, расположенных ближе к оси пролетного строения.

Расчет распределения нагрузок в уширенных пролетных строениях, диафрагмы которых имеют дефекты, сказывающиеся на их жесткости, может быть произведен по программе PRNY. В зависимости от локализации дефектов диафрагм может быть учтено снижение жесткости в различных местах по их длине. Если в диафрагме развиты значительные трещины, а стык находится в хорошем состоянии, следует равномерно снижать жесткость по длине диафрагмы. При локализации дефектов в области стыка необходимо назначать понижающую жесткость поперечной конструкции на концевых участках диафрагм, размеры которых должны быть примерно равны размеру закладных деталей. В случае развития дефектов в стыке и по длине диафрагм возможно соответствующее уменьшение жесткости по всей диафрагме, носящее ступенчатый характер.

Таблица 1

Коэффициенты поперечной установки и коэффициенты отличия для пролетных строений, имеющих семь балок в «старой» части (Г-8 + 2 ´ 1,0 м), уширенных четырьмя плитными блоками с каждой стороны, в случае изменения жесткости балок «старой» части (например, схема в на рис. 3.11).

Рассматриваемый случай ослабления балок «старой» части (номер компоновки варианта ослабления по пролетным строениям К)

Коэффициенты отличия при нагрузке А-11 (числитель) и НК-80 (знаменатель), Si,k

i = 1

i = 2

i = 3

i = 4

i = 5

i = 6

i = 7

i = 8

1

2

3

4

5

6

7

8

9

Крайние балки «старой» части имеют жесткость, сниженную на 50 % (К = 9)

1,035

1,034

1,061

1,041

1,064

1,056

1,070

1,067

0,667

0,656

1,057

1,054

1,042

1,032

1,034

1,018

Жесткость крайних балок «старой» части, снижена на 25 % (К = 10)

1,022

1,017

1,031

1,018

1,032

1,025

1,033

1,033

0,833

0,831

1,029

1,027

1,020

1,013

1,017

1,012

Жесткость вторых от края и крайних «старых» балок снижена на 50 % (К = 13)

1,062

1,045

1,088

1,058

1,096

1,074

1,11

1,094

0,691

0,622

0,834

0,824

1,096

1,076

1,084

1,062

Жесткость вторых от края балок «старой» части снижена на 50 % (К = 21)

1,011

1,006

1,020

1,012

1,026

1,019

1,036

1,027

1,043

1,032

0,787

0,784

0,105

1,044

1,048

1,037

Жесткость балок, расположенных на оси моста, снижена на 25 % (К = 12)

1,000

1,000

1,003

1,000

1,003

1,000

1,012

1,007

1,019

1,000

1,029

1,020

1,042

1,044

0,787

0,790

Жесткость балок, расположенных на оси моста, снижена на 50 % (К = 11)

1,000

1,000

1,007

1,000

1,060

1,006

1,046

1,007

1,038

1,006

1,062

1,047

1,088

1,089

0,553

0,555

Совместное ослабление жесткости крайних балок на 50 %, вторых от края - на 25 %, ослабление на 50 % жесткости диафрагмы в середине пролета (К = 20)

1,066

1,050

1,075

1,064

1,087

1,081

1,101

1,101

0,683

0,688

0,834

0,838

1,120

1,133

1,128

1,154

Коэффициенты поперечной установки базового варианта для балки

0,274

0,178

0,294

0,171

0,311

0,161

0,328

0,149

0,372

0,154

0,385

0,148

0,408

0,158

0,414

0,162

Для приближенных расчетов уширенных пролетных строений, «старая» часть которых выполнена из диафрагменных балок по типовому проекту вып. 56 Союздорпроекта, можно использовать подход, приведенный ниже. Коэффициенты поперечной установки в рассчитываемой балке представлены в виде

,                                                                 (6)

где hi - расчетное значение КПУ в i-й балке, работающей в пролетном строении с дефектами в диафрагмах;

 - значение КПУ в базисном варианте (без дефектов в диафрагмах);

 - значение коэффициента отличия для i-й балки, которая работает в составе пролетного строения, имеющего дефекты в диафрагмах.

Если в пролетном строении имеет дефект одна из диафрагм, причем ее жесткость снижена приблизительно в 2 раза, значения  могут быть определены по табл. 2 для пролетных строений, «старая» часть которых состоит из семи балок; по табл. 3 - для пролетных строений, «старая» часть которых состоит из шести балок. В случае, когда дефекты имеются в нескольких диафрагмах, коэффициент отличия для комбинации дефектов может быть получен перемножением коэффициентов отличия, взятых по отдельности для случая, когда уменьшение жесткости рассмотрено в одной диафрагме

,                                                 (7)

где  - коэффициент отличия при суммарном влиянии дефектов;

 - то же, при наличии уменьшения жесткости в одной диафрагме.

Приведенный приближенный подход в случае использования таблиц 2 и 3, как правило, дает решения в запас надежности конструкции, поскольку данные таблиц 2 и 3 построены на основе максимальных коэффициентов отличия, выбранных из сравнения КПУ при различных способах уширения. Его применение возможно как в случае уширения плитными приставными элементами, так и в случае уширения одиночными приставными ребрами с развитыми консолями.

Таблица 2

Максимальные коэффициенты отличия () в пролетных строениях, «старая» часть которых состоит из семи балок (Г-8 + 2 ´ 1,0 м), в зависимости от положения диафрагмы, жесткость которой снижена в 2 раза в сравнении с проектной (уширение по схемам «б» и «в» рис. 3.6)

Характеристика пролетного строения

Ослабления в диафрагмах между балками

Пролетное строение

i, номер балки от края «старой» части

новый габарит

крайней и второй от края «старой» части

второй и третьей от края «старой» части

средней и третьей от края «старой» части

НК-80

А-11

НК-80

А-11

НК-80

А-11

1

2

3

4

5

6

7

8

9

10 м (в свету)

2

без ушир.

1,04

1,04

1,08

1,07

1,05

1,04

2

уширен. до Г-10 + 2 ´ 1

1,04

1,03

1,06

1,05

1,04

1,04

2

уширен. до Г-11,5+2 ´ 1

1,04

1,05

1,09

1,08

1,07

1,05

3

без ушир.

1,05

1,04

1,07

1,06

1,07

1,07

3

уширен. до Г-10 + 2 ´ 1

1,05

1,03

1,07

1,06

1,07

1,07

3

уширен. до Г-11,5 + 2 ´ 1

1,05

1,03

1,07

1,06

1,07

1,07

4

без уширен.

1,06

1,04

1,07

1,06

1,12

1,09

4

уширен. до Г-10 + 2 ´ 1

1,06

1,04

1,07

1,06

1,12

1,09

15 м (в свету)

4

уширен. до Г-11,5 + 2 ´ 1

1,06

1,04

1,07

1,06

1,12

1,09

2

без ушир.

1,04

1,02

1,05

1,07

1,01

1,04

2

уширен. до Г-10 + 2 ´ 1

1,02

1,01

1,04

1,05

1,01

1,04

2

уширен. до Г-11,5 + 2 ´ 1

1,02

1,02

1,04

1,04

1,01

1,02

3

без ушир.

1,01

1,02

1,06

1,06

1,05

1,04

3

уширен. до Г-10 + 2 ´ 1

1,01

1,02

1,06

1,06

1,05

1,04

3

уширен. до Г-11,5 + 2 ´ 1

1,01

1,02

1,06

1,06

1,05

1,04

4

без ушир.

1,03

1,02

1,04

1,04

1,07

1,06

4

уширен. до Г-10 + 2 ´ 1

1,03

1,02

1,04

1,04

1,07

1,06

4

уширен. до Г-11,5 + 2 ´ 1

1,03

1,02

1,04

1,04

1,07

1,06

Таблица 3

Максимальные коэффициенты отличия () в пролетных строениях, «старая» часть которых состоит из семи балок (Г-7 + 2 ´ 0,75 м), в зависимости от положения диафрагмы, жесткость которой снижена в 2 раза в сравнении с проектной (уширение по схемам «в» и «г» рис. 3.6 и «в» рис. 3.11)

Характеристика пролетного строения

Ослабления в диафрагмах между балками

Пролетное строение

i, номер балки от края «старой» части

новый габарит

крайней и второй от края «старой» части

второй и третьей от края «старой» части

средней и третьей от края «старой» части

НК-80

А-11

НК-80

А-11

НК-80

А-11

1

2

3

4

5

6

7

8

9

10 м (в свету)

2

без ушир.

1,05

1,03

1,04

1,06

1,03

1,04

2

уширен. до Г-8 + 2 ´ 1

1,03

1,03

1,04

1,06

1,03

1,04

2

уширен. до Г-10 + 2 ´ 1

1,05

1,04

1,04

1,07

1,02

1,04

2

уширен. до Г-11,5 + 2 ´ 1

1,06

1,05

1,07

1,07

1,03

1,04

3

без ушир.

1,01

1,03

1,04

1,07

1,05

1,06

3

уширен. до Г-8 + 2 ´ 1

1,01

1,03

1,04

1,07

1,05

1,06

3

уширен. до Г-10+2 ´ 1

1,01

1,03

1,04

1,07

1,05

1,06

3

уширен. до Г-11,5+2 ´ 1

1,01

1,03

1,04

1,07

1,05

1,06

15 м (в свету)

2

без ушир.

1,03

1,03

1,05

1,07

1,07

1,08

2

уширен. до Г-8 + 2 ´ 1

1,02

1,03

1,05

1,07

1,07

1,08

2

уширен. до Г-10 + 2 ´ 1

1,02

1,02

1,05

1,06

1,09

1,09

2

уширен. до Г-11,5 + 2 ´ 1

1,04

1,02

1,05

1,06

1,09

1,09

3

без ушир.

1,02

1,01

1,04

1,07

1,14

1,14

3

уширен. до Г-8 + 2 ´ 1

1,02

1,01

1,04

1,06

1,14

1,14

3

уширен. до Г-10 + 2 ´ 1

1,02

1,01

1,04

1,07

1,14

1,14

3

уширен. до Г-11,5 + 2 ´ 1

1,02

1,01

1,04

1,07

1,14

1,14

Приложение 4

Методика ускоренной оценки необходимости уширения свайных опор и фундаментов других видов наиболее распространенных опор (методика УО)

4.1. УО распространяется только на ниже приведенные типы опор.

Промежуточные:

а) свайно-эстакадные (по вып. 70);

б) свайно-стоечные и опоры-стенки (по вып. 143-144) на свайном основании (высокий и низкий свайный ростверк);

в) свайно-стоечные, опоры-стенки и столбчатые - на естественном основании (по вып. 143-144).

Береговые:

а) свайные с вертикальными сваями (по вып. 70);

б) свайные козловые бесфундаментные (по вып. 143-144).

4.2. Указанные в п. 4.1 конструкции рассмотрены при наиболее распространенных основных параметрах:

а) уширение габаритов:

 с Г-7 + 2 ´ 0,75          на      Г-8 + 2 ´ 1,0;

 « Г-7 + 2 ´ 0,75          «        Г-10 + 2 ´ 1,5;

 « Г-7 + 2 ´ 0,75          «        Г-11,5 + 2 ´ 1,5;

 « Г-8 + 2 ´ 0,75          «        Г-10 + 2 ´ 1,5;

б) длины пролетных строений по схемам:

11,36 ´ 3;

14,06 ´ 3;

16,76 ´ 3;

в) высоты опор:

промежуточных - от 3 до 6 м;

береговых - от 2 до 5 м.

г) глубина забивки свай - от 4 до 10 м;

д) сечения существующих свай - 30 ´ 35 см, а добиваемых - 35 ´ 35 и 40 ´ 40 см.

е) грунты:

пески - средние, мелкие и пылеватые;

супеси, суглинки твердые, полутвердые и тугопластичные.

4.3. Грунты условно разделены на:

прочные -

- условное обозначение на графиках

слабые -

4.4. При оценке несущей способности свай по грунту в промежуточных опорах рассмотрены случаи как однородных грунтов по длине свай, так и их сочетаний в двух и трех слоях (всего шесть сочетаний: а) прочный, б) слабый, в) слабый-прочный, г) прочный-слабый, д) прочный-слабый-прочный, е) слабый-прочный-слабый), при этом предполагается, что свая опирается на грунт, лежащий в ее нижней части. К прочным грунтам отнесены глинистые с коэффициентами консистенции 0 < В £ 0,3, а также пески и супеси, кроме пылеватых; к слабым - глинистые грунты с величиной В, лежащей в интервале 0,3 < В £ 0,5, и пылеватые пески и супеси.

4.5. При оценке несущей способности фундаментов на естественном основании рассмотрены раздельно песчаные и глинистые грунты с градацией на прочные, средние и слабые:

к прочным отнесены глинистые грунты, суглинки и супеси с коэффициентом 0 < В £ 0,3, а также крупные и средние пески средней плотности;

к средним - глинистые грунты, суглинки и супеси с коэффициентом 0,3 < В £ 0,4, а также мелкие пески средней плотности;

к слабым - глинистые грунты, суглинки и супеси с коэффициентом 0,4 < В £ 0,5, а также пылеватые пески средней плотности.

4.6. При оценке несущей способности свай по грунту в бережных опорах верхний слой грунта принят во всех случаях прочным, поскольку учитываемая в расчете насыпь у мостов отсыпается из тренирующих грунтов; в расчетах он принят в виде однородного, уплотненного длительной эксплуатацией песка средней крупности, толщиной слоя 4 м с коэффициентом пропорциональности К = 500 т/м4.

Проведенные исследования показали, что изменения высоты насыпи в пределах от 2 до 5 м влияют на величину продольных усилий в сваях ростверка не более 2 %, а изменение коэффициента К в диапазоне 100-600 т/м3 - не более 5 %.

Наряду с однородным прочным грунтом по длине свай рассмотрено еще два сочетания напластований, начиная сверху:

прочный - слабый;

прочный - слабый - прочный.

4.7. Несущую способность оснований определяют при усредненных толщинах каждого слоя и их прочностных свойствах, а также высот опор, что дает погрешность в оценке несущей способности оснований до + 20 %.

4.8. Определение усилий, приходящихся на голову сваи N или напряжений по подошве фундамента, произведено при следующих предпосылках:

а) временные вертикальные нагрузки А-11 + Т при числе полос движения - 2 (по одному в каждом направлении) со смещением по отношению к барьерному ограждению или тротуару в соответствии с СНиП 2.05.03-84;

б) постоянная нагрузка для уширенных мостов принята в соответствии с наиболее рациональной конструкцией симметричного двухстороннего уширения пролетных строений и опор. Рассмотрено уширение пролетных строений до габаритов Г-8 + 2 ´ 1,0 м и Г-10 + 2 ´ 1,5 м ребристыми балками применительно к бездиафрагменным пролетным строениям по вып. инв. № 710/1 (по 1/2 и 1½ с каждой стороны соответственно для габаритов Г-8 и Г-10), уширение до габарита Г-11,5 + 2 ´ 1,5 м предусмотрено плитными пустотными блоками на ширину по 3,5 м с каждой стороны;

в) определение усилий, передающихся на опору от тормозной силы Нx, произведено с учетом работы моста и насыпи как единой системы по методике, разработанной ЦНИИС Минтрансстроя СССР [20]. При этом рассмотрен вариант установки старых и пристраиваемых частей пролетных строений на резиновые опорные части;

г) определение усилий в сваях N или напряжений по подошве фундамента σ произведено по методике, изложенной в [20].

4.9. Расчет береговых опор проведен с учетом исследований последних лет, в результате чего он имеет ряд особенностей. При высоте насыпи до 5 м временная нагрузка, расположенная за пределами переходной плиты, длина которой 6 м, не учитывалась. Постоянная и временная нагрузки, находящиеся на переходной плите, а также масса последней учитывались в запас прочности как опорные реакции на шкафную стенку устоя простой балки расчетным пролетом 5 м.

С учетом длительности эксплуатации дороги и упрочнения грунта за счет этого фактора в качестве расчетной схемы устоев принят низкий свайный ростверк, к плите которого приложены все внешние воздействия (включая давление грунта на шкафную стенку), а уровень расчетной поверхности грунта принят совпадающим с уровнем горизонтальной плоскости нижней поверхности плиты ростверка, от которого и отсчитывается глубина заделки свай. При этом плита ростверка не включается в работу на горизонтальные и вертикальные воздействия.

4.10. Несущая способность по грунту оснований в уширяемом мосту при отсутствии необходимости уширения фундаментов или добивки дополнительных свай при уширении бесфундаментных опор вычислена с учетом увеличения несущей способности грунтов за счет их уплотнения по методике КАДИ [2]. При необходимости уширения свайных опор путем добивки новых свай уплотнение грунтов во времени не учитывалось.

4.11. Уширение опор рассмотрено в двух вариантах:

а) бесфундаментные без забивки и с забивкой дополнительных свай;

б) на фундаментах - уширение только надфундаментной части.

4.12. Методика УО построена на сопоставлении усилий N, возникающих после уширения моста в наиболее нагруженных сваях, или максимальных напряжений σ, возникающих по подошве фундаментов на естественном основании, с несущей способностью свай Р или расчетным сопротивлением грунтов R МПа.

4.13. УО производят по графикам, построенным для различных типов опор при опирании на них пролетов длиной 11,36, 14,06 и 16,76 м для определенных условных схем грунтовых оснований, классифицированных по прочности.

4.14. Для возможности работы c графиками необходимо отнести реальные грунтовые условия рассматриваемой опоры к одному из наиболее приближенных к рассматриваемым в графиках сочетаний. При этом в случае двухслойного грунтового основания при толщине одного из слоев < 0,2 м от глубины забивки свай следует его рассматривать как однослойное с параметрами, соответствующими большему слою; в случае трехслойного основания при толщине одного из слоев < 0,1 м от глубины забивки свай следует рассматривать его как двухслойное. В этом случае, а также при числе слоев грунта более трех следует объединить слои, близкие по физико-механическим характеристикам. Характеристику объединяемых слоев (слабый или прочный) следует определять по их средневзвешенным характеристикам за исключением случаев подстилающих грунтов, для которых характеристика принимается по тому слою, в котором расположено острие сваи.

4.15. В связи с тем, что УО является приближенной и погрешность D может доходить до + 20 % (см. п. 4.7 настоящего приложения), то при N = P2 (1 ± ) или при σ = R2 (1 + ) следует производить уточняющий расчет. Величина D дается для каждого рассмотренного вида опор.

Промежуточные опоры

А. Свайные

А.1. Рассмотрены опоры эстакадных мостов, схемы которых представлены на рис. А.1.

Геометрические характеристики существующих опор под габариты Г-7 + 2 ´ 0,75 м и Г-8 + 2 ´ 0,75 м приведены на рис. А.2.

А.2. На рис. А.3 приведены возможные варианты уширения опор без добивки (а) и с добивкой (б) дополнительных свай.

А.3. Графики, приведенные на рисунках А.4, А.5 и А.6 соответственно для сопрягающихся пролетов по 11,36; 14,06 и 16,76 м, позволяют не только установить наличие или отсутствие необходимости уширения свайных опор, но и определить необходимую глубину погружения «Н» вновь забиваемых свай в случае такой необходимости.

А.4. На указанных графиках приведены линии Ni - максимальных расчетных усилий, приходящихся на голову свай (с учетом их веса) при уширении мостов со старого габарита на новый, и линии Pt и Р для различного сочетания грунтов, в которые погружена свая.

Нечетные значения индексам i при N приданы для случаев, когда опора уширяется без добивки свай (схемы «а» на рис. А.3), а четные - при забивке дополнительных свай (схемы «б» на рис. А.3). Pt - расчетная несущая способность существующих свай сечением 30 ´ 35 см и с учетом уплотнения грунта за счет длительной эксплуатации (при условии, если не добиваются новые сваи); P - расчетная несущая способность свай сечением 35 ´ 35 и 40 ´ 40 см без учета уплотнения грунта (принимается для вновь забиваемых свай).

А.5. Абсцисса - точка пересечения линий Ni (при i - нечетных) и Pt - показывает минимально необходимую глубину погружения в грунте старой сваи - h, при которой не требуется забивки дополнительных свай. Если фактическая глубина hф погружения существующих свай в конкретно рассматриваемом случае окажется hф < h, то требуется добивка свай. В этом случае по абсциссам точек пересечения линии Ni (при i - четных) и линий Р определяют ту глубину H, на которую необходимо забить новые сваи сечением 35 ´ 35 см или 40 ´ 40 см, чтобы их несущая способность по грунту Р была бы более Ni, однако эта глубина Н должна быть не менее требуемой в соответствии с п. 4.2.3 Рекомендаций.

Рис. А-1

Рис. А-2

Рис. А-3 (начало)

Рис. А-3 (окончание)


Рис. А.4.

N1 - Г7 + 2´0,75      Г8 + 2´1,0      nсв = 5;                       N2 --- Г7 + 2´0,75 ® Г8 + 2´1,0         nсв = 7;

N4 -×- Г7 + 2´0,75 ® Г10 + 2´1,5;                                    N6 - Г7 + 2´0,75 ® Г11,5 + 2´1,5;

N8 -D- Г8 + 2´0,75 ® Г10 + 2´1,5;                                  N3 -××- Г7 + 2´0,75 Г10 + 2´1,5;

N5 -×××- Г8 + 2´0,75 ® Г10 + 2´1,5

Рис. А.5

N1 - Г7 + 2´0,75        Г8 + 2´1,0              nсв = 5;             N3 -××- Г7 + 2´0,75          Г10 + 2´1,5          nсв = 5

N2 --- Г7 + 2´0,75      Г8 + 2´1,0              nсв = 7;             N5 -×××- Г8 + 2´0,75         Г10 + 2´1,5          nсв = 6

N4 -×- Г7 + 2´0,75      Г10 + 2´1,5

N6 -к- Г7 + 2´0,75     Г11,5 + 2´1,5

N8 -D- Г8 + 2´0,75     Г10 + 2´1,5

Рис. А.6.

N1 - Г7 + 2´0,75           Г8 + 2´1,0          nсв = 5;           N3 -××- Г7 + 2´0,75      Г10 + 2´1,5      nсв = 5        nсв = 5

N2 --- Г7 + 2´0,75        Г8 + 2´1,0          nсв = 7;           N5 -×××- Г8 + 2´0,75     Г10 + 2´1,5      nсв = 5        nсв = 6

N4 -×- Г7 + 2´0,75         Г10 + 2´1,5

N6 -к- Г7 + 2´0,75       Г11,5 + 2´1,5

N8 -D- Г8 + 2´0,75       Г10 + 2´1,5


Б. Опоры на фундаментах в виде высокого свайного ростверка

Б.1. Рассмотрены конструкции фундаментов свайно-сточных опор и под опоры - стенки (рис. Б.1), уширение которых осуществляется за счет развития надфундаментной части монолитным бетоном. Длина участка свай, расположенного выше расчетной поверхности грунта, принята равной 2 м.

Б.2. На рисунках Б.2-Б.4 приведены графики для опор-стенок, а на рисунках Б.5-Б.7 - для свайно-стоечных опор с облицовкой, в каждом случае для описания на них пролетных строений длиной Ln = 11,36 м; 14,06 и 16,76 м. На графиках даны усилия N, приходящиеся на головы свай при наиневыгоднейшем загружении как вдоль, так и поперек моста.

Б.3. Абсциссы точек пересечения линий Pt (расчетной несущей способности существующих свай сечением 30 ´ 35 см с учетом уплотнения грунта за счет длительной эксплуатации) и N показывают минимально необходимую глубину забивки существующих свай h.

Б.4. Необходимость уширения фундамента решается путем сопоставления величины Pt и N, соответствующих фактической глубине забивки свай h существующего моста, с учетом запаса по величине Pt D = 20 %.

Б.5. Графиками на рисунках Б.5-Б.7 можно воспользоваться для оценки необходимости уширения свайно-стоечных опор без облицовки. В этом случае запас величины Pt - по сравнению с N должен быть не менее D 10 %.

Рис. Б.1

Рис. Б.2. Опора-стенка. Пролетное строение l = 11,36 м

                 Вдоль моста                                        Поперек моста

- Г7 + 2´0,75      ® Г8 + 2´1,0;          -×- Г7 + 2´0,75     ® Г8 + 2´1,0

--- Г7 + 2´0,75   ® Г10 + 2´1,5;        -××- Г7 + 2´0,75    ® Г10 + 2´1,5

-×- Г7 + 2´0,75   ® Г11,5 + 2´1,5;    -D- Г7 + 2´0,75   ® Г11,5 + 2´1,5

-к- Г8 + 2´1,0    ® Г10 + 2´1,5;        -- Г8 + 2´1,0      ® Г10 + 2´1,5

Рис. Б.3. Опора-стенка. Пролетное строение L = 14,06

                 Вдоль моста                                            Поперек моста

- Г7 + 2´0,75      ® Г8 + 2´1,0;          -××- Г7 + 2´0,75    ® Г8 + 2´1,0

-- Г7 + 2´0,75    ® Г10 + 2´1,5;        -×××- Г7 + 2´0,75    ® Г10 + 2´1,5

-×- Г7 + 2´0,75   ® Г11,5 + 2´1,5;    -D- Г7 + 2´0,75   ® Г11,5 + 2´1,5

-x- Г8 + 2´1,0    ® Г10 + 2´1,5;        -- Г8 + 2´1,0      ® Г10 + 2´1,5

Рис. Б.4. Опора-стенка. Пролетное строение l =16,76 м

               Вдоль моста                                            Поперек моста

- Г7 + 2´0,75      ® Г8 + 2´1,0;          -××- Г7 + 2´0,75    ® Г8 + 2´1,0

-- Г7 + 2´0,75    ® Г10 + 2´1,5;        -×××- Г7 + 2´0,75    ® Г10 + 2´1,5

-×- Г7 + 2´0,75   ® Г11,5 + 2´1,5;    -D- Г7 + 2´0,75   ® Г11,5 + 2´1,5

-x- Г8 + 2´1,0    ® Г10 + 2´1,5;        -- Г8 + 2´1,0      ® Г10 + 2´1,5

Рис. Б.5. Стоечная опора. Пролетное строение L = 11,36 м

                   Вдоль моста                                                  Поперек моста

- Г7 + 2´0,75        ® Г8 + 2´1,0;            -××- Г7 + 2´0,75               ® Г8 + 2´1,0

--- Г7 + 2´0,75     ® Г10 + 2´1,5;          -×××- Г7 + 2´0,75              ® Г10 + 2´1,5

-×- Г7 + 2´0,75     ® Г11,5 + 2´1,5;       -D- Г7 + 2´0,75´1,0      ® Г11,5 + 2´1,5

-x- Г8 + 2´1,0      ® Г10 + 2´1,5;          -- Г8 + 2´1,0                ® Г10 + 2´1,5

Рис. Б.6. Стоечная опора. Пролетное строение L = 14,06

                   Вдоль моста                                                Поперек моста

- Г7 + 2´0,75          ® Г8 + 2´1,0;              -××- Г7 + 2´0,75           ® Г8 + 2´1,0

--- Г7 + 2´0,75       ® Г10 + 2´1,5;            -×××- Г7 + 2´0,75          ® Г10 + 2´1,5

-×- Г7 + 2´0,75       ® Г11,5 + 2´1,5;         -D- Г7 + 2´0,75          ® Г11,5 + 2´1,5

-x- Г8 + 2´1,0        ® Г10 + 2´1,5;            -- Г8 + 2´1,0            ® Г10 + 2´1,5

Рис. Б.7. Стоечная опора. Пролетное строение L = 16,76 м

                 Вдоль моста                                            Поперек моста

- Г7 + 2´0,75      ® Г8 + 2´1,0;          -××- Г7 + 2´0,75       ® Г8 + 2´1,0

--- Г7 + 2´0,75   ® Г10 + 2´1,5;        -×××- Г7 + 2´0,75      ® Г10 + 2´1,5

-×- Г7 + 2´0,75   ® Г11,5 + 2´1,5;    -D- Г7 + 2´0,75      ® Г11,5 + 2´1,5

-x- Г8 + 2´1,0    ® Г10 + 2 ´ 1,5;      -- Г8 + 2´1,0        ® Г10 + 2´1,5

В. Опоры на фундаментах в виде низкого свайного ростверка без включения плиты в работу фундамента

В.1. Рассмотрены фундаменты под опоры-стенки и стоечные опоры, размеры которых приведены на рис. В.1.

В.2. Расчет фундаментов произведен при коэффициенте пропорциональности грунтов, соответствующем верхнему слою.

В.3. На рисунках В.2-В.4 даны графики для опор-стенок, а на рисунках В.5-В.7 - для стоечных опор с облицовкой. В каждом случае они даны для сопрягающихся пролетов Ln =11,36 м; Ln = 14,06 м и Ln =16,76 м при наиневыгоднейшем загружении как вдоль, так и поперек моста.

В.4. Необходимость уширения фундамента решается путем сопоставления величины Pt и N, соответствующих фактической глубине забивки свай h существующего моста с учетом запаса по величине P2 D = 20 %.

В.5. Графиками В.5-В.7 можно воспользоваться для оценки необходимости уширения стоечных опор без облицовки. В этом случае запас величин Pt по сравнению с N должен быть не менее D = 10 %.

Рис. В.1

а - свайно-стоечные опоры

б - опоры-стенки

Рис. В.2. Опора-стенка L = 11,36 м

                 Вдоль моста                                              Поперек моста

- Г7 + 2´0,75        ® Г8 + 2´1,0;            -××- Г7 + 2´0,75      ® Г8 + 2´1,0

-- Г7 + 2´0,75      ® Г10 + 2´1,5;          -×××- Г7 + 2´0,75      ® Г10 + 2´1,5

-×- Г7 + 2´0,75     ® Г11,5 + 2´1,5;       -D- Г7 + 2´0,75     ® Г11,5 + 2´1,5

-x- Г8 + 2´1,0      ® Г10 + 2´1,5;          -- Г8 + 2´1,0        ® Г10 + 2´1,5

Рис. В.3. Опора-стенка L = 14,06 м

                   Вдоль моста                                          Поперек моста

- Г7 + 2´0,75        ® Г8 + 2´1,0;          -××- Г7 + 2´0,75      ® Г8 + 2´1,0

-- Г7 + 2´0,75      ® Г10 + 2´1,5;        -×××- Г7 + 2´0,75      ® Г10 + 2´1,5

-×- Г7 + 2´0,75     ® Г11,5 + 2´1,5;     -D- Г7 + 2´0,75     ® Г11,5 + 2´1,5

-x- Г8 + 2´1,0      ® Г10 + 2´1,5;        -- Г8 + 2´1,0        ® Г10 + 2´1,5

Рис. В.4. Опора-стенка L =16,76 м

             Вдоль моста                                                       Поперек моста

- Г7 + 2´0,75          ® Г8 + 2´1,0;          -××- Г7 + 2´0,75         ® Г8 + 2´1,0

-- Г7 + 2´0,75        ® Г10 + 2´1,5;        -×××- Г7 + 2´0,75        ® Г10 + 2´1,5

-×- Г7 + 2´0,75       ® Г11,5 + 2´1,5;     -D- Г7 + 2´0,75        ® Г11,5 + 2´1,5

-x- Г8 + 2´1,0        ® Г10 + 2´1,5;        -- Г8 + 2´1,0          ® Г10 + 2´1,5

Рис. В.5. Стоечная опора с облицовкой L = 11,36 м

       Вдоль моста                                          Поперек моста

- Г7 + 2´0,75        ® Г8 + 2´1,0;            -××- Г7 + 2´0,75         ® Г8 + 2´1,0

-- Г7 + 2´0,75      ® Г10 + 2´1,5;          -×××- Г7 + 2´0,75        ® Г10 + 2´1,5

-×- Г7 + 2´0,75     ® Г11,5 + 2´1,5;       -D- Г7 + 2´0,75        ® Г11,5 + 2´1,5

-x- Г8 + 2´1,0      ® Г10 + 2´1,5;          -- Г8 + 2´1,0          ® Г10 + 2´1,5

Рис. В.6. Стоечная опора с облицовкой L = 14,06 м

       Вдоль моста                                          Поперек моста

- Г7 + 2´0,75          ® Г8 + 2´1,0;          -××- Г7 + 2´0,75         ® Г8 + 2´1,0

-- Г7 + 2´0,75        ® Г10 + 2´1,5;        -×××- Г7 + 2´0,75        ® Г10 + 2´1,5

-×- Г7 + 2´0,75       ® Г11,5 + 2´1,5;     -D- Г7 + 2´0,75        ® Г11,5 + 2´1,5

-x- Г8 + 2´1,0        ® Г10 + 2´1,5;        -- Г8 + 2´1,0          ® Г10 + 2´1,5

Рис. В.7 Стоечная опора с облицовкой L = 16,76 м

       Вдоль моста                                          Поперек моста

- Г7 + 2´0,75        ® Г8 + 2´1,0;          -××- Г7 + 2´0,75      ® Г8 + 2´1,0

-- Г7 + 2´0,75      ® Г10 + 2´1,5;        -×××- Г7 + 2´0,75      ® Г10 + 2´1,5

-×- Г7 + 2´0,75     ® Г11,5 + 2´1,5;     -D- Г7 + 2´0,75     ® Г11,5 + 2´1,5

-x- Г8 + 2´1,0      ® Г10 + 2´1,5;        -- Г8 + 2´1,0        ® Г10 + 2´1,5

Г. Опоры на фундаментах в виде низкого свайного ростверка с включением плиты в работу фундамента

Г.1. Рассмотрены те же фундаменты и под те же опоры, что и в разделе «В» (см. рис. В.1).

Г.2. При расчете фундаментов использовались следующие коэффициенты, характеризующие параметры грунтовой среды: К - коэффициент пропорциональности принимали для каждого вида грунта в соответствии с указаниями [8, 20]; С - коэффициент постели грунта под подошвой плиты ростверка принимали равным 3 К.

Г.3. На рисунках Г.1-Г.3 приведены графики для опор-стенок; на рисунках Г.4-Г-6 - для стоечных опор с облицовкой, где величины максимальных усилий, приходящихся на головы свай N даны как для продольного, так и поперечного действия временных нагрузок. В каждом случае графики даны для сопрягающихся пролетов, Ln = 11,36 м; Ln = 14,06 м и Ln = 16,76 м.

Г.4. Необходимость уширения фундаментов под опоры, указанные в п. Г.3, а также под стоечные опоры без облицовки устанавливается по аналогии с п. В.4 и В.5.

Рис. Г.1. Опора-стенка L = 11,36 м

       Вдоль моста                                          Поперек моста

- Г7 + 2´0,75        ® Г8 + 2´1,0;        -××- Г7 + 2´0,75    ® Г8 + 2´1,0

-- Г7 + 2´0,75      ® Г10 + 2´1,5;      -×××- Г7 + 2´0,75    ® Г10 + 2´1,5

-×- Г7 + 2´0,75     ® Г11,5 + 2´1,5;  -D- Г7 + 2´0,75   ® Г11,5 + 2´1,5

-x- Г8 + 2´1,0      ® Г10 + 2´1,5;      -- Г8 + 2´1,0      ® Г10 + 2´1,5

Рис. Г.2. Опора-стенка L=14,06 м

       Вдоль моста                                          Поперек моста

- Г7 + 2´0,75        ® Г8 + 2´1,0;            -××- Г7 + 2´0,75      Г8 + 2´1,0

-- Г7 + 2´0,75      ® Г10 + 2´1,5;          -×××- Г7 + 2´0,75      Г10 + 2´1,5

-×- Г7 + 2´0,75     ® Г11,5 + 2´1,5;       -D- Г7 + 2´0,75     Г11,5 + 2´1,5

-x- Г8 + 2´1,0      ® Г10 + 2´1,5;          -- Г8 + 2´1,0        Г10 + 2´1,5

Рис. Г.3. Опора-стенка L =16,76 м

       Вдоль моста                                          Поперек моста

- Г7 + 2´0,75          ® Г8 + 2´1,0;          -××- Г7 + 2´0,75         ® Г8 + 2´1,0

-- Г7 + 2´0,75        ® Г10 + 2´1,5;        -×××- Г7 + 2´0,75        ® Г10  +2´1,5

-×- Г7 + 2´0,75       ® Г11,5 + 2´1,5;     -D- Г7 + 2´0,75        ® Г11,5 + 2´1,5

-x- Г8 + 2´1,0        ® Г10 + 2´1,5;        -- Г8 + 2´1,0          ® Г10 + 2´1,5

Рис. Г.4. Стоечная опора с облицовкой L =11,36 м

       Вдоль моста                                          Поперек моста

- Г7 + 2´0,75        ® Г8 + 2´1,0;          -××- Г7 + 2´0,75    ® Г8 + 2´1,0

-- Г7 + 2´0,75      ® Г10 +2´1,5;         -×××- Г7 + 2´0,75    ® Г10 + 2´1,5

-×- Г7 + 2´0,75     ® Г11,5 + 2´1,5;     -D- Г7 + 2´0,75   ® Г11,5 + 2´1,5

-x- Г8 + 2´1,0      ® Г10 + 2´1,5;        -- Г8 + 2´1,0      ® Г10 + 2´1,5

Рис. Г.5. Стоечная опора с облицовкой L = 14,06 м

       Вдоль моста                                          Поперек моста

- Г7 + 2´0,75      ® Г8 + 2´1,0;          -××- Г7 + 2´0,75       ® Г8 + 2´1,0

-- Г7 + 2´0,75    ® Г10 + 2´1,5;        -×××- Г7 + 2´0,75      ® Г10 + 2´1,5

-×- Г7 + 2´0,75   ® Г11,5 + 2´1,5;    -D- Г7 + 2´0,75      ® Г11,5 + 2´1,5

-x- Г8 + 2´1,0    ® Г10 + 2´1,5;        -- Г8 + 2´1,0        ® Г10 + 2´1,5

Рис. Г.6. Стоечная опора с облицовкой L = 16,76 м

       Вдоль моста                                          Поперек моста

- Г7 + 2´0,75      ® Г8 + 2´1,0;            -××- Г7 + 2´0,75      ® Г8 + 2´1,0

-- Г7 + 2´0,75    ® Г10 + 2´1,5;          -×××- Г7 + 2´0,75      ® Г10 + 2´1,5

-×- Г7 + 2´0,75   ® Г11,5 + 2´1,5;       -D- Г7 + 2´0,75     ® Г11,5 + 2´1,5

-x- Г8 + 2´1,0    ® Г10 + 2´1,5;          -- Г8 + 2´1,0        ® Г10 + 2´1,5

Д. Опоры на фундаментах мелкого заложения

Д.1. Рассмотрены фундаменты под опоры-стенки, стоечные и двухстолбчатые опоры, размеры которых приведены на рис. Д.1.

Д.2. Расчет фундаментов произведен при относительной величине заглубления подошвы фундамента h/b = 1 - 2.

Д.3. На рисунках Д.2-Д.4 приведены графики для опор-стенок; на рисунках Д.3-Д.7 - для стоечных опор с облицовкой; на рисунках Д.8-Д.10 - для одностолбчатых опор; в каждом случае они даны для сопрягающихся пролетов Ln = 11,36 м; Ln = 14,06 м и Ln = 16,76 м при наивыгоднейшем загружении как вдоль, так и поперек моста.

Д.4. На графиках приведены линии расчетного сопротивления Rτ (сплошные линии) и 1,2 Rτ - (пунктирные линии) различных грунтов, лежащих в основании фундамента, с учетом их упрочнения во времени, а также линии максимальных краевых напряжений σ в зависимости от относительной величины заглубления подошвы фундамента h/b.

В соответствии с соотношением напряжений, возникающих по подошве фундамента от изгибающего момента и от нормальных сил, величины σ, вычисленные при расчете вдоль, должны сопоставляться с Rτ, а вычисленные при расчете поперек моста - с величинами 1,2 Rτ, при этом для опор, указанных в п. Д.3, запас должен приниматься из учета D = 12 %.

Д.5. Графиками Д.5-Д.10 можно воспользоваться для стоечных опор без облицовки и двухстолбчатых опор, для которых кривые напряжения на 10-12 % меньше, чем для опор с облицовкой и одностолбчатых, в связи с чем величины σ для них на указанных графиках являются соответственно завышенными, что позволяет непосредственно сопоставлять σ и Rτ (1,2 Rτ) без введения запаса.

Рис. Д.1. Опоры на фундаментах мелкого заложения


 

Рис. Д.2. Пролетные строения L =11,36 м. Опора-стенка

Вдоль моста             Поперек моста

       -××-                                     -                          Г7 + 2´0,75     ® Г8 + 2´1,0

       -×××-                                     ---                       Г7 + 2´0,75     ® Г10 + 2´1,5

       -Ñ-                                    -×-                       Г7 + 2´0,75     ® Г11,5 +2´1,5

       --                                    -o-                      Г8 + 2´0,75     ® Г10 + 2´1,5

Рис. Д.3. Пролетные строения L = 14,06 м. Опора-стенка

Вдоль моста             Поперек моста

       -××-                                     ¾                       Г7 + 2´0,75     ® Г8 + 2´1,0

       -×××-                                     ---                       Г7 + 2´0,75     ® Г10 + 2´1,5

       -Ñ-                                    -×-                       Г7 + 2´0,75     ® Г11,5 + 2´1,5

       --                                    -o-                      Г8 + 2´0,75     ® Г10 + 2´1,5

Рис. Д.4. Пролетный строения L =16,76 м. Опора-стенка

Вдоль моста             Поперек моста

       -××-                                     ¾                       Г7 + 2´0,75     ® Г8 + 2´1,0

       -×××-                                     ---                       Г7 + 2´0,75     ® Г10 + 2´1,5

       -Ñ-                                    -×-                       Г7 + 2´0,75     ® Г11,5 + 2´1,5

       --                                    -o-                      Г8 + 2´0,75     ® Г10 + 2´1,5

Рис. Д.5. Пролетные строения L = 11,36 м. Стоечные опоры

Вдоль моста             Поперек моста

       -××-                                     ¾                       Г7 + 2´0,75     ® Г8 + 2´1,0

       -×××-                                     ---                       Г7 + 2´0,75     ® Г10 + 2´1,5

       -Ñ-                                    -×-                       Г7 + 2´0,75     ® Г11,5 + 2´1,5

       --                                    -o-                      Г8 + 2´0,75     ® Г10 +2´1,5

Рис. Д.6. Пролетные строения l = 14,06 м. Стоечные опоры

а, б, в - песчаный грунт; г, д, е - глинистый грунт; 1 - прочный; 2 - средний; 3 - слабый                                                                             

Вдоль моста             Поперек моста

       -××-                                     ¾                       Г7 + 2´0,75     ® Г8 + 2´1,0

       -×××-                                     ---                       Г7 + 2´0,75     ® Г10 + 2´1,5

       -Ñ-                                    -×-                       Г7 + 2´0,75     ® Г11,5 + 2´1,5

       --                                    -o-                      Г8 + 2´0,75     ® Г10 + 2´1,5

Рис. Д.7. Пролетные строения L =16,76 м. Стоечные опоры

а, б, в - песчаный грунт; г, д, е - глинистый грунт; 1 - прочный; 2 - средний; 3 - слабый

Вдоль моста             Поперек моста

       -××-                                     ¾                       Г7 + 2´0,75     ® Г8 + 2´1,0

       -×××-                                     ---                       Г7 + 2´0,75     ® Г10 + 2´1,5

       -Ñ-                                    -×-                       Г7 + 2´0,75     ® Г11,5 + 2´1,5

       --                                    -o-                      Г8 + 2´0,75     ® Г10 + 2´1,5

Рис. Д.8. Пролетные строения L = 11,36 м. Столбчатые опоры

а, б, в - песчаный грунт; г, д, е - глинистый грунт; 1 - прочный; 2 - средний; 3 - слабый

Вдоль моста             Поперек моста

       -××-                                     ¾                       Г7 + 2´0,75     ® Г8 + 2´1,0

       -×××-                                     ---                       Г7 + 2´0,75     ® Г10 + 2´1,5

       -Ñ-                                    -×-                       Г7 + 2´0,75     ® Г11,5 + 2´1,5

       --                                    -o-                      Г8 + 2´0,75     ® Г10 + 2´1,5

Рис. Д.9. Прилетные строения L =14,06 м. Столбчатые опоры

а, б, в - песчаный грунт; г, д, е - глинистый грунт; 1 - прочный; 2 - средний; 3 - слабый

Вдоль моста             Поперек моста

       -××-                                     ¾                       Г7 + 2´0,75     ® Г8 + 2´1,0

       -×××-                                     ---                       Г7 + 2´0,75     ® Г10 + 2´1,5

       -Ñ-                                    -×-                       Г7 + 2´0,75     ® Г11,5 + 2´1,5

       --                                    -o-                      Г8 + 2´0,75

Рис. Д.10. Пролетные строения L =16,76 м. Столбчатые опоры

 а, б, в - песчаный грунт; г, д, е - глинистый грунт; 1 - прочный; 2 - средний; 3 - слабый

Вдоль моста             Поперек моста

       -××-                                     ¾                       Г7 + 2´0,75     ® Г8 + 2´1,0

       -×××-                                     ---                       Г7 + 2´0,75     ® Г10 + 2´1,5

       -Ñ-                                    -×-                       Г7 + 2´0,75     ® Г11,5 + 2´1,5

       --                                    -o-                      Г8 + 2´0,75     ® Г10 + 2´1,5


Е. Береговые опоры

Е.1. Рассмотрены существующие свайные двухрядные опоры и козловые, конструкции которых представлены на рисунках Е.1 и Е.2. На рисунках Е.3 и Е.4 приведены схемы этих же опор без забивки (рис. а) и с добивкой (рис. б-д) дополнительных свай.

Е.2. Графики, приведенные на рисунках Е.5-Е.7 и Е.8-Е.10 соответственно для свайных и козловых опор с пролетами длиной L по 11,36 м, 14,06 и 16,76 м, позволяют не только установить необходимость уширения свайных опор, но и определить глубину погружения Н новых свай.

Е.3. Условие забивки дополнительных свай определяется сопоставлением величины несущей способности свай с учетом упрочнения грунта за период эксплуатации Rτ и N максимального усилия в свае при соответствующем переходе со старого габарита на новый при фактической глубине забивки существующих свай h. Если при этом значение N находится в интервале (0,9-1,1) Rτ, то следует произвести уточняющий расчет. Если N > 1,1 Rτ, то забивки дополнительных свай не требуется, а если N < 0,9 Rτ, то требуется забивка дополнительных свай в соответствии с рис. Е.3 и Е.4 графиками б-д. Длина погружения этих свай определяется по абсциссе точки пересечения линии несущей способности свай без учета упрочнения грунта Р с линией N, соответствующей переходу старого габарита на новый. При этом найденная величина Н должна быть не менее требуемой в соответствии с п. 4.2.3 Рекомендаций.

Рис. Е.1. Свайные устои. Вып. 70

Рис. Е.2. Козловые свайные устои. Вып. 143-144

Рис. Е.3. Свайные устои. Вып. 70

а, б   - Г7 + 2´0,75    ® Г8 + 2´1,0

в       - Г7 + 2´0,75    ® Г10 + 2´1,0

г       - Г7 + 2´0,75    ® Г11,5 + 2´1,5

д      - Г8 + 2´0,75    ® Г10 + 2´1,5

Рис. Е.4. Свайные устои козлового типа. Вып. 143-144

а, б - Г7 + 2´0,75     ® Г8 + 2´1,0

в     -    Г7 + 2´0,75   ® Г10 + 2´1,0

г     -    Г7 + 2´0,75   ® Г11,5 + 2´1,5

д    -    Г8 + 2´0,75   ® Г10 + 2´1,5

Рис. Е.5. Свайный устой. Вып. 70. L =11,36 м

¾  Г7 + 2´0,75    ® Г8 + 2´1,0   nсв = 5

--    Г7 + 2´0,75    ® Г8 + 2´1,0   nсв = 7

-×-   Г7 + 2´0,75    ® Г10 + 2´1,5

-x-  Г7 + 2´0,75    ® Г11,5 + 2´1,5

-D- Г8 + 2´0,75    ® Г10 + 2´1,5

Рис. Е.6. Свайный устой. Вып. 70 L =14,06 м

¾  Г7 + 2´0,75    ® Г8 + 2´1,0   nсв = 5

--    Г7 + 2´0,75    ® Г8 + 2´1,0   nсв = 7

-×-   Г7 + 2´0,75    ® Г10 + 2´1,5

-x-  Г7 + 2´0,75    ® Г11,5 + 2´1,5

-D- Г8 + 2´0,75    ® Г10 + 2´1,5

Рис. Е.7. Свайный устой. Вып. 70 L = 16,76 м

¾  Г7 + 2´0,75    ® Г8 + 2´1,0   nсв = 5

--    Г7 + 2´0,75    ® Г8 + 2´1,0   nсв = 7

-×-   Г7 + 2´0,75    ® Г10 + 2´1,5

-x-  Г7 + 2´0,75    ® Г11,5 + 2´1,5

-D- Г8 + 2´0,75    ® Г10 + 2´1,5

Рис. Е.8. Козловый устой. Вып. 143-144 L =11,36 м

¾  Г7 + 2´0,75    ® Г8 + 2´1,0   nсв = 5

--    Г7 + 2´0,75    ® Г8 + 2´1,0   nсв = 7

-×-   Г7 + 2´0,75    ® Г10 + 2´1,5

-x-  Г7 + 2´0,75    ® Г11,5 + 2´1,5

-D- Г8 + 2´0,75    ® Г10 + 2´1,5

Рис. Е.9. Козловый устой. Вып. 143-144 L = 14,06 м

¾  Г7 + 2´0,75    ® Г8 + 2´1,0   nсв = 5

--    Г7 + 2´0,75    ® Г8 + 2´1,0   nсв = 7

-×-   Г7 + 2´0,75    ® Г10 + 2´1,5

-x-  Г7 + 2´0,75    ® Г11,5 + 2´1,5

-D- Г8 + 2´0,75    ® Г10 + 2´1,5

Рис. Е.10. Козловый устой. Вып. 143-144 L =16,76 м

¾  Г7 + 2´0,75    ® Г8 + 2´1,0   nсв = 5

--    Г7 + 2´0,75    ® Г8 + 2´1,0   nсв = 7

-×-   Г7 + 2´0,75    ® Г10 + 2´1,5

-x-  Г7 + 2´0,75    ® Г11,5 + 2´1,5

-D- Г8 + 2´0,75    ® Г10 + 2´1,5

Приложение 5

Степень разгрузки балок диафрагменных пролетных строений (по показателю коэффициента поперечной установки)

Схема уширения

Снижение КПУ для балок старого пролетного строения, % x)

№ 1

№ 3

№ 5

Рис. 3.1   а

10

0

5

                 б

5

0

5

Рис. 3.2   б

15

5

10

                 в

50

30

40

                 г

15

15

20

                 д

10

15

35

                 е

15

15

40

Рис. 3.6   а

15

5

10

                 б

20

15

20

                 в

50

30

40

                 г

50

30

40

                 д

0

5

15

                 е

20

15

20

                 ж

15

15

35

                 з

-

20

15

Рис. 3.11 а

15

5

10

                 б

20

15

15

                 в

50

25

35

                 г

20

20

20

                 д

50

30

40

                 е

-

25

40

х) Нумерация балок ²старой² части пролетного строения принята от единицы, начиная с крайней левой балки (схемы на рис. 3.1; 3.2; 3.6; 3.11). Изменение КПУ дано с учетом увеличения несущей способности балок и диафрагм.

Приложение 6

Специальные металлоконструкции, используемые при уширении пролетных строений

1. Накладные детали в плитах для объединения с ребром балки:

1 - ребристая балка; 2 - закладная деталь по верху плиты; 3 - приставляемая плита; 4 - закладная деталь по низу плиты; 5 - опалубочный щит; 6 - натяжной болт; 7 - гайка и шайба болта

2. Положение люльки для свержения и работы под пролетом:

1 - существующая балка; 2 - приставляемая плита; 3 - направляющие люльки; 4 - рама люльки; 5 - пригруз; 6 - подвеска; 7 - днище; 8 - перила; 9 - направление сверления

3. Стальные детали для объединения ребристых балок:

1 - существующая балка; 2 - новая приставляемая балка; 3 - приваренная к арматуре пластина; 4 - соединительная накладка; 5 - закладная деталь

4. Скоба-захват для объединения балок:

1 - существующая балка; 2 - новая приставляемая балка; 3 - поперечные скобы; 4 - упор скобы

Минимальное количество скоб на 1 балку длиной

l = 8,66   - 4 шт.

l = 11,36 - 4 шт.

l = 14,06 - 5 шт.

l = 16,76 - 7 шт.

Приложение 7

Перечень механизмов, которые могут быть применены для производства работ по уширению мостов

1. Оборудование для гидравлической очистки поверхности балок от слабого защитного слоя и загрязнений (для лучшего сцепления с монолитным бетоном).

Поливомоечные машины

Параметры

Машины

ПМ-130

Т-30

Базовое шасси

ЗИЛ-130

Тягач с прицепом

Мощность двигателя, кВт

110

20

Вместимость цистерны, м3

6

1

Производительность при гидроочистке, м2

200

150

Расход воды, м3

12

10

Рабочее давление воды, МПа

0,3; 0,4

0,25

Гидромонитор модели 4549 (Госдорнии)

Базовая машина                                                                    Летний вариант КДМ-30

Диаметр насадки, мм                                                          20, 25

Минимальное расстояние воздействия на стену, м         5-10

Давление воды у насадки, МПа                                          0,5-0,8

Расход воды, м3                                                                 20-50

2. Оборудование для обрубки бетона

Молоток электрический ИЭ-4215 (ГОСТ 12443-79)

Частота ударов, с-1                                                               46,6

Электродвигатель                                                                0,29 кВт; 220 В, 50 Гц

Оптовая цена                                                                        140 руб.

Предназначен для обработки очистки бетонной поверхности и пробивки борозд.

Пневмомолоток СП-66 (ТУ-22-4330-78)

Частота ударов, с-1                                                          9,5

Расход воздуха, м3                                                        12

Давление, МПа                                                                0,5

Масса, кг                                                                          280

Оптовая цена, руб.                                                          1860

Предназначен для разрушения бетона, асфальтобетона.

Дисковый нарезчик швов для устройства прорезей в плитах пролетных строений и обрезки консольных плит, марка УРЖ-24

Рабочий орган                                                          Абразивный круг, алмазные диски

Диаметр дисков, мм                                                400-500

Максимальная глубина резания, мм                      130

Мощность, кВт                                                         4,8

3. Пневмо- или электросверлильный инструмент для сверления отверстий в железобетонных балках

Пневматическая сверлилка, марка ИП-1023 (ТУ-4023-77 С)

Наибольший диаметр сверления, мм                     25

Глубина сверления бетона, мм                               До 300

Наибольшая мощность на шпинделе, кВт             0,83

Масса, кг                                                                   6

Передвижной электрический станок для сверления отверстий в железобетоне, марка ИЭ-1801

Диаметр просверливаемых отверстий, мм            До 125

Глубина сверления, мм                                           280

Тип электродвигателя                                             АО Л-2222

Габаритные размеры, мм

длина                                                                    1440

ширина                                                                 510

высота                                                                   1120

Масса без груза, кг                                                   140

4. Источники энергии для нарезчиков и сверлильного инструмента

Агрегат бензоэлектрический, марка АБ-8Г/230М

Мощность, кВт                                                         8

Масса, кг                                                                   500

Компрессор, марка ЗИФ-55

Производительность, м3/мин                                  5

Тип двигателя                                                           ЗИЛ-157М

Мощность, л.с. (кВт)                                                78 (58)

Габаритные размеры, мм:

длина                                                                    4437

ширина                                                                 1820

высота                                                                   1770

Масса, т                                                                     2,8

5. Оборудование для забивки свай длиной до 12 м сечением 35 × 35 см

Свайный дизель-молот трубчатый, марка СП-41А/С-996А с ударной частью массой 1800 кг, рассчитан на сваю массой 1,8 - 5 т.

Дизель-молот штанговый, марка СП-6Б с ударной частью 250 кг. Рассчитан на сваю массой 1,2 - 5 т.

Кран автомобильный стреловой самоходный грузоподъемностью 5 т с механическим приводом на шасси автомобиля ГАЗ-53А ОК № 1.07.01 ОКП 483511 (марка КС-1562А, ГОСТ 22827-77).

Копры навесные

Характеристики

На экскаваторах

На тракторах

Индекс

КН-12

КН-12

Модель

-

СП-49

Максимальная длина погружаемой сваи, м

12

12

Грузоподъемность, т

14

11

Вылет мачты копра, м

-

0,4

Марка рекомендуемого молота

СП-41

СП-41

Копровое оборудование

Характеристики

На экскаваторах

На тракторах

На автокранах

Индекс

КО-12

КО-8

КО-8

Модель

-

-

УСА

Максимальная длина погружаемых свай, м

12

8

10

Грузоподъемность, т

10

4

5

Вылет мачты копра, м

4-6,5

-

4,5

Марка рекомендуемого молота

СП-41

СП-40

СП-40

6. Крановое оборудование для установки балок в пролет

Стреловой самоходный кран, марка СКГ-40.

Рекомендуют для установки балок длиной до 15 м и массой балок в 11-15 т. Балки устанавливают с использованием траверсы.

7. Гидравлические домкраты для подъема пролетных строений

Основные параметры

Грузоподъемность, т

25

50

100

Марка

ДГ-25

ДГ-50

ДГМ-100

Высота подъема, мм

150

150

155

Рабочее давление, МПа

40,0

40,0

40,0

Общая масса, кг

28,5

52

54

8. Насосные станции, марка НСР-400 или НСП-400 для подкачки масла в домкраты

Основные параметры

НСР-400

HCП-400

Наибольшее рабочее давление, МПа

40,0

40,0

Усилие на рычагах, максимальное, кгс

-35

-

Производительность, л/мин

-

1,6

Установленная мощность, кВт

-

2,8

Габаритные размеры, мм:

 

 

      длина

1735

1735

      ширина

590

590

      высота

2200

2200

Колея тележки, мм

490

490

Масса, кг

135

180

9. Инвентарные подмости (леса), позволяющие обстроить опору высотой 6 м и длиной 12 м.

10. Тележка с бадьей для перемещения бетона вдоль опоры и инвентарные щиты с рельсом (не более Р-12), собираемые на длину 12 м.

11. Легкая люлька для осмотра и ремонта фасадных поверхностей, включающая ригель, дополнительную опору, подвеску, рабочую площадку, и прикрепляемая к любому транспортному средству.

Приложение 8

Технико-экономические показатели уширения и определение размера экономического эффекта от внедрения Рекомендаций

Технико-экономические показатели схем уширения определены по укрупненным нормам на строительно-монтажные работы и с учетом показателей, взятых из проектов мостов. Последние следует использовать при определении размера экономического эффекта при внедрении различных методов уширения по сравнению с заменой пролетных строений, а также моста, показатели для которых приняты по «Нормативам удельных капитальных вложений в строительство автомобильных дорог общего пользования на 1981-1985 гг.» (Минавтодор РСФСР, 1982). Показатели (таблицы 1, 2) даны для случаев уширения с габарита Г-7 + 2 ´ 0,75 м до габаритов Г-10 + 2 ´ 1,0 м и Г-11,5 + 2 ´ 1,5 м и при свайных опорах на свайном ростверке. Причем имеется в виду, что при уширении пролетных строений используют ребристые конструкции применительно к проекту по выпуску 710/5. В случае применения преднапряженных конструкций показатели для уширяемых пролетных строений уменьшаются на 10 % (плитные преднапряженные) и на 20 % (ребристые преднапряженные). Показатели определяют с учетом затрат на подъемку пролетных строений и потерь из-за ограничения движения. Состояние моста, соответствующее указанному примеру, оценивают показателем «удовлетворительно» Кн ³ 0,7. В этом случае экономия затрат на уширение составляет на 1 м 1 тыс. р. (базовый показатель Эб = 1,0).

Таблица 1

Показатели на 1 м моста по пролетным строениям

Варианты x)

Уширение

до Г-10 + 2 ´ 1,0 м

до Г-11,5 + 2 ´ 1,5 м

капитальные вложения, тыс. руб./м

трудозатраты, ч. дн/м

расход бетона, м3

капитальные вложения, тыс. руб./м

трудозатраты, ч. дн/м

расход бетона, м3

Замена пролетного строения

3,3

50

4,8

3,8

62

5,4

Уширение пролетного строения:

 

 

 

 

 

 

      с устройством монолитной плиты

1,6

29

2,8

2,0

35

3,5

      без устройства монолитной плиты

1,3

25

2,5

1,7

30

3,2

Установка нового пролетного строения при строительстве параллельного моста

2,2

35

3,0

2,7

45

3,7

х) С учетом затрат на разработку и ремонт пролетных строений, устройство подходов к мосту.

Таблица 2

Показатели по опорам х)

Тип опор

Капитальные вложения, тыс. руб.

Трудозатраты, ч. дн.

Расход железобетона, м3

новое строительство xx)

уширение

новое строительство

уширение

новое строительство

уширение

Промежуточные опоры

 

 

 

 

 

 

свайные однорядные:

 

 

 

 

 

 

высота опор до:

      5 м

15,0/18,0

8,5/11,0

240/290

150/190

21/23

8/10

      10 м

20,0/23,0

10,0/12,5

325/370

170/215

23/25

9/12

стоечные со свайным ростверком:

 

 

 

 

 

 

высота опор до:

 

 

 

 

 

 

      5 м

25,0/28,0

16,0/10,0

400/450

275/340

28/32

10/31

      10 м

30,0/33,0

20,0/23,0

485/530

340/400

32/36

12/15

Устои свайные

15,0/18,0

8,0/10,5

240/290

140/180

15/16

5/6

x) В числителе - для случая уширения до габарита Г-10, в знаменателе - до Г-11,5.

xx) С учетом разборки опор.

Экономический эффект от внедрения схем уширения, предусмотренных настоящими Рекомендациями, определяют по формуле (на 1 мост)

Э = β  × З1 - З2 + Эт,                                                      (1)

где З1 - затраты на реализацию базового (сопоставляемого) варианта реконструкции из проектно-сметной документации (замена пролетного строения, замена моста и т. д.);

З2 - затраты на уширеиие моста (из проектно-сметной документации);

Эт - снижение потерь на транспорте (стесненные условия движения) за период более раннего ввода в эксплуатацию уширенного моста по сравнению с базовым вариантом (определяется по [1]). Продолжительность строительства принимают из проектно-сметной документации или по данным таблиц 1 и 2;

β - коэффициент использования существующих конструкций

β = 1 + 0,5,

где В2 - сохраненная полезная площадь или часть габарита моста (использованная вторично);

В1 - полезная площадь или габарит нового моста после уширения.

Величины З1 и З2 могут быть равны сметной стоимости работ.

Для планирования работ и определения ожидаемого экономического эффекта можно принимать удельный показатель экономической эффективности (на 1 м уширенного моста), равным 1 тыс. р./м, умноженным на коэффициент по табл. 3.

Удельный показатель тыс. р./м определен для одного из вариантов, по отношению к которому вычислены коэффициенты изменения экономического эффекта. В среднем, учитывая фактическую распространенность мостов с различным состоянием и потребность в тех или иных схемах уширения, размер планируемого эффекта от использования на практике схем уширения может быть принят 1,2 тыс. р. на 1 м моста.

Таблица 3

Коэффициент изменения экономического аффекта от внедрения различных схем уширения (коэф. приведения)

Показатель состояния

конструкции1

Группа схем уширения2

А

(рис. 3.1)

В

(рис. 3.2)

Г

(рис. 3.6)

Д

(рис. 3.11)

фундамент

свайный

ростверковый

I

1,0

1,8

1,5

1,2

1,0

II

1,5

1,3

1,0

0,7

0,6

III

-

1,0

0,7

0,5

0,4

Примечание. 1 - обозначения по п. 2.4.1; 2 - обозначения по п. 2.4.2.

ЛИТЕРАТУРА

1. Анализ конструкций и технологии уширения мостов монолитными и сборно-монолитными элементами с технико-экономическим обоснованием такого строительства / Укрремдорпроект. - Киев, 1980.

2. Временные рекомендации по проектированию уширения автодорожных мостов ВР-218 УССР. - Киев, 1979.

3. Ремонт железобетонных мостов. Технические решения для службы эксплуатации автомобильных дорог/ Оргдорстрой. - Минск, 1983.

4. Экономическая эффективность уширения мостов на автомобильных дорогах. - ОИ/ЦБНТИ Минавтодора РСФСР. - М., 1983, вып. 1.

5. Проблемы реконструкции железобетонных автодорожных мостов. - ЭИ/ЦБНТИ Минавтодора РСФСР. - М., 1980, вып. 19.

6. Руководство по использованию информационно-поисковой системы «Мост» (ИПС-»Мост») / Гипродорнии. - М., 1980.

7. Инструкция по проведению осмотров мостов и труб на автомобильных дорогах. ВСН 4-81. - М.: Транспорт, 1981.

8. СНиП II-17-77. Нормы проектирования. Свайные фундаменты. - М.: Стройиздат, 1978.

9. ГОСТ 23457-79. Технические средства организации дорожного движения. Правила применения. 1979.

10. М. Е. Гибшман. Таблицы для расчета пролетных строений транспортных сооружений. Справочник. - М.: Транспорт, 1985. - 447 с.

11. Методические рекомендации по проектированию и строительству температурно-неразрезных пролетных строений мостов на автомобильных дорогах / Союздорнии. - М., 1977.

12. СНиП 2.05.03-84. Мосты и трубы. Госстрой СССР/ЦИТП Госстроя СССР. - М., 1985. - 200 с.

13. Инструкция по проектированию и установке полимерных опорных частей мостов. ВСН 86-83 / Минтрансстрой. - М., 1938. - 32 с.

14. Температурно-неразрезные железобетонные пролетные строения автодорожных мостов. Технический проект / Гипротрансмост. - М., 1982.

15. СНиП III-43-75. Мосты и трубы. Правило производства и приемки работ / Госстрой СССР. - М.: Стройиздат, 1976. - 110 с.

16. Руководство по строительству дорожных асфальтобетонных покрытий / Союздорпроект. - М.: Транспорт, 1978.

17. Инструкция по устройству гидроизоляции конструкций мостов и труб на железных, автомобильных и городских дорогах. ВСН 32-81. - М., 1982. - 112 с.

18. Методические рекомендации по проектированию, приготовлению и установке конструкций деформационных швов в автодорожных и городских мостах и путепроводах / Союздорнии. - М., 1980.

19. Ремонт железобетонных поверхностей в конструкциях автодорожных мостов. - ОЭ/ЦБНТИ Минавтодора РСФСР. - М., 1983, вып. 6. - 67 с.

20. Рекомендации по расчету опор автодорожных мостов / ЦНИИС Минтрансстроя СССР. - М., 1981.

21. Указания по определению экономической эффективности капитальных вложений в строительство и реконструкцию автомобильных дорог. ВСН 21-83. - М.: Транспорт, 1985.

СОДЕРЖАНИЕ

1. Предисловие. 1

2. Общие положения. 2

2.1. Конструкции железобетонных мостов, подлежащих уширению.. 2

2.2. Оценка состояния мостов и порядок проектирования. 3

2.3. Определение требуемого габарита и метода реконструкции. 6

2.4. Основные принципы уширения. Классификация методов уширения. 7

3. Рекомендуемые способы уширения пролетных строений и область их применения. 9

3.1. Увеличение габарита на 1 м (группа А) 9

3.2. Увеличение габарита на 1,5 - 2,0 м.. 10

3.3. Увеличение габарита на 3 - 3,5 м.. 15

3.4. Увеличение габарита на 4,5 - 5 м.. 18

4. Уширение опор. 21

4.1. Основные требования. 21

4.2. Схемы уширения промежуточных опор и область их применения. 22

4.3. Схемы уширения устоев. 24

4.4. Установка (замена) опорных частей. 25

5. Рекомендации по проектированию.. 26

5.1. Расчет уширенных мостов. 26

5.2. Компоновка пролетных строений. 28

6. Изготовление конструкций, организация и производство работ. 32

6.1. Изготовление сборных конструкций. 32

6.2. Организация работ. 32

6.3. Технология работ по уширению.. 36

Приложения

1 Характеристика пролетных строений и опор, требующих уширения. 38

2 Методика технико-экономического обоснования уширения автодорожных железобетонных мостов. 40

3 Методика определения степени изменения коэффициентов поперечной установки из-за снижения жесткости балок и диафрагм.. 45

4 Методика ускоренной оценки необходимости уширения свайных опор и фундаментов других видов наиболее распространенных опор (методика УО) 48

5 Степень разгрузки балок диафрагменных пролетных строений (по показателю коэффициента поперечной установки) 77

6 Специальные металлоконструкции, используемые при уширении пролетных строений. 77

7 Перечень механизмов, которые могут быть применены для производства работ по уширению мостов. 79

8 Технико-экономические показатели уширения и определение размера экономического эффекта от внедрения Рекомендаций. 81

Литература. 83

 




Rambler's Top100 Яндекс цитирования
  Copyright © 2008-2025, www.docload.ru