Бесплатная библиотека стандартов и нормативов www.docload.ru

Все документы, размещенные на этом сайте, не являются их официальным изданием и предназначены исключительно для ознакомительных целей.
Электронные копии этих документов могут распространяться без всяких ограничений. Вы можете размещать информацию с этого сайта на любом другом сайте.
Это некоммерческий сайт и здесь не продаются документы. Вы можете скачать их абсолютно бесплатно!
Содержимое сайта не нарушает чьих-либо авторских прав! Человек имеет право на информацию!

 

МИНИСТЕРСТВО АВТОМОБИЛЬНЫХ ДОРОГ РСФСР

ДОРОДНОЕ НАУЧНО-ИССЛЕДОВАТЕЛЬСКОЕ И
ПРОИЗВОДСТВЕННО-ТЕХНОЛОГИЧЕСКОЕ ОБЪЕДИНЕНИЕ
НПО РОСДОРНИИ

РЕКОМЕНДАЦИИ
ПО РЕМОНТУ И УХОДУ ЗА ДЕФОРМАЦИОННЫМИ
ШВАМИ В МАЛЫХ И СРЕДНИХ МОСТАХ

Москва 1989

Рекомендации по ремонту и уходу за деформационными швами в малых и средних мостах/ Министерство автомобильных дорог РСФСР. - М.: ЦБНТИ Минавтодора РСФСР, 1989.

Настоящие Рекомендации - второе издание документа, разработанного в 1982 г. В отличие от предыдущего издания внесены дополнения, связанные с совершенствованием классификации ремонтных работ, появлением новых материалов и механизмов, представлены изменения в конструкции деформационных швов с указанием их применения.

Все это подтверждено новыми данными исследований, результатами опытных работ и внедрения в практику решений ранее изданных Рекомендаций, утвержденных Минавтодором РСФСР 15.06.81 пр. №16.

Данный документ - как практическое руководство по ремонтным работам - предназначен для работников дородно-эксплуатационной службы.

Составлены инж. А.В. Бугуруслановым и канд. техн. наук В.И. Шестериковым. В разработке принимала участие инж. О.В. Николаева.

Замечания и предложения просим направлять по адресу:

125493. г. Москва, ул. Смольная, д. 1/3, владение 2, НПО Росдорнии.

ПРЕДИСЛОВИЕ

Долговечность проезжей части автодорожных мостов и путепроводов во многом зависит от состояния конструкций деформационных швов, своевременного и правильного выполнения профилактических и ремонтных работ.

Многочисленные обследования эксплуатируемых малых и средних автодорожных железобетонных мостов показывают, что деформационные швы, заполненные мастиками, разрушаются через 3-5 лет, а через 1-2 года в них нарушается герметичность. Появление и развитие дефектов в шве не только снижает долговечность проезжей части мостов и ухудшает условия движения (плавность, скорость, безопасность), но и отрицательно сказывается на долговечности всего сооружения в целом.

В НПО Росдорнии разработана и проверена технология ремонта деформационных швов в малых и средних мостах, имеющих пролетные строения до 24 м, установлен объем работ, выполняемый при содержании и ремонте искусственных сооружений, определены межремонтные сроки (периодичность работ). Все эти вопросы нашли отражение в настоящих Рекомендациях. Соблюдение требований, приведенных в документе, позволит увеличить межремонтные сроки по сравнению с существующими, сократить продолжительность ремонтных работ и затрат на эксплуатацию деформационных швов. Рекомендации не применимы для районов со среднесуточной минимальной температурой воздуха ниже минус 45°С, что определено характеристиками практикуемых при ремонте материалов. Для заполнения швов используют материалы на битумной основе, что делает реальным применение разработанных методов ремонта любыми эксплуатационными организациями Минавтодора РСФСР. Технологией предусмотрены работы по содержанию и ремонту деформационных швов двух типов - закрытого и заполненного, как наиболее распространенных в малых и средних мостах.

Рекомендации предназначены для инженерно-технических работников, связанных с эксплуатацией малых и средних автодорожных мостов. Они могут быть полезны специалистам, занимающимся проектированием, изготовлением и эксплуатацией конструкций деформационных швов в проезжей части автодорожных и городских мостов и путепроводов.

Зам. ген. директора канд. техн. наук А.Я.Эрастов

1. ОБЩИЕ ПОЛОЖЕНИЯ

1.1. Настоящие рекомендации могут быть использованы при ремонте и содержании конструкций деформационных швов в железобетонных и сталежелезобетонных пролетных строениях, эксплуатируемых на автомобильных дорогах РСФСР малых и средних мостов и путепроводов, а также в больших мостах с пролетными строениями длиной не более 33 м.

В разработке приведены конструкции и технология ремонта деформационных швов двух тиров - закрытого и заполненного, допускающих перемещения концов пролетных строений в шве до 20 мм. При больших перемещениях следует применять другие конструкции деформационных швов [1].

1.2. Объем требуемых ремонтных работ по устранению дефектов деформационных швов устанавливают по книгам (журналам) искусственных сооружений, в которые записаны результаты текущих, периодических и специальных осмотров. При планировании работ определяют методы их выполнения и объем требуемых материалов.

1.3. Все ремонтные работы следует вести в сухую погоду при температуре воздуха не ниже плюс 5°С, выполняя их сразу по мосту в целом с организацией движения по объездному пути, либо поочередно на одной половине проезжей части с временным прекращением движения. При этом ширина полосы для движения транспортных средств должна быть не меньше 3 м, а ремонтируемого участка должна превышать половину ширины габарита (Г) моста.

Движение автомобилей по отремонтированному участку моста разрешается через 1-3 сут. в зависимости от применяемых материалов.

1.4. В деформационных швах заполненного и закрытого типа следует применять готовые мастики на битумной основе, выпускаемые промышленностью: битумно-бутилкаучуковые (МББП) [2], резино-битумные (РБМ), полимерно-битумные (ПБВ), битумно-изопреновые (МБИ). Допускается использование резинобитумных мастик (РБВ), изготовляемых на стройплощадке [3]. Перед применением этих мастик требуется проверить основные их свойства (температуру размягчения и хрупкости, относительное удлинение при растяжении). Кроме указанных мастик практикуют тиоколовые герметики и различные пасты.

1.5. Для приготовления мастик на основе битума в условиях строительного объекта следует применять составляющие материалы, отвечающие требованиям действующих нормативно-технических документов. Все материалы, заготовленные для ремонтных работ, должны иметь паспорта, подтверждающие соответствие их ГОСТам и техническим условиям, и указания о времени изготовления и сроке использования их. По истечении гарантийного срока хранения материалов не допускается применение их без проверки по всем показателям.

1.6. Настоящими Рекомендациями предусматривается выполнение следующих видов работ:

А - уход за швами (очистка, промывка, заливка трещин, добавление мастики);

Б - профилактические и планово-предупредительные работы (восстановление мастики и кромок швов, ремонт окаймления, покрытия в зоне швов и устранение бугров, усиление гидроизоляции, реконструкция водоотвода, ремонт слоев одежды у швов и другие работы по восполнению износа и восстановлению работоспособности швов);

В - замена деформационных швов (полное переустройство с заменой отдельных элементов и восстановлением предусмотренного проектом типа шва, замена шва на новый тип).

Виды работ А и Б относятся к содержанию мостов, а В - к их ремонту в соответствии с утвержденной классификацией ремонтных работ (приказ по Минавтодору РСФСР №72-ор от 16.06.88. Временная классификация работ по ремонту и содержанию автомобильных дорог общего пользования).

2. КЛАССИФИКАЦИЯ И ОБЛАСТЬ ПРИМЕНЕНИЯ КОНСТРУКЦИЙ ДЕФОРМАЦИОННЫХ ШВОВ

2.1. В пролетных строениях малых и средних мостов устраивают деформационные швы закрытого и заполненного типов при перемещениях концов пролетных строений соответственно до 10 и 10 - 20 мм.

В швах закрытого типа зазор между сопрягаемыми пролетными строениями сверху закрыт асфальтобетонным покрытием проезжей части, уложенным без разрыва. В швах другого типа зазор заполняют герметизирующим материалом, а покрытие выполнено с разрывом.

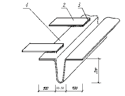
Различают две разновидности швов закрытого типа - с армированным и неармированным асфальтобетонным покрытием и три варианта заполненного типа асфальтобетонными и цементобетонными кромками, с металлическим окаймлением (рис. 1, 2 А, Б).

Рис. 1. Конструкции деформационных швов закрытого типа:

а - с непрерывным асфальтобетонным покрытием;

б - с армированным покрытием;

1 - асфальтобетонное покрытие; 2 - защитный слой; 3 - гидроизоляция, 4 - металлическая пластина, перекрывающая зазор (d = 8 - 10 втоплена в защитный слой); 5 - выравнивающий слой; 6 - армирующие сетки; 7 - отделяющая прокладка; 8 - компенсатор, 9 - битумная мастика; 10 - пористый заполнитель; 11 - балка; 12 - анкерный стержень; 13 - уплотнитель

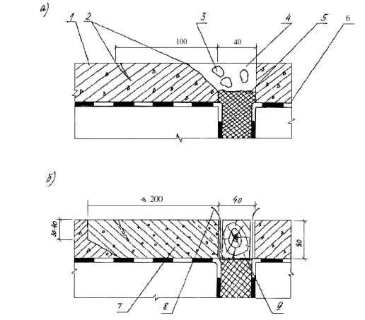
Рис. 2. Конструкции деформационных швов заполненного типа

А - в асфальтобетонном покрытии:

а - с асфальтобетонными кромками;

б - бетонным приливом;

в - металлическим окаймлением;

1 - асфальтобетонное покрытие; 2 - защитный слой; 3 - гидроизоляция; 4 - существующий выравнивающий слой; 5 - новый выравнивающий слой (бетон или полимербетон); 6 - металлическое окаймление; 7 - закладная деталь в балках; 8 - стальная накладка толщиной 10 мм (шаг £600); 9 - металлический компенсатор; 10 - неметаллический компенсатор; 11 - пористый заполнитель плиты; 12 - каркас бетонного прилива; 14 - бетонный прилив

Б - в цементобетонных покрытиях:

а - с оклеечной гидроизоляцией;

б - без оклеечной гидроизоляции и с металлическим окаймлением;

1 - цементобетонное покрытие; 2 - гидроизоляция; 3 - выравнивающий слой; 4 - мастика заполнения; 5 - анкерный стержень; 6 - компенсатор; 7 - пористый заполнитель; 8 - металлическое окаймление; 9 - арматурный каркас; 10 - вертикальные анкера

2.2. Деформационные швы закрытого типа содержат:

металлический (или неметаллический) компенсатор, закрепленный на концах пролетных строений и предназначенный для удержания заполнения;

гидроизоляционный слой, дополненный полиэтиленовой пленкой, стабилизированной сажей и заведенный в петлю компенсатора;

пористое заполнение петли компенсатора;

уплотнитель зазора в уровне защитного слоя из пенопласта или дерева, предназначенный для предотвращения вдавливания покрытия в зазор;

армированное или неармированное асфальтобетонное покрытие, уложенное без разрыва.

Металлический компенсатор вырезают из латунного листа или оцинкованного железа толщиной 1,0-1,2 мм и придают ему форму лотка, В пролетном строении компенсатор закрепляют с помощью горизонтальных анкерных полос, соединяемых с продольной арматурой (рис. 3а).

Неметаллический компенсатор состоит из двух слоев гидростеклоизола, склеенных между собой мастикой и приклеенных к выравнивающему слою (рис. 3б). Допускается оставлять в деформационном шве металлические компенсаторы иной формы и размеров, если они находятся в удовлетворительном состоянии. При этом дополнительно устраивают неметаллический компенсатор.

Уплотнитель, применяемый в швах закрытого типа (см. рис. 1), может быть выполнен из доски повышенной влажности или пенопласта. Одновременно он является опалубкой для выравнивающего слоя (рис. 4).

2.3. Деформационные швы заполненного типа содержат:

металлический компенсатор предназначен для удержания заполнения, состоит из гнутой тонколистовой стали толщиной 2-2,5мм, закрепляется с помощью накладок (с шагом не более 0,6 м), приваренных к закладным деталям, либо оголенной арматурой;

неметаллический компенсатор (см. рис. 3б и п. 2.2) расположен по верху металлического, служит для отвода воды из шва и закрыт сверху слоем гидроизоляции;

пористое заполнение петли компенсатора уменьшает расход мастики;

заполнение в виде мастики или пасты в уровне защитного слоя и покрытия (либо в уровне только асфальтобетонного покрытия, если его толщина превышает 5 см) обеспечивает герметичность шва;

металлическое окаймление шва применяют для защиты кромок бетонного прилива в пролетных строениях на дорогах (I и II категории) с большой интенсивностью движения автомобилей.

Рис. 3. Металлические (а) и неметаллический (б) компенсаторы деформационных швов:

1 - лотковая часть компенсатора; 2 - полка компенсатора; 3 - анкерные полосы; 4 - арматурный стержень; 5 - неметаллический компенсатор; 6 - гидроизоляция; 7 - полиэтиленовая пленка

Рис. 4. Металлический компенсатор для деформационных швов заполненного типа:

1 - металлический компенсатор; 2 - накладки, приваренные к закладным деталям или арматуре; 3 - сварной шов

Рис. 5. Сечение уплотнителей для деформационных швов

Рис. 6. Сечение окаймлений деформационных швов

2.4. Окаймление деформационных швов может быть выполнено из уголкового прокатного профиля или стальной полосы (рис. 6). Окаймление омоноличивают в бетонном приливе толщиной не менее 12 см. При меньшей толщине бетона над гидроизоляцией у шва анкеры окаймления соединяют с оголенной арматурой плиты пролетного строения и гидроизолируют (см. разд. 5).

2.5. Область применения конструкций деформационных швов определяется следующими факторами: категорией автомобильной дороги, типом покрытия проезжей части, климатическим районом расположения моста и величиной перемещения в шве концов сопрягаемых пролетных строений.

Деформационные швы закрытого типа допускается устраивать на мостах с асфальтобетонным покрытием проезжей части при перемещениях в шве не более 5 мм на дорогах I-II категорий, более низких категорий - до 10 мм.

Деформационные швы заполненного типа применяют на мостах с цементобетонным покрытием при перемещениях в шве до 20 мм и с асфальтобетонным - до 15 мм.

Деформационные швы заполненного типа со стальным окаймлением устраивают при перемещениях в швах до 20 мм на малых и средних мостах, расположенных на дорогах I-II категории, а также дорогах III категории, если в составе движения преобладают грузовые автомобили и автобусы с нагрузкой на ось не менее 100 кН и при интенсивности движения более 500 авт/сутки.

2.6. Величину расчетных перемещений концов пролетных строений в уровне деформационных швов определяют по формуле:

                                                       (2.1)

где dвр, - перемещения в шве от временной нагрузки;

DТ - перепад температур конструкций, °С, равный ;

a0 - коэффициент температурного линейного удлинения a0 =10-5×1/град.;

l - длина пролетных строений1), м;

1) Здесь и далее под этой величиной подразумевают длину, с которой в шве собираются перемещения.

2.7. За температуру Tmax принимают максимальную среднесуточную температуру воздуха tc, увеличенную на половину средней амплитуды Аc суточного колебания температур2).

Для массивных железобетонных конструкций с толщиной элементов стенок, плит, полок более 60 см Tmax = tc (коробчатых пролетных строениях толщины стенок и плит суммируют).

За температуру Tmin принимают минимальную среднесуточную tнс, а для массивных железобетонных конструкций - среднюю за пять наиболее холодных суток tнп температуру воздуха2).

2) По данным СНиП 2.01.01-82.

2.8. Территория РСФСР для применения конструкций деформационных швов может быть разделена на три строительно-климатические зоны по минимальной среднесуточной температуре воздуха:

СТЗ

I

II

IIа

IIб

III

IIIa

IIIб

tнс,°С

до -20

до 40

от -20

до -30

от -30

до -40

ниже

-40

от -40

до -50

ниже

-50

Ремонтировать деформационные швы по данным Рекомендациям возможно в районах с температурой tнс до -45°С. Для остальных районов СТЗ материалы, технология ремонтных работ и предельные длины пролетных строений, в которых выполняют ремонт швов, должны согласовываться с базовым научно-исследовательским институтом. Карта районирования по СТЗ приведена в прил. 1.

2.9. Длины железобетонных и сталежелезобетонных пролетных строений, в которых допускается применение тех или иных конструкций швов, даны в табл. 2.1 в зависимости от района расположения моста.

Таблица 2.1

СТЗ

tнс,

°С

Длины пролетных строений, м

до 9

12

15

18

21

24

33

42

 

 

А. Железобетонные пролетные строения

I

-20

Н

Н

Н

НА, М

М

М

IIа

-25

Н

Н

Н

НА, М

М

М

-

 

-30

Н

Н

Н

М

М

-

IIб

-35

Н

Н

Н

М

М

-

 

-40

Н

Н

М

М

М

-

-

IIIa

-45

Н

Н

М

М

МБ

-

-

Б. Сталежелезобетонные

I

-20

Н

Н

М

М

МБ

-

IIа

-25

Н

Н

М

М

-

-

 

-30

Н

Н

М

М

-

-

IIб

-35

Н

Н

М

М

-

-

 

-40

Н

Н

М

М

-

-

IIIа

-45

Н

М

М

МБ

МБ

-

-

-

В табл. 2.1 приняты обозначения:

Н - закрытые швы с непрерывным асфальтобетонным покрытием (рис. 1а);

НА - то же, с армированным покрытием (см. рис. 1б);

М - заполненные швы с мастикой (асфальтобетонные кромки, см. рис. 2а);

MБ - то же, с бетонными кромками или окаймлением (см. рис. 2б, в).

Предельные длины массивных железобетонных пролетных строений (например, коробчатого сечения), в которых устраивают швы закрытого и заполненного типов, могут быть увеличены по сравнению с данными табл. 2.1 на 25%. В пролетных строениях с цементобетонным покрытием делают швы заполненного типа по рис. 2б, в.

2.10. Над концами пролетных строений, опирающихся на неподвижные опорные части, применяют деформационные швы закрытого типа, приведенные в табл. 2.2.

Таблица 2.2

Тип деформационного шва

Вид пролетного строения и длина его, м

железобетонные, плитные и ребристые (массивные)

сталежелезобетонные

Закрытый

до 21(24)

15

Заполненный:

 

 

с асфальтобетонными кромками

до 33(42)

до 24 (СТЗ I, IIа)

21 (СТЗ IIб, IIIа)

с бетонными кромками

 

до 42 (СТЗ I, IIа)

33 (СТЗ IIб,IIIа)

2.11. Область применения различных материалов для заполнения деформационных швов приведена в табл. 2.3 в зависимости от материала пролетного строения, типа покрытия и района расположения моста.

В табл. 2.3 подобран оптимальный материал для зоны и пролета. Возможно применение материалов для больших пролетов и низких температур.

Предусмотрено следующее использование мастик:

МББП - битумно-бутилкаучуковых;

МБИ - битумно-изопреновых [4];

РБВ - резинобитумных вяжущих;

ПБВ - полимерно-битумных [5];

Т - тиоколовых герметиков.

Марки материалов для заполнения швов и условия их применения даны в разд. 4.

3. РЕМОНТ ДЕФОРМАЦИОННЫХ ШВОВ И УХОД ЗА НИМИ

3.1. Уход за швами включает работы, выполняемые для поддержания швов в исправности:

а) очистка швов и прилегающих к ним покрытий и зазоров, а также лотков, концевых участков пролетных строений и опорных площадок от пыли, грязи, снега; сколка льда у тротуаров;

Таблица 2.3

А. Железобетонные пролетные строения

СТЗ

tнс,

°С

Длина пролетного строения, м

12

15

18

21

24

33

42

15

18

21

24

Цементобетонного покрытия

Асфальтобетонного покрытия

I

-20

РБВ-2

РБВ-2

РБВ-2

РБВ-2

РБВ-2

МББП-65

МББП-65

РБВ-2

РБВ-2

РБВ-2

МББП-65

IIа

-25

РБВ-2

РБВ-2

РБВ-1

РБВ-1

МББП-65

МББП-65

*

РБВ-2

РБВ-2

РБВ-1

МББП-65

 

-30

РБВ-1

РБВ-1

РБВ-1

МББП-65

МББП-65

МББП-65

*

РБВ-2

РБВ-1

МББП-65

МБИ-8

IIб

-35

МББП-65

МББП-65

МББП-65

МББП-05

МББП-65

ПБВ

МБИ-6

*

РБВ-1

ЖББП-65

ПБВ

МБИ-8

МБИ-8

 

-40

МББП-65

МББП-65

МББП-65

ПБВ

МБИ-8

ПБВ

МБИ-8

ПБВ

*

ПБВ

МБИ-8

ПБВ

МБИ-8

ПБВ

МБИ-8

*

IIIа

-45

МББП-65

ПБВ

МБИ-8

ПБВ

МБИ-8

ПБВ

MБИ-8

Т

*

*

ПБВ

МБИ-8

ПБВ

МБИ-8

*

*

Б. Сталежелезобетонные пролетные строения

СТЗ

tнс,

°С

Длина пролетного строения м

до 12

18

24

33

до 12

18

24

Цементобетонного покрытия

асфальтобетонного покрытия

I

-20

РБВ-2

РБВ-2

МББП-65

МББП-65

РБВ-2

РБВ-2

*

IIa

-25

РБВ-2

РБВ-1

МББП-65

*

МББП-65

МББП-65

*

 

-30

РБВ-1

МББП-65

МББП-65

*

МББП-65

МББП-65

*

IIб

-35

МББП-65

МББП-65

ПБВ

МБИ-8

*

ПБВ

МБИ-8

ПБВ

МБИ-8

*

 

-40

МББП-65

ПБВ

МБИ-8

Т

*

ПБВ

МБИ-8

ПБВ

МБИ-8

*

IIIа

-45

ПБВ

МБИ-8

Т

*

*

ПБВ

МБИ-8

МБИ-8

*

Примечание. В табл. 2.3 прочерк соответствует применению швов закрытого типа, а звездочка - швов с резиновыми компенсаторами К-8

б) текущие, периодические и специальные осмотры швов, проводимые в процессе освидетельствования искусственных сооружений и в сроки, оговоренные соответствующими нормативными документами. В зависимости от вида осмотр проводят мостовые мастера, главный инженер эксплуатационного подразделения, мостоиспытательные станции или специальные комиссии.

Результаты осмотра с перечислением выявленных дефектов h указанием объема ремонтных работ заносят в книгу искусственных сооружений. Перечень наиболее распространенных дефектов в деформационных швах приведен в табл. 3.1;

в) заливка трещин в асфальтобетонном покрытии у швов битумным (резинобитумным) вяжущим (при толщине трещин свыше 1 мм) или жидким битумом (при трещинах раскрытием до 1 мм).

Работы по уходу за швами финансируются за счет средств, выделяемых на содержание дорог (мостов), и могут выполняться дорожными ремонтными бригадами в составе ДРСУ.

3.2. Профилактические и планово-предупредительные работы (ППР): предупреждение разрушения швов и исправление мелких повреждений, постоянно возникающих в процессе эксплуатации искусственных сооружений, проводимые в течение всего года (по мере необходимости) с учетом межремонтных сроков.

К таким видам работ относят:

а) ликвидацию волн и наплывов в покрытии у шва;

б) заделку выбоин и просадок в зоне шва;

в) заливку швов мастикой;

г) замену заполнения швов, а также тротуарных блоков;

д) ремонт покрытия (заделка трещин, сколов кромок и раковин);

е) ремонт защитного слоя и гидроизоляции шва;

ж) заделку трещин, сколов и раковин в железобетонной плите проезжей части;

з) восстановление или замена окаймления.

Кроме того, при ППР на мосту выполняют и работы по замене швов на отдельных участках (протяженностью не более 30 %), ремонту примыкающих к шву слоев одежды. Указанные работы финансируются также за счет средств, выделяемых на содержание дорог (мостов) и должны производиться специализированными бригадами (звеньями), входящими в состав МЭУ и МРСУ. Затраты планируют по укрупненным измерителям.

3.3. Замена швов (ремонт). При восстановлении конструкций шва одновременно усовершенствуют узлы и детали. Эти работы включают восстановление: всех слоев одежды мостового полотна в зоне шва; компенсаторов (возможна замена); первоначальной конструкции шва, а также замена предусмотренного проектом типа шва.

При замене швов могут быть применены конструкции:

более простые, рассчитанные на меньшие перемещения концов пролетных строений моста (закрытого типа вместо заполненного и заполненного - вместо стального шва);

более сложные, предусматривающие большие перемещения концов пролетных строений моста (заполненного типа вместо закрытого, шва с резиновым компенсатором (К-8) вместо шва с мастичным заполнением) [1].

Вид работ устанавливают для каждого конкретного сооружения отдельно путем сравнения существующей конструкции шва с рекомендуемой к применению по табл. 2.1 с учетом соответствующей длины пролетного строения и района расположения данного моста, а выбор мастики - по табл. 2.3.

Работы по замене швов финансируют за счет средств, выделяемых на ремонт дорог (мостов), и выполняются специализированными бригадами (звеньями), входящими в состав МРСУ или МСУ.

3.4. Межремонтные сроки, приведенные в табл. 3.1 (периодичность ППР и ремонта), выше нормативных1), что достигается при условии соблюдения требований по уходу, изложенных в настоящих Рекомендациях.

1) Временное положение о межремонтных сроках службы капитальных автодорожных мостов и путепроводов утв. Минавтодором РСФCP 03.07.89.

Таблица 3.1

п/n

Вид дефекта

Причина неисправности

Вид и метод ремонта

Периодичность ремонтных работ

Швы закрытого типа с непрерывным асфальтобетонным покрытием

1.

Поперечные трещины в покрытии над швом (прямолинейного или криволинейного очертания)

Растягивающие усилия, действующие на покрытие при температурных перемещениях пролетных строений

Уход.

Заделка трещин битумной мастикой или вяжущими с присыпкой песком

1 раз в год (весной)

2.

Поперечные трещины в покрытии над осью шва и параллельно с двух сторон (прямолинейного или криволинейного очертания)

То же

Неплотное опирание металлического компенсатора на основание

ППР. Вырубка покрытия и защитного слоя у шва, подливка цементного раствора под компенсатор, закрепление компенсатора, восстановление слоев проезжей части (включая гидроизоляцию, защитный слой, покрытие)

1 раз в 4-5 лет

3.

Трещины в покрытии произвольного очертания на отдельных участках с просадкой покрытия (участки овальной формы)

Неудовлетворительное сцепление покрытия с защитным слоем, попадание воды под покрытие со стороны поперечной трещины

Уход.

Очистка и заливка трещин, заделка просадок

1 раз в 1-2 года (летом)

4.

Сетка трещин в покрытии (зона шва)

Недостаточное уплотнение асфальтобетона, малая толщина покрытия, дефекты в защитном слое, низкое качество покрытия

ППР. Замена покрытия картами или на всю длину шва, увеличение толщины покрытия поверхностный ремонт защитного слоя

1 раз в 4-5 лет

5.

Выбоины в покрытии

Отсутствие сцепления покрытия с защитным слоем, попадание в трещины каменных материалов (развитие дефекта см. поз. 3)

ППР.

Замена покрытия малыми картами

По мере появления

6.

Образование бугров над швом с трещинами

Недопустимые для данного типа шва перемещения концов пролетных строений

Ремонт

Переделка деформационного шва на шов заполненного типа, замена покрытия у шва

1 раз в 5-6 лет

7.

Протекание воды через конструкцию шва (снизу компенсатор мокрый, влажная опорная площадка и шкафная стенка)

Неудовлетворительная гидроизоляция

ППР.

Снятие покрытия и защитного слоя, усиление гидроизоляции, восстановление слоев, замена заполнения петли компенсатора

1 раз в 5-6 лет

8*.

Разрушение компенсатора, продавливание в зазор заполнения обломков асфальтобетона

Недостаточное крепление компенсатора и неплотное его опирание на основание, большой зазор между торцами сопрягаемых пролетных строений, отсутствие заполнения в уровне защитного слоя

Ремонт.

Полное восстановление конструкции шва

1 раз в 10 лет

Швы закрытого типа с армированным асфальтобетонным покрытием

9.

Продольные и поперечные трещины в покрытии, образующие сетку (на большей части длины шва)

Недостаточное уплотнение или малая толщина покрытия, отсутствие сцепления слоев покрытия

ППР.

Замена асфальтобетонного покрытия у шва (верхнего слоя)

По мере появления

10.

Две параллельные трещины вдоль оси шва (по краям отделяющей прокладки)

Недостаточное армирование (применение сетки с недостаточной прочностью), недостаточная длина анкерного участка сетки

ППР.

Замена асфальтобетонного покрытия и армирующей сетки

1 раз в 5-6 лет

11.

Мелкие поперечные трещины в покрытии

Растягивающие усилия, действующие на покрытие, применение шва в районах севернее допускаемых

Уход.

Очистка и заливка трещин

1 раз в год

Швы заполненного типа в пролетных строениях с асфальтобетонным покрытием**

12.

а) Частичный вынос мастики

Нарушение сцепления из-за естественного старения

Уход.

Продувка шва. Доливка мастики

1 раз в 2-3 года

 

б) Частичный вынос мастики из зазора, загрязнение зазора

Применение недолговечных материалов в качестве заполнения, старение их

ППР.

Замена заполнения в уровне покрытия шва (мастикой)

1 раз в 4-6 лет

13.

Разрушение мастики, образование бугров

Недопустимые для данного типа шва перемещения концов пролетных строений

Ремонт.

Переделка старого на шов с бетонными

кромками

1 раз в 10-15 лет

14.***

Трещины в покрытии параллельно зазору с двух сторон

Неплотное опирание металлического компенсатора на нижележащую поверхность

ППР.

Вырубка покрытия защитного слоя и изоляции у шва, заливка цементного раствора под компенсатор и его закрепление либо устройство неметаллического компенсатора, восстановление слоев, заливка шва мастикой

1 раз в 5-6 лет

15.

Разрушение кромок швов с образованием выбоин

а) Применение мастики с недопустимо низкой температурой размягчения, засорение зазора каменными материалами

ППР.

Частичная замена мастики, ремонт кромок

1 раз в 3-5 лет

 

 

б) Недопустимый зазор в покрытии

Замена покрытия у швов и мастики с устройством требуемого зазора

При обнаружении

16.

Продавливание в зазор компенсатора, заполнения и каменных материалов, разрывы в компенсаторе

Недостаточное крепление компенсатора, применение недолговечного материала для заполнения, большая ширина зазора

Ремонт

Полное восстановление конструкции шва с усилением компенсатора или замена конструкции на соответствующую, см. п. 3.3 Рекомендаций

1 раз в 10-15 лет

Швы заполненного типа в пролетных строениях с бетонным покрытием (бетонным приливом) ****

17

Поверхностные дефекты покрытия (выкрашивание, шелушение, раковины)

Низкое качество материалов, нарушение технологии, неудовлетворительный уход

Уход.

Обычные методы ухода за цементобетонным покрытием

 

18.

Трещины у кромок швов, разрушение кромок

Недопустимый зазор в покрытии, попадание в зазор каменных материалов

ППР.

Восстановление бетона с применением полимербетонных композиций

1 раз в 4-6 лет

19.

Образование бугров, трещин в бетонном приливе, деформация бетонных приливов под нагрузкой

а) Недопустимые для данного типа шва перемещения концов пролетных строений

Ремонт.

Замена конструкции шва на иную, допускающую большие перемещения

1 раз в 10-15 лет

 

 

б) Большой разрыв в покрытии, малая толщина и недостаточная ширина бетонного прилива

Восстановление покрытия у шва с заменой заполнения

1 раз в 5-6 лет

20.

Коррозия и разрушение металлического компенсатора, нарушение анкеровки

Отсутствует антикоррозионная защита, недостаточная анкеровка

Ремонт.

Полная замена конструкции шва

1 раз в 15-20 лет

Швы заполненного типа с металлическим окаймлением

21.

Трещина вдоль окаймления в покрытии, разрушение кромок у трещины

Недостаточное уплотнение бетона при приливе, несоответствующее качество материалов

Уход.

Очистка и заливка трещин

1 раз в год (летом)

22.

Разрушение покрытия у окаймления, выбоины

Нарушение технологии строительства, неудовлетворяющее качество материалов (развитие дефекта - см. поз. 21)

ППР.

Очистка щелей и выбоин, инъектирование раствора, поверхностный ремонт бетона

1 раз в 3 года

Проявляются, как правило, одновременно с потерей герметичности.

23.

Разрушение окаймления, отрыв его от бетона

Недостаточное сечение анкеров, невыдержанная толщина бетонного прилива

ППР.

 Замена бетонного покрытия (прилива) у шва с установкой нового окаймления

1 раз в 8-10 лет

24.

Разрушение окаймления, прилегающих слоев одежд и повреждение плиты

Отсутствие работ по содержанию, приведение к развитию дефектов, изложенных в поз. 21-23

Ремонт.

Полная замена швов с восстановлением плиты

При обнаружении

*Проявляется одновременно с дефектами, перечисленными в поз. 2, 5 и 7. Для швов этого типа характерны также дефекты, представленные в позициях 1, 3, 6-8.

**Для швов этого типа характерны также дефекты, указанные в поз. 5, 7.

***Проявляется, как правило, одновременно с потерей герметичности.

****Для швов этого типа характерны также дефекты, перечисленные в поз. 7, 12, 16.

Таблица 4.1

Горячие битумные мастики для гидроизоляции конструкции швов

№ составов*

Содержание компонента, в частях по массе

Область применения

вяжущее

пластификатор

наполнитель

климатическая зона

расчетная температура, °С

битум нефтяной

индустриальное масло

И-50А ГОСТ 20779-88

машинное масло

ГОСТ 1667-68d

асбест хризотиловый

7 сорта

ГОСТ 12871-83

минеральный порошок ГОСТ 16557-78

"пластбит" ТУ 38-101580-75 или мастика МБР

ГОСТ 15836-79

Строительный БН 70/30

ГОСТ 6617-76

кровельный марки БНК

ТУ 38-101566-75

Дорожный БНД 60/90

ГОСТ 22245-76

1

95-100

-

-

-

5-0

-

0

-

I

выше -20

2

85-90

-

-

-

15-10

-

0

-

II

от -20 до -40

3

75-80

-

-

-

25-20

-

25-20

-

III

ниже -40

4

-

90-100

-

-

10-0

-

0

-

I

выше -20

5

-

75-80

-

-

25-20

-

25-0

-

II

от -20 до -40

6

-

-

95

-

5

-

0

-

I

выше -20

7

-

-

85-90

-

15-10

-

25-0

-

II

от -20 до -40

8

-

-

-

65

-

10

25

-

II, IIIa

от -20 до -40

9

-

-

-

60

-

-

20

20

I, II

от -20 до -40

10

-

-

-

70

-

5

25

-

II

от -20 до -40

11

-

-

-

75

-

-

25

-

I

выше -20

*Составы №№ 1-7 разработаны ЦНИИСом;

составы № 8-11 разработаны Союздорнии.

4. ПРИМЕНЯЕМЫЕ МАТЕРИАЛЫ

4.1. Для устройства компенсатора в деформационных швах закрытого и заполненного типа (с мастичным заполнением) следует применять:

- латунь полосовую толщиной 1,0-1,2 мм по ГОСТ 931-78;

- оцинкованное железо толщиной 1,0-1,2 мм по ГОСТам 8075-56* и 19904-74, защищенное от коррозии двумя слоями битумного лака;

- сталь тонколистовую толщиной 2-2,5 мм по ГОСТ 14918-60;

- гидростеклоизол марки "Т" по ТУ МНХП 400-1-51-75.

4.2. Для изоляции конструкций швов используют:

- гидростеклоизол (см. п. 4.1);

- стеклоткань марки Эз-200 (ССТЭ-6) по ГОСТ 8481-75;

- полиэтиленовую пленку, стабилизированную сажей, марки "С" по ГОСТ 10354-82;

- битумные мастики, приготавливаемые на строительной площадке из компонентов, указанных в табл. 4.1.

4.3. Для заполнения петли компенсатора применяют:

- пористый жгут «Гернит-II» из резиновой смеси ИР-73-51 по ТУ МНХП 480-1-119-71;

- пеньковый канат по ГОСТ 483-75, пропитанный одним из следующих масляных антисептиков: каменноугольным маслом по ГОСТ 2770-74Е, сланцевым маслом по ГОСТ 10835-78.

4.4. Для отделения покрытий в швах закрытого типа используют прокладки из двух слоев рубероида, склеенных битумом или мастикой. Для армирования асфальтобетона в этих швах - стеклосетки СПАП (сетка стеклянная перевивочная армирующая пропитанная) по ТУ МХП 6-11-217-71 с размером ячеек 5 и 10 мм. Сетки изготовляют шириной 800, 1000, 1230 и 1400 мм и поставляют в рулонах длиной 50 м.

4.5. В деформационных швах заполненного типа применяют мастики:

- горячую заводского изготовления пластифицированную битумно-каучуковую мастику марки МББП-65 (Лило-65 по ТУ 21-2710-83 [2]);

- горячую битумно-изопреновую мастику МБИ-8 по ТУ 218-РСФСР-539-85 [4];

- горячие резинобитумные (РБВ) и полимерно-битумные (ПБВ) мастики [3];

- холодные тиоколовые герметики.

4.5.1. Пластифицированную битумно-бутилкаучуковую мастику (МББП-65 «Лило-1») по ТУ 21-27-40-83 изготавливает Лилойский комбинат строительных материалов Груз. ССР и поставляет заказчику в готовом к употреблению виде в бумажных или полиэтиленовых мешках массой до 35 кг. Мастика должна храниться на стройплощадке в закрытом помещении. Перед применением куски мастики разогревают в битумном котле-мешалке при температуре не выше плюс 150°С при постоянном перемешивании до исчезновения комков. Мастику МББП-65 рекомендуется применять в климатических районах I-IIIа с расчетной минимальной температурой воздуха до минус 40°С в мостах, имеющих пролетные строения длиной до 18 м.

Допускается применять мастику (МББП-80 "Лило-2") взамен резинобитумных мастик (РБВ), приготавливаемых на мосте при ремонте деформационных швов мостов, расположенных в 1-й климатической зоне. Мастику «Лило-2»перед употреблением следует разогреть до 180°С.

4.5.2. Мастика битумно-изопреновая (МБИ-8) по ТУ 218 РСФСР 539-85, разработанная ОНИДЛ при ВорИСИ и Гипродорнии на основе отходов производства кучука СКИ-3 производства Волжского завода СК, имеет состав (табл. 4.2):

Таблица 4.2

Компонент

Содержание по массе, %

Температура,°С

Область применения

размягчения

хрупкости

1

2

3

4

5

Битум марки БНД 60/90 (ГОСТ 22245-76)

90

ü

ï

ý

ï

þ

60

-45

IIб, IIIа

Пластификатор нефтяной гудрон ТУ-38-101582-75)

10

Изопреновый каучук СКИ-3 по ГОСТ 14925-79 или отходы его производства с растворимостью в бензине ³90%

8

Антисептик каменноугольная смола по ГОСТ 1462-80 (к массе мастики)

1-3

Мастику приготавливают на АБЗ ДСУ-1 (раб. пос. Латное) Воронежавтодора на специальной технологической линии. Поставляют в виде различно сформованных брикетов массой 7-10 кг, обернутых в непромокающую мешочную бумагу или полиэтиленовую пленку. Мастику МБИ-8 хранят в закрытом сухом складе. Для применения на месте работ мастику освобождают от тары, загружают в котел, например РД-104, оборудованный мешалкой. Мастику разогревают, перемешивая до 140-150°С, но не свыше 170°С. Время разогрева должно быть не менее 3 ч, но и не более 8 ч. Материал должен быть израсходован; допускается однократный повторный разогрев мастики. Мастика МБИ-8 пригодна для применения в климатических районах IIб-IIIа с расчетной минимальной температурой воздуха до -45°С (длина пролетных строений до 15 м при асфальтобетонном покрытии и 21 - при цементобетонном), а при -40°С соответственно £33 м и £21 м.

4.5.3. Резинобитумные мастики (РБВ) приготовляют из исходных материалов на стройплощадке. Резинобитумные мастики (РБВ-1 и РБВ-2) пригодны для применения в климатических районах с расчетной минимальной температурой воздуха до -30°С (длина пролетных строений до 18 м). Составы РБВ даны в табл. 4.3.

Таблица 4.3

№ составов мастик

Битум марки 60/90 (ГОСТ 22245-76)

Минеральный порошок (ГОСТ 16557-78)

Асбестовая крошка (ГОСТ 12871-83)

Резиновая крошка до 1 мм (СТУ 73-B-186-62)

Каменноугольное масло

(ГОСТ 2770-74Е)

Температура размягчения,

°С

Область применения, СТЗ

1

60

20

20

-

-

70-80

I

2

50

35

10

5

-

65

I

3

65

-

-

20

15

60-70

I, IIа

4

60

25

15

-

-

60-65

I, IIа

5

70

-

-

20

10

60

I, IIа

Примечания. 1. Допускается применение мастик других марок, прошедших лабораторные испытания и отвечающих требованиям:

температура хрупкости - не менее чем на 5°С ниже расчетной зимней среднесуточной температуры воздуха для района строительства;

температуры размягчения - 60-70° С для СКЗ IIа, 65-80° С для СКЗ I;

относительное удлинение при 20° С не менее 100%.

2. Составы 1. 2 соответственно РБВ-1 и РБВ-2 разработаны в Союздорнии, 3-5 - в Гипродорнии.

4.5.4. Горячие полимерно-битумные мастики (ПБВ) приготавливают на строительной площадке из компонентов, указанных в табл. 4.4, разработанного Гипродорнии состава.

Таблица 4.4

Компонент

Содержание по массе, %

Температура °С

Область применения (СКЗ)

размягчения

хрупкости

Битум марки БНД 60/90 (ГОСТ 22245-767

95

ü

ï

ý

ï

þ

57

-47

I-IIIа

Летнее дизельное топливо (ЛДТ, ГОСТ 305-82)

5

Дивинилстирольный термоэластопласт (ДСТ-30, ТУ МНХП 38-40365-76)

4

Асбест хризотиловый 7 сорта (ГОСТ 12871-83)

0-15*

* Добавкой асбеста № 7 достигают показатель теплостойкости, необходимый для применения мастики в данной СТЗ.

Полимерно-битумная мастика (ПБВ) пригодна для применения в климатических районах IIб-IIIа с расчетной минимальной температурой воздуха до -40°С (длина пролетных строений до 15 м при асфальтобетонном покрытии и 21 - при цементобетонном покрытии), а при -40° С соответственно £33 и £21 м.

4.5.5. Для заполнения деформационных швов рекомендуются к применению следующие тиоколовые герметики: 51-УТ-38 (модификации А и Б) по ТУ 38-105874-75; мастики «Гидром-1» и «Гидром-2» по ТУ 38-105411-72; строительные мастики АМ-0,5 по ТУ 84-246-85. Они поставляются заводами-изготовителями (Казанский завод РТИ и Московский завод строительных красок и мастик) готовыми для употребления в виде комплекта, состоящего из двух- или трех отдельных компонентов: герметизирующей (уплотняющей) пасты, вулканизующей (отверждающей) пасты и ускорителя вулканизации.

4.5.6. Из изученных в Гипродорнии недефицитных материалов для применения в деформационных швах рекомендуется тиоколовый герметик У-30 МЭС-10 (по ТУ 38-105462-72), модифицированный эпоксидной смолой, каменноугольной смолой, ацетоном, антраценовым маслом или их комбинациями для мостов, расположенных в районах с расчетной минимальной температурой воздуха ниже -40 до -50° С (епр = 24 м).

В невулканизованном состоянии тиоколовые герметики имеют пастообразную, вязкотекучую консистенцию и обычно окрашены в черный цвет, что обусловлено применением вулканизующей пасты, содержащей двуокись марганца.

Перед применением герметика герметизирующую пасту смешивают с вулканизующей пастой, а при необходимости добавляют ускоритель вулканизации в соответствии с принятой для каждого герметика рецептурой.

Составы и свойства герметиков приведены в табл. 4.5. Герметик 51-УТ-38 предназначен для заполнения и изоляции температурных деформационных швов цементобетонных покрытий, взлетно-посадочных полос аэродромов и др.

Мастика АМ-0,5 используется для герметизации швов наружных стеновых панелей зданий и других сооружений, трещин и неплотностей бетонных и железобетонных конструкций и для защиты от атмосферной коррозии.

Мастики "Гидром-1"и "Гидром-2" применяются для гидроизоляционных целей, а также для герметизации деформационных швов.

Получение герметика состоит в последовательном смешении компонентов в водоохлаждаемом смесителе с медленно вращающейся (не более 200 об/мин) мешалкой (во избежание разогрева массы герметика). Смешение компонентов до получения однородной массы можно производить с помощью пневмо- и электродрелей с укрепленными в патронах насадками-мешалками: в виде лопастей типа крыльчаток или стержней, изогнутых в форме петли, двойной спиральной лопасти и т.п. При этом время смешения при малой скорости (до 200 об/мин) вращения составляет 5 мин, при скорости 600 - 3, а при 1000 об/мин продолжительность смешения еще меньше.


Таблица 4.5

Компонент

Содержание, % по массе

Плотность,

кг/м3

Жизнеспособность, ч

Прочность при растяжении, МПа

Относительное удлинение при растяжении, %

Сцепление с бетоном, МПа

Температура хрупкости,

°С

Интервал рабочих температур, °С

Область применения (СТЗ)

1

2

3

4

5

6

7

8

9

10

51-УT-38 модификация А (без адгезива)

Герметизирующая паста У-30 (ТУ 36-105874-75)

100

ü

ú

ý

ú

þ

1350

2-6

2,3

97

-

-35

от -40 до +70

I-IIб

Каменноугольная смола вторичной переработки (препарированная по ТУ 14-6-83-72

38,5

Вулканизующий агент - 67-процентный водный раствор двухромовокислого натра (Na2Cr2O7)

8-10

51-УТ-38 модификация Б (с адгезивом)

Герметизирующая паста У-30 (ТУ 38-105874-75)

100

ü

ú

ý

ú

þ

1350

2-10

1,6

145

-

-35

от -40 до +70

I-IIб

Каменноугольная смола вторичной переработки (препарированная) по ТУ 14-6-83-72

77

Вулканизующий агент -67-процентный водный раствор двухромовокислого натра (Na2Cr2O7 )

12-15

АМ-0,5

 

 

 

 

 

 

 

 

 

Герметизирующая паста А-0,5 (ТУ 84-246-85)

100

ü

ý

þ

1550

2

0,27

86

0,18

-

от -40 до +70

I-IIб

Вулканизующая паста N 30 (ТУ 38-105411-72)

17-28

У-30 МЭС-10

 

 

 

 

 

 

 

 

 

Герметизирующая паста У-30 МЭС-10 (ТУ 38-205462-72)

100

ü

ú

ý

ú

þ

1400

2-10

1,2-2,0

220-500

-

-45

от -60 до +130

I-IIIа

Вулканизующая паста N 9 (ТУ 38-105462-72)

8-15

Ускоритель вулканизации - дифенилгуанидин (ГОСТ 40-80)

0,4-1,1

"Гидром-1"

 

 

 

 

 

 

 

 

 

Герметизирующая паста «Гидром-1» (ТУ 38-105411-72)

100

ü

ý

þ

1550

1-10

0,35

200

0,32

-

от -70 до +70

I-III

Вулканизующая паста № 30 (ТУ 38-105411-72)

25

«Гидром-2»

 

 

 

 

 

 

 

 

 

Герметизирующая паста «Гидром-2» (ТУ 38-105411-72)

100

ü

ý

þ

1150

1-10

0,30

300

0,29

-

от -70 до +70

I-III

Вулканизующая паста № 30 (ТУ 38-105411-72)

23


Приготовление герметика, например 51-УТ-38, производится в следующей технологической последовательности: загружают в смеситель (полиэтиленовая или металлическая емкость, со стенок которой легко удаляются остатки герметика в подвулканизованном состоянии) герметизирующую пасту У-30, вводят в нее каменноугольную смолу и тщательно перемешивают в течение 3-5 мин; затем добавляют равномерно вулканизующий агент и продолжают процесс смешения до получения однородной по цвету консистенции и составу массы. Для облегчения перемешивания вулканизующий агент - двухромовокислый натр предварительно развести в ацетоне (в пропорции 5-10 масс. ч. ацетона на 100 масс. ч. герметизирующей пасты), а затем уже вводить в герметизирующую пасту. Для получения малого количества герметика (0,5-1 кг) или в случае применения вулканизующего агента в виде раствора смешение можно проводить вручную в фарфоровой ступке или другой емкости с помощью фарфорового, металлического или деревянного шпателя.

Приготовленный герметик выгружается из смесителя в емкость для транспортирования к месту работ. Процесс приготовления и нанесения герметика следует производить при температуре 18-25°С и относительной влажности воздуха 50-75%. Технология нанесения герметика в паз шва следующая. Поверхность герметизируемого шва (цементобетон) предварительно очищают от пыли и других загрязнений металлической щеткой, а затем продувают сжатым воздухом. Места с жировыми пятнами обрабатывают бензином марки БР-1 ("Галоша") или БН-70 и протирают досуха чистыми тряпками.

Для механизированного заполнения герметика деформационных швов мостов и покрытий дорог следует применять специальные комплекты оборудования, включающие смесительный агрегат, заливщик швов и приспособление для подготовки швов к заполнению (см. прил. 3). При отсутствии механизмов и небольших объемах работ герметик пастообразной консистенции наносят с помощью ножа или шпателя в паз шва вручную. Возможно нанесение его кистью, разбрызгиванием или поливом из лейки, если в герметик ввести растворитель (разбавитель). В качестве разбавителя можно применять: ацетон, этилацетат, разжижители Р-4 и Р-5, метилэтилкетон, ацетат с ацетоном в соотношении 1:1 и др. Для получения нужной консистенции герметика берут соотношение 100 масс. ч. разбавителя 10-50 герметизирующей пасты (нанесение кистью) и 10-85 масс. ч. (разбрызгивание, полив).

Следует лишь учитывать, что при использовании низкокипящих растворителей (ацетона, этилацетата) - жизнеспособность герметика значительно (в 1,5-2 раза) сокращается. Применение этих растворителей в большом количестве (более 50 масс. ч.) нецелесообразно, так как они не являются истинными растворителями жидкого тиокола. При использовании высококипящих растворителей (циклогексанона Р-5) - герметик имеет большую жизнеспособность, поэтому при необходимости можно вводить более 50 масс. ч. этих растворителей.

Розлив герметика производят из лейки. Однако технологичнее использовать для заливки герметика в швы шприцы (ручные, пневматические или гидравлические). Рационально использовать ручные шприцы со съемными полыми картонными, бумажными или полиэтиленовыми патронами (гильзами) разового пользования.

Гомогенность состава приготовленного герметика, отсутствие (визуально) воздушных включений и неперемешанных частиц ингредиентов обеспечивают требуемые технологические и эксплуатационные качества заполнения шва.

Тиоколовые герметики не применяют в деформационных швах с асфальтобетонными кромками и окаймлением.

4.6. Для обеспечения надежного сцепления материала заполнения с кромками шва поверхности соприкасания грунтуют. Грунтовки приготавливают, как правило, разжижением основного материала в растворителе.

Составы грунтовок приведены в табл. 4.6.

Для приготовления битумной грунтовки дозированное количество расплавленного обезвоженного горячего (140-160°С) битума охлаждают до 90°С и вливают тонкой струёй при непрерывном перемешивании в емкость (бидон, флягу) с определенным (1¸1,5 - 1¸3) количеством бензина. Перемешивание производят либо вручную, либо легкой пневмодрелью, например ИП-1007, имеющей 450 об/мин. Загустевшую грунтовку разжижают растворителем, добавляемым в количестве, необходимом для получения требуемой вязкости.

Таблица 4.6

Мастика заполнения шва

Состав грунтовки

Вязкость грунтовки по В3-4 при 20°С, с

материал

содержание по массе, %

Битумная

Битум БНД 40/60 или 60/90

25-30

 

Бензин А-72

75-70

15-20

Битумно-каучуковая

Битумно-изопреновая мастика

50-60

 

Бензин А-72

50-40

15-20

Тиоколовая

Тиоколовый герметик или мастика

50

15-20

Растворители Р-4, Р-5. N 647

50

 

4.7. Для защиты металлических компенсаторов от коррозии или подгрунтовки бетонной поверхности перед устройством гидроизоляции применяют битумный лак [6], приготовляемый путем разжижения горячего битума в бензине марки А-72 по ГОСТ 2084-77 в соотношении 1:1¸1:1,5. Для обработки бетонных поверхностей перед укладкой асфальтобетона, приклеивания сеток, армирующих асфальтобетон, и обработки дна и краев вырубок (подгрунтовка) могут быть применены прямые катионактивные эмульсии, относящиеся к классам быстро- или среднераспадающихся по ГОСТ 18659-81. Для обработки краев вырубок применяют также жидкие битумы марок: СГ 15/25 и СГ 25/40 по ГОСТ 11955-82.

4.8. Для ремонта поверхностных дефектов бетонных покрытий у швов или бетонных приливов, а также ремонта защитного бетонного слоя применяют [7]:

- портландцемент марки не ниже 500 по ГОСТ 10178-85;

- быстротвердеющий цемент (БТЦ) марки 400-500 по ГОСТ 10178-85;

- песок (ГОСТ 8736-85);

- гранитную крошку (ГОСТ 8267-75);

- эпоксидный клей, приготавливаемый из следующих материалов (в частях по массе):

смола ЭИС-1 (ТУ МНХП 38-109-1-76) - 100

(или смола ЭД-20 по ГОСТ 10587-84);

отвердитель полиэтиленполиамин (ТУ MHXП 6-02-594-85) - 8-12;

ацетон технический (ГОСТ 2768-84) - 10-15;

эпоксидно-минеральную смесь одного из трех составов (табл. 4.7).

Таблица 4.7

Номера составов смеси

Соотношение масс частей эпоксидного клея к минеральной

Состав минеральной части, %

Область применения

песок

цемент

гранитные высевки

1

от 1¸5

75

25

-

Ремонт поверхностей с разрушением на глубину до 1 см

до 1¸8

 

 

 

2

от 1¸7

60

40

-

до 1¸10

 

 

 

3

от 1¸7

30

15

55

То же,

до 1¸10

 

 

(Мкр=1,25¸2,5 мм)

До 3 см. Ремонт мелких сколов

Изготовленные смеси для ремонта бетонного прилива и больших сколов кромок швов должны отвечать требованиям готовых бетонов:

- тяжелый бетон по ГОСТ 25192-82 класса по прочности на сжатие В25 с морозостойкостью -300 и водопроницаемостью 6 (табл. 4.6);

- латексный на основе латекса СКС-65ГП по ГОСТ 10564-75 (табл. 4.9);

- полимербетон или полимерраствор на основе эпоксидной смолы ЭИС-1 (табл. 4.9).

При использовании для ремонта швов эпоксидно-минеральной смеси в качестве грунтовки применяют заводские грунтовочные составы:

грунтовка ЭП-00-10 и эмаль ЭП-773 (ГОСТ 23143-83).

пленкообразующую жидкость ПМ-86 по ТУ МХП 35-903-73 или ПМ-100А (ТУ МХП 35903-73) - "Помароль";

гидрофобизирующая жидкость 136-41 (ГОСТ 10834-76) - 10-процентной концентрации [8].

4.10. Стальное окаймление деформационных швов изготавливают из стали марки ВСт.3сп2 по ГОСТ 380-88 и ГОСТ 5781-82. Для северных районов РСФСР с минимальной температурой воздуха (ниже минус 40°С) применяют сталь марок 10Г2С1Д-6; 10Г2С1-6, 09Г2СД-6, 09Г2С-6, 0972Д-6, 09Г2-6 и 14Г2-6 по ГОСТ 19281-73 и ГОСТ 19282-73.

5. РАБОТЫ, ВЫПОЛНЯЕМЫЕ ПО СОДЕРЖАНИЮ МОСТА

5.1. Работы по уходу за деформационными швами проводят непрерывно в течение года.

В процессе эксплуатации швы закрытого типа требуют минимальных затрат на содержание, включающие работы:

весной - до начала таяния обеспечение стока воды с проезжей части и тротуаров и очистка швов от грязи;

летом - подметание и мойка проезжей части, тротуаров;

осенью - уборка и очистка от снега и грязи участков у швов и бордюров;

зимой - сколка льда на покрытии у швов (в местах примыкания швов к тротуарам).

5.2. Профилактические работы. Волны, выбоины и наплывы, образующиеся на асфальтобетонном покрытии в зоне шва закрытого типа, ликвидируют вырубкой или разогревом с последующим удалением лишних и поврежденных материалов.

Ремонт с вырубкой старого асфальтобетона включает: очистку поверхности ремонтируемого места от грязи; разметку границ участка; вырубку поврежденного асфальтобетонного покрытия и удаление его с места работ; обработку стенок и основания вырубки слоем битума; укладку свежей асфальтобетонной смеси; уплотнение асфальтобетона катками.

Ремонт покрытия разогревом асфальторазогревателями с горелками инфракрасного излучения (например, АР-53 и АР-53А) содержит:

очистку поверхности ремонтируемого места от грязи; разогрев покрытия горелками инфракрасного излучения; рыхление разогретого асфальтобетона; укладку и разравнивание свежей асфальтобетонной смеси; уплотнение асфальтобетона.

Таблица 4.9

Компонент

Стандарт

Смола ЭИС-1

Латекс СКС-65-ГП

бетон

раствор

бетон

раствор

Эпоксидная смола ЭИС-1

ТУ МНХП 38-101-1-76

100

100

-

-

Каменноугольная смола

ГОСТ 4492-69

 

 

 

 

или деготь каменноугольный марок Д-3, Д-4 и Д-5

ГОСТ 4641-80

50-70

70-100

-

-

Пластификатор дибутилфталат или фуриловый спирт

ГОСТ 87-28-88

ОСТ 59-27-73

20

20

-

-

Отвердитель полиэтиленполиамин (ПЭПА)

ТУ МХП 6-02-594-85

8-12

10-12

-

-

Латекс CКC 65 ГП марки Б (44-процентная эмульсия)

ГОСТ 10564-75

-

-

100

100

Цемент марки 400-500

ГОСТ 10178-85

-

-

440

530

Песок кварцевый

ГОСТ 8736-85

350

400-500

600

530

Щебень фракций до 15 мм

ГОСТ 8267-82

500

-

1200

-

Вода

ГОСТ 23732-79

-

-

120

130

Таблица 4.8

Характеристика

Величина показателя

Метод определения показателя

Марка бетона по прочности на сжатие для районов с минимальной среднемесячной температурой воздуха, °С*

 

 

до -20

Не менее 30 MПa

ГОСТ 10180-78

ниже -20

- " - 40 - " -

 

Марка бетона по морозостойкости (Р) для районов с минимальной среднемесячной температурой воздуха, °С**

 

 

до -5

150 циклов

ГОСТ 10060-87

от -5 до -15

200 циклов

 

ниже -15

300 циклов

 

Расход цемента1)

3-4 кН/м3

 

Водоцементное отношение2) (В/Ц)

0,4-0,42

 

* См. табл. 1 CM 2.01.01-82.

** В соответствии со СНиП 2.05.03-84.

1) Согласно СНиП III-43-75

2) Для цементобетонного покрытия или приливов.

При бетонировании защитного бетонного слоя используют:

- латексный бетон;

- бетон дорожный класса В20 с морозостойкостью от F200 до F300.

4.9. Для ухода за свежеуложенным бетоном применяют пленкообразующие материалы:

лак этиноль по ТУ МХП 966-3465-57 с вязкостью по стандартному вискозиметру С°20 в пределах 10-15 с;

среднераспадающиеся битумные эмульсии по ГОСТ 18659-73 с содержанием битума не менее 50 % при вязкости в пределах 2-10 с;

5.2.1. Для заделки выбоин используют горячие и теплые асфальтобетонные смеси, отвечающие ГОСТ 9128-76, того же вида и состава, что и ремонтируемое покрытие [9].

При ремонте верхнего слоя покрытия в зависимости от категории дороги, состава и интенсивности движения применяют мелкозернистый асфальтобетон типов Б, В и песчаный - типа Г [9], а при ремонте нижнего слоя - только типов Б или В. Примерный расход асфальтобетонной смеси на 1 м2 покрытия при толщине слоя (мм): 30 - 46 кг, 40 - 58, 50 - 66, 70 - 75 кг. Движение транспорта по отремонтированному участку открывают после остывания (до температуры 30-60°С) асфальтобетонной смеси в покрытии.

5.2.2. Заделку трещин в асфальтобетонном покрытии над швом производят, как правило, весной и осенью в прохладную сухую погоду, когда трещины наиболее раскрыты. Работы по заделке трещин:

очистка их от пыли и грязи при помощи стальных щеток или продувка сжатым воздухом от компрессора;

заливка их жидким битумом марок СГ 70/130, СГ 130/200, МГ 70/130, МГ 130/200, разжиженным битумом, полученным смешением вязкого битума марки БНД 250/300 или БНД 130/200 с керосином, специальной мастикой;

присыпка заполненных битумом трещин сухой каменной мелочью (0-5 мм) или крупнозернистым песком (при применении мастик песком не присыпают).

Составы мастик приведены в разд. 4.

5.2.3. Работы по заделке трещин выполняют с помощью специальных машин (например, ЭД-10), а при небольших объемах работ возможно использование приспособления для заливки трещин вручную (например, Д-344). В этом случае битумная мастика (вяжущее) поступает к трещине самотеком, поэтому вводится дополнительная операция: после очистки трещин от пыли и грязи их промазывают жидким битумом марки МГ 25/40 или СГ 15/25 с помощью жесткой кисти, а затем заполняют мастикой или вяжущим. Жидкие и разжиженные битумы перед применением нагревают до 80-100°С, а мастики - до 150-160°С.

5.2.4. Широкие трещины с разрушенными краями заделывают, вырубая асфальтобетон полосой 5-10 см с каждой стороны трещины на толщину покрытия или разогревая горелками инфракрасного излучения. В этом случае для разогрева вместо главного блока горелок асфальторазогревателя АР-53 используют горелки, сблокированные в переносную линейку, входящую в комплект оборудования машины.

Асфальтобетон нагревают в течение 3-5 мин, затем его разрыхляют на глубину 1-1,5 см у краев разогретой полосы и до 3 см - у краев трещины. После удаления из трещины пыли, грязи и загрязненного разогретого асфальтобетона нижнюю часть трещины заливают мастикой (вяжущим), а в верхний вырубленный участок добавляют свежую песчаную асфальтобетонную смесь, количество которой подбирают с учетом ее осадки при уплотнении.

5.3. Ремонт и замена заполнения швов. Мастику шва заменяют в тех случаях, когда заполняющий материал выкрошился или имеются зазоры между ним и вертикальными стенками асфальтобетонного покрытия (как правило, 1 раз в 3-5 лет). Предварительно перед заливкой мастики зазор освобождают от поврежденной старой мастики и очищают поверхность заполнения. Работы выполняют при температуре воздуха не ниже плюс 5°С.

Очистку швов производят с помощью навесного оборудования Т-203, электрощетки ДС-505 (Д-378), передвижной установки ДЭ-10 или вручную металлическими узкими скребками. Очищенные от пыли и грязи стенки и дно шва промывают водой, а оставшуюся свободную воду удаляют сжатым воздухом под давлением не менее 0,4 МПа (4 кгс/см2).

Деформационные швы заполняют мастикой на основе битума специальными заливщиками с терморубашкой (Т-204) или ручного заливщика ДС-501 ЭД-344) в следующей технологической последовательности:

подготавливают подгрунтовочный материал:

тщательно очищают швы и продувают их сжатым воздухом;

грунтуют стенки швов из расчета расхода материала 0,2 кг на 1 м2;

заполняют шов мастикой выше уровня покрытия на 2-3 мм (в случае просадки мастики необходимо произвести доливку);

излишки мастики, выступающие над пазом шва, срезают острым скребком или лопатой (предварительно нагрев их до 160-200°С);

снятые излишки мастики повторно разогревают в котле и используют для заливки швов.

При необходимости быстрого открытия движения швы следует

присыпать минеральным порошком или заклеить рулонной бумагой шириной 10-15 см.

5.4. Ремонт покрытия у швов. Поврежденное место на расстоянии 5-10 см от линии скола отмечают мелом или краской, а затем по контурам линий с помощью электро(пневмо)-инструмента вырубают бетон на глубину 4-6 см. Непрочный слой бетона в пределах контура удаляют, место скола тщательно очищают от пыли, остатков бетона и мастик. На очищенную сухую поверхность наносят грунтовочный слой полимербетонных смесей (латексбетон, эпоксидноминеральная смесь).

При использовании латексбетона в качестве грунтовочного слоя применяют 10-процентный раствор латексной эмульсии СКС-65ГП. Дивинилстирольный латекс CKC-651П марки "Б", стабилизированный по ГОСТ 10564-75, выпускает Ярославский завод СК в виде 44-процентной водной эмульсии. При использовании эпоксидноминеральной смеси в качестве грунтовки может быть применен эпоксидный клей, разбавленный ацетоном (10% по массе), либо заводские грунтовочные составы; грунтовка ЭП-00-10 или эмаль ЭП-773. Для предотвращения прилипания бетонной смеси к закладной доске последнюю обертывают в полиэтиленовую пленку (рис. 7) или на доску набивают листы оцинкованного железа.

При повреждении на больших участках бетона у швов (глубиной и шириной более 5 см) для ремонта применяют цементобетонные смеси по цементно-песчаному раствору. Поврежденные участки покрытия размечают, вырубают бетон и очищают место от обломков, поливают водой. На ремонтируемую поверхность наносят два слоя цементно-песчаного раствора из расчета 2-3 кг/м2 (толщиной 1-2 мм), приготовленного на портландцементе марки 500-600 (В/Ц=0,35) и песке с Мкр=2,0¸2,2. Соотношение песка и цемента 1:1, жизнеспособность раствора 15-20 мин,

Бетонную смесь укладывают на раствор после исчезновения водной пленки раствора (потеря блеска). Для приготовления бетонной смеси следует применять быстротвердеющий цемент (БТЦ) марок 400-500 или портландцемент марки не ниже 600.

Рекомендуемый состав бетонной смеси, кг:

портландцемент М-600 (или БТЦ) - 45;

каменная мелочь 2-5 мм - 100-120;

песок кварцевый, с Мкр=2,2¸2,5 - 50¸70;

вода - 16¸18 мл.

Рис. 7. Схема ремонта скола кромки бетонного покрытие у шва:

а - до ремонта;

б - после ремонта;

1 - существующий бетон; 2 - скол кромки и трещина в бетоне; 3 - щебенка; 4 - грязь; 5 - деформационный шов; 6 - гидроизоляция; 7 - свежеуложенный бетон; 8 - полиэтиленовая пленка; 9 - закладная доска

Бетонную смесь кладут выше уровня покрытия на 0,25-0,3 глубины вырубки. Смесь уплотняют поверхностным вибратором, отделывают гладилкой, кельмами и терками.

При использовании цементобетонных смесей ремонтные работы выполняют при температуре окружающего воздуха не ниже +5°С, а асфальтобетонных - не ниже -5°С.

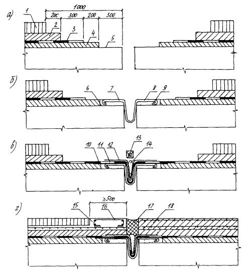
5.5. Восстановление слоев одежды мостового полотна у швов закрытого типа. При наличии трещин, бугров и появлении признаков просачивания воды через шов закрытого типа его следует вскрыть, удалить покрытие, а также грязь из компенсатора и разрушенную мастику, затем заполнить зазор новой мастикой, уплотнить доской (рейкой) зазор в уровне защитного слоя и перекрыть шов асфальтобетонным покрытием. Основные этапы работ по замене покрытия над швами закрытого типа приведены на рис. 8а.

Асфальтобетонное покрытие вырубают на ширину, превышающую ширину поврежденного участка на 0,6 м, но не менее 1 м (см. рис. 8а). Длина вырубаемого участка вдоль шва на 0,4 м превышает половину габарита проезжей части. При отсутствии в конструкции шва уплотнителя в уровне защитного слоя, кромки бетона срубают под углом примерно 45° на 20 мм с каждой стороны. Зазор продувают, а наклонную грань защитного слоя выравнивают цементным раствором. После очистки зазоры заполняют мастикой и пористыми вкладышами. Вначале разливают мастику по стыкам шва, исходя из расхода 1,5-2,0 л на 1 м шва. Втапливают в мастику пористый вкладыш (гернит, поролон, канат). После укладки одной нитки разливают в зазоры между вкладышами и стенками второй раз мастику, которая не должна превышать уровень гидроизоляции. При глубокой петле компенсатора в зазоре могут быть проложены 2-3 нитки вкладыша, которые должны проходить до конца плиты крайней балки.

В зазор в уровне защитного слоя заклинивают уплотнитель (см. рис. 8б); все щели заливают мастикой. При ширине зазора до 25 мм кромки защитного слоя можно не скалывать, а в качестве уплотнителя можно использовать доску (рейку) соответствующей толщины без скосов под клин. При толщине защитного слоя более 40 мм уплотнитель следует делать составным из доски и набитых на нее реек, опирающихся на скошенные кромки шва. Верх уплотнителя не должен находиться выше верха защитного слоя. Перед укладкой покрытия поверхность защитного слоя очищают, на уплотнитель приклеивают один слой гидростеклоизола, а всю поверхность врубки грунтуют. К ремонтным работам целесообразно готовить сразу несколько швов с тем, чтобы асфальтобетонное покрытие укладывать и уплотнять на большей площади.

Рис. 8. Этапы ремонтных работ по замене асфальтобетонного покрытия у швов закрытого типа:
а - вырубка покрытия, очистка зазора;

б - заполнение зазора, заклинивание уплотнителя;

в - укладка покрытия;

1 - асфальтобетонное покрытие; 2 - защитный слой;

3 - гидроизоляция; 4 - выравнивающий слой; 5 - компенсатор; 6 - вырубленное покрытие; 7 - очищенный зазор; 8 - мастика; 9 - пористый заполнитель; 10 - уплотнитель; 11 - новое покрытие

При замене асфальтобетона в швах с армированным покрытием вырубку делают шириной, превышающей на 0,5 м ширину армирования. На зазор в уровне защитного слоя укладывают отделяющую прокладку из двух слоев рубероида или промасленной бумаги, которую располагают без стыков по всей длине ремонтируемого участка шва. Ширина прокладки должна составлять 500-800 мм при толщине покрытия соответственно 70-100 мм. На оставшийся участок защитного слоя и поверхность отделяющей прокладки разливают эмульсию (или вяжущее) и приклеивают к ней армирующую сетку, раскатывая вдоль моста (начало от тротуара) с перехлестом 5 см (рис. 9). Края сетки пригружают валиком асфальтобетонной смеси. В вырубку устанавливают ограничительную доску толщиной 40-50 мм и фиксируют ее с помощью упоров, затем на слой армирующей сетки укладывают нижний слой асфальтобетонного покрытия, располагают его по длине шва, превышающей половину габарита проезжей части. По свежему слою покрытия раскатывают второй слой армирующей сетки, переставляют ограничительную доску и укладывают верхний слой покрытия. Работы на второй половине шва повторяют.

Рис. 9. Схема укладки армирующей сетки при замене покрытия в швах закрытого типа с армированным асфальтобетоном:

1 - ограничительная доска; 2 - нижний слой армирующей сетки; 3 - уплотнитель зазора в уровне защитного слоя; 4 - отделяющая прокладка; 5 - граница вырубки асфальтобетона; 6 - ограждающие конусы; 7 - упоры; 8 - существующее покрытие; 9 - тротуар; 10 - верхний слой армирующей сетки; 11 - ось расположения ограничительной доски при укладке верхнего слоя покрытия.

При разрушении защитного слоя более чем на 10 см от кромки шва ремонт выполняют с использованием цементобетонной смеси по цементно-песчаному раствору. В случае обнаружения повреждения защитного слоя на значительной площади у шва дефектный бетон удаляют, разравнивают выпуски арматуры, восстанавливают гидроизоляционный слой и бетон защитного слоя. При этом из слоя битумной мастики извлекают щебенку и обломки бетона и наклеивают один слой изоляционного рулонного материала (например гидростеклоизола) без разрыва и с опусканием в петлю компенсатора. Поверх рулонного Материала разливают слой горячей мастики, вдоль шва раскатывают полиэтиленовую пленку и заводят ее в петлю, прижимая к стенкам и горизонтальным поверхностям, на которые нанесена мастика. Сверху посыпают цементом, прикатывают ручным катком, укладывают армирующую сетку защитного слоя и бетонируют защитный слой.

Поверхность защитного слоя, подверженного разрушению (шелушению) на глубину до 2 см, ремонтируют также полимербетоном или эпоксидно-минеральной смесью (составы которой приведены в разд. 4). Поверхность предварительно очищают, а затем эпоксидно-минеральную смесь распределяют тонким слоем и присыпают песком из расчета 1 кг/м2. Уплотнение смеси производят катками весом 3-5 т за два прохода или виброплощадкой. Асфальтобетонное покрытие укладывают на защитный слой спустя 5 сут после ремонта смесью на обычном цементе, 1 сут - смесью БТЦ, 12 ч - эпоксидно-минеральной смесью.

6. РАБОТЫ, ВЫПОЛНЯЕМЫЕ ПРИ РЕМОНТЕ МОСТА

6.1. Восстановление швов закрытого типа.

Ремонтные работы выполняют в последовательности (рис. 10 и 11):

Рис. 10. Реконструкция шва закрытого типа:

а - ступенчатая вырубка слоев дорожной одежды; б - устройство изоляции; в - устройство защитного слоя и нижнего слоя асфальтобетонного покрытия; г - устройство верхнего слоя асфальтобетонного покрытия;

1 - асфальтобетонное покрытие; 2 - защитный слой; 3 - гидроизоляция; 4 - поврежденный участок изоляции; 5 - выравнивающий слой; 6 - очищенная поверхность балок; 7 - зазор; 8 - выпуск арматуры; 9 - восстановленный выравнивающий слой; 10 - рулонный изоляционный материал; 11 - новый изоляционный материал; 12 - полиэтиленовая пленка; 13 - новый выравнивающий слой; 14 - пористый заполнитель; 15 - уплотнитель; 16 - нижний слой покрытия; 17 - окантовочная доска; 18 - верхний слой покрытия; 14 - уровень укладки асфальтобетона

Рис. 11. Схема вырубки слоев дорожной одежды и их восстановления при реконструкции швов закрытого типа

1 - ось шва; 2 - ограждение вырубки; 3 - защитный слой; 4 - выпуски арматуры; 5 - оголенный гидроизоляционный слой; 6 - выравнивающий слой; 7 - утяжеленный рулонный изоляционный материал; 8 - новый слой гидроизоляции; 9 - полиэтиленовая пленка; 10 - тротуар; 11 - ось моста; 12 - новый защитный слой; 13 - двухслойное асфальтобетонное покрытие; 14 - ограничительные доски; 15 - участок второй очереди ремонта

а) извлекают существующую конструкцию шва, выполняя ступенчатую вырубку слоев одежды на участке шириной по 1 м с каждой стороны шва;

б) очищают поверхность балки и выравнивающего слоя, делают ровным поверхность балок у шва новым цементно-песчаным раствором на цементе марок 500-600 или на БТЦ (В/Ц=0,35¸0,4), закругляя кромку зазора;

в) выравнивающий слой грунтуют битумным лаком и наклеивают 1 слой утяжеленного рулонного материала (гидростеклоизол) вдоль шва, заходя за ось проезжей части на 400 мм; рулонный материал приклеивают с помощью битумной эмульсии или жидкого битума и прикатывают катком; концевой участок на длине 150 мм оставляют неприклеенным к выравнивающему слою;

г) устраивают трехслойную изоляцию, армированную стеклотканью,. без разрывов, опуская в петлю компенсатора (утяжеленный рулонный материал); изоляцию устраивают, начиная от тротуара, при этом стремятся, чтобы толщина отдельного слоя мастики была минимальной (1-2 мм); слой второй армирующей сетки заводят на существующий слой изоляции, оголенной при ступенчатой вырубке; изоляция должна заходить за ось моста на 250 мм. По гидроизоляции вдоль шва укладывают гидроизоляционную полиэтиленовую пленку, стабилизированную сажей, прикатывая ее к верхнему слою битумной мастики; конец пленки должен заканчиваться, заходя за ось моста на 300-400 мм и не прижиматься к изоляции на участке 100 мм.

В зазор шва на длине, где имеется изоляция, укладывают пористый заполнитель, заливают просветы мастикой, затем в вырубку устанавливают ограничительную доску (по оси моста), являющуюся опалубкой для защитного слоя; на расстоянии 100-150 мм за осью моста доску закрепляют упорами, а в зазор устанавливают влажную доску или пенопласт, не извлекаемые после бетонирования защитного слоя;

д) бетонируют защитный слой на одной половине проезжей части, устанавливают вторую ограничительную доску для покрытия и укладывают асфальтобетонное покрытие; кромка должна совпадать с осью моста;

е) движение автомобилей переключают на готовую полосу; упоры, поддерживающие ограничительную доску в защитном слое, снимают, вырубку продолжают на ремонтируемой ширине моста, очищая поверхности отдельных слоев;

ж) на второй половине проезжей части восстанавливают выравнивающий слой, стыкуют рулонный изоляционный материал, укладываемый вдоль шва; новый отрезок подводят под уложенный, стык подогревают горелкой и обжимают деревянными лопатками; укладывают гидроизоляцию а по верху ее - полиэтиленовую пленку.

Снимают ограничительную доску в защитном слое, продлевают пористый заполнитель и устанавливают в зазор влажную доску или пенопласт до тротуара.

Бетонируют защитный слой, снимают ограничительную доску в асфальтобетонном покрытии и укладывают покрытие на второй половине проезжей части;

з) вновь укладываемый гидроизоляционный слой стыкуют с существующим. По мере приближения к кромке шва толщина слоя гидроизоляции должна быть уменьшена до 5-6 мм, для этого битумную мастику наносят слоем толщиной до 1 мм (промазка). Промазанная мастикой стеклоткань должна опускаться в петлю компенсатора;

и) защитный бетонный слой выполняют, используя цементы марок 400-500 со стыковкой арматуры нового и старого слоев.

При подготовке первой половины проезжей части к бетонированию защитного слоя ограничительную доску (опалубку защитного слоя) делают составной, например из двух досок толщиной 15 мм и шириной 100 мм, сшитых между собой гвоздями, и между которыми зажат конец арматурной сетки защитного слоя.

При устройстве швов закрытого типа с армированным покрытием ширину вырубки по покрытию принимают на 1 м больше ширины армирования. Технология устройства армированного покрытия приведена выше. Асфальтобетонное покрытие во всех случаях должно быть Двухслойным. Толщина покрытия не должна быть меньше 70 и 80 мм для швов без армирования и с армированием асфальтобетона. Если толщина защитного слоя у шва превышает 60 мм, то при бетонировании в нем устраивают нишу глубиной не менее 30 мм, заполняемую холодным асфальтобетоном (рис. 12).

Рис. 12. Асфальтобетонные слои над швами закрытого типа при толщине защитного слоя более 60 мм:

1 - двухслойное асфальтобетонное покрытие; 2 - защитный слой; 3 - уплотнитель; 4 - холодный асфальтобетон

6.2. Восстановление швов заполненного типа Работы по замене швов заполненного типа выполняют в последовательности (рис. 13):

а) извлекают существующую конструкцию шва, выполняя ступенчатую вырубку слоев одежды на участке шириной по 1 м с каждой стороны шва;

б) изготавливают металлический компенсатор длиной на 0,5 м больше половины длины шва и устанавливают его в зазор, закрепляя через 0,6 м. Возможны различные варианты крепления компенсатора (рис. 14);

верх компенсатора должен быть на уровне верха существующего выравнивающего слоя;

металлический компенсатор омоноличивают высокопрочным цементным раствором или полимерраствором; щели между компенсатором и торцом балок предварительно шпаклюют;

в) раскатывают продольный рулонный материал (гибкий компенсатор, см. п. 6.1, в), доводя его до конца компенсатора, устраивают гидроизоляцию (нижний слой гидроизоляции с армирующей сеткой) - на 250 мм за ось моста, а верхний слой - на 150 мм (рис. 15);

г) петлю компенсатора заполняют пористым материалом в два яруса по высоте, устанавливают ограничительные и опалубочные доски, устраивают арматурный каркас бетонного прилива и бетонируют концевой участок (должны быть выпуски арматуры и бетонного прилива);

Рис. 13. Реконструкция швов заполненного типа:

а - ступенчатая вырубка слоев дорожной одежды; б - установка металлического компенсатора; в - устройство гидроизоляции; г - заполнение зазора и бетонирование покрытия;

1 - асфальтобетонное покрытие; 2 - защитный слой; 3 - гидроизоляция; 4 - выравнивающий слой; 5 - поверхность балок; 6 - полимерраствор; 7 - металлический компенсатор; 8 - анкерные полосы компенсатора; 9 - продольный стержень; 10 - утяжеленный рулонный гидроизоляционный материал; 11 - гидроизоляция; 12 - полиэтиленовая пленка; 13 - опалубочная доска (рейка); 14 - пористый заполнитель; 15 - бетонный прилив; 16 - арматурный каркас; 17 - мастика заполнения; 18 - бетонное покрытие.

Рис. 14. Способы закрепления жесткого стального компенсатора в швах заполненного типа:

а - к закладным деталям, имеющимся в балках; б - к оголенной арматуре ребра и плиты; в - к стальной полосе, прикрепленной болтами к плите; г - болтами к плите через накладки, приваренные к компенсатору;

1 - балка пролетного строения; 2 - плита; 3 - существующий выравнивающий слой; 4 - закладная деталь в плите; 5 - соединительный профиль; 6 - компенсатор; 7 - уровень восстановленного выравнивающего слоя; 8 - вертикальное ребро, приваренное к арматуре; 9 - арматура балки; 10 - полоса вдоль шва; 11 - болты (шпильки); 12 - накладка, приваренная к компенсатору

Рис. 15. Расположение слоев ездового полотна при восстановлении конструкций швов заполненного типа с бетонным приливом:

1 - тротуар; 2 - ограждрние рабочего участка; 3 - распорки; 4 - ограничительная доска; 5 - бетонный прилив; 6 - полиэтиленовая пленка; 7 - гидроизоляция; 8 - рулонный изоляционный материал; 9 - полимераствор выравнивающего слоя; 10 - металлический компенсатор; 11 - ось моста

д) укладывают асфальтобетонное покрытие, заливают половину шва мастикой и переключают движение на отремонтированный участок, затем вырубают слои одежды с противоположной стороны и очищают подготовленное место;

е) на второй половине шва компенсатор устанавливают аналогичным образом, закрепляя его и омоноличивая;

ж) укладывают вдоль шва рулонный изоляционный материал, заводя его на 250 мм под уложенный ранее материал, прогревают стык газовой горелкой и обжимают рулоны вручную;

з) укладывают все слои одежды на ремонтируемой половине, перед бетонированием прилива продольную арматуру соединяют с выпусками; в месте примыкания прилива к тротуару устраивают продольную штрабу (с помощью закладной рейки) глубиной 30-40 мм и шириной 15-20 мм, заполняемую мастикой.

Перед открытием движения по одной или по двум половинам проезжей части бетонную поверхность прилива гидрофобизируют 10-процентной водной эмульсией кремнийорганической жидкости 136-141.

Зазор в асфальтобетонном покрытии, который далее заполняют мастикой, устраивают двумя способами: нарезают шов специальной машиной с дисковыми фрезами (например, нарезчиком швов в цементобетонном покрытии), либо вырубают пневмоинструментом. Для совпадения шва в покрытии с осью зазора между торцами балок на тротуары выносят осевую линию, а перед вырубкой в покрытии намечают ось мелом. Устройство зазора пневмоинструментом целесообразно выполнять сразу же после укатки асфальтобетонной смеси, не дожидаясь ее полного остывания. Вырубку осуществляют в два этапа: вначале по меловой разметке проходят пневмоинструментом по периметру шва, углубляя лопаточку на 10-12 мм в асфальтобетон, который затем вырубают. Глубина зазора в швах с асфальтобетонным покрытием не должна доходить до низа покрытия на 10-20 мм. Ширину зазора в покрытии принимают в соответствии с табл. 6.1 в зависимости от типа покрытия, климатической зоны и температуры воздуха в момент ремонта.

Таблица 6.1

Тип покрытия

СТЗ

Длина железобетонных пролетных строения, м*

Ширина зазора при температуре воздуха в момент ремонта, °С

+5

+30

Асфальтобетонное, шов без окаймления

I, IIа

До 18

30

25

 

21-24

40

30

IIб, IIIа

До 15

35

30

 

18-21

45

35

То же,

шов с окаймлением

I IIа

До 24

40

35

 

Свыше 24

50

50

Цементобетонное

IIб, IIIа

До 18

45

40

 

21-24

55

45

* Применительно к ребристым и плитным пролетным строениям.

Применительно к ширине ездового полотна 7 м размеры площадок слоев одежды, примыкающих к оси маета, показаны на рис. 12, 15. При ширине ездового полотна 8 м размеры площадок следует увеличить в 1,5 раза, а более 8 м - в 2 раза.

При замене конструкций швов закрытого типа на швы с заполнением мастикой (и наоборот) следует руководствоваться п. 5.2 и 6.2. Требуемый тип деформационного шва устанавливают по табл. 2.1. А, Б.

7. КОНТРОЛЬ КАЧЕСТВА РЕМОНТНЫХ РАБОТ

7.1. При подготовке деформационных швов к ремонту необходимо контролировать:

ширину и глубину паза шва;

тщательность промывки паза шва и последующую его сушку;

обеспыливание шва и создание рациональной глубины заполнения;

качество подгрунтовки паза шва;

глубину заполнения паза шва и удаление излишков мастики.

7.2. Герметизирующие материалы, поступающие централизованно на ремонтируемые объекты, принимают по паспорту завода-поставщика, обращая при этом особое внимание на дату изготовления.

7.3. При приготовлении мастики на объекте необходимо контролировать:

качество мастики (однородность) и материалов, необходимых для приготовления мастики согласно ГОСТ или ТУ;

дотирование составляющих материалов;

температуру нагрева битума и время выдержки смеси в нагретом состоянии;

температуру разогрева мастики и ее однородность (визуально).

7.4. Качество ремонта деформационных швов должны систематически контролировать построечная лаборатория, мастер, прораб.

7.5. Законченные работы принимает комиссия на основании проверки отремонтированных деформационных швов. Результаты осмотра оформляют актом о приемке работ, в котором отражают следующие данные: схему конструкции шва; технологию ремонта с указанием примененных составов и материалов; дату проведения работ, температуру наружного воздуха, данные о погоде и др. общие сведения; отклонения от принятой технологии работ, причины, принятые меры.

8. ОСНОВНЫЕ ПОЛОЖЕНИЯ ПО ТЕХНИКЕ БЕЗОПАСНОСТИ И ОХРАНЕ ТРУДА

8.1. При производстве работ по ремонту деформационных швов малых и средних мостов необходимо соблюдать требования по следующим нормативным документам:

СНиП III-4-80. Техника безопасности в строительстве,

Инструкция по организации движения и ограждению места производства дорожных работ (ВСН 37-84 Минавтодора РСФСР).

Правила техники безопасности и производственной санитарии при сооружении мостов и труб (Оргтрансстрой Минтрансстроя, М., 1977);

Правила техники безопасности при строительстве, ремонте и содержании автомобильных дорог, введенные Минавтодором РСФСР в 1977 г., а также указания, приведенные ниже.

8.2. При приготовлении полимерно-битумных мастик на базе ДРСУ следует выполнять Правила и нормы техники безопасности, пожарной безопасности и промышленной санитарии для окрасочных цехов, учитывающих специфику работ с полимерами и растворителями. Вблизи места работ необходимо иметь аптечки с медикаментами и препаратами против ожогов и травм, перевязочными материалами, а также противопожарные средства - огнетушители (соответственно применяемым материалам), ящики с песком и лопатами-совками, багры и т.д.

8.3. К работе по ремонту деформационных швов допускаются лица не моложе 18 лет, прошедшие медосмотр, прослушавшие курс обучения и проинструктированные по технике безопасности. Лица, имеющие заболевания кожи или ее повреждения (раны, ссадины, ожоги, трещины и т.п.),а также страдающие конъюнктивитом, к работе с вредными веществами не допускаются.

8.4. Все работающий по предусмотренным нормам должны быть обеспечены спецодеждой (хлопчатобумажные комбинезон, фартук, халат), спецобувью (резиновые сапоги), брезентовыми рукавицами и резиновыми перчатками, защитными очками и респираторами. Для защиты кожных покровов от воздействия растворителей также следует применять "биологические перчатки", т.е. такие препараты, как мазь Салисского и пасты "Миколан", ИЭД (состав в масс.ч. - мыло нейтральное - 12; технический глицерин - 10; каолин - 40; вода - 30) и другие.

Попавшую на кожный покров полимерно-битумную или тиоколовую мастики необходимо удалить ветошью, смоченной в керосине или бензине, а пораженное место смазать вазелином. Запрещено применять для мытья рук такие растворители, как ацетон, толуол, ксилол и др. При ожогах или воспалении кожного покрова в значительных размерах необходимо пострадавшему обратиться к врачу.

6.5. При работе с битумными материалами необходимо соблюдать следующие правила техники безопасности и охраны труда:

- котел следует заполнять не более, чем на 3/4 объема;

- во избежание вспенивания смеси, перелива через край котла и воспламенения запрещено загружать в котел влажные материалы (битум, полимер, заполнитель);

- температура смеси в котле не должна превышать 170°С;

- во время подогрева следует применять пеногаситель CKTH-1;

- мастики и грунтовки следует приготовлять в лопастных мешалках с плотно закрывающимися крышками или в емкостях (бидонах, флягах, бочках) с крышками, снабженными легкой пневмодрелью типа №1007 (имеющей 450 об/мин) или другой аналогичной.

- для приготовления грунтовок следует смешивать битум с бензином не ближе 50 м от места их разогрева. При этом разогретый не выше 90°С битум вливают в бензин. В случае вспышки грунтовки или мастики в котле гасить необходимо, плотно закрывая крышкой. Горящую смесь следует тушить сухим песком или пенным огнетушителем. Заливать водой категорически запрещено;

- брать пробу мастики разрешается только специальным черпаком-лопаткой;

- доставлять горячую мастику к месту работ следует в емкостях массой не более 16 кг, удобных для переноски, с откидной плотно закрывающейся крышкой;

- при заливке мастики в шов с помощью заливщика следует постоянно следить за состоянием предохранительных клапанов в системе подачи сжатого воздуха; работа с неисправными клапанами не допускается;

- при работе с ручным инструментом (разливочный черпак, разравнивающий скребок, шпатель и др.) необходимо проследить, чтобы ручка захвата была длиной не менее 1 м;

- запрещено ремонтировать или регулировать узлы смесительного агрегата или компрессора при работающем двигателе;

- к работе с пневмо- и электроинструментом допускаются лица, имеющие удостоверение на право пользования указанным оборудованием.

8.6. При работе с составами на основе эпоксидных смол необходимо соблюдать следующие требования техники безопасности и охраны труда:

- работающие должны пройти инструктаж о вредном влиянии используемых веществ и о мерах по оказанию первой помощи в случае поражения;

- об обязательном пользовании спецодеждой и спецобувью, головным убором, защитными шлемами и очками закрытого типа, резиновыми перчатками, нарукавниками и фартуками;

- об оснащении мест рабочих умывальниками с горячей водой, мылом и ветошью для тщательного мытья рук во время перерывов и по окончании работ;

- о мерах по оказанию первой помощи при попадании эпоксидного клея (или смолы, или отвердителя) на кожу. Следует немедленно удалить вещество бумагой или ветошью, промыть пораженное место теплой водой с мылом, протереть тампоном, смоченным этиловым спиртом и смазать жирной мазью (вазелином или пастой);

- о требованиях к ручным инструментам, используемым для перемешивания эпоксидных составов. Они должны иметь на ручках инструментов защитные экраны из металла или полиэтилена или картона;

- о порядке и уборке рабочих мест по завершении работ с указанными составами. Емкости и инструменты, загрязненные эпоксидным клеем или его компонентами, в конце работы необходимо отмыть ацетоном и горячей водой с мылом; ацетон-отмывку следует сливать в отдельную емкость с герметичной крышкой;

Небольшие загрязнения спецодежды и средств индивидуальной защиты следует очищать ацетоном или другими растворителями, а после очистки хранить в специальных местах. Выносить спецодежду за пределы рабочей зоны или стирать ее на дому вместе с другой одеждой запрещается.

Загрязненные растворитель и протирочные материалы, а также неиспользованные составы следует уничтожить в специально отведенных местах по согласованию с заказчиком и санэпидемстанцией (сжигать или закапывать).

8.7. В местах приготовления и хранения мастик и грунтовок необходимо соблюдать правила пожарной безопасности:

- растворители и грунтовки следует хранить в герметично закрытых емкостях, на которых должны быть надписи о содержимом, а также в случае необходимости предупреждающие надписи: "Курить запрещается", "Огнеопасно", "Яд" и т.п. Указанные материалы складируют в специально оборудованных охраняемых местах, огражденных в радиусе 15 м;

- пожарный инвентарь должен быть исправным и доступным для использования; густопенные огнетушители (из расчета 1 шт. на 50 м) подвешивают на высоту 1,5 м от уровня пола; ящики заполняют сухим песком и на крышке (окрашенной в красный цвет), делают надпись: "Песок на случай пожара"; при ящике с песком должна быть лопата-совок, бочки с водой и при них ведра и т.д.

ЛИТЕРАТУРА

1. Рекомендации по применению конструкций - деформационных швов с резиновыми конпенсаторами при строительстве и ремонте пролетных строений автодорожных мостов и путепроводов/Гипродорнии. -М.: ЦБНта Минавтодора РСФСР, 1986. - 45 с.

2. Методические рекомендации по применению новой пластифицированной битумно-бутилкаучуковой мастики для герметизации швов цементобетонных покрытий/Союздорнии, - М., 1985. - 17 с.

3. Технические указания по приготовлению резинобитумной мастики и способы заполнения деформационных швов цементобетонных дорожных покрытий. ВCH 11-72/Гипродорнии Минавтодора РСФСР - М.: Транспорт, 1971. - 28 с.

4. ТУ 213 PСФCP 539-85. Мастика битумно-изопреновая МБИ-8 (горячая) для заполнения деформационные швов мостов.

5. Методические рекомендации по применению полимерно-битумного вяжущего (на основе ДСТ) при строительстве дорожных, мостовых и аэродромных асфальтобетонных покрытий/Союздорнии, - М., 1979. - 44 с.

6. Инструкция по устройству гидроизоляции конструкций мостов и труб на железных, автомобильных и городских дорогах. БСН 32-81/Минтрансстрой. - М., 1982. - 44 с.

7. Рекомендации по ремонту поверхностей бетонных и железобетонных элементов мостов с использованием средств механизации/Гипродорнии. - М.: ЦБНТИ Минавтодора РСФСР, 1986. - 77 с.

8. Рекомендации по улучшению гидроизоляционных свойств одежды мостового полотна эксплуатируемых автодорожных мостов/Гипродорнии. - М.: ЦБНТИ Минавтодора РСФСР, 1987. - 47 с.

9. Руководство по строительству дорожных асфальтобетонных покрытий Минтрансстрой. - М.: Транспорт, 1978. - 192 с.

Приложение 1

Карта изотерм минимальных среднесуточных температур воздуха:

а) - западной части РСФСР;

б) - восточной части РСФСР.

Приложение 2

2.1. Технология приготовления мастик

2.1.1. Полимербитумные мастики на основе битума (ПБВ, РБВ) в условиях ДРСУ должны приготовляться на специальной базе (АБЗ) из исходных материалов, отвечающих требованиям действующих ГОСТ и ТУ.

2.1.2. Технология приготовления мастики предусматривает:

- заготовку и хранение исходных материалов;

- подготовку составляющих материалов;

- дозировку и подачу компонентов в смеситель;

- приготовление мастики;

- доставку готовой мастики к месту производства ремонтных работ или затаривания для хранения.

2.1.3. Заготовка и хранение исходных материалов. Битумы марки БНД доставляют на АБЗ автогудронатором или в железнодорожных вагонах - наливом, строительный битум в бумажных мешках; битумы выгружают по маркам в закрытый склад или в битумохранилище постоянного типа. Полимерные добавки (дивинилстирольный термоэластопласт (ДСТ) в виде кусков или крошки и резиновая крошка) поступают в крафтмешках (или навалом) и хранятся раздельно в закрытом сухом складе.

Растворители (летнее дизельное топливо и каменноугольное масло) хранят в металлических емкостях с герметично закрывающейся крышкой и оборудованной предохранительными клапанами.

2.1.4. Подготовка исходных материалов. Битум нагревают электротэнами или другим способом, обезвоживают и затем доводят до нужной (140-150°С) температуры в рабочем котле.

Растворитель (летнее дизельное топливо, каменноугольное масло) обезвоживают в теплообменнике и подогревают в холодную погоду до 40-70°С.

Асбестовую крошку и минеральный порошок в виду их гигроскопичности следует просушить в сушильном барабане АБЗ или в электросушильной печи, при этом материал нагревают до температуры не ниже 140°С. Образовавшиеся при сушке комки должны быть протерты через сито с отверстиями размером 5-7 мм. Резиновая крошка просушивается в сушильном бункере при температуре 80°С.

Полимер ДСТ, поступающий в виде крупных кусков, пластин и т.п., требуется предварительно измельчить в крошку размером 1-3 мм с помощью пневматического ножа, применяемого в текстильной промышленности, или установки для резки шин УДПЛ-20, Полученную крошку ДСТ подают в сушильный бункер (или в обычную жаровню), где выдерживают при температуре 80°С.

2.1.5. Дозирование и подача компонентов мастики. Жидкие материалы (обезвоженные и нагретые до 120°С битум, до 70°С разжижитель - летнее дизельное топливо, каменноугольное масло) отмеряют объемными дозаторами поплавкового типа емкостью 300 л и перекачивают насосами из нее в котел-мешалку. Сыпучие материалы (ДСТ, резиновая крошка, минеральный порошок, асбест) отвешивают весовыми дозаторами и подают транспортером в котел-мешалку порциями по мере выпаривания растворителя и растворения ДСТ.

2.1.6. Технология приготовления мастики (рис. 1).

а) Приготовление резинобитумной мастики (РБВ):

- обезвоженный, нагретый до 120°С и отдозированный битум из рабочего котла по трубопроводу подают навесом в котел-мешалку, оборудованный электроподогревом и механической мешалкой;

- вводят в битум необходимое количество каменноугольного масла и смесь перемешивают до однородного состава;

- разогревают разжиженный битум до 150-160°С и вносят в требуемом количестве резиновую крошку, непрерывно перемешивая в течение 2,5-3 ч;

- небольшими порциями вводят сначала необходимое количество асбестового порошка, а затем минерального порошка;

- по окончании загрузки всех наполнителей в котел-мешалку смесь в течение 0,5 ч перемешивают при температуре 150-160°С до получения однородной (без видимых комков) массы.

Весь цикл приготовления мастики РБВ составляет 6 ч. Готовую резинобитумную мастику сразу применяют для заполнения деформационных швов или разливают в металлические формы и охлаждают до получения брикетов, а затем транспортируют на склад для длительного хранения.

б) Приготовление полимерно-битумной мастики (ПБВ):

- битум (обезвоженный, нагретый до 120°С и отдозированный) Перекачивают насосом из рабочего котла в котел-мешалку;

- летнее дизельное топливо в отдозированном количестве подают в котел-мешалку и смесь перемешивают до однородного состава;

Рис. 1. Технологическая схема приготовления полимерно-битумной мастики на АБЗ:

1 - склад для ДСТ; 2 - склад для асбеста; 3,9 - насосы; 4 - теплообменник; 5 - пневматический нож (дробилка); 6 - сушилка; 7 - транспортер; 8 - котел-смеситель; 10 - брикетные формы; 11 - склад для хранения готовой мастики

- полимер ДСТ в отдозированном количестве подают в котел-мешалку порциями по мере растворения в разжиженном битуме; после поступления ДСТ температуру смеси доводят до 140-160°С и при постоянном перемешивании выдерживают при этой температуре в течение всего времени, необходимого для испарения легких фракций растворителя и образования однородной (без видимых на стеклянной палочке комков) смеси;

- асбестовую крошку вводят в количестве, необходимом для обеспечения требуемой температуры размягчения мастики и выдерживает смесь в речение 0,5 ч при тщательном перемешивании до получения однородной по составу мастики.

Весь цикл приготовления мастики ПБВ должен длиться около 8 ч, при более длительном цикле излишнее испарение из смеси легких фракций приводит к разложению ДСТ и потере технических свойств мастики.

2.1.7. В процессе приготовления мастик РБВ и ПБВ горловина котла-смесителя должна быть герметически закрыта для уменьшения процесса окисления составляющих, иначе мастика может получиться неоднородной и хрупкой.

2.1.8. Точное соблюдение температурного режима, дозировки компонентов, времени перемешивания смеси на разных стадиях приготовления мастик РБВ и ПБВ обеспечивают требуемое качество смеси и являются критерием ее готовности.

2.1.9. Готовую мастику ПБВ выгружают из котла-смесителя с помощью шнекового насоса и сразу применяют для заполнения швов, либо разливают в металлические формы 20´30´40 см, стенки которых во избежание прилипания мастики предварительно обмазывают отработанным маслом. Остывшие готовые брикеты затаривают в бумажные или полиэтиленовые мешки.

2.1.10. Полимерные материалы холодного отверждения (герметик 51-У0-38 У-30 МЭС-10 с каменноугольной смолой и другими добавками) готовят на месте производства ремонтных работ. Герметизирующую пасту, каменноугольную смолу и отверждающую пасту № 9 перемешивают до получения однородной массы в емкости заливщика швов (или в другой, имеющей мешалку) в течение 6-7 мин при температуре окружающего воздуха.

Герметизирующие материалы готовят непосредственно перед применением для заливки в деформационные швы.

2.2. Составы грунтовочных материалов

Грунтовочные материалы приготавливают из мастик на основе битума следующим образом.

Куски мастики (РБВ, ПБВ, МБИ-8, МББП и другие) расплавляют при температуре не выше +140°С при постоянном перемешивании до исчезновения комков. В емкость с требуемым количеством растворителя (бензина) вводят тонкой струйкой, непрерывно перемешивая, расплавленную мастику при температуре не выше +90°С в соотношении 1:1. Полученный грунтовочный материал без видимых комков битума следует наносить на боковые грани стыкуемых элементов

жесткой кистью (ориентировочный расход 0,2 кг/м ) либо краскораспылителем (0,1-0,2 кг/м2) при температуре +20±4°С,

Грунтовки хранят вдали от огня в герметично закрытых сосудах (бочках, флягах, бидонах) в огнестойком помещении. Загустевшие при хранении грунтовки разжижают соответствующим растворителем, добавляемым в количестве, необходимом для получения требуемой вязкости (15-20 с по вискозиметру B3-4).

Приложение 3

Сведения об источниках получения синтетических материалов, используемых при ремонте деформационных швов

Материалы

Стандарты

Оптовая цена*, руб./на ед. изм.

Завод-поставщик

Пленка полиэтиленовая черная марки С (полурукав)

ГОСТ 10354-82

0,70/кг

-

Стеклосетка марки СПАЛ

ТУ МХП 6-11-217-76

0,84/м2

Уфимский и Бердянский з-ды стекловолокна

Стеклосетка марки Эз-200 (ССТЭ-6)

ГОСТ 19907-83

0,69/м2

22 завода (Уфимский, Астраханский и др. з-ды стекловолокна)

CC-1, СС-5

ТУ 6-11-99-75

0,36/м2

ЭТС-5

ТУ 6-11-232-71

0,49/м2

 

Гидростеклоизол марки Т

ТУ MHXП 400-1-51-75

1,224/м2

Московский з-д кровельных и полимерных материалов

Резиновая крошка

ТУ МПСМ 38-10436-83

СТУ 73-13-186-62

146/т

 

Ткань джутокенафная паковочная № 2 и 3

ГОСТ 5530-81

0,9/м2

 

Ткань стеклянная A-1 для изоляции проезжей части

ГОСТ 8481-75

0,51/м2

 

Гернит-II

ТУ МНХП 480-1-119-71

0,43-0,56/м

 

Дивинилстирольный термоэластопласт (ДСТ-30)

ТУ МНХП 38-40365-76

2800/т

Воронежский з-д СК

Герметик У-30 МЭС-10

ТУ МНХП 38-105462-72

1500/т

Казанский з-д РТИ

№ 9 ДФГ

-

 

 

ГОСТ 40-80

1500/т

Мастика битумно-бутилкаучуковая (горячая) МББП-65 ("Лило-1") и МББП-80 ("Лило-2")

ТУ МПСМ 21-27-40-78

400/т

Лилойский комбинат стройматериалов Груз. ССР.

Тиоколо-каменноугольная композиция 51-УТ-38 (модификации А, Б)

 

1350/т

 

Мастика битумнорезиновая марки МБР

ГОСТ 15836-79

240/т

 

Каучук изопреновый СКИ-3

ГОСТ 14925-79

1000/т

Волжский з-д СК

Латунь полосовая толщиной 1,5-2 мм

ГОСТ 931-78

1320/т

 

Сетка стальная d=2-4 мм с ячейками в свету 45-75 мм

ГОСТ 8478-81

217/т

 

Отвердитель - полиэтилен-полиамин (ПЭПА)

ТУ MXП 6-02-594-85

1590/т

 

Пластификатор - фуриловый спирт (ФС)

ОСТ 59-127-73

1850/т

Ферганский э-д фурановых соединений Узб. ССР

Пластификатор - дибутилфталат (ДБФ)

ГОСТ 8728-88

810/т

 

Кремнийорганическая жидкость 136-41

ГОСТ 10834-76

3900/т

Хим. з-д г. Данков Липецкой обл. Химкомбинат г.Редкино Калининс.обл Хим. з-д г. Чебоксары

То же, 219-115

ТУ 6-02-1-430-85

2000/т

Чувашской АССР

Дивинилстирольный латекс СКС-65 ГП

ГОСТ 10564-75

390/т

Ярославский з-д СK

Пленкообразующая жидкость ПМ-86 и ПМ-100 "Помаролъ"

ТУ МХП 35-903-73

230/т

340/т

 

Машинное масло

ГОСТ 1667-68

165/т

 

Каменноугольное масло

ГОСТ 277-0-74Е

82/т

 

Сланцевое масло

ГОСТ 10835-78

75/т

 

Каменноугольная смола

ГОСТ 1462-80

51/т

 

Сталь листовая оцинкованная толщиной 1,5 мм

ГОСТ 7118-78

211/т

 

Дизельное топливо

ГОСТ 305-62

66/т

 

Бензин автомобильный А-72

ГОСТ 2084-77

189/т

 

Эпоксидная смола ЭИС-1

ТУ МНХП 38-109-1-76

3100/т

Сланцеперерабатывающий к-т г.Кохтла-Ярве, ЭССР

Эпоксидная смола ЭД-20

ГОСТ 10587-84

3300/т

Сланцеперерабатывающий к-т "Кохтла-Ярве" ЭССР

Канат пеньковый

ГОСТ 483-75

1420/т

 

Ацетон технический

ГОСТ 2768-84

280/т

 

Индустриальное масло И-50А

ГОСТ 20799-88

195/т

 

Бетон дорожный В20, В25

ГОСТ 25192-82

26,9/м3

 

Лак этиноловый

ТУ МХП 1267-57

-

 

Асбест хризотиловый 7-го сорта

ГОСТ 12871-83

12/т

 

Минеральный порошок

ГОСТ 16557-78

7,7/т

 

Портландцемент М400-500

ГОСТ 10178-85

20-23,3/т

 

Щебень гранитный фр. 5-20

ГОСТ 8267-82

6,7/м3

 

Песок строительный

ГОСТ 8736-85

2,6/м3

 

Асфальтобетон мелкозернистый

ГОСТ 9128-84

14,6/т

 

Битум БНД 40/60 и 60/90

ГОСТ 22245-76

34/т

 

Битум БН 70/30

ГОСТ 6617-76

33/т

 

Битум "пластбит"

ТУ 38-101580-75

31/т

 

* Цены приведены по прейскурантам 1982-1988 гг.

Приложение 4

МАШИНЫ, МЕХАНИЗМЫ И ИНСТРУМЕНТЫ ДЛЯ СОДЕРЖАНИЯ И РЕМОНТА ДЕФОРМАЦИОННЫХ ШВОВ

Для выполнения работ по ремонту и содержанию деформационных швов применяют машины и механизмы, предназначенные для ремонта и содержания автомобильных дорог и мостов, а также специальные с оборудованием для отметки швов, разогрева и заливки мастикой и т.д. Перечень машин и механизмов, которые могут быть использованы для ремонта и содержания швов, приведен ниже в таблице.

Средства механизации

Модель (марка)

Краткая техническая характеристика

Изготовитель

Комбинированная дорожная машина

КДМ-130Б

(ПУ-130)

Базовое шасси ЗИЛ-130 Производительность, тыс.м2/ч, при:

мойке 15

подметании 25

поливке 62

Ширина, м:

подметания 2,3

мойки 8

поливки 15-18

Масса, т, 11,5

Оптовая цена, руб., 8800

Смоленский ОЭЗ

Молотки электрические

ИЭ-4213,

ИЭ-4211,

ИЭ-4216

Энергия удара, Дж, - 10, 25, 40

Частота ударов, с, 18, 18, 16

Мощность, кВт, 0,25, 1,05

Напряжение, В, 220

Частота тока, ГЦ, 50

Масса, кг, 9, 21, 21, 132, 126

Оптовая цена, руб., 132, 126

Даугавпилсский з-д "Электроинструмент"

Молотки пневматические

ИП-4604,

ИП-4607,

МO-8П,

MO-9П,

МО-10П

Энергия удара, Дж, 90, 30, 37, 47

Частота ударов, с, 9, 10, 27, 23, 20

Расход воздуха, м2/мин при давлении 0,5 МПа, 1,8, 1,6, 1,25

Масса, кг, 21, 18, 9, 10, 11

Оптовая цена, руб., 45, 51

Свердловское ПО «Пневмостроймашина», Томский электромеханический з-д им. Вахрушева

Электростанции передвижные

МЭС-12М

МЭС-15Л

ДПЭС-20

Мощность, кВт, 10,5; 12; 12

Напряжение, В, 240; 230-400; 230

Macса, т, 07; 0,7; 089

Оптовая цена, руб., 1460; 920; 840

 

Передвижные компрессорные станции

ЗИФ-55

ПКС-8

Производительность, м3 /мин, 5

Рабочее давление, МПa, 0,7

Число раздаточных вентилей, шт., 5, 4

Маccа, т, 2,75; 2,65

Оптовая цена, руб., 1840, 2050

Днепропетровский з-д строительных машин, Мелитопольский компрессорный з-д Минхиммаша

То же

ДК-9M

ПК-10

Производительность, м /мин, 10, 10,5

Рабочее давление, МПа, 0,6, 0,7

Число раздаточных вентилей, шт., 4; 6

масса, т, 5,2; 6,0

Оптовая цена, руб., 6280, 7100

Читинский машиностроительный з-д, Ташкентский компрессорный з-д

Погрузчик одноковшовый фронтальный

TO-6A

Грузоподъемность на самоходном пневмоколесном шасси, т, 2, 3

Емкость ковша, м3, 1, 1,5

Оптовая цена, руб., 13000;18700

Кременчугское ПО «Дормашина»

Машина для сушки оснований кровли

CО-107

Производительность, м2 /ч, 50

Теплопроизводительность, ккал/ч, 60-80 тыс.

Масса, кг, 107

Оптовая цена, руб., 430

Назрановский з-д "Электроинструмент" им. Гапура Ахриева

Машина сверлильная пневматическая

ИП-1023

Диаметр сверла, мм, 20, 25

Частота вращения шпинделя под нагрузкой, с-1, 200

Расход сжатого воздуха при давлении 0,5 МПа, м3/мин, 1,2

Масса, кг, 5,4

Оптовая цена, руб., 58

Московский з-д "Пневмостроймашина»

 

 

 

Мешалка двухвальцовая

CO-8A

Производительность, кг/ч, 120-150

Емкость бункера, л, 50

Установленная мощность, кВт, 2,8

Масса, кг, 90 Оптовая цена, руб., 115

Одесский з-д строительноотделочных машин

Растворосмеситель лопастной

СО-46А

Производительность, м2 /ч, 2

Установленная мощность, кВт, 1,5

Частота вращения вала, об/мин, 32

Объем готового замеса, л, 65

Емкость барабана, л, 80

Масса, кг, 210

Оптовая цена, руб., 252

Лебедянский з-д строительноотделочных машин

Бетоносмеситель принудительного действия

СБ-80А

Объем замеса, л, 250/ 165

Наибольшая крупность заполнителя, мм, 70

Время перемешивания, с, 45-50

Мощность электродвигателя, кВт, 5,5

Масса, т, 1,17

Оптовая цена, руб., 500

Новосибирский з-д строительных машин

Виброрейка

CО-131

СО-132

Производительность м2 /ч, 80; 120

Ширина захвата, м, 1,5, 3,0

Мощность вибратора, кВт, 0,4, 0,6 Напряжение, В, 36

Масса, кг, 45; 65

Оптовая цена, руб., 516, 620

Костопольский з-д "Стройинструмент"

Битуморазогреватель передвижной

РД-104

Емкость котла, л, 600

Время разогрева битума, мин, 90

Масса, т, 1,03

Оптовая цена, руб., 1400

Мамонтовский СЭЗ

Краскораспылитель пневматический ручной

CC-71A

Производительность, м /ч, 400

Расход материала, л/мин, не более 1,4

Давление воздуха, МПа, 0,05-0,3

Расход воздуха, м3/мин, не более 0,5

Масса, кг, 0,8

Оптовая цена, руб., 5

Вильнюсское ПО строительно-отделочных машин

Краскомешалка

CO-11

Производительность, л/ч, 350-400

Емкость бункера, л, 63

Частота вращения вала, об/мин, 300 Установленная мощность, кВт, 0,6

Масса, кг, 35

Оптовая цена, руб., 75

Вильнюсский з-д строительно-отделочных машин

Оборудование для нанесения защитных слоев

РД-601

Производительность, м /ч, 250

Ширина распределения, мм, 1000

Высота установки форсунок над уровнем обрабатываемой поверхности, мм, 250-300

Шаг установки форсунок, мм, 250-300

Сходимость осей форсунок, 60-80

Давление в емкостях, МПа., 0,25-0,4

Масса, кг, 100

Оптовая цена, руб., 700

Мытищинский ОЭЗ (опытный образец)

Окрасочный агрегат

СО-5А

Производительность, м2 /ч, 400

Расход воздуха, м3/мин, 0,5

Рабочее давление, МПа, 0,3-0,4

Масса, кг, 30

Оптовая цена, руб., 47

Назрановский з-д "Электроинструмент"

Эмульсатор кавитационый гидродинамический роторный

 

Производительность, кг/ч, 720

Число оборотов ротора, -1/мин, 8000

Мощность электродвигателя, кВт, 1,7

Число оборотов вала, -1/мин, 2900

Клиноременная передача, 1:3

Оптовая цена, руб., 700

НПО Росдорнии. Разработан лабораторно-промышленный образец

Автогудронатор

Д-61А

База - седельный тягач КАЗ 603В

и одноосный полуприцеп ОДА3-885 с цистерной

Емкость цистерны, л, 6300

Ширина розлива, мм, 1000-7000

Масса, т, 13, 82

Оптовая цена, руб., 8000

Иркутский з-д дорожных машин

Автогудронатор

ДС-39Б

База - шасси автомобиля ЗИЛ-730

Ширина распределения, м, 4

Вместимость цистерны, дм3, 4000

Норма розлива, л/м2, 0,5-3,0

Масса с грузом, т, 9,94

Оптовая цена, руб., 6220

Курганский з-д дорожных машин

Асфалъторазогреватель

АР-53А

Производительность м2 /ч, 40

Площадь блока горелок, м, 1,4´2,09

Глубина разогрева покрытия, мм, 40

Оптовая цена, руб., 11000

Минжилкомхоз РСФСР

Асфальтоукладчик

ДС-126А

Ширина укладываемой полосы, мм, 3000 3500, 3750

Толщина укладываемого слоя 30-200

Производительность, т/ч, 150

Вместимость приемного бункера, дм3, 7000

Масса, т, 13

Оптовая цена, руб., 15270

Николаевский з-д "Дормашина" им. 50-летия Великого Октября

Асфальтоукладчик колесный самоходный

СД-404М1

Производительность, т/ч, 200

Ширина укладки, мм, 3000-7500

Толщина слоя, мм, 20-300

Вместимость бункера, т, 10

Масса, т, 20

Оптовая цена, руб., 80000

Вышневолоцкой ОЭЗ

Каток самоходный

РД-103

Ширина уплотняемой полосы, мм, 1850

Количество вальцов - 2

Диаметр ведущего вальца, мм, 1680

Линейное давление, Н/см, 85

Масса, т, 13,0

Оптовая цена, руб., 3780

Волгодонский ОЭЗ

Каток вибрационный, самоходный

ДУ-54

ДУ-47Б

Ширина уплотняемой полосы, мм, 835, 1200

Диаметр ведущего вальца, мм, 25, 1200 Линейное давление, Н/см, 190, 400 Масса, т, 1,5-2,2; 6-8

Оптовая цена, руб., 2260, 5500

Калининградский з-д "Стройдормаш", Рыбинский ордена "Знак Почета" з-д дорожных машин

Каток самоходный трехвальцовый статический

ДУ-48Б

ДУ-49А

Ширина уплотняемой полосы, мм, 1850; 1290

Линейное давление, Н/см, 750, 350 Масса, т, 9-12, 11-18 Оптовая цена, руб., 8000

Рыбинский ордена «Знак Почета» з-д дорожных машин, Мингечаурский з-д дорожных машин

Каток дорожный

T-219

База - трактор "Беларусь"

Ширина уплотняемой полосы, мм, 1800 Масса, т, 6,5

Оптовая цена, руб., 6100

Волгодонский ОЭЗ

Нарезчик швов в труднодоступных местах

-

Глубина резания, мм, до 70

Ширина шва (штрабы), мм, 10-20

Расстояние нарезки от препятствия, мм, 0-40

Ориентировочная цена, руб., 700

НПО Росдорнии. Разработан экспериментальный образец

Фреза дорожная

SF-800/1000

Мощность двигателя, кВт, 37

Транспортная скорость, км/ч, 18

Ширина фрезерования, мм:

максимальная 1000

минимальная 100

Глубина фрезерования, мм, не более 45

Рабочая скорость, м/мин, до 6

(Полная площадь газовых горелок (ширина ´ на длину), м, 1,15´2,6

Полная теплопроизводительность, ккал/ч, 443000

Ориентировочная цена, руб., 20000

НПО Росремдормеханизация. Разработан экспериментальный образец

Машина для ремонта асфальтобетонных покрытий

ЭД-105

База - шасси автомобиля ЗИЛ-133-ГА

производительность, м2/см, 50

Компрессор ГCB-1/12, производительность, 1 м3/мин, давление воздуха, МПа, 1,2

Генератор, мощность 20 кВт, напряжение, В, 230; частота, Гц, 50

Битуморазогреватель, емкость, л, 600, расход топлива, л/ч, 1,4

Объем бункера термоса, м3, 1,56

Обслуживающий персонал - 4 человека

Оптовая цена, руб., 8100

Мамонтовский ОЭЗ

Машина ремонтно-покрасочная

ЭД-318

База - самоходное шасси T16M

Производительность по окраске, м2/ч, 400

Генератор, мощность 8 кВт, напряжение, В, 230, частота, Гц, 50

Компрессор-1101-В5, рабочее давление, МПа, 1,18

Вместимость ресивера, л, 520

Масса, кг, 2830

Обслуживающий персонал - 1 человек.

Оптовая цена, руб., 5220

Мамонтовский ОЭЗ

Приложение 5

ГОСУДАРСТВЕННЫЕ СТАНДАРТЫ

ГОСТ 40-80 Гуанид Ф. Технические условия.

ГОСТ 305-82 Топливо дизельное. Технические условия.

ГОСТ 380-88 Сталь углеродистая обыкновенного качества. Марка. Марки и общие технические условия.

ГОСТ 483-75 Канаты пеньковые. Технические условия.

ГОСТ 931-78 Листы и полосы латунные. Технические условия.

ГОСТ 1510-84 Нефть и нефтепродукты. Маркировка, упаковка, транспортирование и хранение

ГОСТ 1657-68 Топливо моторное для средне- и малооборотных дизелей. Технические условия.

ГОСТ 2084-77 Бензины автомобильные. Технические условия.

ГОСТ 2768-84 Ацетон технический. Технические условия.

ГОСТ 2770-74Е Масло каменноугольное для пропитки древесины. ТУ.

ГОСТ 4492-69 Смола каменноугольная

ГОСТ 4641-80 Дегти каменноугольные для дорожного строительства. Технические условия.

ГОСТ 5781-82 Сталь горячекатаная для армирования железобетонных конструкций. Технические условия.

ГОСТ 6713-75 Прокат низколегированный конструкционный для мостостроения. Технические условия.

ГОСТ 8075-56 Сталь тонколистовая кровельная оцинкованная и декапированная. Сортамент.

ГОСТ 8267-82 Щебень из природного камня для строительных работ. Технические условия.

ГОСТ 25192-82 Бетон тяжелый. Технические условия.

ГОСТ 3481-75 Ткани авиационные из стеклянных крученых комплексных нитей. Технические условия.

ГОСТ 8728-88 Пластификаторы. Технические условия.

ГОСТ 8736-85 Песок для строительных работ. Технические условия.

ГОСТ 9128-84 Смеси асфальтобетонные дородные аэродромные и асфальтобетон. Технические условия.

ГОСТ 9548-74 Битумы нефтяные кровельные. Технические условия.

ГОСТ 10060-87 Бетоны. Методы контроля, морозостойкости.

ГОСТ 10178-85 Портландцемент и шлакопортландцемент. Технические условия.

ГОСТ 10180-78 Бетоны. Методы определения прочности на сжатие и растяжение.

ГОСТ 10354-82 Пленка полиэтиленовая. Технические условия.

ГОСТ 10564-75 Латекс синтетический СКС-65ГП. Технические условия.

ГОСТ 10834-76 Жидкость гидрофобизирующая 136-41. Технические условия.

ГОСТ 10835-78 Масло сланцевое для пропитки древесины. Технические условия.

ГОСТ 11052-74 Цемент гипсоглиноземистый расширяющийся.

ГОСТ 11955-82 Битумы нефтяные дорожные жидкие. Технические условия.

ГОСТ 12871-67 Асбест хризотиловый. Технические условия.

ГОСТ 16557-78 Порошок минеральный для асфальтобетонных смесей. Технические условия.

ГОСТ 18659-81 Эмульсии битумные дорожные. Технические условия.

ГОСТ 19282-73 Сталь низколегированная толстолистовая и широкополосная универсальная. Технические условия.

ГОСТ 19903-74 Прокат листовой горячекатаный. Сортамент.

ГОСТ 19904-74 Прокат листовой холоднокатаный. Сортамент.

ГОСТ 20799-88 Масла индустриальные. Технические условия.

ГОСТ 22245-76 Битумы нефтяные дорожные вязкие. Технические условия.

ГОСТ 23732-79 Вода для бетонов и растворов. Технические условия.

ГОСТ 23143-83 Эмали ЭП-773. Технические условия.

СОДЕРЖАНИЕ

Предисловие. 1

1. Общие положения. 2

2. Классификация и область применения конструкций деформационных швов. 2

3. Ремонт деформационных швов и уход за ними. 8

4. Применяемые материалы.. 12

5. Работы, выполняемые по содержанию моста. 20

6. Работы, выполняемые при ремонте моста. 25

7. Контроль качества ремонтных работ. 29

8. Основные положения по технике безопасности и охране труда. 30

Литература. 32

Приложение 1 Карта изотерм минимальных среднесуточных температур воздуха: 33

Приложение 2. 33

2.1. Технология приготовления мастик. 33

2.2. Составы грунтовочных материалов. 35

Приложение 3 Сведения об источниках получения синтетических материалов, используемых при ремонте деформационных швов. 35

Приложение 4 Машины, механизмы и инструменты для содержания и ремонта деформационных швов. 37

Приложение 5 Государственные стандарты.. 40

 




Rambler's Top100 Яндекс цитирования
  Copyright © 2008-2026, www.docload.ru