|
|
МИНИСТЕРСТВО
ТРАНСПОРТНОГО СТРОИТЕЛЬСТВА РУКОВОДСТВО Одобрено МОСКВА «ТРАНСПОРТ» 1982 Руководство разработано в развитие СНиП III-40-78 "Автомобильные дороги.
Правила производства и приемки работ". Содержит данные о методах
сооружения земляного полотна в равнинной и пересеченной местности и в сложных
инженерно-геологических условиях, особенностях выполнения работ в зимнее время.
Описаны методы возведения земляного полотна с применением современных
землеройно-транспортных машин, методы уплотнения грунтов, способы контроля
качества работ, порядок сдачи-приемки земляного полотна. Руководство рассчитано на инженерно-технических
работников. ПРЕДИСЛОВИЕРуководство по сооружению
земляного полотна автомобильных дорог составлено в развитие главы СНиП
III-40-78 "Автомобильные дороги. Правила производства и приемки
работ" с учетом соответствующих требований других глав СНиПов, а также
ГОСТов, относящихся к производству и приемке работ при строительстве
автомобильных дорог. При составлении руководства
существенно дополнены и уточнены положения "Инструкции по сооружению
земляного полотна автомобильных дорог" (ВСН 97-63) на основе вышедших в
последующий период ГОСТов, инструкций, ведомственных нормативных документов и
рекомендаций. Руководство заменяет следующие ведомственные документы. ВСН 97-63 "Инструкция по
сооружению земляного полотна автомобильных дорог"; ВСН 134-66 "Указания по
технологии возведения насыпей железных и автомобильных дорог на болотах и
устройству построечных дорог" (в части автомобильных дорог); ВСН 55-69 «Инструкции по
определению требуемой плотности и контролю за уплотнением земляного полотна
автомобильных дорог»; ВСН 166-70 «Технические
указания по возведению земляного полотна автомобильных дорог из переувлажненных
грунтов"; Руководство содержит
рекомендации по производству и приемке работ, выполнение которых обеспечивает
соблюдение соответствующих требований СНиПа. В Руководстве наиболее полно
показано устройство типовых конструкций земляного полотна в обычных условиях.
При осуществлении индивидуальных конструктивно-технологических решений и особых
условиях рекомендуется в дополнение к Руководству использовать методические
указания и методические рекомендации по соответствующим вопросам, выпущенные
Союздорнии в последнем десятилетии. Руководство составили: д-р
техн. наук И.Е.Евгеньев, кандидаты техн. наук Б.С. Марышев, Ю.Л. Мотылев, М.И.
Вейцман, Л.Б. Каменецкая, Э.К. Кузахметова, Е.Ф. Левицкий, М.А. Либерман, А.Г.
Полуновский, А.П. Акишин, инженеры А.П. Аксенов, Б.Н. Гришаков, Р.Е. Ченланова,
Ю.М. Львович, А.К. Мирошкин (Союздорнии); д-р техн. наук И.Я. Хархута,
кандидаты наук Ю.В. Васильев, М.П. Костельон, В.М. Невлев, Ю.Я. Андрейченко
(Ленинградский филиал Союздорнии); канд. техн. наук Ю.В.Бутлицкий, инж. О.А.
Сянич (Средне-азиатский филиал Союздорнии); канд. техн. наук А. М. Каменев,
инженеры Р.Г. Абулханов, А.Г. Селиверстов (Казахский филиал Союздорнии); инж.
Е.В. Калечин (Союздорпроект); кандидаты техн. наук В.А. Семенов (Владимирский
политехнический институт) и В.Н. Яромко (Белдорнии). Общее редактирование
выполнено И.Е. Евгеньевым. Нормативные документы ГОСТ 5180-75 Грунты. Метод
лабораторного определения влажности. Взамен ГОСТ 5179-64 и ГОСТ 5180-64 ГОСТ 5181-78 Грунты. Метод
лабораторного определения удельного веса. Взамен ГОСТ 5181-64 ГОСТ 5182-78 Грунты. Метод
лабораторного определения объемного веса. Взамен ГОСТ 5182-64 ГОСТ 5183-77 Грунты. Метод
лабораторного определения границы раскатывания и границы текучести. Взамен ГОСТ
5183-64 и ГОСТ 5189-64. ГОСТ 10650-72 Торф. Метод
определения степени разложения ГОСТ 11303-75 Торф. Метод
приготовления аналитических проб. Взамен ГОСТ 11303-65 ГОСТ 11306-65 Торф. Метод
определения зольности. Взамен ГОСТ 278-54 ГОСТ 12071-72 Грунты. Отбор,
упаковка, транспортирование и хранение образцов. Взамен ГОСТ 12071-66 ГОСТ
12248-78 Грунты. Методы лабораторного определения сопротивляемости срезу.
Взамен ГОСТ 12248-66 ГОСТ 12374-77 Грунты. Метод
полевого испытания статистическими нагрузками ГОСТ
12536-79 Грунты. Методы лабораторного определения зернового
(гранулометрического) состава ГОСТ
17245-79 Грунты. Метод лабораторного определения предела прочности
(временного сопротивления) при одноосном сжатии ГОСТ 19706-74 Грунты. Метод
лабораторного определения коэффициентов оттаивания и сжимаемости при оттаивании
мерзлых грунтов. ГОСТ 19707-74 Грунты. Метод
лабораторного определения коэффициентов сжимаемости пластично-мерзлых грунтов ГОСТ 19912-74 Грунты. Метод
полевого испытания динамическим зондированием. ГОСТ 20069-74 Грунты. Метод
полевого испытания статическим зондированием ГОСТ 20276-74 Грунты. Метод
полевого определения модуля деформации прессометрами ГОСТ
20522-75 Грунты. Метод статистической обработки результатов определений
характеристик ГОСТ 20885-75 Грунты.
Подготовка к лабораторным испытаниям образцов мерзлых грунтов ГОСТ 21048-75 Грунты. Метод
лабораторного испытания мерзлых грунтов шариковым штампом ГОСТ 21719-80
Грунты. Метод полевого испытания вращательным срезом ГОСТ
22733-77 Грунты. Метод лабораторного определения максимальной плотности ГОСТ 23061-78 Грунты. Методы
радиоизотопного определения объемного веса ГОСТ
23161-78 Грунты. Метод лабораторного определения характеристик
просадочности. ГОСТ 23253-78
Грунты. Методы полевых испытаний мерзлых грунтов ГОСТ 23278-78
Грунты. Методы нелепых испытаний проницаемости. ГОСТ 23908-79
Грунты. Метод лабораторного определения сжимаемости. ГОСТ
24143-80 Грунты. Методы лабораторного определения характеристик набухания и
усадки. 1. ОСНОВНЫЕ ПОЛОЖЕНИЯ ОРГАНИЗАЦИИ ЗЕМЛЯНЫХ РАБОТОбщие положения1.1. Организация работ по
возведению земляного полотна и связанных с ним сооружений на основе разработки
и осуществления комплекса мероприятий, определяющих количество необходимых трудовых и
материально-технических
ресурсов, а также порядок использования и систему управления ими в процессе
строительства должна обеспечивать минимальную стоимость работ, их выполнение в
установленные сроки с высоким качеством, гарантирующим надежность и
устойчивость земляного полотна при эксплуатации дороги. При организации работ
по возведению земляного полотна следует руководствоваться главой СНиП III-1-76
«Организация строительного производства». 1.2. Рациональная организация
земляных работ должна предусматривать: поточный метод,
обеспечивающий строгую последовательность выполнения отдельных видов работ,
непрерывную готовность участков земляного полотна для устройства дорожной
одежды и непрерывное использование трудовых и материально-технических ресурсов; прогрессивную технологию,
основанную на целесообразном для конкретных условий распределении земляных масс
и передовых способах выполнения отдельных видов земляных работ; комплексную механизацию с
применением выбранных на основе технико-экономического сравнения рациональных
комплектов машин и отдельных средств механизации, обеспечивающую максимальное
снижение затрат ручного труда и наилучшее использование машин и механизмов. 1.3. Земляные работы являются
важной частью единого технологического комплекса работ по сооружению
автомобильной дороги. Работы по сооружению
земляного полотна должны осуществляться на основе разработанных и утвержденных
проектов организации строительства и производства работ, состав и порядок
разработки которых определяется «Инструкцией по составлению и разработке
проектов организации строительства и проектов производства работ" (СН
47-74). 1.4. Проект организации
строительства (ПОС) составляет проектная организация, согласовывая основные
положения со строительной организацией - генеральным подрядчиком.
Соответствующие разделы ПОС должны быть также согласованы с субподрядными
организациями, ведущими сооружение земляного полотна или выполняющими отдельные
виды земляных работ. ПОС разрабатывается с целью
установления принципиальных решений по организации строительства как дороги в
целом, так и основных работ и является основанием для составления смет,
планирования капитальных вложений и объемов работ, своевременного проведения
подготовительных работ и развития дорожно-строительных организации. ПОС разрабатывают для всего
объема работ, предусмотренного при строительстве дороги в целом или ее участка,
выделенного в отдельный титул и на весь период строительства. Если
строительство продолжается более года, намечают объемы работ, выполняемые в
течение каждого года. ПОС определяет: сроки
возведения земляного полотна в целом по всему объекту и по отдельным участкам;
рациональное распределение земляных масс с указанием источников получения
грунтов и мест его отсыпки в земляное полотно; выделение участков сосредоточенных1
и линейных работ; объемы и сметную стоимость земляных работ; методы
производства и средства механизации разработки, перемещения, отсыпки и
уплотнения грунтов, выполнения укрепительных работ и обеспечение водоотвода;
потребность и основных материально-технических ресурсах, источники и порядок их
получения; количество рабочих и инженеров-технических работников; расстановку,
взаимодействие, порядок перемещения и использования в процессе строительства
трудовых и материально-технических ресурсов; меры по охране окружающей среды,
включая рекультивацию плодородного слоя, предотвращение загрязнения водоемов,
запыленности и загазованности воздуха и т.д. организацию связи и диспетчерского
управления. 1К сосредоточенным работам
относятся работы по строительству земляного полотна на отдельных участках с
объемом земляных работ на 1 км, превышающим средний объем земляных работ на
дороге в 3 и более раз, или резко отличающихся повышенной сложностью
производства и трудоемкостью от работ на смежных участках (переходы через
болота, оползневые склоны, слабые грунты и др.). 1.5. Проект производства
работ (ППР) разрабатывает дорожно-строительная организация на каждый год
строительства. Для наиболее сложных участков сосредоточенных работ возможна
разработка отдельных ППР. ППР уточняет и детализирует
решения, принятые в ПОС Положения утвержденного ПОС можно изменять только в том
случае, если это ведет к снижению стоимости работ, сокращению сроков строительства, повышению производительности труда и
улучшению качества земляного полотна. Изменения необходимо согласовать с
проектной организацией, разработавшей ПОС и организацией, его утвердившей. 1.6. При составлении ППР
особое внимание должно быть уделено: уточнению распределения
земляных масс на основе возможного изменения условий отвода земель; уточнению методов работ,
выбора средств механизации и комплектования отрядов и подразделений с учетом
количества и структуры парка машин и механизмов, имеющегося в строительной
организации; детальному расчету
потребности трудовых и материально-технических ресурсов; разработке детальных
календарных планов использования машин и механизмов; привязке типовых
технологических карт и разработке новых на сложные виды работ и на работы,
выполняемые по новым методам или новыми машинами; составлению схем
операционного контроля качества; разработке мероприятий по
круглогодичному ведению земляных работ; разработке мероприятий по
защите среды, охране труда. 1.7. При составлении ППР
следует широко использовать типовые технологические схемы и карты по возведению
земляного полотна, разработанные научно-исследовательскими институтами,
организациями и нормативно исследовательскими станциями путем привязки их к
местным условиям. Принципы организации работ1.8. Работы по сооружению
земляного полотна, как правило, должны выполнятся специализированными
механизированными колоннами, а также специализированными подразделениями
дорожно-строительных организаций (прорабские участки, отряды, бригады). При
скоростном строительстве автомобильных дорог земляные работы должны, как
правило, выполняться механизированными колоннами. Подразделения оснащают
средствами механизации, по количеству и составу обеспечивающими выполнение
работ и заданные строки, средствами и оборудованием для ремонта и обслуживания
машин, передвижными жилыми и бытовыми помещениями, лабораториями. 1.9. До начала земляных работ
должен быть выполнен весь комплекс подготовительных работ, предусмотренных ПОС
и ППР. 1.10. При организации работ
следует выделять участки линейных и сосредоточенных работ, сооружение которых
целесообразно вести способами гидромеханизации, а также зимой. 1.11. Количество, направление
и скорость действия потоков линейных сосредоточенных земляных работ следует
выбирать на основе данных объемов и сроков возведения земляного полотна с
учетом их взаимодействия с потоками по отдельным конструктивным элементам
автомобильной дороги. 1.12. Темпы выполнения
сосредоточенных земляных работ должны обеспечивать их окончание до подхода
отряда линейных земляных работ 1.13. Разрывы в возводимом
земляном полотне могут быть допущены только на участках расположения крупных
(титульных) искусственных сооружений и на участках с особыми условиями, где
проектом предусмотрено выполнение земляных работ и определенные периоды года
или наличие технологических перерывов (глубокие болота, заболоченные места,
оползневые участки и т.д.) Годовой объем, км, до........................ 20 20-50 >50 Степень готовности, %: сосредоточенных работ...................... 50 75 100 линейных работ................................... 30 50 75 1.15. Насыпи выше 3 м из
пылеватых и тяжелых глинистых грунтов должны быть построены, как правило, за
год до устройства асфальтобетонных и цементобетонных покрытий, а также покрытий
и оснований с применением вязких битумов, оснований из материалов, укрепленных
цементом. В ПОС указывают перерыв между
постройкой земляного полотна и началом устройства покрытий указанных типов,
если насыпь располагают на слабых грунтах или для ее устройства переувлажненные
(или с органическими примесями) грунты, при выполнении земляных работ в зимнее
время и при наличии в основании переувлажненных и высокольдистых грунтов в зоне
вечной мерзлоты. 1.16. В процессе работ должен
быть обеспечен временный водоотвод, предотвращающий застой воды и
переувлажнение грунтов отсыпаемого земляного полотна. Разработку выемок и боковых
резервов следует начинать с пониженных мест рельефа. Заглубления в резервах и
выемках не допускаются. Перемычки в резервах и выемках при траншейной
разработке, идущие поперек уклона и препятствующие водоотводу, нужно
своевременно убирать. 1.17. При возведении
земляного полотна дороги, регуляционных дамб и траверсов в пределах речных пойм
и в местах возможной аккумуляции дождевой воды следует своевременно выполнять
укрепительные работы, чтобы предохранить насыпи от размыва. 1.18. Досыпку, планировку и
укрепление обочины производят в сроки, согласованные с технологическим
процессом устройств покрытия. Механизация работ1.19. При производстве
земляных работ должны применяться способы и средства механизации,
обеспечивающие выполнение заданных объемов работ в установленные сроки с
высоким качеством, наименьшей стоимостью и трудоемкостью. Механизация должна быть
комплексной и охватывать все процессы и виды работ. 1.20. На вспомогательных
операциях в целях сокращения ручного труда необходимо широко применять
различное сменное оборудование к основным машинам и средствам малой
механизации. 1.21. Рекомендации по
комплектованию механизированных подразделений и выбору машин для выполнения
работ и зависимости от их объемов и условий производства приведены в приложении 1. Выбирая машины и схемы работ,
следует учитывать характер отложения грунтов и их физико-механические свойства (см. приложения 2
и 3). 1.22. Выбор способов работ и
средств механизации на отдельных участках производится методом вариантного
проектирования на основе расчета и сопоставления показателей экономической
эффективности вариантов механизированного выполнения работ в установленные
сроки. 1.23. Основным показателем
экономической эффективности вариантов механизации являются приведенные затраты. В расчетах следует
использовать удельные приведенные затраты, определяемые путем деления общего
размера приведенных затрат на годовой объем работ машин либо их комплекта, или
на объем, выполняемый этими машинами на рассматриваемых участках. 1.24. Наряду с показателями
приведенных затрат необходимо учитывать показатели продолжительности и
трудоемкости механизированных работ. При расчете трудоемкости
следует учитывать труд рабочих, занятых на ручных процессах, выполняемых в
едином комплексе с механизированными. При одинаковых значениях
показателя приведенных затрат следует отдавать предпочтение варианту
механизации с меньшей продолжительностью и трудоемкостью работ. 1.25. Наряду с перечисленными
основными показателями вариантов механизации следует учитывать и
дополнительные: улучшение условий труда, повышение безопасности работ, степень
воздействия на внешнюю среду и др. 1.26. При разработке
вариантов механизации комплекты машин следует составлять таким образом, чтобы
обеспечить их максимальную загрузку, Как правило, необходимо
предусматривать двух-трехсменную работу средств механизации. 1.27. Для поддержания машин и
средств малой механизации в работоспособном состоянии должна осуществляться
система технического обслуживания и планово-предупредительного ремонта. Для своевременного
технического обслуживания и ремонта средств механизации в подразделениях должны
быть ремонтные мастерские, в том числе передвижные, необходимые запасы топлива,
смазочных материалов и запасших частей. Организация труда и оперативного планирования1.28. Организация труда
должна предусматривать рациональное использование рабочей силы на основе
разделения и кооперирования труда, его планирования, нормирования и
стимулирования, нормальные жилищно-бытовые условия, безопасные условия работ.
Разделение и кооперирование должны основываться на рациональном разграничении
труда с учетом профессий и квалификации рабочих. Бригада является основной
формой кооперирования труда рабочих. 1.29. В соответствии с
разделением земляных работ на линейные и сосредоточенные механизированные
колонны должны быть разбиты на отряды линейных и сосредоточенных работ,
которые, в свою очередь, состоят из специализированных бригад; в бригадах могут
создаваться звенья для выполнения отдельных видов работ и для работы в разные
смены. Количество отрядов, бригад и звеньев определяется исходя из наличия
машин, количества объектов и вида работ. 1.30. В зависимости от
численности рабочих в отряде руководство отрядами осуществляют мастера,
прорабы, старшие прорабы. Бригады возглавляют бригадиры
из числа наиболее квалифицированных рабочих, обладающих организаторскими
способностями. При работе в две-три смены
назначают сменных бригадиров, а для Руководства работой звеньев - звеньевых. 1.31. Условия труда должны
способствовать высокой работоспособности рабочих при сохранении их здоровья.
Необходимо внедрять рациональные режимы труда и отдыха, мероприятия: снижающие
влияние вредных факторов производства (шум, вибрация, запыленность и
загазованность), обеспечивать спецодеждой и обувью. 1.32. Для повышения
материальной заинтересованности, улучшения качества и сокращения сроков работ
следует применять прогрессивные системы оплаты труда (сдельно-премиальную,
урочно-премиальную и дифференцированную). Необходимо широко внедрять бригадный
подряд на основе хозяйственного расчета. 1.33. С целью регулирования,
контроля и учета деятельности каждому специализированному подразделению
разрабатывают оперативные планы (задания) по ряду показателей, обеспечивающих
учет и контроль выполнения этих планов, организацию материального поощрения за
достигнутые результаты. В состав документов
оперативного планирования входят месячные планы строительно-монтажных
организаций, механизированных колонн, участков старших производителей работ,
мастеров. При этом оперативный план организации устанавливают с разбивкой по
участкам старших производителей работ, а оперативный план участка старшего
производителя работ - участкам мастеров. Если на одном объекте работает
несколько мастеров и за каждым из них не закреплен определенный состав рабочих
(при работе сквозных бригад в две-три смены), оперативный план устанавливают на
объект в целом без разбивки по отдельным исполнителям. 1.34. При строительстве особо
важных объектов в сокращенные сроки и подготовке объектов к сдаче в
эксплуатацию разрабатывают недельно-суточные или декадно-суточные графики работ
и обеспечения их материально-техническими ресурсами. Эти графики разрабатывают
на основании месячных планов. 1.35. Месячные оперативные
планы составляют плановые, производственно-технические или
планово-производственные отделы строительно-монтажной организации
(механизированной колонны) с обязательным участием старших производителей
работ, производителей работ и мастеров. Оперативные планы,
утвержденные начальником строительно-монтажной организации (механизированной
колонны), выдают старшим производителям работ не позднее чем за 5 дней до
планируемого месяца, а планы мастерам, утвержденные старшим производителям
работ, не позднее чем за 3 дня до планируемого месяца. Оперативный план мастер
доводит до бригад или отдельных звеньев и выдает им наряд задание не позднее
чем за 2 дня до начала месяца. 1.36. По окончании каждого
месяца и квартала плановый отдел строительно-монтажной организации
(механизированной колонны) совместно с производственно-техническим отделом и
бухгалтерией при участии старших производителей работ, производителей работ и
мастеров оценивает результаты выполнения плана участками и
строительно-монтажной организацией в целом. При этом следует учитывать оценку качества
выполненных работ при сдаче и результаты контроля качества. 1.37. На крупных объектах
строительства, организуемого на значительном протяжении и в условиях
скоростного строительства, следует организовать диспетчерское управление
работами с применением телефонной связи и радиосвязи. Основной задачей
работников диспетчерской службы является минимизация отклонений хода работ от
ППР и документов текущего оперативного планирования. 2. ПОДГОТОВИТЕЛЬНЫЕ РАБОТЫОбщие положения2.1. До начала основных работ
на участках, отведенных для строительства дороги и ее сооружений, а также на участках временного отвода земель, для
нужд строительства должны быть выполнены подготовительные работы
(внеплощадочные и внутриплощадочные). К внутриплощадочным относят в
основном работы по подготовке к строительству сооружений: производственных баз,
карьеров, временных железных и автомобильных дорог (для снабжения материалами и
энергоресурсами) и других коммуникаций. К внутри площадочным относят
работы по подготовке территории непосредственно в пределах полосы отвода для
сооружения земляного полотна. 2.2. В состав
подготовительных работ входит: создание геодезической разбивочной основы;
перенос и переустройство воздушных и кабельных линий связи, электропередачи,
трубопроводов, коллекторов и др.; восстановление и закрепление трассы дороги;
расчистка дорожной полосы; расчистка территорий отведенных под карьеры и
резервы; подготовка и усиление сети автомобильных дорог, намечаемых к
использованию в период строительства; строительство производственных
предприятий, временных жилых поселков. В особых климатических и
грунтовых условиях, а также в городах и населенных пунктах ПОС могут быть
предусмотрены дополнительные виды подготовительных работ. 2.3. Подготовительные работы
выполняют в сроки, установленные общим графиком организации строительства, как
правило, до начала основных работ по сооружению земляного полотна. На крупных
объектах продолжительностью строительства более одного сезона следует совмещать
сроки выполнения подготовительных и основных (как сосредоточенных, так и
линейных) работ в составе комплексного потока по сооружению земляного полотна.
При этом работы выполняются по сносу и переносу зданий, сооружений и
коммуникаций должны выполняться в подготовительный период по отдельному
графику. 2.4. Перенос и переустройство
пересекаемых трассой линий связи, электропередачи и трубопроводов должны
осуществляться по проектам специализированных проектных организаций, которые
устанавливают характер и объемы работ и целесообразные методы их выполнения.
Эти работы, как правило, должны выполнять специализированные
строительно-монтажные организации ведомств, эксплуатирующих переустраиваемые
линии по подрядному договору с генеральной подрядной строительной организацией. Организация и методы сноса и
переноса зданий и сооружений определяются их размером. В случае необходимости сноса
или переноса крупных зданий и сооружений такие работы должны выполняться по
специальному проекту. 2.5. Объездные дороги строят,
если необходим перевод существующего автомобильного движения с отдельных
участков реконструируемой дороги, на которых должны проводиться строительные
работы, препятствующие этому движению. Тип и капитальность дорожных одежд на
объездных дорогах должны соответствовать интенсивности переведенного на них
автомобильного движения и применяться с учетом намечаемого срока действия
объездной дороги. Создание геодезической разбивочной основы, восстановление и закрепление трассы2.6. Обеспечение
геодезической разбивочной основы производит заказчик. Техническую документацию
на геодезическую разбивочную основу и закрепленные на местности вне зоны
производств работ пункты и знаки этой основы передает заказчик подрядчику по
акту не позднее чем за 15 дней до начала работы на данном участке. При выносе проекта в натуру
погрешности не должны превышать следующих величин: невязка в сумме измеренных
горизонтальных углов хода при числе измеренных углов N - 2.7. Геодезической
разбивочной основой на местности служат следующие пункты и знаки, выносимые на
местность: знаки, закрепляющие в плане вдоль трассы (оси) дороги вершины углов
поворотов и главные точки кривых, а также точки на прямых участках трассы не
реже чем через 1 км; реперы вдоль трассы не реже чем через 2 км. Для мостов и труб
геодезическая разбивочная основа создается в составе и в соответствии с
требованиями СНиП III-43-75 "Мосты и трубы". Для городских дорог и
внутренних дорог предприятий дополнительные требования к геодезической
разбивочной основе могут устанавливаться организациями ведомств и местных
(городских) Советов. 2.8. Основные знаки и реперы
должны иметь надежную конструкцию в виде столбов или свай в соответствии с
требованиями СНиП III-2-75 "Геодезические работы в
строительстве" (рис. 2.1). В скальных грунтах положение точек
допускается обозначать пересечением двух канавок, высеченных в скале. Точки
разбивки при этом обкладывают камнями, надписи делают масляной краской. В
городских условиях используют металлические знаки промышленного изготовления с
закреплением их в каменных стенах или дорожных покрытиях. Все знаки геодезической
разбивочной основы регистрируют в специальной ведомости (приложение 4). 2.9. Перед выполнением
земляных работ производится детализация геодезической разбивочной основы в
следующем составе: вынос на границу полосы отвода всех знаков геодезической
разбивочной основы; разбивка на трассе всех пикетов и плюсовых точек с выноской
за границу полосы отвода; установление дополнительных реперов у насыпей высотой
свыше 3 м (за пределами подошвы), выемок глубиной более 5 м (за бровками
откосов), у неискусственных сооружений; промежуточных реперов на пересеченной
местности, на участках комплексов зданий и сооружений дорожной и
автотранспортной служб; разбивка круговых и переходных кривых с выноской и
закреплением промежуточных точек. Рис. 2.1. Конструкция пикетного столбика и дополнительного репера: а - вид с дороги; б - вид с
боку Рис. 2.2. Схема закрепления оси дороги на прямом участке трассы: 1- выносной столб; 2 -
выносные колья; 3 - границы полосы отвода; 4 - четные пикеты
(точки со сторожками); В - ширина полосы отвода Рис. 2.3. Схема закрепления
оси дороги на криволинейном участке трассы: 1 - граница полосы отвода; 2
- пикеты (точка и сторожек с надписью); 3 - выносные столбики с
отметками; НК - начало кривой; КК - конец кривой; ВУ - вершина угла; Т -
тангенс кривой; Р - радиус кривой; К - касательная к кривой Сроки выполнения полной
разбивки трассы должны обеспечивать установленные темпы земляных работ и
сохранность знаков за пределами производственных зон. На территориях населенных
пунктов и промышленных предприятий разбивку целесообразно выполнять
непосредственно перед началом земляных работ. 2.10. Пикеты выносят под
прямым углом к оси трассы и закрепляют столбами или свайками. Выносные пикетные
столбы устанавливают на границе полосы отвода, но не ближе 5 м от наружного
края водоотводной канавы, резерва и т.п. Схемы выноски разбивочных
знаков показаны на рис. 2.2; 2.3. Все знаки должны быть
зарегистрированы в журнале выносок (приложение 4). 2.11. Дополнительно реперы
устанавливают в характерных точках рельефа за пределами полосы отвода и зоны
производства работ. Конструкция дополнительного репера может быть аналогична
конструкции пикетного столба. Место постановки рейки должно быть обязательно
обозначено костылем, гвоздем или отмечено краской. В качестве реперов могут
быть использованы постоянные и надежно закрепленные местные предметы (валуны,
скальные выступы, цоколи зданий и т.д.) с соответствующим обозначением
маркировки и места постановки рейки. Форма регистрации реперов представлена в приложении 4. 2.12. Во время производства
земляных работ должны быть приняты меры по обеспечению сохранности знаков
разбивки. Все поврежденные в процессе работ знаки должны немедленно
восстанавливаться. Расчистка дорожной полосы2.13. До начала земляных
работ расчищают дорожную полосу и площади, отведенные для карьеров, резервов,
зданий и сооружений, от леса, кустарника, пней, порубочных остатков, крупных,
камней, строительного мусора и др. Границы полосы расчистки устанавливают
проектом. Расчистку дорожной полосы
осуществляют по отдельным участкам в порядке очередности производства на них
работ по возведению земляного полотна. В пределах площадок,
отводимых для строительства постоянных и временных зданий и сооружений,
предусмотренных проектом автомобильной дороги, деревья удаляют лишь на
участках, которые будут непосредственно заняты этими зданиями и сооружениями.
Деревья ценных пород па участках вырубки должны выкапываться и пересаживаться в
другие места по правилам и в сроки, отвечающие агротехническим требованиям. 2.14. При прохождении трассы
через залесенную местность для работ по удалению леса организуется
самостоятельный комплексный поток. В состав работ по подготовке просеки входят
следующие виды работ: подготовка лесосеки, валка леса, обрубка деревьев, сбор и
удаление порубленных остатков, трелевка хлыстов к временным складам, разделка
хлыстов на сортименты, погрузка и вывозка деловой древесины или дров,
корчевание корней. 2.15. Подготовка лесосеки
включает уборку сухостойных и зависших деревьев, вырубку кустарников и
мелколесья, прокладку трелевочных волоков и организацию временного склада, где
предусматривается разделка хлыстов на сортименты, складирование и отгрузка
полученной деловой древесины или дров, прокладку в необходимых случаях
тракторных путей и временных дорог. Трелевочные волоки и
временные склады должны размещаться в пределах отведенной для дороги полосы, а
в случае невозможности в местах, определенных проектом, с соответствующим
оформлением временного отвода. Вывозка древесины и отходов в летнее время
производится по временным дорогам, проложенным в пределах полосы отвода, и по
дрогам существующей сети. 2.16. Лес удаляют, как
правило, лесоповальными машинами или моторными пилами. Высота пней должна быть
минимальной. Для направленной валки деревьев, облегчающей трелевку, применяют
различные приспособления (валочные вилки, валочные лопатки и др.). 2.17. Лес спиливают
преимущественно в зимний период, так как это обеспечивает лучшие условия
просушки дорожной полосы в весеннее время до начала земляных работ и облегчает
вывозку полученного при порубке леса по зимнему пути, особенно при наличии
заболоченности. 2.18. При невозможности
использовать древесину в качестве деловой допускается валка деревьев без
спиливания вместе с корнями с помощью бульдозеров и корчевателей-собирателей на
тракторах класса 10 тс и более. При валке деревьев и кустарника вместе с
корнями необходимая сортировка и вывозка древесины производятся до начала работ
по удалению плодородного слоя почвы. Удаление леса или кустарника вместе с
плодородным слоем почвы не допускается. 2.19. Просеку по ширине
следует разбивать на пасеки длиной 200-400 м, располагаемые вдоль просеки. При
ширине просеки до 25 м назначают одну пасеку, при ширине от 25 до 45 м, как
правило, - две и свыше 45 м - три. Трелевочные волоки шириной 5 м прорубают
вдоль каждой пасеки по ее центру. Временные склады располагают вне рабочей
пасеки, в пределах ранее разработанной пасеки или на свободном от леса месте (рис. 2.4). Валку деревьев надлежит
выполнять только в дневное время звеньями, работающими друг от друга на
расстоянии не менее 50 м. Разработку пасек следует
осуществлять узкими лентами шириной 5-7 м, располагаемыми вдоль трелевочного
волока или под углом к нему, равным 45-60°. В последнем случае пасеки делают
шириной до 40-45 м и валку начинают от трелевочного волока до границы пасеки.
Для облегчения трелевки деревья валят вершинами к направлению тропинки и к
трелевочному волоку под небольшим углом к нему (рис. 2.5). 2.20. Па трелевочных работах
следует, как правило, использовать специальные трелевочные тракторы. При
небольших объемах работ допускается использовать обычные тракторы,
приспособленные для трелевочных работ. В условиях прорубки дорожных просек
наиболее целесообразна трелевка хлыстами, очищенными от сучьев, при чокеровке
за вершины. При указанных выше методах валки трелевочный трактор собирает пачку
хлыстов чокерами, не сходя с трелевочного волока. Расстояние трелевки хлыстов с
пасеки до временного склада не должно превышать 300-500 м. 2.21. При валке леса в лесной
и таежной местности с большими объемами работ следует руководствоваться
«Нормами технологического проектирования лесозаготовительных предприятий»,
разработанными Гипролеспромом Минлеспрома. 2.22. На участках просек с
кустарниками и мелколесьем при толщине до 10-15 см расчистка дорожной полосы
может выполняться с помощью кустореза с последующим собиранием срезанных кустов
и деревьев и вычесыванием корней с помощью корчевателя-собирателя или
бульдозерно-рыхлительного агрегата. Рис. 2.4. Схема разработки
просеки: 1 - пасеки; 2 - трелевочный волок; 3 - временный
склад с разделкой сортиментов и погрузкой древесины; D
- ширина
просеки Рис. 2.5. Направление пилки
деревьев при различных вариантах трелевки: а - при разработке продольными
лентами; б - при разработке лентами, расположенными под углом к волоку; 2.23. Собирание в кучи
порубочных остатков (обрубленных сучьев, вершин, срезанного кустарника)
выполняют корчевателем-собирателем после вывозки с пасеки хлыстов. Места для
укладки порубочных остатков выбирают так, чтобы кучи не мешали последующим
работам по корчевке пней, вычесыванию корней и возведению земляного полотна.
Кучи должны располагаться не ближе 8 м от стены леса. 2.24. Порубочные остатки
мелколесье, выкорчеванные пни должны выполняться для промышленной проработки
или в места складирования, отведенные органами лесного хозяйства. Сжигание
остатков на месте допускается по согласованию с лесхозом и органами пожарного
надзора в установленное ими время. 2.25. Пни допускается
оставлять в основании земляного полотна, предназначенного для
усовершенствованных облегченных, переходных и низших типов покрытий на дорогах III-V
категорий при насыпях более 1,5 м, а также в тех случаях, когда проектом не
предусмотрена полная расчистка дорожной полосы (переходы через болота,
неустойчивые склоны и т.п.). При насыпях от 1,5 до 2 м пни должны быть срезаны
вровень с землей, а при насыпи более 2 м - на высоте 10 см от земли. Возможность оставлять пни в
полосе расчистки за пределами основания земляного полотна (резервы, кавальеры,
бермы, а также в местах выемок, траншей, резервов, берм и т.п.) должна быть
определена проектом с учетом назначения территории, видов применяемых для
разработки грунта машин, необходимости удаления плодородного слоя почвы и т.п. 2.26. Корчевку пней следует
выполнять корчевателями-собирателями, а при небольших объемах работ -
бульдозерами. При корчевке крупных пней с сильно развитой корневой системой в
целях облегчения корчевки корни подкапывают и подрубают. Особо крупные пни
целесообразно корчевать взрывным способом, для чего привлекают специалистов,
имеющих право выполнять буровзрывные работы. Вычесывание корней, оставшихся
после корчевки пней и срезки кустарника и мелколесья, осуществляется
корчевателем-собирателем. Оставшиеся после корчевки ямы засыпают с послойным
уплотнением грунта. После вычесывания корней и удаления почвы вся поверхность
основания под насыпь должна быть спланирована и тщательно уплотнена тяжелыми
катками. 2.27. Камни (валуны),
мешающие возведению земляного полотна, должны быть удалены
корчевателями-собирателями или бульдозерно-рыхлительными агрегатами. Для
захвата и перемещения крупных камней следует использовать цепи или захватные
приспособления. Особо крупные камни, которые невозможно удалить целиком, дробят
взрывным способом и удаляют по частям. 2.28. На площадях,
предназначенных для притрассовых карьеров и резервов, до начала их разработки
должны быть выполнены подготовительные работы, обеспечивающие непрерывность
последующей эксплуатации. Создание геодезической
разбивочной основы для карьеров заключается в выносе на местность реперов и
обозначений контуров разработки. Контуры обозначают выносными столбами,
закрепляющими границы выработки на углах и на прямых участках, с установкой не
реже чем через 50 м. В проекте разработки карьера
должны быть указаны места от валов вскрытия и временного складирования грунта
плодородного слоя почвы, предназначенного для рекультивирования. Нагорные канавы и другие
водоотводные и дренажные сооружения следует устранять в соответствии с проектом
до начала разработки. Плодородный слой почвы
удаляют по мере подготовки поверхности к забою с заделом не более одного
сезонного периода. Перед началом разработки
карьера должны быть прокопаны выездная и разрезная траншея, подготовлен рабочий
забой. при выполнении работ в темное
время суток зона производства работ должна быть оборудована светильниками. Временные дороги2.29. Предусмотренные
проектом организации строительства подъездные и внутриобъектные дороги должны
обеспечивать выполнение необходимого объема перевозок для нужд строительства в
период, определенный графиком поставки соответствующих материалов. Категорию
дорог и тип покрытия назначают на основе ожидаемой интенсивности движения с
учетом срока службы и сезонности перевозок. Для нужд строительства
следует максимально использовать существующую дорожную сеть. При необходимости
проектом должно быть предусмотрено улучшение существующих дорог (устройство
дополнительных слоев покрытий, усиление труб и мостов). Параметры дорог общей сети,
улучшенных для целей строительства, должны соответствовать требованиям СНиП
II-Д.5-71 "Автомобильные дороги. Нормы проектирования". 2.30. Временные землевозные
дороги устраивают в случаях невозможности или экономической нецелесообразности
использовать для перевозки грунта дороги общей сети, подъездные и
внутриобъектные дороги общего назначения. Временные землевозные дороги
должны обеспечивать перевозку полного объема грунта, предназначенного ПОС для
автовозки в течение периодов и сезонов года, предусмотренных графиком
производства земляных работ. 2.31. При выполнении земляных
работ в зимнее время в I и II климатических зонах следует
устраивать зимние автомобильные дороги в соответствии с "Техническими
указаниями по строительству и содержанию зимних автомобильных дорог на снежном
и ледяном покрове в условиях Сибири и Северо-Востока СССР" ВСН 137-77. 2.32. За пределами полосы
постоянного отвода устройство и постоянное содержание временных землевозных
дорог является обязательным. Проезд строительного транспорта вне полосы отвода,
не по временным дорогам или специально выделенным маршрутам общей сети дорог не
допускается. 2.33. Временные землевозные дороги
устраивают двухполосными. Однополосные дороги допускаются только при
одностороннем движении. Ширина проезжей части дорог для автомобилей-самосвалов
грузоподъемностью до 12 т должна быть при двустороннем движении 7 м, при
одностороннем- 3,5 м. При грузоподъемности
автомобилей-самосвалов более 12 т, а также при использовании специальных
землевозных машин ширина проезжей части определяется расчетом. Ширина обочин должна быть не
менее 1 м, а в стесненных условиях, на выездах и объездах не менее 0,5 м с каждой
стороны. На косогорах и откосах ширина обочин составляет с нагорной стороны 0,5
м, с подгорной - 1 м. 2.34 Проектирование плана и
продольного профиля временных землевозных дорог следует осуществлять в
соответствии с требованиями
СНиП II-Д.5-71
"Автомобильные дороги. Нормы проектирования" применительно к V
технической категории. В стесненных условиях допускается уменьшать радиусы
горизонтальных кривых для двухосных автомобилей до 15 м и трехосных - до 20 м с
уширением проезжей части на 2,5 м. Продольный уклон землевозных
дорог не должен превышать 80‰, в исключительных случаях 100‰. При кольцевом
движении для порожнего направления продольные уклоны могут быть повышены до
120‰, в исключительных случаях - до 150‰. При затяжных уклонах
величиной более 80‰ через каждые 600 м следует устраивать вставки длиной по 50
м с уклоном не более 30‰. 2.35. На временных
землевозных дорогах в условиях эксплуатации при влажности грунтов, близкой к
оптимальной, устраивают грунтовое покрытие с профилированием и уплотнением. Песчаные недоувлажненные
грунты целесообразно улучшать добавками глинистых, а глинистые переувлажненные
добавками песчаных или обломочных грунтов. При соответствующем
технико-экономическом обосновании на временных землевозных дорогах могут быть
устроены покрытия переходного или низшего типов или колейного типа из сборных
железобетонных плит. 2.36. При строительстве
временных дорог на участках переувлажненных глинистых грунтов и болот I
строительного типа целесообразно использовать нетканые синтетические материалы
(НСМ). Прослойку из НСМ укладывают непосредственно на поверхность слабого
грунта под песчаный, гравийный или щебеночный слой. Отдельные полотна НСМ должны
быть соединены между собой равнопрочным соединением (склейкой, сваркой,
сшивкой) или уложены с нахлестом на 30-50 см в зависимости от сжимаемости
основания. Для временных дорог
рекомендуется использовать НСМ со следующими минимальными характеристиками:
прочностью при разрыве 1 см полотна 70 Н, модулем деформации при разрыве 70
Н/см, водопроницаемостью 50 м/сут. Толщину слоя зернистых
материалов с прослойкой из НCM типа «дорнит» ориентировочно назначают равной
25-40 см на основании из глинистых грунтов с W£1,3Wопт и 40-60 см на плотном торфе,
заторфованном или сильно переувлажненном глинистом грунте при разовом пропуске
автомобилей, а также соответственно 50-80 см и 60-90 см при интенсивности
движения свыше 100 авт./сут. Указанные толщины обеспечивают работу временной
дороги с постепенным развитием колей, т.е. исходит из необходимости
периодической профилировки, а в отдельных случаях и подсыпки зернистого
материала. При сооружении временных
дорог на болотах II типа со значительной осадкой насыпи нижняя часть насыпи на
величину возможной осадки плюс 0,5 м может быть выполнена из торфа. В этом случае прослойку из
НСМ укладывают между насыпным торфом и слоем песчаного грунта. В конструкциях временных
дорог в виде песчаного слоя на лежневом настиле, устраиваемых на болотах III
типа, НСМ укладывают непосредственно на лежневый настил для уменьшения потерь
песка сквозь щели настила и повышении эксплуатационной надежности конструкции. 2.37. В состав работ по
содержанию временных землевозных дорог входит выравнивание поперечного профиля
грейдером, засыпка колей и ям более устойчивым грунтом, улучшение водоотвода, обеспыливание. Временные землевозные дороги
целесообразно очищать от снега до образования снегового наката. 2.38. После окончания
эксплуатации все временные землевозные дороги (за исключением участков,
принятых в состав общей или внутрихозяйственной сети дорог) должны быть
рекультивированы путем выравнивания под общий уровень окружающей местности и
засыпки слоем почвенного грунта. 3. РАЗРАБОТКА, ПЕРЕМЕЩЕНИЕ И УКЛАДКА ГРУНТОВ В ЗЕМЛЯНОМ ПОЛОТНЕОбщие положения3.1. В состав основного
комплексного технологического потока по сооружению земляного полотна входят
следующие виды работ: снятие и складирование плодородного слоя почвы;
устройство постоянных или временных сооружений, обеспечивающих отвод
поверхностных и грунтовых вод; подготовка грунтовых оснований под насыпи или
конструктивные слои дорожной одежды, включая их выравнивание, уплотнение,
устройство дренажей; разработка выемок с перемещением грунта в насыпь или
отвал; возведение насыпей из грунтов, разрабатываемых в выемках или резервах, с
послойным разравниванием и уплотнением грунта до требуемой плотности;
планировка и уплотнение поверхности и откосов земляного полотна; укрепление
откосов и выемок. Последовательность и сроки
выполнении работ по устройству постоянных дренажных и водоотводных сооружений,
досыпке и укреплению обочин, рекультивации карьеров и других территорий
временного отвода, ликвидации резервов, временных дорог и площадок
устанавливают ПОС с учетом сроков выполнения работ по устройству слоев одежды и
других конструктивных элементов. 3.2. При строительстве дорог
в особых условиях (вечная мерзлота, болота, пустыни, скальные, засоленные,
слабые грунты и др.) состав работ по сооружению земляного полотна может быть
изменен или дополнен. Описание особенностей технологии производства работ в особых
условиях, а также в зимнее время дано в последующих главах настоящего
руководства. 3.3. В целях обеспечения
технологической однородности и поточной организации работ каждый
технологический слой насыпи целесообразно устраивать по всей ширине с
непрерывным чередованием операций отсыпки, выравнивания и уплотнения и
минимальным разрывом до устройства последующего слоя. При ширине слоя более 30 м
допускается выделять две продольные захватки с поочередным выполнением
операций. Порядок разработки выемок
устанавливают исходя из наиболее эффективного использования ведущих машин и
непрерывного обеспечения поверхностного водоотвода. 3.4. Величина задела
земляного полотна определяется ПОС с учетом: темпов производства работ по
устройству дорожных одежд (см. п. 1.14); соблюдения годичного срока
между окончанием возведения насыпей высотой более 3 м из пылеватых и тяжелых
глинистых грунтов и устройством асфальтобетонных и цементобетонных покрытий,
других видов покрытий и оснований, устраиваемых с применением вязких битумов и
материалов, укрепленных цементом; технологических перерывов,
предусмотренных проектом при возведении насыпей на слабых основаниях и из
грунтов повышенной влажности; времени, необходимого для
оттаивания верхней части земляного полотна, устроенного при отрицательной
температуре. На участках задела земляное
полотно должно быть отсыпано до проектной отметки: поверхность его, включая
откосы, спланирована и выровнена; откосы, как правило, укреплены; закончено устройство
водоотвода. Не допускается приемка в
задел земляного полотна при частичном выполнении поперечного сечения, например
в виде площадки под одежду с неполной шириной насыпи или выемки по бровкам и по
подошве откосов. 3.5. Основные работы по
сооружению земляного полотна, на которые по их завершении необходимо оформить
акты освидетельствования скрытых работ, следующие: снятие плодородного слоя
почвы, мохового или дернового слоя, выторфовывание, корчевка пней, устройство
уступов на косогорах, замена грунтов или их осушение в основании, устройство
свайных или иных типов искусственных оснований под насыпями, устройство
теплоизоляционных слоев; устройство водоотвода и
дренажей, укрепления русел у водоотводных сооружений; возведение и уплотнение
земляного полотна и подготовка его поверхности для устройства дорожной одежды. Так как земляное полотно
играет важную роль в обеспечении прочности и стабильности дорожной конструкции,
целесообразна промежуточная приемка земляного полотна перед устройством
дорожной одежды. Рис. 3.1. Схема снятия
плодородного слоя почвы поперечным способом на полосе шириной менее 25 м: В - вал растительного грунта Снятие и складирование плодородного слоя почвы3.6. Границы в плане, толщина
снятия и места складирования грунтов плодородного слоя почвы определяются
проектом. 3.7. Разбивка работ по снятию
почвы заключается в выноске в натуру грани срезки и контуров валов
складирования. Для разбивки грани срезки используют вешки валов высотой 1-1,5
м, устанавливаемые через 20-25 м. Контуры валов складирования обозначают
кольями; границу срезки до начала работ - бороздой (плугом или рыхлителем). В целях предупреждения
поломки или засыпки установленные ранее знаки выноса проекта на местность
следует защитить ограждениями из трех реек, скрепленных верхними концами
"в шатер", или обозначить специальными вешками. После окончания
снятия плодородного слоя почвы установленная для этой работы разбивка
снимается. 3.8. Если подлежащий снятию
слой имеет высокую плотность или в нем остались корни после удаления леса, до
начала срезки рыхлят слой или его вспахивают многокорпусными плугами. 3.9. Плодородный слой почвы
снимают, как правило, в талом состоянии. При затрудненной проходимости машин
допускается снимать почву в весенний период при оттаивании грунта на
соответствующую глубину. 3.10. Плодородный слой почвы
срезают и перемещают в места складирования бульдозерами или автогрейдерами,
применяя следующие схемы работ: при возведении насыпей из
привозного грунта, когда ширина полосы, с которой должен быть срезан слой
почвы, не превышает 25 м, используют схему, приведенную на рис. 3.1; при возведении насыпей из
боковых резервов или высоких насыпей, а также при разработке глубоких выемок,
когда дорожная полоса имеет ширину 30-40 м и более, срезку и перемещение почвы
следует производить сначала с одной половины полосы, начиная зарезание от оси,
а затем с ее другой половины (рис. 3.2); при больших объемах работ по
снятию почвенного слоя (толстый слой, большая ширина дорожной полосы) сначала
производят срезку почвы с перемещением автогрейдером или бульдозером с
поворотным отвалом в продольные ряды, из которых позднее грунт перемещают
бульдозерами за пределы дорожной полосы. Поперечное перемещений почвы на
половине ширины дорожной полосы производят косыми проходами бульдозера (под
углом к продольной оси дорог) с тем, чтобы при каждом проходе обеспечивалась
полная загрузка бульдозера, соответствующая его мощности (рис. 3.3). Рис. 3.2. Схема снятия
плодородного слоя почвы поперечным способом на полосе шириной 30-10 м и более: В -
вал растительного грунта; т - расстояние, обеспечивающее продольный
проход землеройных машин; h - толщина слоя Рис. 3.3. Схема
продольно-поперечной срезки и перемещения плодородного слоя почвы а - вал растительного грунта; 1,
2, 3, 4 - продольные и косые проходы бульдозера 3.11. Для повышения
производительности бульдозера при перемещении почвенного грунта на отвал
целесообразно устанавливать открылки или применять отвал совкового типа. 3.12. В случаях прохождения
дороги по пашням, лесным массивам или другим ценным землям отвод боковых полос
для временного складирования почвенного грунта, как правило, нецелесообразен. В
таких случаях хранение почвенного грунта осуществляют на специально выделяемых
для этой цели площадках, расположенных на малоценных землях. При этом после
снятии и окучивании бульдозером грунт грузят в транспортные средства
фронтальными погрузчиками или экскаваторами, вывозят на отведенные для
складирования площадки и оформляют в штабеля. 3.13. При снятии и
складировании плодородного слоя почвы должны быть приняты меры, предотвращающие
снижение его качества (смешивание с подстилающими минеральными слоями,
загрязнение, размыв, выдувание и т.п.). При сроке складирования более года палы
почвенного грунта укрепляют посевом трав или другими способами,
предусмотренными проектом. Отвод поверхностных вод3.14. Нагорные канавы и
ограждающие валы должны быть устроены до начала работ по возведению насыпей и
разработке выемок. Кюветы и водосборные канавы, проходящие у подошвы насыпи,
рекомендуется устраивать немедленно после возведения насыпи и планировки
откосов. В выемках кюветы и водосборные канавы сооружают в процессе удаления
недобора. Если проектом по каким-либо
причинам предусмотрены постоянные водоотводные сооружения на последующих
этапах, до начала разработки выемок следует устраивать временные нагорные
канавы или ограждающие валы. 3.15. Общий уклон временных
водоотводных канав должен быть не менее 5‰. Предельные уклоны для временных
неукрепленных водоотводных канав составляют: 20‰ в супесчаных грунтах и 40‰ в
суглинистых. 3.16. Канавы глубиной 0,3-0,7
м нарезают кустарниковыми плугами, автогрейдерами, а также бульдозерами с
отвалами, соответствующими профилю канавы и оснащенными дополнительными ножами
в форме лемехов. Канавы глубиной 0,7-1,5 м
нарезают канавокопателями любого типа, глубиной 1,5-3 м роют экскаваторами с
обратной лопатой или с ковшами драглайн. Для устройства водоотводных
каналов значительной протяженности целесообразны высокопроизводительные
гидромелиоративные машины соответствующих типов с плужными, фрезерными и
роторными рабочими органами. 3.17. Канавы роют, начиная с
низовой стороны и устраивая выход в естественный водоприемник, захватками
длиной 500-1000 м сразу на полный профиль или последовательными проходами
машины, доводя сечение канавы до проектных размеров. 3.18. При устройстве нагорных
канав на косогорах вынимаемый грунт распределяют и укладывают в виде призмы
вдоль канавы с низовой стороны. Укладывать грунт с нагорной стороны
запрещается. При устройстве боковых канав
в выемках грунт вывозят за пределы выемки. В уширенных выемках этот грунт можно
укладывать на закюветную полку с последующей планировкой и уплотнением. Подготовка основания земляного полотна3.19. До начала возведения
насыпи поверхность основания должна быть выровнена бульдозером. На
горизонтальных участках в недренирующих грунтах поверхности основания придается
поперечный уклон от оси 20-40‰. Наличие в недренирующих грунтах ям, траншей,
котлованов и других понижений, в которых может застаиваться вода, не
допускается. Местные понижения заполняют послойно с уплотнением до требуемой
для основания плотности. 3.20. Уплотнение основания
низких насыпей и грунтовых слоев под одеждой в выемках выполняется в случаях,
предусмотренных, СНиП II-Д5-72 «Автомобильные дороги.
Нормы проектирования». Основания уплотняют
непосредственно перед отсыпкой вышележащих слоев земляного полотна или
устройством дорожной одежды. Если требуемая толщина
отсыпанного, нижнего, слоя основания превышает толщину эффективно уплотняемого
слоя, излишний слой грунта следует удалить бульдозером за пределы подошвы
насыпи. После уплотнения и разравнивания нижнего слоя, удаленный грунт
возвращают и уплотняют до требуемой плотности. 3.21. При реконструкции дорог
с использованием существующей насыпи почвенный слой с обочин и откосов старой
насыпи снимают и перемещают на границу полосы отвода. Перед отсыпкой дополнительных
слоев поверхность старой насыпи должна быть разрыхлена. На откосах выше 2 м из
недренирующих грунтов должны быть устроены уступы высотой 1-1,5 ми шириной
1,5-2 м. 3.22. До начала возведения
насыпи водопропускные и коммуникационные трубы должны быть засыпаны
горизонтальными слоями шириной не менее 4 м с обеих сторон одновременно с
разравниванием бульдозером. Каждый слой уплотняют продольными по отношению к
трубе проходами катков или средствами вибрационного, виброударного или ударного
действия. Не допускается
уплотнять грунт тяжелыми машинами ударного действия на расстоянии от боковых
стенок трубы менее 3 м при высоте засыпки над трубой менее 2 м. При устройстве слоев засыпки
над трубой должна соблюдаться минимальная толщина засыпки, указанная в проекте. Рис. 3.1. Схема установки
кольев на обрезах с нанесением на них высотных отметок: Н -
отметка насыпи на бровке, м; Нр - разбивочная отметка по оси
насыпи, м; Нп - проектная отметка по оси насыпи Возведение насыпей из грунта боковых резервов3.23. Возведение насыпей
земляного полотна из грунта боковых резервов в большинстве случаев минимальные
затраты на перемещение грунта и наиболее низкую стоимость земляных работ.
Вместе с тем такие работы связаны с необходимостью значительного увеличения ширины
полосы отвода для строительства дороги, нарушением земель в пределах размещения
боковых резервов и рабочей зоны землеройных машин с значительным возрастанием
объемов работ по восстановлению нарушенных земель, затруднением водоотвода из
пониженных мест, возникающих и результате разработки боковых резервов, с
дополнительными затратами на устройство и ликвидацию въездов и съездов для
землеройно-транспортных машин. Указанные обстоятельства
существенно ограничивают область применения этого метода возведения земляного
полотна, применяющегося, как правило, в условиях: строительства в незаселенных
местах, на землях, непригодных для сельского хозяйства; сооружения в нулевых отметках
пли низких насыпях на сплошном пахотном массиве, где затруднен отвод
притрассовых карьеров и сосредоточенных резервов, а мелкие боковые резервы
могут быть легко рекультивированы и возвращены сельскому хозяйству; строительства на малоценных
землях дорог низких категорий со сравнительно небольшими объемами работ по
возведению насыпей. Сооружение земляного полотна
из грунта боковых резервов может выполняться прицепными грейдерами и
автогрейдерами, грейдер-элеваторами, бульдозерами, скреперами и экскаваторами,
оборудованными ковшами драглайн. 3.24. При возведении насыпи
из боковых резервов разбивку земляного полотна осуществляют по пикетным знакам,
знакам разбивки кривых и реперам, вынесенным в процессе подготовительных работ
за наружную бровку резервов. Разбивку резервов и насыпей выполняют после снятия
плодородного слоя почвы, расчистки и выравнивания основания. Схема установки кольев для
разбивки насыпей высотой до 1,5 м показана на рис. 3.4. Кольями обозначают:
высотные отмостки по оси и по бровкам насыпи - на выносе за пределы резервов;
высотную отметку бровки земляного полотна - по линии бровки. Колышками
обозначают границы резерва и подошвы откоса насыпи. На прямых горизонтальных
участках разбивочные поперечники устраивают через 50 м, на вогнутых кривых -
через 10-20 м, на горизонтальных и вертикальных выпуклых кривых - через 20-50
м. Границы подошвы насыпи и края резервов целесообразно обозначать бороздами. Рис. 3.5. Угли установки ножа
грейдера (автогрейдера): а - резания - a;
б - захвата - b; в - наклона - g При многослойной отсыпке
насыпей высотой более 1,5-2 м для соблюдения проектного заложения откосов
следует устанавливать постоянные лекала или пользоваться переносным шаблоном.
Толщину и ширину отсыпки каждого последующего слоя насыпи следует фиксировать
установкой специальных кольев. Грейдерные работы3.26. Возведение насыпей
прицепными грейдерами и автогрейдерами целесообразно осуществлять при высоте
насыпей до 0б75 м на равнинном или слабопересеченном рельефе. В связи с относительно малой
производительностью, а также ухудшением строительных свойств грунта
(размельчение и пересушивание) в результате разработки его тонкими слоями при
перемещении из резерва в насыпь грейдерами использование их может быть
рекомендовано для дорог низших категорий при сравнительно небольших объемах
работ. 3.27. Вырезание грунта
грейдером в резерве и поперечное перемещение его в насыпь, осуществляют
круговыми проходами машин. Для сокращения потерь времени на развороты машины в
концах рабочей захватки длина захватки должна быть не менее 400-500 м. Работы рекомендуется вести
двумя захватками: на одной вырезать грунт из резерва и перемещать его в насыпь,
на другой - планировать и уплотнять ранее отсыпанный слой грунта. По окончании
возведения насыпи на первых двух захватах работы следует начинать на следующих
двух и так далее. 3.28. Автогрейдеры,
работающие на перемещении грунта, следует оборудовать удлинителями отвала. При
работе в легких грунтах наращивают высоту отвала автогрейдера на 10-15 см. Для окончательной планировки
откосов насыпи и резерва на грейдерный отвал следует монтировать откосник. Таблица 3.1
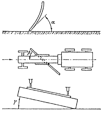
3.29. Установку отвала грейдера, углов захвата, резания и наклона (рис. 3.5.)
рекомендуется производить в зависимости от выполняемой грейдером рабочей
операции согласно табл. 3.1. Рис. 3.6. Углы установки
дискового плуга грейдера-элеватора: а -
план; б - вид сбоку; a - угол захвата; b
- угол резания; g - угол заострения плуга; l-l -
ось вращения дискового плуга Устройство насыпей грейдер-элеваторами3.30. Возведение насыпей из
боковых резервов грейдер-элеватором нецелесообразно при строительстве дорог в
равнинных степных районах при высоте насыпей, не превышающей 1,25-1,5 м, при
обеспечении полной сезонной загрузки грейдер-элеватора (500-700 тыс. м3
и более). 3.31. Рациональная длина
рабочей захватки для грейдер-элеватора, работающего круговыми проходами с
зарезанием грунта в двухсторонних боковых резервах, составляет 500-600 м.
Минимальная длина захватки 250-300 м. для прохода грейдер-элеватора из одного
резерва в другой при разворотах в конце захватки и земляном полотне оставляют
разрывы шириной по основанию 10-15 м. На участках разрывов в
земляном полотне, а также на участках, где имеются значительные отклонения от
средней величины рабочих отметок насыпи, земляное полотно должно отсыпаться
другими землеройно-транспортными машинам: бульдозерами, скреперами. 3.32. Для повышения
производительности грейдер-элеватора следует: разрабатывать слои грунта при
оптимальном заглублении дискового плуга. При этом в зависимости от группы
грунта по трудности разработки необходимо опытным путем подобрать величину
заглубления и углы установки дискового плуга (рис. 3.6.), обеспечивающие
максимальный размер вырезаемой грунтовой стружки (табл. 3.2) с учетом тяговой
мощности машины в наиболее полную передачу грунта на ленту конвейера; затачивать дисковой плуг по
мере затупления его режущей кромки с углом заострения 10-15°; периодически поворачивать
дисковой плуг на оси его закрепления в целях обеспечения равномерности износа; заменять диск при уменьшении
его диаметра на 15-20% вследствие износа; устанавливать ленточный
конвейер под углом к горизонту не круче 22°; уменьшать наклон ленточного
конвейера при отсыпке нижних слоев насыпи и при сильном ветре. Таблица 3.2
Рис. 3.7. Технологическая
схема возведения насыпи из боковых резервов бульдозерами: 1 - снятие плодородного слоя
почвы с укладкой в боковые валы; 2 - отсыпка отдельных слоев земляного
полотна с траншейной разработкой грунта в резерве и послойном разравниванием
его в насыпи; 3 - послойное уплотнение грунта в насыпи; 4 -
планировка насыпи и резервов автогрейдером и надвижка растительного грунта из
боковых валов бульдозером 3.33. Недостатком работ с применением
грейдер-элеватора является нарушение структуры грунта, связанное с его
размельчением, и вследствие этого быстрое уменьшение естественной влажности
грунта до начала его уплотнения. Поэтому особое внимание следует уделять
своевременности укатки и увлажнению отсыпаемого грунта до оптимальной влажности
перед его уплотнением. 3.34. Работу
грейдер-элеватора и работающих с ним сопутствующих машин, осуществляющих
послойное, разравнивание, увлажнение и уплотнение отсыпаемых грунтов, следует
выполнять двумя смежными захватками. Бульдозерные работы3.35. Бульдозеры наиболее
эффективны при возведении насыпей высотой 1-2 м из грунта боковых резервов. Они
позволяют механизировать практически весь комплекс работ, за исключением
окончательной планировки поверхности земляного полотна и выработанных боковых
резервов, которые обычно выполняются автогрейдером. На рис. 3.7 приведена
технологическая схема возведения земляного полотна из грунта боковых резервов
бульдозерами при высоте насыпи 1 м. 3.36. В целях повышения
производительности бульдозеров и уменьшении потерь грунта при перемещении из
резерва в насыпь, зарезание грунта следует производить в траншеях,
располагаемых поперек резерва, оставляя перемычки между траншеями шириной до 1
м. Разработку траншей начинают
на расстоянии от подошвы насыпи, обеспечивающем полный выбор грунта отвалом
бульдозера. Вырезанный грунт перемещают в насыпь до оси дороги. Каждое
последующее зарезание начинают, отступая от начала предыдущего, но не дальше
внешней кромки бокового резерва, а перемещаемый в насыпь грунт укладывают
впритык к уложенному ранее. При последовательной разработке траншей на всей
длине рабочей захватки осуществляется отсыпка первого слоя насыпи на половине
ее ширины. Аналогично производится
отсыпка насыпи на второй половине ее ширины из противоположного бокового
резерва, а также последующих слоев. 3.37. Работы по возведению
насыпи следует осуществлять попеременно на двух половинах ее ширины или на двух
смежных захватах, на одной из которых отсыпают насыпь, a на другой - послойно
разравнивают и уплотняют грунт с увлажнением при необходимости до оптимальной
влажности. В зависимости от заданного
сменного объема работ резервы могут разрабатываться одновременно с обеих сторон
насыпи отдельными бульдозерами или их звеньями. 3.38. Разработка
технологических траншей на глубину более 1 м не рекомендуется из-за обрушений
грунтовых стенок (перемычек). Поэтому при глубине резервов более 1 м их
разработку следует вести в два слоя, предварительно срезав и переместив и
насыпь ранее оставленные стенки. Оставлять грунтовые перемычки на длительное
время не рекомендуется также потому, что при выпадении интенсивных дождей они
препятствуют водоотводу из резерва. В целях обеспечения плотности
откосов допускается отсыпать слои на 30-50 см шире проектного профиля со
срезкой излишнего грунта после окончания возведения насыпи. Избыточный грунт
при этом должен быть использован при рекультивации резервов или использован для
отсыпки в другом месте насыпи. 3.40. В зависимости от группы
грунтов по трудности их разработки зарезание в траншее следует производить
способом, обеспечивающим более полное и производительное использование мощности
двигатели бульдозера без недопустимых перегрузок. При более легких по степени
разработки грунтах зарезание следует вести равномерной прямоугольной стружкой,
при средних грунтах - клиновидной и при тяжелых - гребенчатой. 3.41. Для повышения
производительности бульдозеров тяжелые и сухие грунты в резервах следует
предварительно разрыхлять рыхлителем, монтируемым на обратной стороне отвала
бульдозера, бульдозерно-рыхлительным агрегатом или прицепным рыхлителем. В этом
случае траншейный способ разработки не применяется. Рис. 3.8. Схема возведения насыпи из двухсторонних боковых резервов
скреперами с движением их по спиральной схеме с двумя зарезаниями и двумя
выгрузками в одном рабочем цикле При работе в разрыхленных или
сыпучих грунтах, когда не применима траншейная разработка, отвал бульдозера
следует оборудовать открылками или применять отвал совкового типа для
увеличения объема перемещаемого грунта и сокращения его потерь при перемещении. Скреперные работы3.42. Возведение насыпей на
грунтах боковых резервов скреперами целесообразно при высоте насыпей до 2,5-3 м.
При этом для сокращения стоимости работ можно применять комбинированный способ
возведения насыпей: до высоты 1,5-2 м бульдозерами, а выше 1,5-2 м -
скреперами. При возведении насыпей из боковых резервов ввиду сравнительно
небольшой дальности транспортирования грунта применяют преимущественно
прицепные скреперы. 3.43. В сыпучих песках
барханного типа, на заболоченных участках, и сильно увлажненных грунтах,
грунтах с наличием валунов, пней и корней, а также в затвердевших
трудноразрабатываемых грунтах применять скреперы не рекомендуется. 3.44. Плотные грунты следует
предварительно разрыхлять на толщину срезаемой стружки. Для рыхления глинистых
грунтов используют рыхлители, с пятью стойками, для рыхления суглинистых
грунтов - с тремя. 3.45. В зависимости от высоты,
ширины и протяженности насыпи назначают рациональные расстояния между въездами
на насыпь из резерва и съездами с нее. Чем выше насыпь и глубже резерв, тем
больше объемы работ по устройству въездов и съездов и тем большими должны быть
расстоянии между ними. Расстояния между въездами на насыпь и съездами с нее при
невысоких насыпях с разностью отметок дна резерва и верха насыпи до 1,5- 2 м
принимают равными 50-80 м, а при более высоких насыпях с разностью отметок до
3-4 м их увеличивают до 100-120
м. По отношению к оси насыпи въезды и съезды располагают под углом таким
образом, чтобы крутизна их не превышала для прицепных скреперов 18-20%, а
поперечный уклон- 8-10%. При разности отметок насыпи и резерва до 1-1,5 м и
пологих откосах (1:3; 1:4) насыпи въезды и съезды можно не устраивать.
Организацию движения скреперов следует вести так, чтобы при движении в груженом
направлении было минимальное количество поворотов. 3.46. В целях уменьшения
возможности пересыхания укладываемых в насыпь грунтов, особенно в сухое и
жаркое время, следует избегать растягивания рабочих захваток, в связи с чем
такие схемы работы скреперов, как «зигзаг» или «восьмерка», могут применяться
только при наиболее благоприятных условиях влажности грунтов и высоких темпах
работ, выполняемых крупными по составу подразделениями. 3.47. При разработке грунта и
двусторонних боковых резервах работу скреперов следует вести по спиральной
схеме с поперечной разгрузкой грунта и насыпи, что позволяет на протяжении
одного кругового прохода осуществлять два зарезания и две разгрузки грунта (рис. 3.8).
Работа по спиральной схеме возможна до разности отметок насыпи и резерв 1-1,5 м, при которой
не требуется устройство въездов на земляное полотно. При отсыпке верхней части
насыпи с более высокой разностью отметок, когда необходимо устройство въездов и
съездов, работу продолжают по обычной эллиптической схеме. Таблица 3.3.
3.48. Зарезание грунта и заполнение ковша скрепера должны производиться
только при прямолинейном движении тягача и скрепера. Для облегчения набора
грунта в ковш скрепера, сокращения времени набора и достижения наибольшего
заполнения ковша следует: резание грунта производить при движении машины на
первой передаче, обеспечивающей максимальное тяговое усилие; резание грунта
производить по возможности под уклон; в глинистых грунтах применять
ребристо-шахматную систему, а в сухих песчаных грунтах - гребенчатую схему
зарезания грунта; регулировать положение заслонки во время резания грунта. 3.49. Работу скреперов
следует организовывать колоннами в шесть-восемь и более машин, что обеспечивает
лучшие условия работы скреперов и более полное использование сопутствующих
машин (рыхлителей, катков и др.). 3.50. При работе прицепных
скреперов на песках или на плотных и тяжелых грунтах, а самоходных скреперов -
во всех случаях скреперные колонны следует обеспечивать тракторами или
бульдозерами-толкачами соответствующей мощности, способствующими работе
скреперов при зарезании грунта. Количество скреперов,
обслуживаемых одним толкачом, назначают в соответствии с рекомендациями табл. 3.3. 3.51. Для сокращения
продолжительности рабочего цикла скрепера и повышения его производительности
следует: совмещать операции подъема заслонки и опускания ковша и закрытии
заслонки и подъема ковша, производя их по время движения скрепера; поднимать
ковш во время движения скрепера; транспортировать грунт в насыпь при движении
машины на III-V передачах, разгружать и укладывать грунт в насыпь
при движении по прямой и возвращать скрепер в резерв после разгрузки на IV и V
передачах; резание грунта производить с максимально возможной толщиной стружки,
принимаемой по табл. 3.4. В начале разгрузки ковш
должен быть опущен до просвета, равного толщине отсыпаемого слоя, а заслонка
поднимается до отказа. Не допускается разгрузка грунта кучами, расположенными в
одном месте. При движении скрепера с одновременным разравниванием слоя
создаются лучшие условия для уплотнения грунта и движения скреперов с повышенными
скоростями. Песчаные грунты следует
выгружать слоями 10-15 см, а глинистые - слоями 20-25 см. 3.52. Отсыпку слоя грунта
следует производить способом «от себя», чтобы использовать проезд груженого
скрепера для уплотнения ранее уложенных участков. По окончании выгрузки при
движении скрепера в пределах отсыпаемой насыпи ковш с закрытой заслонкой
следует оставлять на уровне выгрузки с целью выравнивания отдельных неровностей
отсыпки, а при съезде с насыпи - поднимать на 0,4-0,5 м, чтобы обеспечить проход
скрепера через возможные препятствия на пути. Таблица 3.4
Примечание. В числителе дана толщина
стружки, вырезаемой без толкача, в знаменателе - с толкачом. Разработка грунтов экскаватором3.53. Возведение насыпей из
боковых резервов экскаватором менее экономично, чем бульдозерами и скреперами.
Применение этого метода целесообразно при высокой влажности резервов и в других
случаях, когда использование других машин затруднено специфическими условиями.
Для возведения насыпей из боковых резервов используются, как правило,
экскаваторы с оборудованием типа драглайн. 3.54. При возведении насыпи
экскаватор может находиться как на самой отсыпаемой насыпи, так и на берме,
располагаемой между подошвой насыпи и внутренней бровкой резерва. Отсыпка
насыпи осуществляется из одного резерва наполовину ее ширины, а затем из
противоположного резерва на вторую половину ширины. При возведении насыпи из
грунтов высокой влажности послойное разравнивание и уплотнение грунта должно
осуществляться после соответствующего просушивания слоя. Разработка выемок и возведение насыпей землеройно-транспортными машинами3.55. Разработки выемок
землеройно-транспортными машинами с продольным перемещением грунта в насыпь в
едином технологическом процессе позволяет обеспечить высокую производительность
машин и рекомендуется во всех случаях, когда грунт из выемки пригоден для
отсыпки насыпи. ПОС должно быть предусмотрено
распределение земляных масс из выемок и насыпи с указанием мест разработки и
укладки грунта по пикетам и по слоям выемки и насыпи с учетом характеристик
состава и состояния грунта. При отрицательном грунтовом балансе и
неблагоприятных грунтах следует отдавать предпочтение более длинным захваткам
укладки грунта из выемки в насыпь с последующей досыпкой насыпи из
сосредоточенных резервов. Рис. 3.9. Разбивка
насыпи высотой более 1 м в горизонтальной местности: 1 -
разметочные колья; 2 - уровень; 3 - зеркало Рис. 3.10. Разбивка выемки: 1 - шаблон; 2-уровень;
.3 - лекало Для разработки и продольного
перемещения грунта применяют бульдозеры, скреперы всех видов, а также
высокопроизводительные комплекты землеройных машин непрерывного действия с
перемещением грунта транспортерами. Применение гидромеханизации для продольного
перемещения грунта описано в гл. 7. 3.56. Разбивку земляного
полотна при продольном перемещении выполняют по вынесенным на местность
пикетным знакам, знакам разбивки кривых и реперам на основании рабочих чертежей
на устройство насыпей и выемок. Разбивка выемки
осуществляется кольями, устанавливаемыми по бровке откосов, и откосными
лекалами, обозначающими уклон откосов, через 50 м на прямых участках и через
10-20 м - на кривых. В процессе разработки глубина выемок проверяется
нивелированием от реперов. Разбивка насыпи выполняется кольями,
устанавливаемыми по линии подошвы откоса с указанием высотных отметок, и
откосными лекалами (см. п. 3.25). В процессе возведения насыпи высотные
отметки промеряют нивелированием от реперов. Высотная и плановая разбивки
должны восстанавливаться через каждые 1-1,5 м по высоте насыпи по мере ее
наращивания. Схемы разбивки глубоких
выемок и высоких насыпей показаны на рис. 3.9, 3.10. Рабочая разбивка,
обозначающая направление и границы проходов землеройно-транспортных машин,
длину захваток, места разворотов, пути движения выполняется с помощью временных
колышков и инвентарных вешек, а также краевых борозд. 3.57. Разработку выемок с
перемещением грунта в насыпь на расстояние до 100 м рационально производить
бульдозерами. В целях повышении производительности машин разработку (кроме
песчаных грунтов с влажностью ниже оптимальной) выполняют траншейно-гребенчатым
способом (рис.
3.11). При этом разработку начинают с ближнего к насыпи конца выемки
и перемещают в дальний конец отсыпаемой слой насыпи. Гребни между траншеями
срезают, начиная с дальнего от насыпи участка, движением бульдозера под углом с
перемещением грунта по ранее выработанной траншее. После окончания разработки и
перемещения грунта одного слоя выемки в таком же порядке разрабатывают и
перемещают грунт нижележащих слоев. При разработке нижнего слоя
выемки сохраняют стенки крайних боковых траншей с целью перемещения по ним
грунта, срезаемого с полок на откосах выемки (рис. 3.12). 3.58. В целях снижения потерь
грунта при его перемещении по насыпи следует применять бульдозеры с открылками
на отвале или с отвалами совкового типа. Рис. 3.11. Траншейно-ярусная
схема разработки грунта: 1 -
ярусы разработки; 2 - слой отсыпаемой насыпи; 3 - траншея; 4
- стенки между траншеями Рис. 3.12. Последовательность
удаления стенок при разработке нижнего яруса и полос откосов выемки: 1-3
- ярусы; 4 - крайняя стенки; 5 - траншея; 6 - полки на
откосе; Целесообразна спаренная
работа бульдозеров, при которой вырезание грунта и его перемещение по двум
смежным траншеям в выемке производится одновременно двумя бульдозерами. После
перемещения вырезанного грунта на начальный участок насыпи бульдозеры должны
сблизится так, чтобы расстояние между отвалами не превышало 15020 см и в таком
же положении они на одной скорости должны производить дальнейшее перемещение
грунта общим валом к месту его укладки. При дальности перемещения
грунта бульдозером с отвалом без боковых открылков на расстояние более 25 м
резко возрастают потери грунта в пути. В таких случаях рекомендуется
последовательное перемещение грунта с образованием промежуточных накопительных
валов, в которых бульдозер может осуществить полный набор грунта для
дальнейшего перемещения. 3.59. Отсыпку каждого слоя в
насыпи следует начинать с крайних боковых полос с последующим приближением
полос отсыпки к оси дороги. При этом толщина слоя отсыпки должна
соответствовать заданной толщине технологического слоя с запасом на уплотнении
в 10-20%. Отсыпанный слой следует выравнивать автогрейдером. К концу смены
должен быть полностью отсыпан, выровнен и уплотнен слой грунта по всему
поперечному сечению земляного полотна, что обеспечивает сток воды в случае
выпадения атмосферных осадков. 3.60. Разработку выемок
протяжением более 100 м с транспортированием грунта в смежные с ними насыпи на
расстояние до 600 м выполняют прицепными скреперами, работающими с гусеничными
тягачами, а при расстояниях от 600 м до 1,5-3 км - полуприцепными скреперами,
работающими с колесными тягачами и самоходными скреперами. Типы применяемых,
скреперов должны соответствовать заданным темпам и объемам земляных работ (приложение 1). 3.61. При разработке выемки и
продольном перемещении грунта в насыпь движение скреперов организуют по
эллиптической схеме, обеспечивая их развороты без съезда с насыпи. В целях
предварительного уплотнения грунта проходы скреперов следует распределять
равномерно по ширине насыпи. Если грунт из выемки используют для возведения двух
насыпей, расположенных по обеим ее сторонам, целесообразно организовать
движение скреперов по сквозной схеме с разгрузкой грунта поочередно то в одну,
то в другую насыпи с разворотами на них. 3.62. При разработке грунта в
крупных выемках и сосредоточенных резервах с погрузкой его в транспортные
средства могут использоваться экскаваторы с оборудованием прямая лопата
(обратная лопата) или драглайн, грейдер-элеваторы, фронтальные погрузчики в
сочетании с бульдозерами, средства гидромеханизации (см. п. 7). Для транспортирования грунта
из выемок и сосредоточенных резервов в насыпи могут использоваться
автомобили-самосвалы, землеройные самоходные тележки-думперы, большегрузные
саморазгружающиеся землевозы, прицепные и полуприцепные с автотягачами. 3.63. Разработку грунта
одноковшовыми экскаваторами (прямыми и обратными лопатами или драглайнами)
производят проходками (забоями). Направление разработки, количество и параметры
проходок по ширине выемки или резерва устанавливают в соответствии с
геометрическими размерами выемки или рабочей зоны резерва и с оптимальными
условиями работы экскаваторов, предназначенных для выполнения работ (рис. 3.15).
Рис. 3.1 Схема продольной
разработки выемки 1 - выездная дорога; 2
- въездная дорога; 3 - разрезная траншея; 4 - забой I
экскаватора; 5 - забой II экскаватора; I, II, III, IV -
номера забоев 3.64. Параметры проходок
должны обеспечивать возможность работы ковшом экскаватора принятого типа с
наименьшими затратами времени на выполнение рабочего цикла экскавации,
состоящего из наполнения ковша грунтом, поворота к месту выгрузки и обратного
поворота его к забою. Для обеспечения указанного
требования принимают: ширину забоев с таким расчетом, чтобы экскаватор мог
работать при средней величине углов поворота не более 70°; глубину (высоту)
забоев не меньше длины стружки грунта, необходимой для заполнения ковша с
«шапкой» за один прием черпания; длину проходок с учетом возможно меньшего
количества вводов и выводов экскаватора в забой и из забоя, сопряженных с
потерями производительности машины; уклоны дна проходок, предпочитающие приток
и скопление в забоях грунтовых и поверхностных вод. 3.65. Разработку выемки или
резерва экскаватором с оборудованием прямая лопата начинают с отрывки пионерной
траншеи до отметки, позволяющей обеспечить нормальный набор грунта
экскаватором. Разработку пионерной траншеи
целесообразно осуществлять с применением бульдозера и скреперов. Бульдозером
также планируют пути подъезда транспортных средств к экскаватору. 3.66. Размеры проходок
(забоев) для разработки грунта экскаватором с оборудованием прямая лопата
рекомендуется принимать по табл. 3.5. 3.67. При разработке
экскаватором забоев, высота которых соответствует наибольшей высоте резания при
глинистых грунтах возможно образование нависающих козырьков, которые необходимо
немедленно обрушать, принимая все меры, обеспечивающие полную безопасность
выполнения этой операции. В сыпучих грунтах, в которых
опасность образования «козырьков» исключена, высота забоя может быть увеличена
сверх наибольшей высоты резания по табл. 3.4 на 1,5-2 м. 3.68. При разработке грунта
экскаваторами с оборудованием прямая лопата грунт следует вырезать максимально
толстой стружкой, но не допуская перегрузки и снижения оборотов двигателя
экскаватора. Резание грунта ковшом лопаты стружками наибольшей толщины
обеспечивается: наиболее выгодным наклоном ковша относительно продольной оси
рукоятки применительно к разрабатываему грунту и высоте забоя: передвижением
экскаватора за 1 раз по мере выработки забоя на величину не более 0,4 хода
рукояти и работой при вылете ее, не превышающем 2/3 полной величины. Таблица 3.5
Срезку грунта в уровне подошвы гусениц или колес экскаватора следует
вести так, чтобы для передвижения машины не требовалось дополнительного
выравнивания площадки. 3.69. При разработке выемок и
резервов экскаватором с оборудованием драглайн во всех случаях, когда состояние
грунта допускает движение транспортных средств по дну проходки, следует
применять челночный способ погрузки грунта (рис. 3.14), при котором углы
поворота платформы экскаватора не превышают 15°, а также исключается дополнительное
время на разгрузку ковша и реверсирование поворотного движения после разгрузки 3.70. Глубина забоя при
разработке экскаватором с оборудованием драглайн при угле наклона стрелы к
горизонту 30-45° не должна превышать величины, приведенной в табл. 3.6. При работе экскаватора с
оборудованием драглайн с погрузкой грунта в транспортные средства,
располагаемые в одном с ним уровне, максимальный угол поворота стрелы
изменяется в пределах 70-180°. Глубина забоя при этом, как
правило, должна быть не более 2/3 максимальной глубины разработки, приведенной
в табл. 3.4. 3.71. Разработка грунта
драглайном должна осуществляться с вырезанием стружки максимальной толщины, что
обеспечивается: регулировкой подвески ковша к подъемному и тяговому канату, а
также длины цепей и опрокидного каната в соответствии с характером и состоянием грунта с
целью обеспечения наиболее выгодного угла врезания режущих органов ковша; применением
ковшей полукруглой формы со сплошной режущей кромкой, которые предаются в грунт
с меньшим сопротивлением, чем ковши с зубьями; наиболее полным использованием
мощности двигателя при номинальном числе оборотов; передвижением экскаватора за
1 раз на длину, не превышающую 1/5 длины стрелы; применением перфорированных
ковшей при черпании грунта из-под воды. 3.72. Разработка выемок
одноковшовыми экскаваторами должна осуществляться с недобором грунта до
проектного очертания выемки во избежание нарушений естественной структуры
грунта в основании и на откосах выемки. Размеры недоборов грунта
принимают по табл.
3.7 в зависимости от вида оборудования и вместимости ковша
экскаватора. Объем недоборов входит в профильный объем выемки. Срезку недоборов
в основании и на откосах насыпи следует осуществлять бульдозерами,
автогрейдерами или экскаваторами-планировщиками с последующей погрузкой в
транспортные средства экскаватором или погрузчиком и вывозкой в соседние насыпи
или при невозможности этого в кавальер. Водоотводные канавы в выемках
целесообразно отрывать в процессе удаления недобора. 3.73. При разработке
значительных по протяженности и площади выемок или сосредоточенных резервов и
мягких связных грунтах и достаточно больших объемах работ, гарантирующих полную
сезонную загрузку машины, для разработки грунта и погрузки его в транспортные
средства может быть эффективно применен грейдер-элеватор. При этом разработку каждого
слоя выемки или резерва осуществляют круговыми проходами грейдер-элеватора от
оси разработки к ее краям. Длина прохода должна быть кратной длине загрузки
одной транспортной единицы. Рис. 3.14. Схема работы
экскаватора с оборудованием драглайн при загрузке автомобилей-самосвалов
грунтом челночным способом: 1 и 5 - ковш заполнен
грунтом; 2 и 4 - ковш поднят на высоту разгрузки, ковш опущен в
забой для заполнения грунтом; 3 - разгрузка ковша в момент прохождения
стрелы над кузовом автомобиля Таблица 3.6
Таблица 3.7
При смене транспортных единиц грейдер-элеватор продолжает движение без
остановки. 3.74. Во многих случаях,
особенно при несвязных или малосвязных грунтах, более эффективной в сравнении с
разработкой экскаватором является технология разработки и окучивания грунта в
выемках и резервах бульдозером с последующей погрузкой его в транспортные
средства колесными или гусеничными одноковшовыми погрузчиками. Целесообразно совместное
применение на таких работах бульдозеров мощностью 100 кВт (150 л. с.) и более,
погрузчиков с большой вместимостью ковша и большегрузных саморазгружающихся
транспортных средств. 3.75. Количество транспортных
средств, необходимых для перевозки грунта, определяют расчетом для каждого
конкретного случая с учетом фактических условий работы и дальности
транспортирования грунта в насыпь. 3.76. При выборе транспортных
средств для совместной работы с экскаваторами наилучшие технико-экономические
показатели достигаются при условиях, когда: вместимость транспортной
единицы, превышает вместимость ковша экскаватора в 3-4 раза; фронт погрузки у экскаватора
обеспечивает возможность одновременного подъезда к нему двух транспортных
единиц; состояние путей транспортирования
обеспечивает оптимально высокие скорости движения транспортных средств. Въезды и съезды на отсыпаемые
насыпи должны содержаться в состоянии, обеспечивающем полную безопасность
движения, по ним транспортных средств. 3.77. Разработку экскаваторами
глубоких выемок в условиях возможности вскрытия водоносных горизонтов следует
осуществлять по возможности в летний период при минимальном дебите грунтовых
вод. При этом, как правило, до наступления осеннего периода должны быть
выполнены все предусмотренные проектом мероприятия по устройству дренажей и
укреплению откосов. В осенне-весенний периоды
допускается разработка только верхней части глубоких выемок до горизонта,
расположенного не менее чем на 1,5-2 м выше уровня грунтовых вод первого
(сверху) водоносного горизонта. При этом по ширине выемку разрабатывают с
недобором не менее чем на 1 м с каждой стороны. Если по тем или иным причинам
разработка выемки до наступления зимы не закончена, необходимо предусмотреть
мероприятия по ее содержанию и период снеготаяния (прочистку временного
водоотвода, уборку снега и т.п.). При этом до начала зимы дно выемки тщательно
планируют и устраивают временный водоотвод. Работы по устройству дренажей
должны выполняться в процессе разработки выемок в едином комплексе. Особенности работ на косогорных участках3.78. До начала земляных
работ на косогоре выше верхней кромки разрабатываемой выемки должны быть
устроены нагорные водоотводные канавы, предотвращающие возможности стока воды
по косогору в разрабатываемую выемку. 3.79. Для обеспечения
устойчивости насыпи, отсыпаемой на косогоре, на площади подошвы насыпи до ее
отсыпки должны быть нарезаны уступы шириной 2-3 м. Их нарезает бульдозер с
поворотным отвалом, движущийся продольными ходами параллельно оси дороги,
начиная с нижнего уступа. После нарезки нижнего уступа
грунт из нарезанного вышележащего уступа, перемещенный на готовый нижний уступ,
распределяют равномерным слоем и уплотняют до начала отсыпки последующего слоя
насыпи. При возможности обрушения грунта с откоса разработку можно начинать с
верхнего уступа с перемещением грунта под откос. На пологих косогорах
крутизной менее 20° вместо нарезки уступов
допускается производить вспашку многокорпусным плугом. 3.80. Выемки на пологих
косогорах при крутизне менее 20° следует разрабатывать
бульдозером с поворотным отвалом, проходами под углом 45°
к оси дороги. При этом грунт перемещается в насыпь, начиная с ее нижней части и
обеспечивается его послойное разравнивание и уплотнение. На косогорах круче 20°
разработку выемки и отсыпку грунта в насыпь выполняют бульдозерами с
универсальными отвалами проходами параллельно или под углом 45% к оси. На косогорах крутизной до 8%
возможно применение скреперов при условии постоянной планировки бульдозерами
мест набора грунта, площадок разворота и мест выгрузки, на которых поперечный
уклон должен быть не более 5%. 4. УПЛОТНЕНИЕ ГРУНТОВОбщие положения4.1. Уплотнение грунта, из
которого сооружается земляное полотно, является важным технологическим
процессом, в результате которого достигается расчетная прочность, устойчивость
и стабильность дорожной конструкции. Возведение насыпей без
послойного уплотнения грунтов (катками, трамбовками и др.) допускается в особых
случаях: на болотах (ниже поверхности болота); и водоемах (подводная часть); методом
гидронамыва, из барханных песков. В перечисленных случаях в проекте должно быть
указано, каким методом вместо послойного уплотнения обеспечивается требуемая
стабильность насыпного грунта. 4.2. Плотность грунта
оценивается коэффициентом уплотнения Ку, который представляет
собой отношение фактической плотности грунта к максимальной стандартной
плотности данного грунта (ГОСТ
22733-77. Грунты. Метод лабораторного определения максимальной плотности). В земляном полотне
автомобильных дорог коэффициент уплотнения грунтов не должен быть ниже
значений, приведенных нормах проектирования автомобильных дорог (приложение 5).
В IV и V дорожно-климатических зонах проектом может быть предусмотрено
уплотнение слоев насыпи выше максимальной стандартной плотности. 4.3. Отсыпка грунта в насыпь
производится, как правило, от краев к середине слоями на всю ширину земляного
полотна, включая откосные части. В целях уплотнения грунта в краевых частях,
прилегающих к откосу, ширина отсыпки (см. п. 3.39) может быть больше
проектного очертания насыпи на 0,3-0,5 м с каждой стороны. Непосредственно
перед началом работ по укреплению откосов излишний грунт снимают при планировке
откосов и перемещают для досыпки обочин, устройства съездов, рекультивации
дорожной полосы. Таблица 4.1
Примечание: Значения пределов прочности соответствуют грунтам
с коэффициентом уплотнения 0,95 при оптимальной влажности. Насыпь не уширяют при отсыпке
из крупнообломочных и песчаных грунтов, не изменяющих существенно объема при
уплотнении, а также при сооружении высоких насыпей, где уплотнение откосов
предусмотрено и качестве отдельной операции, или насыпей с откосами 1:2 и
положе. Каждый слой разравнивают с
учетом продольного уклона поверхности насыпи. В поперечном сечении поверхность
слоя планируется под односкатный или двускатный профиль с уклоном к бровке
20-40‰. Поверхность каждого слоя должна быть выровнена так, чтобы после
уплотнения на ней не было углублений или возвышений более 50 мм и чтобы по
время дождя не образовывались лужи. Ровность поверхности слоев проверяют
визирками или нивелированием. 4.4. Каждый последующий
проход уплотняющей машины по одному следу не следует делать до тех пор, пока
вся ширина земляного полотна не будет перекрыта следами предыдущего прохода
уплотняющей машины (на насыпях шириной более 20 м допускается продольное
деление захваток). Особое внимание должно быть уделено уплотнению грунта на
участках съездов и въездов на дорогу (на длине 15-20 м по обе стороны) и на
концевых участках, в местах их примыкания к участкам, отсыпанным при
сосредоточенных работах. 4.5. Для уплотнения связных
грунтов возможно применять катки на пневматических нишах, кулачковые и
решетчатые прицепные катки; для уплотнения несвязных грунтов следует
использовать вибрационные и виброударные машины, катки на пневматических шинах. Уплотнение рыхлых, особенно
глинистых, грунтов следует производить двумя видами машин: предварительное
уплотнение (прикатка) массой 6-12 т и окончательное уплотнение - массой более
25 т. В процессе предварительного
уплотнения более легкими машинами следует выполнять до 30-40% общего потребного
количества проходов. 4.6. Наибольшая плотность
грунта может быть достигнута при применении машин, обеспечивающих максимальное,
допустимое по условиям прочности данного грунта, контактное давление на
поверхности (табл.
4.1). Контактные давления на протяжении всего процесса уплотнения
должны быть близки к пределу прочности грунта. При превышении предела
прочности могут возникнуть явления местного разупрочнения (волнообразование
перед колесами катков, выдавливание грунта в стороны при трамбовании). При
недостаточных контактных давлениях высокая плотность также не может быть
достигнута ни уменьшением толщины слоя, ни увеличением числа повторно
прилагаемых нагрузок. 4.7. Требуемая плотность
грунтов может быть достигнута при влажности, отличающейся от оптимальной не
более, чем указано в табл. 4.2. Таблица 4.2
Рекомендации по технологии сооружения земляного полотна из грунтов с
влажностью, более указанной и табл. 4.2, даны в гл. 8. 4.8. При влажности менее
допустимой (см. табл. 4.2) несвязные и малосвязные грунты
рекомендуется увлажнять в отсыпанном слое незадолго перед уплотнением. Связные
грунты, в которых перераспределение влаги идет медленнее, лучше увлажнять на
месте разработки (в карьере, выемке, резерве) после разрыхления. Для увлажнения
грунта можно применять поливо-моечные машины, разливая воду в несколько
приемов. При поливке на месте верхний увлажненный слой до уплотнения следует
перемешать вспахиванием или глубоким боронованием. В районах с систематическим
дефицитом влаги и проекте должны быть предусмотрены мероприятия по влагонакоплению
(снегозадержание, водосборы) и получению воды для полива (устройство скважин,
подготовка водоемов, установка насосов и т.п.) в местах выполнения земляных
работ. 4.9. При интенсивных
кратковременных дождях, приводящих к переувлажнению грунта, отсыпку и
уплотнение связных грунтов следует прекращать до их просыхания. В этом случае
принимают меры к ускорению просушивания грунта (рыхление, перевалка грейдерами,
бульдозерами и т.п.). Допускается удалять верхний переувлажненный после дождя
слой грунта и отвал с последующим его использованием в других местах. Перед перерывом в работе
поверхность и откосы насыпи должны быть уплотнены и спланированы так, чтобы не
допускать переувлажнение грунта от застоя воды на поверхности незаконченной
насыпи. При переувлажнении в отдельных местах грунт должен быть просушен до
возобновления работ или заменен грунтом оптимальной влажности. 4.10. При уширении земляного
полотна существующих автомобильных дорог путем примыкания вновь возводимой
насыпи к старой необходимо предварительно засыпать старые кюветы и послойно
уплотнить свежеотсыпанный грунт во избежание просадок проезжей части из-за
неравномерности земляного полотна. Степень уплотнения обратной засыпки старых
кюветов и других выработок должна быть аналогичной степени уплотнения уширяемой
насыпи на данном уровне от поверхности. 4.11. Для определения
оптимальной толщины уплотняемого слоя и установления числа проходов (ударов)
уплотняющих машин по одному следу, необходимого для достижения требуемой
плотности, перед началом работ по устройству насыпи следует производить пробную
укатку грунтов в соответствии с приложением 15. 4.12. Результаты пробной
укатки включаются в технологические карты на сооружение земляного полотна и
являются обязательными требованиями. Применение пробной укатки
позволяет заменить, пооперационный контроль путем инструментальных измерений
плотности и влажности технологическим контролем, в который входят определение
соответствия показателей состава и состояния грунтов и контроль за соблюдением
толщины слоя, числом проходов и равномерностью распределения проходов. Укатка4.13. В настоящее время
наиболее производительный и экономичный способ уплотнения земляного полотна -
укатка самоходными или прицепными катками. 4.14. Слой рыхлого связного
грунта, отсыпанного, например грейдер-элеватором, экскаватором-драглайном и
т.п., рекомендуется уплотнять в две стадии. В начале во избежание сдвигов и
образования волн грунта перед рабочими органами уплотняющей машины следует
сделать прикатку легким катком массой 6-12 т, а затем основную укатку - более
тяжелым катком массой 25 т более. Предварительная прикатка не
требуется, когда слой грунта отсыпается с регулированием движения транспортных
и землеройно-транспортных машин по всей ширине насыпи. Землевозный транспорт
выполняет первую стадию укатки до плотности около 0,9 от ее максимального
значения по стандартному уплотнению. В этом случае применяют уплотняющие машины
сразу тяжелого типа. Четкая организация совместной работы
землеройно-транспортных и грунтоуплотняющих машин позволяет обеспечить полное и
равномерное уплотнение грунта по всей ширине земляного полотна. 4.15. Катки на пневматических
шинах - наиболее универсальное средства уплотнения грунтов. Постепенное повышение
удельных давлений - одно из основных требований при уплотнении связных грунтов,
обеспечивающее получение плотной и прочной структуры грунта по всей толщине
слоя. Давление в шинах катков на начальном этапе уплотнения связных грунтов не
должно превышать 0,2-0,3 МПа. Давление в шинах на заключительном этапе
уплотнения должно соответствовать при уплотнении супеси 0,3-0,4 МПа, суглинков
- 0,6-0,8 МПа. При уплотнении песков давление в шинах на всех стадиях
уплотнения не должно быть более 0,2-0,3 МПа. 4.16. При предварительном
уплотнении грунта катком более легким нагрузка на каждое из колес должна быть
примерно в 2 раза меньше нагрузки на колесо основного, более тяжелого катка. Первый и последний проходы по
полосе укатки следует производить на малой скорости передвижения катка (2-2,5
км/ч), промежуточные проходы - на большой скорости (8-10 км/ч). 4.17. Для достижения
равномерности уплотнения грунта давление во всех шинах колес катка должно быть
одинаковым. Наиболее равномерную плотность, уплотняемого слоя насыпи
обеспечивают секционные катки, у которых пневматические колеса с отдельными
секциями бункера для балласта имеют независимую подвеску. 4.18. Уплотнение кулачковыми
катками эффективно для связных грунтов, когда грунты в начале уплотнения
достаточно рыхлы. Рекомендуются следующие оптимальные расчетные удельные
давления на опорную подвижность кулачков: Супеси
тяжелые пылеватые, легкие суглинки 0,7-1,5
МПа (7-15 кгс/см) Суглинки легкие пылеватые, суглинки тяжелые 1,5-4,0 » (15-40 » ) Тяжелые пылеватые суглинки, глины 1,0-0,0 » (40-60 » ) Указанные значения удельных
давлений относятся к грунтам оптимальной влажности. 4.19. Прицепные решетчатые
катки наиболее эффективны при уплотнении крупнообломочных и гравелистых
грунтов, грунтов с примесью мерзлых комьев, связных комковатых грунтов, так как
они дают хорошее размельчение и однородную плотность по всей толщине
уплотняемого слоя. Аналогичную область применения имеют сегментные катки,
эффективность которых обусловливается вибрационным воздействием на грунты. 4.20. Уплотнение грунта
прицепными кулачковыми и решетчатыми катками выполняется круговыми проходами по
рабочей захватке. Укатка грунта производится от края насыпи к ее середине (рис. 4.1)
с перекрытием полос уплотнения на 0,15-0,25 м. Для предотвращения обрушения
откосов и сползания катков под откос во время работы кромка пальца не должна
быть ближе 0,3 м от бровки отсыпаемого слоя. При укатке верхних слоев насыпи
высотой более 1,5 м прицепными катками на пневмоколесном ходу первый и второй
проходы следует выполнять на расстоянии 2 м от бровки насыпи, а затем, смещая
ходы на 1/3 ширины катка в сторону бровки, уплотняют края насыпи (рис. 4.2).
После этого укатку продолжают круговыми проходами от края к середине насыпи. Рис. 4.1. Схема работы
прицепных кулачковых катков: а - схема движения трактора с
кулачковыми катками; б - поверочный разрез; в - перекрытие полос
укатки; 1-8 - последовательность проходов; h -толщина слоя грунта; b -
ширина укатываемой поверхности Приближение рабочих органов
уплотняющих машин к бровке насыпи ближе 0,3 м (рис. 4.3) не допускается из
условий безопасности при любых методах уплотнения (кроме навесных трамбовок). 4.21. Для работы прицепных
катков целесообразные размеры захватки должны быть не менее 200 м по всей
ширине насыпи. Увеличение фронта укатки повышает производительность работы
прицепных катков. Однако при увеличении длины участка, подготавливаемого под
укатку, следует учитывать, что в сухую и жаркую погоду происходит интенсивная
потеря влажности грунтом. Рис. 4.2. Схема работы
прицепного катка на пневматических шинах: 1-10
- последовательность проходов Рис. 4.3. Схема уплотнения бровочной
части насыпи с учетом правил техники безопасности Рис. 4.4. Схема работы
тяжелой (масса 12-15 т) трамбующей плиты, подвешенной к стреле экскаватора: 1 - пружинный амортизатор; 2
- трамбовка; 3 - уплотненные слои грунта; 4 - уплотняемая полоса;
Ш - шаг передвижки экскаватора 4.22. При интенсификации и
увеличении темпов возведения земляного полотна уплотнение грунтов можно
осуществлять теми же катками, но перемещающимися со скоростями 10-15 км/ч. Это
потребует более мощных (на 50- 70%) базовых или тяговых средств, снижения
толщины отсыпаемых слоев на 30-40% и увеличение числа проходов по одному следу
не менее чем на 1/3. Трамбование4.23. Трамбование -
универсальный метод уплотнения, пригодный для большинства грунтов. Трамбование
применяют для уплотнения грунтов естественных оснований, при доуплотнении
существующих насыпей без их разборки, в стесненных местах. Этим способом можно
уплотнять грунт слоями большой толщины за один-два прохода машины. Метод
трамбования позволяет получить, плотность грунта значительно выше максимальной
стандартной, уплотнять грунт при влажности выше и ниже допустимых пределов.
Трамбование можно использовать для уплотнения прочных комковых грунтов, в том
числе и крупнообломочных. Рис. 4.5. Схема уплотнения
откоса насыпи виброкатком при использовании тракторной лебедки: 1 -
трактор, 2 - лебедка; 3 - кронштейн с блоком; 4 - канат; 5
- дополнительная колесная опора; 6 - виброкаток Рис. 4.6. Схема засыпки и
уплотнения грунта в траншее: 1 -
новая дорожная одежда; 2 - существующая дорожная одежда; 3 -
основная засыпка; 4 - защитный слой грунта; 5 - пазухи и
трубопроводы; I-II - стадии засыпки траншей 4.24. При выборе уплотняющей
машины следует отдавать предпочтение самоходным механизмам непрерывного
действия. Подвесные к экскаватору-крану трамбующие плиты могут быть применены,
если отсутствуют другие машины (рис. 4.4). При уплотнении слоев большой
толщины (1-2 м) для уплотнения грунтов пониженной влажности, а также для
достижения плотности грунта выше стандартной максимальной плотности
используются свободно падающие с высоты от 2-3 до 5-6 м трамбующие плиты массой
от 2-3 до 12-15 т, которые подвешиваются к экскаваторам-кранам соответствующей
грузоподъемности (для плиты массой 2-3 т необходим экскаватор с вместимостью
ковша не менее 0,5-0,7 м3, для плиты 12-15 т - не менее 1,25 м3).
При этом толщина уплотняемого слоя грунта равна примерно диаметру подошвы
плиты. Уточнение технологических
параметров трамбования производится по данным пробного уплотнения. С целью снижения динамических
нагрузок на экскаватор и предотвращения преждевременного износа его основных
механизмов между трамбующей плитой и подъемным канатом-тросом устанавливают
пружинную подвеску. 4.25. Рабочая скорость
перемещения трамбующей машины со свободно падающими плитами на
экскаваторе-кране зависит от вида и влажности грунта, а также толщины
уплотняемого слоя. Грунт при оптимальной влажности и толщине слоя, равной
примерно диаметру подошвы плиты, рекомендуется уплотнять за один проход машины
при скорости около 150 м/ч. 4.26. При использовании
трамбующих плит на экскаваторах-кранах ширину полосы уплотнения следует
принимать в пределах не более 1,5 радиуса действия стрелы. Трамбование рыхлого
глинистого грунта ведется в два приема - предварительное и основное уплотнение.
Предварительное уплотнение целесообразно выполнять с уменьшением в 2 раза массы
трамбовки или со снижением высоты падения в 4 раза. Предварительное уплотнение
грунта, при котором по одному следу наносится не более двух-трех ударов,
выполняется одновременно на трех-четырех полосах на всю их ширину. После этого
приступают к основному уплотнению тех же трех-четырех полос. Чтобы
предотвратить появление бугров, грунт трамбуют со смещением следа предыдущего
цикла на 0,2-0,3 диаметра подошвы трамбовки до тех пор, пока на каждой полосе не будет сделано
заданное число ударов. Во время трамбования необходимо сохранять постоянную
высоту подъема трамбовки в момент сбрасывания. На новую полосу уплотнения можно
переходить только после уплотнения предыдущей полосы. При выборе режима работы
трамбующих плит следует отдавать предпочтение сбрасыванию плит большей массы с
меньшей высоты. Для экскаваторов с ковшами вместимостью 0,5-1 м3 эта
высота, как правило, составляет 2-4 м. 4.27. По окончании уплотнения
верхний слой грунта толщиной 10-15 см, разрыхленный трамбованием, следует
уплотнять легкими ударами трамбовки с высоты 0,5 м или укаткой катками. Вибрационное уплотнение4.28. Вибрирование применяют
для уплотнения крупнообломочных, песчаных, несвязных и малосвязных глинистых
грунтов. Одномерные пески эффективно уплотняют только вибрированием. Прицепными и самоходными
виброкатками массой 4-5 т рекомендуется уплотнять грунт слоями 40-50 см,
катками с большей массой можно уплотнять песчаные грунты на глубину 60-80 см и
более. Количество проходов машины по одному следу при влажности грунта, близкой
к оптимальной, принимается равным четырем-пяти. 4.29. Для получения
оптимальной плотности грунта удельные давления вибромашины должны иметь следующие
значения: переувлажненные пески 30-40
МПа (300-400 кгс/см2); пески оптимальной влажности
60-100 МПа (600-1000 кгс/см2); супесчаные грунты оптимальной
влажности 150-200 МПа (1500-2000 кгс/см2); тяжелые супеси оптимальной
влажности 250-300 МПа (2500-3000 кгс/см2). 4.30. Вибрационные плиты
массой от 100 до 1000 кг целесообразны для уплотнения грунта в стесненных
условиях (засыпка труб, траншей) слоями от 20 до 60 см. 4.31. Прицепные виброкатки
работают в основном по круговой схеме движения, самоходные виброплиты -
челночным способом. Самоходные вибромашины
допускается применять на участках с продольными уклонами земляного полотна не
более 100‰ и поперечными уклонами не более 50‰. 4.32. Повышение эффекта
уплотнения несвязных грунтов вибрированием достигается при влажности грунта,
равной 1,1-1,2 оптимальной. В этом случае можно увеличить толщину уплотняемого
слоя на 20-30%. Однако увлажнять грунт до таких пределов рекомендуется только
при обеспечении хорошего отвода воды с поверхности уплотняемого слоя. При
отсутствии стока воды избыточное увлажнение песка недопустимо. Стесненные условия и другие особые случаи4.33. Уплотнение грунта в
стесненных условиях при засыпке водопропускных труб, опор и в конусах мостов и
путепроводов, при засыпке, траншей, котлованов следует производить с
применением уплотняющих средств вибрационного, виброударного или ударного
действия. Допускается уплотнять грунт у труб и устоев послойно катками на
пневматических шинах массой до 12 т с соответствующей толщиной слоев
поперечными по отношению к оси трассы проходами. При этом расстояние от края
вальца катка до поверхности трубы должно быть не менее толщины уплотняемого
слоя. Высота засыпки по сторонам трубы не должна отличаться более чем на один
слой. Засыпка трубы в целом должна опережать на один слой устройство насыпи на
прилегающей площади, при выполнении засыпки трубы одновременно с возведением
всей насыпи на данном участке. 4.34. Грунт должен отсыпаться
слоями, толщина которых назначается в зависимости от типа уплотняющей машины.
Чтобы предотвратить повреждение или сдвиг труб, фундаментов, устоев и других
инженерных сооружений от динамического воздействия при уплотнении грунта
тяжелыми трамбующими плитами расстояние от края следа плиты до опоры моста,
фундамента должно быть не менее 2 м, а до боковых стенок трубы - 3 м. Защитный
слой грунта над трубой, предварительно уплотненный другим, более легким
средством, в этом случае должен быть не менее 2 м. Часть насыпи вблизи
сооружений должна уплотняться с помощью легкого навесного уплотняющего
оборудования или легких катков. При засыпке железобетонных
труб следует наблюдать за сохранностью стыков, а гофрированных стальных - за
поперечными деформациями стенок. Они не должны превышать величин, указанных в
проекте. Расстояние от контура уплотняющей машины (или ее рабочего органа) до
стенки трубы не должно быть менее 30 см. 4.35. Для уплотнения откосов
земляного полотна могут быть применены катки и трамбовки, смонтированные в
качестве навесного или прицепного оборудования к кранам, кранам-экскаваторам,
экскаваторам с телескопической стрелой и гусеничным тягачом. 4.36. Наиболее простым
оборудованием является плоская трамбовка диаметром 1-1,5 м и массой 2-3 т,
подвешенная на подъемном и тяговом тросах к стреле экскаватора-драглайна,
движущегося вдоль бровки насыпи. Расстояние экскаватора от бровки насыпи
выбирают такими, чтобы тяговый канат был параллельным поверхности откоса, так
как в противном случае удары трамбовки не будут перпендикулярными. Чтобы получить равномерное
уплотнение, высота падения трамбовки должна оставаться все время одинаковой.
Уплотнение начинают с нижней части откоса, постепенно перемещаясь вверх, после
чего переходят на следующую полосу. При этом должно быть обеспечено перекрытие
на 0,1-0,2 м как соседних полос, так и отдельных следов уплотнения. Этот способ
применим при высоте насыпи до 4,5-5 м. При более высоких насыпях уплотнение
откоса таким способом выполняют после возведения каждых 4,5-5 м высоты насыпи,
а затем продолжают дальнейшую ее отсыпку. 4.37. При отсыпке насыпей на
несвязных или малосвязных грунтов откосы можно уплотнять прицепным вибрационным
катком, укрепленным на канате тракторной лебедкой (рис. 4.5) или смонтированным
на экскаваторе-драглайне. В тех случаях, когда уклон
откоса не круче 1:3, уплотнять грунт на откосной части насыпи можно
виброударной плитой на базе трактора грунтоуплотняющей машины, движущейся
сверху вниз. Уплотнение пологих откосов
прицепными (преимущественно вальцовыми катками) возможно с применением
удлиненных сцепных устройств. 4.38. Уплотнение грунта в
траншеях выполняется в две стадии (рис. 4.6): сначала засыпают и
соответствующими механизмами уплотняют пазухи у трубопроводов и защитный слой
грунта под трубой толщиной не менее 0,2 м, затем засыпают и механизированным
способом уплотняют остальную (основную) часть траншей после испытания
трубопровода. Послойно подбивку пазух и
защитного слоя у трубопровода следует производить ручным или навесным электро-,
мото- или пневмовибротрамбовками, размеры уплотняющих башмаков которых и самого
инструмента не превышает ширины пазух. Грунт основной засыпки
следует послойно уплотнять трамбующими, вибротрамбующими и вибрационными
машинами или рабочими органами, выполненными в виде сменного оборудования к
базовым серийно выпускаемым машинам, кранам, тракторам и экскаваторам (рис. 4.7).
Метод уплотнения и тип оборудования выбирают сообразно виду и состоянию грунта,
размеру траншеи, материалу труб, типу стыкового соединения и толщине защитного
слоя над трубой. Рис. 4.7. Уплотнение грунта
обратной засыпки траншеи: 1 -
экскаватор; 2 - подача силового питания; 3 - шарнирная подвеска
вибротрамбовки; 4 - вибротрамбовка; 5 - пружинный амортизатор Рис. 4.8. Схема
гидровибрационной установки для уплотнения несвязных грунтов: 1 - гидровибратор; 2, 3 -
шланги подачи воды в нижнее и верхнее сопло; 4 - экскаватор (кран); 5
- водяной насос; 6 - передвижная электростанция Ударное и интенсивное
виброударное воздействия на грунт траншеи возможно только в случае прокладки
металлических трубопроводов и при толщине отсыпаемого слоя грунта над ними не
менее 1 м. В других случаях следует применить самоходные или подвесные к крану
и экскаватору вибрационные плиты или кулачковые, решетчатые и вибрационные
катки на буксире к перемещающемуся вдоль траншеи челночным способом трактору. 4.39. В тех случаях, когда
земляное полотно из несвязных грунтов не может быть отсыпано послойно (при
пересечении болот глубоких обрывистых оврагов и т.п.), в ряде стесненных мест
(траншеи, прорези, колодцы), засыпанных песчаным грунтом, при устройстве
вертикальных песчаных дрен и несущих свай или дренажных траншей в земляном
полотне на болотах, а также при необходимости дополнительно увеличить плотность
грунта, укладываемого способом гидромеханизации, применяют
гидровиброуплотнение. Уплотнение ведется с помощью
подвесного глубинного вибратора, через центральную полость которого подается
вода под давлением 0,2-0,4 МПа в количестве 40-50 л на 1 м3 песка (рис. 4.8).
При этом вибратор остается включенным при погружении и подъеме, а вода подается
только при погружении. Воронки, образующиеся на поверхности насыпи после подъема
гидровибратора, должны быть засыпаны тем же грунтом и уплотнены. 4.40. При устройстве выемок
на макропористых просадочных (лёссовых) маловажных и очень влажных грунтах
применяют глубинное уплотнение (при толщине слоя макропористого просадочного
грунта от 4 до 15-20 м) и поверхностное уплотнение тяжелыми трамбовками (при
толщине слоя до 4 м). Глубинное уплотнение
осуществляют за счет вытеснения грунта в стороны при устройстве скважин тем или
иным способом. Образовавшиеся скважины засыпают местным глинистым грунтом
(супеси, суглинки) с его послойным глубинным уплотнением, которое выбирают и
выполняют в соответствии с техническими средствами. Дренирующие грунты (песок,
шлак и др.) для набивки скважин не допускаются. Поверхностное уплотнение
просадочных макропористых грунтов выполняется трамбовками массой от 6 до 12-15
т, диаметр основания которых назначают исходя из удельного статического
давления (в пределах 0,025- 0,035 МПа) и глубины уплотнения (1,2-1,3 диаметра
основания трамбовки). Высота сброса трамбующей плиты должна быть постоянной и
равной 5-7 м, необходимое
количество ударов - от 10 до 15. 4.41. Уплотнение насыпей из
крупнообломочного и скального грунта следует выполнять тяжелыми уплотняющими
средствами: катки на пневматических нишах с нагрузкой на колесо не менее 7,5 т,
решетчатые катки массой не менее 25 т, вибрационные катки массой не менее 6 т,
трамбующие и вибротрамбующие машины с ударным контактным давлением - 0,1 МПа и
более. При выборе уплотняющих машин
для скальных и крупнообломочных сыпучих грунтов (заполнители крупных обломков -
песчаный грунт) предпочтение отдают вибрационным каткам, трамбующим и
вибротрамбующим машинам. Крупнообломочные грунты со связным (глинистым или
суглинистым) заполнителем лучше уплотняются катками на пневматических шинах и
решетчатыми катками и трамбующими машинами. Число требуемых проходов
(ударов) машины устанавливают по величине суммарной осадки поверхности
уплотняемого слоя. Условием достижения требуемой плотности может служить
величина усадки 8-10%, а верхнего слоя - 10-12% от первоначальной толщины слоя.
Если требуемая осадка поверхности не достигается выбранным механизмом, его
заменяют белее эффективным. 4.42. Возведение насыпей из
одноразмерных песков характеризующихся низкой проходимостью, рациональней вести
в зимних условиях, а также в периоды наибольшего естественного увлажнения
грунта или при интенсивной поливке в летних условиях. Песок уплотняют
виброкатками, виброударными и трамбующими машинами. Для обеспечения проходимости
по верхнему слою земляного полотна следует устраивать «замыкающую» прослойку из
материалов типа высевок щебня (0-10 мм), гравийно-песчаных смесей,
разноразмерных крупных песков и пылеватых супесей оптимального состава или
близкого к этому составу шлаков, золошлаков или из грунтов, укрепленных
битумной эмульсией, жидкими битумами, сырой нефтью, известью, золой уноса н
т.д. Толщину замыкающего слоя принимают конструктивно равной 8-15 см на
минеральных материалов и 5-10 см - на укрепленных грунтов. 5. УСТРОЙСТВО ВОДООТВОДНЫХ И ДРЕНАЖНЫХ СООРУЖЕНИЙКанавы и кюветы открытого водоотвода5.1. В случаях, когда условия
производства работ позволяют сохранить сооружения открытого водоотвода в период
устройства насыпи или выемки, предусмотренные проектом канавы и кюветы следует
сооружать сразу после удаления почвенного слоя - до начала основных земляных
работ. Водоотводные сооружения
начинают разрабатывать с пониженных мест рельефа и на первом этапе работ
обеспечивают вывод из них накапливающейся воды. 5.2. Канавы глубиной до 0,7 м
нарезают автогрейдерами, бульдозерами с профильными отвалами, кустарниковыми
плугами, глубиной 0,7-1,5 м - канавокопателями плужного или роторного типов;
глубиной более 1,5 м отрывают многоковшовыми или одноковшовыми экскаваторами. 5.3. При устройстве канав на
косогорах вынимаемый грунт укладывают в виде призмы вдоль канавы с низовой
стороны. При устройстве боковых канав
в выемках грунт вывозят за ее пределы. В уширенных выемках грунт допускается
укладывать на закюветную полку с последующей планировкой и уплотнением. 5.4. Водоотводные канавы
укрепляют, как правило, немедленно после
их устройства. Наиболее распространенный вид
укрепления канав в обычных условиях (при скоростях течения поды 0,1-0,8 м/с) -
посев многолетних трав. Механизация укрепительных работ обеспечивается методом
гидропосева с помощью машины ДЭ-16. При скорости течения воды
0,8-3,0 м/сек водоотводные канавы укрепляют грунтом, обработанным вяжущими
материалами. Для механизации укрепления применяются машины на базовом тракторе
с бункерным распределелителем-укладчиком. 5.5. Для укрепления канав,
рассчитанных на скорость течения воды свыше 3 м/сек, применяются сборные
бетонные и асфальтобетонные плиты и лотки, монолитный цементобетон и
асфальтобетон. Монолитные конструкции
устраивают с помощью машин на базовом тракторе с боковым бункерным
распределителем-укладчиком. Сборные элементы водоотводных
конструкций укладывают вручную (при массе 10-12 кг) или краном. Стыки заделывают цементным
раствором или уплотняющими прокладками. При этом особое внимание должно быть обращено
на примыкание нижней поверхности лотков к стенкам и дну кюветов и канав. Для
этого лотки предварительно укладывают на маячные рейки и после установки
цепочки лотков в зазор между поверхностью лотков и грунтом подают песок, грунт
или цементный раствор. Перехватывающий и подкюветный дренаж5.6. Работы по устройству
дренажей включают следующие операции, подготовка трассы траншей, рытье траншей
с осушением и креплением стенок, подготовку основания под трубы с возведением
водонепроницаемого вертикального экрана в необходимых случаях, укладку и
засыпку труб фильтрующими материалами, заполнение траншей местным грунтом,
защиту дренажа от просачивания поверхностных вод. 5.7. Для начала рытья
дренажных траншей необходимо подготовить трассу: закрепить ось траншей
колышками и вешками, удалить пни камни, кустарники и прочее и спланировать путь
для землеройных машин. 5.8. Для рытья траншей
следует применять экскаваторы с обратной лопатой или траншейные. Эффективность
одноковшовых экскаваторов повышается при использовании профильных ковшей. 5.9. При поступлении
грунтовых вод с расходом больше 1 л/с траншею необходимо осушать с помощью
иглофильтровых водопонизительных или других насосных установок или создавать
замораживающие завесы. Боковые стенки траншеи крепят инвентарными щитами с
применением стоек и распорок. 5.10. При возможности
заглубления дренажа в водоупорный слой грунта на 0,2-0,5 м на дно траншеи
укладывают слои уплотненного щебня или гравия толщиной 5 см. Если водоупорный
слой находится на большой глубине и дренаж его не достигает, то в качестве
основания под трубы применяют гравийно-щебеночный слой, уложенный на слой песка
толщиной 10 см, или бетонную подушку. 5.11. При перехватывающем
дренаже во избежание просачивания воды в сторону земляного полотна вдоль
ближайшей к нему стенки траншеи устраивают водонепроницаемый экран из
уплотненной глины или рулонных изолирующих материалов. 5.12. В качестве дренажных
труб применяют керамические, асбоцементные с пропилами, трубофильтры,
пластмассовые трубы. При укладке в траншею и дренажных трубах протягивают
оцинкованную проволоку, необходимую для прочистки дренажных труб. Концы
проволоки закрепляют в смотровых колодцах. 5.13. Для наблюдения за
работой дренажа и прочистки труб через каждые 50-80 м, а также на всех переломах
дренажа в плане и продольном профиле устраивают смотровые колодцы из звеньев
железобетонных труб диаметром 1 м, которые монтируют краном. 5.14. Поверх уложенных
дренажных труб на высоту 30-40 см засыпают одноразмерный гравий или щебень
(сначала фракции 40-70 мм, а потом 5- 10 мм), затем до уровня грунтовых вод
средний или крупный песок. По поверхности песка укладывают
противофильтрационный замок, представляющий собой тонкий слой
водонепроницаемого материала или битумную пленку (норма разлива 4-5 л/м2).
Обсыпка из гравия или щебня может быть заменена обертыванием труб нетканым
синтетическим материалом типа дорнит. Верхнюю часть траншеи
засыпают местным грунтом, защищая его сверху от засорения и просачивания
поверхностных вод слоем уплотненной глины толщиной 15 см и поверх нее слоем
почвенного грунта. Разграничения вертикальных
слоев многослойных заполнителей в дренажной колонке достигается при помощи
щитков, поднимаемых по мере заполнения колонки. Для засыпки траншей применяют
бульдозеры, оборудованные открылками, для уплотнения песка и местного грунта -
электровибраторы. По мере засыпки траншей разбирают крепления стенок. 5.15. Открытые лотки в местах
примыкания к дренажам укрепляют сборными элементами или мощением камнем с
заливкой швов цементным раствором. Лоток укрепляют по длине не менее 2 м. 5.16. При устройстве
подкюветного дренажа в мокрой выемке иглофильтры устанавливают в процессе ее
разработки, не доходя 2-3 м до проектной отметки выемки. Шаг иглофильтров
устанавливают расчетом. Осушение места работ начинают после разработки выемки с
недобором 10 см. Откосный дренаж5.17. Присыпной откосный
дренаж целесообразно размещать, чтобы его нижняя часть была расположена на
полке. При этом должна быть обеспечена водонепроницаемость основания под дренажными
трубами путем устройства экранов из перемятой глины, грунта, обработанного
вяжущими, или вязкого битума. Устройство откосного дренажа
начинают сразу же после разработки соответствующего яруса выемки. Сначала возле
подошвы откоса роют траншею глубиной 0,3-0,5 м, дно и откосы которой тщательно
изолируют, оставляя выпуск для низа водоносного горизонта. В траншею укладывают
трубофильтры или перфорированные асбоцементные трубки с обратным фильтром.
Далее отсыпают проектные слои откосного дренажа и верхний защитный слой с
планировкой поверхности и укреплением ее гидропосевом трав (см. п. 6.29). 5.18. Горизонтальные
дренажные трубы располагают у подошвы откоса в выемке или подошвы ее отдельных
ярусов следующим образом: при глубине выемок до 4 м - в один ряд на высоте 0,5
м от подошвы, при глубине более 4 м - в два ряда. Расстояние между рядами
скважин по высоте принимают равным расстоянию между скважинами при однорядном
их расположении. Для установки труб бурят горизонтальные скважины. Дренажные
трубы устанавливают до устройства защитных слоев (см. пп. 5.19-5.22), после отсыпки и
планировки которых сооружают окончательные выпуски. Для отвода воды на полках
следует устраивать лотки из сборных железобетонных элементов или грунта,
укрепленного вяжущими. Дренирующие, гидроизолирующие и капилляропрерывающие прослойки5.20. Первый слой грунта
поверх гидроизолирующего слоя должен отсыпаться на толщину не менее 0,25 м по
способу «от себя» и разравниваться распределителями или бульдозерами. После
того как первый слой будет уплотнен, дальнейшую отсыпку разрешается производить
обычным способом. Нарушение гидроизолирующего
слоя и процессе укладки на него грунта не допускается. Движение транспортных
средств по нему запрещается. 5.21. На непучинистых
участках допускается применять гидроизолирующую прослойку из битумогрунта. При
этом поверхность обрабатываемого грунтового слоя должна быть тщательно
спрофилирована. Обработка слоя толщиной не менее 8-10 см может быть выполнена
дорожной фрезой или однопроходной грунтосмесительной машиной. Гидроизолирующая
прослойка может быть также устроена из грунта или песка, обработанного битумом,
в передвижной или стационарной грунтосмесительной установке. 5.22. Дренирующие и
капилляропрерывающие слои из нетканых синтетических материалов должны
устраиваться, начиная с низовой (по отношению к направлению стока воды)
стороны. Полотнища материала следует укладывать внахлестку с перекрытием на 0,1
м или сшивать механизированным способом. Первый слой грунта поверх
нетканого синтетического материала должен отсыпаться толщину не менее 0,25 м в
уплотненном состоянии по способу "от себя" и разравниваться
распределителями или бульдозерами. 5.23. При устройстве
гидроизолирующих и капилляропрерывающих слоев необходимо проверять качество
планировки и соответствие поперечных уклонов проектным, герметичность швов
полотнищ гидроизолирующего слоя через каждые 100 м дороги. 6. ПЛАНИРОВОЧНЫЕ, ОТДЕЛОЧНЫЕ И УКРЕПИТЕЛЬНЫЕ РАБОТЫ, РЕКУЛЬТИВАЦИЯ НАРУШЕННЫХ ЗЕМЕЛЬПодготовительные работы6.1. Перед началом укрепления
откосов или других грунтовых поверхностей необходимо выполнить подготовительные
работы: очистку, планировку, выравнивание берм, уплотнение, рабочую разбивку. 6.2. Планировка
осуществляется путем срезки грунта. Планировка подсыпкой на взрыхленную
поверхность разрешается как исключение только на малых площадях при условии
последующего уплотнения. Выбор машин для планировки и
уплотнения поверхности производится в соответствии с табл. 6.1. Снятый при планировке откосов
излишний грунт целесообразно использовать в верхнем слое земляного полотна (при
его пригодности) или для засыпки обочин, для чего следует применять машины и
приспособления, перемещающие срезанный грунт вверх. 6.3. При планировке срезкой
грунта с перемещением вниз на первом этапе следует выравнивать надоткосные
площадки, оформляя бермы в соответствии с ранее выполненной разбивкой.
Сопряжение поверхности откоса с горизонтальной поверхностью выполняют на
заключительном этапе планировки. 6.4. Планировку откосов
насыпей или выемок высотой до 3,5 м следует осуществлять двумя-четырьмя
проходами тяжелого автогрейдера или бульдозера с откосниками и удлинителями
отвала. Срезаемый с откоса после каждого прохода указанных машин грунт следует
использовать для рекультивации боковых резервов или собирать в штабеля для
перемещения в обочины насыпи, на съездах и др. Срезаемый грунт при его
накоплении не должен мешать водоотводу. 6.5. Планировку откосов
высотой до 6 м следует осуществлять откосопланировщиком типа ЭО-3332 с нижней
стоянки, а откосов высотой до 12 м - с верхней и нижней стоянок. Ширина
планируемого участка с одной стоянки машины должна быть не более 2 м, а
перекрытие смежных участков - 0,3- 0,5 м. Таблица 6.1
6.6. Для планировки откосов высотой 6-10 м применяют экскаватор-драглайн
с навесным оборудованием в виде двухотвального скребка, планировочной рамы
трапецеидальной формы или планировочного ковша. При необходимости планировки
откосов высотой более 10 м возможна совместная работа указанных экскаватора и
автогрейдера, который планирует нижнюю часть откоса продольными проходами.
Планировку откосов высотой более 12 м необходимо выполнить в процессе
устройства каждого яруса. 6.7. При отсутствии
необходимого оборудования серийных типов возможно выполнять планировку откосов
простейшими приспособлениями, например с помощью рельса, цепи (диаметр звена
200-250 мм), гусеничного полотна, протягиваемого на тросах по поверхности
откоса двумя тракторами, один из которых движется по верху, а другой - по
подошве откоса. При этом верхний трактор должен двигаться на 5-6 м впереди
нижнего, но с одинаковой с ним скоростью. 6.8. Откосы крутизной 1:1,75
и положе следует планировать с помощью бульдозеров, перемещающихся по откосу
сверху вниз с принудительно опущенным отвалом (при гидравлическом управлении)
или задним ходом снизу вверх с отвалом, свободно опущенным на грунт (при
канатном управлении отвалом). В процессе планировки откоса
бульдозером его отвал не должен наполняться грунтом более чем на 2/3 высоты. 6.9. Поверхность откоса
насыпи при высоте более 2 м следует уплотнять одновальцовым виброкатком типа
ДУ-14 (Д-480А), подвешенным к стреле экскаватора-драглайна типа ЭО-6111Б,
двумя-четырьмя проходами снизу вверх. Каток поднимается подтяжным тросом,
экскаватор передвигается на новую захватку с перекрытием прежней на 0,2-0,3 м.
Коэффициент уплотнения должен составлять не менее 0,05 стандартной величины. 6.10. Подготовительные работы
при укреплении откосов выемок из легковыветривающихся скальных пород включают
грубую планировку поверхности, отвод напорных грунтовых вод, расчистку площадки
за верхней бровкой откоса, установку анкеров, навешивание и крепление
арматурной сетки, отчистку откоса от пыли и грязи. Перед началом работ за
верхней бровкой откоса необходимо расчистить от кустарника, деревьев и грунта
делювиального слоя площадку шириной 2-3 м и пробурить здесь шпуры диаметром
20-30 мм для установки и омоноличивания несущих анкеров. Монтажные анкеры
устанавливают в местах перелома поперечного профиля откоса. Монтажные и несущие анкеры
должны выступать над скальной поверхностью на 4-5 см для крепления арматурной
сетки, а также для контроля за толщиной слоя защитной или несущей конструкции в
качестве "маячков". Монтаж арматурной сетки
необходимо начинать сверху, прикрепляя края каждого рулона к стержням несущих
анкеров. Постепенно опуская рулон, следует разматывать сетку и прикреплять ее
электросваркой, вязальной проволокой или с помощью монтажных шайб и гаек к
анкерам, чтобы плотно притянуть ее к поверхности откоса. Устройство конструкций укрепления6.11. Основные
технологические процессы устройства конструкций укрепления из естественных
прорастающих материалов должны включать заготовку (при необходимости)
почвенного грунта, его распределение и планировку, приготовление рабочей смеси
из семян и удобрений, их распределение, полив после посева и в последующий
период. 6.12. Рабочую смесь из семян
и удобрений для гидропосева приготавливают на специально организованной базе,
где должны иметься складские помещения для хранения семян и удобрений, емкости
для хранения пленкообразующих материалов, вибросита с ячейками 10´10 мм для просеивания опилок или установка для измельчения соломы, весы
для семян и удобрений, грузоподъемные средства для заправки рабочей смесью
гидросеялки. Таблица 6.2
Расход материалов для одной заправки в зависимости от вместимости
цистерны гтдросеялки материала, а также укрепляемая при этом площадь откосов
приведены в табл.
6.2. Заправка гидросеялки осуществляется при включенной системе
перемешивания. 6.13. Почвенный грунт распределяют
на установленную проектом толщину сразу после планировки поверхности откосов,
как правило, с помощью машин и оборудования, используемых при планировочных
работах. Более предпочтительна схема работ, по которой почвенный грунт
завозится на обочину и распределяется сверху. Сухие откосы перед
распределением растительного грунта необходимо предварительно увлажнять. 6.14. Посев трав с помощью
гидросеялок типа ДЭ-16 производят двумя проходами машины вдоль подошвы откоса
или бермы, добиваясь равномерного распределения смеси. Скорость движения автомобиля
необходимо подбирать опытным путем в зависимости от длины откоса. На откосах
высотой 10-12 м смесь распределяют при кратковременных остановках гидросеялки
через 20-25 м, на откосах высотой от 12 до 24 м - с верхней и нижней стоянок
гидросеялки, поворачивая гидромонитор в горизонтальной плоскости по дуге 80-100°,
а в вертикальной плоскости в пределах ±40°
от горизонтали, обеспечивая посев по всей длине откоса на ширину 10-12 м. Следует предупреждать
стекание смеси с откоса и образование ручьевой структуры. Рационально места заправки
гидросеялок располагают на середине укрепляемого участка с радиусом действия
машин не более 10 км. При этом производительность гидросеялки будет достигать
5000 м2 за смену. 6.15. При укреплении откосов
насыпей и выемок, сложенных легковыветривающимися скальными породами,
гидропосев следует производить по обнаженной (раскрытой) поверхности,
представленной делювиальными грунтами, на откосах насыпи - по защитному слою,
предварительно уложенному на поверхность откоса, на экран из вязкого битума или
синтетического текстильного материала. 6.16. Основные
технологические процессы укрепления откосов искусственными материалами должны
включать: приготовление рабочих смесей (цементо-бетон, грунт, обработанный
вяжущими, мелкозернистая сухая бетонная смесь), вывозку на откосы рабочих
смесей, щебня, железобетонных блоков для упорной призмы, сборных бетонных,
железобетонных и асфальтобетонных плит элементов решетчатых конструкций,
укладку и уплотнение (нанесение) рабочих смесей и щебня, монтаж блоков, плит и
сборных решетчатых конструкций, заполнение ячеек решетчатых конструкций
рабочими смесями, растительным грунтом, щебнем. Бетонные блоки упорной призмы
должны быть заблаговременно распределены вдоль, траншеи краном грузоподъемностью
6,3 т на расстоянии 1,5 м oт нее. Щебень для устройства
основания под блоки следует выгружать из транспортных средств на расстоянии
1-1,5 м от бровки траншеи через каждые 12-13 м. 6.18. Щебень распределяют в
траншее вручную слоем толщиной 11-12 см и планируют по визирной рейке,
контролируя шаблоном толщину слоя, а затем уплотняют послойно ручными
трамбовками типа ИЗ-4502. 6.19. Установку блоков на
каждом участке протяженностью 10-15 м следует окончательно выверять в плане по
шнуру и в профиле с помощью визирок, помещенных с обоих концов блока. 6.20. Швы в стыках между
блоками следует заполнять цементо-песчаным раствором состава 1:2. Для омоноличивания стыков
раствором следует применять портландцемент, марка которого на одну ступень выше
марки цемента, используемого при изготовлении плит. Черед каждые 10-15 м
необходимо устраивать швы расширения, в которые закладывают строганые доски
толщиной 15-20 мм. Монтажные петли на блоках следует отгибать или срезать. После, установки сборных
железобетонных блоков и заполнения цементным раствором пазухи упорной призмы
засыпают щебнем фракции 40-70 мм, уплотняя его послойно (слоями толщиной 10 см)
ручными трамбовками. 6.21. При устройстве упорной
призмы следует придерживаться следующих допусков относительно проектных
размеров: глубина траншеи - ±10%, ширина ее ±5
см; толщина слоя щебеночной подготовки ±10%; положение блоков в плане после
установки, превышение одного блока над другим на стыках и величина зазора между
блоками ±5 мм. 6.22. После установки
бетонного упора на него следует нанести размеры элементов укладываемой
прямоугольной конструкции и перенести их на поверхность откоса по образующим,
перпендикулярным к опорной линии, с обозначением осевых линий разбивочными
колышками. Для решетчатых конструкций с диагональным расположением элементов
разбивку осуществляют по диагонали ячеек. Элементы конструкций следует
укладывать снизу вверх. Сменная захватка должна соответствовать участку откоса,
укрепленного на полную высоту. При монтаже решетчатых
конструкций треугольной конфигурации элементы следует наращивать рядами. Необходимое удлинение верхних
рядов на криволинейных участках (конусах путепроводов) следует компенсировать
путем увеличения зазоров и стыках. Ромбическую конструкцию следует монтировать
в диагональном направлении снизу вверх. 6.23. После укладки элементов
решетчатых конструкции их следует объединить в узлах покрытыми битумом
металлическими штырями диаметром не менее 10 мм и длиной не менее 0,5 м или
скобами, которые должны быть забиты вручную. Для железобетонных сваек
предварительно бурят отверстия данного диаметра и глубины мотобуром типа Д-10. Стыки необходимо
омоноличивать цементным раствором (состав 1:2) после окончания монтажных работ.
Бетонные поверхности в стыках смачивают предварительно водой, затем уплотняют
штыковкой и поверхность заглаживают мастерком. 6.24. После монтажа
решетчатых конструкций ячейки необходимо заполнить предусмотренным проектом
материалом, который подают автомобильным краном. Почвенный грунт, щебень и
цементогрунт на откосах высотой до 6 м и крутизной 1:1,5 следует сдвигать с
обочины и разравнивать откосопланировщиком типа ЭО-3332, затем досыпать нужный
материал или выбрать лишний вручную. Толщина слоя цементогрунта и
щебня в ячейке должна на 2-3 см превышать высоту сборного элемента (запас на
уплотнение). После планировки цементогрунт и щебень необходимо уплотнять
ручными трамбовками. 6.25. При гидропосеве трав
непосредственно в грунт откоса сборные элементы решетчатой конструкции должны
быть уплотнены в предварительно разрыхленную поверхность откоса на глубину
10-15 см. 6.26. Сборные железобетонные
плиты изготовляют и доставляют к месту укладки централизованно. При
транспортировании плиты следует укладывать плашмя на деревянные прокладки,
которые должны обеспечивать свободное расположение монтажных петель. 6.27. До начала монтажа плит
бетонный упор устанавливают по технологии, описанной в пп. 6.17-6.21. Плиты укладывают
на щебеночное основание, которое устраивают путем распределения и уплотнения на
поверхности откоса слоя щебня, предварительно заготовленного у бровок насыпей и
выемок. С помощью бульдозеров щебень сталкивают вниз и равномерно распределяют.
Уплотнять слой щебня следует катками типа ДУ-14 (Д-480А), работающими совместно
с экскаватором-драглайном типа ЭО-6111 Б. 6.28. Укладка щебня при
отрицательных температурах разрешается только на откосе из несмерзшихся
несвязных грунтов. При этом щебень следует укладывать в сыпучем состоянии;
мерзлые комья размером более 5´5 см следует дробить или
укладывать. Монтаж плит следует вести
рядами снизу вверх по поверхности откоса в такой последовательности; краном
плиту снимают с автомобиля или берут из штабеля и стрелой грубо наводят на
место укладки; затем опускают ее вниз так, чтобы подошва оказалась на 3-5 см ниже поверхности
уже уложенных смежных плит; движением стрелы плиту направляют так, чтобы ее
поперечная грань, соприкасались с поперечной гранью уложенной плиты, движением
стрелы на себя уменьшают до минимума зазор в продольном шве между укладываемой
и уложенной плитами; затем плиту опускают на щебеночное основание таким образом,
чтобы она коснулась ее одновременно всей подошвой без перекосов. 6.30. Укреплять откосы
монолитными бетонными покрытиями следует по щебеночной подготовке и арматурной
сетке. Для подачи бетонной смеси на поверхность откоса используют краны,
оборудованные бункерами с затворками. Распределять смесь по поверхности следует
откосопланировщиками типа ЭО-3332, работающими с верхней и нижней стоянок. Смеси следует уплотнять
двумя-тремя проходами виброрейки, продвигаемой по направляющим, выставленным с
помощью геодезических приборов. 6.31. Укреплять откосы
асфальтовыми матами следует после предварительной обработки грунтовой
поверхности химическими веществами для уничтожения растительности. Для укладки
матов используют краны с прямоугольными траверсами. Маты необходимо укладывать
с перекрытием на 7-8 см. Швы заделывают битумной мастикой. 6.32. Для устройства
погребенных экранов или гибких битумных мембран на поверхность откоса наносят
равномерный тонкий слой битума с помощью автогудронатора с выносной трубой или
оборудованного выносными форсунками на гибких шлангах. После застывания битума
на поверхности откоса необходимо распределять грунт защитного слоя с помощью
экскаватора-драглайна, бульдозера или откосопланировщика ЭО-3332. Использовать
бульдозеры можно только после засыпки битумного экрана слоем грунта толщиной не
менее 0,3 м. 6.33. Рабочие смеси для
укладки методом пневмонабрызга приготавливают из цемента, песка, щебня или
гравия. Сухие смеси должны быть использованы и течение 2-4 ч с момента их
приготовления. Смеси выгружают из автомобилей-самосвалов в накопительные
бункера или на металлические листы (по избежание попадания грунта или скальной
породы) с последующей перегрузкой в бункера бетон-шприцмашины типа СБ-67А или
СВ-66, обеспечивающих их смешение с водой, подаваемой от насосной станции,
укладку и уплотнение. Добавки-ускорители
схватывания и твердения цемента в рабочие смеси для пневмонабрызга следует
вводить вместе с водой затворения. 6.34. В связи с линейным
характером укрепительных работ на объектах транспортного строительства комплект
машин и механизмов для пневмонабрызга рекомендуется размещать на санях или на
автоприцепе, предусмотрев возможность получения электроэнергии и воздуха от
электростанций и передвижных компрессорных установок. 6.35. Основные операции на
поверхности скального или грунтового откоса рабочие выполняют, находясь в
специальной подвесной люльке на выносной стреле шарнирных автогидроподъемниках
МШТС-2А (3А). Рабочий управляет соплом, шарнирно закрепленным в люльке, 6.36. Процесс пневмонабрызга
следует начинать с увлажнения через сетку подготовленной скальной поверхности с
помощью воздушно-водяной струи. Расстояние от среза сопла до
укрепляемой поверхности должно составлять 0,9-1,1 м, а струю бетона следует
направлять перпендикулярно к поверхности откоса. Для равномерного слоя
защитного покрытия оператор в процессе набрызга должен перемещать сопло
одновременно вкруговую и в горизонтальном направлении. Толщина образуемого слоя
обратно пропорциональна скорости таких перемещений. В первую очередь следует
заполнять углубления на поверхности и выравнивать «рваный» профиль выемки.
Монтажная сетка должна быть утоплена в набрызг-материале. Толщина слоя
облицовки над сеткой - не менее 20 мм. Пневмонабрызг следует осуществлять по
возможности непрерывно. 6.37. Песчаные откосы и
придорожные полосы в районах песчаных пустынь укрепляют разливом жидких вяжущих
материалов в следующем порядке: приготовление на стационарной базе жидких
вяжущих материалов; доставка вяжущих материалов к месту работ; приготовление
рабочего состава; распределение рабочего состава (медленно распадающаяся
битумная эмульсия) по закрепляемой поверхности. 6.38. Агрегат для розлива
эмульсий должен состоять из тягача (трактора типа ДТ-75), размещенного на нем
разбрызгивателя в виде дождевального аппарата и мотопомпы (пожарного автомобиля
со сменными шлангами длиной до 250 м и брандспойтом), приемной цистерны
вместимостью 10-15 м3, установленной на пневмоколесной тележке,
сцепленной с тягачом. Площадь розлива с одной стоянки составляет около 3 га. Уход за конструкциями укрепления6.39. При длительной
засушливой погоде после гидропосева необходимо организовать искусственный полив
(2-4 м3 воды на 100 м2 поверхности за один раз) в течение
5-10 дней. На участках размыва и редкого
травостоя следует произвести повторный посев трав. 6.40. В начальный период
твердения облицовок на основе цемента необходимо предохранять их от
соприкосновения с текущей водой в течение первых двух недель, поддерживать
поверхность облицовок во влажном состоянии путем розлива пленкообразующих
материалов до набора конструкцией укрепления 70% расчетной прочности. Омоноличенные стыки сборных
решетчатых конструкций целесообразно покрывать пленкообразующими материалами. 6.41. Свеженанесенную
защитную набрызг-облицовку рекомендуется увлажнять распыленной струей воды не
менее 2 раза в сутки при 20°С и не менее 4 раз при 30°С.
В ветреную погоду число увлажнений следует увеличить в 1,5 раза. Контроль качества укрепительных работ6.42. Плотность грунта на
откосах контролируют путем отбора проб в центре образующей откоса и на
расстояние 1 м от бровки и подошвы земляного полотна. Точки контроля плотности
размещают не менее чем через каждые 200 м длины насыпи высотой до 3 м. При
высоте насыпи более 3 м контроль точности выполняют через каждые 50 м. Контроль
плотности грунтов на откосах производят, как правило, ускоренными методами. 6.43. Отметки бровок откосов
и их расстояние от оси дороги проверяют нивелированием и мерной лентой. Отклонения от проектных
размеров не должны превышать допускаемых величин, приведенных в гл. 14. 6.44. Качество дерна,
полученного через 2-3 мес. после травосеяния на откосах земляного
полотна, следует определять по его толщине (толщина дернины должна быть 5-12
см) и количеству побегов на учетной площадке размером 20´20 см2. Минимальное количество побегов должно быть не меньше
20 для степной, 10 для лесостепной и 60 для лесной зоны. 6.45. При приемке сборных
железобетонных плит размером 1´1 и менее не допускаются
плиты с отклонением длины, ширины и толщины от проектных размеров более чем на
5 мм, а также, плиты с трещинами, раковинами, наплывами, обнажением арматуры
или без монтажных петель. 6.46. Плита или элемент
сборной решетчатой конструкции считаются уложенными правильно, если продольные
и поперечные швы совпадают, ширина швов между смежными плитами не превышает 0,5
см, а уступ между плитами (элементами) составляет не более 1 см. При нарушении
этих требований плита (элемент) должна быть поднята и после устранения причин,
вызвавших нарушение ровности конструкции или прямолинейности швов, вновь
уложена. 6.47. Изменение толщины слоя
щебня при заполнении ячеек решетчатой конструкции не должны превышать ±10%. 6.48. Готовое защитное
покрытие из цементогрунта и набрызг-бетона не должно иметь на поверхности
трещин, отслоений и других деформаций; прочность покрытия должна быть не ниже
предусматриваемой проектом. Набрызг-материалы
неудовлетворительного качества (смывы, отслоения выкрашивание и т.д.) удаляют
сразу же после их нанесения, после удаления набрызг-материалов дефектные места
площадью более 0,05 м3 очищают, промывают и снова заделывают
пневмонабрызгом. Рекультивация при земляных работах6.49. По окончании работ по
возведению земляного полотна на отдельном участке дороги должны быть выполнены
работы по рекультивации всех временно-занимаемых земель, нарушенных при
земляных работах, в том числе площадей, выработанных боковых и сосредоточенных
резервов грунта; временных землевозных и объездных дорог; участков, нарушенных
размещением стоянок и маневрированием в процессе работ землеройных машин и
транспортных средств; участка временного размещения жилых и хозяйственных
сооружений личного состава производственных подразделений. 6.50. Восстановление
нарушенных земель для сельскохозяйственного использования предусматривает выполнение
двух этапов: 1 - технического, состоящего
из приведения нарушенных площадей в порядок с приданием им требуемых уклонов,
планировки, нанесение требуемого слоя плодородного растительного грунта; 2 - биологического,
состоящего из восстановления структуры и плодородия почвы посредством и
организации правильной обработки, культивации почвенного слоя и правильного
севооборота. Технический этап
восстановления нарушенных земель должен осуществляться за счет сметы на
строительство дороги силами строительной организации. Биологический этап
восстановления нарушенных земель осуществляется землепользователем в процессе
сельскохозяйственного использования земель после окончания технического этапа и
передачи ему восстановленных площадей по соответствующему акту. 6.51. Работы по техническому
этапу восстановления временно занимаемых земель должны выполняться в
соответствии с требованиями земельного законодательства не позднее чем в
месячный срок после завершения работ на этих землях, исключая период
промерзания земли. 6.52. Требования и
технические условия, определяющих характер и состав работ по восстановлению
нарушенных земель в зависимости от дальнейшего их использования (например, под
посевы сельскохозяйственных культур, под лесопосадки для устройства водоемов и
т.п.) устанавливаются землепользователем или землеустроительными органами при
согласовании отвода земель во временное пользование. 6.53. В соответствии с
характером использования восстанавливаемых земель в проекте должны быть
установлены: величина предельных уклонов
восстанавливаемых площадей и откосов, обеспечивающая нормальную работу
сельскохозяйственных машин или машин лесного хозяйства; минимальная толщина
восстанавливаемого плодородного почвенного слоя; необходимость укрепления
восстанавливаемых площадей путем засева многолетними травами; необходимость обеспечения
водоотвода на пониженных местах восстанавливаемых площадей; необходимость создания на
восстанавливаемых площадках водоемов, их глубина, возможность спуска воды,
укрепление берегов и др. 6.54. На восстанавливаемых
участках земель плотины, водоспуски шандорные трубы, водоотводные сооружения
стоят по проектам, разработанным специализированными проектными организациями. 7. ГИДРОМЕХАНИЗАЦИЯ ЗЕМЛЯНЫХ РАБОТОбщие положения7.1. Гидромеханизация - это
непрерывный технологический комплекс механизированных процессов и технических
приемов земляных работ, связанных с разработкой грунтов, их транспортированием
и укладкой в тело сооружений, в штабеля или в отвал гидравлическими методами и
обеспечивающих высокую производительность труда и снижение себестоимости работ.
Указанная технология должна назначаться при соответствии грунтов выбранному
методу разработки, при наличии удобно расположенных резервов или карьеров или
песчаных и супесчаных грунтов и источников водоснабжения (реки, озера, водоема
и т.п.), а также при возможности использования промышленного энергоснабжения
(преимущественно - от линий энергосистем). 7.2. В дорожном строительстве
гидромеханизация особенно эффективна при крупных и концентрированных объемах
земляных работ (более 200 тыс. м3) для намыва в штабеля грунта,
предназначенного для возведения насыпей, для выполнения крупных объемов
сосредоточенных земляных работ, при намыве подходов к строящимся крупным мостам
при сооружении дамб или вскрышных работах в карьерах дорожно-строительных
материалов. 7.3. При
гидромеханизированных работах для сооружения дорожного земляного полотна
преимущественно применяется разработка грунта в водоемах землесосными снарядами
с гидротранспортом пульпы к месту намыва на расстоянии до 2 км. Гидротранспорт
на большие расстояния, как правило, требует перекачки пульпы, что существенно
увеличивает стоимость работ и может быть эффективен лишь в особых условиях
(отсутствие ближайших резервов, бездорожье и т.п.). 7.4. Работы по
гидромеханизации земляных работ, как правило, выполняют специализированные
организации. Подготовительные работы для гидронамыва насыпи земляного полотна
автомобильных дорог, как правило, должны выполнять дорожно-строительные
организации, которые обеспечивают также технический контроль качества земляного
полотна при намыве насыпи. Технология гидронамыва7.5. К подготовительным
работам относятся: удаление леса, корчевка пней, снятие плодородного слоя почвы
и общая подготовка карьеров к разработке, разбивка намываемых сооружений,
устройство пионерной траншеи и пионерного котлована для ввода земснаряда,
постройка при необходимости эстакады для пульпопровода и дренажных колодцев,
установка на картах намыва грунтомерных реек для контроля объема выполненных работ,
подводка электроэнергии и т.п. При использовании плавучего
земснаряда в порядке выполнения подготовительных работ поверхность подводной
части забоя должна быть очищена от крупных камней, пней и других предметов,
которые могут вызвать засорение всасывающей линии. 7.6. Производство
сосредоточенных работ по гидронамыву земляного полотна или подходов к
искусственному сооружению должно быть увязано с планом-графиком строительного
объекта в целом и опережать общий темп строительного потока земляного полотна автомобильных
дорог или моста. 7.7. При выборе способа
гидромеханизированной разработки необходимо определить величину объемной массы
грунта, по которой можно судить о степени его уплотнения, влажность и
пористость грунта, его гранулометрический состав, что характеризует степень
трудности разработки и пригодность грунта для возведения земляного полотна
гидромеханизацией. 7.8. При
гидромеханизированных работах должны соблюдаться требования к качеству намыва.
К ним относятся пригодность грунта по гранулометрическому составу распределение
его в теле насыпи по фракциям, скорость намыва, расположение, глубина и объем
отстойных прудов. Поверхность недостроенной
насыпи перед длительным перерывом в работах должна быть спланирована для
исключения возможности застоя воды. 7.9. При разработке грунта в
затопленных забоях или подводной разработке используют плавучие землесосные
снаряды. Комплексная бригада на этих
работах должна состоять из трех звеньев: по обслуживаю земснаряда, обслуживанию
перекачивающей землесосной установки и по намыву грунта. На рабочем месте звена
по обслуживанию земснаряда должен находиться оперативный запас сменных
быстроизнашиваемых частей. 7.10. Рабочие перемещения
землесосных снарядов в забое (папильонирование) выполняет бригада,
обслуживающая земснаряд. Для папильонирования землесосные снаряды оборудуют
свайно-троссовыми устройствами для крепления (заанкерования) машины при
перемещении. Разработку суглинистых и
глинистых грунтов следует вести только послойно с папильонированием на полную
ширину прорези. При особо тяжелых грунтах толщину разрабатываемого слоя за одну
папильонажную проходку принимают исходя из условия полной загрузки рыхлителя. 7.11. При разработке
земснарядом глинистых грунтов необходимо производить в зоне всасывания
предварительное их рыхление механическим режущим органом (фрезерные,
роторно-ковшовые рыхлители) или гидравлическим способом (струей под большим
напором). При работе земснарядов без
рыхлителя на рыхлых песчаных грунтах необходимо обеспечить достаточную и
возможно большую высоту забоя, так как чем она выше, тем выше
производительность машины. Разработку подводного забоя следует вести по его
подошве, а после обрушения массива (при этом происходит разрушение структуры
грунта и смешивание его с водой) подбирать грунт всасывающей трубой с большей
производительностью и зачищать забой для последующей подрезки. Глубина разработки грунта
плавучими земснарядами должна быть не менее величин, приведенных в табл. 7.1. 7.12. Для гидронамыва насыпи
из мелкозернистых и пылеватых песков необходимо иметь не менее двух смежных
карт, на одной из которых производят намыв, а на другой (поочередно) -
обезвоживание грунта в результате фильтрации поды. Таблица 7.1
Рис. 7.1. Схема организации
работ при двустороннем безэстакадном намыве насыпи: 1 - земснаряд; 2 -
плавучий пульпопровод; 3 - устройства для подключения плавучего
пульпопровода к магистральному; 4 - магистральный пульпопровод; 5 -
пульпопереключатель; 6 - распределительный пульпопровод; 7 -
боковые призмы; 8 - ядро насыпи; 9 - кран (гусеничный) для
перемещения пульпопровода; 10 - прудок-отстойник; 11 -
водосборные колодцы; 12 - направление движения пульпы; 13 - трубы
для наращивания распределительных пульпопроводов; 14 - водосборные
трубы; 15 - бульдозер Насыпи из гравелистого песка
или грунто-гравийной смеси, а также из крупного и средней крупности песков
можно намывать на картах без перерывов в работе для обезвоживания грунта. Обвалование карт как
начальное, так и в процессе намыва выполняют бульдозерами. При этом наружный
откос вала грунта должен иметь крутизну, соответствующую крутизне проектных
откосов сооружения. 7.13. При гидронамыве насыпи
из мелкозернистых песков необходимо обеспечивать быстрый и полный отток воды;
всякая задержка приводит к образованию водяных мешков в теле насыпи, что может,
в свою очередь, привести к разуплотнению грунта. Каждый участок намыва должен
иметь самостоятельный водосброс. В зависимости от размеров
насыпи и условий сброса осветленной воды участок намыва должен иметь длину
100-300 м. Отдельные участки намыва могут быть расположены уступами, высоту
которых определяют в проекте. 7.14. При гидронамыве
необходимо непрерывно следить за тем, чтобы грунт непрерывно уплотнялся под
действием оттока воды. Песчаные насыпи, возводимые
гидронамывом, обычно не требуют дополнительного уплотнения. Если используются
мелко зернистые пески, то для повышения плотности насыпи (до Ку=1,05
во II и III дорожно-климатических зонах) рекомендуется
дополнительно их уплотнять при помощи виброфлотации и гидровибрационным
способом. Следует учитывать, что равномерная осада песков возможна только на
ровном и равнопрочном основаниях. Насыпи необходимо намывать с
запасом на осадку: 1,5% высоты насыпи при намыве из смешанных (супесчаных,
суглинистых) грунтов и 0,75% при намыве из песчаных и песчано-гравийных
грунтов. 7.15. Насыпи, особенно на
дорожных работах, следует намывать, как правило, безэстакадным способом (рис. 7.1)
или с низких инвентарных эстакад. При эстакадном способе намыва
насыпи элементы деревянных эстакад, а также части деревянных конструкций,
поддерживающих пульпопроводы и лотки при намыве с высоких эстакад, оставляют в
теле земляного полотна, что должно быть обосновано в проекте организации
строительных работ. Верхнюю часть стоек и раскосов эстакады необходимо отрыть и
срезать на глубине не менее 1 м от проектной отметки насыпи, так как они могут
загнивать и создавать неровность поверхности земляного полотна. При намыве
насыпи с инвентарных мелких эстакад высотой до 2 м стойки следует извлекать на
тела насыпи. Применение того или иного
способа (безэстакадного или эстакадного) должно быть обосновано в проекте
организации работ. 7.16. Намыв насыпей при
эстакадном способе следует начинать от краев карты, для чего пульпу направляют
к краям по разводящим лоткам. Глубину отстойного прудка на карте регулируют
шандорами колодца в зависимости от крупности фракций грунта. Намыв регулируют
открытием и закрытием выпусков разводящего пульпопровода, установкой
распределительных лотков, а также установкой переносных направляющих щитов. 7.17. При намыве насыпей
высотой более 2 м рекомендуется применять безэстакадный торцовый тонкослойный
способ намыва. Применение этого способа обеспечивает снижение затрат на
лесоматериалы и сокращает трудовые затраты на подготовительные работы,
обвалование, укладку пульпопроводов и т.п. Вместе с тем применение безэстакадной
технологии намыва требует обязательного наличия машин для выполнения всех
вспомогательных работ. При намыве указанным способом
подходов к крупным мостам необходимо предотвратить возможность растекания
пульпы по затяжному уклону в местах примыкания к береговым устоям, для чего у
берегового устоя следует создавать различные задерживающие устройства (боковые
и торцовые открылки-стенки, обвалование и т.п.). 7.18. Водоотводный колодец
следует устраивать в центре карты. Сечение кольца рассчитывают на максимальный
расход пульпы, подаваемой на карту. Для отвода воды из колодца устраивают
штольню с уклоном дна не менее 50 ‰ в низовую сторону. Штольня и водоотводный
колодец должны иметь стенки из водонепроницаемых материалов и не пропускать
воду в местах сопряжения. Водоотводные колодцы на
намытых участках насыпи разбирают на глубину не менее 1 м от верха насыпи, а
оставляемые в теле насыпи нижние части колодцев замывают дренирующим грунтом. 7.19. Гидронамыв насыпей из
мелкозернистых песков зимой не допускается, при отрицательных температурах
отток воды из этих песков практически неосуществим. 7.20. При использовании
гидромеханизации для намыва уширений земляного полотна дорожно-эксплуатационной
организации необходимо следить за правильной укладкой и переносом пульпопровода
вдоль откоса старой насыпи, иначе возможна утечка пульпы и возникновение в этих
местах прудков с длительной задержкой воды, в результате чего в теле насыпи
могут образоваться плывуны. Необходимо принимать меры
против размыва откосов намываемых насыпей и водоотводных канав. Для ускорения
оттока воды из тела насыпи могут быть применены иглофильтры, устанавливаемые в
откосах. Разработка грунта7.21. При разработке выемок
для земляного полотна автомобильных дорог с выполнением планировочных работ можно
допустить отклонения от проектного профиля не более величин (в метрах),
указанных ниже: Глубина.................................................................................... ±0,2 Ширина.................................................................................... ±0,5 Положение
оси........................................................................ ±0,2 Рис. 7.2. Схема установки
гидромонитора: а - перемещение по верху
забоя; б - перемещение по подошве забоя Перемыв земляного полотна по
ширине допускается до 0,2 м; досыпка грунта при недомыве не допускается; откосы
планируют с плавным переходом к проектному очертанию. 7.22. При разработке грунтов
гидромеханизированным способом необходимо периодически (1-2 раза в смену) проверять
соответствие грунтов требованиям проекта и отсутствие в грунтах включений
растительных остатков и корней деревьев. Кроме того, для проверки пульпы и
сбрасываемой воды необходимо также периодически определять процент содержания в
них грунта и его гранулометрический состав. На возводимой насыпи дорожной
организацией должны быть установлены наблюдения за качеством укладки грунта
(распределение, плотность). 7.23. При разработке грунта
гидромониторами способ размыва зависит от характера грунта и определяется
проектом производства работ. Разработку грунта при помощи гидромониторов
осуществляют по одной из схем: встречным забоем или попутным забоем. Первой
схеме отдается предпочтение. Целесообразно в забое
устанавливать два гидромонитора, из которых один разрабатывает грунт, а другой
перемещает его на новую позицию; расстояние между гидромониторами должно быть
равно половине ширины забоя. Шаг передвижки в среднем 6 м. Из условий безопасного
ведения работ в зависимости от вида разрабатываемого грунта гидромонитор
следует устанавливать от забоя на следующих рекомендуемых расстояниях: при
разработке песчаных грунтов - 0,8 его высоты, глин и суглинков - 1 и
лёссовидных и пылеватых грунтов - 1,2. 7.24. При разработке выемок
гидромониторы следует устанавливать в забое на уровне отметки основной площадки
или на уровне бровки выемки. В первом случае грунт подрезают у подошвы забоя с
обрушением и размывом верхней его части, во втором случае вначале выполняют
разработку траншей по оси забоя на длину одной передвижки гидромонитора (16-22
м), а затем размывают остальную часть забоя (рис. 7.2). Ширину забоя в
выемке назначают из расчета не более 20-30 м на каждый гидромонитор. Разработку выемки следует
начинать с той стороны, где будет обеспечен сток пульпы в требуемом направлении
намыва насыпи, следующей за выемкой или в отвал. Грунт, обрушенный в забое,
необходимо смывать, начиная с ближайшего к пульпопроводной канаве участка,
равномерно, чтобы поступающая к зумпфу пульпа имела постоянную консистенцию. Не
следует сразу проталкивать большую массу грунта силой струи к зумпфу, так как
при этом канава и зумпф забиваются. Камни, мешающие размыву и транспортированию
пульпы, необходимо периодически убирать. 7.25. Если в месте перехода
трассы через полную преграду берег песчаный и его согласно проекту необходимо
срезать или устроить струенаправляющее обвалование, размыв берега следует
производить гидромониторами с дальнейшим транспонированием пульпы самотеком по
лоткам и канавам или с перекачиванием пульпы из приемного зумпфа, куда стекает
пульпа от забоя, землесосными установками. Размеры зумпфа должны рассчитываться
на обеспечение бесперебойной работы землесосной установки в течение 1-2 мин в
случае перерыва поступления пульпы. Если по местным условиям не
представляется возможным разработать пионерную траншею в каменном или гравийном
карьере с заполнением его водой из водотока, то разработка грунтового резерва
или карьера целесообразна с применением гидромонитора. При этом следует следить
за консистенцией пульпы, т.е. степенью насыщения потока грунтом. Чем больше
грунта содержит поток пульпы, тем выше производительность всей установки. Кроме
того, необходимо обеспечить подачу воды от насосной станции к гидромонитору под
большим давлением (0,4-1,2 МПа). 7.26. Для обеспечения
необходимой скорости течения пульпы от забоя до пульпоприемника подошве забоя
должны быть приданы следующие уклоны: Глинистый
грунт............................... 1,5% Супесь и
мелкий песок..................... 2-2,5% Песок
средней крупности................ 3% » крупный.................................. 5-6% » гравелистый........................... не
разрабатывают при помощи гидромониторов 7.27. Перемещение грунта при
производстве работ средствами гидромеханизации осуществляют при помощи воды.
При необходимости подать пульпу к карте намыва, в отвал на большие расстояния
(1,5-2 км) или на подъем следует применить напорный гидротранспорт, который
осуществляют по трубам при помощи землесосных снарядов. При необходимости
подачи пульпы на расстояние свыше 2 км устраивают перекачивающие станции. Пульпопроводы укладывают по
заранее намеченной трассе без крутых поворотов и переломов. Перед пуском, а
также перед остановкой землесосной установки пульпопровод следует промывать
водой; то же необходимо выполнять при закупорке трубы. Напорный пульпопровод
плавучих землесосных снарядов в пределах водоема необходимо укладывать на
поплавках, оборудованных надежными перилами и трапами для прохода
обслуживающего персонала. При наличии необходимого
уклона на трассе, т.е. когда отметка подошвы забоя достаточно превышена над
местом укладки грунта, допускается безнапорный самотечный гидротранспорт. В
этом случае в пониженных местах на пульпопроводе должны устанавливаться сборные
выпуски с заглушками, а в повышенных - воздушные вантузы. 7.28. Для
гидротранспортирования грунта необходимо создавать такую минимальную скорость
потока (т.е. критическую), при которой частицы грунта не будут выпадать в
осадок. Для транспортирования песка эта скорость потока должна быть 2-2,5 м/с,
для песчано-гравийных смесей-3-4 м/с, а при наличии в пульпе включений крупного
гравия - 6-8 м/с. Критическая скорость зависит от удельной массы пульпы - при
более высокой консистенции пульпы критическая скорость транспортирования должна
повышаться. Вместе с тем, чем больше в пульпе крупных включений частиц грунта,
тем больше должна быть скорость потока. Однако при повышении скорости транспортирования грунта увеличивается
потребление энергии и повышается износ трубы или лотка. Возникающие в трубах,
лотках и в канавах сопротивления движению пульпы определяют появлением местных
и линейных потерь напора. При этом большое значение имеет, в частности,
обоснованный выбор оптимального диаметра труб пульпопровода:
Резкие повороты магистральных пульпопроводов (как и лотков) не
допускаются; радиусы поворота должны быть не менее трех-шести диаметров трубы. 7.29. Трубопровод, подводящий
воду к гидромонитору и землесосным установкам, во избежание заливания следует укладывать в
стороне от предполагаемого русла потока пульпы. Для водоснабжения указанных
работ применяют насосные станции, оборудованные центробежными насосами. Водоснабжение
осуществляют по одной из наиболее распространенных схем: прямого водоснабжения
(с однократным использованием воды), водоснабжения с кругооборотом и подпиткой
свежей водой. Второй схеме - замкнутой системе водоснабжения - обычно отдают
предпочтение. Особо важно правильно
организовать сброс воды. Учитывая требования охраны окружающей среды, необходимо
обеспечить сооружение отстойников для слива воды и после осветления допускать
ее сброс. 8. Сооружение земляного полотна в условиях повышенной влажности грунтовОбщие положения8.1. К грунтам повышенной
влажности следует относить грунты, которые в период укладки их в насыпь, или
разработки в выемке имеют влажность выше оптимальной, определенной по ГОСТ
22733-77 «Грунты. Метод лабораторного определения максимальной плотности». 8.2. Грунты повышенной
влажности могут быть использованы при условии достижения к моменту окончания
строительства дороги требуемой прочности и устойчивости земляного полотна.
Плотность грунтов в земляном полотне не предъявленной к сдаче в эксплуатацию
дороги должна соответствовать нормативным требованиям (приложение 5). При разработке дополнительных
мероприятий следует учитывать: вид грунта и изменение его свойств при изменении
влажности; несущую способность естественных оснований и насыпей слоев;
изменение влажности при уплотнении во времени под действием собственного веса
(консолидации); изменение влажности в результате естественного просушивания или
влагонакопления (с учетом погодных условий в период производства земляных
работ); возможность осушения и укрепления путем введения в грунт инертных или
активных добавок. 8.3. Общие ограничения,
установленные действующими нормативными документами на использование в верхней
части земляного полотна глинистых и пылеватых грунтов из условий обеспечения
прочности и стабильности (независимо от их состояния), действительны и для
грунтов повышенной влажности. 8.4. При земляных работах в
грунтах повышенной влажности особо важное значение имеют меры по предупреждению
или максимально возможному снижению дополнительного увлажнения грунта
атмосферными осадками, поверхностными или грунтовыми водами. 8.5. В ППР должны быть учтены
специфические особенности грунтов повышенной влажности, которые оказывают
влияние на выбор землеройных, транспортных и уплотняющих машин, их
производительность, проходимость машин по построенным дорогам, эксплуатацию
переменных сооружений и т.п. 8.6. При выборе мест
получения грунтов для земляного полотна и определении способов производства
земляных работ следует учитывать влажность грунта в предусмотренной ПОС
сезонный период земляных работ. Прогноз расчетной влажности выполняют с учетом
количества осадков, условий влагонакопления, глубины промерзания, расчетного
уровня грунтовых вод, средней температуры воздуха. Расчетные уровень грунтовых
вод и количество осадков принимают с повторяемостью 1 раз в десять лет. 8.7. Во всех случаях
применения для возведения земляного полотна грунтов повышенной влажности (кроме
песчаных грунтов допустимой степени переохлаждения) следует учитывать снижение
производительности машин при разработке, перемещении и уплотнении. Выбор машин осуществляется на
основе технико-экономического сравнивания с учетом ограниченной проходимости. 8.8. С учетом комплекса физико-механических
свойств, определяющих выбор конструкции и технологии сооружения земляного
полотна, глинистые грунты по степени переувлажнения делятся на четыре категории
(табл. 8.1) Таблица 8.1
Грунты допустимой степени переувлажнения применяют в насыпях
автомобильных дорог без специальных ограничений, но с учетом конструктивных и
технологических особенностей, вытекающих главным образом из недостаточной их
прочности и уменьшения производительности машин. Грунты средней степени
переувлажнения допускаются для насыпей автомобильных дорог при условии
получения в процессе укатки Ку не менее 0,9 и возможности последующего уплотнения в процессе
консолидации до требуемой плотности. Грунт высокой и избыточной
степеней переувлажнения можно укладывать в насыпь при условии их естественного
просушивания или осушения активными добавками до влажности, отвечающей
допустимой или средней степени переувлажнения. 8.9. При уплотнении способом
консолидации длительность технологического перерыва до сооружения постоянного
покрытия определяется в проекте индивидуальным расчетом. При соответствующем
технико-экономическом обосновании проектом может быть предусмотрено стадийное
строительство дорог III и IV категорий с эксплуатацией на
первой стадии при неполном уплотнении земляного полотна или его основания с
учетом выполнения впоследствии послеосадочного ремонта. 8.10. Степень переувлажнения
характеризуется превышением фактической влажности грунта W над
оптимальной влажностью W0, определенной по ГОСТ
22733-77, и выражается коэффициентом
Для характеристики грунтов в
естественном залегании, когда отсутствуют данные стандартных испытаний на
максимальную стандартную плотность, оптимальную влажность, можно определить
ориентировочно по выражению W0=aWт, где Wт - влажность на границе
текучести, определенная по ОСТ 5183-77 «Грунты. Метод лабораторного определения
границ текучести и раскатывания»; a - коэффициент, равный для
песков и супесей 0,75-0,70, суглинков 0,60-0,55, глин 0,50-0,45. 8.11. Категории грунтов по
степени переувлажнения разграничиваются влажностями, значения которых приведены
в табл. 8.2. Таблица 8.2
Примечания. 1. Значения допускаемой влажности даны для коэффициента
уплотнения Ку=1,0+0,98; для Ку =0,95 они
могут быть повышены на 10% (кроме суглинков тяжелых и глин). 2. Значения влажности максимального водонасыщения даны для поверхностных
слоев четвертичных пород ненарушенной структуры. 8.12. При влажности грунта
выше оптимальной максимально возможную плотность грунта можно считать
достигнутой, если содержание воздуха в порах (V0) не будет превышать: Для песков 8% » супесей................................... 6% » суглинков............................... 3% » глин......................................... 4% Наибольшая возможная
плотность сухого грунта для данной влажности
где gу - плотность частиц грунта,
г/см3 (и ориентировочных расчетах может быть принята: для песков,
супесей легких и легких пылеватых 2,67; супесей тяжелых, суглинков легких 2,70;
суглинков тяжелых 2,72); Dв - плотность воды в грунте,
г/см3 (Dв»1);
Va и W выражаются в
долях единицы. Таблица 8.3
8.13. Связные грунты повышенной влажности после их укладки в насыпи при
определенных условиях консолидируются. Величина предельной пороговой
нагрузки Р0 на грунт, с которой начинается процесс
консолидации, обусловлена структурной прочностью грунта, проявляющейся в
условиях компрессионного сжатия. Значения Р0 при различных
коэффициентах переувлажнения приведены в табл. 8.3. 8.14. Дополнительное
уплотнение связных грунтов повышенной влажности под статической нагрузкой,
превышающей предельную пороговую Р0, растянуто во
времени и обусловлено совместным проявлением фильтрационного сжатия поровой
жидкости и ползучести скелета грунта. Консолидационные
характеристики глинистых грунтов повышенной влажности определяют по
общепринятой методике на образцах заданной плотности и влажности. Технология производства работ8.15. При наличии грунтов
повышенной влажности можно выполнять следующие работы по сооружению земляного
полотна: устройство сооружений для дренажа и водоотвода; разработку грунтов в
выемках и резервах с перемещением их в насыпь; сооружение насыпей, и том числе
с устройством осушающих прослоек и с осушением добавками; складирование грунта
в насыпных бермах, банкетах, отвалах; укрепление откосов; устройство
противооползневых и других защитных сооружений. В состав ППР следует включать
специальные мероприятия, обеспечивающие наиболее эффективную и качественную
реализацию принятых конструктивных решений и бесперебойную работу машин. 8.16. При земляных работах в
грунтах повышенной влажности или использовании их в качестве оснований
целесообразно предусматривать мероприятия по заблаговременному снижению
влажности: устройство дренажей, поглощающих колодцев, водоотводящих систем и
др. Размещение, конструкция и
расчетное время действия осушительных устройств устанавливаются индивидуальным
порядком по нормам проектирования мелиоративных систем с учетом временного
характера сооружений. 8.17. Во всех случаях, при
работе с грунтами повышенной влажности во избежание дополнительного увлажнения
следует обеспечивать своевременный и постоянный отвод поверхностных ливневых и
талых вод. Не допускается выполнять работы, затрудняющие сток влаги и ее
испарение (рыхление, подготовка забоев, устройство котлованов и бессточных
заглублений и т.д.) при грунтах повышенной влажности. Система водоотвода
поверхностных вод с территории производства работ включает в себя: водоотводные и нагорные
канавы для перехвата поверхностного стока с верховой стороны; заблаговременную планировку
рабочей площадки с образованием уклонов поверхности для улучшения стока
атмосферных осадков и талых вод; водосборы и водоотводные
канавы из пониженных мест; защитные валы, призмы и
банкеты, преграждающие поверхностный сток с верховой стороны. 8.18. Дли обеспечения
водоотвода и максимальной степени должны быть использованы постоянные
сооружения, предусмотренные, проектом. В случае невозможности их сохранения в
процессе строительства на период производства работ устраивают временные
сооружения. Места проложения водоотводных
канав и отсыпки банкетов должны быть увязаны с размещением в плане забоев,
дорог для перевозки грунта, проездов и линий коммуникации. 8.19. Поперечное сечение
русел и уклонов временных водоотводных устройств должно быть рассчитано на
пропуск ливневого стока с повторяемостью в 3 раза большей срока строительства
сооружения. Бровка временных водоотводных
канав или защитных валов должна возвышаться над расчетным уровнем воды не менее
чем на 1 м. Продольный уклон водоотводных канав должен быть не менее 3‰. 8.20. В ППР следует
предусмотреть, мероприятия по уменьшению влияния атмосферных осадков на
свойства поверхностных слоев грунта в забое, на транспортных путях, в зоне
уплотнения: планировка, обеспечение стабильности уклонов поверхности,
своевременное уплотнение и выравнивание грунта. В случае выпадения дождя до
окончания уплотнения продолжать укатку связного грунта можно после срезки и
удаления во временный отвал верхнего разжиженного слоя толщиной 10-15 см. При соответствующем
экономическом обосновании для защиты от увлажнения осадками забоя или насыпи
можно применять набрызг гидрофобизирующих веществ или пленочные покрытия из
полимерных материалов. 8.21. Постоянный
перехватывающий дренаж, предупреждающий выход грунтовых вод на откосы выемки,
устраивают, как правило, до начала разработки выемки. Постоянный подкюветный дренаж
в нулевых отметках и при наличии невысоких насыпей, сооружаемых продольной
возкой, устраивают заблаговременно, в выемках - сразу после выхода на
соответствующую отметку дренирования. При устройстве дренажей в
глинистых слоях высокой и избыточной влажности грунт из траншей следует
вывозить в кавальер или укладывать в банкет за пределами основания земляного
полотна. 8.22. Способ разработки
выемок и сооружений насыпи из грунтов повышенной влажности выбирают при
составлении ППР на основе технико-экономического сравнения вариантов с учетом
состава и состояния грунтов, вида конструкций, сроков строительства,
погодно-климатических условий. При использовании в насыпях
грунтов допустимой степени переувлажнения возможно применение типовой. При
более высокой влажности связных грунтов следует использовать машины на
гусеничном ходу и предусматривать устройство временных дорог для перевозки
грунта или укладку на существующих дорогах покрытий сборно-разборного или
облегченного типа. 8.23. Бульдозерами на
гусеничном ходу рационально возводить насыпи высотой до 3 м из боковых резервов
и мелких выемок при дальности перемещения грунта до 80 м. Для связных грунтов
высокой степени переувлажнения целесообразны бульдозеры с гусеницами
увеличенной ширины. Разработку грунтов повышенной
влажности бульдозерами в сухую погоду рационально производить по гребенчатой
схеме, оставляя перемычки шириной 1-1,5 м. Грунт в насыпи в этих условиях также
следует распределять полосами, между которыми должны быть промежутки шириной
0,5-1м. 8.24. Производительность
бульдозеров при повышении влажности глинистых грунтов уменьшается в 1,5-3 раза
вследствие прилипания к отвалам. При работе с такими грунтами применяют
гидрофобизирующие смазки и покрытия поверхности отвала. 8.25. Разработку грунта
повышенной влажности в выемках или притрассовых карьерах и перемещений его в
насыпь или карьер на расстояние 80-600 мм целесообразно выполнять прицепными
скреперами, на расстояние 600-3000 м - полуприцепными и самоходными скреперами.
При этом прицепными скреперами с гусеничной тягой можно разрабатывать связные
грунты допустимой и средней, а несвязные грунты - любой степени переувлажнения;
самоходными скреперами можно разрабатывать связные грунты допустимой, а
несвязные допустимой и средней степени переувлажнения. Разработку грунтов повышенной
влажности скреперами выполняется без предварительного рыхления с использованием
толкачей на гусеничном ходу. 8.26. Производительность
скреперов существенно снижается при повышении влажности глинистых грунтов.
Основными причинами снижения производительности скреперов является повышенная
липкость грунта и ухудшение проходимости машин вследствие усиления
колееобразования. Уменьшить влияние этих факторов можно гидрофобизирующей
смазкой внутренней поверхности ковша, снижением давления в шинах до 2,5×10-5-3×10-5Па. 8.27. Разработку грунтов
повышенной влажности в выемках или притрассовых карьерах при расстоянии
перемещения свыше 80 м для связных грунтов высокой степени переувлажнения,
свыше 600 м - для связных грунтов средней степени переувлажнения, свыше 3000 м
- для всех видов грунтов целесообразно выполнять экскаватором с перевозкой
грунта автомобилями-самосвалами. Связные грунты высокой и
избыточной степени переувлажнения, а также несвязные грунты избыточной степени
переувлажнения следует разрабатывать преимущественно экскаватором-драглайном с
его стоянкой и организацией движения автомобилей-самосвалов на верхнем уровне
забоя. Для разработки таких грунтов используют транспортные средства повышенной
проходимости. 8.28. Для погрузки в
автомобили-самосвалы несвязных и малосвязных грунтов повышенной влажности в
резервах и притрассовых карьерах при плотном основании забоя рационально
применять фронтальные гусеничные погрузчики в комплекте с бульдозерами для
надвижки грунта. 8.29. При возведении насыпи
из грунтов допустимой и средней степени переувлажнения применяют обычную
технологию с распределением грунта слоями. Толщину технологических слоев
определяют пробной укаткой. Перед уплотнением поверхность каждого слоя
выравнивают бульдозером, а в процессе укатки, особенно на завершающих этапах,
проводят планировку поверхности с приданием поперечных уклонов 40-50‰. Наличие
на поверхности колей, местных углублений и возвышений в процессе укатки и после
ее окончания не допускается. 8.30. Грунты высокой и
избыточной степени переувлажнения, уплотнение которых происходит в процессе
консолидации, транспортируют автомобилями-самосвалами и разгружают в насыпь
способом «в прижим» с расчетом получить слой проектной толщины. Аналогичным
способом отсыпают кавальеры и другие насыпи, не требующие уплотнения. При
недостаточной несущей способности глинистого слоя вышележащий слой более сухого
или дренирующего грунта отсыпают «от себя» с надвижкой бульдозером и
последующим уплотнением и планировкой. Конструктивные и
технологические мероприятия, обеспечивающие ускорение консолидации грунта
повышенной влажности, осуществляют по индивидуальным проектам. 8.31. Уплотнение глинистых
грунтов допускаемой степени переувлажнения до требуемой плотности производят в
два этапа: на первом катками на пневматических шинах массой 10-15 т (без
балласта) с пониженным до 0,200,3 МПа (2-3 кг/см2) давлением в шинах
за четыре-шесть проходов; на втором - тяжелыми катками на пневматических шинах
массой 15-25 т с давлением в шинах более 0,5 МПа (5 кг/см2) за
четыре-шесть проходов. Толщину слоя и требуемое число проходов катка определяют
пробной укаткой. 8.32. Уплотнение грунтов
средней степени переувлажнения до наибольшей (при данной влажности) плотности (Ку³0,90) производят прицепными
катками на пневматических шинах с гусеничной тягой средней массой (без
балласта) с пониженным до 0,2-0,3 МПа (2-3 кгс/см3) давлением в
шинах. Возможность использования тяжелых катков, а также толщину слоев и
требуемое число проходов катка определяют пробной укаткой. 8.33. В связи с
агрегированностью структуры грунтов повышенной влажности особое внимание
необходимо уделять контролю равномерности уплотнения. При увеличении по мере
укатки колееобразования и выдавливания грунта из-под вальцов укатку следует
прекращать, так как дальнейшее увеличение числа проходов катка ослабляет
естественную структурную прочность грунта. 8.34. Возможность
использования катков на пневматических шинах на различных стадиях уплотнения
(прикатка, окончательное уплотнение) глинистых грунтов повышенной влажности
следует оценивать по условию
где sср - среднее контактное давление
под колесом с пневматической шиной, Па (кгс/см3); 8.35. Уменьшение содержания в
грунте несвязанной воды может быть достигнуто при естественном испарении (через
граничную поверхность грунта), термической обработке, интенсивном
виброуплотнении и трамбовании, а также при физико-химическом связывании части
свободной воды минеральными или активными добавками. Снижение влажности грунтов
достигается также в процессе консолидации насыпи или ее основания за счет
отжатия свободной поровой воды под действием гидравлического градиента. 8.36. Для снижения влажности
грунтов механическими воздействиями необходимы значительные энергетические
затраты. Способы уплотнения грунтов повышенной влажности глубинным
вибрированием, вибровакуумированием, гидровиброуплотнением эффективны для
песчаных грунтов с содержанием глинистых частиц не более 3-5%. 8.37. Термическое высушивание
и обжиг грунтов горячим воздухом или газами требуют значительных расходов
топлива и могут быть применены на особо важных работах в ограниченном объеме.
Расчет термической: обработки следует проводить в индивидуальном порядке исходя
из затрат тепла на испарение и нагрев грунтовых частиц, а также с учетом
теплообмена грунта и влажности воздуха. 8.38. Естественное
просушивание грунта происходит путем испарения части свободной воды,
заполняющей поры грунта. Необходимым условием
естественного просушивания грунта в слое толщиной h является наличие
отрицательного водного баланса: Wн+DWoc-DWисп£Wдоп, (8.2) где Wн - начальная влажность грунта из резерва или выемки,
%; Wисп - снижение влажности вследствие испарения; Woc - приращение влажности от атмосферных осадков; Wдоп - допускаемая влажность
грунта (см. табл.
8.2). 8.39.
Изменение естественной влажности Wн за период Т сут ориентировочно можно прогнозировать по формуле
Wк - влажность после просушивания,
%; J - интенсивность испарения воды через поверхность грунта, л/м2
в сут; g - плотность грунта, г/см3. Величина J принимается
по агротехническим справочникам для данной местности. Во II и III
дорожно-климатических зонах интенсивность испарения в зависимости от дефицита
влажности воздуха и скорости ветра меняется от 2 от 5 л/м2 в 1 сут.
При достижении оптимальной влажности интенсивность резко уменьшается. При наличии дождей в период
просушивания смещение водного баланса в положительную сторону можно
ориентировочно рассчитать по формуле
где Q - количество осадков за
принятый интервал времени, мм. 8.40. При методе просушивания
грунта в резервах грунт повышенной влажности укладывают и штабеля треугольного
сечения, размещаемые на площадках, отметка которых не менее чем на 1 м
превышает уровень грунтовых вод. Грунт в валах периодически перемешивают
экскаватором или бульдозером в целях обеспечения равномерного просушивания.
Время просушивания поверхностного слоя штабеля ориентировочно можно
рассчитывать по формуле (8.2). Для лучшего просушивания грунта
летом и меньшей заносимости снегом зимой призмы грунта располагают большей
стороной по направлению господствующих ветров. 8.41. Для осушения грунтов
повышенной влажности могут быть применены в качестве неактивных добавок сухой
несвязный грунт, топливные золы, шлаки, отходы горнорудной промышленности. При
этом влажность добавок Wд должна быть меньше
оптимальной влажности получаемой смеси W0 с исходным грунтом влажности
Wпр. Требуемое отношение массы сухих добавок к массе
влажного грунта где Кс - коэффициент, учитывающий
однородность смеси, равный для песков легких супесей - 1,1; для супесей,
пылеватых и тяжелых, легких суглинков - 1,3; тяжелых суглинков и глин - 1,5. В случае дополнительного
увлажнения смеси атмосферными осадками до ее укладки и уплотнения необходимо
вносить соответствующую поправку на увеличение влажности (см. п. 8.39). 8.42. Осушение грунтов
повышенной влажности сухими материалами возможно проводить двумя способами:
смешением и распределением слоев. При первом способе вывозка
грунта в насыпь ведется одновременно из двух источников (влажного и сухого) с
соблюдением установленного соотношения в перерасчете на объем в рыхлом виде.
Смещение грунтов производится при распределении слоя бульдозером для связных
агрегированных грунтов с последующим перепахиванием рыхлителем или плугом.
Уплотнение слоя выполняют через одни-двое суток после распределения смеси. Второй способ заключается в
распределении грунта повышенной влажности и сухого грунта чередующимися слоями,
суммарная масса которых устанавливается с помощью соотношения
(8.5), а толщина каждого слоя - по данным опытной укатки - исходя из общих
технологических требований. При тщательном выполнении планировки второй способ
обеспечивает равномерность уплотнения. Во всех случаях укладка новых
слоев ведется по спланированной поверхности полностью уплотненного нижнего
слоя, причем влажность его не должна превышать допустимую. 8.43. Интенсивное осушение
грунта происходит при обработке его активными добавками: известью, цементом,
золой уноса, гипсом, безводной кристаллической фосфорной кислотой и др.
Особенно эффективно применение негашеной известью. Данный метод рекомендуется
применять при соответствующем технико-экономическом обосновании для осушения
грунта верхней части земляного полотна в выемках, при возведении невысоких
насыпей или для осушения верхнего слоя насыпных площадок. Наибольший эффект
дает метод обработки грунтов активными добавками при возведении земляного
полотна из пылеватых песков, супесей, а также легких суглинков. 8.44. Для обработки грунта
рекомендуется применять молотую гидрофобизированную негашеную известь с
содержанием CaO и MgO не менее 50-60% (ГОСТ 9179-77
"Известь строительная. Технические условия"). Перед употреблением следует
проверить ее активность особенно после длительного хранения (30-40 сут после
помола). Негашеную известь с содержанием CaO и MgO менее 25-30% применять
неэффективно. 8.45. при осушении грунтов
цементами наибольший эффект дают цементы с повышенным содержанием CaO.
Применение цементов марок ниже 50 неэффективно. 8.46. Для осушения грунтов
повышенной влажности пригодны также активные золы уноса сухого отбора,
получаемые при сгорании в котлах ТЭС различных видов твердого топлива (бурого и
каменного угля, торфа, горючих сланцев) с удельной поверхностью не менее 1600
см2/г и количеством свободной окиси кальция не менее 8%. 8.47. Требуемое количество
негашеной извести или золы уноса (в пересчете на чистые CaO и MgO),
цемента (портландцемент марки 300) приведено в табл. 8.4. Количество товарной негашеной
извести или активных зол уноса зависит от требуемого количества чистых CaO и MgO и
активности материала:
где А - количество CaO и MgO (см. табл. 8.4), %; В
- содержание CaO и MgO в товарной негашеной извести
или в золе уноса, %; k - коэффициент, учитывающий
влияние цементной составляющей золы k=1,2¸1,5. При расчете потребного количества извести принимают k=1. 8.48. Толщину слоя грунта
назначают исходя из возможной глубины проработки слоя существующими
смесительными и уплотняющими машинами. При использовании дорожных фрез толщина
отсыпаемого слоя (в плотном теле) составляет 15-20 см. Для более равномерного
распределения добавок связный грунт необходимо предварительно разрыхлять
один-двумя проходами фрезы по одному следу. Активные добавки распределяют
распределителем цемента. Добавки загружают в бункер распределителя только
механическим способом. Смешивание грунта с добавками производится прицепными
фрезами за два-четыре прохода. Выполнение операций по
дозировке, транспортированию, распределению существенно облегчается при
предварительной переработке извести в гранулы размером 5-25 мм. 8.49. При обработке грунта
добавками необходимо ограничивать время между введением добавок и окончанием
уплотнения для грунтов, обработанных цементом или известью, оно не должно
превышать 4-6 ч, для грунтов, обработанных золой уноса, - 14-18 ч. Работы с
активными добавками не следует проводить в дождливую погоду. Таблица 8.4.
Примечания. 1. В числителе приведено количество негашеной извести или
золы уноса (в расчете на чистый CaO+MgO); в знаменателе количество
портландцемента марки 300. 2. При применении низкомарочных цементов указанное количество должно
быть увеличено в 1,1-1,3 раза. 8.50. Осушение известью
грунта высокой и избыточной степени переувлажнения целесообразно проводить
методом сосредоточенного воздействия без распределения извести по поверхности
слоев. Для этого в толще грунта, подлежащего осушению, устраивают вертикальные
скважины диаметром 10-20 см или щели шириной 10-15 см с помощью мелиоративных
машин и заполняют их размельченной негашеной известью с трамбованием. Суммарный
объем скважины или щели назначают из расчета вместимости в них извести в
количестве, необходимом для осушения данного слоя грунта (табл. 8.4).
Расстояние между скважинами или щелями при этом составит 1-1,5 м. При осушении
массива основания глубина скважины должна быть не меньше расчетной глубины
промерзания от поверхности осушаемого слоя. 8.51. При обработке
переувлажненных грунтов активными добавками необходимо соблюдать общие правила
техники безопастности ведения дорожных работ, а также правила техники
безопасности при работах с химически активными веществами. 9. ЗЕМЛЯНЫЕ РАБОТЫ В ЗИМНИЙ ПЕРИОДОбщие положения9.1. В зимний период целесообразно
выполнять следующие работы: возведение насыпей из крупнообломочных и песчаных
грунтов, разработку выемок и резервов в необводненных песках, гравийно-галечных
и скальных грунтах; возведение насыпей из глинистых грунтов при влажности,
близкой к оптимальной на устойчивых основаниях; разработку и непереувлажненных
глинистых грунтах выемок глубиной более 3 м; устройства насыпей на болотах;
выторфовывание; укрепление откосов насыпей регуляционных сооружений и русел рек
каменной отсыпкой, бетонными плитами и т.п.; устройство штолен и дренажных
прорезей. Земляные работы в зимнее
время должны выполняться непрерывно; работы следует вести высокими темпами с
концентрацией производственных средств на узком фронте. Разработка боковых
резервов возможна при отсутствии смерзания грунтов или в начале зимнего периода
при температуре, близкой к 0°. В остальных случаях работы
целесообразно вести из глубоких сосредоточенных резервов или карьеров,
пригодных для работы экскаваторов. 9.2. Машины, предназначенные
для работы в зимнее время, должны иметь утепленные кабины и капоты для
двигателей, усиленное осветительное оборудование, а также дополнительное
оборудование для очистки рабочих органов от смерзшегося грунта, устройства,
повышающие проходимость машин в зимнее время. Фронт работ и подъездные пути
должны быть ограничены хорошо видимыми и не заносимыми снегом знаками. ППР должна быть предусмотрена
организация систематической очистки от снега рабочих площадей и транспортных
специализированными машинами. 9.3. В табл. 9.1
приведены основные технико-экономические показатели подготовки грунта к
разработке в зимних условиях, определяющие целесообразность выбора способов,
типов машин и оборудования. Подготовительные работы9.4. До начала земляных работ
на объектах, намеченных к строительству в зимних условиях, кроме общих
подготовительных работ, должны быть следующие специальные подготовительные
работы: установлены снегонезаносимые разбивочные знаки, обеспечен водоотвод на
участках производства работ на трассе; подготовлены подъездные пути и средства
защиты их от снежных заносов; предохранены от промерзания участки, намеченные к
разработке, а также участки с пучинистыми основаниями; обеспечено освещение
мест разработки и укладки грунта; подготовлены помещения для обогрева рабочих. 9.5. Основания под насыпи
должны быть подготовлены (включая снятие плодородного слоя почвы) в летнее
время, а перед началом работ тщательно очищены от снега и льда. В случае
возведения насыпи на сильно и чрезмерно пучинистых грунтах в районах с глубиной
промерзания более 1,5 м нижние слои насыпей (1,2-1,5 м) следует устраивать до
наступления устойчивых отрицательных температур. 9.6. В летний период
необходимо подготовить поверхность сосредоточенных резервов и грунтовых
карьеров к разработке в зимнее время. Подготовка заключается в устройстве
подъездных дорог, расчистке поверхности, устройстве входных забоев и пионерных
траншей, а также в устройстве отепляющих слоев или использовании химических
реагентов для предотвращения промерзания грунта. Способы защиты от промерзания
должны быть указаны в ППР. 9.7. Грунт предохраняют от
промерзания предварительным рыхлением поверхности до наступления зимнего
периода, засолением реагентами, снижающими температуру смерзания, укрытием
поверхности теплоизоляционными материалами, удержанием снежного покрова. Можно
использовать в качестве утепляющих и снегоудерживающих средств густой
кустарник, мощный слой дерна, высокий травостой, имеющийся на поверхности. 9.8. Наиболее простой и экономичный
способ предохранения грунта от промерзания при его разработке в первой трети
зимы - вспахивание на глубину не менее 35 см и боронование на глубину 15 см.
Рыхление следует выполнять одно- или многостойковыми рыхлителями, плугами с
перекрестным движение агрегата (рис. 9.1). Боронование возможно выполнять
фрезами или сельскохозяйственными боронами. Таблица 9.1
Обязательным условием получения положительного эффекта от рыхления
грунта является обеспечение естественного стока атмосферных вод с поверхности
подготавливаемого участка и рыхление его непосредственно перед наступлением
заморозков. 9.9. На участках, намеченных
к разработке по вторую треть и на конец зимы, рыхление грунта должно
сопровождаться мероприятиями, обеспечивающими усиленное соконакопление. С этой
целью на открытых и хорошо продуваемых участках устраивают снегозадерживающие
полосы в виде снеговых и грунтовых рядов или разреженных щитовых рядов. Можно
проводить также засыпку отепляемой поверхности снегом с соседних участков
бульдозерами или снегоочистителями-метателями. Расстояние между валиками или
линиями щитов должно составлять 10-15-кратную высоту валика или щита. 9.10. В малоснежных районах и
при небольших площадках утепления для защиты грунта от промерзания могут быть
использованы местные теплоизолирующие материалы: опилки, стружки, торф, солома,
мох и т.д. Эффективно также синтетическое покрытие, изготовленное на месте
работ из мочевинно-формальдегидных смол, жидкого пенообразователя и
катализатора отверждения. При отсутствии отепляющих материалов возможно
перелопачивание грунта экскаваторами на глубину возможного промерзания, но не
более 1,5 м (рис.
9.2). 9.11. При отсутствии
материалов и средств для теплоизоляции можно предохранить грунт от замерзания
путем его обработки техническим хлористым натрием. Для обеспечения;
необходимого проникания соли в грунт россыпь сухой соли на участке должна быть
закончена за 5-15 сут до наступления зимнего периода для песчаных и супесчаных
грунтов и за 20-30 сут для суглинистых. Засоление концентрированным
(20-23%-ным) раствором соли можно проводить непосредственно перед наступлением
заморозков. Нормы расхода соли (хлористого натрия) принимаются по табл. 9.2. Рис. 9.1. Схема вспахивания
грунта при помощи рыхлителя: 1 -
трактор с рыхлителем; 2 - разрыхленный слой; 3 - конец работы; 4
- начало работы (стрелками показаны направления и последовательность прохода) Рис. 9.2. Схема предохранения
грунта от промерзания методом перелопачивания: 1 -
отвал грунта; А - ширина боковой проходки экскаватора; В - ширина
полос перелопачивания грунта; Р -резерв Таблица 9.2
9.12. При наличии вблизи карьера источника водоснабжения поверхность
грунта, подлежащая разработке, может быть отеплена намораживанием пенольда
толщиной до 40- 50 см, который в дальнейшем очищается по мере разработки
карьера бульдозерами. Образование пенольда происходит путем нанесения пожарными
машинами на поверхность грунта слоев водовоздушной пены толщиной 10-15 см с
последующим их замерзанием при температуре воздуха ниже 10-15°С. 9.13. Резервы,
предназначенные к разработке в зимних условиях, должны быть обследованы
предварительно осенью. В задачу обследования входит определение плотности и
влажности грунтов для решения вопроса о пригодности того или иного резерва или
его участка для разработки. Пробы грунта для этих целей берут до глубины,
намеченной к разработке. После наступления морозов проверяют влажность грунта в
верхнем слое. 9.14. При возведении зимой на
поймах рек больших из обводненного песка рекомендуется организовать его добычу
и хранение в отвалах до наступления морозов. В процессе хранения при
отрицательных температурах влага из песка частично вымерзает и после оттаивания
его можно разрабатывать и укладывать в насыпь. Разработка выемок и возведение насыпей9.15. При разработке выемок
или карьеров в зимних условиях необходимо очищать поверхность экскавации от
снега, льда, кустарника, растительного слоя, отепляющих материалов не более чем
на одну смену вперед и в дальнейшем по мере продвижения забоя непосредственно
перед началом разработки грунта. Площадь очистки определяется суточной
производительностью землеройной машины при температуре до -10° С, а при более
низких температурах - ее сменной производительностью. При сильных снегопадах и
метелях разработку грунта и отсыпку насыпей следует прекращать, а перед
возобновлением работ полностью удалять с насыпи снег и лед. Во время оттепелей
и перед началом весеннего снеготаяния верхняя часть и откосы насыпей,
возведенные зимой, должны быть очищены от снега. Дно и откосы выемок следует
планировать после оттаивания грунта. 9.18. При промерзании грунта
в карьерах или выемках на глубину, превышающую указанную в пп. 9.16
и 9.17,
его разработка возможна только после подготовки поверхности одним из следующих
способов: предохранением грунта от промерзания, рыхлением мерзлого грунта,
оттаиванием мерзлого грунта. 9.19. Предохранение грунта от
промерзания позволяет вообще исключить замерзание поверхности карьера или
снизить толщину мерзлой корки до тех пределов, когда для ее разрушения можно
применять навесные тракторные рыхлители. Тип базового трактора-рыхлителя должен
выбираться в зависимости от глубины промерзания: Глубина промерзания, м..................................... 0,3-0,4 0,5-0,7 0,7-0,8 Необходимое тяговое усилие трактора, ТС...... 10-12 15-20 20-30 При таких глубинах рыхление
ведется путем взламывания мерзлого слоя грунта снизу за один прием (рис. 9.3).
Послойное рыхление мерзлого грунта может проводиться только тяжелыми
рыхлителями, смонтированными на тракторах, развивающих тяговое усилие свыше 20
тс. 9.20. Для рыхления мерзлого
грунта (при глубине промерзания от 0,6 до 1,0 м) можно применять также
различное навесное оборудование ударного действия, смонтированное на
бульдозерах, тракторах, тракторных погрузчиках и экскаваторах, рабочими
органами которых служат клиновые рыхлители, погружаемые дизель-молотами,
ударными приспособлениями, вибраторами и т.п. Рис. 9.3. Схема разработки
грунта в зимних условиях экскаватором, оборудованным прямой лопатой, с применением
рыхлителя для разрушения мерзлого слоя: 1 - мерзлый слой; 0,2 м
- недобор грунта; О - опасная зона для работы рыхлителя, 5 м При разработке траншей для
рыхления мерзлых грунтов следует применять дискофрезерные машины, баровые
машины, роторные и цепные экскаваторы со специальным рабочим оборудованием. 9.21. При отсутствии
специального рыхлительного оборудования и небольших объемах работ для рыхления
мерзлого грунта допускается применять подвесные к стрелам экскаваторов шар и
клиномолот. При глубинах промерзания до 0,8-1,5 м используются молоты массой
1,5-3 т, сбрасываемые с высоты до 2-5 м. Параметры удара подбираются такими,
чтобы глубина лунки составляла не менее 0,6-0,7 толщины замерзшего слоя. 9.22. При больших объемах
работ на безопасном удалении от строений и сооружений (линий связи, линий
электропередачи и др.) для разработки верхней смерзшейся корки грунта
рационально применять взрывание: при глубине промерзания до 1,5 м шпуровой или
щелевой методы с закладкой зарядов ниже подошвы мерзлого слоя на 0,2-0,5 от его
толщины. При глубине промерзания более 1,5 м целесообразно применять, щелевой
или скважинный метод с закладкой зарядов на 20-30 см выше подошвы мерзлого
слоя. Величина зарядов определяется опытным путем в зависимости от прочности
грунтов. В мерзлых грунтах
рекомендуется бурить шпуры при помощи самоходной машины, передвижными буровыми
станками, термобурами. Щели в мерзлом грунте следует
нарезать щелерезными машинами фрезерного типа или баровыми машинами. 9.23. При разработке мерзлых
грунтов забой делят на две смежные захватки, в одной из которых ведут
экскавацию взорванного грунта, а другую подготавливают к взрыванию (рис. 9.4). 9.24. Шпуры и скважины
располагают в шахматном порядке (рис. 9.5) на расстоянии не более удвоенной
толщины мерзлого слоя. Направление бурения шпуров и скважин вертикальное. При
рыхлении мерзлой корки в откосе и лобовой части забоя применяют наклонные
шпуры, перпендикулярные к поверхности мерзлого слоя. Готовые шпуры и скважины
закрываются деревянными пробками длиной 25 см. Рис. 9.4. Схема разбивки на
захватки при рыхлении мерзлого грунта взрыванием и уборке рыхленного грунта
экскаватором: 1 -
первая захватка; 2 - вторая захватка (бурение, зарядка шнуров и
взрывание). Стрелкой показано направление разработки. Рис. 9.5. Схема расположения
шнуров (скважин при рыхлении мерзлых грунтов): 1 - мерзлый грунт; 2 -
глубина шнура; 3 - высота разработки уступа; 4 - расстояние между
шнурами; 5 - расстояние между рядами шнуров 9.25. Щели нарезаются
параллельно на расстоянии 0,8-0,9 м на расстоянии на глубину промерзания. В
мерзлых песчаных и почвенных грунтах расстояние между рядами шнуров следует
увеличивать на 10%, а в тяжелых грунтах уменьшать на 10%. 9.26. При глубине промерзания
грунта до 2 м в шнурах и скважинах следует применять сосредоточенные, а при
большей глубине - рассредоточенные заряды. Заряжение щелей производиться через
одну щель удлиненными или рассредоточенными зарядами. Для добойки зарядов
используют песок, гранулированный шлак, смесь песка с глиной или измельченным
талым грунтом. Забойку необходимо выполнять осторожно. 9.27. Метод
короткозамедленного взрывания следует применять при любой глубине промерзания
грунта. Взрывание ведется строго в соответствии с установленным режимом и
графиком работ. 9.28. Разрыхленный грунт
должен быть убран в течении смены, а при сильных морозах (ниже -20°С)
в течение 3-4 ч. В связи с этим при температуре ниже -20°С
взрывы рекомендуется производить ежесменно. 9.29. Взрывные работы следует
поручать только специалисту-взрывнику, имеющему "Единую книжку
взрывника". При взрывных работах необходимо руководствоваться
"Правилами техники безопасности при строительстве ремонте и содержании
автомобильных дорог" (Транспорт, 1978) и "Едиными правилами техники
безопасности при взрывных работах" (Недра, 1972). 9.30. Объем разрыхленного
грунта должен обеспечивать, беспрерывную работу экскаватора в течение принятого
числа смен в сутки. Необходимо следить за равномерной разработкой всей
поверхности резервов или карьеров. Во избежание повторного смерзания грунт
надлежит разрабатывать, тотчас после его подготовки и вывозить сразу же после
его разработки. 9.31. В отдельных случаях в
стесненных условиях труднодоступных местах и при незначительных объемах работ
(до 50 м3) при невозможности использования других более экономичных
способов допускается оттаивать мерзлые грунты применение того или иного способа
оттаивания решается путем экономического обоснования, заносимого в ПОР. Для оттаивания мерзлого
грунта применяют огневой способ с использованием твердого (дрова, торф,
каменный уголь), жидкого (керосин, мазут) и газообразного топлива. При огневом
способе на площади, предназначенной к оттаиванию, устанавливают короба-ферменты,
засыпаемые шлаком или слоем грунта толщиной 10-15 см. Твердое топливо сжигается
непосредственно в коробе, жидкое и газообразное - в форсунках. Для отогрева
грунта могут также применяться поверхностные паровые и водяные регистры,
электрические спирали в тепляках и т.д. (см. табл. 9.1). Время оттаивания
грунта на глубину 1-1,5 м определяется способом отогрева и видом грунта и
находится в пределах от 10-15 до 30-40 ч. Несвязные и малосвязные
грунты могут быть разморожены горячим концентрированным (20-23%-ным) раствором
технического хлористого натрия. Начальный расход раствора принимают в
соответствии с табл. 9.2. Для ускорения оттаивания плохо
фильтрующих грунтов горячий раствор соли может нагнетаться через скважины или
щели, пробуренные на глубину 0,6-0,7 толщины мерзлого слоя грунта. 9.32. Разработка выемок,
расположенных на уклоне должна начинаться с низовой стороны. Отдельные забои
располагают с обеспечением постоянного водоотвода от них. При наличии в откосах
выемок грунтовых вод должен быть обеспечен отвод, осуществляемый при сильных
морозах по закрытым утепленным лоткам на расстояние, исключающее образование
наледи в рабочей зоне. 9.33. В зимних условиях
рекомендуется применять автомобили-самосвалы с обогреваемыми кузовами. При
наличии обычных автомобилей-самосвалов во избежание примерзания грунта дно и
стенки кузовов следует обмазывать изнутри (не реже двух-трех раз в смену)
концентрированным раствором технического хлористого кальция или нефтепродуктами
(нефть, мазут, отработанное масло). Автомобили-самосвалы ковшей экскаваторов и
скреперы в конце смены и при перерывах в работе полностью очищают от грунта. 9.34. Для обеспечения
необходимого уплотнения грунта до его смерзания промежуток времени от выемки
грунта в карьере до момента его окончательного уплотнения в насыпи не должен
превышать: 2-3 ч при температуре воздуха до -10°С; 1-2 ч при температуре
воздуха от -10 до -20°С; 1 ч при температуре воздуха
ниже -20°С. При сильном ветре (более 3-4
баллов) эти промежутки времени должны быть уменьшены в 2 раза. При расчете
предельной дальности грунта надлежит учитывать следующие соотношения: Температура воздуха, °С....................... -5 -10 -20 -30 Начало смерзания грунта, мин............. -90 -60 40 20 В соответствии с этим заранее выбирают по средним
климатическим данным места строительства основные элементы технологического
процесса по возведению насыпи: состав дорожно-строительного отряда, скорость
рабочего потока, длину карт уплотнения и т.д. 9.35. Для насыпей, возводимых в зимнее время,
принимают без ограничений скальные, крупнообломочные грунты и пески
(непылеватые). Мерзлый грунт должен быть
равномерно распределен по отсыпаемому слою, нельзя допускать скопления мерзлых
комьев в теле насыпи, особенно в ее боковых частях. Излишек мерзлого грунта
должен быть удален за пределы насыпи, а крупные мерзлые комья раздроблены до необходимых
размеров. Наличие в насыпи включений снега и льда не допускается. 9.37. Для дорог с
усовершенствованными типами покрытий верхнюю часть насыпи на высоту не менее 1
м следует возводить из талого грунта с отсыпкой и уплотнением его до
установленных норм, как правило, в теплое время года. Отсыпка грунта должна
производиться только после оттаивания той части насыпи, которая была возведена
зимой. Только талый грунт применяют для устройства насыпи за задними гранями
устоев и конусов, а также при засыпке водопропускных труб. 9.38. В часть насыпи,
расположенную ниже уровня грунтовых вод, на болотах с полным или частичным
выторфовыванием разрешается укладывать песчаные мерзлые грунты при условии, что
верхняя часть насыпи будет возведена из таких же, но талых грунтов. 9.39. Кавальеры, отсыпанные в
зимних условиях, по сравнению с обычными нормами их расположения должны быть
отодвинуты от бровки выемки на 1,5 м при высоте кавальера до 2 м и на 2,5 м при
высоте кавальера более 2 м. 9.40. Для наиболее эффективного
использования землеройно-транспортного оборудования и исключения
дополнительного рыхления грунта, замерзающего во время перерывов в работе,
следует организовать круглосуточную работу машин на сравнительно узком фронте.
При вынужденных перерывах в работе вскрытые резервы и выемки должны быть
утеплены рыхлением, что позволяет предохранить верхний слой от промерзания на
1- 3 сут (в зависимости от температуры воздуха). Уплотнение грунтов9.41. Уплотнять грунты в
зимних условиях следует тяжелыми катками или машинами ударного действия. Режим
уплотнения надлежит определять методом пробной укатки (см. разд. 4). 9.42. В качестве основных
средств уплотнения свежеотсыпанного грунта в зимних условиях следует применять
самоходные или прицепные трамбующие машины, решетчатые прицепные катки,
прицепные и полуприцепные катки на пневматических шинах массой более 20-25 т. 9.43. Для насыпей, возводимых
па полную высоту; из глинистых, и также мелкозернистых песчаных грунтов с включением
мерзлых комьев необходимо предусмотреть осадку до 3% высоты насыпи. Более дифференцировано запас
на осадку подобной насыпи при оттаивании можно определить расчетом в
соответствии с методикой, приведенной в приложении 7. 10. СООРУЖЕНИЕ ЗЕМЛЯНОГО ПОЛОТНА В ЗАСУШЛИВЫХ И ПУСТЫННЫХ РАЙОНАХОбщие положения10.1. При сооружении
земляного полотна в засушливых районах IV и V дорожно-климатических зон следует
учитывать следующие особенности природных условий, осложняющие организацию и
производство работ: преобладающий дефицит
влажности грунтов, затрудняющий их уплотнение; в условиях искусственного
орошения, особенно в период промывки полей, близкое стояние уровня грунтовых
вод от поверхности земли, большую амплитуду его колебания в годовом периоде и
значительную минерализацию грунтовых вод; равнинный характер покровных
отложений, представленных, как правило, лессовидными суглинками, обладающими
большой пористостью, высоким капиллярным поднятием, способностью затвердевать
при высыхании и быстро размокать при увлажнении с потерей несущей способности; высокую иссушающую
способность воздуха в летний период, обусловленную отсутствием осадков, высокой
температурой и движением воздушных масс. 10.2. При организации работ по
сооружению земляного полотна следует учитывать необходимость выполнения работ в
период, когда влажность грунта наиболее близка к оптимальной и может быть
сохранена или поддержана в процессе уплотнения земляного полотна. Наиболее рационально
производство работ по сооружению земляного полотна в холодный период, когда
естественная влажность грунта близка к оптимальной и может сохраняться
продолжительное время, необходимое для уплотнения каждого слоя без значительных
изменений. 10.3. В районах с постоянно
низкой естественной влажностью грунтов и незначительной (менее 0,3-0,4 м)
глубиной их весеннего промачивания целесообразно обеспечивать дополнительное
накоплении влаги в грунтах резервов, подлежащих разработке, за счет атмосферных
осадков, выпадающих в холодный период года. С этой целью перед наступлением
холодного периода резервы рыхлят или вспахивают. Глубина рыхления пылеватых
супесей, суглинков и глин должна по возможности соответствовать проектной
глубине резерва и быть не менее 0,5-0,6 м при глубине резервов, превышающей
указанные значения. Для легких супесей и пылеватых песков глубина рыхления
должна быть не менее 0,3-0,4 м. В районах, где атмосферные
осадки осеннего и весеннего периодов не промачивают грунты резервов на глубину
их разработки, следует организовать задержание снега в виде снежных валиков,
созданных с помощью снегособирателей (снегопахов). Снежные валики располагают
поперек господствующего в зимний период направления ветров. Ориентировочное
расстояние между валиками 6-10 м. 10.4. Пылеватые пески и
легкие супеси могут быть увлажнены непосредственно в насыпи за счет накопления
в зимний период влаги атмосферных осадков. Уплотнение верхнего слоя насыпи в
этом случае выполняют после окончания дождливого периода и достижения грунтом
оптимальной влажности. Для обеспечения впитывания выпадающих в холодное время
года осадков поверхность насыпи в поперечном сечении должна быть
горизонтальной, а вдоль бровок насыпи необходимо устраивать валики высотой
0,15-0,20 м и шириной не менее 0,25-0,3 м. Движение транспортных средств по
рыхлой насыпи не допускается. Такой способ доувлажнения может быть допущен в
равнинной местности на участках с продольными уклонами не более 20‰. Условия искусственного орошения земель10.5. В условиях
искусственного орошения земель характерно близкое залегание грунтовых вод и
возможность подтопления земляного полотна поливными и промывными водами. При
этом особое значение приобретает выполнение требований к уплотнению грунтов. 10.6. В проекте с целью
повышения прочности земляного полотна для верхнего слоя толщиной 20-25 см может
быть назначен коэффициент уплотнения Ку = 1 и выше, для чего
количество проходов катка соответственно увеличивается. Возможно также
укрепление верхнего слоя отходами промышленности: золой уноса сухого улавливания,
цементной пылью, фосфогипсом с расходом 10-15% от массы грунта. 10.7. Насыпи c
повышенной плотностью верхней части рекомендуется производить в районах с
годовым количеством осадков не более 300 мм на участках с глубоким залеганием
грунтовых вод и обеспеченным водоотводом (первый тип местности по характеру
поверхностного стока и степени увлажнения). Для сооружения таких насыпей можно
использовать все виды глинистых грунтов (глины, суглинки, супеси), а также
пылеватые пески с содержанием частиц мельче 0,05 мм в количестве более 15% по
массе. 10.8. Для достижения
повышенной плотности грунты необходимо уплотнять при влажности менее
оптимальной, но не ниже значений, приведенных в табл. 4.2. При высоком уровне
вод рекомендуется возводить земляное полотно в сезон наибольшего его снижения,
обычно во второй половине лета и осенью до начала дождей. При влажности грунта менее
допустимой рекомендуется: производить земляные работы в
зимне-весенний период, что особенно эффективно в районах, где выпадает мало
осадков и промерзание незначительно; для сохранения влаги в грунте
разрыхлять его в осенний период на полосах местности, отведенных для заложения
резервов, на глубину 15-20 см, а весной, когда влажность достигнет максимального
уровня, проводить боронование и прикатку поверхности резервов легким катком; уплотнять грунт немедленно
после отсыпки, нет растягивая фронт земляных работ и не допуская пересыхания
отсыпанного грунта. 10.9. При возведении
земляного полотна на орошаемых землях плодородный слой почвы, снятый с полосы,
отведенной под насыпь, используется для замещения объема грунта, выбранного из
боковых резервов для отсыпки насыпи. При этом работы выполняют в следующем
порядке: срезка плодородного слоя
почвы по всей его глубине на ширину основания земляного полотна и временного
резерва с перемещением за пределы резерва; разрыхление основания
земляного полотна на глубину 25 см с последующим уплотнением до требуемой
плотности; отсыпка слоя земляного
полотна из грунта бокового резерва, разравнивание его и уплотнение; выравнивание бокового резерва
и распределение по его поверхности плодородного слоя почвы. 10.10. При наличии в районе
строительства грунтов, непригодных для отсыпки насыпи, целесообразно
использовать их для засыпки боковых резервов. При необходимости недостающий
объем грунта получают из сосредоточенных резервов. 10.11. В орошаемых районах
допускается технологическое совмещение устройства оросительных коллекторов с
возведением земляного полотна. При этом отсыпка экскаватором насыпи сразу на
полную высоту не допускается. Насыпь отсыплют не менее чем в два-три приема
соответствующим числом экскаваторов, передвигающихся один за другим по берме.
Расстояние между экскаваторами назначают из расчета подсушивания, выравнивания
и укатки каждого слоя. При этом поперечный профиль коллектора постепенно
доводят до проектных размеров. При использовании одного
экскаватора выполняют два-три последовательных прохода вдоль участка возводимой
насыпи. Перерывы между проходами экскаватора должны быть достаточными для
просушивания и укатки ранее отсыпанного слоя грунта. Рытье дрен и коллекторов
следует начинать, от места выпуска воды в водосток. Не следует в процессе
производства работ допускать образования отдельных участков дрен и коллекторов
с необеспеченным стоком воды. Засоленные грунты10.12. При производстве
земляных работ на засоленных грунтах необходимо учитывать особенности их
водно-солевого режима и выполнять эти работы по возможности в сроки, когда
влажность наиболее близка к оптимальной (приложение 8). Рационально выполнять
земляные работы на солончаках с высоким уровнем грунтовых вод: в песчаных
грунтах - весной, в начале лета; в связных грунтах - в летний период и осенний
(до начала дождей). При отсыпке малых насыпей
безрезервного профиля или с резервами глубиной менее 50 см в условиях сильного
засоления грунтов целесообразно проведение земляных работ в весенний период,
когда засоление в верхних горизонтах понижается. 10.13. Тонкие солевые корки
толщиной 1-2 см, встречающиеся в летний период на поверхности солончаков,
обычно не оказывают существенного влияния на среднее содержание солей в верхней
толще грунта. При необходимости тонкую соленую корку разбивают гусеничными машинами
или кулачковыми катками для более равномерного распределения ее в массе грунта. Солевые корки толщиной более
2-3 см перед возведением насыпи срезают бульдозерами с поверхности резервов и
основания насыпи и отодвигают на расстояние 15-20 см от резервов. 10.14. На «пухлых»
солончаках, имеющих на поверхности рыхлый слой грунта, перенасыщенного солями
(преимущественно сернокислым натрием), толщиной более 3 см, этот слой следует
удалять с поверхности резервов и основания насыпи. 10.15. Для возведения насыпей
из боковых резервов на солончаках с грунтовыми водами ближе 1 м от поверхности,
как правило, применяются бульдозеры. Использование грейдер-элеваторов
целесообразно при залегании уровня грунтовых вод в период производства работ не
ближе 1 м от поверхности. В период производства работ
дно боковых резервов в этих случаях должно быть выше уровня грунтовых вод на
30-40 см. 10.16. Насыпи из привозного
грунта на солончаках, грунт которых из-за избыточного засоления непригоден для
возведения земляного полотна, и на мокрых солончаках возводят способом «с
головы». Насыпь отсыпают вначале выше рабочей отметки, но не на полную ширину
земляного полотна, затем бульдозерами надвигают грунт в стороны с одновременным
уплотнением его катками. Солончаковые связные грунты, имеющие
после подсушивания комковатую структуру, рекомендуется уплотнять кулачковыми
или решетчатыми катками. 10.17. При искусственном
увлажнении неводоустойчивых грунтов солончаков и такыров во избежание их
набухания и прилипания в процессе разравнивания и уплотнения не следует
увеличивать влажность более 0,9 от оптимальной. 10.18. При соответствующей
влажности засоленного глинистого грунта более 1,1 оптимальной влажности каждый
слой грунта после разравнивания подвергают перед укаткой подсушиванию на воздухе
или добавляют 2-3 % извести. Песчаные пустыни10.19. Земляное полотно в
песках наиболее, рационально возводить в зимне-весенний период, когда благодаря
более высокой влажности грунтов производительность землеройных машин
значительно выше, чем летом, улучшаются также и условия проезда автомобилей. 10.20. При возведении насыпей
и барханных песках для поперечного перемещения грунта на боковых резервов
наиболее рациональны бульдозеры. Расстояние перемещения песка бульдозерами
15-25 м, в отдельных случаях до 40-50 м. В целях повышения производительности
бульдозеров рационально их использование с уширителями и открылками. Боковые резервы после их
разравнивания бульдозерами планируют прицепными грейдерами. 10.21. Для возведения высоких
насыпей из песка выемок, сооружаемых при пересечении песчаных гряд,
используются бульдозеры. При этом выемка разрабатывается поперечными траншеями
с перемещением грунта с оси дороги, который затем по продольным траншеям
сдвигается в насыпь. Разработку выемки начинают с создания продольной траншеи.
Поперечные траншеи устраивают последовательно от середины к концам выемки,
допускаемая глубина их 1,5-2,0 м. 10.22. При расстоянии
перемещения песка до 80-100 м применяют метод перемещения грунта бульдозером с
промежуточными валами. При необходимости перемещать
песок на расстояние более 100 м целесообразно использование самоходных и
прицепных скреперов. При этом следует учитывать неизбежное снижение
производительности скреперов при работе на барханных песках. Коэффициент наполнения ковша
составляет примерно 0,6-0,7 при влажном и 0,3-0,5 при сухом барханном песке. 10.24. В целях защиты
песчаной поверхности от ветровой эрозии устраиваются защитные слои из связных
или обломочных грунтов. Глинистые грунты для
устройства защитного слоя и укрепления откосов разрабатывают в карьерах или
сосредоточенных резервах с помощью экскаваторов или бульдозеров с погрузчиками.
Влажность грунта должна быть близкой к оптимальной, поэтому наиболее
рационально устраивать защитный слой и укреплять откосы в весенне-зимний период
сразу после возведения насыпи из песка. Толщина защитных слоев (в
сантиметрах) должна быть не менее: Глины и
суглинки тяжелые.............................................. 10 Суглинки
и супеси пылеватые.......................................... 15 Супеси
легкие крупные и легкие..................................... 20 Гравийно-щебеночные,
песчаные смеси......................... 10 При устройстве защитного слоя
влажность грунтов не должна выходить за пределы установленных величин (см. табл. 4.2). Грунт и защитный слой
укладывают способом «от себя» с подвижкой бульдозером. При устройстве защитного слоя
под дорожной одеждой глинистый грунт разравнивают бульдозерами, планируют
автогрейдерами и немедленно после планировки уплотняют катками на
пневматических шинах или тяжелыми гладкими катками. При недостатке влаги грунт
перед уплотнением увлажняют до оптимальной влажности. Плотность грунта
защитного слоя должна составлять не менее 0,95 от максимальной при стандартном
уплотнении. При устройстве защитных слоев
на откосах грунт разравнивают прицепными грейдерами и укатывают прицепными
гладкими катками. 10.25. Надежность
противоэрозионной защиты повышается при укреплении грунтов защитного слоя
вяжущими материалами. Толщина укрепленных слоев (в сантиметрах) должна быть не
меньше: Суглинки и супеси,
укрепленные: 8%
битума MГ 25/40; 40/70; 70/130...................................... 10 3-4%
битума МГ 25/40+0,03-0,06% ПАВ Э-1...................... 10 6-8%
цемента.......................................................................... 10 Барханные пески, укрепленные: 8-10% цемента или 6-8% цемента+2-3% извести или жидкого стекла.......................................................................................................................... 12-15 3-4% жидкого битума МГ 40/70+3% цемента (5-10% цементной пыли) из
0,015-0,03% ПАВ Э-1.......................................................................................................................... 12-15 5-6% медленнораспадающейся 50-55щ аммоний битумной эмульсии.......................................................................................................................... 12-15 10.26. При устройстве
защитного слоя из глинистых грунтов, укрепленных вяжущими материалами,
последовательно выполняют следующие технологические операции: разравнивание и планировка
земляного полотна прицепным грейдером; вывоз глинистого грунта
автомобилями-самосвалами с выгрузкой его способом "от себя"; распределение глинистого
грунта бульдозером и планировка автогрейдером; распределение вяжущего
материала автогудронатором или автоцементовозом в зависимости от вида вяжущего; перемешивание вяжущего с
грунтов дорожной фрезой за один-два прохода по одному следу; прикатка и уплотнение слоя
катками на пневматических шинах за восемь-десять проходов по одному следу. 10.27. В качестве вяжущих
материалов для временной фиксации поверхности песков рекомендуется использовать
медленнораспадающиеся битумные эмульсии, приготовленные на битуме марок БНД 200/300
и БМД 130/3200 (Эмульсии дорожные битумные. ГОСТ 18659-73). Возможно
использование также жидких нефтей и водного раствора поликриламида. Битумную эмульсию 50-55%-ной
концентрации доставляют к месту работ в автомобильных цистернах. Для исключения
распада эмульсии во время транспортирования на дальние расстояния на каждые 10
т эмульсии следует добавлять в тару 0,5 кг щелочи. Концентрированную эмульсию
сливают в необходимом количестве в приемную цистерну пескозакрепительного
агрегата, а затем разбавляют ее двумя-шестью частями воды. При разливе
разбавленной эмульсин битум увлекается водой в поры песка, создавая защитный
слой толщиной 5-20 мм. Защитный слон в течение двух-трех лет предохраняет
поверхность песков от эрозионного действия ветропесчаного потока и не
препятствует прорастанию семян. При небольших объемах работ
для розлива битумной эмульсин на откосы можно использовать автогудронаторы. Нормы расхода вяжущих
материалов для закрепления песчаных откосов земляного полотна приведены ниже: Битум марок БНД 200/300 и 130/200 (при применении битумных эмульсий),
л/м2............................................................................................................................. 0,35-0,50 Жидкие нефти, л/м2............................................................................................................................. 3,00-4,00 Водный раствор полиакриламида или препарата К-4 (0,5-0,7%-ной
концентрации), л/м2............................................................................................................................. 6,00-8,00 10.28. Для укрепления откосов
и других поверхностей из несвязных грунтов возможно применение жидкого битума с
добавкой катионного препарата Э-1 (или другого аналогичного по эффективности). Укрепление песка вяжущими
материалами производится дорожной фрезой, оборудованной баком для распределения
вяжущего. 10.29. Укрепление песка
жидким битумом с добавкой Э-1 и битумными эмульсиями рационально осуществлять с
использованием двух фрез, движущихся по укрепляемому слою одна за другой. В
навесной бак первой фрезы заливают водный раствор Э-1, а в бак второй фрезы -
жидкий битум. В процессе работы первая фреза служит для распределения эмульсии
в песке, вторая - для дополнительного перемешивания. После перемешивания песка
с вяжущим смесь разравнивают и уплотняют обычными способами. Уплотнение песков,
укрепленных органическим вяжущими, рекомендуется начинать в утренние часы и
заканчивать до повышения температуры смеси не выше +35°С. Движение технологических
транспортных средств можно открывать на второй день после уплотнения при
использовании органических вяжущих материалов и через три-пять дней в случае
применения неорганических вяжущих. 10.30. Для закрепления
откосов применяют посев трав. Для посева используют смеси семян многолетних
трав, дающие плотный дерн (приложение 9). Засевать откосы следует весной
или осенью в период выпадения осадков (см. гл. 5). Посев семян трав на песках
производят без подготовки почвы механизированным способом с применением
экскаватора и агрегата ЦНИИСа для травосемян. Посев семян трав на откосах
земляного полотна в песчаных пустынях и фиксацию их вяжущими материалами
следует выполнять поздней осенью или ранней весной в северной части пустынной
зоны, зимой и перед весенними дождями - в ее южной части. 10.31. При устройстве откосов
в мелких и мелких пылеватых песках, закрепляемых посевом трав, для
предотвращения выдувания семян трав укрепляют засеянные поверхности жидкими
вяжущими материалами. Такой способ закрепления применяют только при
благоприятных условиях для развития растений. Жидкие вяжущие материалы
разливают с помощью пескозакрепительного агрегата, состоящего из гусеничного
трактора, разбрызгивателя и приемной цистерны. В качестве разбрызгивателя
жидких вяжущих материалов (фиксаторов) используются дождевальные аппараты,
мотопомпы, садовые опрыскиватели. Разбрызгиватели снабжаются сменными шлангами
с наконечниками для регулирования струи битумной эмульсии при ее разливе на
откосы. Приемную цистерну
вместимостью 10-15 м3 устанавливают на самостоятельной тележке,
находящейся в сцепе с трактором-тягачом. Пескозакрепительный агрегат
обслуживает звено машин, доставляющих воду, и битумовозы, подвозящие
концентрированную эмульсию или другой фиксатор от базы хранения или места
приготовления. 10.32. При строительстве
дорог и заросших песках необходимо свести к минимуму повреждение
растительности, нарушение естественного рельефа и разрыхление поверхности
песков прилегающей местности. Для этого следует: при сооружении насыпей из
боковых резервов закладывать резервы возможно большей глубины непосредственно у
земляного полотна; в среднебугристых,
крупнобугристых и грядовых песках максимально использовать для отсыпки насыпей
песок из выемок за счет уплотнения откосов; стоянки дорожных машин и
жилье устраивать за пределами охраняемой полосы; движение транспортных средств
и машин ограничить узкой полосой строящейся дороги и специальными временными
дорогами. Просадочные грунты10.33. По условиям возможной
посадки земляного полотна местности подразделяются на две группы: с проявленной просадочностью
- участки близкого залегания грунтовых вод (до 3 м от дневной поверхности) -
третьего типа местности по условиям увлажнения; с непроявленной
просадочностью - участки глубокого залегания грунтовых вод (более 3 м от
дневной поверхности) - первого и второго типов местности по условиям
увлажнения. 10.34. На участках с
непроявленной просадочностью возможны просадки трех типов: поверхностные, происходящие в
слое 3-4 м в условиях недостаточного поверхностного водоотвода и устойчивого
глубокого залегания уровня грунтовых вод; глубинные, происходящие в
просадочной толще на различной глубине под действием грунтовых вод, при
обеспеченном поверхностном водоотводе; смешанные, представляющие
собой поверхностные и глубинные просадочные явления - результат совместного
действия поверхностных и грунтовых вод. Количественные показатели
степени просадочности определяются по табл. 10.1. Таблица 10.1
Участки сооружения земляного полотна относят к одному из выше
перечисленных типов в процессе инженерно-геологических обследований трассы
дорог. 10.35. При сооружении
земляного полотна следует предусматривать такое размещение водопропускных и
водоотводных сооружений, при котором основание земляного полотна и придорожная
полоса не будут подвергаться длительному увлажнению. Если предусмотрено
пересечение дорогой действующего водотока, необходимо сохранять его русло, так
как под ним просадка уже проявилась. Пропуск воды по новому руслу может быть
причиной больших просадок грунтов в основании земляного полотна. 10.36. Во всех случаях
необходимо обеспечить быстрый и беспрепятственный отвод земляного полотна
атмосферных осадков и защитить его от поверхностных и грунтовых вод,
использовав нагорные, боковые, сушильные и водоотводные канавы, водозащитные
планировки, дренажи и т.п. 10.37. Дно и откосы всех
видов водоотводных канав должны быть тщательно уплотнены или укреплены с целью
снижения водопроницаемости слагающих их грунтов. Не допускается использовать
водоотводные сооружения под посевы. Для устранения просадочных
свойств естественных грунтовых оснований рекомендуется: уплотнение, укрепление
и предварительное замачивание грунтов. 10.38. Для слабопросадочных и
просадочных грунтов при поверхностных просадках наиболее целесообразно
поверхностное уплотнение грунтов на 0,5 - 0,75 м до плотности не менее 0,95 от
максимальной при стандартном уплотнении на ширину полосы отвода. Эффективное
средство уплотнения - трамбующая машина с последующей укаткой тяжелыми катками
на пневматических шинах. Число проходов для достижения трамбуемой плотности
определяется методом пробной укатки. 10.39. Для увеличения глубины
проработки уплотняемой грунтовой толщи естественного основания можно применять
навесные трамбующие плиты. Для предотвращения разуплотнения верхнего слоя его
следует после трамбования укатывать двумя-тремя проходами катка на
пневматических шинах. 10.40. На дорогах I и II категорий,
проходящих по сильнопросадочным грунтам, а также в местах устройства
искусственных сооружений многоочковых водопропускных труб большого диаметра и
фундаментов путепроводов целесообразно укреплять просадочное основание
неорганическими вяжущими: цементом, золой уноса сухого улавливания, цементной
пылью, фосфогипсом и др. Технология глубинного укрепления грунтов описана в
специальных пособиях. 11. СООРУЖЕНИЕ ЗЕМЛЯНОГО ПОЛОТНА ИЗ КРУПНООБЛОМОЧНЫХ И СКАЛЬНЫХ ГРУНТОВРазработка крупнообломочных и скальных грунтов11.1. Грунты высокой
трудности разработки разрабатываются взрывами на выброс (сброс) или
бульдозерами и экскаваторами после взрывного рыхления. 11.2. Для рыхления взрывным
способом скальных грунтов рекомендуется применять методы: шнуровых зарядов при
разработке выемок глубиной до 3 м; котловых шпуров при разработке выемок
глубиной до 5 м, а также при разработке выемок любой глубины во всех породах
уступами (слоями) по 5 м; скважинных зарядов при разработке выемок глубиной
более 5 м. 11.3. Для бурения шнуров и
скважин применяют бурильные молотки (пневматические перфораторы) и станки,
действующие от передвижной компрессорной установки: ручные бурильные молотки
массой от 15 до 35 кг для бурения шпуров диаметром до 50-80 мм на глубину 3-5
м; колонковые бурильные машины
типа БТС для бурения шпуров и скважин на глубину свыше 5 м; станки с погружными
пневмоударниками типа СБУ, СБМК к др. 11.4. Для бурения шпуров на
заданную глубину применяют комплект буров. По мере углубления шпура бур
заменяют на более длинный, диаметр его головки уменьшают. Для упрощения заправки буров,
сокращения расхода стали и повышения скорости бурения следует применять съемные
коронки, армированные твердыми сплавами. В зависимости от крепости,
вязкости и трещиноватости горной породы применяют долотчатую, крестовую
(четырехперую) или звездчатую (шестиперую) коронки бура. Долотчатая коронка с углом
приострения 70-80° наиболее целесообразна в нетрещиноватых породах. В
трещиноватых породах, а также при бурении невязких пород любой крепости рекомендуется
крестовая (четерехперая) коронка с углом приострения 100-120°
как универсальная. Звездчатая коронка должна применяться лишь для весьма
крепких пород. 11.5. Взрывные работы на
объекте следует выполнять силами специализированных организаций. Подготовку к
взрывам (бурение скважин, шнуров и т.п.) могут выполнять как специализированные
организации, так и сами строители. Взрывные работы должны
выполняться в строгом соответствии с "Едиными правилами безопасности при
взрывных работах" (М., "Недра" 1972). 11.6. Взрывные работы
осуществляют тремя способами: рыхлением скальной породы на
куски определенного габарита с последующей уборкой их механизированным способом
(взрывание на рыхление грунта); полным или частичным
удалением породы силой взрыва за пределы выемки (взрывание на
"выброс") или с образованием полувыемок (взрывание на
"сброс"). Косогорные выемки при этом, как правило, разрабатываются
поярусно с полной доработкой и очисткой (оборкой) откосов каждого яруса. Взрыванием контуров на блоки
правильной формы (типа кубической) при массивных слаботрещиноватых и плотных
породах горизонтальной слоистости, раздельности. 11.7. Разработку выемок в
скальных грунтах ведут сразу с небольшим перебором во избежание последующей
трудной и дорогостоящей работы по снятию недовыбранного тонкого слоя скальных
грунтов. Выравнивают дорожное полотно до проектных отметок мелким рваным камнем
и щебнем. 11.8. Для образования ровных
поверхностей откосов при устройстве выемок и полувыемок и благоприятных
инженерно-геологических условиях (слабая трещиноватость пород, раздельность на
прямоугольные отдельности с вертикальным направлением плоскостей раздела,
способность пород к хрупкому сколу и т.п.) следует применять контурное
взрывание. 11.9. Исходные
инженерно-геологические данные для расчета контурных взрывов должны содержать:
названия горных пород, указания строительных групп по трудности разработки, а
также характеристику массивов пород по строению и выветрелости (расположение
пластов и систем трещин относительно оси выемки, мощность отдельных пластов, их
трещиноватость). 11.10. Количество контурных
зарядов в ряду должно назначаться таким, чтобы длина контурной щели,
образующейся при взрыве выемки или полувыемки, была на 10-20 м больше длины
участка, взрываемого на рыхление. Это опережение необходимо для того, чтобы
предотвратить трещинообразование в массивные породы за пределами контура выемки
от взрывов зарядов. 11.11. Для бурения контурных
скважин применяют машины БТС-75, БТСМ и станки СБМК-5, СБУ-125, БМК-4M. При
неровностях в общем одностороннем или двустороннем продольном уклоне
поверхности участка выемки рациональны машины БСТ-75 и станки СБМК-5. На ровных
и практически горизонтальных участках для этого используют машины БТС-М. 11.12. Для уменьшения
количества негабарита при разработке выемок следует применять рассредоточенные
скважинные заряды, между скважинами бурить шпуры. Шпуры и скважины следует
бурить с перебуром 10-15% высоты разрабатываемого уступа. 11.1.3. При разработке
монолитных крепких пород для исключения порогов и недобора на подошве выемки
наряду с вертикальными скважинами следует закладывать наклонные шпуры,
проходимые с подошвы выемки. 11.14. Буровзрывные работы и
погрузку рыхленной скальной породы экскаваторами можно вести параллельно. При
этом первые работы должны выполняться с опережением. Если для рыхления грунта в
выемках или уступах глубиной до 5 м применяют метод шпуровых зарядов,
буровзрывные работы следует выполнять с опережением, обеспечивающим не менее
чем сменный запас взорванной породы. При этом должно быть выдержано минимальное
расстояние опережения в соответствии с "Едиными правилами безопасности при
взрывных работах" (М., "Недра", 1972). 11.15. Перед началом работы
экскаватора негабариты, расположенные в верхнем слое взорванного грунта, должны
быть раздроблены взрывами. В процессе разработки выемки негабариты следует
отваливать в сторону и затем раздроблять взрывами, перемещая взорванную породу
бульдозером к экскаваторному забою. Рыхлить негабариты можно бурением и
взрыванием шпуров малого диаметра и накладными зарядами. Последний метод
следует применять только при ограниченной производительности компрессоров или
отсутствии бурильных молотков в незначительном количестве негабарита.
Оставшиеся в откосах и на основной площадке выемки выступы скального грунта
необходимо раздроблять. 11.16. При взрывных методах
разработки и рыхлении недоборы по основанию выемок не допускаются. Недоборы по
поверхности откосов не должны превышать 0,2 м при условии обеспечения их
устойчивости. Величина переборов после окончательной зачистки дна и откосов
выемок не должна быть больше значений, указанных в табл. 11.1. Таблица 11.1
Примечание. При буровзрывных работах под водой и на морских
акваториях в рейдах размеры переборов устанавливаются проектом организации
строительства. 11.17. При доработке выемок в
скальных грунтах после взрывов на выброс следует соблюдать следующий порядок
работ; дробление расположенных на поверхности негабаритов, образовавшихся при
взрыве траншеи; разравнивание навалом разрыхленного грунта бульдозером;
удаление взорванного грунта с откосов выемки и снятие нависающих камней и
козырьков экскаватором и мелкими взрывами; доработка выемки до проектного
очертания взрывами; выравнивание основной площадки. При ярусной разработке
выемок каждый ярус должен быть доработан до проектного контура и очищен до
начала работ на последующем ярусе. 11.18. Для взрывных работ
применяются только взрывчатые вещества, на которые имеются ГОСТы или
утвержденные в установленном порядке технические условия, а также постановления
гостехнадзора СССР. Взрывают при помощи
огнепроводного или детонирующего шпуров и электрическим способом. Электрический
способ удобен для одновременного взрывания нескольких зарядов. В этом случае
электродетонаторы и провода соединяют в электровзрывную сеть с одним источником
тока, в качестве которого обычно используют конденсаторную взрывную машину. 11.19. При разработке выемок,
полувыемок и траншей рекомендуется способ короткозамедлительного взрывания,
заключающийся в последовательном взрывании отдельных зарядов или их групп через
малые промежутки времени (порядка сотых и тысячных долей секунды), с таким
расчетом, чтобы каждый последующий взрыв усиливал эффект предыдущего. Так,
например, при разработке полувыемки в скальном косогоре взрыванием на сброс
рационально устраивать, два заряда - нижний и верхний - и взрывать с небольшим
замедлением после взрыва первого. Особенности сооружения насыпей из крупнообломочных и скальных грунтов11.20. До начала работ, а
также в процессе разработки горных склонов должно быть организовано постоянное
наблюдение за устойчивостью как отдельных скальных обломков, так и всего склона
выше места работ. В случае обнаружения их неустойчивости должны быть немедленно
приняты меры безопасности, как например, подрывание и пуск нависающих каменных
глыб. 11.21. при разработке
полувыемок на скальных косогорах вначале устраивают полку рабочего проезда
шириной 3,5 м, обеспечивающую возможность прохода основных машин (буровых
станков, экскаваторов, бульдозеров, автомобилей самосвалов и др.). Затем полку
уширяют, доводя земляное полотно до проектного очертания. 11.22. При разработке выемок
размельчение скальных пород до требуемых размеров частиц должно обеспечиваться
надлежащей технологией буровзрывных работ и исходить из возможных условий
уплотнения. Дробление крупных негабаритных обломков осуществляется накладными
зарядами. Все буроподрывные работы должны выполняться с соблюдением
установленных правил производства этих работ в соответствии с
"Техническими указаниями по проектированию и производству буровзрывных
работ при сооружении земляного полотна" (ВСН 178-74). 11.23. При устройстве насыпей
из крупнообломочных пород, являющихся продуктом разработки выемок или процесса
выветривания, верхний слой насыпи толщиной 1 м отсыпают из наиболее мелкого
камня. В случае использования для уплотнения крупнообломочных грунтов катков на
пневматических шинах размер крупных включений не должен превышать 250 мм в
ребре. Максимальный размер фракции крупнообломочного грунта, используемого для
сооружения стальной части насыпей, не должен превышать 2/3 толщины уплотняемого
слоя грунта. 11.24. Крупнообломочные
грунты, содержащие более 30% глинистого заполнителя, следует уплотнять, при
влажности мелкозема не выше оптимальной Wo, а при содержании мелкозема
менее 30% его влажность должна быть близка к значению 1,3Wo. Грунты, уплотненные при влажности мелкозема ниже
этих значений (твердая консистенция), склонны к проявлению просадочных
деформаций. 11.25 Уплотнение,
крупнообломочных грунтов прочность, которых составляет 50×105 (50 кгс/см2), следует осуществлять в два
этапа: на первом - решетчатыми катками, на втором - катками на пневматических
шинах массой не менее 25-30 т. 11.26. Организацию работ по
сооружению насыпей из легковыветривающихся размягчаемых крупнообломочных и
скальных грунтов назначают с учетом природных условий, а также выветрелости и
склонности пород к дальнейшему выветриванию. 11.27. При использовании
крупнообломочных грунтов, склонных к быстрому размоканию, работы должны производиться
только в сухую погоду с минимальными разрывами во времени между отдельными
технологическими операциями. Особое внимание должно быть уделено сокращению
периода времени между отсыпкой очередного слоя насыпи и его уплотнением с тем,
чтобы в дождливую погоду избежать переувлажнения грунта перед уплотнением. 11.28. Разработку
крупнообломочного грунта после взрывных работ целесообразно производить
экскаватором с вместимостью ковша 0,65-1 м3 для погрузки на
транспортные средства. При необходимости окучивания грунта и отвала негабаритов
на горизонтальных поверхностях и склонах крутизной до 1:3 применяют бульдозеры. 11.29. При слоистом залегании
легковыветривающихся размягчаемых пород, перемежающихся со слоями глинистых
грунтов, разработку следует нести на всю толщину забоя с учетом того, чтобы в
разрабатываемых грунтах содержалось 30-40% (по массе глинистого мелкозема, в
противном случае - разработку ведет отдельными слоями). 11.30. Для получения высокой
плотности легковыветривающиеся размягчаемые породы перед уплотнением следует
увлажнять. Для увлажнения следует применить поливо-моечные машины, разливая
воду в несколько приемов. Влажность раздробленной мелкоземной части грунта
должна соответствовать тугопластичной консистенции (В = 0,3). 11.31. Легковыветривающиеся
размягчаемые крупнообломочные грунты следует укреплять в два этапа: на первом
(непосредственно после разравнивания и увлажнения) - решетчатыми катками,
которые осуществляют дополнительное дробление грунта, на втором - тяжелыми
катками на пневматических шинах. Требуемая степень уплотнения грунта
достигается после 10-12 проходов по одному следу катков на пневматических шинах
массой 25-30 т. Грунты в стесненных условиях
уплотняют при помощи трамбующих машин. 11.32. При наличии на
уплотненной поверхности (при действии атмосферных осадков) «шубы» из
переувлажненного и размокшего грунта ее следует удалить зачисткой грейдером
непосредственно перед отсыпкой последующего слоя. 11.33. При устройстве
защитных слоев из глинистых или суглинистых грунтов последние досыпаются на
ширину уступов предусмотренной в этом случае ступенчатой конструкции ядра
насыпи. Грунты, укрепленные
органическими вяжущими материалами, укладываются на уплотненную и
спланированную поверхность откосов. При ступенчатой конструкции
ядра насыпи устройство защитного слоя из глинистого грунта на откосах
осуществляется в процессе сооружения основной части насыпи. В этом случае по
мере возведения каждой ступени ядра насыпи из легковыветривающихся размягчаемых
крупнообломочных грунтов досыпается слой глинистого грунта со стороны откоса.
Движение автомобилей при перевозке глинистого грунта может осуществляться по
уплотненной поверхности отсыпанного слоя ядра насыпи. Разравнивание глинистого
грунта следует осуществлять бульдозером с последующим уплотнением катками на
пневматических шинах. 11.34. При устройстве
защитного слоя (толщиной 15-20 см) из грунтов, укрепленных органическими
вяжущими, грунт предварительно смешивается с вяжущими материалами в
стационарных или передвижных установках и вывозится автомобилями-самосвалами к
месту укладки. Для распределения смеси на поверхности откосов рекомендуются
бульдозеры или экскаваторы-планировщики. В качестве уплотняющих средств могут
быть применены площадочные вибраторы или виброрейки, перемещаемые по откосу
сверху вниз и снизу вверх. Уход за уложенными смесями на
поверхности откосов может осуществляться путем распределения битумной эмульсии
автогудронатором, оборудованным выносной трубой-распределителем или выносными
форсунками на гибких шлангах. 12. СООРУЖЕНИЕ ЗЕМЛЯНОГО ПОЛОТНА НА БОЛОТАХОбщие положения12.1. Рабочий проект на
сооружение земляного полотна на переходах через болота и другие участки слабых
грунтов должен содержать наряду с конструктивными и технологические решения,
обеспечивающие в своем комплексе устойчивость (исключения
выдавливание слабого слоя), стабильность (отсутствие осадки) в период
эксплуатации, жесткость (ограничение; упругих колебаний). Рис. 12.1. Типовая схема земляного полотна, возведенного на поверхности
слабой толщи 12.2. Замена слабого грунта в
основании насыпи выполняется на болотах I и IIа типа путем механического,
взрывного или гидравлического выторфофывания, а на болотах IIб и III типа
- путем отжатия болотных грунтов весом насыпи. 12.3. При сооружении насыпей
с использованием в их основании слабых грунтов, в целях повышения устойчивости,
ускорения осадки и снижения влияния динамической нагрузки предусматриваются
следующие конструктивно-технологические мероприятия: отсыпка насыпи с заданным
режимом, армирование грунта, частичное выторфовывание грунта, временная
пригрузка, устройство вертикальных песчаных дрен или песчаных свай, дренажных
прорезей, увеличение толщины насыпи. 12.4. На насыпях, в
основаниях которых используются слабые грунты, капитальные покрытия можно устраивать
после завершения не менее 90% расчетной осадки или при условии, что средняя
интенсивность осадки за месяц, предшествующий устройству покрытия, не превышает
1,5-2 см/год. Для устройства усовершенствованных облегченных покрытий требуется
достижение не менее 80% расчетной осадки или интенсивности осадки не более 3-5
см/год. При динамической нагрузке
осадка ускоряется, поэтому на переходах через болото целесообразно пропускать
движение автомобилей в период до устройства покрытий по поверхности земляного полотна
или слоя основания или по сборным железобетонным плитам с выравниванием и
устройством монолитных слоев после достижения требуемой стабильности. 12.5. При использовании в
основании земляного полотна слабых грунтов насыпь следует возводить сразу на полную
проектную толщину (сумма рабочей отметки и расчетной величины осадки).
Постепенная досыпка насыпи по мере ее осадки не допускается. Примечание. В случае если слабое основание не обладает
необходимой устойчивостью, проектом предусматривается метод постепенного
загружения. 12.6. При определении
требуемого объема грунта для устройства насыпи сечение погружаемой части Fпогр принимают в виде трапеции с
высотой, равной расчетной величине осадки S и меньшим основанием, равным
ширине земляного полотна между бровками В (рис. 12.1): Fпогр=SB+(h-S)m, где m - уклон откоса насыпи. 12.7. В целях повышения
устойчивости насыпи, снижения неравномерности ее осадки, а также для улучшения
условий производства работ при устройстве нижних слоев в основании насыпи
рекомендуется укладывать армирующий слой нетканого синтетического материала
тина «Дорнит». Слой нетканого материала
укладывают на всю ширину насыпи понизу с выводом краев полотнищ на 1,0-1,5 м за
ее границы. Полотнища материала следует сшивать или склеивать. Допускается
соединение способом «внахлест» с перекрытием на 30 см. Для обеспечения пропуска
строительных машин слой нетканого синтетического материала должен быть перекрыт
слоем грунта насыпи толщиной 40-60 см. 12.8. При замене слабых
грунтов требования к расчистке полосы отвода устанавливаются с учетом метода
выторфовывания и типов машин. Проектом должно быть предусмотрено место отвала
вынутого грунта и способ его вывозки (при невозможности устройства боковых кавальеров). При использовании слабых
грунтов дерновый слой на торфяном болоте целесообразно не удалять; допускается
при толщине насыпного слоя 1,5 м и более оставлять пни, срезанные на уровне
поверхности земли, а также срезанное мелколесье и порубочные остатки с укладкой
стволов поперек оси дороги. 12.9. Выторфовывание,
устройство траншей, прорезей, водоотводных канав, рыхление дернового покрова
экскаваторами, канавокопателями и взрывным способом целесообразно в зимнее
время после образования мерзлой коры, обеспечивающей проходимость машин. В зависимости от массы и вида
ходовой части машин толщина мерзлого слоя, обеспечивающая проходимость, должна
быть 15-30 см. Промерзание ускоряется примерно в 2 раза при систематической
очистке поверхности грунта от снега. 12.10. Для работы на болотах
следует использовать землеройные машины повышенной проходимости. При работе
экскаваторов на болотах с недостаточной несущей способностью грунта возможно
использование инвентарных деревянных щитов. ПОС должен содержать конкретные решения
по размещению и конструкции землевозных дорог. 12.11. При использовании в
основании насыпи слабых грунтов, а также при наличии уклонов дна болота в
процессе строительства должны быть установлены постоянные наблюдения за
смещениями насыпи по высоте и в плане. В случаях нарушения устойчивости
основания или недопустимых отклонений от расчетной осадки следует вносить
соответствующие изменения в конструктивные параметры и технологические схемы. Замена слабого грунта в основании насыпи12.12. Выторфовывание на
болотах I типа выполняется одноковшовым
экскаватором-драглайном сразу на полную глубину залегания слабого слоя. На илистых болотах применяют
обратную лопату. Крупные пни извлекают грейфером. Удаленный торф укладывают в
кавальеры или грузят в автомобили-самосвалы для вывозки в отведенный отвал. В
зимних условиях, а также на осушенных болотах возможно разравнивание боковых
кавальеров бульдозером. В зависимости от ширины и глубины выторфовывания и от
рабочих параметров экскаватора болотный газ удаляют по одной из следующих схем:
«на себя», одной или двумя продольными захватками; поперечными траншеями; «от
себя», с работой экскаватора с насыпи. 12.13. При организации работ
по первой схеме экскаватор, двигаясь вдоль оси траншеи, разрабатывает ее на
полный профиль - "на себя" и укладывает грунт в два отвала по обе
стороны траншеи либо наполовину сечения с укладкой торфа в один отвал (рис. 12.2). Схема обеспечивает наибольшую
производительность разработки благодаря небольшим углам поворота стрелы
экскаватора. Эта схема применяется в
случаях отсутствия вдоль насыпи водоотводных канав. При наличии водоотводных
канав экскаватор движется вдоль бровки разрабатывая траншею на полный профиль
или до оси с поворотом стрелы на 180° и укладкой грунта в один
отвал. По этой схеме одновременно с разработкой траншеи возможно устройство
водоотводной канавы. Обе схемы позволяют
разрабатывать траншеи до 12 м (по верхнему сечению) при использовании драглайна
c длиной стрелы не менее 13 м (экскаватор типа Э-652). 12.14. Широкие траншеи
глубиной более 4 м разрабатывают поперечными проходками. Размер захватки в этом
случае равен половине ширины траншеи. Данная схема более целесообразна при
вывозке вынутого торфа автотранспортом. Рис. 12.2. Схема
выторфовывания "на себя" с перемещением экскаватора по щитам: 1 -
экскаватор Э-652; 2 - подвозка грунта автомобилями-самосвалами; 3
- послойное распределение грунта бульдозером; I - разравнивание торфа,
вынутого из траншеи, бульдозером на уширенных гусеницах Рис. 12.3. Схема
вытофовывания поперечными проходами с перемещением экскаватора на насыпи: 1 -
разработка торфа экскаваторами; 2 - подвоз грунта
автомобилями-самосвалами; 3 - заполнение траншеи бульдозером; I-IV - порядок разработки захваток 12.15. При замене слабых
грунтов в основании насыпи устройство траншеи "в задел", как правило,
не допускается. Выторфовывание не должно опережать отсыпку нижней части насыпи
более чем на одну-две сменные захватки. 12.16. На болотах с низкой
несущей способностью, а также при устройстве широких и глубоких траншей с
большим объемом выторфовывания, сооружение земляного полотна ведется «от себя». Экскаватор перемещается по
отсыпаемой насыпи (рис. 12.3). Торф можно транспортировать в
специальные отвалы автомобилями-самосвалами, занятыми на возведение насыпи.
Сооружение, насыпи ведется путем надвижки бульдозером в открытую поперечную
траншею. 12.17. Траншеи глубиной до 1
м на осушенных болотах I типа с подстилающим слоем из
плотных грунтов при ширине основания насыпи 12 м и более целесообразно
разрабатывать бульдозером. Уклон откосов траншей не должен превышать 1:3,5. Технологический процесс
включает разработку траншеи и перемещение торфа в кавальер и разравнивание его
слоем толщиной до 0,5 м. Для производства работ следует применять бульдозеры на
уширенных гусеницах, оборудованные отвалами с открылками. Выторфовывание ведется
поперечными проходками от одной бровки до другой; торф перемещается за пределы
водоотводных канав, которые устраивают сразу после выторфовывания. 12.18. Методом
гидромеханизации производят разрыхление торфа в основании при возведении насыпи
на болотах I и II типа по методу посадки их на
минеральное дно. Гидравлическими методами возможно устраивать торфоприемники,
разрушать сплавину на болотах III типа. Применение методов
гидромеханизации возможно при обеспечении напора на насадке гидромонитора не
менее 0,4 МПа (4 атм.), наличие достаточного количества воды и условии для
сброса пульпы за полосу отвода. Максимальная длина водоотвода восстанавливается
с учетом потерь напора в водоотводе и преодоления разности высот. Если траншея удалена от
источника воды более чем на максимально допустимое расстояние, следует
применять последовательное включение насосных установок с обязательным
технико-экономическими обоснованиями целесообразности такого варианта
организации работ. Торф в траншее размывают
попутным или встречным забоем (рис. 12.4). Каждая из технологических схем
может быть осуществлена в двух вариантах: I -
трубопровод монтируется на всю длину траншеи, гидромонитор перемещается в
сторону насосной установки с разборкой трубопровода; II - трубопровод монтируется
в непосредственной близости к насосной установке, гидромонитор перемещается от
насосной установки с наращиванием трубопровода. Второй вариант рекомендуется
применять в случае необходимости использования оборотной воды. 12.19. Подготовка основания
взрывным способом может применяться для отсыпки насыпей на болотах всех типов в
следующих случаях: устройство траншей на болотах
I типа при выторфовывании до минерального дна (удаление торфа из-под насыпи:
рыхление дерново-корневого покрова и устройство канав-торфоприемников на
болотах I и II типов при посадке насыпи на дно болота); разрыхление сплавины на
болотах III типа. Наиболее эффективен взрывной
способ при работах в зимнее время, на пнистых и обводненных болотах, на болотах
с мощным и прочным дерново-корневым покровом. 12.20. Взывание торфяных пластов
можно вести методом скважинных и непрерывных горизонтальных зарядов
направленного выброса. Направленный выброс при
устройстве траншей и канав-торфоприемников осуществляется при расположении
скважин в один ряд наклонно под углом 60° к горизонту или в несколько
рядов с использованием короткозамедленного взрывания. Количество рядов
скважинных или горизонтальных зарядов определяется в зависимости от размеров
траншей и свойств торфяной залежи так, чтобы был обеспечен наиболее полный
выброс торфа. Для лучшего выброса торфа при
устройстве траншей на болотах I типа скважинные заряды
рекомендуется закладывать до минерального дна болота. Скважины нужно заряжать для
предотвращения их заплывания непосредственно вслед за бурением. При этом
боевики следует вводить в центральную часть заряда, а детонирующий шнур
пропускать через заряд до основания скважины или шурфа. 12.21. На болотах I и II типов
глубиной свыше 4 м, где взрывание на выброс затруднено, для ускорения посадки
на дно плавающих насыпей в процессе строительства или реконструкции дороги
целесообразно применять поднасыпные взрывы (рис. 12.5). Эффективность взрывной
посадки возрастает, если до отсыпки насыпи или непосредственно перед взрывами
разрыхлить верхний слой с каждой стороны насыпи на 3-5 м механическим или
взрывным способом. Толщина насыпного слоя при поднасыпном взрыве удлиненными
зарядами должна быть не менее удвоенной мощности находящегося под ней торфа и
не менее 2 м. При ширине насыпи более 20 м рекомендуется в начале осаживать
осевыми взрывами ее среднюю часть, а затем крайние. Скважины для взрывания
бурят через тело насыпи самоходными буровыми установками. Проходку и зарядку
скважин ведут в обсадных трубах. Рис. 12.4. Технологическая
схема размыва торфа в траншее (первый вариант): а -
попутным забоем; б - встречным забоем; Рис. 12.5. Технологические
схемы взрывного выторфовывания: а - рыхление торфа при отсыпке
насыпи лобовым способом; б - посадки на дно болота насыпи шириной до 12
м; в - посадка на дно болота насыпи шириной более 12 м; I-III -
последовательность выполнения работ Полноту удаления торфа из-под
насыпи выявляют бурением. Если слой торфа обнаружен по всему сечению, взрывы
повторяют полностью. Если же торф остался только под откосными частями,
дополнительные удлиненные заряды взрывают под откосами. 12.22. Посадка насыпи на
поверхность прочного слоя, подстилающего толщу болотного грунта, под действием
веса самой насыпи достигается в случае, если нагрузка превышает предел несущей
способности слабого слоя. Расчет несущей способности выполняется в процессе
проектирования по данным инженерно-геологических испытаний. В целях облегчения
посадки насыпи применяются методы увеличения нагрузки (перегрузка), устройство
траншеи торфоприемников, разрыхление отжимаемого пласта механическим,
гидравлическим или взрывным способом (рис. 12.5, а). Дополнительные мероприятия по
ослаблению несущей способности верхнего слоя необходимы при погружении насыпей
на болотах I и II типов. 12.23. При сооружении насыпей
с широкими основаниями на болотах I типа глубиной до 2 м, где
выторфовывание сразу на всю ширину основания затруднено, рекомендуется
применять метод «узких» траншей, который заключается в короткозамедленном
взрывании осевой траншеи, ее засыпке и следующем затем взрывании боковых
траншей наклонными зарядами (рис. 12.5, б, в). 12.24. Дерноно-корневой
покров болот всех типов разрыхляют взрыванием скважинных зарядов, закладываемых
на глубину, равную 0,9 толщины покрова. Дерново-корневой покров болот
II типа в зимнее время удаляется взрыванием на выброс. В случае образования перед
отсыпаемой насыпью плотного торфяного вала, препятствующего погружению насыпи
на минеральное дно, его разрыхляют взрыванием наклонных зарядов. Рис. 12.6. Схема посадки
насыпи на дно болота методом перегрузки: 1 - временное сечение отсыпаемой насыпи; 2 - проектное сечение земляного
полотна; 3 - реальное сечение земляного полотна после завершения работы; Рис. 12.7. Схема посадки насыпи в залежи II типа с использованием
токоприемников 12.25. Устройство канав-торфоприемников
на болотах II типа и удаление торфа из них производится направленным взрывом
наклонных зарядов. При взрывных работах методом
скважинных зарядов скважины рекомендуется бурить переносным бурильным станком. 12.26. Метод увеличения
нагрузки (перегрузка) применяется на болотах II типа и случаях, когда на
отдельных участках посадка насыпи на дно болота затруднена. Бульдозером
надвигают дополнительные слои грунта в место прекращения погружении. При этом
фронт отсыпки в плане целесообразно выполнять в виде клина («утюгом»).
Наращивание насыпи в высоту ведется до ее погружения, после чего излишний объем
используют для расширения или продолжения насыпи (рис. 12.6). 12.27. Устройство
торфоприемников целесообразно применять на болотах, где прочные слои
подстилаются более слабыми пластами торфа II типа или сапропелей.
Торфоприемники выполняют механической экскавацией или взрывным способом на
расстоянии 2-2,5 м (но не больше толщины прочного слоя) от контура подошвы.
Ширина торфоприемника должна быть не меньше половины мощности слоя, подлежащего
выдавливанию, а глубина доходить до кровли этого слоя (рис. 12.7). Устройство
торфоприемников должно опережать отсыпку насыпи одну-три сменные захватки. 12.28. При засыпке траншеи
выторфовывания несвязный грунт ниже уровня заполнения траншеи водой допускается
не уплотнять. Вышележащие слои уплотняют общепринятыми методами. При
использовании несвязных грунтов, а также в случаях, когда покрытие
капитального, усовершенствованного типа устраивают в один год с сооружением
земляного полотна, проектом должны быть предусмотрены индивидуальные методы
глубокого уплотнения всех насыпных слоев (трамбующие плиты,
гидровиброуплотнение). Устройство вертикальных дрен12.29. Вертикальные дрены
устраивают с целью облегчения отжатия поровой воды из сжимаемого слоя
водонасыщенного слабого грунта. Вертикальные дрены сооружают в виде скважин,
заполненных песком или иным фильтрующим материалом. Аналогичный вид имеют
песчаные сваи, применение которых уменьшает осадку и упругие колебания слабого
грунта. Разновидностью вертикальных
дрен являются продольные прорези, заполненные песком. Вертикальное дренирование
целесообразно сочетать с методом временной пригрузки. 12.30. Дренажные прорези
устраивают на болотах I типа глубиной до 4 м для
ускорения осадки насыпей, повышения устойчивости оснований и снижения упругих
деформаций от временной нагрузки. Дренажные прорези
рекомендуется устраивать экскаватором, оборудованном в летнее время драглайном,
а в зимнее время при глубине промерзания до 0,3 м обратной лопатой, или
многоковшовым экскаватором. Экскаватор, работая на захватке 1 (рис. 2.8), открывает прорези на проектную глубину. В
это время на захватке 2 бульдозер заполняет открытые траншеи песком из
заранее подготовленного вала, а на захватке 1 подвозят песок. Разработка прорезей
одноковшовым экскаватором ведется захватками 8-19 м (зимой 5-6 м) с одной
стоянки. На другую стоянку экскаватор переходит под углом 45-60°
к оси дороги. Торф размещают и разравнивают
бульдозером с уширенным отвалом или с открылками. Для разработки дренажных
прорезей целесообразны многоковшовые экскаваторы болотной модификации с
удлиненным транспортером. В этом случае величина рабочей захватки назначается в
зависимости от консистенции торфа и погодных условий и в увязке с темпом
отсыпки насыпи. 12.31. Вертикальные дрены и
песчаные сваи располагают по треугольной, шахматной или квадратной сетке с
шагом дрен 2-1 м и свай 1-2 м. Для заполнения вертикальных
дрен применяют песок с коэффициентом фильтрации не менее 6 м/сут или
гравийно-песчаную смесь с диаметром частиц до 60 мм. Нижнюю часть насыпи
(рабочую платформу) отсыпают из дренирующего грунта с коэффициентом фильтрации
более 3 м/сут. Песчаные сваи устраивают из
песчаных грунтов, пригодных для отсыпки насыпи без дополнительных ограничений,
в случае если песчаные сваи предполагается использовать и как дрены, требования
к материалу для их заполнения такие же, как и при устройстве вертикальных дрен.
Осушающий и уплотняющий эффект дрен и свай при введении в состав заполнения
извести.
Рис. 12.8. Схема организации
работ по устройству дренажных прорезей драглайном: 1 -
первая захватка; 2 - вторая захватка; 3 - рабочие стояки
экскаватора Рис. 12.9. Технологическая
схема строительства перехода через отложения слабых грунтов с применением
вертикальных дрен: 1 - надвижки бульдозером
рабочего слоя; 2 - устройство дрен с загрузкой песком; 3 -
наращивание земляного полотна до проектной отметки и устройство временной
пригрузки; 4 - контроль осадки; 5 - снятие пригрузочного слоя; 6
- доуплотнение земляного полотна; 7 - устройство одежды Диаметр вертикальных песчаных
дрен и песчаных свай в зависимости от оборудования и длины-300-600 мм. 12.32. Перед устройством
вертикальных песчаных дрен и песчаных свай на поверхности болота производят
отсыпку рабочей платформы из песка. Толщина в зависимости от несущей
способности грунта основания и веса применяемых механизмов составляет 0,5-1 м.
Ширина рабочей платформы должна превышать ширину свайного поля не менее чем на
2,5 м. Работы по устройству рабочей платформы выполняются по технологическим
схемам, принятым при сооружении насыпей на болотах. Поверхность рабочей платформы
планируют, после чего намечают центры скважин с выноской и закреплением осей
поперечных рядов. На спланированную рабочую платформу автомобилями-самосвалами
завозят песок для заполнения скважин (рис. 12.9). 12.33. При сооружении
песчаных свай следует отдавать предпочтение методам, предусматривающим
вдавливание обсадной трубы с уплотнением массива слабого грунта, а при
устройстве вертикальных дрен более предпочтительны методы, позволяющие создать
вертикальный песчаный столб без уплотнения грунта вокруг дрен, т.е. путем
выбуривания. Для вертикальных дрен и
песчаных свай применяются специализированная машина для вибропогружения типа
ВВПС или кран с вибропогружателем, дополнительно укомплектованным рабочим
органом в виде полой обсадной трубы с самораскрывающимся наконечником.
Эффективность устройства свай-дрен возрастает при использовании методов
гидронамыва. 12.34. Технологический
процесс устройства свай и дрен состоит из следующих операций: погружение
обсадной трубы, заполнение ее песком, виброизвлечение трубы и уплотнение песка
в свае. Сваи устраивают при движении агрегата по челночной схеме продольными
рядами по 20-30 шт., после чего агрегат разворачивается и делает следующий ряд,
направляясь в обратном направлении. Обсадную трубу погружают
слабый грунт с помощью вибрации, безвибрационным задавливанием в грунтах,
разжижающихся под действием вибрации или комбинированным способом. Для
прохождения рабочей платформы и прослоек плотного грунта целесообразно
использовать отдельную машину типа ямобура. Достигшую заданной глубины обсадную
трубу заполняют песком с помощью погрузчика, оборудованного двухчелюстным
ковшом. Извлекают обсадную трубу при
включенном вибраторе. В продолжении первых 10 с скорость извлечения не должна
превышать 0,4 м при максимальной интенсивности вибрации. Если песок свободно
истекает из трубы, дальнейшее извлечение ведут со скоростью до 0,2 м/с, снижая
интенсивность вибрации. По окончании извлечения трубы агрегат переезжает на
новую точку. Комплект машин по устройству
песчаных свай и дрен состоит из вибропогружателя, электростанции, буровой
машины, легкого бульдозера погрузчика. Сооружение насыпей способами постепенного загружения и временной пригрузки12.35. Способ постепенного
загружения (предварительной консолидации) применяется при сооружении насыпей на
болотах I и II типа в том случае, когда
основание не может воспринять без нарушения устойчивости нагрузку от всей
насыпи. Отсыпку насыпи ведут в режиме, при котором каждая последующая ступень
нагрузки прикладывается после, соответствующего упрочнения грунта за счет его
уплотнения под предыдущей ступенью. Режим нагружения устанавливается
индивидуальным проектом. При отсыпке насыпи
регистрируется фактическая осадка основания во времени. Осадку замеряют путем
нивелирования наблюдательных марок, установленных по подошве насыпи. Марки
представляют собой металлические штыри, приваренные к опорной плите из листовой
стали. Отсыпку второго и последующих слоев начинают после достижения расчетной
осадки основания от предыдущего слоя насыпи. 12.36. Для ускорения осадки
плавающих насыпей на болотах I и IIl типа может быть применена
временная пригрузка насыпи дополнительным слоем грунта. Толщина слоя временной
пригрузки и время ее выдерживания устанавливается расчетом в индивидуальном
проекте. Обычно временную пригрузку назначают в пределах 2 м, время
выдерживания от одного месяца до одного года. 12.37. После достижения
расчетной осадки пригрузочный слой должен быть быстро снят. Грунт из
пригрузочного слоя используют для насыпей, не требующих длительного выдерживания
на других участках. Грунт пригрузочного слоя целесообразно перемещать
скреперами. На протяженных переходах
через болота с однотипными условиями следует вести работы по схеме укрупненного
потока, при которой производительность отсыпки насыпи подбирают таким образом,
чтобы пригрузочный слой находился на определенном участке насыпи расчетное
время и постепенно перемещался вслед за фронтом отсыпки. 12.38. Осадку насыпи с
временной пригрузкой контролируют по маркам. Если в процессе отсыпки временной пригрузки
будут обнаружены признаки выпора или выдавливания торфа из-под насыпи, работы
необходимо прекратить и возобновить их только после проверки устойчивости
основания. 12.39. В районах со
среднегодовой температурой воздуха ниже 0°С для дорог III-V категорий
и промышленных дорого на переходах через болота проектом может быть
предусмотрено использование промороженного основания. При этом нижнюю часть
насыпи толщиной, определенной расчетом устраивают из малоразложившегося
подсушенного в валах торфа. Торф для этой цели может быть получен в боковых
резервах или специальных карьерах. Работы по сооружению насыпи
ведутся в зимний период, после промерзания основания на величину, близкую к
максимальной. В целях ускорения промерзания с полосы отвода заблаговременно
удаляют мохорастительный покров и очищают поверхность от снега. 12.40. Для дорог с
переходными и низинными типами покрытий, а также сборными покрытиями на
переходах через торфяные болота допускается использовать в нижней части насыпи
малоразложившийся торф. При этом толщина слоя минерального грунта от верха
торфяного слоя до низа одежды (в метрах) должна быть не менее: Песок,
супесь легкая пылеватая............................................................... 0,8 Песок
пылеватый, супесь легкая.............................................................. 1,2 Супесь
пылеватая и тяжелая пылеватая, суглинки, глины................... 1,6 13. ПРОИЗВОДСТВЕННЫЙ КОНТРОЛЬ КАЧЕСТВА. ПРИЕМКА ЗЕМЛЯНОГО ПОЛОТНАОбщие положения13.1. До начала работ по
сооружению земляного полотна на данном участке должны быть полностью выполнены
все подготовительные работы: геодезическая разбивочная основа; перенос и
переустройство линий коммуникаций, снос и перенос зданий и сооружений,
восстановление и закрепление трассы дороги, расчистка дорожной полосы и др. Окончание подготовительных
работ должно быть подтверждено актом освидетельствования скрытых работ по форме
(приложение
10). 13.2. В процессе сооружения
земляного полотна для постоянного учета и регулирования качества работ
проводится производственный контроль. После окончания работ по
устройству земляного полотна, как правило, проводиться его промежуточная
приемка с оформлением акта по форме, (приложение 11). 13.3. Производственный
контроль качества включает следующие этапы: входной, операционный и приемочный.
Данные контроля из всех этапах фиксируются и журналах работ и обобщаются в
ведомостях. Результаты производственного контроля предъявляются при
сдаче-приемке законченного земляного полотна, а также используются для
непосредственной оценки работы исполнителей в целях материального и морального
стимулирования и разработки мероприятий по совершенствованию производственных
процессов. 13.4. Кроме производственного
контроля, в строительных организациях осуществляется проверка качества
строительства объекта со стороны государственных и ведомственных органов
контроля и надзора, а также авторского надзора со стороны проектной
организации. Порядок и содержание контроля специальными органами определяется
соответствующими положениями и инструкциями. 13.5. В строительных
организациях должны систематически разрабатываться организационные, технические
и экономические мероприятия, направленные на повышение уровня качества
строительства за счет улучшения работы исполнителей, повышения их квалификации,
совершенствования оборудования и инструмента, улучшения лабораторных и
геодезических служб. Входной контроль13.6. До начала работ по
сооружению земляного полотна должно быть проверено соответствие принятых в
проекте и фактических показателей со стана и состояния грунтов в карьерах,
резервах, выемках, естественных основаниях. При входном контроле
проверяют правильность определения объемов резервов с учетом фактической
ситуации в плане, состав грунта по наименованию вида и разновидности (в том
числе особых разновидностей), наличию крупных включений, влажности. 13.7. Проверка резервов
(карьеров, выемок) производится путем бурения или шурфования с отбором проб.
Количество скважин или шурфов устанавливают в зависимости от сложности
геологического разреза, но не менее двух на каждый километр притрассовых
резервов или каждые 10 тыс. м3 сосредоточенных резервов (карьеров,
выемок). При установлении наличия слоев грунта разных видов число скважин или
шурфов соответственно увеличивается. Глубина отбора проб должна быть не меньше
проектной глубины выработки. При однородных грунтах допустимо отбирать одну
пробу, при изменении состава или влажности - не менее трех по глубине. Состав (вид, разновидность) и
влажность, проб определяют в производственных лабораториях по действующим
ГОСТам (приложение 17). Данные, входного
контроля резервов оформляются ведомостью (приложение 12). В процессе разработки
резервов (выемок, карьеров) проводятся систематические наблюдения за изменением
влажности грунтов в зависимости от условий увлажнения и просыхания. Отбор прo6 на
влажность должен производиться не менее двух на каждые 10 тыс. м3
выемки или карьера с периодичностью 1 раз в неделю при устойчивой погоде и
ежедневно после дождей интенсивностью более 5 мм/сут. Результаты измерения
влажности заносятся в общий журнал работ. Прогнозирование изменения
влажности грунта в резерве при составлении проекта производства работ ведется
по данным ближайших метеостанций с расчетной обеспеченностью 90 %. При обнаружении расхождений
фактических показателей вида грунта, влажности или других характеристик с
проектными данными в случаях, если эти расхождения могут оказать влияние на
качество сооружения или технологию производства работ, заказчик обязан внести в
рабочую документацию соответствующие изменения. 13.8. На этапе входного
контроля строительной организацией выполняется настройка основных
технологических процессов на пионерных участках. Настройка технологического
процесса уплотнения грунтов осуществляется методом «пробного уплотнения». Организация
и технология пробного уплотнения описаны в приложении 13. Результаты пробного
уплотнения фиксируются в специальном журнале. 13.9. При наличии в зоне
земляных работ косорогов, склонов круче 1:3, слабых и обводненных грунтов,
водных источников, марей, наледей до начала работ следует проверить полотну
учета в проекте требований безопасности, касающихся обеспечения устойчивости
как во время строительства, так и в период эксплуатации сооружения, предупреждения
обвалов, оползней, затопления и других потенциально опасных явлений. При наличии в зоне
производства работ недопустимых для предусмотренных по принятой технологии
машин уклонов, неровностей, мест с ограниченной несущей способностью в ППР
должны быть включены соответствующие мероприятия. 13.10. До начала земляных
работ обязательной проверке подлежит соответствие технологических схем условиям
безопасного ведения работ по фактическому положению проводов и кабелей
энергопередачи, трубопроводов и других пересекаемых и смежных сооружений. 13.11. Строительные
конструкции, изделия, материалы и инженерное оборудование, поступающее на
стройку, должны иметь паспорт, подтверждающий соответствие предусмотренным
проектом показателям качества (или предусмотренным стандартам, техническим
условиям и т.п.). Строительная организация обязана производить выборочную
проверку соответствия фактических показателей паспортным данным. Операционный контроль13.12. Операционный контроль
проводится в ходе производственных процессов с целью установления соответствия
выполняемых работ нормативным требованиям, проектной документации и соблюдения
заданной технологии. Операционный контроль должен охватить полный объем всех
видов работ за все время их выполнения. Отклонения от заданной
технологии (ППР, технологических карт) фиксируются по всем в дальнейшем
контролируемым показателям, изменение которых может оказать влияние на
качество: погодные условия, состав машин, применяемое оборудование, очередность
и длительность операций и т.п. Отклонения от заданной технологии фиксируются в
общем журнале работ. К постоянно контролируемым
показателям качества сооружения земляного полотна относятся: правильность
осевой линии поверхностного земляного полотна в плане и профиле; плотность
естественного основания (перед устройством вышележащих слоев земляного полотна
или одежды); ровность поверхности, соблюдение поперечных уклонов; ширина
земляного полотна, крутизна откосов, возведение насыпи на величину осадки,
правильность выполнения водоотводных и дренажных сооружений, укрепления
откосов. В особых условиях в
индивидуальном проекте могут быть предусмотрены специальные виды работ, которые
также подлежат постоянному контролю с фиксацией возможных отклонений (насыпи па
слабых основаниях, разработка неустойчивых склонов и т.п.). 13.13. Организация и методы
операционного контроля должны позволять регулировать технологию непосредственно
по мере изменения условий работы, технического обеспечения, сроков производства
работ. Поэтому для операционного контроля предпочтительно применять ускоренные
методы, упрощенные схемы измерений, обеспечивающие немедленное получение
результатов. 13.14. Правильность
размещения земляного полотна в плане и профиле обеспечивается полнотой и
точностью разбивочных работ, выполняемых по знакам выноски проекта на местность
и реперам. Выноска отметок и границ
земляного полотна в плане производятся с помощью геодезических инструментов,
установление крутизны откосов - шаблонами. Контроль рабочей разбивки
осуществляется повторными выносками и измерениями (как правило, по новым ходам
и направлениям). Обнаруженные отклонения исправляются немедленно. 13.15. Однородность грунта в
слоях насыпи по составу и влажности контролируется на операциях разработки и
перемещения. Контроль осуществляют визуально по цвету, структуре (степени
агрегированности), липкости. В необходимых случаях применяют экспресс-методы
определения свойств на месте (раскатывание, пенетрацию, прокаливание и др.). При обнаружении отклонений,
превышающих технологические допуски, указанные в ППР или технологических
картах, производится соответствующее регулирование производственного процесса
(изменение толщины слоя, порядка и числа проходов катка, доувлажнение и др.). Ввиду недопустимости смешения
в одном слое разных грунтов переход от одного вида грунта к другому выполняют
по типу выклинивания по всей ширине насыпи. 13.16. Качество уплотнения
грунтов контролируется при устройстве насыпей и оснований под дорожные
конструкции в выемках, нулевых местах и в других случаях, когда строительными
нормами или проектом предусмотрены определенные требования к плотности. Если обнаружено
недоуплотнение или несущественная неоднородность плотности, производят
дополнительное уплотнение, достаточность которого определяют повторными
замерами. 13.17. В целях регулирования
качества в процессе уплотнения применяют средства измерения, позволяющие
немедленно получать результаты и регулировать технологию сокращением или
увеличением числа проходов катка: гамма-плотномеры, плотномеры пенетрационные
статического или динамического действия, штампы, приспособления для измерения
осадки под колесом автомобиля. Измерение плотности
проводится не реже одного раза в рабочую смену при объеме отсыпки до 1 тыс. м3
не менее чем в трех местах по ширине насыпи. При объеме отсыпки более 1 тыс. м
в смену на каждую тысячу добавляются одна-две проверки. Число измерений в
каждом месте определяется технической характеристикой (погрешностью) метода. Места измерений размещаются
по оси и в 1-2 м от бровки насыпи со смещением и продольном направлении не
менее чем на 10 м. 13.18. При значительных
объемах работ и скоростном строительстве текущий операционный контроль
допускается осуществлять по отклонению процесса от данных пробного уплотнения.
При этом фиксируется соответствие вида и влажности грунта, толщины уплотняемого
слоя, измеряемой не менее чем и трех точках поперечников через 50 м по длине
трассы. Заданную технологию можно
считать выполненной, если число проходов катка по одному следу не меньше
определенных при пробном уплотнении, вид грунта идентичен, толщина слоя
отличается от пробного уплотнения не более чем на 10%. 13.20. При разработке грунтов
необходимо следить, чтобы дно и откосы резервов и выемок имели уклоны,
обеспечивающие сток воды от земляного полотна и рабочего забоя с обязательным
выпуском ее к ближайшему искусственному сооружению или в сторону от дороги.
Если дно резерва имеет значительный продольный уклон, во избежание размыва дна
стекающей водой необходимо проследить за тем, чтобы резерв был разделен на
отдельные участки с допустимыми для данных грунтов уклонами. 13.21. При укреплении откосов
насыпей и выемок, бровок земляного полотна, дна и откосов канав проверяют
пригодность грунта для развития засеваемых трав, правильность закрепления на
откосах бетонных и железобетонных плиток, плетневых клеток, дернин и других
защитных конструкций. 13.22. Геометрические размеры
земляного полотна в процессе сооружения постоянно должны соответствовать
рабочей разбивке. Отклонение слоев насыпи по ширине, завышение или занижение
крутизны откосов, другие искажения поперечного профиля должны устраняться в том
же слое, где они обнаружены. Особое внимание уделяется
полноте разработки выемок и отсыпки насыпей по ширине, начиная с нервных слоев.
Дополнительная срезка откосов выемки или последующая досыпка откосных частей
насыпки, как правило, приводит к возникновению дефектов земляного полотна в
первые годы эксплуатации. 13.23. Измерение и оценка
качественных показателей осуществляется после выполнения операций по устройству
на захватке слоя насыпи, участка выемки, другой части земляного полотна, а
также при приемке от исполнителей к оплате промежуточных этапов работы. По
результатам измерений производится оценка качества работы исполнителей, а в
случаях обнаружения дефектов предлагаются меры по их устранению и
предупреждению. Результаты операционного
контроля фиксируются в актах освидетельствования скрытых работ, актах
промежуточной приемки ответственных конструкций, нарядах на оплату работ
исполнителям. Зафиксированные оценки переносятся также в общую ведомость оценки
качества строительно-монтажных работ, входящую в состав общего журнала работ (в
соответствии со СНиП III-1-76). 13.24. Составление актов
освидетельствования скрытых работ надлежит производить после выполнения
следующих работ: снятия плодородного слоя
почвы, мохового или дернового слоя, выторфовывания, устройства уступов на
косогорах, замены грунтов или осушения основания, устройства свайных или иных
типов оснований под насыпями, устройства гидро- и теплоизоляционных слоев;
укладки армирующих элементов, слоев текстильных материалов; устройства водоотвода и
дренажей, укрепления русел у водоотводных сооружений; возведения и уплотнения
земляного полотна и подготовки его поверхности для устройства дорожной одежды; засева трав или выполнения
других работ биологической защиты откосов; возобновление плодородного
слоя почвы и другие работы по рекультивации нарушенных площадей. Приемку скрытых работ и
составление актов освидетельствования в случаях, когда последующие работы
предстоит начать после длительного перерыва (сверх предусмотренного графиком
поточного строительства), следует осуществлять непосредственно перед
последующими работами. 13.25.
Оценка качества отдельных видов работ (подготовка основания земляного полотна,
возведение насыпей и разработка выемок, устройство водоотвода), присыпных
обочин S производится по средневзвешенной величине оценок основных качественных
параметров Oi с учетом коэффициентов их
значимости ai:
где n -
число оцениваемых параметров. В приложении 16 приведен
перечень учитываемых параметров, условия их оценки на «хорошо» и «отлично» и
коэффициенты значимости у каждого из них. Степень соответствия каждого
контролируемого параметра требованиям проекта, нормативных документов и
стандартов оценивается: «отлично» (5), если значение
параметра в части допускаемых отклонений превосходит требования нормативных
документов и стандартов без увеличения сменной стоимости соответствующих видов
работ; «хорошо» (4), если значение
параметра полностью соответствует требованиям проекта, нормативных документов и
стандартов; «удовлетворительно» (3), если
допущено малозначительное отклонение от требований технической документации,
согласованное с проектной организацией и заказчиком, не снижающее показателей
надежности, прочности, устойчивости, долговечности и эксплутационных качеств и
не влияющие на внешний вид. Оценка качества отдельных
видов работ (конструктивных элементов) в целом определяется в зависимости от
значений комплексного показателя S: S=4,51+5,0 - отлично; S=3,51+4,5 - хорошо; S=3,00+3,51 -
удовлетворительно. 13.26. Толщина снятия
растительного слоя контролируется по разности отметок и непосредственным
измерением на обрезах, а также по цвету грунта. Величина допускаемого
отклонения от проектной толщины 13.27. Плотность грунта в
насыпи и естественном основании выемки или низкой насыпи должна
контролироваться в каждом уплотняемом слое при ширине отсыпаемого слоя 20 м по
оси дороги и 1,5-2 м от бровки земляного полотна, а при ширине отсыпаемого слоя
более 20 м - дополнительно в середине между осью и бровкой. Контроль плотности грунта по
указанным поперечникам должен производится на каждой сменной захватке работы
уплотняющих машин, но не реже, чем через 200 м при высоте насыпи высотой до 3 м
и через 50 м при высоте насыпи более 3 м. Контроль плотности верхнего слоя
производится не реже чем через 50 м от высоты насыпи. Дополнительно контроль
плотности следует производить в каждом слое насыпи над трубами в конусах и
местах сопряжения с местами, а также при засыпке, траншей и котлованов.
Контроль плотности следует производить на глубине 8-10 см от поверхности
уплотняемого слоя. На каждом контрольном
поперечнике должны быть определены вид грунта и соответствие фактической
толщины уплотняемого слоя толщине, определенной ППР. Отклонения от требуемого
показателя плотности в сторону уменьшения допускаются не более чем у 10%
образцов и не должны превышать 4%. Разница в показателях плотности на одном
поперечнике верхнего слоя земляного полотна для дорог с усовершенствованными
покрытиями не должна превышать 2%. Замеренные данные вносятся в журнал приложения 13. 13.28. Основным методом
контроля плотности грунтов и насыпи или естественных отложениях следует считать
метод отбора образцов с последующим лабораторным определением требуемых
показателей по ГОСТ
22733-77. Допускается использовать экспресс-методы и приборы для
ускоренного контроля плотности (радиометрические, пенетрационные, штамповые,
прибор Ковалева и др. При этом в целях проверки не менее 10% всех измерений
следует выполнять стандартным методом с отбором образцов. 13.29. Степень уплотнения
крупнообломочных грунтов, содержащих более 60% обломочной фракции, следует
считать достаточной, если полная величина осадки поверхности слоя грунта в
результате уплотнения составляет 8-10% первоначальной толщины, для верхнего
слоя - 10-12%. Относительную плотность
крупнообломочных грунтов необходимо измерять следующим образом: по коэффициенту уплотнения
отношением плотности сухого грунта, определяемого методом лунок, к максимальной
плотности при стандартном уплотнении и укрупненном цилиндре. Диаметр
укрупненного цилиндра, в котором ведется стандартное уплотнение, должен быть в
4-5 раз больше размера крупной фракции грунта (метод целесообразен для грунтов
с включениями обломков не крупнее 60-65 мм); методом пробного
динамического нагружения через жесткий штамп диаметром 40-50 см путем сравнения
полученной при 20-кратном нагружении ударами интенсивностью 0,5-1,05 Па (0,5
кг/см2) (груз массой 35-45 кг падает с высоты 0,9-1,0 м) остаточной
осадки штампа, с допустимой, находящейся в пределах 0,4-0,6% от его диаметра.
Этот метод пригоден для грунтов с максимальным размером крупных обломков до 100-120
мм; методом пробного нагружения
поверхности уплотненной насыпи грузовым автомобилем со спаренными шинами с
нагрузкой на ось не менее 10 т или тяжелым гладковальцовым катком массой не
менее 10 т. При этом насыпь считается уплотненной до требуемой плотности, если
осадка ее поверхности не превышает 3 мм при проходе автомобиля и 5 мм при
проходе гладковальцового катка. Метод можно применить, когда грунт включает
обломки размером 100-120 мм, а также при отсыпке насыпей из скальных грунтов. 13.30. Каждый слой насыпи
должен обладать однородными физико-механическими свойствами. Для выполнения
этого требования слои следует отсыпать из грунтов одного вида. В тяжелых и
пылеватых грунтах допускаются включения обломочных и песчаных грунтов при
условии их равномерного распределении по объему. При наличии в резервах и
выемках грунтов различных видов указания об их размещении в слоях насыпи должны
быть даны в проекте. Проверка однородности грунтов
в слое выполняется при отборе образцов для контроля плотности по числу пластичности
и гранулометрическому составу. 13.31.
Поверхность слоев земляного полотна планируется в соответствии с требованиями п. 13.19 настоящего Руководства. Поверхность верхнего слоя или
слоя, после устройства которого следует технологический перерыв более 3-5 сут,
должна иметь поперечные уклоны 20-40‰ с допустимыми отклонениями ±10‰ для машин
без автоматической системы задания планировочных отметок и ±5‰ - для машин с
автоматической системой задания планировочных отметок. 13.32. При оценке качества
измеряется ширина земляного полотна, крутизна откосов, размещение, уклоны и
размеры водоотводных и дренажных устройств и другие геометрические параметры
земляного полотна и входящих в его комплекс сооружений. Допускаемые отклонения
от проектных размеров определены в табл. 13.1. Контроль соблюдения
геометрических параметров ведется геодезическими инструментами и шаблонами,
привязанными к разбивочной сети. 13.33. В местах появления
признаков нарушения устойчивости земляного полотна следует проводить
систематические контрольные наблюдения за его состоянием с занесением данных
наблюдений в общий журнал работ. 13.34. При возведении насыпи
над трубами особому контролю подлежит равномерная отсыпка грунта тонкими
горизонтальными слоями одновременно с обеих сторон трубы. Как исключение насыпь
может быть отсыпана до устройства трубы. В этом случае оставленный котлован
должен быть засыпан грунтом, однородным с грунтом насыпи или хорошо дренирующим
несвязным грунтом. Данные контроля качества уплотнения по всей толще насыпи с
обеих сторон трубы фиксируются в ведомости (приложение 12). 13.35. Оценка качества
рекультивационных работ включает: проверку соблюдения границ отвода (отсутствие
повреждений растительного и почвенного покрова); измерения толщины почвенного
слоя, возвращенного на временно занимаемые площади, качество посева и посадки
растений (по агротехническим показателям). Таблица 13.1
Наличие размывов, водной и ветровой эрозии земляного полотна на
промежуточных этапах строительства фиксируется в общем журнале работ с целью их
устранения и принятия мер к предупреждению на других участках. Организация производственного контроля13.36. Производственный
контроль на объекте выполняется строительной организацией - непосредственным
исполнителем работ (строительным управлением, механизированной колонной и т.п.)
с привлечением производственной лаборатории и геодезической службы.
Ответственность за полноту и качество производственного контроля несут
персонально главные инженеры соответствующих организаций. Ответственность за методическую
правильность и достоверность данных испытаний грунтов и других материалов несут
заведующие лабораториями, а по геодезическим измерениям - руководители
геодезических служб. 13.37. Входной контроль
(выборочная проверка резервов, обследование оснований, устойчивости и т.п.) на
стадии предпроизводственной подготовки выполняется центральной лабораторией, а
в процессе выполнения работ - производственными лабораториями. Пробное уплотнение
выполняется производственной лабораторией под методическим руководством и при
участии центральной лаборатории. 13.38. Операционный контроль
выполняется производителями работ и мастерами при непосредственном участии
производственных лабораторий (лабораторных постов) и геодезических служб. 13.39. Операционный контроль
производится в соответствии со схемами операционного контроля, входящими в
состав технологической карты или составляемыми непосредственно при разработке
проекта производства работ на каждый технологический процесс. Схема операционного контроля
должна содержать: Эскиз элементов земляного
полотна во всех характерных сечениях с указанием способов рабочей разбивки,
допускаемых отклонений от геометрических размеров, способов и требуемой
точности измерений; ведомость применяемых грунтов
с указанием места получения и места укладки, вида и разновидности, оптимальной
влажности, влажности, максимальной стандартной плотности и допускаемых
отклонений от плотности, требуемой толщины слоев и числа проходов катка (по
данным журнала пробной укатки); состав, сроки и указания о
способах операционного контроля; перечень контрольных
операций, выполняемых прорабом, мастером, лабораторией геодезической службой; перечень скрытых работ,
подлежащих освидетельствованию с составлением акта. 13.40. Оценка качества на
этапе производственного контроля осуществляется прорабом с участием
производственной лаборатории по законченным элементам конструкций, а по
земляному полотну с проверкой плотности по каждому технологическому слою. 13.41. При массовом
выполнении земляных работ в центральной лаборатории и производственных
лабораториях выделяются группы специалистов для оперативной работы по контролю
сооружения земляного полотна. Часть специализированной группы производственных
лабораторий направляется для постоянной работы на объекты строительства
земляного полотна в качестве лабораторных постов. Лабораторные посты создаются
при объеме сооружения насыпей более 2 тыс. м3/смену и должны
работать ежесменно в продолжение всего времени выполнения земляных работ. При
объеме работ более 5 тыс. м3/смену в составе лабораторного поста
должно быть не менее двух лаборантов. Лабораторные посты
осуществляют под непосредственным руководством производителя работ постоянный
операционный контроль и принимают участие в приемочном контроле. Лабораторные посты должны обеспечиваться
необходимым оборудованием и инвентарем и иметь непосредственно на объектах
производства работ специально приспособленные для лабораторных работ
передвижные помещения. 13.42. Перечень основных
операций производственного контроля приведен в табл. 13.1. Производственный контроль в особых условиях13.43. При сооружении
земляного полотна в зимнее время должен осуществляться постоянный контроль за
составом и влажностью грунта, использованием мерзлых включении в количестве, не
превышающем пределов, установленных в п. 9.36. Темпы укладки грунта,
разравнивания слоев и работы уплотняющих машин следует устанавливать с учетом
необходимости уплотнения грунта до замерзания при плюсовой температуре,
определяемой на поверхности слоя. 13.44. В задачи
производственного контроля в условиях зимних работ входят: предварительное до начала
работ обследование грунтов в намеченных к разработке выемках и резервах, на
основании которого устанавливается ориентировочный режим работы землеройных и
уплотняющих машин и уточняется средний объем разработки мерзлого слоя; уточнение режима работы
уплотняющих машин (толщины слоя и количества приходов) при изменении характера
грунтов и погодных условий; постоянный операционный
контроль за качеством уплотнения, влажностью грунта, количественным содержанием
мерзлых комьев и их размерами. 13.45. В составе
операционного контроля дополнительно определяют относительное содержание
мерзлых комьев в грунте. Отношение массы мерзлых комьев к массе всей пробы
определяют на пробе размером 0,5´0,5´0,3 м. Весь грунт пробы просеивают сквозь сито размером отверстий 25 мм,
из остатков на сите вручную удаляют комья талого грунта. Контрольные пробы
отбирают из каждых 500 м3 грунта, уложенного в тело насыпи, но не
реже одного раза в смену. Размеры наиболее крупных комьев определяют
непосредственным измерением. 13.46. Качество уплотнения
проверяют только до замерзания слоя. Плотность грунтов с содержанием более 10 %
мерзлых комьев проверяют методом лунок с использованием песчаного или
жидкостного (балонный плотномер) эквивалента-заполнителя, методом
парафинирования или методом выбуривания керна для мерзлых грунтов. 13.47. При операционном
контроле лабораторные посты должны следить за соблюдением правил производства
работ и дополнительно к общим требованиям (приложение 12) фиксировать
следующие данные: процентное содержание мерзлого грунта и среднюю крупность
мерзлых комьев, степень уплотнения, температуру воздуха и силу ветра во время
производства работ, время перерыва в работе, часы снегопада, методы удаления
снега и льда с насыпи, попикетные отметки части насыпи, возведенной за смену (приложение 12). 13.48. При наступлении
весеннего потепления необходимо установить тщательное наблюдение за
разработанными зимой выемками и возведенными насыпями, а появляющиеся на них
деформации немедленно ликвидировать. Трещины, возникающие, в насыпи при
неравномерной ее осадке, следует расчищать на возможно большую глубину и
заполнять с тщательной утрамбовкой тем же грунтом, из которого возведена
насыпь. Весной, после оттаивания мерзлого грунта на всю глубину промерзания,
требуется проверить качество всех возведенных зимой насыпей и разработанных
выемок. Необходимо проверить отсутствие на них оползней, всплывов и т. и.
Возобновление работ допускается только на основании акта. 13.49. При сооружении
земляного полотна на болотах методами выторфовывания осуществляется
операционный контроль удаления торфа по визуальной оценке изменения вида грунта
в ковше экскаватора, осуществляющего выторфовывание, и по глубине траншеи,
измеряемой рейкой, прикрепленной к перекладине. 13.50. При возведении насыпи
на торфе и других сильносжимаемых грунтах необходим контроль толщины насыпи и
величины осадки. Толщина насыпи определяется бурением или ручным
пенетрометром-зондом ударного (забивного) действия. Осадка в данной точке может
быть вычислена по разности отметки поверхности Земли и вычисленной отметки вида
насыпи. Изменение осадки во времени
после окончания возведения насыпи контролируется систематическим измерением
высотных отметок постоянных марок, установленных по оси насыпи через 50 м. В
первые 3 мес измерения выполняются 1 раз в неделю, в последующие - 1 раз в
месяц. 13.51. В случаях
негарантированной устойчивости слабых оснований, а также естественных склонов
должны выполняться наблюдения за горизонтальным смещением бровок верха и
подошвы насыпей и изменением их высотных отметок. Точки наблюдений закрепляются
кольями. Наблюдения следует выполнять с помощью геодезических инструментов с
привязкой к разбивочной основе. При появлении смещений наращивание насыпи
должно быть немедленно прекращено до разработки мер по обеспечению
устойчивости. В период производства работ
на неустойчивых основаниях и склонах наблюдения должны выполняться на наиболее
опасных поперечниках не менее 2 раз в смену, а после окончания насыпей - через
2-3 сут. 13.52. При методе постепенного
загружения (предварительной консолидации) контроль за изменением прочности
грунта основания осуществляется методом вращательного среза с помощью болотной
крыльчатки или зондированием ручным пенетрометром. 13.53. Данные наблюдений за
осадкой и горизонтальными смещениями насыпи, заморы толщины насыпного слоя
фиксируются в специальном журнале работ и включаются в акты освидетельствования
скрытых работ. В связи со сложностью и
индивидуальным характером наблюдений за работой земляного полотна на слабых основаниях
к их выполнению предпочтительно привлекать специалистов проектных или
научно-исследовательских организаций. 13.54. Операционный контроль
буро-взрывных работ надлежит осуществлять: после окончания прохода
зарядных камер, скважин или шпуров путем замера их глубины заложения, формы,
диаметра, положения в плане и профиле; в процессе производства
земляных работ по количеству и ассортименту закладываемых взрывчатых веществ; после окончания монтажа
взрывной сети по соответствию ее расчетным параметрам; после взрыва путем
инструментального обмера в натуре объема образовавшейся выемки; в процессе разработки
разрыхленного грунта путем установления объема негабаритов. 13.55. При сооружении
земляного полотна в засушливых районах дополнительно к операциям производственного
контроля, применяемым в обычных условиях, следует установить еженедельный
контроль влажности грунтов с установлением в местах искусственного орошения
фактического уровня грунтовых вод. Проверке подлежит
правильность выполнения предусмотренных проектом мероприятий по сохранению
влаги в грунте и влагонакоплению. При засоленных грунтах на
этапе входного контроля следует проверять состав и количество солей, условия
увлажнения грунтов. При разработке солончаков и
такыров перенасыщенная солями поверхностная кора толщиной более 2 см должна
быть снята бульдозерами и собрана в специально отведенные отвалы. 13.56. При сооружении
земляного полотна в песчаных пустынях на этане входного контроля должны быть
определены требования к уплотнению грунта с учетом п. 10.23 настоящего
Руководства. Специально проверяется
пригодность для защитных слоев отведенных резервов связных грунтов. На этапе
операционного контроля производится выборочная проверка толщины защитного слоя. Контроль качества закрепления
поверхности песков жидким битумом, эмульсиями или другими составами
производится по степени однородности и эффективности закрепления. При наличии на участках
подвижных песков растительности необходимо постоянно контролировать ее
сохранность, принимать меры против ее повреждения при движении и стоянке
транспортных средств. Приемка земляного полотна13.57. Земляное полотно,
представляющее собой ответственную конструкцию, как правило, подлежит приемке с
участием представителей технического надзора заказчика и авторского надзора
проектной организации (при его осуществлении) и с оформлением акта по форме (приложение 11). Работы по устройству
вышележащих слоев дорожной одежды без приемки земляного полотна не допускаются. 13.58. Земляное полотно
предъявляется к сдаче в полностью готовом виде, как привило, включая укрепление
откосов. Отсыпка и уплотнение присыпных обочин осуществляются по мере
устройства одежды. Перенос сдачи укрепительных работ на последующие этапы
допускается лишь при соответствующем техническом обосновании (продолжении
осадки насыпи, отсутствие фронта работ в горных условиях и т.п.). Промежуточная приемка
водоотвода, дренажей, подпорных стенок, противооползневых, противоналедных
сооружений должна быть проведена до сдачи земляного полотна. При выполнении земляных работ
специализированными подразделениями с земляным полотном должны быть предъявлены
к сдаче в рекультивированном виде резервы, грунтовые карьеры и отвалы. 13.59. Приемка земляного
полотна и входящих в его комплекс сооружений производится на основе визуального
освидетельствования в натуре, контрольных замеров, исполнительных чертежей,
актов освидетельствования скрытых работ, документации производственного
контроля, общего журнала работ и специальных журналов наблюдений и лабораторных
испытаний. При выполнении
соответствующих работ дополнительно представляют ведомость участков
неустойчивого земляного полотна на слабых грунтах, ведомость оползневых
участков, ведомость наблюдении за осадкой и т.п. 13.60. Приемка земляного
полотна производится, как правило, перед выполнением последующих работ по
устройству одежды. Дефекты и нарушения, выявившиеся во время технологических
перерывов, независимо от их причин, к моменту сдачи должны быть устранены. 13.61. Работы по устройству
дренажей принимают по мере готовности отдельных элементов как скрытые работы.
Продольный дренаж, как правило, подлежит отдельной промежуточной приемке. В акте приемки дренажных
устройств в целом должно быть отмечено состояние отдельных элементов и дана
характеристика труб и заполнителя. К акту должны быть приложены
инженерно-геологические разрезы, схема вертикальных отметок по лоткам, план
дренажей системы с указанием выпусков, колодцев и мест расположения
опознавательных знаков. 13.62. Положение земляного
полотна в плане проверяют, измеряя отдельные углы поворота и прямые между ними,
а также делают контрольную проверку разбивки кривых. Отметки продольного
профиля земляного полотна проверяют нивелированием на всех пикетах и в точках
изменения проектных уклонов. При этом проверяют отметки оси дороги, бровок и
дна кюветов, определяют поперечные уклоны поверхности. Ширину земляного полотна и
крутизну откосов проверяют не менее чем в трех местах на каждом километре
дороги, а также в местах, вызывающих сомнение при осмотре. Одновременно осматривают
поверхность земляного полотна, которая должна быть спланирована в соответствии
с требованиями пп. 13.19 и 13.31, и убеждаются в
отсутствии местных просадок грунта колей, переувлажненных участков. 13.63. Расстояние между осью
и бровкой полотна в плане не должно иметь отклонений от проектных размеров
более чем на 10 см. Крутизна откосов должна быть соблюдена с допустимыми
отклонениями не более 10%. Неровности откоса и отклонения от проектной линии
(образующей) более 10 см не допускаются. 13.64. При приемке готового
земляного полотна качество уложенного в насыпь грунта и степень его уплотнения
проверяют по документации выполненных этапов производственного контроля и
данным лабораторных испытаний. Особое внимание при этом уделяется местам
засыпки труб и подходам к мостам. Контрольную поверку
производят не менее чем в трех местах на каждом километре дороги и
дополнительно над трубами и конусами мостов не менее чем на 1/2
от общего их числа путем отбора из специальных буровых скважин или шурфов по
три образца с глубины 1-1,5 м. Отбор образцов производится режущими кольцами.
Определение вида, плотности и влажности грунта выполняется в лаборатории
стандартными методами. При изменении вида грунтов по
высоте насыпи может быть назначен дополнительный отбор проб с соответствующей
глубины. 13.65. При выемке насыпей на
болотах и в других случаях учета в конструкции расчетной осадки проверка
толщины насыпного слоя и величины достигнутой фактической осадки выполняется
динамическим зондированием. В приемочном акте должна быть зафиксирована осадка
насыпи в осевом сечении, замеренная по трем датам, предшествующим приемке не
менее чем с 10-дневными интервалами в трех различных точках наиболее мощной
толщи сжимаемого слоя. 13.66. Основания с
вертикальными дренами, грунтовыми сваями, дренажными прорезями, а также с
полным или частичным удалением торфа подлежат отдельной промежуточной приемке с
выполнением натурных замеров и зондированием для проверки не менее чем по трем
поперечникам на 1 км (или на каждый переход через болото). Отклонения расстояний между
сваями (дренами) не должны быть больше 1/2 диаметра
(ширины). Глубина дрен не должна отличаться от проектной более чем на 10%
длины. При полном выторфовывании наличие прослоек торфа в основании под средней
частью насыпи (в границах проезжей части) не допускается. 13.67. При приемке водоотводных
сооружений, входящих в комплекс земляного полотна (кюветы, нагорные и отводные
канавы, быстротоки, резервы, защитные банкеты), должны быть проверены
продольные и поперечные уклоны, размеры поперечных сечений. Измерения
производятся с привязкой к оси или бровке земляного полотна на двух - трех
поперечниках на каждый километр длины, а также во всех местах изменения
конструктивных сечений. Все водоотводные сооружения
должны обязательно иметь постоянные или временные (как исключение) выпуски для
бесперебойного стока воды в установленные проектом места. 13.68. Укрепление откосов
земляного полотна и рекультивация притрассовых резервов и других выработок
принимаются в составе комплекса земляного полотна с проверкой следующих
показателей: вида и толщины почвенного слоя, подготовленного под засев;
количества внесенных семян и удобрений (по данным документации
производственного контроля); прорастания семян на 1 м2; качества
посадки древесных и кустарниковых насаждений. При укреплении сборными
плитами или решетчатыми конструкциями следует проверять прочность основания,
ровность укладки, качество заделки швов. Качество материала монолитных
укрепительных слоев проверяют в соответствии с требованиями укрепления грунтов. При приемке обочин проверяют
плотность верхнего слоя грунта, качество примененных для укрепления составов и
смесей, соответствие их проекту, ровность, соблюдение поперечных уклонов. 13.69. При сдаче земляного
полотна должна быть закончена рекультивация всех притрассовых резервов и
карьеров, ликвидация временных дорог и съездов (за исключением действующих
после сооружения земляного полотна). Места с поврежденной растительностью или
нарушенным почвенным покровом как на полосе отвода, так и вне ее должны быть
спланированы, закрыты почвой и засеяны травой. Карьеры, не входящие в состав
комплекса земляного полотна, рекультивируются и сдаются по общему календарному
плану строительства. 13.70. При приемке земляного
полотна дается общая оценка качества работ на основе оценок отдельных элементов
или видов работ с учетом их значимости, полученных на приемочном этапе
производственного контроля (см. п. 13.25 и приложение 16). Если контрольные замеры,
выполненные при сдаче земляного полотна, в целом отличаются от данных
производственного контроля в худшую сторону, в расчет оценок по элементам
вносятся соответствующие изменения. Общая оценка качества
земляного полотна P средневзвешенная величина из
балльных оценок Si следующих видов работ: 1) подготовки
основания земляного полотна; 2) возведения насыпей и разработки выемок; 3)
устройства водоотвода; 4) укрепительных работ; 5) устройства присыпных обочин
(как правило, сдается отдельно на следующих этапах) по формуле P=0,26[0,7S1+S2+0,8S3+0,7S4+0,6S5], где
числовые коэффициенты и индексы оценок видов работ соответствуют порядковым
номерам перечисленных работ. ПРИЛОЖЕНИЯ Приложение 1Средства механизации земляных работ
Примечание. Знак <+> обозначает применение
одного типоразмера машин при всех годовых объемах работ. Приложение 2Таблица 1 Грунты для земляного полотна
Таблица 2
* Для супесей легких крупных учитывается содержание частиц размером
2-2,025 мм. Приложение 3Ориентировочные показатели основных физико-механических свойств грунтов
*Для 2-3 типа местности по характеру и степени увлажнения грунта при
глубине промерзания более 1,5 м. Приложение 4Формы документации, составляемой при выноске проекта ни местность
Сдали: ответственный представитель заказчика геодезист заказчика Приняли: главный инженер
генподрядчика геодезист генподрядчика геодезист генподрядчика Журнал выписок и образец его
заполнения
Примечания. 1. В числителе указывается
расстояние до выносной точки, ближайшей к трассе, в знаменателе - до дальней. 1. отсутствие записи в гр. 5
(привязочный угол) означает, что направление выноски нормально к оси трассы или
к линии тангенса (на кривых) Ведомость реперов
Гл. инженер Геодезист Ведомость геодезической
разбивки дополнительных реперов
Гл. инженер Геодезист Приложение 5Коэффициенты уплотнения грунта
Примечание. Большие значения
коэффициентов уплотнения грунта следует принимать в случаях применения
цементобетонных и цементогрунтовых покрытий и оснований, а также
усовершенствованных облегченных покрытий. Приложение 7Расчет величины запаса на осадку насыпей, возводимых в зимних условияхВеличина запаса на осадку
после оттаивания насыпи, подводимой в зимних условиях из глинистых грунтов, S=S1+S2+S3, где S1 - величина запаса на осадку
за счет пучения грунта насыпи, см; S2 - величина запаса на осадку
за счет пучения грунта основания (определяют по фактической глубине промерзания
к моменту возведения насыпи), см; S3 - величина запаса на осадку
за счет осадки грунта основания, если его плотность до замерзания γск.факт
была менее стабильной. Тогда где Нн - высота насыпи, см; h1 - относительное морозное
пучение грунта насыпи, %, которое принимают по табл. 1; Hпр - глубина промерзания
основания к моменту возведению насыпи, см; h0 - относительное морозное
пучение грунтов основания, %, которое принимают по табл. приложения 3;
K1, К2, К3 - коэффициенты, учитывающие свойства грунтов
основания, принимаемые соответственно по табл. 2, 3 и 4; Hос - глубина активной
зоны основания, принимаемой 120-150 см от поверхности; γск.факт - фактическая плотность сухого
грунта основания (в пределах активной зоны) до замерзания, г/см3; γск.ст - стабильная плотность
сухого грунта, г/см3 (равна 0,93-0,95 от максимальной стандартной
плотности). Таблица 1
Таблица 2
Таблица 3
Таблица 4
Примечание. Для связных грунтов,
расположенных в зоне промерзания, К3=0,8+0,9. Приложение 8Классификация засоленных грунтовЗасоление называется содовым
при содержании в грунте ионов СО3 и HCO3 свыше одной трети суммарного
содержании ионов CL΄ и SO4˝. К слабозасоленным грунтам
необходимо также относить грунты со средним суммарным содержанием
легкорастворимых солей менее 0,5% в V дорожно-климатической зоне и менее 0,3% в
остальных районах, если эти грунты содержат более 0,25% NaSO4+MgSO4 или более 0,05% NaHCO3+Na2CO3˝. Таблица 1
Примечание. В таблице приведена
классификация грунтов по качественному характеру засоления. Таблица 2
Примечание. В таблице приведена
классификация грунтов по степени засоления. Приложение 9Рекомендуемые виды многолетних трав и нормы высева семян при укреплении откосов земляного полотнаОткосы засевают многолетними (от
двух до восьми лет и более) злаковыми и бобовыми травами, самовозобновление
которых позволяет получить постоянный травяной покров на поверхности откосов.
Рекомендуются следующие трехкомпонентные смеси трав (в процентах): корневищные
злаковые травы - 35-55; рыхлокустовые злаковые травы - 30-50 (меньшие величины
в обоих случаях - для легких почвогрунтов, большие - для тяжелых связных
грунтов); стержнекорневые бобовые травы 5-20 (для лесной зоны 5-10, для степной
15-20). Нормы высева семян
многолетних трав в зависимости от грунтовых и климатических условий
строительства приведены в табл.1. Таблица 1
Примечание. Над чертой - нормы высева семян для всех районов
СССР, кроме южных областей европейской части, засушливых районов Казахстана и
Средней Азии, под чертой - для южных областей европейской части СССР. При укреплении откосов
посевом трав по растительному грунту рекомендуется вовремя применять удобрения
в следующем количестве (кг на 1000 м2): фосфорные - 30, азотные -
20, калийные - 20. Для гидропосева норму азотных
удобрений увеличивают до 60 кг на 1000 м2. Если кислотность pH
грунтов откосов меньше 5 или засоленность больше 5 мг-экв Na на 100
г почвы, необходимо вносить в грунт известковые материалы: известковые туфы,
гашеную известь, доломитовую муку из расчета 200 кг на 1000 м2 при
посеве по растительному грунту в 150 кг на 1000 м2 при гидропосеве. В качестве мульчирующих
материалов рекомендуется использовать древесные опилки или торфокрошку,
просеянные через сито с ячейками 10х10 см, а также нарубленную солому длиной
3-4 см. Расход мульчирующих
материалов на 1000 м2 укрепляемой поверхности составляет, кг: опилки
- 400, соломы - 200, битумной эмульсии 10, воды - 50, латекса (сухого вещества)
- 400, удобрений (смесь азотных, фосфорных и калийных) - 500-800. В качестве пленкообразующих
материалов при гидропосеве рекомендуется применять синтетические латексы марок
СКП-65ПГ, СКС-60ПГ, СПК-40ПП или быстро- и среднераспадающиеся дорожные
битумные эмульсии прямого типа. Удельный расход
синтетического латекса и битумной эмульсии для создания необходимой прочности
покрытий приведен в табл. 2. При укреплении земляного
полотна с рабочими отметками более 12 м расход латекса для верхней части откоса
принимают по норме, соответствующей рабочей отметке до 12 м, для нижней части
откоса - по норме для рабочей отметки более 12 м (см. табл. 2). Таблица 2
Примечание. В числителе - удельный расход латекса, в
знаменателе - битумной эмульсии. В районах строительства, где
по грунтовым и климатическим условиям дерновой покров на откосах можно
создавать как гидропосевом, так и посевом трав по растительному грунту,
наиболее эффективный способ производства работ выбирают на основе
технико-экономического сравнения вариантов с учетом механизмов и материалов и
требуемого качества работ (табл. 3). Таблица 3
Приложение 10Акт
| |||||||||||||||||||||||||||||||||||||||||||||||||||||||||||||||||||||||||||||||||||||||||||||||||||||||||||||||||||||||||||||||||||||||||||||||||||||||||||||||||||||||||||||||||||||||||||||||||||||||||||||||||||||||||||||||||||||||||||||||||||||||||||||||||||||||||||||||||||||||||||||||||||||||||||||||||||||||||||||||||||||||||||||||||||||||||||||||||||||||||||||||||||||||||||||||||||||||||||||||||||||||||||||||||||||||||||||||||||||||||||||||||||||||||||||||||||||||||||||||||||||||||||||||||||||||||||||||||||||||||||||||||||||||||||||||||||||||||||||||||||||||||||||||||||||||||||||||||||||||||||||||||||||||||||||||||||||||||||||||||||||||||||||||||||||||||||||||||||||||||||||||||||||||||||||||||||||||||||||||||||||||||||||||||||||||||||||||||||||||||||||||||||||||||||||||||||||||||||||||||||||||||||||||||||||||||||||||||||||||||||||||||||||||||||||||||||||||||||||||||||||||||||||||||||||||||||||||||||||||||||||||||||||||||||||||||||||||||||||||||||||||||||||||||||||||||||||||||||||||
|
___________________________________________________________________________ (наименование работ) выполненных на
строительстве а/дороги________________________________________ (наименование дороги) гор.______________ "___"____________198
г. Комиссии
в составе: представителя
строительно-монтажной организации______________________________ ___________________________________________________________________________ (фамилия, и., о.,
должность) представителя технического
надзора заказчика___________________________________ ___________________________________________________________________________ (фамилия, и., о.,
должность) произвела осмотр работ,
выполненных__________________________________________ ___________________________________________________________________________ (наименование
строительно-монтажной организации) и составила настоящий акт о
нижеследующем: 1. К
освидетельствованию и приемке предъявлены следующие работы ___________________________________________________________________________ (наименование скрытых
работ) 2.
Работы выполнены по проекту____________________________________________ (наименование проектной организации ___________________________________________________________________________ № чертежей и даты их
составления 3. При
выполнении работ применены________________________________________ (наименование материалов, ___________________________________________________________________________ конструкций, грунтов с указанием марки, типа, других основных ___________________________________________________________________________ характеристик) 4. Дата
начала работ_______________________________________________________ 5. Дата
окончания работ____________________________________________________ Решение комиссии Работы
выполнены в соответствии с проектом, стандартами, строительными нормами и
правилами и отвечают требованиям их приемки. Предъявленные
к приемке работы, указанные в п. 1 настоящего акта, приняты с оценкой
качества____________________________________________________________ На
основании изложенного разрешается производство последующих работ по
устройству__________________________________________________________________ (наименование
работ и конструкций) Представитель
строительно-монтажной организации _________________________ (подпись) Представитель технического заказчика _________________________ (подпись) |
|
а/дороги____________________________________________________________________ (наименование дороги) на участке__________________________________________________________________ (км, ПК) Гор.______________ "___"____________198
г. Комиссия
в составе: представителя
строительно-монтажной организации______________________________ ___________________________________________________________________________ (фамилия, и., о.,
должность) представителя технического
надзора заказчика___________________________________ ___________________________________________________________________________ (фамилия, и., о., должность) представителя авторского
надзора проектной организации (при его осуществлении______________________________________________________________ (фамилия, и., о.,
должность) произвела осмотр
конструкций и проверку качества работ, выполненных____________ ___________________________________________________________________________ (наименование
строительно-монтажной организации) и составила настоящий акт о
нижеследующем: 1. К
приемке предъявлены следующие конструкции____________________________ ___________________________________________________________________________ (перечень готовых
конструкций) 2.
Работы выполнены по проекту____________________________________________ (наименование проектной организации ___________________________________________________________________________ № чертежей и даты их составления) 3. Дата
начала работ_______________________________________________________ 4. Дата
окончания работ____________________________________________________ 5. При
сдаче предъявлены следующие документы производственного контроля и акты на
скрытые работы______________________________________________________ ___________________________________________________________________________ ___________________________________________________________________________ (перечень предъявленных
документов) Решение комиссии Работы
выполнены в соответствии с проектом, стандартами, строительными нормами и
правилами. Предъявленные
к приемке конструкции, указанные в п. 1 настоящего акта, приняты с оценкой
качества выполненных работ_________________________________________ На
основании изложенного разрешается производство последующих работ по
устройству (монтаж)_________________________________________________________ (наименование
работ и
конструкций) Представитель
строительно-монтажной организации ________________________ (подпись) Представитель технического надзора заказчика ________________________ (подпись) Представитель авторского надзора проектной организации (при его осуществлении) _________________________ (подпись) |
Номер образца
Место изъятия образца, км
_____ ПК____ расстояние от оси, м_________
Глубина взятия образца, м
Дата
Ведомость
свойств грунтов в резервах по данным входного контроля
|
Гранулометрический состав |
Граница
текучести, % |
Граница
раскатывания, % |
Число
пластичности |
Плотность
частиц грунта, г/см3 |
Фактическая
влажность, % |
Вид,
разновидность грунта |
Оптимальная
влажность грунта, % |
Максимальная
плотность сухого грунта, г/см3 |
|||||||
|
Более 200 |
Более 10 |
10-2 |
2-0,5 |
0,5-0,25 |
0,25-0,1 |
0,10-0,05 |
Менее
0,05 |
||||||||
|
Содержание фракций, % |
|||||||||||||||
|
1 |
2 |
3 |
4 |
5 |
6 |
7 |
8 |
9 |
10 |
11 |
12 |
13 |
14 |
15 |
16 |
|
|
|
|
|
|
|
|
|
|
|
|
|
|
|
|
|
Начальник лаборатории Лаборант
Ведомость
контроля качества уплотнения грунтов
земляного полотна
на объекте________________________________________________
|
Дата
отбора проб |
Км |
ПК |
Место
отбора проб |
Высота
взятия пробы (от основания), м |
Вид
грунта (шифр лаборатории) |
Данные
натурных измерений |
Данные
стандартного уплотнения |
Коэффициент
уплотнения |
Подпись
лаборанта |
Примечание |
|||||||
|
Максимальная
плотность сухого грунта, г/см3 |
Оптимальная
влажность, % |
||||||||||||||||
|
Ось |
Влево |
Вправо |
Плотность
влажного грунта, г/см3 |
Влажность
грунта, % |
Плотность
сухого грунта, г/см3 |
заданный |
фактический |
||||||||||
|
1 |
2 |
3 |
4 |
5 |
6 |
7 |
8 |
9 |
10 |
11 |
12 |
13 |
14 |
15 |
16 |
17 |
|
|
|
|
|
|
|
|
|
|
|
|
|
|
|
|
|
|
|
|
Примечание. Максимальная стандартная плотность устанавливается
по ГОСТу методом стандартного уплотнения.
Главный инженер Технический инспектор Начальник лаборатории
Производство работ по
возведению насыпей из глинистых грунтов в зимнее время
|
км ПК |
Отметка
от низа насыпи, м |
Число,
месяц, смена |
Состояние
погоды, температура, осадки, ветер |
Толщина
слоя, см |
Марка
катка, фамилия машиниста катка |
Число
проходов по одному месту |
Процент
мерзлого грунта по пробам |
Размеры
комьев мерзлого грунта насыпи |
Объем
работ в смену |
Способ
и качество удаления снега |
|
|
Средние,
см |
максимальные,
см |
||||||||||
|
1 |
2 |
3 |
4 |
5 |
6 |
7 |
8 |
9 |
10 |
11 |
12 |
|
|
|
|
|
|
|
|
|
|
|
|
|
Пробное уплотнение грунтов
укаткой проводят с целью уточнения оптимальных толщин слоев, а также для
определения количества проходов катка по одному следу, необходимого для
получения требуемой степени уплотнения.
Оборудование для пробного
уплотнения грунтов укаткой подразделяется на технологическое
(землеройно-транспортные и уплотняющие машины); геодезическое; оборудование для
контроля плотности грунтов.
Состав технологического
оборудования при пробном уплотнении надлежит назначать в соответствии с
проектом производства работ. Геодезическое оборудование должно включать жесткий
метр, измерительную металлическую рулетку, геодезические вешки, разбивочные и
реперные колышки. Состав оборудования для контроля плотности грунтов назначают
в соответствии с ГОСТ 5180-75 и ГОСТ 5162-78, а при использовании
экспресс-методов - в соответствии с инструкцией по применяемому
экспресс-методу.
Пробное уплотнение при
строительстве дорог должно проводиться по программе, которую составляют с
учетом: грунтовых условий объекта, принятых в проекте по результатам
инженерно-геологических изысканий, рельефа местности и климатических условий;
требований ППР по возведению земляного полотна; объемов земляных работ и сроков
их исполнения; распределения и перемещения грунта в соответствии с графиком
распределения земляных масс
В программе пробного
уплотнения грунтов должны быть также предусмотрены: участки испытаний; способ
разработки, перемещения и уплотнения грунта с указанием типов машин и их марок;
величины требуемых коэффициентов уплотнения грунта в теле земляного полотна.
Пробное уплотнение грунтов
укаткой следует производить перед началом и в процессе основных работ по
возведению земляного полотна для всех разновидностей грунтов, предусмотренных
проектом для отсыпки в насыпи и замены в выемках, а также всех типов катков и
их сочетаний, намеченных для послойного уплотнения грунтов ППР или
технологическими картами.
Пробное уплотнение надлежит
проводить на участках естественного основания, типичных для конкретного объекта
с точки зрения состава и состояния слагающих их грунтов. При этом коэффициент
уплотнения грунтов естественного основания на площадке, отведенной для пробного
уплотнения в пределах 30 см по глубине должен быть не ниже требуемого
коэффициента уплотнения грунта пробного слоя.
Площадку для пробного
уплотнения следует располагать в пределах основания или ранее отсыпанных и
уплотненных до требуемой плотности слоев возводимой насыпи, а при невозможности
- в специально отведенном месте.
Рис. 1. Образец разбивочной
схемы площадки для проведения пробного уплотнения грунтов укаткой:
1 - эпюра проходов катка по
одному следу; 2 - вешки; 3 - разбивочные колышки; 4 -
точки контроля плотности; 5 - зона контроля (заштрихована); 6 -
высотные отметки поверхности пробного слоя
Минимальные размеры площадки
для пробного уплотнения должны составлять: ширина - 3Ву, м,
длина - 20 м, где Ву - ширина уплотняемой полосы, принимаемая
по технической характеристике уплотняющей машины.
Разбивку площадки для
пробного уплотнения следует производить в соответствии со схемой (рис. 1).
При этом высотные отметки
толщины слоя в состоянии начального уплотнения должны устанавливаться с
использованием жесткого метра.
После разбивочных работ
следует произвести контроль плотности грунта естественного основания на глубине
10-15 см от его поверхности по ГОСТ 5182-78. Количество испытаний должно
составлять не менее 6. Если коэффициент уплотнения грунтов естественного
основания ниже требуемого, то их следует доуплотнять катками на пневматических
шинах, решетчатыми катками или трамбующей плитой.
Грунт пробного слоя следует
отсыпать на всю ширину площадки и на полную толщину, принимаемую в соответствии
с табл. 1,
с использованием способов разработки, перемещения и разравнивания грунта,
обоснованных и принятых в ППР.
Ориентировочное количество
проходов катка по одному следу при пробном уплотнении следует назначать в
соответствии с табл.
1. Толщину слоя грунта необходимо определять с учетом начального
уплотнения землеройно-транспортными машинами:
(1)
где Нсл - толщина слоя грунта в
плотном теле, см; К1 - коэффициент начального уплотнения:
Грейдер-элеваторы.................................................................................... 0,785-0,80
Бульдозеры................................................................................................. 0,80-0,85
Автомобили-самосвалы............................................................................ 0,85-0,90
Скреперы.................................................................................................... 0,90-0,92
Ктр - требуемая величина
коэффициента уплотнения.
Таблица 1
|
Толщина слоя грунта в плотном теле Hсл, см
(количество проходов катка по одному следу N) для грунтов |
||
|
связных |
несвязных |
|
|
Кулачковый каток массой
9-18 т |
25(24) |
- |
|
Решетчатый каток массой 25 т |
40(20) |
- |
|
Каток на пневматических
шинах прицепной и полуприцепной массой: |
|
|
|
12-15 т |
30(24) |
10(16) |
|
25-30 » |
45(20) |
60(16) |
|
45-50 » |
60(20) |
80(16) |
|
Вибрационный каток
прицепной массой: |
|
|
|
3 т |
- |
60(12) |
|
6-8 т |
- |
80(20) |
|
10-12 т |
- |
100(16) |
Примечания. 1. При пробном уплотнении
связных грунтов в зимних условиях и использовании катков на пневматических
шинах ориентированные значения толщины слоев грунта и количество проходов по
одному следу необходимо сократить вдвое.
2. При пробном уплотнении с использованием зарубежных уплотняющих машин
ориентировочную толщину уплотняемого слоя и количество проходов следует
назначать в соответствии с техническим паспортом машин.
После разравнивания грунта в
пробном слое следует произвести планировку его поверхности автогрейдером и
контроль толщины слоя не менее чем в шести точках с использованием
установленных высотных отметок. При этом допускаемые отклонения по толщине слоя
должны составлять ± 10%.
Грунты, предназначенные для
пробного уплотнения, должны иметь влажность, близкую к оптимальной Wопт. При этом нижний предел
естественной влажности песчаных грунтов должен быть не ниже 0,8, а глинистых -
не ниже 0,9 Wопт.
Максимальную влажность
грунта, при которой будет обеспечена требуемая плотность, следует определять по
выражению
, (2)
где Wопт - оптимальная влажность
грунта, %; Kпер - коэффициент переувлажнения (табл.2).
Таблица 2
|
Kпер при
требуемом коэффициенте уплотнения грунта в теле |
||
|
K~0,98 |
K~0,95 |
|
|
Пески пылеватые |
|
|
|
Супеси легкие |
|
|
|
» крупные |
1,35 |
1,60 |
|
Супеси легкие и пылеватые |
1,25 |
1,35 |
|
» тяжелые, пылеватые; |
|
|
|
Суглинки легкие и легкие пылеватые |
1,15 |
1,30 |
|
» тяжелые и тяжелые пылеватые |
1,05 |
1,20 |
При несоблюдении этого условия необходимо предусматривать искусственное
увлажнение грунтов или принимать меры по его просушиванию (рыхление, перевалка
бульдозером, автогрейдером), чтобы получить значения влажности грунта в
указанных пределах.
При пробном уплотнении в
зимнее время величина естественной влажности глинистых грунтов не должна
превышать величину оптимальной влажности Wопт. Линейные размеры мерзлых
комьев не должны превышать 0,2 м.
Срок выполнения работ по
пробному уплотнению в зимний период, отсчитываемый от момента выемки грунта в
карьере или резерве, зависит от температуры воздуха:
Температура воздуха, C°............................ <-10 (-10)¸(-20) <-20
Срок выполнения работ, ч......................... 2-3 1-2 1
Запрещается пробное
уплотнение и зимний период при ветре более 8 м/с.
Уплотнение отсыпанного слоя
грунта на площадке для пробного уплотнения следует выполнять круговыми
проходами катков, начиная с краевых полос. Величина перекрытия следов должна
составлять 0,3 м.
При пробном уплотнении
связных грунтов тяжелыми катками на пневматических шинах необходимо
предусматривать прикатку катками легкого типа с нагрузкой на колесо в 2 раза
меньшей нагрузки на колесо основного катка. Количество проходов катка по одному
следу при прикатке должно составлять два-четыре, а скорость его движения не
должна превышать 2 км/ч. При пробном уплотнении несвязных грунтов, а также при
отсыпке связных грунтов в пробный слой автомобилями-самосвалами или скреперами
при условии равномерного распределения их проходов по ширине уплотняемого слоя
предварительного уплотнения (прикатки) не требуется.
Пробное уплотнение грунтов
катками на пневматических шинах следует производить при следующем скоростном
режиме: скорость двух первых проходов не более 2 км/ч, а скорость промежуточных
проходов - до 12-15 км/ч. Скорость движения кулачковых, решетчатых и
вибрационных катков не должна превышать 2 км/ч.
Давление воздуха в
пневматических шинах катков при пробном уплотнении должно составлять для
песчаных грунтов 0,2 МПа, супесчаных - (0,3- 0,4) МПа; глинистых - (0,6-0,8)
МПа.
Контроль плотности грунта в
процессе пробного уплотнения следует производить перед началом работы основной
уплотняющей машины (после разравнивания или прикатки), а затем через 4, 8 и N
проходов по одному следу, где N - ориентировочное количество проходов
уплотняющей машины по одному следу (см. табл. 1).
Контроль плотности грунта при
пробном уплотнении следует производить в зоне однородного уплотнения в
соответствии с диаграммой проходов уплотняющей машины по ширине опытной
площадки (см. рис.
1). Глубина контроля плотности грунта при толщине пробного слоя до
30 см должна составлять 10-15 см. При толщине слоя, превышающей 30 см, контроль
плотности следует производить не менее чем в трех уровнях (верхняя, средняя и
нижняя части слоя). Месторасположение каждого уровня отбора проб от поверхности
слоя следует определять путем измерения жестким метром с точностью ±1 см.
Минимальное количество измерений при контроле плотности (объем выборки) с
использованием только метода «режущего кольца» по ГОСТ 5182-78 для каждого
периода уплотнения и каждого уровня по толщине слоя должно составлять 6. Места
отбора проб должны быть засыпаны грунтом и уплотнены.
Плотность сухого грунта при
контроле плотности следует определять в соответствии с ГОСТ 5182-78 и ГОСТ
5180-75. Допускается использовать приборы для ускоренного определения указанной
величины (плотномер-влагомер Н.П. Ковалева, радиометрические, пенетрационные
плотномеры и др.).
Рис. 2. График зависимости
плотности сухого грунта от количества проходов катка по одному следу ![]()
Примечание. При экспресс-методе контроля плотности минимальное
количество измерений должно быть не менее 12. Не менее четырех измерении из 12
должно выполняться стандартным методом по ГОСТ 5182-78.
Степень уплотнения грунта,
достигнутую после каждой серии проходов уплотняющей машины по одному следу (п. 18), надлежит характеризовать
среднеарифметической величиной коэффициента уплотнения:
, (3)
где
- максимальная
величина плотности сухого грунта, определенная при стандартном уплотнении по ГОСТ
22733-77;
- среднеарифметическое значение величины плотности
сухого грунта, достигнутой в процессе уплотнения.
Примечание. Перед определением среднеарифметического значения
величины плотности сухого грунта необходимо произнести статистическую проверку
на исключение грубых ошибок из ряда частных определении по ГОСТ
20522-75.
Пробное уплотнение следует
считать законченным, если достигнуты требуемые среднеарифметические значения
плотности сухого грунта ![]()
ктр............................ 0,90 0,92 0,95 1,0
.......................... 0,93 0,95 0,98 1,03
Результаты пробного
уплотнения должны оформляться в виде: графиков зависимости среднеарифметической
величины плотности сухого грунта от количества проходов катка по одному следу
при толщине пробного
слоя в плотном теле до 30 см (рис. 2); графика зависимости плотности скелета
грунта по толщине пробного слоя от количества проходов катка по одному следу
(рис. 3) и
графика зависимости плотности сухого грунта от количества проходов
для различных
значений толщины слоя в интервале (hmin hmax) при толщине пробного слоя в
плотном теле более 30 см (рис. 4).
Оптимальной толщине
уплотняемого слоя грунта должна соответствовать максимальная техническая
производительность катка:
, (4)
где hi - толщина слоя грунта в плотном теле,
определенная по графику
, м; Ву - ширина уплотняемой полосы, м; n1, n2 - количество проходов катка
по одному следу при скоростях движения v1 и v2; v1, v2 - соответственно скорость
движения катка при первых двух и промежуточных проходах, км/ч; b=0,3
м - перекрытие полосы предыдущего прохода; h=0,8 - коэффициент,
учитывающий потери.
Рис. 3. Зависимость плотности
сухого грунта по толщине пробного слоя от количества проходов катка по одному
следу
.
Цифры на кривых обозначают количество проходов по
одному следу; hmin, hmax минимальная и максимальная зоны по толщине пробного
слоя, в пределах которых достигается требуемое среднеарифметическое значение
плотности сухого грунта
при различном
количестве проходов катка по одному следу
Рис. 4. Зависимость
плотности сухого грунта от количества проходов катка по одному следу
; для различных значений толщины слоя грунта в интервале (hmin - hmax)
При обосновании оптимальной толщины слоя грунта при
уплотнении необходимо учитывать технологические данные по режиму отсыпки грунта
в насыпь.
Определенное по графикам количество проходов катка по
одному следу следует округлить до ближайшего целого значении в большую сторону.
При использовании катков на пневматических шинах к полученному количеству
проходов необходимо добавить два прохода, совершаемые при скорости движения 2
км/ч.
Акт
пробного уплотнения грунта укаткой
|
Объект_____________________________________________________________________ Участок____________________________________________________________________ Привязка к трассе: км
_________________ ПК___________________________________ Дата проведения работ_______________________________________________________ Погодные условия: температура воздуха_________________________________________________________ осадки_____________________________________________________________________ скорость ветра______________________________________________________________ место разработки грунта______________________________________________________ Способ разработки и
перемещения_____________________________________________ Способ разравнивания и
планирования_________________________________________ Данные по предварительному
уплотнению и способу его__________________________ ___________________________________________________________________________ Гранулометрический состав (мм)
Пластичность: граница текучести Wт___________________________________________ граница пластичности Wр_____________________________________________________ число пластичности Wп_______________________________________________________ Максимальная плотность
сухого грунта основания площадки
Оптимальная влажность грунта основания площадки Wопт ________ Среднеарифметическое значение величины плотности
сухого грунта основания
Требуемая величина
коэффициента уплотнения Kтр________ Среднеарифметическое требуемое
значение величины плотности сухого грунта при пробном
уплотнении_________________ Толщина пробного слоя
грунта в плотном теле Hсл |
Журнал
контроля плотности грунта в процессе пробного уплотнения
|
Результаты контроля плотности грунта в процессе пробного
K
уплотнения при количестве проходов катка по одному следу |
|||||||||||||||||
|
Глубина контроля от поверхности слоя, см |
№ точек |
0 |
4 |
8 |
N |
||||||||||||
|
γN, г/см3 |
W1, % |
γск,
г/см3 |
|
|
|
|
|
|
|
|
|
|
|
|
|
||
|
1 |
2 |
3 |
4 |
1 |
2 |
3 |
4 |
1 |
2 |
3 |
4 |
1 |
2 |
3 |
4 |
||
|
|
1 |
|
|
|
|
|
|
|
|
|
|
|
|
|
|
|
|
|
|
2 |
|
|
|
|
|
|
|
|
|
|
|
|
|
|
|
|
|
|
3 |
|
|
|
|
|
|
|
|
|
|
|
|
|
|
|
|
|
|
4 |
|
|
|
|
|
|
|
|
|
|
|
|
|
|
|
|
|
|
5 |
|
|
|
|
|
|
|
|
|
|
|
|
|
|
|
|
|
|
6 |
|
|
|
|
|
|
|
|
|
|
|
|
|
|
|
|
Примечание. W -
частные значения величины влажности грунта пробного слоя; γω
- частные значения плотности грунта; γск - частные значения
сухого грунта;
- среднеарифметическое значение величины
плотности сухого грунта; N - количество проходов катка по одному следу,
назначаемое в соответствии с рекомендуемым приложением 2.
Результаты
пробного уплотнения
|
Характеристика применяемого пробного уплотнения
катка |
Наименование
грунта |
Весовая
влажность W, среднеарифметическое значение |
Относительная
влажность W/Wо |
Рациональный режим уплотнения при требуемом
коэффициенте уплотнении |
Возможные режимы уплотнения при требуемом
коэффициенте уплотнения |
||
|
Оптимальная толщина слоя, см |
Количество проходов по одному следу |
Толщина слоя, см |
Количество проходов по одному следу |
||||
|
Тип катка_____________ _____________________ |
|
|
|
|
|
|
|
|
Марка _______________ |
|
|
|
|
|
|
|
|
Масса, т _____________ |
|
|
|
|
|
|
|
|
Тип шин _____________ |
|
|
|
|
|
|
|
|
Давление воздуха в шинах, Мпа__________ |
|
|
|
|
|
|
|
|
Удельное давление на кулачки ________, МПа |
|
|
|
|
|
|
|
|
Размер окна решетки _________________, см |
|
|
|
|
|
|
|
|
Диаметр прутка решетки ________________, см |
|
|
|
|
|
|
|
|
Частота колебаний ________________, Гц |
|
|
|
|
|
|
|
Примечание. Толщину слоев в таблице
следует указывать в плотном теле.
Главный инженер ПТО____________________________________________________
Начальник Центральной лаборатории_______________________________________
Исполнитель_____________________________________________________________
Плотномер пенетрационного
типа СП конструкции Союздорнии
Плотномер пенетрационный
статического действия (СП) предназначен для ускоренного операционного контроля
качеств уплотнения грунтов земляного полотна при строительстве автомобильных
дорог. Плотномер СП пригоден для работы на померзлых мелких и мелких пылеватых
песках, супесях, суглинках и глинах всех видов при наличии и них не более 15%
включений крупнее 2 мм при плотности 0,8-1,02 максимальной величины gmax и влажности 0,85-1,2 оптимальной
влажности Wопт, определяемых методом стандартного уплотнения по ГОСТ
22733-77 «Грунты. Метод лабораторного определения максимальной плотности».
Плотность определяется в долях от требуемого коэффициента уплотнения. Плотномер
СП позволяет также установить отклонения фактической влажности грунта W от
оптимальной. В качестве контролируемого параметра измеряется удельное
сопротивление грунта пенетрации (показатель пенетрации).
Для определения плотности и
влажности грунтов земляного полотна плотномером СП необходима предварительная
тарировка прибора. Тарировка проводится в полевой лаборатории для каждого вида
грунта.
Плотномер - пенетрационный,
статического действия СП (рис. 1), состоит из штока 4 с рабочим
наконечником 5. Через жесткое динамометрическое кольцо 3 шток
связан с рукоятками 1. Деформация динамометрического кольца, возникающая
при вдавливании рабочего наконечника в процессе пенетрации в грунт, измеряется
индикатором 2 часового типа ИЧ-001 (ГОСТ
577-68* «Индикаторы часового типа с ценой деления 0,01 мм»), размещенным
внутри кольца. Динамометрическое кольцо и индикатор являются силоизмерительным
устройством прибора СП. При изменении вертикального усилия сжатия от 100-600 Н
величина упругой деформации кольца составляет примерно 0,01-1,0 мм и
соответствует одному обороту стрелки индикатора. Детали прибора выполнены из
цветных металлов или стали с антикоррозионным покрытием. Динамометрическое
кольцо изготовлено из стали марки Ст.45 с последующей термообработкой.

Рис. 1. Плотномер
пенетрационный статического действия СП
Техническая характеристика
|
Тип............................................................................................... |
пенетрометр
статического действия |
|
Общая масса, кг.......................................................................... |
2,5 |
|
Габаритные размеры, мм: |
|
|
длина............................................................................................ |
810 |
|
ширина......................................................................................... |
290 |
|
Параметры рабочего
наконечника: |
|
|
форма........................................................................................... |
цилиндрический
плоский |
|
длина, мм.................................................................................... |
80 |
|
диаметр основания, мм.............................................................. |
8,0
(11,3) |
|
площадь » ,
см2............................................................. |
0,5
(1,0) |
|
Продолжительность определения плотности в
одном месте (по среднему из трех измерений), мин.................................... |
5-8 |
|
Обслуживающий персонал, чел................................................ |
1 |
|
Относительная погрешность
измерения, % |
|
|
коэффициента уплотнения Ку................................................... |
4,0 |
|
относительной влажности |
5,0 |
Для определения величины сопротивления пенетрации, соответствующей
данному показателю индикатора, проводят предварительную градуировку
динамометрического кольца. Нагрузку, имитирующую усилие, прикладываемое к
рукояткам, создают на гидравлическом прессе или на рычажном приспособлении.
Нагружение осуществляют ступенями через 98Н (10 кгс) от 0 до 588Н (60 кгс). На
каждой ступени нагружения снимают показания индикатора. Затем проводят
последовательно нагрузку и вновь фиксируют показания индикатора. Результаты градуировки
записывают в следующей форме:
|
Действительная
нагрузка P, Н(кгс) |
Показания
индикатора, 10-2 мм |
|
|
при
нагружении |
при
разгрузке |
|
|
0 |
|
|
|
588(60) |
|
|
По данным измерений строят градуировочный график, прилагаемый к паспорту
прибора СП. Градуировку силоизмерительного устройства проводят не реже 1 раза в
год.
Тарировку плотномера СП
проводят в полевой грунтовой лаборатории на образцах грунта, подлежащего
контролю плотности-влажности. Отбор и подготовку проб грунта следует проводить
в соответствии с требованиями, предъявляемыми при определении их максимальной
плотности (ГОСТ
22733-77). Масса средней пробы грунта, отбираемого для испытаний, должна
составлять 15-20 кг.
Тарировку осуществляют в два
этапа. На первом этапе определяют максимальную плотность грунта в соответствии ГОСТ
22733-77. Плотномером СП последовательно фиксируют показатели пенетрации
образцов при каждом уровне влажности и полной стандартной работе уплотнения.
Отбор проб грунта для контроля влажности из стандартного образца проводят после
его испытания на сопротивляемость пенетрации. Значение сопротивления пенетрации
P определяют по градуировочному графику. Показатель пенетрации
, (1)
где P - прилагаемое усилие при погружении наконечника в
грунт на заданную величину, Н (кгс); S - площадь основания наконечника,
см2.
Пенетрацию образцов грунта
проводят в следующем порядке.
На открытую зачищенную
поверхность готового образца вертикально устанавливают прибор. Вращением шкалы
выводят на «0» стрелку индикатора и вручную с помощью рукояток плавно
заглубляют рабочий наконечник прибора на всю длину с постоянной скоростью.
Время заглубления должно составлять примерно 10-12 с. Прилагаемое вертикальное
усилие P характеризуется величиной деформации кольцевой
пружины и фиксируется по отклонению стрелки часового индикатора. На каждом
образце испытание повторяется в трех точках. За расчетную принимают среднюю
арифметическую величину показателя пенетрации C.
Рис. 2. Зависимость
показателя пенетрации от влажности при стандартной работе уплотнения
Рис. 3. Изменение показателя пенетрации от коэффициента уплотнения при
оптимальной влажности
По результатам испытаний
строят график зависимости показателя пенетрации от влажности при полном
стандартном уплотнении. Эта зависимость обычно близка к линейной (рис. 2,
прямая а). Для наглядности график рекомендуется строить под кривой
стандартного уплотнения (ГОСТ
22733-77), принимая масштабы относительной и абсолютной влажности на осях
абсцисс одинаковыми.
На втором этапе тарировки
проводят испытание образцов грунта с постоянной влажностью, равной или близкой
к оптимальной. С этой целью влажность пробы грунта массой 10 кг доводят до
общей постоянной влажности равной Wопт±1,0%.
Из данной пробы готовят четыре образца различной плотности путем послойного
(тремя слоями) трамбования грунта в кольце прибора Союздорнии. Количество
ударов трамбовки при изготовлении первого образца составляет 45, второго - 60,
третьего - 75, четвертого - 90. После трамбования определяют плотность
(коэффициент уплотнения) каждого образца согласно п. 5.4 ГОСТ 22733-77.
Образцы испытывают
плотномером СП и трех точках по методике, описанной для первого этапа
тарировки. Результаты измерений записывают в таблицу. На их основе строят
график зависимости показателя пенетрации С от величины коэффициента
уплотнения Кy при постоянной влажности (рис. 3).
По данному графику определяют
показатели пенетрации С1 и С2 для Кy=0,95
и Кy=0,98 соответственно. На график рис. 2
наносят точки О1 и O2, соответствующие найденным
значениям C1, C2 и величине относительной
влажности
, равной влажности испытываемых образцов на втором этапе
тарировки. На
прямой а (см. рис. 2) отмечают точки показателей пенетрации для
значений Кy=0,95
и Кy=0,98
(А1А2, В1В2).
Точки, которым соответствуют равные величины Кy, соединяют прямыми линиями.
Области, ограниченные линиями б и в и отрезком прямой а,
определяют зоны с заданными интервалами плотности и служат для определения Кy
по величине С.
Полученный комплексный
тарировочный график для данного грунта является рабочим и может быть
использован непосредственно при полевом контроле.
При операционном контроле
качеств уплотнения земляного полотна плотномером СП следует систематически
проверять влажность грунта. Влажность рекомендуется определять в полевой
лаборатории для грунтов каждого отсыпаемого слоя ежесменно.
С этой целью из данного слоя
грунта на глубине около 10 см отбирают пробу грунта, из которой приготавливают
образец в приборе стандартного уплотнения Союздорнии и соответственно с п. 5 ГОСТ
22733-77. Готовый образец испытывают плотномером СП по методике, изложенной
в разд. 1.
Рис. 4. Пенетрометр:
1 - конус; 2 - кольца; 3
- опорная площадка; 4 - шкала; 5 - корпус; 6 -
силоизмерительное устройство; 7 - рукоятка; 8 - движок
По результатам испытаний рассчитывают
среднее значение показателя пенетрации С. По построенному для данного
грунта графику зависимости показателя пенетрации от влажности при стандартном
уплотнении (см. рис.
2, линия а) определяют относительную влажность грунта.
Проверку влажности грунта
указанным методом следует проводить 3 раза с определением среднего
арифметического значения.
Для операционного контроля
качества уплотнения грунтов на обследуемом поперечнике в соответствии с
нормативными требованиями подготавливают три-пять площадок размером 20´20 см. Перед измерениями снимают верхний слой грунта толщиной 5 см.
Прибор устанавливают перпендикулярно к поверхности площадки и вращением шкалы
выводят на «0» стрелку индикатора. Вручную с помощью рукояток плавно
задавливают рабочий наконечник прибора в грунт с постоянной скоростью. Время
его заглубления на всю длину должно составлять примерно 10-12 с. На одном месте
данную операцию повторяют 3-5 раз, при этом расстояние между точками задавливания
должно составлять 7-10 см. По результатам измерений подсчитывают среднюю
арифметическую величину показателя пенетрации. Показатели, отличающиеся от
среднего более чем на 30%, не учитывают.
По найденной величине
сопротивления пенетрации и измеренной ранее влажности грунта по тарировочному
графику (см. рис.
2) находит фактическое значение коэффициента уплотнения.
Показатели пенетрации,
получаемые при обследовании земляного полотна и соответствующие им значения
коэффициентов уплотнения и относительной влажности, регистрируют в журнале.
Портативный
плотномер-пенетрометр
Портативный,
плотномер-пенетрометр конструкции Белдорнии (рис. 4) для определения
плотности песчаных и глинистых грунтов состоит из корпуса, опорной площадки,
сменных конусных наконечников, набора колец для получения различных глубин
погружения конуса, рукоятки, устройства для измерения усилия вдавливания конуса
в грунт и глубины погружения конуса. Угол при вершине конуса 30°, глубина
пенетрации до 10 см, масса прибора до 2 кг.
Испытания проводят при
нескольких различных глубинах погружения конуса в грунт. С этой целью на
выровненную и зачищенную поверхность грунта укладывают друг на друга два-три
кольца общей высотой 40-60 мм. По центру колец устанавливают пенетрометр и
постепенно в течение 15- 20 с вдавливают его в грунт до тех пор, пока опорная
площадка не прижмется к верхнему кольцу. Второе и последующее вдавливания
пенетрометра проводят в этой же точке, но при каждом испытании снимают по
одному кольцу. Последнее испытание производят без колец. Таким образом получают
три-четыре точки с различными значениями усилия вдавливания Рi
и глубины пенетрации hi. Снятие отсчета при
испытаниях песчаных грунтов производят через 5-10 с после вдавливания конуса
при испытаниях глинистых грунтов через 20-30 с.
Глубина погружения конуса в
грунт
hi=hшк+(hкон- hкол- hнач), (1)
где hшк - отсчет по шкале для данной ступени нагружения, см;
hкон - расстояние по вертикали от вершины конуса до низа
опорной площадки, см; hкол - высота колец для данной
ступени нагружения, см; hнач - начальный отсчет по шкале,
см.
Величина усилия вдавливания Pi при погружении конуса на глубину hi определяется величиной
растяжения пружины, которая связана с показаниями шкалы прибора. По известному hшк для данной пружины по
тарировочному графику определяют Pi.
Для каждой глубины погружения
конуса hi вычисляют удельное сопротивление пенетрации
. (2)
Для глинистых грунтов в
качестве показателя пенетрационных испытаний используют удельное сопротивление
пенетрации R. В качестве расчетного значения удельного сопротивления пенетрации для
полученных в данной точке частых значений Ri для каждой глубины погружения
конуса принимают среднее арифметическое значение
:
Для песчаных грунтов в
качестве показателя пенетрационных испытаний используют удельное сопротивление
пенетрации
(в кгс/см2),
которое при четырех ступенях нагружения вычисляют по формуле
, (4)
где Р1, P2, P3, P4
- усилия вдавливания при
глубине погружения конуса соответственно h1, h2, h3, h4.
Глинистые грунты испытывают в
двух состояниях: в исходном и после дополнительного уплотнения. Испытания
производят по методу двух пенетраций. Первую пенетрацию осуществляют для
исходного состояния уложенного в насыпь грунта, вторую - после дополнительного
уплотнения грунта нагрузкой, эквивалентной нагрузке стандартного уплотнения.
Дополнительное уплотнение грунта производят 12 ударами трамбовки по одному
следу. Параметры трамбовки: диаметр штампа 155 мм, масса груза 5 кг, высота
падении груза 50 см. Допускается дополнительно уплотнять грунт трамбовкой
прибора Союздорнии для стандартного уплотнения (ГОСТ
22733-77); количество ударов принимают равным 40.
По результатам двух
пенетраций по формуле
(3) вычисляют удельное сопротивление пенетрации
для первой пенетрации
и
- для второй.
Коэффициент уплотнения и
влажность глинистых грунтов по результатам пенетрационных испытаний методом
двух пенетраций определяют по номограмме (рис. 5). Для этого сначала по
известному значению
(верхняя
горизонтальная ось) определяют показатель консистенции I2 (вертикальная ось справа) и
далее по отношению R2/R1 (нижняя горизонтальная ось)
и полученному значению I2 находят коэффициент
уплотнения Кy (вертикальная ось слева).
Рис. 5. Номограмма для
определения коэффициента уплотнения и влажности глинистых грунтов по
результатам пенетрационных испытаний методом двух пенетраций
Рис. 6. Номограмма для
определении коэффициента уплотнения пылеватых (1) и мелких (2)
песков по результатам пенетрационных испытаний (цифры на кривых - процентное
содержание частиц, прошедших через сито диаметром 0,1 мм)
Рис. 7. Номограмма для
определения коэффициента уплотнения песчаных грунтов средней крупности и
крупных по результатам пенетрационных испытаний:
1-4 -
пески средней крупности соответственно с i=4; 3,5; 3,0; 2,5; 5-
пески крупные для любых значений i и пески средней крупности с i=2
Рис. 8. Динамический
плотномер:
1 -
рукоятка; 2 - гиря; 3 - направляющая; 4 - штанга с
конусным наконечником; 5 - наковальня
Рис. 9. Графики для
определения коэффициента уплотнения песчаных грунтов по результатам динамического
зондирования:
а - для свежеотсыпанных
насыпей; б - для насыпей, возраст которых от 1 мес. до 1 года
Погрешность определения К
по номограмме не превышает 3%.
По результатам второй
пенетрации
с помощью номограммы
(см. рис. 5)
определяют область значений влажности грунта по отношению к оптимальной в
зависимости от требуемых коэффициентов уплотнения.
Если полученное значение I2 находится в зоне W=Wв - влажность грунта в пределах
оптимальной, если W<Wo - влажность грунта меньше
оптимальной и требуется его увлажнение, если W>Wo, - влажность
грунта больше оптимальной то требуется его подсушивание.
Для определения коэффициента
уплотнения песчаных грунтов используют графики (рис. 6 и 7) зависимости
коэффициента уплотнения К от удельного сопротивления пенетрации
и гранулометрического
состава, характеризуемого коэффициентом неоднородности i=d60/d10 для песков средней крупности
(d10 и d60 диаметры частиц,
соответствующих ординатам 10 и 60% на кумулятивной кривой) и содержанием частиц
диаметром менее 0,1 мм для пылеватых и мелких песков. Погрешность определения К
- не более 0,015.
Динамический зонд-плотномер
Белдорнии
Динамический плотномер (рис. 8)
состоит из штанги с конусным наконечником, направляющей с ограничителем высоты
подъема гири, наковальни и гири. Масса гири 2,5 кг, площадь основания конуса 2
см2, глубина зондирования 30 см от поверхности слоя.
Испытания с помощью
динамического плотномера производят следующим образом. На подготовленное для
испытаний место устанавливают прибор и начинают забивать конусный наконечник.
После забивки конуса на 20 см фиксируют количество ударов, необходимых для
погружения конусного наконечника на последние 10 см глубины.
После забивки наконечника на
30 см прибор с помощью ручек извлекают и приступают к испытаниям в следующей
точке. При необходимости проведения в одном месте нескольких параллельных
испытаний расстояние между точками зондирования должно быть не менее 30 см.
Масса гири 2,5 кг, площадь
основания конуса 2 см2, глубина зондирования условное динамическое
сопротивление грунта:
, (5)
где Q - масса гири, кг; q -
масса плотномера без гири, кг; H - высота падения гири, см; S -
площадь поперечного сечении конуса, см2; N20-30 - количество ударов, необходимое
для погружения конуса на участке зондирования от 20 до 30 см; h -
глубина погружения зонда, соответствующая числу ударов N20-30 см. Для данного случая h=10
см.
Для определения плотности
грунта по результатам динамического зондирования используют предварительно
построенные графики или корреляционные зависимости. Для песчаных грунтов
коэффициент уплотнения можно определить по графикам (рис. 9) в зависимости от Pq. Погрешность определения K не превышает 0,02.
Определение плотности грунтов
замещением объема
(метод
лунки)
При наличии в грунте более
15% частиц крупнее 2 мм (обломочных или окатанных частиц, мерзлых комьев и
т.п.), а также при возведении насыпей из каменных материалов контроль за
уплотнением грунта целесообразно осуществлять методом замещения объема сухим
песком.
Для этого заготовляют сухой
песок, просеянный через сито с отверстиями 2 мм и не содержащий пылеватых и
глинистых частиц (если такие частицы содержатся, их следует отмыть и песок высушить).
Объем песка, подготовленного для измерения, должен быть замерен с точностью ±5
см3.
На уплотненном слое грунта
выравнивают небольшую площадку и выкапывают совком лупку объемом примерно 3-5
см3. Диаметр лунки около 20 см, высота 10-15 см. Грунт из лунки
собирают на поддоне и взвешивают на 10-20-килограммовых весах с точностью до 5
кг. При выкапывании лунки следует избегать смятия краев и боковых стенок лунки
рабочим инструментом, что может привести к увеличению объема лунки и искажению
получаемых результатов.
Объем лунки определяют
следующим образом.
Над лункой устанавливают
двойную жестяную воронку с диаметром основания 25 см (рис. 10). В лунку и нижнюю
воронку через верхнюю воронку насыпают сухой песок. Объем засыпаемого песка
измеряют мерными стеклянными цилиндрами вместимостью 0,1-1,0 л с точностью до 5
см3. Песок в мерный цилиндр насыпают через обычную воронку без
встряхивания. Вычитая из общего объема засыпанного песка его объем, находящийся
в воронке, получим объем песка в лунке, т.е. объем лунки. Разделив массу
грунта, извлеченного из лунки, на его объем, определяют плотность влажного
грунта. Аналогичный принцип используют в приборах, где вместо песка применяют
жидкость, наливаемую в эластичный резиновый баллон.
Для определения влажности
необходимо высушить весь образец грунта, взятый из лунки, или, если это
невозможно, определить влажность частиц грунта с диаметром менее 5 мм и внести
поправку на содержание частиц крупнее 5 мм по формуле
,
где W0 - оптимальная влажность для отсеянного грунта менее 5
мм, %; Р - содержание крупных частиц, %
Рис. 10. Установка воронки над лункой
Вместо W0 подставляют полученное
значение влажности или же принимают поправку по таблице.
Таблица
|
Содержание
частиц крупнее 5 мм, % |
Поправочные
коэффициенты |
Содержание
частиц крупнее 5 мм, % |
Поправочные
коэффициенты |
||
|
к
максимальной стандартной плотности |
к
оптимальной влажности |
к
максимальной стандартной плотности |
к оптимальной
влажности |
||
|
5 |
1,02 |
0,95 |
25 |
1,10 |
0,75 |
|
10 |
1,04 |
0,90 |
30 |
1,13 |
0,70 |
|
15 |
1,06 |
0,85 |
40 |
1,15 |
0,65 |
|
20 |
1,08 |
0,80 |
|
|
|
Плотность сухого грунта γск рассчитывают после
определения влажности по формуле
,
где γ - плотность влажного грунта,
г/см3; W-влажность грунта, %.
|
Наименование
и назначение |
Нормативно-технический
документ |
Количество |
|
|
для
центральных лабораторий |
для
подстенных лабораторий СУ, мехколонн и т.п. |
||
|
1 |
2 |
3 |
4 |
|
Специальные приборы и оборудование |
|
|
|
|
Ареометр для определения гранулометрического состава
грунтов с пределом измерений 0,995-1,030 г/см3 |
5 |
- |
|
|
Балансирный конус для определения границы текучести
грунтов |
ГОСТ 5183-77 |
3 |
3 |
|
Бур геолога для обследования резервов |
- |
1 |
1* |
|
Двойная воронка (или баллонный плотномер) для
определения плотности грунтов по методу замещения объема («метод лунки») |
- |
1 |
1* |
|
Крыльчатка Гипродорнии для определения прочностных
характеристик грунтов |
1 |
- |
|
|
Малый прибор для стандартного уплотнения
цементогрунтовых смесей |
СН 25-74 |
2 |
1* |
|
Набор грунтовых сит с размерами отверстий 0,1;
0,25; 0,5; 1; 2; 5; 10; 20; 50; 75 мм |
2 |
2 |
|
|
Плотномер пенетрационного действия для
операционного контроля качества уплотнения грунтов |
СНиП III-40-78 |
2 |
4* |
|
Прибор Союздорнии для стандартного уплотнения
грунтов (большой) |
2 |
1* |
|
|
Прибор для определения коэффициента фильтрации
песков (прибор ПКФ - Союздорнии) |
ВСН 46-72 |
2 |
1 |
|
Прибор Ковалева для определения плотности и
влажности грунтов |
СНиП III-40-78 |
2 |
3* |
|
Прибор для оценки степени уплотнения
крупнообломочных грунтов методом динамического нагружения |
СНиП III-40-78 |
1 |
- |
|
Прибор для определения компрессионных свойств
грунтов |
ГОСТ 23908-79 |
- |
- |
|
Прибор срезной (конструкции Гидропроекта) |
ГОСТ
12248-78 |
1 |
- |
|
Прибор для определения набухания грунтов |
2 |
- |
|
|
Прибор для определения морозного пучения |
ВСН-46-72 |
2 |
- |
|
Прибор для определения общей степени засоленности грунтов
(«Солемер») |
CH 25-74 |
1 |
- |
|
Радиоизотопный прибор для контроля уплотнения
грунтов |
ГОСТ 23061-78 |
3 |
- |
|
Режущие кольца-пробоотборники объемом: |
ГОСТ 5182-78 |
|
|
|
500 см3 |
|
10 |
20* |
|
200 см3 |
|
10 |
20* |
|
Ручной динамический зонд для обследования насыпей |
ГОСТ 19912-74 |
1 |
l* |
|
Сито с сеткой № 1 по ГОСТ 3584-73 |
ГОСТ 5183-77 |
2 |
2 |
|
Сито с сеткой № 2 по ГОСТ 3584-73 |
ГОСТ 5181-78 |
2 |
2 |
|
Оборудование общего назначения и инвентарь |
|
|
|
|
Весы лабораторные с разновесами с наибольшим
пределом взвешивания |
|
|
|
|
200 г |
ГОСТ 5180-75 |
1 |
1* |
|
1 кг |
ГОСТ 5181-78 |
1 |
1* |
|
2 кг |
1 |
1 |
|
|
Весы настольные гирные с набором гирь или
циферблатные весы с пределом взвешивания до 10-20 кг |
1 |
1 |
|
|
Весовые стаканчики с крышкой |
ГОСТ 5180-75 |
100 |
100* |
|
Штангенциркуль ШЦ-1-125 |
2 |
1* |
|
|
Линейка металлическая длиной 30 см |
2 |
1* |
|
|
Метр складной |
- |
2 |
2* |
|
Рулетка 5м (10 м) |
- |
2 |
2* |
|
Шкаф сушильный |
2 |
2* |
|
|
Плитка электрическая |
- |
2 |
2* |
|
Термометр с погрешностью 0,5° С с пределом до 150°
С |
4 |
2* |
|
|
Секундомер |
1 |
1* |
|
|
Бегуны лабораторные |
1 |
- |
|
|
Ступка фарфоровая с диаметром по верху 240 мм |
1 |
1* |
|
|
Пестик с резиновым наконечником |
1 |
l* |
|
|
Нож почвенный |
3 |
3* |
|
|
Лопаточка-мастерок |
2 |
1* |
|
|
Кисточка для сметания |
2 |
2* |
|
|
Щипцы тигельные |
ТОСТ 22733-77 |
2 |
1* |
|
Цилиндры мерные |
2 комплекта |
2 комплекта |
|
|
Чашки фарфоровые |
5 |
5* |
|
|
Эксикатор |
ГОСТ 5180-75 |
4 |
2* |
|
Колба коническая плоскодонная емкостью 750-1000 см3 |
2 |
1* |
|
|
Воронка |
2 |
2* |
|
|
Обратный холодильник |
ГОСТ 12530-79 |
1 |
1* |
|
Баня песчаная |
1 |
1* |
|
|
Бутылки емкостью 2-10 л |
3 |
2* |
|
|
Ведро оцинкованное |
ГОСТ 5182-78 |
2 |
1* |
|
Таз алюминиевый или оцинкованный |
1 |
1* |
|
|
Миска алюминиевая |
2 |
2* |
|
|
Лопата |
ГОСТ 5182-72 |
1 |
1* |
|
Совок алюминиевый |
1 комплект |
1 комплект |
|
|
Набор слесарных инструментов |
- |
|
|
|
Мешочки для грунта: |
|
|
|
|
на 1 кг |
- |
20 |
20* |
|
на 5 кг |
- |
5 |
5* |
|
Хлористый кальций технический |
2,0 кг |
1,5 кг |
|
|
25%-ный раствор аммиака |
3 л |
1 л* |
|
|
4%- или 6, 7-ный пирофосфорно-кнслый натрий |
1 л |
- |
|
|
Парафин |
ГОСТ 5182-78 |
6 кг |
4 кг* |
Примечание. Потребность для
производственной лаборатории определена из условия наличия одного объекта
массового выполнения земляных работ. Позиции, отмеченные *, должны быть
умножены на число объектов с одновременным выполнением земляных работ.
|
Конструктивный
элемент, вид работ |
Контролируемый
параметр |
Величина
допускаемых отклонений (±) |
Условие
получения оценок |
Коэффициент
значимости |
|
|
"хорошо" |
"отлично" |
||||
|
1 |
2 |
3 |
4 |
5 |
6 |
|
Подготовка основания земляного полотна |
Толщина снятия плодородного слоя грунта, % |
10 |
Не менее 90% результатов определений должны быть в
пределах допускаемых отклонений, а остальные не должны превышать крайние
значения более чем в 2 раза |
Не менее 95% результатов определений должны быть в
пределах допускаемых отклонений, а остальные не должны превышать крайние
значения более чем в 2 раза |
0,7 |
|
|
Снижение плотности естественного основания, % |
4 |
Не менее 90% результатов определений должны быть
не ниже требуемых, а остальные могут иметь отклонения, не превышающие
указанные в графе 3 |
Не менее 90% результатов определений должны быть
не ниже требуемых, а остальные могут иметь отклонения, не превышающие 2% |
1,0 |
|
Возведение насыпей н разработка выемок |
Снижение плотности слоев земляного полотна, % |
4 |
Не менее 90% результатов определений должны быть не
ниже требуемых, а остальные могут иметь отклонения, не превышающие указанные
в графе 3 |
Не менее 90% результатов определений должны быть
не ниже требуемых, а остальные могут иметь отклонения, не превышающие 2% |
1,0 |
|
|
Высотные отметки продольного профиля, мм |
50(10)* |
Не менее 90% результатов определений должны быть в
пределах допускаемых отклонений, а остальные не должны превышать крайние
значения более чем в 2 раза |
Не менее 95% результатов определений должны быть в
пределах допускаемых отклонений, а остальные не должны превышать крайние
значения более чем в 2 раза |
0,8 |
|
|
Расстояние между осью и бровкой земляного полотна,
см |
10 |
Не менее 90% результатов определений должны быть в
пределах допускаемых отклонений, а остальные не должны превышать крайние
значения более чем в 2 раза |
Не менее 95% результатов определениий должны быть
в пределах допускаемых отклонений, а остальные не должны превышать крайние
значения более чем в 2 раза |
0,8 |
|
|
Поперечные уклоны, % |
10(5) |
Не менее 90% результатов определений должны быть в
пределах допускаемых отклонений, а остальные не должны выходить за интервал
от -15 (-10) до +30 (+15) |
Не менее 95% результатов определений должны быть в
пределах допускаемых отклонений, а остальные не должны выходить за интервал
от -15 (-10) до +30 (+15) |
0,7 |
|
|
Крутизна откосов, % |
10 |
Не менее 90% результатов определений должны быть в
пределах допускаемых отклонений, а остальные не должны превышать крайние
значения более чем в 2 раза |
Не менее 95% результатов определений должны быть в
пределах допускаемых отклонений, а остальные не должны превышать крайние
значения более чем в 2 раза |
0,7 |
|
Устройство водоотвода |
Поперечные размеры кюветов, нагорных и других
канав (по дну), см |
5 |
То же |
То же |
0,8 |
|
|
Глубина кюветов, нагорных и других канав (при
условии обеспечения стока), см |
5 |
» |
» |
0,8 |
|
|
Поперечные размеры дренажей, см |
5 |
» |
» |
0,8 |
|
|
Продольные уклоны дренажей, % |
10 |
» |
» |
1,0 |
|
|
Ширина насыпных берм, см |
20 |
» |
» |
0,6 |
|
Устройство присыпных обочин |
Снижение плотности грунта в обочинах, % |
4 |
Не менее 90% результатов определений должны быть не
ниже требуемых, а остальные могут иметь отклонения, не превышающие указанные
в гр. 2 |
Не менее 90% результатов определений должны быть не
ниже требуемых , а остальные могут иметь отклонения, не превышающие 2% |
1,0 |
|
|
Толщина укрепления, % |
10 |
Не менее 90% результатов определений должны быть в
пределах допускаемых отклонений, а остальные не должны выходить за интервал
от -15 до +20% |
Не менее 95% результатов определений должны быть в
пределах допускаемых отклонений, а остальные не должны выходить за интервал
от -15 до +20% |
0,8 |
|
|
Поперечные уклоны обочин, % |
10(5) |
Не менее 90% результатов определений должны быть в
пределах допускаемых отклонений, а остальные не должны выходить за интервал
от -15 (-10) до +30 (+15) |
Не менее 95% результатов определений должны быть в
пределах допускаемых отклонений, а остальные не должны выходить за интервал
от -15 (-10) до +30 (+15) |
0,8 |
*Здесь и далее данные в скобках относятся к работам, выполняемым с применением
машин с автоматической системой задания вертикальных отметок.
СОДЕРЖАНИЕ
|
|
|
|