Бесплатная библиотека стандартов и нормативов www.docload.ru

Все документы, размещенные на этом сайте, не являются их официальным изданием и предназначены исключительно для ознакомительных целей.
Электронные копии этих документов могут распространяться без всяких ограничений. Вы можете размещать информацию с этого сайта на любом другом сайте.
Это некоммерческий сайт и здесь не продаются документы. Вы можете скачать их абсолютно бесплатно!
Содержимое сайта не нарушает чьих-либо авторских прав! Человек имеет право на информацию!

 

ВСЕСОЮЗНЫЙ НАУЧНО-ИССЛЕДОВАТЕЛЬСКИЙ
ИНСТИТУТ ТРАНСПОРТНОГО СТРОИТЕЛЬСТВА

НАСТАВЛЕНИЕ ПО ИСПЫТАНИЯМ ГРУНТОВ
В МАССИВАХ

Одобрено Главтранспроектом

Москва 1981

ПРЕДИСЛОВИЕ

Для повышения информативности изысканий, точности и надежности инженерно-геологического обоснования проектов дорожных сооружений и их комплексов существенное значение имеет развитие испытаний грунтов в массивах. Методика ряда испытаний регламентирована государственными общесоюзными стандартами и описана в методических руководствах. Однако технология применения полевых испытаний грунтов при дорожных изысканиях нигде не охарактеризована, она специфична и обусловливает необходимость применения при испытаниях специализированных технических средств и методики работ, отличных от используемых при площадных изысканиях.

Наставление по испытаниям грунтов в массивах составлено на основе результатов выполненных в ЦНИИСе экспериментальных исследований, проектно-конструкторских разработок и обобщения опыта инженерно-геологических изысканий. В работе наряду с общими для всех отраслевых изысканий положениями, установленными действующими нормативными и методическими документами, охарактеризованы специфические особенности испытаний в массивах грунтов оснований, среде и материалах проектируемых дорожных сооружений и грунтов - объектов разработки при транспортном строительстве.

Наставление разработано канд. геол.-мин. наук М. К. Дружининым в лаборатории инженерной геологии и геофизики ЦНИИСа Минтрансстроя при участии ее сотрудников.

Зам. директора института                                                   Зав. отделением

изысканий и проектирования

железных дорог

Н. Б. Соколов                                                                 А. М. Козлов

1. ОБЩИЕ ПОЛОЖЕНИЯ

1.1. Основной целью полевых испытаний следует считать повышение информативности инженерно-геологических изысканий и надежности определения прочности, деформативных и фильтрационных свойств грунтов в массивах, включая и массивы техногенного происхожденияемляные сооружения, подсыпки при планировках и заменах, отвалы и др.).

1.2. В число специфических задач испытаний входят:

- изучение состояния и свойств грунтов, монолитные образцы и керны которых для лабораторных испытаний отобрать невозможно рупнообломочных грунтов, водоносных и сыпучих песков, глинистых грунтов агрегатного сложения, некоторых илов, подверженным тиксотропным превращениям и при малейших воздействиях разжижающихся, и др.);

- учет масштабного эффекта, являющегося следствием макронеоднородности массива при относительной однородности состава, сложения, состояния и свойств грунта в монолитном образце (керне);

- непосредственное определение максимальной и структурной прочности грунтов в массиве;

- моделирование в массиве напряжений, возникающих при техногенных воздействиях на грунты-основания и среду проектируемых сооружений и зданий (бытовом плюс проектном давлениях, разгрузке массива вскрытием в нем строительных выработок, подтоплении и дренаже и др.);

- моделирование поведения грунтов в замачиваемых, оттаивающих, промораживаемых, набухающих, проседающих массивах, при явлениях тиксотропии и др.;

- моделирование взаимодействия грунтов и свай в массиве.

В гидроэнергетическом и некоторых других видах строительства в полевых испытаниях устанавливают также естественное напряженное состояние грунта в массиве на заданной глубине (бытовое и поровое давления, диагенетические и постгенетические напряжения и др.).

1.3. В состав полевых испытаний следует включать определение объемной массы грунтов в массиве способом лунок и изучений макронеоднородности толщи грунта путем микропенетрации с поверхности обнажения или в бортах и на дне разведочных и строительных выработок.

1.4. На дорожных изысканиях надлежит применять:

- статическое зондирование грунтов в массиве;

- динамическое зондирование;

- вращательный срез глинистых грунтов в массиве;

- сдвиги и раздавливание целиков;

- прессиометрию грунтов в скважинах;

- опытные откачки из обводненных массивов.

1.5. В особых случаях (оговоренных ниже в технологической части Наставления) следует выборочно применять:

- испытания грунтов статическими нагружениями на штампы в шурфах и скважинах;

- испытания мерзлых грунтов статическими нагружениями на горячие штампы в шурфах;

- опытные вдавливания, забивания и выдергивания свай, в том числе с оттаиванием грунтов;

- опытные замачивания грунтов в котлованах.

При возможности перечисленные работы следует возлагать на договорных началах на специализированные местные территориальные изыскательские и строительные организации, располагающие обученными специалистами, рабочей силой и необходимыми аппаратурой и механизмами. В последнем случае полевые испытания надлежит выполнять в начальный период строительства при продолжающемся рабочем проектировании дорожных объектов.

1.6. Методика ряда испытаний грунтов в массивах регламентирована государственными стандартами Союза ССР и другими нормативными документами:

19912-74. Грунты. Метод полевого испытания динамическим зондированием.

20069-74. Грунты. Метод полевого испытания статическим зондированием.

СН 448-72. Указания по зондированию грунтов для строительства. Госстрой СССР.

21719-80. Грунты. Метод полевых испытаний на срез в скважинах и массиве.

23741-79. Грунты. Методы полевых испытаний на срез в горных выработках.

5686-78. Сваи. Методы полевых испытаний.

12374-77. Грунты. Метод полевого испытания статическими нагрузками.

23253-78. Грунты. Методы полевых испытаний мерзлых грунтов.

20276-74. Грунты. Метод полевого определения модуля деформации прессиометрами.

23278-78. Грунты. Методы полевых испытаний проницаемости.

24546.-81. Сваи. Методы полевых испытаний в вечномерзлых грунтах.

1.7. Необходимо учитывать следующие особенности испытаний грунтов в массивах:

непрерывность процессов статического и динамического зондирований по разрезу изучаемой толщи грунтов;

прерывистость прочих испытаний, осуществляемых, как правило, в отдельных точках, слоях или областях массива (опытные откачки, замачивания, испытания свай);

различные объемы испытываемых грунтов от нескольких кубических сантиметров (микропенетрация) до десятков кубических метров (опытные откачки и замачивания, нагружения на штампы);

различные линейные размеры испытываемых объемов по вертикали и горизонтали, обусловливаемые главным образом размерами рабочих устройств (диаметром и высотой крыльчаток, диаметром штампа, определяющим мощность напряженной под ним зоны массива).

1.8. При программировании полевых испытаний следует принимать во внимание особенности, ограничивающие их возможности:

- учитывать анизотропию свойств грунтов в массиве вдоль и поперек напластования и по вертикали не представляется возможным. В испытаниях грунтов прессиометром грунт обжимается по горизонтали, тогда как в зоне напряжений от веса здания, сооружения и от бытового давления он сжимается по вертикали - в направлении силы тяжести. Лопасти крыльчатки сдвигают грунт поперек напластования, а выдавливается грунт на основания (насыпи, фундамента и др.) по слоистости;

- в лопастном испытании находят суммарные величины максимальной, минимальной и длительной (после разрушения крыльчаткой структурных связей) прочности грунта без ее расчленения на внутреннее трение и сцепление);

- если водоносный горизонт неоднороден, включает линзы и прослои пород с разной водопроницаемостью, то при опытных откачках получают некоторую усредненную величину коэффициента фильтрации горизонта в целом;

- в зону напряжений от нагружаемого штампа могут попасть грунты нескольких инженерно-геологических элементов (тонкие слои разных по составу, сложению и состоянию грунтов) с различными деформативными свойствами, а найденный модуль деформации будет характеризовать всю эту зону;

- в большинстве полевых испытаний нельзя определить ожидаемые на период эксплуатации сооружения плотность, прочность и деформативные свойства изучаемого грунта основания, проектируемого откоса и др. Только в моделирующих испытаниях нагружениями на штампы, специально обводняемые, осушаемые, оттаянные или промороженные, набухшие и тиксотропно упрочненные грунты и при опытных замачиваниях просадочных и набухающих грунтов возможно получение прогнозных данных;

- при возможностях современной испытательной аппаратуры глубины полевых испытаний грунтов не превышают, как правило, 20 м.

1.9. При назначении испытаний в массивах следует учитывать возможности различных методов, применяемых для изучения тех или иных свойств грунтов:

- микропенетрацию, статическое и динамическое зондирования, прессиометрию и испытания свай следует проводить в песчаных и глинистых, в том числе просадочных и набухающих грунтах;

- испытания статическими нагрузками на штампы, сдвиги и раздавливания целиков, обрушения и выпирания призм в выработках, определения плотности возможны в крупнообломочных, песчаных и глинистых грунтах, в том числе с обломочными включениями;

- опытные замачивания надлежит выполнять на участках распространения просадочных и набухающих грунтов;

- вращательный срез с поверхности массива или в забое скважины нужно применять в глинистых грунтах от текучей до тугопластичной консистенции, в илах и торфах;

- опытные откачки выполняют из водоносных горизонтов, где водовмещающими являются породы с хорошей водоотдачей, включая некоторые супеси.

1.10. При изучении грунтов оснований рекомендуется применять в комплексе:

- зондирования песчаных грунтов и испытания свай;

- статическое зондирование и штамповые испытания замачиваемых просадочных лессовых грунтов;

- прессиометрию и статические нагружения на штампы в шурфах и скважинах на глинистые и песчаные грунты.

Коррелируя результаты различных испытаний одного и того же грунта одного инженерно-геологического элемента на объекте изысканий и проектирования или в пределах данного инженерно-геологического участка, можно в дальнейшем сократить объемы или вообще отказаться от проведения трудоемких, дорогих и длительных испытаний свай, статических нагружений на штампы и др. и применять в основном статическое и динамическое зондирования, прессиометрию, вращательный срез.

При сравнении результатов штамповых испытаний и прессиометрии, вращательного среза и сдвигов целиков могут быть определены коэффициенты анизотропии сжимаемости и прочности грунтов вдоль и поперек напластования в массиве.

2. ТЕХНОЛОГИЯ И ТЕХНИЧЕСКИЕ СРЕДСТВА ПОЛЕВЫХ ИСПЫТАНИЙ ГРУНТОВ В МАССИВАХ

Назначение и область применения испытаний

2.1. Грунты испытывают как основания, среду, материалы различных дорожных сооружений и как объекты разработки при строительстве. Поэтому в зависимости от характера использования один и тот же грунт подвергают различным испытаниям.

2.2. Основные области и виды испытаний различных грунтов в массивах охарактеризованы в табл. 1.

Микропенетрация

2.3. Испытания надлежит начинать с микропенетрации грунтов в обнажениях, расчистках, на дне и стенках выработок. Основными задачами микропенетрации являются [1, 2]:

- расчленение однородных по визуальным признакам толщ на индивидуальные слои песчаных и глинистых грунтов, различающихся по влажности, консистенции, плотности и прочности;

- уточнение границ выделенных при разведке и опробовании пластов и инженерно-геологических элементов.

Приемы истолкования результатов микропенетрации толщ грунтов на откосе дорожной выемки показаны на рис. 1.

Рис. 1. Расчленение внешне однородной толщи грунта в откосе выемки на индивидуальные слои по результатам микропенетрации. Точки микропенетрации (уколы) нанесены в масштабе предельного напряжения сдвига (удельного сопротивления пенетрации) по горизонтали в створах

Таблица 1

Комплексы проектируемых дорожных сооружений и зданий

Испытываемые грунты и их состояние

Виды полевых испытаний грунтов в массивах

Назначение полевых испытаний грунтов

Грунтовые карьеры и резервы

Глинистые грунты от твердой до тугопластичной консистенции, песчаные и крупнообломочные грунты

Определение объемной массы грунтов

Оценка грунтов как объектов разработки при строительстве и как материалов земляных сооружений

Дренажи, карьеры, котлованы, тоннели

Водоносные супеси, пески, крупнообломочные и трещиноватые скальные грунты

Опытные откачки

Определение водопроницаемости грунтов обводненных массивов для проектирования водопонижения и водоотлива

Индивидуально проектируемые земляное полотно и сопрягаемые с ним малые искусственные сооружения. Путепроводы, виадуки, эстакады, средние, большие и внеклассные мостовые переходы. Здания и сооружения станционного хозяйства в целом, жилых поселков, промышленных предприятий дорожного транспорта, отдельные здания и сооружения. Портальные части тоннелей

Торф, илы, глинистые грунты от текучей до тугопластичной консистенции, в том числе оттаянные

Вращательный срез

Определения природной и контактной прочности грунтов для расчетов оснований по несущей способности и расчетов устойчивости склонов и откосов проектируемых выемок

Глинистые грунты от твердой до тугопластичной консистенции, песчаные и крупнообломочные грунты

Сдвиги целиков грунтов

Глинистые и песчаные грунты, в том числе гравелистые и оттаянные немерзлые

Статическое и динамическое зондирования. Опытные испытания свай

Оценка несущей способности свай и грунтов оснований проектируемых сооружений и зданий для выбора типа оснований

Прессиометрия грунтов

Определение модуля деформации грунтов для расчета оснований по деформациям

Глинистые, песчаные и крупнообломочные грунты немерзлые

Испытания нагружениями на холодные штампы в шурфах и скважинах

Мерзлые грунты всех видов кроме скальных

Испытания нагружениями на холодные и горячие штампы в шурфах и котлованах

Определение сжимаемости мерзлых грунтов и грунтов при оттаивании под нагрузками для расчета осадок оснований

Испытания свай в мерзлых грунтах и грунтах при оттаивании

Оценка несущей способности свай и грунтов для выбора типа основания

Просадочные лессовые и набухающие глинистые грунты в естественном состоянии и при замачивании

Статические нагружения на штампы при замачивании грунтов. Статическое зондирование грунтов. Опытное замачивание

Определение параметров просадочности и набухания грунтов для расчетов оснований по деформациям, величин осадок и подъемов замоченных оснований

Микропенетрацию следует выполнять в массовом порядке во всех случаях дорожных инженерно-геологических изысканий при проведении рекогносцировки, съемки, разведки и опробования грунтов, освидетельствовании в порядке авторского надзора вскрываемых котлованов и других строительных выработок.

Результаты микропенетрации заносят в журналы описания обнажений, расчисток и вскрытий. Для индивидуального слоя однородного по составу и состоянию грунта и отдельно взятого инженерно-геологического элемента результаты микропенетрации надлежит подвергать статистической обработке по ГОСТ 20522-75 для получения обобщенных пенетрационных характеристик грунта.

Для приближенной оценки однородности глинистого грунта может служить глубина погружения конуса микропенетрометра. При применении конуса с углом при вершине 30° и постоянном усилии вдавливания, равном 20 Н, допустимые отклонения погружения конуса в грунт не должны превышать 5 мм. При большем отклонении в испытываемом разрезе следует выделять несколько индивидуальных слоев.

Сопротивление проникновению в грунт конуса называется предельным напряжением сдвига. Для конуса с углом при вершине 30° его вычисляют по формуле

,                                                              (1)

где R - предельное напряжение сдвига, МПа;

P - нагрузка на конус, Н;

h - глубина погружения конуса в грунт, мм.

Отклонения частных значений предельного напряжения сдвигу в испытываемом пласте, инженерно-геологическом элементе не должны превышать 15 % величины обобщенного значения, что необходимо учитывать при расчленении внешне однородной толщи и проведении границ элементов.

Для песчаных грунтов вычисляют показатель пенетрации

,                                                             (2)

где U - показатель пенетрации, МПа, отнесенный к 1 мм (или нагрузка, отнесенная к объему 1 мм3).

Рекомендуется применять микропенетрометр Всесоюзного научно-исследовательского института гидрогеологии и инженерной геологии (ВСЕГИНГЕО) МВ-2 (рис. 2). Принцип действия прибора основан на измерении глубины погружения подпружиненного конуса. В испытании определяют силу сопротивления грунта проникновению конуса. Пенетрация возможна только на высоту конуса.

Техническая характеристика

Высота конуса, мм........................................................................... 25

Угол при вершине конуса, град...................................................... 30

Начальное натяжение пружины, Н................................................ 5,5

Конечное натяжение пружины, Н.................................................. 25,5

Длина, мм......................................................................................... 300

Диаметр, мм..................................................................................... 20

Масса, кг........................................................................................... 0,3

Число отдельных «уколов» грунта отдельно взятого инженерно-геологического элемента должно быть не менее 12, а при уточнении границ или выделении нескольких элементов во внешне однородной толще не менее 24 (по 12 по обе стороны предполагаемой линии раздела).

Рис. 2. Микропенетрометр МВ-2:

1 - ручка; 2 - корпус; 3 - шток; 4 - пружина; 5 - движок; 6 - опорная плита; 7 - сменный конус

Определение объемной массы грунтов

2.4. Объемную массу в массиве следует определять для глинистых грунтов агрегатного сложения (крошащихся), влажных песков с включениями и крупнообломочных грунтов.

Отрывают шурф сечением 55 × 55 или 60 × 60 см и глубиной 50 см и извлекают из него грунт. При этом все неровности дна и станок по возможности заравнивают тем же грунтом или взятым из него мелкоземом (суглинком и др.). Извлеченный грунт взвешивают на торговых весах с точностью до 5 г. Из грунта в металлические бюксы отбирают не менее 6 проб на влажность глинистого и песчаного материала.

Стальным метром с миллиметровыми делениями в 17 местах (по три на каждую из четырех стенок и пять ко дну шурфа) измеряют глубину шурфа. Для измерений ко дну на верх шурфа кладут рейку по диагонали. Определяют глубину на пересечении и по серединам половин диагоналей. Вычисляют среднее арифметическое 17 измерений с точностью до 1 мм. Длину и ширину шурфа измеряют дважды на каждой стенке и дважды по серединам его по дну и сверху. Вычисляют среднее из 12 измерений.

Для вычислений объема шурфа, влажности, объемной массы грунта и объемной массы скелета грунта надлежит в полевых условиях пользоваться переносным микрокалькулятором, позволяющим вычислять восьмизначные числа. Масса прибора 0,2-0,3 кг.

В гравии, дресве, галечнике и щебне неровности стенок шурфа загладить удается не всегда. По предложению Г. К. Бондарика [1] для определения объема шурфа применяют мерный куб, представляющий собой ящик с ребром 50 см. Ящик весь или одна из его стенок сделаны из плексигласа. На стенке нанесена шкала объемов. Объем куба V0 известен1.

1 Если мерный куб установлен в шурфе так, что его верхний край выдается над поверхностью земли, то за объем принимают объем части куба, фиксируемый по отметке шкалы, находящейся вровень с поверхностью.

В мерный куб совком насыпают сухой среднезернистый песок, не содержащий крупных включений, выравнивают поверхность песка в кубе и по мерной шкале на его прозрачной стенке отмечают объем засыпанного песка V1.

Песком из мерного куба выравнивают дно шурфа с таким расчетом, чтобы отметка шкалы, фиксирующая верхний край куба либо определенный объем, находилась вровень с поверхностью земли. Куб устанавливают в шурфе и пазухи между его стенками и стенками шурфа засыпают песком из куба с помощью совка. Линейкой выравнивают поверхность песка, оставшегося в мерном кубе. Извлекают куб из шурфа и отмечают объем оставшегося в кубе песка V2. Объем шурфа находят суммированием

V = V0 + (V1 - V2).                                                         (3)

Зондирования грунтов

2.5. Зондирования песчаных и глинистых грунтов в массиве наиболее частые и применяемые ранее других полевые испытания. По результатам зондирований планируют или уточняют программы прочих испытаний в массиве, а также лабораторного опробования грунтов.

Статическое зондирование возможно при содержании в грунте до 25 % крупнообломочных включений, а динамическое - до 40 %.

Динамическое зондирование менее трудоемко и проще в исполнении, нежели статическое, но область его применения уже, поскольку ему нельзя подвергать пылеватые водонасыщенные пески, мягко- и текучепластичные и текучие глины и суглинки, пластичные и текучие супеси.

Зондирования в сочетании с другими полевыми и лабораторными методами изучения грунтов применяют для следующих целей:

- выделения индивидуальных слоев (глубины залегания, мощности, границ распространения в плане), а в сферах воздействия на массивы, среду и основание различных сооружений и зданий инженерно-геологических элементов (грунтов разного состава, сложения и состояния);

- оценки однородности грунтов в массиве по площади и глубине, главным направлениям изменчивости в пространстве;

- определения глубин залегания кровли скальных, крупнообломочных и мерзлых грунтов;

- приближенной количественной оценки прямых показателей свойств грунтов (плотности, угла внутреннего трения, модуля деформации, относительной просадочности и др.);

- определения сопротивления грунтов под сваей и по ее боковой поверхности;

- установления степени уплотнения и упрочнения во времени насыпных грунтов техногенного происхождения и грунтов оснований.

Зондирования надлежит проводить в следующих случаях:

- на участках индивидуального проектирования земляного полотна (полотна на косогорах, высоких насыпях и глубоких выемках, деформирующихся насыпях и др.);

- в основаниях опор и устоев проектируемых мостов, путепроводов и эстакад;

- у порталов, а при неглубоком заложении и по оси проектируемых в песчано-глинистых массивах тоннелей;

- в местах размещения проектируемых многоэтажных зданий (вокзалов, локомотивных депо и др.) и ответственных сооружений на станциях и в поселках, промышленных предприятий дорожного транспорта;

- на месторождениях строительных материалов и грунтов, отвалах горных производств и промышленных предприятий.

На изучаемом отдельном инженерно-геологическом участке для индивидуального несущего слоя основания здания или сооружения (инженерно-геологического элемента в зоне напряжений) следует выполнять не менее шести зондирований.

Чаще всего зондирования рекомендуется сочетать с испытаниями свай, статическими нагружениями на штампы в скважинах, лабораторными определениями прочности и деформативных свойств грунтов несущих слоев в основаниях проектируемых сооружений и зданий, в особенности на мостовых переходах и строительных площадках.

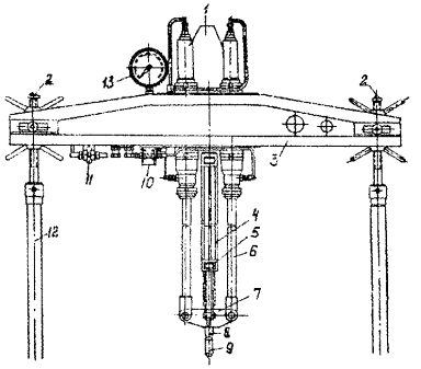
Динамическое зондирование

2.6. Требованиям ГОСТ 19912-74 и СН 448-72 и оборудованию для динамического зондирования грунтов отвечает установка УБП-15М (буровая пенетрационная модернизированная) для ударноанатного бурения скважин на глубину до 15 м (рис. 3), выпускаемая Угличским заводом Гидропроекта в комплекте с навесным приспособлением для зондирования ис. 4) [3, 4].

Техническая характеристика

Номинальная глубина зондирования, м                                                             20

Высота падения молота, м                                                                                   0,8

Масса молота1, кг                                                                                                  60

Мощность двигателя УД-2 при частоте вращения 3000 об/мин, кВт              6

Габариты установки в транспортном положении, м:

длина                                                                                                                      4,05

высота                                                                                                                     2,27

ширина                                                                                                                   1,85

Общая масса, кг                                                                                                     1100

1 Можно подобрать молоты и с иной массой.

Навесное приспособление состоит из ударника, свободно перемещающегося по направляющей штанге, и устройства для подъема ударника и автоматического сбрасывания его с определенной высоты. Ударник, находящийся в нижнем положении, захватывается кулачками и с помощью траверсы поднимается вверх. Кулачки имеют выступы, которые входят в продольные пазы направляющей штанги; пазы в свою очередь в верхней части направляющей штанги оканчиваются сбегом, при достижении которого (подъеме ударника) кулачки раздвигаются и освобождают молот.

Ударник сбрасывается на высоте 0,8 м над переходником, служащим для передачи зондирующим штангам энергии удара. При массе ударника 60 кг энергия ударов от начала и до конца зондирования постоянна и равна 470 Дж.

Рис. 3. Буровая пенетрационная установка УБП-15М (а) с инвентарным коническим (б) и съемным коническим (в) наконечником:

1 - мачта складная; 2 - навесное приспособление для зондирования; 3 - планетарная лебедка; 4 - редуктор РМ-250; 5 - опоры с баком для бензина; 6 - двигатель УД-2 с муфтой сцепления; 7 - рама; 8 - ручная червячная лебедка

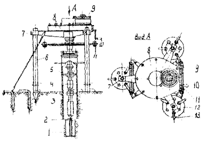
Рис. 4. Навесное приспособление для динамического зондирования установкой УБП-15М:

1 - траверса для подъема ударника; 2 - направляющая штанга; 3 - кулачки для захватывания и сбрасывания ударника; 4 - ударник; 5 - переходник

Навесное приспособление может быть смонтировано и на других буровых установках: УГБ-50М, БУКС-ЛГТ и др.

Производственный и научно-исследовательский институт по инженерным изысканиям в строительстве Госстроя СССР (ПНИИИС) разработал приставку к станку УГБ-50А(М) для динамического зондирования грунтов, выполненную в виде головного опытного образца в Рязанских мастерских этого института [5].

Испытательный зонд (см. рис. 3, а) для динамического зондирования состоит из штанг с наружным диаметром 42 мм, соединяемых ниппелями, и конуса с основанием диаметром 74 мм и углом при раскрытии 60°. Конусов два: инвентарный (см. рис. 3, б) и съемный (см. рис. 3, в). С нижним концом штанг первый соединяется резьбой, а второй укрепляется шпилькой, которая при подъеме гарнитуры срезается.

График результатов испытания оформляется по ГОСТ 19912-74.

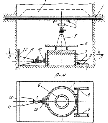
Статическое зондирование

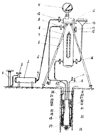
2.7. В практике инженерно-геологических изысканий применяют установку для статического зондирования Всесоюзного научно-исследовательского института транспортного строительства (ЦНИИС) Минтрансстроя, установки Фундаментпроекта С-979 и СП-59, НИИпромстроя Министерства промышленного строительства (г. Уфа) С-832 и пенетрационные приставки к буровой установке УГБ-50М, созданные в ЦНИИСе (рис. 5) и Уральском тресте инженерно-строительных изысканий. Размеры рабочих наконечников всех установок по ГОСТ 20069-74 унифицированы: диаметр основания 35,6 см, площадь поперечного сечения 10 см2, конус при вершине имеет угол заострения 60°, глубина погружения зонда 20 м.

2.8. Статический пенетрометр и приставки ЦНИИС предназначены для испытаний грунтов на линейных и площадных изысканиях. Конструкция установки разборная, что позволяет доставлять практически в любую точку трассы или площадки изысканий отдельные узлы ее вьюком или на руках на косогор, в тайгу, мостовой переход и т.д. [6, 7]. Она обслуживается техником-испытателем и двумя рабочими.

Рис. 5. Статическая пенетрационная приставка ЦНИИС к буровому станку УГБ-50М:

1 - гидродомкраты; 2 - болты, закрепляющие опорную балку на двух анкерах; 3 - опорная балка; 4 - труба, в которую вставляется штанга; 5 - поперечные окна в трубе; 6 - поршни; 7 - крестовина; 8 - штанги; 9 - измерительный наконечник; 10 - реверсивный золотник; 11 - вентиль; 12 - анкер; 13 - съемный манометр

Техническая характеристика

Максимальное усилие задавливания, кН                                                  100

Диаметр штанги, мм                                                                                   36

Длина отдельного звена штанги, м                                                           1,5

Диаметр внутреннего стержня в штанге, мм                                           18

Мощность бензодвигателя марки 2СДВ, кВт                                          1,5

Производительность гидронасоса марки Н-400, л/мин                          5

Максимальное давление в гидросистеме, МПа                                       20

Ход штоков гидроцилиндров, м                                                                0,45

Масса отдельных узлов установки, кг:

станина (сварная балка) с гидроцилиндрами                                     100

опорные стойки (2 шт. по 20 кг)                                                          40

моторно-насосный агрегат                                                                   90

кабестан для завинчивания анкерных свай                                         45

винтовые анкерные сваи (4 шт. по 10 кг)                                            40

пульт управления                                                                                   50

Общая масса, кг                                                                                           400

Габариты в сборе, мм:

ширина                                                                                                    1700

высота                                                                                                      1700

длина                                                                                                       1300

Установка укрепляется на месте четырьмя анкерными сваями, завинчиваемыми в грунт кабестаном от привода бензодвигателя. В грунт при помощи гидродомкратов задавливается штанга с рабочим наконечником (рис. 6). Глубину его погружения находят по мерной линейке с сантиметровыми делениями, помещаемой перед штангой. На крестовине домкрата укреплен указатель, который скользит по линейке.

Общее сопротивление грунта вдавливанию штанги с наконечником складывается из суммы лобового сопротивления внедрению последнего и трения штанги о грунт. Оно определяется по давлению масла в гидродомкратах, измеряемому манометрами 13 (см. рис. 5), вынесенными на пульт управления. При давлении в домкратах до 9 МПа применяют манометр на 10 МПа, а при повышении давления перекрывают вентиль 11 и работают с манометром на 25 МПа.

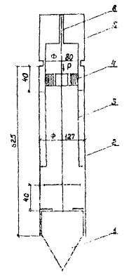
Рис. 6. Измерительный наконечник зонда:

1 - резьба; 2 - сальник; 3 - уплотнительные кольца; 4 - кабель; 5 - проволочный датчик; 6 - стержень; 7 - рубашка; 8 - конус; 9 - зазор

Усилия вдавливания вычисляют умножением показания манометра на общую площадь поршней обоих гидродомкратов (диаметр поршня 6 см, общая площадь двух поршней 56,5 см2).

Лобовое сопротивление грунта внедрению наконечника измеряют, применяя проволочные датчики, электрическое сопротивление которых меняется в зависимости от деформации базы, на которой они закреплены, и, следовательно, от давления, вызвавшего деформацию. Давление на грунт, воспринимаемое конусом, передается на внутренний стержень наконечника зонда (см. рис. 6). На стержне наклеены датчики, которые трехжильным кабелем соединены с измерительным прибором. Стальная рубашка защищает датчики от механических повреждений. Для того чтобы давление от грунта через конус передавалось только на стержень, между конусом и рубашкой предусмотрен зазор. Уплотнительные кольца и сальник предохраняют датчики от попадания в них воды.

Рабочий наконечник соединяется резьбой со штангой. Кабель от него проходит через полость штанги и присоединяется к прибору для измерения статических деформаций ИД-62М. Регистрируя изменения сопротивления датчиков, определяют давление на наконечник.

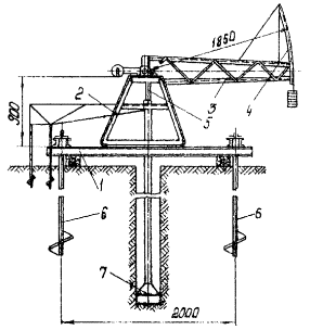
2.9. Зондирующая установка С-832 (рис. 7 и 8) предназначена для испытаний грунтов, лобовое сопротивление зондированию которых не превышает 50 МПа [8].

Установка монтируется на автомобиле ГАЗ-69 или ЗИЛ-157 и состоит из гидравлического оборудования, стрелы, механизма с анкерными винтовыми сваями, штанги с зондом на ее конце и электронной измерительной аппаратуры. Узлы собираются на раме, установленной на лонжеронах автомобиля.

Техническая характеристика

Максимальное усилие вдавливания зонда, кН                                    100

Максимально допустимое усилие на лобовую поверхность

зонда, кН                                                                                                 120

Максимальная глубина зондирования, м                                            21

Измерение лобового и бокового сопротивлений грунта

вдавливанию зонда                                                                                Раздельное

Пределы измерений, МПа:

лобового сопротивления (на трех шкалах)                                     0-5; 0-20; 0-80

бокового сопротивления (на трех шкалах)                                     0-0,1; 1,0-0,3; 0-0,9

Основная погрешность, %                                                                     Не более 2,5

Диапазон рабочих температур, °С:

зонда                                                                                                   От -20 до +50

самопишущих приборов МС-03                                                       От 0 до +50

Источник питания измерительной аппаратуры                                 Аккумуляторы

типа 5НКН-60

напряжением 24 В

или генератор

автомобиля

Скорость погружения зонда, м/мин:

наибольшая                                                                                        3

наименьшая                                                                                       0,0075

Ход штока гидроцилиндра вдавливания, мм                                      1000

Диаметр штанги зонда, мм                                                                   34

Привод механизма завинчивания анкерных свай                               Гидравлический

Анкерные сваи (2 шт.), рассчитанные на усилие

выдергивания, кН                                                                                   100

Масса установки без автомобиля, кг                                                    2600

Рис. 7. Установка для статического зондирования С-832:

1 - винтовая свая; 2 - упорная траверса; 3 - опорная рама; 4 - правый редуктор механизма завинчивания; 5 - зонд; 6 - зажимное устройство; 7 - гидравлический цилиндр вдавливания; 8 - стрела; 9 - гидравлическая система; 10 - правый гидравлический двигатель механизма завинчивания

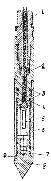
Рис. 8. Наконечник зонда установки С-832:

1 - муфта для соединения со штангой; 2 - подъемник; 3 - упорный шток, передающий усилие при вдавливании через упругие элементы на цилиндр и конус; 4 - шарик; 5 - конус; 6 и 13 - манжеты; 7 - цилиндр; 8 - упругий элемент с датчиком, воспринимающим усилие конуса и преобразующим его в электрический сигнал; 9 - направляющая шайба; 10 - упругий элемент с датчиком, воспринимающим усилие от цилиндра и преобразующим его в электрический сигнал; 11 - ограничительное кольцо; 12 - теплоизоляционный упор

Механизм завинчивания анкерных винтовых свай работает от гидравлического устройства установки.

Штоки гидродомкратов вдавливания зонда соединены со специальным устройством - захватом, который зажимает штангу при ее погружении и свободно скользит при движении штанги вверх. Чтобы избежать прогиба штанги при вдавливании зонда в плотные грунты, предусмотрена направляющая втулка - кондуктор. Закрепленная на траверсе, она при зондировании находится на поверхности земли.

Гидравлический цилиндр вдавливания зонда установлен на стреле, поднимающейся из транспортного положения в рабочее с помощью гидравлики. Оператор поднимает и опускает стрелу, вдавливает и выдергивает зонд, завинчивает и вывинчивает анкерные сваи с пульта управления.

Схема узла вдавливания, дающего возможность зондирования со стабилизацией, показана на рис. 9. При погружении зонда гидроцилиндром на намеченную глубину насос, подающий масло в гидроцилиндр, отключается. Штанга с зондом находится только под воздействием давления в демпфере, которое падает по мере погружения зонда. Зонд останавливается в момент достижения равновесия между усилием вдавливания и реакцией грунта.

В процессе зондирования раздельно измеряются сопротивление грунта вдавливанию зонда, лобовое сопротивление и боковое трение поверхности зонда о грунт на участке 31 см. Эти усилия воспринимаются специальными электротензометрическими датчиками и автоматически фиксируются в виде графиков на ленте двумя самопишущими приборами МС-0,3, с которыми зонд (см. рис. 8) соединен кабелем. Измерительная аппаратура через специальный преобразователь постоянного тока питается от аккумулятора автомашины.

Рис. 9. Схема узла вдавливания:

1 - анкерные сваи; 2 - гидроцилиндр; 3 - демпфер; 4 - рама; 5 - зонд

Сопротивления регистрируются как при непрерывном вдавливании зонда (зондирование "без стабилизации"), так и при практически неподвижном зонде в состоянии предельного равновесия (зондирование "со стабилизацией") на заданной глубине.

2.10. Установка для статического зондирования С-979 смонтирована на одноосном шасси и крепится к грунту четырьмя винтовыми анкерными слоями, погружаемыми в землю вручную, или специальным механизмом для завинчивания.

Установка С-979 состоит из трех основных частей: зонда, устройства, вдавливающего зонд в грунт, и измерительной аппаратуры. Максимальная глубина зондирования 15 м, усилие вдавливания 100 кН.

Зонд состоит из стальных труб наружным диаметром 36 и внутренним 20 мм, штанг диаметром 18 мм и наконечника. Колонну штанг зонда собирают из секций по 1 м.

Конструкция зонда позволяет раздельно измерять общее сопротивление грунта вдавливанию и сопротивление грунта погружению конуса. Их разница равна сопротивлению грунта по боковой поверхности зонда при его внедрении.

Вдавливающее устройство включает гидравлический домкрат двойного действия и давильную головку, которые смонтированы на двух стойках, укреплённых в общей раме шасси. Давление в домкратах создается маслонасосной станцией, смонтированной на отдельном одноосном шасси.

Сопротивление грунта погружению конуса измеряется динамометром ДОСМ-5 с мессурой, рассчитанным на максимальное усилие вдавливания 50 кН. Общее сопротивление грунта погружению зонда определяется по давлению в гидравлической системе установки, измеряемому манометром.

2.11. Установка для статического зондирования грунтов СП-59 смонтирована на самоходном шасси трактора Т-16М (рис. 10). Зонд из звеньев длиной 1 м на штангах диаметром 18 мм погружают в грунт гидродомкратом задавливающего устройства через измерительную головку. Последняя позволяет одновременно и непрерывно измерять сопротивление грунта вдавливаний конуса и сопротивление трения грунта по боковой поверхности зонда.

Реактивную нагрузку в процессе вдавливания зонда воспринимает одна винтовая составная свая со сменными лопастями диаметрами 200, 300 и 400 мм. Специальный корректор исключает возможность влияния выхода сваи из грунта на отсчет глубины погружения зонда.

Зонд вдавливается через центральный канал сваи, являющийся одновременно направляющим кондуктором. Винтовую сваю погружают в грунт сваезавертным механизмом, приводимым в действие аксиально-поршневым гидромотором.

Рис. 10. Установка СП-59 на тракторе Т-16М для статического зондирования грунтов:

1 - зонд; 2 - винтовая свая; 3 - сваезавертный механизм; 4 - измерительная аппаратура; 5 - вдавливающее устройство; 6 - блок управления; 7 - насосная станция

Вдавливающее устройство, сваезавертный механизм и гидравлические аутригеры смонтированы в единый силовой блок и шарнирно укреплены на торце рамы шасси.

Механизмы силового блока с помощью вспомогательных гидроцилиндров могут быть переведены из рабочего положения в транспортное (горизонтальное) и обратно.

В кузове шасси установлены блок управления, вторичные приборы, стеллаж для штанг и труб. Исполнительные механизмы питаются от насосной станции, выполненной на базе высокого давления с приводом от вала отбора мощности двигателя трактора Т-16М.

Техническая характеристика

Максимальное усилие вдавливания зонда, кН                                                            100

Скорость вдавливания зонда, м/мин                                                                             0,5-0,7

Скорость извлечения зонда, м/мин                                                                               Более 2

Измеряемое сопротивление грунта погружению конуса, кН                                     48

Измеряемое сопротивление трения грунта по боковой поверхности зонда, кН      30

Максимальный крутящий момент сваезавертного механизма, кН·м                        5,4

Частота вращения патрона сваезавертного механизма, об/мин                                5

2.12. Результаты статического зондирования оформляются в виде графика, совмещаемого с колонкой скважины по ГОСТ 20069-74.

2.13. При статическом зондировании лессовых грунтов надлежит определять [9] глубину залегания подошвы просадочной толщи (уровень грунтовых вод, кровлю толщи плотных, песчаных, крупнообломочных и скальных пород) и просадочность.

Для зондирования рекомендуется применять установку С-832. Зондировать лессовые грунты следует на участках, где по данным источников, инженерно-геологической съемки, разведки и ранее проведенного опробования отмечена просадочность при замачивании без или под нагрузкой.

Просадочность надлежит изучать также при наличии слоя грунта мощностью не менее 2 м, имеющего по результатам зондирования в естественном состоянии (без предварительного замачивания) следующие признаки:

- лобовое сопротивление грунта погружению зонда превышает 1,5 МПа при зондировании со стабилизацией или 2 МПа при равномерном погружении зонда со стандартной скоростью;

- отношение лобового сопротивления к боковому не превышает 50.

Необходимо соблюдать следующий порядок выполнения работ при испытаниях:

- зондирование грунтов всухую на всю мощность предполагаемой просадочной толщи для выбора мест, где следует определять просадочность;

- бурение скважин диаметром не менее 100 мм и глубиной на всю мощность просадочной толщи с отбором монолитных кернов для лабораторных испытаний грунтов;

- заполнение скважин гравием, щебнем или крупным песком;

- заливка воды в скважины;

- повторное зондирование замоченной зоны грунта на расстоянии 1,5-2 м от первоначальной точки зондирования сухого грунта и 0,3-0,5 м от дренажной скважины;

- обработка результатов зондирования.

Воду в скважину следует подавать самотеком бесперебойно в течение 15 ч. Объем заливаемой воды рассчитывают по формуле

,                                              (4)

где r - радиус цилиндра замачивания, равный 1-1,5 м;

H - глубина скважины (мощность просадочной толщи), м;

hi - мощность i-го просадочного слоя, м;

Gi - степень влажности грунта в естественном состоянии в i-м слое толщи;

ni - пористость грунта в i-м слое.

Показатель П вероятной просадочности грунта (по СНиП II-15-74, пп. 2.13 и 2.14) и относительную просадочность грунта при заданном давлении находят в лабораторных определениях на образцах - монолитных кернах, отобранных из скважин.

При статическом зондировании устанавливают значения коэффициентов

;                                                               (5)

;                                                             (6)

где к1 -   отношение стабилизированных лобовых сопротивлений погружению зонда в грунт в естественном состоянии и при замачивании;

к2 -   отношение боковых сопротивлений погружению зонда в грунт со стабилизацией и без нее;

R -    лобовое сопротивление погружению зонда в грунт естественной влажности, МПа;

R -  то же для замоченного грунта;

Fст - боковое сопротивление погружению зонда при зондировании со стабилизацией, МПа;

Fv -  то же при зондировании без стабилизации.

Рис. 11. График зависимости относительной просадочности лессового грунта от коэффициента к1

Рис. 12. График зависимости относительной просадочности от коэффициента к2

Рис. 13. График зависимости показателя просадочности П от отношения боковых сопротивлений зонда со стабилизацией и без нее

Полученные эмпирические зависимости δпр = f(к1) (рис. 11), δпр = f(к2) (рис. 12) и П = f(к2) (рис. 13) следует в дальнейшем использовать как тарировочные при расшифровке данных зондирования: первую для результатов испытания при замачивании, вторую и третью при зондировании грунта естественной влажности. Надлежит отдавать предпочтение более тесной связи.

При к2 > 0,7 грунты, как правило, непросадочны; при к2 = 0,7÷1,0 просадочность грунтов возможна; а при к2 > 1,0 вероятность просадочности их повышена.

2.14. Результаты статического зондирования следует применять для определения сопротивления грунта под острием и по боковой поверхности сваи [3, 8-11].

Нормативное сопротивление грунта под нижним концом сваи RH, кПа, по результатам зондирования определяется по формуле

,                                                           (7)

где β1 - коэффициент, принимаемый при зондировании установками С-979 и СП-59 по табл. 2, а установками ЦНИИС и С-832 равным 0,5;

q3 -   среднее значение сопротивления грунта при зондировании, кПа, под наконечником зонда, полученное из опыта на участке разреза, расположенном в пределах одного диаметра сваи выше и четырех ее диаметров ниже отметки острия погружения сваи по проекту.

Коэффициенты β1, β2 и β3 перехода от сопротивления грунта при зондировании под наконечником зонда q3 к нормативному сопротивлению грунта под нижним концом сваи ρH и от сопротивления грунта по боковой поверхности зонда fi и f3i к нормативному сопротивлению грунта по боковой поверхности сваи fH приведены в табл. 2.

Таблица 2

q3, кПа

Коэффициент β1 перехода от q3 к RH

f3, f3i, кПа

Коэффициент β2 перехода от fi к fH

Коэффициент βi перехода от f3i к fH при глубине расположения слоя грунта, м

1

2

3

h

2500

0,75

20

1,5

0,50

0,50

0,50

0,5

5000

0,6

40

1,0

0,21

0,33

0,40

0,5

7500

0,5

60

0,7

0,17

0,27

0,33

0,5

10000

0,4

80

0,5

0,15

0,24

0,29

0,5

15000

0,3

100

0,4

0,14

0,22

0,26

0,5

20000

0,25

120

-

0,12

0,20

0,23

0,5

Примечание. При глубине расположения слоев от 3 м до глубины забивки сваи h значения коэффициента βi определяются интерполяцией.

Нормативное сопротивление грунта по боковой поверхности сваи fH, кПа, по результатам статического зондирования определяется по формулам:

при зондировании установками С-979 и СП-59

fH = β2 f3;                                                                  (8)

при зондировании установками С-832 и ЦНИИС

,                                                          (9)

где β2 и βi - коэффициенты, принимаемые по табл. 2;

f3 -   среднее значение удельного сопротивления грунта по боковой поверхности зонда, кПа; определяется как частное от деления бокового сопротивления на площадь боковой поверхности зонда в пределах от поверхности грунта в точке зондирования до уровня расположения нижнего конца сваи в выбранном несущем слое;

f3i -   среднее удельное сопротивления i-го слоя грунта по боковой поверхности зонда, кПа;

li -    толщина i-го слоя грунта, м.

Испытания свай

2.15. Пробные испытания свай надлежит выполнять в тех относительно редких случаях, когда статическое зондирование грунтов основания проектируемого сооружения или здания (см. п. 2.14) не дает ответа на вопросы, поставленные в п. 1.3 ГОСТ 5686-78: проверка возможности погружения свай на намечаемую глубину и определение зависимости характера и размеров их перемещения в грунте от нагрузки.

Опытные испытания следует поручать строительной или специализированным организациям на договорных началах по заданию и под наблюдением проектно-изыскательской организации - заказчика испытаний. При выполнении испытаний строительной организацией надлежит применять стандартные сваи, сваи-оболочки и столбы, используемые в строительстве [12], а при работе изыскателей - инвентарные сваи ИИС-127, используемые в трестах инженерно-строительных изысканий объединения Стройизыскания Госстроя РСФСР [13].

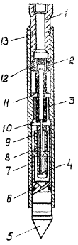
Конструкция сваи ИИС-127 показана на рис. 14.

Техническая характеристика

Глубина испытаний, м                                                                                До 20

Максимальное рабочее давление, МПа                                                    20

Диаметр рабочего наконечника, мм                                                         127

Длина звена, м                                                                                             1-1,5

Площадь подвижной оболочки, м2                                                            0,25

Масса сваи, кг                                                                                              До 300

Масса двух анкерных свай и насоса с маслопроводом, кг                      350

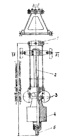
Рис. 14. Общий вид инвентарной испытательной сваи ИИС-127:

1 - наконечник; 2 - направляющая секция; 3 - ствол сваи; 4 - балка; 5 - маслопровод; 6 - наголовник; 7 - анкерные сваи; 8 - переходник

На площадке испытаний проходят две неглубокие скважины для завинчивания анкерных свай. Устанавливают балку, через отверстия которой пропускают сваю, погружают ее вибратором на заданную глубину, а затем закрепляют на этой балке анкерами. Подключают станцию НСР-400М и подкачивают масло в гидравлическую систему для перемещения острия, а затем и боковой части сваи.

Сопротивление грунта перемещению выдвижного наконечника (рис. 15) и самой сваи фиксируют по образцовому манометру. При достижении постоянного давления, свидетельствующего о незатухающей осадке, опыт на данном горизонте считают законченным. Результаты испытаний заносят в журнал. На основании их строят графики нормативного сопротивления грунта под острием сваи и по ее боковой поверхности по глубине изучаемого разреза.

Расчетную величину P, МПа, несущей способности проектируемой сваи находят по формуле

Р = 0,64 (RHFсв + FHсрUl),                                       (10)

где RH -    нормативное сопротивление грунта под острием сваи, взятое по графику на отметке острия, МПа;

Fсв - площадь поперечного сечения сваи, м2;

U -   периметр поперечного сечения проектируемой сваи, м;

l -     глубина погружения сваи в грунт, м;

fср -  среднее нормативное сопротивление грунтов по боковой поверхности сваи

,                                                        (11)

Здесь COi = fсрHli - площадь условной эпюры бокового сопротивления сваи на i-м участке, определяемая по графику, МПа.

Остальное оборудование следует подбирать в соответствии с требованиями ГОСТ 5686-78 и по рекомендациям [12, 14].

2.16. Статические испытания свай выполняют также для установления несущей способности мерзлых грунтов и деформативных характеристик пластично-мерзлых разностей. Для исключения контакта сваи с грунтами деятельного слоя в нем надлежит выкапывать приямок и заполнять его термоизоляционным материалом.

Если требуется усилить опытную сваю, следует повысить в ней процент армирования либо применить бетон более высокой марки. Во избежание растрескивания головы сваи в процессе испытания на нее надевают металлический наголовник с помятой деревянной прокладкой.

Рис. 15. Кинематическая схема наконечника инвентарной испытательной сваи ИИС-127:

1 - выдвижное острие; 2 - подвижная оболочка; 3 - гидроцилиндр; 4 - поршень со штоком; 5 - ствол сваи; 6 - маслопровод

В процессе испытаний надлежит наблюдать за температурой грунтов, измеряя ее через 0,5 м до глубины 5 м, через 1 м до 10 м и далее через 2 м до глубины на 4 м ниже конца сваи, но не менее, чем на всю мощность зоны годовых колебаний температуры в вечномерзлой толще. Точность измерений должна быть не менее 0,1 °С в грунтах с температурой выше минус 1 °С и не менее 0,2 °С в более охлажденных грунтах. Если температура грунтов ниже минус 2 °С, испытания свай следует проводить в летне-осенний период, в прочих случаях также и зимой.

Для измерения температуры грунта можно применять связки ртутных или спиртовых вытяжных заленивленных термометров, электрических термометров сопротивления (устанавливаемых также и постоянно), термисторов, термопар и др.

К статическим испытаниям надлежит приступать только после полного вмерзания сваи и восстановления вокруг нее естественного температурного режима вечномерзлой толщи. Ориентировочные сроки вмерзания свай в вечномерзлые грунты приведены в табл. 3.

Таблица 3

Способ погружения свай в вечномерзлые грунты

Сроки вмерзания свай, сут., на глубине годовых нулевых амплитуд 10-15 м при температуре грунта, °С

-0,5

-1

-1,5

-3

Погружение в пробуренные скважины, диаметр которых превышает наибольший размер поперечного сечения сваи, с заполнением скважин грунтовым раствором

80/50

40/30

25/15

12/6

Бурозабивной с применением молотов

2/1

1/1

1/1

-

Бурозабивной с применением вибропогружателей

20/15

10/8

7/5

3/5

Забивной с применением молотов

2/1

1/1

-

-

или определяют время вмерзания свай по теплотехническим расчетам

Примечание. В числителе указаны сроки вмерзания в летне-осенний, а в знаменателе - в зимне-весенний период.

Полноту вмерзания сваи и восстановления естественного температурного режима в окружающем вечномерзлом грунте устанавливают по данным регулярных замеров температуры в слое грунта, контактирующем с боковой поверхностью сваи, проводя измерения в твердомерзлых грунтах не реже одного раза в сутки и не реже одного раза в неделю в пластично-мерзлых.

Обработку результатов статических испытаний свай, регламентированную ГОСТ 5686-78, при испытаниях сваи в вечномерзлых грунтах дополняют составлением сводного графика суммарная осадка - время, включающего ступени затухающего деформировании и незатухающей ползучести - прогрессивного течения (рис. 16), и графика зависимости скорости осадки сваи от нагрузки (рис. 17).

Рис. 16. Сводный график развития суммарных осадок S сваи во времени t для всех ступеней нагрузок при загружении:

а - прерывистом; б - монотонном

Рис. 17. График зависимости скорости осадки V от нагрузки P на сваю (реологическая кривая)

Несущую способность сваи принимают равной 0,8 величины нормативного сопротивления PH, МПа, сваи статической нагрузке [14]. Последнее устанавливают по исходным данным испытания и графикам зависимости осадки от нагрузки и вычисляют по формуле

РH = к Pпр,                                                             (12)

где к - коэффициент, принимаемый в период наибольшего охлаждения грунтов в толще сливающейся вечной мерзлоты равным 0,5, а в период максимальных температур в толще несливающейся мерзлоты равным 1;

Pпр - предельно длительное сопротивление сваи, определяемое по исходным данным испытания и графикам: суммарная осадка - время, нагрузка - осадка и нагрузка - скорость осадки; его принимают равным нагрузке на предпоследней по графику ступени, являющейся последней ступенью затухающего деформирования.

Подробнее методика расчета Рпр и PH изложена в части II, главе 18 Строительных норм и правил "Основания и фундаменты на вечномерзлых грунтах" и в Руководстве [14].

При проектировании оснований по принципу деградации мерзлого состояния грунтов может возникнуть необходимость испытания свай с оттаиванием вечномерзлых грунтов и перелетков. В этом случае в дополнение к данным, получаемым при испытаниях в вечномерзлых грунтах, необходимо определять осадку свай под расчетной нагрузкой в оттаивающих грунтах.

Сваю загружают и ведут наблюдения за ее осадками, как указано в ГОСТ 5686-76 и Руководстве [14], наблюдают за изменениями температуры грунтов. В общем случае ступени нагружения сваи в вечномерзлом грунте могут быть приняты от 5 до 100 тс суммарного груза.

На расстоянии 0,35 м от оси сваи проходят скважину для размещения плети термометров электросопротивления либо заленивленных или спиртовых. На расстоянии 0,9 м от оси сваи задают скважины под электроиглы или трубчатые электронагреватели. Глубина проходки на 4-5 м ниже заглубления острия испытательной сваи. Прогревают грунт [15], наблюдая за изменениями температуры его через каждые 6 ч до нагрева 3 °С. Измеряют осадки сваи.

После затухания осадки от приложенной ступени или от проектной (по программе испытаний) нагрузки продолжают нагружение ступенями по 10 тс до критической нагрузки, т.е. до появления незатухающих осадок сваи либо до разрушения ее материала.

Отсчеты по прогибомерам следует выполнять, руководствуясь данными табл. 4.

Посла затухания осадки сваю разгружают в обратном порядке. При необходимости (поломке домкрата, перерыве в электроснабжении и др.) сваю разгружают независимо от того, прекратилась ли осадка, но с фиксацией упругой отдачи. После вынужденного перерыва сваю вновь нагружают той же нагрузкой и выдерживают до затухания осадки. Результаты испытаний оформляют и используют, как указано ранее.

Таблица 4

Время наблюдения

Промежутки времени между отсчетами при испытании сваи в грунтах

вечномерзлых

оттаивающих

Первый час после момента нагружения

5, 10, 15, 30 мин

5, 10, 15, 30 мин

Первые сутки после первого часа

1, 2, 3, 6, 12 ч

1 ч

Вторые сутки

12 ч

1 ч

Третьи, четвертые сутки и далее

24 ч

1 ч

2.17. При прогнозировании подъема уровня грунтовых вод или повышения влажности грунтов в период эксплуатации свайных оснований в глинистых и лессовых массивах может возникнуть необходимость испытания свай в замачиваемой среде. В этом случае сначала сваи испытывают в грунтах природной (до начала строительства) влажности по ГОСТ 5686-76, нагружая их до проектной либо критической нагрузки.

Затем грунты замачивают, проводят испытания свай в замоченном массиве, получаемые результаты обрабатывают по гостированной методике.

Определяют несущую способность свай в замоченном грунте, зависимость перемещения свай в грунте от нагрузки и т.д.

2.18. В глинистых грунтах, склонных к явлениям ползучести и релаксации, надлежит также определять и реологические особенности испытания свай, составлять графики: суммарная осадка - время и скорость осадки сваи - нагрузка (см. рис. 16 и 17), как указано в руководствах [12, 14].

Вращательный срез

2.19. При испытаниях грунтов на сопротивление вращательному срезу регистрируют линейную деформацию l измерительных пружин (спиральных, пластинчатых), и по величинам удельной деформации (;) вычисляют реализуемые в испытаниях усилия F, крутящие моменты M, удельные сопротивления сдвигу τ и показатели структурной и возникающей прочности грунтов по ГОСТ 21719-80.

Вращательный срез в массиве позволяет определять природную прочность торфов, илов и глинистых текучих, текуче- и мягкопластичных грунтов и прочность, возникающую после разрушения в грунте структурных связей вращающимися лопастями крыльчатого наконечника.

Природная максимальная (до разрушения в грунте его структурных связей) прочность грунта τМ определяется по пику кривой зависимости реализуемого в испытании крутящего момента от деформации грунта, т.е. от угла поворота крыльчатки в массиве ис. 18, кривые 1-4 и 7), по формуле

,                                                            (13)

где В - постоянная крыльчатки, см3.

Рис. 18. Кривые зависимости М = f(α°) реализуемого в испытании грунтов на сопротивление вращательному срезу в массиве крутящего момента от угла поворота крыльчатки (сопротивления сдвигу от деформации грунта)

После разрушения крыльчаткой естественного сложения грунта и его структурных связей остается прочность τy, которая обусловлена только водно-коллоидными связями между частицами. На рис. 18 она отвечает горизонтальным прямым в правой части графика. Установившаяся прочность характеризует то остаточное сопротивление сдвигу, которое в основании проектируемого сооружения или в откосе выемки, за обделкой тоннеля может оказать нагрузке грунт после разрушения его структурных связей механизмами при строительстве либо вследствие выветривания в период эксплуатации. Ее определяют по формуле

,                                                            (14)

Если продолжать вращение лопастей крыльчатки, то наступает "усталость глинистого грунта", т. развивается такое явление, как ползучесть грунта, и установившаяся прочность уступает место длительной прочности τдл (см. крайние правые отрезки кривых 1, 2 и 4 на рис. 18). Оно отражает различия в реологических свойствах грунтов. Длительную прочность вычисляют по формуле

,                                                            (15)

Кривые зависимости М = f(α°) имеют разную форму (см. рис. 18). Кривая 1 характеризует хрупкое разрушение - острый пик максимальной прочности, кривая 3 - хрупкопластическую и остальные - пластическую деформацию грунта при разрушении естественного сложения.

На кривых 5 и 6 не прослеживается выраженного пика, и это указывает на то, что слаболитифицированный грунт может и не обладать сколько-нибудь существенными структурными связями. Отношение величин максимальной природной и установившейся прочности, т. так называемый показатель структурной прочности (или чувствительности), у разных грунтов неодинаково. Этот показатель и разница величин максимальной и установившейся прочности характеризуют относительную и абсолютную прочность структурных связей грунта (химических, ионных, ковалентных и др.) и косвенно степень литификации торфа, илов и глинистых отложений разного возраста и генезиса, их структурированность.

Разные грунты могут обладать одинаковыми максимальной природной и установившейся прочностью. Но, например, пик кривой 7 существенно сдвинут вправо по сравнению с пиком кривой 4. Это, как и форма кривой при различном характере разрушения структурных связей грунта в испытании, указывает на различия в величинах параметров природной прочности, одинаковой у обоих грунтов при вращательном срезе в массиве в данных условиях.

Анализ кривых зависимости М = f(α°) при вращательном срезе внешне одного и того же грунта, но в разных (по простиранию и глубине) точках изучаемой мощной толщи илов или глинистых грунтов позволяет по особенностям кривых испытания расчленить визуально однородный массив на индивидуальные слои, выделить в нем инженерно-геологические элементы и несущие пласты основания проектируемого сооружения или здания, определить параметры прочности.

2.20. Первой установкой вращательного среза по времени разработки и внедрения ее на изысканиях в Советском Союзе является установка ЦНИИС Минтрансстроя (рис. 19) [1, 3, 4, 16-18]. Изготовленная на экспериментальном заводе ЦНИИСа, в производственных мастерских Ленинградского проектно-изыскательского института железных дорог (Ленгипротранс) и др. в количестве около 100 комплектов, эта установка ныне широко применяется на дорожных (и вообще линейных) и площадных изысканиях.

По сравнению с появившимися позднее отечественными и зарубежными установками лопастной прибор ЦНИИС имеет следующие преимущества:

- наличие измерителя углов скручивания штанговой плети и угла поворота крыльчатки в грунте;

- повышенная точность измерений реализуемого в испытании усилия, которая обеспечивается тем, что измерительные пружины вынесены на концы коромысел длиной 500 мм (радиус вращения 250 мм);

- широкий диапазон подопытных грунтов (можно испытывать торфы, илы, глинистые грунты от текучей до тугопластичной консистенции).

Рис. 19. Лопастной прибор ЦНИИС:

1 - крыльчатка; 2 - стержень, несущий крыльчатку; 3 - штанга; 4 - соединительная муфта; 5 - центрирующая муфта; 6 - стойка прибора; 7 - зажимное устройство; 8 - головка прибора; 9 - измеритель угла поворота крыльчатки и величины растяжения пружин; 10 - ручной привод; 11 - пружина; 12 - шляпка стойки; 13 - костыль

Установка ЦНИИС нашла также широкое применение при проведении научных исследований, в частности при раскрытии возможностей анализа зависимостей М = f(α°), получаемых пока только при применении этой установки.

Установка включает следующие узлы (см. рис. 19):

- рабочие наконечники (четырехлопастные крыльчатки) четырех типоразмеров (табл. 5), отвечающих требованиям ГОСТа;

- штанги, несущие крыльчатку, на резьбовых и замковых соединениях, с шайбами, центрирующими эту гарнитуру в скважине; диаметр штанг 34 мм, длина отрезков 0,5; 1,0 и 1,5 м; верхним концом гарнитуры служит переходник с квадратной втулкой под шип ведущего коромысла оперативного столика установки;

- оперативный столик, на корпусе которого имеются три лапы для крепления на стойках; внутри корпуса находится редуктор с передаточным числом 3600, снизу механизм силовых пружин из двух коромысел - ведущего и ведомого, на концах которых укреплены пружины; на корпусе установлен указатель растяжения пружин и поворота всего снаряда при испытании, связанный с ведущим коромыслом через редуктор и с ручным приводом;

- три стойки оперативного столика длиной по 1000 мм с шипами, тросовыми оттяжками и костылями для крепления к грунту; лапы столика свободно передвигаются по стойкам и закрепляются в нужном положении;

- приспособление для тарирования (растягивания) пружин с набором гирь и мерной миллиметровой линейкой;

- упаковку (деревянный ящик для оперативного столика, пружин, тарировочного приспособления, переходников, коротких штанг, оттяжек, костылей, шайб, ключей и других предметов); стяжки и бабышки для стоек и штанг.

Таблица 5

Номер наконечника

Размеры лопастей, мм

Постоянная крыльчатки, см3

Основное назначение рабочего наконечника

высота

ширина (диаметр)

толщина

1

110

55

3

610

Испытания прочных грунтов

2

150

75

3,5

1545

Испытания прочных и слабых грунтов

3

200

75

3,5

1987

То же

4

200

100

4

3663

Испытания слабых грунтов

Техническая характеристика

Расчетная глубина испытания, м                                                                  25

Максимальная величина создаваемого крутящего момента, Н·м             200

Максимальная величина определяемого удельного сопротивления

грунта сдвигу, кПа                                                                                          200

Точность измерения:

угла поворота гарнитуры с крыльчаткой и кручения плети штанг, град 0,1*

крутящего момента, Н·м                                                                                0,3-1,6

удельного сопротивления грунта сдвигу, кПа                                             0,5-30

Масса оперативного столика, кг                                                                  25

Габариты установки в рабочем положении, мм:

высота                                                                                                              1000

диаметр                                                                                                           600

Время единичного испытания без вспомогательных операций, мин      5-15**

Обслуживающий персонал:

техник                                                                                                              1

рабочий                                                                                                           1

* Углы кручения плетей штанг разной длины при приложении различных крутящих моментов определяются в тарировочном испытании и вычитаются из общих углов поворота.

** Время испытания 5 мин при отключенном редукторе.

2.21. Установка вращательного среза СП-52 (рис. 20), прототипом которой явилась установки ЦНИИС, разработана институтом Фундаментпроект и серийно выпускается Московским заводом строительных машин Главстроймаша Министерства строительного, дорожного и коммунального машиностроения.

Техническая характеристика

Расчетная глубина испытания, м                                                                            15

Максимальный создаваемый крутящий момент, Н·м                                          180

Максимальная величина определяемого удельного сопротивления

сдвигу, кПа                                                                                                                200

Скорость вращения крыльчатки, град/с                                                                 0,1-0,2

Объективная ошибка измерений, зависящая от цены деления

лимба шкалы моментов, %                                                                                      0-2

Масса, кг:

измерительной головки с приводом вращения                                                22,8

штатива                                                                                                                 8,3

установки с комплектом штанг в целом                                                           73,5

Габариты установки в рабочем положении, мм:

высота                                                                                                                   985

ширина (диаметр)                                                                                               510

Набор штанг на замковых соединениях длиной, м                                               0,5; 1; 2 и 3

Обслуживающий персонал:

техник                                                                                                                   1

рабочий                                                                                                                1

Рис. 20. Переносная установка СП-52 для испытаний грунтов на сопротивление сдвигу в массиве:

1 - крестообразная крыльчатка; 2 - центрирующая шайба; 3 - колонна соединительных штанг; 4 - штатив (тренога, станина); 5 - режимное устройство, фиксирующее положение измерительной головки на штативе; 6 - штурвал (ручной привод); 7 - лимб шкалы измерителя величин крутящих моментов; 8 - головка (измерительный оперативный столик)

В комплект установки входят сменные крестообразные крыльчатки диаметрами 60, 80 и 100 мм с лопастями соответственно высотой 120, 160 и 200 мм при толщине 2, 3 и 4 мм. Первая из крыльчаток рассчитана на испытание грунтов с максимальным сопротивлением сдвигу 200 кПа, вторая - 100 кПа и третья - 50 кПа.

В головке установки размещена силовая измерительная пружина, создающая и реализующая в испытании с помощью ручного привода крутящие моменты до 180 Н·м, измеряемые специальным устройством с лимбом.

Силовая пружина через переходник соединяется с гарнитурой, несущей крыльчатку. Для уменьшения продольного изгиба штанг при погружении крыльчатки в грунт и исключения их трения о стенки скважины или обсадные трубы через каждые 2-3 м по длине плети штанг устанавливают центрирующие шайбы.

В отличие от установки ЦНИИС в установке СП-52 нет измерителя угла поворота гарнитуры с крыльчаткой, что резко снижает информативность получаемых в испытании результатов.

2.22. Сдвигомер-крыльчатка Калининского политехнического института СК-10 (рис. 21) предназначен для вращательного среза торфа, илов и глинистых грунтов от текучей до мягкопластичной консистенции, снабжен набором лопастных наконечников в соответствии с требованиями ГОСТа и описан в источнике [19].

Рис. 21. Сдвигомер-крыльчатка СК-10:

1 - крыльчатка; 2 - устройство для отключения крыльчатки от штанги с целью исключения влияния трения гарнитуры о грунт в стенках скважины; 3 - трубчатые штанги; 4 - втулка; 5 - рукоятка сдвигомера; 6 - упор; 7 - вилка закрепителя переходника штанг к упору и втулке; 8 - призма; 9 - винт закрепления пластины на упоре; 10 - упругая измерительная пластина; 11 - стрелка индикатора усилий сдвига; 12 - индикатор усилий сдвига

Техническая характеристика

Номинальная глубина испытания, м                                                                      10

Максимальный реализуемый в испытании грунтов крутящий момент, Н·м     100

Максимальная величина определяемого удельного сопротивления грунта

сдвигу, кПа                                                                                                                100

Масса прибора в комплекте, кг                                                                              15

Длина отдельной штанги, м                                                                                    1

Обслуживающий персонал:

техник                                                                                                                   1

рабочий                                                                                                                1

Прибор тарируют, прилагая усилия к рукоятке и через нее и призму к пластинчатой пружине (см. рис. 21). По результатам тарировки строят график зависимости деформации l пластины от величины прилагаемого крутящего момента M и вычисляют параметр удельной деформируемости , являющийся постоянной характеристикой данной пружины сдвигомера.

2.23. При невозможности учета анизотропии прочности грунтов вдоль и поперек напластования и расчленения комплексной характеристики прочности на сцепление и внутреннее трение по результатам вращательного среза в массиве надлежит выполнять лабораторные испытания на сопротивление неконсолидированно-недренированному сдвигу различно ориентированных образцов грунта ненарушенного и нарушенного сложения под нагрузками, меньшими и большими бытового давления. Последнее определяется по выражению

,                                                (16)

где PH -  бытовое гидростатическое давление в массиве на глубине H, м, от поверхности, кПа;

g -  ускорение силы земной тяжести;

γi -  средняя объемная масса грунта в изучаемом i-м интервале толщи, кг/м3;

Hi - мощность i-го слоя грунта, м.

2.24. Мощные (более 10 м) толщи озерных, лиманных, лагунных, дельтовых и других илов, например иольдиевых глин, прикаспийских отложений и т.п., часто характеризуются выдержанностью состава, сложения, состояния и свойств по простиранию и разрезу залежи. В этом случае при постепенном нарастании бытовых напряжений в однородной толще по глубине увеличивается за счет влияния внутреннего трения (часто весьма малого по величине) и сопротивление грунта сдвигу. Вращательный срез на разных глубинах позволяет составить ряд уравнений Кулона, решаемых как системы:

τ’макс = С + PH1 tgφ;                                            (17)

τ’’макс = С + PH2 tgφ;                                          (18)

τ’уст = С0 + PH1 tgφ’’;                                          (19)

τ’’уст = С0 + P’’H2 tgφ’’;                                        (20)

Cстр = С - С0,                                                  (21)

где С -          суммарное сцепление в грунте ненарушенного сложения;

φ’ -         угол внутреннего трения в грунте ненарушенного сложения;

φ’’ -        угол внутреннего трения в грунте нарушенного сложения;

Сстр, С0 -   сцепление в грунте соответственно за счет структурных и водно-коллоидных связей;

H1, H2 -    глубины испытаний грунта в массиве на сопротивление вращательному срезу.

Испытания грунтов на сопротивление срезу в шурфах

2.25. Полевые испытания грунтов на сопротивление срезу в шурфах позволяют определять параметры природной (быстрый неконсолидированный сдвиг), ожидаемой (консолидированный сдвиг), возникающей при замачивании, приданной насыпным и намытым грунтам и контактной по плоскости напластования, поверхности оползневого смещения и т.п. прочности крупнообломочных, песчаных и глинистых грунтов, кроме специально оговоренных в ГОСТ 23741-79 их разновидностей.

Существуют методы сдвига по заданной плоскости, обрушения и выпирания призм грунта. В практике изысканий шире применяется первый метод, дающий более определенные результаты и не требующий сложных вычислений величин усилий, действующих на грунт в разных точках сечения поверхности обрушения, выпирания, нередко имеющей сложную форму.

Требованиям ГОСТа к аппаратуре отвечают срезное оборудование и установки сдвига грунтов по заданной плоскости, разработанные в ЦНИИСе Минтрансстроя, Уральском тресте инженерно-строительных изысканий (УралТИСИЗе), трехсекционная установка Фундаментпроекта и др. В последней сразу на три целика грунта в обоймах прикладываются различные вертикальные обжимающие давления, под которыми и происходит сдвиг [3].

Принципиальная схема сдвига целика грунта при заданной в опыте обжимающей нагрузке показана на рис. 22. Установка для испытаний состоит из цилиндрической (или прямоугольной) обоймы, надеваемой на целик грунта, штампа, устройств для создания и приложения к грунту вертикальных обжимающих и горизонтальных сдвигающих усилий и приборов, измеряющих эти усилия [20]. Примером может служить установка УралТИСИЗа УИ-00.

Техническая характеристика

Глубина испытаний, м:

минимальная                                                                                          1,5

максимальная                                                                                         5

Размеры срезаемого цилиндрического целика, мм:

диаметр                                                                                                   392

высота                                                                                                      200

площадь поперечного сечения, см2                                                      1200

Габариты установки, мм:

длина                                                                                                       1200

ширина                                                                                                    600

высота                                                                                                      700

Предельное давление, кПа:

по вертикали                                                                                           300

по горизонтали                                                                                       300

Площадь поперечного сечения прямоугольной обоймы ЦНИМС также равна 1200 см2 (30 × 40 см). Диаметр цилиндрической обоймы должен превышать размер крупных включений в грунте не менее чем в 5 раз. Таким образом, применяя описанные установки, можно испытывать глинистые, песчаные и гравийные грунты с включениями, наибольший размер которых не превышает 80 мм.

2.26. После отрытия шурфа в его стенках или за его пределами с помощью анкерных свай укрепляют опорную балку с направляющими. Если этого для уравновешивания заданной в опыте вертикальной нагрузки недостаточно, балку пригружают дополнительно.

На поверхность испытуемого грунта ставят штамп его большим основанием и домкрат. Вдавливают домкратом цилиндрическую стальную обойму в грунт и убирают отжимаемый вокруг нее грунт на всю глубину вдавливания. Под катком обоймы укладывают направляющие пластины. С противоположной от катков стороны у стенки шурфа устанавливают опорную плиту на таком расстоянии от обоймы, чтобы между ней и плитой можно было разместить параллельно поверхности сдвига домкрат и динамометр. Усилие от домкрата следует прикладывать к обойме в месте не выше 1/3 ее высоты от поверхности сдвига.

На грунт, заключенный в обойме, устанавливают штамп его меньшим основанием, на котором монтируют тележку, при этом тележка должна упираться в направляющие упорной балки. Затем домкратом через штамп на поверхность грунта задают нормальное давление P, величину которого контролируют по динамометру. Заданное нормальное давление выдерживают в течение 15-20 мин, после чего горизонтальным домкратом создают сдвигающее усилие S, измеряемое динамометром. Горизонтальное усилие прикладывают ступенями с интервалами, достаточными для взятия отсчета.

Испытание грунта на сопротивление сдвигу повторяют на другом целике при новом значении нормального давления, которое должно отличаться от принятого в первом испытании на менее чем на 50 кПа.

При сдвиге призмы не цилиндрика) грунта испытание ведут так же, но грунт срезают подвижной стенкой, устанавливаемой вертикально, перпендикулярно горизонтальной поверхности сдвига.

Значения удельного сцепления С и угла внутреннего трения φ находят при решении системы двух уравнений:

τ1 = σ1 tgφ + C;                                                      (22)

τ2 = σ2 tgφ + C.                                                      (23)

Величины τ и σ находят из выражений

;                                                             (24)

;                                                             (25)

где τ1,2 - значения удельного сопротивления грунта сдвигу при сдвигающих усилиях S1 и S2, кПа;

σ1,2 - значения удельной вертикальной нагрузки при общих вертикальных давлениях P1 и P2, кПа;

F - площадь кольца или прямоугольной обоймы (поверхности среза грунта), см2.

Применяя установку Фундаментпроекта, по трем опытным точкам строят график сдвига, по которому и находят значения параметров или вычисляют последние с помощью метода наименьших квадратов.

Прессиометрия

2.27. На инженерных изысканиях применяют прессиометры Уральского политехнического института (УПИ) и УралТИСИЗа (П-89, П-89-Э, ПЭВ-90/127) [1, 3, 4, 20, 21], Фундаментпроекта (ПФ-3), Всесоюзного научно-исследовательского института гидрогеологии и инженерной геологии (ВСЕГИНГЕО) (ИГП-21) [3, 17, 18], НИИоснований и подземных сооружений (НИИОСП) (Д-76) [3, 4], ЦНИИС Минтрансстроя [22-24].

Рис. 22. Схема установки для проведения испытаний на сдвиг обоймы с грунтом в заданной плоскости:

1 - груз; 2 - упорная балка с направляющими; 3 - тележка; 4, 10 - динамометры; 5, 11 - домкраты; 6 - штамп; 7 - обойма; 8 - каретки; 9 - направляющие пластины; 12 - упорная плита

Требованиям ГОСТ 20276-74 "Грунты. Метод определения модуля деформации прессиометрами" наиболее отвечают прессиометры П-89, Д-76, ЦНИИС (рис. 23) и ИГП-21 (рис. 24).

2.28. Прессиометр П-89 снабжен воздушно-гидравлической системой создания давления с помощью ручного автомобильного насоса и гидравлической системой замеров деформаций стенок скважины под прилагаемым к ним давлением. Прессиометр П-89-Э снабжен электрической системой замеров деформаций стенок скважины и воздушной системой создания давления.

Рис. 23. Прессиометр ЦНИИС

Рис. 24. Схема прессиометра ИГП-21:

а - вид сбоку; б - вид спереди; А - блок измерений; Б - скважинный снаряд; В - устройство для спуско-подъемных операций; 1 - баллон со сжатым воздухом; 2 - электрический разъем; 3 - штатив; 4 - ручная лебедка; 5 - высоконапорные шланги; 6 - электрокабель; 7 - рабочий снаряд с резиновой оболочкой; 8 - предохранительные гильзы; 9 - ручки настройки схемы; 10 - микроамперметр; 11 - манометр; 12, 13 - вентили подачи воздуха; 14 - металлический ящик

Грунты испытывают давлениями до 500 кПа в скважинах диаметрами 90-100 мм на глубины от 5 м (П-89) до 15 м -89-Э).

2.29. Прессиометр Д-76 выпускает серийно Угличский экспериментально-ремонтный механический завод. Прибор работает по воздушно-гидравлической схеме, при которой давление в прессиометре создается азотом, а деформации резиновой оболочки зонда и сжатия грунта в стенке скважины устанавливают по изменению уровня жидкости (воды, антифриза), подаваемой из баллона в центральную камеру зонда прессиометра.

Техническая характеристика

Диаметр скважины, мм                                                                                   76 и 106

Максимальная глубина испытания, м                                                           25

Давление распора, МПа                                                                                  До 2,5

Точность отсчета по шкале давлений, мм                                                     0,1

Точность измерения деформации грунта, мм                                              0,1

Измеряемое радиальное перемещение стенки зонда, мм                           До 40

Длина нагружаемого участка скважины, мм                                                460

Значения измеряемого модуля деформации, МПа                                       1-2000

2.30. Прессиометр ЦНИИС построен по газово-жидкостной схеме: давление воздуха передается в измерительную камеру через воду. По изменению объема жидкости в измерительном цилиндре устанавливают деформацию грунта.

Прибор состоит из следующих основных узлов (см. рис. 23): ручного воздушного насоса, баллона для сжатого воздуха, измерительного устройства, соединительных шлангов, зонда прессиометра и защитных труб.

Насос 1 автомобильный марки РН-1. Баллон 3 снабжен вентилем 2 для соединения с насосом и штуцером 4, связывающим баллон с помощью шланга с измерительным устройством.

Измерительное устройство представляет собой дюралевый цилиндр 8, герметически закрытый снизу приваренным днищем, а сверху крышкой, закрепляемой болтами. На крышке установлен образцовый манометр 11 на 0,6 МПа для измерения давления воздуха в цилиндре. Цена деления манометра 6 кПа. На боковой поверхности цилиндра имеется водомерная трубка 7 с миллиметровой шкалой для определения объема жидкости, поданной в измерительную камеру зонда. Одно деление шкалы соответствует 2 см3 воды. Точную цену деления устанавливают тарировкой. Для очистки водомерной трубки изнутри служит отверстие 15.

Измерительное устройство снабжено пятью вентилями. К вентилю 10 подводится сжатый воздух из баллона. Через вентиль 9 в краевые камеры зонда подается воздух, через вентиль 5 в измерительную камеру зонда - вода. Вентиль 14 служит для выпуска воды и воздуха. Через вентиль 16 с помощью воронки 13 цилиндр заполняют водой. Воронка прикреплена к крышке винтом 12. Во время работы измерительное устройство устанавливают на треноге 6. Зонд прессиометра, опускаемый в буровую скважину, состоит из корпуса 35 и надетой на него эластичной оболочки 34. Корпус изготовлен из дюралевой трубы, герметически закрытой с торцов. На поверхности трубы имеются четыре кольцевые проточки 29, в которых резиновая оболочка туго перетянута прочной неразмокающей нитью, что образует три раздельные камеры: центральную (измерительную) 31 и две краевые 32 и 28.

Измерительная камера через нижнее отверстие 30 в корпусе зонда, металлическую трубку 33 и шланг 37 соединена с вентилем 5 и перед работой заполняется водой. Краевые камеры через отверстия 25 и 23 в корпусе соединены с его внутренней полостью и шлангом 36 - с вентилем 9 измерительного устройства.

В процессе испытаний грунта заполняют водой измерительное устройство до начала шкалы водомерной трубки и измерительную камеру. Сжатый воздух из баллона подают в верхнюю часть измерительного устройства над водой и в краевые камеры.

После окончания испытания вода вытесняется из измерительной камеры через верхнее отверстие 24 в корпусе, трубку 22 и выводной шланг 18, снабженный на конце вентилем 17.

Для предотвращения выпирания концов резиновая оболочка обжимается снизу конусом 27, а сверху обоймой 21. Конус закрепляется гайкой 26, а обойма - переходным патрубком 20, который навинчивается на корпус зонда. К ушкам патрубка для извлечения зонда из скважины присоединен специальными замками трос 19.

Для сохранения зонда и шлангов от завала грунтом и удобства спуска и извлечения зонда служит набор защитных труб, каждая из которых состоит из двух полутруб длиной по 1 м, связанных шарнирно и закрепляемых защелкой. Трубы по мере опускания зонда в скважину надевают на шланги. Первую трубу закрепляют за патрубок 20, а каждую последующую - за предыдущую.

Техническая характеристика

Диаметр испытательной скважины, мм                                                        110-120

Начальный диаметр измерительной камеры, мм                                         90-95

Длина измерительной камеры, мм                                                                300 (430)

Длина каждой из краевых камер зонда, мм                                                  150

Точность измерения деформации стенок скважины, мм                            0,03

Предельное давление на грунт, МПа                                                             0,6

Глубина испытаний, м                                                                                    До 15

Масса прибора в сборе без защитных труб, кг                                              40

Прессиометр ЦНИИС транспортируют в двух специальных ящиках-упаковках: в первый помещают треногу, измерительное устройство, зонд, насос, баллон, воронку, манометр и шланги, во второй - защитные трубы.

Прибор тарируют для установления точной цены деления градуировки водомерной трубки, величин давлений, затрачиваемых на расширение эластичной оболочки зонда, и величин собственных деформаций шлангов и оболочки.

Прессиометр ЦНИИС изготовлен в виде небольшой партии комплектов для проектно-изыскательских организаций системы Главтранспроекта Минтрансстроя на экспериментальном заводе ЦНИИСа.

Прибор предназначен для определения не только модуля деформации, но и сцепления и угла внутреннего трения грунтов [24]. Для вычисления этих характеристик по результатам прессиометрических испытаний разработаны алгоритмы и программы и даны примеры расчетов на ЭВМ.

2.31. Прессиометр ИГП-21 (см. рис. 24) [18] электропневматический. Он состоит из четырех основных узлов: скважинного снаряда, блока управления, лебедки и катушки с сигнальным кабелем.

Скважинный снаряд представляет собой сборную металлическую трубу с эластичной рубашкой. Тело снаряда и эластичная рубашка расчленены для удобства монтажа на пять секций. Между секциями установлены опорные шайбы, препятствующие выходу рубашки из заделки. На торцах снаряда размещены защитные устройства, предохраняющие рубашку от выпора в полость скважины. В трех средних секциях снаряда размещены деформометры (по два в каждой секции) с преобразователями потенциометрического типа. В корпусе деформометра смонтированы два мерных ролика, дифференциал, зубчатая передача, проволочный потенциометр и возвратная пружина часового типа. Для равномерного распределения точек измерения деформаций измерительные секции расположены с угловым шагом 120°.

Радиальные перемещения грунта в процессе опыта фиксируются в приборе по шести точкам камеры, расположенным в плане под углом 60° по отношению друг к другу. В этих точках с помощью пластин укреплены тонкие тросики, связанные через механические дифференциалы с датчиками потенциометрического типа. Каждый дифференциал приводится в движение от двух диаметрально расположенных пластин. Таким образом, в зонде размещаются три датчика, электрически соединенные между собой.

Блок управления содержит панель, устанавливаемую на штативе, на котором укреплены: обойма с сухими батареями питания типа ФБС; переключатель диапазонов измерений; указатель деформаций - микроамперметр типа М-265, показывающий осредненное значение текущего диаметра скважины; манометр образцовый для определения давления сжатого воздуха в снаряде и пневмолиниях прибора; распределитель, обеспечивающий подачу в снаряд сжатого воздуха и его сброс в атмосферу по окончании опыта. Все элементы блока управления заключены в металлический корпус со съемной крышкой.

На штативе (треноге) крепится ручная лебедка с принудительным опусканием груза и дополнительной червячной передачей для повышения тягового усилия. Во время испытания на треноге крепится также один из баллонов со сжатым воздухом.

В приборе имеется катушка с сигнальным кабелем с разъемами на концах для присоединения его к снаряду и блоку управления. На кабеле нанесены метки, показывающие глубину положения снаряда в скважине.

Техническая характеристика

Диаметр испытательных скважин, мм                                                               108-127

Максимальная глубина испытаний, м                                                                25

Максимальное удельное давление на грунт, мПа                                             2,4

Измеряемая деформация грунта в стенках скважины, мм:

при давлении на грунт до 0,6 МПа                                                                 100-220

при давлении на грунт до 1,5 МПа                                                                 100-180

при давлении на грунт 2,4 МПа                                                                      100-140

Размеры рабочей камеры, мм:

длина                                                                                                                 500

диаметр                                                                                                             100

Погрешность измерений, % от их пределов                                                      ±4

Масса комплекта, кг                                                                                             85

При передаче давления на грунт до 2,4 МПа возникает возможность не только уплотнения грунта для оценки его деформативных свойств, но и его разрушения с целью установления параметров природной прочности.

Испытания грунтов статическими нагрузками на штампы в шурфах и скважинах

2.32. Испытания в шурфах целесообразно выполнять, нагружая штамп через платформу подручными средствами: бетонными блоками (рис. 25), рельсами, применяя методы работ и измерительную аппаратуру, регламентированные ГОСТ 12374-77 и рекомендованные [3, 4, 12, 25, 26].

Рис. 25. Установка для понижения грунта штампом с нагружаемой платформой:

1 - штамп; 2 - стойка; 3 - подкосы; 4 - рычаг; 5 - обвязка; 6 - груз; 7 - поперечный брус; 8 - болт с проушиной; 9 - свая

Для испытаний грунтов в скважинах тресты инженерно-строительных изысканий объединения Стройизыскания широко применяют канатно-рычажные установки УралТИСИЗа КРУ-600 (рис. 26) и установки с нагружаемой подвесной платформой (рис. 27) [3, 4].

Рис. 26. Канатно-рычажная установка КРУ-600:

1 - опорные балки; 2 - рама; 3 - загрузочный рычаг; 4 - грузовой сегмент; 5 - штанга; 6 - винтовые анкерные сваи; 7 - штамп

2.33. В установке КРУ-600 давление на штамп передается с помощью груза, подвешенного на рычаге штанги.

Техническая характеристика

Площадь штампа, см                                                                                   600

Максимальное усилие на штамп, кН                                                        360

Соотношение плеч рычага                                                                         1:80

Масса груза на штанге, кг                                                                          121

Габариты установки в сборе, мм:

высота                                                                                                      1495

ширина                                                                                                    1400

длина                                                                                                       4250

Масса, кг                                                                                                      475

Рис. 27. Установка для испытания грунтов штампом 600 см2 с нагружаемой подвесной платформой:

1 - буровая вышка; 2 - рычаг противовеса; 3 - головка для подвесной платформы; 4 - муфта; 5 - направляющие брусья; 6 - трубатойка диаметром 219 мм; 7 - тяги платформы противовеса; 8 - подвесная платформа противовеса; 9 - штамп; 10 - обсадная труба диаметром 325 мм; 11 - опорные стойки; 12 - клинья; 13 - подвесная платформа; 14 - тяги подвесной платформы

2.34. В тех случаях, когда строительство проектируется по принципу сохранения вечномерзлого состояния грунтов оснований зданий и сооружений, может возникнуть необходимость испытаний вечномерзлых грунтов холодными штампами по ГОСТ 12374-77 с применением упомянутых технических средств.

В испытаниях нельзя допускать проникновения в шурф, котлован воды (выработка должна быть сухой). Забой шурфа на высоту штампа следует укрывать мхом, сухим торфом или опилками, стекловатой и другими теплоизолирующими материалами. Неизменность температуры испытываемого грунта контролируют с помощью безынерционных ртутных термометров либо другой аппаратуры во все время проведения опытов.

Испытания вечномерзлых грунтов горячими штампами по ГОСТ 23253-78 выполняют только на участках проектирования отдельных многоэтажных зданий и внеклассных сооружений с существенной теплоотдачей преимущественно для пластичномерзлых разностей и при наличии малой мощности вечномерзлой толщи.

В опытах может быть применена та же аппаратура обогрева и измерения температуры грунтов, что и при испытаниях свай с оттаиванием вечномерзлых грунтов (см. п. 2.16) [14, 15].

2.35. Испытания просадочных грунтов статическими нагрузками на штампы в шурфах целесообразно выполнять главным образом в недостаточно изученных условиях вблизи участков размещения наиболее ответственных зданий (вокзалов, локомотивных депо) и сооружений (опор больших и средних мостов на переходах вновь проектируемых каналов и спрямлениях русл рек, отдельных сооружений промывочно-пропарочных станций цистерн и др.).

При испытаниях применяют аппаратуру и методику, регламентированные ГОСТ 12374-77, и оборудование, указанное в п. 2.32.

Перед окончанием испытаний замачиваемых грунтов глубину промачивания надлежит контролировать, проходя скважины рядом с местом установки штампа на глубину не менее двух сторон штампа ниже его подошвы и отбирая пробы на влажность через 0,25 м по глубине с двукратной повторностью.

При слоистости или неоднородности грунтов (по составу, состоянию, сложению и свойствам) просадочной толщи на участках размещения внеклассных сооружений или многоэтапных зданий может возникнуть необходимость испытаний статическими нагрузками с установкой в основании штампов глубинных марок (рис. 28) [26].

Постановка глубинных марок позволяет определить послойные деформации и значения относительной просадочности грунтов, глубину деформируемой зоны. Глубинные марки устанавливают в пределах средней части штампа на одинаковых расстояниях от его центра на глубинах 0,25-0,4 в (диаметр или размер стороны квадратного штампа); 0,5-0,8 в; 0,8-1 в; 1-1,5 в от подошвы штампа. Для пропуска глубинных марок в штампе должны быть отверстия диаметром 2-3 см.

Глубинные марки состоят из металлического стержня (при применении для замеров осадок прогибомеров-проволоки) диаметром 4-6 мм и анкера, обеспечивающего заделку стержня или проволоки в грунт. Анкером может быть завинчиваемый штопор, жесткий бетон, залитый в скважину и уплотненный, распор в скважине и др.

Рис. 28. Конструкция глубинной марки:

1 - реперная труба; 2 - скважина; 3 - защитная труба; 4 - сальник из просмоленной пакли; 5 - анкер из уплотненного бетона (размеры в миллиметрах)

Осадки и просадки глубинных марок при испытаниях измеряют так же, как и штампов. Величину деформируемой зоны H следует определять как расстояние от подошвы штампа до глубины, где перемещения глубинных марок равны 1 мм.

Среднее давление в пределах деформируемой зоны, к которому относятся и средние значения относительной просадочности σпр.ср., вычисляют по формулам:

;                                                    (26)

,                                                      (27)

где P -  давление на грунт по подошве штампа;

P -  давление от собственного веса водонасыщенного грунта на нижней границе деформируемой зоны;

az -   коэффициент изменения дополнительного давления в грунте от штампа по глубине на нижней границе деформируемой зоны (табл. 6);

PN -  начальное просадочное давление.

Значение P, МПа, находят из выражения

;                                               (28)

где γbi - объемная масса водонасыщенного индивидуального грунта в слое деформируемой зоны, кг/м3;

hi - мощность индивидуального слоя в зоне, м.

Для определения значений относительной просадочности по отдельным слоям деформируемой зоны, расчлененной глубинными марками, строят графики осадок последних (рис. 29). Просадка каждого слоя равна разности просадок фундамента и глубинной марки или разности просадок смежных марок. Толщина каждого слоя hi равна расстоянию между основаниями глубинных марок.

Относительную просадочность слоев грунта, расчлененных глубинными марками δпрi при среднем давлении Pzi в слое, вычисляют по формуле.

Таблица 6

Значения коэффициента az для штампов

m

Значения коэффициента az для штампов

m

Значения коэффициента az для штампов

круглого

квадратного

круглого

квадратного

круглого

квадратного

0

1,0

1,0

2,0

0,285

0,336

4,0

0,087

0,108

0,4

0,949

0,960

2,4

0,214

0,257

4,4

0,073

0,091

0,8

0,756

0,800

2,8

0,165

0,201

4,8

0,062

0,077

1,2

0,547

0,606

3,2

0,130

0,160

5,2

0,053

0,066

1,6

0,390

0,449

3,6

0,106

0,130

-

-

-

Примечания. 1. Величина , где z - глубина от подошвы штампа; b - длина стороны или диаметра штампа.

2. Для промежуточных значений m величину az следует определять путем интерполяции.

,                                                       (29)

где Sпр.i - общая просадочная деформация слоя i-й толщи.

Среднее давление в пределах каждого слоя находят как полусумму давлений в его кровле и подошве

,                                          (30)

где ,  - давления от собственного веса грунта в водонасыщенном состоянии соответственно в кровле и подошве i-го слоя;

,  - коэффициенты изменения дополнительного давления от штампа в кровле и подошве слоя [25].

Рис. 29. Графики осадки и просадки S глубинных марок по глубине H испытания от подошвы штампа:

1 - 6 - осадки глубинных марок на различных ступенях нагрузки штампа; 7 - просадка глубинных марок на конечной ступени нагрузки

Опытные замачивания грунтов в котлованах

2.36. Опытные замачивания грунтов в котлованах имеют целью определение типа условий по просадочности в недостаточно изученных районах. Их надлежит выполнять в тех относительно редких случаях, когда в районе распространения лессовых грунтов проектируются железнодорожный узел, станция, жилой поселок дорожников, промышленный транспортный комплекс со зданиями и сооружениями, где неизбежны разливы воды и осуществляются «мокрые» технологические процессы (моечные вагонов, промывочно-пропарочные цистерны, бани и прачечные и др.), средние и большие мостовые переходы через вновь проектируемые каналы и на участках спрямления русл рек в мощных толщах ранее не проявленных просадочных грунтов.

Опытные замачивания следует выполнять, если необходимо уточнить:

установленный по результатам лабораторных испытаний тип грунтовых условий, когда они отнесены ко II типу, но близки и к I, т.е. при начальном просадочном давлении, меньшем бытового, в пределах слоя толщиной до 5 м или при величине просадки от собственного веса грунта от 5 до 15 см;

просадку грунтов от их собственного веса;

мощность просадочной толщи грунтов;

глубину, с которой происходит просадка грунта от его собственного веса;

начальное просадочное давление.

Для опытного замачивания выбирают место, как правило, на незастраиваемой территории в пункте с наибольшими просадочностью грунтов и мощностью просадочной толщи, что устанавливается по результатам разведки площадки и данным лабораторных работ. Размеры сторон котлована должны быть не менее мощности просадочной толщи, т.е. не менее 15´15 м. Глубину котлована за счет снятия растительного и насыпного слоя принимают не менее 0,4 - 1 м.

В тех случаях, когда мощность просадочной толщи превышает 15 м и коэффициент фильтрации подлежащих замачиванию грунтов менее 0,3 м/сут, а сверху залегают слои и прослойки слабо фильтрующих грунтов, для ускорения замачивания проходят дренирующие скважины. Диаметр скважин должен быть не менее 15 см. Расстояния между ними принимают 3 - 5 м.

Глубины дренирующих скважин из расчета проходки верхних слабофильтрующих слоев грунта должна составлять от 0,4 до 0,8 мощности просадочной толщи. Скважины на всю глубину засыпают песком или гравием.

Для наблюдений за просадкой грунта на дне котлована и за его пределами на расстоянии до 2 мощностей просадочной толщи ставят поверхностные, а в центре котлована - глубинные марки.

Поверхностные марки (рис. 30) ставят по двум-четырем поперечникам через 2-4 м одна от другой, а глубинные - через 2-3 м по глубине в пределах всей просадочной толщи.

Рис. 30. Конструкции поверхностных марок:

а - простейшего типа; б - с бетонной опорой; в - с бетонной опорой при задавливании в зимнее время; 1 - арматурный стержень диаметром 20-24 мм; 2 - уплотненный грунт; 3 - бетонная опора (размеры в миллиметрах)

Грунт в котловане замачивают, поддерживая постоянный уровень воды над его дном до полного промачивания всей толщи просадочных грунтов и до условной стабилизации просадки. За условную стабилизацию просадки грунта принимают ее прирост не более 1 см за 10 дней.

В процессе замачивания измеряют количество заливаемой в грунт воды и через 5-7 дней нивелируют поверхностные и глубинные марки относительно системы временных реперов, расположенных за пределами зоны развития просадок. Горизонтальные перемещения поверхности измеряют по поверхностным маркам на 1-2 поперечниках.

По результатам замачивания строят графики: суточного и общего расхода воды, просадок поверхностных и глубинных марок во времени, изменения просадки и относительной просадочности в отдельных слоях грунтов по глубине замоченной толщи. При расчетах применяют формулы (26) - (30), считая давление от штампа равным нулю.

На план наносят линии равных просадок поверхности грунта в замоченном котловане и вблизи него, где проявились просадки. Составляют поперечные профили просадок поверхности грунта [26].

Опытные откачки

2.37. Опытные откачки выполняют по ГОСТ 23278-78 для определения коэффициента фильтрации водовмещающих пород в некоторой области массива с целью расчета водопритока в котлован проектируемого здания или сооружения и другие выработки, проектирования водоотлива при строительстве, дренажей в выемках, дренажных завес в тоннелях и т.д.

Откачка захватывает значительный объем водоносного массива, что позволяет получить усредненную характеристику водопроницаемости пород массива, удобную в инженерно-геологических и гидрогеологических (водозабор) расчетах. В ряде случаев откачка экономичнее массовых лабораторных определений для получения нормативного (среднестатистического) значения коэффициента водопроницаемости.

Откачка является надежным способом определения водопроницаемости водоносных песков и гравия, из которых невозможно отобрать монолитные образцы для лабораторных испытаний. Методика и аппаратура откачек охарактеризованы в работе [27].

СПИСОК ЛИТЕРАТУРЫ

1. Бондарик Г. К., Комаров И. С., Ферронский В. И. Полевые методы инженерно-геологических исследований. М., Недра, 1967.

2. Разоренов В. Ф. Пенетрационные испытания грунтов (Теория и практика применения), 2-е издание. М., Стройиздат, 1980.

3. Трофименков Ю. Г., Воробков Л. Н. Полевые методы исследования строительных свойств грунтов. 2 издание. М., Стройиздат, 1981.

4. Крестовская А. М., Кудинова Т. А. Рекомендации по применению и совершенствованию полевых методов исследования грунтов на основе обобщения опыта работы трестов инженерно-строительных изысканий. М., Стройизыскания, 1978.

5. Производственный и научно-исследовательский институт по инженерным изысканиям в строительстве Госстрой СССР. Приставка к станку УГБ-50А(М) для динамического зондирования. Совещание по полевым методам. Информационный листок № 12. Рязань, 1969.

6. Плакхин М. Л. Предложения по методике исследования песчаных грунтов статической пенетрацией на дорожных изысканиях. ЦНИИС, 1967.

7. Указания по работе со статическим пенетрометром. М., ЦНИИС, 1969.

8. Методические указания по использованию статического зондирования для инженерно-геологических изысканий. Уфа, НИИпромстрой, 1975.

9. Методические рекомендации по проведению скоростных инженерно-геологических изысканий на просадочных грунтах. Уфа, НИИпромстрой, 1977.

10. Рекомендации по уточнению расчета несущей способности свай и определению деформационных свойств грунтов по данным статического зондирования. М., Стройизыскания, 1975.

11. Методические рекомендации по проведению скоростных инженерно-геологических изысканий для проектирования объектов массового строительства на забивных сваях. Уфа, НИИпромстрой, 1977.

12. Руководство по методам полевых испытаний несущей способности свай и грунтов. М., ЦНИИС, 1979.

13. Ревягин Л. Н., Тофанюк Ф. С. Некоторые результаты исследований по определению несущей способности сваи при помощи ИИС-127. В сб.: "Инженерно-строительные изыскания", вып. 3(32). М., Стройизыскания, 1973.

14. Руководство по полевым испытаниям свай в вечномерзлых грунтах. М., Стройиздат, 1977.

15. Рекомендации по расчету и применению электронагревателей для оттаивания мерзлых грунтов. М., Стройиздат, 1971.

16. Дружинин М. К. Указания по определению сопротивления грунтов сдвигу в скважинах. М., Оргтрансстрой, 1969.

17. Методы определения прочности глинистых пород. Под редакцией Г. К. Бондарика. М., Недра, 1974.

18. Корчагин Г. П., Коренева С. Л. Прессиометрия и вращательный срез в инженерной геологии. М., Недра, 1976.

19. Инструкция для исследования слабых грунтов нормативной полевой лабораторией ПЛГ-1Р (1-я редакция), М., ПНИИИС, 1977.

20. Рекомендации по применению полевых методов исследования грунтов. Госстрой РСФСР. Центральный трест инженерно-строительных изысканий. М., 1968.

21. Прессиометр ЭВ.90/127. М., Недра , 1979.

22. Методические указания по определению деформативных свойств грунтов полевым прессиометром. М., ЦНИИС, 1971.

23. Инструкция по работе с прессиометром ЦНИИС при полевых исследованиях грунтов. М., ЦНИИС, 1973.

24. Рекомендации по определению прочностных характеристик грунтов прессиометром ЦНИИС. М., ЦНИИС, 1977.

25. Рекомендации по испытаниям просадочных грунтов статическими нагрузками. М., Стройиздат, 1974.

26. Руководство по проектированию оснований зданий и сооружений. 2-е издание. Под ред. Е. А. Сорочана и др. М., Стройиздат, 1978.

27. Керкис Е. Е. Методы изучения фильтрационных свойств горных пород. М., Недра, 1975.

СОДЕРЖАНИЕ

Предисловие. 1

1. Общие положения. 1

2. Технология и технические средства полевых испытаний грунтов в массивах. 3

Назначение и область применения испытаний. 3

Микропенетрация. 4

Зондирования грунтов. 6

Динамическое зондирование. 7

Статическое зондирование. 8

Испытания свай. 16

Вращательный срез. 20

Испытания грунтов на сопротивление срезу в шурфах. 26

Прессиометрия. 27

Испытания грунтов статическими нагрузками на штампы в шурфах и скважинах. 31

Опытные откачки. 36

Список литературы.. 36

 




Rambler's Top100 Яндекс цитирования
  Copyright © 2008-2026, www.docload.ru