|
|
МИНИСТЕРСТВО ТРАНСПОРТНОГО
СТРОИТЕЛЬСТВА ИНСТРУКЦИЯ ПРИ СТРОИТЕЛЬСТВЕ ВСН 160-69 Утверждена
ОРГТРАНССТРОЙ МОСКВА 1970 Инструкцию
разработали и составили: В.Г. Афанасьев, Б.И. Гойдышев, И.Ф. Демьянчик, В.А.
Жилкин, В.Л. Калашников, М.М. Сандер, Е.Н. Соколов. ПРЕДИСЛОВИЕ
«Инструкция
по геодезическим и маркшейдерским работам при строительстве транспортных
тоннелей» составлена на основании опыта производства
геодезическо-маркшейдерских работ при строительстве Московского,
Ленинградского, Киевского, Тбилисского и Бакинского метрополитенов,
железнодорожных, автомобильных, гидротехнических тоннелей, при строительстве
других подземных сооружений, выполняемых Главным управлением строительства
тоннелей и метрополитенов Минтрансстроя, Гидроспецстроем, Министерством
энергетики и электрификации СССР. При составлении «Инструкции» использованы:
«Техническая инструкция по производству геодезическо-маркшейдерских работ при
строительстве метрополитенов и тоннелей», издания 1956 года; «Строительные
нормы и правила»; СНиП II-Д.3-62;
СНиП III-Б.8-68; «Временные технические условия производства тоннельных работ»,
Минтрансстрой, издания 1955 г. В
«Инструкции» изложены основные технические условия, приемы и допуски при
выполнении геодезическо-маркшейдерских работ и разбивок при строительстве
тоннелей и метрополитенов. Авторы
выражают глубокую благодарность главным и участковым маркшейдерам
Главтоннельметростроя за ценные и полезные замечания при подготовке рукописи к
изданию, позволившие улучшить содержание настоящей инструкции. Особую
благодарность авторский коллектив выносит доктору техн. наук профессору
Черемисину М.С. Начальник
Геодезическо-маркшейдерского управления Главтоннельметростроя В. Афанасьев
ОБЩИЕ ПОЛОЖЕНИЯ
§ 1. «Инструкция по геодезическим и маркшейдерским
работам при строительстве транспортных тоннелей» является обязательной при
строительстве метрополитенов, железнодорожных, автодорожных тоннелей и других
подземных сооружений, выполняемых организациями и ведомствами Министерства
транспортного строительства. § 2. Задачей геодезическо-маркшейдерской службы при
строительстве подземных сооружений является перенесение проекта комплекса
сооружений в натуру, обеспечение сбоек тоннелей, строгое соблюдение
установленных габаритов, ведение по трассе щитов и эректоров, точное сопряжение
всех конструктивных элементов и подземных транспортных узлов как в пределах
каждой сооружаемой линии (радиус, диаметр), так и между разными очередями
строительства. § 3.
Геодезическо-маркшейдерская служба обеспечивает возможность строительства
тоннелей и других подземных сооружений одновременно по всей трассе. Отдельно
сооружаемые участки трассы (станции, перегоны, камеры съездов, эскалаторные,
наклонные тоннели и пересадочные узлы) должны быть точно сопряжены друг с
другом и составить в натуре единое инженерное сооружение, предусмотренное
проектом.
§ 4.
Проектная организация создает наземную геодезическую основу для перенесения
проекта в натуру, обеспечивающую требуемую точность сбоек встречных выработок. § 5. Основные разбивочные работы, связанные с
перенесением проекта подземных сооружений в натуру, производятся от пунктов
подземной маркшейдерской основы, создаваемой маркшейдерской службой
строительной организации. § 6. В процессе строительства производятся подробные
съемки, имеющие назначение: а)
графическое отображение хода строительных работ на всем его протяжении; б)
контрольный учет объемов основных строительных работ (к основным работам
относятся: грунт-порода, бетон, железобетон, укладка тюбингов, блоков,
расчеканка, железобетонная рубашка); в)
составление исполнительных чертежей на готовые сооружения, необходимые
при эксплуатации и проектировании новых линий метрополитена и тоннелей. § 7. Во время производства горностроительных работ
маркшейдерская служба производит наблюдения за осадками сооружений на
поверхности и в подземных выработках. § 8. Геодезическо-маркшейдерские разбивки на
строительных объектах выполняются только на основании рабочих чертежей,
составленных проектной организацией и имеющих подпись главного инженера
строящей организации, разрешающую производство работ. § 9. Вычисления и детальные расчеты, необходимые для
разбивки, производятся работниками маркшейдерских отделов строительств «в две
руки» независимо друг от друга. Перенесение
в натуру разбивочных схем производится только после записи их в маркшейдерскую
книгу. Маркшейдерская
книга (пронумерованная и заверенная главным маркшейдером строительства) ведется
на каждом строительном участке работниками маркшейдерской службы. В книгу
заносятся ежесменные задания и данные об их выполнении. § 10. Геодезические работы, не предусмотренные настоящей
технической инструкцией, выполняются в соответствии с требованиями действующих
инструкций ГУГК. § 11. Основные разбивки в натуре закрепляются
соответствующими маркшейдерскими знаками (схемы же разбивок заносятся в журнал
горных работ строительного объекта). § 12. Полевые и камеральные геодезические документы
(маркшейдерские книги, полевые журналы, схемы, абрисы и др.) сохраняются до
сдачи сооружений в эксплуатацию. § 13. Геодезическо-маркшейдерская служба производит
составление, вычерчивание и оформление исполнительных чертежей на все
законченные подземные сооружения, подлежащие представлению Правительственной
комиссии с последующей передачей их эксплуатирующей организации. § 14. Для обеспечения выполнения технических условий
сооружения тоннелей и метрополитенов и в силу специфических особенностей
геодезическо-маркшейдерская служба имеет свое специальное «Положение» (глава 26). § 15. В инструкции изложены основные технические условия
и допуски при выполнении геодезическо-маркшейдерских работ и разбивок на
строительстве тоннелей и других подземных сооружений. Часть I
НАЗЕМНЫЕ ГЕОДЕЗИЧЕСКИЕ РАБОТЫ ПРИ СТРОИТЕЛЬСТВЕ ПОДЗЕМНЫХ
СООРУЖЕНИЙ
Глава 1
ТОННЕЛЬНАЯ
ТРИАНГУЛЯЦИЯ; ПОЛИГОНОМЕТРИЯ ВЗАМЕН ТРИАНГУЛЯЦИИ.
А.
Назначение тоннельной триангуляции; основные требования
1.01. При строительстве тоннелей значительной
протяженности или подземных сооружений, располагающихся на большой площади,
обязательно наличие триангуляции или полигонометрии, ее заменяющей. Городские
триангуляционные сети используются для построения триангуляционных цепей или
ходов полигонометрии взамен триангуляции, обеспечивающих сооружение отдельных
линий метрополитена. При отсутствии в городе триангуляции последняя создается с
учетом дальнейшего ее развития для строительства перспективных линий
метрополитена. 1.02. При построении цепи треугольников, обеспечивающей
сооружение данной линии метрополитена, как правило, используются знаки
городской триангуляции. Сгущение производится с расчетом обеспечения трассы
пунктами не реже чем через 3 км. Не
рекомендуется располагать пункты в пределах зоны возможной деформации, а также
в удалении от трассы более 2 км. 1.03. Для тоннелей небольшой протяженности и подземных
сооружений, располагающихся на незначительной площади, возможно создание
планового обоснования в виде основной полигонометрии или аналитической сети. 1.04. Для обеспечения требуемой точности сбоек встречных
тоннелей и правильной организации основных геодезических работ в каждой цепи
триангуляции или в ходе полигонометрии взамен триангуляции рекомендуется
подсчитать среднюю квадратическую
ошибку взаимного определения конечных точек. Она не должна превышать допусков,
приведенных в табл. 1-1.
В указанных формулах: D
- величина допустимого отклонения рабочей оси тоннеля от окончательной оси,
определяемой после сбойки встречных тоннелей; L - длина сооружаемого тоннеля; l - среднее расстояние между смежными стволами, порталами,
штольнями. При
создании триангуляции, обеспечивающей строительство тоннелей, для которых
предельная ошибка сбойки определяется допуском 10 см, руководствуются
требованиями табл. 1-2. Для
подземных сооружений, располагающихся на большой площади, при определении
разряда триангуляции следует исходить из длины наибольшего по протяженности
тоннеля, входящего в общий комплекс.
Примечание. В таблице длина L
учитывает случай сооружения тоннеля из двух крайних его точек. При наличии
промежуточных стволов или штолен необходимо определять величину Lэкв по формуле:
где L
- общая длина тоннеля; l
- среднее расстояние между смежными точками открытия фронта тоннельных работ. Б.
Составление проекта, рекогносцировка и закрепление знаков
1.05. Проект триангуляции составляется на плане или
карте крупного масштаба, на которых должны быть показаны: проектируемая трасса,
места расположения стволов, порталов, боковых штреков-штолен и все имеющиеся
пункты ранее выполненных триангуляций. При
отсутствии картографических материалов необходимого масштаба проект
составляется в процессе производства рекогносцировки на местности. 1.06. Для решения вопроса об использовании сторон
имеющихся триангуляций в качестве базисов производится исследование точности
определения длин этих сторон. Если результаты исследования не удовлетворяют
требованиям табл. 1-2, намечается измерение самостоятельных базисов.
Расчет частоты базисов в проектируемой цепи производится в соответствии с
требованиями табл. 1-1 и 1-2. Во всех
случаях следует стремиться к измерению непосредственно сторон триангуляционной
цепи. Одновременно
с выбором базиса намечаются места закрепления знаков полевого компаратора,
используемого при строительстве для компарирования мерных приборов. 1.07. Выбор исходных дирекционных углов сторон и
координат пунктов городской или государственной триангуляции должен
основываться на детальном изучении материалов этих триангуляций. Не могут быть
использованы в качестве исходных пункты, определенные вставками в основную
сеть. 1.08. Триангуляционные цепи должны представлять собою
системы треугольников, близких по форме к равносторонним (желательно с
диагональными направлениями). В треугольниках, не подкреплённых диагональными
направлениями, связующие углы менее 40° не допускаются. 1.09. При построении триангуляции для сооружения
тоннелей рекомендуется проектировать такое расположение пунктов, которое
обеспечивало бы ориентирование каждых двух смежных стволов, штолен, порталов по
одной и той же стороне триангуляции. 1.10. При производстве работ для сооружения тоннелей
значительной длины в горной местности и в сложных геологических условиях
принимаются необходимые меры для исключения возможных влияний уклонений отвесных
линий на точность триангуляции. 1.11. Удаление линий визирования от любых боковых
предметов должно быть не менее 1 м, а по высоте, от крыш зданий или
поверхности земли - не менее 2 м. Следует избегать прохождения визирных
лучей вблизи дымящих заводских труб и вытяжных труб на крышах домов. 1.12. При выборе мест закрепления триангуляционных знаков на крышах зданий необходимо учитывать как
удобство пользования пунктом и безопасность подхода к нему, так и
конструктивные качества той части здания, на которой намечается устройство
триангуляционной надстройки. 1.13. При рекогносцировке знаков на незастроенной
территории необходимо учитывать гидрогеологию грунтов и ситуационные условия.
Знаки нельзя располагать вблизи линий электропередач, связи и т.д. Триангуляционные
центры, как правило, должны располагаться в устойчивых, неоползневых и не
подвергающихся выпучиванию грунтах. 1.14. Основным типом знака для незастроенных территорий
следует считать такой, при котором измерения производятся со штатива, столба
или при небольших поднятиях инструмента над землей. 1.15. Все включаемые в триангуляционную цепь знаки
старых триангуляций должны детально обследоваться для определения возможности
их использования. 1.16. При выборе мест для закрепления триангуляционных знаков
должна быть предусмотрена возможность удобных и надежных примыканий к ним
полигонометрических ходов. Особое внимание должно быть обращено на обеспечение
видимости с пунктов триангуляции на стволы, порталы, боковые штреки-штольни и
другие точки открытия фронта тоннельных работ; выполнение данного условия не
должно снижать жесткости построения триангуляционной цепи. При
выборе места закрепления необходимо произвести соответствующие согласования с
представителями организации, которой принадлежит данное здание. 1.17. При производстве рекогносцировки ведется журнал, в
котором отображаются все данные, характеризующие условия закрепления и
последующего пользования знаками, а также условия видимости по всем намеченным
к наблюдению направлениям. В журнале
должно быть дано полное описание всех строительных работ, перечень необходимых
материалов, описание подъезда или подхода к пункту, указания о порядке доступа
на крыши зданий. 1.18. В результате рекогносцировки составляется схема
триангуляции с указанием примерных величин углов в фигурах, а также сторон,
которые должны быть измерены в качестве базисов триангуляции. 1.19. Закрепление пунктов производится по правилам,
принятым для городских триангуляций. Возможно закрепление пункта
непосредственно в бетонном перекрытии крыши. 1.20. По окончании закрепления знака должна быть сделана
его зарисовка, к которой прикладывается описание безопасного подхода к знаку и
условия пользования им (выбираемые из рекогносцировочного журнала). Все
закрепленные знаки должны быть сданы по акту под наблюдение за сохранностью
представителям соответствующих организаций. В. Измерение базисов
1.21. Измерение базисов производится по правилам,
принятым для соответствующих разрядов городских триангуляций. Попутно с
измерением базиса определяется точная длина полевого компаратора. Проволоки,
участвующие в измерении базисов, должны эталонироваться на стационарном
компараторе до и после измерения. Образцы
журналов измерения базиса и нивелирования целиков штативов приведены в
приложениях 1-1 и 1-2. Измерение
сторон триангуляции свето- и радиодальномерами производится в том случае, если
они обеспечивают требуемую точность. 1.22. Оценка точности собственно измерения базиса
производится по формулам табл. 1-3. Таблица 1-3
В указанных формулах: d
- уклонение результата измерения секции одной проволокой в одном направлении от
среднего значения, полученного по всем измерениям; n
- число отдельных измерений; k
- число секций. Г.
Угловые измерения
1.23. Для измерения углов тоннельных триангуляций
используются теодолиты двухсекундной точности и оптические теодолиты. В горной
местности, при наличии в цепи направлений со значительными углами наклона,
необходимо применять инструменты с накладным уровнем. При
отсутствии таких теодолитов разрешается наклон вертикальной оси вращения
инструмента определять при помощи уровня на алидаде, цена деления которого не
должна превышать 15². Поправки в измеренные направления, которые
вводятся при углах наклона более 3°, вычисляются по следующей формуле
где r - цена деления уровня; n - число делений уровня, характеризующих наклон
инструмента; n
считается положительным, если уровень во время измерений отклонялся
влево и отрицательным - вправо. z - зенитное расстояние измеряемого направления. 1.24. Перед наблюдениями теодолит должен быть исследован
по программе, предусмотренной Инструкцией ГУГК о построении государственной геодезической
сети. Уход за
инструментами и их поверки осуществляются по правилам, принятым для
государственных триангуляций. 1.25. В триангуляциях, создаваемых для строительства
тоннелей, с целью устранения поправок за редукцию и ошибок визирования за счет
фаз, в качестве объектов визирования используются специальные марки или штанги,
устанавливаемые непосредственно над внешними центрами знаков. Штанги
раскрашиваются шашками в белый и красный цвета. После установки штанг,
производимой по отвесу, они закрепляются проволочными растяжками. 1.26. В тоннельных триангуляциях измерение
горизонтальных углов производится способом измерения углов во всех комбинациях
и способом круговых приемов. В табл. 1-4
приводятся произведения (п × m) числа
направлений n на число
приемов m
при измерении углов во
всех комбинациях и количество приемов при измерении углов круговыми приемами. 1.27. Угловые измерения производятся по правилам,
принятым для городских и государственных триангуляций. В целях исключения
действия рена обязательно использование при наблюдениях всего интервала счетной
шкалы или барабана микроскоп-микрометра. Таблица 1-4
Пример. Наблюдения производятся оптическим теодолитом
типа Т-2 с 10-минутным интервалом лимба девятью круговыми приемами. Начальные
отсчеты на барабане будут около: I прием 1¢ VI прием 6¢ II ² 2¢ VII ² 7¢ III ² 3¢ VIII ² 8¢ IV ² 4¢ IX ² 9¢ V ² 5¢ Образец
журнала измерения углов триангуляции приведен в приложении 1-3. 1.28. Ввиду малости сторон тоннельных триангуляций
следует добиваться высокой точности центрирования над знаками как теодолита,
так и визирных приспособлений. При наличии центрировок и редукций их элементы
определяются с погрешностями, не превышающими величин, приведенных в табл. 1-5 (для
линейных элементов е и е1) и табл. 1-6 (для
угловых элементов Q и Q1). 1.29. Угловые измерения должны производиться только в
условиях благоприятной видимости, при отчетливых изображениях. В
отдельных случаях рекомендуется для обеспечения требуемой точности производить
ночные наблюдения с применением искусственного освещения объектов визирования. 1.30. При угловых наблюдениях должно быть обеспечено
соблюдение допусков, приведенных в табл. 1-7. Таблица 1-5
Таблица 1-6
Таблица 1-7
1.31. Как правило, угловые измерения в триангуляции
должны быть выполнены дважды, с интервалом во времени не менее месяца. 1.32. Если к моменту первых измерений углов не были
выполнены условия п. 1.16, перед вторыми измерениями должны быть закреплены
дополнительные пункты, обеспечивающие выполнение этих условий. Указанные пункты
включаются в программу вторых измерений. 1.33. По окончании наблюдений на каждом пункте производится
их обработка и определяется средняя квадратическая ошибка собственно измерения
направлений на станции. Для
указанной оценки применяются формулы табл. 1-8. Таблица 1-8
В указанных формулах: u
- уклонение значения направления в приеме от среднего значения; |u|
- сумма абсолютных величин отклонений значений направлений в отдельном приеме
от среднего значения; åu2 - сумма квадратов
уклонений, по каждому направлению; [åu2] - сумма сумм квадратов
уклонений для всей станции; [u]
- сумма уклонений всех направлений в одном и том же приеме; п - число приемов; m - число направлении. Пример
оценки точности угловых измерений триангуляции приведен в приложении 1-4. 1.34. По мере образования в сети геодезических
четырехугольников и центральных систем подсчитываются свободные члены полюсных
условий. В системах, опирающихся на твердые стороны и базисы, подсчитываются свободные члены возникающих при
этом условий. Подсчеты
производятся по величинам измеренных углов. Свободные члены не должны выходить
за пределы допусков табл. 1-9. Таблица 1-9
В указанных формулах: D
- перемены логарифмов синусов связующих углов при перемене углов на 1² (в единицах шестого знака логарифмов); п - число углов, входящих в
подсчет величины свободного члена азимутального условия;
т - среднеквадратическая ошибка
измерения угла. 1.35. В результате полевых измерений должны быть
получены следующие материалы: 1) чертежи заложенных центров и фотографии
построенных знаков; 2) журналы измерения базисов и журналы нивелирования
целиков базисных штативов; 3) журналы измерения углов; 4) материалы определений центрировок и редукций; 5) полевые контрольные вычисления; 6) масштабная схема цепи (сети) с показанием всех
измеренных величин и невязок; 7) краткая пояснительная записка. Д.
Уравнительные вычисления, оценка точности и составление технического отчета
1.36. Выбор осевого меридиана плоскости проекции Гаусса
и уровенной поверхности триангуляции производится с таким расчетом, чтобы
возможно было во всех последующих работах по сгущению геодезической основы
(основная и подходная
наземная полигонометрия, подземная полигонометрия) обходиться без введения
поправок за проектирование результатов измерений на плоскость, проекции Гаусса
и за приведение к принятому уровню. Как
правило, этого можно добиться, применяя: а) для
городов - принятую систему городских координат (с частным началом) и уровенную
поверхность, соответствующую средней отметке города; б) для
внегородских тоннелей - систему координат в проекции Гаусса с целесообразно
выбранным осевым меридианом (с разграфкой до 45¢), а уровенную поверхность на средней отметке
подземного сооружения (что позволит обойтись без введения поправок в длины
линий подземной полигонометрии; при этом в линии наземной полигонометрии
поправки должны вводиться). 1.37. Для удобства выполнения геодезическо-маркшейдерских
работ к отрицательным ординатам (при расположении сооружения к западу от
осевого меридиана) прибавляется целое число километров, а в абсциссах
(подсчитанных от экватора) отбрасываются тысячи и сотни километров. При этом
желательно иметь абсциссы, отличающиеся от ординат на несколько десятков
километров. Во всех вычислениях необходимо располагать координату y впереди, координату x - после нее. 1.38. Для редуцирования длин базисов на плоскость
проекции Гаусса пользуются формулой
где dD - поправка за редуцирование (в
миллиметрах) - всегда положительна; D0¢ - длина базиса (в метрах); ym - ордината середины базиса (в
километрах); R - средний радиус кривизны земного эллипсоида (в
километрах); R = 6370 км; 1.39. Для проектирования длин базисов на принятую
уровенную поверхность применяется следующая формула
где DH - поправка за проектирование
базиса на уровенную поверхность; D¢0 и R - то же, что и предыдущей формуле; Нт - средняя
абсолютная отметка базиса; H0 -
абсолютная отметка принятой плоскости проектирования. Если D¢0, Нт
и Н0 выражать в метрах, R - в километрах, DH будет
выражено в миллиметрах. 1.40. Для редуцирования направлений на плоскость
проекции Гаусса вводятся поправки, вычисляемые по формуле
где d1-2 -
поправка в направление 1-2; x1 -
абсцисса пункта 1; x2 -
абсцисса пункта 2; ym - средняя ордината пунктов 1 и
2; R = 6370 км; r = 206265²; Абсциссы
и ординаты выражаются в километрах, поправки d получаются в секундах. Примечание. Для выбора величин у и
х (к формулам, пп. 1.38 и 1.40) пользуются масштабной
схемой цепи, на которой должна быть нанесена координатная сетка. 1.41. Перед уравновешиванием триангуляции производится
полная проверка журналов измерений, всех полевых вычислений и схемы сети. Учитывая
малость сторон тоннельных триангуляций, необходимо для вычисления поправок за
центрировки и редукции получать предварительные длины этих сторон с достаточной
степенью точности. 1.42. В результате полной проверки полевых материалов
составляется список приведенных к центру и редуцированных на плоскость проекций
Гаусса направлений и вычеркивается окончательная схема сети. Производится
оценка точности угловых измерений по формуле
где fb -
невязка треугольника; п - число
треугольников, входящих в оценку точности. 1.43. Учитывая необходимость использования координат
пунктов триангуляции для вычисления координат пунктов полигонометрических ходов
и предварительных разбивок, при получении
рабочих координат пунктов разрешается использование упрощенных методов
уравновешивания. При этих вычислениях рекомендуется сначала уравновесить
условия фигур и полюсные условия упрощенными методами, а затем с
уравновешенными углами составлять простые цепочки треугольников между базисами
или твердыми сторонами. Не
разрешается пользоваться рабочими координатами пунктов триангуляции для всех
работ, связанных с ориентированием подземных выработок и разбивками основных
подземных сооружений. 1.44. Перед использованием для уравновешивания
дирекционных углов и длин сторон, а также координат пунктов городской или
государственной триангуляции должен быть произведен анализ их точности по
материалам новых измерений. Для этих целей измеренные углы сопоставляются с
разностями исходных дирекционных углов (на твердых пунктах) и подсчитываются
свободные члены азимутальных, боковых, базисных и координатных условий.
Полученные результаты должны отвечать установкам табл. 1-2 и 1-9. Тщательный
анализ, в сочетании с изучением материалов при проектировании цепи (см. п. 1.06),
позволяет выявить исходные пункты, использование которых может внести
недопустимые искажения при уравновешивании триангуляционной цепи. 1.45. Для окончательного уравновешивания триангуляции
используют один из строгих методов. В каждом отдельном случае выбор метода
должен обеспечить экономию вычислительного труда. Желательно произвести
уравновешивание двумя независимыми способами. 1.46. Одновременно с уравновешиванием триангуляции
необходимо произвести оценку точности элементов сети (см. табл. 1-1 и 1-2). Должны
быть определены из уравновешивания средние квадратические ошибки направлений по
формулам: Для
способа условных измерений
где u -
поправки направлений; r - число условных уравнений. Для
способа посредственных измерений
где d - число всех направлений в сети (сплошных и
несплошных); r - число всех пунктов в цепи; p - число определяемых пунктов. Указанные
величины сопоставляются с результатами оценки точности на станциях и по
невязкам треугольников. Такое сопоставление рельефно выявляет действие внешних
условий (особенно боковой рефракции) и влияние ошибок принятых исходных
данных. Кроме
этого, рекомендуется определить ошибки наиболее слабой стороны, наиболее
слабого дирекционного угла, а также максимальную ошибку определения координат. 1.47. По результатам уравновешивания составляется
каталог пунктов триангуляции (см. приложение 1-5),
тщательно проверяемый вторым исполнителем. В каталоге показываются как все
вновь определенные пункты и направления, так и все исходные; последние
выделяются красным цветом. В каталоге
обязательно указываются осевой меридиан зоны проекции Гаусса и уровенная
поверхность, принятые для вычисления триангуляции, а также величины условных
увеличений или уменьшений координат. 1.48. По каждой исполненной триангуляции составляется
подробный технический отчет, в котором должны быть даны: а)
расчетное обоснование принятого разряда триангуляции; б) анализ
точности исходных данных, послуживших в качестве основы для развития данной
триангуляции; в)
описание условий рекогносцировки; г)
описания и чертежи триангуляционных центров и фотографии построенных знаков; д)
описание методики базисных и угловых измерений и результаты оценки их точности; е)
обоснование принятых зон проекции Гаусса и уровенной поверхности. Здесь же
должны быть даны указания о необходимости введения поправок в измеренные
элементы наземной и подземной полигонометрии; ж)
описание методики вычислительных работ. Если в процессе строительных работ
использовались рабочие координаты пунктов триангуляции, то должна быть
приведена сводка расхождений координат и дирекционных углов по рабочим и
окончательным данным; з)
результаты оценки точности элементов триангуляции в сопоставлении их с
расчетными данными и данными оценки точности полевых измерений; и) общее
заключение о пригодности данной триангуляции для обеспечения требуемой точности
всех горностроительных работ и особенно точности сбоек встречных тоннелей. Е. Тоннельная
полигонометрия взамен триангуляции
1.49. Тоннельная полигонометрия взамен триангуляции
прокладывается вдоль трассы сооружения в виде одиночного хода или в виде
замкнутых полигонов, опирающихся на пункты государственной или городской
геодезической основы. Пункты
тоннельной полигонометрии не рекомендуется располагать в пределах зоны
возможной деформации, а также в удалении от трассы более 1 км. 1.50. Во всех случаях создания тоннельной полигонометрии
она должна удовлетворять требованиям табл. 1-10. Таблица 1-10 Тоннельная
полигонометрия взамен триангуляции
1.51. Составление проекта, рекогносцировка и закрепление
знаков тоннельной полигонометрии производится по правилам, изложенным в разделе
Б настоящей главы, а угловые измерения - в
соответствии с методикой, изложенной в разделе Г. 1.52. Измерение длин сторон тоннельной полигонометрии
производится свето- и радиодальномерами. При подборе типа дальномера необходимо
учитывать, что точность линейных измерений при криволинейной форме сооружаемого
тоннеля должна быть вдвое выше, чем при прямолинейной форме (см. табл. 1-10). Это
вызвано тем, что при криволинейной форме трассы ошибки линейных измерений
существенно влияют на поперечный сдвиг хода, который целиком входит в ошибку
сбойки тоннелей. 1.53. Все угловые и линейные измерения производятся не
менее чем дважды, с интервалом во времени не менее месяца. 1.54. При обработке материалов измерений тоннельной
полигонометрии и составлении технического отчета руководствуются указаниями,
изложенными в разделе Д
настоящей главы. 1.55. Ходы тоннельной полигонометрии уравновешиваются на
основе координат пунктов государственной или городской геодезической основы,
если относительные ошибки их не превышают допусков табл. 1-10. В
противном случае ход вычисляется как свободный. Приложение
1-1
ЖУРНАЛ
| |||||||||||||||||||||||||||||||||||||||||||||||||||||||||||||||||||||||||||||||||||||||||||||||||||||||||||||||||||||||||||||||||||||||||||||||||||||||||||||||||||||||||||||||||||||||||||||||||||||||||||||||||||||||||||||||||||||||||||||||||||||||||||||||||||||||||||||||||||||||||||||||||||||||||||||||||||||||||||||||||||||||||||||||||||||||||||||||||||||||||||||||||||||||||||||||||||||||||||||||||||||||||||||||||||||||||||||||||||||||||||||||||||||||||||||||||||||||||||||||||||||||||||||||||||||||||||||||||||||||||||||||||||||||||||||||||||||||||||||||||||||||||||||||||||||||||||||||||||||||||||||||||||||||||||||||||||||||||||||||||||||||||||||||||||||||||||||||||||||||||||||||||||||||||||||||||||||||||||||||||||||||||||||||||||||||||||||||||||||||||||||||||||||||||||||||||||||||||||||||||||||||||||||||||||||||||||||||||||||||||||||||||||||||||||||||||||||||||||||||||||||||||||||||||||||||||||||||||||||||||||||||||||||||||||||||||||||||||||||||||||||||||||||||||||||||||||||||||||||||
|
Наблюдатели: 1. Смирнова |
Дата: 28 мая 1966 г. |
|
|
|
2. Волкова |
|
|
№ штативов |
Проволока № 717. Прямо |
Проволока № 715. Прямо |
Проволока № 715. Обратно |
Проволока № 717. Обратно |
||||||||
|
П |
З |
П-З |
П |
З |
П-З |
П |
З |
П-З |
П |
З |
П-З |
|
|
29 - 30 |
248 |
132 |
+116 |
189 |
079 |
+110 |
218 |
106 |
+112 |
137 |
034 |
+103 |
|
373 |
258 |
+115 |
302 |
192 |
+110 |
334 |
223 |
+111 |
260 |
156 |
+104 |
|
|
486 |
371 |
+115 |
426 |
318 |
+108 |
467 |
354 |
+113 |
401 |
298 |
+103 |
|
|
|
|
+11,53 |
|
|
+10,93 |
|
|
+11,20 |
|
|
+10,33 |
|
|
t° = +24°,0 |
t° = +25°,5 |
|||||||||||
|
30 - 31 |
387 |
116 |
+271 |
317 |
052 |
+265 |
473 |
210 |
+263 |
319 |
064 |
+255 |
|
516 |
246 |
+270 |
493 |
228 |
+265 |
598 |
334 |
+264 |
446 |
189 |
+257 |
|
|
641 |
369 |
+272 |
617 |
351 |
+266 |
714 |
450 |
+264 |
570 |
315 |
+255 |
|
|
|
|
+27,10 |
|
|
+26,53 |
|
|
+26,37 |
|
|
+25,57 |
|
|
t° = +24°,0 |
t° = +25°,5 |
|||||||||||
|
31 - 31а |
3,9994 |
14 |
3,9980 |
Инвентарная лента № 7024 |
|
|
3,9997 |
16 |
3,9981 |
Инвентарная лента № 7024 |
|
|
|
4,0001 |
20 |
3,9981 |
4,0004 |
22 |
3,9982 |
|||||||
|
4,0014 |
31 |
3,9983 |
4,0016 |
33 |
3,9983 |
|||||||
|
4,0027 |
45 |
3,9982 |
4,0023 |
41 |
3,9982 |
|||||||
|
|
|
3,99815 |
|
|
3,99820 |
|||||||
|
t° = +24°,5 |
t° = +25°,0 |
|||||||||||
Секция 2
Дата: 28
мая 1966 г.
|
№ штативов |
Прямой ход |
Обратный ход |
Среднее превышение из прямого обратного хода |
Примечания |
|||||||||
|
Черная сторона |
Красная сторона |
Среднее превышение |
Черная сторона |
Красная сторона |
Среднее превышение |
||||||||
|
Отсчеты |
Превышение |
Отсчеты |
Превышение |
Отсчеты |
Превышение |
Отсчеты |
Превышение |
||||||
|
9 |
28 |
0871 |
|
5538 |
|
|
1134 |
|
5801 |
|
|
|
|
|
|
|
43 |
|
42 |
42,5 |
|
42 |
|
41 |
41,5 |
42,0 |
|
|
|
29 |
0914 |
|
5580 |
|
|
1176 |
|
5842 |
|
|
|
|
|
|
|
|
72 |
|
73 |
72,5 |
|
73 |
|
73 |
73,0 |
72,8 |
|
|
|
30 |
0986 |
|
5653 |
|
|
1249 |
|
5915 |
|
|
|
|
|
|
|
|
43 |
|
44 |
43,5 |
|
44 |
|
45 |
44,5 |
44,0 |
|
|
|
31 |
1029 |
|
5697 |
|
|
1293 |
|
5960 |
|
|
|
|
|
|
|
|
12 |
|
13 |
12,5 |
|
12 |
|
13 |
12,5 |
12,5 |
|
|
|
31а |
1041 |
|
5710 |
|
|
1305 |
|
5973 |
|
|
|
|
|
|
Дата: 14 апреля 1966 г. |
|
|
Видимость:
удовлетворительна |
Начало: 7 час 00 мин |
|
Наблюдатель:
Гаврилов С.С. |
Конец: 7 час 50 мин |
|
Теодолит
ТБ-1, № 1846 |
|
Наименование
пункта: Театральный
|
Отсчеты по горизонтальному кругу |
Среднее |
Направления |
||||||||||
|
к.л. |
к.п. |
° |
¢ |
² |
° |
¢ |
² |
|||||
|
° |
¢ |
² |
° |
¢ |
² |
|||||||
|
|
|
|
|
|
|
|
|
|
18,8 |
|
|
|
|
Речной |
0 |
00 |
24 |
180 |
00 |
16 |
0 |
00 |
20,0 |
0 |
00 |
00,0 |
|
Травм. депо |
58 |
46 |
47 |
238 |
46 |
37 |
58 |
46 |
42,0 |
58 |
46 |
23,2 |
|
Школа |
123 |
13 |
51 |
303 |
13 |
40 |
123 |
13 |
45,5 |
123 |
13 |
26,7 |
|
Нагорный |
184 |
57 |
12 |
4 |
57 |
0,5 |
184 |
57 |
08,5 |
184 |
56 |
49,7 |
|
Хлебозавод |
241 |
04 |
03 |
61 |
03 |
55 |
241 |
03 |
59,0 |
241 |
03 |
40,2 |
|
Речной |
0 |
00 |
21 |
180 |
00 |
14 |
0 |
00 |
17,5 |
|
|
|
|
|
|
|
|
|
|
|
|
|
26,0 |
|
|
|
|
Речной |
20 |
01 |
29 |
200 |
01 |
22 |
20 |
01 |
25,5 |
0 |
00 |
00,0 |
|
Травм. депо |
78 |
47 |
57 |
258 |
47 |
49 |
78 |
47 |
53,0 |
58 |
46 |
27,0 |
|
Школа |
143 |
15 |
00 |
323 |
14 |
51 |
143 |
14 |
55,5 |
123 |
13 |
29,5 |
|
Нагорный |
204 |
58 |
15 |
24 |
58 |
07 |
204 |
58 |
11,0 |
184 |
56 |
45,0 |
|
Хлебозавод |
261 |
05 |
10 |
81 |
05 |
00 |
261 |
05 |
05,0 |
241 |
03 |
39,0 |
|
Речной |
20 |
01 |
32 |
200 |
01 |
21 |
20 |
01 |
26,5 |
|
|
|
Пункт Театральный
|
Направления |
|||||||||||||||||
|
Речной |
u |
u2 |
Травм. депо |
u |
u2 |
Школа |
u |
u2 |
Нагорный |
u |
u2 |
Хлебозавод |
u |
u2 |
[u] |
[u]2 |
|
|
I |
0°00¢00²,0 |
0,0 |
0,00 |
58°46¢23²,2 |
+3,2 |
10,24 |
123°13¢26²,7 |
+2,0 |
4,00 |
184°56¢49²,7 |
-2,3 |
5,29 |
241°03¢40²,2 |
-0,2 |
0,04 |
+2,7 |
7,29 |
|
II |
00,0 |
0,0 |
0,00 |
27,0 |
-0,6 |
0,36 |
29,5 |
-0,8 |
0,64 |
45,0 |
+2,4 |
5,76 |
89,0 |
+1,0 |
1,00 |
+2,0 |
4,00 |
|
III |
00,0 |
0,0 |
0,00 |
29,1 |
-2,7 |
7,29 |
31,2 |
-2,5 |
6,25 |
46,7 |
+0,7 |
0,49 |
41,7 |
-1,7 |
2,89 |
-6,2 |
33,44 |
|
IV |
00,0 |
0,0 |
0,00 |
27,4 |
-1,0 |
1,00 |
28,3 |
+0,4 |
0,16 |
48,3 |
-0,9 |
0,81 |
38,2 |
+1,8 |
3,24 |
+0,3 |
0,09 |
|
V |
00,0 |
0,0 |
0,00 |
25,2 |
+1,2 |
1,44 |
27,6 |
+1,1 |
1,21 |
47,1 |
+0,3 |
0,09 |
39,0 |
+1,0 |
1,00 |
+3,6 |
12,96 |
|
VI |
00,0 |
0,0 |
0,00 |
26,8 |
-0,4 |
0,16 |
28,8 |
-0,1 |
0,01 |
47,9 |
-0,5 |
0,25 |
41,8 |
-1,8 |
3,24 |
-2,8 |
7,84 |
|
Среднее направление [|u|], [u2] |
|
0,0 |
|
|
+4,4 |
|
|
+3,5 |
|
|
+3,4 |
|
|
+3,8 |
|
+9,6 |
|
|
0°00¢00²,0 |
|
|
58°46¢26²,4 |
|
|
123°13¢28²,7 |
|
|
184°56¢47²,4 |
|
|
241°03¢40²,0 |
|
|
|
|
|
|
|
0,0 |
|
- |
-4,7 |
|
|
-3,4 |
|
|
-3,7 |
|
|
-3,7 |
|
-9,0 |
|
|
|
|
|
0,00 |
|
9,1 |
20,49 |
|
6,9 |
12,27 |
|
7,1 |
12,69 |
|
7,5 |
11,41 |
|
70,62 |
|
|
m0 |
|
|
|
|
± 2²,1 |
|
|
± 1²,6 |
|
|
± 1²,6 |
|
|
± 1²,7 |
|
|
|
[åu2] = ± 56,86; å[u]2 = 70,62;
![]()
![]()
Зона
проекции Гаусса L0 = 37°30¢.
Уровенная
поверхность H0 = 175 м.
|
Координаты |
Отметки H |
Дирекционные углы |
Длины сторон |
На какой пункт |
||
|
y |
x |
|||||
|
Театральный |
18617,378 |
8643,741 |
178,623 |
41°18¢53²,2 |
1478,238 |
Речной |
|
100°05¢19²,4 |
1731,618 |
Травм депо |
||||
|
164°32¢22²,3 |
1683,575 |
Школа |
||||
|
226°15¢40²,1 |
1834,112 |
Нагорный |
||||
|
282°22¢33²,0 |
1543,271 |
Хлебозавод |
||||
|
Травм. депо |
20322,221 |
86132,408 |
185,104 |
39°19¢58²,6 |
1578,367 |
Парковый |
|
101°37¢24²,3 |
1789,727 |
Горсовет |
||||
|
204°43¢17²,0 |
1618,413 |
Школа |
||||
|
280°05¢19²,4 |
1731,618 |
Театральный |
||||
|
351°14¢36²,3 |
1867,555 |
Речной |
||||
2.01. Основная полигонометрия на поверхности
прокладывается вдоль трасс метрополитенов и тоннелей различного назначения с
целью обеспечения опорными пунктами:
а)
трассирования тоннелей;
б)
перенесения проекта сооружений в натуру;
в) сбоек
тоннелей в плане.
2.02. Основная полигонометрия прокладывается в виде сети
замкнутых полигонов или одиночных ходов между пунктами триангуляции; при этом
длины полигонометрических ходов должны быть в пределах 3 - 4 км.
Линейная привязка к пунктам триангуляции чаще чем через 3 км разрешается
при условии, если ошибки в определении пунктов триангуляции не внесут заметного
искажения в результаты полевых измерений.
2.03. Основная полигонометрия может служить в качестве
самостоятельного планового геодезического обоснования для строительства
тоннелей небольшой протяженности (до 1 км).
2.04. При проектировании, рекогносцировке и производстве
полевых измерений основной полигонометрии необходимо учитывать и соблюдать
следующее:
а) при
строительстве метрополитенов основную полигонометрию прокладывать в виде сети
замкнутых полигонов;
б) ходы
должны иметь наименьшее количество изломов и, по возможности, прокладываться
параллельно трассе. Перемычки (ходы, поперечные направлению трассы) должны
иметь минимальную длину;
в) ходы
основной полигонометрии прокладывать по возможности между пунктами
триангуляции, имеющими непосредственную взаимную связь;
г) длины
ходов между узловыми точками не должны превышать 1 км;
д) при
рекогносцировке необходимо предусматривать дополнительные передачи дирекционных
углов с пунктов триангуляции на стороны полигонометрической сети лучами значительной
длины;
е)
средняя длина линии должна быть порядка 250 м, наименьшая - не короче
150 м, наибольшая: для метрополитена - не свыше 300 м, а вне
городов - не свыше 500 м;
ж) для
метрополитенов и тоннелей длиной свыше 0,5 км относительная невязка в периметре
хода не должна превышать 1 : 30000 - 1 : 35000, а для тоннелей длиной менее 0,5
км - 1 : 20000;
з)
средняя квадратическая ошибка измеренного угла не должна превышать ± 3²;
и)
коэффициент случайного влияния при измерении линий (m) не
должен превышать ± 0,0003, а коэффициент систематического влияния
не должен быть более
0,00001;
к)
измерения углов и линий основной полигонометрии производятся дважды, в разное
время и в различных условиях. Вторые наблюдения рекомендуется производить
другими наблюдателями и инструментами.
2.05. На участках строительства метрополитена открытым
способом основная полигонометрия прокладывается в соответствии с рекомендациями
п. 2.04.
Для
обеспечения разбивочных работ производится сгущение сети ходами с длинами
сторон порядка 50 - 70 м.
При
закладке знаков должна быть предусмотрена сохранность их на протяжении
строительства, для чего рекогносцировщик должен детально изучить проект
организации работ по сооружению тоннелей.
При
измерении углов и линий по ходам сгущения руководствуются допусками,
установленными для подходной полигонометрии (см. пп. 3.10 и 3.11).
2.06. Проект основной полигонометрии для строительства
метрополитенов и тоннелей составляется на имеющихся планах (а при их отсутствии
- на схеме, составленной в результате общей рекогносцировки) с нанесением на
них запроектированной трассы, стволов, порталов и строительных площадок.
2.07. При составлении проекта основной полигонометрии
необходимо учитывать последующее развитие сети метрополитена.
2.08. При составлении проекта основной полигонометрии должна
быть предусмотрена наиболее простая и удобная связь полигонометрии с
триангуляцией (или с тоннельной полигонометрией, проложенной взамен
триангуляции) и намечены системы и способы уравновешивания.
2.09. При детальной рекогносцировке окончательно устанавливаются
места постановки полигонометрических знаков, с учетом подземных коммуникаций.
2.10. Визирный луч должен проходить не ниже 0,5 м
над поверхностью земли и не ближе 0,5 м от боковых предметов.
2.11. В результате рекогносцировки составляется окончательная
схема расположения полигонометрических знаков, а в случае необходимости -
пояснительная записка.
2.12. Полигонометрические знаки, в зависимости от
места их постановки, могут применяться различных типов. Независимо от
выбранного типа полигонометрический знак должен удовлетворять следующим
основным условиям:
а) иметь
вполне определенную точку, принимаемую за центр знака;
б) должен
быть прочен и устойчив;
в) удобен
для производства угловых и линейных измерений.
2.13. Для незастроенной территории полигонометрическими
знаками могут служить рельсы (рис. 2.1) или
металлические трубы с якорем, забетонированные ниже глубины промерзания грунта,
а также бетонный монолит с металлическим стержнем. В застроенных районах
применяются знаки типа, показанного на рис. 2.2, а также
марки, закрепленные в бетонном основании мостовой или в бортовом камне.
Разрешается использовать ободки смотровых колодцев.
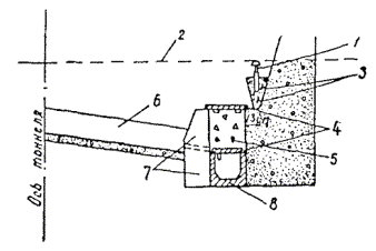
Рис. 2.1. Закрепление
капитального грунтового полигонометрического знака
1 - центр знака, отверстие Æ = 2 мм с медной
расчеканкой, 2 - рельс. Размеры указаны в миллиметрах
Рис. 2.2.
Закрепление капитального грунтового полигонометрического знака с колпаком
1 - центр знака, отверстие Æ = 2 мм с медной
расчеканкой; 2 - металлический стержень Æ = 40 мм. Размеры
указаны в миллиметрах
2.14. После закладки полигонометрического знака
производится привязка его к местным предметам; составляется исполнительная
схема заложенных знаков, а также альбом привязок с указанием типа знаков.
2.15. Для измерения углов основной полигонометрии
применяются оптические теодолиты типа Т-2 (ОТО, ТБ-1 и им равноточные).
Инструменты, не имеющие заводского паспорта, исследуются. В процессе работ они
должны систематически проверяться; особое внимание необходимо уделять
тщательной выверке оптического центрира.
2.16. Измерение углов производится способом круговых
приемов четырьмя приемами, с перестановками лимба через 45°, при этом два приема
наблюдаются при одном положении оптического центрира, а два другие - при
центрире, повернутом на 180°.
Каждому
изменению положения центрира инструмента должна соответствовать новая
центрировка визирных марок с поворотом их на 180°.
Примечание. При работе
инструментами, оптический центрир которых встроен в алидаду, перецентрирование
теодолита не производится.
2.17. Для исключения влияния рена на результаты
измерений обязательно использование всего интервала барабана оптического
микрометра (см. п. 1.27).
2.18. Особое внимание при измерении углов необходимо
обращать на тщательную центрировку угломерных инструментов и визирных марок.
Ошибка
центрирования не должна превышать ± 0,8 мм.
2.19. При угловых измерениях на станциях, с числом
направлений более двух в местах интенсивного уличного движения разрешается
производить измерение отдельных углов с выводом невязки горизонта.
Предельная
невязка в сумме углов по горизонту fb не должна превышать величины, определяемой формулой
![]()
где m¢b -
средняя квадратическая ошибка собственно измерения угла;
п¢ - число
углов.
2.20. В случае утраты взаимной видимости между ранее
закреплёнными полигонометрическими знаками производится измерение углов
внецентренным способом.
2.21. При измерении углов внецентренным способом
необходимо руководствоваться нижеследующим:
а) при
длинах линий больших 200 м можно смещать инструмент с центра знака в
любом направлении;
б) при
вытянутом ходе и длинах линий от 150 до 200 м следует смещать инструмент
под углом не более 45° к направлению хода;
в) при
измерении углов, близких к 90°, следует смещать инструмент примерно по створу
короткой стороны;
г) на
узловых точках инструмент смещается примерно по створу самой короткой стороны;
д)
смещение инструмента от центра полигонометрического знака не должно превышать
20 м;
е)
линейный элемент центрировки е измеряется стальной компарированной
рулеткой со средней ошибкой не более 1 мм;
ж)
угловой элемент центрировки Q измеряется двумя полными круговыми приемами.
В полевом
журнале тщательно зарисовывается расположение инструмента по отношению к центру
полигонометрического знака и к измеряемым направлениям.
2.22. Колебания приведенных к нулю направлений в
отдельных приемах и расхождения замыкающих отсчетов на начальное направление не
должны превышать ± 8².
2.23. Допустимая угловая невязка fb в отдельном ходе или замкнутом полигоне не должна
превышать величины, определяемой формулой
![]()
где mb - средняя квадратическая ошибка измерения угла;
п - число
измеренных углов в ходе или полигоне.
2.24. Измерение углов при определении неприступных
расстояний и при снесении координат с пунктов триангуляции производится с той
же точностью, что и при измерении углов основной полигонометрии. Особое
внимание обращается на поверку основной оси вращения инструмента.
При
измерении наклонных направлений необходимо вводить поправки за отклонение от
вертикали основной оси вращения инструмента (см. п. 1.23).
2.25. При наличии интенсивного уличного движения или
неспокойных изображений рекомендуется измерение полигонометрии производить в
ночное время.
2.26. По окончании угловых измерений составляется схема,
на которую выписываются значения всех измеренных углов и невязки.
2.27. Линии основной полигонометрии измеряются инварными
проволоками на весу по штативам или кольям с постоянным натяжением в 10 кг
при помощи блочных станков и грузов, подвешиваемых на концах проволок. Остатки
линий измеряются компарированной рулеткой. Для тоннелей небольшой протяженности допускается производить
измерение линий стальными компарированными рулетками на весу с постоянным
натяжением.
2.28. Измерение линий проволоками или стальными
рулетками производится в прямом и обратном направлениях.
2.29. До начала работ и по окончании их проволоки должны
быть прокомпарированы на стационарном компараторе.
2.30. В период полевых работ при измерении линий
проволоки компарируются на полевом компараторе не реже одного раза в декаду.
2.31. При отсутствии полевого компаратора проволоки
сравниваются с двумя нормальными проволоками (не участвующими в работе). Длина
проволоки в результате компарирования должна быть определена со средней
квадратической ошибкой не более ± 0,15 мм.
Пример
обработки результатов компарирования рабочей проволоки на полевом компараторе с
контрольным измерением его длины двумя нормальными проволоками приведен в
приложении 2-1.
2.32. Стальные рулетки, применяемые при измерении линий,
компарируются не реже одного раза в два месяца.
2.33. Установка целиков штативов или кольев в створе
измеряемой линии производится с помощью теодолита. Предельная ошибка вешения
определяется по формуле
![]()
где S - длина мерного прибора;
Т -
знаменатель предельной относительной точности полигонометрического хода.
При S = 24 м и
b
= ± 28 мм
» ± 3 см.
Расстановка
штативов или кольев вдоль линии производится с помощью троса с точностью ± 3 см.
2.34. Температура воздуха при работе с инварными
проволоками измеряется через 2 пролета, а при пользовании стальной рулеткой -
на каждом пролете и отсчитывается до 1°. Термометр должен находиться в
одинаковых условиях с мерным прибором.
2.35. На пролете производится три пары отсчетов.
Наибольшие расхождения разностей отсчетов (П-З) по шкалам проволоки не должны
превышать 0,5 мм.
Запись
результатов измерений линий производится в журнале линейных измерений по форме,
приведенной в приложении 2-2.
2.36. Расхождение в длине пролета, измеренного в прямом
и обратном направлениях, после введения поправок за температуру не должно
превышать 0,5 мм.
2.37. Относительная ошибка измерения линии, полученная
по результатам расхождения прямого и обратного ходов, не должна превышать 1 :
70000.
При
длинах линий менее 200 м расхождение в результатах измерения прямого и
обратного ходов не должно превышать 3 мм.
Примечание. При измерении линий в
обратном направлении лотаппараты необходимо поворачивать на 180°.
2.38. Для определения поправок за наклон мерного прибора
производится нивелирование целиков штативов или кольев по двусторонним рейкам -
при одном горизонте, по односторонним рейкам - при двух горизонтах.
2.39. Точность определения превышений целиков штативов
или кольев 24-метровых пролетов определяется по формуле
![]()
где l - длина мерного прибора;
h - превышение на пролете;
Т -
знаменатель предельной относительной точности полигонометрического хода;
n - число уложений мерного прибора в линии.
Так,
погрешность определения превышений каждого из 24-метровых пролетов для линий
длиной 300 м и T = 30000 не должна превышать:
а) ± 5,5 мм
при превышениях не более 1 м;
б) ± 3 мм
при превышениях от 1 до 2 м;
в) ± 2 мм
при превышениях от 2 до 3 м;
г) ± 1,5 мм
при превышениях от 3 до 4 м.
2.40. Длинные стороны разрешается измерять по секциям,
которые должны быть связаны между собой не менее чем двумя общими пролетами.
2.41. Базисы при определении неприступного расстояния
измеряются с той же точностью, что и линии основной полигонометрии.
2.42. Разрешается производить в необходимых случаях
косвенные определения линий с обеспечением точности, принятой в основной
полигонометрии.
2.43. В том случае, когда непосредственное измерение
расстояний до центра пункта триангуляции невозможно, привязка
полигонометрических ходов производится методом снесения координат. Схема
снесения должна иметь не менее двух непосредственно измеренных базисов, каждый длиной,
примерно равной неприступному расстоянию до пункта триангуляции.
2.44. Расположение базисов в схеме снесения (рис. 2.3) должно
быть выбрано с таким расчетом, чтобы углы треугольников, противолежащие базисам,
были не менее 40° и не более 140°.
2.45 Передача дирекционного угла с пунктов триангуляции
на стороны основной полигонометрии должна производиться при длине визирного
луча не менее 400 м.
Рис. 2.3. Схема снесения координат. Длины
сторон указаны в м
2.46. Если для измерения углов на пункте триангуляции
необходимо спроектировать центр знака, то эта работа выполняется тщательно
выверенным теодолитом с трех постановок инструмента с расчетом получения
проектировочных плоскостей под углами 120°, но не менее 45°.
Проектирование
производится при двух кругах. Треугольник погрешностей не должен иметь медиан
более 5 мм.
2.47. Измерение углов на пункте триангуляции для
снесения координат производится четырьмя круговыми приемами с измерением не
менее двух направлений на пункты триангуляции.
Невязки в
треугольниках не должны превышать ± 10².
2.48. При внецентренном стоянии инструмента на пункте
триангуляции измерение элементов центрировки должно быть выполнено дважды с
ошибкой линейного элемента не более ± 1 мм. При небольшой величине линейного
элемента определение элементов центрировки может быть выполнено графически.
2.49. При наличии редукции элементы ее измеряются так
же, как и элементы центрировки.
2.50. Обработка результатов угловых и линейных измерений
производится по правилам, изложенным в разделе Е настоящей главы.
2.51. Для целей уравновешивания произведенных измерений
при снесении координат составляется схема, на которой выписываются величины
измеренных углов, длины линий и полученные угловые невязки в фигурах.
2.52. При схеме снесения, состоящей из двух
треугольников, общая сторона этих треугольников вычисляется отдельно по каждому
треугольнику (с предварительным распределением угловых невязок поровну на три
угла).
2.53. Расхождение в вычисленных значениях неприступного
расстояния из двух треугольников не должно превышать 1 : 25000. При упрощенных
вычислениях из полученных результатов неприступного расстояния берется среднее
значение, которое используется для вычисления координат.
2.54. При неблагоприятной форме треугольников
рекомендуется произвести строгое уравновешивание снесений координат с
получением поправок как в измеренные углы, так и в длины базисов.
В
процессе уравновешивания необходимо произвести оценку точности снесения
координат.
2.55. Журналы измерений углов, линий и нивелирования
целиков должны быть обработаны в две руки. Средние значения результатов
выписываются в журналах чернилами.
2.56. Поправки за центрировку и редукцию при угловых
измерениях вычисляются в две руки.
2.57. По окончании обработки журналов линейных измерений
производится вычисление длин линий с введением всех поправок (см. приложение 2-3).
2.58. Поправки за проектирование на принятую уровенную
плоскость вводятся в длины линий в тех случаях, когда они превышают 1 : 150000
длины линии; при их вычислении пользуются формулой, приведенной в п. 1.39.
Для
редуцирования длин линий на плоскость проекции Гаусса пользуются формулой,
указанной в п. 1.38.
2.59. Вычисление всех поправок в измеренные линии
производится до 0,1 мм. Окончательная длина линии округляется до 1 мм.
2.60. Вычисление длин линий производится на бланках
(ведомостях) в две руки; расхождение результатов вычислений не должно превышать
0,4 мм.
2.61. По окончании обработки полевых журналов,
вычисления длин линий и редуцирования их на принятый горизонт составляется
схема ходов с указанием на ней окончательных значений углов, длин линий и
угловых невязок фигур. Затем производят оценку точности угловых измерений по
формуле

где mb -
средняя квадратическая ошибка измеренного угла;
fb -
угловая невязка в полигоне или ходе;
п¢ - число
углов в полигоне или ходе;
N - число
полигонов и ходов.
Пример
оценки точности угловых измерений приводится в приложении 2-4.
Оценка
точности линейных измерений производится по разностям двойных измерений.
Коэффициент
влияния случайных ошибок на 1 м длины вычисляется по формуле

где
р - вес - величина, обратная длине линии
;
К -
произвольно выбранный коэффициент;
п - число
линий, включенных в оценку точности;
d1 -
вычисляется по формуле
![]()
где l -
коэффициент остаточного систематического влияния линейных измерений;
d - разности между значениями длин линий из двух
разновременных измерений (см. пп. 2.04, к).
Пример
оценки точности приведен в приложении 2-5.
2.62. Уравновешивание полигонометрической сети
производится раздельно: сначала уравновешиваются угловые измерения с
вычислением вероятнейшего значения дирекционных углов линий при узловых точках,
а затем уравновешиваются приращения координат с вычислением окончательных
координат узловых точек. После этого производится уравновешивание одиночных
ходов сети между узловыми точками.
2.63. За веса дирекционных углов узловых линий
принимаются величины, обратно пропорциональные числу измеренных углов хода; за
веса координат - величины, обратно пропорциональные квадрату средней
квадратической предвычисленной ошибки в положении конечной точки хода,
рассчитываемой отдельно для вытянутых и ломаных ходов при значениях:
m =
0,0003; l =
0,00001; mb = ± 3².
2.64. При уравновешивании полигонометрическая сеть
разбивается на отдельные секции, привязанные к пунктам триангуляции. Уравновешивание
выполняется по отдельным секциям, при этом в каждой секции совместно решаются
все возникающие условия по способу профессора В.В. Попова.
2.65. При величине относительной невязки в
полигонометрическом ходе менее 1 : 50000 разрешается производить
уравновешивание ходов упрощенным методом: угловая невязка распределяется
поровну на все углы, а невязка в суммах приращений координат - пропорционально
длинам сторон с последующим вычислением поправок в дирекционные углы и меры
линий.
2.66. Если относительная невязка в полигонометрическом
ходе более 1 : 50000, необходимо произвести уравновешивание хода по способу
наименьших квадратов. Для вытянутых ходов при уравновешивании возможно
применение таблиц.
Полигонометрический
ход считается вытянутым, если направление линий этого хода отклоняется от
направления замыкающей в пределах 24° и если данный ход располагается вблизи
замыкающей, отклоняясь от нее в ту или другую сторону не более чем на 1¤8 ее
длины.
2.67. В особо ответственных местах, уравновешивание секций
производится строгим способом при совместном уравновешивании угловых и линейных
измерений.
2.68. При уравновешивании дирекционные углы вычисляются
до 0²,1;
приращения координат и координаты - до 0,1 мм. В каталоги выписываются
уравновешенные значения:
а)
дирекционных углов - с округлением до 1²;
б) линий
- с округлением до 1 мм;
в)
координат - с округлением до 1 мм.
Форма
каталога координат полигонометрических знаков приводится в приложении 2-6.
2.69. После окончания уравновешивания производится
оценка точности полигонометрической сети по уравновешенным данным. Определяется
средняя квадратическая ошибка угла по формулам:
а) при
уравновешивании способом узловых точек проф. В.В. Попова

где fb -
угловые невязки ходов;
п¢ - число
углов в ходе;
N - число всех ходов;
К - число
узловых точек в системе;
б) при
уравновешивании способом полигонов проф. В.В. Попова

где åub -
суммарные поправки углов по ходам между узловыми точками;
п¢ - число
углов в ходе;
r - число уравнении в системе.
2.70. Вычисляются средние ошибки координат на один
километр хода уравновешенной полигонометрической сети по формулам:

где dy и dx -
поправки в приращения координат, полученные в ходах между узловыми
точками;
l - длины ходов, выраженные в километрах;
r - число условных уравнений в сети.
Средняя
квадратическая ошибка абсолютного смещения хода на 1 км определяется
формулой
![]()
2.71. Составляется таблица, характеризующая полученную
точность полигонометрии для каждого хода, по форме табл. 2-1.
Таблица 2-1
|
№ конечных точек хода |
Длина хода в метрах |
fy |
fx |
fs |
|
|
|
в миллиметрах |
||||||
|
1 |
3642 - 5027 |
316 |
+8 |
-1 |
8 |
1 : 39000 |
|
2 |
4137 - 5932 |
895 |
-5 |
+9 |
10 |
1 : 89000 |
|
3 |
3059 - 4879 |
735 |
+3 |
-18 |
18 |
1 : 41000 |
2.72. По окончании полевых и вычислительных работ
составляется подробный технический отчет, в котором должны быть даны:
а)
описание условий рекогносцировки;
б)
характеристика частоты и способов привязки к пунктам триангуляции;
в)
характеристика заложенных знаков, их распределение по типам, данные об
использованных знаках городской полигонометрии;
г)
перечень применявшихся инструментов, описание методики угловых и линейных
измерений и результаты оценки их точности;
д)
описание методики уравновешивания сети и результаты вычислений (угловые
невязки, невязки в координатах и относительные);
е) оценка
точности окончательных результатов, соответствие их техническим требованиям.
2.73. Если основная полигонометрия является
самостоятельной основой для строительства тоннелей, в отчете должны быть
приведены также:
а)
расчетное обоснование принятого способа работ;
б) анализ
точности исходных данных;
в)
обоснование принятых зоны проекций Гаусса и уровенной плоскости.
Здесь же
должны быть даны указания о введении поправок в элементы подходной и подземной
полигонометрии;
г) общее
заключение о пригодности исполненной полигонометрии для обеспечения требуемой
точности всех горностроительных работ и особенно точности сбоек встречных
тоннелей.
2.74. В открытой пересеченной местности проложение
основной полигонометрии рекомендуется заменять построением аналитической сети.
2.75. Аналитические сети строятся в виде цепей или сетей
треугольников, опирающихся на пункты тоннельной триангуляции или тоннельной
полигонометрии.
Разрешается
вставка одиночных пунктов для передачи координат в порталы, стволы, боковые
штольни, скважины и т.д.
2.76. Аналитические сети должны опираться не менее чем
на два базиса, измеряемые со средней относительной ошибкой 1 : 100000. Как
правило, в качестве базисов используются специально измеренные стороны
аналитической сети. В отдельных случаях базисами могут служить стороны
тоннельной триангуляции или тоннельной полигонометрии.
Разрешается
также прокладка аналитической цепи треугольников между двумя «твердыми»
пунктами (тоннельной триангуляции или тоннельной полигонометрии) без измерения
базисов или с измерением одного, контрольного базиса.
2.77. Возможно сочетание аналитической сети с ходами
основной полигонометрии (применительно к условиям местности). В этом случае
базисами аналитической сети могут служить стороны основной полигонометрии.
2.78. При сооружении тоннелей небольшой протяженности,
до 1 км, плановым геодезическим обоснованием может служить свободная
аналитическая сеть.
2.79. Длины сторон треугольников должны находиться в
пределах от 600 до 300 м.
Количество
треугольников между базисами не должно быть более десяти, а при использовании в
качестве базисов сторон основной полигонометрии - не более пяти. Углы в
треугольниках должны быть в пределах 30 - 120°.
При
неблагоприятной форме треугольников намечается измерение диагональных
направлений.
2.80. Знаки аналитической сети закладываются по типу
знаков основной полигонометрии.
2.81. При измерении горизонтальных направлений
аналитической сети руководствуются указаниями раздела В
настоящей главы.
Угловые
измерения в аналитической сети должны производиться дважды, в разное время и в
различных условиях. Если количество треугольников между базисами не превышает
пяти, разрешается однократное измерение горизонтальных направлений.
Угловые
невязки в треугольниках не должны превышать ± 10², а при однократном измерении ± 12².
2.82. Измерение базисов производится по правилам,
установленным для измерения линий основной полигонометрии (см. раздел Г
настоящей главы). Измерение базисов производится дважды, в разное время.
Если
количество треугольников между базисами не превышает пяти, разрешается
однократное измерение базисов.
2.83. Уравновешивание аналитической сети производится
методами условных и посредственных измерений. Для небольшой цепи треугольников
разрешается применение упрощенных способов уравновешивания.
2.84. По окончании полевых и вычислительных работ
составляется технический отчет в соответствии с указаниями п. 2.72.
Пример. Компарирование 27 мая 1966 года.
По
результатам обработки измерений полевого компаратора нормальными проволоками
длина его равна:
по проволоке № 1175.............................................................. 192,0271
по проволоке № 1170.............................................................. 192,0259
среднее.................................. 192,0265
По
результатам измерений компаратора рабочей 24-метровой проволокой № 345 длина
его (выведенная без учета поправок за компарирование проволоки, т.е. исходя из
ее номинальной длины) получилась равной 192,0296.
Число
пролетов n = 8.
Результаты
измерений приведены к
= +20 °С.
Разность D = 192,0265 -
192,0296 = -0,0031 = -3,1 мм. Поправка к
номинальной длине рабочей проволоки № 345 равна
![]()
Уравнение
проволоки № 345 на 27 мая 1966 года: L = 24 м - 0,4 мм при
= +20 °С.
Число, месяц
и год: 7 марта 1966 г.
|
Линия 1072 - 1073 |
|
|
2.
Петрова |
Проволока № 345 |
Записывающий
Сидоров
|
Прямо |
Обратно |
|||||
|
П |
З |
П-З |
П |
З |
П-З |
|
|
1072-1 |
449 |
102 |
+347 |
482 |
140 |
+342 |
|
546 |
201 |
+345 |
562 |
217 |
+345 |
|
|
584 |
240 |
+344 |
630 |
287 |
+343 |
|
|
|
|
+34,5 |
|
|
+34,3 |
|
|
t° = +2 °С |
t° = +2 °С |
|||||
|
1-2 |
398 |
117 |
+281 |
528 |
246 |
+282 |
|
531 |
253 |
+278 |
601 |
319 |
+282 |
|
|
618 |
341 |
+277 |
680 |
399 |
+281 |
|
|
|
|
+27,9 |
|
|
+28,2 |
|
Отсутствуют
страницы 48 и 49
|
№ пп |
№ линий |
S1 (м) |
S2 (м) |
d = S1 - S2 (мм) |
lS (мм) |
d1 = S1 - lS (мм) |
d12 |
p = 1000 / S |
pd12 / 1000 |
|
1 |
635 - 636 |
170,3464 |
,3419 |
+4,5 |
-0,3 |
+4,8 |
23,04 |
5,9 |
0,1477 |
|
2 |
636 - 637 |
202,0131 |
,0174 |
-4,3 |
-0,3 |
-4,0 |
16,00 |
5,0 |
0,0800 |
|
3 |
637 - 638 |
230,4470 |
,4511 |
-4,1 |
-0,4 |
-8,7 |
13,69 |
4,3 |
0,0589 |
|
4 |
638 - 639 |
245,6263 |
,6210 |
+5,3 |
-0,4 |
+5,7 |
32,49 |
4,1 |
0,1332 |
|
5 |
639 - 640 |
191,4070 |
,4045 |
+2,5 |
-0,3 |
+2,8 |
7,84 |
5,2 |
0,0408 |
|
6 |
640 - 642 |
233,3470 |
,3509 |
-3,9 |
-0,4 |
-3,5 |
12,25 |
4,3 |
0,0527 |
|
7 |
624 - 625 |
208,5561 |
,5589 |
-2,8 |
-0,4 |
-2,4 |
6,70 |
4,8 |
0,0276 |
|
... |
... |
... |
... |
... |
... |
... |
... |
... |
... |
|
48 |
702 - 703 |
245,4180 |
,4142 |
+3,8 |
-0,4 |
+4,2 |
17,64 |
4,1 |
0,0723 |
|
49 |
704 - 705 |
220,5050 |
,5062 |
-1,2 |
-0,4 |
-0,8 |
0,64 |
4,5 |
0,0019 |
|
50 |
705 - 706 |
225,4970 |
,4999 |
-2,9 |
-0,4 |
-2,5 |
6,25 |
4,4 |
0,0275 |
|
51 |
706 - 707 |
199,4185 |
,4204 |
-1,9 |
-0,3 |
-1,6 |
2,56 |
5,0 |
0,0128 |
|
|
|
10569 |
|
-18,1 |
|
-0,2 |
697,05 |
|
3,8694 |

![]()
|
№ пунктов |
Координаты |
Дирекционные углы |
Длины линий |
На какой пункт |
|
|
y |
x |
||||
|
13037 |
31128,612 |
7724,948 |
49°34¢47² |
203,238 |
13038 |
|
|
|
|
142°39¢06² |
151,314 |
13049 |
|
|
|
|
224°57¢22² |
222,352 |
13036 |
|
13038 |
31283,338 |
7856,725 |
55°56¢54² |
243,045 |
13039 |
|
|
|
|
229°34¢47² |
203,238 |
13037 |
|
13039 |
31484,709 |
7992,816 |
49°47¢07² |
206,897 |
13040 |
|
|
|
|
235°56¢54² |
243,045 |
13038 |
|
33040 |
31642,702 |
8126,400 |
50° 17¢14² |
224,607 |
13041 |
|
|
|
|
229°47¢07² |
206,897 |
13039 |
|
|
|
|
320°14¢24² |
136,212 |
13031 |
3.01. В целях обеспечения исходными знаками производства
ориентирования подземных выработок, а также для различных разбивок и съемок
строительных площадок прокладывается подходная полигонометрия.
3.02. Подходная полигонометрия должна, как правило,
представлять собой систему ходов или замкнутых полигонов, опирающихся не менее
чем на два знака основной полигонометрии.
3.03. При прокладке подходной полигонометрии в виде
одиночного хода между двумя знаками основной полигонометрии измерения
рекомендуется производить дважды, в разное время.
3.04. Длины отдельных ходов или полигонов в подходной
полигонометрии не должны превышать 300 м. Подходная полигонометрия
должна иметь минимальное число углов поворота, а длины сторон ее не должны быть
менее 30 м.
3.05. На строительных (шахтных) площадках
полигонометрические знаки закладываются в местах, обеспечивающих их
сохранность. Знак у ствола шахты закладывается с расчетом получения
наивыгоднейшей формы соединительного треугольника при производстве
ориентирования подземных выработок.
3.06. Места для закрепления знаков должны обеспечивать
удобную установку угломерных инструментов и визирных марок. Визирные лучи
должны проходить не ближе чем на 0,3 м от местных предметов и
поверхности земли.
3.07. Знак подходной полигонометрии представляет собой
металлический штырь диаметром 2 - 3 см или отрезок рельса длиной 0,4 -
0,5 м, бетонируемый в яме с поперечным сечением 0,5´0,5 м
и глубиной от 0,5 до 1,0 м. В центре штыря или рельса просверливается отверстие
диаметром 1 - 2 мм. Разрешается закреплять знаки на ободках смотровых
колодцев подземных коммуникаций (водопровод, канализация, связь и др.); центр
знака на колодцах оформляется так же, как на штырях или рельсах.
3.08. Местоположения заложенных знаков зарисовываются в абрис, а центры их привязываются линейными
промерами к постоянным предметам местности.
3.09. Угловые измерения выполняются инструментами и
способами, указанными в главе 2 (пп. 2.15 - 2.19). Особое
внимание обращается на тщательность центрировки теодолита и марок. В
необходимых случаях, при наличии коротких сторон, применяют метод передачи
дирекционного угла путем одновременной постановки двух-трех теодолитов (см. п. 9.32).
3.10. При измерении углов устанавливаются следующие
допуски:
а)
расхождение двух отсчетов на замыкающее направление в полуприеме не должно
превышать ± 8²;
б)
колебания приведённых к нулю направлений в отдельных приемах не должны
превышать ± 10², а при коротких сторонах (30 - 40 м) ±
15²;
в)
угловая невязка в замкнутых полигонах или в ходах между твердыми дирекционными
углами не должна превышать
, где п¢ - число измеренных углов в полигоне или ходе.
3.11. Линии подходной полигонометрии измеряются
компарированной стальной рулеткой по штативам, в соответствии с указаниями пп. 2.27 - 2.35, 2.38, 2.39.
Относительная разность прямого и обратного измерений линии компарированной
рулеткой не должна превышать 1 : 20000; при коротких линиях расхождения между
результатами прямого и обратного измерений не должны быть более 3 мм.
3.12. Не ранее чем за 3 дня до ориентирования шахты
заново производятся угловые и линейные измерения подходной полигонометрии. При
привязке подходного хода к знаку основной полигонометрии для контроля
измеряются все направления и линии на смежные с ним твердые знаки.
3.13. Передача дирекционного угла на приствольную линию,
служащую исходной при ориентировании, производится, как правило, с пунктов
триангуляции через длинные стороны; при этом могут быть использованы
вспомогательные точки, как на поверхности земли, так и на крышах высоких
зданий. Дирекционный угол, переданный с пунктов триангуляции на приствольную
линию, сравнивается с дирекционным углом, переданным на эту линию:
со стороны основной полигонометрии.
3.14. Вычисление координат знаков подходных
полигонометрических ходов производится методом раздельного уравновешивания.
Относительная невязка в периметре хода не должна превышать 1 : 20000; при
коротких ходах абсолютная невязка должна быть не более 10 мм.
4.01. Для создания высотной геодезической основы на
поверхности при строительстве метрополитена, а также при сооружении
внегородских тоннелей протяженностью свыше 2 км (а в горной местности -
свыше 1 км) производится нивелирование II класса.
4.02. Нивелирование II класса базируется на марках и реперах городского
нивелирования I и II классов и представляет собою сеть замкнутых
полигонов, охватывающую полосу шириной не менее пятикратной глубины заложения
тоннелей, примерно симметричную относительно оси трассы.
При
строительстве внегородских тоннелей высотная основа должна опираться на марки и
реперы государственного нивелирования I и II классов.
4.03. Нивелирные опорные ходы III класса прокладываются:
а) для
передачи отметок к стволам, скважинам и предпортальным выработкам;
б) для
обеспечения высотной основой тоннелей, сооружаемых открытым способом работ;
в) для
сгущения высотной основы II класса в
районе наблюдений за деформацией поверхностных сооружений;
г) как
самостоятельная высотная основа при строительстве тоннелей протяженностью не
свыше 2 км, а в горной местности - не свыше 1 км.
Нивелирные
опорные ходы III класса
прокладываются в прямом и обратном направлениях.
4.04. Нивелирные ходы III класса прокладываются между реперами II класса и реперами опорных ходов III класса и служат главным образом для определения
отметок деформационных реперов.
Нивелирные
ходы III класса прокладываются в
одном направлении.
4.05. Проект нивелирной сети для строительства
метрополитена составляется на плане. На этот план предварительно наносят проект
трассы, а также все реперы и марки городского нивелирования, расположенные в
районе трассы. При строительстве внегородских тоннелей, кроме проекта трассы,
наносятся марки и реперы государственного нивелирования.
4.06. При составлении проекта нивелирной сети для
строительства метрополитенов следует руководствоваться следующими положениями:
а)
расстояние между марками и реперами, определенными нивелированием высших
разрядов, должно быть не более 2 км;
б) длины
ходов между узловыми реперами не должны превышать 1 км;
в)
расстояние между реперами должно быть не более 200 м, а в
малозастроенной части - не более 300 м.
г) около
строительных площадок, а также в районах сложных узлов строительства расстояния
между реперами уменьшаются до 100 м. Составленный проект нивелирной сети
уточняется рекогносцировкой в натуре.
4.07. При строительстве внегородских тоннелей в качестве
реперов используются как специально заложенные знаки, так и пункты триангуляции
и основной полигонометрии. Если вблизи трассы имеются здания и сооружения, в
них закладываются стенные реперы.
В районах
строительных площадок, стволов, порталов и боковых штреков-штолен должно быть
закреплено не менее двух знаков высотной основы.
4.08. Стенные реперы закладываются в стенах зданий или
устоях инженерных сооружений не менее чем за три дня до начала нивелирования.
Грунтовые
реперы закрепляются по типу полигонометрических знаков (см. рис. 2.1).
Местоположения
заложенных реперов зарисовываются, привязываются и наносятся на план.
4.09. Для производства нивелирования II класса применяются:
а)
нивелиры типа Н-1, Н-2, НС2 (НБ-1, НА-1 и им равноточные);
б) рейки
с инварной полосой и круглыми уровнями.
4.10. Перед началом полевых работ нивелир должен быть
исследован, а рейки прокомпарированы.
4.11. Величина ktg i определяется путем двойного нивелирования перед
началом работ и ежедневно в первые дни работы. При постоянстве этой величины
она в дальнейшем может определяться один раз в три дня. После каждого
исправления положения оси уровня величина ktg i определяется заново.
4.12. При нивелировании рейки ставятся на башмаки или
специальные штыри, забиваемые в грунт или твердое покрытие проездов или
тротуаров. Стенные или грунтовые реперы, как правило, нивелируются
промежуточными взглядами.
Во время
отсчета рейки в вертикальное положение устанавливаются по круглому уровню.
Правильность уровней ежедневно проверяется по отвесу.
4.13. Нивелирование между марками и реперами производится
в прямом и обратном направлениях. Нормальным расстоянием между инструментом и
рейками считается 65 м. Визирный луч не должен проходить ниже 0,5 м
над поверхностью земли. При расстоянии от инструмента до реек не свыше 30 м
высота визирного луча допускается до 0,3 м.
4.14. Неравенство расстояний от нивелира до реек
допускается не более 1 м. Сумма неравенств в ходе между реперами не
должна превышать 2 м.
4.15. Нивелирование ведется в часы спокойных и
отчетливых изображений. При ясной солнечной погоде нивелирование производится
примерно с 6 до 10 час и с 15 час с прекращением работ за 1 - 1,5
часа до захода солнца. В пасмурную погоду продолжительность работ может
быть увеличена.
4.16. Во время работы на станции и при переносе на
следующую станцию нивелир защищается зонтом от действия солнечных лучей.
Во время
работ особое внимание должно быть обращено на охрану и устойчивость штатива и
башмаков под рейками.
4.17. Привязка нивелирных ходов к маркам производится с
помощью подвесной рейки с зарисовкой в журнале ее положения и расположения
проекций нитей сетки инструмента.
4.18. Нивелирование II класса производится способом совмещения. Разность
превышений, полученная из отсчетов по основной и дополнительной шкалам реек, не
должна превышать 0,7 мм (15 делений отсчета барабана).
4.19. Порядок работ и контроль на станции производится в
соответствии с указаниями Инструкции ГУГК по нивелированию.
4.20. Допустимые расхождения в превышениях между прямым и обратным ходами, а также невязки в полигонах
или ходах, опирающихся на марки и реперы I и II классов,
определяются по формуле:
![]()
где L - число километров.
В горной
местности допустимая невязка определяется по формуле
![]()
где n - число штативов в
ходе.
4.21. При получении невязки хода больше установленной в
п. 4.20 нивелирование на этом участке повторяется в одном,
менее надежном направлении.
Если
результаты повторного нивелирования будут отличаться от результатов
первоначального, прямого и обратного нивелирования не более полуторного допуска
(
), то за окончательное превышение принимается среднее из трех
превышений. При больших расхождениях нивелирование повторяется заново в прямом
и обратном направлениях.
4.22. Оценка точности результатов нивелирования
производится:
а) по
невязкам в полигонах и ходах между марками и реперами.
Средняя
квадратическая случайная ошибка нивелирования определяется по формулам:
![]()
где fh - невязка полигона (хода);
п - число
штативов полигона (хода);
N - число
полигонов (ходов);
[L] - общая протяженность полигонов (ходов).
Пример
оценки точности нивелирования приводится в приложении 4-1;
б) по разностям
превышений, полученных из двойного нивелирования ходов.
Средняя
квадратическая случайная ошибка на 1 км хода

где D -
величины разностей превышений из двойного нивелирования ходов;
L - длины ходов;
N - число
ходов;
в) после
уравновешивания вычисляется средняя квадратическая ошибка на 1 км хода
по формуле
![]()
где р - вес хода;
d -
поправка хода;
N - число
нивелирных ходов;
r - число
узловых точек.
4.23. Средняя квадратическая ошибка на 1 км хода
не должна превышать ± 1,0 мм, а на станции ± 3 мм.
а)
Опорные ходы III класса
4.24. Нивелирование ведется замкнутыми полигонами или
вытянутыми ходами в прямом и обратном направлениях; ходы и полигоны
привязываются к реперам нивелирования высших классов.
4.25. Для производства нивелирования III класса применяются:
а)
нивелиры типа Н-3, НС-3 (НВ-1, НСМ-2А с самоустанавливающейся линией
визирования и им равноточные);
б)
двусторонние 3-метровые шашечные рейки с сантиметровыми делениями.
4.26. Рейки должны быть прокомпарированы. Случайные
ошибки дециметровых делений реек не должны превышать ± 0,5 мм.
Каждая рейка должна иметь круглый уровень, проверяемый ежедневно по отвесу.
4.27. При производстве нивелирования рейки
устанавливаются на башмаки или железные штыри, на реперы и полигонометрические
знаки.
4.28. Нивелирование производится из середины при
расстояниях от инструмента до реек около 50 м. В случае плохой видимости
эти расстояния сокращаются.
4.29. Нивелирование ведется по одной средней нити, по
черной и красной сторонам реек. Образец журнала для нивелирования III класса приводится в приложении 4-2.
4.30. Расхождения между превышениями на станции, определенными по черной и красной сторонам реек, не
должны превышать 3 мм.
4.31. Допустимые невязки в ходах между опорными пунктами
или в замкнутых полигонах определяются по формуле
![]()
где L - длина нивелирного хода или периметр полигона.
При
наличии в ходе или полигоне более 16 штативов на 1 километр допустимая невязка
определяется по формуле
![]()
где п - число штативов в
ходе или полигоне.
б) Ходы III класса
4.32. Нивелирные ходы III класса прокладываются в одном направлении и
опираются на реперы I и II классов и на реперы опорных ходов III класса.
4.33. Нивелирование III класса ведется теми же инструментами и методами,
как и нивелирование опорных ходов III класса
(см. пп. 4.25 - 4.30).
4.34. Допустимые невязки в ходах между реперами высших
разрядов или в замкнутых полигонах определяются по формуле
![]()
где L - длина нивелирного хода или периметр полигона в км.
При
наличии в ходе или полигоне более 16 штативов на 1 км хода допустимая
невязка определяется по формуле
![]()
где п - число штативов в
ходе или полигоне.
4.35. Нивелирные ходы IV класса прокладываются между реперами высших
классов. Нивелирование ведется в одном направлении. Висячие ходы нивелируются в
прямом и обратном направлениях.
4.36. При нивелировании IV класса применяются нивелиры НВ-1, НГ, НТ и другие
им равноточные, а также нивелиры НСМ-2а с самоустанавливающейся линией
визирования.
Рейки
применяются шашечные, двусторонние, с круглым уровнем.
4.37. Нормальным расстоянием от нивелира до реек
считается 100 м, а при увеличении зрительной трубы не менее 30*
допускается увеличивать расстояние до 150 м.
Неравенство
расстояний от нивелира до реек на станции не должно превышать 5 м.
4.38. В ходах, опирающихся на пункты нивелирования
высших классов, а также в замкнутых полигонах предельные невязки не должны
превышать
![]()
где L - длина хода в км.
При
наличии в полигоне или ходе свыше 16 штативов на 1 км допустимая невязка
в полигоне не должна превышать
![]()
где п - число станций в
ходе.
4.39. Перед уравновешиванием нивелирования производится
проверка журналов наблюдений, в превышения вводятся все необходимые поправки,
составляются схемы нивелирных ходов, ведомости превышений и подсчитываются
окончательные невязки в ходах и полигонах.
4.40. Уравновешивание нивелирных ходов производится по
отдельным секциям, опирающимся на марки и реперы нивелирования высших классов.
Все условия, возникающие в секции, уравновешиваются совместно по способу
профессора В.В. Попова, а также методом последовательных приближений или узлов.
За веса ходов берутся величины, обратно пропорциональные числу штативов. При
небольших значениях невязок применяется упрощенный способ.
4.41. Если невязки в ходах II класса между отметками марок или реперов городского
нивелирования II класса
превышают допуск п. 4.20, разрешается опускать эти марки или реперы как
исходные, увеличивая длины секций. Каждое подобное решение должно быть
обосновано детальным анализом качества исполненного нивелирования.
4.42. Разрешается в отдельных случаях вычислять отметки
реперов от условного нуля, который в дальнейшем должен быть привязан к маркам
или реперам государственной нивелирной сети; после привязки производится
перевычисление отметок.
4.43. При уравновешивании вычисление превышений и
отметок производится до десятых долей миллиметра. В каталог отметки
выписываются до миллиметра. Вычисление превышений и отметок, а также
составление каталога отметок производится в две руки.
4.44. В результате нивелирования II класса и опорных ходов III класса составляется каталог реперов с занесением в
него отметок тригонометрических и полигонометрических пунктов. Форма каталога
приводится в приложении 4-3.
4.45. В техническом отчете по наземному нивелированию
приводятся:
а)
обоснование принятой классности;
б) данные
о привязках к городской или государственной нивелирной сети;
в)
характеристики марок и реперов, их распределение по типам;
г)
применявшиеся инструменты, способы нивелирования, данные оценки точности;
д)
способы уравновешивания, результаты вычислений (невязки по ходам), оценка
точности по результатам уравновешивания.
Здесь же
дается обоснование частичных изменений отметок исходных реперов (см. п. 4.41);
е)
заключение о пригодности исполненного нивелирования для всех горно-строительных
работ, для обеспечения сбоек тоннелей в профиле и для наблюдений за
деформациями наземных зданий и сооружений.
|
Число штативов, п |
Невязка в миллиметрах, fh |
fh² |
|
Периметр полигона или хода в километрах, L |
|
|
1 |
10 |
-3,3 |
10,89 |
1,09 |
1,1 |
|
2 |
13 |
+1,6 |
2,56 |
0,20 |
1,5 |
|
3 |
36 |
+1,7 |
2,89 |
0,06 |
3,5 |
|
4 |
14 |
+2,2 |
4,84 |
0,35 |
1,5 |
|
5 |
35 |
-2,3 |
5,29 |
0,15 |
3,7 |
|
6 |
20 |
+1,0 |
1,00 |
0,05 |
2,2 |
|
7 |
36 |
-2,9 |
8,41 |
2,34 |
3,6 |
|
8 |
43 |
+4,6 |
21,16 |
0,49 |
4,1 |
|
9 |
54 |
-2,9 |
8,41 |
1,56 |
5,5 |
|
10 |
13 |
+3,7 |
13,69 |
1,05 |
1,2 |
|
11 |
37 |
-4,0 |
16,00 |
0,43 |
3,6 |
|
12 |
15 |
-0,9 |
0,81 |
0,05 |
1,7 |
|
13 |
12 |
+3,8 |
14,44 |
1,20 |
1,3 |
|
|
338 |
|
|
9,04 |
34,5 |
![]()
![]()
|
Дата: 15
июня 1968 г. |
Исп. Шавыкина |
|
№ станции |
№№ реперов и точек |
Отсчеты по рейке |
Превышения |
Среднее |
Гориз. инстр. |
Абсолютные отметки |
Примечания |
||||||
|
Черная |
Красная |
Черная |
Красная |
||||||||||
|
задняя |
передняя |
промеж. |
задняя |
передняя |
промеж. |
||||||||
|
27 |
8676 |
828 |
|
|
5495 |
|
|
|
|
|
|
|
|
|
8008 |
|
730 |
|
|
5398 |
|
+98 |
+97 |
+98 |
|
|
|
|
|
28 |
8008 |
547 |
|
|
5213 |
|
|
|
|
|
|
|
|
|
8004 |
|
1432 |
|
|
6100 |
|
-885 |
-887 |
-886 |
|
|
|
|
|
29 |
8004 |
443 |
|
|
5110 |
|
|
|
|
|
|
|
|
|
8679 |
|
1688 |
|
|
6355 |
|
-1245 |
-1245 |
-1245 |
|
|
|
|
|
30 |
8679 |
503 |
|
|
5170 |
|
|
|
|
|
|
|
|
|
8680 |
|
501 |
|
|
5169 |
|
+2 |
+1 |
+2 |
|
|
|
|
|
31 |
8680 |
1770 |
|
|
6437 |
|
|
|
|
|
|
|
|
|
7895 |
|
10 |
|
|
4677 |
|
+1760 |
+1760 |
+1760 |
|
|
|
|
|
32 |
7895 |
1263 |
|
|
5930 |
|
|
|
|
|
|
|
|
|
80135 |
|
366 |
|
|
5033 |
|
+897 |
+897 |
+897 |
|
|
|
|
|
и реперов |
Класс нивелирования |
Тип знака |
Адрес репера |
Абсолютные отметки |
|
286 |
II |
стенной репер |
Большая Лермонтовская
ул., дом 30 |
231,745 |
|
379 |
II |
то же |
Теплый переулок, дом 14 |
235,496 |
|
632 |
III |
рельс |
Воробьевское шоссе, дом
84 |
230,417 |
5.01. Перенесение оси трассы в натуру производится:
а) для
метрополитенов - в местах расположения вестибюлей по специальным заданиям
проектировщиков и руководства;
б) для
внегородских тоннелей - в местах расположения открытых выемок, порталов, шурфов
и стволов шахт, на оползневых участках тоннелей, по специальным заданиям
проектировщиков и руководства.
5.02. Во всех случаях, когда закрепляемая в натуре
трасса метрополитена не будет использована для строительных работ, следует
применять графический метод перенесения.
5.03. При высоких требованиях к точности перенесения или
при отсутствии застройки применяют аналитический метод с использованием пунктов
геодезической основы.
В
необходимых случаях вынесенные в натуру точки зарисовываются, привязываются к
пунктам местности и закрепляются постоянными или временными знаками.
5.04. Вынесенные в натуру точки должны быть связаны
между собою контрольными измерениями. Возможна также графическая проверка этой
выноски по крупномасштабным планам.
5.05. Если количество или расположение пунктов
геодезической основы не обеспечивает перенесение оси трассы в натуру,
производится прокладка дополнительных ходов методом подходной полигонометрии
или методом рабочего обоснования (в зависимости от требуемой точности
разбивки).
5.06. В местах расположения вестибюлей или других
наземных сооружений метрополитена производится перенесение в натуру красных
линий городской планировки. При наличии отклонений в принятой для строительства
системе координат от городской системы производится согласование с
геодезической организацией городского Совета.
5.07. В случаях необходимости получения координат углов
зданий опорной городской застройки определение их производится полярным методом
или способом угловых засечек.
При обоих
способах определения координат точек должен быть обеспечен контроль.
5.08. Сгущение точек оси трассы, перенесенных в натуру
от пунктов геодезической основы, производится: на прямых участках - с помощью
створов и на кривых - методом ординат от линий тангенсов или по хордам.
5.09. При разбивке в пересеченной или горной местности
может потребоваться прокладка теодолитных ходов по оси трассы между несколькими
«твердыми» точками, перенесенными от пунктов геодезической основы. Углы и линии
в натуре откладываются согласно проектным данным. При этом в длины линий должны
быть введены поправки за наклон.
Чтобы
избежать значительного накопления ошибок, рекомендуется разбивку вести от
каждой «твердой» точки до середины соответствующего участка.
5.10. При повышенных требованиях к точности разбивки оси
трассы на поверхности следует вести контрольные измерения откладываемых в
натуре углов. При наличии малой разности между отложенным и измеренным углами
исправление этой разности производится путем перемещения передней точки,
фиксирующей отложенный в натуре угол.
Для этой
цели можно пользоваться следующей приближенной формулой
![]()
где δ - смещение конечной
точки линии в мм;
∆β²-
разность между измеренным и отложенным углами;
L - длина линии в м.
5.11. При строительстве метрополитенов необходимо иметь
полные данные о городских подземных коммуникациях в районе работ.
5.12. Разбивка новых подземных коммуникаций, связанных
со строительством метрополитена и тоннелей, производится по чертежам проектных
организаций, завизированным главным инженером строительства.
5.13. Разбивка и съемка городских подземных коммуникаций
производятся от капитальных и постоянных зданий.
5.14. Закрепление осей подземных коммуникаций, центров
колодцев и углов поворота трассы в плане и профиле производится на обносках.
5.15. Исполнительное нивелирование проложенных подземных
коммуникаций выполняется методом нивелирования IV класса.
5.16. Колодцы и вводы коммуникаций привязываются не
менее чем тремя промерами к существующим наземным зданиям и сооружениям.
В
отдельных случаях определяются координаты центров колодцев и углов поворотов.
5.17. По окончании строительных работ на все подземные
коммуникации составляются следующие исполнительные чертежи:
1) ситуационный план в масштабе 1:2000;
2) план подземной коммуникации в условных знаках в
масштабе 1:500 с показанием ситуации не менее чем по 20
м (в каждую сторону) от оси;
3) исполнительный профиль коммуникации в масштабах:
горизонтальный - 1:500; вертикальный - 1:100.
5.18. В незастроенной части все коммуникации подлежат
съемке от плановой и высотной геодезической основы.
6.01. Поверхностные сооружения при строительстве
метрополитенов и тоннелей разделяются на 3 группы:
А.
Основные сооружения, геометрически связанные с проектом трассы (копер, машинное
здание, эстакады).
Б.
Вспомогательные сооружения, расположенные непосредственно на шахтной площадке
(трансформаторные, компрессорные, механические мастерские, душевые комбинаты и
пр.), а также коммуникации, прокладываемые под землей (канализация, водостоки,
воздухопроводы и т.д.). К этой же группе относятся и подъездные пути.
В.
Сооружения, расположенные вне шахтных площадок (компрессорные станции, бетонные
заводы, ремонтно-механические заводы, жилые городки, а также связанные с ними
подземные коммуникации и подъездные пути).
6.02. Основой для разбивки сооружений группы А являются
оси ствола (см. раздел А главы 12). На
основе указанных осей производится разбивка и закрепление оси подъема и оси
главного вала лебедки подъемной машины. Погрешности разбивки не должны
превышать ± 4 мм.
6.03. Разбивка в плане осей фундаментов копра, бункерной
и тельферной эстакад производится от осей ствола с точностью ± 2 см.
Установка коробов для отверстий под анкерные болты производится с точностью
± 3 см.
6.04. Разбивка и установка ног копра производится от
осей ствола с точностью ± 2 см.
6.05. Выноска осей на подшкивную площадку копра
производится непосредственно от осей с точностью ± 4 мм.
После
выноски осей инструментально должна быть проверена их взаимная
перпендикулярность.
Перекосы
шкивов не должны превышать ± 5 мм.
6.06. При монтаже подъемной машины должны быть соблюдены
следующие допуски:
а) общий
перекос оси вала подъемной машины относительно нормали оси подъема не должен
превышать ± 4 мм;
б)
разность отметок концов оси вала не должна превышать ± 2 мм.
6.07. Основой для разбивки сооружений группы Б является
генеральный план площадки и рабочие чертежи отдельных сооружений.
6.08. Разбивки главных осей и точек капитальных и значительных
по объему зданий производятся инструментально с точностью ± 3 см
и закрепляются на специально сооруженных обносках или марками в стенах близко
расположенных зданий. При разбивке постоянных зданий в городах должны строго
соблюдаться красные линии городской планировки. Разбивки по высоте производятся
при помощи нивелира с точностью ± 1 см.
6.09. Разбивки и последующие съемки по водостокам,
канализации и другим подземным сооружениям ведутся согласно указаниям раздела Б главы 5.
6.10. Разбивки для строительства подъездных
железнодорожных путей и автомобильных дорог производятся инструментально с
пунктов полигонометрии или точек теодолитных ходов, а по высоте - от реперов,
закрепленных в процессе изысканий.
При
выносе оси трассы в натуру вершины углов поворота, целые пикеты, начала и концы
кривых и другие характерные точки закрепляются металлическими штырями или
кольями. У каждого штыря (кола) должен быть поставлен сторожок с
соответствующей надписью.
6.11. Для получения величин промеров до проектного
уровня земляного полотна или твердого покрытия дороги производится
нивелирование штырей (кольев). Значения рассчитанных промеров должны быть
выписаны на сторожках. Для производства земляных работ устраивается высотная
обноска и с помощью визирок определяется положение земляного полотна в профиле.
6.12. Погрешности при вынесении и закреплении точек
трассы не должны превышать ± 5 см в плане, ± 2 см
в профиле.
6.13. Для укладки железнодорожных путей после сооружения
земляного полотна производится вторичное вынесение характерных точек трассы от
закрепленных вершин углов поворота; выносятся также центры стрелочных
переводов. Точки закрепляются металлическими штырями со сторожками. Верх штырей
устанавливается на проектную отметку подошвы рельса с точностью ± 5 мм.
В плане точки выносятся с точностью ± 1 см.
6.14. При возведении на трассе подъездного пути
искусственных сооружений (мосты, трубы, дюкеры и т.д.) разбивка основных осей и
характерных точек производится одновременно с вынесением в натуру трассы с
точностью ± 2 см в плане и ± 1 см
в профиле.
В
процессе строительства ведется съемка для составления исполнительных чертежей.
6.15. Основой для разбивки сооружений группы В являются
сеть пунктов полигонометрии и реперов и проектные планы внутриквартальной
планировки, утвержденные в установленном порядке.
6.16. Разбивка осей и вынос отметок сооружений группы В
производится с помощью теодолита и нивелира. Точность разбивок в плане ± 3 см,
в профиле ± 1 см.
6.17. При значительной площади застройки рекомендуется
применение геодезической строительной сетки.
6.18. Разбивки для вертикальной планировки территорий
шахтных и строительных площадок, заводов, поселков и т.д. производятся согласно
проектным чертежам с помощью нивелира.
7.01. При строительстве тоннелей всех назначений имеют
место осадки земной поверхности, вызываемые горными работами. Величины осадок
зависят от глубины залегания тоннелей, геологических условий, размеров горных
выработок, скорости и способов ведения горных работ, своевременности заполнения
пустот за обделкой сооружения и ряда других факторов.
7.02. В целях выявления величин осадок необходимо
постоянно наблюдать за поверхностными сооружениями в зоне возможной деформации.
Наблюдения состоят в периодическом нивелировании установленных на сооружениях
деформационных реперов.
7.03. Ширина возможной зоны деформации устанавливается
от полуторной до двойной глубины залегания тоннеля (по каждую сторону от него),
в зависимости от геологических и гидрогеологических условий.
7.04. Проект расположения деформационных реперов
составляется на имеющихся планах поверхности, на которых показаны проектируемые
подземные сооружения.
7.05. Деформационные реперы намечаются на зданиях вблизи
основных углов, а на больших зданиях - на расстояниях 20 - 25 м друг от
друга.
7.06. После составления проекта расположения реперов
производится рекогносцировка в натуре. Места закладки реперов отмечаются
масляной краской, на стенах подписываются их порядковые номера. Возрастание
номеров дается сообразно возрастанию пикетажа трассы.
На
зданиях с облицовкой из гранита или мрамора реперами могут служить цоколи
указанных облицовок. Места постановки нивелирной рейки окрашиваются краской,
при этом выполняются зарисовка и линейные привязки мест, служащих реперами, к
ближайшим характерным элементам ситуации - углам домов, аркам, пилястрам и т.д.
(рис. 7.1).
Рис. 7.1 План расположения деформационных
реперов на цоколях зданий:
1 - номера домов; 2 - характеристики зданий; 3
- деформационные реперы. Размеры указаны в метрах
Рис. 7.2. Стенной
деформационный репер:
1 - деформационный репер; 2 - цоколь здания.
Размеры указаны в миллиметрах
7.07. При производстве рекогносцировки ведется описание
деформационных реперов по форме, приведенной в приложении 7-1.
7.08. Одновременно с рекогносцировкой производится
обследование основной застройки, уточняются характеристики и адреса зданий. Все
изменения и дополнения наносятся на планы поверхности.
7.09. В качестве реперов применяются костыли,
изготовленные из арматурного железа, толщиною не менее 15 мм или готовые
железнодорожные (рис. 7.2). Реперы закладываются в цоколи зданий на цементном
растворе.
7.10. При строительстве внегородских тоннелей наблюдения
за деформацией поверхности производится в случаях:
а)
наличия на трассе наземных сооружений;
б)
расположения тоннеля в неустойчивых (оползневых) породах.
7.11. До производства горнопроходческих работ сеть
исходных реперов в районе трассы сгущается. Сгущение производится прокладкой
опорных ходов III класса.
7.12. Дополнительными реперами могут служить удаленные
от трассы нивелирные реперы, ранее не вошедшие в опорные ходы III класса, деформационные костыли и характерные точки
наземных сооружений.
7.13. Для получения первичных отметок деформационных
реперов между реперами II класса и
реперами опорных ходов III класса
прокладываются ходы III класса.
При
выверке нивелира особое внимание уделяется соблюдению условия параллельности
осей трубы и уровня.
7.14. Первичное нивелирование деформационных реперов
производится по черной и красной сторонам реек дважды, желательно разными
исполнителями и инструментами.
7.15. Максимальное расстояние от нивелира до реек не
должно превышать 50 м.
Длины
ходов между узловыми точками не должны быть более 400 м. Висячие ходы
более трех станций не допускаются.
7.16. Для первичного и повторного нивелирования по
деформационным реперам установлены следующие допуски:
а)
расхождения в превышениях, определенных по черной и красной сторонам реек, не
должны превышать ± 3 мм;
б)
невязки в полигонах и замкнутых ходах не должны превышать
где п - число
станций.
При
величинах невязок в ходах, превышающих указанный допуск, производится уточнение
отметок исходных реперов путем контрольного нивелирования опорными ходами III класса.
7.17. Расхождения в отметках деформационных реперов,
получаемые из двух начальных нивелирований, не должны превышать 5 мм.
7.18. По мере производства горнопроходческих работ
периодически ведется нивелирование деформационных реперов, по результатам
которого выявляются величины осадок. При этом учитывается требование к
нивелиру, указанное в п. 7.13.
Отсчеты
на связующие точки ходов производятся по черной и красной сторонам реек, на
промежуточные - только по черной.
При всех
повторных нивелированиях соблюдаются требования пп. 7.15 и 7.16.
7.19. Периодичность повторных нивелирований определяется
степенью интенсивности осадок, но не реже одного раза в 1,5 месяца.
Повторное
нивелирование продолжается до полного затухания осадок и в любом случае - не
менее 3 месяцев после окончания горнопроходческих работ.
7.20. Для выявления деформации исходных реперов в
районах производства горностроительных работ производится контрольное
нивелирование этих реперов опорными ходами III класса. Периодичность его зависит от интенсивности
осадок, но не должна быть реже двух раз в год.
Следует
иметь в виду, что при большом притоке воды в подземных выработках зона осадок
поверхности может достигать пятикратной глубины сооружения (по каждую сторону
от него). Это обстоятельство может потребовать значительного расширения зоны
контрольного нивелирования.
7.21. На все реперы II класса и реперы опорных ходов III класса, расположенные в районе наблюдения за
деформацией, составляется каталог исходных отметок по форме, приведенной в
приложении 7-2.
7.22. Первичные значения отметок, а также описание
деформационных реперов заносятся в специальную книгу-каталог. Первичные отметки
выписываются красной тушью. В эту же книгу-каталог записываются величины осадок
деформационных реперов по форме, приведенной в приложении 7-3.
7.23. Помимо записей в каталогах, деформация отражается
графически на планах штриховкой в условных знаках (см. приложение 7-4).
7.24. По результатам повторных нивелирований ежемесячно
составляется сводная ведомость осадок по форме, приведенной в приложении 7-5.
В особых
случаях, когда осадки достигают значительных размеров, составляются
промежуточные сводки непосредственно после получения полевых данных.
Ждановский
радиус, район ул. Островского
|
№ репера |
Адрес репера |
Характ. здания |
Фасад или двор |
Характ. репера |
Примечания |
|
576 |
Крестьянская пл., дом № 1 |
2 кж |
двор |
костыль |
|
|
577 |
Островского ул., дом № 27 |
ж |
фасад |
костыль |
|
|
578 |
Островского ул., дом №
29/2 |
2 смж |
фасад |
цоколь |
угол дома |
|
579 |
Волгоградский проспект,
дом № 2/29 |
2 смж |
фасад |
костыль |
|
|
№ репера |
Адрес репера |
Первонач. отметки |
Текущие отметки |
|||||
|
1964 |
1965 |
1966 |
||||||
|
I полугодие |
II полугодие |
I полугодие |
II полугодие |
I полугодие |
II полугодке |
|||
|
6798 |
Теплый пер., дом № 8 |
133,720 |
- |
- |
,717 IV |
,715 VIII |
,713 IV |
|
|
6803 |
Б. Ордынка, дом № 17/33 |
168,913 |
,913 V |
,913 IX |
,910 II |
,907 X |
,898 IV |
|
|
7324 |
Овчинников пер., дом № 2 |
157,141 |
- |
- |
- |
- |
,141 III |
|
|
9253 |
Мытная ул., дом № 38 |
128,018 |
- |
- |
- |
- |
,016 II |
|
Примечание. Римскими цифрами
показаны месяцы, когда производилось контрольное нивелирование.
|
Кучин пер., д. 12, 2 кж. фасад |
То же |
Кучин пер., д. 10. кж. двор |
То же |
Кучин пер., д. 3, 2 кж. фасад |
То же |
То же |
То же |
|
|
№ репера Дата наблюдения |
76 |
77 |
78 |
79 |
97 |
98 |
99 |
100 |
|
15.ХII.1965 г. |
28,140 |
28,311 |
29,012 |
29,417 |
29,506 |
29,200 |
28,753 |
28,852 |
|
12.I.1966 г. |
-7 |
-11 |
-20 |
-8 |
-2 |
-1 |
-1 |
-1 |
|
17.II.1966 г. |
-12 |
-18 |
-41 |
-19 |
-6 |
-2 |
-3 |
-1 |
|
19.IV.1966 г. |
-23 |
-32 |
-57 |
-24 |
-9 |
0 |
-4 |
-2 |
|
Деформационный репер. |
|
|
Вычерчивается равнобедренным треугольником, высота
и основание которого равны 2,5 мм. Правая или нижняя половина его
заливается тушью. Номер репера подписывается нормальным шрифтом высотой 2,5 мм
параллельно нижнему срезу форматки. |
|
|
|
Деформация (осадка) поверхностных сооружений. |
|
Показывается штриховкой. Надписи названий
сооружений и их характеристика штриховкой не закрываются. |
|
|
1. В пределах от 10 до 25 мм. |
|
|
Показывается штриховкой под углом 45° к длинной
стороне здания - желтой тушью. Шаг штриховки - 3 мм. |
|
|
2. В пределах от 25 до 50 мм. |
|
|
Показывается взаимно перпендикулярной штриховкой
под углом 45° к длинной стороне здания желтой тушью. Шаг штриховки - 3 мм. |
|
|
3. В пределах от 50 до 75 мм. |
|
|
Показывается штриховкой тушью «прусская синяя»
параллельно штриховке первого предела (10 - 25 мм) в просветах желтой
штриховки. Шаг штриховки - 3 мм. |
|
|
4. В пределах от 75 до 100 мм. |
|
|
Показывается
взаимно перпендикулярной штриховкой, тушью «прусская синяя» в просветах
желтой штриховки. Шаг штриховки - 3 мм. |
|
|
5. В пределах от 100 до 150 мм. |
|
|
Показывается штриховкой параллельно длинной стороне
здания зеленой тушью. Шаг штриховки - 5 мм. |
|
|
6. В пределах от 150 до 200 мм. |
|
|
Показывается взаимно перпендикулярной штриховкой,
зеленой тушью. Шаг штриховки - 5 мм. |
|
|
7. В пределах от 200 до 250 мм. |
|
|
Показывается тушью «кармин» параллельно штриховке
пятого предела, в просветах зеленой штриховки. Шаг штриховки - 5 мм. |
|
|
8. В пределах от 250 до 300 мм. |
|
|
Показывается взаимно перпендикулярной штриховкой
тушью «кармин», в просветах зеленой штриховки. Шаг штриховки - 5 мм. |
|
|
9. Свыше 300 мм. |
|
|
Показывается черными крестами в шахматном порядке. |
|
Адрес репера |
№ репера |
Дата начального наблюдения |
Осадки от начала наблюдения, мм |
Осадки |
||
|
за период |
мм |
|||||
|
14 |
Симонов пер., дом № 5, 2
кж, фасад |
528 |
10.I.1964 г. |
10 |
|
|
|
15 |
Симонов пер., дом № 12,
кн., двор |
543 |
10.I.1964 г. |
26 |
15.III.66 г. - 12.IV.66 г. |
8 |
|
16 |
Ульяновская ул., дом №
17, 7 кж, фасад |
720 |
12.II.1965 г. |
41 |
15.III.66.г. - 12.IV.66 г. |
3 |
|
17 |
Ульяновская ул., дом №
19, кн., двор |
737 |
12.II.1965 г. |
78 |
10.II.66 г. - 18.IV.66 г. |
12 |
8.01. Ориентирование подземной маркшейдерской основы
имеет целью передачу дирекционного угла и координат с пунктов геодезического
обоснования на поверхности на знаки подземной основы.
8.02. Особое внимание при ориентировании должно быть
обращено на передачу дирекционного угла, так как влияние ошибки переданного
дирекционного угла на поперечную ошибку подземной маркшейдерской основы
увеличивается вместе с увеличением длины подземного хода.
8.03. В зависимости от вида выработок, соединяющих
тоннель с дневной поверхностью, применяются следующие способы ориентирования
подземной маркшейдерской основы:
а) через
одну вертикальную шахту;
б) с
помощью гироскопа;
в) через
горизонтальные и наклонные выработки;
г) через
две вертикальные шахты (скважины), как одна из последующих.
8.04. Ориентирование через вертикальную шахту
производится с помощью шахтных отвесов и состоит из:
а)
проектирования точек (опускания отвесов) с дневной поверхности на горизонт
подземных выработок;
б)
примыкания к проектируемым точкам на поверхности и в подземных выработках.
8.05. Для обеспечения максимальной величины «базиса» -
расстояния между отвесами - в проекте армировки ствола должны быть
предусмотрены проектирующей организацией места для беспрепятственного пропуска
отвесов на максимальном удалении друг от друга, по линии, параллельной оси
подъема.
8.06. На поверхности и в подземных выработках
приствольные знаки выбираются с соблюдением следующих условий:
а)
расстояния от приствольных знаков до ближайшего отвеса должны быть
минимальными, при этом знаки должны находиться возможно ближе к проектируемому
створу отвесов;
б)
приствольный знак на поверхности включается в ход подходной полигонометрии;
в) с
приствольного знака на поверхности, как правило, должен быть виден один из
пунктов триангуляции или вспомогательный азимутальный пункт.
8.07. Проектирование точек с поверхности в подземные
выработки через ствол шахты осуществляется путем опускания грузов на стальной
проволоке.
Вес груза
и диаметр проволоки, применяемых при ориентировании, зависят от глубины ствола
шахты, от скорости движения воздуха в стволе и интенсивности «капежа».
Как
показала практика, при опускании отвесов обычно применяются:
а) для
шахт глубиной 20 - 30 м груз весом 30 - 40 кг при диаметре
проволоки 0,5 - 0,8 мм;
б) для
шахт глубиной 40 - 80 м груз весом 60 - 80 кг при диаметре
проволоки 0,8 - 1,0 мм;
в) для
шахт глубиной 100 - 200 м груз весом 100 - 140 кг при диаметре
проволоки 1,0 - 1,2 мм.
Вес груза
и диаметр проволоки при ориентировании шахт глубиною свыше 200 м
определяются в каждом отдельном случае исходя из конкретных условий: глубины
ствола, скорости движения воздуха и интенсивности «капежа».
В табл. 8-1
указывается предельная прочность стальной углеродистой пружинной проволоки,
изготовляемой согласно ГОСТ 5047-49.
Таблица 8-1
|
Предельная прочность проволоки при растяжении, кг |
|
|
0,5 |
43 |
|
0,8 |
100 |
|
1,0 |
153 |
|
1,2 |
225 |
8.08. Проволока шахтного отвеса наматывается на ручную
лебедку с диаметром барабана 250 - 300 мм. Груз состоит из штанги с
основанием, на которое надевают чугунные шайбы по 5 или 10 кг каждая с
радиальной прорезью.
8.09. Работы в стволе шахты, связанные с подготовкой
мест для пропуска отвесов, выполняются заблаговременно.
Отвесы
рекомендуется пропускать в местах с наименьшим «капежом» и не ближе 0,3 м
от тюбинговой обделки ствола. При сильном «капеже», особенно в зимнее время,
разрешается отвесы опустить в клетевом отделении.
Накануне
ориентирования производится пробное опускание отвесов на всю глубину ствола.
8.10. Грузы шахтных отвесов, подвешенные на проволоках,
опускаются в баки, наполненные жидкостью, успокаивающей отвесы (масло, вода со
слоем масла толщиной 5 - 10 см и др.).
Баки
изолируются от настила, по которому передвигаются наблюдатели. От «капежа» баки
закрываются конусообразными колпаками с вырезом вверху для пропуска проволоки.
8.11. Отсутствие касаний проволоки отвеса в стволе шахты
проверяется осмотром ее на всем протяжении, а также пропуском «почты».
8.12. При ориентировании шахты ляды лесоспуска и
людского ходка должны быть закрыты. В момент наблюдения выключается вентиляция
в стволе.
8.13. Примыкание к шахтным отвесам заключается в
определении их координат и дирекционного угла створа отвесов на поверхности и
передачи их на знаки полигонометрии под землей.
8.14. В практике тоннелестроения, при первых
ориентированиях, для обеспечения проходки тоннеля до 50 м от ствола
применяется непосредственное примыкание к створу шахтных отвесов.
При
ориентированиях, обеспечивающих дальнейшее продвижение забоя, применяется
косвенное примыкание к шахтным отвесам с помощью вытянутого соединительного
треугольника.
8.15. При ориентировании способом створа двух отвесов
на поверхности инструментальным путем по заранее заданному направлению
выставляются два опущенных в шахту отвеса (рис. 8.1).
Установка
этих отвесов в створ линии с известным дирекционным углом производится с
максимально возможной точностью. Для этой цели возможно использование
ориентировочных пластинок (см. ниже п. 8.21).
Внизу теодолит
устанавливается над полигонометрическим знаком с ненакерненным центром. После
установки инструмента в створе отвесов производится кернение центра,
закрепление створных отвесов (используемых в дальнейшем для целей контроля) и
измерение угла на другой полигонометрический знак. Если теодолит
устанавливается не над полигонометрическим знаком, а на потерянной точке 1, но
в створе отвесов (рис. 8.2), производится измерение дополнительных
углов β1 и β2.
Передача
координат с приствольного знака на поверхности на знаки подземной
полигонометрии осуществляется путем измерения расстояний:
а) на
поверхности - от инструмента до отвесов;
б) внизу
- от инструмента до отвесов и до полигонометрических знаков.
Рис. 8.1. Ориентирование шахты способом
створа двух отвесов:
1 - копер; 2 - ствол шахты; 3 -
рудничный двор; 4 - зумпф; 5 - баки с маслом; 6 - шахтные
отвесы; 7 - лебедки; 8 - теодолиты; 9 -
полигонометрические знаки; 10 - створные отвесы
Рис. 8.2. Схема
передачи дирекционного угла от створа отвесов на линию подземной полигонометрии
8.16. При удалении забоев от ствола шахты свыше 50 м
производится ориентирование способом соединительных треугольников.
Рис. 8.3.
Ориентирование шахты способом соединительных треугольников:
1 - отвесы с грузами; 2
- лебедки и центрировочные пластинки; 3 - баки с маслом; 4 -
полигонометрические знаки; 5 - теодолиты; 6 - настил на брусьях
для крепления пластинок и лебедок; 7 - ствол шахты и копер из тюбингов; 8 - околоствольный двор
Рис. 8.4.
Пластинка для механического смещения отвесов:
1 - основание; 2 - салазки; 3 -
ползунок; 4 - винт; 5 - прорезь; 6 - стопор; 7 -
штрих.
8.17. При ориентировании способом соединительных
треугольников в ствол опускаются два отвеса, которые наблюдаются с приствольных
знаков на поверхности и внизу (рис. 8.3). Отвесы
относительно инструментов располагаются так, чтобы формы соединительных
треугольников, решаемых по формуле синусов, отвечали следующим требованиям:
а)
измеряемые углы между отвесами (a и a1) должны быть минимальными (не
более 2°);
б)
расстояния от инструментов до ближайших отвесов выбираются минимальными, при
этом значения отношений
и
не должны превышать
величины 1,0.
8.18. Измерения углов и линий при ориентировании
способом соединительных треугольников производят по правилам, приведенным в
главах 2 и 9 (см. пп. 2.15 - 2.18, 2.21, 9.18, 9.23 - 9.26, 9.28).
8.19. При измерении углов на поверхности за начальные
принимаются направления на азимутальный пункт или наиболее удаленный знак
подходной полигонометрии. На подземном горизонте за начальное принимается
направление на самый удаленный полигонометрический знак.
8.20. Если передача дирекционного угла к приствольному
знаку возможна только через короткие линии, она осуществляется с помощью двух
или трех инструментов (см. п. 9.32) от
азимутального пункта или от линии основной полигонометрии.
При
передаче дирекционного угла на приствольный стан с линий основной
полигонометрии дирекционные углы этих линий подкрепляются передачей на них
дирекционных углов непосредственно с пунктов триангуляции или через
вспомогательные знаки.
8.21. При ориентировании по двум отвесам способом
соединительных треугольников для смещения отвесов могут быть применены
специальные пластинки (рис. 8.4).
Работы
при ориентировании с помощью указанных пластинок производятся по следующей
программе.
Первое
положение отвесов:
а)
установка ползунков обеих пластинок на среднее положение;
б)
подвеска отвесов и проверка их «почтой»;
в)
измерение вверху и внизу расстояний от инструмента до отвесов и между отвесами
(расхождение в расстояниях между отвесами вверху и внизу не должно превышать 2
мм);
г)
измерение направлений вверху - на азимутальный пункт, знаки подходной
полигонометрии и на отвесы; внизу - на знаки подземной полигонометрии и на
отвесы.
Второе
положение отвесов: ползунки пластинок устанавливаются в крайнее правое
положение, производится опускание «почты».
Третье
положение отвесов: ползунки пластинок устанавливаются в крайнее левое
положение, производится опускание «почты».
Угловые и
линейные измерения при втором и третьем положениях отвесов производятся по
программе, изложенной для первого положения отвесов.
8.22. Если центрировочные пластинки обеспечивают
перемещение отвесов на заданную длину с точностью ± 0,2 мм
и установлены перпендикулярно створу отвесов с отклонением не более 10°, то в
этом случае можно произвести контроль правильности проектирования отвесов.
Контроль производится путем сравнения результатов угловых измерений, полученных
при первом и втором, а также при первом и третьем положениях отвесов (рис. 8.5), с рассчитанными
значениями угла j.
Рис. 8.5. Схема контроля при
ориентировании шахты с помощью пластинок
Угол j между
отвесами вычисляется по формуле
![]()
где а - смещение отвеса на
пластинке;
S - расстояние от инструмента до отвеса;
r² = 206265².
Расхождения
между разностями измеренных углов на отвесы и рассчитанными значениями углов j не
должны превышать:
а) для
поверхности ± 12² при расстояниях от инструмента до отвеса 4 - 6 м
и ± 8² при
расстояниях свыше 6 м;
б) на
подземном горизонте - соответственно ± 15² и ± 10².
Рис. 8.6.
Ориентирование без закрепления приствольной точки на подземном горизонте:
1 - ствол; О1 и О2
- отвесы; I - точка стояния
инструмента, не закрепленная в натуре; А и В -
полигонометрические знаки
8.23. При пользовании оптическими центрирами необходимо
производить перецентрировку инструментов после каждого перемещения отвесов с
поворотом трегера на 120°; средние значения дирекционных углов подземных линий
будут свободны от влияния ошибок юстировки центриров. В этом случае контролем
углов не пользуются.
При
работе инструментами, оптический центрир которых встроен в алидаду,
перецентрировка теодолита не производится.
8.24. Ориентирование способом соединительных
треугольников производится также и без закрепления приствольной точки на
подземном горизонте (рис. 8.6). При этом должны быть соблюдены следующие условия:
а)
инструмент устанавливается примерно в створе двух отвесов, т.е. угол a должен
быть минимальным;
б)
расстояние от инструмента до ближайшего отвеса должно быть минимальным (1,5 -
2,0 м), насколько это позволяет оптика теодолита;
в) угол АIВ должен
быть в пределах от 0° до 30° или 150° - 180°. Если это выполнить невозможно, то
необходимо измерить угол при А или В одновременно вторым
инструментом.
8.25. При данной схеме ориентирования угловые и линейные
измерения производятся по программе, изложенной в п. 8.21, с
дополнительным измерением расстояний от инструмента до полигонометрических
знаков А и В (см. рис. 8.6), а
также между самими знаками.
Углы при
точках А и В вычисляются по формуле синусов. Рекомендуется (для
контроля) их измерить при помощи второго инструмента.
8.26. Перед вычислением ориентирования все полевые
журналы должны быть проверены, после чего производится обработка результатов
угловых и линейных измерений.
8.27. Решение соединительных треугольников, вычисление
дирекционных углов и координат производятся независимо, в две руки.
Образец
вычисления ориентирования шахты приведен в приложении 8-1.
8.28. Расхождения значений дирекционного угла,
переданного с трех положений отвесов на исходную сторону подземной
полигонометрии, не должны превышать 20².
8.29. Для ориентирования подземного обоснования при
строительстве подземных сооружений могут применяться гироскопические теодолиты
с ручным слежением Ги-Б1, с автоматическим слежением Ги-Б2, МТ-1, а также
другие гиротеодолиты равной или большей точности.
8.30. Ориентирование стороны подземной полигонометрии
гироскопическим способом с помощью гиротеодолита состоит из:
а)
определения поправки гиротеодолита на стороне с известным дирекционным углом;
б)
определения дирекционного угла ориентируемой стороны полигонометрии;
в)
повторного определения поправки гиротеодолита на стороне с известным
дирекционным углом.
8.31. Каждое определение поправки гиротеодолита
производится одним-двумя пусками на одной из ближайших к ориентируемой шахте
сторон наземной основной полигонометрии, дирекционный угол которой определен
непосредственно с пункта триангуляции.
8.32. Определение поправки гиротеодолита должно
предусматривать чередование получения поправки по прямому и обратному
направлениям стороны полигонометрии.
С учетом
этого сторону полигонометрии нужно выбирать так, чтобы имелась возможность
постановки гироскопического теодолита на обоих ее концах.
8.33. В случае неоднократных ориентирований допускается
использование поправки гиротеодолита предыдущего ориентирования, если с момента
ее определения прошло не более месяца, если она подтверждена чередованием
согласно п. 8.32 и в допустимых пределах согласуется с вновь
определенной поправкой. Порядок работы, предусмотренный п. 8.30, при
этом не изменяется.
Расхождение
между значениями поправок является допустимым, если оно не превышает величины
![]()
где т - средняя
квадратическая ошибка определения гироскопического азимута одним пуском;
п -
количество пусков, которыми определена каждая из сравниваемых поправок.
Для
гиротеодолита Ги-Б1 предельное допустимое расхождение составляет:
![]()
8.34. Ориентирование стороны подземной полигонометрии
производится двумя определениями с постановкой гиротеодолита, как правило, на
обоих концах ориентируемой стороны.
Если
возможность постановки гиротеодолита имеется лишь на одном конце, производится
ориентирование двух сторон полигонометрии при двух не совпадающих по
местоположению постановках этого инструмента, после чего эти стороны
связываются между собой угломерным ходом.
8.35. Длина стороны на поверхности для определения
поправки гиротеодолита должна быть не менее 100 м.
Длина
ориентируемой стороны в подземной выработке не должна быть меньше 30 м.
8.36. Прием (пуск) состоит из:
а)
визирования и отсчета КЛ и КП по ориентируемому направлению;
б)
определения нульпункта торсионного подвеса;
в)
наблюдения вынужденных колебаний и вычисления положения динамического
равновесия чувствительного элемента при работающем гиромоторе;
г)
определения нульпункта торсионного подвеса;
д)
визирования и отсчета КЛ и КП по ориентируемому направлению.
8.37. Нульпункт торсионного подвеса определяется не
менее чем по четырем точкам реверсии свободных колебаний чувствительного
элемента по формулам:
![]()
или
![]()
где Р1, Р2,
Р0 - значения нульпункта;
р1, р2,
..., рi -
отсчеты по шкале автоколлиматора в моменты реверсии свободных колебаний
чувствительного элемента (ЧЭ).
Если
нульпункт заметно изменяет свое значение от реверсии к реверсии («плывет»),
определение его продолжают до получения трех согласующихся значений, которые и
принимаются в подсчет среднего значения.
Расхождение
значений нульпункта, полученных до пуска и после него, для гиротеодолита Ги-Б1
не должно превышать 2,0 делений шкалы автоколлиматора. В этом случае из этих
значений выводится среднее. Если расхождение значений превышает допустимое,
выявляют его причину и обосновывают принятие для вычислений одного из значений
нульпункта. Величина нульпункта не должна быть более ± 5
делений шкалы.
8.38. При определении нульпункта контролируют период
свободных колебаний чувствительного элемента по секундомеру. Пуск и остановку
секундомера рекомендуется производить в
моменты прохождения чувствительным элементом нуля шкалы автоколлиматора. Период
свободных колебаний на одной и той же широте места наблюдения не должен
изменяться более чем на 1 сек. При этом он не должен отличаться от
значения, указанного в паспорте инструмента, более чем на 5 сек.
8.39. Вычисление положения динамического равновесия
чувствительного элемента (рис. 8.7)
производится не менее чем по четырем точкам реверсии по формулам:
![]()
![]()
где N1, N2,
Nср -
значения положения равновесия чувствительного элемента (ЧЭ);
п1, п2,
..., пi -
отсчеты по лимбу гиротеодолита, соответствующие положениям точек реверсии.
Доброкачественность
наблюдаемых точек реверсии контролируют путем сравнения наблюдаемой величины
затухания колебаний чувствительного элемента с табличной величиной, вычисленной
по заранее найденному для данного гиротеодолита фактору затухания. Расхождения
сравниваемых величин затухания не должны превышать 40².
Расхождение
независимых значений положения равновесия допускается не более 15²,
зависимых - не более 12². Если расхождение превышает допустимое, наблюдают
дополнительные точки реверсии или повторяют прием (пуск).
8.40. Во время наблюдения точек реверсии контролируется
с помощью секундомера период вынужденных колебаний чувствительного элемента.
Изменения периода должны быть в пределах 2 секунд.
8.41. Среднее значение положения равновесия
чувствительного элемента в приеме (пуске) для гиротеодолита Ги-Б1 должно быть
исправлено поправкой за нульпункт торсиона
N0 = Nср + dN,
которая равна dN = сР0,
где Р0 -
значение нульпункта (с учетом его знака);
с -
коэффициент пропорциональности, показывающий, какой поворот оси работающего
гиромотора по азимуту может быть вызван закручиванием торсиона на 1 деление
шкалы автоколлиматора (выбирается из паспорта прибора; может быть определен из
наблюдений).
Среднее
положение равновесия ЧЭ гиротеодолитов с автоматическим слежением
исправляется поправкой за закрученность торсиона. Эта закрученность
характеризуется величиной разности нулевых положений следящей системы и
торсионного подвеса.
Рис. 8.7.
Ориентирование гиротеодолитом Ги-Б1:
TN и KN - положение зрительной трубы и коллиматора,
соответствующее положению равновесия чувствительного элемента (ЧЭ); TM и KM - положение зрительной
трубы и коллиматора при наведении в ориентируемом направлении; N
и M - отсчеты по лимбу гиротеодолита, соответствующие этим
положениям зрительной трубы и коллиматора; п1, п2, ..., пi - отсчеты точек реверсии; D1
и D2 - конструктивные углы
между осью зрительной трубы, осью коллиматора и главной осью гирокомпаса в
положении равновесия чувствительного элемента; АГ - азимут
гироскопический, отсчитываемый от направления географического меридиана; a
- дирекционный угол направления; g
- сближение меридианов
8.42. Отсчеты горизонтального круга по ориентируемому
направлению до пуска и после него не должны отличаться более чем на 8².
Должны
быть приняты меры по обеспечению неизменности положения инструмента в течение
приема (пуска). В условиях неустойчивого грунта ножки штатива гиротеодолита
устанавливают на металлические костыли, забитые в грунт на глубину 0,3 м,
предварительно сняв в этом месте дерн, асфальт и т.п. Недопустимо располагать
гиротеодолит на вибрирующем основании.
Инструмент
должен быть защищен от прямых солнечных лучей.
В
исключительно неблагоприятных условиях и при длине ориентируемых сторон 30 - 50
м расхождение отсчетов по горизонтальному кругу до пуска и после него
можно допускать до ± 12².
8.43. Если пункты опорной сети (в том числе и
ориентирные), на которых производится гироскопическое ориентирование, имеют
разницу в значениях уклонений отвесных линий более 4², а
ориентируемые направления - наклон к горизонту более 8°, в отсчет
горизонтального круга гиротеодолита по ориентируемому направлению должна быть
введена поправка за уклонения отвеса
![]()
где d2 -
поправка в отсчет горизонтального круга по ориентируемому направлению;
x, h -
составляющие уклонений отвеса в плоскости меридиана и первого вертикала;
z - зенитное расстояние ориентируемого направления.
Если
значения составляющей уклонения отвеса в плоскости первого вертикала h на
пунктах различаются на две секунды и более, должна быть введена поправка за
несовпадение плоскостей астрономического и геодезического меридианов по формуле
d1 = -htg j,
где j - широта
пункта.
Общая
поправка за влияние уклонений отвеса вычисляется как сумма двух поправок
dи = d1 + d2;
8.44. Наблюдения вынужденных колебаний чувствительного
элемента ведут в условиях, наиболее благоприятствующих повышению точности
измерений и удобства работы. Для гиротеодолита Ги-Б1 наиболее оптимальной
является амплитуда колебаний чувствительного элемента от 1° до 3° (размах
колебаний чувствительного элемента от 2° до 6°).
8.45. Перед работой инструмент исследуют. Угломерная
часть исследуется в порядке, принятом для угломерных инструментов. Гироблок
исследуется с целью получения следующих данных:
а)
значения коэффициента с, определяемого из колебаний малой амплитуды по
формуле
![]()
где N¢1, N¢2, N¢3 -
отсчеты по шкале автоколлиматора, соответствующие положениям динамического
равновесия чувствительного элемента ЧЭ в трех пусках, при трех
различающихся между собой примерно на 10¢ положениях лимба гиротеодолита, а также по формуле

где Тслеж -
период колебаний чувствительного элемента со слежением;
Ткруч - период
колебаний чувствительного элемента без слежения;
б)
значения фактора затухания из серии пусков
![]()
где п1, п2,
..., п3 - отсчеты по лимбу в моменты реверсии;
в)
периода свободных колебаний чувствительного элемента;
г)
периода вынужденных колебаний чувствительного элемента;
д)
качества работы преобразователя, гиромотора и арретирующего устройства.
8.46. Дирекционный угол ориентируемого направления
вычисляется по формуле
а = А
- g + dи или а
= аг + D - g + dи,
где А = аг
+ D;
аг = М
- N0;
D = аисх -
аг исх + gисх - dи;
gисх = lисх ×
sin jисх;
g = l ×
sin j.
В этих
формулах:
А -
астрономический азимут ориентируемого направления;
аисх и аг
- гироскопические азимуты исходного и ориентируемого направлений;
М - отсчет
по визируемому направлению (исходному или ориентируемому);
N0 -
отсчет, соответствующий положению равновесия чувствительного элемента;
D - поправка гиротеодолита, заключающая в себе
конструктивные углы D1 и D2 (приводимые в паспорте
гиротеодолита), а также условность данной системы азимутов относительно той, в
которой вычислено сближение меридианов g;
dи -
поправка за уклонения отвесной линии;
gисх и g -
сближения меридианов точек стояния гиротеодолита (при определении поправки и
при ориентировании);
lисх и l -
долготы точек стояния от осевого меридиана зоны;
jисх и j - широты
точек стояния.
Если учет
сближения меридианов сводится к введению поправки Dg -
разности сближений, являющейся величиной второго порядка малости по сравнению с
величиной g, то вычислять Dg можно по формуле
![]()
где r² = 206265²;
Rm = 6370 км - средний
радиус кривизны земного эллипсоида;
yисх и y
- ординаты точек стояния гиротеодолита;
jср -
средняя широта точек стояния.
Запись
наблюдений и вычисления ведутся в журналах по установленной форме (прил. 8-2).
8.47. Оценка точности при достаточном количестве
измерений производится по разностям двойных измерений
![]()
где т - средняя
квадратическая ошибка гироскопического азимута из одного приема (пуска);
d - разности двойных измерений;
п -
количество разностей.
Значение т,
вычисленное по этой формуле, примерно равно средней квадратической ошибке
единицы веса, если вес ориентирования, порядок работы которого соответствует
указаниям пп. 8.30
и 8.34,
принять равным единице.
Средняя
квадратическая ошибка ориентирования в этом случае равна
![]()
при этом
![]()
где m - средняя квадратическая ошибка единицы веса;
Р - вес
ориентирования;
r - количество независимых пар «определение поправки
- ориентирование».
Расхождение
между результатами ориентирований не должно быть более 20².
8.48. При наличии вертикальных скважин на трассе они
используются для ориентирования по методу двух шахт. Это ориентирование дает
возможность уточнить координаты и дирекционный угол непосредственно в забое.
При
проходке тоннеля метрополитена глухим забоем свыше 800 м необходимо
наличие скважины для ориентирования тоннеля.
8.49. Спуск отвеса через скважину производится так же,
как при ориентировании через вертикальную шахту.
Координаты
отвеса на поверхности и под землей определяются одновременно. Дирекционный угол
из ориентирования по двум шахтам получается после уравновешивания подземного
полигонометрического хода между двумя знаками, имеющими координаты, переданные
с поверхности.
8.50. При невозможности пропуска отвеса из-за отклонения
скважины от вертикали применяются теодолиты с внецентренной трубой или
специализированные теодолиты (см. приложение 8-3).
8.51. Если на трассе имеются две вертикальные скважины,
то, кроме ориентирования через ствол и скважину, производится ориентирование
через две скважины.
8.52. После сбойки производится вычисление
ориентирования через две шахты, необходимое для окончательного уравновешивания
ходов подземной полигонометрии и уточнения дирекционных углов приствольных
исходных сторон для работ в противоположных направлениях.
8.53. Уравновешивание ориентирования по способу двух
шахт строгими методами рекомендуется производить только при криволинейной форме
трассы или при значительных длинах подходных выработок.
8.54. При вытянутой форме хода вычисление ориентирования
по способу двух шахт производят упрощенными методами, но с обязательным
использованием дирекционных углов подземных станов, определенных из ориентирований
через вертикальные шахты.
8.55. При последовательных ориентированиях перегона
через несколько скважин, когда непосредственно опускались отвесы, значения
координат знаков подземной полигонометрии у каждой новой скважины принимаются
по передаче с поверхности, а значения дирекционных углов уточняются с учетом
всех ориентирований.
8.56. При ориентировании скважины теодолитом с
внецентренной трубой или специализированным теодолитом производится уточнение
как дирекционных углов, так и координат подземных знаков с учетом точности всех
определений (см. приложение 8-4).
8.57. Ориентирования по способу соединительных
треугольников или гироскопическим методом следует производить:
а) первый
раз - когда забой находится от ствола в пределах от 50 до 60 м;
б) второй
раз - когда проходка по основной трассе достигнет 100 - 150 м;
в) третий
раз - когда длина проходки по трассе глухим забоем достигает 500 м.
Результаты
всех произведенных ориентирований заносятся в ведомость, образец которой
приведен в приложении 8-5.
8.58. Расхождения значений дирекционного угла подземной
линии, определенных из нескольких ориентирований, не должны превышать 20². При
несоблюдении указанного допуска должно быть произведено дополнительное
контрольное ориентирование.
8.59. После ориентирования по методу двух шахт
исправление имеющегося дирекционного угла более чем на 10² не
разрешается. При превышении указанного допуска производится проверка измерений
по подземному ходу, а затем - по поверхности. Если ошибка при контрольных
измерениях не обнаруживается, производят повторное ориентирование.
8.60. При соединении полигонометрии между двумя шахтами,
ориентированными по способу соединительных треугольников или гироскопическим
методом, допустимая угловая невязка подсчитывается по формуле
![]()
где п¢ - число
станций подземного хода.
Для хода
подземной полигонометрии, ориентированного непосредственно через порталы или
боковые штольни-штреки, допуск определяется формулой
![]()
Величина mb -
средняя квадратическая ошибка угла подземной полигонометрии, в зависимости от
длин сторон хода и количества измерений, может быть принята от 4² до 2².
8.61. Передача координат от пунктов триангуляции или
тоннельной полигонометрии на предпортальный знак осуществляется вставкой
дополнительного пункта триангуляции (с измерением всех углов в фигурах), при
помощи аналитической сети или методом основной полигонометрии.
Передача
дирекционного угла на предпортальную линию производится непосредственно с
пункта триангуляции или через вспомогательный азимутальный знак.
8.62. Угловые и линейные измерения при ориентировании
через порталы, боковые штольни и наклонные выработки производятся методами,
принятыми для основной и подходной полигонометрии.
8.63. Измерения, связанные с передачей дирекционного
угла с поверхности в тоннель через штольни, порталы и наклонные хода,
рекомендуется производить ночью при искусственном освещении.
8.64. При измерении углов в наклонных выработках
необходимо руководствоваться указаниями п. 1.23.
При
измерении линий по наклонным выработкам нивелирование целиков штативов
производится в прямом и обратном направлениях. Нивелирование целиков при
обратном ходе делается после измерений.
24 августа 1966 г.
|
I положение |
II положение |
III положение |
Обозначение действий |
I положение |
II положение |
III положение |
||
|
Измеренные данные |
||||||||
|
a |
0°14¢59² |
0°22¢52² |
0°07¢17² |
a1 |
0°37¢00² |
0°48¢04² |
0°26¢30² |
|
|
а |
4,357 |
4,354 |
4,359 |
a1 |
4,356 |
4,354 |
4,358 |
|
|
b |
3,526 |
3,529 |
3,522 |
b1 |
2,802 |
2,806 |
2,800 |
|
|
с |
7,882 |
7,883 |
7,881 |
c1 |
7,159 |
7,160 |
7,158 |
|
|
M |
95°44¢48² |
95°30¢28² |
95°59¢06² |
M1 |
154°19¢12² |
154°00¢59² |
154°36¢53² |
|
|
Решение треугольников |
||||||||
|
a |
0°14¢59² |
0°22¢52² |
0°07¢17² |
a1 |
0°37¢00² |
0°48¢04² |
0°26¢30² |
|
|
sin a |
0,004358 |
0,006652 |
0,002119 |
sin a1 |
0,010763 |
0,010982 |
0,007708 |
|
|
b |
0°12¢07² |
0°18¢32² |
0°05¢53² |
b1 |
0°23¢48² |
0°30¢59² |
0°17¢02² |
|
|
sin b |
0,003527 |
0,005392 |
0,001712 |
sin b1 |
0,006923 |
0,009011 |
0,004952 |
|
|
b : а |
0,809273 |
0,810520 |
0,807990 |
b1 : а1 |
0,643251 |
0,644465 |
0,642497 |
|
|
b |
3,526 |
3,529 |
3,522 |
b1 |
2,802 |
2,806 |
2,800 |
|
|
а |
4,357 |
4,354 |
4,359 |
а1 |
4,356 |
4,354 |
4,358 |
|
|
с |
7,882 |
7,883 |
7,881 |
с1 |
6,159 |
7,160 |
7,158 |
|
|
с : а |
1,809043 |
1,810519 |
1,807984 |
с1 : а1 |
1,643481 |
1,644465 |
1,642497 |
|
|
sin g |
0,007884 |
0,012044 |
0,003831 |
sin g1 |
0,017689 |
0,022993 |
0,012660 |
|
|
g |
179°32¢54² |
179°18¢36² |
179°46¢50² |
g1 |
178°59¢12² |
178°40¢57² |
179°16¢28² |
|
|
a + b + g |
180°00¢00² |
180°00¢00² |
180°00¢00² |
a1 + b1 + g1 |
180°00¢00² |
180°00¢00² |
180°00¢00² |
|
|
Вычисление дирекционных углов |
||||||||
|
дир. уг. |
358°04¢34² |
358°04¢34² |
358°14¢34² |
дир. уг. |
94°16¢28² |
94°16¢26² |
94°16¢50² |
|
|
(Нач. - 85) |
|
|
|
(О2 - О1) |
|
|
|
|
|
М - 180° |
-84°15¢12² |
-84°29¢32² |
-84°00¢54² |
g1 - 180° |
-1°00¢48² |
-1°19¢03² |
-0°43¢32² |
|
|
дир. уг. |
273°49¢22² |
273°35¢02² |
274°03¢40² |
дир. уг. |
93°15¢40² |
92°57¢23² |
93°33¢18² |
|
|
(85 - О1) |
|
|
|
(О1 - 1) |
|
|
|
|
|
180° - g |
+0°27¢06² |
20°41¢24² |
+0°13¢10² |
180° - М1 |
+25°40¢48² |
+25°59¢01² |
+25°23¢07² |
|
|
дир. уг. |
274°16¢28² |
274°16¢26² |
274°16¢50² |
дир. уг. |
118°56¢28² |
118°56¢24² |
118°56¢25² |
|
|
(О1 - О2) |
|
|
|
(1 - 2) |
|
|
|
|
Средн. дир. уг. (1 - 2) = 118°56¢25².
Передача координат с поверхности в шахту № 27
|
Углы |
Дирекционные углы a |
sin a |
Длина линий |
Приращение координат |
Координаты |
|||
|
cos a |
Dy |
Dx |
y |
x |
||||
|
85 |
|
|
|
|
|
|
2380,610 |
7156,804 |
|
|
|
273°49¢22² |
0,997775 |
3,526 |
-3,518 |
+0,232 |
|
|
|
|
|
|
0,066671 |
|
|
|
|
|
|
О1 |
|
|
|
|
|
|
2377,092 |
7157,036 |
|
|
|
274°16¢28² |
0,997219 |
4,356 |
-4,344 |
+0,325 |
|
|
|
|
|
|
0,074534 |
|
|
|
|
|
|
О2 |
0°23¢48² |
|
|
|
|
|
2372,748 |
7157,361 |
|
|
|
93°52¢40² |
0,997711 |
7,159 |
+7,143 |
-0,484 |
|
|
|
|
|
|
0,067628 |
|
|
|
|
|
|
1 |
|
|
|
|
|
|
2379,891 |
7156,877 |
|
85 |
|
|
|
|
|
|
2380,610 |
7156,804 |
|
|
|
273°35¢02² |
0,998045 |
3,529 |
-3,522 |
+0,220 |
|
|
|
|
|
|
0,062510 |
|
|
|
|
|
|
О1 |
|
|
|
|
|
|
2377,088 |
7157,024 |
|
|
|
274°16¢26² |
0,997219 |
4,354 |
-4,342 |
+0,324 |
|
|
|
О2 |
0°30¢59² |
|
0,074524 |
|
|
|
|
|
|
|
|
|
|
|
|
|
2372,746 |
7157,348 |
|
|
|
93°45¢27² |
0,997850 |
7,160 |
+7,145 |
-0,469 |
|
|
|
|
|
|
0,065534 |
|
|
|
|
|
|
1 |
|
|
|
|
|
|
2379,891 |
7156,879 |
|
85 |
|
|
|
|
|
|
2380,610 |
7156,804 |
|
|
|
274°03¢40² |
0,997489 |
3,522 |
-3,513 |
+0,249 |
|
|
|
|
|
|
0,070820 |
|
|
|
|
|
|
О1 |
|
|
|
|
|
|
2377,097 |
7157,053 |
|
|
|
274°16¢50² |
0,997211 |
4,358 |
-4,346 |
+0,325 |
|
|
|
|
|
|
0,074640 |
|
|
|
|
|
|
О2 |
0°17¢02² |
|
|
|
|
|
2372,751 |
7157,378 |
|
|
|
93°59¢48² |
0,997568 |
5,158 |
+7,140 |
-0,499 |
|
|
|
1 |
|
|
0,069798 |
|
|
|
2379,891 |
7156,879 |
Средние
координаты ПЗ № 1: у = 2379,891; х = 7156,878.
Прием № 3
|
Пункт: 236 |
Погода:
пасмурно, ветер слабый |
tо = +8° |
|
|
Инструмент:
Ги-Б1 № 825006 |
j = 55°45¢с |
Начало:
11 час. 20 мин. |
I = 145 ма |
|
Наблюдатель:
Сергеев И.Н. |
у =
-72,64 км |
Конец:
12 час. 15 мин. |
u = 32 в |
|
Помощник:
Иванов О.В. |
g = -0°57¢34² |
С = -7,12 |
Du1 = 27,5 |
|
|
|
D = 90°07¢11² |
Du2 = 30,0 |
|
Абрис |
Определение нуль-пункта |
Наблюдение точек реверсии |
||||||||||||
|
|
Отсчеты по шкале автоколлиматора |
Начало и конец наблюдений |
|
Отсчеты по горизонтальному кругу |
||||||||||
|
точек реверсии |
средних положений точек реверсии |
положений равновесия чувствительного элемента |
точек реверсии |
средних положений точек реверсии |
положений равновесия чувствительного элемента |
|||||||||
|
|
p1 |
+11,4 |
|
|
|
|
11h32m |
|
n1 |
112°23¢58² |
|
|
|
|
|
|
p2 |
-7,4 |
½(p1
+ p3) |
+11,1 |
P1 |
+1,8 |
|
5m48s |
n2 |
107°57¢34² |
½(n1
+ n3) |
112°23¢54² |
N1 |
110°10¢44² |
|
|
p3 |
+10,9 |
½(p2
+ p4) |
-7,2 |
P2 |
+1,8 |
|
5m47s |
n3 |
112°23¢50² |
½(n2
+ n4) |
107°57¢38² |
N2 |
110°10¢44² |
|
|
p4 |
-7,1 |
½(p3
+ p5) |
+10,6 |
P3 |
+1,8 |
|
5m46s |
n4 |
107°57¢43² |
½(n3
+ n5) |
112°23¢52² |
N3 |
110°10¢48² |
|
|
p5 |
+10,4 |
½(p4
+ p6) |
-7,0 |
P4 |
+1,7 |
|
5m48s |
n5 |
112°23¢55² |
½(n4
+ n6) |
107°57¢45² |
N4 |
110°10¢50² |
|
|
p6 |
-6,8 |
|
|
|
|
12h05m |
5m47s |
n6 |
107°57¢47² |
|
|
|
|
|
|
|
|
Тсв. |
41,4 |
Р |
+1,8 |
|
|
|
|
|
|
Nср |
110°10¢46² |
|
Формулы: |
|
|
|
|
|
|
Фактор затухания |
f1 = |
1,0005 |
f2 = |
1,0006 |
dN |
9² |
|
|
P1 = ½{p2 + ½(p1 + p3)} |
p1 |
+38,6 |
|
|
|
|
|
|
|
|
|
|
N0 |
110°10¢37² |
|
N1 = ½{n2 + ½(n1 + n3)} |
p2 |
-36,4 |
½(p1
+ p3) |
+37,8 |
P1 |
+0,7 |
Наблюдение и вычисление ориентирных направлений |
|
|
|||||
|
dN = P0C |
p3 p4 |
+37,1 -34,8 |
½(p2
+ p4) ½(p3 + p5) |
-35,6 +36,3 |
P2 P3 |
+0,7 +0,7 |
на пункт 128 |
на пункт 136 |
||||||
|
aг = M - N0 |
p5 |
+35,5 |
½(p4
+ p6) |
-34,2 |
P4 |
+0,6 |
Л |
28°55¢10² |
M |
28°55¢07² |
Л |
213°33¢34² |
M |
213°33¢32² |
|
A = aг + D a= A-g |
p6 |
-33,7 |
|
|
|
|
П |
208°55¢06² |
-N0 |
110°10¢37² |
П |
33°33¢30² |
-N0 |
110°10¢37² |
|
g = lsin j |
|
|
|
|
|
|
М1 |
28°55¢08² |
aг |
278°44¢30² |
М1 |
213°33¢32² |
aг |
103°22¢55² |
|
|
|
|
|
|
|
|
Л |
28°55¢08² |
+D |
90°07¢11² |
Л |
213°33¢33² |
+D |
90°07¢11² |
|
|
|
|
|
|
|
|
П |
208°55¢04² |
А |
8°51¢41² |
П |
33°33¢31² |
А |
193°30¢06² |
|
|
|
|
|
|
|
|
М2 |
28°55¢06² |
-g |
-57¢34² |
М2 |
213°33¢32² |
-g |
-57¢34² |
|
|
|
|
Тсв. |
41,6 |
P |
+0,7 |
|
|
a |
9°49¢15² |
|
|
a |
194°27¢40² |
|
|
|
|
|
|
P0 |
+1,25 |
|
|
|
m = ± 11² |
|
m = ± 11² |
|
|
|
|
|
|
|
|
dN |
-8²,9 |
Вычислил: |
Вычисления проверил: |
||||||
1. Передача при помощи теодолита с внецентренной
трубой
Основная
идея передачи координат с поверхности на подземный горизонт при помощи
теодолита с внецентренной трубой видна из рис. 8.8.
На поверхности, со знака подходной полигонометрии,
определяют координаты вертикальной оси вращения внецентренного инструмента.
Несколькими приемами определяют по вертикальному кругу теодолита зенитное
расстояние z (дополнение угла наклона до 90°) линии ID. Также
несколькими приемами измеряют горизонтальный угол b при точке
I - между направлением на знак подходной полигонометрии и точку D.
Измеряют наклонное расстояние ID по скважине. Имея дирекционный угол
отрезка I1D и его
длину (определяемую по формуле I1D = b · sin z), по координатам точки I определяют
координаты точки D. Практически, вместо измерения расстояния по
скважине, определяют отметки точек I и D и по их разности b¢ вычисляют I1D = b¢tg
z.
Для
обеспечения требуемой точности измерения горизонтального угла b необходимо иметь
инструмент с накладным уровнем. Только при этом условии можно обеспечить
погрешность в горизонтальном угле не более 15 мин. Вертикальный круг
внецентренного инструмента должен иметь точность не ниже 30².
При
соблюдении этих условий и при аккуратном выполнении всех измерительных операций
погрешность передачи координат через отклонившуюся скважину длиною до 50 м
не превысит ± 10 мм, что вполне обеспечивает требуемую точность
определения дирекционного угла линии подземной полигонометрии по способу двух
шахт.
2. Передача специализированным теодолитом*
А. Специализированный теодолит
* Разработка способа передачи
координат через отклонившуюся скважину специализированным теодолитом
произведена геомаркшейдерским отделом Ленинградского метростроя.
В трегере
с тремя подъемными винтами имеется круглое отверстие, концентрично над ним
полый цилиндр, свободно вращающийся в горизонтальной плоскости. Отверстие в
цилиндре равно отверстию в трегере. К цилиндру прикреплены две стойки с
лагерами оси вращения трубы в вертикальной плоскости и крепления верньеров
вертикального круга. Труба теодолита вращается в горизонтальной плоскости на
360° вместе с цилиндром на трегере. Имеются закрепительный и микрометренный
винты. На кронштейнах, укрепленных на внешней стороне цилиндра установлены два
взаимно перпендикулярных уровня, один из которых параллелен вертикальной
плоскости вращения трубы (цена деления уровней должна быть порядка 20²). При
вертикальном круге уровень не требуется, и в процессе работы ноль верньеров не
должен смещаться. Верньеры неподвижно скреплены с конструкцией подставок. При
работе теодолит ставится или на столик с отверстием в центре, или на штатив
типа мензульного, в котором имеется в центре достаточно большое отверстие.
Рис. 8.8. Передача координат через
скважину с использованием внецентренной трубы теодолита:
1 - скважина; 2 -
полигонометрические знаки; 3 - теодолиты; 4 - теодолит с внецентренной трубой; 5 - точка на
подземном горизонте;
d = I1D
= b¢tg z.
Рис. 8.9. Передача координат через
отклонившуюся скважину специализированным теодолитом:
1 - скважина; 2 - специализированный теодолит; 3
- точка на подземном горизонте
Б. Подготовительные работы к передаче координат через скважину
После
того, как удостоверились в наличии просвета в скважине на уровне, удобном для
установки теодолита, определяется визуально место, с которого обеспечивается
возможно большая площадь видимости в тоннель через просвет в скважине. Над этим
местом закрепляется маркшейдерский гвоздь в деревянной конструкции, сооружаемой
над скважиной. Подвешивается отвес, который определяет точку визирования и
центрирования теодолита.
Рис. 8.10. Схема
передачи координат через отклонившуюся скважину специализированным теодолитом:
1 - скважина; 2 - точка стояния
специализированного теодолита; 3 - точка на подземном горизонте; 4
- полигонометрические знаки
Опустив
отвес из точки А (рис. 8.9. и 8.10) в скважину на несколько
метров, визуально находят направление отклонения скважины от вертикали.
Направление отклонения скважины от вертикали будет идти по линии, соединяющей
глаз наблюдателя с отвесом тогда, когда нить отвеса будет делить просвет в
скважине, видимый глазу, пополам. Это направление по створу «глаз-отвес» (тут
же, не отводя глаз в сторону) отмечается на каком-либо удаленном предмете
точкой М (рис. 8.9 и 8.10). Большой точности в ее
выставлении не требуется, поэтому достаточно наметить точку М один раз
без последующих уточнений.
Над
ближайшим к скважине пунктом F
подходного полигона (рис. 8.10) устанавливается обычный высокоточный
теодолит и измеряются угол и линия, необходимые для получения координат точки А.
Затем этот же теодолит устанавливается над скважиной, центрируется под отвесом
в точке А и измеряется угол b, необходимый для получения дирекционного угла линии АМ.
На этом работа с обычным теодолитом заканчивается.
Над
скважиной, под точкой А центрируется специализированный теодолит, и
посредством уровней его ось вращения приводится в вертикальное положение.
Установленный
специализированный теодолит ориентируется в плане на точку М (марка)
и в таком положении закрепляется. Затем поворотом трубы визируют вниз - в
скважину, на ярко освещенный белый экран, находящийся под устьем скважины.
Труба
теодолита в вертикальной плоскости устанавливается в такое положение, когда
горизонтальная нить сетки будет делить пополам видимый в скважине просвет,
после чего подается по скважине команда на укладку рейки на подземном горизонте
(рис. 8.10).
Рейка должна иметь длину порядка 50 см; ее можно сделать на ватмане или
использовать часть обычной нивелирной рейки.
Рейка
кладется горизонтально, цифрами вверх и ориентируется по горизонтальной нити
сетки трубы специализированного теодолита. После установки рейка надежно
закрепляется гвоздями (во избежание сдвигов ее во время работы) и хорошо
освещается. На этом заканчиваются подготовительные работы.
В. Наблюдения при передаче координат
На
поверхности ориентируют трубу теодолита в плане на точку М при
установленных на середину пузырьках обоих уровней. Затем визируют вниз на
рейку, при этом горизонтальная нить сетки трубы совмещается с продольной осью
рейки. Производят отсчет на рейке по вертикальной нити сетки и отсчет по
верньеру вертикального круга, затем выполняют то же при другом круге. Это
составляет один полный прием; рекомендуется делать 3 - 4 таких приема.
Выводится среднее из всех отсчетов по рейке, которое сообщается по скважине
вниз, где фиксируется точка К (рис. 8.9 и 8.10).
Среднее из
всех полуразностей отсчетов по вертикальному кругу при круге право и круге лево
в каждом приеме определит величину угла z (рис. 8.9), т.е. зенитного расстояния наклонной линии АК.
На
подземном горизонте при знаке Т измеряется угол между линией подземной
полигонометрии и направлением на точку К, фиксированную на рейке, а
также расстояние ТК. Рулеткой по скважине измеряется расстояние l между горизонтальной осью вращения трубы специализированного
теодолита и точкой К (рис. 8.9). Вместо измерения расстояния l по скважине можно определить его как разность
отметок горизонтальной оси вращения специализированного теодолита и точки К.
Координаты
точки К определяются из формул
ук = уА
+ d × sin дир. уг. АМ
хк = хА
+ d · sin дир. уг. АМ;
где d = l
× sin z.
Дирекционный
угол линии 51275-51277, полученный из подземного полигонометрического хода,
опирающегося на два ориентирования, выполненные методом соединительных
треугольников, a1 = 8°17¢26². Дирекционный угол той же линии, полученный по
методу двух шахт, a2 = 8°17¢39². Удаление
знака 51275 от ствола равно 500 м. Погрешность координат знака 51275,
определенных с поверхности через скважину при помощи специализированного
теодолита, равна ± 10 мм.
Дополнительная
погрешность дирекционного угла a2, связанная с этим способом
передачи координат, равна
![]()
Общая
погрешность (принимая погрешность ориентирования через две шахты, выполненного
обычным способом, равной ± 8²):
![]()
Погрешность
результата двух ориентирований по методу соединительных треугольников равна ![]()
Погрешность
азимутальной передачи от ствола до забоя при удалении на 500 м может
быть подсчитана по формуле
![]()
(передача производится
100-метровыми сторонами двукратно).
Общая
погрешность a1:
![]()
Веса
будут:
![]()
![]()
Окончательное
значение дирекционного угла линии 51275-51277, принятое для дальнейшей проходки
![]()
Аналогичным
образом определяются и вероятнейшие значения координат подземных знаков.
|
№ ствола |
Дата ориентирования |
Способ ориентирования |
Количество приствольных точек |
Наименование инструментов |
Характеристики исходного дирекционного угла |
Полученные дирекционные углы приствольной линии |
Принятый дирекционный угол приствольной линии |
Дирекционный угол ближайшей сохранившейся линии
полигонометрии |
Удаление ближайшей сохранившейся линии полигонометрии от
приствольной линии |
Изменение принятого дирекционного угла по сравнению с
предыдущей ориентировкой |
|||
|
на поверхности |
под землей |
на поверхности |
под землей |
||||||||||
|
8 |
617 |
14.Х.1965 г. |
Соединительные треугольники - способ пластинок. Три
положения |
1 |
1 |
ТБ-1 № 1716 |
ТБ-1 № 1907 |
Направление на азимутальный пункт |
3 - 4 |
3 - 4 |
123 - 124 |
|
|
|
12°18¢30² |
|
|
|
||||||||||
|
12°18¢35² |
12°18¢34² |
115°31¢18² |
80 м |
||||||||||
|
12°18¢38² |
|
|
|
||||||||||
|
12°18¢34² |
|
|
|
||||||||||
|
8 |
617 |
17.III.1966 г. |
Соединительные треугольники - способ пластинок. Три
положения |
1 |
1 |
ТБ-1 № 1716 |
ТБ-1 № 1907 |
Направление на азимутальный пункт |
5 - 6 |
5 - 6 |
123 - 124 |
80 м |
+6² |
|
11°56¢19² |
|
|
|
||||||||||
|
11°56¢31² |
11°56¢26² |
115°31¢30² |
|
||||||||||
|
11°56¢28² |
|
принято |
|
||||||||||
|
11°56¢26² |
|
115°31¢24² |
|
||||||||||
9.01. Подземная полигонометрия вместе с сетью подземного
нивелирования является основой для точного перенесения в натуру проекта всех
тоннельных сооружений.
9.02. Развитие подземной полигонометрии осуществляется
или от станов, полученных из ориентирований через вертикальную шахту, или путем
непосредственного примыкания к пунктам наземной геодезической основы через
порталы, штольни и наклонные выработки.
9.03. После каждого очередного ориентирования (или
передачи от наземной геодезической основы) все измерения по подземной
полигонометрии повторяются вновь и производятся необходимые вычисления.
При
отсутствии значительных расхождений берутся средние значения дирекционных углов
и координат пунктов. При обнаружении значительных расхождений между
результатами первого и второго измерений необходимо произвести их третий раз.
В
условиях возможной деформации знаков необходимо производить повторные
измерения.
9.04. Схема подземной полигонометрии и принятая методика
угловых и линейных измерений должны обеспечивать необходимую точность сбоек
встречных выработок или тоннелей.
9.05. При проходке тоннелей средней протяженности (длина
односторонней проходки до 1 км) следует прокладывать полигонометрию двух
видов:
а)
рабочую подземную полигонометрию со сторонами от 25 до 50 м;
б)
основную подземную полигонометрию со сторонами от 50 до 100 м.
При такой
системе каждая вторая точка рабочей опоры включается в ход основной полигонометрии.
9.06. При длине односторонней проходки более 1 км
целесообразно дополнительно прокладывать главные ходы с более длинными
сторонами (150, 200 м и больше), используя, как правило, при этом знаки
основной подземной полигонометрии. При длинах плеч односторонней проходки (на
сбойку) порядка 4 - 6 км необходимо добиваться прокладки главного хода
со сторонами 600 - 800 м. На прямых участках трассы, с целью уменьшения
влияния боковой рефракции на результаты угловых измерений, смежные знаки должны
располагаться на разных сторонах тоннеля или по оси его (рис. 9.1).
Рис. 9.1.
Определение длин сторон главного хода по сторонам основной полигонометрии:
1 - тоннель; 10, 11, 12, ..., 21,
22 - знаки основной полигонометрии; 10, 13, 16, 19bis, 22 - знаки главного хода. При измерениях на
станции 19bis, наблюдается (двумя
приемами) направление на знак 19 и измеряется короткий отрезок 19bis - 19
При
длинах сторон главного хода до 400 м измерение углов производится теодолитами
типа Т-2 шестью-девятью приемами. При сторонах более 400 м для измерения
углов необходимо применять теодолиты типа Т-1. Измерение производится
шестью-девятью приемами.
Во всех
случаях прокладки главных ходов в тоннелях угловые измерения должны производиться
многократно (не менее двух раз), разновременно и в максимально благоприятных
условиях.
Длины
сторон главных ходов, как правило, определяются путем проектирования измеренных
сторон основной полигонометрии (рис. 9.1).
9.07. В подходных выработках, где длины сторон могут
доходить в отдельных случаях до 10 м, в целях обеспечения необходимой
точности применяют метод одновременной постановки двух или трех теодолитов (см.
п. 9.32).
9.08. Схема основной подземной полигонометрии, как
правило, должна предусматривать создание непрерывной цепи треугольников (рис. 9.2).
Деформация
знаков полигонометрии, к которым производится привязка вновь заложенного
пункта, обнаруживается при повторных угловых измерениях на этих знаках.
Рис. 9.2. Передача
дирекционного угла и координат на полигонометрические знаки у забоя:
1 - ствол; 2 - подходная штольня; 3 -
выработки по трассе; 1, 2, 3 - знаки
полигонометрии у ствола; А, В, С, D, Е - знаки основной полигонометрии
9.09. При наличии параллельных тоннелей ходы подземной
полигонометрии связываются между собой через поперечные соединительные
выработки.
9.10. При сооружении тоннелей небольшой протяженности
можно ограничиваться прокладкой только рабочего полигонометрического хода.
9.11. Во всех случаях определения координат знаков
висячим ходом угловые и линейные измерения должны быть произведены дважды -
независимо и разновременно.
9.12. Знаки основной полигонометрии закрепляются:
а) на
кривых участках трассы - с внешней стороны кривой, т.е. со стороны возвышенного
рельса;
б) на
прямых участках: в тоннелях метрополитена - с внешней стороны относительно оси
междупутья, в одиночных тоннелях - с любой стороны.
9.13. Знаки подземной полигонометрии, как правило,
должны одновременно являться и реперами подземной высотной основы.
В
зависимости от характера выработки или вида тоннельной обделки знаки могут быть
следующих типов:
а)
стержень металлический в бетонном монолите, в кровле выработки, в своде
сооружения или в стене тоннеля;
б) точка,
высверленная и зачеканенная медью на площадке, запиленной на ребре жесткости
или борте тюбинга.
9.14. Знаки подземной полигонометрии закладываются в тоннелях
с чугунной обделкой на уровне головки рельсов, а с железобетонной - на уровне
путевого бетона.
9.15. Нумерация знаков для всей сооружаемой трассы
должна быть единой и не иметь повторений.
Для
каждого строительного объекта выделяется группа номеров. Знакам левого тоннеля
даются нечетные номера, правого - четные.
Нумерация
знаков должна возрастать по ходу пикетажа.
9.16. На каждый закрепленный знак должно быть составлено
описание. В тюбинговых тоннелях рекомендуется форма описания, приведенная в
приложении 9-1.
В
необходимых случаях производятся привязки знаков к характерным точкам
сооружения.
9.17. У каждого знака должен быть надписан масляной
краской его номер. Подписи номеров периодически должны восстанавливаться.
Маркшейдеры объектов обязаны следить за сохранностью знаков и видимостью между
ними.
9.18. Измерение длин сторон в подземной полигонометрии
производится стальными компарированными рулетками или проволоками, при
постоянном натяжении с учетом температуры и превышений концов мерного прибора.
При наличии возможности измерение производят по створным отвесам на одном
горизонте, фиксируемом на нитях отвесов с помощью нивелира.
Каждый
пролет измеряется при трех положениях мерного прибора. Расхождения разностей
(П-З) не должны превышать: 2 мм - для рулетки, 0,8 мм - для
проволоки. Измерение производится в прямом и обратном направлениях.
9.19. Разности между значениями измерений рулеткой по
прямому и обратному ходу не должны превышать:
2 мм - для линий короче 25 м;
3 мм - для линий от 25 до 50 м;
4 мм - для линий от 50 до 80 м.
При
длинах линий свыше 80 м относительная разность между значениями
измерений в прямом и обратном направлениях не должна превышать 1 : 20000.
Для
проволоки относительная разность измерений туда и обратно не должна превышать 1
: 30000.
9.20. При невозможности непосредственного промера линии
между полигонометрическими знаками применяются косвенные методы измерений (рис.
9.3 и 9.4).
Рис. 9.3. Определение длины линии ПЗ
7 - ПЗ 9 по известным отрезкам b и c:
1 - препятствие; a - отрезки,
перпендикулярные к определяемой линии; d - определяемая линия; b,
с - линии, измеряемые в натуре;
величины а не
должны превышать 0,5 м.
Рис. 9.4. Косвенное определение длины
стороны полигонометрии:
1 - препятствие; d2 = b2 + c2 - 2bc × cos b; b и с - линии,
измеряемые в натуре
Рис. 9.5. Схема контроля
измерения длин сторон полигонометрии:
АС = АВсоs b
+ ВСсоs g; АС - определяемая
сторона; AВ и ВС - измеряемые для контроля стороны
9.21. Для контроля линейных измерений, производимых по
сторонам треугольников подземной полигонометрии, пользуются формулой,
приведенной на рис. 9.5.
9.22. В криволинейных тоннелях, когда ошибки линейных
измерений оказывают существенное влияние на поперечный сдвиг хода, следует
применять два мерных прибора и производить их компарирование не реже одного
раза в месяц.
9.23. При измерении углов в ходах подземной
полигонометрии руководствуются указаниями табл. 9-1.
При
работе способом повторений в первом полуприеме измеряют угол левый по ходу, во
втором - по ходу правый. Отклонение суммы углов от 360° не должно превышать ± 12².
Таблица 9-1
|
Тип теодолита |
Количество повторений |
Количество приемов |
Количество круговых приемов |
Расхождения отсчетов на нач. направл. при замыкании |
Колебания направл., привед, к нулю |
|
|
Рабочая |
30-секундный |
- |
- |
3 |
1¢ |
1¢ |
|
Т-2 (ОТС, ТБ-1) и ему
равноточные |
- |
- |
2 |
10² |
15² |
|
|
Основная со сторонами 50 м |
30-секундный |
4 |
2 |
- |
- |
- |
|
Т-2 (ОТС, ТБ-1) и ему
равноточные |
- |
- |
3 - 4 |
8² |
10² |
|
|
Основная со сторонами 100
м |
Т-2 (ОТС, ТБ-1) и ему
равноточные |
- |
- |
4 - 6 |
8² |
10² |
|
Главные ходы со сторонами
150 - 400 м |
Т-2 (ОТС, ТБ-1) и ему
равноточные |
- |
- |
6 - 9 |
8² |
10² |
|
Главные ходы со сторонами
более 400 м |
Т-1 (ОТ-02) и ему
равноточные |
- |
- |
6 - 9 |
5² |
7² |
Примечание. Допуски для колебания
направлений, приведенных к нулю, относятся к измерениям, произведенным при
одном положении центрира.
9.24. Инструмент при угловых измерениях устанавливается
на консоли или штативе. Центрирование производится с помощью отвеса на
центрировочный штифт трубы теодолита или с помощью оптического центрира.
При
отсутствии на трубе теодолита центрировочного штифта на ней должна быть
тщательно накернена специальная точка. Центрирование производится
при горизонтальном положении трубы теодолита.
По
окончании первой половины программы измерений на станции производится проверка
правильности центрирования инструмента и визирных целей.
9.25. При пользовании оптическим отвесом измерение углов
производится или четырьмя приемами (с перецентрировкой инструмента по окончании
первой половины программы наблюдений на 180°), или тремя приемами (при трех
независимых центрировках с поворотами теодолита на 120°). Оптический отвес
перед работой должен быть тщательно выверен.
Расхождения
между значениями направлений, измеренными при разных центрировках, не должны
превышать:
12² - при длинах сторон свыше 50 м;
20² - при длинах сторон от 25 до 50 м;
30² - при длинах сторон от 15 до 25 м.
9.26. Визирование производится на нити отвесов,
отцентрированные над знаками.
Выноска
центра должна производиться при помощи выверенного отвеса с отверстием, диаметр
которого соответствует толщине нити. Нить не должна иметь узлов или надвязок.
Выносимая
с помощью отвеса точка должна обеспечивать постоянное (однообразное) положение
на ней нити отвеса; длина последней не должна превышать 1,5 м.
9.27. При значительных длинах сторон рекомендуется
применять в качестве объектов визирования световые цели, устроенные в виде
щитков с вертикальной прорезью, освещаемой источником света.
9.28. Во всех случаях, когда это возможно, следует
визировать на тонкую шпильку, установленную непосредственно в центре знака.
9.29. При отсутствии видимости между знаками применяют
внецентренный способ измерения углов. При этом следует руководствоваться
основными указаниями для этого способа, данными в п. 2.21.
9.30. Внецентренный способ может быть применен для
повышения точности угловых измерений в следующих случаях:
а) при
коротких сторонах хода, закрепленного знаками в сводовой части тоннеля или в
кровле выработки (рис. 9.6); визирование в этом случае производится на
нити отвесов;
б) при
коротких сторонах хода, когда имеется возможность визировать на шпильки,
установленные в центрах знаков (рис. 9.6);
в) при
смещении инструмента от стены тоннеля в сторону, чем ослабляется действие
боковой рефракции.
9.31. Внецентренный способ применяется также:
а) на
крестах выработок, где он обеспечивает возможность надежного закрепления знаков
(рис. 9.7)
и удобной постановки инструмента;
Рис. 9.6.
Внецентренное измерение углов полигонометрии при коротких сторонах хода
Рис. 9.7.
Внецентренное измерение углов на кресте выработок:
1 - перегонные тоннели; 2 - поперечная
выработка; ![]()
a + b + Q = 180°00¢00²;
Q и Q1 - измеряемые углы; a, b, d - вычисляемые углы; a, b, c, d - измеряемые линии; е
- линейный элемент центрировки
б) при
связке полигонометрии в передовой штольне и в сооружаемом тоннеле (рис. 9.8).
Пример
вычисления поправок за центрировку приводится в приложении 9-2.
9.32. При
наличии короткой стороны в ходе, помимо внецентренного способа, применяют метод
передачи дирекционного угла путем одновременной постановки двух теодолитов на
концах этой стороны.
На
знаках, расположенных на концах короткой стороны, взаимное визирование
производится на центрировочные штифты инструментов (при горизонтальном
положении трубы). Для исключения погрешности от несовпадения штифта с вертикальной
осью вращения теодолита трубу наблюдаемого инструмента необходимо после второго
приема повернуть (по азимуту) примерно на 180°.
Рис. 9.8. Внецентренное измерение углов
при связке полигонометрии в передовой штольне и сооружаемом тоннеле
Взаимное
визирование также производят на подсвеченную сетку нитей второго инструмента,
наведенного на первый и обратно.
Этот
способ может применяться и при наличии двух смежных коротких сторон. В этом
случае одновременно устанавливаются три теодолита.
9.33. Расхождения двукратных разновременных измерений
углов не должны превышать:
15² - при сторонах короче 25 м;
10² - при сторонах от 25 до 50 м;
7² - при сторонах от 50 до 100 м;
5² - при сторонах свыше 100 м.
Допуски
для углов главных ходов устанавливаются специальным расчетом.
9.34. Угловые невязки в треугольниках основной
полигонометрии не должны превышать:
± 8² - при
однократно измеренных углах;
46² - при двукратном измерении.
9.35. Журналы угловых и линейных измерений проверяются в
две руки.
Все
результаты измерений выписываются на схему (рис. 9.9); выписка проверяется во
вторую руку.
В целях
удобства пользования схемой рекомендуется применять для осей тоннелей и пикетов
красный цвет, №№ знаков - синий, значений, углов, линий и дат измерений -
черный Невязки выписывают карандашом.
9.36. Перед вычислением каждого последующего знака
подземной полигонометрии необходимо убедиться в отсутствии деформации
предыдущих (исходных) знаков.
9.37. Вычисление углов поворота и дирекционных углов в
рабочей и основной полигонометрии ведется с удержанием целых секунд. В главных
ходах при измерениях углов теодолитами Т-2 средние результаты округляются до
0,5², а при
измерении теодолитами типа Т-1 удерживаются десятые доли секунды.
В длинах
линий, приращениях и координатах удерживаются целые миллиметры.
9.38. Если подземная полигонометрия строится
треугольниками, то вычисление вновь определяемого знака производится ходом
между ранее определенными (исходными) знаками через короткую и длинную стороны
треугольника.
9.39. После каждого последующего ориентирования шахты от
уточненного исходного подземного стана производится передача дирекционного угла
и координат в забой.
При
построении подземной полигонометрии в виде цепочки треугольников передача
осуществляется через различные 100-метровые линии двумя ходами. При наличии
главного хода основная передача производится через него.

Рис. 9.9. Схема подземной полигонометрии.
Результаты измерений
По этим
двум-трем независимым передачам, произведенным от уточненных данных (с учетом
их весов), определяются координаты и дирекционный угол в забое.
9.40. При соединении через поперечные выработки ходов,
проложенных в двух смежных тоннелях, угловая невязка в полигоне не должна
превышать:
- при
однократно измеренных углах;
- при
двукратном измерении;
здесь п'
- число углов в полигоне.
Относительная
линейная ошибка в этих полигонах не должна превышать 1 : 25000. При периметре
менее 250 м абсолютная ошибка не должна превышать 10 мм.
9.41. Вычисления подземной полигонометрии ведутся в две
руки, в специальных книгах для каждого строительного управления. Новые
результаты, связанные с повторными измерениями или с изменениями в исходных
дирекционных углах и в координатах, тщательно сверяются с ранее произведенными
вычислениями.
Использованию
вновь полученных значений должен предшествовать глубокий анализ всех имеющихся
вычислительных материалов.
9.42. При соединении подземной полигонометрии между
двумя шахтами или порталами руководствуются допусками, установленными в п. 8.60.
9.43. При уравновешивании подземной полигонометрии в тоннелях
необходимо учитывать положение фактических осей на пройденных участках.
При
проходке тоннеля встречными забоями на месте сбойки выбирается узловой знак.
Координаты узлового знака принимают равными промежуточным значениям координат,
при которых отклонения тоннеля не превосходят допустимых. В качестве
дирекционного угла узловой линии принимают его среднее значение, полученное по
данным ориентирования, выполненного по каждой из двух шахт, а также из
ориентирования, выполненного по методу двух шахт.
При
проходке тоннеля догоняющим забоем узловым знаком может служить один из знаков
полигонометрии в середине хода, где отклонения тоннеля от рабочей оси
максимальные.
Дальнейшее
уравновешивание ходов, проложенных между приствольными знаками и узловым, можно
выполнить упрощенным способом.
9.44. В тоннелях, предназначенных для укладки
железнодорожных путей, относительная невязка каждого из ходов полигонометрии не
должна превышать 1 : 10000.
9.45. Все маркшейдерские работы по определению путейских
реперов в метрополитенах и железнодорожных тоннелях могут выполняться только от
окончательно уравновешенных координат знаков подземной полигонометрии.
9.46. По окончании работ по строительству данного
тоннеля или участка метрополитена должен быть составлен каталог подземной
маркшейдерской основы для всех постоянных знаков (см. приложение 25-3).
Помимо
каталога, составляются схема расположения и описание знаков (см. приложение 25-4).
|
Пикетаж |
Расстояние от оси |
№ кольца |
Номер тюбинга (считая от замка) |
Наименование ребра тюбинга |
Промер от задней плоскости кольца |
||
|
влево |
вправо |
||||||
|
1218 |
81 + 40,63 |
- |
2,47 |
594 |
Т5 |
Нижнее ребро жесткости |
0,21 |
|
50492 |
50493 |
50496 |
Схема |
|
|
Формулы |
||||
|
Мi |
0°00¢00² |
78°51¢10² |
177°08¢08¢ |
|
|
Мi + Q |
167°59¢11² |
246°50¢21² |
345°07¢19² |
|
|
Si |
50,297 |
30,361 |
59,753 |
|
|
е |
2,716 |
2,716 |
2,716 |
|
|
sin (Мi + Q) |
+0,208144 |
-0,919405 |
-0,256763 |
|
|
е × sin (Мi + Q) |
+0,565319 |
-2,497104 |
-0,697368 |
|
|
|
+0,011240 |
-0,082247 |
-0,011670 |
|
|
Ci |
+0°38¢38² |
-4°43¢04² |
-0°40¢07² |
|
|
Сi - С0 |
0°00¢00² |
-5°21¢42² |
-1°18¢45² |
|
|
Мi приведенные к центру |
0°00¢00² |
73°29¢28² |
175°49¢23² |
10.01. Для перенесения проекта в натуру и обеспечения
сбоек подземных выработок и тоннелей в профиле создается высотная основа.
10.02. Создание подземной высотной основы осуществляется
путем:
а)
передачи отметок с поверхности в подземные выработки;
б)
проложения нивелирных ходов в выработках, тоннелях и других строящихся
сооружениях.
10.03. В качестве исходных данных при передаче высот в
подземные выработки принимаются отметки реперов нивелирования II класса и опорных ходов III класса.
10.04. Подземная нивелирная сеть по своему виду повторяет
подземную полигонометрию. В качестве реперов, как правило, используются
полигонометрические знаки.
10.05. Передача отметок в подземные выработки и тоннели
осуществляется через вертикальные стволы шахт, вентиляционные скважины,
наклонные тоннели, порталы и штольни.
10.06. Перед каждой передачей отметки необходимо производить
контрольное нивелирование по реперам, служащим исходными на поверхности.
10.07. Передача отметок с поверхности через вертикальные
выработки производится:
а) после
проходки ствола до проектной отметки;
б) после
сооружения околоствольного двора;
в) после
сооружения на трассе первого отрезка постоянной тоннельной обделки.
10.08. Через порталы, штольни и наклонные тоннели
передача отметок осуществляется проложением нивелирного хода с дневной
поверхности в подземные выработки.
В
отдельных случаях целесообразно передачу отметки к порталам и штольням
производить методом геодезического (тригонометрического) нивелирования.
Передачу
отметки через наклонные тоннели (выработки) следует контролировать
геодезическим нивелированием.
10.09. После окончания проходки ствола до проектной
глубины передача отметки на нижний горизонт производится с помощью стальной
рулетки и сообщающихся сосудов.
10.10. Передача отметок через вертикальные стволы и
вентиляционные скважины производится двумя нивелирами (один - на дневной поверхности,
другой - под землей, в околоствольном дворе) с помощью стальной рулетки и
нивелирных реек.
10.11. Передача отметки в подземные выработки
производится не менее чем с двух исходных реперов, расположенных на поверхности
и не менее чем на два репера в подходных выработках.
10.12. Рулетка, опускаемая в ствол шахты, предварительно
компарируется на плоскости при натяжении 10 кг. При этом же натяжении
производятся все передачи отметок.
10.13. Наблюдения при передаче отметки в шахту через
вертикальный ствол или скважину (рис. 10.1) состоят
из отсчетов по рейкам, устанавливаемым на поверхностных и подземных реперах, и
по рулетке, опущенной в ствол (обычно нулем вниз). Отсчеты по рулетке
производятся двумя нивелирами одновременно на поверхности и под землей.
10.14. Передачу отметки в шахту необходимо выполнять не
менее чем при трех горизонтах инструментов или при трех положениях рулетки.
10.15. Отсчеты по рулетке и рейкам записываются в
нивелирном журнале с обязательной зарисовкой расположения рулетки,
инструментов, реперов и реек на поверхности и под землей.
10.16. При значительной разнице в температуре воздуха на
дневной поверхности и под землей (более 5 °С) измерение ее производится на
нескольких горизонтах. За окончательную температуру рулетки принимают среднее
значение из показаний термометра на разных горизонтах.
10.17. Значения отметок подземных реперов вычисляются по
формуле
Hm = Hn + а - [(l1 - l2) + Dk + Dt°] - b,
где Нт -
отметка подземного репера;
Нп -
отметка репера на поверхности;
а - отсчет
по рейке на поверхности;
b - отсчет по рейке в шахте;
l1 - отсчет
по рулетке на поверхности;
l2 - отсчет
по рулетке в шахте;
Dk -
поправка за компарирование рулетки;
Dt° - поправка в длину рулетки за температуру.
Рис. 10.1. Передача
отметки с поверхности в подземные выработки:
1 - стенной репер; 2 - подземный
полигонометрический знак; 3 - нивелиры; 4 - нивелирные рейки; 5
- копер; 6 - рулетка с грузом
10.18. Поправка в длину рулетки за температуру
вычисляется по формуле
Dt° = kl(t°ср -
t0),
где k = 0,0000125 - коэффициент линейного расширения
стали на 1°;
t°ср -
средняя температура на поверхности и в шахте;
t0 -
температура, для которой дана поправка за компарирование рулетки.
10.19. При передаче отметки в глубоких стволах (более 150
м) вводится поправка за удлинение рулетки под влиянием собственного
веса, вычисляемая по формуле
![]()
где Q - половина собственного веса рулетки;
l - длина рулетки (использованная в данной передаче);
Е - модуль
упругости (для стали E = 2 · 106 кг/см2);
F - поперечное сечение рулетки, выраженное в см2.
10.20. При глубинах стволов свыше 150 м
рекомендуется для передачи отметки применение специального проволочного мерного
прибора (глубиномера), снабженного счетчиками полных оборотов мерного диска,
приспособлением для определения долей оборота и рейками, скрепляемыми с
проволокой в процессе передачи отметки.
10.21. Расхождения значений отметок, полученных из
передач при разных горизонтах (или разных положениях рулетки), не должны
превышать 4 мм, а расхождения значений отметок по разновременным
передачам - 7 мм. Для глубоких стволов допуски устанавливаются
специальными расчетами.
10.22. При передаче отметок через наклонные тоннели рейки
должны быть вновь исследованы и прокомпарированы контрольным метром.
10.23. Допустимое расхождение в вычисленной отметке
подземного репера, полученной из прямого и обратного нивелирования через
наклонный тоннель, не должно превышать величины, равной
где n - число штативов.
10.24. Исходными данными для подземного нивелирования
являются отметки реперов, на которые высота передана с дневной поверхности.
10.25. Для нивелирования реперов в подземных выработках и
тоннелях применяются:
а)
нивелиры типа НВ-1, НСМ-2А с самоустанавливающейся линией визирования и им
равноточные;
б)
двусторонние или односторонние шашечные рейки с сантиметровыми делениями длиною
от 0,6 до 3,0 м.
10.26. Рейки должны быть прокомпарированы. Случайные
ошибки дециметровых делений не должны превышать ± 0,5 мм.
Установка реек в вертикальное положение производится при помощи отвесов или
круглых уровней.
10.27. Нивелирование производится из середины, в прямом и
обратном направлениях.
10.28. Превышение на станции определяется отсчетами по
двум сторонам реек, а при наличии односторонних реек - при двух горизонтах
нивелира.
10.29. Расхождения в превышениях, определенных на станции
по черным и красным сторонам реек или при двух горизонтах инструмента, не
должны превышать 3 мм.
10.30. Отметка репера, заложенного в кровле, определяется
по формуле
Hк = Hл + а
+ b,
где Hк - отметка репера, заложенного в
кровле;
Hл -
отметка репера, заложенного в лотке;
а - отсчет
по рейке, установленной на лотковом репере;
b - отсчет по рейке, приложенной нулевым концом к
реперу в кровле.
10.31. При наличии деформаций подземных выработок
производятся повторные нивелирования, частота которых зависит от интенсивности
деформации.
10.32. После каждого подземного нивелирования полевые
журналы проверяются в две руки. Составляется в крупном масштабе схема
нивелирной сети, на которую выписывают (с округлением до миллиметра) средние
превышения из прямого и обратного ходов, дату нивелирования и число штативов.
Превышения могут заноситься также в схему подземной полигонометрии, где они
записываются зеленым цветом.
10.33. По мере замыкания нивелирных полигонов
подсчитываются их невязки.
Допустимые
невязки в полигонах вычисляются по формуле
![]()
где п - число штативов в
полигоне.
10.34. Отметки подземных реперов, определяемые в
результате первичного и всех последующих нивелирований, заносятся в каталог,
форма которого приведена в приложении 10-1.
10.35. Для ходов между реперами, отметки которых получены
из передач через стволы шахт или вентиляционные скважины, допустимая невязка
подсчитывается по формуле
![]()
где L¢ - длина
нивелирного хода в километрах в подземных выработках;
L - длина нивелирного хода
в километрах на поверхности.
Третий член
данной формулы, учитывающий ошибки передачи отметок с поверхности в подземные
выработки, рассчитан на глубину ствола шахты до 100 м. При более
глубоких шахтах третий член формулы определяется в зависимости от глубины шахты
и метода передачи отметок.
10.36. Для ходов подземного нивелирования, связанных с
поверхностью непосредственно (через порталы или штольни), допустимая невязка
определяется формулой
![]()
где L¢ - длина
нивелирного хода в километрах в подземных выработках;
L - длина нивелирного хода
в километрах на поверхности.
10.37. По мере завершения строительства тоннелей
производится окончательное нивелирование в прямом и обратном направлениях.
Уравновешивание системы ходов и полигонов подземного нивелирования выполняется
по способу проф. В.В. Попова, методом узлов, а при небольших значениях невязок
- упрощенным способом.
10.38. Все маркшейдерские работы по точной установке
путейских реперов в метрополитенах и железнодорожных тоннелях могут выполняться
только от окончательно уравновешенных отметок реперов (знаков) подземной
основы.
|
Местоположение репера |
Дата нивелирования |
||||||||
|
III.1964 г. |
VII.1964 г. |
XI.1964 г. |
IV.1965 г. |
||||||
|
Отметка |
Отметка |
Отметка |
Отметка |
||||||
|
полученная |
принятая |
полученная |
принятая |
полученная |
принятая |
полученная |
принятая |
||
|
ПЗ-1105 |
Околоствольный двор |
235,361 |
235,361 |
235,356 |
235,359 |
235,355 |
235,357 |
235,353 |
235,355 |
|
ПЗ-1124 |
Правый тоннель, кольцо №
328 |
235,564 |
235,564 |
235,561 |
235,563 |
235,559 |
235,561 |
235,557 |
235,559 |
11.01. Одним из основных проектных документов является
генеральный план подземных сооружений, на котором указывают все
запроектированные сооружения с их наименованиями и основными размерами. Для
транспортных тоннелей и метрополитенов план подземных сооружений составляется
на топографических планах масштабов 1:2000 - 1:5000.
11.02. Основными документами для вынесения в натуру
проектных осей, от которых производятся детальные разбивки сооружения, являются
геометрическая схема и профиль трассы.
11.03. На геометрической схеме трассы даются все плановые
геодезические данные, необходимые для перенесения проекта в натуру.
Координаты
и расстояния выписываются на схему до целых миллиметров, а дирекционные углы -
до десятых долей секунды.
11.04. Продольный профиль трассы проектируется на базе
общего геологического разреза. На нем показываются все данные, необходимые для
перенесения проекта профиля в натуру; все отметки и расстояния даются на нем до
миллиметров.
11.05. Все геометрические элементы, указанные в проектных
чертежах, проверяются повторным вычислением. Эти проверки выполняются по отдельным
участкам трассы, которые перекрываются не менее чем на 100 м. До начала
детальных геодезических расчетов следует проверить согласованность проектных
данных, выписанных на геометрической схеме, продольном профиле и разбивочных
чертежах.
11.06. На геометрической схеме (рис. 11.1 и 11.2)
приводятся следующие данные:
1. Номера пикетов и вершин углов поворота трассы.
2. Координаты пикетов и вершин углов поворота.
3. Дирекционные углы отрезков между вершинами хода.
Рис. 11.1. Геометрическая схема
прямолинейного участка трассы
4. Элементы круговой кривой, вписанной в угол
поворота трассы:
а)
центральный угол b;
б) радиус
кривой R
(зависящий от максимальной скорости движения поездов на данном участке);
в)
тангенс Т и кривая К, определяемые по формулам:
![]()
где r² = 206265².
11.07. Проверка геометрической схемы начинается с
повторных вычислений координат пикетов, углов поворота, начал и концов круговых
кривых. Примеры вычислений см. в приложениях 11-1 и 11-2.
На
криволинейных участках трассы координаты целых пикетов вычисляются через центр
кривой (см. приложение 11-3), где углы b1 и b2 (рис. 11.3)
определяются по формуле
![]()
где s - длина дуги, которая получается как разность
пикетажа определяемого пикета и начала круговой кривой.
Расхождения
между вычисленными и проектными значениями координат не должны превышать 2 мм.
Рис. 11.2.
Геометрическая схема криволинейного участка трассы
Рис. 11.3. Вычисление координат пикетов на
круговой кривой
11.08. Для создания плавного перехода с прямого участка
пути на круговую кривую и обратно применяют переходные кривые переменного
радиуса r, величину которого в любой точке переходной кривой
определяют по формуле
![]()
где С - параметр
переходной кривой;
l - расстояние от начала переходной кривой до
определяемой точки.
При
строительстве метрополитена и транспортных тоннелей для переходных кривых
применяют радиоидальную спираль.
Длины
переходных кривых L и
параметры их С даются на проектных чертежах трассы.
Применение
переходной кривой требует сдвига оси пути от разбивочной оси к центру кривой
(рис. 11.4).
Величина сдвига на круговой кривой z
определяется по формуле
![]()
Рис. 11.4. Взаимное расположение осей на
круговой кривой
11.09. Вычисление координат начал и концов переходных
кривых производят по линии тангенса, принимая последнюю за ось x-ов, а за начало координат - начало переходной
кривой. Вычисления ведутся по формулам (рис. 11.5):
![]()
![]()
величины а и а1
находятся по формулам:
![]()
Координаты
конца переходной кривой можно вычислить через центр кривой (см. рис. 11.5).
Рис. 11.5. Вычисление координат основных
точек переходной кривой
Величина
угла j
определяется по формуле
![]()
Примеры
вычисления координат начала и конца первой переходной кривой применительно к
рис. 11.2
см. в приложении 11-4.
11.10. Чтобы уравнять нагрузку от подвижного состава,
движущегося по кривой, наружный рельс ставится выше внутреннего на величину h (рис. 11.6), которая
называется возвышением наружного рельса над внутренним и определяется формулой
![]()
где u - скорость движения поездов на кривой, выраженная в
километрах в час;
R - радиус круговой кривой, выраженный в метрах.
h - возвышение в мм.
Для того,
чтобы вагон в наклонном положении симметрично расположился в тоннеле, ось
последнего на кривых участках смещается с оси пути по направлению к центру
кривой на величину q (см.
рис. 11.4
и 11.6),
определяемую по формуле
![]()
где В - расстояние по
вертикали между головкой рельсов и горизонтальным диаметром тоннеля;
А -
расстояние между осями рельсов.
(В
тоннелях метрополитена В = 1,85 м или 1,70 м, А = 1,60 м).
Тоннели с прямыми стенками имеют смещение обделки к центру кривой. Ось тоннеля
на величину q не
смещается.
11.11. Вычисление координат конца переходной кривой на
оси тоннеля производится теми же методами, что и для оси пути. В этом случае
при вычислении от линии тангенса к ординате у (см. рис. 11.5)
прибавляют величину q при
вычислении через центр кривой расстояние ЦК-КПК принимают равным R-z-q.
11.12. В тоннелях метрополитена на прямых отрезках трассы
одноименные пикеты размещают на одной нормали к оси пути. На кривых участках
трассы, где внешний тоннель (путь) длиннее внутреннего, это условие нарушается.
Для устранения подобного нарушения в средней части кривой тоннеля назначают неправильный
пикет (рис. 11.7). Неправильные пикеты могут быть назначены на обоих
тоннелях или на одном из них.
В случае,
когда неправильный пикет назначают в обоих тоннелях, то по наружному тоннелю
его длину принимают большей 100 м, а по внутреннему - меньшей 100 м
на величину
вычисляемую по
формуле
![]()
где DD - расхождение между длиною левого и правого
тоннелей;
d - расстояние между осями тоннелей.
Когда
неправильный пикет назначают на одном из тоннелей, то его величина будет
равняться 100 м + DD (если он
назначен на внешнем тоннеле) или 100 м - DD (если он
назначен на внутреннем тоннеле).
Рис. 11.6. Смещение
оси тоннеля относительно оси пути
Рис. 11.7. Расчеты неправильных пикетов на
кривых
Если на
предыдущих кривых было накоплено расхождение в пикетажах тоннелей, то оно
компенсируется введением дополнительной поправки в назначаемый неправильный
пикет.
11.13. Профиль трассы состоит из ряда ломаных линий,
сопряженных между собой вертикальными кривыми, которые обеспечивают плавность
оси пути в вертикальной плоскости.
11.14. На продольном профиле (рис. 11.8) даются:
а)
абсолютные отметки целых пикетов и точек перелома профиля;
б) уклоны
i прямых участков, с
указанием их знаков (подъемы считаются положительными, а скаты -
отрицательными);
в)
расстояния между точками перелома профиля и их пикетаж.
11.15. Вертикальные кривые характеризуются следующими
элементами:
а)
радиусом вертикальной кривой R;
б)
тангенсом вертикальной кривой Т, вычисляемым по формуле
![]()
Рис. 11.8. Профиль трассы
в)
биссектрисой Б, определяемой по формуле
![]()
Примечание. Величины i1
- i2 необходимо рассматривать как алгебраическую разность
сопрягаемых смежных уклонов.
11.16. Длина вертикальной кривой вычисляется по формулам:
![]()
где a - угол
поворота трассы в профиле;
r =
206265".
Значения
длины кривой и суммы двух тангенсов практически мало отличаются друг от друга и
потому считаются равными.
11.17. Высотные данные, даваемые на проектных чертежах,
должны быть проверены. Проверке подлежат отметки целых пикетов, пикетаж и
отметки перелома профиля, а также величины тангенса и биссектрисы. При
проверочных вычислениях необходимо обеспечить перекрытие с соседними участками.
11.18. Перед детальными подсчетами производят вычисление
пикетажа начала вертикальной кривой, конца вертикальной кривой и точки перегиба
профиля, а также их отметки.
11.19. Для детальной разбивки проектные отметки головки
рельсов вычисляют на прямых участках не реже чем через 10 м, а на
участках с вертикальными кривыми - через 2 - 4 м.
Отметки
точек, лежащих на вертикальной кривой*, определяют по формулам (рис. 11.9):
![]()
где
- искомая отметка
точки кривой;
- абсолютная
отметка точки, лежащей на линии тангенса;
DHi - удаление точки вертикальной
кривой от тангенса;
li - расстояние от начала (или
конца) вертикальной кривой до вычисляемой точки.
* Для участков вертикальной
кривой вычисления проектных отметок удобно вести с помощью «Таблиц расчета
вертикальных кривых при сооружении железных дорог и тоннелей», Ленинград, 1957
г. Составил В.В. Беляев.
Рис. 11.9. Удаление
точек на вертикальной кривой от линий тангенсов
11.20. Для определения положения полигонометрического
знака относительно запроектированной трассы необходимо вычислить его пикетаж D и
смещение от проектной оси d.
11.21. Для вычисления величин d и D на
прямых участках трассы применяют следующие способы:
а) с
помощью формул аналитической геометрии:
d = (Yпз - Yпк)cos a - (Xпз - Xпк)sin a;
D = (Yпз -
Yпк)sin
a + (Xпз
- Xпк)cos a,
где a -
дирекционный угол трассы.
Пример
вычисления см. в приложении 11-5;
б)
решением прямоугольного треугольника (рис. 11.10) по формулам:
d = l
× sin g; D = l
× cos g,
где l - расстояние между проектной точкой и знаком,
получаемое из решения обратной геодезической задачи;
g - угол,
полученный как разность дирекционных углов: оси трассы и линии ПК-ПЗ (рис.
11.10).
11.22. Если полигонометрический знак расположен на
участке переходной кривой, то сначала вычисляют его смещение d¢ относительно линии тангенса и пикетажное расстояние
D¢ (рис. 11.11).
Вычисления производятся по формулам, приведенным в п. 11.21а.
Смещение
знака d относительно оси тоннеля определяется применительно к рис.
11.11
по формуле
d = d¢ - yi - qi;
![]()
где yi - ордината переходной кривой на
пикете полигонометрического знака;
qi - смещение оси тоннеля от оси
пути на том же пикете,
li - разность пикетажа
полигонометрического знака и начала переходной кривой;
С -
параметр переходной кривой;
L - длина переходной
кривой.
Рис. 11.10.
Вычисление смещения от проектной оси и пикетажа полигонометрического знака на
прямом участке
Рис. 11.11. Вычисление смещения и пикетажа
полигонометрического знака на переходной кривой
При
расположении знака с внешней стороны кривой знаки при yi и qi меняются на обратные.
Величина d является
приближенной и на длинных переходных кривых может отличаться до 15 мм.
Истинное значение d определяется формулой
d = (d¢ ± yi)cos j ± qi,
где ![]()
Значение
пикетажа знака, определяемое с помощью величин D¢, является приближенным, но достаточно точным для
практических целей; точное значение расстояния определяется формулой
D = D¢ ± dtg j.
Пример
вычислений см. в приложении 11-6.
Рис. 11.12. Вычисление смещения и пикетажа
полигонометрического знака на круговой кривой
11.23. Смещение полигонометрического знака от оси тоннеля
на участке круговой кривой (рис. 11.12)
определяют по формуле
d = [R - (z + q)] - E,
где E - расстояние от
центра кривой до полигонометрического знака, определяемое из решения обратной
задачи.
Для
получения пикетажа знака на участке круговой кривой вычисляют длину дуги S по разбивочной оси от НКК до точки М (см.
рис. 11.12),
пользуясь формулой
![]()
где Q - центральный угол,
полученный как разность дирекционных углов ЦК-ПЗ и ЦК-НКК.
Затем
определяют пикетаж знака по формуле
ПКпз = ПКнкк
+ S.
Для
контроля пикетажное значение знака можно вычислить тем же способом от конца
круговой кривой. Пример вычисления см. в приложении 11-7.
11.24. Разбивка проектной оси сооружения от полигонометрических
знаков на прямых участках трассы выполняется следующими способами:
а)
откладыванием смещений d от полигонометрических знаков до проектной оси;
б)
выносом от полигонометрических знаков линий, параллельных проектной оси;
в)
выносом от полигонометрических знаков осевых отвесов полярным способом.
11.25. Детальную разбивку проектной оси в пределах
переходной кривой производят либо от линии тангенса, либо от стягивающей эту
кривую хорды.
11.26. Вынос в натуру от линии тангенса точек на
переходной кривой производят откладыванием абсцисс х и ординат y.
При
разбивке оси пути пользуются формулами:
![]()
где li - длина кривой от НПК1
до точки i.
С -
параметр переходной кривой.
При
разбивке оси тоннеля откладывается ордината yi = yi + qi; qi определяется по формуле
![]()
где L - длина всей
переходной кривой.
11.27. Большую точность дает метод разбивки переходной
кривой от стягивающей ее хорды (рис. 11.13), так
как промеры от хорды до переходной кривой значительно короче, чем промеры от
тангенса.
Рис. 11.13. Разбивка переходной кривой с
помощью стягивающей хорды
Угол b между
линией тангенса и стягивающей хордой получают из разности их дирекционных углов
или по формуле
![]()
где
![]()
Величина
стрелы прогиба bi
переходной кривой по оси тоннеля определяется по приближенной формуле
bi = litg b - (yi + qi).
где li - расстояние по хорде от начала
первой переходной кривой или от конца второй переходной кривой до проекции
точки i на
хорду.
При
больших длинах переходных кривых размеры стрел прогиба можно значительно
уменьшить разбивкой от двух стягивающих хорд (рис. 11.14).
Угол b1
(составленный направлением первой хорды с линией тангенса) и угол b2
(составленный продолжением первой хорды и направлением второй) вычисляются по
разностям дирекционных углов, полученным из решения обратных задач. Углы b1 и b2 могут
быть проверены по приближенным формулам:
![]()
где b - угол
между линией тангенса и хордой, стягивающей всю переходную кривую.
Для
первой хорды стрелы прогиба b1 i вычисляются
по формуле
b1 i = l1 itg
b1 - (yi + qi);
для
второй хорды стрелы прогиба b2 i определяются по формуле
b2 i = l1 itg
b1 + l2 itg
b2 - (yi + qi);
В
указанных формулах:
l1 i - расстояние от начала
переходной кривой до вычисляемой точки;
l2 i - расстояние от начала второй
стягивающей хорды до вычисляемой точки.
Величины yi и qi вычисляются по формулам:
![]()
11.28. При разбивках в пределах круговой кривой принято
заменять круговую линию ломаной, составленной из хорд или секущих. Длины хорд
или секущих выбираются с таким расчетом, чтобы отклонения этих линий от кривой
были минимальными и ими можно было бы пренебречь. В ряде случаев предпочитают
пользоваться длинными хордами, чем достигается значительное уменьшение объема
разбивочных работ. В этом случае необходимо вводить поправки за уклонения
кривой от хорды.
Рис. 11.14. Разбивка переходной кривой с
помощью двух стягивающих хорд
11.29. При разбивке круговых кривых короткими хордами
задаются допустимой величиной стрелы прогиба b в середине хорды, которой можно пренебречь. Затем
определяют приближенную длину хорды s¢ по
формуле
![]()
Получают
величину
,
где K - полная длина
кривой от КПК1 до НПК2. За число хорд п принимают
ближайшее большее к величине n целое число. После этого подсчитывается
длина дуги ks,
соответствующая принятой длине хорды, по формуле
![]()
где K - длина круговой
кривой по разбивочной оси, получаемая из разности пикетажа НПК2 и
КПК1, с учетом неправильного пикета;
DK -
поправка в длину круговой кривой за смещение ее с разбивочной оси на ось
тоннеля, которая определяется по формуле
![]()
Необходимые
для вычисления координат концов хорд длины их s
вычисляют по формуле
![]()
Центральный
угол g,
соответствующий длине хорды, вычисляется по формуле (рис. 11.15)
![]()
или по формуле
![]()
где Q - центральный угол, соответствующий полной длине
круговой кривой (рис. 11.5).
Для
вычисления координат концов хорд в качестве исходных служат (см. рис. 11.15)
дирекционный угол линии ЦК-КПК1 и координаты точки КПК1
(вычисленные на оси тоннеля), а в качестве примычных - дирекционный угол линии
НПК2-ЦК и координаты точки НПК2 (также на оси тоннеля).
Угол,
составленный радиусом с первой и последней хордами, равен
. Углы поворота между хордами равны 180° - g.
11.30. При использовании длинных хорд приходится вводить
поправки за стрелы прогиба круговой кривой относительно хорды. Вычисление стрел
прогиба производится через 2 м по кривой, по приближенной формуле (рис. 11.16)
![]()
где b0 - стрела прогиба в середине
хорды;
S - длина всей хорды;
si - расстояние точки i от середины хорды.
Рис. 11.15. Разбивка
круговой кривой короткими хордами
Рис. 11.16. Вычисление стрел прогиба для
длинной хорды
В
необходимых случаях вычисление стрелы прогиба для кривых малых радиусов можно
вести по уточненной формуле
bi = b0 - fi, где
![]()
fi вычисляется методом приближения
с помощью логарифмической линейки.
Вычисление
элементов и координат концов хорд производится по аналогии с вычислениями для
коротких хорд. Целесообразно вычислять смещения и пикетаж полигонометрических
знаков относительно концов соответствующих хорд, что облегчает задание
направления в натуре.
11.31. Разбивка круговых кривых по секущим позволяет
увеличить длину основной разбивочной линии. В этом случае также задаются
допустимой величиной стрелы прогиба, которой можно пренебречь.
Задаваясь
максимально допустимой величиной b (рис. 11.17),
определяют приближенную длину секущей s¢ по
формуле
![]()
где b - максимальное отклонение секущей от круговой
кривой (в середине секущей и на концах ее).
Длины
крайних секущих составляют 0,85 от нормальной длины секущей, так как один из их
концов лежит непосредственно на кривой. Приближенное значение п¢ числа
полных секущих определяется по формуле
![]()
где К - полная длина
кривой от КПК1 до НПК2
Рис. 11.17. Разбивка круговой кривой
секущими
За число
полных секущих п берется ближайшее большее целое число к п¢ и
определяется точная длина ks дуги,
соответствующая полной секущей, по формуле
![]()
где DK - то же, что и в п. 11.29.
Затем
находится длина полной секущей по формуле
![]()
Длины
неполных секущих sн,
расположенных у концов круговой кривой, и длины дуг kн, им
соответствующих, вычисляются по формулам:
sн = 0,85s; kн = 0,85ks,
Центральный
угол g,
стягивающий полную секущую, определяется по формуле
![]()
где Q - центральный угол, соответствующий полной длине
круговой кривой (см. рис. 11.5).
Центральный
угол gн
соответствующий неполной секущей, вычисляется по формуле
gн = 0,85g.
Углы g и gн могут
быть вычислены также по формулам:
![]()
Далее
вычисляется угол y (см. рис. 11.17) по формуле
![]()
Имея все
вышеперечисленные данные, производят вычисления координат концов секущих
аналогично вычислению координат концов хорд. Целесообразно получать смещения и
пикетаж полигонометрических знаков относительно концов соответствующих секущих.
|
Дирекционные углы a |
sin a |
Меры линий |
Приращения координат и их поправки |
Координаты |
|||||
|
° |
¢ |
² |
cos a |
± DY |
± DX |
Y |
X |
||
|
Левый путь |
|||||||||
|
ПК 43 |
|
|
|
|
|
|
|
7389,063 |
2371,356 |
|
72 |
34 |
22,1 |
0,954098 |
100,000 |
+95,4098 |
+29,9493 |
|
|
|
|
|
|
|
0,299493 |
|
|
|
|
|
|
|
ПК 44 |
|
|
|
|
|
|
|
7484,473 |
2401,305 |
|
72 |
34 |
22,1 |
0,954098 |
100,000 |
+95,4098 |
+29,9493 |
|
|
|
|
|
|
|
0,299493 |
|
|
|
|
|
|
|
ПК 45 |
|
|
|
|
|
|
|
7579,883 |
2431,255 |
|
72 |
34 |
22,1 |
0,954098 |
100,000 |
+95,4098 |
+29,9493 |
|
|
|
|
|
|
|
0,299493 |
|
|
|
|
|
|
|
ПК 46 |
|
|
|
|
|
|
|
7675,292 |
2461,204 |
|
72 |
34 |
22,1 |
0,954098 |
100,000 |
+95,4098 |
+29,9493 |
|
|
|
|
|
|
|
0,299493 |
|
|
|
|
|
|
|
ПК 47 |
|
|
|
|
|
|
|
7770,702 |
2491,153 |
|
72 |
34 |
22,1 |
0,954098 |
100,000 |
+95,4098 |
+29,9493 |
|
|
|
|
|
|
|
0,299493 |
|
|
|
|
|
|
|
ПК 48 |
|
|
|
|
|
|
|
7866,112 |
2521,102 |
|
Углы поворота (левые) |
Дирекционные углы a |
sin a |
Меры линий |
Приращения координат и их поправки |
Координаты |
|
|||||||
|
° |
¢ |
² |
° |
¢ |
² |
cos a |
± DY |
± DX |
Y |
X |
|
||
|
Левый путь |
|
||||||||||||
|
ПК 47 |
|
|
|
72 |
34 |
22,1 |
|
|
|
|
|
|
|
|
ПК 48 |
180 |
00 |
00,0 |
|
|
|
|
|
|
|
7866,112 |
2521,102 |
|
|
|
|
|
72 |
34 |
22,1 |
0,954098 |
46,439 |
+44,307 |
+13,908 |
|
|
|
|
|
|
|
|
|
|
|
0,299493 |
|
|
|
|
|
|
|
|
НКК 3 лев. |
180 |
00 |
00,0 |
|
|
|
|
|
|
|
7910,419 |
2535,010 |
|
|
ПК 48 + 46,439 |
|
|
|
72 |
34 |
22,1 |
0,954098 |
126,959 |
+121,131 |
38,023 |
|
|
|
|
|
|
|
|
|
|
0,299493 |
|
|
|
|
|
|
|
|
УП 3 лев. |
203 |
53 |
41,4 |
|
|
|
|
|
|
|
8031,550 |
2573,033 |
|
|
|
|
|
96 |
28 |
03,5 |
0,993636 |
126,959 |
+126,151 |
-14,301 |
|
|
|
|
|
|
|
|
|
|
|
0,112642 |
|
|
|
|
|
|
|
|
ККК 3 лев. |
180 |
00 |
00,0 |
|
|
|
|
|
|
|
8157,701 |
2558,732 |
|
|
ПК 50 + 81,828 |
|||||||||||||
|
|
|
|
96 |
28 |
03,5 |
0,993636 |
18,172 |
+18,057 |
-2,047 |
|
|
|
|
|
|
|
|
|
|
|
0,112642 |
|
|
|
|
|
|
|
|
ПК 51 |
180 |
00 |
00,0 |
|
|
|
|
|
|
|
8175,758 |
2556,685 |
|
|
|
|
|
96 |
28 |
03,5 |
|
|
|
|
|
|
|
|
|
ПК 52 |
|
|
|
|
|
|
|
|
|
|
|
|
|
|
Углы поворота (левые) |
Дирекционные углы a |
sin a |
Меры линий |
Приращения координат и поправки |
Координаты |
|
||||||||||||||||||
|
° |
¢ |
² |
° |
¢ |
² |
cos a |
± DY |
± DX |
Y |
X |
|
|||||||||||||
|
Вычисление координат центра кривой «три» по левому пути |
|
|||||||||||||||||||||||
|
ПК 47 |
|
|
|
72 |
34 |
22,1 |
|
|
|
|
|
|
|
|||||||||||
|
НКК |
270 |
00 |
00,0 |
|
|
|
|
|
|
|
7910,419 |
2535,010 |
|
|||||||||||
|
ПК 48 + 46,439 |
||||||||||||||||||||||||
|
|
|
|
162 |
34 |
22,1 |
0,299493 |
600,000 |
+179,696 |
-572,459 |
|
|
|
||||||||||||
|
|
|
|
|
|
|
0,954098 |
|
|
|
|
|
|
||||||||||||
|
ЦК3 лев |
23 |
53 |
41,1 |
|
|
|
|
|
+67,585 |
+596,182 |
8090,115 |
1962,551 |
|
|||||||||||
|
|
|
|
6 |
28 |
03,5 |
0,112642 |
600,000 |
+1 |
-1 |
|
|
|
||||||||||||
|
|
|
|
|
|
|
0,993636 |
|
|
|
|
|
|
||||||||||||
|
ККК |
270 |
00 |
00,0 |
|
|
|
|
|
|
|
8157,701 |
2558,732 |
|
|||||||||||
|
ПК 30 + 81,828 |
||||||||||||||||||||||||
|
|
|
|
96 |
28 |
03,5 |
å |
1200,000 |
+247,281 |
+23,723 |
|
|
|
||||||||||||
|
ПК 51 |
å |
536 |
53 |
41,4 |
|
|
|
|
|
|
|
|
|
|||||||||||
|
Вычисление координат пикетов на круговой кривой по левому
пути |
|
|||||||||||||||||||||||
|
НКК |
|
|
|
162 |
34 |
22,1 |
|
|
|
|
|
|
||||||||||||
|
ЦК3 лев |
5 |
06 |
52,9 |
|
|
|
|
|
|
|
8090,115 |
1962,551 |
|
|||||||||||
|
|
|
|
347 |
41 |
15,0 |
0,213243 |
600,000 |
-127,946 |
+586,199 |
|
|
|
||||||||||||
|
|
|
|
|
|
|
0,976999 |
|
|
|
|
|
|
||||||||||||
|
ПК 49 |
|
|
|
|
|
|
|
|
|
|
7962,169 |
2548,750 |
|
|||||||||||
|
НКК |
|
|
|
162 |
34 |
22,1 |
|
|
|
|
|
|
|
|||||||||||
|
ЦК3 лев |
16 |
14 |
51,0 |
|
|
|
|
|
|
|
8090,115 |
1962,551 |
|
|||||||||||
|
|
|
|
358 |
39 |
13,1 |
0,023496 |
600,000 |
-14,098 |
+599,834 |
|
|
|
||||||||||||
|
|
|
|
|
|
|
0,999724 |
|
|
|
|
|
|
||||||||||||
|
ПК 50 |
|
|
|
|
|
|
|
|
|
|
8076,017 |
2552,385 |
|
|||||||||||
|
||||||||||||||||||||||||
|
Углы поворота (левые) |
Дирекционные углы a |
sin a |
Меры линий |
Приращения координат и их поправки |
Координаты |
||||||||||||
|
° |
¢ |
² |
° |
¢ |
² |
cos a |
± DY |
± DX |
Y |
X |
|||||||
|
Вычисление координат начала первой переходной кривой
(левый путь) |
|||||||||||||||||
|
ПК 47 |
|
|
|
72 |
34 |
22,1 |
|
|
|
|
|
|
|||||
|
ПК 48 |
180 |
00 |
00,0 |
|
|
|
|
|
|
|
7866,112 |
2521,102 |
|||||
|
|
|
|
72 |
34 |
22,1 |
0,954098 |
21,433 |
+20,449 |
+6,419 |
|
|
||||||
|
|
|
|
|
|
|
0,299493 |
|
|
|
|
|
||||||
|
НПК1 |
180 |
00 |
00,0 |
|
|
|
|
|
|
|
7886,561 |
2527,521 |
|||||
|
ПК 48 + 21,433 |
|
|
|
72 |
34 |
22,1 |
0,954098 |
25,006 |
+23,858 |
+7,489 |
|
|
|||||
|
|
|
|
|
|
|
0,299493 |
|
|
|
|
|
||||||
|
НКК |
|
|
|
|
|
|
|
|
|
|
7910,419 |
2535,010 |
|||||
|
ПК 48 + 46,439 |
|
|
|
|
|
|
å |
46,439 |
+44,307 |
+13,908 |
|
|
|||||
|
Вычисление координат конца первой переходной кривой
(левый путь) |
|||||||||||||||||
|
ПК 48 |
|
|
|
72 |
34 |
22,1 |
|
|
|
|
|
|
|||||
|
НПК1 |
180 |
00 |
00,0 |
|
|
|
|
|
|
|
7886,561 |
2527,521 |
|||||
|
ПК 48 + 21,433 |
|
|
|
72 |
34 |
22,1 |
0,954098 |
49,991 |
+47,696 |
+14,972 |
|
|
|||||
|
|
|
|
|
|
|
0,299493 |
|
|
|
|
|
||||||
|
N1 |
270 |
00 |
00,0 |
|
|
|
|
|
|
|
7934,257 |
2542,493 |
|||||
|
|
|
|
162 |
34 |
22,1 |
0,299493 |
0,694 |
+0,208 |
-0,662 |
|
|
||||||
|
|
|
|
|
|
|
0,954098 |
|
|
|
|
|
||||||
|
КПК1 |
|
|
|
|
|
|
|
|
|
|
7934,465 |
2541,831 |
|||||
|
ПК 48 + 71,433 |
|
|
|
|
|
|
å |
50,685 |
+47,904 |
+14,310 |
|
|
|||||
|
НКК |
|
|
|
162 |
34 |
22,1 |
|
|
|
|
|
|
|||||
|
ПК 48 + 46,439 |
|||||||||||||||||
|
ЦК3 лев |
2 |
23 |
14,4 |
|
|
|
|
|
-1 |
+1 |
8090,115 |
1962,551 |
|||||
|
|
|
|
344 |
57 |
36,5 |
0,259491 |
599,826 |
-155,649 |
+579,279 |
|
|
||||||
|
|
|
|
|
|
|
0,965745 |
|
|
|
|
|
||||||
|
КПК1 |
|
|
|
|
|
|
|
|
|
|
7934,465 |
2541,831 |
|||||
|
ПК 48 + 71,433 |
|||||||||||||||||
|
Y |
X |
a |
DYcos a |
-DXsin a |
d |
Пикетаж |
||
|
DY |
DX |
sin a |
cos a |
DYsin a |
DXcos a |
D |
||
|
ПК 47 |
7770,702 |
2491,153 |
72°34¢22² |
+14,250 |
-13,280 |
+0,970 |
|
|
|
ПЗ 1721 |
7818,284 |
2505,072 |
|
|
+45,397 |
+4,169 |
+49,566 |
ПК 47 + 49,566 |
|
+47,582 |
+13,919 |
+0,954098 |
+0,299493 |
|
|
|
|
|
|
Y |
X |
a |
DYcos a |
-DXsin a |
d' |
Пикетаж |
||
|
DY |
DX |
sin a |
DYsin a |
DYcos a |
DXcos a |
D |
||
|
ПК 48 |
7866,12 |
2521,102 |
72°34¢22² |
+16,974 |
-15,830 |
+1,144 |
|
|
|
ПЗ 1725 |
7922,738 |
2537,694 |
|
|
+54,075 |
+4,969 |
+59,044 |
ПК 48 + 59,044 |
|
+56,676 |
+16,592 |
+0,954098 |
+0,299493 |
|
|
|
|
|
li = ПК 48 + 59,044 - ПК 48 + 21,439
= 37,605;
![]()
![]()
y¢i = yi
+ qi = 0,396.
Удаление
ПЗ 1725 от линии тангенса _d¢ = +1,144
y¢i = -0,396
Удаление ПЗ относительно оси тоннеля d = +0,748
Пикетаж ПЗ
1725 = ПК 48 + 59,044.
|
Y |
X |
tg a (a) |
sin a |
E |
|
|
DY |
DX |
a |
cos a |
||
|
ЦК 3 |
8090,115 |
1962,551 |
0,122057 |
|
|
|
ПЗ 1733 |
8017,357 |
2558,649 |
(6°57¢32²) |
0,121158 |
(600,522) |
|
-72,758 |
+596,098 |
353°02¢28² |
0,992634 |
600,521 |
Вычисление смещения
|
Радиус
разбивочной кривой R |
600,000 |
|
|
-(z
+ q) |
-0,307 |
|
|
R - (z
+ q) |
599,693 |
|
|
-E |
-600,521 |
|
|
Удаление
ПЗ от оси тоннеля δ |
-0,828 |
|
|
Вычисление пикетажа |
||
|
ацк - НКК |
342°34¢22² |
|
|
ацк - ПЗ 1733 |
353 02 28 |
|
|
Q |
+10 28 06 |
|
|
Q² |
+37 686" |
|
|
|
0, 002 909 |
|
|
|
+109,624 |
|
|
ПК НКК |
ПК 48 + 46,439 |
|
|
Поправка
за неправильный пикет |
- |
|
|
ПК ПЗ
1733 |
ПК 49 + 56,063 |
|
12.01. Разбивка центра ствола производится по привязкам
от ситуации местности или по координатам, которые выдаются проектной
организацией.
12.02. Намеченный от ситуации центр ствола определяется с
пунктов полигонометрии полярным способом не менее чем с двух точек или же через
него прокладывается теодолитный ход; фактические координаты центра ствола
сообщаются проектной организации.
12.03. Оси ствола закрепляются на поверхности штырями,
заложенными в бетон (рис. 12.1), и
служат в последующем для
периодического восстановления центра ствола и разбивки осей подъема (рис. 12.2).
Разбивка
оси ствола, параллельной оси подъема, производится от пунктов полигонометрии с
точностью ± 10 мм.
Рис. 12.1. Разбивка
и закрепление осей ствола. Размеры указаны в сантиметрах
Рис. 12.2. Расположение осей ствола и
подъема
12.04. При сооружении форшахты от закрепленных осей
выносится центр ствола, от которого устанавливаются кружала с точностью ± 3 см.
12.05. Расположение замков колец относительно осей ствола
указывается на проектных чертежах.
12.06. Укладка первых колец производится от центра
ствола. Контрольные промеры производятся не менее чем по 8 радиусам кольца.
Отклонения в получаемых результатах от проектных величин не должны превышать ± 10 мм.
Перекос первых колец относительно горизонтальной плоскости допускается не более
5 мм.
Контроль
монтажа последующих колец производится по 4 - 8 радиусам. Отклонения их от
проекта не должны превышать ± 25 мм. Эллиптичность смонтированных колец
допускается в пределах ± 50 мм.
12.07. После установки первых колец к бортам тюбингов
привинчиваются металлические пластины, на которые выносятся оси ствола I - III и II - IV,
закрепляемые отверстиями диаметром 2 мм на равных расстояниях от центра
ствола (рис. 12.3 и 12.4).
Закрепление
осей на пластинах производится с точностью ± 3 мм, а передача высотных отметок на них - с
точностью ± 5 мм.
По мере
проходки ствола оси и отметки переносятся на пластины, закрепляемые через
каждые 10 м.
Рис. 12.3. Закрепление осей в стволе:
1 - металлические пластины; 2 - отверстие для
отвеса Æ = 2 мм
Рис. 12.4. Металлическая пластина:
1 - шаг болтовых отверстий; 2 - отверстие для
отвеса Æ = 2 мм
Рис. 12.5. Определение крена опускной крепи
12.08. При наличии соответствующих условий для проходки
ствола пользуются центровым отвесом.
12.09. Определение перекоса уложенных колец при способе
подводки их снизу производится от горизонта, закрепленного выше, в готовой
части ствола, или посредством сообщающихся сосудов («гидроуровня»).
При
способе же опускной крепи для определения крена ножа пользуются стационарными
сообщающимися сосудами со шкалами или же уклономерами, расположенными по осям
опускной крепи.
12.10. По полученному крену (перекосу) кольца или ножа
можно определить смещение центра верхнего кольца относительно нижнего по формуле
![]()
где d -
смещение в миллиметрах;
k - крен ствола в миллиметрах;
b - глубина ствола в метрах;
d - диаметр ствола в метрах (рис. 12.5).
Величина
смещения центра ствола при опускном способе проходки не должна превышать 0,01
глубины опускания крепи (но не более ± 25 см).
12.11. После окончания проходки ствола производится
съемка поперечных сечений через 5 м. По результатам этой съемки
определяются полезное рабочее сечение ствола и координаты центра вписанного
цилиндра, которые сообщаются проектной организации.
12.12. Армировка ствола производится от осей,
закрепленных в стволе. Установка расстрелов и направляющих осуществляется от
отвесов, расположенных в местах, удобных для проверки расстрелов (рис. 12.6). Они
могут быть опущены на глубину до 100 м.
12.13. Укрепление отвесов для армировки ствола
производится на первом верхнем ярусе расстрелов. Каждый отвес должен иметь
специальную лебедку с намотанной стальной проволокой сечением не менее 1 мм.
Лебедка прочно крепится к расстрелу (рис. 12.7).
12.14. Для отвесов при армировке ствола применяются
следующие грузы:
при
глубине ствола:
от 10 до
20 м......................................................... 5
кг
от 20 до
30 м......................................................... 8
»
от 30 до
40 м......................................................... 12
»
от 40 до
50 м......................................................... 15
»
от 50 до
70 м и более........................................... 20
»
12.15. Места опускания и количество отвесов
устанавливаются в зависимости от насыщенности армировки ствола. Лебедка с
проволокой для отвеса крепится к расстрелу. В расстрел забивается
маркшейдерский гвоздь, в отверстие которого пропускается стальная проволока с
небольшим грузом (рис. 12.7). По мере опускания отвеса при армировании ствола
груз должен увеличиваться в соответствии с п. 12.14.
Рис. 12.6.
Расположение отвесов для установки расстрелов и направляющих при армировке
ствола:
1 - направляющие; 2 - лестничное
отделение; 3 - расстрелы; 4 - лесоспуск; 5 - отвесы; 6
- электрокабель; 7 - клетевые проемы; 8 - вентиляционная труба
12.16. Установка расстрелов может производиться двумя
способами: последовательным и встречным.
При
последовательном способе установка расстрелов производится ярусами сверху вниз
и опускание отвесов происходит постепенно, а при встречном способе установка
расстрелов ведется по заранее размеченным ярусам сверху вниз и снизу вверх. В
этом случае отвесы сверху опускаются на уровень околоствольного двора.
12.17. Плоскости деревянных брусьев для направляющих
клети должны иметь машинную обработку. Отклонение любой плоскости направляющих
не должно превышать ± 5 мм.
12.18. Установка вертикальных направляющих производится с
точностью ± 10 мм. Особое внимание должно быть обращено на тщательную подгонку, стыковку
направляющих друг с другом и затяжку скрепляющих болтов.
Рис. 12.7. Спуск
отвеса для проверки установленных расстрелов и направляющих в стволе:
1 - скрепляющие болты; 2 - расстрел; 3 -
отвес; 4 - груз; 5 - направляющий брус
12.19. После окончательной подвески производится
контрольная выверка правильности положения направляющих по вертикали, а также
соблюдения габаритных размеров между проводниками для клети. Контрольные измерения
производятся через 3 м по высоте, при этом положение отвесов в стволе
должно быть предварительно проверено.
12.20. После окончания проходки ствола и определения
положения центра вписанного цилиндра (см. п. 12.11)
проектной организацией уточняются дирекционные углы и координаты осей
околоствольных выработок. От геодезической основы на поверхности
инструментально производится разбивка проектного направления оси околоствольных
выработок (околоствольного двора) согласно указанным уточненным данным. Ось
околоствольного двора закрепляется запилами на пластинах верхнего яруса и затем
проектируется на пластины нижнего горизонта.
Все ранее
произведенные запилы, служившие для проходки ствола, должны быть уничтожены.
12.21. На установленные первые крепления визуально
переносится проектная ось сооружения по створу отвесов, расположенных в стволе
на нижнем горизонте пластин. Высотные костыли закрепляются на крепи и
определяются от приствольного репера при помощи сообщающихся сосудов.
12.22. Осевые точки закрепляются маркшейдерскими гвоздями
в сводовой части выработок. Каждая точка должна иметь надпись, определяющую ее
назначение и пикетаж (рис. 12.8).
Высотные костыли оформляются также соответствующей надписью.
Рис. 12.8.
Закрепление осей и высотных отметок в выработках. Размеры указаны в
миллиметрах:
1 - лежан; 2 - стойка; 3 - верхняк; 4
- дренажная канава; 5 - высотный костыль; 6 - маркшейдерский
гвоздь
12.23. При работе с металлическим креплением ось и
высотные отметки фиксируются запилами, оформляемыми подкраской белой масляной
краской (оси - вертикальной чертой, высотные отметки - треугольником).
12.24. Если подходная штольня имеет значительную длину
или сложную конфигурацию (наличие кривых), дальнейшая разбивка оси может
производиться только от полигонометрических знаков, координаты которых
определены на основе ориентирования по створу двух отвесов. Одновременно с
ориентированием производится передача отметки на приствольные реперы в
соответствии с указаниями раздела Б главы 10.
12.25. До начала работ на основной трассе необходимо
выполнить ориентирование по способу соединительных треугольников или
гироскопическим методом (независимо от протяженности подходной штольни).
12.26. Разбивка в натуре продольных осей выработок
(сооружений) на прямолинейном участке выполняется одним из следующих способов
(рис. 12.9):
а)
откладыванием от полигонометрических знаков вычисленных величин и смещений от
проектной оси;
б)
разбивкой линии, параллельной проектной оси, путем откладывания угла на
полигонометрическом знаке;
в)
выносом с полигонометрических знаков полярным способом осевых точек на заданных
пикетах.
Разбивка
осей производится с точностью ± 5 мм.
Рис. 12.9. Разбивка
продольных осей выработок от полигонометрических знаков:
1, 2 и 3 - створные осевые точки
12.27. Во всех случаях разбивок оси должно быть вынесено
одновременно не менее трех точек. Створность трех вынесенных точек явится
подтверждением правильности разбивки. При каждом уточнении оси все ранее закрепленные
точки должны быть тщательно уничтожены.
12.28. Провешивание оси по трем инструментальным точкам
производится на расстояние до 10 м на глаз, а свыше 10 м -
инструментально. Продольная ось закрепляется не реже чем через 5 м.
12.29. Высотные костыли закрепляются не реже чем через 5 м
и определяются по высоте с точностью ± 5 мм. Использование в качестве исходного
одного репера не допускается.
12.30. На криволинейных участках сооружений продольная
ось закрепляется системой хорд или секущих (рис. 12.10).
Отклонения (стрелы прогиба) заданных хорд или секущих от криволинейной оси
могут не учитываться, если они не превышают:
5 см - для горных выработок;
2 см - для бетонных работ и для укладки
сборных конструкций.
Рис. 12.10. Разбивка
продольной оси выработки:
а - способом хорд и б
- способом секущих
12.31. Разбивка околоствольных сооружений (насосная
камера, склад взрывматермалов и др.) производится упрощенными способами, с
применением графических построений и так называемого «египетского треугольника»
(стороны которого кратны числам 3, 4, 5). Такие же способы применяются при
разбивке вспомогательных (притоннельных) выработок на основной трассе.
12.32. В тоннелестроении осуществляется проходка штолен
различного назначения: подходных, передовых, вентиляционных, дренажных, верхних
и др., с деревянной или металлической крепью.
12.33. Основными маркшейдерскими работами при проходке
штолен являются разбивка оси штольни в плане и ведение её по высоте. Все
разбивочные работы производятся в соответствии с указаниями раздела В
настоящей главы.
12.34. Рекомендуется применять для обслуживания
штольневой проходки световые сигналы, вертикальные прорези которых фиксируют
продольную ось, а горизонтальные - высотную отметку, с учетом проектного уклона
(см. пп. 15.11 и 15.22).
12.35. При проходке на криволинейном участке штольни
первоначальная разбивка очередной хорды (секущей) выполняется при подходе забоя
к концу хорды путем смещения осевых отвесов предыдущей хорды на створ новой
(рис. 12.11). Окончательная разбивка выполняется
инструментально, полярным способом.
Рис. 12.11. Разбивка
направления новой секущей в забое:
1 - осевые отвесы; 2 - точка попорота
12.36. При проходке передовых штолен по трассе на участке
переходной кривой пользуются линией тангенса, от которой откладываются
ординаты, определяющие положение оси в натуре (см. рис. 14.6).
На второй
части переходной кривой целесообразно пользоваться смещенной линией тангенса.
При
значительной длине переходных кривых в железнодорожных тоннелях для разбивки
оси следует пользоваться одной или несколькими хордами, для которых
рассчитываются стрелы прогиба (см. раздел Д главы II).
12.37. Если к точности проходки штольни не предъявляется
повышенных требований, возможно переходную кривую заменить системой секущих
(иногда неравной длины), разбивку которых производят в соответствии с
указаниями п. 12.35.
12.38. Отклонения рам штольневого крепления в плане (от
оси), в профиле и по пикетажу не должны превышать ± 5 см.
Рамы должны устанавливаться нормально к оси; для
криволинейных участков это требование означает, что плоскость рамы должна быть
направлена по радиусу кривой.
12.39. При проходке штолен в скальных породах без
крепления или с анкерной крепью в стенах забуриваются шпуры через 5 - 10 м
на заданном горизонте. В шпуры забиваются деревянные пробки, на которых
фиксируются точки (маркшейдерские гвозди) по пикетажу, высоте и смещению от
оси. Все эти данные записываются в табличках, закрепленных на пробках.
12.40. В штольнях с применением электровозной откатки на
верхняках рам закрепляется смещенная ось на безопасном для работы расстоянии от
контактного провода.
12.41. В процессе проходки штольни должна производиться
маркшейдерская съемка устанавливаемой крепи и разработанных профилей породы.
Данные съемки фиксируются в маркшейдерской книге и заносятся на рабочие планы.
13.01. Все разбивочные работы при строительстве подземных
сооружений горным способом с монолитной обделкой базируются на подземной
полигонометрии и высотной основе, закрепляемой в нижней или верхней штольнях (в
зависимости от принятой организации работ). Применяя способы проходки с
раскрытием на полный профиль, знаки подъемной маркшейдерской основы закрепляют
в подошве или стенах сооружения, при небольших сечениях тоннеля - в своде.
13.02. Когда имеется нижняя штольня, прокладка
полигонометрии в верхней штольне необязательна. Перенос оси сооружения на
верхний горизонт (верхнюю штольню) осуществляется инструментально от знаков
полигонометрии нижней штольни через вертикальные сбойки (фурнели) с помощью
створа двух отвесов. По мере появления новых фурнелей ось должна
корректироваться дополнительными отвесами (рис. 13.1).
Рис. 13.1. Передача
направления и отметок в верхний горизонт выработок:
1 - створные отвесы нижнего горизонта; 2 -
отвесы для передачи направления; 3 - створные отвесы верхнего горизонта;
4 - репер нижнего горизонта; 5 - высотный костыль верхнего
горизонта; 6 - нивелирные рейки; 7 - рулетка; 8 - нивелиры
13.03. Определение отметок временных реперов в верхней
штольне производится нивелированием с помощью стальной рулетки, опущенной через
вертикальную сбойку (см. рис. 13.1).
13.04. При проходке вертикальной выработки (фурнели) в
крепление забивается костыль и указывается расстояние от него до верха
разработки.
13.05. На стойках рам верхней штольни с обеих сторон
закрепляются высотные костыли для обеспечения проходки ее и разработки калотт в
профиле. Отметки указанных костылей определяются инструментально не менее чем с
двух исходных реперов.
13.06. До начала разработки калотт назначается пикетаж
начала и конца каждой калотты с присвоением ей соответствующего порядкового
номера. Составляется схема расположения лонгарин калотты и проектных расстояний
до них от оси и высотных костылей, а также паспорт крепления кружал,
утверждаемый руководством строительства.
13.07. При разработке калотты в ней закрепляются
продольная ось, линия горизонта и нормаль к оси. На основе этих данных в
соответствии с проектной схемой производится разработка грунта и установка
крепления. Перед производством разбивок для установки кружал ось и высотные
отметки должны быть повторно проверены от нижнего горизонта.
13.08. На криволинейных участках трассы в калотте
закрепляется ломаная линия, отклонения которой от проектной кривой не должны
превышать ± 2 см. Для этой цели осевые гвозди на
верхняках рам верхней штольни, выставленные по хорде или секущей, смещаются на
величины стрел прогиба, рассчитываемые в соответствии с пикетажем точек.
Предварительно продольная ось проверяется от нижнего горизонта; все старые
гвозди уничтожаются.
13.09. Установка креплений в калоттах на прямых участках
сооружения производится перпендикулярно его продольной оси; на криволинейных
участках - нормально к оси, т.е. по направлению радиуса кривой.
Рис. 13.2. Схема
разбивки для установки кружал:
R - радиус кружала; h
- расстояние от центра кружала (о) до пяты свода (к); 1 -
высотный костыль; 2 - штендеры; 3 - линия вспомогательного
горизонта; 4 - маркшейдерский гвоздь; 5 - затяжка; 6 -
филата; 7 - марчеваны; 8 - верхняк; 9 - клинья; 10
- уровень верха кружал; 11 - рашпаны; 12 - лонгарины; 13 -
кружало; 14 - лежаны; 15 - проектный контур обделки тоннеля; 16
- пята свода
13.10. После окончания разработки калотты производится
съемка поперечных сечений через 2 - 3 м по пикетажу, от закрепленной
продольной оси и высотных костылей.
Съемка
разработанного профиля поперечного сечения может осуществляться также от кружал
радиальными промерами (см. рис. 13.4).
13.11. Для установки кружал по обе стороны калотты
закрепляются высотные костыли и отвесы, фиксирующие обрезы кружал (рис. 13.2).
13.12. Изготовление кружал и лекал для бетонирования
производится на специальном полке (бойке) с точностью ± 1 см.
На кружалах наносятся осевые нарезки и линия высотных костылей, являющихся
исходными для установки кружал (рис. 13.3).
Рис. 13.3. Разбивка
кружал трехрадиусного очертания
Рис. 13.4. Проверка
установки кружал и съемка контура выработки:
1 - кружало; 2 - унтерцуги;
, где h задается в наиболее
удобном для измерений месте.
13.13. Установка пят кружал от продольной оси и верха
кружал по высоте производится с точностью ± 2 см. Проверка правильности кривизны
установленного кружала осуществляется промером от оси на промежуточных уровнях
(рис. 13.4). Эту проверку можно осуществлять также от хорды
сравнением фактических и проектных стрел прогиба. Общая погрешность в установке
кружал не должна превышать 4 - 3 см.
Величина строительного подъема кружал устанавливается равной толщине опалубки;
при значительном горном давлении подъем может быть увеличен.
13.14. Установка кружал для бетонирования сводов на
прямых участках осуществляется перпендикулярно продольной оси сооружения, на
криволинейных участках - нормально к оси.
13.15. По разбивочным данным определяются только крайние
кружала, а промежуточные устанавливаются по шнуру между крайними, уже
закрепленными кружалами.
13.16. Проверка и приемка к бетонированию установленных
кружал производится только в том случае, если крепление их выполнено в строгом
соответствии с паспортом крепления (см. п. 13.06).
Уменьшение проектной толщины конструкции не разрешается.
13.17. При бетонировании сводов сооружений определяется
пикетаж начала и конца укладываемого бетона с точностью ± 5 см.
13.18. В процессе забивки бетоном замковой части свода на
опалубку рекомендуется устанавливать деревянные пробки или скобы для
последующего закрепления в них осевых точек.
13.19. Бетонирование сводовой части обделок подземных
сооружений может также осуществляться с помощью металлических механизированных
опалубок секционного (шарнирноскладывающегося) и сегментного (тюбингового)
видов. Один из видов такого рода опалубок показан на рис. 13.5.
13.20. До монтажа опалубки под бетонирование производится
укладка рельсов перестановщика с точностыо ± 5 см
в плане и бетонирование лент (фундаментов) для установки опорных
тюбингов металлической опалубки. Укладка рельсов по высоте определяется запасом
«хода руки» перестановщика. Бетонирование лент производится с точностью от 0 до
минус 3 см (относительно проектных отметок).
13.21. Установка опорных тюбингов первого кольца
производится в плане и по высоте с точностью ± 5 мм.
13.22. Отклонения геометрических элементов
смонтированного первого кольца чугунной тюбинговой опалубки должны быть не
более:
отклонение опорных тюбингов в плане........... ± 10 мм
горизонтальная эллиптичность.......................... ± 25 »
отклонение опорных тюбингов по высоте....... ± 10 »
отклонение свода по высоте.............................. ± 25 »
горизонтальное опережение............................... ± 10 »
вертикальное опережение.................................. ± 10 »
13.23. Все последующие смонтированные тюбинговые кольца
для бетонирования должны иметь отклонения от проекта не более:
отклонение в плане............................................. ± 25 мм
горизонтальная эллиптичность.......................... ± 25 »
отклонение свода по высоте.............................. ± 30 »
горизонтальное опережение............................... ± 30 »
вертикальное опережение.................................. ± 30 »
13.24. Крепление установленных тюбинговых колец опалубки
для бетонирования должно производиться в соответствии с утвержденным паспортом
крепления.
Рис. 13.5.
Тюбинговая металлическая опалубка. Тюбинги:
О - опорный; Н -
нормальный; С - смежный; К - ключевой (замковый); 1 -
точки 2, 4 и 2¢, 4¢ - установочные,
контрольные; 2 - бетонная опорная лента; 3 - проектная
подошва верхнего уступа
13.25. От установленных колец опалубки
осуществляется профилировка выработки по всему периметру.
После
снятия опалубки производится съемка поперечных сечений сооружения в
соответствии с п. 13.10.
13.26. Для разбивок, связанных с разработкой и
бетонированием стен, выносится предварительно инструментом продольная ось,
закрепляемая в забетонированном своде.
В местах,
где закрепление и пользование осью в своде затруднено, разрешается разбивка
смещенной оси. Одновременно закрепляются высотные отметки, служащие для
разработки породы и установки лекал.
Рис. 13.6. Установка лекал и съемка штроссы
13.27. Разработанные штроссы должны профилироваться не
реже чем через 3 м. Съемка профиля выработки может быть произведена
также и от установленных лекал (см. выше рис. 13.6). По
разбивочным данным устанавливаются крайние лекала в штроссе, а промежуточные -
по шнуру, закрепляемому на крайних лекалах. Для установки лекал по высоте при
их изготовлении делается высотная нарезка (например, +1,0 м от уровня
верха лотка).
13.28. Бетонирование стен может быть разрешено при
соблюдении следующих условий:
а) порода
разработана в соответствии с проектным контуром. Недобор в сторону уменьшения
толщины конструкции не разрешается;
б)
верхние концы лекал плотно сопрягаются через опалубку с бетоном пяты свода и
надежно раскреплены;
в) нижние
концы лекал установлены по рассчитанному расстоянию от оси и на соответствующей
этому расстоянию отметке (рис. 13.6).
13.29. Для разработки и установки лекал лотка на бетонные
стены выносятся высотные отметки, закрепляемые чертой, под которой масляной
краской оформляется треугольник со сторонами 3 - 5 см. В случае
неудобства пользования осью тоннеля закрепляется смещенная ось. Работы ведутся
в соответствии с проектной схемой.
Рис. 13.7. Съемка
поперечного сечения:
а - от центра тоннеля; б
- от базиса
13.30. По мере окончания бетонирования всей конструкции
производится съемка поперечных сечений одним из следующих способов:
а)
измерением восьми радиусов от закрепленной в тоннеле линии центров (рис. 13.7, а)
- для сооружений кругового очертания;
б)
засечками от горизонтального базиса, разбиваемого для каждого сечения (рис. 13.7, б);
в) при
помощи транспортира с полярными промерами от его нуля;
г)
методом координат, при котором с каждой характерной точки опускается полотно
рулетки, по которому делается высотная и плановая привязка к оси.
13.31. Съемка сечений производится в соответствии с
указаниями раздела Е
настоящей главы.
13.32. При наличии значительных отклонений бетонной
конструкции от проектного очертания маркшейдерская служба обязана поставить в
известность об этом руководство строительства.
Рис. 13.8. Установка и проверка кружал для
железобетонной рубашки
13.33. Для установки и проверки кружал железобетонной
рубашки закрепляются в нескольких местах сооружения центры тоннеля и между ними
натягивается проволока, от которой и производятся промеры (рис. 13.8).
Кружала устанавливаются с точностью ± 2 см. При сооружении железобетонной рубашки
могут быть использованы опалубки секционного вида.
13.34. После бетонирования железобетонной рубашки
производится съемка поперечных сечений тоннеля с точностью ± 2 см
в соответствии с указаниями п. 13.30.
13.35. Строительство подземных сооружений крупных
сечений, как правило, осуществляется горным способом в соответствии с
разработанной организацией работ.
В зависимости
от стадий работ производится проходка передовых штолен: нижней, верхней,
боковых и пятовых, а также фурнелей и породоспусков.
На рис. 13.9
приводится схема расположения выработок при строительстве подземного сооружения
крупного сечения.
13.36. В выработках протяженностью более 50 м
прокладываются полигонометрические и нивелирные ходы в соответствии с
правилами, изложенными в главах 9 и 10.
13.37. При рассечке новой штольни или выработки на другом
горизонте ориентирование ее производится от знаков полигонометрии методом
створа двух отвесов.
13.38. Проходка горизонтальных выработок, ориентированных
по створу двух отвесов, допускается не более чем на 25 м.
При
проходке штолен свыше 25 м производят ориентирование методом
соединительных треугольников либо методом двух шахт (через две фурнели),
руководствуясь при этом указаниями главы 8,
либо гиротеодолитом.
13.39. До ориентирования выработки в подошве ее заранее
бетонируется не менее трех полигонометрических знаков, на которые и
производится передача дирекционного угла и координат со знаков полигонометрии
основного горизонта.
13.40. При удалении забоев выработки свыше 100 м
производится либо повторное ориентирование, либо связка проложенной в этой
выработке полигонометрии с полигонометрией основного горизонта - через фурнели,
породоспуски, наклонные скважины и т.п.
13.41. Передача отметок с одного горизонта на другой
производится при помощи нивелиров и стальных компарированных рулеток в
соответствии с указаниями раздела Б главы 10.
Точность передач высотных отметок при помощи рулетки с одного горизонта на
другой должна быть не ниже ± 3 мм.
Рис. 13.9. Подземное сооружение крупного
сечения:
1 - нижняя штольня; 2 - фурнель; 3 -
верхняя штольня; 4 - пятовая штольня; 5 - породоспуск; 6 -
боковая штольня; 7 - проектный контур сооружения
13.42. После осуществления сбоек выработок производят
уравновешивание полигонометрических и нивелирных ходов, руководствуясь при этом
правилами, изложенными в главах 9 и 10.
13.43. До начала проходческих работ по раскрытию профиля
составляется схема разработки калотт и штросс с присвоением им номеров и
назначением проектного пикетажа начала и конца разработки. Штроссам,
расположенным влево от оси (считая по ходу пикетажа), присваиваются нечетные
номера, вправо - четные. Номера и границы разработки штросс подписываются и
показываются на пяте свода масляной краской.
13.44. После окончания разработки прорезной калотты
производятся контрольные промеры между осями пятовых или боковых штолен.
Расхождения измеренных и проектных значений расстояний между осями этих штолен
не должны превышать ± 20 мм.
13.45. Разработка калотт, их съемка, установка и приемка
кружал к бетонированию производятся в соответствии с указаниями раздела Б
настоящей главы.
13.46. По мере бетонирования прорезных калотт и
примыкающих к ним участков стен в местах, удобных для дальнейшего использования,
в бетон закладываются деревянные пробки, штыри, скобы и т.п., на которых
отмечается положение осей и нормалей. На них же передают и высотные отметки.
Все эти разбивки сопровождаются соответствующими надписями масляной краской.
13.47. Одновременно с установкой кружал производится
разбивка для закладных частей, расположенных в сводовой части тоннеля.
Закладные части устанавливаются в соответствии с допусками, указанными в
проектных чертежах.
13.48. После снятия со свода опалубки производится съемка
внутреннего очертания свода в соответствии с правилами, изложенными в разделе В
настоящей главы. Съемке подлежат также закладные части.
13.49. Разработка и съемка штросс, установка и приемка
лекал под бетонирование производятся в соответствии с указаниями раздела В
настоящей главы.
13.50. Все выработки фиксируются на крупномасштабном
плане (1:100 - 1:200); на план наносятся крепления выработок, а также все
дополнительные разработки.
13.51. Наблюдения за деформациями временных креплений и
обделки производятся в соответствии с правилами, изложенными в главе 22.
13.52. При строительстве подземных сооружений без
тоннельной обделки продольные проектные оси закрепляются на деревянных пробках
в своде, а высотный горизонт (+1,0 м от лотка сооружения) - белой чертой
или треугольником на стенах.
13.53. У заложенного полигонометрического знака на стене
или специальной дощечке делается надпись масляной краской с характеристикой
знака:
|
ПЗ 19 |
ПК 4 + 50 |
|
|
+0,20 |
-4,45 от оси |
13.54. При проходке тоннеля буро-взрывным способом горный
мастер наносит наружный контур и линии обуривания согласно паспорту
буро-взрывных работ.
13.55. Нанесение контура и линий забуривания производится
от оси, вынесенной на лоб забоя с точностью ± 2 см,
и от центра окружности сводовой части, вынесенной с точностью ± 5 см.
13.56. Вынесение продольной оси и центра производится от
полигонометрических знаков одним из следующих способов:
а)
откладыванием на забое величины смещения полигонометрического знака от оси или
хорды (на кривой) с поправкой за стрелу прогиба;
б)
откладыванием угла с ПЗ на ось тоннеля, выбираемого из таблицы по пикетному
значению забоя.
Таблица
составляется со значениями углов через 1 м по пикетажу. При
промежуточных значениях пикетажа забоя табличные значения углов
интерполируются.
13.57. Определение пикетажа лба забоя на кривых
производится промерами стальной рулеткой от нормали - по правой и левой
сторонам, а также по оси сооружения.
13.58. Закрепление на забое высотных отметок подошвы
тоннеля и центра сводовой части производится нивелиром согласно проектным
отметкам.
13.59. При уклонах тоннеля свыше 0,03 предпочтительнее
высотную разбивку производить наклонным лучом трубы теодолита по вертикальному
углу, соответствующему уклону трассы.
13.60. Для получения контроля разбивочных данных на забое
вынесение оси необходимо производить одновременно двумя способами.
13.61. При неустойчивых скальных породах применяется
временная крепь:
а)
арочная, легкого и тяжелого типа;
б)
арочная-анкерная;
в)
анкерная.
13.62. Съемка разработанного профиля производится от установленных арок в соответствии с правилами п. 13.10. Съемка
основных поперечных сечений выработки производится на прямых через 10 м
и на кривых - через 5 м, а также на всех характерных местах. Материалы
съемки используются для составления исполнительных чертежей.
13.63. Для выявления устойчивости пород в сводовой части
выработок производятся наблюдения за деформацией кровли. Наблюдаемыми точками
служат закрашенные нижние грани гаек, анкерных болтов, номера которых
подписываются на своде масляной белой краской. При наблюдениях за деформацией
руководствуются указаниями главы 22.
13.64. Съемка сечений готового сооружения производится на
прямых участках через 10 м, на кривых - через 5 м, а также в
наиболее характерных местах. Помимо съемки сечений, производят продольное
нивелирование лотка и свода тоннеля.
13.65. Составление и вычерчивание исполнительных чертежей
подземных сооружений производится в соответствии с требованиями и правилами,
изложенными в главе 25.
14.01. При сооружении тоннелей горным способом
применяются следующие виды сборных обделок:
а)
тюбинговая чугунная;
б)
тюбинговая железобетонная;
в)
блочная железобетонная.
14.02. Все маркшейдерские работы по укладке колец сборкой
обделки должны основываться на подземной полигонометрии и высотных реперах. К
моменту укладки колец должно быть произведено не менее двух ориентирований
шахты или двух передач через порталы (боковые штольни), а также не менее двух
передач отметки от исходных реперов.
14.03. Перед началом сооружения тоннеля из сборной
обделки должно быть подготовлено маркшейдерское оборудование, соответствующее
принятой методике работ. Заблаговременно должны быть произведены расчеты,
необходимые для укладки и съемки колец.
14.04. Для разработки грунта под первые прорезные кольца
производится разбивка от полигонометрических знаков продольной оси тоннеля и
задание высотных костылей. Разбивки, связанные с разработкой породы в рассечке,
производятся в соответствии с методикой, изложенной в главе 13.
По
окончании разработки грунта в рассечке закрепляются: продольная ось, проходящая
через геометрический центр тоннеля, нормаль к ней (пикетажная плоскость) и
высотные отметки.
14.05. Для создания необходимой устойчивости одновременно
монтируются 2 - 4 прорезных кольца; монтаж начинается с укладки первых лотковых
сегментов. Установка их производится симметрично относительно продольной оси
(по заранее рассчитанным расстояниям), на проектных отметках и проектном
пикетаже, по заданному уклону.
При
наличии неустойчивых грунтов рекомендуется завышение лоткового сегмента до 5 см.
14.06. Монтаж каждого последующего сегмента кольца контролируется
измерением радиусов от проволоки, натянутой между закрепленными центрами
тоннеля. От пикетажной плоскости (нормали) определяется горизонтальное
опережение укладываемых сегментов. Контролируется кручение собранных сегментов
(нивелированием сообщающимися сосудами или линейными промерами от вынесенного
горизонта).
14.07. Последующая сборка прорезных колец может
осуществляться при соблюдении следующих допусков:
1. Отклонение первого закладываемого кольца от
проектного пикетажа не должно превышать ± 15 мм.
2. Отклонения фактических расстояний от
продольной оси тоннеля до симметричных сегментов не должны превышать ± 10 мм.
3. Отклонения лотковых сегментов от проектной отметки
должны находиться в пределах от 0 до +3 см.
4. Отклонения фактических радиусов
укладываемых сегментов от проекта не должны превышать ± 10 мм.
5. Горизонтальная эллиптичность незамкнутого кольца
не должна превышать ± 10 мм.
6. Кручение сегментов не должно превышать ± 10 мм.
14.08. По окончании сборки прорезных колец производятся
следующие определения:
а)
стальной рулеткой измеряются горизонтальный (1 - 5), вертикальный (3 - 7),
косые под углом 45° (2 - 6 и 4 - 8) диаметры кольца. Эллиптичность не должна
превышать ± 25 мм.
Для
сохранения геометрической формы собираемых прорезных колец в необходимых
случаях на горизонтальном диаметре ставятся специальные металлические стяжки с
форкопами;
б) от
закрепленного проектного центра кольца измеряются 8 радиусов до внутренней
грани его. Для обеспечения более высокой точности измерения рекомендуется
производить до центров специальных пробок, вставляемых в болтовые отверстия
тюбингов. Отклонения измеренных радиусов от проекта не должны превышать ± 15 мм;
в) по
величинам измеренных радиусов 1 и 5 определяется отклонение центра кольца в
плане, которое не должно превышать ± 25 мм;
г)
нивелируется лоток кольца. Отклонение фактической отметки лотка от проекта
допускается от 0 до +30 мм;
д)
определяются горизонтальное и вертикальное опережения смонтированного кольца.
Горизонтальное
опережение и разность между вертикальным опережением и проектной его величиной
не должны превышать ± 10 мм;
е) от
нормали определяется пикетное значение плоскости кольца на уровне
горизонтального диаметра. Отклонение от проекта не должно превышать ± 15 мм.
Примечание. Пикетаж прорезных колец
при сооружении камер, съездов изменяется на половину величины набегания колец
по соответствующему тоннелю или камере;
ж)
нивелированием при помощи сообщающихся сосудов определяется величина кручения
кольца. Эта величина не должна превышать ± 20 мм.
14.09. При соблюдении указанных в п. 14.08 допусков
и надлежащего закрепления установленных колец разрешается равномерное
двустороннее их бетонирование, в процессе которого необходимо следить за неподвижностью
плоскостей колец.
Забетонированные
прорезные кольца должны выдерживаться не менее трех суток, после чего
приступают к сборке и монтажу очередных колец тоннеля.
14.10. По мере укладки последующих колец производятся
определения:
1. Эллиптичности (по четырем диаметрам).
2. Положения центров колец в плане.
3. Положения лотка в профиле.
4. Горизонтального опережения.
5. Вертикального опережения.
6. Пикетажа.
7. Кручения.
Все
данные относятся к передней (считая по ходу забоя) плоскости кольца. Положение
левой и правой сторон тоннеля также определяется по взгляду на забой.
Эллиптичность и положение в профиле определяется для каждого уложенного кольца.
Положение в плане определяется один раз в сутки, но не реже чем через три
кольца. Опережения и кручение определяются в соответствии с указаниями раздела Е настоящей главы.
Кольца
нумеруются по мере их укладки. Номер подписывается в натуре масляной краской на
каждом пятом кольце.
14.11. После выхода колец из-под эректора
(блокоукладчика) повторно определяют их эллиптичность, производят
инструментальное определение положения в плане и повторное нивелирование лотка
каждого кольца. При наличии возможности производят съемку колец от проектного
центра тоннеля по восьми радиусам (см. ниже рис. 14.1).
Результаты
определений колец при укладке и за эректором записываются в специальную
маркшейдерскую книгу-ведомость, форма которой приводится в приложении 14-1.
14.12. При сооружении тоннелей из сборного железобетона
круглого очертания (вне зависимости от величины его поперечного сечения)
допуски для отклонений колец от проекта, сохраняются те же, что и для чугунной
обделки. Для опережений (горизонтального и вертикального) установлены
специальные допуски (см. раздел Е настоящей главы).
14.13. В процессе строительства ведется график сооружения
тоннелей в масштабе 1:200 или 1:500.
14.14. Эллиптичностью называется разность между
величинами фактического и проектного диаметров кольца. Для каждого кольца
тоннельной обделки определяют эллиптичность по четырем диаметрам (рис. 14.1):
горизонтальному (r1 + r5) вертикальному (r3 + r7) и двум
косым под углом 45° (r2 + r6 и r4
+ r8). Измерение диаметров производится стальной рулеткой.
14.15. Определение эллиптичности производится после
замыкания кольца. Эллиптичность в укладке не должна превышать ± 25 мм,
а по выходе кольца из-под эректора (блокоукладчика) ± 50 мм.
14.16. Устранение эллиптичности при укладке кольца производится надлежащей разработкой грунта,
соответствующей подклинкой укладываемого сегмента кольца, высококачественным
сболчиванием по фланцам, торцам, установкой металлических стяжек.
14.17. В целях соблюдения геометрии уложенных колец
производится нагнетание за обделку тоннеля в каждое третье кольцо от забоя. В
сложных геологических условиях и в особых случаях нагнетание производят
непосредственно после замыкания каждого уложенного кольца.
Рис. 14.1.
Эллиптичность кольца:
1 - проектное положение; 2
- фактическое положение; 3 - горизонтальная эллиптичность (А-В);
4 - вертикальная эллиптичность (Д-С); 5 - косая
эллиптичность (Е-К)
14.18. Определение отклонений колец в плане может
производиться:
а) от
продольной оси, закрепленной в своде тоннеля;
б) от
смещенной оси тоннеля;
в) от
знаков полигонометрии.
14.19. Разбивка продольной оси производится от знаков
подземной полигонометрии одним из способов, изложенных в главах 11 и 12.
Ось
закрепляется маркшейдерскими гвоздями в чеканочных швах, деревянных пробках,
вкладышах, отвесодержателях и др. (рис. 14.2).
Рис. 14.2. Закрепление
оси в обделке тоннеля:
1 - маркшейдерский гвоздь; 2 - отрезок тесины; 3
- отвесодержатель
14.20. Разбивка смещенной оси производится также от
знаков полигонометрии. Величина смещения подбирается с расчетом
беспрепятственного прохождения оси до забоя, с минимальным удалением от обделки
(рис. 14.3).
14.21. Величины отклонений колец в плане определяются
промерами на уровне горизонтального диаметра от створа проектной или смещенной
оси до внутренних граней колец (рис. 14.4). При
пользовании створом хорды (или смещенной хорды) вводят поправки за стрелу
прогиба (см. ниже п. 14.31 и рис. 14.8).
Рис. 14.3. Закрепление смещенной оси в
тоннеле
14.22. В качестве визирных приспособлений при передаче
створа оси в забой применяются световые сигналы (см. п. 15.11). Световые
сигналы устанавливаются под осевыми знаками таким образом, чтобы ось прорези
совмещалась с отвесом, опущенным со знака. Положение сигналов должно
проверяться не реже одного раза в трое суток.
14.23. Отклонение центра кольца в плане в укладке не
должно превышать ± 25 мм, а за эректором ± 50 мм.
14.24. Инструментальное определение положения колец в
плане может быть произведено одним из следующих способов (рис. 14.5):
а)
полярным;
б)
параллельным лучом;
в)
произвольным створом.
14.25. Для определения положения кольца полярным способом
производится геодезическая привязка отвеса, закрепленного в плоскости кольца.
Смещение закоординированной точки (отвеса) от оси на прямом участке и ее
пикетаж определяются:
m = (Yотв - Yпк)cos дир. уг. трас. - (Xотв - Xпк)sin дир. уг. трас.;
DПК = (Yотв - Yпк)sin дир. уг. трас. + (Xотв - Xпк)cos дир. уг. трас.
Смещение
центра кольца в плане на кривых определяется решением обратной геодезической
задачи по проектным координатам центра кривой и фактическим координатам центра
кольца m = Rпроект - Rфакт.
Пикетажное значение его получают по формуле
S = a × k,
где S - длина дуги кривой;
a² - центральный угол в секундах;
![]()
14.26. Для определения колец в плане способом
параллельного луча над полигонометрическим знаком устанавливают теодолит и
откладывают угол b, равный разности дирекционных углов линии
полигонометрии и оси тоннеля.
Домеры а
определяются теодолитом путем отсчетов по рейке, прикладываемой горизонтально к
ребрам (бортам) колец на уровне горизонтального диаметра. Домеры можно также
производить от створа, вынесенного по смещениям полигонометрических знаков и
закрепленного световыми сигналами.
Рис. 14.4.
Определения отклонений «m» колец в
плане
Рис. 14.5. Способы определения положения
колец в плане
Смещения
центров колец определяются следующими формулами:
![]()
(при
расположении полигонометрического знака слева от оси тоннеля);
![]()
(при расположении знака справа от оси тоннеля).
Здесь m - смещение центра кольца в плане;
D - измеренный внутренний диаметр кольца;
d -
смещение знака от проектной оси тоннеля;
а -
расстояние (домер) от параллельного луча до кольца.
Если т
имеет знак плюс, центр кольца смещен вправо от проектной оси тоннеля, если знак
минус - влево.
Примечание. При продвижении забоя
против хода пикетажа трассы для получения знаков величин m
в соответствии с требованиями п. 14.10 при откладывании угла b
дирекционный угол трассы необходимо изменять на 180°.
14.27. Для определения смещений колец в плане от линии
произвольного створа измеряется угол b при полигонометрическом знаке на произвольно
закрепленный отвес; затем измеряются домеры от линии произвольного створа до
ребер (бортов) колец. В полученные расстояния а вводятся поправки по
формуле
Da = lsin
Db,
где l - расстояние,
подсчитанное как разность пикетажа кольца и полигонометрического знака;
Db -
разность дирекционных углов трассы и направления с полигонометрического знака
на отвес.
Смещения
определяются по формулам:
а) ![]()
(случай,
когда линия произвольного створа приближается к оси тоннеля);
б) ![]()
(случай, когда линия произвольного створа удаляется от оси).
При
расположении полигонометрического знака на левой стороне тоннеля формулы
соответственно видоизменяются:
а) ![]()
б) ![]()
Значения m, D, d, a - те же,
что и в п. 14.26.
14.28. На участках переходных кривых инструментальная
съемка колец в плане производится от линии тангенса или от стягивающей хорды.
Рис. 14.6. Съемка колец в плане от линии,
параллельной тангенсу
14.29. Съемка колец в плане на переходной кривой от
линии, параллельной тангенсу (рис. 14.6),
производится аналогично изложенному в п. 14.26.
Смещение d полигонометрического знака определяется
относительно прямолинейного участка тоннеля. Величина m смещения центра кольца в плане находится по
формулам:
или ![]()
![]()
где D, d, а - те же, что и в п. 14.26;
li - расстояние от НПК до
определяемой точки;
С -
параметр переходной кривой;
q - смещение оси тоннеля относительно оси пути;
L - длина переходной
кривой.
О
расчетах ординат переходной кривой см. раздел Д главы 11.
14.30. Если съемка колец на переходной кривой
производится от линии, параллельной стягивающей хорде (рис. 14.7),
смещение кольца в плане определяется по формулам:
или ![]()
![]()
где bi - стрела прогиба переходной
кривой на пикете определяемого кольца.
Примечание. При определении знаков величин смещений
необходимо учитывать указания п. 14.10 о направлении хода забоя.
Рис. 14.7. Съемка колец в плане от линии,
параллельной стягивающей хорде, на переходной кривой
14.31. На круговой кривой съемка колец в плане
производится от линии, параллельной хорде (на рис. 14.8 - линия
ПЗ 125-М). Для задания ее в натуре теодолит устанавливается над первым
полигонометрическим знаком, на втором знаке откладывается величина разности
смещений знаков от разбивочной оси (d1 - d2), на полученную точку М направляется
визирная ось трубы и производится съемка колец аналогично п. 14.26.
Отклонения
центров колец в плане от проектной оси вычисляются по формулам:
![]()
или
![]()
![]()
Здесь D, a - те же,
что и в п. 14.26;
d - смещение полигонометрического знака от разбивочной оси;
bi - стрела прогиба дуги на пикете
определяемого кольца;
b0 - стрела
прогиба в середине хорды;
Si - расстояние от середины хорды
до стрелы bi
(разность пикетажных значений середины хорды и определяемого кольца);
S - длина всей хорды;
R - радиус разбивочной кривой;
z - смещение оси пути от разбивочной оси;
q - смещение оси тоннеля от оси пути.
Рис. 14.8. Съемка
колец в плане от линии, параллельной стягивающей хорде
Примечания. 1. Если смещение знака d
вычислено относительно оси тоннеля, q и z
в формулах исключаются. Для упрощения обработки съемки колец на участках круговых кривых удобно пользоваться таблицами
(А.П. Мазурок. «Таблицы для вычисления ординат путейских реперов и отклонений
оси тоннеля от проекта на круговых кривых метрополитена», Ленинград, 1957 г.).
2. При определении знаков величин смещений m
необходимо учитывать указания п. 14.10 о направлении хода забоя.
3. О расчетах стрел прогиба на круговой кривой см. раздел Д главы 11.
14.32. Отклонение центра кольца в плане на круговой
кривой можно получить и путем определения значения фактического радиуса от
центра кривой до центра кольца из решения обратной геодезической задачи (по
координатам фактического центра кольца и проектным координатам центра кривой).
Сопоставляя полученный фактический радиус с проектным, определяют смещение
кольца mi = Rпроект - Rфакт.
14.33. На круговых кривых съемка колец в плане может
производиться и с помощью оптического прибора с клиновидной насадкой (см. главу
15).
14.34. Для составления исполнительных чертежей
используются данные окончательной съемки колец от проектного центра тоннеля по
восьми радиусам. На криволинейных участках трассы данные используются через 10 м,
а на прямых - через 20 м и в характерных местах трассы. Указанная
съемка может производиться только от окончательно уравновешенной полигонометрии
(после сбоек тоннелей). По результатам съемки определяют соответствие
сооруженной обделки габаритным условиям.
14.35. При наличии железнодорожного пути в тоннеле
целесообразно радиальную съемку вести от центра, положение которого в натуре
фиксируется с помощью передвижного шаблона, устанавливаемого на отрихтованных
рельсах.
14.36. Определение положения кольца в профиле
производится нивелированием лотка и сравнением полученной отметки с проектной.
Проектные отметки тоннеля (на уровне головки рельсов или лотка сооружения)
заранее рассчитываются: на прямых участках - через 10 м, на участках
вертикальных кривых - через 2 м. Для участков вертикальной кривой
подсчет проектных отметок рекомендуется вести с помощью таблиц (В.В. Беляев.
«Таблицы расчета вертикальных кривых при сооружении железных дорог и тоннелей»,
Ленинград, 1957 г.).
Определение
положения кольца в профиле можно также производить при помощи реечки с
диоптрийным устройством, по горизонтальным щелям сигналов (см. раздел Д главы 15).
14.37. Отклонение лотка в профиле при укладке не должно
превышать ± 25 мм, а после выхода кольца из-под эректора
± 50 мм.
14.38. Данные нивелирования колец за эректором должны
быть сопоставлены с результатами радиальной съемки (см. п. 14.34).
Полученные результаты определения положения колец в профиле записываются в
книгу-ведомость (см. приложение 14-1).
14.39. Вследствие неизбежного возникновения зазоров между
кольцами при их укладке возникает так называемое «набегание колец»,
составляющее для чугунной обделки величину порядка 0,7 - 1,0 мм на одно
кольцо, а для железобетонной - до 3 мм. Набегание неравномерно
распределяется по фланцам (плоскости) кольца и вызывает горизонтальное, а также
вертикальное опережения. Наличие опережений вызывает нарастающее отклонение
тоннеля от проекта в плане и профиле.
14.40. Горизонтальным опережением (Dd) кольца называется уклонение его плоскости от
нормали к продольной оси. Величина опережения определяется путем промеров от
нормали до плоскости кольца. Нормаль разбивается при полигонометрическом знаке
и закрепляется примерно на уровне горизонтального диаметра тоннеля (рис. 14.9).
Рис. 14.9. Определение горизонтального
опережения колец
Одновременно
определяется и пикетаж кольца - прибавлением к пикету нормали среднего значения
боковых промеров dлев и dправ.
14.41. На участке переходной кривой горизонтальное
опережение колец определяется относительно нормали, выставляемой теодолитом от
линии тангенса под углом 90° - a (рис. 14.10). Угол a
определяется по формуле
![]()
где a¢ - угол в
минутах;
l - расстояние от начала переходной кривой до нормали
(в метрах);
C - параметр переходной
кривой;
r¢ = 3438¢ - радиан в минутах.
Рис. 14.10. Задание нормали на переходной
кривой
14.42. На криволинейном участке трассы для получения
величины горизонтального опережения в промеры dлев и dправ должны быть введены поправки за разность радиусов
внешней и внутренней стен тоннеля:
![]()
Пример. Внутренний диаметр тоннеля Dвнутр = 5,10 м;
радиус кривой R = 800 м;
dлев = 9,067, dправ = 9,014
(здесь левая сторона - наружная по отношению к центру кривой, правая -
внутренняя); пикетаж нормали: ПК 17 + 56,819.
![]()
d¢прав = 9,014
+ 0,029 = 9,043 м.
Горизонтальное
опережение Dd¢ = 9,043 - 9,038 = 0,005 = 5 мм правое.
Пикетаж плоскости определяемого кольца: (ПК 17 + 56,819) + 9,040 = ПК 17 ± 65,86.
Для переходной кривой
, где С - параметр переходной кривой. Промеры d¢лев и d¢прав берутся от нормали НПК.
14.43. Определив угловую величину горизонтального
опережения
, можно с достаточным приближением предвычислить положение в
плане последующих колец. В случае необходимости опережение устраняется путем
постановки клиновидной прокладки (см. п. 14.44).
Рис. 14.11. Укладка клиновидных прокладок на
кривой
14.44. На криволинейных участках трассы, при
необходимости изменить направление оси тоннеля, применяются клиновидные
прокладки (рис. 14.11). Плоскости АВ и СД клиновидной
прокладки образуют определенный угол, при этом плоскость АВ
перпендикулярна к оси тоннеля. Опережением t клиновидной прокладки называется разность величин a
и b; t = a - b. Угловая величина опережения клиновидной
прокладки определяется по формуле
или ![]()
где Dвнешн - внешний диаметр тоннеля;
r² = 206265².
14.45. На криволинейных участках трассы передняя
плоскость каждого укладываемого кольца должна опережать плоскость
предшествующего на величину
![]()
где l - ширина укладываемого кольца;
Dвнешн -
внешний диаметр кольца;
R - радиус кривой трассы.
14.46. Центр передней плоскости каждого нормального
кольца, уложенного после клиновидной прокладки, будет смещаться на величину,
определяемую формулой
![]()
14.47. Расстояние L между двумя смежными клиновидными прокладками
определяется формулой
![]()
Пример. t = 60 мм;
R = 600 м; Dвнешн = 5,50 м.
![]()
14.48. Количество клиновидных прокладок n для данной кривой определяется формулой
![]()
где a² -
центральный угол;
b² -
угловая величина поворота, создаваемого клиновидной прокладкой.
14.49. Вертикальным опережением кольца называется
уклонение фактической плоскости кольца от вертикальной. Величина фактического
вертикального опережения кольца определяется измерением расстояния от отвеса,
опущенного с плоскости сводового сегмента кольца до плоскости лоткового
сегмента (рис. 14.12).
14.50. В пределах вертикальной кривой изменение
проектного положения каждого последующего кольца относительно предыдущего
определяется формулой
![]()
где l - длина кольца;
R - радиус кривой;
Dвнешн -
внешний диаметр кольца.
По
величине D и значению t (см. п. 14.44)
рассчитывается расстояние L¢ между двумя смежными клиновидными прокладками, при
котором кольца тоннельной обделки будут укладываться в соответствии с проектным
профилем.
Пример. l = 1 м;
R = 4000 м; Dвнешн = 5,50 м;
t = 60 мм.
![]()
![]()
14.51. При уклонениях тоннеля от проекта в плане или
профиле положение его может быть исправлено путем изменения направления
передней плоскости колец с помощью клиновидных прокладок (рис. 14.13).
Продольный
разрез
Рис. 14.12.
Определение вертикального опережения колец
Рис. 14.13. Исправление положения тоннеля с
помощью клиновидных прокладок
14.52. Горизонтальное опережение и пикетаж колец, а также
вертикальное опережение определяются через каждые 8 - 10 м и обязательно
после каждой установленной прокладки. При отклонениях тоннеля, приближающихся к
предельно допустимым, а также при укладке колец на кривых небольших радиусов
определению опережений должно быть уделено особое внимание.
Величины
опережений плоскостей колец не должны превышать: для чугунной обделки ± 15 мм,
для обделки из сборного железобетона ± 25 мм.
14.53. При укладке колец может возникнуть постепенное
нарастание кручения их вокруг продольной оси тоннеля. Причинами кручения могут быть: одностороннее воздействие
домкратов (при передвижках щита на криволинейных участках), односторонняя
укладка сегментов кольца, одностороннее сболчивание торцов укладываемых
сегментов и др.
Рис. 14.14. Клин, применяемый при способе
обжатия железобетонной обделки тоннеля
Рис. 14.15. Домкрат, применяемый при способе
обжатия железобетонной обделки тоннеля
Кручение
колец отрицательно сказывается на положении эректора (блокоукладчика), вызывая
его перекос, нарушает сопряжения с боковыми притоннельными сооружениями,
приводит к несовпадению по высоте торцов тюбингов в проемных частях станции и
т.д.
14.54. Кручение колец определяется нивелированием
симметричных сегментов. Величина допуска устанавливается для каждого сооружения
проектной организацией.
14.55. Исправление кручения колец производится с помощью
ограничителей, постановкой специального кольца, у которого болтовые отверстия
просверлены со смещением в одну сторону, односторонним монтажом сегментов,
односторонним усиленным сболчиванием торцовых болтов кольца, прокладками и др.
14.56. При сооружении тоннеля из сборного железобетона
способом обжатия колец изменяется геометрия его, увеличивается периметр,
сводится к минимуму зазор между обделкой и породой.
14.57. В процессе монтажа обжатие кольца осуществляется:
а) путем
вдавливания домкратом специального клина вместо обычного ключевого (замкового)
сегмента (рис. 14.14). Предзамковые сегменты имеют торцовые
скошенные плоскости, аналогичные клину;
б) при
помощи специального пресса с домкратами (рис. 14.15), устанавливаемого на стыке
сегментов, у горизонтального диаметра, прижимающего к породе верхнюю и нижнюю
половины собранного кольца. В образовавшиеся щели между торцами сегментов
вставляются клиновидные прокладки.
14.58. После
обжатия кольца клином производится съемка его геометрического очертания обычным
способом, по восьми радиусам. Дополнительно измеряются радиусы до середины
клина и смежных сегментов, примыкающих к клину. Для контроля нивелируются лоток
и свод кольца.
|
Сооружение
тоннеля ведется: |
Схема нумерации радиусов |
Характеристика колец
Б-железобетон; Ч-чугун |
|||||||||||||||
|
СМУ
(стр-во) № _______ |
механизиров.
щитом; |
||||||||||||||||
|
Шахта №
_____________ |
проход.
щитом; |
||||||||||||||||
|
|
горным
эректором. |
||||||||||||||||
|
Наименование
выработки _____________________________________________________ |
|||||||||||||||||
|
Дата укладки колец |
№ колец |
Тип кольца |
Пикетаж передней плоскости кольца (по ходу забоя) |
Прокладки |
Отклонения колец в мм |
Примечания |
Исполнитель |
|||||||||
|
Эллиптичность |
Центр кольца в плане |
Отметки лотка |
Лоток в профиле |
|||||||||||||
|
гориз. 1 + 5 |
вертик. 3 + 7 |
под 2 + 6 |
45° 4 + 8 |
вправо + |
влево - |
проект. |
фактич. |
выше + |
ниже - |
|||||||
|
28.VIII-67 г. |
507 |
III-(Ч) |
113 + 49,28 |
62 мм влево |
-40 |
+25 |
+40 |
+35 |
5 |
|
257,412 |
257,433 |
21 |
|
|
Иванов |
|
-25 |
0 |
+20 |
+25 |
2 |
424 |
12 |
||||||||||
|
28.VIII-67 г. |
508 |
|
+48,28 |
|
-35 |
+15 |
+30 |
+25 |
|
3 |
409 |
426 |
17 |
|
|
Петров |
|
-20 |
+5 |
+35 |
+30 |
6 |
414 |
5 |
||||||||||
Примечание. В колонках 6, 7, 8, 9,
10, 11, 13, 14, 15 верхние цифры фиксируют данные по кольцу в укладке, нижние -
данные по выходе кольца из-под эректора (блокоукладчика).
15.01. При сооружении тоннелей щитовым способом
маркшейдерские работы состоят:
а) в
закреплении (в пределах монтажной камеры) проектной оси тоннеля, нормали к оси
и отметок, необходимых для сооружения основания под щит и его монтажа;
б) в
определении правильности геометрической формы основания под щит;
в) в
определении правильности геометрических форм монтируемого щита: совмещение оси
щита с осью тоннеля в плане, соответствие ее положения в профиле проектному
положению, отсутствие поперечного уклона (крена), правильность продольного
уклона, отсутствие эллиптичности щита;
г) в
закреплении маркшейдерских знаков и приборов на щите;
д) в
закреплении сзади щита ориентирных сигналов, необходимых для ведения его по
проектной оси в плане и профиле;
е) в ведении
щита в процессе проходки по трассе;
ж) в
определении положения щита в плане и профиле после каждого продвига;
з) в
определении положения колец тоннельной обделки после окончания укладки.
15.02. Маркшейдерские работы при сооружении щитовых камер
(бетонных или железобетонных) аналогичны работам при строительстве тоннелей
горным способом, а блочных или тюбинговых - работам при сборке прорезных колец
или колец тоннельной обделки.
15.03. Монтажные работы по сборке щита в камере должны
быть обеспечены следующими маркшейдерскими данными:
а)
проектной продольной осью щита (тоннеля), закрепленной в своде камеры не менее
чем тремя точками;
б)
нормалью к продольной оси щита (тоннеля);
в)
отметкой условного горизонта, связанной с проектным центром щита. При этом необходимо
учитывать, что проектная отметка центра щита больше проектной отметки центра
тоннеля на величину полуразности диаметров внутренней поверхности оболочки щита
и внешней окружности кольца. Если в оболочке вырезана нижняя часть, то центр
щита должен иметь иное возвышение над центром кольца; это подсчитывается по
размерам соответствующих радиусов.
15.04. Щит монтируется на бетонном основании с
направляющими рельсами или без них. Рельсы устанавливаются по проекту с
точностью ± 5 мм по радиусу щита.
15.05. Первые три сегмента щита устанавливают в плане и
по высоте с точностью ± 10 мм, не допуская кручения. Дальнейшая
сборка ведется монтажниками без участия маркшейдера.
15.06. После окончания монтажа щита производится
продольная и радиальная съемка, в результате которой должны быть получены:
а) длина
ножевого кольца щита;
б) длина
опорного кольца щита (или длина ножеопорного кольца, если оно монолитно
объединяет оба кольца);
в) длина
оболочки щита (от опорного кольца до хвоста щита);
г) по
четыре диаметра: ножевой части, задней плоскости опорного кольца и хвоста
оболочки щита;
д)
совпадение центра вала режущего механизма с геометрической осью
механизированного щита.
На
основании результатов указанных измерений рассчитывается и закрепляется
положение фактической продольной оси щита и определяются расстояния от этой оси
до внешней и внутренней образующих ножа, опорного кольца и оболочки щита.
Устанавливается ось вала режущего механизма в проектное положение. Отклонения
положения вала относительно оси щита в плане и профиле на переднем и заднем
концах его не должны превышать ± 5 мм.
15.07. После окончания монтажных работ на щите в одной из
верхних его ячеек должны быть установлены следующие маркшейдерские знаки и
оборудование:
а) две
металлические дуги с сантиметровыми делениями, радиусы которых зависят от
диаметра щита. Дуги устанавливаются на передней и задней плоскостях опорного
кольца; нулевые штрихи на дугах, располагающиеся в их середине, должны лежать в
вертикальной плоскости, проходящей через геометрическую центральную ось щита.
Если же на щите нет средней ячейки, вместо дуг ставятся шкалы в тех же
плоскостях с одинаковыми смещениями от геометрической центральной оси щита как
в плане, так и в профиле.
Примечание. Вместо дуг могут
применяться линейки с сантиметровыми делениями (см. приложение 15-4);
б) два
специальных уровня, вмонтированных в металлические коробки, или уклономер - для
определения продольного и поперечного уклонов щита;
Рис. 15.1. Схема
маркшейдерских измерений на щите и расположение маркшейдерских знаков:
1 - щитовой оптический прибор; 2 - дуга
оптического прибора; 3 - нумерация радиусов; 4 - внешний
радиус щита; 5 - дуги оптического прибора; 6 - нож щита; 7
- опорное кольцо щита; 8 - хвост щита; 9 - щитовые нивелирные
марки
в) три
маркшейдерских знака 10, 11, 12 (рис. 15.1), фиксирующие
фактическую продольную ось щита и одновременно служащие для нивелирования;
г) две
контрольные нивелирные марки 14 и 15 (см. рис. 15.1) на задней плоскости
опорного кольца - для определения поперечного уклона.
15.08. Если конструкция щита позволяет вынести
фактические центры его непосредственно, то они закрепляются в одной или двух
его плоскостях, нормальных к оси щита.
15.09. После закрепления всех маркшейдерских знаков на
щите необходимо определить следующие его элементы (см. рис. 15.1):
а)
расстояния между осевыми (10 - 11, 11 - 12) и нивелирными знаками (l4, l5);
б)
расстояния от ножа и хвоста щита до каждого осевого и нивелирного знака;
в) длину
ножа (l1),
опорного кольца (l2) и
оболочки щита - от хвоста до опорного кольца (l3);
г)
расстояния от осевых знаков до низа оболочки и до фактической центральной
геометрической оси щита (H1, H2, H3, h1, h2, h3).
15.10. Поперечный уклон (крен) определяется
нивелированием марок 14, 15 на опорном кольце (см. рис. 15.1) при
помощи уклономера (рис. 15.2) или по специальному уровню (рис. 15.3). По
поперечному уклону определяют поправку m в измеренные отклонения щита от продольной
проектной оси тоннеля:
m = rsin a; по малости угла ![]()
откуда
![]()
Практически
деления на уклономере градуируются таким образом, чтобы отсчеты по нему давали
непосредственно величину m.
Рис. 15.2.
Определение поперечного и продольного уклонов щита:
1 - опорное кольцо; 2
- пластина с градуированными делениями; 3 - отвес (уклономер); 4
- вертикальная ось, проходящая через центр щита; 5 - щитовые домкраты; 6
- горизонтальный диаметр щита
Рис. 15.3. Уровень для определения уклонов
щита:
1 - неподвижная шкала; 2 - тангенциальный винт; 3
- подвижная шкала барабана; 4 - линейка уровня для продольного уклона
щита, одно деление неподвижной шкалы
; для поперечного уклона щита Д = 5,5 м, одно деление неподвижной
шкалы = 5,5 - 0,005 = 27,5 мм
15.11. Определение положения щита в плане производится
при помощи осевых знаков (сигналов) (рис. 15.4),
закрепленных в своде готового тоннеля или на тюбинге у горизонтального диаметра
кольца в пределах возможной их видимости. Все осевые знаки для определения щита
в плане и профиле выставляются в тоннеле только от знаков подземной
полигонометрии.
15.12. Положение щита в плане на прямом участке трассы
определяется с помощью щитового прибора (рис. 15.5) и двух
специальных уровней (см. рис. 15.3).
Порядок определения следующий:
а)
нулевой индекс шкалы щитового прибора устанавливают на задней дуге на отсчет,
соответствующий поперечному уклону щита;
Рис. 15.4.
Устройство световых сигналов в тоннеле:
1 - задний сигнал, красный, с источником света,
горизонтальная грань его на заданной отметке; 2 - передний сигнал, грани
которого расположены аналогично заднему сигналу; 3 - щитовой
прибор или отвес, выставляемый в створе сигналов 1 и 2. Размеры
указаны в сантиметрах
б) оптическую
трубу прибора перемещают вправо или влево по шкале прибора до тех пор, пока
изображения двух сигналов, видимых в ней, не совместятся. После этого
производят отсчет по шкале прибора, указывающий уклонение от оси центра щита в
плоскости данной дуги;
Рис. 15.5.
Оптический щитовой прибор с дугой:
1 - труба прибора; 2
- уровень; 3 - дуга с делениями; 4 - шкала отклонений; 5 -
индекс дуги; 6 - индекс шкалы отклонений; 7 - прижимный винт; 8
- ползунок, скрепленный наглухо с трубой
Рис. 15.6. Определение уклонений ножа и
хвоста щита методом экстраполяции
в) затем
прибор устанавливают на передней дуге и повторяют в той же последовательности
все действия, что и на задней дуге;
г) имея
отклонения в плане центров щита в двух его плоскостях, определяют отклонения
ножа и хвоста, пользуясь номограммой (см. приложение 15-1) или табличкой,
составленной по формулам (рис. 15.6):
нож: ![]()
хвост: ![]()
где l1, l2, l3 - известные расстояния между
осевыми знаками щита;
x2 и x3 -
полученные уклонения осевых знаков 10 и 11 от проектной оси.
Примечание. В приложении 15-2
дано изображение модернизированных оптического щитового прибора и уровня
(разработанных маркшейдерской службой Ленметростроя).
15.13. Определение положения щита в плане на переходных
кривых осуществляется следующим образом:
а) на
половине переходной кривой, примыкающей к прямолинейному участку трассы,
определение положения щита производится точно таким же способом, как и на
прямой, с той лишь разницей, что учитываются заранее вычисленные поправки за
смещение оси тоннеля от линии тангенса или от стягивающей хорды. В необходимых
случаях пользуются смещенной линией тангенса;
б) на
половине переходной кривой, примыкающей к круговой кривой, определение
положения щита в плане производится от линии стягивающей хорды или же ведется
так же, как и на круговой кривой (см. раздел Г настоящей главы), но с
учетом поправок за отклонение оси тоннеля от условного продолжения оси тоннеля
на кривой. Эти поправки также вычисляются заранее;
в)
горизонтальное опережение щита и колец тоннельной обделки определяется от
нормали, выставляемой на переходной кривой теодолитом от линии тангенса, так,
как это описано в главе 14 (см. п. 14.41).
15.14. На криволинейных участках трассы порядок
определения положения щита тот же, что и на прямых, с той лишь разницей, что в
этом случае на объектив трубы щитового прибора надевается оптический клин (см.
приложение 15-3).
15.15. При пользовании оптическим клином в трубе щитового
прибора вместо обычных двух сигналов могут быть видны четыре изображения. Для
определения отклонения центра щита в плане относительно проектной оси тоннеля
труба щитового прибора с клином перемещается вправо и влево до совмещения двух
средних изображений.
Совмещение
изображений свидетельствует о том, что труба щитового прибора находится на проектной
оси кривой. Отсчет по шкале прибора указывает, на сколько и в какую сторону
смещен центр щита относительно проектной оси.
15.16. На криволинейных участках трассы, при пользовании
оптическим клином, осевые знаки-сигналы закрепляются на концах хорд, расстояния
между которыми определяются по формуле
S = 2R1sin a,
где S - длина хорды между
сигналами;
R1 - радиус
кривой, уменьшенный на величину z + q
(R1
= R - z - q);
a - угол оптического клина.
15.17. При пользовании оптическим клином на кривых
последующий осевой сигнал может быть предварительно установлен с помощью
рулетки и трубы щитового прибора с клином и обязательным последующим уточнением
его положения от знаков полигонометрии.
15.18. Осевые сигналы на кривых при определении положения
щита без применения оптического клина закрепляются в створе заранее
рассчитанных хорд.
15.19. Положение щита в профиле определяется одним из
следующих способов:
а) с
помощью нивелира;
б)
щитовым прибором;
в)
визуальным способом.
15.20. Для определения положения щита в профиле
нивелируют какой-либо из осевых знаков 10, 11, 12 (см.
рис. 15.1). Заранее вычисляют проектные отметки того знака,
который будет нивелироваться для определения положения щита (пользуясь для
этого одним из расстояний H1, H2, H3). Сравнивая абсолютную отметку знака с проектной,
определяют отклонение в соответствующей точке щита. Затем, пользуясь величиной Di - алгебраической разности фактического (см. п. 15.23) и
проектного продольного уклона, определяют отклонения ножа и хвоста в профиле.
При значительном поперечном
уклоне (крене) щита в результат определения должна вводиться соответствующая
поправка.
15.21. Отметку щитового прибора определяют при помощи его
оптической трубы, снабженной уровнем, и нивелирной рейки, подвешенной к своду
готового тоннеля. Отметка нуля рейки должна быть определена от реперов
подземной высотной основы. По отметке горизонта инструмента щитового прибора и
по известному расстоянию от него до низа оболочки вычисляют абсолютную отметку
оболочки в данной точке. Дальнейшие действия производят аналогично описанному
выше (см. п. 15.20).
15.22. Для визуального определения отклонений щита в
профиле используют горизонтальные щели (грани) сигналов (см. п. 15.11) и
вертикальную реечку с ползунком и диоптром, укрепляемую на щите. Горизонтальные
щели сигналов должны быть установлены от реперов подземной основы в
соответствии с проектным уклоном тоннеля. Удаление нуля реечки от центра щита
должно быть равно расстоянию от горизонтальных щелей до центра тоннеля,
уменьшенному на величину смещения центра щита относительно центра тоннеля.
Установив ползунок диоптра в створе горизонтальных щелей, производят отсчет по
реечке, который и является величиной отклонения щита в профиле в точке
закрепления реечки. По величине Di (см. п. 15.20)
определяют отклонения ножа и хвоста.
При
работе на участке вертикальной кривой горизонтальные щели сигналов закрепляют
на линии, параллельной тангенсу вертикальной кривой. В полученные отклонения
ножа и хвоста вводят поправки за вертикальную кривую, определяемые по формуле
![]()
где l - расстояние от начала (или конца) вертикальной
кривой до ножа или хвоста;
R - радиус вертикальной кривой.
Расстояния
l получаются как разности
соответствующих пикетажных значений: ножа, хвоста и начала (конца) вертикальной
кривой.
15.23. Фактический продольный уклон щита определяется по
уклономеру (см. рис. 15.2) или по специальному уровню (см. рис. 15.3).
Градуировка делений производится из расчета получения непосредственно величины
уклона. Он может быть также определен путем нивелирования двух маркшейдерских
знаков (см. рис. 15.1), расположенных в своде щита и установленных так, чтобы при горизонтальном положении
щита превышение между марками равнялось нулю. Тогда уклон щита подсчитывают по
формуле
![]()
где h - превышение между марками;
l - расстояние между ними.
Может
применяться и следующий способ определения продольного уклона щита. Под
оболочкой вблизи задней плоскости опорного кольца и вертикального диаметра щита
подвешивается отвес. От него измеряются в двух уровнях расстояния до плоскости
опорного кольца - верхний замер на уровне сводовой части, нижний - на уровне
лотковой части щита. Разность отсчетов делится на вертикальное расстояние между
уровнями замеров; полученное частное и будет уклоном щита (с соответствующим
знаком).
15.24. Наблюдение за положением щита в плане и профиле во
время его движения по трассе производится с помощью щитового прибора (см. рис. 15.5) и двух
специальных уровней (см. рис. 15.3) или же
с помощью уклономера (см. рис. 15.2), а
также двух боковых продольных реек, укрепленных на оболочке щита примерно на
уровне горизонтального диаметра таким образом, что их нулевые концы упираются в
опорное кольцо щита (рис. 15.7).
Применение боковых реек обеспечивает надежное определение горизонтального
опережения щита (при обязательном учете опережения последнего кольца тоннельной
обделки).
Горизонтальное
опережение щита следует определять непрерывно, так как оно оказывает большое
влияние на положение щита относительно проектной оси тоннеля.
Рис. 15.7.
Приспособление для наблюдения за перекосом и продвигом щита:
1 - опорное кольцо щита; 2 - передняя плоскость
кольца тоннельной обделки; 3 - нивелирная рейка; 4 -
откидная ножка; 5 - щитовые домкраты
Попутно
определяется величина продвига щита, пикетаж ножа и хвоста.
Для
удобства начало счета рейки можно отнести к передней плоскости ножа щита
(отсчет на задней плоскости кольца будет равен расстоянию от ножа до этой
плоскости).
15.25. Передвижка щита разрешается только при выполнении
следующих условий:
а)
разработки забоя по всему периметру (в средних и твердых породах);
б)
очистки лотка тоннеля перед ножом;
в)
замыкания последнего кольца обделки;
г)
установки и затяжки всех болтов в кольцах тюбинговой обделки;
д) при
наличии нагнетания за третье кольцо не менее чем до горизонтального диаметра.
Нагнетание за обделку тоннеля следует производить вслед за передвижением щита,
начиная с первого кольца, сошедшего с оболочки щита. В сложных геологических
условиях нагнетание должно производиться за последнее уложенное кольцо (не
сошедшее с оболочки).
Примечание. Первоначальное
выдвижение щита из монтажной камеры разрешается после надежного закрепления
упоров - полных колец или полуколец.
15.26. Уклонения середины щита от проектного направления
трассы в плане и профиле не должны превышать ± 50 мм.
Учитывая, что кольца тоннельной обделки, собираемые в оболочке щита, по выходе
из нее подвергаются вертикальной осадке, рекомендуется вести щит в профиле выше
проекта на 2 - 3 см. Этот размер может быть изменен в ту или другую
сторону на основании опыта проходки в данных геологических условиях.
15.27. При проходке в слабых породах рекомендуется вести
щит с превышением проектного уклона от +0,010 до +0,030. Величину этого «угла
атаки» следует определять опытным путем при первых передвижках щита. В особо
слабых породах рекомендуется сооружать перед щитом бетонную или железобетонную
подушку.
15.28. Механизированные щиты со скоростью проходки: 200 -
400 м в месяц могут определяться в плане и профиле от луча лазера (типа
«ОКГ», «ЛГ» и др.) или модулированного луча (типа «ПУЛ» и т.п.), дающих
возможность закрепить проектную ось тоннеля на определенном участке трассы. Эта
ось автоматически фиксируется на приемном электронном устройстве, расположенном
на щите. Приемное устройство снабжено
световым табло, на котором дается непрерывная информация о положении щита в
плане и профиле. Автоматические устройства разрешается применять, если они
обеспечивают необходимую точность сооружения тоннельной обделки как на прямых,
так и на криволинейных участках трассы. Автоматические приборы для ведения и
определения тоннельных щитов устанавливаются только от подземной маркшейдерской
основы и систематически проверяются маркшейдерской службой.
15.29. При сооружении тоннеля из монолитно-прессованной
обделки при помощи щита устанавливается металлическая опалубка. Установка
производится от знаков подземной полигонометрии и реперов с точностью ± 10 мм
в плане и профиле.
15.30. Внешняя поверхность установленной металлической
опалубки проверяется от закрепленного центра тоннеля радиальными промерами не
менее чем в восьми точках.
15.31. Отклонения готового тоннеля от проекта в плане и
профиле не должны превышать ± 50 мм.
15.32. В маркшейдерскую книгу заносятся все данные по
контрольным измерениям четырех диаметров щита:
а) в
ножевой части щита;
б) у
опорного кольца;
в) в
свободной части оболочки щита.
Измерения
производятся стальной рулеткой с точностью ± 3 мм. Указанные измерения производятся
систематически, не реже одного раза в месяц, с целью выявления деформации щита
и принятия необходимых мер.
15.33. Все данные наблюдений и результаты вычислений по
определению положения щита и колец записываются в щитовом журнале, форма
которого приведена в приложении 15-5.
Результаты съемки колец за эректором заносятся в книгу-ведомость, форма которой
дана в главе 14 (см. приложение 14-1).
15.34. График сооружения тоннелей ведется в масштабе
1:200 или 1:500. Дополнительно на графике показываются положения (по пикетажу)
ножа и хвоста щита.
Для
определения уклонений в плане точек ножа и хвоста пользуются номограммой,
приведенной на рис. 15.8. Номограмма строится по следующему
правилу. На листе бумаги проводится горизонтальная линия и в определенном
масштабе откладываются расстояния l1, l2, l3. В
полученных точках восстанавливаются перпендикуляры, размеченные до 70 мм
по обе стороны от горизонтальной линии. Деления, расположенные от проектной оси
трассы по ходу щита вправо, имеют знак плюс, а влево - знак минус.
Рис. 15.8 Номограмма для определения
уклонений щита в плане
Пусть мы
имеем отклонения на дугах в точке № 10 -17 мм и № 11 +5 мм.
Совместив ребро линейки с цифрой -17 мм и +5 мм, получим
отклонения в плане:
хвоста.................................................................... -49
мм
ножа щита............................................................. +22
мм.
Оптический
щитовой прибор и уровень, разработанный и применяемый на механизированных
скоростных проходческих щитах при строительстве Ленинградского метрополитена,
приведен на рис. 15.9, 15.10 и 15.11.
Разрез по
А-А
Рис. 15.9. Щитовой прибор на дуге:
1 - дуга; 2 - шкала щитового прибора; 3
- обойма; 4 - шкала на дуге; 5 - ползунок; 6 - индекс
ползунка для шкалы на дуге; 7 - индекс ползунка для шкалы прибора; 8
- оптическая трубка прибора; 9 - диоптрийное устройство для визирования
на переднюю дугу; 10 - вертикальная ось вращения трубы; 11 -
закрепительный винт горизонтального вращения трубы; 12 - горизонтальная
ось вращения трубы; 13 - закрепительный винт вертикального вращения
трубы; 14 - микрометренный винт для вращения трубы по вертикали; 15
- микрометренный винт для вращения трубы по горизонтали; 16 -
исправительные винты сетки нитей; 17 - кремальерный винт; 18 -
окуляр; 19 - объектив
Рис. 15.10. Щитовой прибор на дуге:
1 и 4 - обоймы щитового прибора; 2 -
шкала щитового прибора; 3 - движок щитового прибора; 5 и 8
- обоймы передвижной шкалы передней дуги; 6 - индекс, для установки
передвижной шкалы на дуге по показанию поперечного уровня; 7 -
передвижная шкала на передней дуге
Рис. 15.11. Поперечный уровень. Схема
монтажа прибора на задней стенке металлической коробки:
1 - шкала; 2 - винт регулировки положения
уровня. Продольный уровень отличается от поперечного размером делений на шкале.
Конструкция того и другого одинакова. Размеры указаны в миллиметрах
Оптический
клин имеет свойство давать двойное изображение предмета под определенным и
постоянным углом. Клин (рис. 15.12) вмонтирован в специальную оправу
(насадку), которая надевается на объектив трубы щитового прибора. Один клин
располагается в верхней, а другой - в нижней части насадки. Линия
соприкосновения клиньев проходит через центр трубы и должна быть горизонтальна.
Рис. 15.12.
Оптический клин
Пусть на
окружности (рис. 15.13) имеются: два сигнала А и В
и в точке J - щитовой
прибор с оптическим клином. При визировании в трубу на сигнал А один
оптический клин сместит изображение сигнала влево на угол
, а другой вправо на тот же угол
. Такое же явление и со вторым сигналом В.
Следовательно, в трубе будут видны не два, а четыре изображения. Если поставить
условие, что расстояние между сигналами А и В было взято таким,
при котором угол преломления клина a был бы равен углу АIВ, то изображения точек В¢ и А² окажутся
совмещенными.
Из рис. 15.13
следует, что при движении инструмента с оптическим клином строго по окружности
изображения сигналов А² и В¢ будет оставаться все время совмещенными, потому что
постоянный угол клина a равен углу a между направлениями на точки А и В (как
угол, опирающийся на одну и ту же дугу окружности). Пользуясь этим свойством
оптического клина, можно при его помощи определять отклонения в плане ножа и
хвоста щита.
Применительно
к рис. 15.5
(см. п. 15.12)
поперечный уклон щита ранен 100 мм (на радиус установленной на щите
дуги). Для исключения влияния поперечного уклона щита нуль-пункт оптического
прибора совмещают с делением шкалы на дуге, соответствующим значению
поперечного уклона, т.е. 100 мм, и в этом положении прибор закрепляют
прижимными винтами к дуге. Следовательно, оптический прибор (нулем своей шкалы)
находится на вертикальной оси щита и поправка за поперечный уклон последнего
автоматически исключается.
Двигая
трубу щитового прибора с насаженным на ее объектив клином, добиваются
совмещения изображений сигналов и производят после этого отсчет по шкале на
щитовом приборе. В нашем примере (см. рис. 15.5) отклонение в плане для
данной точки получено +13 мм. Далее щитовой прибор переносят на вторую
дугу и производят те же действия. Уклонения ножа и хвоста от проектной оси в
плане определяются по номограмме (см. приложение 15.1) или табличке.
Если
принимается решение о проходке по кривым с применением оптического клина,
геодезическо-маркшейдерская служба должна располагать наборами клиньев с
различными углами. Так, если в проекте трассы сооружения предусмотрены кривые с
радиусами от 400 до 2000 м, необходимо иметь в каждом наборе 8 штук, с
углами от 0°45¢ до 2°30¢, с разницей в углах около 15¢.
При
подборе оптического клина для ведения щита по кривой данного радиуса выбирается
клин с таким углом, который позволил бы располагать сигналы в тоннеле на
удобном для работы расстоянии между ними.
Если взять
клин с малым углом, то осевые сигналы должны быть расположены на малом
расстоянии друг от друга и при быстром продвижении щита потребуется частое
перенесение этих сигналов. Чтобы реже заниматься перестановкой сигналов, можно
применить клин с большим углом, но расстояние между осевыми сигналами может
оказаться настолько велико, что щит может еще не успеть уйти вперед на это
расстояние (чтобы появилась возможность установить новый сигнал), а задний тем
временем уже скроется за обделкой тоннеля на закруглении трассы. Следовательно,
клин должен подбираться такой, у которого угол позволил бы располагать осевые
сигналы на максимальном расстоянии друг от друга, но чтобы до выхода из поля
зрения в трубе щитового прибора заднего сигнала имелась бы возможность по
расстоянию l
установить сигнал новый - вблизи щита. Наличие этого условия избавит
маркшейдеров от частой перестановки сигналов и обеспечит бесперебойное и точное
определение щита в плане.
Рис. 15.13. Схема работы с оптическим клином
на кривой
Наиболее
удобными базами (расстояниями между сигналами) для кривых разных радиусов можно
считать следующие:
Таблица 15-1
|
400 |
500 |
600 |
800 |
1000 |
1500 |
2000 |
|
|
Приближенные расстояния
между сигналами, м |
25 |
30 |
35 |
40 |
45 |
55 |
70 |
На
основании вышеприведенной таблицы можно выбрать из набора
клиньев для кривой, по которой предстоит вести щит, один клин с соответствующим
углом.
Ниже приводится образец таблицы, составляемой по
фактически измеренным углам имеющихся в наборе клиньев.
Таблица 15-2
|
Угол клина |
Длина фаз между сигналами при радиусах, м |
|||||||
|
R = 400 |
R = 500 |
R = 600 |
R = 800 |
R = 1000 |
R = 1500 |
R = 2000 |
||
|
1 |
0°45¢ |
10,47 |
13,09 |
15,71 |
20,94 |
26,18 |
39,27 |
52,36 |
|
2 |
1°00¢ |
15,71 |
17,45 |
20,94 |
27,92 |
34,90 |
52,36 |
69,81 |
|
3 |
1°15¢ |
17,45 |
21,82 |
26,18 |
34,90 |
43,63 |
65,44 |
- |
|
4 |
1°30¢ |
20,94 |
26,18 |
31,41 |
41,88 |
52,35 |
- |
- |
|
5 |
1°45¢ |
24,43 |
30,54 |
36,65 |
48,86 |
- |
- |
- |
|
6 |
2°00¢ |
27,92 |
34,90 |
41,88 |
- |
- |
- |
- |
|
7 |
2°15¢ |
31,41 |
39,26 |
- |
- |
- |
- |
- |
|
8 |
2°30¢ |
34,90 |
- |
- |
- |
- |
- |
- |
Каждый
изготовленный оптический клин должен быть проверен. Проверка заключается в
инструментальном определении его угла оптическим теодолитом, на трубу которого
при помощи специального приспособления накладывается оптическая труба щитового
прибора с насаженным на нее клином.
При
проверке угла a клина должны быть соблюдены следующие условия:
1) плоскость призм оптического клина должна находиться
в центре вращения теодолита, а линия соприкосновения призм должна быть
установлена горизонтально;
2) при измерении угла теодолит должен быть установлен
по уровням и труба щитового прибора с клином должна быть на нем установлена
горизонтально;
3) проверка угла клина производится обязательно в тех
же условиях освещения и при том цвете сигнала, при которых будут определяться
положения щита;
4) проверка угла клина производится при получении его
от изготовителя и обязательно каждый раз перед началом работы на кривой.
Определения делаются с многократным повторением приемов при расстояниях до
сигналов 50, 75 и 100 м.
Для
определения угла a наводят сетку нитей трубы с клином на одно из двух
изображений сигнала и по горизонтальному кругу теодолита производят
отсчет; затем, вращая теодолит, наводят трубу на второе изображение сигнала и
производят второй отсчет. Среднее из многократных значений разностей отсчетов
по теодолиту и будет угол оптического клина.
Максимальные
расхождения в определении угла оптического клина на разных расстояниях не
должны превышать 12². За окончательное значение угла клина a принимается среднее
арифметическое из всех определений (одни угол для всех расстояний). Так как
угол оптического клина зависит от цвета сигнала, определение его рекомендуется
производить в тоннеле на сигнал, принятый для работы.
Для
ведения щита при помощи оптического клина предварительно рассчитывается
установка сигналов в готовом тоннеле. Для ведения щита в начальной части кривой
сигналы располагаются на условном продолжении кривой оси тоннеля на его
прямолинейном участке.
Описываемый
ниже способ определения щита получил широкое применение на строительстве
метрополитена в Москве. Способ этот заключается в следующем. От
полигонометрических знаков инструментально выносится проектная ось тоннеля.
Вместо дуг укрепляются линейки с сантиметровыми делениями; считая по ходу щита,
деления на линейке возрастают от нулевого штриха вправо со знаком минус, а
влево - со знаком плюс. Линейки укрепляются на щите до начала проходки так,
чтобы нулевые штрихи совпадали с вертикальной осью щита. В этот момент
поперечный уклон щита принимается равным нулю.
Проектная
ось инструментально, методом створа передается к щиту и закрепляется в своде
тоннеля (не менее чем тремя точками) в пределах площадки эректорной тележки.
Для
определения положения щита в плане на линейку подвешивается отвес,
устанавливаемый в створ проектной оси, и производится отсчет по шкале. Те же
действия производят и по второй линейке. В полученные отсчеты вводится поправка
за поперечный уклон щита, согласно данным уклономера (или уровней). Отсчеты по
линейкам с введенными в них поправками и являются отклонениями в плане этих
точек от проектной оси тоннеля. Отклонения в плане ножа и хвоста определяются
при помощи таблички или номограммы (см. п. 15.12). Практически вместо
передачи направления оси в пределы эректорной тележки применяют световые
сигналы, а на линейках вместо отвесов используют диоптрийное устройство или
оптическую визирную трубку.
При работе
в пределах переходной или круговой кривой, в результаты определений по
линейкам, помимо поправок за поперечный уклон щита, вводят также поправки за
смещение оси тоннеля на данном пикете от закрепленного в тоннеле световыми
сигналами створа (по линии тангенса или по стягивающей хорде, по хорде или
секущей на круговой кривой).
Если ось
тоннеля закрыта каким-либо оборудованием, пользуются смещенной осью.
Определение
положения щита в профиле производится при помощи горизонтальных щелей экранов,
для чего на щите укрепляется вертикальная реечка с ползунком-диоптром.
Для
контрольного определения отметок ножа и хвоста щита нивелируют какой-либо один
из осевых знаков 10, 11 или 12. Имея расстояния H1, H2, H3 вычисляют абсолютную отметку низа
оболочки щита в соответствующей точке. По полученной отметке и по фактическому
продольному уклону щита, определяемому при помощи уровня или уклономера,
подсчитывают абсолютные отметки ножа и хвоста.
Наблюдение
за положением щита во время его движения по трассе производят при помощи
уклономера (или уровней) и боковых продольных реек.
В процессе передвижки щита производят контрольные определения положения
его в плане и профиле.
16.01. Основная особенность производства геодезическо-маркшейдерских
работ под сжатым воздухом заключается в том, что они проводятся в условиях
изоляции от зоны нормального давления, где находятся знаки подземной
маркшейдерской основы.
16.02. При сооружении шлюзовой камеры производятся
следующие подготовительные работы:
а) в
шлюзовой камере закрепляются полигонометрический знак в полу и соответствующий
ему маркшейдерский гвоздь в потолке, а также два маркшейдерских гвоздя в
потолке, которые используются для передачи направления способом соединительных
треугольников (рис. 16.1). При закреплении знаков необходимо
учитывать видимость из зоны нормального и повышенного давления. Возможно также
закрепление знака только в своде камеры;
б)
закладывается на торцовой стенке шлюзовой камеры (со стороны кессона) стенной
репер в удобном для пользования месте (см. рис. 16.1). Отметка этого репера
надежно определяется до начала работ под сжатым воздухом;
в) в
верхней части торцовой стены шлюза со стороны кессона закладываются две скобы с
прорезями для отвесов (см. ниже рис. 16.4). Эти скобы служат для
фиксирования направлений с полигонометрических знаков, закрепляемых в кессоне.
16.03. Если шлюзовая камера монтируется из металлических
труб, покоящихся на двутавровых балках, и лишь конец ее, обращенный к зоне
сжатого воздуха, «защемляется» метровой железобетонной стеной, закрепляется
только один знак в выходном проеме камеры. Передачу направления в зону сжатого
воздуха методом соединительных треугольников в этом случае производить нельзя,
так как металлическая конструкция может менять свое положение в процессе
шлюзования и вышлюзовывания.
16.04. До начала работ под сжатым воздухом необходимо
определить несколько полигонометрических знаков в зоне будущего кессона с тем,
чтобы в благоприятных условиях создать маркшейдерскую основу для дальнейшей
проходки. После подачи сжатого воздуха за этими знаками устанавливается наблюдение
в плане и профиле, позволяющее своевременно выявлять происходящие деформации.
Учитывая малость длин сторон между закрепленными знаками, проходка на их основе
может производиться не далее 15 - 20 м.
16.05. Маркшейдерская основа, создаваемая в зоне сжатого
воздуха, должна периодически контролироваться через шлюзовую камеру одним из
следующих способов:
а)
способом непосредственной передачи;
б)
способом соединительных треугольников, гиротеодолитом.
16.06. При способе непосредственной передачи теодолит
устанавливается над полигонометрическим знаком в шлюзовой камере (рис. 16.2).
Измерение угла поочередно выполняется двумя наблюдателями, один из которых
находится в зоне нормального давления.
Измерение
угла производится в следующем порядке. Наблюдатель визирует трубой теодолита на
знак в своей зоне и записывает отсчет в журнал, который оставляет у
инструмента, а сам выходит из шлюзовой камеры. После этого производится
шлюзование инструмента.
Второй
наблюдатель проверяет отсчет по лимбу, сличает его с записанным в журнале,
производит визирование на знак в своей зоне и записывает отсчет в журнал. После
этого труба переводится через зенит и наблюдатель начинает выполнять второй
полуприем. Затем производится второе шлюзование инструмента. Первый наблюдатель
контролирует отсчет и визированием на знак своей зоны заканчивает первый прием.
Таких приемов должно быть сделано не менее трех. Кроме этого, каждый
наблюдатель производит необходимые линейные измерения в своей зоне. Шлюзование
наблюдателя не разрешается.
16.07. При применении способа соединительных
треугольников (рис. 16.3) используются маркшейдерские гвозди, закрепленные
ранее в шлюзовой камере.
Полигонометрические
знаки, с которых будут наблюдаться отвесы, должны быть расположены с
учетом требований, изложенных в главе 8.
Рис. 16.1. Шлюзовая камера:
а - продольный разрез; б
- плац; 1 - горный перегонный эректор; 2 - людской шлюз; 3 -
маркшейдерские гвозди в своде; 4 - геодезический прикамерок; 5 -
крепление забоя; 6 - погрузчик; 7 - домкраты; 8 -
материальный шлюз
16.08. Маркшейдерская основа (рис. 16.4) в зоне
сжатого воздуха создается и используется с учетом следующих особенностей:
Рис. 16.2.
Непосредственная передача дирекционного угла через шлюзовую камеру в зону
сжатого воздуха
Рис. 16.3.
Передача дирекционного угла в зону сжатого воздуха способом соединительных
треугольников через шлюзовую камеру
Рис. 16.4. Схема создания подземной полигонометрии в зоне
сжатого воздуха
а)
полигонометрические знаки закладываются по обеим сторонам тоннеля (если не
препятствуют трубы большого диаметра, занимающие одну из сторон тоннеля);
б) с
каждого знака должна быть видимость не менее чем на два других знака;
в) для
обеспечения устойчивости знаков принимаются все меры к созданию жесткости самого
тоннеля (своевременное и высококачественное нагнетание при хорошем сболчивании
тюбинговой обделки);
г) помимо
связующих направлений со знака на знак, берутся также контрольные направления
на скобы, установленные в верхней части торцовой стены перемычки;
д) основа
должна периодически контролироваться путем повторных угловых измерений и
линейного измерения коротких поперечных связок. В случае обнаружения деформации
знаков производят контрольную передачу дирекционного угла через шлюз.
16.09. Для передачи высотной отметки через шлюзовую
камеру нивелир сначала устанавливают в зоне нормального давления и при открытой
шлюзовой двери передают отметку с полигонометрического знака, находящегося в
зоне нормального давления, на знак в шлюзовой камере обычным нивелированием.
Затем нивелир и журнал оставляют в камере, закрывают первую дверь и производят
шлюзование. После того, как давление в камере сравняется с давлением в кессоне,
открывают вторую дверь. Нивелир устанавливают в зоне сжатого воздуха и путем
обычного нивелирования передают отметку с точки в шлюзовой камере на
полигонометрический знак в зоне сжатого воздуха. Работу повторяют несколько
раз. Камеральная обработка полевого материала обычная.
16.10. При значительной длине кессонной проходки, когда
сооружают новую шлюзовую камеру и разбирают старую, производят контрольные
измерения по всей зоне, где ранее определения велись под сжатым воздухом.
16.11. Сооружение тоннелей под сжатым воздухом, как
правило, осуществляется с помощью щитов. Методика ведения и определения щита та
же, что и в обычных условиях проходки.
16.12. Специфические условия работы в кессоне обязывают
маркшейдерскую службу обращать особое внимание на следующее:
а) не
реже одного раза в месяц определять отметки всех полигонометрических знаков от
основного репера, заложенного в шлюзовой камере;
б)
систематически следить за деформацией поверхностных зданий и сооружений и
положением забоя относительно их. При наличии выпусков породы из забоя
необходимо производить более частые наблюдения на поверхности;
в) о всех
значительных деформациях немедленно ставить в известность руководство
строительного объекта для принятия необходимых мер.
17.01. Полигонометрические и нивелирные ходы к месту
строительства прокладываются до начала земляных работ в соответствии с
указаниями разделов А, глав 2 и 4. Знаки геодезической основы закладываются на
некотором удалении от края котлована, но не ближе 20 м от границы зоны
сдвижения грунта при проектной глубине котлована. Знаки нумеруются и
ограждаются.
17.02. При применении замораживания грунтов или
водопонижения знаки геодезической основы должны закладываться вне зоны
деформации поверхности, но все разбивки с этих знаков могут производиться лишь
после предварительного контроля геодезической основы.
17.03. До начала земляных работ закрепляются штырями,
заложенными в бетоне, продольная и основные поперечные оси тоннеля. Перенесение
в натуру осей производится от знаков полигонометрии с точностью ± 10 мм.
На сторожках у штырей даются необходимые надписи.
При
пересечении трассой какого-либо строения ось тоннеля закрепляется на нем в виде
вертикальной черты и делается надпись масляной краской «ось левого (правого)
тоннеля».
17.04. На некотором удалении от линии откоса бетонируются
четыре знака, фиксирующие смещенную проектную ось тоннеля (два знака в начале и
два - в конце котлована), которые используются в течение всего периода
строительства. Знаки должны быть занумерованы, подписаны и ограждены.
17.05. Высотная съемка поверхности поперечниками
производится до начала земляных работ, согласно указаниям раздела В главы 23.
17.06. На основе оси сооружения (или его смещенной оси)
закрепляются с точностью ± 5 см грани верхних откосов котлована.
17.07. На поверхности земли, по обе стороны от оси
тоннеля, кольями закрепляются, согласно проектным размерам, линии свай или
шпунтовых рядов. Точность разбивки должна быть в пределах ± 50 мм.
Сваи должны иметь порядковую нумерацию.
17.08. Уклонение забитых свай за проектную линию в
сторону оси тоннеля не допускается, поэтому проектом должна быть предусмотрена
забивка свай в сторону уширения котлована на 20 - 25 см с каждой
стороны.
17.09. Все забитые сваи подлежат маркшейдерской съемке на
уровне поверхности земли. После окончания разработки котлована производится их
съемка на уровне лотка. Положение свай наносится на крупномасштабный план.
17.10. Для учета забивки и последующего извлечения свай
ведется специальный журнал, в котором записываются: №№, глубина заложения ниже
лотка тоннеля и фактическая длина свай.
Заглубление
свай менее проектного не допускается.
17.11. Все элементы крепления котлована или траншеи
должны располагаться за проектной внешней линией конструкции тоннеля.
17.12. Для установки поперечин расстрелов из бревен или
металлических балок с обеих сторон на сваях и стенках котлована закрепляется
высотный горизонт с соблюдением проектного уклона тоннеля.
По мере
заглубления котлована высотные отметки переносятся на нижние горизонты.
17.13. Разработка грунта в котловане при механическом
способе заканчивается с недобором от 20 до 50 см относительно проектной
отметки.
Окончательная
зачистка дна котлована производится в соответствии с кольями, установленными на
проектную отметку.
17.14. Для проверки правильности разработки дна котлована
нивелируются в шахматном порядке заранее намеченные точки.
Окончательная
подчистка дна производится перед бетонированием.
Проверка
правильности разработки дна котлована может производиться также от
закрепленного и проверенного высотного горизонта +1,0 м от верха бетона
лотка.
17.15. Все вскрытые при разработке котлованов подземные
коммуникации подробно снимаются в плане и профиле, указываются их назначение,
тип и т.п.
17.16. Проектная ось тоннеля выносится инструментально и
закрепляется маркшейдерскими гвоздями и нарезками на постоянно установленном
креплении котлована.
17.17. После окончания разработки на стенах котлована
закрепляется нижний высотный горизонт +1,0 м от верха лотка бетона с
точностью ± 10 мм. Горизонт должен быть проверен
нивелированием от исходных высотных реперов не менее двух раз.
17.18. Перед бетонированием лотка котлована или траншеи инструментально
закрепляются в нескольких местах нормали к оси тоннеля с определенными
пикетными значениями. Закрепленные нормали должны иметь соответствующие
надписи.
17.19. Для укладки бетонной подготовки под лоток тоннеля
заранее забиваются (под нивелир) деревянные колья, фиксирующие линию верха
бетона. Инструментальная повторная проверка всех закрепленных точек другим
лицом обязательна.
Таблица 17-1
|
Величина отклонения от проекта, мм |
|
|
Бетонная подготовка
(основание) тоннеля в плане |
± 50 |
|
Бетонная подготовка
(основание) тоннеля в профиле |
+ 20 |
|
Отклонения лотковых
блоков в плане |
± 25 |
|
Отклонения лотковых
блоков в профиле |
± 20 |
|
Отклонения стеновых
блоков в плане |
± 25 |
|
Отклонения стеновых
блоков в профиле |
± 25 |
|
Точность разбивки осей
колонн, балок перекрытий и продольных прогонов |
± 15 |
|
Отклонения стеновых
блоков и колонн от вертикали не более 0,002 высоты, но не более |
± 25 |
|
Допустимые избыточное
вертикальное и горизонтальное опережения установленных блоков от проектных,
не более |
± 25 |
17.20. При монолитной обделке тоннеля установка и приемка
опалубки под бетонирование производится от закрепленной продольной оси тоннеля
в соответствии с требованиями разделов Б и В главы 13.
17.21. Установка железобетонных лотковых блоков в плане
производится от оси тоннеля, а по высоте - при помощи нивелира от реперов.
Перекосы
устанавливаемых блоков контролируются линейными промерами от нормалей.
17.22. Установка стеновых блоков производится от оси
тоннеля. Особое внимание обращается на соблюдение проектных расстояний между
верхними частями стен, на которые опираются балки и плиты перекрытия тоннеля.
17.23. Допустимые отклонения при монтаже железобетонной
обделки тоннелей открытого способа приводятся в табл. 17-1.
17.24. При сооружении тоннелей применяются проходческие
прямоугольные щиты, дающие возможность сооружать тоннель из отдельных замкнутых
секций прямоугольного сечения шириной 1 м.
17.25. Сборка щита осуществляется по проектным рабочим
чертежам. Все фактические размеры щита не должны иметь расхождений с проектными
более ± 20 мм.
17.26. После монтажа на щите закрепляются:
а)
продольная ось щита;
б) две
марки на сборной части щита для определения отклонений щита в профиле и
контрольных определений продольного уклона;
в) две
марки в ножевой части для определения величины ее деформации;
г)
нормаль к оси щита;
д) отвесы
или гидроуровни для наблюдений за поперечным и продольным уклонами щита во
время его продвига.
17.27. Отклонение от проекта оси прямоугольного щита
после продвигов в плане и профиле свыше ± 50 мм не допускается.
17.28. Ведение щита по трассе и определение его
отклонений осуществляются:
а) в плане
- от трех сигналов, установленных на дневной поверхности или в готовом тоннеле.
Закрепление сигналов на проектной оси тоннеля производится инструментально
от полигонометрических знаков в соответствии с указаниями разделов В и Г главы 12 и
указаниями главы 15;
б) в
профиле - при помощи нивелира и закрепленных на щите марок.
17.29. Определение величины деформации щита производится
по маркам и знакам, закрепленным на щите, - после пяти продвигов. Деформация
ножевой части щита более 100 мм должна быть устранена.
17.30. Исправление перекосов щита в плане, в профиле и
поперечном уклоне производится соответствующей разработкой грунта перед щитом.
17.31. Готовая прямоугольная секция тоннельной обделки
перед укладкой проверяется путем замеров стальной рулеткой ее ширины, длины и
диагоналей.
Изготовленные
прямоугольные секции тоннельной обделки должны удовлетворять следующим
допускам:
а)
расхождения фактических и проектных размеров при измерениях в свету между
стенами должны находиться в пределах от 0 до +30 мм;
б) торцовые
плоскости секций должны быть ровными, без уступов, искривлений или наплывов.
Расхождения в расстояниях между соответствующими точками передней и задней
плоскостей секции не должны превышать ± 10 мм.
17.32. Отклонения установленных секций от проектного
положения допускаются не свыше:
а) в
плане ± 30 мм;
б) в
профиле ± 30 мм;
в)
перекос в плане ± 20 мм;
г)
отклонение от проектного уклона - 0,001.
17.33. Установка каждой секции по высоте производится при
помощи нивелира в соответствии с проектным уклоном. Основание перед установкой
секции проверяется также при помощи нивелира. Зачистка грунта должна быть
выполнена с точностью ± 30 мм.
17.34. При установке каждой секции определяются (рис. 17.1):
а)
расстояния от оси - 1, 2, 3, 4, 7, 8, 9, 10 и в свету - 5, 6, 11, 12;
б)
отметки лотка;
в)
горизонтальность нижней плоскости секции.
17.35. Определение горизонтального опережения в плане
(перекосы) производится от закрепленных в тоннеле нормалей через 5 секций, а на
кривых - каждой третьей.
17.36. Для поворота обделки тоннеля в плане ставятся
клиновидные секции в соответствии с указаниями раздела Е главы 14.
17.37. При применении на криволинейных участках трассы
обделки из прямоугольных секций последние должны иметь соответствующее радиусу
кривой уширение.
17.38. На вертикальных кривых секции должны иметь
рассчитанные увеличенные размеры в свету по высоте, в зависимости от уклона
трассы.
Рис. 17.1. Установка прямоугольной обделки
тоннеля
17.39. При ведении щита прямоугольного сечения в
специальный маркшейдерский журнал заносятся все данные о продвиге, положении
щита и секций.
17.40. Сооружение тоннеля из цельносекционной обделки при
открытом способе работ может производиться и без прямоугольного щита при помощи
кранов. Требования к тоннельной обделке в этом случае должны соответствовать
допускам табл. 17-1.
17.41. При строительстве участков метрополитена на
открытом железнодорожном полотне все геодезическо-маркшейдерские работы
выполняются от знаков наземной полигонометрии и реперов, входящих в общую сеть
наземного обоснования трассы.
17.42. Для строительства железнодорожного полотна на
поверхности земли производятся детальные разбивки оси трассы и поперечников.
17.43. При планировочных работах для устройства
железнодорожных путей в веерной части предварительно ведется детальная съемка
поверхности земли и производится разбивка поперечников или квадратов.
После
выполнения планировочных работ разбивка поперечников (квадратов) производится
вновь с необходимыми геодезическими работами для проверки соответствия
произведенной планировки проекту и для подсчета объемов выполненных работ.
17.44. Для укладки рельсов на веерной части в
последовательном порядке ведут инструментальную разбивку и закрепление (кольями
или штырями) осей железнодорожных путей. Расположение искусственных сооружений,
стрелок и других устройств должно соответствовать рабочим проектным чертежам.
17.45. Уклоны железнодорожных путей, ливнеотводных канав,
откосов, кюветов и пр. должны выдерживаться в соответствии с проектом.
17.46. Постоянные полигонометрические знаки в тоннелях,
сооружаемых открытым способом, закладываются после сооружения лотка. Среднее
расстояние между знаками должно быть порядка 40 - 50 м.
17.47. Передача маркшейдерской основы (дирекционные углы
линий полигонометрии, координаты полигонометрических знаков и абсолютные
высотные отметки) в готовый тоннель, сооруженный открытым способом,
производится не менее двух раз. Точность производимых работ должна
удовлетворять требованиям, изложенным в главах 2 и 4.
17.48. В случае невозможности непосредственной передачи
дирекционного угла в тоннель производится ориентирование через отверстия в
перекрытии тоннеля согласно правилам, изложенным в главе 8.
17.49. Методика измерений углов и линий подземной
полигонометрии должна удовлетворять требованиям, изложенным в разделах Б и В главы 9.
Нивелирование
по знакам подземной полигонометрии производится в соответствии с указаниями
главы 10.
17.50. Относительная ошибка в ходах подземной
полигонометрии, прокладываемой в тоннелях открытого способа, между знаками,
определенными непосредственной передачей с поверхности, не должна превышать 1 :
15000.
17.51. При обратной засыпке тоннеля, как правило, имеют
место некоторые смещения тоннеля в плане, осадка его по высоте и отклонения
стен от вертикали. Для выявления этих деформаций производятся наблюдения за
тоннелями. Результаты их заносятся в таблицу, форма которой дана в приложении 17-1.
17.52. В неблагоприятных геологических условиях, под
воздействием выноса мелких частиц песка при откачке воды, при размораживании и
неравномерном боковом давлении грунтов возможны вертикальные и боковые смещения
тоннеля. С целью своевременного обнаружения возникшей деформации какого-либо
участка тоннеля производятся систематические наблюдения за специальными
знаками, заложенными для этой цели в обделке.
Наблюдения
за деформацией тоннеля производятся в соответствии с правилами, изложенными в
главе 22.
17.53. После затухания деформации в необходимых случаях
производится дополнительная съемка внутреннего очертания тоннеля через пять
метров по пикетажу с целью выявления соответствия его установленным габаритам.
17.54. В случае значительной деформации сооруженного
тоннеля данные наблюдений вместе с материалами съемок внутреннего очертания
передаются проектной организации для внесения необходимых изменений в
геометрическую схему и профиль трассы.
17.55. Окончательная съемка тоннелей, сооруженных
открытым способом, производится в соответствии с рекомендациями главы 13.
Частично может быть использована и методика инструментальных съемок, изложенная
в главе 14.
17.56. На основании выполненных съемок производится
составление и вычерчивание исполнительных чертежей. При этом руководствуются
указаниями главы 25.
|
Путь
______________ |
Схема нумерации размеров |
|
№ звена |
Пикетаж |
Ширина звена |
В укладке |
После засыпки |
|||||||||||
|
Отклонения в плане, мм |
Отклонения в профиле, мм |
Отклонения в плане, мм |
Отклонения в профиле, мм |
||||||||||||
|
1 |
2 |
3 |
4 |
лотка |
перекрыт. |
1 |
2 |
3 |
4 |
лотка |
перекрыт. |
||||
|
12.V.67 г. |
140 |
98 + 40,97 |
1,50 |
+10 |
+20 |
+12 |
+19 |
+28 |
+14 |
+17 |
+14 |
+38 |
+42 |
+8 |
-4 |
18.01. Производство геодезическо-маркшейдерских работ при
сооружении станций закрытым способом из тюбинговой или железобетонной сборной
обделок осуществляется в соответствии с указаниями главы 14, а
станций с монолитной обделкой - в соответствии с требованиями главы 13.
18.02. Закладка первых (прорезных колец) среднего и
боковых станционных тоннелей производится от полигонометрических знаков и
реперов согласно требованиям раздела Б главы 14.
18.03. Первые одноименные кольца боковых станционных
тоннелей закладываются по проектному пикетажу с точностью ± 10 мм.
18.04. При закладке по пикетажу первого кольца среднего
станционного тоннеля учитываются фактические пикетажи плоскостей одноименных
колец боковых тоннелей и наклонного хода. Установка кольца производится с
точностью ± 10 мм. Если средний тоннель
сооружается через наклонный ход, должна быть пройдена штольня к боковым
тоннелям для связи плановой и высотной основы.
18.05. Установленные прорезные станционные кольца должны
удовлетворять следующим допускам:
1) эллиптичность колец по четырем основным диаметрам
не должна быть более ± 30 мм;
2) отклонения лотковых сегментов в профиле должны
находиться в пределах от 0 до +30 мм;
3) смещение центра кольца в плане не должно превышать
± 15 мм;
4) горизонтальное опережение (на уровне центра
тоннеля) и разность между фактическим и проектным вертикальным опережением
кольца не должны превышать ± 5 мм для чугунной и ± 15 мм
для железобетонной обделок;
5) кручение кольца не должно превышать ± 15 мм.
18.06. Во всех случаях, когда это возможно, рекомендуется
сборку первых станционных колец вести по радиусам от проектного центра тоннеля.
Отклонения значений радиусов от проекта не должны превышать ± 15 мм.
18.07. Укладка последующих станционных колец (чугунных и
железобетонных) осуществляется с отклонениями, не превышающими допусков,
приведенных в табл. 18-1.
Таблица 18-1
|
Величины допускаемых отклонений колец, мм |
||
|
при укладке |
за эректором |
|
|
Отклонения диаметров
кольца от проектного размера (эллиптичность) |
± 30 |
± 50 |
|
Смещение лотка колец в
профиле от проектной отметки |
от 0 до +30 |
± 50 |
|
Смещение центров колец в
плане от продольной проектной оси |
± 30 |
± 50 |
18.08. При сооружении станционных тоннелей периодически,
через 8 - 10 колец определяются:
пикетаж
кольца;
горизонтальное
и вертикальное опережения;
кручение
кольца.
Горизонтальное
опережение и разность между фактическим и проектным вертикальным опережением не
должны превышать: ± 10 мм для чугунной и ± 20 мм - для железобетонной обделки.
Величина
кручения должна находиться в пределах ± 30 мм.
Для
выявления величин изломов передней плоскости кольца производится ее съемка
через 15 - 20 колец. Изломы и опережения исправляются прокладками
соответствующей толщины при монтаже последующего кольца.
18.09. Пикетаж одноименных колец во всех трех тоннелях
станции не должен отличаться более чем на 5 см. Выравнивание
производится укладкой маломерных колец.
18.10. Максимальное кручение колец (смещение замка) в
проемной части станции не должно быть более 50 мм. Исправление кручения
кольца производится в соответствии с указаниями п. 14.55.
18.11. При монтаже тюбинговых колец обращается особое внимание на качество сболчивания и отсутствие
зазоров по торцам и фланцам сегментов.
18.12. После сборки каждого станционного кольца
производится первичное нагнетание за обделку по всему его периметру. Перед
началом проходки среднего станционного тоннеля контрольное нагнетание в боковых
тоннелях должно быть закончено.
18.13. В неустойчивых и мягких породах в процессе монтажа
станционных колец целесообразно создавать положительную вертикальную
эллиптичность и устанавливать металлические стяжки с форкопами для сохранения
геометрии кольца.
18.14. При сооружении станций колонного типа необходимо
следить за расстояниями между бортами тюбингов, где будут монтироваться
колонны. Монтаж колец производится с плюсовой вертикальной эллиптичностью, со
своевременной постановкой металлических стяжек и высококачественным нагнетанием
за обделку.
18.15. Колонны устанавливаются вертикально и должны
находиться в одной вертикальной плоскости в продольном и поперечном
направлениях.
18.16. В поперечном направлении отклонения колонн зависят
от кручения колец и положения их в плане, а в продольном направлении - от
пикетажа колец.
18.17. Для каждой станции колонного типа на монтаж
металлоконструкций проектной организацией даются свои технические условия.
18.18. При сооружении станции из сборного железобетона
круглого очертания методы маркшейдерских работ остаются те же, что и для
станций с тюбинговой обделкой.
Допустимые
отклонения станционной железобетонной обделки от проекта те же, что и для
чугунной (см. табл. 18-1), но для опережений
допуск установлен ± 20 мм (см. п. 18.08).
18.19. Данные съемки колец заносятся в маркшейдерскую
книгу, форма которой приведена в приложении 18-1.
18.20. Станции располагаются на прямых участках пути. В
отдельных случаях может быть допущено строительство станций на кривых радиусом
не менее 800 м, сооружаемых открытым способом.
18.21. До начала земляных работ со знаков полигонометрии
производят разбивку продольной и поперечной осей станции; конечные точки осей
закрепляются бетонными монолитами. Закрепляется также смещенная продольная ось
станции, используемая на протяжении всего периода строительства.
18.22. От закрепленной продольной оси станции ведется
разбивка граней верхних откосов котлована и визирок, указывающих крутизну
откоса. Закрепление разбивочных знаков производят через 10 м. Точность
разбивок ± 5 см.
18.23. Высотная съемка поверхности и все маркшейдерские
работы по разбивке свай, разработке и креплению котлована, перенесению осей и
отметок с поверхности, сооружению конструкций тоннеля производятся в
соответствии с указаниями главы 17.
18.24. При сооружении станционных платформ особое
внимание обращается на обеспечение их габаритности. Края платформ не должны
выступать за пределы, установленные для бортового камня (см. ниже п. 18.36).
18.25. Маркшейдерские работы, производимые при сооружении
станций на открытом железнодорожном полотне, выполняются в соответствии с
требованиями настоящего раздела и указаниями раздела Е главы 17.
18.26. До начала отделочных и облицовочных работ на
станциях производится окончательная увязка полигонометрии, от которой разбиваются
продольные оси станции. Расстояния между осями тоннелей не должны отличаться от
проектных более чем на ± 10 мм.
18.27. Продольные оси станционных тоннелей закрепляются в
своде на специальных расстрелах или стяжках, в торцовых стенах тоннелей. После
сооружения платформы на ней, на временных бетонных тумбах (рис. 18.1)
закрепляются линии центров тоннелей.
18.28. Оси проемов закрепляются на путевых стенах и в
сводах проемов. На станциях со сборной обделкой за ось проемов принимается
середина одноименных колец правого и левого тоннелей.
18.29. На удобно выбранном горизонте, по обеим сторонам
тоннеля, закрепляется линия, параллельная проектному уклону станции и служащая
для предварительных разбивок в профиле.
18.30. Исходными для всех высотных разбивок на станции
служат знаки подземной полигонометрии, отметки которых увязываются с высотной
основой перегонных тоннелей.
18.31. Разбивки для опалубочных работ производятся от
продольных и поперечных осей с запасом 2 см в сторону увеличения
габарита. Высотные разбивки осуществляются нивелированием.
Рис. 18.1. Закрепление продольной оси
станционного тоннеля:
1 - деревянная доска или
швеллер № 14 20´5´130; 2 - бетонная
или кирпичная тумба
18.32. На конструкциях, подлежащих облицовке мрамором
(плиткой), закрепляются штыри, на которых делаются нарезки, фиксирующие лицевую
поверхность мрамора. Нарезки производятся с точностью ± 3 мм.
По высоте дается инструментально условный горизонт (с точностью ± 3 мм),
закрепляемый краской.
18.33. Для облицовки полов инструментально равномерно по
всей площади пола устанавливаются маячки на проектную отметку с точностью ± 3 мм.
18.34. Все сборные железобетонные конструкции и готовые
изделия устанавливаются от разбивочных осей и высотного горизонта с точностью ± 1 см.
18.35. Монтаж зонта производится с разбивкой от центра
тоннеля с точностью ± 2 см.
18.36. Установка бортового камня на платформе станции
производится от оси пути на расстоянии 1,45 м с точностью от 0 до +10 мм,
а по высоте - от уровня головки рельсов метро +1,10 м с точностью ± 5 мм.
18.37. Сооружение служебных и подсобных помещений
производится от закрепленных продольных и поперечных осей и уровня платформы.
18.38. Периодически производится нивелирование свода
колец по продольной оси тоннеля и по осям проемов станции для выявления
возможных деформаций.
18.39. На
каждое сооружение составляются исполнительные чертежи. Заранее определяются
места сечений и, в соответствии с этим, в натуре набирается необходимый
материал. Составление исполнительных чертежей проводится согласно указаниям
главы 25.
Станция «Песчаная», правый тоннель
КНИГА
съемки
колец
|
Дата укладки |
Пикетаж кольца |
План |
Профиль |
Косые диаметры пол 45° |
Кручение кольца |
Сменный маркшейдер |
||||||||||
|
Радиус левый |
Радиус правый |
Горизонт. диаметр |
Уклонен. центра кольца |
Горизонт. опережен. |
Проектная отметка лотка |
Фактическая отметка лотка |
Отклонение лотка |
Вертик. диам. |
Верт. опережен. |
Диаметр 2 + 6 |
Диаметр 4 + 8 |
|||||
|
25 |
21.VIII.67 |
6 + 22,38 |
4,390 |
4,420 |
8,810 |
+15 |
Лево +11 |
36,279 |
36,287 |
+8 |
8,790 |
+17 |
8,815 |
8,795 |
+29 |
Аникин |
|
26 |
22.VIII.67 |
6 + 23,13 |
4,380 |
4,410 |
8,790 |
+10 |
- |
36,281 |
36,284 |
+3 |
8,805 |
- |
8,820 |
8,790 |
- |
Попов |
19.01. При искусственном замораживании грунтов
выполняются следующие маркшейдерские работы:
разбивка
мест заложения замораживающих скважин;
установка
кондукторов;
определение
отклонений замораживающих колонок;
определение
глубины (длины) замораживающих скважин;
составление
исполнительных чертежей;
определение
объемов исполненных работ.
19.02. Разбивка скважин производится согласно привязкам,
данным в проекте.
19.03. Разбивка скважин производится относительно
основных осей сооружений, выносимых от пунктов геодезической основы и
закрепляемых постоянными бетонными знаками. Точность выноса осей ± 10 мм,
а скважин ± 30 мм.
19.04. В случае невозможности произвести разбивку скважин
от осей сооружений (застроенность участка и другие препятствия) разбивка
производится непосредственно от геодезической основы.
19.05. Местоположение скважин, расположенных по криволинейному
контуру, определяется в полярной системе координат от центра сооружения.
19.06. При расположении скважин по окружности полярный
угол определяется по формуле
![]()
где к - номер скважины;
п - число
скважин.
19.07. При невозможности произвести разбивку из центра
полярные координаты скважин перевычисляются в координаты системы, принятой для
данного строительства, и разбивка их осуществляется от пунктов геодезической
основы.
Перевычисление
координат из полярной системы в прямоугольную производится по формулам
yк = yц + rкsin
aк;
xк = xц + rкsin aк;
где к - номер скважины;
rк - радиус-вектор
скважины с номером к;
aк - дирекционный угол
радиуса-вектора.
19.08. Глубина бурения вертикальной скважины определяется
разностью фактической отметки устья и проектной отметки забоя (заложения)
скважины:
h = Hустья - Hзабоя,
где h -
глубина бурения.
Для
наклонных скважин
L = (Hустья - Hзабоя) cosec
b = hcosec b,
где L - длина
бурения;
b - угол наклона скважины к горизонту.
19.09. При замораживании грунтов вертикальными скважинами
над сводами тоннелей круглого сечения проектная отметка забоя рассчитывается по
формулам (рис. 19.1):
а) для
горизонтальных тоннелей
![]()
б) для
наклонных тоннелей
![]()
где H0 - отметка центра тоннеля;
R - радиус тоннеля;
т -
расстояние, на которое скважины не доходят до обделки тоннеля;
у -
расстояние от оси тоннеля до забоя скважины;
b - угол
наклона тоннеля.
19.10. Данные для разбивки наклонных скважин при
замораживании грунтов под зданиями, подземными коммуникациями и другими
сооружениями, а также при замораживании лотков вертикальных выработок
рассчитываются исходя из проектных привязок скважин к осям сооружений.
19.11. Разбивочные данные корректируются в зависимости от
фактического положения конструкций, определяемого по исполнительным чертежам
или, в случае отсутствия или ненадежности последних, по контрольным шурфам.
19.12. Все изменения проектного расположения скважин
должны согласовываться с проектной организацией.
Рис. 19.1. Определение отметки забоя
вертикальной скважины:
а - поперечный разрез
горизонтального тоннеля вертикальной плоскостью; б - поперечный разрез
наклонного тоннеля вертикальной плоскостью; в - продольный разрез по оси
наклонного тоннеля; г - план тоннеля и замораживающих скважин; 1
- скважины
19.13. При замораживании грунтов над сводами
горизонтально расположенных тоннелей, пересекающимися рядами наклонных скважин
(«шатер»), данные для разбивки (рис. 19.2)
определяются по следующим формулам:
![]()
где h - глубина
заложения центра тоннеля;
R - радиус
тоннеля;
m -
удаление скважины от внешней поверхности тоннеля;
l - удаление устья скважины от оси тоннеля;
g - угол,
составленный осью скважины и линией, соединяющей ее устье с центром тоннеля;
a - угол наклона оси скважины к горизонту.
Рис. 19.2. Расположение скважин при
замораживании «шатром»:
а - план тоннеля; б -
продольный разрез по оси тоннеля; в - разрез по а-а; 1
- замораживающие скважины; S - длина скважины
19.14. Положения устьев скважин, закрепленных в натуре,
передаются буровому мастеру. Передача оформляется в буровом журнале с записью
глубин (длин) бурения и присвоенных номеров скважин.
19.15. Разбивка скважин производится от основных осей
эллипса, закрепляемых на дневной поверхности. Расчет центра эллипса и разбивка
скважин производятся на отметке установленного нулевого горизонта (на средней
планировочной отметке строительной площадки).
19.16. Вычисление координат и пикетного значения центра
эллипса (пересечения оси наклонного хода с поверхностью нулевого горизонта)
производится (рис. 19.3) по формулам:
![]()
![]()
![]()
где yA, xA, HA, -
проектные координаты и отметка точки пересечения оси наклонного тоннеля с
уровнем чистого пола станции;
а -
горизонтальные проекции оси наклонного тоннеля от точки перегиба А до
центра эллипса;
a - дирекционный угол, обратный дирекционному углу оси
наклонного тоннеля;
Нэ -
отметка нулевого горизонта;
b - проектный угол наклона тоннеля.
19.17. Центр и оси эллипса разбиваются от геодезической
основы, принятой для строительства тоннеля, и закрепляются постоянными знаками
(бетонными монолитами), а направления осей - монолитными или специальными
марками в стенах фундаментальных зданий. Направления осей закрепляются с
расчетом их видимости из центра эллипса и сохранности на весь период
производства работ по бурению и монтажу колонок.
Рис. 19.3. Геометрическая схема вычисления
координат центра эллипса
19.18. Разбивка скважин осуществляется из центра эллипса
по прямоугольным или полярным координатам, вычисленным относительно большой и
малой осей эллипса хэ и уэ (рис. 19.4).
Прямоугольные
координаты скважин вычисляются по следующим формулам:
Рис. 19.4. Сечение наклонного цилиндра
нормальной и горизонтальной плоскостями
При b = 30°
xкэ = 2Rcos gко;
yкэ = Rsin gко,
где xкэ, yкэ -
координаты скважины на эллипсе;
R - радиус окружности скважин;
gко -
полярный угол на окружности расположения скважин, вычисляемый по формуле п. 19.06;
b - проектный угол наклона тоннеля.
Пример
вычислений дан в приложении 19-1.
Полярные
координаты вычисляются по формулам
![]()
![]()
где gкэ -
полярный угол на эллипсе;
rк -
радиус-вектор скважины.
19.19. Рекомендуется на строительной площадке за
пределами эллипса закрепить нормали к оси хэ с
противоположных сторон малой оси с определением их смещений хн
и вычислить расстояния от этих нормалей до проектных центров скважин, как
разности хн - хкэ скв; последние
вычисляются по формуле п. 19.18.
19.20. Направляющие кондукторы вертикальных скважин
устанавливаются по отвесу или уровню.
19.21. Перед установкой кондукторов для наклонных скважин
производится разбивка траншей для них в плане и профиле. Разбивка производится
от осей эллипса. Дно траншеи профилируется при помощи нивелира или шаблона в
соответствии с расчетными данными низа трубы кондуктора.
19.22. Перед установкой кондуктора на дне траншеи
укладывается и укрепляется основание по линии проектного положения низа
направляющих труб (кондуктора) при помощи наклонного луча трубы теодолита.
19.23. Кондукторы для наклонных скважин длиной до 30 м
и углом наклона b от 70 до 90° устанавливаются следующими способами:
1) при помощи величин h = l
× sin b и l1 = l
× cos b (см. рис. 19.5);
2) при помощи прямоугольного треугольника с углом,
равным углу наклона скважины, и уровнем на его катете (рис. 19.6);
3) путем нивелирования концов кондуктора (рис. 19.7);
4) подбором длины горизонтальной проекции кондуктора,
для чего верхний конец его передвигают в створе оси скважины до получения
величины l1 = lcos
b (рис. 19.8). Этот
способ рекомендуется при углах наклона, больших 45°, как наиболее точный.
Рис. 19.5. Установка кондуктора по
величинам l1 = l × cos
b, h = l × sin
b и двум отвесам:
1 - отвесы; 2 - кондуктор
Рис. 19.6. Установка кондуктора с помощью
треугольника:
1 - треугольник
Рис. 19.7. Схема установки кондуктора
нивелированием его концов:
h = O2 - O1 = l × sin b
Рис. 19.8. Установка кондуктора способом
подбора его горизонтальной проекции:
1 - кондуктор
19.24. Кондукторы для наклонных скважин длиной более 30 м
и углом наклона от 0 до 70° устанавливаются с помощью теодолита. В тех
случаях, когда скважина запроектирована с большим углом наклона, для установки
кондуктора применяется теодолит с внецентренной трубой.
19.25. Установка кондуктора в плане производится по двум
точкам, отмеченным на одной из образующих верхней поверхности трубы. Эти точки
устанавливаются в створе проектного направления скважины. При установке же с
помощью теодолита - в створе визирной оси, ориентированной по заданному
направлению.
19.26. Установка кондуктора в вертикальной плоскости
производится от визирной оси трубы теодолита, закрепленной по проектному углу наклона, на реечку, передвигаемую
по верхней образующей кондуктора и устанавливаемую нормально к его оси. Вместо
реечки можно применять прямоугольный треугольник, на одном из катетов которого
нанесены сантиметровые деления.
19.27. Для установки кондуктора теодолит должен быть
отцентрирован на оси скважины с точностью ± 10 мм. Расстояние от устья скважины до
инструмента и его высота должны быть выбраны с таким расчетом, чтобы было обеспечено
визирование выше верха проектного положения трубы кондуктора от 10 до 50 см.
Теодолит с внецентренной трубой центрируется на смещенную ось скважины;
смещение должно быть равно величине эксцентриситета трубы.
19.28. Для более быстрой установки теодолита
рекомендуется произвести расчет расстояния от устья скважины до точки стояния
инструмента, который ставится примерно на вычисленном расстоянии от скважины и
заданной высоте.
Расчет
расстояния производится по формуле (рис. 19.9)
l = [i
+ (Dh - psec b)]ctg b;
При b = 30°:
l = 1,73(i
+ Dh) - 2p,
где l - расстояние от точки стояния инструмента до
проектного устья скважины;
i - намечаемая, в зависимости от роста наблюдателя и
удобства наблюдения, высота инструмента;
Dh -
разность фактической отметки поверхности Нф и отметки
нулевого горизонта Нэ: Dh = Нф
- Нэ;
р -
превышение визирного луча над осью скважины (р должно быть не менее
диаметра трубы кондуктора).
19.29. После установки теодолита определяют фактическую
отметку горизонта инструмента и измеряют расстояние от инструмента до
проектного устья скважины. Погрешность определения отметки и расстояния должна
быть не более ± 10 мм. По полученным данным вычисляют отсчет
по реечке т, определяющий проектное положение кондуктора в вертикальной
плоскости.
Отсчет по
реечке рассчитывается по формулам (см. рис. 19.9):
HIпр = Hэ + lизмtg b;
P = (HIфакт - HIпр)cos b;
![]()
где HIпр -
проектная отметка горизонта установленного теодолита;
Hэ -
отметка нулевого горизонта;
HIфакт -
фактическая отметка горизонта инструмента;
lизм -
измеренное расстояние от проектного устья скважины до инструмента;
Р -
превышение визирного луча трубы теодолита над проектной осью скважины;
D - диаметр кондуктора.
Примечание. В случае отсутствия
приспособления, удерживающего буровой снаряд по центру кондуктора, необходимо
при расчетах вводить поправку на разность диаметров кондуктора и снаряда.
Рис. 19.9. Определение расстояния от устья
скважины до точки стояния инструмента
19.30. Для выравнивания основания под кондуктор при
помощи наклонного визирного луча теодолита рассчитывается отсчет k по рейке, устанавливаемой вертикально на основание
траншеи, определяемый по формуле
k = (HIф - HIпр)+0,5Dsec b,
где обозначения те же, что и в п.
19.29.
19.31. Для удобства и быстроты расчетов величин l, Р, m,
рассчитываются
таблицы (или строятся номограммы). Значения величин
у = хtg 30°; у = хctg 30°; у = хcos 30°; у = хsec 30°
даются в приложениях 19-2,
19-3,
19-4
и 19-5.
19.32. Точность установки кондукторов для наклонных
скважин определяется в зависимости от длины скважины L, длины кондуктора S и установленного допуска бурения М.
Погрешность установки не должна превышать величин, рассчитываемых по формулам:
в плане
(азимутально)

в профиле
(зенитально)

где r¢ = 3438¢.
Допускается
параллельное смещение устанавливаемого кондуктора до ± 30 мм во всех
направлениях.
19.33. По окончании бурения скважины и монтажа колонки
производится съемка устья скважин в плане и по высоте. Определение устьев
скважин производится от основных осей сооружений и высотных реперов с точностью
± 30 мм.
Примечание. За устье принимается
верхний центр замораживающей колонки.
19.34. Работы по определению отклонений осей скважин
состоят из:
определений
искривлений скважин в пределах прямой видимости источника света, опускаемого в
скважину;
измерения
искривлений, за пределами видимости источника света;
вычислений
отклонений;
составления
исполнительных чертежей.
19.35. Перед измерением искривлений из скважины удаляется
вода, колонка раскрепляется в устье кондуктора.
Измерение
искривлений с помощью лотаппарата
19.36. Измерение искривлений вертикальных скважин и
наклонных с углом наклона от 80 до 90° в пределах видимости опущенного
источника света производится при помощи лотаппарата и специальной палетки с
миллиметровой сеткой (рис. 19.10),
служащей для фиксирования наклонного и вертикального направлений визирной оси
трубы лотаппарата в момент измерения.
19.37. Палетка центрируется по центру устья замораживающей колонки и ориентируется относительно ближайших
опорных пунктов геодезической основы или надежно определенных съемочных точек
(скважины, осевые точки и др.).
19.38. Измерения искривлений скважин производятся через
интервалы 5 - 10 м при подъеме и опускании источника света. Определения
искривлений наклонных скважин производятся дважды, при ориентировании палетки
на два разных пункта.
Рис. 19.10. Определение отклонения скважин с
помощью лотаппарата и палетки:
1 - скважина; 2 -
палетка; 3 - оцифровка палетки
19.39. Палетка ориентируется глазомерно или при наклонных
скважинах по шнуру, натянутому от центра определяемой скважины по направлению
на пункт ориентировки.
19.40. Измерение отклонения скважины от вертикали
лотаппаратом производится в следующем порядке:
а)
опускают источник света в скважину на глубину его максимальной видимости;
б)
устанавливают лотаппарат над скважиной и с помощью подъемных винтов, а также
регулированием ножек штатива направляют визирный луч на видимый источник света;
в)
подводят палетку под лотаппарат, центрируют ее над центром скважины и ориентируют
на выбранную точку;
г)
производят по палетке отсчеты xн и ун;
д)
приводят визирную ось лотаппарата в вертикальное положение и производят по
палетке отсчеты хв и ув.
По
окончании этих измерений снимают палетку, поднимают источник света на следующий
определяемый горизонт скважины и затем производят все описанные выше действия; при
каждом наблюдении палетка ориентируется на одну и ту же точку.
19.41. По окончании наблюдений скважины измеряется
«высота лотаппарата» (расстояние от палетки до середины головки штатива).
Глубина измерений определяется тросиком, на котором опускается источник света.
19.42. Глубина наблюдаемых точек фиксируется с точностью ± 10 см.
Погрешность в определении высоты лотаппарата над палеткой и погрешность
центрирования палетки над центром устья скважины не должны превышать ± 10 мм.
Отсчеты по палетке производятся с точностью ± 0,5 мм.
Расхождения в разностях отсчетов по палетке (см. ниже пп. 19.43 и 19.44) при
двойных измерениях допускаются в пределах от 1 до 2 мм, в зависимости от
глубины наблюдаемых точек.
19.43. Вычисление отклонений скважины от вертикали
производится по формулам (рис. 19.11):

где Ах, Аy - отклонения скважины
относительно ориентированных осей палетки;
l - «высота лотаппарата» (расстояние от палетки до
середины головки штатива);
L - глубина наблюдаемой
точки (относительно палетки);
xн, yн - отсчеты
на палетке по наклонному лучу, направленному на определяемую точку А в
скважине;
xв, yв -
отсчеты на палетке по вертикальному лучу;
xц, yц -
отсчеты центра палетки, установленного над центром скважины.
Примечание. Указанные формулы
применяются в случаях, когда палетка отцентрирована над скважиной.
Образец
полевого журнала и пример вычислений даны в приложениях 19-6 и 19-7.
Рис. 19.11. Геометрическая схема определения
искривления скважин
19.44. Если установить палетку над устьем скважины
невозможно, отклонения вычисляют относительно вертикальной оси лотаппарата,
отцентрированной над центром колонки, по формулам:

19.45. Измерение искривлений скважин с большими углами
наклона, где нельзя применить обычный инструмент, производится теодолитом с
внецентренной трубой. Измерения разрешается производить при одном положении
круга с введением в отсчеты по горизонтальному кругу поправки, вычисляемой по
формуле
![]()
где r - эксцентриситет трубы;
L - горизонтальное
расстояние до наблюдаемой точки;
r¢ = 3438¢.
В случае,
если L менее 2 м,
поправку вычисляют, пользуясь зависимостью
![]()
В
измерения при круге право поправка прибавляется, при круге лево - вычитается.
Измерение
искривлений наклонных скважин с помощью теодолита при сооружении эскалаторных
тоннелей
19.46. Измерение искривлений наклонных скважин в пределах
видимости источника света заключается в определении отклонений пробуренных
скважин от их проектного положения в плане и профиле.
19.47. Для определения отклонений пробуренных скважин от
их проектного положения необходимо:
а)
установить теодолит в створе оси пробуренной скважины. Инструмент устанавливается
с расчетом максимальной видимости источника света, опущенного в скважину;
б) после
установки теодолита определить его координаты xк1, yк1 и
отметку (Г. И.);
в)
измерить расстояния от теодолита до определяемых точек скважины и расстояние от
горизонтальной оси инструмента до устья скважины;
г)
измерить горизонтальные углы, образуемые проектным направлением с направлениями
на определяемые точки скважины;
д)
измерить углы наклона на наблюдаемые точки в определенных местах скважины.
19.48. Координаты хк1, ук1
определяются полярным способом из центра эллипса или непосредственно промерами
от закрепленных осей эллипса хэ и уэ
с помощью рулетки, натянутой от центра теодолита по нормали к визирной оси
второго теодолита, установленного над центром эллипса и ориентированного: по
оси х - для определения ук1 и по оси у -
для определения xк1 (рис. 19.12).
Величину ук1 откладывают по малой оси эллипса (у)
и закрепляют колышком, с забитым в него гвоздем - для снятия направления
при измерении горизонтальных углов на определяемые скважины.
Примечание. Для ориентировки
теодолита при измерении горизонтальных углов боковых скважин на эллипсе
величина ук1 откладывается по линии, параллельной оси у и
смещенной от точки стояния инструмента на расстояние не менее 10 м.
Рис. 19.12. Определение координат точки
установки инструмента непосредственно промерами от осей эллипса с помощью
второго теодолита, установленного над центром эллипса:
1 - установленный (первый)
теодолит; 2 - точка, вынесенная для ориентировки теодолита; 3 -
точка для ориентировки теодолита; 4 - второй теодолит
19.49. При наличии закрепленных нормалей - смещенных
малых осей I-I и II-II координаты хк1 и ук1
точки установки инструмента для измерения скважины с номером «к» определяются
формулами
хк1 = хн
± D;
ук1 = ук
скв ± Da,
где хн -
абсцисса х нормали (расстояние ее от малой оси эллипса);
D - расстояние от нормали до точки установки
инструмента;
Da -
смещение теодолита от проектной оси скважины (рис. 19.13).
Рис. 19.13. Определение координат точки
установки инструмента от нормалей - смещенных малых осей эллипса:
1 - закрепление нормали с
вынесенными осями скважин; 2 - установленный теодолит для съемки скважин
19.50. Измерение горизонтальных углов и углов наклона на
источник света, опускаемый в скважину, производится через интервалы 5 - 10 м
при подъеме и спуске. При спуске измерение производится при втором
положении круга.
19.51. Вычисление отклонений скважин от их проектной оси
производится по формулам (рис. 19.14):
Da = ук1
- ук скв;
Db = Г. И. - H1пр;
HIпр = Hэ + (xк скв - хк1)tg
b;
an = lncos bn × sin Dan + Da;
bn = lnsin Dbn + Db;
Dbn = b - bn;
Dan = an -
a0,
где an и bn - отклонения скважины в точке п
в плане и профиле;
ln - расстояние от наблюдаемой
точки п до горизонтальной оси вращения теодолита;
Г. И. -
фактическая отметка горизонтальной оси теодолита;
H1пр -
проектная отметка горизонтальной оси теодолита;
Нэ -
отметка нулевого горизонта;
bn - угол
наклона, измеренный на точку п скважины;
b - проектный угол наклона скважины;
хк1, ук1
- координаты точки установки инструмента для скважины с номером «к»;
xк скв, ук
скв - проектные координаты устья скважины с номером «к»;
ап -
измеренное направление на определяемую точку п;
а0 -
проектное направление оси скважины.
Пример
вычислений дан в приложении 19-8.
Рис. 19.14. Геометрическая схема элементов
отклонений наклонной скважины:
а - план; б - профиль
19.52. Расстояние от нулевого сечения (нормального
сечения к оси тоннеля, проходящего через центр эллипса) до фактического центра
устья колонки вычисляется по формулам (рис. 19.15):
а) для
скважин, расположенных в верхней части эллипса (своде)
F = xк сквcos b - (lпр + Dhsin
b) - lф;
б) для
скважин, расположенных в нижней части эллипса
F = xк сквcos b + (lпр + Dhsin
b) - lф;
lпр рассчитывается по формуле
lпр =
(HIпр -
Hэ)cosec b = h × cosec b,
где F - расстояние от нулевого сечения до фактического
центра устья колонки;
lф -
измеренное расстояние от центра устья колонки до горизонтальной оси
инструмента;
lпр -
расстояние от проектного центра устья колонки до центра инструмента по
проектной оси скважины;
xкэ -
проектная абсцисса скважины, берется абсолютное значение;
Dh - разность горизонта инструмента и HIпр;
HIпр и Нэ
- те же, что и в п. 19.51.
Рис. 19.15. Определение расстояния от
нулевого сечения до центра устья скважины
19.53. При измерении отклонений скважин (вертикальных и
наклонных) инструментальные наблюдения ведутся на максимальную видимость
опускаемого в скважину источника света. После ухода света за пределы видимости
производятся наблюдения за отсветом с фиксацией его глубины и зарисовок ухода
скважины (вправо, влево, вниз, вверх).
19.54. За пределами видимости источника света разрешается
в скважинах глубиной до 75 м определять положение скважины экстраполяцией
на ¼ измеренной длины. В скважинах глубиной более 75 м экстраполяция
разрешается на длину не более 15 м.
19.55. Экстраполяция производится графически по
инклинограмме (горизонтальная проекция) и профилю скважины, составленному по
направлению ее искривления, с учетом характера искривления и наблюдений за
отсветом, фиксированных при измерении скважины.
19.56. Измерение искривлений скважин за пределами
видимости осуществляется специальными инклинометрами. Выбор прибора
производится в зависимости от конструкции скважины и требуемой точности
измерения. Ошибка измерения, обеспечиваемая применяемыми приборами, не должна
выходить из пределов установленных допусков отклонений скважин при бурении.
19.57. Измерение искривлений наклонных скважин под углом
наклона в 30° за пределами видимости производится тросиковым инклинометром.
19.58. В зависимости от применяемого прибора и методики
измерений должна производиться оценка точности полученных искривлений. Подсчет
ошибок измерений производится по каждому сечению и результаты его указываются
на исполнительных чертежах (сечениях).
19.59. Фактическая глубина (длина) пробуренных скважин
контролируется измерением звеньев опускаемых питательных трубок и замером
остатка от верха колонки. На момент опускания питательных трубок верх колонки
нивелируется. По результатам контрольных измерений подсчитывается отметка
конуса замораживающей колонки. Ошибка определения отметки конуса не должна
превышать ± 10 см.
19.60. В определенную по данным контрольных измерений
питательных трубок отметку конуса необходимо вводить поправку за укорочение
скважины, вычисляемую по формуле
![]()
где Dh - поправка за укорочение скважины (вводится в
отметку со знаком плюс);
L - фактическая длина
скважины;
Sа -
горизонтальная проекция скважины.
При
непрямолинейности скважины в вертикальной и горизонтальной плоскостях поправка
за укорочение подсчитывается поинтервально и общее укорочение SDh1-n определяется по формуле
![]()
где а1, а2
... аn -
горизонтальные проекции интервалов, определяемые графически по инклинограмме;
l1, l2 ... ln -
фактические длины интервалов.
19.61. При замораживании грунтов вертикальными скважинами
для проходки стволов шахт и других вертикальных выработок должны быть
составлены следующие исполнительные чертежи:
а) план в
масштабе 1:100 на нулевом горизонте с показанием фактического расположения
скважин, рассольной сети, замораживающей станции и других коммуникаций,
связанных с исполнением работ по замораживанию;
б) план
горизонтальных проекций скважин (сборное сечение) масштаб 1:50.
в)
развертка скважин по проектному контуру с показанием геологического разреза,
положения скважин с указанием фактических и проектных отметок забоя (конуса),
фактического уровня подземных вод, положения фильтров (по высоте) наблюдательных
гидрогеологических скважин;
г)
нормальные (к оси вертикальной выработки) сечения с показанием фактического
положения скважин.
19.62. При замораживании грунтов наклонными скважинами
для проходки наклонных тоннелей должны быть составлены следующие исполнительные
чертежи:
а)
проекция фактического расположения скважин на нормальную к оси наклонного хода
плоскость в масштабе 1:50 с указанием габаритов выработки и проектного
расположения скважин (сборное сечение);
б)
нормальные к оси наклонного тоннеля сечения через каждые 5 - 10 м в
масштабе 1:50 с литологической и гидрогеологической характеристикой грунтов с
показанием фактического положении скважин и габаритов выработки;
в)
проекция скважин на вертикальную осевую плоскость наклонного тоннеля по правой
и левой стороне в масштабе 1:100 с нанесением контура выработки,
гидрогеологического разреза, уровня подземных вод и положения фильтров
наблюдательных гидрогеологических скважин;
г) план в
масштабе 1:100 на нулевом горизонте с расположением скважин, рассольной сети,
замораживающей станции и других коммуникаций, связанных с замораживанием.
19.63. Для других выработок исполнительные чертежи должны
быть составлены в соответствии с пп. 19.61 и 19.62.
19.64. Нормальные сечения должны быть составлены по всем
характерным участкам геологического разреза выработки (на контактах слабых
пород с крепкими, на горизонтах с малой теплопроводностью пород,
сильноводоносных пластов и на других ответственных участках).
19.65. На исполнительных сечениях по расчетному радиусу
замораживания пород наносится положение ледогрунтового ограждения, и на
основании анализа фактического расположения скважин определяется степень
соответствия проекту ледогрунтовой защиты (рис. 19.16).
Рис. 19.16. Сечение наклонных замораживающих
скважин и эскалаторного тоннеля плоскостью, перпендикулярной к его оси:
1 - скважины; 2 - контур замороженной зоны; 3
- эскалаторный тоннель. Сечение на отметке 97,61, глубина 32,36 м
19.66. Условный радиус замораживания rз по
каждому сечению определяется специальными расчетами в зависимости от
фактического расстояния между скважинами, заданной толщины ледогрунтовой перемычки,
теплосодержания породы и времени замораживания.
19.67. При
графическом построении замкнутых ледогрунтовых стен по заданному радиусу
замораживания необходимо учитывать неравномерность распространения замороженной
зоны относительно линии расположения скважин и центр окружности ледогрунтового
цилиндра скважины смещать в направлении центра выработки на величину, равную
0,1Д, где Д - расчетный диаметр замораживания, равный 2rз.
|
Центральн. углы на окружности |
|
|
|
R |
Координаты на эллипсе |
|
Центральн. углы на эллипсе |
|
|
d |
||
|
|
|
|||||||||||
|
1 |
0°00¢ |
0,000000 |
1,000000 |
¥ |
5,50 |
11,000 |
0,000 |
¥ |
0°00¢00² |
1,000000 |
¥ |
11,000 |
|
2 |
17°00¢ |
0,207912 |
0,978148 |
4,70463 |
5,50 |
10,760 |
1,143 |
9,40926 |
6°04¢00² |
1,005632 |
9,462030 |
10,817 |
|
3 |
24°00¢ |
0,406737 |
0,913545 |
2,24604 |
5,50 |
10,048 |
2,237 |
4,49208 |
12°33¢00² |
1,024478 |
4,602110 |
10,294 |
|
4 |
36°00¢ |
0,587785 |
0,809017 |
1,37638 |
5,50 |
8,900 |
3,232 |
2,75276 |
19°57¢50² |
1,063934 |
2,928880 |
9,467 |
|
5 |
48°00¢ |
0,743145 |
0,669131 |
0,90040 |
5,50 |
7,360 |
4,087 |
1,80080 |
29°02¢40² |
1,143846 |
2,059780 |
8,418 |
|
6 |
60°00¢ |
0,866025 |
0,500000 |
0,57735 |
5,50 |
5,500 |
4,763 |
1,15470 |
40°53¢40² |
1,322897 |
1,527493 |
7,275 |
|
7 |
72°00¢ |
0,951057 |
0,309017 |
0,32492 |
5,50 |
3,400 |
5,230 |
0,64984 |
56°59¢00² |
1,835256 |
1,192589 |
6,238 |
|
8 |
84°00¢ |
0,994522 |
0,104528 |
0,10510 |
5,50 |
1,148 |
5,470 |
0,21020 |
78°07¢50² |
4,862990 |
1,021848 |
5,584 |
|
0 |
0,1 |
0,2 |
0,3 |
0,4 |
0,5 |
0,6 |
0,7 |
0,8 |
0,9 |
|
|
1,00 |
0,577 |
0,635 |
0,693 |
0,751 |
0,808 |
0,866 |
0,924 |
0,982 |
1,039 |
1,097 |
|
2,00 |
1,155 |
1,212 |
1,270 |
1,328 |
1,386 |
1,443 |
1,501 |
1,559 |
1,617 |
1,674 |
|
3,00 |
1,732 |
1,790 |
1,848 |
1,905 |
1,963 |
2,021 |
2,078 |
2,136 |
2,194 |
2,252 |
|
4,00 |
2,309 |
2,367 |
2,425 |
2,483 |
2,540 |
2,598 |
2,656 |
2,714 |
2,771 |
2,829 |
|
5,00 |
2,887 |
2,944 |
3,002 |
3,060 |
3,118 |
3,175 |
3,233 |
3,291 |
3,349 |
3,406 |
|
6,00 |
2,454 |
3,522 |
3,580 |
3,637 |
3,695 |
3,753 |
3,810 |
3,868 |
3,926 |
3,984 |
|
7,00 |
4,041 |
4,099 |
4,157 |
4,215 |
4,272 |
4,330 |
4,398 |
4,446 |
4,503 |
4,561 |
|
8,00 |
4,619 |
4,677 |
4,724 |
4,792 |
4,850 |
4,907 |
4,965 |
5,023 |
5,081 |
5,138 |
|
9,00 |
5,196 |
5,254 |
5,312 |
5,370 |
5,428 |
5,485 |
5,543 |
5,600 |
5,658 |
5,716 |
|
0 |
0,1 |
0,2 |
0,3 |
0,4 |
0,5 |
0,6 |
0,7 |
0,8 |
0,9 |
|
|
1,00 |
1,732 |
1,905 |
2,078 |
2,252 |
2,425 |
2,598 |
2,771 |
2,944 |
3,118 |
3,290 |
|
2,00 |
3,464 |
3,637 |
3,810 |
3,984 |
4,157 |
4,330 |
4,503 |
4,676 |
4,849 |
5,022 |
|
3,00 |
5,196 |
5,369 |
5,542 |
5,716 |
5,889 |
6,062 |
4,235 |
6,408 |
6,582 |
6,755 |
|
4,00 |
6,928 |
7,101 |
7,274 |
7,448 |
7,620 |
7,794 |
7,967 |
8,140 |
8,314 |
8,487 |
|
5,00 |
8,660 |
8,833 |
9,006 |
9,180 |
9,353 |
9,526 |
9,699 |
9,872 |
10,045 |
10,219 |
|
6,00 |
10,392 |
10,565 |
10,738 |
10,912 |
11,085 |
11,258 |
11,431 |
11,604 |
11,778 |
11,951 |
|
7,00 |
12,124 |
12,297 |
12,470 |
12,644 |
12,817 |
12,990 |
13,163 |
13,336 |
13,510 |
13,683 |
|
8,00 |
13,856 |
14,029 |
14,202 |
14,376 |
14,549 |
14,722 |
14,895 |
15,068 |
15,242 |
15,415 |
|
9,00 |
15,588 |
15,761 |
15,934 |
16,108 |
16,281 |
16,454 |
16,627 |
16,800 |
16,974 |
17,147 |
|
0 |
0,1 |
0,2 |
0,3 |
0,4 |
0,5 |
0,6 |
0,7 |
0,8 |
0,9 |
|
|
1,00 |
0,866 |
0,953 |
1,039 |
1,126 |
1,212 |
1,299 |
1,385 |
1,472 |
1,559 |
1,645 |
|
2,00 |
1,732 |
1,819 |
1,905 |
1,992 |
2,078 |
2,165 |
2,252 |
2,338 |
2,425 |
2,511 |
|
3,00 |
2,598 |
2,685 |
2,771 |
2,858 |
2,944 |
3,031 |
3,118 |
3,204 |
3,291 |
3,377 |
|
4,00 |
3,464 |
3,551 |
3,637 |
3,724 |
3,810 |
3,897 |
3,984 |
4,070 |
4,157 |
4,243 |
|
5,00 |
4,330 |
4,417 |
4,503 |
4,590 |
4,676 |
4,763 |
4,850 |
4,936 |
5,023 |
5,109 |
|
6,00 |
5,196 |
5,283 |
5,369 |
5,456 |
5,542 |
5,629 |
5,716 |
5,802 |
5,889 |
5,975 |
|
7,00 |
6,062 |
6,149 |
6,235 |
6,322 |
6,408 |
6,495 |
6,582 |
6,668 |
6,755 |
6,841 |
|
8,00 |
6,928 |
7,015 |
7,101 |
7,188 |
7,274 |
7,361 |
7,448 |
7,534 |
7,621 |
7,707 |
|
9,00 |
7,794 |
7,881 |
7,967 |
8,054 |
8,140 |
8,227 |
8,314 |
8,400 |
8,487 |
8,573 |
|
0 |
0,1 |
0,2 |
0,3 |
0,4 |
0,5 |
0,6 |
0,7 |
0,8 |
0,9 |
|
|
1,00 |
1,155 |
1,270 |
1,386 |
1,501 |
1,617 |
1,732 |
1,848 |
1,963 |
2,078 |
2,194 |
|
2,00 |
2,039 |
2,425 |
2,540 |
2,656 |
2,771 |
2,887 |
3,002 |
3,118 |
3,233 |
3,349 |
|
3,00 |
3,464 |
3,580 |
3,695 |
3,811 |
3,926 |
4,042 |
4,157 |
4,273 |
4,388 |
4,504 |
|
4,00 |
4,619 |
4,734 |
4,850 |
4,965 |
5,081 |
5,197 |
5,313 |
5,428 |
5,544 |
5,659 |
|
5,00 |
5,744 |
5,889 |
6,004 |
6,120 |
6,236 |
6,351 |
6,466 |
6,582 |
6,698 |
6,813 |
|
6,00 |
6,928 |
7,044 |
7,159 |
7,275 |
7,390 |
7,506 |
7,621 |
7,737 |
7,852 |
7,968 |
|
7,00 |
8,083 |
8,198 |
8,314 |
8,429 |
8,545 |
8,660 |
8,776 |
8,891 |
9,007 |
9,122 |
|
8,00 |
9,238 |
9,353 |
9,469 |
9,584 |
9,700 |
9,815 |
9,931 |
10,046 |
10,162 |
10,278 |
|
9,00 |
10,392 |
10,508 |
10,623 |
10,739 |
10,854 |
10,970 |
11,085 |
11,201 |
11,316 |
11,43 |
|
Ориентировка |
Глубина наблюдения |
Отсчеты по палетке |
xн - xв |
yн - yв |
Высота инструмента |
Замечания о величине и направлении искривления |
Абрис |
||||
|
наклонные |
вертикальные |
||||||||||
|
xн |
yн |
xв |
yв |
||||||||
|
351 |
пз Х |
28,0 |
120,5 |
81,0 |
117,5 |
93,0 |
+3,0 |
-12,0 |
1,28 |
|
|
|
25,0 |
110,5 |
83,5 |
108,0 |
94,5 |
+2,5 |
-11,0 |
|
|
|
||
|
20,0 |
116,5 |
79,0 |
113,5 |
89,5 |
+3,0 |
-10,5 |
|
|
|
||
|
15,0 |
112,0 |
89,0 |
108,0 |
98,5 |
+4,0 |
-9,5 |
|
|
|
||
|
10,0 |
115,5 |
84,5 |
112,0 |
93,5 |
+3,5 |
-9,0 |
|
|
|
||
|
5,0 |
111,5 |
89,5 |
110,0 |
97,0 |
+1,5 |
-7,5 |
|
|
|
||
|
Ориентировка |
Глубина наблюдения и высота инстр. (L и l) |
|
xн - xв |
xн - xц |
yн - yв |
yн - yц |
Отклонения (в см) |
Примечание |
||
|
Aх |
By |
|||||||||
|
|
|
l = 1,28 |
|
|
|
|
|
|
|
|
|
351 |
пз X |
5,0 |
3,9 |
+1,5 |
+1,15 |
-7,5 |
-10,5 |
+1,7 |
-4,0 |
|
|
|
|
10,0 |
7,8 |
+3,5 |
+15,5 |
-9,0 |
-10,0 |
+4,3 |
-8,6 |
|
|
|
|
15,0 |
11,7 |
+4,0 |
+12,0 |
-9,5 |
-11,0 |
+5,9 |
-12,2 |
|
|
|
|
20,0 |
15,6 |
+3,0 |
+16,5 |
-10,5 |
-21,0 |
+6,3 |
-18,5 |
|
|
|
|
25,0 |
19,5 |
+2,5 |
+10,5 |
-11,0 |
-16,5 |
+5,9 |
-23,1 |
|
|
|
|
28,0 |
21,9 |
+3,0 |
+20,5 |
-12,0 |
-19,0 |
+8,6 |
-28,2 |
|
Схема
привязки точки стояния инструмента
|
|
|
xскв |
10,35 |
|
|
|
x1 |
0,15 |
|
|
|
Dx |
1,20 |
|
|
|
h = Dxtg 30° |
0,69 |
|
y1 |
1,85 |
Hэл |
140,00 |
|
|
|
Нпр |
140,69 |
|
yскв |
1,93 |
Н1(факт) |
140,75 |
|
|
|
Dh |
+0,06 |
|
Da |
-0,08 |
Db = Dhсоs 30° |
+0,05 |
Накл. ход ст. «Таганская»
СКВАЖИНА № 2
Длина
колонки 25 м
Расстояние от устья колонки до 0-го сечения 10,40 м
ГОРИЗОНТАЛЬНОЕ
ОТКЛОНЕНИЕ
|
ln |
lncos bn |
an |
Dan |
lncos bn ´ sin Dan |
Da |
an |
|
2,85 |
2,47 |
181°30¢30² |
+1°30¢30" |
+0,065 |
-0,08 |
-0,01 |
|
7,85 |
6,80 |
180°55¢30" |
+0°55¢30" |
+0,110 |
|
-0,03 |
|
12,85 |
11,13 |
181°03¢00" |
+1°03¢00² |
+0,204 |
|
-0,12 |
ВЕРТИКАЛЬНОЕ
ОТКЛОНЕНИЕ
|
ln |
bn |
Dbn |
lnsin Dbn |
Db |
bn |
|
|
2,85 |
31°23¢00² |
-1°23¢ |
-0,069 |
+0,05 |
-0,05 |
|
|
7,85 |
30°51¢00² |
-0°51¢ |
-0,121 |
|
-0,07 |
|
|
12,85 |
31°23¢00² |
-1°23¢ |
-0,310 |
|
-0,29 |
|
«___»_______197 г. Вычисления произвел
20.01. До начала сооружения наклонного хода и наземного
вестибюля на поверхности создается плановая и высотная геодезическая основа,
обеспечивающая сбойку наклонного хода со средним станционным тоннелем или
другими подземными сооружениями.
20.02. От знаков геодезической основы разбиваются и
закрепляются вне зоны замораживания ось наклонного хода и нормаль к ней.
Закрепление их производят в местах, удобных для использования при сооружении
наклонного хода и вестибюля.
20.03. Закладку знаков, фиксирующих ось наклонного хода,
производят в соответствии с требованиями раздела Б главы 2.
20.04. В процессе проходки ось наклонного хода задается
визирным лучом теодолита, установленного на специальном маркшейдерском столике
(рис. 20.1).
Рис. 20.1.
Маркшейдерский столик, задание оси наклонного хода, установка и определение
вертикального опережения колец
20.05. Маркшейдерский столик может быть кирпичным,
бетонным или собранным из металлоконструкций.
Конструкция
маркшейдерского столика должна быть утверждена главным инженером строительной
организации.
20.06. Маркшейдерский столик должен удовлетворять
следующим требованиям:
1) конструкция его должна быть жесткой, изолированной
от площадки наблюдателя и окружающих механизмов;
2) визирная ось трубы теодолита, установленного на
столике, должна совпадать с проектной осью наклонного хода.
Примечание. Если кольца наклонного
хода имеют прямую вставку на горизонтальном диаметре, визирная ось трубы должна
фиксировать линию верхних центров колец;
3) со столика должна быть установлена видимость на
две-три достаточно удаленные точки, одна из которых фиксирует направление оси
наклонного хода, а остальные являются контрольными. Должна быть также
обеспечена постоянная видимость по проектной оси наклонного хода;
4) центр столика (проекция точки пересечения визирной
и горизонтальной осей трубы) и места постановки подъемных винтов теодолита
должны быть накернены на плите столика.
Столик
оборудуется телефонной и световой сигнализацией для передачи указаний в забой.
20.07. До начала укладки первого кольца производится
контрольное определение центра столика от знаков полигонометрии и высотных
реперов, с последующим вычислением фактических значений его координат и
отметок. Расхождения полученных результатов с проектными не должны превышать ± 3 мм.
20.08. Проектные координаты центра столика рассчитываются
по формулам:
Yпр.ст = YA - D × sin a;
Xпр.ст = XA - D × cos a,
где YA, XA -
проектные координаты точки А (точки перегиба);
D - расстояние от точки перегиба наклонного хода до
центра столика;
a - дирекционный угол наклонного хода.
Проектная
отметка столика определяется по формуле (см. рис. 20.1)
Hст =
HA + Dtg b - i,
где HA -
проектная отметка точки A;
b - угол
наклона оси наклонного хода, равный 30°;
i - высота инструмента.
20.09. Положение столика периодически контролируется от
знаков полигонометрии и реперов, находящихся вне зоны деформации. В случае его
деформации производят новое кернение мест постановки подъемных винтов
теодолита.
20.10. Сооружение наклонного хода начинается с устройства
оголовника, в котором монтируются первые кольца.
20.11. При закладке первого кольца наклонного хода
необходимо учитывать набегание колец (удлинение наклонного хода) из расчета 1 мм
на кольцо, если оно не учтено проектной организацией.
20.12. Укладка сегментов первого кольца и проверка его
установки производятся измерением восьми радиусов - от проектного центра кольца
и образующих - от точки, закрепленной на оси наклонного хода. Измерения
производят до центров болтовых отверстий передней плоскости кольца.
20.13. Допустимые отклонения уложенных первых колец
наклонного хода должны удовлетворять требованиям табл. 20-1.
Таблица 20-1
|
Величина отклонений, мм |
|
|
Отклонения диаметров
кольца от проектного размера (эллиптичность) |
± 10 |
|
Отклонения фактических
радиусов от проектного значения |
± 5 |
|
Отклонения фактических
длин образующих конуса от их рассчитанных значений |
± 5 |
|
Смещение фактических
центров колец от продольной проектной оси |
± 5 |
|
Горизонтальное и
вертикальное (относительно проектного положения) опережения передней
плоскости кольца |
± 10 |
|
Смещение фактического
пикетажа от проектного с учетом угона |
-10 |
|
Отклонение по пикетажу
первого кольца |
допускается только в сторону столика |
20.14. Окончательно установленные первые кольца
наклонного хода должны быть надежно закреплены с использованием имеющихся
конструкций (оголовника и т.д.).
20.15. Допустимые отклонения тюбинговой обделки тоннелей
наклонных ходов приведены в табл. 20-2.
Таблица 20-2
|
Величины допускаемых отклонений, мм |
||
|
при укладке |
за эректором |
|
|
Отклонения диаметров
кольца от проектного размера (эллиптичность) |
± 25 |
± 50 |
|
Смещение центров колец в
плане и профиле от продольной проектной оси |
± 25 |
± 50 |
|
Горизонтальное и
вертикальное (относительно проектного положения) опережения передней
плоскости кольца |
± 15 |
- |
20.16. Вынос теодолитом в забой продольной проектной оси
наклонного хода производится с погрешностью ± 20².
Эллиптичность
и смещение от оси в плане и профиле определяются на каждом кольце.
Горизонтальное и вертикальное опережения определяются через 8 - 10 колец и
(дополнительно) при отклонениях центров колец, близких к предельно
допустимым.
20.17. После сбойки наклонного хода со средним
станционным тоннелем или другими подземными сооружениями производится увязка их
осей и высотных отметок и закрепляются линии перегибов - линии пересечения
уровней чистого пола станции и вестибюля с осью наклонного хода (рис. 20.2).
Между
линиями перегибов производится непосредственное измерение расстояний по
наклону.
Рис. 20.2. Схема закрепления струн (в
продольном разрезе):
1 - уровень чистого пола; 2
- плоскость качения холостых роликов ступени по направляющим наклонных ферм; 3
- линия пересечении уровня чистого пола-с осью наклонного хода.
Размеры указаны в миллиметрах
20.18. По окончании монтажа колец наклонного хода и
сбойки со средним станционным тоннелем производится тщательная съемка последних
колец наклонного хода и натяжной камеры. На основании полученных результатов
съемки составляется укладочная схема тюбингов веерной части для создания
плавного сопряжения наклонного тоннеля с натяжной камерой.
20.19. Для монтажа колец веерной части разбивается в
натуре увязанная ось наклонного и станционного тоннелей.
20.20. Сборка колец веерной части наклонного хода
производится согласно проектной схеме и маркировке тюбингов.
20.21. Первые тюбинги раструбного кольца должны быть
уложены строго по проекту. Кручение колец не допускается.
20.22. Отклонения тюбинговой обделки натяжной камеры
должны удовлетворять требованиям табл. 20-2.
20.23. При бетонировании фундаментов под эскалаторы
установка поперечных уголков производится с занижением на 10 мм относительно
проектного горизонта.
20.24. При сооружении фундаментов под эскалаторы из
сборного железобетона установка элементов производится с точностью: в плане ± 20 мм,
и профиле - от нуля до минус 20 мм. Рабочий горизонт выносится на обеих
сторонах тоннеля оптическим теодолитом с точностью ± 20² (рис. 20.3).
Рис. 20.3. Фундаменты под эскалаторы из
сборного железобетона:
1 - осевые эскалаторные знаки
20.25. Основными исходными данными при установке
продольных шнеллеров и монтаже эскалаторов являются продольные и поперечные
оси, разбиваемые в натуре маркшейдерами, согласно проектным чертежам.
Закрепление указанных осей струнами производится монтажниками.
20.26. Перед началом работ по монтажу эскалаторов
производят контрольные промеры расстояния между верхней и нижней линиями
перегибов по обеим сторонам наклонного хода (см. рис. 20.2).
Рекомендуется также произвести высотную связку верхней и нижней линий
перегибов.
20.27. Установка продольных швеллеров под фермы
эскалаторов производится монтажниками при участии маркшейдеров с занижением на
10 мм относительно проекта и с точностью ± 5 мм в
плане и профиле.
Реборды
верхних направляющих всех ферм эскалаторов устанавливаются в плане симметрично
относительно их осей, т.е. от струн № 1, 2 и 3 (рис. 20.4) с точностью ± 1 мм.
Рис. 20.4. Схема закрепления струн (в
плане):
1 - линия пересечения уровня
чистого пола верхнего вестибюля с осью наклонного хода; 2 - линия пересечения
уровня чистого пола нижнего вестибюля с осью наклонного хода. Размеры указаны в
миллиметрах
20.28. Плоскости литых направляющих натяжных и приходных
станций должны быть расположены горизонтально ниже уровня чистого пола на 310 мм.
Установка этих станций производится от струн № 4 и 9, закрепленных
перпендикулярно к продольным осям эскалаторов.
20.29. Перпендикулярность струн № 4 и 9 к продольным осям
эскалаторов обеспечивается с точностью ± 30², а струн № 5, 6, 7 и 8 - с точностью ± 10².
20.30. Окончательная проверка направляющих ферм наклонной
части эскалатора (под углом 30°) производится теодолитом, который
устанавливается на швеллерах, приваренных к натяжным станциям с таким расчетом,
чтобы отсчеты по рейке были минимальными. Отклонения в отсчетах по рейке не
должны превышать ± 2 мм.
20.31. При пользовании тридцатисекундным теодолитом,
установленным на швеллере, визируют на струну (марку), закрепленную в верхнем
вестибюле, так как вертикальный круг не обеспечивает требуемой точности.
20.32. Поперечный перекос направляющих наклонных ферм не
должен превышать ± 2 мм.
20.33. Монтажные продольные оси эскалаторов закрепляются
в натуре специальными знаками в бетоне лотка, в элементах железобетонных
конструкций и нарезками, вынесенными на фермы (рис. 20.5).
Рис. 20.5. Закрепление постоянных
маркшейдерских знаков в наклонном ходе:
а - схема закрепления; б
- конструкция знака; в - план фермы; 1 - маркшейдерский знак в
бетоне; 5 - пол натяжной камеры; 3 - пол машинного помещения; 2
- маркшейдерский репер; 4 - осевая нарезка на фермах
20.34. Перед бетонированием фундаментов под приводные и
натяжные станции производятся маркшейдерские разбивки для анкерных отверстий в
плане и по высоте с точностью ± 10 мм.
20.35. По мере сооружения наклонного хода и монтажа
эскалаторов набирается и систематизируется необходимый материал для составления
исполнительных чертежей.
21.01. Укладка железнодорожного пути в метрополитенах и
железнодорожных тоннелях производится согласно утвержденному укладочному плану
и профилю пути и геометрической схеме трассы, а при отсутствии таковых - по
рабочему профилю железнодорожного пути.
21.02. На укладочном плане и профиле пути показываются:
а)
величина и протяженность уклонов;
б)
отметки реперов, соответствующие головке рельсов на прямом участке пути;
в)
отметки реперов, соответствующие головке наружного рельса на криволинейном
участке пути.
Примечание. На наземных участках
пути отметки путейских реперов даются на уровне внутреннего рельса кривой.
г)
условный профиль рельсовых ниток;
д) длины
прямых, круговых и переходных кривых;
е) длины
ходовых рельсов, контррельсов и типы стыков;
ж) пикетаж
реперов, рельсовых стыков и различного оборудования;
з)
геометрические элементы оси пути в плане и профиле.
21.03. Разбивка и укладка железнодорожного пути в
тоннелях производится от путейских реперов после окончательного уравновешивания
подземной полигонометрии и высотной основы.
21.04. Маркшейдерские работы при укладке пути в тоннелях
заключаются:
а) в
разбивке и закреплении горизонта с обеих сторон тоннеля, фиксирующего верх
бетона жесткого основания;
б) в
приемке опалубки для устройства дренажных лотков тоннеля;
в) в
разбивке и закреплении в тоннеле основных точек пути, характеризующих его план
и профиль;
г) в
разбивке и закреплении на стенах тоннеля мест постановки путейских реперов по
пикетажу и высоте;
д) в
установке путейских реперов по высоте;
е) в
инструментальном определении и последующих вычислениях расстояний от отверстий
в болтах путейских реперов до внутренней грани ближайшего к реперу рельса;
ж) в
рихтовке в плане и профиле рельсов перед бетонированием шпал при помощи
теодолита и нивелира и в наблюдении за путями в процессе бетонирования;
з) в
детальной съемке пути и оборудования в тоннеле;
и) в
окончательном нивелировании головки рельсов после завершения «отделки» пути и
обкатки его с одновременным определением отметок дна дренажного лотка.
21.05. Разбивку мест постановки путейских реперов
производят от полигонометрических знаков путем последовательного откладывания
расстояний на стене тоннеля между ПЗ и ближайшим репером № 1, затем между
репером № 1 и последующим репером № 2 и т.д. Указанные расстояния определяются
как разности соответствующих пикетажей.
21.06. Так как пикетаж путейских реперов в проектных
чертежах дается по разбивочной оси кривой, а разбивка мест установки их
производится на внешней относительно центра стороне тоннеля, на криволинейном
участке в подсчитанные как разность пикетажа расстояния S вводятся поправки, определяемые формулой
![]()
где S - расстояние по разбивочной оси (разность
пикетажа);
R - радиус кривой;
D - среднее расстояние путейских реперов от оси пути.
21.07. Невязку, полученную между двумя смежными
полигонометрическими знаками, распределяют равномерно на все интервалы между
реперами.
Целесообразно
вести разбивку от каждого полигонометрического знака до середины линии, что
практически избавляет от необходимости распределения невязок.
21.08. Отклонения путейских реперов от проектного
пикетажа не должны превышать ± 3 см.
21.09. В случае, если путейский репер попадает на ребра
жесткости тюбингов, проемы и другие препятствия, разрешается смещение его по
пикетажу. Проектная отметка его определяется по фактическому пикетажу. Смещение
в сторону пути не разрешается, за исключением реперов, фиксирующих элементы
кривой (начала и концы переходных и круговых кривых).
21.10. После бетонирования путейские реперы устанавливают
на проектные отметки, вычисленные в соответствии с их фактическим пикетажем.
Нивелир
устанавливают между двумя смежными полигонометрическими знаками и определяют
отметку его горизонта.
Для
каждого репера подсчитывают величину отсчета по рейке по формуле
Сi = НГ. И. - Hi,
где НГ. И. -
отметка горизонта инструмента;
Нi - проектная отметка репера с
номером i (головки
ближайшего рельса).
Затем,
устанавливая поочередно рейку на каждом репере, поднятием или опусканием болта
добиваются такого положения, когда отсчеты по рейке будут соответствовать
величинам Сi. При этом
положении производят временную насечку резьбы болта зубилом.
21.11. При производстве нивелирования, связанного с
путейскими работами, инструмент должен тщательно выверяться, а рейки -
компарироваться.
21.12. По окончании установки путейских реперов по высоте
производится двукратное контрольное нивелирование их. Отклонения фактических
отметок от проектных не должны превышать ± 2 мм. По завершении контрольного
нивелирования путейские реперы закрепляются путем бетонирования их болтов.
21.13. Габаритом приближения строений называют предельно
допустимое геометрическое очертание какого-либо сооружения. Для обеспечения
безопасности движения поездов по рельсовым путям установлены следующие
габариты:
а)
подвижного состава;
б)
приближения оборудования;
в)
приближения строений.
Габариты
для тоннелей метрополитенов
21.14. Габарит подвижного состава есть поперечное
перпендикулярное к оси пути геометрическое очертание, в пределах которого
должен размещаться как порожний, так и груженый подвижной состав.
21.15. Габарит приближения оборудования представляет
собой линию, ограничивающую размещение оборудования по отношению к габариту
подвижного состава. Этот габарит находится между габаритами подвижного состава
и приближения строения.
В габарит
приближения оборудования входит габарит подвижного состава, учитывающий все
отклонения вагона в движении и при поломке комплекта рессор с одной стороны, а
также допустимое смещение и износ рельсового пути. В нижнюю часть этого
габарита входит очертание размещения кронштейна с контактным рельсом и
очертание для токоприемника вагона.
21.16. Габарит приближения строения есть предельное
поперечное очертание пространства, внутрь которого не должны заходить никакие
части строения и сооружения.
В
перегонных тоннелях кругового очертания предусматривается размещение
оборудования и дорожки для прохода служебного персонала с правой стороны по
ходу движения. Этот габарит распространяется на кривые радиусом от 200 м и
более. Симметричность вписывания габарита оборудования в габарит приближения
строений достигается смещением оси тоннеля внутрь кривой на величину,
пропорциональную возвышению рельса. Габарит приближения строения для перегонных
тоннелей прямоугольного очертания на кривых увеличивается по ширине в
зависимости от радиуса и величины возвышения наружного рельса. Уширение
предусматривается также в пределах стрелочных переводов. Для тоннелей
прямоугольного очертания габарит приближения строения увеличивается по ширине
на кривых участках трассы в зависимости от радиуса кривой и величины возвышения
наружного рельса.
21.17. В метрополитенах применяются габариты:
1) для перегонных тоннелей кругового очертания на
прямом участке пути (рис. 21.1 и таблица координат точек габаритов);
Рис. 21.1. Габариты
на перегонах на прямом участке пути для тоннелей кругового очертания:
1 - габарит приближения
строений; 2 - габарит приближения оборудования; 3 - габарит контактного
рельса; 4 - служебная дорожка
КООРДИНАТЫ
ТОЧЕК ГАБАРИТОВ НА ПЕРЕГОНАХ НА ПРЯМОМ УЧАСТКЕ ПУТИ ДЛЯ ТОННЕЛЕЙ КРУГОВОГО
ОЧЕРТАНИЯ
Приближения оборудования
|
x |
y |
Точки |
x |
y |
|
|
а |
-1660 |
0 |
о |
1617 |
3277 |
|
б |
-1660 |
550 |
п |
1481 |
742 |
|
в |
-1481 |
550 |
р |
1481 |
300 |
|
г |
-1481 |
742 |
с |
1623 |
300 |
|
д |
-1617 |
3277 |
т |
1623 |
0 |
|
е |
-1322 |
3622 |
у |
1598 |
300 |
|
ж |
-1006 |
3743 |
ф |
1598 |
64 |
|
з |
-353 |
3779 |
х |
1569 |
35 |
|
л |
353 |
3779 |
ц |
1363 |
35 |
|
м |
1006 |
3743 |
ч |
1363 |
0 |
|
н |
1322 |
3622 |
|
|
|
Контактного рельса
|
x |
y |
Точки |
x |
y |
|
|
1 |
-1015 |
-190 |
7 |
-1583 |
160 |
|
2 |
-1350 |
-190 |
8 |
-1583 |
60 |
|
3 |
-1660 |
-100 |
9 |
-1348 |
60 |
|
4 |
-1660 |
400 |
10 |
-1348 |
25 |
|
5 |
-1348 |
400 |
11 |
-1015 |
25 |
|
6 |
-1348 |
160 |
|
|
|
Примечания. 1. Габарит приближения
оборудования по контуру уфхцч учитывает установку автостопа.
2. Габарит приближения оборудования по контуру рст
следует применять в местах, где не устанавливается контактный рельс.
3. Габарит приближения строений действителен также для
кривых участков пути радиусом 200 м и более при наибольшей величине
возвышения наружного рельса.
2) для перегонных тоннелей с вертикальными стенами и
наземных линий на прямом участке пути (рис. 21.2 и таблица координат точек габаритов);
Рис. 21.2. Габариты
на перегонах на прямом участке пути для тоннелей с вертикальными стенками и для
наземных участков:
1 - габарит приближения строений; 2 - габарит
приближения оборудования; 3 - габарит контактного рельса; 4 -
служебная дорожка
КООРДИНАТЫ
ТОЧЕК ГАБАРИТОВ НА ПЕРЕГОНАХ НА ПРЯМОМ УЧАСТКЕ ПУТИ ДЛЯ ТОННЕЛЕЙ С
ВЕРТИКАЛЬНЫМИ СТЕНКАМИ И ДЛЯ НАЗЕМНЫХ УЧАСТКОВ
Приближения оборудования
|
x |
y |
Точки |
x |
y |
|
|
а |
-1660 |
0 |
о |
1617 |
3277 |
|
6 |
-1660 |
550 |
п |
1481 |
742 |
|
в |
-1481 |
550 |
р |
1481 |
300 |
|
г |
-1481 |
742 |
с |
1623 |
300 |
|
д |
-1617 |
3277 |
т |
1623 |
0 |
|
е |
-1322 |
3622 |
у |
1598 |
300 |
|
ж |
-1006 |
3743 |
ф |
1598 |
64 |
|
з |
-353 |
3779 |
х |
1569 |
35 |
|
л |
353 |
3779 |
ц |
1363 |
35 |
|
м |
1006 |
3743 |
ч |
1363 |
0 |
|
н |
1322 |
3622 |
|
|
|
Контактного рельса
|
x |
y |
Точки |
x |
y |
|
|
1 |
-1015 |
-190 |
7 |
-1583 |
160 |
|
2 |
-1350 |
-190 |
8 |
-1583 |
60 |
|
3 |
-1660 |
-100 |
9 |
-1348 |
60 |
|
4 |
-1660 |
400 |
10 |
-1348 |
25 |
|
5 |
-1348 |
400 |
11 |
-1015 |
25 |
|
6 |
-1348 |
160 |
|
|
|
Примечания. 1. Габарит приближения
оборудования по контуру уфхцч учитывает установку автостопа.
2. Габарит приближения оборудования по контуру рст следует
применять в местах, где не устанавливается контактный рельс.
3) для подземных и наземных станций на прямом участке
пути (рис. 21.3 и таблица координат точек
габаритов).
Рис. 21.3. Габариты
на станциях на прямом участке пути:
1 - габарит приближения
строений; 2 - габарит приближения оборудования; 3 - габарит
контактного рельса; 4 - платформа
КООРДИНАТЫ
ТОЧЕК ГАБАРИТОВ НА СТАНЦИЯХ НА ПРЯМОМ УЧАСТКЕ ПУТИ
Приближения оборудования
|
x |
y |
Точки |
x |
y |
|
|
а |
-1660 |
0 |
о |
1617 |
3277 |
|
6 |
-1660 |
550 |
п |
1481 |
742 |
|
в |
-1481 |
550 |
р |
1481 |
300 |
|
г |
-1481 |
742 |
с |
1623 |
300 |
|
д |
-1617 |
3277 |
т |
1623 |
0 |
|
е |
-1322 |
3622 |
у |
1598 |
300 |
|
ж |
-1006 |
3743 |
ф |
1598 |
64 |
|
з |
-353 |
3779 |
х |
1569 |
35 |
|
л |
353 |
3779 |
ц |
1363 |
35 |
|
м |
1006 |
3743 |
ч |
1363 |
0 |
|
н |
1322 |
3622 |
|
|
|
Контактного рельса
|
x |
y |
Точки |
x |
y |
|
|
1 |
-1015 |
-190 |
7 |
-1583 |
160 |
|
2 |
-1350 |
-190 |
8 |
-1583 |
60 |
|
3 |
-1660 |
-100 |
9 |
-1348 |
60 |
|
4 |
-1660 |
400 |
10 |
-1348 |
25 |
|
5 |
-1348 |
400 |
11 |
-1015 |
25 |
|
6 |
-1348 |
160 |
|
|
|
Примечания. 1. Габарит приближения
оборудования по контуру уфхцч учитывает установку автостопа.
2. Габарит приближения оборудования по контуру рст следует
применять в местах, где не устанавливается контактный рельс.
Габариты
для железнодорожных тоннелей
21.18. В 1960 г. введен в действие ГОСТ 9238-59 - единый
для всех сооружений и устройств железных дорог габарит приближения строений и подвижного состава
железных дорог колеи 1524 мм - габарит «С» для прямого
участка пути (рис. 21.4), которому должно соответствовать внутреннее
очертание железнодорожного тоннеля.
Рис. 21.4. Габарит «С» приближения
строений для железнодорожных тоннелей на прямом участке пути
21.19. На кривых участках трассы габаритные размеры
увеличиваются. Увеличения этих размеров зависят от радиуса кривой и величины
возвышения наружного рельса. Уширение характерных точек габарита определяется
по формуле
![]()
где d - длина вагона;
R - радиус кривой;
h - возвышение наружного рельса;
b - высота от головки рельса рассматриваемой точки
отклонения подвижного состава;
а -
расстояние между осями головок рельсов.
Знак плюс
относится к внутренней стороне кривой, знак минус - к внешней.
Габариты
для прочих тоннелей
21.20. Габариты для гидротехнических тоннелей
определяются проектной организацией в зависимости от объема воды,
которую необходимо пропустить через тоннель.
21.21. Габариты для коммунальных тоннелей определяются
проектной организацией в зависимости от их назначения. Поперечные сечения этих
тоннелей имеют самые разнообразные размеры, начиная от трубопроводов и кончая
большими коллекторами, объединяющими несколько видов подземных коммуникаций.
21.22. Укладка и рихтовка пути в тоннелях производится от
путейских реперов, устанавливаемых согласно типовым чертежам (рис. 21.5, 21.6, 21.7, 21.8).
21.23. Путейские реперы устанавливают на прямых участках
трассы с правой стороны по ходу поезда, на кривых - с внешней стороны кривой,
т.е. со стороны возвышенного рельса.
В
двухпутных тоннелях без средней стенки, в камерах съездов и на других участках
пути, в целях создания удобств в работе, разрешается (по согласованию со
службой пути метрополитена) установка путейских реперов со стороны внутреннего
(заниженного) рельса.
Рис. 21.5. Путейский репер в тюбинговом
тоннеле:
1 - ячейка тюбинга; 2 - уровень головки
ближайшего рельса; 3 - путейский репер
Рис. 21.6. Путейский репер:
1 - отверстие в сферической головке репера; 2 -
болт; 3 - стакан с резьбой. Размеры даны в миллиметрах
Рис. 21.7. Путейский репер в бетонном
тоннеле прямоугольного сечения:
1 - путейский репер; 2 - уровень головки
ближайшего рельса; 3 - бетонная подливка; 4 - поверхность
путевого бетона; 5 - бетонный монолит; 6 - лоток тоннеля. Размеры
даны в миллиметрах
Рис. 21.8. Путейский репер в
железнодорожном тоннеле:
1 - репер; 2 - уровень головки рельсов; 3
- металлические штыри, скрепляющие бетонную тумбочку со стеной; 4 -
съемные крышки железобетонных лотков; 5 - засыпка шлаком; 6 - балласт;
7 - шлакоблоки; 8 - железобетонный лоток
21.24. Определение расстояний от болтовых отверстий
путейских реперов до внутренней грани ближайшего рельса производят с
полигонометрических знаков. На прямых участках трассы определение расстояний
производят от линии, параллельной оси пути и задаваемой инструментально с
полигонометрического знака.
При этом
особое внимание должно обращаться на точность центрирования теодолита, которая
не должна быть грубее 1 мм.
Для
измерения расстояний от визирной оси теодолита пользуются специальной рейкой со
штифтом, острие которого вставляется в отверстие головки болта путейского
репера. Острие должно совпадать с нулевым делением рейки и находиться в
плоскости, на которой нанесены деления.
Допускается
применение лески, заменяющей визирный луч инструмента.
21.25. Расстояние di от болтового отверстия путейского репера до внутренней грани ближайшего к реперу
рельса на прямой (рис. 21.9) вычисляется по формуле
![]()
где d1 -
смещение полигонометрического знака от оси пути;
тi -
измеренное расстояние до репера;
- половина
ширины колеи на прямой.
Рис. 21.9. Определение путейского репера на
прямой
21.26. На участках переходных кривых определение
расстояний от путейского репера до внутренней грани ближайшего рельса
производится от линии, параллельной тангенсу, задаваемой с полигонометрического
знака (рис. 21.10).
Рис. 21.10. Определение путейского репера на
переходной кривой:
1 - реперы; 2 -
внутренняя грань ближайшего рельса
21.27. Расстояние di от болтового отверстия путейского репера до
внутренней грани ближайшего к реперу рельса в пределах переходной кривой
вычисляется по формуле
![]()
* Формула и таблица величин
предложены инженером
В.Н. Ишмаевым.
где d1 -
смещение полигонометрического знака от линии тангенса;
mi - измеренное расстояние до
репера;
уi - ордината от тангенса до
переходной кривой на пикете путейского репера с номером i, вычисляемая по формуле
![]()
li - расстояние от начала
переходной кривой до определяемого репера (разность пикетажа репера и НПК);
С -
параметр переходной кривой;
- расстояние
от оси пути до внутренней грани рельса, ближайшего к реперу (половина ширины
колей на прямой).
Величина
поправки
выбирается из табл. 21-4
|
li, м |
|||||||||
|
20 |
25 |
30 |
35 |
40 |
45 |
50 |
55 |
60 |
|
|
10000 |
0,4 |
1,0 |
2,0 |
3,8 |
6,4 |
10,3 |
|
|
|
|
15000 |
|
0,4 |
0,9 |
1,7 |
2,8 |
4,6 |
6,9 |
|
|
|
20000 |
|
|
0,5 |
0,9 |
1,5 |
2,6 |
3,9 |
5,7 |
|
|
25000 |
|
|
|
0,6 |
1,0 |
1,6 |
2,5 |
3,7 |
5,2 |
|
30000 |
|
|
|
|
0,7 |
1,1 |
1,7 |
2,5 |
3,6 |
|
35000 |
|
|
|
|
|
0,8 |
1,3 |
1,9 |
2,6 |
Примечание. Таблица составлена для
средней ординаты y = 2 м.
21.28. В пределах круговой кривой расстояния di от болтового отверстия путейских реперов до
внутренней грани ближайшего рельса определяют от линии, задаваемой с
полигонометрических знаков параллельно хорде, стягивающей соответствующую дугу
по оси пути (рис. 21.11).
После
измерения в натуре величин mi,
удаления реперов от внутренней грани ближайшего рельса определяют по формуле
![]()
где di - смещение
полигонометрического знака от разбивочной оси круговой кривой;
mi - отсчет по горизонтальной
рейке (измеренное расстояние от определяемого путейского репера до линии ПЗ1-В,
параллельной хорде А¢В¢);
bi - стрела прогиба дуги ПЗ1-В
на пикете определяемого репера, вычисляемая по формуле
![]()
b0 - стрела
прогиба дуги на середине хорды ПЗ1-В;
Si - длина дуги от середины хорды
до репера с номером i, которая
определяется как разность пикетных значений этих точек, умноженная на отношение
радиусов R1 : R;
R1 - радиус
дуги, проходящей через ПЗ1;
R - радиус разбивочной кривой;
ai - угол между радиусами,
проходящими через середину хорды и определяемый путейский репер.
Рис. 21.11. Определению путейского репера на
круговой кривой:
1 - внутренняя грань
ближайшего рельса
Стрела
прогиба b0 на
середине хорды вычисляется по формуле
![]()
где S - длина всей хорды, соединяющей ПЗ1 и
вспомогательную точку В;
- расстояние
от оси пути до внутренней грани рельса, ближайшего к реперу (половина ширины
колеи на прямой).
21.29. При радиусах кривых и длинах хорд, не превышающих
значений, указанных в табл. 21-5,
величины (mi - bi) за cos
a не
исправляют.
|
R, м |
Максимальная длина хорды, м |
|
100 |
20 |
|
200 |
30 |
|
400 |
50 |
|
600 |
70 |
|
800 |
90 |
|
1000 |
100 |
21.30. Для облегчения вычислений удалений di на участках круговых кривых инженерами Ишмаевым
В.Н., Кельхом Г. и Мазуруком А.П. разработаны формулы и составлены таблицы.
Ниже приводятся формулы и пример на вычисление удалений di по способу инженера Ишмаева В.Н.
При
выводе формул и построении таблиц принят стандартный случай расположения
полигонометрических знаков и реперов на внешней стороне кривой.
Если
линия съемки T отсекает
на ординатах полигонометрических знаков равные расстояния Y до
разбивочной кривой К, то согласно рис. 21.12 ордината путейского репера
![]()
Рис. 21.12. Определение смещения путейского
репера от оси пути (по таблицам В.Н. Ишмаева)
После
разложения в ряд тригонометрических функций и отбрасывания несущественных
членов предыдущее равенство приводится к виду
![]()
В
перегонном тоннеле диаметром 5,5 м величина Y изменяется в интервале 1,6 - 2,0 м и, если
учесть, что при Д £ 24 отношение
то можно во втором и
третьем членах последнего равенства заменить Y его приближенным значением (Y = 1,8 м).
Таким
образом, искомое расстояние Y* = Y + Z - 762 от
репера до ближайшей рельсовой нитки определится следующими формулами:
![]()
![]()
причем величины
![]()
![]()
выбираются из прилагаемых таблиц
по аргументам Р и Д.
Пример на вычисление. Съемка
на кривой Р = 800 м, Z = 33 мм произведена от полигонометрических
знаков
|
ПК |
Ордината |
|
|
1149 |
12 + 38,59 |
2011 |
|
1151 |
12 + 86,97 |
1950 |
Пикетаж
реперов и отсчеты т приведены в формуляре вычисления.
Формуляр вычисления
|
ПК |
Д |
H |
m |
Y |
|
|
ПЗ 1149 |
12 + 38,59 |
24,19 |
367 |
111 |
1282 |
|
Реп. 91 |
+42,17 |
20,61 |
266 |
287 |
1357 |
|
» 92 |
+47,17 |
15,61 |
153 |
379 |
1336 |
|
» 93 |
+52,17 |
10,61 |
71 |
442 |
1317 |
|
» 94 |
+57,19 |
5,59 |
20 |
471 |
1295 |
|
» 95 |
+62,18 |
0,60 |
0 |
509 |
1313 |
|
» 96 |
+67,16 |
4,38 |
12 |
475 |
1291 |
|
» 97 |
+72,17 |
9,39 |
55 |
472 |
1331 |
|
» 98 |
+77,18 |
14,40 |
130 |
384 |
1318 |
|
» 99 |
+82,11 |
19,33 |
234 |
263 |
1301 |
|
ПЗ 1151 |
12 + 86,97 |
24,19 |
367 |
56 |
1227 |
Порядок вычислений
1. Заполняются графы 1, 2 и 5 формуляра.
2. Вычисляется величина Y для ПЗ № 1149:
Y = 2011 - 111 = 1900,
контроль для ПЗ № 1151:
Y = 1956 - 56 = 1900.
3. Вычисляется ПК середины линии съемки:
![]()
4. Вычисляются разности Д = ПК 12 + 62,78 - ПК
репера (или ПЗ) и вносятся в соответствующую графу.
5. По аргументам Р и Д в таблицах
находятся величины Н и вносятся в графу.
6. Вычисляется постоянная (для данной линии
съемки) величина
С = Х
- HД + Z - 762 = 1900 - 367 + 33 - 762 = 804.
7. Вычисляются Y* по
формуле
Y* = С + Hд + m.
21.31. Ширина колеи на кривых устанавливается в зависимости
от радиуса кривой и определяется из табл. 21-6.
|
Ширина колеи между внутренними гранями |
|
|
200 м и более |
1524 мм |
|
От 199 м до 150 м |
1530 » |
|
От 149 м до 125 м |
1535 » |
|
От 124 м до 100 м |
1540 » |
|
От 99 м и менее |
1544 » |
Уширение
колеи производится за счет рельса, удаленного от путейского репера (внутренний
рельс смещается к центру кривой).
21.32. Расстояния от болтовых отверстий путейских реперов
до внутренней грани ближайшего к реперу рельса определяются дважды. Расхождения
между двумя определениями не должны превышать +3 мм. За окончательный
результат принимаются средние значения из двух определений.
21.33. На криволинейных участках пути с малыми (от 300 м
и менее) радиусами для получения расстояний от путейских реперов до
внутренней грани ближайшего рельса рекомендуется определять координаты
путейских реперов с пунктов полигонометрии.
Имея
координаты путейских реперов и центра кривой, решением обратных геодезических
задач вычисляют расстояния от центра кривой до данного репера.
Расстояния
d от болтовых отверстий
путейских реперов до внутренней грани ближайшего рельса (рис. 21.13)
вычисляют по формуле
![]()
где Еi - вычисленное расстояние между
путейским репером и центром кривой;
R - радиус кривой;
Z - смещение оси пути относительно разбивочной оси;
- расстояние
от оси пути до внутренней грани рельса, ближайшего к реперу (половина ширины
колеи на прямой).
Рис. 21.13. Определение расстояния от
путейского репера до внутренней грани ближайшего рельса на круговой кривой
малого радиуса:
1 - реперы
21.34. Вычисление расстояний от путейских реперов до
внутренней грани ближайшего рельса на прямых и участках переходных кривых
производится по форме, приведенной в приложении 21-1.
Для
участков круговой кривой применяют форму, рекомендованную авторами таблиц (см.
п. 21.30).
21.35. Определение расстояний от путейских реперов до
внутренней грани ближайшего рельса разрешается производить и другими способами,
обеспечивающими требуемую точность.
21.36. Первоначальная установка рельсов производится в
соответствии с ведомостью расстояний от болтовых отверстий путейских реперов.
По высоте установка их ведется при помощи специальной рейки с накладным
уровнем.
Второй
(удаленный от репера) рельс устанавливается по первому, с соблюдением
проектной ширины колеи и с учетом возвышения на криволинейных участках.
21.37. Перед бетонированием шпал путь тщательно
проверяется как в плане, так и в профиле.
Помимо
проверки расстояний от реперов до рельсовых ниток, контролируется положение
пути в плане в интервалах между путейскими реперами. Для этой цели используют
леску с передвижным отвесом или же устанавливают теодолит. Исправления
отклонений производятся при помощи домкратов.
21.38. На участках переходных и круговых кривых, помимо
промеров от реперов через 2,5 м, проверяется плавность кривизны пути по
стрелам прогиба десяти- или двадцатиметровых хорд. Величины стрел прогиба
вычисляются по следующим формулам:
а) для
переходной кривой
![]()
где b - величина стрелы прогиба, мм;
l - расстояние от начала переходной кривой до
середины хорды, м;
а -
половина длины хорды, м;
С -
параметр переходной кривой;
б) для
круговой кривой
![]()
где b - величина стрелы прогиба, мм;
L - длина хорды, м;
R - радиус кривой, м.
21.39. На участках переходных кривых целесообразно
использовать для рихтовки пути стягивающую хорду (см. п. 11.27). Стрелы
прогиба вычисляют для каждого метра от стягивающей хорды до внутренней грани
ближайшего рельса. Устанавливают от реперов НПК и КПК внутренние грани рельса,
между полученными точками натягивают леску и производят рихтовку пути по
рассчитанным стрелам прогиба. От реперов, заложенных через 5 м, делают
контрольные промеры. При значительной длине стягивающей хорды рекомендуется закрепить одну или две створные
точки, что позволит избежать большого провисания лески.
21.40. Проверка пути в профиле осуществляется при помощи
нивелира. Предварительно производят набор пикетажа мест установки бетонных
кубиков и клиньев под рельсами («мальчиков») и подсчитывают проектные отметки
головки рельсов на этих местах. Затем, установив нивелир и определив его
горизонт по отметкам полигонометрических знаков, ведут рихтовку пути. Подъем
производят подбивкой клиньев, расположенных между бетонным кубиком и рельсом,
опускание - ослаблением клиньев.
На
криволинейных участках учитывают возвышение рельсов.
21.41. В тоннелях метрополитена после окончания
бетонирования шпал производят так называемую «отделку» пути. Рельсовые звенья
длиной 12,5 и 25 м заменяют постоянными сварными плетьми, между рельсом
и металлической накладкой шпалы устанавливают пластмассовые (синтетические) или
резиновые прокладки толщиной 8 - 10 мм, устанавливают постоянные
крепления рельсов и т.п. В этой связи, при бетонировании шпал необходимо
занижать рельсы на величину, соответствующую толщине прокладок, которые будут
применяться на данном участке пути.
21.42. Проверка пути в плане и профиле должна
производиться комплексно, так как каждое исправление по высоте расстраивает
осевое положение пути.
Рекомендуется
приемку пути для бетонирования вести в следующем порядке:
1) грубая («на глаз») установка пути в профиле;
2) предварительная рихтовка пути в плане от реперов
по ординатам;
3) предварительная рихтовка пути в профиле (по
шаблону с уровнем) напротив реперов, с учетом их планового положения;
4) точная установка пути в профиле (под нивелир) в
местах установки бетонных кубиков («мальчиков») и реперов;
5) окончательная рихтовка пути в плане по ординатам
реперов и стрелам прогиба от хорд;
6) контрольное нивелирование пути.
При этом
надо обращать внимание на то, чтобы накладки шпал были прижаты к рельсам
временными клиньями, а шпалы не имели люфта на рельсах.
21.43. Для окончательно отрихтованного пути установлены
следующие допуски:
а)
отклонения в плане и профиле не должны превышать ± 3 мм;
б)
уширение колеи (относительно проектной величины) не должно превышать +4 мм,
а сужение -2 мм;
в)
измеренные величины стрел прогиба не должны отличаться от рассчитанных (см. п. 21.39)
более ± 3 мм - для 20-метровых и ± 2 мм - для 10-метровых хорд;
при этом отклонения стрел прогиба на соседних хордах не должны иметь разных
знаков.
21.44. После завершения «отделки» и обкатки пути и
окончания монтажных работ в тоннеле производится окончательное нивелирование
путейских реперов и уложенных рельсов, а также съемка пути, всех устройств и
оборудования.
21.45. По результатам окончательного нивелирования пути и
реперов составляется каталог путейских реперов (см. приложение 21-2),
сдаваемый эксплуатирующей организации.
21.46. При сдаче путей в постоянную эксплуатацию на плане
тоннелей в масштабе 1:200 показываются:
а)
пикетаж изолированных стыков, расположение всех устройств и оборудования в
тоннелях (светофоров, дроссельных ящиков, релейных шкафов и т.д.), а также
места пересечения путей кабельными каналами;
б)
положение третьего рельса с показанием пикетажей разрыва и перехода его с одной
стороны пути на другую;
в) начало
и конец щебеночного основания.
Примечание. В железнодорожных
тоннелях все указанные работы производятся путейцами.
21.47. После заливки пути производится предварительная
проверка правильности сооруженных тоннелей путем прокатки габарита
оборудования.
21.48. Проверку габаритности сдаваемых в эксплуатацию
транспортных тоннелей производит специальная комиссия в составе:
а)
представителя Геодезическо-маркшейдерского управления (ГМУ)
Главтоннельметростроя (председатель);
б)
представителя проектной организации (отдел трассы);
в)
представителя организации, принимающей в эксплуатацию транспортные тоннели
(служба пути);
г)
представителя дирекции строящихся тоннелей;
д)
представителей управления строительства и строительно-монтажных
организаций, принимавших участие в строительстве.
21.49. Комиссия по проверке габаритов путем прокатки
габаритной рамы (габарит приближения оборудования), смонтированной на
специальной тележке, проверяет непосредственно в тоннелях соответствие
построенных транспортных сооружений установленным для них габаритам.
21.50. Обнаруженные нарушения габаритности фиксируются в
предписаниях на имя руководителей строительно-монтажных организаций. В
предписании (приложение 21-3)
указываются:
а) место
(пикетаж, №№ колец) обнаруженного нарушения габарита;
б)
подробное описание частей конструкции или оборудования, находящегося в
габарите, и что конкретно предлагается сделать для устранения негабаритности;
в) срок
устранения обнаруженных негабаритностей.
21.51. Перед пуском пробного (первого) поезда комиссией
производится окончательная проверка габаритности тоннелей и затем составляется
акт, разрешающий пропуск поезда по всей сдаваемой в эксплуатацию трассе (см.
приложение 21-4).
21.52. Перед установкой подкрановых путей (как для козловых,
так и для мостовых кранов) маркшейдером должны быть даны оси рельсовых ниток и
условный горизонт для головки рельсов. После предварительной установки
производится инструментальная проверка рельсовых ниток.
21.53. Работа начинается с разметки точек, подлежащих
съемке.
Для
козловых кранов разметка производится через 2 - 3 м по каждой нитке.
Начальные точки счета должны находиться на одной нормали к пути. Для мостовых
кранов разметка производится в промежутках опор крана, расстояния между
которыми разбиваются на 2 - 3 равные части.
21.54. Положение пути в плане характеризуется шириной
колеи и прямолинейностью рельсовых ниток. Ширина колеи определяется промерами
стальной рулеткой между внутренними гранями рельсов (рис. 21.14).
Рис. 21.14. Горизонтальная съемка
подкрановых путей
21.55. Прямолинейность пути проверяется при помощи
теодолита. Инструмент устанавливается вблизи одной нитки и определяется
смещение его а от внутренней грани рельса. На противоположном конце пути
к грани рельса приставляется горизонтально рейка, и визирная ось теодолита
фиксируется на отсчете а. Затем с помощью рейки производится
горизонтальная съемка всей рельсовой нитки в тех же точках, где производилось
измерение ширины колеи.
Далее
теодолит устанавливается вблизи второй нитки и определяется его смещение b от
внутренней грани рельса. На противоположном конце пути фиксируется отсчет по
рейке b¢ = b + (d2 - d1) (см.
рис. 21.14);
при этом положении вторая съемочная линия будет параллельна первой. Затем
производится горизонтальная съемка второй рельсовой нитки.
Примечание. Если по местным
условиям, теодолит приходится устанавливать вне колеи, производят съемку
наружной грани рельса, соответственно изменяя знак в формуле
b¢ = b - (d2 - d1).
21.56. Произведя обработку съемки, выводят значения
d¢i
= d1 + (ai - a) + (bi
- b).
Эти
значения не должны отличаться от непосредственно измеренных более чем на 10 мм.
По
величинам (ai - a) и (bi - b) составляется
схема, отображающая отклонения рельсовых ниток в плане.
21.57. Положение пути в профиле определяется
нивелированием головки рельсов в размеченных местах с последующим вычислением
их условных отметок. На схеме показывают отклонения рельсовых ниток по высоте,
принимая минимальную или максимальную отметку головки рельса за нуль.
21.58. После рихтовки подкрановых путей должна быть
произведена контрольная съемка по вышеизложенной программе.
|
Смещение ПЗ d |
Отсчет по рейке тi |
Ордината y |
е / 2 |
Расстояние от репера до рельса, di |
Примечание |
||
|
23 + 18,36 |
2,030 |
0,206 |
- |
0,762 |
1,474 |
} |
прямая |
|
23 + 38,38 |
2,030 |
0,174 |
- |
0,762 |
1,442 |
||
|
23 + 46,60 |
2,030 |
0,169 |
0,303 |
0,762 |
1,740 |
} |
переходная кривая |
|
23 + 51,63 |
2,030 |
0,181 |
0,387 |
0,762 |
1,836 |
||
Правый
путь
|
Проектный пикетаж репера |
Фактический пикетаж репера |
Проектная отметка репера и ближайшего рельса (по факт. пикетажу) |
Фактическая отметка репера |
Фактическая отметка рельса, ближайшего к реперу |
Возвышение наружного рельса над внутренним в мм |
Расстояния от репера до внутр. грани ближайшего рельса, мм |
Геометрические элементы пути |
||||||
|
в плане |
в профиле |
||||||||||||
|
Проектное |
Фактическое |
Проектные |
Фактические |
Наименование элемента |
Числовое значение |
Наименование элемента |
Числовое значение |
||||||
|
15 |
143 + 45,290 |
143 + 45,24 |
157,164 |
157,165 |
157,164 |
0 |
-1 |
1367 |
1370 |
НПК |
|
|
|
|
16 |
143 + 50,290 |
143 + 50,25 |
157,100 |
157,102 |
157,101 |
13 |
12 |
1274 |
1276 |
|
|
|
|
|
17 |
143 + 53,290 |
143 + 53,24 |
157,065 |
157,064 |
157,063 |
21 |
20 |
1283 |
1285 |
|
|
|
|
|
18 |
143 + 60,290 |
143 + 60,20 |
156,974 |
156,974 |
156,974 |
39 |
38 |
1285 |
1287 |
|
|
|
|
|
19 |
143 + 62,790 |
143 + 62,72 |
156,943 |
156,942 |
156,942 |
46 |
45 |
1283 |
1285 |
НКК |
|
|
|
|
20 |
143 + 65,290 |
143 + 65,21 |
156,911 |
156,912 |
156,912 |
52 |
51 |
1261 |
1264 |
|
|
|
|
|
21 |
143 + 70,290 |
143 + 70,18 |
156,846 |
156,847 |
156,850 |
65 |
68 |
1275 |
1272 |
|
|
|
|
|
22 |
143 + 75,290 |
143 + 75,32 |
156,783 |
156,781 |
156,784 |
78 |
78 |
1255 |
1281 |
|
|
|
|
|
23 |
143 + 78,370 |
143 + 78,41 |
156,743 |
156,740 |
156,744 |
85 |
85 |
1232 |
1233 |
|
|
|
|
|
24 |
143 + 80,290 |
143 + 80,33 |
156,719 |
156,720 |
156,721 |
90 |
91 |
1230 |
1229 |
КПК |
|
|
l = - 0,004 |
|
25 |
143 + 85,290 |
143 + 85,33 |
156,654 |
156,653 |
156,653 |
90 |
91 |
1219 |
1222 |
|
|
|
|
|
26 |
143 + 90,290 |
143 + 90,28 |
156,592 |
156,591 |
156,593 |
90 |
92 |
1227 |
1231 |
|
|
|
|
|
27 |
143 + 95,290 |
143 + 95,30 |
156,538 |
156,536 |
156,537 |
90 |
91 |
1219 |
1222 |
|
Р = 800 |
|
|
|
28 |
144 + 00,000 |
144 + 00,02 |
156,487 |
156,486 |
156,487 |
90 |
90 |
1241 |
1244 |
|
Уг. = 4°28¢31²,8 |
|
|
|
29 |
144 + 05,010 |
144 + 05,02 |
156,442 |
156,439 |
156,440 |
90 |
89 |
1216 |
1219 |
|
T = 31,261 |
|
|
|
30 |
144 + 07,500 |
144 + 07,50 |
156,420 |
156,417 |
156,420 |
90 |
89 |
1211 |
1215 |
|
К = 62,210 |
|
|
|
31 |
144 + 10,010 |
144 + 10,04 |
156,398 |
156,396 |
156,398 |
84 |
83 |
1241 |
1242 |
|
С = 20000 |
|
|
|
32 |
144 + 15,010 |
144 + 15,03 |
156,355 |
156,355 |
156,355 |
71 |
70 |
1233 |
1229 |
|
Z = 0,064 |
|
|
|
33 |
144 + 20,590 |
144 + 20,56 |
156,314 |
156,314 |
156,316 |
57 |
57 |
1200 |
1203 |
|
L = 35,000 |
|
|
|
34 |
144 + 25,000 |
144 + 25,00 |
156,286 |
156,285 |
156,286 |
45 |
43 |
1282 |
.1284 |
ККК |
h = 0,120 |
|
|
|
35 |
144 + 30,010 |
144 + 30,01 |
156,260 |
156,260 |
156,261 |
32 |
32 |
1274 |
1275 |
|
|
|
|
|
36 |
144 + 35,010 |
144 + 35,07 |
156,237 |
156,236 |
156,239 |
19 |
21 |
1256 |
1257 |
|
|
|
|
|
37 |
144 + 40,010 |
144 + 39,99 |
156,220 |
156,219 |
156,221 |
6 |
7 |
1268 |
1270 |
|
|
|
|
|
38 |
144 + 42,510 |
144 + 42,46 |
156,213 |
156,212 |
156,212 |
0 |
0 |
1268 |
1270 |
КПК |
|
|
|
|
39 |
144 + 62,510 |
144 + 62,52 |
156,153 |
156,154 |
156,154 |
0 |
0 |
1437 |
1438 |
|
|
НВК |
|
|
40 |
144 + 82,510 |
144 + 82,52 |
156,093 |
156,092 |
156,092 |
0 |
0 |
1236 |
1235 |
|
|
|
|
|
41 |
... |
... |
... |
... |
... |
... |
... |
... |
... |
|
... |
... |
Р = 5000 |
|
42 |
... |
... |
... |
... |
... |
... |
... |
... |
... |
|
... |
... |
2T = 85,000 |
|
43 |
145 + 47,50 |
145 + 47,51 |
156,120 |
156,120 |
|
|
|
1236 |
1235 |
|
|
КВК |
Б = 0,181 |
|
10 |
30 |
30 |
25 |
25 |
25 |
15 |
15 |
20 |
20 |
15 |
30 |
15 |
15 |
Примечание. В нижней строке формы
каталога указана ширина колонок в мм.
Начальнику
СМУ-7 тов. Павлову Ю.П.
Главному маркшейдеру тов. Чистякову А.И.
В
результате проверки габаритной рамой тоннелей Вашего участка обнаружено
в габарите:
Левый путь
Кабельный
мост в своде тоннеля на ПК 118 + 85 занижен на 5 см. Подтянуть.
Осветительная коробка и лампа справа на ПК 109 + 20. Подтянуть к стене на 4 см.
На ПК 107
+ 19 у ходка в камеру срезать кабельные кронштейны.
На ПК 109
+ 00 - электрокабель не закреплен. Укрепить на кронштейнах.
Правый путь
На ПК 106
+ 95 - уголок швеллера и изолятор волновода входят в габарит на 5 см. Удалить.
На ПК 106
+ 80 светофор передвинуть на 8 см к стене.
На ПК 105
+ 03 ножки релейного ящика находятся в габарите токоприемника вагона на 6 см.
Переставить их.
На выходе
из станции убрать арматурную проволоку.
Депо, 15-й
путь: убрать оборудование со столба.
В веерной
части убрать камни, доски.
Предлагается
не позднее 20 часов 10 декабря 1907 года устранить препятствия для пропуска
поезда по трассе.
Начальник
ГМУ
Главтоннельметростроя
В. Афанасьев
Получил
____________________
(подпись)
Дата
(число, месяц, час, год)
|
г. Москва |
Мы,
нижеподписавшиеся, комиссия в составе: начальника ГМУ Афанасьева В.Г., начальника
ПРО Метростроя Федорова В.К., представителя службы пути метрополитена Пашкевича
Е.К., представителя Отдела трассы Метрогипротранса Антушева В.В., начальника
Тоннельного отряда № 6 Яцкова. И.А., начальника СМУ № 4 Гостеева Н.П.,
начальника ОЭМУ, Бартенева Б.И. - составила настоящий акт о нижеследующем.
Сего числа
с 14 час 00 мин до 19 час 25 мин нами произведена
проверка готовности тоннелей Ждановского радиуса Московского метрополитена
правого от ПК 19 + 65, левого от ПК 15 + 24 до пикета 160 + 98 и соединительной
ветки с кольцевой линией от ПК 0 до ПК 6 + 00.
На
основании прокатки габарита приближения оборудования, смонтированного на
тележке метрополитена, комиссия считает, что вышеуказанные тоннели
протяженностью в двупутном исчислении 14,3 км готовы для постоянной
эксплуатации.
Подписи: В.
Афанасьев
В. Федоров
Е. Пашкевич
В. Антушев
И. Яцков
Н. Гостеев
Б. Бартенев
22.01. Во время строительства подземных сооружений в
результате разработки пород развивается горное давление. При значительном
горном давлении возможны деформации временной крепи и постоянной тоннельной
обделки. В зависимости от гидрогеологических условий горное давление, действуя
в различных направлениях, вызывает осадку или деформацию временной крепи при
проходке штолен, разработке калотт, выпучивание лежанов рам и др.
22.02. В постоянных сооружениях горное давление вызывает
осадку свода тоннеля, сближение стен, выпучивание лотков и обратных сводов,
эллиптичность тоннельной обделки круглого очертания и пр. В неустойчивых
породах горное давление вызывает трещины, а иногда и разрушение самой
конструкции подземного сооружения. Деформация сооружений возникает также при
размораживании грунтов, подвергавшихся замораживанию.
Указанные
обстоятельства требуют организации тщательных наблюдений за деформацией
подземных сооружений. Наблюдения производят регулярно на всех этапах
строительства.
22.03. В местах возможной деформации организуются
наблюдения по специальной программе. Для этой цели производятся периодическое
нивелирование сводовой части крепи и обделки и линейные измерения поперечных
горизонтальных расстояний между знаками, заложенными в стенах сооружения. В
некоторых случаях ведутся наблюдения за устойчивостью знаков от некоторого
фиксированного инструментального створа. В особых случаях нивелируется также и
лотковая часть сооружения.
22.04. В станционных тоннелях наблюдения ведутся
применительно к типу станции. На станционных тоннелях с тюбинговой обделкой
производятся следующие наблюдения:
а)
нивелирование свода каждого пятого кольца обделки;
б)
измерение горизонтальных и косых (под углом 45°) диаметров каждого пятого
кольца;
в)
нивелирование осевого сегмента рам проемов и определение его положения
относительно продольной оси тоннеля.
На
станциях колонного типа наблюдения производятся по специальной программе,
составляемой проектной организацией в зависимости от конструкции станции. Кроме
того, необходимо измерять наклон колонн и других элементов конструкций, которые
могут подвергаться большим деформациям.
22.05. В период проходки смежных станционных тоннелей, а
также при раскрытии проемов наблюдения за деформацией должны быть учащены. В
зависимости от интенсивности деформации устанавливается периодичность
наблюдений от 1 до 20 дней. Программа наблюдений согласовывается с техническим
руководством строительства.
22.06. В перегонных тоннелях измеряют горизонтальные и
косые диаметры колец в тоннелях круглого очертания, а в тоннелях прямоугольного
сечения измеряют расстояния между вертикальными стенами на разных уровнях от
лотка, для чего закладывают в стены тоннелей специальные маркшейдерские знаки.
Значительная
деформация может возникнуть при обратной засыпке котлованов после возведения
конструкций (см. главу 17).
Наблюдения в этих случаях ведутся по специально разработанной программе.
На всех
перегонных тоннелях производят нивелирование свода и лотка тоннельной обделки
через каждые 5 м готового тоннеля, а также полигонометрических знаков и
реперов. В необходимых случаях закладываются дополнительные деформационные
реперы. Во всех случаях за исходные принимаются реперы, находящиеся вне зоны
осадок.
22.07. При сооружении наклонных ходов на каждом пятом
кольце периодически замеряются горизонтальные диаметры и нивелируется свод
наклонным лучом теодолита, параллельным оси тоннеля (рис. 22.1).
Рис. 22.1. Наблюдения за осадкой свода в
наклонном тоннеле:
1 - консоль; 2 -
теодолит; 3 - нивелирные рейки
22.08. Для выработок и сооружений большого сечения, где
контроль за деформацией свода методом геометрического нивелирования затруднен,
рекомендуется применять метод тригонометрического нивелирования.
22.09. Все данные по наблюдениям за деформацией подъемных
сооружений оформляются в специальном журнале. Периодичность наблюдений
устанавливается руководством строительства в зависимости от интенсивности
происходящих деформаций. На участки или конструкции, где деформации наиболее
интенсивны, составляются специальные чертежи, дающие наглядное представление о
характере и направлении деформации (рис. 22.2).
Обо всех деформациях ставится в известность руководство строительством.
Рис. 22.2. График
наблюдения за деформацией эскалаторного тоннеля ст. «Петровские порота»
22.10. В местах пересечения вновь сооружаемой трассы с
тоннелями действующих линий устанавливаются наблюдения за деформацией
существующих сооружений.
22.11. Деформационные реперы закладываются равномерно по
всей площади действующего сооружения со средним расстоянием между ними порядка
10 - 15 м.
22.12. В качестве деформационных реперов могут быть
использованы точки, выбранные на бортовом камне платформы, ободках дренажных и
пожарных трапов, цоколях облицовки, а также площадки на ребордах тюбингов,
путейские реперы, забетонированные в тело путевого бетона, штыри и др.
22.13. Места постановки нивелирной рейки окрашиваются
масляной краской и подписывается порядковый номер репера.
22.14. На каждый деформационный репер составляются
описание по форме, приведенной в приложении 22-1, и
подробная зарисовка его местоположения (рис. 22.3).
Рис. 22.3. Образец зарисовки местоположения
деформационных реперов в подземных сооружениях
22.15. Исходными реперами для наблюдения за деформацией
служат знаки подземной высотной основы, удаленные отгоны осадок назад и вперед
по трассе не менее чем на 50 м.
22.16. Периодичность наблюдений определяется интенсивностью осадок, но не реже одного раза в 20 дней, до
полного затухания осадок.
22.17. Первичное и повторные нивелирования и их
графическое оформление выполняются в соответствии с техническими требованиями
для аналогичных работ на поверхности (см. главу 7).
|
№ реперов |
Описание |
Тип знака |
Положение от оси пути |
|
1393 |
Правый путь, ПК 02 + 48,0 |
Штырь в бетоне |
Вправо |
|
1394 |
Правый путь, ПК 02 + 57,0 |
Путейский репер |
Влево |
|
1395 |
Переход с платформы ст.
«Театральная» на ст. «Вокзальная» |
Ступень лестницы |
- |
23.01. Основой для расчетов за выполненные строительные
работы является смета, составленная по рабочим чертежам, содержащая показатели
сметной стоимости по укрупненным конструктивным элементам и видам работ.
23.02. Все геодезические разбивки перед началом земляных
работ производятся на основании проектных рабочих чертежей, завизированных
начальником или главным инженером и главным маркшейдером строительной
организации.
23.03. Производство земляных работ допускается только
после постановки разбивочных знаков. В городах должна быть отбита в натуре
«красная линия» и перспективная линия застройки.
23.04. При строительстве тоннелей и других подземных
сооружений на геодезическо-маркшейдерскую службу строительных организаций
возлагается контроль объемов фактически выполненных основных работ.
К
основным работам относятся: разработка грунта, укладка бетона и монолитного
железобетона, укладка тюбинговых и железобетонных колец, укладка клиновидных
тоннельных прокладок, первичное нагнетание за обделку тоннеля (в погонных
метрах), расчеканка швов колец свинцом или расширяющимся цементом (в погонных
метрах тоннеля), заливка бетона под железнодорожный путь, укладка железнодорожного
пути (в погонных метрах).
Объем
работ по временным сооружениям на поверхности маркшейдерскому учету не
подлежит.
23.05. Контрольные замеры фактически выполненных основных
работ производятся раз в месяц с начала строительства. Для подсчета объемов
служат материалы геодезических съемок и профилировок, являющихся основными
первичными документами по учету объемов. Все геодезические съемки, зарисовки,
абрисы, схемы и замеры фигур заносятся в специальные книги или сменные журналы.
23.06. Объемы выполненных работ для сооружений, имеющих
значительную протяженность и однородное сечение (стволы, нижние и верхние
штольни, перегонные, станционные и наклонные тоннели и т.п.), подсчитываются
как произведение площади поперечного сечения S на длину l. Площадь поперечного сечения определяется по
формулам для площадей правильных геометрических фигур или при помощи
планиметра.
23.07. Площади поперечных сечений в сооружениях, имеющих
сложные очертания (калотты, штроссы, ядро, лоток и т.п.), определяются на
основании съемок по крупномасштабному чертежу (1:10 - 1:50) способами согласно
п. 23.18
23.08. Подсчеты общего объема фактически выполненных
земляных работ, связанных с проходкой тоннеля, производятся согласно съемочным
данным по наружному очертанию конструкции постоянной обделки тоннеля, а при
наличии крепления - по внешней его линии. Если применялась верхняя штольня,
объем подсчитывается по наружной линии затяжки штольневой рамы. Если крепление
штольни производится полным дверным окладом, нижним основанием штольни
считается верх лежана, а когда штольня крепится неполным дверным окладом - ее
подошва по поверхности грунта.
23.09. При проходке тоннеля горным способом
подсчитывается площадь всего поперечного сечения и отдельно определяются
площади выработок по стадиям разработки тоннеля (нижняя и верхняя штольни,
калотта, левая и правая боковые штроссы, средняя штросса - ядро и лоток), рис. 23.1.
Суммарные
площади по стадиям выработок должны составить одну общую площадь сечения
выработки.
Рис. 23.1. Разработка тоннеля горным
способом:
1 - верхняя штольня; 2
- калотта; 3 - средняя штросса (ядро); 4 - левая штросса; 5
- нижняя штольня; 6 - лоток; 7 - пята стены; 8 - правая
штросса; 9 - пята свода; 10 - железобетонная рубашка
23.10. Из полученного объема работ вычитается фактический
объем грунта с переборами предыдущей стадии раскрытия тоннельного профиля.
23.11. Объем средней штроссы (ядра) подсчитывается по
контуру выработки, совпадающей с принятым ранее внутренним контуром боковых
штросс. Из полученного общего объема средней штроссы исключается объем грунта
других выработок (нижняя штольня, фурнели).
23.12. Объем грунта фурнели подсчитывается по размерам в
проходке (вчерне).
23.13. Объемы уложенного бетона при сооружении тоннеля
горным способом подсчитываются на основании полученных материалов съемок
сечений по стадиям бетонирования: свод, стены, лоток, согласно пп. 23.07, 23.18.
23.14. Объем уложенного железобетона подсчитывается в
соответствии с пп. 23.13, 23.18.
23.15. Объем бетона при укладке железнодорожных путей в
тоннеле подсчитывается по данным проектных профилей и поперечным сечениям. Из
полученного объема бетона, уложенного в лоток тоннеля, исключается объем шпал и
противоугонных приямков.
23.16. При производстве замеров указываются вид обделки
сооружения (монолитная железобетонная, сборная железобетонная, чугунная и
т.п.), тип обделки, форма и размеры ее.
23.17. Вывалы грунта оформляются отдельными актами и в
объемы основных работ не включаются.
23.18. Подсчет площади сечения выработки может быть
произведен:
а) при
помощи планиметра;
б) при
помощи палетки;
в) при
помощи геометрических фигур;
г)
аналитическим способом.
23.19. Результаты месячных замеров выполненных основных
работ заносятся в специальную ведомость. Пример заполнения приведен в
приложении 23-1.
23.20. С целью учета основных работ, выполненных
строительной организацией, маркшейдерской службой ведется специальная книга, отображающая выполнение работы с
момента начала строительства. Форма заполнения в указанной книге приведена в
приложении 23-2.
23.21. В месячных актах-процентовках замеров физических
объемов работ главный маркшейдер строительства своей подписью подтверждает
только колонку фактически выполненных основных работ.
23.22. Перед началом разработки котлована при сооружении
тоннелей открытым способом необходимо иметь фактические отметки поверхности
земли. Подсчет объемов выполненных земляных работ производится на основании
высотной съемки поперечников, разбиваемых не реже чем через 10 м по
пикетажу и в характерных местах. Длина поперечников, по обе стороны от оси
сооружения, устанавливается с расчетом охвата района возможных земляных работ и
последующей планировки прилегающей территории.
23.23. Объем разработанного грунта при открытом способе
работ подсчитывается по контуру котлована или траншеи, предусмотренному
проектом организации работ.
23.24. В котлованах и траншеях, имеющих небольшой объем
работ, при проверке объем может быть определен при помощи шаблона, рейки,
ватерпаса, рулетки.
23.25. Объем разработанных котлованов и траншей с
креплением для тоннелей мелкого заложения подсчитывается по материалам
геодезических съемок и профилировок.
Для
определения объема принимается фактический контур выработки по внешней линии
крепления.
23.26. Разработка котлованов и траншей производится с
недобором до проектной отметки на 10 - 20 см. Недобранный грунт должен
удаляться непосредственно перед укладкой или бетонированием фундамента.
Котлованы в скальных грунтах должны разрабатываться сразу на полную проектную
глубину.
23.27. При взрывах на выброс предварительно разбиваются
поперечники через 10 м и в характерных местах производится съемка
существующей поверхности. После производства взрыва разбивку поперечников и
съемку поверхности повторяют вновь.
Для
подсчета объемов по полученным данным съемок поверхности в крупном масштабе (от
1:10 до 1:50) накладываются оба поперечника и подсчитывается площадь
сечения по разности площадей этих поперечников.
23.28. Замеры выемок при дноуглубительных работах
взрывным способом производятся после окончания взрывных работ через несколько
дней, когда уплотнится выброшенный взрывом грунт.
23.29. Для планировки или разработки грунта под
железнодорожное полотно подсчет объемов грунта производится в соответствии с
пп. 23.27 и 23.31.
23.30. Отклонения от проекта спланированной территории в
уклонах не должны превышать 0,001, а в уклонах водоотводных канав 0,0005.
23.31. Объем земляных работ при вертикальной планировке
может быть подсчитан по сетке квадратов
![]()
где Н1, Н2,
H3, ...,
Нп - рабочие отметки вершин квадратов;
Р -
площадь квадрата (или части, его).
Пример. Требуется определить объем выемки в квадрате
площадью (Р) 20´20 м = 400 м2 с рабочими
отметками H1 = 1,35 м,
Н2 = 0,77, Н3 = 0,47, Н4
= 1,14 м, тогда:
![]()
23.32. При строительстве дорог подсчет земляных работ
производится на основании данных продольного профиля дороги, поперечных
профилей, плана трассы и проектов искусственных сооружений. Подсчитывается
сумма объемов всех насыпей и выемок, из которой вычитаются все объемы,
занимаемые в земляном полотне мостами, трубами, подпорными стенками и пр.
за ______________
месяц ___________ года по СМУ-7
|
Наименование работ |
Единицы измерения |
||||
|
шт. |
м2 |
пог. м |
м3 |
||
|
1 |
Проходка щитом левого перегонного тоннеля d = 5,50 от Ш-808 к выходному порталу от ПК 34 + 25,30 до
ПК 34 + 65,53 |
- |
26,5 |
40,23 |
1066,1 |
|
2 |
Монтаж тюбинговых колец d = 5,50 в левом перегонном тоннеле с № 407 по № 447 от ПК
34 + 25,01 до ПК 34 + 65,21 |
40 |
- |
40,08 |
- |
|
|
Отклонения уложенных
колец от проекта: |
|
|
|
|
|
|
эллиптичность
горизонтальная от -20 до +19 мм |
40 |
- |
- |
- |
|
|
эллиптичность
вертикальная от +10 до -42 мм, отклонения колец в плане от +25 до -37 мм |
40 |
- |
- |
- |
|
|
Отклонения лотка колец в
профиле от +40 мм до -29 мм |
40 |
|
|
|
|
3 |
Установлены клиновидные
прокладки между кольцами 420 - 421 и 439 - 440 |
2 |
- |
0,120 |
- |
|
4 |
Проходка эректором
среднего станционного тоннеля d = 9,50 станции
«Выставочная» от ПК 33 + 70 до ПК 34 + 01,90 |
- |
75,7 |
33,75 |
2554,8 |
|
5 |
Монтаж тюбинговых колец
правого станционного тоннеля от № 45 до № 90 d = 9,50 от ПК 33 + 69,83 до ПК 34 + 03,58 |
45 |
- |
33,75 |
- |
|
|
Отклонения уложенных
колец от проекта: |
|
|
|
|
|
|
эллиптичность
горизонтальная от -15 до +20 мм |
45 |
- |
- |
- |
|
|
эллиптичность
вертикальная от 0 до -40 мм |
45 |
- |
- |
- |
|
|
Отклонение колец в плане
от -5 до +10 мм |
45 |
- |
- |
- |
|
|
Отклонение лотка колец в
профиле от -10 до +25 мм |
45 |
- |
- |
- |
|
6 |
Проходка нижней штольни
по правому пути камеры съезда № 1 от ПК 30 + 75 до ПК 30 + 50,10 |
- |
12,5 |
24,90 |
307,2 |
|
7 |
Бетонирование свода
щитовой камеры левого тоннеля от ПК 35 + 30,00 до ПК 35 + 35,00 |
- |
9,30 |
5 |
46,5 |
Главный
маркшейдер СМУ (стр-ва)
за _____
год по СМУ (стр-ву) _________________
|
Наименование работ |
Проект |
Фактически выполнено |
||||||||||||
|
пог. м |
м3 |
с нач. раб. |
январь |
февраль |
... |
декабрь |
Итого за год |
|||||||
|
пог. м |
м3 |
пог. м |
м3 |
пог. м |
м3 |
пог. м |
м3 |
пог. м |
м3 |
|||||
|
|
|
|
|
|
|
|
|
|
|
|
|
|
|
|
|
|
|
|
|
|
|
|
|
|
|
|
|
|
|
|
|
|
|
|
|
|
|
|
|
|
|
|
|
|
|
|
|
|
|
|
|
|
|
|
|
|
|
|
|
|
|
|
|
|
|
|
|
|
|
|
|
|
|
|
|
|
|
|
24.01. Для отображения хода строительных работ
геодезическо-маркшейдерская служба составляет и оформляет следующие документы
технической отчетности:
1. План поверхности и подземных сооружений
метрополитенов в масштабах от 1:500 до 1:5000 и тоннелей в масштабах от 1:500
до 1:10000.
2. План и профиль с геологическим разрезом в
масштабах: горизонтальном - от 1:500 до 1:10000; вертикальном - от 1:100 до 1:40000.
3. Планы-схемы в масштабах от 1:2000 до 1:10000.
4. Таблицы отклонений уложенных колец от проекта.
24.02. План поверхности и подземных сооружений
составляется на всю трассу тоннелей (участка метрополитена) на основе имеющихся
материалов топографической съемки тоннельной зоны или городских планов. Для
тоннелей с небольшой глубиной заложения на плане, составляемом непосредственно
на строительном объекте (СМУ), помимо наземной ситуации, должны быть показаны
все имеющиеся и вновь сооружаемые городские подземные коммуникации.
Ось
трассы наносится на план по координатам и вычерчивается красной тушью. Проект
строящихся подземных сооружений показывается в карандаше. На план периодически
(с месячным, а в отдельных случаях с декадным интервалом) наносятся и вычерчиваются
в соответствии с условными знаками все строящиеся наземные и подземные
сооружения и горные выработки. При закрытом способе производства работ на плане
подписываются синей тушью номера уложенных колец тоннельной обделки (каждого
десятого кольца), даты и пикетаж забоев на 1-е число каждого месяца.
При
наличии наблюдений за деформацией наземных зданий и сооружений результаты этих
наблюдений графически отображаются на плане (см. приложение 10-4). На плане показываются знаки подземной
полигонометрии, а результаты произведенных контрольных определений положения
тоннельной обделки (отклонения в плане, профиле, по пикетажу) подписываются
коричневой тушью. Кроме того, на нем отображаются все сооружаемые и
перекладываемые городские подземные коммуникации.
24.03. План и профиль с геологическим разрезом
составляются для всей трассы в целом.
Для
метрополитенов:
а) ось
трассы накладывается по координатам, наземная ситуация и проект подземных
сооружений наносятся с проектного чертежа;
б)
профиль с геологическим разрезом составляется для правого пути.
В легенде
профиля выписываются геометрические элементы трассы, уклоны и отметки головки
рельсов. Линия уровня головки рельсов наносится на профиль по отметкам, а оси
станций и стволы шахт - по пикетажу.
При сооружении железнодорожных, автодорожных и других
тоннелей составляется профиль с геологическим разрезом, а план дается
схематично, в виде прямолинейной полосы с размеченным пикетажем тоннеля, без
показания элементов трассы и ситуации. В дополнение к плану и профилю на отдельных форматках
вычерчиваются в масштабе 1:200
типовые сечения тоннеля. При разнообразии последних рекомендуется на каждом
сечении помечать пикетажные границы, в пределах которых оно применяется.
Указанный
план, профиль и график выполненных работ служат для текущего ежемесячного
пополнения выработок, отображающих ход строительства тоннелей.
24.04. Планы-схемы составляются по указаниям руководства
строительством. Масштабы и содержание их определяются в зависимости от
назначения документа.
24.05. Таблицы отклонений колец заполняются в
соответствии с образцом, приведенным в приложении 17-1.
25.01. По окончании строительства тоннеля или участка
метрополитена на все сооружения составляются исполнительные чертежи в одном или
двух экземплярах.
Ответственность
за своевременное правильное и точное составление всех исполнительных чертежей
по данному строительству возлагается на начальника строительства и главного
маркшейдера.
25.02. В процессе строительных работ производится съемка
выработок и конструкций, а также систематизация съемочного материала.
Исполнительные чертежи сооружений составляются, по мере готовности их
элементов, в процессе горно-строительных работ.
25.03. Оба экземпляра исполнительных чертежей
подписываются начальником и главным маркшейдером соответствующего строительного
объекта.
25.04. Все исполнительные чертежи составляются на
чертежной бумаге высшего качества формата 31´43 см (лист
берется немного больше с тем, чтобы после вычерчивания и чистки чертежа
обрезать его по формату).
Если при
разрезывании листа чертежной бумаги на четыре части формат 31´43 см выдержать
не удается, разрешается применять форматки меньшего размера, но не менее 29,5´41,5 см.
Чертежи небольшого размера размещаются по нескольку штук на одну форматку.
При составлении чертежей необходимо учитывать, что брошюровка и склейка
форматок в альбомах производится, как правило, по длинной стороне их.
25.05. Исполнительные чертежи располагаются на форматках
(или группе форматок) так, чтобы трасса была примерно параллельна обрезам
бумаги. При этом поля должны быть равными, а если надписывается заголовок чертежа,
то верхнее поле должно быть больше нижнего на 3 - 4 см. Исполнительные
чертежи при составлении должны располагаться однообразно по возрастанию
пикетажа, принятого для данного комплекса сооружений.
При
составлении чертежей надписи карандашом производятся выше или ниже тех мест, в
которых они позднее будут выполнены тушью.
Материал
конструкции в условных знаках карандашом не разделывается, а подписывается. Все
размеры на исполнительных чертежах подписываются в сантиметрах.
25.06. При составлении планов, имеющих большую
протяженность по трассе, направление координатной сетки рассчитывается так,
чтобы чертеж расположился на середине листа.
Чтобы
криволинейные участки трассы не выходили за пределы листа, делаются разрывы и
повороты сетки на рассчитанные углы.
25.07. Планы подземных сооружений круглого сечения
составляются на уровне горизонтального диаметра, овального - по
наибольшему горизонтальному сечению и прямоугольного - на уровне 1,70 м от
головки рельсов.
Для
сооружений, имеющих несколько этажей, составляются поэтажные планы.
25.08. На планах и продольных разрезах подземных
сооружений показываются (стрелками с указанием направления взгляда) места
поперечных сечений и подписывается пикетаж или номер сечения. Для кольца
подписывается пикетаж передней грани его, считая по возрастанию пикетажа. В
этих местах подписываются все фактические и проектные размеры и отметки,
увязанные с соответствующими размерами и отметками сечений. На сечениях
подписываются отметки верха перекрытия (кольца, блока), головки рельсов и низа
лотка (кольца, блока).
25.09. Продольные профили тоннелей круглого и овального
сечений составляются по оси сооружений. В тоннелях с плоским перекрытием и
лотком продольные профили составляются по каждому пути отдельно. Для станции в
профиле указываются отметки дренажа, расположенного под консолями платформы.
25.10. Все элементы конструкции, пересекаемые плоскостью
чертежа, показываются условными знаками соответствующего строительного
материала. Видимые элементы конструкции и архитектурной облицовки наносятся на
чертеже сплошными линиями.
Раскраска
облицовки производится по условным знакам (приложение 25-14).
25.11. Предъявлению Правительственной комиссии и сдаче
Управлению метрополитена подлежат следующие исполнительные чертежи и документы:
1. Трасса:
а)
исполнительный план и профиль трассы с геологическим разрезом (масштаб
горизонтальный 1:5000, масштаб вертикальный 1:500);
б) план
поверхности и подземных сооружений трассы (масштаб 1:500);
в)
геодезическо-маркшейдерская основа трассы;
г)
каталог путейских реперов.
2. Станции:
а) план
тоннелей станции (масштаб 1:200);
б)
продольные профили путевых тоннелей станции (масштаб горизонтальный 1:200,
масштаб вертикальный 1:100);
в)
продольный разрез по оси среднего тоннеля станции (масштаб 1:100 или 1:200);
г) план
служебных помещений станции (масштаб 1:100 или 1:200);
д)
поперечные сечения станции (масштаб 1:100 или 1:50);
е)
продольные разрезы служебных и подсобных сооружений станции (масштаб 1:100 или
1:200);
ж) поперечные
сечения служебных и подсобных сооружений станции (масштаб 1:50 или 1:100).
3. Вестибюли:
а)
поэтажные планы вестибюля (масштаб 1:100);
б)
продольный разрез вестибюля (масштаб 1:100);
в)
поперечные разрезы вестибюля (масштаб 1:100).
4. Наклонные ходы (тоннели):
а) план
наклонного хода (масштаб 1:100 или 1:200);
б)
продольный разрез наклонного хода (масштаб 1:100 или 1:200);
в)
поперечные сечения наклонного хода (масштаб 1:50).
5. Перегонные тоннели:
а) план
перегонных тоннелей (масштаб 1:200 или 1:500);
б)
продольные профили перегонных тоннелей (масштаб горизонтальный 1:200 или
1:500, масштаб вертикальный 1:100 или 1:200);
в)
поперечные сечения перегонных тоннелей (масштаб: 1:50);
г)
таблицы сечений перегонных тоннелей;
д)
продольные разрезы служебных и подсобных сооружений перегона (масштаб 1:100 или
1:200);
е)
поперечные сечения служебных сооружений перегона (масштаб 1:50 или 1:100);
ж) планы
присоединения скважин к городским коммуникациям (масштаб. 1:500);
з)
продольные профили присоединения скважин к городским коммуникациям (масштаб
горизонтальный 1:500, масштаб вертикальный 1:100).
6. Стволы, околоствольные сооружения и выработки:
а)
вертикальные разрезы ствола (масштаб 1:200);
б)
поперечные сечения ствола (масштаб 1:50);
в) планы
вентиляционных сооружений (масштаб 1:100 или 1:200);
г)
продольные разрезы вентиляционных сооружений и околоствольных выработок
(масштаб 1:200 или 1:100);
д)
поперечные сечения вентиляционных сооружений и околоствольных выработок
(масштаб 1:50).
7. Открытое железнодорожное полотно:
а) план
станции (масштаб 1:200);
б) план
перегона (масштаб 1:500);
в)
продольный профиль перегона (масштаб горизонтальный 1:500, масштаб вертикальный
1:200);
г)
продольный профиль (разрез) станции (масштаб 1:100 или 1:200);
д)
поперечные сечения перегона (масштаб 1:100);
е)
поперечные сечения станции (масштаб 1:100 или 1:50).
8. Депо и городские подземные коммуникации:
а) план
участка депо (масштаб 1:500);
б)
продольный профиль земляного полотна (масштаб горизонтальный 1:500, масштаб
вертикальный 1:100);
в)
поперечные разрезы земляного полотна путей участка депо (масштаб 1:100 или
1:200);
г)
продольные профили городских подземных коммуникаций (масштаб горизонтальный
1:500, масштаб вертикальный 1:100).
Выбор
масштабов при составлении исполнительных чертежей, указанных в п. 25.11,
согласовывается с Геодезическо-маркшейдерским управлением
Главтоннельметростроя.
Чертежи
по трассе
25.12. Исполнительные план и профиль (совмещенные)
составляются в масштабах: горизонтальный 1:5000, вертикальный 1:500. Профиль
трассы с геологическим разрезом составляется на чертеже только по оси правого
тоннеля. На геологическом разрезе вычерчиваются продольные разрезы тоннеля,
наклонные ходы и стволы шахт. В легенде выписываются элементы горизонтальных и
вертикальных кривых, уклоны и отметки головок рельсов как по правому, так и по
левому путям. На плане трассы указываются наземная ситуация (кварталы, водоемы
и пр.) и подземные сооружения метрополитена.
25.13. План поверхности трассы в масштабе 1:500
составляется на основе городского плана. На плане показываются вновь
построенные постоянные наземные сооружения (вестибюли, тяговые подстанции,
вентиляционные будки и пр.), а также все подземные сооружения метрополитена,
забученные выработки и скважины, сооруженные в процессе строительства для
хозяйственных нужд. Кроме того, на планах открытого способа работ показываются
все городские подземные коммуникации, перекладываемые или сооружаемые
строительством.
25.14. Схемы расположения пунктов наземной, подземной
полигонометрии и нивелирных реперов составляются в масштабах 1:5000 с
показанием городских кварталов и контуров тоннелей.
Составляются:
а)
каталоги пунктов наземной и подземной полигонометрии;
б)
каталог отметок реперов на поверхности;
в)
описание пунктов подземной полигонометрии;
г)
каталог координат стволов шахт.
Каталоги
и описания составляются по формам, приведенным в приложениях 25-1,
25-2,
25-3,
25-4, 25-5.
В нижних
строках форм каталогов указана ширина колонок в миллиметрах.
25.15. Каталог путейских реперов составляется по форме,
приведенной в приложении 21-2.
Проектные
отметки реперов (ближайшего рельса) подсчитываются по фактическому пикетажу
реперов.
В
каталоге, в колонках «Геометрические элементы пути», «Наименование элемента»
показываются: начала и концы переходных кривых (НПК и КПК), начала и концы
круговых кривых (НКК и ККК), начала и концы возвышений рельса (НВ и КВ), начала
и концы полного возвышения рельса (НПВ и КПВ), начала и концы вертикальных
сопрягающих кривых (НВСК и КВСК), переломы профиля или середины вертикальных
сопрягающих кривых (ПП-СВСК), оси станций.
В
колонках «Числовое значение» показываются данные геометрических элементов пути:
прямые (Пр), длины переходных кривых (L), длины круговых кривых (Кр), величины смещений
круговых кривых (Z),
величины углов поворота (Уг), радиусы круговых кривых (R), тангенсы (T), уклоны (i), биссектрисы (Б), параметры (С) и другие
необходимые элементы.
Станции
25.16. План тоннелей станции составляется в масштабе
1:200. На плане показываются сопряжения станции с перегонными тоннелями,
служебные и станционные сооружения (понизительные подстанции, вентиляционные и
санитарные узлы и др.), стволы и околоствольные выработки (в том числе и
забученные). Для станций мелкого заложения показываются также подземные
вестибюли. Все построения на чертеже ведутся от осей пути, накладка которых
производится по координатам.
25.17. На планах, кроме основной конструкции,
отображаются платформа, зонт, облицовка, ниши, дренажные лотки, трубы и
колодцы, осадочные швы, пути, 3-й рельс, светофоры, автостопы, релейные шкафы,
дроссельные ящики, изолированные стыки рельсов и др.
25.18. На планах подписываются размеры от оси пути, а для
среднего тоннеля - от оси тоннеля до стен, колонн и других элементов
конструкции, необходимые для полной характеристики сооружения, а также пикетажи
начала и конца станции, осей камер, ниш, дренажных колодцев, автостопов,
светофоров, изолированных стыков и др. За начало и конец станции принимаются
при закрытом способе работ пикеты торцовых стен станции в свету, при открытом -
пикеты торцовых стен крайних станционных сооружений (см. п. 25.16),
расположенных между тоннелями в начале и конце станции.
25.19. Продольные профили путевых тоннелей станции
составляются в масштабах: горизонтальный 1:200, вертикальный 1:100. На них
показываются поверхность земли, конструкция тоннелей и сопряжения с перегонами.
В нижней части чертежа дается легенда профиля. Профили составляются в границах
плана станции (см. п. 25.18).
25.20. Продольные профили накладываются от линии
условного горизонта, которому придаются два значения отметок, с таким расчетом,
чтобы низ сооружения располагался от этой
линии примерно в 5 - 10 см, а поверхность земли в 20 - 25 см. При
больших уклонах допускаются разрывы профиля как для сооружения, так и для
поверхности земли. На крутом рельефе допускается также применение дополнительных
клапанов к форматкам.
25.21. Легенда профиля составляется по образцу,
приведенному в приложении 25-6. В левой
части образца даны размеры граф в миллиметрах. Заполнение легенды профиля
производится в местах составляемых поперечных сечений, а также в промежутках
между ними на характерных местах, примерно через 20 м по пикетажу. В
графе «Отметка верха перекрытия» для кольца указывается верх верхнего тюбинга
(блока), а для низа лотка - низ тюбинга (блока). Отметки головки рельсов
указываются проектные, поверхности земли - фактические, все остальные -
фактические и проектные.
25.22. На продольных профилях показываются проекции
контуров сооружений (выходы вентиляционных тоннелей, камер, пилонов, колонн и
пр.) и архитектурной облицовки, расположенных с правой стороны от оси тоннеля -
при ходе пикетажа на профиле справа налево, и с левой стороны - при ходе
пикетажа слева направо.
25.23. Поперечные сечения станции составляются в масштабе
1:100 или 1:50 с показанием в условных знаках осей тоннелей, уровня головки
рельсов, материала стен, лотка, свода и платформ, облицовки, жесткого
основания, шпал, рельсов, 3-го рельса, дренажных лотков и труб, нагнетания за
обделку тоннеля, крепи, оставленной в бетоне, и пр.
25.24. На поперечных сечениях показываются в цифрах
толщины стен, свода, лотка, железобетонной рубашки, подготовки, защитного слоя,
а также расстояния от оси тоннеля до оси пути, до стен, платформ, колонн и др.
Размеры облицовки включаются в размеры толщины стен, колонн и пр., если
облицовка наносится на эти конструкции непосредственно. Во всех других случаях
указываются отдельно толщины всех конструктивных элементов. Толщина оклеечной и
металлической изоляции суммируется с толщиной защитного слоя или бетонной
подготовки.
25.25. Продольный разрез по оси среднего тоннеля,
продольные разрезы и поперечные сечения служебных и подсобных сооружений
станции (понизительные подстанции, санузлы, пересадочные переходы и пр.)
составляются с выполнением всех требований, указанных в пп. 25.04, 05, 08, 10, 23 и 24.
Все
служебные и подсобные помещения показываются на плане станции, подписываются их
названия и размеры.
В
необходимых случаях для этих помещений могут составляться отдельные планы в
масштабе 1:100 или 1:200.
Вестибюли
25.26. Поэтажные планы, продольные и поперечные разрезы
вестибюля составляются в масштабе 1:100 с отображением основной конструкции
вестибюля, его архитектурного оформления и облицовки. Составляются один продольный
разрез, который вычерчивается вместе с наклонным ходом, и 1 - 2 поперечных
разреза (см. пп. 25.04, 05, 08, 10, 23 и 24)
Наклонные
ходы
25.27. План и продольный разрез наклонного хода
составляются совместно с натяжной камерой, машинным помещением и вестибюлем в
масштабе 1:100 или 1:200. На них показываются основная конструкция, фундаменты,
дренажные устройства, архитектурная облицовка и др. План самого наклонного хода
составляется в плоскости его оси. На чертежах показываются линии и точки
пересечения плоскости оси наклонного хода с уровнем чистого пола вестибюля и
станции, подписывается их пикетаж, а также все размеры конструктивных элементов
(см. пп. 25.04, 05, 08, 10).
25.28. Поперечные сечения составляются по машинному
помещению в масштабе 1:100 или 1:50, по наклонному ходу и натяжной камере - в
масштабе 1:50 в соответствии с указаниями пп. 25.04, 05, 10, 23, 24.
Перегонные
тоннели
25.29. План перегонных тоннелей составляется в масштабе
1:200 или 1:500 с показанием на нем всех подземных сооружений и выработок, в
том числе и забученных.
При
значительном удалении околоствольных выработок от трассы разрешается
составление отдельного плана их, обязательно с координатной сеткой.
25.30. План составляется с выполнением всех требований
указанных в пп. 25.04, 05, 06, 07, 08, 17, а также
п. 25.18, за исключением размеров от оси до стен. Номер
кольца в местах сечений не подписывается.
Для
криволинейных участков на плане показываются разбивочная ось для всех типов
тоннелей, а для тоннелей прямоугольного очертания и тоннелей с двумя и более
путями - также и оси путей. В однопутных тоннелях круглого очертания
показываются разбивочная ось и ось тоннеля.
25.31. Продольные профили перегонных тоннелей
составляются в масштабах: горизонтальный 1:200 или 1:500 и вертикальный 1:100
или 1:200. При этом соблюдаются требования, указанные в пп. 25.04, 05, 09, 19, 20, 21.
25.32. На профиле перегонного тоннеля показываются
проекции видимых проемов в обделке, расположенных с правой и левой сторон его,
по следующему принципу: при ходе пикетажа на плане слева направо - проекции
контуров сооружений, расположенных с левой стороны от оси тоннеля (по ходу
пикетажа), вычерчиваются сплошными линиями, с правой - пунктиром, при ходе
пикетажа справа налево - наоборот.
Наименования
сооружений и пикетаж их осей подписываются.
25.33. Пикеты начала и конца плана и профилей перегонных
тоннелей определяются в соответствии с указаниями пп. 25.18 и 25.19. Должно
быть обеспечено перекрытие чертежей с планом и профилями станции в пределах
двух метров по пикетажу.
25.34. В том случае, когда приняты масштабы 1:500 (см. п.
25.11, 5а и б), на чертежах разделку конструкций в
условных знаках можно не производить, но пикетаж границ типов обделок и
наименование их должны быть подписаны.
25.35. Поперечные сечения перегонных тоннелей
составляются в масштабе 1:50, на прямых участках - через 20 м, на
горизонтальных кривых - через 10 м, а также дополнительно - в
характерных местах.
Во всех
случаях, когда это возможно, составляются типовые поперечные сечения с
показанием проектных размеров (красной тушью), а результаты съемки вписываются
в таблицы. Отдельные образцы таблиц приведены в приложениях 25-7,
25-8,
25-9.
25.36. На поперечных сечениях показываются те же оси, что
и на плане (см. п. 25.30). Расстояния между путями даются в миллиметрах.
25.37. Поперечные сечения камер съездов составляются в
масштабе 1:50 или 1:100, не менее одного сечения на каждую камеру. Составление
сечений производится в соответствии с указаниями пп. 25.04, 05, 10, 23, 24.
25.38. Продольные разрезы и поперечные сечения служебных
помещений перегона (санузлы, дренажные перекачки и др.) составляются с
выполнением всех требований, указанных в пп. 25.04, 05, 08, 10, 23, 24. В
отношении планов этих помещений руководствуются указаниями п. 25.25.
25.39. На все забученные выработки (соединительные ходы,
штольни и пр.) составляются исполнительные продольные разрезы в масштабе 1:100 или 1:200 и поперечные
сечения в масштабе 1:50 или 1:100 со всеми необходимыми размерами и отметками.
25.40. Вертикальные разрезы ствола шахты составляются в
масштабе 1:200 по двум основным осям с показанием конструкции ствола, его
внутренних и защитных устройств, а также фактического геологического разреза с
отметками контактов пород. Величины радиусов и толщины обделки подписываются на
разрезах через 10 м и в характерных местах.
25.41. Поперечные сечения ствола шахты составляются в
масштабе 1:50, одно по форшахте и другое - типовое, по стволу. Составление
сечений производится в соответствии с указаниями пп. 25.04, 05, 10, 23, 24.
25.42. Продольные разрезы околоствольных сооружений, а
также планы верхнего горизонта (вентиляционные тоннели, кабельные коллекторы и
др.) составляются в масштабе 1:200 или 1:100 (в зависимости от протяженности и
сложности сооружений).
25.43. Планы околоствольных сооружений (верхнего
горизонта) должны иметь координатную сетку. Поперечные сечения составляются в
масштабе 1:50 или 1:100 (см. пп. 25.04, 05, 08, 10, 23, 24, 25).
Открытое
железнодорожное полотно, депо, городские подземные коммуникации
25.44. План перегона составляется в масштабе 1:500. По
ширине план составляется в пределах ограждающего забора с показанием всего
путевого хозяйства, дренажных лотков, линии откосов и пр. (см. п. 25.17). В
необходимых случаях показываются элементы ситуации за пределами забора. На
плане также показывают все переложенные или сооруженные городские коммуникации.
25.45. Продольный профиль перегона составляется по оси
междупутья в масштабах: горизонтальном 1:500, вертикальном 1:200 (форму легенды
см. приложение 25-10).
25.46. Продольный профиль (разрез) станции составляется
по оси междупутья в масштабах: горизонтальном 1:100 или 1:200 и вертикальном
1:100 (форму легенды см. приложение 25-10).
25.47. Поперечные сечения перегона составляются через 50 м
по пикетажу в масштабе 1:100.
25.48. Поперечные сечения станций и вестибюлей (в
характерных местах), составляются в масштабах 1:100 или 1:50.
25.49. Поэтажные планы вестибюлей делаются в масштабе
1:100.
25.50. План участка вагонного депо составляется в
масштабе 1:500 с показом наземной ситуации, сооружений, путей, 3-го рельса,
светофоров, стрелочных переводов и пр., а также всех городских подземных
коммуникаций (канализация, водосток, электрокабель и др.).
25.51. Продольный профиль земляного полотна от рампы до
здания депо составляется по оси главного пути в масштабе: горизонтальном 1:500,
вертикальном 1:100 с показанием всех пересекаемых городских подземных
коммуникаций (дренажные канавы, коллекторы, кабели и пр.). В легенде профиля
подписываются: 1 графа - пикетаж, 2 - расстояния, 3 - отметки поверхности
земли, 4 - отметки земляного полотна, 5 - отметки головки рельсов и 6 - уклоны.
Размеры граф: гр. 1 - 15 мм, гр. 2 - 7,5 мм, гр. 3, 4 и 5 - по 15
мм, гр. 6 - 10 мм.
25.52. Поперечные профили по участку депо, привязанные к
оси главного пути, составляются в масштабе 1:100 в характерных местах, но не
реже чем через 50 м по пикетажу. На поперечных профилях показываются все
пересекаемые другие пути, сооружения и коммуникации.
25.53. На все сооруженные в процессе строительства
подземные коммуникации и сооружения (водосток, канализация и пр.) составляются
планы в масштабе 1:500 и продольные профили с показанием поверхности земли,
труб, колодцев и пр. Масштабы профиля: горизонтальный 1:500, вертикальный
1:100. В легенде профиля подписываются: 1 графа - отметки поверхности земли, 2
- отметки лотка колодца и труб, 3 - уклоны и расстояния, 4 - диаметры и
материал труб, 5 - номера колодцев. Размеры граф: гр. 1 и 2 - по 15 мм, гр.
3, 4 и 5 - по 10 мм.
25.54. Исполнительные чертежи на наземные сооружения (тяговые
подстанции, вагонное депо) не составляются.
Управлению
метрополитена сдаются проектные чертежи (синьки), в которые внесены изменения,
допущенные при строительстве. Эти чертежи подготовляются и сдаются
соответствующей строительной организацией.
25.55. При строительстве железнодорожных,
гидротехнических, автодорожных и других тоннелей составляются следующие
исполнительные чертежи в одном экземпляре:
а) план
участка строительства (масштаб 1:1000 - 1:100000);
б) план
поверхности надтоннельной зоны (масштаб 1:500 - 1:5000);
в)
профиль трассы с геологическим разрезом (масштаб горизонтальный 1:500 - 1:5000,
вертикальный 1:500);
г) план
тоннеля (масштаб 1:200 или 1:500);
д) продольный
профиль тоннеля (масштаб горизонтальный 1:200 или 1:500, масштаб вертикальный
1:100 или 1:200)
е)
продольный профиль дренажа тоннеля (масштаб горизонтальный 1:200 или 1:500,
масштаб вертикальный 1:50).
ж)
поперечные сечения тоннеля (масштаб 1:50 или 1:100);
з) для
портала и предпортальной выемки (если она выполняется организацией, строющей
тоннель): план (масштаб 1:200), продольный профиль (масштаб горизонтальный
1:200, вертикальный 1:100), поперечные сечения (масштаб 1:100). При
значительной протяженности выемки масштаб плана может быть изменен и принят
более мелким;
и) фасад
и продольный разрез портала (масштаб 1:100);
к) планы
и продольные разрезы вентиляционных сооружений (масштаб 1:100);
л)
поперечные сечения вентиляционных сооружений (масштаб 1:50, 1:100);
м) схема
и каталоги геодезическо-маркшейдерской основы.
Примечания. 1. Выбор масштабов
чертежей по пунктам «а», «б» и «в» обусловливается наличием топографического
материала и протяженностью тоннельных сооружений.
2. При значительной протяженности тоннеля прямолинейной
формы разрешается по пунктам «г» и «д» составлять объединенный план и профиль в
масштабах: горизонтальном 1:500, вертикальном 1:200.
3. При наличии в тоннеле большого сечения двух дренажных
лотков разрешается (по пункту «е») составлять совмещенный профиль.
25.56. План участка строительства и планы надтоннельных
зон составляются на основе существующих топографических материалов с показанием
ситуации, рельефа и тоннельных подземных сооружений.
25.57. Профиль трассы с геологическим разрезом
составляется по данным геологических изысканий.
В легенде
показываются следующие данные: номера колец, длина колец, типы сечений и
обделки, пикетаж характерных точек трассы и сооружений, расстояния, отметки
поверхности земли, отметки головки рельсов, уклоны и элементы
вертикальных кривых, геометрические элементы трассы в плане.
25.58. Планы, продольные профили, разрезы и поперечные
сечения тоннельных сооружений составляются с выполнением требований, указанных
в пп. 25.04, 10, 23, 24, 29, 30, 34, 35, 36.
Во всех
возможных случаях составляются типовые поперечные сечения с показанием
проектных размеров (красной тушью). Цифровые результаты съемки записываются в
таблицы. В приложении 25-11 дан пример составления таблицы для
тоннеля, сооружаемого без обделки, а в приложениях 25-12 и 25-13
- примеры составления таблицы для двух типов тоннеля.
25.59. На планах порталов и предпортальных выемок
показываются ситуация, рельеф (за линией выемки), а также водоотливные
устройства, кюветы и пр.
В местах
поперечных сечений подписываются фактические, проектные размеры и пикетаж.
25.60. В легенде продольного профиля предпортальной
выемки указываются следующие данные: пикетаж характерных точек, расстояния,
отметки поверхности, подошвы выемки и уклоны. Поперечные сечения - составляются
на характерные места, но не реже чем через 50 м.
25.61. Фасад и продольный разрез портала составляются с
показанием основной конструкции и размеров, архитектурного оформления и
облицовки. На чертеже показываются линии откосов.
25.62. Схемы геодезическо-маркшейдерской основы указанных
тоннелей составляются в масштабе 1:2000 - 1:5000. Масштаб схемы зависит от
длины тоннеля и вида обоснования. Для тоннелей небольшой протяженности
разрешается вместо составления схемы подземной основы показывать
полигонометрические знаки и реперы непосредственно на плане тоннеля. Каталоги
геодезическо-маркшейдерской основы составляются по формам пп. 25.14.
25.63. При строительстве каких-либо подземных сооружений,
примыкающих к существующим тоннелям, а также при перестройках и доделках в этих
тоннелях в процессе строительства необходимо отражать все изменения на
исполнительных чертежах.
25.64. До вычерчивания исполнительных чертежей проводится
корректура составления их, в процессе которой особое внимание обращается на
согласованность и взаимную увязку планов, разрезов и сечений как по отдельным
сооружениям, так и в местах примыкания одних сооружений к другим (в узлах
сопряжений).
25.65. При корректуре проверяют правильность цифрового
материала, а также графического изображения элементов сооружений в принятом
масштабе.
Необходимо
следить за тем, чтобы одни и те же элементы конструкции, изображенные на плане,
разрезах и сечениях, были обозначены одними и теми же условными знаками,
отображающими материал сооружения (бетон, железобетон, тюбинги и др.), а также
за правильностью подписей пикетажа на сечениях, планах и разрезах.
25.66. При корректуре составленные чертежи сверяются с
данными съемки и с проектными чертежами.
25.67. Вычерчивание исполнительных чертежей подземных
сооружений производится в следующем порядке:
а)
вычерчиваются кресты координатной сетки, ось трассы, пикеты, легенда и линия
уровня головки рельсов;
б)
вычерчиваются линии контуров элементов конструкций;
в)
вычерчиваются пояснительные надписи и цифры;
г)
производится разделка чертежа в условных знаках;
д)
вычерчиваются заголовки и другие оформительские надписи;
е)
производится вычерчивание и окраска архитектурной облицовки.
Примечание. Линии радиусов,
необходимые для составления чертежей с овальным очертанием, не вычерчиваются.
25.68. При вычерчивании чертежей соблюдаются следующие
толщины линий:
а) линии
условного горизонта и геометрических элементов трассы - 0,6 мм;
б)
металлические конструкции, станционные тюбинги, рельсы, 3-й рельс, облицовка,
стрелки (указывающие места сечений) - 0,5 мм;
в)
перегонные тюбинги и гидроизоляция - 0,4 мм;
г) линии
элементов конструкций, пересекаемые плоскостью чертежа, контакты геологических
пород, линии подземной ситуации и легенды профилей - 0,2 мм;
д) линии
разделки конструкций и геологических пород (в условных знаках), а также линии
проектирующихся на плоскость чертежа контуров - 0,15 мм;
е) кресты
координатной сетки, осевые и размерные линии - 0,1 мм.
При
вычерчивании 3-го рельса на поперечных сечениях применяется трафарет.
25.69. Вычерчивание и разделка элементов конструкций, а
также окраска архитектурной облицовки в исполнительных чертежах метрополитенов
и тоннелей производится в соответствии с условными знаками (см. приложение 25-14).
25.70. Вычерчивание планов поверхности, геологических разрезов
и надписей на них производится в соответствии с принятыми условными знаками для
топографических планов и геологических разрезов.
В
приложении 25-15 в виде образца даны условные знаки
для геологических разрезов, принятые на строительстве Московского
метрополитена.
25.71. Вычерчивание пояснительных надписей и цифр на
исполнительных чертежах, а также описей чертежей в альбомах производится
нормальным шрифтом, заголовки вычерчиваются кирпичным шрифтом (см. приложения 25-16 и 25-17).
Заглавные
(титульные) листы к альбомам чертежей вычерчиваются кирпичным шрифтом с
оттенками (художественным).
25.72. Фактические размеры и отметки надписываются черной
тушью (в числителе), проектные - красной (в знаменателе). Расстояния между
строками фактических и проектных размеров - 2 мм.
Кресты
координатной сетки и числовые значения абсцисс и ординат вычерчиваются синей
тушью.
25.73. При вычерчивании надписей соблюдаются следующие
размеры:
|
2 мм |
|
|
Оформительские надписи в правом нижнем углу чертежа
(подписи) и описи чертежей |
2 » |
|
Оформительские надписи в верхних углах чертежей,
все надписи в каталогах описаниях геоосновы, в каталогах путейских реперов и
таблицах сечений |
2,5 мм |
|
Пояснительные надписи к коническим прокладкам на
планах |
1,5 » |
25.74. Линии, обозначающие места сечений и разрезов,
вычерчиваются длиной (от контура сооружения до стрелки):
25 мм - в случае подписей над этой линией
пикетажа;
15 мм - в случае подписей против стрелки цифры.
Длина
стрелок, обозначающих направление взгляда, - 5 мм.
Номер
сечения (цифра арабская) подписывается против стрелки кирпичным шрифтом высотой
3 мм.
25.75. Заголовки на исполнительных чертежах по высоте
располагаются примерно посередине между обрезом форматки и верхом контура
сооружения.
По
горизонтали заголовки на чертежах располагаются:
на одной
форматке - симметрично ее боковым обрезам;
на двух форматках
- симметрично линии разреза форматок;
на трех
форматках - симметрично обрезам второй форматки;
на
четырех и более форматках - симметрично обрезам первой форматки.
Размеры
букв заголовков чертежей зависят от размеров чертежа (см. приложение 25-17).
25.76. В левом нижнем углу обратной стороны каждого
чертежа ставится штамп, в котором указываются фамилии составителя, корректора и
чертежника, а также инвентарный номер чертежа и дата его выпуска.
25.77. По окончании вычерчивания исполнительных чертежей
производится детальная и общая корректура, после чего брошюруют их в альбомы.
25.78. Брошюровка чертежей в альбомы производится для
отдельного радиуса или линии метрополитена, при этом чертежи по каждой станции,
перегону между станциями, тупикам, соединительным и вытяжным веткам, депо
брошюруются в отдельный альбом.
По
железнодорожным, автодорожным, гидротехническим и другим тоннелям брошюровка
чертежей производится по отдельным тоннелям (или группе малых тоннелей) или, в
случае большой протяженности тоннеля, - по видам чертежей (планы, профили,
сечения и пр.).
Порядковый
номер чертежей подписывается после подборки их в альбом. Затем составляется
опись чертежей.
25.79. В приложениях 25-18, 25-19, 25-20, 25-21, 25-22 даны
образцы составления и вычерчивания исполнительных чертежей.
|
|
№ ПЗ |
Координаты |
Дирекционные углы |
Длина линий |
На пункт |
|
||
|
Y |
X |
|||||||
|
|
86 |
62116,221 |
95121,251 |
21°36¢22² |
96,723 |
30 |
|
|
|
17 |
17 |
25 |
25 |
25 |
25 |
17 |
5 |
|
Продолжение
|
|
№ ПЗ |
Координаты |
Дирекционные углы |
Длина линий |
На пункт |
|
|
|
|
Y |
X |
|||||
|
|
6 |
62231,111 |
96211,121 |
36°21¢47² |
131,121 |
36 |
|
|
5 |
17 |
25 |
25 |
25 |
25 |
17 |
15 |
|
|
№ ПЗ |
Координаты |
Дирекционные углы |
Длина линий |
На пункт |
№ ПЗ |
|
|
|
Y |
X |
|||||||
|
|
150 |
78321,223 |
95678,304 |
|
|
617,568 |
321 |
|
|
|
|
|
|
36°23¢36² |
171,121 |
|
|
|
|
55 |
25 |
30 |
30 |
30 |
30 |
30 |
25 |
55 |
От ПК
__________ до ПК ___________
От ПК
_______________ до ПК ________________
Схема профилирования
|
Отметки |
Размеры |
Смещение оси пути от разбивочной оси |
||||||||||
|
от УГР |
толщина подготовки |
от оси пути |
||||||||||
|
головки рельсов |
верха перекрытия (блока) |
дна дренажного лотка |
низа лоткового блока |
до низа перекрытия (блока) |
до верха лоткового блока |
до левой стены |
до правой стены |
|||||
|
на уровне верха нижнего вута |
на уровне низа верхнего вута |
на уровне верха нижнего вута |
на уровне низа верхнего вута |
|||||||||
|
130 + 10,00 |
163,710 |
168,21 |
163,18 |
162,84 |
400 |
57 |
20 |
230 |
230 |
190 |
190 |
0 |
|
20 |
15 |
15 |
15 |
15 |
9 |
9 |
9 |
9 |
9 |
9 |
9 |
9 |
|
Отметки |
Размеры |
Смещение оси пути от разбивочной оси |
||||||||||
|
от УГР |
толщина подготовки |
от оси пути |
||||||||||
|
головки рельсов |
верха перекрытия (блока) |
дна дренажного лотка |
низа лоткового блока |
до низа перекрытия (блока) |
до верха лоткового блока |
до левой стены |
до правой стены |
|||||
|
на уровне верха нижнего вута |
на уровне низа верхнего вута |
на уровне верха нижнего вута |
на уровне низа верхнего вута |
|||||||||
|
150 + 60 |
162,770 |
167,25 |
162,25 |
161,94 |
398 |
53 |
21 |
230 |
230 |
192 |
192 |
0 |
|
20 |
15 |
15 |
15 |
15 |
9 |
9 |
9 |
9 |
9 |
9 |
9 |
9 |
От ПК
______________ до ПК _____________
Схема
профилирования
|
Пикетаж сечений |
Отметки |
Размеры |
Смещение оси пути от разбивочной оси |
|||||||||
|
от УГР |
толщина подготовки |
от оси пути |
||||||||||
|
головки рельсов |
верха перекрытия (блока) |
дна дренажного лотка |
низа лоткового блока |
до низа перекрытия (блока) |
до верха лоткового блока |
до левой стены |
до правой стены |
|||||
|
на уровне верха нижнего вута |
на уровне низа верхнего вута |
на уровне верха нижнего вута |
на уровне низа верхнего вута |
|||||||||
|
130 + 50,00 |
163,800 |
168,30 |
163,27 |
162,92 |
400 |
58 |
17 |
232 |
233 |
188 |
188 |
0 |
|
20 |
15 |
15 |
15 |
15 |
9 |
9 |
9 |
9 |
9 |
9 |
9 |
9 |
|
Пикетаж сечений |
Отметки |
Размеры |
Смещение оси пути от разбивочной оси |
|||||||||
|
от УГР |
толщина подготовки |
от оси пути |
||||||||||
|
головки рельсов |
верха перекрытия (блока) |
дна дренажного лотка |
низа лоткового блока |
до низа перекрытия (блока) |
до верха лоткового блока |
до левой стены |
до правой стены |
|||||
|
на уровне верха нижнего вута |
на уровне низа верхнего вута |
на уровне верха нижнего вута |
на уровне низа верхнего вута |
|||||||||
|
130 + 50,00 |
163,800 |
168,30 |
163,27 |
162,94 |
400 |
56 |
19 |
229 |
229 |
213 |
212 |
0 |
|
20 |
15 |
15 |
15 |
15 |
9 |
9 |
9 |
9 |
9 |
9 |
9 |
9 |
От ПК
_______________ до ПК ________________
|
Отметки |
Размеры |
|||||||||||||
|
головки рельсов |
дна дренажного лотка |
до левой стены |
до свода |
|||||||||||
|
1 |
2 |
3 |
4 |
5 |
6 |
7 |
8 |
9 |
10 |
11 |
12 |
|||
|
5 + 60,00 |
127,450 |
126,50 |
261 |
251 |
298 |
285 |
272 |
273 |
265 |
255 |
265 |
296 |
254 |
251 |
|
20 |
20 |
20 |
12 |
12 |
12 |
12 |
12 |
12 |
12 |
12 |
12 |
12 |
12 |
12 |
|
Толщина лотка |
Смещение оси пути от разбивочной оси |
||||||||||
|
до правой стены |
до лотка |
по вертикали |
|||||||||
|
13 |
14 |
15 |
16 |
17 |
18 |
19 |
20 |
21 |
22 |
23 |
|
|
256 |
285 |
293 |
264 |
275 |
63 |
80 |
80 |
80 |
73 |
20 |
0 |
|
12 |
12 |
12 |
12 |
12 |
12 |
12 |
12 |
12 |
12 |
12 |
12 |
1 - разработанный профиль; 2
- проектное очертание тоннеля
От ПК
____________ до ПК _____________
От ПК
___________ до ПК ____________
|
Отметки |
Размеры |
|||||||||||||
|
головки рельсов |
дна дренажного лотка |
до левой стены |
до свода |
до правой стены |
до лотка |
по вертикали |
||||||||
|
1 |
2 |
3 |
4 |
5 |
6 |
7 |
8 |
9 |
10 |
11 |
12 |
|||
|
10 + 35,00 |
110,295 |
109,34 |
265 |
270 |
255 |
254 |
240 |
251 |
245 |
260 |
251 |
61 |
200 |
108 |
|
20 |
20 |
15 |
10 |
10 |
10 |
10 |
10 |
10 |
10 |
10 |
10 |
10 |
10 |
10 |
|
Смещение оси пути от разбивочной оси |
||||||||||||||||||||
|
13 |
14 |
15 |
16 |
17 |
18 |
19 |
20 |
21 |
22 |
23 |
24 |
25 |
26 |
27 |
28 |
29 |
30 |
31 |
32 |
|
|
85 |
56 |
46 |
36 |
42 |
53 |
76 |
80 |
45 |
42 |
44 |
55 |
45 |
42 |
45 |
70 |
55 |
45 |
42 |
20 |
0 |
|
7 |
7 |
7 |
7 |
7 |
7 |
7 |
7 |
7 |
7 |
7 |
7 |
7 |
7 |
7 |
7 |
7 |
7 |
7 |
7 |
7 |
|
Железобетон. Шаг штриховки от 1 до 3 мм в зависимости от площади
разделки |
Железобетонные плиты. Шаг штриховки 1,5 мм. Направление штриховки
менять, в смежных плитах на противоположное |
||
|
Бетон |
Защитн. слой гидроизоляция,
стяжка, подготовка. М 1:100
- линии защитного слоя, подготовки и стяжки показываются условно по 0,5 мм. В
более крупных масштабах подготовка стяжка и защитный слой вычерчиваются в
масштабе. Гидроизоляция проводится сплошной линией толщиной 0,4 мм |
||
|
Тощий бетон. Кружки делаются в два раза реже, чем в бетоне |
Двутавровые балки и
швеллера. Во
всех масштабах вычерчиваются по фактическим размерам с выноской указывающей №
балки или швеллера |
||
|
Бетон с изюмом |
Облицовка плиткой пола. Дается выноска с надписью, какая плитка |
||
|
Песок-засыпка |
Асфальт. Дается выноска с надписью асфальт |
||
|
Забутовка камнем |
Брусчатка мостовой. М 1:100 |
||
|
Забутовка породой |
Брусчатка мостовой. М 1:50 |
||
|
Щебенка |
Деревянный пол. Вычерчивается в масштабе с выноской «паркет» или «доски» |
||
|
Шлак |
Поверхность земли |
||
|
Шлакобетон. Размеры кирпичей делаются в масштабе |
Торцы досок |
||
|
Бутовая кладка. М 1:30 Размеры бута - 3 мм на 8 мм. В более мелких масштабах,
при малых контурах разделки, размеры бута уменьшаются |
Круглые бревна |
||
|
Кирпич. М 1:30 Размеры
кирпичей 2,5 мм на 5 мм |
Торцы круглых бревен |
||
|
Кирпич. При малых контурах разделки |
Марчеваны и клинья |
||
|
Железо-кирпич. Размер кирпичей в зависимости от масштаба. Шаг
штриховки арматуры - 2 мм |
|
|
|
Перегонный чугунный тоннель |
|||
|
Для
масштабов 1:200, 1:100, 1:50 длина колец в плане, профиле и длина сегментов в
сечениях дается в масштабе. Ширина колец дается условно двумя линиями,
толстой - 0,5 мм и тонкой - 0,1 мм |
Для
масштабов 1:200, 1:100, 1:50 длина колец в плане, профиле и длина сегментов в
сечениях дается в масштабе. Ширина колец дается условно двумя линиями,
толстой - 0,5 мм и тонкой - 0,1 мм |
||
|
М 1:200. Ширина колец в плане, профиле и сечениях -
2 мм |
М 1:200. Ширина колец в плане, профиле и сечениях -
1,2 мм |
||
|
М 1:100. Ширина колец в плане, профиле и сечениях -
3,5 мм, кроме того тонкой линией отстоящей от толстой на 1 мм, показывается
толщина стенок тюбингов |
М 1:100. Ширина колец в плане, профиле и сечениях -
2 мм, кроме того тонкой линией отстоящей от толстой на 0,5 мм, показывается
толщина стенок тюбингов |
||
|
М 1:50. Ширина колец в плане, профиле и сечениях -
7 мм. Толщина стенок тюбингов в плане и профиле дается тонкой линией
отстоящей от толстой на 1,5 мм. В сечениях толщина стенок тюбингов и ребер
жесткости дается 1,5 мм толстой линией |
М 1:50. Ширина колец в плане, профиле и сечениях -
4 мм. Толщина стенок тюбингов в плане и профиле дается тонкой линией
отстоящей от толстой на 1 мм. В сечениях толщина стенок тюбингов и ребер
жесткости дается 1 мм толстой линией |
||
|
Железобетонная монолитная платформа. Платформа разделывается штриховкой под 45° с
интервалом через 15 мм и заполняется бетоном. |
||||
|
Железобетонная сборная платформа. В сборной платформе ребра жесткости блоков.
Штриховка через 1,5 мм под углом 45° с
разделкой бетоном. |
||||
|
Бортовой камень.
Направление штриховки прямо противоположное направлению штриховки платформы.
Шаг штриховки 1 мм. |
||||
|
Путевые рельсы и шпалы в сечениях. Контур рельсов заливается черной тушью. Шпала не
разделывается и в теле бетона вычерчивается пунктиром. Уровень головки
рельсов вычерчивается тонким пунктиром, размер штриха - 2 мм, интервал - 1. |
||||
|
Путевые рельсы в плане. Вычерчиваются 2-мя линиями (по масштабу) черной тушью.
В масштабе 1:100 толщина линии - 0,5 мм. |
||||
|
Третий рельс в сечениях. Рельс заливается черной тушью, а крепление рельса
вычерчивается двумя тонкими линиями. |
||||
|
Третий рельс в плане.
Вычерчивается зеленой тушью 1-ой линией. Толщина линии равна 0,5 мм. |
||||
|
Ось пути и пикет. Ось
пути вычерчивается пунктирной линией с точкой красной тушью. Толщина линии
0,1 мм, длина штриха - 10 мм, интервал - 5 мм. Пикет вычерчивается кружком d = 25 мм, правая сторона кружка заливается красной
тушью. |
||||
|
Готовый тоннель на плане поверхности. Контур тоннеля вычерчивается синей тушью. Стены
тоннеля окрашиваются голубовато-серым цветом. |
||||
|
Координатная сетка. Кресты
координатной сетки вычерчиваются синей тушью, размер креста 6´6 мм. |
||||
|
Условные знаки для планов путей |
||||
|
Релейный
шкаф - показывается квадратом
(сторона квадрата - 2,5 мм) разделенным диагональю пополам. Правая сторона
квадрата заливается тушью. |
Дроссельный ящик -
показывается квадратом со сторонами - 2,5 мм. |
|||
|
Автостоп. |
|
Светофор. |
||
|
Мраморная облицовка. В разрезе вычерчивается тушью «жженая сиена» с
добавлением «оранжевой». |
|||
|
Для масштабов 1:200, 1:100, 1:50
длина блочных колец в плане, профиле и длина сегментов в сечениях дается в
масштабе. Ширина блочных колец дается условно двумя линиями, толщина линий -
0,2 мм. Блоки разделываются штриховкой типа жел. бетона с переменным
направлением. |
Мраморная облицовка. В фасаде окрашивается слабым раствором туши
«оранжевой», с добавлением «жженой сиены» и «желтой». |
||
|
М 1:200 Ширина колец в плане,
профиле и сечениях - 1,5 мм. Шаг штриховки 1,5 мм. |
Гранитная облицовка. В фасаде окрашивается слабым раствором черной
туши. |
||
|
Гранитная облицовка. В разрезе окрашивается раствором черной туши, в
два раза плотнее, чем фасад. |
|||
|
М 1:100 Ширина колец в плане,
профиле и сечениях - 3 мм. Толщина стенок блоков 1,5 мм. Шаг штриховки 2 мм. |
Облицовка плиткой. В разрезе вычерчивается зеленовато-голубой тушью. |
||
|
Облицовка плиткой. В фасаде окрашивается слабым раствором
зеленовато-голубой туши. |
|||
|
М 1:50 Ширина колец в плане,
профиле и сечениях - 6 мм. Толщина стенок блоков 2,5 мм. Шаг штриховки 2 мм. |
Облицовка новыми
искусствен. материалами (стеналит,
ситол и др.). В разрезе вычерчивается желтой тушью. |
||
|
Облицовка новыми
искусствен. материалами (стеналит,
ситол и др.). В фасаде окрашивается слабым раствором желтой туши. |
|||
|
Насыпной грунт |
Пески |
||
|
Пески тонко и
мелкозернистые, чистые |
Супеси |
||
|
Пески разно и
крупнозернистые, чистые |
Суглинки |
||
|
Пески глинистые |
Глины плотные,
зеленовато-серые |
||
|
Супеси легкие и тяжелые |
Глины рыхлые, неплотные |
||
|
Суглинки и глины
неплотные |
Глины пестрые, плотные
мергелистые |
||
|
Гравий, галька, щебень и
валуны |
Мергель |
||
|
Супеси тяжелые и легкие,
грубые со щебнем и валунами |
Известняки разрушенные |
||
|
Суглинки бурые и грубые |
Известняки средней
крепости |
||
|
Пески тонко и
мелкозернистые, глинистые, черные |
Известняки крепкие |
||
|
Супеси тонкозернистые,
неплотные, черные |
Известняки разборные |
||
|
Суглинки неплотные,
черные |
Уровень свободных
грунтовых вод |
||
|
Суглинки и глины
плотные, черные |
Пьезометрический уровень
напорных вод |
||
|
Супеси темно-серые |
Влажные |
||
|
Суглинки и глины
темно-серые с железистыми алитами |
Водоносные |
||
|
Суглинки и глины
плотные, черные |
Плывунного типа |
||
|
Супеси черные, легкие |
Пьезометрический уровень |
ЛЕВЫЙ ПУТЬ.
ГК-290-56.73
М 1:50
Начальник
строительства
Главный маркшейдер
План
тоннеля станции:
1 - мраморная облицовка; 2 - облицовка плиткой;
3 - третий рельс
Продольный
профиль станции по левому пути
Продольный
разрез станции по оси среднего тоннеля
Поперечное
сечение станции
Продольный
разрез наклонного хода
Структура
геодезическо-маркшейдерской службы
26.01. Исходя из поставленных перед
геодезическо-маркшейдерской службой задач и в целях их осуществления, в системе
строительных организаций создаются:
а)
Геодезическо-маркшейдерское управление (ГМУ) при главке Министерства;
б)
геодезическо-маркшейдерские отделы в трестах и управлениях строительства
метрополитенов;
в)
маркшейдерские отделы на отдельных строительствах, строительно-монтажных
управлениях (СМУ), строительно-монтажных поездах (СМП), тоннельных отрядах (ТО)
и др.
26.02. В состав Геодезическо-маркшейдерского управления
главка входят:
а) отдел
производства наземных и подземных геодезическо-маркшейдерских работ;
б) отдел
технического контроля;
в) отдел
договорных работ;
г) отдел
исполнительной технической документации;
д)
мастерская по ремонту и исследованию геодезических инструментов;
е)
бухгалтерия;
ж) первый
отдел и отдел кадров;
з) камера
геодезических инструментов и оборудования;
и)
фоторепродукционная лаборатория.
26.03. На обязанности Геодезическо-маркшейдерского
управления главка лежит:
а)
рассмотрение и утверждение проектов геодезической основы, необходимой для
перенесения в натуру проектов сооружений метрополитенов, тоннелей и для
производства геодезическо-маркшейдерских разбивок;
б)
производство основных подземных маркшейдерских работ и развитие планового и
высотного наземного обоснования на строительствах;
в) общее
техническое руководство и полевой - подземный инструментальный контроль
геодезическо-маркшейдерских работ на всех строительствах главка;
г) для
выполнения полевых и подземных инструментальных работ, указанных в пунктах «б»
и «в», Геодезическо-маркшейдерское управление содержит специальный штат
маркшейдерских рабочих;
д)
обобщение производственно-технического опыта геодезическо-маркшейдерских работ,
внедрение новой техники, рационализаторских и изобретательских предложений,
связанных с повышением производительности труда и качества работ;
е)
разработка инструкций по производству геодезических и маркшейдерских работ и
оказание помощи и консультаций в разрешении технических и организационных
вопросов;
ж)
планирование потребности геодезическо-маркшейдерских кадров для всех
строительств главка, установление необходимого количества кадров для
обеспечения определенных видов работ;
з)
планирование потребности в геодезическо-маркшейдерских инструментах и
оборудовании, распределение их по строительствам;
и)
техническая приемка геодезического обоснования, выполненного
проектно-изыскательской организацией;
к)
изготовление второго экземпляра исполнительных чертежей на готовые подземные
сооружения, подлежащие сдаче в эксплуатацию.
26.04. Геодезическо-маркшейдерское управление (ГМУ)
главка возглавляется начальником.
26.05. Начальник Геодезическо-маркшейдерского управления
непосредственно подчиняется начальнику главка.
26.06. Начальник Геодезическо-маркшейдерского управления
имеет право:
а)
распоряжаться в установленном законом порядке всеми средствами и имуществом
управления;
б)
совершать все операции в банках, в том числе пользоваться кредитом, открывать и
закрывать расчетные и другие счета и распоряжаться ими, выдавать доверенности с
правом передоверия, заключать договоры;
в)
представлять к назначению и перемещению работников геодезическо-маркшейдерской
службы по системе главка в соответствии с утвержденной номенклатурой
должностей;
г)
представительствовать по делам управления (ГМУ) в учреждениях и организациях,
судах и арбитраже, предъявлять и признавать иски, оканчивать судебные дела
соглашением, получать исполнительные листы и приказы;
д)
финансировать подчиненные организации и предприятия, утверждать их
промфинпланы, отчеты и балансы;
е)
рассматривать и изучать все технические проекты, рабочие чертежи и документы,
необходимые для геодезическо-маркшейдерских и геодезическо-изыскательских
расчетов и перенесения проектов сооружений в натуру;
ж) давать
в установленном порядке распоряжения о прекращении строительных работ в случаях
отступлений от проекта и нарушений геометрических форм сооружений и
установленных норм, предусмотренных Инструкцией по производству геодезических и
маркшейдерских работ, а также в других случаях, связанных с производством
геодезическо-маркшейдерских работ;
з) давать
распоряжения по геодезическо-маркшейдерской службе, связанные с выполнением
прямых функций, возложенных на нее настоящим положением, и накладывать административные
взыскания на работников маркшейдерской службы;
и)
начальник управления (ГМУ) несет ответственность за выполнение действующего
законодательства, приказов Министерства и главка, за общую направленность в
работе и за деятельность управления (ГМУ) как самостоятельной организации.
Отдел
производства наземных и подземных геодезическо-маркшейдерских работ
26.07. Отдел по производству геодезическо-маркшейдерских
работ обеспечивает строительство Московского метрополитена основными
геодезическими работами. На его обязанности лежит:
а)
развитие геодезического планового и высотного обоснования на поверхности;
б)
производство ориентирования шахт совместно с маркшейдерами строительств;
в)
проложение основной подземной полигонометрии и нивелирования в тоннелях и
выработках;
г)
систематические наблюдения в процессе строительных работ за осадками зданий и
существующих подземных сооружений метрополитена, расположенных в зоне
деформации;
д)
камеральная обработка материалов, относящихся к вышеуказанному геодезическому
обоснованию;
е)
составление и оформление схем и каталогов геодезической основы;
ж)
соблюдение работниками отдела правил техники безопасности при производстве
геодезическо-маркшейдерских работ.
Примечание. Отдел производства
наземных и подземных геодезическо-маркшейдерских работ ГМУ и отдел Главного
маркшейдера треста или управления строительства метрополитенов совмещаются,
если главк и трест находятся в одном городе.
Отдел
технического контроля геодезическо-маркшейдерских работ
26.08. На отдел технического контроля возлагается:
а)
производство контроля геодезическо-маркшейдерских работ на строительствах
главка;
б)
контроль за соблюдением правил и норм, предусмотренных технической инструкцией
по геодезическо-маркшейдерским работам на строительствах главка;
в)
производственно-технический анализ материалов и методов
геодезическо-маркшейдерских работ;
г)
составление отчетов по результатам маркшейдерского контроля.
26.09. Отдел технического контроля имеет право:
а)
требовать от главных маркшейдеров управлений и строительств главка ведения
работ в соответствии с Инструкцией по геодезическим и маркшейдерским работам;
б)
отменять методы ведения геодезическо-маркшейдерских работ, если таковые
производятся с нарушением Инструкции по геодезическим и маркшейдерским работам
и могут вызвать ухудшение качества строительных и маркшейдерских работ, а в
необходимых случаях - останавливать производство горностроительных работ.
Отдел
исполнительной технической документации
26.10. На отдел исполнительной технической документации
возлагается:
а)
ведение планов и графиков, отображающих ход основных горностроительных работ по
всем строительствам главка;
б)
систематизация и хранение на период строительства утвержденных проектных
чертежей, необходимых для производства и контроля геодезическо-маркшейдерских
работ;
в)
оформление исполнительных чертежей, предъявляемых Правительственной комиссии, с
последующей передачей их эксплуатирующей организации;
г)
изготовление и оформление второго экземпляра исполнительных чертежей на готовые
подземные сооружения, сдаваемые в эксплуатацию;
д)
инструктаж и контроль по составлению и оформлению исполнительных чертежей на
строительствах главка;
с)
хранение исполнительных чертежей на сданные в эксплуатацию сооружения;
ж)
руководство фотолабораторией и производством фоторепродукций.
Камера
геодезических инструментов
26.11. На геодезическую камеру возложено:
а)
надлежащий уход и хранение геодезических инструментов и оборудования;
б)
выдача, приемка и учет движения геодезических инструментов и маркшейдерского
оборудования.
Мастерская
по ремонту и исследованию геодезических инструментов
26.12. Геодезическая мастерская производит:
а)
текущий и капитальный ремонт геодезических инструментов и оборудования для всех
строек главка;
б)
исследование и проверку геодезических инструментов и маркшейдерского
оборудования.
Фотолаборатория
26.13. Фотолаборатория выполняет работы по изготовлению
копий с различных чертежей.
Бухгалтерия
26.14. На бухгалтерию возлагается: ведение финансовой
деятельности, учет и отчетность по имущественно-материальным ценностям,
составление месячных, квартальных и годовых отчетов о хозяйственной
деятельности Управления.
Бухгалтерия
возглавляется главным бухгалтером, на которого возлагается организация,
руководство и контроль по вопросам бухгалтерского учета и отчетности. Главный
бухгалтер административно подчиняется руководителю управления, а в отношении
методов ведения бухгалтерского учета и составления отчетности - главному
бухгалтеру вышестоящей организации. Назначение, увольнение и перемещение
главного бухгалтера производится вышестоящей организацией.
Отдел
главного маркшейдера треста или управления строительства метрополитена
26.15. На обязанности главного маркшейдера треста или
управления строительства метрополитена лежит:
а)
развитие геодезического планового и высотного обоснования на поверхности,
созданного проектной организацией;
б)
производство ориентирования шахт совместно с маркшейдерами отдельных
строительств;
в)
производство подземной полигонометрии и нивелирование по рабочему маркшейдерскому
обоснованию строительства с целью контроля и уточнения;
г) для
выполнения полевых подземных инструментальных работ, указанных в пунктах «а»,
«б», «в», отдел главного маркшейдера треста содержит специальный штат
маркшейдерских рабочих;
д)
осуществление технического и административного руководства работой
маркшейдерских отделов строительств;
е)
текущий контроль за правильностью перенесения проектов подземных сооружений в
натуру, согласно Инструкции по геодезическим и маркшейдерским работам;
ж)
систематическое наблюдение в процессе строительных работ за осадками зданий и
существующих подземных сооружений метрополитена, расположенных в зоне
деформации;
з)
изготовление второго экземпляра, подготовка и оформление исполнительных
чертежей, необходимых для сдачи готовых подземных сооружений Правительственной
комиссии, с последующей передачей их эксплуатирующей организации;
и)
надлежащий уход и хранение геодезических инструментов и оборудования в
геокамере;
к)
планирование геодезическо-маркшейдерских кадров, инструментов и оборудования;
л)
соблюдение работниками отдела правил техники безопасности при производстве
геодезическо-маркшейдерских работ.
Исходя из
поставленных задач и в целях их осуществления в составе отдела главного
маркшейдера треста в зависимости от объема работ создаются:
а) группа
основных и контрольных геодезическо-маркшейдерских работ;
б) группа
наблюдения за осадками зданий и сооружений метрополитена, расположенных в зоне
деформации;
в)
камеральная группа;
г) камера
геодезических инструментов.
26.16. Отдел главного маркшейдера треста возглавляется
главным маркшейдером.
26.17. Главный маркшейдер в оперативно-производственной
работе подчиняется начальнику треста, а в техническом отношении -
Геодезическо-маркшейдерскому управлению главка.
26.18. Главный маркшейдер треста имеет право:
а)
представлять к перемещению геодезическо-маркшейдерские кадры по
производственно-техническим соображениям;
б)
останавливать производство горностроительных работ в случаях отступлений от
проекта, нарушений геометрических форм и размеров сооружений, отступлений от
норм, предусмотренных Инструкцией по производству геодезических и
маркшейдерских работ, а также в случаях, связанных с производством
геодезическо-маркшейдерских работ.
Отдел
главного маркшейдера строительства, строительно-монтажного управления (СМУ),
строительно-монтажного поезда (СМП) и тоннельного отряда
26.19. Отдел главного маркшейдера строительства, СМУ, СМП
и тоннельного отряда является непосредственным исполнителем основной задачи
геодезическо-маркшейдерской службы.
26.20. На указанные маркшейдерские отделы возлагается:
а)
непосредственное производство ориентирования шахт совместно с маркшейдерским
отделом треста;
б)
развитие подземной полигонометрии и нивелирования с целью ведения строительных
работ и обеспечения сбоек тоннелей;
в)
производство разбивок основных осей сооружений в плане и в профиле по проектным
чертежам;
г)
ведение горнопроходческих щитов, эректоров и других механизмов по
запроектированным трассам;
д)
контроль за соблюдением основных габаритов и размеров подземных сооружений;
е)
ежемесячный контрольный замер объемов основных строительных работ (грунт,
бетон, железобетон, длина готового тоннеля);
ж) съемка
готовых подземных сооружений, систематизация необходимых материалов,
составление и вычерчивание одного экземпляра исполнительных чертежей;
з)
наблюдения за деформациями подземных выработок и поверхностных сооружений на
участках строительства;
и)
установка, определение отметок и расстояний путейских реперов, а также
инструментальная установка рельсов в плане и профиле при укладке
железнодорожного пути на бетонном и щебеночном основаниях;
к) для
выполнения полевых-подземных работ, перечисленных в вышеизложенных пунктах,
отдел главного маркшейдера содержит специальный штат ИТР и маркшейдерских рабочих
из расчета ежесменного обеспечения маркшейдерского контроля за строительными
работами;
л)
хранение и уход за геодезическими инструментами и оборудованием;
м)
соблюдение работниками отдела правил техники безопасности при производстве
геодезическо-маркшейдерских работ.
26.21. Отдел главного маркшейдера строительства, СМУ,
СМП, тоннельного отряда возглавляется главным маркшейдером.
26.22. Главный маркшейдер в оперативно-производственной
работе подчиняется начальнику строительства, СМУ, СМП, тоннельного отряда, а в
техническом отношении - главному маркшейдеру треста.
26.23. Главный маркшейдер строительства, СМУ, СМП,
тоннельного отряда имеет право:
а)
останавливать производство горностроительных работ в случаях ведения их без
соответствующих проектов, а также в случаях отклонения их от проекта сверх
допустимых норм, предусмотренных Инструкцией по геодезическим и маркшейдерским
работам, с извещением об этом главного инженера или начальника строительства;
б)
перемещать маркшейдерские кадры в пределах своего строительства, СМУ, СМП,
тоннельного отряда по производственно-техническим соображениям.
Права и
обязанности маркшейдера участка (объекта) строительства, СМУ, СМП, тоннельного
отряда
26.24. Маркшейдер участка (объекта) подчиняется в своей
работе главному маркшейдеру.
26.25. На маркшейдера участка (объекта) возлагается:
а)
производство вычислительных работ, необходимых для маркшейдерских разбивок,
связанных с перенесением проекта сооружений в натуру;
б)
контроль за соблюдением основных габаритов и размеров подземных сооружений;
в)
непосредственное участие в проведении ориентирования шахт, в проложении
наземной и подземной полигонометрии и нивелирования;
г)
руководство работой сменных маркшейдеров;
д) для
выполнения геодезическо-маркшейдерских работ на строительном участке маркшейдер
участка и сменные маркшейдеры содержат специальный штат маркшейдерских рабочих
из расчета 2 человека на одного инженерно-технического работника;
е)
ежемесячный контрольный замер объемов основных строительных работ (грунт,
бетон, железобетон, длина готового тоннеля) и ведение текущей маркшейдерской
документации;
ж)
составление исполнительных чертежей на законченные подземные сооружения;
з)
хранение и уход за геодезическими инструментами и оборудованием.
26.26. Маркшейдер участка (объекта) имеет право:
а)
останавливать производство горностроительных работ в случаях недопустимых
отклонений сооружений от проекта и несоблюдения допусков, предусмотренных
Инструкцией по геодезическим и маркшейдерским работам в пределах своего
участка, с немедленным извещением об этом начальника участка и главного
маркшейдера;
б) не
производить маркшейдерских разбивок без проектных чертежей, завизированных
главным инженером и главным маркшейдером СМУ, СМП, тоннельного отряда;
в)
перемещать сменных маркшейдеров в пределах своего участка по производственным
соображениям.
Права и
обязанности сменного маркшейдера
26.27. Сменный маркшейдер подчиняется в своей работе
маркшейдеру участка (объекта) и выполняет его указания.
26.28. На сменного маркшейдера возлагается:
а)
получение необходимых данных от маркшейдера участка (объекта) для производства
геодезическо-маркшейдерских разбивок;
б)
производство вычислений и расчетов разбивок во вторую руку по заданию
маркшейдера участка;
в)
непосредственное производство разбивок основных осей сооружений в плане и
профиле с закреплением их в натуре;
г)
ежедневный контроль за соблюдением основных габаритов и размеров подземных
сооружений;
д)
отчетность о проделанной работе за свою смену (запись ее результатов в
маркшейдерскую книгу и другие установленные документы).
26.29. Сменный маркшейдер отвечает за правильность
произведенных им маркшейдерских разбивок и за сохранность геодезических
инструментов.
26.30. Сменный маркшейдер имеет право останавливать
производство горностроительных работ в свою смену в случаях недопустимых
отклонений сооружений от проекта и несоблюдения допусков, предусмотренных
Инструкцией по геодезическим и маркшейдерским работам, с немедленным извещением
об этом начальника смены и маркшейдера участка и с соответствующей записью в
горном журнале.
27.01. Строительные и деривационные тоннели больших и
малых сечений сооружаются:
а) через
вертикальные шахты и наклонные стволы;
б)
непосредственно через входной и выходной порталы;
в) через
подходные тоннели, если по технико-экономическим соображениям, топографическим
условиям нецелесообразно сооружение вертикальных шахт, наклонных стволов, и
также в случаях, исключающих организацию горнопроходческих работ
непосредственно через порталы.
Количество
шахт, наклонных стволов и подходных тоннелей определяется в зависимости от
протяженности трасс строительных, деривационных тоннелей и сроков
строительства.
27.02. Работы по созданию подземного планового и
высотного маркшейдерского обоснования при сооружении строительных и
деривационных тоннелей выполняются в соответствии с методикой, изложенной в
главах 8, 9 и 10.
27.03. Припортальные площадки при сооружении строительных
и деривационных тоннелей больших сечений разрабатываются на проектные отметки
верхних уступов и с завершением горнопроходческих работ по верхнему уступу
дорабатываются до проектных отметок нижних уступов.
27.04. Оси порталов (тоннелей) выносятся и закрепляются
бетонными тумбами от знаков геодезического обоснования гидроузла (объекта
подземного гидротехнического строительства) до начала работ по устройству
врезок.
Ось
закрепляется в зоне устройства врезки и за ее пределами. Для тумб, фиксирующих
створ оси портала (тоннеля), в пределах врезки определяются пикетаж и высотные
отметки.
27.05. До начала работ по устройству врезок на
припортальных площадках (или в непосредственной близости) закладываются знаки и
определяются их координаты и высотные отметки.
Знаки
закладываются в местах, обеспечивающих их сохранность и возможность выполнения
с них текущих съемок и разбивок.
При
невозможности закладки знаков и передачи на них координат, отметок до начала
работ по устройству врезок (из-за сложных топографических условий и т.п.)
закладка и определение их производятся по мере выполнения горнопроходческих
работ по устройству врезок.
27.06. Все разбивки при устройстве портальных врезок
выполняются по утвержденным проектам организации буро-взрывных работ.
27.07. Для составления проектов организации буро-взрывных
работ выполняются съемочные работы, а при наличии составленных проектов
выполняются дополнительные и контрольные съемки (тахеометрическая или
мензульная) с целью установления соответствия съемки местности, выполненной
проектными организациями, фактическому рельефу.
27.08. Перенос в натуру проектов подготовительных выработок
(штолен, минных камер, шурфов, скважин) и контроль за его выполнением
осуществляется маркшейдером.
27.09. При устройстве припортальных врезок сложной
конфигурации в сложных горногеологических условиях для выполнения съемочных и
разбивочных работ маркшейдером в дополнение к имеющимся знакам определяются
вспомогательные точки.
27.10. На пройденные подготовительные выработки
составляется исполнительная документация в масштабах проектных чертежей (план,
продольный разрез, поперечные сечения) для уточнения параметров взрыва.
27.11. По мере выполнения горных работ при устройстве
врезок ведутся и оформляются маркшейдерские съемки. По результатам съемок
устанавливается соответствие фактической (отработанной) конфигурации проектной, составляются проекты
буро-взрывных работ при многоярусных отработках и определяются фактические
объемы разработок.
27.12. Исполнительная документация (план, продольный
разрез по оси портала, поперечные сечения) в масштабах проектных чертежей
составляется на отработанные припортальные врезки.
27.13. Подходные тоннели проектируются на отметки верхних
и нижних уступов (ярусов) строительных и деривационных тоннелей. При небольших
высотах нижних уступов подходные тоннели, пройденные на отметки верхних
уступов, дорабатываются на отметку нижних уступов.
27.14. Проходка подходных тоннелей на начальных участках
протяженностью до 30 м осуществляется от створа оси, вынесенного при
устройстве припортальных врезок. Дальнейшая проходка осуществляется по створу
оси, выносимой от знаков геодезического обоснования (припортальных знаков).
27.15. Маркшейдерские работы по созданию
планово-высотного обоснования в подходных тоннелях, выносу и закреплению осей,
высотных реперов выполняются аналогично разделу Г настоящей главы.
27.16. При проходке подходных тоннелей производится
съемка и составляются поперечные сечения через 10 м и в наиболее характерных
местах (вывалы, заколы и т.д.).
27.17. При установке арочной крепи делается съемка каждой
арки. Нивелируются верх (свод) и пяты арок, определяется расстояние от оси
тоннеля до ножек на уровне подошвы подходного тоннеля и в местах перехода
вертикальных ножек в радиальную конфигурацию. Результаты съемок заносятся в
книгу установленной формы (см. раздел Г настоящей главы).
27.18. Строительные и деривационные тоннели в зависимости
от горногеологических условий сооружаются с бетонной обделкой и без обделок с
применением различных видов временной крепи: арочной, анкерной с металлической
сеткой, шприцбетонной.
27.19. Горнопроходческие работы выполняются в строгом
соответствии с утвержденными проектами организации работ. Отступления от
проектных решений согласовываются с проектными организациями.
27.20. Маркшейдерские работы по проходке шахт, околоствольных
выработок, передаче координат, дирекционного угла и отметок с дневной
поверхности на горизонт подземных работ при сооружении строительных и
деривационных тоннелей через вертикальные стволы, шахты выполняются в
соответствии с указаниями глав 8, 9, 10, 12.
27.21. Проекты трасс строительных и деривационных
тоннелей переносятся в натуру от подземной маркшейдерской основы. Создание и
развитие подземной полигонометрии и подземного высотного геодезического
обоснования осуществляется в соответствии с указаниями глав 8, 9, 10.
27.22. Подземная полигонометрия в подходных, строительных
и деривационных тоннелях создается и развивается от подходных знаков,
закладываемых на припортальных площадках.
На
припортальных площадках закладывается 2 - 3 знака с обеспечением видимости с
них в тоннели и возможности создания и развития подземной полигонометрии в виде
замкнутой цепочки треугольников.
27.23. Припортальные (подходные) знаки закладываются на
глубину 0,5 - 0,7 м в скальных породах и бетонируются на отметку
припортальной площадки. На участках отсыпок знаки закладываются на глубину,
обеспечивающую неподвижность знака и исключающую просадку. Во всех случаях при
закладке знаков необходимо выбирать места, исключающие нахождение и перемещение
гусеничного, колейного транспорта и горнопроходческого оборудования.
27.24. Определение координат припортальных знаков,
передача на них дирекционных углов и отметок выполняются в соответствии с
главами 8, 9, 10. По припортальным знакам (за исключением знаков
подходной полигонометрии) производятся независимые плановые и высотные
определения каждого припортального знака в различное время суток при
благоприятных метеорологических условиях.
27.25. До начала разбивочных работ и ориентирования
тоннелей выполняются контрольные работы по припортальным знакам и
устанавливается точность их определения. В натуре измеряется расстояние и
определяется превышение между припортальными знаками. Измеренное расстояние
сравнивается с вычисленным, полученным из решения обратной геодезической задачи; по разности отметок находят
превышение и сравнивают его с полученным из непосредственного нивелирования
этих знаков.
27.26. Наблюдения по передаче координат, дирекционных
углов, отметок на припортальные знаки повторяются:
а) для
знаков припортальных площадок строительных и деривационных тоннелей после
продвижения проходческих забоев до 150 - 200 м;
б) для
знаков припортальных площадок подходных тоннелей - перед выходом на трассу
основных тоннелей, во время рассечки (устройства крестов).
Одновременно
с повторными наблюдениями припортальных знаков выполняются повторные наблюдения
подземной полигонометрии. В целях уменьшения влияния боковой рефракции
наблюдения по передаче дирекционных углов в подземные выработки через порталы
производятся при температуре воздуха на дневной поверхности близкой к
температуре воздуха в тоннелях.
27.27. Проходка строительные и деривационных тоннелей
через порталы на начальных участках до 50 - 70 м осуществляется по
створу оси, выносимой от припортальных знаков. Дальнейшее проведение
проходческих забоев обеспечивается созданием и развитием подземной
полигонометрии в строительных и деривационных тоннелях.
27.28. Маркшейдерские работы по созданию и развитию
подземной полигонометрии в строительных и деривационных тоннелях выполняются в
соответствии с главой 9, с учетом специфических особенностей, которые
изложены ниже.
27.29. Знаки подземной полигонометрии в строительных и
деривационных тоннелях при длине проходческих плеч до 1 км закладываются
по схеме, обеспечивающей создание непрерывной цепочки треугольников со
сторонами 50 - 100 м (см. п. 9.05б).
В
треугольниках измеряются все стороны и углы, делаются линейные и угловые
увязки. Линейные и угловые измерения выполняются в соответствии с разделами Б и В главы 9.
Схема
полигонометрии для тоннеля, сооружаемого через порталы и подходные тоннели,
приведена на рис. 27.1.
Рис. 27.1. Схема развития подземной
полигонометрии от пунктов тоннельной триангуляции при сооружении
гидротехнического тоннеля через порталы и вспомогательные подходные тоннели:
1 - входной портал; 2
- вспомогательный подходной тоннель; 3 - гидротехнический тоннель; 4
- вспомогательный подходной тоннель; 5 - выходной портал; черные
треугольники - пункты подземной полигонометрии; треугольники с точками - пункты
тоннельной триангуляции
27.30. При сооружении строительных и деривационных
тоннелей большой протяженности (с длиной проходческих плеч свыше 2 км) прокладываются
главные полигонометрические ходы (см. п. 9.06).
27.31. Главные ходы создаются и развиваются с
использованием знаков основной полигонометрии (рис. 27.2). Углы в
ходах измеряются повышенным количеством приемов и многократно. Длины сторон,
как правило, не измеряются, а определяются путем проектирования измеренных
сторон основной полигонометрии.
Рис. 27.2. Схема развития главного
полигонометрического хода:
треугольники с точкой -
пункты триангуляции; треугольники без точки - знаки рабочей полигонометрии;
кружки - знаки основной полигонометрии; треугольники в кружках - знаки главного
полигонометрического хода
27.32. По знакам подземной полигонометрии прокладываются
нивелирные ходы (см. главу 10).
27.33. Знаки подземной полигонометрии бетонируются на
уровне подошвы тоннелей. В тоннелях небольших сечений знаки рабочей
полигонометрии могут закладываться в сводовой части.
Знаки
главных полигонометрических ходов закладываются только в подошве (лотке)
тоннелей. Для выполнения текущих разбивок и съемок знаки, заложенные в подошве
тоннеля, целесообразно одновременно закреплять и в сводовой части тоннеля, но
при этом наблюдения по определению полигонометрии выполняются по знакам,
заложенным в подошве тоннеля. При бетонировании обделок тоннелей до окончания
проходческих работ знаки, заложенные в подошве, переносятся в забетонированный
свод.
27.34. Знаки подземной полигонометрии нумеруются
следующим образом:
а) в
строительных тоннелях, сооружаемых через порталы, указывается буква «С» (при
строительстве на гидроузле строительных тоннелей нескольких ярусов вначале
указывается номер яруса), далее номер пикета и цифра десятков метров пикетажа
(так, знак, заложенный в строительном тоннеле II яруса на ПК 4 + 43,232 справа от оси, будет иметь
номер II С 44, а знак, заложенный
слева, - II С 45);
б) при
нумерации знаков подходных тоннелей указываются номер подходного тоннеля и
порядковый номер знака; для знаков, заложенных от оси справа, - четный номер,
слева - нечетный (так, например, для знака, заложенного в подходном тоннеле с
проектным номером «5В» справа от оси, номер знака будет 5В2);
в) для
деривационных тоннелей с несколькими проходческими забоями указываются
проектный номер забоя и пикетаж до десятков метров (так, знак, заложенный в
деривационном тоннеле, сооружаемом пятым забоем из ПК 187 + 92,301, будет иметь
номер V 1879).
27.35. На полигонометрических знаках задаются нормали,
выносятся оси тоннелей. Нормали и оси закрепляются в деревянных пробках,
забитых в специально пробуренные шпуры. На стенах тоннелей делаются надписи
масляной краской: номер знака, пикетаж, смещение от оси, отметка.
Знак
должен иметь постоянное освещение от электросети.
27.36. Ось тоннеля задается одним из следующих способов:
а) от
полигонометрических знаков по нормалям откладываются величины смещения знаков
от проектной оси, которые получают из вычислений;
б) от
полигонометрических знаков выносится линия, параллельная проектной оси (на
полигонометрическом знаке откладывается угол);
в)
вычисляют координаты осевых точек на заданных пикетах, решают обратные
геодезические задачи между осевыми точками и полигонометрическими знаками, из
которых определяют расстояния и дирекционные углы; вынос осевых точек
выполняется полярным способом.
27.37. Ось тоннелей выносится инструментально и закрепляется
через 10 м следующим образом:
а) в
тоннелях, сооружаемых с временной арочной крепью, ось закрепляется
маркшейдерскими гвоздями в кровле (необходимо выбирать места с хорошо
расклиненными марчеванками) и одновременно делается насечка (запил) на арке;
при этом ось, вынесенная по створу трех отвесов на глаз, насечками не
закрепляется; при устройстве железобетонной затяжки оси тоннелей закрепляются в
специальных скобах, которые привариваются к аркам до установки;
б) в
тоннелях, сооружаемых без крепления или с анкерной и шприцбетонной крепью, ось
закрепляется в деревянных пробках, забитых в специально пробуренные шпуры.
27.38. Для всех осевых точек, вынесенных инструментально,
за исключением осевых точек, выносимых полярным способом, определяется пикетаж
от нормали ближайшего полигонометрического знака. Пикетаж с округлением до
сантиметра подписывается на арках в тоннелях малого сечения и на стенах в
тоннелях, сооруженных без крепления, а также в тоннелях больших сечений. Во
всех случаях делается надпись: «створ оси, ПК 2 + 75,32».
27.39. Для сооружения тоннелей по высоте нивелиром от
знаков подземного обоснования выносятся высотные реперы (высотные костыли) на 1
- 1,5 м выше проектной отметки лотка (подошвы) тоннеля.
27.40. Высотные реперы (костыли) выносятся нивелиром и
закрепляются:
а) в
тоннелях с арочной крепью - на каждой второй арке делается насечка зубилом и
рисуется треугольник;
б) в
тоннелях с анкерной шприцбетонной крепью или без креплений - через 3 - 5 м в
деревянных пробках, забитых в шпуры.
При выносе
высотных реперов (костылей) на арки радиального очертания или с наклонными
ножками необходимо вводить поправки в наклонные расстояния, откладываемые по
рулетке от горизонта инструмента до высотных реперов (костылей).
27.41. Проектный горизонт (костыли) в призабойной зоне и
на лоб выносится сообщающимися сосудами от высотных реперов (костылей),
вынесенных нивелиром. Вынесенные точки отмечаются краской.
27.42. При сооружении строительных и деривационных
тоннелей на участках круговых кривых продольная ось закрепляется системой хорд.
Кривая разбивается на хорды, для концов хорд вычисляются координаты через центр
кривой с увязкой на вершину угла поворота. Концы хорд выносятся полярным
способом от подземной полигонометрии (из решений обратных геодезических задач
по координатам концов хорд и полигонометрических знаков определяют расстояния и
дирекционные углы) и закрепляются в сводовой части тоннеля или в подошве (в
пробуренный шпур забивается арматурное железо и делается насечка). Концы хорд
выносятся и закрепляются с точностью ± 5 мм. Количество хорд назначается в
зависимости от радиуса кривой, угла поворота, сечения тоннеля.
По
вынесенным концам хорд производится контроль одним из следующих способов:
а)
измеряются углы на концах хорд;
б) от
створа начальной точки 1-й хорды и конечной точки 2-й хорды измеряется в натуре
расстояние до конечной точки 1-й хорды (начальной точки 2-й хорды).
В
тоннелях больших сечений продольная ось может закрепляться системой секущих или
параллельно смещенными (по нормалям) хордами. От хорд делается детальная
разбивка оси.
27.43. Вынос контура тоннеля и разметка шпуров по
утвержденным паспортам буро-взрывных работ выполняются горными мастерами и
бригадирами от маркшейдерских данных (оси тоннеля, высотных реперов). Разметка
шпуров выполняется проекционными аппаратами типа «Тоннель».
27.44. При ежесменном маркшейдерском надзоре контур
выработки выносится маркшейдером.
27.45. Арочная крепь устанавливается с проектным шагом по
нормалям. Для обеспечения перпендикулярности арок относительно подошвы тоннеля определяется вертикальное
опережение по следующей формуле:
d = h × i,
где d - вертикальное опережение;
h - высота арки;
i - проектный уклон выработки.
При
установке арок вертикальное опережение определяется по отвесу, опущенному с
верха арки, и леске, натянутой по ножкам.
27.46. Арочная крепь устанавливается в плане и в профиле
с точностью ± 50 мм, а разность пикетажа (перекос) левой и
правой сторон (ножек) арки допускается до ± 10 см.
27.47. Арочное крепление должно быть заснято в плане, в профиле
и по пикетажу: нивелируются сводовая часть арки по оси тоннеля, пяты (низ
ножек) арок; определяется расстояние от оси тоннеля до ножек арок (левой и
правой) на уровне подошвы тоннеля и в месте перехода вертикальной части в
радиальную (рис. 27.3а, 27.3б).
Результаты
съемок заносятся в книгу установленной формы (см. приложение 27-1).
Рис. 27.3.
Схема съемки:
а - арки и поперечного
сечения при проходке верхнего уступа гидротехнического тоннеля большого
сечения; б - арки и поперечного сечения тоннеля в проходке; 1 -
затяжка; 2 - полиагональная арка; в числителе - фактические данные, в
знаменателе - проектные данные
27.48. В тоннелях с высотой более 5 м нивелирование
свода арки выполняется по металлической рулетке, привязанной к шесту.
27.49. Съемка сечений в строительных и деривационных
тоннелях выполняется через 5 м и в наиболее
характерных местах (вывалы, заколы и т.д.). На вывалы составляются акты с
участием представителей геологического надзора и групп рабочего проектирования.
27.50. Съемка сечений в тоннелях, сооружаемых с арочной
крепью, выполняется от арок набором радиальных расстояний до породы. Для детального
отображения профиля сечения расстояния берутся через 1,5 - 2 м и в
наиболее характерных местах.
27.51. Съемка сечений в тоннелях, сооружаемых без
постановки временной крепи и с применением анкерной, шприцбетонной крепи
выполняется методом засечек от высотных реперов (маркшейдерских гвоздей),
вынесенных в деревянные пробки для сооружения тоннелей по высоте (рис. 27.4).
Съемка
выполняется следующим образом: измеряется расстояние от оси тоннеля до маркшейдерских
гвоздей, фиксирующих высоту (слева и справа); съемка выполняется двумя
рулетками, привязанными к шесту; шест примыкается к породе (в местах,
перпендикулярных оси) и по рулеткам производятся отсчеты до левой и правой
точек (реперов). По сечению набирается достаточное количество точек для
детального отображения профиля сечения. При наличии вертикальных стен берутся
дополнительные расстояния от оси тоннеля до стен с привязкой их по высоте к
высотным точкам.
Результаты
съемок накладываются на вычерченные проектные сечения в выбранном масштабе.
После построения фактического сечения тоннеля графически определяются
расстояния (домеры) от внутреннего проектного контура до фактического.
Измеренные расстояния выписываются на поперечных сечениях.
Рис. 27.4. Схема съемки тоннеля,
сооружаемого без временного крепления, от высотных реперов H
27.52. Поперечные сечения составляются в следующих
масштабах:
а) для
тоннелей с сечением до 60 м2 (при полном сечении) - в
масштабе 1:50;
б) для
тоннелей сечением от 60 м2 до 200 м2
- в масштабе 1:100;
в) для
тоннелей сечением свыше 200 м2 - в масштабе 1:200.
27.53. Поперечные сечения составляются в альбомах,
сброшюрованных из миллиметровой бумаги, и вычерчиваются тушью.
Проектные
элементы сечения (проектные контуры тоннеля, отметки, расстояния) вычерчиваются
красной тушью, фактические - черной. Альбом составляется на каждый
проходческий забой. При составлении поперечников для тоннелей больших сечений,
сооружаемых способом верхнего и нижнего уступов, поперечники для верхнего уступа
располагаются таким образом, чтобы в дальнейшем обеспечить составление на них
сечений по нижнему уступу.
27.54. По фактическим поперечным сечениям тоннелей
определяется планиметром их площадь.
Площадь
проектного сечения определяется расчетным путем из рабочих чертежей.
Для
контроля и установления точности построения сечений планиметром определяется и
площадь в пределах проектного контура тоннеля.
27.55. Участки тоннелей, пройденные с недобором,
впоследствии или в процессе проходки дорабатываются до проектного сечения;
результаты доработок наносятся на ранее составленные поперечники.
Определяется
площадь фактического сечения по измененному контуру тоннеля. На сечении
указывается дата (время) доработок по профилю.
27.56. В период сооружения строительных и деривационных
тоннелей выполняются маркшейдерские работы по наблюдению за деформацией
временного крепления и бетонных обделок в соответствии с п. 27.98 - 27.102.
27.57. Строительные и деривационные тоннели больших
сечений сооружаются на полное сечение и по частям - способом верхнего и нижних
уступов. Количество нижних уступов назначается в зависимости от высоты
тоннелей.
27.58. Маркшейдерские работы при сооружении тоннелей
больших сечений за один прием выполняются аналогично разделам Б, В и Г настоящей главы.
27.59. Маркшейдерские работы по определению подходных
припортальных знаков, созданию, развитию подземной полигонометрии и высотного
обоснования, производству разбивок и съемок, составлению текущей графической
документации и др. при сооружении верхних уступов выполняются в соответствии с
разделами А, Б, В и Г
настоящей главы.
27.60. Маркшейдерские работы по обеспечению дальнейшего
производства разбивок и съемок при сооружении нижних уступов выполняются до начала горнопроходческих
работ в процессе бетонирования верхних уступов.
27.61. Строительные и деривационные тоннели
больших сечений могут сооружаться круглой, корытообразной формы с вертикальными
и наклонными стенами, плоским лотком и других очертаний.
27.62. При сооружении нижних уступов тоннелей больших
сечений круглого очертания с бетонной обделкой до начала проходки выполняются
следующие маркшейдерские работы:
а) на
полигонометрических знаках по нормалям в бетонный свод выносится и закрепляется
в деревянных пробках ось тоннеля, окончательно забитый маркшейдерский гвоздь
нивелируется при помощи компарированной рулетки, привязанной к шесту, или с
использованием различных проходческих подъемников (автопогрузчики, МШТС-2ТП);
на стенах делается надпись «ось тоннеля ПЗ II С 94, ПК 9 + 43,23, Н = 653,231;
б) строго
по пикетажу через 10 м (ПК 0 + 10,00, ПК 0 + 20,00 и т.д.) на стенах
слева и справа инструментально выносится и закрепляется в деревянных пробках
горизонт проектного центра тоннеля; в тех случаях, когда проектный центр
тоннеля находится ниже бетонной обделки верхнего уступа, выносятся смещенные
точки выше проектного центра. На проектную отметку центра тоннеля или принятого
высотного горизонта забиваются маркшейдерские гвозди и до них измеряется
расстояние от оси тоннеля. Около пробок краской делается надпись «центр
тоннеля, ПК 0 + 00,02 до оси 6,52» или «ПК 0 + 00,02, Н = 1652,00 до оси 6,52»;
закрепленные точки нивелируются и вычисляются фактические отметки, отклонения
от проектных отметок центра тоннеля учитываются при дальнейших работах.
27.63. В строительных и деривационных тоннелях больших
сечений, сооруженных на участках круговых кривых, независимо от формы сечений и
обделок до начала горнопроходческих работ по нижним уступам, в сводовую часть
тоннелей или в подошву от знака полигонометрии полярным способом выносятся
концы хорд.
На концах
хорд задаются нормали (направления на центр кривой). На нормалях в стенах
(слева и справа) выносится и закрепляется деревянными пробками принятый
высотный горизонт и от вершин (осевых) хорд определяются расстояния (по
нормали) до маркшейдерских гвоздей. Под пробками подписываются отметки,
пикетаж, расстояния до оси тоннеля.
27.64. В тоннелях корытообразной формы с монолитной
обделкой ось тоннеля выносится и закрепляется от полигонометрических знаков
аналогично п. 27.62. Высотный горизонт с привязкой к оси тоннеля закрепляется
через 20 м.
27.65. При сооружении тоннелей без обделок ось тоннелей и
высотные реперы закрепляются аналогично п. 27.62. При
закреплении необходимо избегать мест с недобором проектного контура (профиля).
27.66. По результатам закреплений оси, высотных реперов
составляются схемы и ведомости с занесением в них всех измеренных данных.
27.67. При сооружении строительных и деривационных
тоннелей больших сечений способом верхнего и нижнего уступов через подходные
тоннели сопряжения (пересечения) раскрывают и оформляют на полное сечение
тоннеля (рис. 27.5). Подходные тоннели, пройденные на отметки верхних
уступов, могут понижаться на отметку нижних уступов с оформлением креста. После
оформления крестов (пересечений) на полное сечение тоннелей производится
отсыпка породы на отметки верхних уступов и выполняются горнопроходческие
работы по верхним уступам. Маркшейдерские работы при описанной технологии
выполняются следующим образом: в пониженных (доработанных) частях подходных
тоннелей закладываются и определяются временные полигонометрические знаки, в
пределах рассечек (крестов) вычисляются координаты осевых точек строительных и
деривационных тоннелей; решаются обратные геодезические задачи по координатам
осевых точек и временных знаков полигонометрии, по результатам вычислений ось
выносится полярным способом от временных полигонометрических знаков. На
начальных участках протяженностью до 10 - 15 м влево и вправо верхний
уступ проходится от оси, вынесенной и закрепленной в своде по прежней схеме.
Дальнейший вынос оси тоннеля выполняется от полигонометрических знаков,
закладываемых на крестах под отметку подошвы верхних уступов. По знакам
выполняются контрольные измерения для установления наличия или отсутствия
деформаций.
Рис. 27.5. Схема
раскрытия на полное сечение «крестов» гидротехнических тоннелей, сооружаемых
способом верхнего и нижнего уступов:
а - раскрытие
гидротехнического тоннеля на полное сечение; б - отсылки
гидротехнического тоннеля на отметку подошвы верхнего уступа; 1 -
гидротехнический тоннель; 2 - верхний уступ; 3 - нижний уступ; 4
- подходной тоннель
27.68. Разбивки и съемки при проходке нижних уступов
выполняются от осевых и высотных реперов, закрепленных и определенных в
соответствии с п. 27.62.
27.69. Ось тоннеля, закрепленная в своде, переносится в
подошву (лоток) на пройденных участках нижнего уступа. Ось закрепляется (в
пробуренный шпур забивается арматурное железо, делается насечка), и на нее
передаются отметки. От оси выполняются разбивки и съемки на участках,
где невозможно использование боковых (стеновых) реперов.
27.70. Съемки поперечных сечений выполняются через 5 м
и в местах, на которые выполнена съемка и составлены поперечные сечения при
проходке верхних уступов.
27.71. Поперечные сечения вычерчиваются в альбомах,
которые составлены при проходке верхнего уступа. Площадь сечения определяется
планиметром, при этом необходимо делать строгое разделение по проектным
сечениям на верхний и нижний уступы.
27.72. Оси скважин для предварительного откола по контуру
нижних уступов выносятся от оси тоннелей и закрепляются на стенах. Высотный
горизонт для определения глубины скважин выносится на стенах тоннелей сплошной
линией. До взрыва производится измерение глубин и определение отметок забоев
скважин.
27.73. По мере бетонирования и зачистки лотков
строительных и деривационных тоннелей, сооружаемых с монолитной обделкой и без
обделки, в лотке закладываются знаки подземной полигонометрии через 70 - 100 м.
В полигонометрических знаках просверливаются отверстия и зачеканиваются
медью. Прокладываются ходы основной полигонометрии от знаков геодезического
обоснования, включенного в первоначальную схему ориентирования тоннеля. Угловые
и линейные измерения выполняются в соответствии с указаниями главы 9.
27.74. По знакам полигонометрии прокладывается нивелирный
ход и вычисляются отметки.
27.75. После увязки полигонометрического хода и
вычислений координат вычисляются смещения знаков от проектной оси тоннеля,
пикетаж и составляются каталоги. Вычисленные значения смещений знаков от оси
сравниваются с осью тоннеля, вынесенной в свод тоннеля перед проходкой нижнего
уступа.
27.76. Одновременно со сдачей исполнительных чертежей
сдаются следующие материалы по подземной полигонометрии:
а) схема
полигонометрического хода;
б)
описание знаков;
в)
каталог координат и высот.
27.77. В строительных и деривационных тоннелях в период
строительства выполняются маркшейдерские работы по наблюдению за деформацией
временной крепи, конструктивной обделки. Наблюдения за деформацией выполняются
в соответствии с пп. 27.98 - 27.102.
27.78. Катастрофические водосбросы служат для сброса
излишков воды. При устройстве подземных сооружений проектируются шахтные
поверхностные водосбросы, состоящие из вертикальной шахты с водосливной
воронкой и отводящего тоннеля, которые врезаются в деривационные тоннели.
Конструкции,
конфигурации катастрофических водосбросов различны. Они могут сооружаться на
полные сечения и по частям - способом верхнего и нижнего уступов, через
пилот-штольни.
При
сооружении могут применяться различные виды временной крепи.
27.79. Маркшейдерские работы по сооружению оголовков
шахтных катастрофических водосбросов выполняются в соответствии с разделом Б настоящей главы.
27.80. До начала проходческих работ на площадках
катастрофических водосбросов создается геодезическое обоснование аналогично
разделу Б настоящей главы. Для катастрофических водосбросов,
врезаемых в готовые сооружения (отводящие тоннели), подходные знаки
определяются от геодезического обоснования, которое использовалось при
ориентировании уже построенных подземных сооружений (отводящих тоннелей).
27.81. При сооружении наклонных водосбросов (рис. 27.6)
разбивки, съемки выполняются от осей, смещенных в плане и профиле, выносимых с
маркшейдерских столиков. Для водосбросов некруглого очертания с плоской
подошвой маркшейдерские столики устанавливаются с левой и правой стороны.
Маркшейдерские
столики устанавливаются с таким расчетом, чтобы пересечение визирной и
горизонтальной осей трубы теодолита, установленного на столике, находилось на
пересечении горизонтальной и наклонной линий на выбранной (принятой) высоте
наклонного луча от подошвы.
Высота
наклонного луча выбирается (назначается) на 0,5 - 0,7 м выше подошвы
тоннеля.
Маркшейдерский
столик изготавливается из листового железа толщиной 10 мм - вырезается
пластина, к ней привариваются анкеры, и пластина бетонируется на проектную
отметку столика.
На
маркшейдерском столике керном отмечается место постановки подъемных винтов
теодолита.
Точка,
над которой центрируется теодолит, определяется с точностью
± 3 мм в
плане и по высоте. Установка теодолита на проектную высоту достигается
подъемными винтами теодолита.
Маркшейдерские
столики, устанавливаемые с левой и правой сторон, должны иметь одинаковые
пикетаж, высоту и смещение от оси.
Маркшейдерские
столики огораживаются световыми сигналами.
Рис. 27.6. Схема сооружения наклонных
водосбросов от смещенных осей:
1 и 2 -
маркшейдерский столик; 3 - наклонный луч; 4 - водосбросный
тоннель; 5 - гидротехнический тоннель
27.82. После бетонирования маркшейдерских столиков и
разбивки (от подходных знаков) на них точек установки теодолита определяются их
координаты и отметки.
Для
задания смещенных осей определяются дополнительные направления на знаки
геодезического обоснования, расположенные на достаточном удалении; направления
смещенных осей закрепляются в натуре.
Ошибка в
задании направлений наклонных лучей не должна превышать ± 10².
27.83. Маркшейдерские столики по трассе наклонных
водосбросов закладываются через 50 - 80 м. Последующие маркшейдерские
столики закладываются и разбиваются по наклонным лучам; после чего определяют
координаты и отметки от предыдущих столиков и выполняются контрольные работы -
измеряются диагональные направления и сравниваются с вычисленными по
координатам (рис. 27.7).
Рис. 27.7. Схема определения контрольных
диагональных направлений:
1 - ось наклонного
водосброса; 2 - маркшейдерский столик
27.84. При сооружении катастрофических водосбросов по
частям маркшейдерские столики закладываются и определяются для верхнего и
нижнего уступов. При проходке пилот-штолен разбивки и съемки также выполняются
от маркшейдерских столиков, закладываемых на оси пилот-штолен.
27.85. При сооружении наклонных водосбросов круглого
очертания с маркшейдерских столиков выносится проектная ось наклонного
водосброса. При сооружении наклонных водосбросов снизу вверх из строительных и
деривационных тоннелей маркшейдерские столики закладываются непосредственно в
начальных участках водосбросов и определяются от полигонометрии строительных
или деривационных тоннелей.
27.86. Перед выносом смещенных осей определяется место
нуля вертикального круга теодолита; смещенные оси выносятся при двух положениях
вертикального круга.
27.87. Смещенные оси наклонных водосбросов с плоским лотком
(подошвой), сооружаемых без крепления или с анкерной, шприцбетонной крепью,
закрепляются в деревянных пробках слева и справа (в стенах) через 3 м на
одинаковом расстоянии (пикетаже) от столика.
Для
закрепленных точек определяется и подписывается в натуре пикетаж (по наклону) и
вычисляются отметки.
27.88. Смещенные оси наклонных водосбросов, сооружаемых с
арочной крепью, выносятся и закрепляются на арках - прочерчивается и насекается
сплошная наклонная линия и по середине арки делается вертикальная насечка. По
вертикальной насечке определяются и подписываются пикетаж (по наклону) и
отметка.
27.89. По установленной арочной крепи выполняются
съемочные работы, результаты съемок заносятся в книгу установленной формы (см.
приложение 27-1).
При
съемке арочной крепи определяется пикетаж левой и правой сторон, сводовой части
по оси, отметки пят и свода.
27.90. Съемка поперечных сечений выполняется через 3 м
от арок (замеры расстояний по рулетке от арки до породы) и от точек
смещенных осей наклонных водосбросов.
В
наклонных водосбросах, сооружаемых без арочной крепи, съемка сечений
выполняется по способам, изложенным в главе 30.
27.91. Составление, оформление поперечных сечений и
определение площадки сечений выполняются в соответствии с разделом Г настоящей главы.
27.92. Разметка контура водосброса при проходке
выполняется маркшейдером.
Для
разметки контура в лоб забоя выносятся точки смещенных осей.
Способы
выноса проектного контура выработки аналогичны указанным в главе 30.
27.93. При возведении монолитных обделок и конструкций
подземных гидротехнических сооружений применяются различные виды опалубок,
которые в каждом конкретном случае требуют индивидуального выполнения
маркшейдерских работ.
27.94. Точность установки опалубки и величина
строительного подъема кружал устанавливаются проектными организациями в
зависимости от назначения гидротехнического тоннеля, подземного сооружения.
27.95. До установки опалубки маркшейдером проверяется
соответствие ее фактической геометрии проектной. Допустимые отклонения
фактических размеров от проектных назначаются проектными чертежами.
27.96. Проверенная опалубка с допустимыми отклонениями от
проектных размеров устанавливается в плане - от оси тоннеля, подземного
сооружения и по высоте - от знаков подземного высотного обоснования. Ось
тоннеля, подземного сооружения выносится от знаков подземной полигонометрии
непосредственно перед установкой опалубки
27.97. По установленной и раскрепленной опалубке
выполняются съемочные работы. От заснятой опалубки выполняется съемка
заопалубочного пространства. По результатам съемок составляются и оформляются
поперечные сечения в соответствии с указаниями главы 31. На блок
бетонирования протяженностью 6 - 8 м составляются три поперечных сечения
(начало, середина, конец). На поперечных сечениях указываются фактическая и
проектная площади бетонирования (м2).
27.98. В процессе строительства подземных
гидротехнических сооружений геодезическо-маркшейдерская служба
специализированных горнопроходческих спецуправлений и отдельных участков
выполняет маркшейдерские работы по наблюдениям за деформацией.
Основным
методом наблюдений за деформацией подземных гидротехнических сооружений
является геометрическое нивелирование.
27.99. Наблюдения за деформацией в подземных
гидротехнических сооружениях производятся от подземного высотного
геодезического обоснования, знаки которого заложены в подошве (лотке) подземной
выработки.
Знаки
подземного высотного геодезического обоснования, заложенные в сводовой части
сооружений, включаются в схемы наблюдений.
27.100. При проходке подземных гидротехнических сооружений
на полное сечение устанавливаются следующие наблюдения:
а) на
участках подземных сооружений с временной арочной крепью нивелируются точки,
намеченные в сводовой части арок, и измеряются горизонтальные расстояния между
пятами арок;
б) на
участках подземных сооружений с анкерной крепью нивелируются анкеры, ближайшие
к оси сооружения;
в) на
участках подземных сооружений со шприцбетонной крепью закладываются специальные
деформационные реперы.
Во всех
случаях наблюдениям подлежат точки, расположенные не реже чем через 10 м.
Периодичность повторных наблюдений определяется интенсивностью осадок, но не
реже 1 раза в 10 дней.
27.101. При сооружении гидротехнических тоннелей большого
сечения способом верхнего и нижнего уступов выполняются следующие
маркшейдерские работы по наблюдению за деформацией:
а) при
сооружении верхнего уступа в соответствии с указаниями п. 27.100;
б) при
проходке нижних уступов устанавливаются наблюдения за сводовой частью и стенами
верхнего уступа.
Периодичность
повторных наблюдений определяется интенсивностью горнопроходческих работ по
сооружению нижнего уступа и интенсивностью, а также величиной осадок, но не
реже 1 раза в 10 дней.
27.102. При сооружении наклонных тоннелей и других
наклонных подземных выработок наблюдения за деформацией выполняются в
соответствии с указаниями пп. 27.100 и 27.101.
Наблюдения могут выполняться с помощью наклонного луча теодолита,
устанавливаемого на маркшейдерском столике.
27.103. При подземном гидротехническом строительстве
геодезическо-маркшейдерская служба специализированных горнопроходческих
управлений и отдельных участков производит ежемесячный маркшейдерский замер
выполненных физических
объемов по горнопроходческим и строительно-монтажным работам.
Маркшейдерский
замер составляется по единой форме согласно приложениям 27-2 и 27-3.
27.104. В маркшейдерский замер входят следующие виды
физических объемов горнопроходческих и строительно-монтажных работ:
а) при
устройстве припортальных врезок: протяженность, фактический и проектный объемы
разработки породы, объемы бетонирования, площадь откосов и берм, закрепленных
анкерами, шприцбетоном;
б) при
проходке гидротехнических тоннелей, подземных сооружений и подземных выработок:
погонаж проходок, фактический и проектный объемы разработанного грунта
(породы), количество установленных арок временного крепления, протяженность
участков и площадь анкерного, шприцбетонного крепления;
в) при
возведении монолитных, сборных бетонных и железобетонных обделок, конструкций:
протяженность забетонированных участков (свод, стены, лоток), фактический и
проектный объемы бетонирования, заполнительной цементации;
г) при
закладке (забутовке) подземных выработок определяются протяженность участков
закладки и кубатура.
27.105. Объемы вывалов породы при проходке и на пройденных
участках подземных выработок в фактический объем разработок не включаются, а
показываются отдельной строкой с подтверждением их объемов графической
документацией и актами.
27.106. На каждое подземное гидротехническое сооружение
составляются накопительные ведомости выполненных объемов по проходке и
бетонированию. В накопительных ведомостях учитываются фактический и проектный
объемы разработки породы, бетонирования, заполнительной цементации, установка
арочного, анкерного и шприцбетонного крепления, металлической облицовки в
погонных метрах.
27.107. Ход строительства подземных гидротехнических
сооружений геодезическо-маркшейдерская служба отображает на графических
материалах. На различные подземные гидротехнические сооружения и подземные
выработки составляется следующая графическая документация:
I. На горизонтальные и наклонные подземные сооружения
и выработки:
а) план
подземных сооружений, выработок;
б)
продольный профиль;
в)
план-схемы.
II. На вертикальные сооружения и выработки (водоводы,
стволы, шахты):
а)
вертикальные разрезы по одной из осей;
б) планы-схемы.
|
Порядковый номер арки |
№ двутавра или швеллера |
Пикетаж |
Расстояние от оси |
Фактические и проектные отметки |
Роспись исполнителя |
Примечание |
|||||||||||||||
|
лево |
право |
верх на оси |
на отметке подошвы |
на отметке пят (или подошва +1,5 м) |
свод |
пяты (низ ножек) |
|||||||||||||||
|
фактические |
проектные |
фактические |
проектные |
фактические |
проектные |
фактические |
проектные |
||||||||||||||
|
лево |
право |
лево |
право |
лево |
право |
лево |
право |
лево |
право |
лево |
право |
||||||||||
|
|
|
|
|
|
|
|
|
|
|
|
|
|
|
|
|
|
|
|
|
|
|
|
|
|
|
|
|
|
|
|
|
|
|
|
|
|
|
|
|
|
|
|
|
|
по
тоннельным работам за ____________ месяц 197 г.
по
_______________ спецуправлению
|
№ пп |
Объект, наименование и виды выполненных работ |
Фактический объем выполненных работ |
Сечения для данного участка |
№ чертежа |
Примечание |
||||||||
|
от |
штук |
месяц |
м2 |
м3 |
Пикетаж сечения |
Фактическое, м2 |
Проектное, м2 |
Величина перебора, м2 |
Проектный объем, м3 |
||||
|
до |
|||||||||||||
|
|
|
|
|
|
|
|
|
|
|
|
|
|
|
|
|
|
|
|
|
|
|
|
|
|
|
|
|
|
Главный
маркшейдер
Участковый
маркшейдер
по
открытым буро-взрывным работам за _____________ месяц 197 г.
по
__________________________ спецуправлению
|
№ пп |
Объект, наименование и виды выполненных работ |
Фактический объем выполненных работ |
Сечения по поперечникам на данном участке |
Метод разработки |
Примечание |
|||||||||||
|
от |
штук |
месяц |
м2 |
м3 |
№ и пикет поперечника |
фактическое сечение |
проектное, м2 |
высота уступа |
№ чертежа |
шурфы, штольни, скважины, камеры и т.п. |
пог. м. |
м2 |
м3 |
|||
|
до |
||||||||||||||||
|
|
|
|
|
|
|
|
|
|
|
|
|
|
|
|
|
|
|
|
|
|
|
|
|
|
|
|
|
|
|
|
|
|
|
|
Главный
маркшейдер
28.01. Камеры оборудования подъемников различных сечений
сооружаются с раскрытием профиля по частям: сооружается сводовая часть способом
опертого свода (проходка фурнелей, штолен, раскрытие профиля свода камер,
возведение обделки свода), разрабатывается остальная часть камер.
Горнопроходческие работы выполняются через соединительные (подходные) тоннели,
которые проходятся на нижней отметке помещений оборудования (рис. 28.1) или на
отметке сводовых частей камер.
Рис 28.1. План и разрез камеры
строительного тоннеля:
1 - соединительный тоннель; 2
- камеры затворов; 3 - строительный тоннель; 4 - сводовая часть; 5
- помещение оборудования; 6 - промежуточное помещение подъемников
28.02. Подземная полигонометрия в соединительных
(подходных) тоннелях создается от геодезического обоснования, которое
использовалось при создании и развитии подземной полигонометрии в строительных,
деривационных тоннелях.
28.03. На крупных высоконапорных гидроузлах в
строительных тоннелях сооружается несколько камер оборудования (промежуточных
помещений подъемников и камер ремонтно-аварийных затворов). Для сооружения
такого подземного комплекса из соединительных тоннелей проходятся
вспомогательные тоннели (штольни) к камерам оборудования и другим подземным
сооружениям.
Во
вспомогательных тоннелях (штольнях) создается и разбивается подземная
полигонометрия от подземной полигонометрии соединительных тоннелей. Подземная
полигонометрия вспомогательных тоннелей (штолен) увязывается через камеры. По
знакам подземной полигонометрии прокладываются нивелирные ходы.
28.04. Маркшейдерские разбивки и съемки выполняется при
проходке фурнелей, штолен, разработке и бетонировании калотт, штросс, лотков и
т.п.
28.05. До начала проходки фурнелей от знаков подземной
полигонометрии (рис. 28.2) выносятся продольные АБ и поперечные СД оси
фурнелей с точностью ± 5 мм. Продольные оси фурнелей (камер)
закрепляются тремя точками в сводной части соединительных тоннелей. Крайние
точки продольных осей закрепляются строго по пикетажу, фиксирующему начало и
конец камер.
Поперечные
оси фурнелей закрепляются деревянными пробками в стенах соединительного тоннеля
на одном горизонте. Точки, фиксирующие поперечные оси фурнелей, нивелируются, и
в натуре подписываются расстояния от них до шелыги свода камеры (конечной точки
фурнели).
28.06. Проходка фурнелей осуществляется от осей,
закрепленных в пределах соединительных тоннелей (см. рис. 28.2). Оси
переносятся и закрепляются в стенах фурнелей через 5 м по высоте. На
одну из осевых точек инструментально по металлической рулетке передается
отметка и подписывается расстояние до конечной точки фурнели (шелыги).
Рис. 28.2. Схема выноса осей фурнелей в
соединительном тоннеле и передача осей в верхнюю штольню (разрез Б-Б):
1 - точки, закрепляющие оси
фурнелей в соединительном тоннеле; 2 - фурнели; 3 - свод
помещения оборудования; 4 - отвесы; 5 - верхняя штольня; 6
- смещение знака от оси фурнелей; 6 - створ
оси
28.07. В процессе проходки фурнелей выполняются съемки от
вынесенных осей, высотных отметок (костылей) и составляются поперечные сечения
через 5 м.
28.08. Оси верхних штолен, имеющих сообщение с
соединительными тоннелями через фурнели, задаются от осей, закрепленных в
соединительных тоннелях.
Оси
верхних штолен закрепляются в кровле фурнелей тремя отвесами с определением
пикетажа. Дальнейший вынос осей делается на глаз по створу трех отвесов.
28.09. Проходка верхних штолен по высоте производится от
высотных реперов (костылей), отметки которых определяются инструментально через
фурнели от реперов (знаков подземной полигонометрии) соединительных тоннелей,
высотные реперы закрепляются в стенах штолен через 2 - 3 м.
28.10. Пройденные участки штолен заснимаются через 3 - 5 м.
По результатам съемок составляются поперечные сечения.
28.11. После завершения работ по проходке верхних штолен
и перед раскрытием профиля сводовой части камер производится уточнение осей и
высотных реперов, вынесенных во время проходки.
28.12. Раскрытие проектного профиля сводовой части камер оборудования
выполняется от осей и высотных реперов, закрепленных в верхних штольнях. При
раскрытии проектного профиля сводовой части камер в зависимости от
геологической характеристики пород может устанавливаться временная крепь:
арочная, анкерная, шприцбетонная. Арочная крепь заснимается, результаты съемок
заносятся в книгу (см. приложение 27-1).
28.13. При производстве буро-взрывных работ по отработке
контура сводовой части камеры на лоб проходческого забоя выносится проектное
очертание свода.
28.14. На разработанные участки сводовой части камер
оборудования переносится уровень высотных реперов (с помощью сообщающихся
сосудов) из верхней штольни. Переносимый уровень высотных реперов закрепляется
на арках или в деревянных пробках, которые забиваются через 2 - 3 м в
шпуры, пробуренные в стенах (на участках с анкерной или шприцбетонной крепью).
28.15. Съемка поперечных сечений выполняется через 2 - 3 м
от установленных арок или от базиса (высотных реперов, привязанных к оси
камеры). По результатам съемок составляются и вычерчиваются поперечные сечения,
определяются фактические площади сечений (см. главу 27).
28.16. Перед возведением бетонных обделок сводовых частей
камер оборудования вынос осей и высотных реперов производится вновь через
фурнель от знаков подземной полигонометрии соединительных тоннелей.
28.17. При бетонировании сводовых частей камер сводовая
часть камеры оборудования разбивается на блоки протяженностью 6 - 8 м.
28.18. Перед установкой кружал опалубки производится
проверка соответствия их фактических размеров (радиусов, очертания и т.п.)
проектным.
28.19. Крайние кружала блоков бетонирования устанавливаются
от вынесенной оси камеры и высотных реперов.
В верхней
части кружала намечается середина (ось), которая при установке совмещается со
створом оси камеры; концы кружал устанавливаются на проектное расстояние от
створа оси камеры.
Грани
кружал на уровне пят могут выноситься и закрепляться перед установкой кружал, и
по ним производится установка кружал. От высотных реперов на проектные отметки
устанавливаются пяты (концы) кружал. Для контроля правильности установки кружал
определяется отметка верха кружал от высотных реперов.
Промежуточные
кружала в блоке бетонирования устанавливаются по установленным крайним
кружалам. Кружала в плане и по высоте устанавливаются с точностью ± 20 мм.
28.20. Кружала могут устанавливаться на заранее
подготовленные (забетонированные) основания. На проектные отметки и расстояния
пят кружал от оси камеры устанавливаются продольные швеллеры (бонтины) с
анкерами и бетонируются. Установка швеллеров (бонтин) в плане и по высоте
производится с точностью ± 10 мм от вынесенного створа оси камеры
оборудования и высотных реперов.
Номер
швеллера подбирается под сечение кружала или несколько больше с таким расчетом,
чтобы обеспечить расклинку кружал в швеллере на строго проектном расстоянии от
оси камеры.
28.21. От установленной опалубки производится съемка
заопалубочных пространств и составляются поперечные сечения. На блок
бетонирования составляется три сечения (начало, середина, конец). Поперечные
сечения сводовой части составляются в масштабе 1:100 и располагаются в альбоме
таким образом, чтобы впоследствии обеспечить возможность составления
исполнительных полных поперечных сечений камер оборудования.
Поперечные
сечения оформляются аналогично указаниям главы 27.
28.22. По поперечным сечениям планиметром определяются
фактические и проектные площади заопалубочных пространств для определения
объемов бетонирования.
28.23. В забетонированных сводовых частях камер
оборудования от знаков полигонометрии соединительных тоннелей через фурнели выносится
и закрепляется ось камеры тремя точками в деревянных пробках. Осевые точки
нивелируются, определяется их пикетаж и на них инструментально задаются
нормали. По нормалям в стенах (в зоне пят) выносятся высотные реперы, которые
закрепляются в деревянных пробках. Высотные реперы привязываются к оси камер.
Отметки, пикетаж, расстояния до оси подписываются в натуре краской.
Закрепленные
оси и высотные реперы обеспечат разбивочные работы при монтаже оборудования и
т.п.
28.24. От закрепленных высотных реперов производится
съемка забетонированного свода методом засечек (см. рис. 27.4).
28.25. Разбивки и съемки при разработке ядра, штросс и
бетонировании стен камеры оборудования производятся от осей высотных реперов,
закрепленных в бетонном своде.
28.26. Съемка и составление поперечных сечений
производятся через 5 м на тех же пикетах камеры, на которые составлены
поперечники при сооружении сводовой части.
28.27. Работы по сооружению камер затворов и
промежуточных помещений подъемников (см. рис. 28.1)
начинаются с проходки фурнелей из строительных или деривационных тоннелей. Оси
фурнелей выносятся инструментально с точностью ± 5 мм от
знаков подземной полигонометрии строительных, деривационных тоннелей и
закрепляются аналогично пп. 28.07 и 28.08.
Разбивки
и съемки при проходке фурнелей выполняются в соответствии с п. 28.15.
28.28. При проходке фурнелей с помощью проходческих
комплексов КПВ-1 направляющие, по которым перемещается рабочая площадка,
устанавливают от осей фурнелей и высотных реперов, не допуская их перекосов и
искривлений. В тех случаях, когда одна из осей фурнелей совпадает с осью
направляющих КПВ-1, выносится смещенная ось на 200 - 300 мм.
28.29. По окончании проходки фурнелей камер затворов и
промежуточных помещений подъемников производится связка осей фурнелей с осью
камеры оборудования.
28.30. Разбивочные и съемочные работы при раскрытии на
полный профиль (через фурнели) камер затворов и промежуточных помещений
подъемников выполняются в соответствии с разделом Б настоящей главы.
28.31. Съемка и составление поперечных сечений (планов)
производятся через 5 м.
28.32. По окончании бетонных работ в стенах камер
оборудования, промежуточных помещений подъемников и камер затворов выносятся и
закрепляются окончательно увязанные оси, высотные реперы, нормали для
обеспечения разбивками монтажа оборудования.
28.33. От вынесенных осей, высотных реперов, нормалей
производится съемка готовых сооружений (камер затворов и промежуточных
помещений подъемников). Съемка выполняется через 5 м и в наиболее
характерных местах.
28.34. На все закрепленные маркшейдерские оси, нормали,
высотные реперы составляются схемы и ведомости, в которых указываются смещения
их от осей сооружений, отметки, пикетаж и т.п.
28.35. В процессе выполнения горнопроходческих работ
выполняются маркшейдерские наблюдения за деформацией. Наблюдения выполняются в
соответствии с главой 27.
29.01. На крупных высоконапорных гидроузлах в комплексе
подземных сооружений строятся:
а)
промежуточные водоприемники с камерами и шахтами управления затворами, камерами
горизонтальных развилок;
б)
постоянные подводящие тоннели с водоприемниками, камерами и шахтами управления
затворами и камерами соединения с вертикальными водоводами и уравнительными
шахтами;
в)
уравнительные шахты с камерами;
г)
вертикальные водоводы с камерами соединений;
д)
турбинные водоводы с камерами сопряжений и монтажными камерами.
Схема
одной из нитей такого подземного тракта крупного высоконапорного гидроузла
приведена на рис. 29.1. Горнопроходческие работы выполняются
через подходные тоннели, которые проходятся на различных горизонтах к трассам
различных подземных сооружений подземной деривации, а также непосредственно
через подземные сооружения (через уравнительные шахты, камеры и т.п.).
Рис. 29.1. Схема подземных сооружений
крупного высоконапорного гидроузла:
1 - камера уравнительной
шахты; 2 - уравнительная шахта; 3 - камера управления затворами; 4
- шахта управления затворами; 5 - водоприемник ГЭС; 6 -
камера; 7 - камера сопряжения подводящего тоннеля с уравнительной
шахтой; 8 - подводящий тоннель; 9 - подходный тоннель; 10
- пространственная развилка; 11 - камера затворов; 12 - промежуточный
подводящий тоннель; 13 - камера горизонтальной развилки; 14 -
вертикальные водоводы; 15 - монтажная камера; 16 - турбинные
водоводы; 17 - камера сопряжения вертикальных и горизонтальных водоводов
29.02. Маркшейдерские работы по ориентированию подходных
тоннелей и самих подземных сооружений деривационных трактов, по созданию и
развитию подземного маркшейдерского обоснования, по передаче координат,
направлений и отметок из одних сооружений в другие должны выполняться в общей
геодезической связи (увязке).
29.03. При создании и развитии геодезического обоснования
на различных высотах вводятся поправки в длины базисов и в направления за
уклонения отвесных линий.
29.04. Промежуточные и постоянные подводящие тоннели
сооружаются на полное сечение или способом верхнего и нижнего уступов через
входные порталы, подходные тоннели и шахты. Маркшейдерские работы по отработке
припортальных врезок, проходке подходных тоннелей выполняются в соответствии с
главой 12 и разделами Б и В главы 27. При
проходке промежуточных и постоянных подводящих тоннелей создаются подземное плановое
и высотное обоснования, выполняются разбивочные и съемочные работы,
составляется графическая документация и определяются объемы выполненных работ,
производятся работы по обеспечению проходок нижних уступов осями и высотными
горизонтами. Указанные работы выполняются в соответствии с указаниями главы 27.
29.05. В сооружаемых промежуточных и постоянных
подводящих тоннелях способом верхнего и нижнего уступов в лотковой части
закладываются и определяются полигонометрические знаки и прокладываются
нивелирные ходы. Полигонометрические ходы связываются с подземным обоснованием
общей трассы подземной деривации и с различными горизонтами. Составляются схемы
полигонометрических ходов, каталоги координат высот.
29.06. Для составления исполнительных чертежей по
промежуточным и постоянным подводящим тоннелям выполняются съемки поперечных
сечений через 5 м по пикетажу от проектного центра способом замера
фактических радиусов или от базиса способом засечек (см. главу 27).
Отметки свода и лотка, помимо съемок, получают из непосредственного
нивелирования.
29.07. Оси камер затворов и высотные реперы (костыли)
выносятся от отметок знаков подземной полигонометрии с точностью ± 5 мм.
29.08. Съемка сводовых частей камер в разработке
выполняется через 3 м способом засечек от базиса или от арочной крепи.
Арочная крепь заснимается, результаты заносятся в книгу установленной формы
(приложение 27-1).
Поперечные
сечения составляются в масштабе 1:100 с таким расчетом, чтобы на них
размещались и отображались полные сечения камер.
29.09. При сооружении камер через фурнели и верхние штольни
маркшейдерские работы выполняются в соответствии с указаниями главы 28.
29.10. Оси фурнелей шахт затворов выносятся с точностью ± 5 мм
от знаков подземной полигонометрии, заложенных непосредственно в камере
затворов.
29.11. Оси фурнелей и высотные реперы переносятся и
закрепляются через 5 м. Выносимые оси фурнелей и высотные реперы через
20 - 30 м уточняются с осями и высотными реперами, которые закреплены в
камере до начала проходки фурнелей от знаков подземной полигонометрии. При
дальнейшей проходке фурнелей выносимые оси и высотные реперы также проверяются
через 20 - 30 м от тех осей и высотных реперов фурнелей, которые уже
проверены и увязаны с осями и высотными реперами, вынесенными в камере.
Для высотных
реперов в натуре подписываются отметки и расстояния до конечных точек фурнелей.
29.12. При проходке фурнелей с помощью проходческих
комплексов КПВ-1 направляющие, по которым перемещается рабочая площадка, устанавливают
от осей фурнелей и высотных костылей, не допуская их перекоса и искривления.
29.13. После проходки фурнелей и до начала работ по
проходке шахт затворов сверху вниз производятся уточнение и увязка осей шахт с
камерами от знаков подземной полигонометрии. Окончательно увязанные оси шахт
закрепляются таким образом, чтобы обеспечивалась их сохранность до полного
окончания строительно-монтажных работ.
29.14. В подвесных полках, используемых при проходке
шахт, должны предусматриваться окна, обеспечивающие свободный пропуск отвесов
по оси шахт.
29.15. При проходке шахт затворов через каждые 5 м
с точностью ± 5 мм выносятся и закрепляются оси шахт и
высотные реперы. Оси выносятся окончательно увязанные с камерами затворов.
29.16. Съемка поперечных сечений производится через 3 м
от осей и высотных реперов. Масштаб для составления поперечных сечений
устанавливается по указаниям главы 27.
29.17. При возведении монолитных обделок шахт опалубка
устанавливается от осей и высотных реперов с точностью ± 20 мм.
29.18. После снятия опалубки в бетоне закрепляются через
10 м оси шахт и высотные костыли, от которых выполняются разбивки и
съемки при монтаже оборудования.
29.19. Готовые участки шахт заснимаются через 5 м. Результаты
съемок используются при составлении исполнительных чертежей.
29.20. При сооружении шахт сверху вниз на полное сечение
без фурнелей координаты центра шахт увязываются (контролируются) с трассами
подводящих тоннелей. Центр и оси шахт выносятся полярным способом от знаков
геодезического обоснования, которое увязано с геодезическим обоснованием,
созданным для ориентирования подводящих тоннелей, или непосредственно с
припортальными знаками подводящих, подходных тоннелей.
29.21. При наличии скважин, пробуренных в контуре ствола
шахты в подводящие тоннели (камеры) для устройства водоотлива (или других
целей), в процессе проходки шахт производится связка наземного и подземного
обоснования через скважину и уточняются координаты центра шахты.
29.22. Турбинные водоводы сооружаются через шахты,
порталы, подходные тоннели. Количество турбинных водоводов на крупных
высоконапорных узлах различно (на рис. 29.1 показаны
три нитки турбинных водоводов).
29.23. При сооружении турбинных водоводов через
вертикальные шахты маркшейдерские работы по ориентированию подземной
маркшейдерской основы и по созданию подземного высотного маркшейдерского
обоснования выполняются в соответствии с главами 8, 9 и 10.
29.24. При сооружении турбинных водоводов через подходные
тоннели и порталы работы по созданию и развитию подземного маркшейдерского
обоснования выполняются в соответствии с главой 27.
29.25. Подземная полигонометрия (см. рис. 29.1), проложенная
в турбинных водоводах с порталов, связывается с полигонометрией подходных
тоннелей в монтажных камерах, и дальнейшее развитие ее при проходке турбинных
водоводов в сторону уравнительных шахт производится от этих увязанных значений
полигонометрии. Одновременно со связкой полигонометрии через монтажные камеры
прокладываются нивелирные ходы.
29.26. Вынос осей и высотных реперов (костылей) от
подземной полигонометрии, обеспечение маркшейдерских разбивок и съемок при
сооружении турбинных водоводов на полное сечение и по частям выполняются
методами и способами, изложенными в главе 27.
29.27. Съемка поперечных сечений при проходке турбинных
водоводов производится через 3 м. Съемки поперечных сечений, арок,
составление и вычерчивание поперечников, определение площади поперечных сечений
производятся в соответствии с главой 27.
29.28. При сооружении нижних уступов турбинных водоводов
через порталы и подходные (транспортные) тоннели вслед за проходкой создается и
развивается основная подземная полигонометрия. Подземная полигонометрия нижних
уступов отдельных водоводов связывается между собой через монтажные камеры.
Знаки подземной полигонометрии закладываются в подошве.
По знакам
полигонометрии прокладываются нивелирные ходы, которые увязываются с
нивелирными ходами соседних турбинных водоводов.
29.29. При сооружении монтажных камер в турбинных
водоводах (см. рис. 29.1) по частям через подходные (транспортные) тоннели
подземная полигонометрия создается как для проходки сводовых частей камер, так
и при сооружении лотковых.
На
участках подходных транспортных тоннелей, разработанных на нижние отметки камер,
подземная полигонометрия создается вновь.
29.30. Оси монтажных камер выносятся с точностью ± 10 мм
от знаков подземной полигонометрии подходных (транспортных) тоннелей и
закрепляются в сводовой части через 10 м. Высотные реперы выносятся
нивелиром от знаков подземной полигонометрии и закладываются в стенах через 5 м.
Съемка поперечных сечений делается через 10 м от закрепленных осей и
высотных реперов или от заснятых арок.
29.31. Камеры сопряжений вертикальных и горизонтальных
турбинных водоводов могут сооружаться через подходные тоннели или
непосредственно через горизонтальные турбинные водоводы (см. рис. 29.1.).
29.32. При сооружении камер сопряжений через подходные
тоннели подземная полигонометрия создается и развивается в общей геодезической
связи с подземной полигонометрией горизонтальных турбинных водоводов. После
сбоек проходческих забоев горизонтальных турбинных водоводов с камерами
сопряжений производится связка подземного обоснования.
29.33. Маркшейдерские разбивки и съемки при сооружении
камер сопряжения различными способами выполняются в соответствии с методами,
изложенными в главах 13 и 14.
29.34. Монтаж металлических облицовок турбинных водоводов
выполняется от осей турбинных водоводов. Оси выносятся от подземной
полигонометрии, увязанной с полигонометрией всего тракта подземной деривации.
По высоте
металлическая облицовка устанавливается при помощи нивелира.
29.35. До установки металлических секций облицовки
делаются контрольные замеры радиусов (диаметров) с целью установления их
соответствия проектным.
29.36. При монтаже металлических секций турбинных водоводов
заранее бетонируются направляющие (рельсы, балки, швеллеры). Направляющие в
плане устанавливаются от осей турбинных водоводов и по высоте при помощи
нивелира на проектные отметки с точностью ± 2 мм. При бетонировании направляющих
нивелирование выполняется через 1,5 - 2 м. По окончании бетонирования по
свежеуложенному бетону выполняется повторное нивелирование. Места направляющих,
имеющие отклонение по высоте сверх допустимого, исправляются.
29.37. Перед бетонированием металлических облицовок выполняется
съемка установленных секций и заполняется ведомость.
29.38. От установленных металлических секций облицовок
турбинных водоводов выполняется съемка затрубного пространства через 3 м
измерением фактических расстояний от металлической облицовки до породы. По
результатам съемок составляются поперечники в масштабах, указанных в главе 27.
29.39. При сдаче секций металлических облицовок под
бетонирование приемочным комиссиям представляются ведомость с результатами
съемки секций (п. 29.37) и исполнительные поперечники.
29.40. Участки вертикальных водоводов от камер сопряжения
с горизонтальными развилками до камер промежуточных подводящих тоннелей
сооружаются через фурнели, пройденные из камер сопряжения.
29.41. Оси фурнелей задаются от знаков полигонометрии с
точностью ± 5 мм, заложенных непосредственно в камерах.
Маркшейдерские
работы при проходке фурнелей и разработке вертикальных водоводов на полное
сечение выполняются аналогично разделу Б настоящей главы.
29.42. При разработке камер соединений промежуточных
подводящих тоннелей с вертикальными водоводами (см. рис. 29.1) оси
камер выносятся через вертикальные водоводы снизу вверх. Маркшейдерские работы
по сооружению камер (см. поз. 1 и 3 рис. 29.1)
выполняются в соответствии с главой 28.
29.43. По окончании горнопроходческих работ при
сооружении камер и до организации проходческих забоев из камер по проходке
соединительных тоннелей между камерами развилок промежуточных водоводов
выполняется ориентирование камер через сооруженные вертикальные водоводы
способом соединительных треугольников.
29.44. Маркшейдерские работы при сооружении камер
развилок (см. поз. 3 рис. 29.1)
выполняются в соответствии с главой 28.
29.45. По окончании проходок по развилкам (см. рис. 29.1) и
промежуточным водоводам выполняются маркшейдерские работы по связке
полигонометрии и принимаются окончательные значения для полигонометрических
знаков, заложенных в камерах соединений (см. поз. 1 и 2 рис. 29.1.). От увязанных значений полигонометрии выносятся
оси вертикальных водоводов на участке от камер соединений до камер
пространственных развилок.
29.46. Камеры пространственных, а также других видов
развилок (см. рис. 29.1) могут сооружаться через подходные тоннели, которые
проходятся на отметки сводовых частей и лотка камер, и непосредственно через
вертикальные водоводы.
29.47. При сооружении камер пространственных и других
видов развилок через подходные тоннели оси камер, выносимые от подземной
полигонометрии подходных тоннелей, пройденных на отметки сводовых частей камер,
связываются через фурнели с осями камер пространственных и других видов
развилок, которые выносятся от полигонометрии подходных тоннелей, пройденных на
отметки лотка камер.
29.48. При сооружении камер пространственных и других
видов развилок через вертикальные водоводы из камер (см. поз. 1 и 2 рис.
29.1) оси камер и высотные реперы выносятся через фурнели
от знаков полигонометрии, заложенных в камерах 1 и 2.
29.49. Камеры сопряжения постоянных подводящих тоннелей с
уравнительными шахтами и вертикальными водоводами могут сооружаться через
подходные тоннели (см. рис. 29.1) и
непосредственно через постоянные подводящие тоннели.
29.50. При сооружении камер сопряжений постоянных
тоннелей с вертикальным водоводом и уравнительными шахтами через подходные
тоннели маркшейдерские работы выполняются в соответствии с главой 28. В
процессе сооружения камер производится связка подземного планового и высотного
обоснования подходных и подводящих тоннелей, после чего увязываются оси
сооружений.
29.51. Оси уравнительных шахт из камер сопряжений
выносятся от осей камер, увязанных с ранее сооруженными участками вертикальных
водоводов.
29.52. Маркшейдерские работы при сооружении уравнительных
шахт выполняются в соответствии с разделом Б настоящей главы.
29.53. Маркшейдерские работы при сооружении камер
уравнительных шахт выполняются в соответствии с главой 28.
29.54. При возведении монолитных обделок вертикальных
водоводов опалубки устанавливаются от увязанных осей по всей трассе
вертикальных водоводов.
В
процессе бетонирования выполняются съемки и составляются поперечные сечения
через 5 м. Назначение масштаба поперечных сечений, определение площадей
сечения выполняются в соответствии с главой 27.
29.55. На бетонированных участках вертикальных водоводов
и камер сопряжения выносятся высотные реперы для обеспечения выполнения всех
последующих маркшейдерских работ.
29.56. Готовые участки вертикальных водоводов и камеры
сопряжений, соединений заснимаются через 10 м для составления
исполнительных чертежей.
30.01. Строительство подземных ГЭС осуществляется через
шахты, транспортные и подходные тоннели, наклонные стволы.
Маркшейдерские
работы при строительстве комплекса подземных сооружений, при устройстве врезок
подводящих, отводящих, транспортных и подходных тоннелей и шахтных площадок
выполняются в общей геодезической увязке.
30.02. Маркшейдерские работы при отработке припортальных врезок
транспортных и подходных тоннелей, сооружаемых при строительстве подземных ГЭС,
выполняются в соответствии с указаниями главы 27.
30.03. Транспортные тоннели проходятся на отметку
сводовых частей подземных залов ГЭС и после окончания всех горнопроходческих
работ по сооружению сводовых частей подземных машинных залов понижаются на
отметки нижних ярусов.
30.04. В транспортных и подходных тоннелях создается и
развивается подземная полигонометрия по схеме, приведенной на рис. 30.1.
Маркшейдерские работы по определению подземной полигонометрии выполняются в
соответствии с главой 8.
30.05. Маркшейдерские работы при проходке транспортных и
подходных тоннелей выполняются в соответствии с указаниями главы 27.
30.06. Ось подземных машинных залов ГЭС выносится от
знаков подземной полигонометрии по способам, описанным в главе 27, и
закрепляется в своде (в породе или на арках) через 5 м. От знаков
подземной полигонометрии задаются нормали, от которых устанавливается арочная
крепь и контролируется перпендикулярность забоя к продольной оси.
Рис. 30.1.
Схема сооружения подземных ГЭС через транспортные и подходные тоннели:
1 - отводящие тоннели; 2 - шинные шахты с
кабельными коллекторами; 3 - дренажная штольня; 4 - подводящие
тоннели; 5 -
подходные штольни к подводящим тоннелям; 6 - вентиляционная сбойка; 7
- подходный тоннель; 8 -
транспортный тоннель; 9
- подземный машинный зал
30.07. Проходка подземных машинных залов ГЭС по высоте
осуществляется от высотных реперов (костылей), выносимых нивелиром от реперов
подземного высотного геодезического обоснования. Высотные реперы (костыли)
закрепляются в стенах через 3 м.
30.08. Для разметки шпуров при проходке сводовой части
подземного машинного зала на лоб проходческого забоя выносится проектный контур
сводовой части подземного машинного зала. Вынос проектного контура производится
от створа оси подземного машинного зала и высотных реперов, вынесенных
(перенесенных) в лоб проходческого забоя.
30.09. Уничтоженные точки, фиксирующие створ оси
подземного машинного зала, и высотные реперы (костыли) на пройденных участках
восстанавливаются.
30.10. Съемка поперечных сечений при проходке сводовых
частей подземных машинных залов выполняется через 3 м от высотных
реперов, привязанных к оси подземного машинного зала.
При
съемке необходимо набрать количество точек, обеспечивающее детальное
отображение очертания сводовой части машинного зала.
30.11. По результатам съемок составляются поперечные
сечения и определяются площади сечений сводовой части подземного машинного зала
в соответствии с указаниями главы 28.
Поперечные сечения составляются в масштабе 1:100.
30.12. Установленная арочная крепь при проходке сводовой
части подземного машинного зала заснимается, результаты съемок заносятся в
книгу установленной формы (приложение 27-1).
30.13. При возведении монолитной обделки сводовой части
подземного машинного зала сводовая часть разбивается на блоки бетонирования
протяженностью 6 - 8 м.
30.14. При бетонировании обделок сводовой части
подземного машинного зала опалубка устанавливается с точностью ± 20 мм
от створа оси подземного машинного зала и высотных реперов.
30.15. По блокам бетонирования от установленной опалубки
выполняется съемка заопалубочных пространств, по результатам съемок
составляются и вычерчиваются поперечники в масштабе 1:100. По поперечникам
определяются площади заопалубочных пространств для определения объемов
бетонирования. На блок бетонирования составляется три поперечных сечения
(начало, середина, конец).
30.16. При выполнении буро-взрывных работ для устройства
предварительного откола (отрыва) по нижнему контуру подземного машинного зала
скважины пробуриваются строго на проектном расстоянии от оси подземного
машинного зала и на проектную отметку. Оси скважин закрепляются в натуре, на
стенах машинного зала выносится и окрашивается высотный горизонт, указывается
глубина скважины.
Перед
взрывом определяются фактические глубины скважин, вычисляются отметки их
забоев, фактические отметки забоев сравниваются с проектными.
30.17. Подходные тоннели к трассам подводящих и отводящих
тоннелей на различных отметках (достигается за счет уклонов, которые в
отдельных случаях могут достигать 12 процентов) могут проходиться из транспортных
тоннелей к подземным машинным залам ГЭС.
Подземная
полигонометрия в подходных тоннелях создастся и развивается от полигонометрии
транспортных тоннелей (см. рис. 30.1).
30.18. Ввиду малых радиусов кривых, вписываемых в трассы
подходных тоннелей, при закладке полигонометрических знаков стороны
полигонометрии могут получаться короткими (см. рис. 30.1). Для
уменьшения влияния погрешностей центрировок на участках коротких сторон
полигонометрии угловые измерения выполняются по трехтеодолитному способу с
применением однотипных теодолитов (ТБ-1, Theo-010 Цейса).
30.19. При наличии наклонных вентиляционных ходков
(скважин), пройденных из конечных участков подходных тоннелей в начальные (см.
рис. 30.1), выполняются маркшейдерские работы по связке
подземной полигонометрии и ее отметок.
30.20. Оси подходных штолен к подводящим тоннелям (рис. 30.2)
выносятся полярным способом от полигонометрии с точностью ± 2 мм и
закрепляются в подходных тоннелях. Вычисляются координаты трех точек на трассе
подходных штолен - одна точка на пересечении оси подходных штолен с осью
транспортных тоннелей, две другие слева и справа от нее на 0,8 - 1 м от
стен транспортных тоннелей (рис. 30.3). Из
решений обратных геодезических задач получают исходные данные для выноса осевых
точек в натуру. Осевые точки закрепляются в своде транспортных тоннелей (в
пробуренные шпуры забиваются деревянные пробки, в пробках оси закрепляются
маркшейдерскими гвоздями).
30.21. Одна из осевых точек (дальняя, см. поз. 1
рис. 30.3) подходных штолен одновременно бетонируется в
подошве транспортных тоннелей.
Рис. 30.2. Разрез по оси подземной
деривации (А-А):
1 - подводящий тоннель; 2 - подходный
тоннель; 3 - дренажная штольня; 4 - машинный зал ГЭС; 5 - подходный
тоннель; 6 - отводящий тоннель
Рис. 30.3. Схема выноса осей подходных
штолен к подводящим тоннелям от полигонометрии подходных тоннелей:
1 - машинный зал ГЭС; 2
- горизонтальная часть подводящего тоннеля; 3 - подходная штольня; 4
- осевые точки, закрепленные в своде; 5 - подходный тоннель
30.22. Первоначальная проходка подходных штолен к трассам
подводящих тоннелей осуществляется от трех осевых точек, закрепленных в
транспортных тоннелях. После удаления проходческих забоев на 15 - 20 м на
дальние осевые точки (см. поз. 1 рис. 30.3)
подходных штолен передаются дирекционные направления, определяются координаты и
отметки от знаков полигонометрии подходного тоннеля (см. рис 30.3). По
полученным значениям координат осевых точек устанавливают их соответствие
проектным значениям координат осей. Между осевыми точками измеряют фактические
расстояния и сравнивают их с вычисленными.
Отклонения,
установленные в процессе определения фактических координат осевых точек,
учитываются при выносе осей подходных штолен и горизонтальных участков
подводящих тоннелей.
30.23. Дальнейшее проведение подходных штолен
осуществляется от осей, выносимых инструментально с осевых точек (см. поз. 1
рис. 30.3).
30.24. Горизонтальные участки подводящих тоннелей
сооружаются от осей и высотных реперов, выносимых с осевых точек, для которых
определены координаты и отметки (см. поз. 1 рис. 30.3).
По
окончании проходческих работ в горизонтальных участках подводящих тоннелей в
них закладываются и определяются полигонометрические знаки. Определение
координат и отметок производится от осевых точек (см. поз. 1 рис. 30.3).
Полигонометрические знаки закладываются в местах, обеспечивающих выполнение с
них разбивочных и съемочных работ при дальнейшем сооружении подземных машинных
залов ГЭС и других подземных выработок.
30.25. При устройстве сопряжений горизонтальных участков
подводящих тоннелей с подземными машинными залами ГЭС выполняются
маркшейдерские работы по увязке осей и высот.
30.26. Продольные оси горизонтальных участков подводящих
тоннелей выносятся и закрепляются в стенах подземных машинных залов ГЭС. По
вынесенным осям выполняется контроль - определяются фактические расстояния
между осями горизонтальных участков подводящих тоннелей.
30.27. В процессе проходок горизонтальных участков
подводящих тоннелей выносятся оси и высотные реперы (костыли), которые
закрепляются в стенах через 3 м. Съемки выполняются через 3 м от
заснятой арочной крепи или от высотных реперов (костылей), привязанных к оси
тоннелей способом засечек по двум рулеткам.
30.28. По результатам съемок составляются и вычерчиваются
поперечные сечения в масштабе 1:50 и определяются площади фактических сечений
способами, изложенными в главе 27.
30.29. Металлическая облицовка горизонтальных участков
подводящих тоннелей устанавливается от увязанных осей и отметок. Установка
металлических секций может выполняться способом, описанным в главе 29.
30.30. Перед бетонированием установленные металлические секции
заснимаются. Отметки лотка и свода дополнительно получают из непосредственного
нивелирования. Результаты съемок заносятся в ведомости.
30.31. От окончательно установленных металлических секций
выполняется съемка затрубного пространства через 3 м. По результатам
съемок составляются и вычерчиваются поперечники в масштабе 1:50 и определяется
площадь затрубного пространства в соответствии с указаниями главы 27.
30.32. Вертикальные участки подводящих тоннелей сооружаются
через фурнели. Оси фурнелей выносятся от определенных осевых точек (см. поз. 1
рис. 30.3) в подходных тоннелях и полигонометрических знаков,
заложенных непосредственно в горизонтальных частях подводящих тоннелей.
Маркшейдерские работы по проходке фурнелей выполняются в соответствии с главой 28 и
соответствующими пунктами главы 29.
30.33. По окончании проходческих работ по фурнелям оси
фурнелей, вынесенные снизу вверх от подземной полигонометрии, проверяются от
геодезического обоснования на дневной поверхности.
30.34. Маркшейдерские работы при сооружении вертикальных
участков подводящих тоннелей выполняются в соответствии с указаниями главы 29.
30.35. Маркшейдерские работы при проходке подходных
штолен из подходного тоннеля к отводящим тоннелям и обеспечение выноса осей и
отметок при сооружении отводящих тоннелей выполняются в соответствии с пп. 30.20 - 30.24.
30.36. Отводящие тоннели имеют наклонные переменные
сечения, и для обеспечения детальных разбивок по переносу проектов в натуру
маркшейдерами «в две руки» по проектным чертежам выполняются дополнительные
расчеты по сечениям, разбивается пикетаж по центральной оси, составляются и
вычерчиваются проектные поперечные сечения через 1 м в масштабе 1:50. На
проектных поперечных сечениях красной тушью показываются проектные отметки
лотка, центра свода, проектные радиусы, центры, внутренний и внешний контуры
бетонных обделок, вычисляются и выписываются площади сечений.
На
детальных проектных поперечных сечениях показываются точки принятых смещений
осей в плане и профиле, которые выносятся с маркшейдерских столиков для
обеспечения разбивок и съемок при выполнении горнопроходческих работ. От точек
смещенных осей указываются расстояния до центра отводящих тоннелей, до бетона и
разработки (породы), до лотка и свода, до временной крепи.
30.37. Копии детальных проектных сечений обязаны иметь
при себе все маркшейдеры, выполняющие разбивки и съемки в наклонных отводящих
тоннелях, а также горные мастера.
30.38. Отводящие наклонные тоннели могут сооружаться на
полное сечение и по частям - проходка и бетонирование сводовых частей (верхний
уступ); разработка и бетонирование штросс, обратных сводов.
30.39. При сооружении наклонных отводящих тоннелей на
полное сечение разбивки и съемки при проходке, бетонировании выполняются от
проектного центра, выносимого с маркшейдерского столика, устанавливаемого по
оси тоннеля и на высоте, обеспечивающей постановку теодолита (пересечение
визирной и горизонтальной осей трубы теодолита) на отметке проектного центра
тоннеля. Маркшейдерский столик закрепляется на специальных фермах (каркасах),
подвешиваемых к анкерам в своде и надежно раскрепляемых. В зависимости от местных
условий на высоте проектного центра (с учетом высоты инструмента) могут
закрепляться два маркшейдерских столика - слева и справа от оси тоннеля и на
одинаковых расстояниях.
30.40. Проектный центр наклонного отводящего тоннеля
выносится теодолитом с маркшейдерского столика в лоб проходческого забоя перед
каждой операцией по разметке и обуриванию проходческого забоя. От вынесенного
центра производится съемка сечения и размечается проектный контур отводящего
тоннеля.
По
результатам съемок составляются поперечные сечения.
30.41. Ось наклонного отводящего тоннеля выносится и
закрепляется в своде через 5 м.
30.42. При бетонировании обделок наклонных отводящих
тоннелей на полное сечение опалубка устанавливается по радиусам от проектных
центров тоннеля. Проектные центры выносятся с маркшейдерских столиков в
деревянные расстрелы, раскрепляемые в тоннеле через 10 - 15 м. При
установке кружал необходимо строго на проектное положение установить плоскость
первого кружала. Установка и проверка правильности плоскости первого кружала
выполняются от точки, лежащей на оси тоннеля (рис. 30.4).
Плоскости последующих кружал проверяются путем определения горизонтального и
вертикального опережения с помощью рулетки от плоскости первого кружала.
Рис. 30.4. Схема установки и проверки
плоскости первого кружала:
1 - кружало; 2 -
поперечный брус для закрепления физической оси; 3 - тальреп; 4 -
физическая ось; 5 - марка на физической оси
30.43. От установленных опалубок через 1 м выполняется
съемка заопалубочного пространства. По результатам съемок составляются и
вычерчиваются поперечные сечения в масштабе 1:50. Составление и содержание
поперечных сечений, определение площади заопалубочных пространств аналогично
указаниям главы 27.
30.44. При сооружении наклонных отводящих тоннелей
способом верхнего и нижнего уступов (по частям) проходка верхних уступов
осуществляется от высотных реперов и смещенных осей. Высотные реперы и
смещенные оси выносятся теодолитом с маркшейдерских столиков, которые
устанавливаются и бетонируются по нормали слева и справа от оси наклонного
отводящего тоннеля (на расстоянии 0,5 - 0,7 м от стен тоннеля и выше
проектной отметки подошвы верхнего уступа).
30.45. Высотные реперы закрепляются через 3 м маркшейдерскими
гвоздями в деревянных пробках или на арках. Высотные реперы привязываются к оси
отводящего тоннеля (теодолитом по рейке определяется расстояние до высотного
репера от смещенной оси). Левый и правый высотные реперы должны иметь
одинаковый пикетаж.
30.46. Смещенные оси закрепляются в своде через 5 м
или на арках. Для точек смещенных осей и высотных реперов определяется пикетаж
от нормали маркшейдерских столиков.
Рис: 30.5. Разметка контура выработки
отточек наклонных лучей:
1 - точка наклонного луча; 2
- горизонт наклонного луча
30.47. Перед обуриванием проходческого забоя маркшейдером
производится съемка поперечного сечения и разметка проектного контура верхнего
уступа. Для съемки и разметки проектного контура в лоб проходческого забоя с
маркшейдерских столиков теодолитом выносятся точки смещенных осей в плане и
профиле. Разметка контура выполняется с помощью шаблонов или по способу,
изображенному на рис. 30.5.
30.48. Съемка поперечных сечений верхних уступов
наклонных отводящих тоннелей производится от заснятых арок или от высотных
реперов способом засечек по рулеткам, а также с помощью транспортиров (рис. 30.6).
30.49. При бетонировании обделок верхних уступов
наклонных отводящих тоннелей устанавливаются и бетонируются бонтины
(направляющие) на проектных отметках пят кружал. Бонтины (направляющие)
устанавливаются на проектные отметки и проектные расстояния от оси с помощью
теодолитов, устанавливаемых на маркшейдерских столиках.
Рис. 30.6. Съемка сечения от высотных
реперов с помощью транспортиров:
1 - контур выработки; 2
- рулетка; 3 - шест; 4 - полукруг из фанеры или плексигласа; 5
- высотный репер; 6 - свод выработки; 7 - рулетка; 8 -
шест; 9 - отвес; 10 - клин
30.50. Маркшейдерские разбивки и съемки при разработке нижних уступов наклонных отводящих тоннелей
выполняются от точек смещенных осей в плане (от оси наклонных отводящих
тоннелей) и соответствующих высоте проектных центров наклонных отводящих
тоннелей. Смещенные точки выносятся теодолитом с маркшейдерских столиков в лоб
проходческого забоя или в специально установленные расстрелы.
30.51. При бетонировании нижних уступов наклонных
отводящих тоннелей кружала опалубки устанавливаются от проектного центра
наклонных отводящих тоннелей в соответствии с указаниями п. 30.42.
30.52. Сооружение наклонных отводящих тоннелей может
осуществляться через пилот-штольни. Проходка пилот-штолен производится по
смещенной оси, выносимой теодолитом с маркшейдерского столика.
30.53. При наличии пройденных пилот-штолен разработка
отводящих наклонных тоннелей производится сверху вниз. Для обеспечения
маркшейдерских разбивок и съемок при разработке наклонных отводящих тоннелей
маркшейдерские столики бетонируются в верхних участках наклонных отводящих
тоннелей. Для бетонирования и определения маркшейдерских столиков в верхние
участки наклонных отводящих тоннелей через пилот-штольни передаются координаты
и отметки.
30.54. Разбивки, съемки, составление поперечных сечений и
т.п. при сооружении отводящих тоннелей способом верхнего и нижних уступов через
пилот-штольни выполняются в соответствии с пп. 30.40 - 30.50.
30.55. Во всех случаях для маркшейдерских столиков
определяются координаты, отметки, передаются направления на них (не менее двух)
со знаков полигонометрии осевых точек (для которых определены координаты и
отметки в подходных тоннелях и непосредственно в подходных штольнях к отводящим
тоннелям).
30.56. При устройстве сопряжений вертикальных торцовых
частей отводящих тоннелей с подземными машинными залами ГЭС выполняются маркшейдерские
работы по увязке осей и отметок.
30.57. Маркшейдерские работы по проходке верховых и
низовых дренажных штолен вокруг подземных машинных залов (см. рис. 30.1)
выполняются от подземной полигонометрии, которая создается и развивается от
полигонометрии транспортных или подходных тоннелей.
30.58. При сооружении кабельных коллекторов и шинных шахт
из подземных машинных залов в подземные машинные залы прокладываются
полигонометрические и нивелирные ходы от полигонометрии и подземного высотного
обоснования транспортных тоннелей. От полигонометрии подземных машинных залов
ГЭС задаются направления кабельных коллекторов, выносятся отметки и развивается
полигонометрия и высотное обоснование непосредственно в кабельных коллекторах.
30.59. От полигонометрии и высотного обоснования
кабельных коллекторов выносятся отметки и оси фурнелей шинных шахт. Разбивки и
съемки при проходке фурнелей и шинных шахт выполняются в соответствии с главой 29.
30.60. В готовых подземных гидротехнических сооружениях
выносятся и закрепляются увязанные оси и отметки, которые обеспечат выполнение
разбивок и съемок при монтаже оборудования. В транспортных тоннелях и подземных
машинных залах в монолитных обделках (лотках) закладываются и определяются
полигонометрические знаки. По полигонометрии составляются схемы, каталоги
координат, высот, смещения знаков от оси подземных машинных залов транспортных
тоннелей и пикетаж.
30.61. В процессе выполнения горнопроходческих работ по
подземному комплексу выполняются наблюдения за деформациями. Все наблюдения
выполняются в соответствии с главой 27.
30.62. По готовым подземным сооружениям выполняются
съемки от увязанных осей и отметок. Съемки поперечных сечений выполняются:
а) по
подводящим и отводящим тоннелям через 3 м;
б) по
подземным машинным залам ГЭС - через 5 м;
в) по
шинным шахтам, кабельным коллекторам - через 10 м.
30.63. Через наклонные стволы строится комплекс подземных
сооружений ГЭС (подводящие и отводящие тоннели, шахты, подземные галереи,
дренажные штольни и другие выработки).
Наклонные
стволы проходятся с различными углами наклонов и различной протяженности на
нижние отметки отводящих тоннелей. Для сооружения отводящих и подводящих
тоннелей из наклонных стволов проходятся нижние и соединительные штольни. Из
соединительных штолен проходятся фурнели в верхние штольни, которые проходятся
на отметках горизонтальных участков подводящих тоннелей (рис. 30.7, 30.8).
30.64. Маркшейдерские работы при отработке припортальных
(шахтных) площадок, по закладке и определению подходных знаков выполняются в
соответствии с главой 27. Один из припортальных знаков закладывается
непосредственно на оси наклонного ствола (см. рис. 30.7) с
обеспечением видимости с него на конечную точку наклонного ствола.
30.65. Наклонные стволы проходятся по смещенным осям в
плане и в профиле от оси наклонного ствола, задаваемым с маркшейдерских
столиков. Маркшейдерские столики закладываются на 0,5 - 0,7 м выше
подошвы, слева и справа на одинаковом расстоянии от продольной оси ствола и на
линии пересечения наклонной и горизонтальной осей.
Рис. 30.7. Сооружение подводящих и
отводящих тоннелей через наклонный ствол:
1 - верхняя штольня; 2
- нижняя штольня; 3 - подземный машинный зал ГЭС; 4 - подводящие
тоннели; 5 - наклонный ствол; 6 - отводящие тоннели
30.66. Вынос, закрепление точек смещенных осей, съемки и разбивки
при проходке наклонных стволов выполняются в соответствии с главой 28.
Откаточные пути укладываются на проектное положение от точек смещенных осей. :
30.67. Первоначальная проходка (в пределах расширенных
частей) нижних штолен осуществляется от створа наклонных лучей или
непосредственно от оси наклонного ствола. Оси наклонных стволов (на конечных
участках) для проходки нижних штолен выносятся от точек смещенных осей.
30.68. После проходки 10 - 15 м нижней штольни на
линии пересечения наклонной оси ствола и горизонтальной оси нижней штольни в
подошве на оси ствола закладывается полигонометрический знак. Линия пересечения
осей выносится по пикетажу от точек смещенных осей.
Рис. 30.8. Разрез по оси деривации:
1 - подводящий тоннель; 2
- верхняя штольня; 3 - нижняя штольня; 4 - машинный зал ГЭС; 5
- отводящий тоннель
30.69. От припортальных полигонометрических знаков
производятся определения полигонометрического знака № 2 (см. рис. 30.7),
заложенного на пересечении осей ствола и нижней штольни. При измерении
наклонной линии ПЗ-1 - ПЗ-2 створ линии закрепляется отвесами в
кровле через 25 - 27 м и на отвесы теодолитом выносится угол наклона (на
леске отвесов завязываются узелки) при двух положениях круга (угол наклона
измеряется на узелок отвеса ПЗ-2). По узелкам (на створных отвесах)
производится измерение линий в соответствии с указаниями главы 9 и
одновременно нивелированием определяются превышения между узелками (с набором
дополнительных переходных нивелирных точек). Вычисляется горизонтальное
проложение наклонной линии по углу наклона и по превышениям, полученным непосредственно
из нивелирования. Измерение наклонной линии производят дважды по различным
углам наклона и с независимыми определениями превышений измеряемых отрезков
нивелированием. Дирекционный угол линии ПЗ-1 - ПЗ-2 определяют по
двум-трем направлениям. По результатам определений полигонометрического знака ПЗ-2
выполняется контроль: при ПЗ-2 измеряются углы на центры
маркшейдерских столиков, измеренные углы сравниваются с вычисленными по
значениям координат.
30.70. На полигонометрические знаки, закладываемые на
пересечении осей стволов и нижних штолен, нивелиром передаются превышения и
вычисляются их отметки. Передача превышений повторяется при повторных
наблюдениях по передаче координат и направлений.
30.71. По мере проходки нижних штолен в них закладываются
полигонометрические знаки (см. рис. 30.7). После
окончания проходок нижних штолен повторяются маркшейдерские работы по
определению подземной полигонометрии и высотного обоснования.
30.72. Маркшейдерские работы при проходке подходных
штолен к отводящим тоннелям и при сооружении отводящих тоннелей выполняются в
соответствии с разделом А
настоящей главы.
30.73. Оси и высотные реперы при проходке нижних
соединительных штолен (см. рис. 30.7) к
фурнелям переподъемников выносятся от подземной полигонометрии и высотного
обоснования нижних штолен. По окончании проходки нижних соединительных штолен в
них закладываются и определяются полигонометрические знаки и создается
подземное высотное обоснование.
30.74. Оси фурнелей переподъемников и отметки выносятся
от знаков полигонометрии и высотного обоснования нижних соединительных штолен.
30.75. По окончании проходки фурнелей переподъемников и
при устройстве засечек верхних соединительных штолен (см. рис. 30.7) оси
выносятся из нижних соединительных штолен. Проходка верхних соединительных
штолен выполняется от осей, вынесенных по створу трех отвесов через фурнели.
30.76. По окончании проходки верхних соединительных
штолен выполняют ориентирование их по способу соединительных треугольников. В
процессе проходок верхних штолен создается полигонометрия и высотное
обоснование по схеме, обеспечивающей в дальнейшем вынос осей от отметок
подходных штолен к подводящим тоннелям.
30.77. Маркшейдерские работы при проходке подходных
штолен к подводящим тоннелям и при сооружении самих подводящих тоннелей
выполняются в соответствии с указаниями раздела А настоящей главы.
30.78. Пройденные верхние и нижние штольни (см. рис. 30.1, 30.2) могут
соединяться наклонными породоспусками. При наличии наклонных породоспусков
выполняются маркшейдерские работы по связке полигонометрии и высотного
обоснования верхних и нижних штолен.
В тех
случаях, когда верхние штольни проходятся через наклонные породоспуски оси,
отметки наклонных породоспусков и верхних штолен выносятся от маркшейдерского
обоснования нижних штолен. По мере проходки верхних штолен в них создается
полигонометрия и высотное обоснование.
30.79. Маркшейдерские работы при отработке открытых
машинных залов выполняются в общей геодезической связи с подземным комплексом.
При сопряжении машинных залов ГЭС с подводящими и отводящими тоннелями
выполняются маркшейдерские работы по увязке осей и отметок.
30.80. Маркшейдерские работы по созданию и развитию
подземной полигонометрии, высотного обоснования в подходных тоннелях к напорным
подводящим тоннелям, по ориентированию уравнительных, напорных, шинных шахт и
по передаче в них отметок выполняются в единой системе координат и высот.
30.81. Маркшейдерские работы по созданию и развитию
подземной полигонометрии и подземного высотного обоснования и при проходке
подходных тоннелей к напорным подводящим тоннелям выполняются в соответствии с
указаниями главы 27.
30.82. При проходке напорных подводящих тоннелей
создается и развивается подземная полигонометрия и подземное высотное
обоснование в соответствии с указаниями глав 9 и 27.
30.83. Разбивочные и съемочные работы при проходке и
бетонировании напорных подводящих тоннелей выполняются в соответствии с
указаниями главы 27.
30.84. Маркшейдерские работы при проходке и бетонировании
уравнительных шахт с камерами выполняются в соответствии с главой 29.
30.85. Маркшейдерские работы при проходке и бетонировании
напорных и шинных шахт выполняются в соответствии с главой 28.
30.86. Ориентирование напорных, шинных шахт и передача в
них отметок выполняются способами, изложенными в главах 8 и 10. При
сбойке подземных выработок, сооружаемых через напорные и шинные шахты,
выполняются маркшейдерские работы по увязке подземного обоснования.
Рис. 30.9.
Схема подземных сооружений ГЭС глубокого заложения:
1 - уравнительная шахта; 2
- напорный тоннель; 5 - монтажная шахта; 4 - шинная шахта; 5
- напорная шахта; 6 - машинный зал ГЭС; 7 - камера затворов; 8
- безнапорный отводящий тоннель.
30.87. Маркшейдерские работы при проходке и бетонировании
подземного машинного зала, турбинных водоводов, отсасывающих тоннелей, шахт и
камер затворов и других подземных выработок выполняются от подземной
полигонометрии и подземного высотного обоснования, создаваемого и развиваемого
от знаков, включенных в схему маркшейдерских работ при ориентировании напорных
и шинных шахт. Указанные маркшейдерские работы выполняются в соответствии с
указаниями разделов А и Б настоящей главы.
30.88. При проходке и бетонировании отводящих безнапорных
тоннелей через отсасывающие тоннели или через специально пройденные подходные
тоннели из подземных машинных залов в них создается и развивается подземная
полигонометрия и подземное высотное обоснование по схемам в соответствии с
главой 27.
Маркшейдерские
работы по определению подземной полигонометрии и подземного высотного
обоснования выполняются в соответствии с указаниями глав 8, 9 и 10.
30.89. Разбивочные и съемочные работы при проходке и
бетонировании безнапорных отводящих тоннелей выполняются в соответствии с
указаниями главы 27.
30.90. При сооружении безнапорных отводящих тоннелей
через наклонные стволы маркшейдерские работы по проходке наклонных стволов и
передача координат, дирекционных углов и отметок в безнапорные отводящие
тоннели выполняются в соответствии с указаниями раздела Б настоящей главы.
30.91. Маркшейдерские работы при проходке вертикальных
стволов, околоствольных выработок и подходных штолен к трассам подводящих и
отводящих тоннелей, подземным машинным залам и к другим подземным выработкам
выполняются в соответствии с указаниями главы 12.
30.92. Маркшейдерские работы по передаче координат,
отметок и дирекционного угла с дневной поверхности на горизонт подземных работ
выполняются способами, изложенными в главе 8.
30.93. Подземная полигонометрия и подземное высотное
обоснование в подземных выработках создаются и развиваются в соответствии с
указаниями глав 27 и 30. Угловые
и линейные измерения, вычисления и увязка полигонометрии, высотного обоснования
выполняются в соответствии с указаниями глав 9 и 10.
30.94. Маркшейдерские работы при сооружении подводящих и
отводящих тоннелей, подземных машинных залов, дренажных штолен вокруг подземных
машинных залов выполняются в соответствии с указаниями разделов А и Б настоящей главы.
30.95. Маркшейдерские работы при проходке фурнелей, при
сооружении шинных шахт и других подземных вертикальных выработок, камер
выполняются в соответствии с указаниями главы 29.
30.96. В процессе выполнения горнопроходческих работ при
строительстве подземных сооружений и выработок в них выполняются маркшейдерские
работы по наблюдению за деформациями в соответствии с указаниями главы 27.
31.01. На готовые подземные гидротехнические сооружения
составляются исполнительные чертежи, которые предъявляются при сдаче подземных
сооружений в эксплуатацию.
Работа по
составлению исполнительных чертежей проводится геодезическо-маркшейдерской
службой специализированных горнопроходческих организаций в процессе
строительства подземных гидротехнических сооружений.
31.02. Ответственность за своевременное, правильное и
точное составление всех исполнительных чертежей по подземным гидротехническим
сооружениям возлагается на начальника и главного маркшейдера спецуправления,
выполняющего подземное гидротехническое строительство. Исполнительные чертежи
составляются в двух экземплярах и подписываются начальником и главным
маркшейдером спецуправления.
31.03. В процессе выполнения горнопроходческих работ при
подземном гидротехническом строительстве геодезическо-маркшейдерской службой
выполняются разбивки и съемки, обеспечивающие строгий перенос проектов
подземных сооружений в натуру. По результатам съемок устанавливается
соответствие фактического положения подземных выработок, сооружений проектному;
фиксируется внешний контур выработок, временная крепь.
Возведение
обделок и конструкций подземных гидротехнических сооружений в соответствии с
проектами обеспечивается производством повторных разбивок и съемок. От
установленной опалубки производятся съемки заопалубочных пространств и заново
определяется положение контура подземных выработок в разработке, так как за
период разрыва между выполнением проходок и бетонированием обделок могут
происходить отслаивания породы и т.п.; кроме того, контур подъемных выработок в
разработке будет зафиксирован и отображен более детально и точно. В результате
выполнения съемок определяются фактические толщины обделок, конструкций;
устанавливаются границы между бетоном и железобетоном, заполнительной
цементацией. Фиксируется расположение закладных деталей, конструкций, дренажных
устройств.
В готовых
подземных гидротехнических сооружениях выполняются съемки, по которым
устанавливается соответствие фактической геометрии очертаний конструкций и
обделок проектным; по результатам съемок определяют площади живых сечений,
пропускную способность гидротехнических тоннелей.
31.04. Съемочный материал, собранный в различные периоды
строительства подземных гидротехнических сооружений, обобщается,
систематизируется и, по мере готовности отдельных участков или всей трассы
подземных сооружений, используется при составлении исполнительных чертежей.
31.05. При сдаче в эксплуатацию подземных
гидротехнических сооружений предъявляются правительственной комиссии и сдаются
дирекции строящихся ГЭС (гидроузлов) следующие чертежи и документация в одном
экземпляре.
I. Строительные и
деривационные тоннели различных сечений
1. Исполнительные планы трасс с поверхностью.
Составляются в масштабах проектных планов.
2. Планы строительных и деривационных тоннелей (см. пп.
31.07 - 31.11).
3. Продольные профили с инженерно-геологической
характеристикой пород (см. пп. 31.11 - 31.14).
4. Поперечные сечения строительных и деривационных
тоннелей (см. пп. 31.15 - 31.17).
5. Таблицы сечений (см. п. 31.18).
6. Ведомости выполненных и проектных объемов по
разработке породы и уложенному бетону в конструкции, обделки (см. п. 31.19).
7. Схемы полигонометрии, каталоги координат и высот
(см. п. 31.20).
II. Подходные тоннели
(штольни), строящиеся в комплексе с подземными гидротехническими сооружениями
1. Планы подходных тоннелей. Составляются в масштабе 1:500.
2. Продольный профиль по оси тоннеля с
инженерно-геологической характеристикой пород. Составляется в масштабах:
горизонтальный 1:500, вертикальный 1:200.
3. Поперечные сечения (см. п. 31.17).
4. Таблицы поперечных сечений (см. п. 31.18).
5. Ведомость выполненных и проектных объемов
разработки породы и бетонирования (см. п. 31.19).
III. Камеры ремонтно-аварийных
и других затворов
1. Исполнительный план тоннельного участка с камерами
и помещениями ремонтно-аварийных и других затворов. Составляется в масштабе
1:200.
2. Поперечный разрез по помещению оборудования,
промежуточному помещению подъемников, камере затворов и тоннельному участку.
Составляется в масштабе 1:200.
3. Продольный разрез по продольной оси помещения
оборудования, промежуточному помещению подъемников и камере ремонтно-аварийных
(и других) затворов. Составляется в масштабе 1:200.
4. Планы - поперечные сечения по помещениям
подъемников, промежуточным помещениям подъемников и камерам затворов.
Составляется в масштабе 1:200.
5. Ведомости проектных и выполненных объемов
разработки породы и бетонирования обделок и конструкций.
IV. Катастрофические
водосбросы
1. Исполнительный план катастрофических водосбросов.
Составляется в масштабе 1:100, 1:200.
2. Вертикальные разрезы с инженерно-геологической
характеристикой пород. Составляются в масштабе 1:200, 1:500.
3. Поперечные сечения (см. пп. 31.15 - 31.17).
4. Ведомости выполненных и проектных объемов по
разработке породы и бетонированию обделок, конструкций (см. п. 31.19).
V. Подводящие тоннели с
камерами затворов, вертикальные водоводы, уравнительные шахты, камеры развилок
и турбинные водоводы на высоконапорных гидроузлах (рис. 31.1)
1. Исполнительный план трасс (с поверхностью) всех
постоянных подземных сооружений гидроузла. Составляется в масштабе проектного
плана.
2. Исполнительный план всех подземных сооружений.
Составляется в масштабе 1:1000.
3. План подводящего тоннеля с вертикальными и турбинными
водоводами. Составляется в масштабе 1:100.
4 Продольный разрез с инженерно-геологической
характеристикой пород по подводящему тоннелю и одному из вертикальных и
турбинных водоводов. Составляется в масштабах: горизонтальный 1:1000;
вертикальный 1:200.
Рис 31.1. Схема подземной деривации
высоконапорных гидроузлов:
1 - камера управления
затворами; 2 - камера уравнительной шахты; 3 - уравнительная
шахта; 4 - подводящий тоннель; 5 - камера развилки; 6 -
подходный тоннель; 7 - подходный тоннель; 8 - вертикальные
водоводы; 9 - монтажная камера; 10 - турбинные водоводы.
5. Продольные разрезы с инженерно-геологической
характеристикой пород по остальным вертикальным и турбинным водоводам и
подземным сооружениям по их трассе (в тех же масштабах).
6. Поперечные сечения по подводящему тоннелю,
вертикальным и турбинным водоводам. Составляются через 10 м и в
соответствии с указаниями пп. 31.15 - 31.17.
7. По камерам затворов, уравнительным шахтам и
камерам развилок предъявляются самостоятельные исполнительные чертежи
аналогично II, III.
8 Таблицы поперечных сечений по подводящему тоннелю,
вертикальным и турбинным водоводам. Составляются через 10 м в
соответствии с указаниями п. 31.18.
9. Ведомости проектных и выполненных объемов по
разработке породы и укладке бетона в обделки и конструкции по каждому
сооружению.
10. Схемы полигонометрии, каталоги координат и высот.
VI. Подземные машинные залы
ГЭС с подводящими, отводящими тоннелями средней протяженности и другими
подземными сооружениями (рис. 31.2)
1. Исполнительный план трассы (с поверхностью). Составляется
в масштабе проектного плана.
2. План подземных сооружений гидроузла. Составляется
в масштабе 1:200, 1:500.
Рис. 31.2. Схема подводящих и отводящих
тоннелей средней протяженности:
1 - отводящие тоннели; 2
- подземное здание ГЭС; 3 - транспортный тоннель; 4 - подводящие
тоннели; 5 - подходный тоннель
3. По подземным машинным залам ГЭС:
а) план
подземного машинного зала ГЭС на уровне агрегатов. Составляется в масштабе
1:200;
б)
продольный разрез подземного машинного зала ГЭС с инженерно-геологической
характеристикой пород. Составляется в масштабе 1:200;
4. По подводящим и отводящим тоннелям:
а) план
по каждому подводящему и отводящему тоннелю (по агрегату). Составляется в
масштабе 1:200;
б)
продольный разрез по подводящему и отводящему тоннелю (по оси деривации) с
инженерно-геологической характеристикой пород. Составляется в масштабе 1:200,
1:500 (в зависимости от глубины заложения);
в)
поперечные сечения по подводящему и отводящему тоннелю. Составляются через 5 м
(см. пп. 31.15
- 31.18);
г)
ведомости проектных и выполненных объемов и по разработке породы и
бетонированию обделок и конструкций.
5. По шинным и грузовым шахтам:
а) план с
кабельными и транспортными коллекторами. Составляется в масштабе 1:100, 1:200;
б)
вертикальные разрезы с инженерно-геологической характеристикой пород.
Составляются в масштабе 1:200, 1:500;
в)
поперечные сечения. Составляются через 10 м (см. пп. 31.15 -
31.18);
г)
ведомости выполненных и проектных объемов разработки породы и бетонирования
обделок и конструкций.
6. По дренажным штольням:
а) план
дренажной штольни. Составляется в масштабе 1:500;
б)
продольный разрез дренажной штольни с инженерно-геологической характеристикой
пород. Составляется в масштабах: горизонтальный 1:500, вертикальный 1:100;
в)
поперечные сечения. Составляются через 20 м (см. пп. 31.15 -
31.18);
г)
ведомость выполненных и проектных объемов разработки породы.
7. Транспортный тоннель к машинному залу ГЭС:
а) план
транспортного тоннеля. Составляется в масштабе 1:500;
б)
продольный разрез транспортного тоннеля с инженерно-геологической
характеристикой пород. Составляется в масштабах: горизонтальный 1:500,
вертикальный 1:200;
в)
поперечные сечения. Составляются через 20 м (см. пп. 31.15 -
31.18);
г)
ведомость выполненных и проектных объемов разработки породы и бетонирования
обделок тоннеля.
VII. Напорные тоннели, шахты,
отводящие безнапорные тоннели большой протяженности с подземными машинными
залами ГЭС глубокого заложения и другими подземными сооружениями (рис. 31.3)
1. Исполнительный план трассы с поверхностью.
Составляется в масштабе проектного плана.
2. План подземных сооружений гидроузла (см. пп. 31.07 - 31.10).
3. Схема-профиль по оси деривации. Составляется в
произвольном масштабе.
4. Напорный тоннель:
а) план
тоннеля (см. п. 31.11);
б)
продольный профиль с инженерно-геологической характеристикой пород (см. пп. 31.13 -
31.14);
в)
поперечные сечения (см. пп. 31.15 - 31.17);
г)
таблицы поперечных сечений (см. п. 31.18);
д)
ведомости выполненных и проектных объемов разработки породы и уложенного
бетона.
Рис. 31.3. Схема подземных сооружений ГЭС
глубокого заложения:
1 - уравнительная шахта (h ≈ 120); 2 - напорный тоннель (l ≈ 4,5 км); 3 - напорная шахта (h ≈ 600 м); 4 - подземное здание ГЭС; 5
- безнапорный отводящий тоннель (l ≈ 5,6 км); 6
- монтажная шахта; 7 - камера затворов; 8 - турбинный водовод; 9
- шахта затворов; 10 - отсасывающий тоннель; 11 - шинная шахта; 12
- соединительный тоннель
5. Уравнительные шахты:
а)
вертикальные разрезы с инженерно-геологической характеристикой пород.
Составляются в масштабах: горизонтальный 1:500, вертикальный 1:200;
б)
поперечные сечения. Составляются через 20 м (см. пп. 31.15 -
31.17);
в)
таблицы поперечных сечений;
г)
ведомости выполненных и проектных объемов разработки породы и бетонирования.
6. Напорные шахты большой протяженности:
а)
вертикальные разрезы с инженерно-геологической характеристикой пород.
Составляются в масштабах: вертикальный 1:1000, 1:2000; поперечный 1:200, 1:500;
б)
поперечные сечения. На каждый тип обделки составляются три сечения (см. пп. 31.15 -
31.17);
в)
таблицы поперечных сечений;
г)
ведомости выполненных и проектных объемов разработки породы и бетонирования.
7. Подземный машинный зал ГЭС с подводящим напорным
тоннелем, турбинными водоводами и отсасывающими трубами (тоннелями), камерой
затворов:
а) план
подземных сооружений. Составляется в масштабе 1:200, 1:500;
б)
продольный разрез с инженерно-геологической характеристикой пород по оси
турбинного и отсасывающего тоннеля. Составляется в масштабе 1:200, 1:500 (см.
пп. 31.12
- 31.24);
в)
продольный разрез с инженерно-геологической характеристикой пород по
подводящему напорному тоннелю. Составляется в масштабе 1:200, 1:500 (см. пп. 31.11 -
31.14);
г)
поперечные сечения по турбинному водоводу, отсасывающим тоннелям. Составляется
через 5 м (см. пп. 31.15 - 31.17);
д)
таблицы поперечных сечений (см. п. 31.18);
е)
ведомости выполненных и проектных объемов разработки породы и бетонирования.
8. Камеры и шахты затворов:
а) план камеры
с шахтами и соединительным тоннелем (к машинному залу ГЭС); составляется в
масштабе 1:200, 1:500;
б)
продольный разрез с инженерно-геологической характеристикой пород по камере и
шахтам затворов, соединительному тоннелю. Составляется в масштабах: горизонтальный
1:200, 1:500; вертикальный 1:100, 1:200;
в)
поперечные сечения по шахтам затворов. Составляются через 10 м (см. пп. 31.15 -
31.17);
г)
таблицы поперечных сечений;
д)
ведомость выполненных и проектных объемов разработки породы и бетонирования.
9. Отводящий безнапорный тоннель:
а) план
тоннеля с участками сопряжений. Составляется в масштабе 1:200;
б)
продольный разрез по оси тоннеля с инженерно-геологической характеристикой
пород. Составляется в масштабе 1:200, 1:500;
в)
поперечные сечения. Составляются через 5 м (см. пп. 31.15 -
31.17);
г) таблицы
поперечных сечений;
д)
ведомость выполненных и проектных объемов разработки породы и бетонирования.
10. Монтажная шахта:
а)
вертикальные разрезы с инженерно-геологической характеристикой породы по осям
шахт. Составляются в масштабах: горизонтальный 1:200, 1:500;
б)
поперечные сечения. Составляются через 10 м (см. пп. 31.15 -
31.17);
в)
таблицы поперечных сечений;
г) ведомость
выполненных и проектных объемов разработки породы и бетонирования.
VIII. Транспортные и
цементационно-транспортные тоннели гидроузлов
1. План транспортного, цементационно-транспортного
тоннеля (см. пп. 31.09 - 31.13).
2. Продольный разрез с инженерно-геологической
характеристикой пород (см. пп. 31.09 - 31.13).
3. Поперечные сечения (см. пп. 31.15 - 31.17).
4. Ведомость выполненных и проектных объемов
разработки породы и бетонирования.
31.06. Исполнительный план трассы гидротехнических
тоннелей составляется в масштабе проектного плана с ситуацией. На плане трассы
показывается наземная ситуация с рельефом и геодезическим обоснованием на
поверхности, созданным для переноса проекта гидротехнических тоннелей и сооружений
в натуру.
31.07. Планы строительных и деривационных тоннелей
составляются в различных масштабах в зависимости от протяженности тоннелей и
назначаются в соответствии с табл. 31-1.
31.08. Для строительных и деривационных тоннелей круглого
сечения план составляется на уровне горизонтального диаметра; для тоннелей
других форм сечения план составляется на уровне перехода радиального свода в
вертикальные или наклонные стены.
31.09. Оси тоннеля на планах наносятся по координатам с
разбивкой проектного пикетажа. На планах показывается основная конструкция,
временная крепь и подписываются проектные, фактические расстояния от оси до
стен в местах, на которые составлены графические поперечные сечения.
31.10. На плане показываются участки сопряжения с
подходными тоннелями, подводящими и отводящими каналами, припортальными
выемками. На участках сопряжений подходные тоннели показываются на длине 20 -
30 м.
31.11. Продольные профили строительных и деривационных
тоннелей с инженерно-геологической характеристикой пород составляются по оси
тоннелей в масштабах, указанных в табл. 31-1.
Таблица 31-1
Таблица масштабов для планов и продольных
профилей гидротехнических тоннелей
|
Протяженность трассы
строительных и деривационных тоннелей, м |
Масштаб плана |
Масштабы продольных профилей |
||
|
продольный |
поперечный (перпендикулярный к оси) |
горизонтальный |
вертикальный |
|
|
До 500 |
1:200 |
|
1:200 |
1:100; 1:200* |
|
От 500 до 1000 |
1:500 |
|
1:500 |
1:100; 1:200* |
|
От 1000 до 2000 |
1:500 |
|
1:500 |
1:100; 1:200* |
|
От 2000 до 5000 |
1:1000 |
1:200; 1:500* |
1:1000 |
1:200; 1:600* |
|
От 5000 до 10000 |
1:2000 |
1:200; 1:500* |
1:2000 |
1:500 |
|
Свыше 10000 |
1:5000 |
1:500; 1:5000 |
1:5000 |
1:500 |
* В зависимости от ширины
тоннелей и глубины их заложения.
31.12. На продольных профилях показываются участки
сопряжения строительных и деривационных тоннелей с подводящими и отводящими каналами,
припортальными выемками.
31.13. Инженерно-геологическая характеристика пород на
продольных профилях строительных и деривационных тоннелей составляется по
данным геологических съемок, выполненных проектными организациями в процессе
строительства.
В легенде
продольного профиля строительных и деривационных тоннелей показывается
следующее: типы сечений и обделок, пикетаж графических поперечных сечений и
характерных точек трассы, конструкции, расстояния, отметки поверхности земли,
отметки свода, отметки лотка, отметки лотков дренажных устройств, уклоны и
расстояния, геометрические элементы трассы в плане (см. приложение 31-1).
При большой
глубине заложения гидротехнических тоннелей делается разрыв между поверхностью
и тоннелями в целях отображения на профиле поверхности земли.
31.14. На продольных профилях в условных знаках
показываются временная крепь, обделка и конструкция, границы железобетона и
бетона, заполнительная и укрепительная цементация, дренажные устройства. На
продольных профилях в местах, на которые составлены графические исполнительные
поперечные сечения, подписываются отметки, расстояния, толщина обделок и
конструкций.
31.15. Графические поперечные сечения строительных и
деривационных тоннелей составляются:
а) для
тоннелей протяженностью до 1000 пог. м через 10 м;
б) для
тоннелей протяженностью от 1000 до 2000 пог. м через 20 м.
На строительные
и деривационные тоннели больших протяженностей составляются графические типовые
поперечные сечения по типам обделок. На участок типовой обделки составляются
три сечения (начало, середина и конец типового участка) с нанесением на них
фактического положения и указанием пикетажа.
Масштаб
поперечных сечений назначается в зависимости от площади поперечных сечений
строительных, деривационных тоннелей и других подземных гидротехнических
сооружений (см. табл. 31-2).
Таблица 31-2
Масштаб поперечных сечений
строительных, деривационных тоннелей и других подземных гидротехнических
сооружений
|
Площадь сечения
строительных, деривационных тоннелей и др. подземных сооружений |
Масштаб поперечных сечений |
|
До 60 |
1:50 |
|
От 60 до 200 |
1:100 |
|
Свыше 200 |
1:200 |
31.16. На поперечных сечениях показываются в условных
знаках: оси тоннелей, бетонная, железобетонная обделка стен, лотка, свода, временная
крепь (арочная, анкерная, шприцбетонная), заполнительная, укрепительная
цементации, дренаж. На поперечных сечениях показываются границы железобетонной,
бетонной обделок, заполнительной цементации. Для тоннелей, сооружаемых без
обделок, показывается проектный контур сечения и от него - фактический контур
разработки.
31.17. На поперечных сечениях подписываются проектная и
фактическая толщина обделок стен, лотка, свода, расстояния от оси до стен,
отметки лотка, свода. Для тоннелей, сооружаемых без обделок, указываются
фактические расстояния от проектного контура до фактического. Образец сечения
приведен в приложении 31-2.
31.18. Для строительных, деривационных и других тоннелей
и подземных сооружений составляются таблицы поперечных сечений:
а) для
гидротехнических тоннелей и подземных сооружений протяженностью до 1000 пог.
м составляются таблицы поперечных сечений через 5 м по форме,
приведенной в табл. 31-3.
Таблица 31-3
Таблица поперечных сечений по
____________
тоннелю _________________ ГЭС
|
Пикетаж |
Отметки |
Расстояния от оси* |
Площади сечений |
||||||||||
|
лоток |
свод |
лево |
право |
в разработке |
в свету |
||||||||
|
факт. |
проект. |
факт. |
проект. |
факт. |
проект. |
факт. |
проект. |
факт. |
проект.** |
факт. |
проект.** |
||
|
|
|
|
|
|
|
|
|
|
|
|
|
|
|
* Расстояния от оси
указываются в соответствии с п. 31.08.
** Для проектного сечения указывается
проект, по которому определяется площадь сечения, т.е. по конструкции или по
проекту организации работ;
б) для
гидротехнических тоннелей протяженностью свыше 1000 пог. м составляются
таблицы поперечных сечений через 10 м в соответствии с приложениями 31-2,
31-3,
31-4.
31.19. Ведомости проектных и выполненных объемов по
разработке породы и уложенному бетону в обделки, конструкции тоннелей
составляются по форме, приведенной в табл. 31-4. В ведомостях указываются объемы с итогами непосредственно
по строительному (деривационному) тоннелю, раздельно - по вспомогательным
сооружениям (подходным тоннелям, штольням) и по вывалам; в конце дается общий
итог. В итоге вывалов указывается кубатура актированных вывалов. Для проектных
объемов указывается, по каким чертежам они определены (по проектам организации
работ или по конструктивным чертежам).
Таблица 31-4
Ведомость проектных и
фактических объемов разработки и бетонирования по _______ тоннелю
|
Протяженность (от пикета до пикета) |
Скальная выломка, м3 |
Бетон, железобетон, м3 |
Заполнит. цемент, м3 |
№ чертежей и проектн. организация |
Примечание |
|||
|
проектный объем* |
фактический объем |
проектный объем* |
фактический объем |
|||||
|
|
|
|
|
|
|
|
|
|
* Указывается, по каким
чертежам определен проектный объем.
31.20. Схемы подземной полигонометрии составляются
произвольно. На схемах произвольно показывается контур тоннелей. Каталоги
координат и отметок составляются по следующей форме.
Таблица 31-5
Каталог координат и высот
подземной полигонометрии,
заложенной в __________
тоннеле _________ ГЭС
|
Координаты |
Дирекционные углы |
Длина линии |
Отметки |
Смещение знака от оси |
Пикетаж |
№ ПЗ |
Примечание |
|||
|
Y |
X |
лево |
право |
|||||||
|
|
|
|
|
|
|
|
|
|
|
|
31.21. Исполнительные чертежи по подземным гидротехническим
сооружениям вычерчиваются в соответствии с указаниями главы 25.
|
|
|
|
Пикетаж сечений |
|
|
Расстояния |
|
|
Отметки поверхности земли |
|
|
Отметки свода |
|
|
Отметки лотка |
|
|
Отметки дренажных
устройств |
|
|
Уклоны и расстояния |
|
|
Геометрические элементы
трассы в плане |
|
|
Условные обозначения
геологической характеристики пород |
|
Майнинская ГЭС
Строительный тоннель
Чертеж № 32
Экз. № 1
|
Пикетаж сечений |
Фактические пометки |
Радиус в см |
Тип обделок |
Площади сечений в разработке (м2) |
|
|||||||||||||||
|
Лотка на оси |
свода на оси |
толщина обделок в см |
фактическое |
проектное |
№№ чертежа |
|||||||||||||||
|
|
|
|
|
|
|
|
|
|
|
|
|
|||||||||
|
1 |
2 |
3 |
4 |
5 |
6 |
7 |
8 |
9 |
10 |
11 |
12 |
13 |
14 |
15 |
16 |
17 |
18 |
19 |
20 |
21 |
|
|
|
|
|
|
|
|
|
|
|
|
|
|
|
|
|
|
|
|
|
|
|
|
|
|
|
|
|
|
|
|
|
|
|
|||||||||
|
|
|
|
|
|
|
|
|
|
|
|
|
|
|
|
|
|
|
|
|
|
|
Тип обделки |
Пикетаж сечений |
Фактические отметки |
Размеры |
Площади сечений в разработке (м2) |
||||||||||||||||||||||||||||
|
лотка |
свода на оси |
от оси до левой стены |
от центра свода |
от оси до правой стены |
фактические толщины обделок |
фактические |
проектные |
№№ чертежей |
||||||||||||||||||||||||
|
у левой стены |
на оси |
у правой стены |
1 |
2 |
3 |
4 |
5 |
6 |
7 |
8 |
9 |
10 |
11 |
12 |
13 |
14 |
15 |
16 |
17 |
18 |
19 |
20 |
21 |
22 |
23 |
|||||||
|
1 |
2 |
3 |
4 |
5 |
6 |
7 |
8 |
9 |
10 |
11 |
12 |
13 |
14 |
15 |
16 |
17 |
18 |
19 |
20 |
21 |
22 |
23 |
24 |
25 |
26 |
27 |
28 |
29 |
30 |
31 |
32 |
33 |
|
|
|
|
|
|
|
|
|
|
|
|
|
|
|
|
|
|
|
|
|
|
|
|
|
|
|
|
|
|
|
|
|
|
|
|
|
|
|
|
|
|
|
|
|
|
|
|
|
|
|
|
|
|
|
|
|
|
|
|
|
|
|
|
|
|
|
|
|
|
|
|
|
|
|
|
|
|
|
|
|
|
|
|
|
|
|
|
|
|
|
|
|
|
|
|
|
|
|
|
|
|
|
Пикетаж сечений |
Фактические отметки |
Размеры |
Площади сечений в разработке (м2) |
|
|
||||||||||||||||||
|
лотка |
свода на оси |
от оси до левой стены |
от центра свода |
от оси до правой стены |
фактическое |
проектное |
№№ чертежа |
|
|||||||||||||||
|
у левой стены |
на оси |
у правой стены |
|||||||||||||||||||||
|
1 |
2 |
3 |
4 |
5 |
6 |
7 |
8 |
9 |
10 |
11 |
12 |
13 |
|
||||||||||
|
1 |
2 |
3 |
4 |
5 |
6 |
7 |
8 |
9 |
10 |
11 |
12 |
13 |
14 |
15 |
16 |
17 |
18 |
19 |
20 |
21 |
22 |
23 |
|
|
|
|
|
|
|
|
|
|
|
|
|
|
|
|
|
|
|
|
|
|
|
|
|
|
|
|
|
|
|
|
|
|
|
|
|
|
|
|
|
|
|
|
|
|
|
|
|
|
|
|
|
|
|
|
|
|
|
|
|
|
|
|
|
|
|
|
|
|
|
|
|
|
|
|
СОДЕРЖАНИЕ
|
|
|
|